Изобретение относится к области измерительной техники, предназначенной для преобразования линейного ускорения в два частотных электрических сигнала.
В настоящее время существует потребность в повышении точности линейных акселерометров и их стойкости к внешним дестабилизирующим факторам.
Известно инерционное измерительное устройство [патент США на изобретение № US 2023/0384344, МПК G01P 15/18, G01P 15/097, G01P 1/02, G01P 1/00 приоритет 26.05.2023, опубликовано 30.11.2023], содержащее основание, с зафиксированным на его поверхности кожухом, два инерциальных датчика (чувствительных элемента), расположенных так, чтобы направление чувствительности одного из них совпадало с направлением ускорения, а второго было направлено в противоположную сторону, две системы возбуждения и регистрации колебаний, сервисную электронику, расположенную во внутренней полости кожуха и электрический соединитель, расположенный на внешней поверхности кожуха. Устройство дополнительно содержит датчик температуры, выполненный с возможностью определения температуры между первым инерционным датчиком и вторым инерционным датчиком, при этом схема обработки корректирует температурную характеристику дифференциального сигнала посредством использования температуры. Каждый из инерционных датчиков представляет собой датчик ускорения частотно-переменного типа.
Недостатками известного изобретения являются: наличие дополнительного температурного датчика для компенсации температурной погрешности характеристики. Такой подход усложняет процесс настройки датчика за счет необходимости тарировки температурной зависимости и ее дальнейшего учета при обработке сигналов; необходимость использования энергонезависимой памяти для хранения данных о температурной зависимости датчика; необходимость использования микроконтроллера для температурной коррекции датчика.
Данное устройство принимается за прототип, как наиболее близкое по технической сущности к заявляемому изобретению.
Технический результат, на достижение которого направлено заявляемое изобретение, заключается в повышении точности преобразования ускорения при повышении надежности акселерометра и увеличении стойкости к внешним дестабилизирующим факторам.
Указанный технический результат достигается тем, что линейный акселерометр содержит основание, с зафиксированным на его поверхности кожухом, два идентичных чувствительных элемента, расположенных так, чтобы направление чувствительности одного из них совпадало с направлением ускорения, а второго было направлено в противоположную сторону, две системы возбуждения и регистрации колебаний, сервисную электронику, расположенную во внутренней полости кожуха и электрический соединитель, расположенный на внешней поверхности кожуха, согласно изобретению два чувствительных элемента выполнены в виде идентичных струнных резонаторов, инерционных масс и упругих подвесов, при этом чувствительные элементы и системы возбуждения и регистрации колебаний объединены в двухкомпонентный виброчастотный дифференциальный преобразователь ускорения, который зафиксирован на основании с противоположной от кожуха стороны, а сервисная электроника выполнена в виде двух независимых друг от друга автогенераторов, представляющих собой регуляторы с положительной обратной связью, расположенных на отдельных платах, и предназначена для управления колебаниями струнного резонатора каждого из двух чувствительных элементов по отдельности в режиме автогенерации.
Таким образом, выполнение двух чувствительных элементов в виде идентичных струнных резонаторов, инерционных масс и упругих подвесов, объединение чувствительных элементов и систем возбуждения и регистрации колебаний в двухкомпонентный виброчастотный дифференциальный преобразователь ускорения, зафиксированный на основании с противоположной от кожуха стороны, выполнение сервисной электроники в виде двух независимых друг от друга автогенераторов, представляющих собой регуляторы с положительной обратной связью, расположенных на отдельных платах, и управление колебаниями струнного резонатора каждого из двух чувствительных элементов по отдельности в режиме автогенерации, позволяет повысить точность преобразования ускорения при повышении надежности акселерометра и увеличении стойкости к внешним дестабилизирующим факторам.
Кроме того, с целью однозначного и точного позиционирования линейного акселерометра в объекте применения, основание оснащено элементами позиционирования, обеспечивающими позиционирование оси чувствительности виброчастотного дифференциального преобразователя ускорения относительно направления ускорения движения объекта применения.
Наличие в заявляемом изобретении признаков, отличающих его от прототипа, позволяет считать его соответствующим условию «новизна».
Новые признаки, которые содержит отличительная часть формулы изобретения, не выявлены в технических решениях аналогичного назначения, на этом основании можно сделать вывод о соответствии заявляемого изобретения условию «изобретательский уровень».
Техническое решение иллюстрируется чертежом:
на фиг. 1 представлен общий вид линейного акселерометра;
на фиг. 2 - продольный разрез линейного акселерометра;
на фиг. 3 - вид сверху;
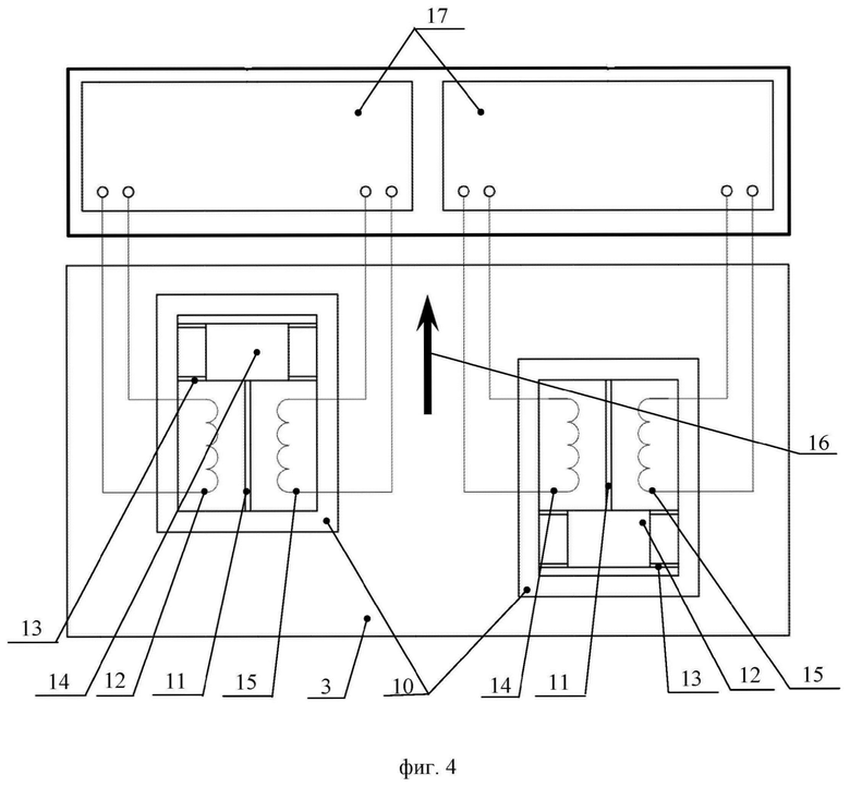
на фиг. 4 - функциональная схема линейного акселерометра.
Линейный акселерометр (фиг. 1-2) содержит основание 1, кожух 2, преобразователь ускорения 3, сервисную электронику 4 и электрический соединитель 5.
Основание 1 выполнено в виде жесткой пластины с центральным выступом и сквозным центральным отверстием. По углам основание 1 оснащено элементами крепления, для жесткой фиксации в объекте применения (не показано). Кроме того, в основании 1 за единое целое с ним изготовлены элементы позиционирования 6 (фиг. 3), расположенные на двух противоположных сторонах основания 1, для однозначной установки линейного акселерометра в объект применения с целью минимизации рассогласования направления его оси чувствительности и направления ускорения 7 с которым движется объект.
Кожух 2 состоит из двух частей (фиг. 1-2). Одна из частей выполнена в виде полого параллелепипеда 8, а вторая представляет собой крышку с выступом 9, закрывающую одну сторону параллелепипеда 8, свободным торцом который зафиксирован на основании 1 с противоположной от его выступа стороне. Выступ 9 крышки выполнен в виде стакана и расположен с внешней стороны крышки.
Преобразователь ускорения 3 (фиг. 4) выполнен двухкомпонентным виброчастотным дифференциальным. Преобразовать ускорения 3 представляет собой два идентичных чувствительных элемента 10 и две системы возбуждения и регистрации колебаний. Каждый чувствительный элемент 10 содержит струнный резонатор 11, инерционную массу 12 и упругие подвесы 13, расположенные в едином корпусе так, что бы направление оси чувствительности одного из них совпадало с направлением ускорения 7, а второго было направлено в противоположную сторону. Каждая система возбуждения и регистрации колебаний состоит из катушки-возбудителя 14 и катушки-адаптера 15, которые располагаются друг напротив друга таким образом, чтобы в магнитном зазоре между сердечниками катушек 14 и 15 находился струнный резонатор 11 чувствительных элементов 10. Чувствительные элементы 10 преобразователя ускорения 3 настроены таким образом, что бы температурные коэффициенты частоты первого
и второго
резонаторов 11 были близки друг другу.
При изменении температуры среды Δt изменение частоты собственных колебаний резонаторов 11
и
будет иметь вид:
где
- начальная (истинная) частота колебаний резонатора,
- температурный коэффициент частоты материала резонатора;
Δt - величина изменения температуры среды.
При вычитании частот резонаторов 11 температурные составляющие в собственной частоте первого и второго резонаторов 11 взаимокомпенсируются в виду близости их значений температурных коэффициентов частоты первого
и второго
резонаторов 11, тем самым достигается самокомпенсация температурной погрешности линейного акселерометра. Преобразователь ускорения 3 установлен в центральном отверстии центрального выступа основания 1 (фиг. 1-2), причем закрепление преобразователя ускорения 3 в основании 1 обеспечивает соосность его оси чувствительности с осью чувствительности 16 самого линейного акселерометра.
Сервисная электроника 4 представляет собой два идентичных и независимых друг от друга автогенератора 17 в виде регуляторов с положительной обратной связью выполненных на отдельных платах и предназначенных для управления колебаниями резонаторов 11 каждого из чувствительных элементов 10 по отдельности для исключения их взаимного влияния. С целью защиты от внешних воздействующих факторов, электромагнитных помех сервисная электроника установлена во внутреннем объеме акселерометра, образованном полостью кожуха 2 и основания 1.
Электрический соединитель 5 (фиг. 1-2) выполнен в виде вилки и установлен в боковой поверхности выступа 9 крышки кожуха 2.
Работает устройство следующим образом
При подаче питания на электрический соединитель 5 линейного акселерометра каждый из автогенераторов 17 начинает формировать периодические электрические сигналы на катушки-возбудителя 14, что будет наводить переменный магнитный поток, который в свою очередь будет формировать периодические колебания струнных резонаторов 11 чувствительных элементов 10 преобразователя ускорения 3. В то же время колебания каждого из резонаторов 11 будут изменять магнитный зазор между ним и катушкой-адаптером 15, что приведет к возникновению ЭДС в катушках-адаптерах 15. Чем больше амплитуда колебаний резонатора 11, тем больше будет наводиться ЭДС в катушках-адаптерах 15. При организации положительной обратной связи, соблюдения условия баланса фаз и амплитуд возбуждение колебаний резонатора 11 будет происходить на максимальной амплитуде, т.е. на частоте близкой к собственной частоте колебаний резонатора 11. При ускорении объекта применения на инерционные массы 12 чувствительных элементов 10 будет действовать сила инерции, которая приведет к их перемещению. Перемещение инерционных масс 12 в свою очередь приведет к растяжению одного резонатора 11 и сжатию другого, тем самым собственные частоты колебаний растягиваемого ƒ1 и сжимаемого ƒ2 резонаторов 11 будут пропорционально изменяться в сторону увеличения и уменьшения соответственно. По разности частот резонаторов 11 F судят о величине ускорения.
Таким образом, вышеизложенные сведения свидетельствуют о выполнении при использовании заявленного изобретения следующей совокупности условий:
• Средство, воплощающее заявленное изобретение при его осуществлении, относится к измерительной техники, предназначенной для преобразования линейного ускорения в два частотных электрических сигнала;
• Для заявленного устройства в том виде, как оно охарактеризовано в пункте формулы изобретения, подтверждена возможность его осуществления;
• Средство, воплощающее заявленное изобретение при осуществлении, способно обеспечить повышение точности преобразования ускорения при повышении надежности акселерометра и увеличении стойкости к внешним дестабилизирующим факторам.
Следовательно, заявленное изобретение соответствует условию «промышленная применимость».
| название | год | авторы | номер документа |
|---|---|---|---|
| ДВУХКОМПОНЕНТНЫЙ ВИБРОЧАСТОТНЫЙ ПРЕОБРАЗОВАТЕЛЬ УСКОРЕНИЯ | 2024 |
|
RU2836144C1 |
| ВИБРОЧАСТОТНЫЙ МИКРОМЕХАНИЧЕСКИЙ АКСЕЛЕРОМЕТР | 2010 |
|
RU2434232C1 |
| ЧАСТОТНЫЙ МИКРОМЕХАНИЧЕСКИЙ АКСЕЛЕРОМЕТР | 2007 |
|
RU2377575C2 |
| СПОСОБ УМЕНЬШЕНИЯ ЧУВСТВИТЕЛЬНОСТИ ВИБРОЧАСТОТНОГО АКСЕЛЕРОМЕТРА К БОКОВОМУ УСКОРЕНИЮ | 2019 |
|
RU2718474C1 |
| ВИБРОЧАСТОТНЫЙ МИКРОМЕХАНИЧЕСКИЙ АКСЕЛЕРОМЕТР | 2010 |
|
RU2442992C1 |
| ЧАСТОТНЫЙ ДАТЧИК ЛИНЕЙНЫХ УСКОРЕНИЙ | 2010 |
|
RU2436106C2 |
| Микроэлектромеханический первичный преобразователь ускорения | 2017 |
|
RU2657351C1 |
| ДИФФЕРЕНЦИАЛЬНЫЙ СТРУННЫЙ АКСЕЛЕРОМЕТР И СПОСОБ ЕГО ИЗГОТОВЛЕНИЯ | 2004 |
|
RU2258230C1 |
| АКСЕЛЕРОМЕТР | 1989 |
|
RU2046348C1 |
| ДАТЧИК ЛИНЕЙНОГО УСКОРЕНИЯ | 2019 |
|
RU2725261C1 |
Изобретение относится к области измерительной техники для преобразования линейного ускорения в два частотных электрических сигнала. Линейный акселерометр содержит основание с кожухом, два идентичных чувствительных элемента, расположенных так, чтобы направление чувствительности одного совпадало с направлением ускорения, а второго было направлено в противоположную сторону, две системы возбуждения и регистрации колебаний, сервисную электронику, расположенную во внутренней полости кожуха, и электрический соединитель. Два чувствительных элемента выполнены в виде идентичных струнных резонаторов, инерционных масс и упругих подвесов. Чувствительные элементы и системы возбуждения и регистрации колебаний объединены в двухкомпонентный виброчастотный дифференциальный преобразователь ускорения, зафиксированный на основании с противоположной от кожуха стороны. Сервисная электроника выполнена в виде двух независимых автогенераторов, представляющих собой регуляторы с положительной обратной связью, расположенных на отдельных платах, и предназначена для управления колебаниями струнного резонатора каждого из двух чувствительных элементов по отдельности в режиме автогенерации. Технический результат - повышение точности преобразования ускорения при повышении надежности акселерометра, увеличение стойкости к внешним дестабилизирующим факторам. 1 з.п. ф-лы, 4 ил.
1. Линейный акселерометр, содержащий основание с зафиксированным на его поверхности кожухом, два идентичных чувствительных элемента, расположенных так, чтобы направление чувствительности одного из них совпадало с направлением ускорения, а второго было направлено в противоположную сторону, две системы возбуждения и регистрации колебаний, сервисную электронику, расположенную во внутренней полости кожуха, и электрический соединитель, расположенный на внешней поверхности кожуха, отличающийся тем, что два чувствительных элемента выполнены в виде идентичных струнных резонаторов, инерционных масс и упругих подвесов, при этом чувствительные элементы и системы возбуждения и регистрации колебаний объединены в двухкомпонентный виброчастотный дифференциальный преобразователь ускорения, который зафиксирован на основании с противоположной от кожуха стороны, а сервисная электроника выполнена в виде двух независимых друг от друга автогенераторов, представляющих собой регуляторы с положительной обратной связью, расположенных на отдельных платах, и предназначена для управления колебаниями струнного резонатора каждого из двух чувствительных элементов по отдельности в режиме автогенерации.
2. Линейный акселерометр по п.1, отличающийся тем, что основание оснащено элементами позиционирования, обеспечивающими позиционирование оси чувствительности виброчастотного дифференциального преобразователя ускорения относительно направления ускорения движения объекта исследования.
| US 20230384344 A1, 30.11.2023 | |||
| ЛИНЕЙНЫЙ АКСЕЛЕРОМЕТР | 2012 |
|
RU2509307C1 |
| Акселерометр | 1987 |
|
SU1508173A1 |
| CN 106597016 A, 26.04.2017 | |||
| ДВУХОСЕВОЙ МИКРОМЕХАНИЧЕСКИЙ АКСЕЛЕРОМЕТР | 2018 |
|
RU2693030C1 |
Авторы
Даты
2025-03-25—Публикация
2024-11-22—Подача