Сборно-разборный мост через малые реки Российский патент 2025 года по МПК E01D15/12 

Описание патента на изобретение RU2836185C1

Изобретение относится к области мостостроения и может быть использовано при возведении сборно-разборных мостов с балочными пролетными строениями через малые реки шириной до 25,0 м с устойчивым неразмываемым руслом.

При рассмотрении технической литературы, наиболее близко относящейся к данной тематике, выявлен следующий ряд технических решений.

Известен понтонный мост, содержащий состыкованные в продольном направлении понтоны, попарно соединенные между собой посредством стыковых узлов, в котором понтоны содержат балластные цистерны, соединенные друг с другом по принципу сообщающихся сосудов, ведущий понтон снабжен насосной станцией, автоматически откачивающей воду из балластных цистерн, соответственно при погружении понтонов при увеличении нагрузки и/или уменьшения уровня воды, например, в реке для увеличения их плавучести, или закачивающей воду в балластные цистерны при всплывании понтонов при уменьшении нагрузки и/или увеличения уровня воды для снижения их плавучести и шлюз, на внешней стороне днища понтонов смонтированы эластичные, например, резиновые камеры, в каждом понтоне установлены баллоны с сжатым воздухом, соединенные с эластичными камерами и с общей системой автоматики моста, с возможностью подачи в эластичные камеры сжатого воздуха для дополнительного увеличения плавучести и остойчивости моста в случае аварийного отказа автоматики или повреждения трубопроводной системы закачки или откачки воды из балластных цистерн, или самих балластных цистерн и погружения моста с падением уровня воды, понтонный мост имеет аварийную систему автоматики подачи и выпуска из эластичных камер сжатого воздуха с возможностью удерживания полотна моста и дорожного полотна на берегу на одном уровне сколь угодно долго при любом уровне воды в реке и любой внешней нагрузке, на внешней стороне днища понтонов установлены эластичные, например, резиновые камеры, в каждом понтоне установлены баллоны с сжатым воздухом, соединенные с эластичными камерами и с общей системой автоматики моста, с возможностью подачи или выпуска из эластичных камер сжатого воздуха для дополнительного увеличения плавучести или остойчивости моста в случае аварийного отказа автоматики или повреждения трубопроводной системы закачки или откачки воды в балластные системы, или самих балластных цистерн и погружения моста с падением уровня воды, понтонный мост имеет аварийную систему автоматики подачи и выпуска из эластичных камер сжатого воздуха с возможностью удерживания полотна моста и дорожного полотна на берегу на одном уровне сколь угодно долго при любом уровне воды в реке и любой внешней нагрузке, понтоны имеют в поперечном направлении сквозные отверстия, образованные, например, трубами большого диаметра для пропуска воды по ходу течения через понтонный мост для уменьшения давления воды или шуги во время ледохода, понтонный мост при аварийном отключении автоматики или прекращении откачки или закачки воды в балластные цистерны, понтонный мост со стороны шлюза имеет на берегу аварийную насосную станцию с возможностью быстрого присоединения трубопроводной системы понтонов к аварийным насосам, шлюз, в который входит своим концом понтонный мост, имеет высоту и глубину стенок, достаточную для полного всплывания или погружения понтонного моста в зависимости от крайних положений уровня зеркала воды, последний понтон моста не выходит за пределы шлюза для обеспечения прямолинейного передвижения моста и соединения с береговыми системами электроснабжения, а также для установки аппарелей, понтонный мост имеет возможность при необходимости, принудительно колебаться с небольшой амплитудой в вертикальной плоскости для освобождения примерзших понтонов путем автоматической, синхронной закачки и откачки воды из балластных цистерн, боковая поверхность понтонов имеет антиледовое покрытие в пределах зон образования льда, в случае судоходства, понтонный мост расположен в канале, имеющем глубину, равную глубине фарватера и глубине шлюза (патент на полезную модель RU 178523, кл. E01D 15/00, В63В 35/42, опубл. 06.04.2018 г., бюл. №10).

Известен мобильный раздвижной мост, содержащий не менее чем из две соединенные между собой секций, каждая из которых содержит как минимум два расположенных в параллельных плоскостях боковых каркасных элемента, в виде двух балок одинаковой длины, шарнирно соединенных между собой в своих геометрических центрах по типу «ножниц», то есть с возможностью поворота вокруг оси, перпендикулярной образованной ими общей плоскости, верхние и нижние концы балок одного бокового каркасного элемента попарно соединены с верхними и нижними концами другого бокового каркасного элемента посредством жестких связей, секции соединены между собой шарнирно в соответствующих концах боковых каркасных элементов, а к жестким связям, соединяющим противоположные нижние концы балок двух соседних каркасных элементов, прикреплено с возможностью поворота вокруг них мостовое полотно, состоящее из двух частей, шарнирно соединенных между собой по оси, перпендикулярной направлению движения через мост. Верхние и нижние концы балок в боковом каркасном элементе могут быть дополнительно попарно шарнирно соединены между собой с помощью распорок, каждая из которых состоит из двух равных по длине частей, шарнирно соединенных с возможностью фиксации в различных положениях (патент на изобретение RU 2587379, кл. E01D 15/12, опубл. 20.06.2016 г., бюл. №17).

Основными недостатками указанных мостов являются:

ограниченные возможности использования в осенне-зимний и зимне-весенний периоды;

отсутствие возможности пропуска маломерных судов в местах установки мостов.

Наиболее близкими к заявленному изобретению является сборно-разборное пролетное строение, содержащее продольные решетчатые фермы, соединенные между собой поперечными решетчатыми вставками и диагональными связями, связи выполнены перекрестными, продольные фермы выполнены со складными верхними и нижними поясами, внутри которых протянуты витые тросы, при этом продольные фермы выполнены с доборными составными элементами для возможности регулировки их по длине, на каждый соединительный узел продольных ферм установлена доборная опорная стойка с пазовым разъемом и опорной платформой для фиксации поперечных решетчатых вставок, поверх верхнего пояса установлены плиты дорожного ортотропного покрытия с рифленой поверхностью, внутри плит покрытия в трубках протянуты витые торсионы, связи выполнены в виде витых тросов, выполненных с возможностью регулировки их по длине и силе натяжения посредством талрепа, связи выполнены в виде тросов, связанных между собой талрепом для регулирования силы натяжения, связи установлены по верхнему и нижнему поясам, связи закреплены на верхнем и нижнем поясах, рифленая поверхность дорожного покрытия выполнена с продольной структурой, рифленая поверхность дорожного покрытия выполнена с диагональной структурой (патент на изобретение RU 2814086, кл. E01D 15/12, опубл. 21.02.2024 г., бюл. №6).

Основным недостатком указанного моста является высокая трудоемкость и продолжительность сборочных операций в связи с необходимостью предварительной установки в створе реки мостовых опор.

Задача, решаемая в изобретении, заключается в устранении указанных недостатков путем конструктивного исполнения сборно-разборного моста через малые реки, обеспечивающего возможность его возведения в короткие сроки и унификации его конструктивных элементов.

Технический результат изобретения заключается в повышении оперативности возведения сборно-разборного моста через малые реки и обеспечении возможности его многократного применения.

Поставленная задача решается, а технический результат достигается в результате того, что, согласно изобретению, сборно-разборный мост через малые реки содержит первую, промежуточные и оконечную пролетные секции, каждая из которых выполнена длиной 5,0 м и шириной 4,5 м, снабжена телескопическими опорами, включает балку жесткости и закрепленную на ней плиту проезжей части с уступом плиты проезжей части 0,5 м в сторону, противоположную направлению сборки моста, береговые удерживающие тросы, две сходни, соединенные соответственно с первой и оконечной пролетными секциями, основные несущие элементы каждой телескопической опоры содержат корпус с монтажным фланцем, нижний, внутренние и внешние промежуточные стаканы, выполненные в виде полых цилиндров одинаковой высоты и снабженные зубчатыми втулками, стопорное кольцо, установленное на нижнем торце корпуса, толкатель, подъемные винты, монтажную обойму с монтажной втулкой высотой каждой из них, равной 0,2 высоты корпуса, и с четырехгранной головкой на верхнем торце каждой из них, опорную плиту, выполненную в виде прямоугольника с овальной формой его сторон, расположенных перпендикулярно оси, параллельной оси пролетной секции, с загнутыми вверх концами, поперечный упор, жестко присоединенный к корпусу телескопической опоры перпендикулярно оси соответственно первой, промежуточных и оконечной пролетных секций и направленный после возведения моста к оси пролетных секций, гибкие связи, закрепленные на опорной плите и монтажном фланце;

причем на каждой плите проезжей части первой и промежуточных пролетных секций параллельно их оси на равном расстоянии от оси пролетных строений и на расстоянии 3,0 м друг от друга жестко закреплены по две верхние направляющие, выполненные из швеллеров, концы параллельных граней которых направлены в сторону друг друга, на каждой балке жесткости промежуточных и оконечной пролетных секций параллельно их оси на равном расстоянии от оси пролетных строений и на расстоянии между собой, равном 0,9 разности расстояния между верхними направляющими и суммарной толщиной их вертикальных граней, жестко закреплены по две нижние направляющие, выполненные из швеллеров, концы параллельных граней которых направлены в противоположные стороны друг от друга;

причем две телескопические опоры плиты проезжей части первой пролетной секции жестко закреплены на каждой из боковых сторон плиты проезжей части на расстоянии от ее переднего торца, равном увеличенному на 0,5 м расстоянию по горизонтали (в свету) от корпуса телескопической опоры до передней овальной стороны ее опорной плиты, на каждой из боковых сторон плиты проезжей части первой пролетной секции со стороны телескопической опоры, обращенной к заднему торцу плиты проезжей части, жестко закреплен продольный упор с соприкосновением торцевой грани его катета с корпусом телескопической опоры;

причем на верхнем ребре каждой из боковых сторон плиты проезжей части промежуточной пролетной секции на расстоянии от переднего и заднего торцов плиты проезжей части, равном увеличенному на 0,5 м расстоянию по горизонтали (в свету) от корпуса телескопической опоры до ближайшей к нему овальной стороны опорной плиты телескопической опоры, жестко закрепляют две петли с жестко присоединенными к ним боковыми гранями прямолинейных сторон монтажных фланцев телескопических опор, с двух сторон каждой телескопической опоры жестко закрепляют петли с жестко присоединенными к ним продольными упорами Г-образного сечения на расстоянии по горизонтали (в свету) от каждого продольного упора до корпуса телескопической опоры, равном 0,02 м;

причем на верхнем ребре каждой из боковых сторон плиты проезжей части оконечной пролетной секции на расстоянии от заднего торца плиты проезжей части, равном увеличенному на 0,5 м расстоянию по горизонтали (в свету) от корпуса телескопической опоры до задней овальной стороны опорной плиты телескопической опоры, жестко закрепляют петлю с жестко присоединенной к ней боковой гранью прямолинейной стороны монтажного фланца телескопической опоры со стороны телескопической опоры, обращенной к заднему торцу плиты проезжей части, жестко закрепляют петлю с жестко присоединенным к ней продольным упором Г-образного сечения на расстоянии по горизонтали (в свету) от продольного упора до корпуса телескопической опоры, равном 0,02 м;

причем монтажный фланец и монтажная обойма выполнены в виде прямоугольника с овальной формой его сторон, расположенных перпендикулярно оси, параллельной оси пролетной секции, шириной между его прямолинейными сторонами, равной наружному диаметру корпуса телескопической опоры;

причем монтажная обойма выполнена с внутренней левой резьбой под монтажную втулку, выполненную с левой наружной резьбой и правой внутренней резьбой с внутренним диаметром, равным диаметру подъемного винта;

причем наружный диаметр нижнего стакана равен 0,95 разности между внутренним диаметром корпуса и удвоенной толщиной промежуточной зубчатой втулки, наружный диаметр внутреннего промежуточного стакана равен 0,95 внутреннего диаметра нижнего стакана, наружный и внутренний диаметры внешнего промежуточного стакана равны соответственно внутреннему и внешнему диаметрам нижнего стакана;

причем толщина стенок нижней, внутренней и внешней промежуточных зубчатых втулок равна удвоенной толщине стенки корпуса, а их наружные диаметры равны 0,95 внутреннего диаметра корпуса, каждый из зубьев зубчатых втулок выполнен в виде прямоугольного треугольника с уклоном его гипотенузы в сторону нижнего торца нижнего стакана;

причем толкатель выполнен высотой, равной 1,1 высоты корпуса, и помещен во внутреннюю полость нижнего стакана, нижняя зубчатая втулка высотой, равной 0,4 высоты нижнего стакана, закреплена на наружной поверхности нижнего стакана на расстоянии от ее верхнего торца до верхнего торца нижнего стакана, равном 0,2 высоты нижнего стакана, в средней части внутренней полости нижнего стакана установлена направляющая втулка с диаметром осевого отверстия, равным 1,05 диаметра толкателя, на нижнем торце нижнего стакана закреплена пята, присоединенная к середине опорной плиты;

причем в средней части наружной поверхности внутреннего промежуточного стакана закреплен монтажный стакан высотой, равной 0,7 высоты внутреннего промежуточного стакана, с толщиной стенки, равной разности между наружными радиусами нижнего стакана и внутреннего промежуточного стакана, нижний торец монтажного стакана совмещен с нижним торцом внутреннего промежуточного стакана, к монтажному стакану неподвижно присоединена промежуточная зубчатая втулка, верхний торец которой совмещен с верхним торцом монтажного стакана, а нижний торец размещен ниже нижнего торца внутреннего промежуточного стакана на расстоянии от него, равном 0,2 высоты нижнего стакана, во внутренней полости внутреннего и внешнего промежуточного стакана размещена опорная перегородка, выполненная с устройством в ее центре нижнего и верхнего пазов, с расстоянием от углубления нижнего паза до нижнего торца соответственно внутреннего и внешнего промежуточного стакана, равным 0,3 его высоты, во внутреннюю полость внутреннего и внешнего промежуточного стакана на расстоянии от его верхнего торца, равном 0,2 высоты соответственно внутреннего и внешнего промежуточного стакана установлена направляющая втулка с диаметром осевого отверстия, равным 1,05 диаметра стержня подъемного винта;

причем к наружной поверхности внешнего промежуточного стакана присоединена промежуточная зубчатая втулка, верхний торец которой размещен на расстоянии от верхнего торца внешнего промежуточного стакана, составляющем 0,3 его высоты, а нижний торец зубчатой втулки размещен ниже нижнего торца внешнего промежуточного стакана на расстоянии от него, равном 0,2 высоты нижнего стакана;

причем подъемные винты имеют длину, равную разности между высотой соответственно внутреннего и внешнего промежуточного стакана и расстоянием между углублениями нижнего и верхнего пазов опорной перегородки, с длиной резьбы в их верхней части, равной 1,5 высоты втулки.

Изобретение поясняется фиг. 1-19.

На фиг. 1 изображен сборно-разборный мост через малые реки, общий вид сбоку.

На фиг. 2 изображен сборно-разборный мост через малые реки, общий вид сверху.

На фиг. 3 изображена первая пролетная секция сборно-разборного моста через малые реки в первой фазе ее установки в створе реки, вид сбоку (позиция I-а).

На фиг. 4 изображена первая пролетная секция сборно-разборного моста через малые реки в завершающей фазе ее установки в створе реки, вид сбоку (позиция I-б).

На фиг. 5 изображена промежуточная пролетная секция сборно-разборного моста через малые реки в фазе ее установки на первую секцию, вид в разрезе с торцевой стороны.

На фиг. 6 изображена промежуточная пролетная секция сборно-разборного моста через малые реки в фазе ее установки на первую секцию, вид сбоку (позиция II).

На фиг. 7 изображена первая пролетная секция сборно-разборного моста через малые реки после ее установки в створе реки в фазе ее установки на первую секцию, вид в поперечном разрезе.

На фиг. 8 изображена промежуточная пролетная секция сборно-разборного моста через малые реки в фазе установки ее передних опор на дно реки (позиция III).

На фиг. 9 изображена промежуточная пролетная секция сборно-разборного моста через малые реки в фазе ее установки на первую секцию, вид в поперечном разрезе.

На фиг. 10 изображена промежуточная пролетная секция сборно-разборного моста через малые реки в фазе закрепления концевой части ее верхней плиты с концевой частью нижней плиты первой секции (позиция IV).

На фиг. 11 изображена оконечная пролетная секция сборно-разборного моста через малые реки в фазе установки ее опор на дно реки (позиция V).

На фиг. 12 изображена оконечная пролетная секция сборно-разборного моста через малые реки в фазе закрепления концевой части ее верхней плиты с концевой частью нижней плиты промежуточной секции (позиция VI).

На фиг. 13 изображена опора в исходном положении, вид в вертикальном разрезе (позиция I).

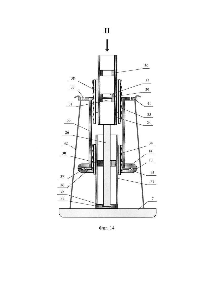
На фиг. 14 изображена опора в начальной фазе установки в ней промежуточного стакана, вид в вертикальном разрезе (позиция II).

На фиг. 15 изображена опора в первой промежуточной фазе установки в ней промежуточного стакана, вид в вертикальном разрезе (позиция III).

На фиг. 16 изображена опора во второй промежуточной фазе установки в ней промежуточного стакана, вид в вертикальном разрезе (позиция IV).

На фиг. 17 изображена опора в завершающей фазе установки в ней промежуточного стакана, вид в вертикальном разрезе (позиция V).

На фиг. 18 изображена опора в начальной фазе установки в ней промежуточного стакана, вид сверху.

На фиг. 19 изображена опора в завершающей фазе установки в ней промежуточного стакана, вид сверху.

На фиг. 1-19 применены следующие обозначения:

1 - первая пролетная секция;

2 - промежуточная пролетная секция;

3 - оконечная пролетная секция;

4 - плита проезжей части;

5 - балка жесткости;

6 - телескопическая опора;

7 - опорная плита;

8 - продольный упор;

9 - верхняя направляющая;

10 - нижняя направляющая;

11 - сходня;

12 - монтажная обойма;

13 - стопорное кольцо;

14 - верхнее основание;

15 - нижнее основание;

16 - поперечный упор;

17 - болт;

18 - инженерное транспортное средство;

19 - гидравлическое навесное устройство;

20 - соединительная плита;

21 - петля;

22 - корпус;

23 - нижний стакан;

24 - внутренний промежуточный стакан;

25 - внешний промежуточный стакан;

26 - толкатель;

27 - подъемный винт;

28 - пята;

29 - опорная перегородка;

30 - направляющая втулка;

31 - нижний паз;

32 - верхний паз;

33 - монтажный фланец;

34 - нижняя зубчатая втулка;

35 - промежуточная зубчатая втулка;

36 - стопор;

37 - пружина;

38 - монтажный стакан;

39 - головка;

40 - монтажная втулка;

41 - проушина;

42 - гибкая связь;

43 - береговой удерживающий трос.

Сборно-разборный мост через малые реки работает следующим образом. Конструкцию моста выполняют из первой 1, двух промежуточных 2 и оконечной 3 пролетных секций, снабженных телескопическими опорами 6, и четырех береговых удерживающих тросов 43, двух сходней 11. В нижней части каждой первой 1, промежуточных 2 и оконечной 3 пролетных секций выполняют балку жесткости 5, на которой закрепляют плиту проезжей части 4 с уступом в 0,5 м в сторону, противоположную направлению сборки моста. Длину балки жесткости 5 и плиты проезжей части 4 принимают равной 5,0 м, ширину - 4,5 м. На каждой плите проезжей части 4 первой 1 и промежуточных 2 пролетных секций параллельно их оси на равном расстоянии от оси пролетных строений и на расстоянии 3,0 м друг от друга жестко закрепляют по две верхние направляющие 9, выполненные из швеллеров, с размещением концов параллельных граней швеллеров обеих верхних направляющих 9 в сторону друг друга. На каждой балке жесткости 5 промежуточных 2 и оконечной 3 пролетных секций параллельно их оси на равном расстоянии от оси пролетных строений и на расстоянии между собой, равном 0,9 разности расстояния между верхними направляющими 9 и суммарной толщиной их вертикальных граней, жестко закрепляют по две нижние направляющие 10, выполненные из швеллеров, с размещением концов параллельных граней швеллеров обеих нижних направляющих 10 в противоположные стороны друг от друга. На задней части каждой плиты проезжей части 4 первой 1, промежуточных 2 и оконечной 3 пролетных секций на равном удалении от ее боковых сторон жестко закрепляют соединительную плиту 20 для присоединения к ней гидравлического навесного устройства 19 инженерного транспортного средства 18. Корпус 22, нижний 23, внутренний 24 и внешний 25 промежуточные стаканы выполняют в виде полых цилиндров, соединяемых в телескопической конструкции с возможностью размещения во внутренней полости указанной телескопической конструкции толкателя 26 и подъемных винтов 27, выполненных в виде цельнометаллических цилиндрических стержней. Высоту нижнего 23, внутреннего 24 и внешнего 25 промежуточных стаканов принимают равной высоте корпуса 22. На верхнем торце корпуса 22 жестко закрепляют монтажный фланец 33 с осевым отверстием диаметром, равным внутреннему диаметру корпуса 22, для закрепления на нем на болтах 17 монтажной обоймы 12. Монтажный фланец 33 выполняют в виде прямоугольника с овальной формой его сторон, расположенных перпендикулярно оси, параллельной оси пролетной секции, и шириной между его прямолинейными сторонами, равной наружному диаметру корпуса 22. На каждом из концов овальных сторон монтажного фланца 33 на равном удалении друг от друга выполняют проушины 41 под гибкие связи 42. Монтажную обойму 12 выполняют в виде прямоугольника с овальной формой его сторон, расположенных перпендикулярно оси, параллельной оси пролетной секции, шириной между его прямолинейными сторонами, равной наружному диаметру корпуса 22, с внутренней левой резьбой под монтажную втулку 40. Монтажную втулку 40 выполняют в виде полого цилиндра с левой наружной резьбой и правой внутренней резьбой, с внутренним диаметром, равным диаметру подъемного винта 27, с четырехгранной головкой 39 на верхнем торце монтажной втулки 40. Высоту монтажной обоймы 12 и монтажной втулки 40 принимают равной 0,2 высоты корпуса 22. На нижнем торце корпуса 22 жестко закрепляют верхнее основание 14 стопорного кольца 13, к которому присоединяют нижнее основание 15 с установленными в нем на равных расстояниях друг от друга четырех пружин 37 со стопорами 36, соприкасающимися с зубьями нижней 34 и промежуточных 35 зубчатых втулок. К корпусу 22, вдоль его оси, на расстоянии от монтажного фланца 33, равном 1,05 суммарной толщины плиты проезжей части 4 и балки жесткости 5, перпендикулярно оси первой 1, промежуточных 2 и оконечной 3 пролетных секций, жестко присоединяют поперечный упор 16, выполняемый в форме прямоугольного треугольника и направленный в рабочем положении перпендикулярно оси соответственно первой, промежуточных и оконечной пролетных секций и направленный к оси пролетных секций. На наружной поверхности нижнего стакана 23 неподвижно закрепляют нижнюю зубчатую втулку 34 высотой, равной 0,4 высоты нижнего стакана 23, с размещением ее верхнего торца на расстоянии от верхнего торца нижнего стакана 23, равном 0,2 высоты нижнего стакана 23. В среднюю часть внутренней полости нижнего стакана 23 запрессовывают направляющую втулку 30, диаметр осевого отверстия которой принимают равным 1,05 диаметра толкателя 26. К нижнему торцу нижнего стакана 23 жестко присоединяют пяту 28 диаметром, равным наружному диаметру нижнего стакана 23, с устройством в ее центре верхнего паза 32 диаметром, равным диаметру толкателя 26. Толкатель 26 выполняют высотой, равной 1,1 высоты корпуса 22 и помещают его во внутреннюю полость нижнего стакана 23, пропуская через осевое отверстие направляющей втулки 30 и устанавливая в верхний паз 32 пяты 28. Опорную плиту 7 выполняют в виде прямоугольника с овальной формой его сторон, расположенных перпендикулярно оси, параллельной оси пролетной секции, с загнутыми вверх концами. Пяту 28 жестко присоединяют к середине опорной плиты 7. В средней части наружной поверхности внутреннего промежуточного стакана 24 неподвижно закрепляют монтажный стакан 38 высотой, равной 0,7 высоты внутреннего промежуточного стакана 24 с толщиной стенки, равной разности между наружными радиусами нижнего стакана 23 и внутреннего промежуточного стакана 24, с совмещением нижнего торца монтажного стакана 38 с нижним торцом внутреннего промежуточного стакана 24. К монтажному стакану 38 неподвижно присоединяют промежуточную зубчатую втулку 35 с совмещением ее верхнего торца с верхним торцом монтажного стакана 38 и размещением нижнего торца промежуточной зубчатой втулки 35 ниже нижнего торца внутреннего промежуточного стакана 24 на расстоянии от него, равном 0,2 высоты нижнего стакана 23. Во внутреннюю полость внутреннего промежуточного стакана 24 запрессовывают опорную перегородку 29, выполняемую с устройством в ее центре нижнего 31 и верхнего 32 пазов, с расстоянием от углубления нижнего паза 31 до нижнего торца внутреннего промежуточного стакана 24, равным 0,3 высоты внутреннего промежуточного стакана 24. Во внутреннюю полость внутреннего промежуточного стакана 24 на расстоянии от его верхнего торца, равном 0,2 его высоты, запрессовывают направляющую втулку 30, диаметр осевого отверстия которой принимают равным 1,05 диаметра стержня подъемного винта 27. К наружной поверхности внешнего промежуточного стакана 25 неподвижно присоединяют промежуточную зубчатую втулку 35 с размещением ее верхнего торца на расстоянии от верхнего торца внешнего промежуточного стакана 25, составляющем 0,3 высоты внешнего промежуточного стакана 25, с размещением нижнего торца промежуточной зубчатой втулки 35 ниже нижнего торца внешнего промежуточного стакана 25 на расстоянии от него, равном 0,2 высоты нижнего стакана 23. Во внутреннюю полость внешнего промежуточного стакана 25 запрессовывают опорную перегородку 29, выполняемую с устройством в ее центре нижнего 31 и верхнего 32 пазов, с расстоянием от углубления нижнего паза 31 до нижнего торца внешнего промежуточного стакана 25, равным 0,3 высоты внешнего промежуточного стакана 25. Во внутреннюю полость внешнего промежуточного стакана 25 на расстоянии от его верхнего торца, равном 0,2 его высоты, запрессовывают направляющую втулку 30, диаметр осевого отверстия которой принимают равным 1,05 диаметра стержня подъемного винта 27. Наружный диаметр нижнего стакана 23 принимают равным 0,95 разности между внутренним диаметром корпуса 22 и удвоенной толщиной нижней промежуточной зубчатой втулки 34. Наружный диаметр внутреннего промежуточного стакана 24 принимают равным 0,95 внутреннего диаметра нижнего стакана 23, наружный и внутренний диаметры внешнего промежуточного стакана 25 принимают равными наружному и внутреннему диаметрам нижнего стакана 23. Толщину стенок нижней 34 и промежуточных 35 зубчатых втулок принимают равной удвоенной толщине стенки корпуса 22, а их наружные диаметры принимают равными 0,95 внутреннего диаметра корпуса 22. Каждый из зубьев нижней 34 и промежуточных 35 зубчатых втулок выполняют в виде прямоугольного треугольника с уклоном его гипотенузы в сторону нижнего торца нижнего стакана 23. Подъемные винты 27 выполняют длиной, равной разности между высотой соответственно внутреннего 24 и внешнего 25 промежуточных стаканов и расстоянием между углублениями нижнего 31 и верхнего 32 пазов опорной перегородки 29, с четырехгранными головками 39 на верхних торцах подъемных винтов 27 и резьбой в их верхней части на длине, равной 1,5 высоты монтажной втулки 40. На каждой из боковых сторон плиты проезжей части 4 первой пролетной секции 1 жестко закрепляют телескопическую опору 6 на расстоянии от переднего торца плиты проезжей части 4 первой пролетной секции 1, равном увеличенному на 0,5 м расстоянию по горизонтали (в свету) от корпуса 22 телескопической опоры 6 до передней овальной стороны ее опорной плиты 7. На каждой из боковых сторон плиты проезжей части 4 первой пролетной секции 1 со стороны телескопической опоры 6, обращенной к заднему торцу плиты проезжей части 4 первой пролетной секции 1, жестко закрепляют продольный упор 8, выполненный Г-образным сечением с соприкосновением торцевой грани его катета с корпусом 22 телескопической опоры 6. На верхнем ребре каждой из боковых сторон плиты проезжей части 4 промежуточной пролетной секции 2 на расстоянии от переднего и заднего торцов плиты проезжей части 4 промежуточной пролетной секции 2, равном увеличенному на 0,5 м расстоянию по горизонтали (в свету) от корпуса 22 телескопической опоры 6 до ближайшей к нему овальной стороны опорной плиты 7, жестко закрепляют две петли 21 с жестко присоединенными к ним боковыми гранями прямолинейных сторон монтажных фланцев 33 телескопических опор 6 с поперечными упорами, направленными за внешнюю сторону плиты проезжей части 4 промежуточной пролетной секции 2. На верхнем ребре каждой из боковых сторон плиты проезжей части 4 промежуточной пролетной секции 2 с двух сторон телескопической опоры 6, жестко закрепляют петли 21 с жестко присоединенными к ним продольными упорами 8 с расстоянием по горизонтали (в свету), равным 0,02 м от каждого продольного упора 8 до корпуса 22 телескопической опоры 6. На верхнем ребре каждой из боковых сторон плиты проезжей части 4 промежуточной пролетной секции 2 на расстоянии от переднего и заднего торцов плиты проезжей части 4 промежуточной пролетной секции 2, равном увеличенному на 0,5 м расстоянию по горизонтали (в свету) от корпуса 22 телескопической опоры 6 до ближайшей к нему овальной стороны опорной плиты 7, жестко закрепляют четыре петли 21 с жестко присоединенными к ним боковыми гранями прямолинейных сторон монтажных фланцев 33 телескопических опор 6. На верхнем ребре каждой из боковых сторон плиты проезжей части 4 промежуточной пролетной секции 2 с двух сторон телескопической опоры 6, жестко закрепляют петли 21 с жестко присоединенными к ним продольными упорами 8 с расстоянием по горизонтали (в свету), равным 0,02 м от каждого продольного упора 8 до корпуса 22 телескопической опоры 6.

В начальной стадии возведения моста регулируют высоту каждой телескопической опоры 6 первой пролетной секции 1 с учетом глубины створа реки в месте установки первой пролетной секции 1 и требуемой высоты моста. Для этого во внутренней полости корпуса 22 устанавливают внутренний промежуточный стакан 24, помещают его нижнюю часть во внутреннюю полость нижнего стакана 23 до соприкосновения нижнего торца его монтажного стакана 38 с верхним торцом нижнего стакана 23. При этом промежуточную зубчатую втулку 35 помещают между стенками корпуса 22 и нижнего стакана 23 с соприкосновением нижнего торца промежуточной зубчатой втулки 35 с верхним торцом нижней зубчатой втулки 34. На монтажном фланце 33 корпуса 22 каждой телескопической опоры 6 закрепляют монтажную обойму 12 с установленной в ней монтажной втулкой 40, во внутреннюю полость монтажной втулки 40 устанавливают подъемный винт 27, на головке 39 подъемного винта 27 закрепляют маховик (не показан), вращают его по часовой стрелке, перемещая подъемный винт 27 в монтажной втулке 40, пропуская его через осевое отверстие направляющей втулки 30, перемещают опорную перегородку 29 вместе с внутренним промежуточным стаканом 24, воздействуя на верхний 32 и нижний 31 пазы опорной перегородки 29, толкатель 26, нижний стакан 23 и пяту 28 с опорной плитой 7. При необходимости дополнительного увеличения высоты соответствующей телескопической опоры на головке 39 монтажной втулки 40 закрепляют маховик (не показан), вращают его против часовой стрелки, перемещая монтажную втулку 40 вместе с подъемным винтом 27. Положение опорной плиты 7 каждой из телескопических опор 6 закрепляют гибкими связями 42 в проушинах 41 на монтажном фланце 33 корпуса 22. Гидравлическое навесное устройство 19 инженерного транспортного средства 18 присоединяют к соединительной плите 20 первой пролетной секции 1, перемещают первую пролетную секцию 1 в створ реки и закрепляют ее положение двумя береговыми удерживающими тросами 43, устанавливаемыми с обеих боковых сторон первой пролетной секции 1. При необходимости выравнивания горизонтального положения первой пролетной секции 1 освобождают гибкие связи 42 и выполняют регулировку высоты каждой телескопической опоры 6 в последовательности, соответствующей регулировке телескопических опор 6 первой пролетной секции 1 в начальной стадии возведения моста. Если выполненная высота телескопической опоры 6 оказывается недостаточной, монтажную обойму 12 с установленной в ней монтажной втулкой 40 отсоединяют от монтажного фланца 33, во внутренней полости корпуса 22 устанавливают внешний промежуточный стакан 25, помещают его нижнюю часть во внутреннюю полость внутреннего промежуточного стакана 24 до соприкосновения нижнего торца внешнего промежуточного стакана 25 с верхним торцом внутреннего промежуточного стакана 24. При этом промежуточную зубчатую втулку 35 помещают между стенками корпуса 22 и внутреннего промежуточного стакана 24 с соприкосновением нижнего торца промежуточной зубчатой втулки 35 внешнего промежуточного стакана 25 с верхним торцом нижней зубчатой втулки 34 внутреннего промежуточного стакана 24, монтажную втулку 40 в монтажной обойме 12 перемещают при помощи маховика (не показан) в исходное верхнее положение, на монтажном фланце 33 корпуса 22 каждой телескопической опоры 6 закрепляют монтажную обойму 12 с установленной в ней монтажной втулкой 40, освобождают гибкие связи 42, во внутреннюю полость монтажной втулки 40 устанавливают подъемный винт 27, на головке 39 подъемного винта 27 закрепляют маховик (не показан), вращают его по часовой стрелке, перемещая подъемный винт 27 в монтажной втулке 40, пропуская его через осевое отверстие направляющей втулки 30, перемещают опорную перегородку 29 вместе с внешним 25 и внутренним 24 промежуточными стаканами, воздействуя на верхний 32 и нижний 31 пазы опорной перегородок 29, толкатель 26, нижний стакан 23 и пяту 28 с опорной плитой 7. Отсоединяют гидравлическое навесное устройство 19 инженерного транспортного средства 18 от соединительной плиты 20 первой пролетной секции 1, сходню 11 присоединяют к задней торцевой грани плиты проезжей части 4 первой пролетной секции 1.

При подготовке к продольной надвижке промежуточной пролетной секции 2 на первую пролетную секцию 1 на каждой телескопической опоре 6 с размещенным во внутренней полости ее корпуса 22 нижним стаканом 23 отсоединяют от монтажного фланца 33 монтажную обойму 12 с установленной в ней монтажной втулкой 40, положение опорной плиты 7 каждой из телескопических опор 6 закрепляют гибкими связями 42 в проушинах 41 на монтажном фланце 33 корпуса 22, телескопические опоры 6 и продольные упоры 8, закрепленные на петлях 21, устанавливают в вертикальное положение. При этом обратное перемещение нижнего 23 стакана в корпусе 22 каждой телескопической опоры 6 предотвращают за счет зацепления установленных между верхним 14 и нижним 15 основаниями стопорного кольца 13 стопоров 36, снабженных пружинами 37, на нижней зубчатой втулке 34. Гидравлическое навесное устройство 19 инженерного транспортного средства 18 присоединяют к соединительной плите 20 промежуточной пролетной секции 2, надвигают балку жесткости 5 промежуточной пролетной секции 2 по сходне 11 на плиту проезжей части 4 первой пролетной секции 1, помещая нижние направляющие 10 балки жесткости 5 промежуточной пролетной секции 2 в верхние направляющие 9 плиты проезжей части 4 первой пролетной секции 1. После достижения промежуточной пролетной секцией 2 положения, при котором передний торец плиты проезжей части 4 промежуточной пролетной секции 2 расположен на расстоянии от переднего торца плиты проезжей части 4 первой пролетной секции 1, равном 0,3 длины плиты проезжей части 4 промежуточной пролетной секции 2, телескопические опоры 6 и продольные опоры 8, закрепленные на передней части плиты проезжей части 4 промежуточной пролетной секции 2, поворачивают вниз на петлях 21, поперечные упоры 16 соединяют резьбовым соединением (не показано) с балкой жесткости 5 и плитой проезжей части 4, продольные упоры 8 соединяют резьбовым соединением (не показано) с плитой проезжей части 4. Регулировку требуемой высоты каждой телескопической опоры 6 выполняют в последовательности, аналогичной последовательности, применяемой при регулировке высоты каждой телескопической опоры 6 первой пролетной секции 1 в начальной стадии возведения моста. При этом для предотвращения самопроизвольного опускания опорной плиты 7 используют гибкие связи 42. Промежуточную пролетную секцию 2 перемещают до достижения задним торцом ее плиты проезжей части 4 переднего торца первой пролетной секции 1. Телескопические опоры 6 и продольные опоры 8, закрепленные на задней части плиты проезжей части 4 промежуточной пролетной секции 2, поворачивают вниз на петлях 21, поперечные упоры 16 соединяют резьбовым соединением (не показано) с балкой жесткости 5 и плитой проезжей части 4, продольные упоры 8 соединяют резьбовым соединением (не показано) с плитой проезжей части 4, гидравлическое навесное устройство 19 инженерного транспортного средства 18 отсоединяют от соединительной плиты 20 промежуточной пролетной секции 2, заднюю часть плиты проезжей части 4 промежуточной пролетной секции 2 закрепляют резьбовыми соединениями (не показаны) с передней частью балки жесткости 5 первой пролетной секции 1, положение промежуточной пролетной секции 2 закрепляют двумя береговыми удерживающими тросами 43, устанавливаемыми с обеих боковых сторон промежуточной пролетной секции 2. При необходимости выравнивания горизонтального положения промежуточной пролетной секции 2 освобождают гибкие связи 42 и выполняют регулировку высоты каждой телескопической опоры 6 в последовательности, аналогичной последовательности, применяемой при выравнивании горизонтального положения первой пролетной секции 1 в начальной стадии возведения моста. Подготовку и надвижку последующих промежуточных пролетных секций 2 выполняют в такой же последовательности.

Подготовку к продольной надвижке оконечной пролетной секции 3 выполняют в последовательности, аналогичной последовательности, применяемой при подготовке к надвижке промежуточной пролетной секции 2 на первую пролетную секцию 1. Надвигают балку жесткости 5 оконечной пролетной секции 3 по сходне 11 на плиты проезжей части 4 первой пролетной секции 1 и промежуточной пролетной секции 2, помещая нижние направляющие 10 балки жесткости 5 оконечной пролетной секции 3 в верхние направляющие 9 плит проезжей части 4 первой пролетной секции 1 и промежуточной пролетной секции 2. После достижения оконечной пролетной секции ей положения, при котором передний торец плиты проезжей части 4 оконечной пролетной секции 3 расположен на расстоянии от переднего торца плиты проезжей части 4 промежуточной пролетной секции 2, равном 0,3 длины плиты проезжей части 4 оконечной пролетной секции 3, гидравлическое навесное устройство 19 инженерного транспортного средства 18 отсоединяют от соединительной плиты 20 оконечной пролетной секции 3. При помощи автомобильного крана (не показан) оконечную пролетную секцию 3 перемещают до достижения задним торцом ее плиты проезжей части 4 переднего торца промежуточной пролетной секции 2, с размещением переднего торца балки жесткости 5 оконечной пролетной секции 3 на береговой части створа реки. Заднюю часть плиты проезжей части 4 оконечной пролетной секции 3 закрепляют резьбовыми соединениями (не показаны) с передней частью балки жесткости 5 промежуточной пролетной секции 2, положение оконечной пролетной секции 3 закрепляют двумя береговыми удерживающими тросами 43, устанавливаемыми с обеих боковых сторон оконечной пролетной секции 3.

Телескопические опоры 6 и продольные опоры 8, закрепленные на задней части плиты проезжей части 4 оконечной пролетной секции 3, поворачивают вниз на петлях 21, поперечные упоры 16 соединяют резьбовым соединением (не показано) с балкой жесткости 5 и плитой проезжей части 4, продольные упоры 8 соединяют резьбовым соединением (не показано) с плитой проезжей части 4. Регулировку требуемой высоты каждой телескопической опоры 6 выполняют в последовательности, аналогичной последовательности, применяемой при регулировке высоты каждой телескопической опоры 6 первой пролетной секции 1 в начальной стадии возведения моста. Сходню 11 присоединяют к передней торцевой грани плиты проезжей части 4 оконечной пролетной секции 3.

Выравнивание горизонтального положения пролетных секций в процессе эксплуатации сборно-разборного моста через малые реки в целях обеспечения его безопасной эксплуатации выполняют посредством регулировки высоты соответствующих телескопической опор 6 в указанной последовательности действий.

Демонтаж сборно-разборного моста через малые реки выполняют в обратной последовательности с применением автомобильного крана (не показан).

Таким образом, в результате реализации предложенного технического решения обеспечивается повышение оперативности возведения сборно-разборного моста через малые реки и безопасности его эксплуатации, а также его многократное применение за счет его исполнения из унифицированных конструктивных элементов и возможности регулировки горизонтального положения пролетных секций.

Похожие патенты RU2836185C1

название год авторы номер документа
УНИВЕРСАЛЬНЫЙ АВТОДОРОЖНЫЙ РАЗБОРНЫЙ МОСТ (УАРМ) 2014
  • Гусев Александр Александрович
  • Шутов Евгений Дмитриевич
  • Николаевский Владимир Евстафьевич
  • Роганова Тамара Ивановна
  • Калинин Иван Сергеевич
  • Демочкин Дмитрий Михайлович
  • Гусева Анна Александровна
  • Недоварков Сергей Алексеевич
RU2580957C1
Подводный переход сборно-разборного трубопровода из труб с раструбными соединениями 2024
  • Паутов Валерий Иванович
RU2841451C1
МОБИЛЬНОЕ ПРОЛЕТНОЕ СТРОЕНИЕ МОСТА И СПОСОБ ЕГО ТРАНСПОРТИРОВКИ И МОНТАЖА 2012
  • Александренков Павел Анатольевич
  • Токарев Александр Викторович
  • Косенков Олег Иванович
  • Иванов Вячеслав Юрьевич
  • Орлов Олег Михайлович
  • Шалин Анатолий Николаевич
  • Диденко Виктор Архипович
RU2509186C2
Устройство для удаления аварийных разливов жидких углеводородов с поверхности судоходных водоёмов и рек 2022
  • Паутов Валерий Иванович
RU2783520C1
Мобильный монтажный комплекс для сборно-разборных трубопроводов с раструбными соединениями труб 2024
  • Паутов Валерий Иванович
RU2841447C1
УСТАНОВКА В ПРОЕКТНОЕ ПОЛОЖЕНИЕ ПРОЛЕТНОГО СТРОЕНИЯ ПОДВОДНОГО АВТОДОРОЖНОГО РАЗБОРНОГО МОСТА СОВМЕСТНО С ОДНОЙ ПРОМЕЖУТОЧНОЙ СВАЙНО-БАШМАЧНОЙ ОПОРОЙ 2019
  • Жаворонок Денис Евгеньевич
  • Вуколов Сергей Александрович
  • Светлов Лев Павлович
  • Мячин Валерий Николаевич
  • Гольцер Герман Константинович
  • Стройков Владислав Алексеевич
  • Вороной Владимир Анатольевич
RU2737748C1
Полевой заправочный модуль на 4 точки заправки (ПЗМ- 4) 2023
  • Паутов Валерий Иванович
RU2821600C1
ПРОЛЕТНОЕ СТРОЕНИЕ МОСТА 2023
  • Быстров Константин Анатольевич
  • Дворцевая Анастасия Миркаримовна
  • Калинин Иван Сергеевич
  • Косенков Олег Иванович
  • Лагунов Сергей Александрович
  • Лисицин Александр Викторович
  • Осетров Сергей Николаевич
  • Умалёнов Михаил Юрьевич
  • Шалин Анатолий Николаевич
  • Смирнов Владимир Владимирович
RU2828042C1
Устройство для сбора мусора с проезжей части улично-дорожной сети населённых пунктов 2021
  • Паутов Валерий Иванович
RU2757688C1
Способ переброски большепролетных трубопроводов доставки пароводяной смеси над каньоном, расположенным в сейсмоактивной зоне 2023
  • Беллендир Евгений Николаевич
  • Илларионов Александр Геннадьевич
  • Бударин Александр Михайлович
  • Ремпель Георгий Игоревич
  • Бутовка Алексей Николаевич
  • Кретов Дмитрий Александрович
RU2815705C1

Иллюстрации к изобретению RU 2 836 185 C1

Реферат патента 2025 года Сборно-разборный мост через малые реки

Изобретение относится к области мостостроения и может быть использовано при возведении сборно-разборных мостов с балочными пролетными строениями через малые реки шириной до 25,0 м с устойчивым неразмываемым руслом. Технический результат - повышение оперативности возведения моста через малые реки и возможность его многократного применения. Сборно-разборный мост через малые реки содержит первую, промежуточные и оконечную пролетные секции, каждая из которых выполнена длиной 5,0 м и шириной 4,5 м, снабжена телескопическими опорами, включает балку жесткости и закрепленную на ней плиту проезжей части с уступом плиты проезжей части 0,5 м в сторону, противоположную направлению сборки моста, береговые удерживающие тросы, две сходни, соединенные соответственно с первой и оконечной пролетными секциями. Основные несущие элементы каждой телескопической опоры содержат корпус с монтажным фланцем, нижний, внутренние и внешние промежуточные стаканы, выполненные в виде полых цилиндров одинаковой высоты и снабженные зубчатыми втулками, стопорное кольцо, установленное на нижнем торце корпуса, толкатель, подъемные винты, монтажную обойму с монтажной втулкой высотой каждой из них, равной 0,2 высоты корпуса, и с четырехгранной головкой на верхнем торце каждой из них, опорную плиту, выполненную в виде прямоугольника с овальной формой его сторон, расположенных перпендикулярно оси, параллельной оси пролетной секции, с загнутыми вверх концами, поперечный упор, жестко присоединенный к корпусу телескопической опоры перпендикулярно оси соответственно первой, промежуточных и оконечной пролетных секций и направленный после возведения моста к оси пролетных секций, гибкие связи, закрепленные на опорной плите и монтажном фланце.1 н. и 8 з.п. ф-лы, 19 ил.

Формула изобретения RU 2 836 185 C1

1. Сборно-разборный мост через малые реки, содержащий первую, промежуточные и оконечную пролетные секции, каждая из которых выполнена длиной 5,0 м и шириной 4,5 м, снабжена телескопическими опорами, включает балку жесткости и закрепленную на ней плиту проезжей части с уступом плиты проезжей части 0,5 м в сторону, противоположную направлению сборки моста, с жестко закрепленными на каждой плите проезжей части первой и промежуточных пролетных секций параллельно их оси двумя верхними направляющими, выполненными из швеллеров, концы параллельных граней которых направлены в сторону друг друга на равном расстоянии от оси пролетных строений и на расстоянии 3,0 м друг от друга, с жестко закрепленными на каждой балке жесткости промежуточных и оконечной пролетных секций параллельно их оси двумя нижними направляющими, выполненными из швеллеров, концы параллельных граней которых направлены в противоположные стороны друг от друга на равном расстоянии от оси пролетных строений и на расстоянии между собой, равном 0,9 разности расстояния между верхними направляющими и суммарной толщиной их вертикальных граней, береговые удерживающие тросы, две сходни, соединенные соответственно с первой и оконечной пролетными секциями, основные несущие элементы каждой телескопической опоры включают корпус с монтажным фланцем, нижний, внутренние и внешние промежуточные стаканы, выполненные в виде полых цилиндров одинаковой высоты и снабженные зубчатыми втулками, стопорное кольцо, установленное на нижнем торце корпуса, толкатель, подъемные винты, монтажную обойму с монтажной втулкой высотой каждой из них, равной 0,2 высоты корпуса, и с четырехгранной головкой на верхнем торце каждой из них, опорную плиту, выполненную в виде прямоугольника с овальной формой его сторон, расположенных перпендикулярно оси соответствующей пролетной секции, с загнутыми вверх концами, поперечный упор, жестко присоединенный к корпусу телескопической опоры перпендикулярно оси соответствующей пролетной секции и направленный в сторону оси соответствующей пролетной секции после ее установки в створе реки, гибкие связи, закрепленные на опорной плите и монтажном фланце, две телескопические опоры плиты проезжей части первой пролетной секции жестко закреплены на каждой из боковых сторон плиты проезжей части на расстоянии от ее переднего торца, равном увеличенному на 0,5 м расстоянию по горизонтали в свету от корпуса телескопической опоры до передней овальной стороны ее опорной плиты, на каждой из боковых сторон плиты проезжей части первой пролетной секции со стороны телескопической опоры, обращенной к заднему торцу плиты проезжей части, жестко закреплен продольный упор с соприкосновением торцевой грани его катета с корпусом телескопической опоры, на верхнем ребре каждой из боковых сторон плиты проезжей части промежуточной пролетной секции на расстоянии от переднего и заднего торцов плиты проезжей части, равном увеличенному на 0,5 м расстоянию по горизонтали в свету от корпуса телескопической опоры до ближайшей к нему овальной стороны опорной плиты телескопической опоры, жестко закреплены две петли с жестко присоединенными к ним боковыми гранями прямолинейных сторон монтажных фланцев телескопических опор, с двух сторон каждой телескопической опоры жестко закреплены петли с жестко присоединенными к ним продольными упорами Г-образного сечения, на верхнем ребре каждой из боковых сторон плиты проезжей части оконечной пролетной секции на расстоянии от заднего торца плиты проезжей части, равном увеличенному на 0,5 м расстоянию по горизонтали в свету от корпуса телескопической опоры до задней овальной стороны опорной плиты телескопической опоры, жестко закреплена петля с жестко присоединенной к ней боковой гранью прямолинейной стороны монтажного фланца телескопической опоры со стороны телескопической опоры, обращенной к заднему торцу плиты проезжей части, жестко закреплена петля с жестко присоединенным к ней продольным упором Г-образного сечения, каждый продольный упор имеет длину присоединенной к петле полки, равную расстоянию от петли до оси корпуса телескопической опоры после ее установки в створе реки, и размещен относительно каждого корпуса телескопической опоры на расстоянии по горизонтали в свету, равном 0,02 м.

2. Сборно-разборный мост через малые реки по п. 1, отличающийся тем, что монтажный фланец и монтажная обойма выполнены в виде прямоугольника с овальной формой его сторон, расположенных перпендикулярно оси, параллельной оси пролетной секции, шириной между его прямолинейными сторонами, равной наружному диаметру корпуса телескопической опоры.

3. Сборно-разборный мост через малые реки по п. 1, отличающийся тем, что монтажная обойма выполнена с внутренней левой резьбой под монтажную втулку, выполненную с левой наружной резьбой и правой внутренней резьбой с внутренним диаметром, равным диаметру подъемного винта.

4. Сборно-разборный мост через малые реки по п. 1, отличающийся тем, что наружный диаметр нижнего стакана равен 0,95 разности между внутренним диаметром корпуса и удвоенной толщиной промежуточной зубчатой втулки, наружный диаметр внутреннего промежуточного стакана равен 0,95 внутреннего диаметра нижнего стакана, наружный и внутренний диаметры внешнего промежуточного стакана равны соответственно внутреннему и внешнему диаметрам нижнего стакана.

5. Сборно-разборный мост через малые реки по п. 1, отличающийся тем, что толщина стенок нижней, внутренней и внешней промежуточных зубчатых втулок равна удвоенной толщине стенки корпуса, а их наружные диаметры равны 0,95 внутреннего диаметра корпуса, каждый из зубьев зубчатых втулок выполнен в виде прямоугольного треугольника с уклоном его гипотенузы в сторону нижнего торца нижнего стакана.

6. Сборно-разборный мост через малые реки по п. 1, отличающийся тем, что толкатель выполнен высотой, равной 1,1 высоты корпуса, и помещен во внутреннюю полость нижнего стакана, нижняя зубчатая втулка высотой, равной 0,4 высоты нижнего стакана, закреплена на наружной поверхности нижнего стакана на расстоянии от ее верхнего торца до верхнего торца нижнего стакана, равном 0,2 высоты нижнего стакана, в средней части внутренней полости нижнего стакана установлена направляющая втулка с диаметром осевого отверстия, равным 1,05 диаметра толкателя, на нижнем торце нижнего стакана закреплена пята, присоединенная к середине опорной плиты.

7. Сборно-разборный мост через малые реки по п. 1, отличающийся тем, что в средней части наружной поверхности внутреннего промежуточного стакана закреплен монтажный стакан высотой, равной 0,7 высоты внутреннего промежуточного стакана, с толщиной стенки, равной разности между наружными радиусами нижнего стакана и внутреннего промежуточного стакана, нижний торец монтажного стакана совмещен с нижним торцом внутреннего промежуточного стакана, к монтажному стакану неподвижно присоединена промежуточная зубчатая втулка, верхний торец которой совмещен с верхним торцом монтажного стакана, а нижний торец размещен ниже нижнего торца внутреннего промежуточного стакана на расстоянии от него, равном 0,2 высоты нижнего стакана, во внутренней полости внутреннего и внешнего промежуточного стакана размещена опорная перегородка, выполненная с устройством в ее центре нижнего и верхнего пазов, с расстоянием от углубления нижнего паза до нижнего торца соответственно внутреннего и внешнего промежуточного стакана, равным 0,3 его высоты, во внутреннюю полость внутреннего и внешнего промежуточного стакана на расстоянии от его верхнего торца, равном 0,2 высоты соответственно внутреннего и внешнего промежуточного стакана, установлена направляющая втулка с диаметром осевого отверстия, равным 1,05 диаметра стержня подъемного винта.

8. Сборно-разборный мост через малые реки по п. 1, отличающийся тем, что к наружной поверхности внешнего промежуточного стакана присоединена промежуточная зубчатая втулка, верхний торец которой размещен на расстоянии от верхнего торца внешнего промежуточного стакана, составляющем 0,3 его высоты, а нижний торец зубчатой втулки размещен ниже нижнего торца внешнего промежуточного стакана на расстоянии от него, равном 0,2 высоты нижнего стакана.

9. Сборно-разборный мост через малые реки по п. 1, отличающийся тем, что подъемные винты имеют длину, равную разности между высотой соответственно внутреннего и внешнего промежуточного стакана и расстоянием между углублениями нижнего и верхнего пазов опорной перегородки, с длиной резьбы в их верхней части, равной 1,5 высоты втулки.

Документы, цитированные в отчете о поиске Патент 2025 года RU2836185C1

Сборно-разборное пролетное строение 2023
  • Юдина Антонина Федоровна
  • Розанцева Надежда Владимировна
RU2814086C1
CN 108316124 B, 17.04.2020
CN 209010951 U, 21.06.2019
JP 6033422 A, 08.02.1994
CN 106758756 A, 31.05.2017
CN 108316124 B, 17.04.2020.

RU 2 836 185 C1

Авторы

Паутов Валерий Иванович

Даты

2025-03-11Публикация

2024-08-26Подача