Перекрестные ссылки на родственные заявки
[0001] Приоритет настоящей заявки заявляется по патентной заявке КНР 202111023112.5, поданной 1 сентября 2021 г., и патентной заявке КНР 202111450553.3, поданной 30 ноября 2021 г., все содержание которых включено в настоящую заявку посредством ссылки.
Область техники
[0002] Настоящее изобретение относится к области бытовой техники и, в частности, к устройству для обработки одежды.
Уровень техники
[0003] В повседневной жизни выстиранная одежда высушивается на воздухе. На сушку одежды большое влияние оказывают погодные факторы, так, во влажную и пасмурную погоду одежду высушить сложно. Выстиранное белье можно сушить в сушильных машинах, поэтому они становятся популярными среди потребителей.
Раскрытие сущности изобретения
[0004] Было бы полезно создать механизм, который смягчает, облегчает или даже устраняет одну или несколько из вышеперечисленных проблем.
[0005] Варианты реализации настоящего изобретения представляют устройство для обработки одежды, включающее в себя: внутренний цилиндр для размещения одежды, подлежащей обработке, а также и модуль сушки одежды; модуль сушки включает в себя: канал поглощения влаги, включающий в себя первое воздуховпускное отверстие и первое воздуховыпускное отверстие; первое воздуховпускное отверстие и первое воздуховыпускное отверстие соответственно соединены с внутренним цилиндром; циркуляционный вентилятор, установленный в канале поглощения влаги, служит для формирования циркуляционного воздушного потока во внутреннем цилиндре и канале поглощения влаги; канал регенерации: в канале регенерации установлен вентилятор регенерации, который служит для формирования осушающего воздушного потока в канале регенерации; элемент поглощения влаги расположен в канале поглощения влаги и канале регенерации; как циркуляционный воздушный поток, так и влагоотводящий воздушный поток проходят через элемент конструкции поглощения влаги; приводной механизм предназначен для перемещения элемента конструкции поглощения влаги относительно канала поглощения влаги и регенерационного канала, при этом влагопоглощающий элемент используется для поглощения влаги в циркулирующем воздушном потоке во время движения относительно канала поглощения влаги и регенерационного канала и отвода влаги через влагоотводящий воздушный поток.
[0006] Эти и другие аспекты изобретения будут четко разъяснены на последующих примерах реализации, кроме того, пояснения будут приводиться со ссылкой на примеры реализации далее в описании.
Описание чертежей
[0007] На чертежах, если не указано иное, одни и те же ссылочные номера относятся к одним и тем же или подобным частям или элементам на разных чертежах. Эти чертежи не обязательно представлены в масштабе. Следует понимать, что эти чертежи изображают только некоторые примеры реализации изобретения и не должны рассматриваться как ограничение области изобретения.
[0008] На фиг. 1-6 изображена схема стиральной машины с функцией сушки согласно некоторым из примеров реализации настоящего изобретения, где:
[0009] На фиг. 1 дано объемное изображение стиральной машины с функцией сушки согласно некоторым примерам реализации настоящего изобретения;
[00010] Фиг. 2 - вид фиг. 1 в разрезе;
[00011] Фиг. 3 - частично увеличенная схема, изображенная на фиг. 2;
[00012] Фиг. 4 - деталировочный чертеж, изображенный на фиг. 3;
[00013] Фиг. 5 - общая структурная схема модуля сушки;
[00014] Фиг. 6 - структурная схема датчика температуры, канала поглощения влаги и канала регенерации;
[00015] Фиг. 7-43 - конструктивные схемы стиральной машины с функцией сушки согласно некоторым из примеров реализации настоящего изобретения, где:
[00016] Фиг. 7-9 - объемное изображение, вид сзади и вид сверху соответственно стиральной машины с функцией сушки согласно некоторым из примеров реализации настоящего изобретения;
[00017] Фиг. 10 и 11 - вид сверху и объемный вид соответственно модуля сушки, показанного на фиг. 8-9;
[00018] Фиг. 12 - конструктивная схема нижнего корпуса модуля сушки;
[00019] Фиг. 13-15 - вид сверху, вид снизу и деталировочный чертеж циркуляционного вентилятора соответственно;
[00020] Фиг. 16 - схема способа посадки циркуляционного вентилятора и нижнего корпуса модуля сушки;
[00021] Фиг. 17 - схема способа соединения гибкого шланга с нижним корпусом;
[00022] Фиг. 18 - схема направления потока циркуляционного воздуха;
[00023] Фиг. 19 и 20 - деталировочный чертеж элемента поглощения влаги и объемное изображение после сборки;
[00024] Фиг. 21 - вид сверху нижнего корпуса;
[00025] Фиг. 22 и 23 - деталировочные чертежи первой монтажной части нижнего корпуса и верхний корпус, используемые для монтажа элемента поглощения влаги.
[00026] Фиг. 24 - деталировочный чертеж монтажа первой монтажной части, верхнего корпуса и элемента поглощения влаги.
[00027] Фиг. 25 - схема способа крепления объединенных нижнего и верхнего корпуса элемента поглощения влаги.
[00028] Фиг. 26 - схема направления потока воздуха для осушения;
[00029] Фиг. 27 и 28 - деталировочный чертеж и объемное изображение соответствующих конструкций нагревательного узла и регенерационного вентилятора;
[00030] Фиг. 29 и 30 - объемное изображение и деталировочный чертеж первого соединительного элемента;
[00031] Фиг. 31 и 32 - объемное изображение и деталировочный чертеж второго соединительного элемента;
[00032] Фиг. 33 - схема места монтажа нагревательного узла на верхнем корпусе;
[00033] Фиг. 34-36 - объемное изображение нагревательного узла, схема ячеистой пластины и вид снизу нагревательного узла;
[00034] Фиг. 37 - схема способа крепления конденсатора и нижнего корпуса;
[00035] Фиг. 38 - корпус конденсатора в разрезе;
[00036] Фиг. 39 - схема фильтра и распылительного механизма для автоматической очистки фильтра;
[00037] Фиг. 40 - детальное изображение водовыпускной трубы и насадки для воды, показанных на фиг. 39;
[00038] Фиг. 41 - схема конденсатора, фильтра и очищающего компонента в воздуховыпускном трубопроводе внутреннего цилиндра;
[00039] Фиг. 42 и 43 - схемы монтажа модуля сушки в других положениях;
[00040] Фиг. 44-47 - схемы стиральной машины с функцией сушки согласно некоторым примерам реализации настоящего изобретения, где:
[00041] Фиг. 44 - схема конструкции стиральной машины с функцией сушки согласно некоторым примерам реализации настоящего изобретения;
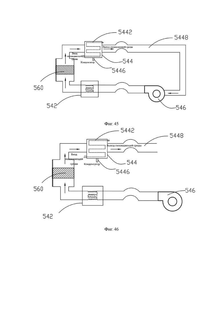
[00042] Фиг. 45 - схема конструкции канала влагоудаления в одном из примеров реализации;
[00043] Фиг. 46 - схема конструкции канала влагоудаления в другом примере реализации;
[00044] Фиг. 47 - схема конструкции канала влагоудаления еще в одном из примеров реализации.
Конкретные примеры реализации
[00045] В настоящем изобретении, если не указано иное, использование терминов «первый», «второй» и др. для описания различных элементов не предназначено для ограничения положений, времени или важности этих элементов относительно друг друга; такие термины используются только для различения этих элементов между собой. В некоторых примерах под первым и вторым элементами может подразумеваться один и тот же пример элемента, а в некоторых случаях, в зависимости от контекста, это могут быть разные примеры.
[00046] Используемый здесь термин «регенерация» относится к процессу или действию, при котором первоначально относительно сухой предмет восстанавливается до относительно сухого состояния посредством, по меньшей мере, частичного осушения после поглощения влаги. Термины «по линии вверх» и «по линии вниз» используются для обозначения относительного положения второго элемента, с которым сталкивается воздушный поток после прохождения через первый элемент при прохождении по пути потока, который начинается от воздухозаборника, где первый элемент находится «по линии вверх» от второго элемента, а второй элемент находится «по лини вниз» от первого элемента.
[00047] Терминология, используемая при описании различных примеров реализации настоящего изобретения, предназначена только для описания конкретных примеров и не предназначена для ограничения изобретения. Если в контексте явно не указано иное, если количество элементов специально не ограничено, данный элемент может быть одним или или их может быть несколько. Кроме того, термин «и/или», используемый в настоящем изобретении, охватывает любые и все возможные комбинации перечисленных элементов, а фраза «по крайней мере один из А и В» означает только А, только В или оба А и В.
[00048] В родственной технологии для сушилки обычно используется испаритель для нагрева и поглощения влаги из влажного воздуха в пространстве для размещения одежды (например, во внутреннем цилиндре) для получения воздуха высокой температуры. Воздух высокой температуры возвращается в пространство для размещения одежды, вызывая испарение влаги из одежды. Однако общая температура в испарителе одна, и когда влажный воздух поступает в испаритель, способность испарителя поглощать влажный воздух снижается, что приводит к низкой эффективности поглощения влаги, длительному времени сушки и высокому энергопотреблению. Особенно в области с более низкими температурами температура влажного воздуха также снижается, что затрудняет достижение испарителем температуры поглощения влаги, что приводит к дальнейшему снижению эффективности поглощения влаги, увеличению времени сушки и увеличению энергопотребления.
[00049] Для решения вышеуказанной проблемы пример реализации настоящего изобретения предусматривает устройство для обработки одежды. Устройство для обработки одежды согласно примеру реализации настоящего изобретения включает в себя: внутренний цилиндр для размещения одежды, подлежащей обработке, и модуль сушки одежды во внутреннем цилиндре. Модуль сушки включает в себя: канал поглощения влаги, включающий в себя первое воздуховпускное отверстие и первое воздуховыпускное отверстие; первое воздуховпускное отверстие и первое воздуховыпускное отверстие соответственно соединены с внутренним цилиндром; циркуляционный вентилятор, установленный в канале поглощения влаги, служит для формирования циркуляционного воздушного потока во внутреннем цилиндре и канале поглощения влаги; канал регенерации: в канале регенерации установлен вентилятор регенерации, который служит для формирования осушающего воздушного потока в канале регенерации; элемент поглощения влаги расположен на канале поглощения влаги и канале регенерации; как циркуляционный воздушный поток, так и влагоотводящий воздушный поток проходят через элемент поглощения влаги; приводной механизм предназначен для перемещения элемента конструкции поглощения влаги относительно канала поглощения влаги и регенерационного канала. Влагопоглощающий элемент используется для поглощения влаги в циркулирующем воздушном потоке во время движения относительно канала поглощения влаги и регенерационного канала и отвода влаги через влагоотводящий воздушный поток.
[00050] По сравнению с сушилкой, в которой используется испаритель, оборудование для обработки одежды согласно примеру реализации настоящего изобретения меньше по размеру, имеет более высокую эффективность сушки, более экономично и потребляет меньше энергии.
[00051] В примере реализации настоящего изобретения оборудование для обработки одежды представляет собой оборудование с функцией сушки одежды. Оборудование для обработки одежды может представлять собой, например, сушильную машину, которая имеет только функцию сушки одежды, или это может быть стиральная машина с функцией сушки, которая имеет как функцию стирки, так и функцию сушки одежды.
[00052] Согласно некоторым примерам реализации элемент поглощения влаги снабжен влагопоглотителем. Влагопоглотителем может быть, например, цеолит (молекулярное сито), алюмосиликат щелочного металла (молекулярное сито 13Х), хлорид лития, силикагель, модифицированный силикагель, активированный оксид алюминия и другие твердые влагопоглотители; соответственно, элемент поглощения влаги может представлять собой твердую структуру, снабженную твердым абсорбентом. Влагопоглотитель может быть жидким веществом, например, это может быть раствор хлорида лития или раствор бромида лития. Соответственно, элемент поглощения влаги может представлять собой контейнер, заполненный жидким влагопоглотителем.
[00053] Согласно некоторым примерам реализации, с целью улучшения эффекта поглощения влаги, устойчивого использования влагопоглотителя и снижения затрат, модуль сушки дополнительно включает в себя компонент осушения. Компонент осушения расположен в канале регенерации и используется для абсорбирования влаги, поглощенной влагопоглотителем. Компонентом осушения может быть, например, нагревательный компонент, ультразвуковой генератор, микроволновый генератор и др.
[00054] Конкретную структуру компонента осушения можно определить в зависимости от влагопоглотителя. Например, для твердых влагопоглотителей, таких как цеолит (молекулярное сито), алюмосиликат щелочного металла (молекулярное сито 13Х), хлорид лития, модифицированный силикагель, активированный оксид алюминия и др., для абсорбции влаги из влагопоглотителя могут использоваться нагревательные компоненты. Нагревательный компонент может включать, например, электронагревательную спираль, РТС-нагреватели и другие элементы с функциями нагрева. Для твердых влагопоглотителей с высокой термической стабильностью, таких как силикагель, из-за отсутствия у них чувствительности к температуре нагревательный компонент не обеспечивает хорошего эффекта абсорбции влаги. В качестве альтернативы можно использовать ультразвуковой генератор, микроволновый генератор и др. для абсорбции влаги из влагопоглотителя посредством высокочастотной вибрации. Для жидких влагопоглотителей можно использовать нагревательный элемент для абсорбции поглощаемой ими влаги. Кроме того, в контейнере с жидким влагопоглотителем может быть установлена полупроницаемая мембрана, пропускающая только влагу, тем самым предотвращая испарение жидкого влагопоглотителя вместе с водой в процессе регенерации и обеспечивая концентрацию и эффект влагопоглощения жидкого влагопоглотителя.
[00055] Согласно некоторым примерам реализации, для перемещения элемента поглощения влаги относительно канала поглощения влаги и регенерационного канала используется приводной механизм. Приводным механизмом может быть, например, приводной двигатель (т.е. электрический привод), пневматический привод, гидравлический привод и др.
[00056] Согласно некоторым примерам реализации элемент поглощения влаги может быть разной формы, например круглый абсорбирующий вращающийся диск, полосообразная влагопоглощающая лента, контейнер с отверстиями различной формы и др. Конкретный способ движения элемента поглощения влаги относительно канала поглощения влаги и регенерирующего каналов может определяться его формой.
[00057] Например, если элемент поглощения влаги представляет собой круглый вращающийся диск поглощения влаги, приводной механизм может приводить вращающийся диск поглощения влаги во движение относительно канала поглощения влаги и канала регенерации или приводить в движение канал поглощения влаги и канал регенерации относительно вращающегося диска поглощения влаги. Если элемент поглощения влаги представляет собой влагопоглощающую ленту, приводной механизм приводит ее в возвратно-поступательное линейное движение (т.е. поступательное движение) относительно канала поглощения реакции и канала регенерации или приводит в движение канал поглощения влаги и канал регенерации для совершения ими возвратно-поступательного линейного движения относительно влагопоглощающей ленты. В случае, когда элементом поглощения влаги служит контейнер, приводной механизм может приводить его во вращение/совершать линейное движение относительно канала поглощения влаги и канала регенерации или приводить канал поглощения влаги и канал регенерации в движение для совершения вращения/ линейного движения относительно контейнера. В других примерах реализации могут быть предусмотрены два или более элементов поглощения влаги, для приведения в действие различных элементов влагопоглощения используется приводной механизм (или привод канала поглощения влаги и канала регенерации), так что разные элементы поглощения влаги поочередно располагаются на канале поглощения влаги и канале регенерации.
[00058] На основании приведенного выше описания следует понимать, что оборудование для обработки одежды, элемент поглощения влаги, осушающий компонент, приводной механизм и другие конструкции имеют различные способы реализации.
[00059] Решение для сушки одежды согласно примеру реализации настоящего изобретения будет подробно описано ниже, где оборудование для обработки одежды - это стиральная машина с функцией сушки, элемент поглощения влаги - это влагопоглощающий вращающийся диск, осушающий компонент - это нагревательный компонента, приводной механизм - это приводной двигатель. Следует понимать, что решения для сушки одежды согласно примеру реализации настоящего изобретения также применимы к оборудованию для обработки одежды, элементам поглощения влаги, компонентам осушения и приводным механизмам других способов реализации.
[00060] На фиг. 1-6 изображена стиральная машина с функцией сушки 100 согласно некоторым примерам реализации настоящего изобретения.
[00061] Как показано на фиг. 1 и 2, стиральная машина с функцией сушки 100 включает в себя водовпускное отверстие, водовыпускное отверстие, внутренний цилиндр 30, приводную часть и модуль сушки 20; приводная часть имеет кинематическую связь с внутренним цилиндром 30, приводя его в движение; водовпускное и водовыпускное отверстия соответственно соединены с внутренним цилиндром 30; модуль сушки 20 включает в себя канал поглощения влаги 201, канал регенерации 202 и элемент поглощения влаги 206; канал поглощения влаги 201 включает в себя первое воздуховпускное отверстие 611 и первое воздуховыпускное отверстие 612; первое воздуховпускное отверстие 611 и первое воздуховыпускное отверстие 612 соответственно соединены с внутренним цилиндром 30; канал поглощения влаги 201 снабжен циркуляционным вентилятором 203 для формирования циркулирующего воздушного потока из внутреннего цилиндра 30 и канала поглощения влаги 201; канал 202 регенерации оснащен регенерационным вентилятором 205 для формирования влагоотводящего воздушного потока в канале регенерации 202; элемент поглощения влаги 206 расположен в канале поглощения влаги 201 и канале регенерации 202 так, что как циркулирующий воздушный поток, так и поток влагоотводящего воздуха проходят через элемент поглощения влаги 206, который используется для поглощения влаги из циркулирующего воздушного потока в канале поглощения влаги 201 в процессе вращения и для выпуска влаги через влагоотводящий поток воздуха канала регенерации 202.
[00062] В конкретном применении стиральная машина с функцией сушки может также включать в себя, помимо прочего, такие компоненты, как внешний корпус 10 и контроллер. Внутренний цилиндр 30 и приводная часть расположены во внешнем корпусе 10; внутренний цилиндр 30 имеет пространство для размещения предметов одежды; на боковой стороне внешнего корпуса 10 выполнено отверстие 301 для доступа и размещения одежды во внутреннем цилиндре 30. Дверца 101 предусмотрена на внешнем корпусе 10 в положении, соответствующем отверстию 301 для доступа и размещения, и может иметь шарнирное соединение с корпусом 10. Открытием и закрытием двери 101 пользователь может управлять вручную или с помощью электроники.
[00063] Боковая или верхняя часть внешнего корпуса 10 оборудована устройством отображения для индикации информации, относящейся к рабочему состоянию стиральной машины с функцией сушки. Устройство отображения может включать в себя, без ограничений, жидкокристаллический экран дисплея, светоизлучающий диод и др. Внешний корпус 10 также снабжен множеством кнопок, которые могут быть как механическими кнопками, управляемыми нажатием, так и сенсорной панелью, управляемой прикосновением. Кнопки используются для ввода команд управления стиральной машиной в контроллер, таким образом контроллер выполняет команды управления соответствующими частями в соответствии с командами управления. В том числе, в контроллере могут использоваться различные специализированные интегральные схемы (ASIC), процессоры цифровых сигналов (DSP), устройства цифровой обработки сигналов (DSPD), программируемые логические устройства (PLD), программируемые вентильные матрицы (FPGA), компоненты микроуправления, микропроцессоры или другие электронные компоненты.
[00064] Во время стирки одежды пользователь сначала помещает предметы стирки в отверстие 301 и добавляет моющую жидкость из впускного отверстия для моющей жидкости; затем дверь 101 закрывается, водовпускная труба, соединенная с источником воды, проходит через водовпускное отверстие, и под управлением контроллера вода заливается во внутренний цилиндр 30 по команде пользователя; после этого пользователь вводит команды для стирки и сушки в центрифуге с помощью кнопок, в соответствии с которыми контроллер осуществляет управление приводной частью, заставляя внутренний цилиндр 30 вращаться для выполнения стирки; сточная вода, образуемая в процессе стирки, может поступать в точку сброса сточных вод через дренажную трубу, таким образом завершается операция стирки; затем часть контроллера может управлять приводной частью, чтобы она продолжала приводить внутренний цилиндр 30 во вращение в соответствии с командой сушки в центрифуге, чтобы за счет действия центробежной силы выводилась большая часть воды, оставшейся на предметах стирки, и сливалась через сливное отверстие, тем самым ускоряя сушку постиранных предметов.
[00065] После сушки белья в центрифуге контроллер управляет запуском циркуляционного вентилятора 203 и регенерационного вентилятора 205 в соответствии с командой сушки, введенной пользователем, и управляет вращением элемента конструкции поглощения влаги 206. Как показано стрелками на фиг.2, циркуляционный вентилятор 203 используется для формирования циркулирующего воздушного потока во внутреннем цилиндре 30 и канале поглощения влаги 201. При вращении циркуляционного вентилятора 203 по обеим его сторонам образуется перепад давления воздуха, тем самым формируется подвижный поток воздуха; таким образом, влажный воздух во внутреннем цилиндре 30 может поступать в канал поглощения влаги 201 через первое воздуховпускное отверстие 611 канала поглощения влаги 201, затем воздух с поглощенной влагой выпускается во внутренний цилиндр 30 через первое воздуховыпускное отверстие 612 канала поглощения влаги 201; таким образом, воздух циркулирует во внутреннем цилиндре 30 и канале поглощения влаги 201, образуя циркулирующий поток воздуха; посредством циркулирующего воздушного потока влажный воздух во внутреннем цилиндре 30 непрерывно поступает в канал поглощения влаги 201 через первое воздуховпускное отверстие 611 канала поглощения влаги 201 и подвергается влагопоглощению через элемент поглощения влаги 206; сухой воздух после поглощения влаги непрерывно выпускается во внутренний цилиндр 30 через первое воздуховыпускное отверстие 612 канала поглощения влаги 201, таким образом во внутреннем цилиндре 30 непрерывно происходит теплообмен между предметами стирки и потоком циркулирующего воздуха, в ходе которого из них уносятся остатки влаги, и таким образом выполняется задача сушки постиранных предметов.
[00066] Одновременно вентилятор регенерации 205 используется для формирования потока осушающего воздуха в канале регенерации 202; воздуховпускной конец 622 и воздуховыпускной конец 621 регенерационного канала 202 расположены снаружи внутреннего цилиндра 30, таким образом, во время вращения регенерационного вентилятора 205 по обеим его сторонам образуется перепад давления воздуха, тем самым формируя текущий воздушный поток; таким образом, воздух снаружи внутреннего цилиндра 30 может поступать в канал регенерации 202 через воздуховпускной конец 622, а затем проходить через элемент поглощения влаги 206; влага на элементе поглощения влаги 206 абсорбируется и затем выбрасывается в окружающую среду за пределы внутреннего цилиндра 30 через воздуховыпускной конец 621; таким образом, содержание влаги в элементе поглощения влаги 206 уменьшается, он не утратит высокую влагопоглощающую способность и улучшит эффект влагопоглощения.
[00067] Во процессе сушки элемент поглощения влаги 206 продолжает вращаться, таким образом в части во влагопоглощающем канале 201, где расположен элемент поглощения влаги 206, после поглощения влаги из влажного воздуха происходит вращение в канале регенерации 202, а затем влага в этой части уносится потоком осушающего воздуха, тем самым снижая содержание влаги в этой части; таким образом, эта часть может поглощать больше влаги, когда она вращается в сторону канала поглощения влаги, предотвращая насыщение этой части влагой и уменьшая эффект поглощения.
[00068] Таким образом, в стиральной машине с функцией сушки, представленной в этом примере реализации, используется элемент поглощения влаги 206 для поглощения влаги из влажного воздуха, поступающего в канал поглощения влаги 201 из внутреннего цилиндра 30, затем воздух с поглощенной влагой выпускается во внутренний цилиндр 30, этот цикл непрерывно продолжается, влажность во внутреннем цилиндре 30 постепенно снижается, выполняя задачу сушки. Эта стиральная машина с функцией сушки не требует испарителя для нагрева и осушения влажного воздуха во внутреннем цилиндре 30, требуется только нагреть элемент удаления влаги 206 для удаления влаги в процессе абсорбции. Такая форма позволяет избежать недостатков традиционных систем осушения с помощью конденсации или теплового насоса, отличающихся плохим эффектом осушения в низкотемпературной среде, она может быть применима в среде с более широким диапазоном температур.
[00069] В приведенном выше способе реализации, как показано на фиг. 2, 3 и 4, канал поглощения влаги 201 также снабжен фильтрующей частью 204, которая расположена на стороне элемента поглощения влаги 206 рядом с первым воздуховпускным отверстием 611, то есть перед элементом поглощения влаги 206 для фильтрации воздушного потока, поступающего в элемент поглощения влаги 206; и/или фильтрующая часть 204 установлена на канале регенерации.
[00070] При этом фильтрующая часть 204 может иметь сетчатую структуру; конечно, фильтрующая часть 204 может также иметь и другую конструкцию, способную блокировать попадание мусора, что не ограничено в данном примере реализации.
[00071] Фильтрующая часть 204 расположена на стороне элемента поглощения влаги 206 рядом с первым воздуховпускным отверстием 611 для фильтрации влажного воздуха, поступающего в канал поглощения воздуха 201, и предотвращения контакта мусора во влажном воздухе с элементом конструкции поглощения влаги 206 и влияния на его функции, одновременно это также предотвращает прилипание летящего ворса с одежды к элементу конструкции поглощения влаги 206, воспламенение летящего ворса и разрушение элемента конструкции поглощения влаги 206 при нагревании и абсорбции элементом поглощения влаги.
[00072] Аналогичным образом, чтобы предотвратить повреждение регенерационного вентилятора 205 внешними загрязняющими веществами и предотвратить загрязнение воздуха потоком воздуха, выпускаемым наружу, перед регенеративным вентилятором 205 может быть установлен фильтр для мусора, например, фильтровальная сетка.
[00073] Кроме того, канал поглощения влаги 201 также оснащен нагревательным элементом.
[00074] Понятно, что во время теплообмена во внутреннем цилиндре 30 более высокая температура поступающего сухого воздуха может ускорить обмен влаги из предметов стирки, тем самым сокращая время сушки, поэтому к каналу поглощения влаги можно добавить нагревательный элемент, который может быть расположен перед или после компонента поглощения влаги 206, так что нагретый влажный воздух поглощается влагой или поглощаемый влагой сухой воздух нагревается; воздух, поступающий во внутренний цилиндр 30 из первого воздуховыпускного отверстия 612 и нагретый нагревательным элементом, имеет более высокую температуру, что также повышает температуру во внутреннем цилиндре 30, это ускоряет испарение воды с предметов стирки, повышая и улучшая эффект сушки.
[00075] В данном примере реализации нагревательный элемент и элемент конструкции поглощения влаги 206 совместно осушают влажный воздух, поэтому температура нагревательного элемента не будет очень высокой, тем самым снижается энергопотребление нагревательного элемента и происходит экономия ресурсов. Нагревательным элементов может быть электрический нагревательный провод или нагреватель РТС с функцией нагрева, который состоит из керамического нагревательного элемента и алюминиевой трубки. Нагреватель РТС обладает такими преимуществами, как небольшое тепловое сопротивление и высокая эффективность теплообмена; это автоматический электронагреватель с постоянной температурой и функцией энергосбережения.
[00076] В одном примере реализации, как показано на фиг. 4, элемент поглощения влаги 206 включает в себя влагопоглощающий вращающийся диск 640 и нагревательный узел 630; нагревательный узел 630 закрывает зону регенерации влагопоглощающего вращающегося диска 640, его область поглощения расположена в канале поглощения влаги 201, в том числе, область регенерации представляет собой область на влагопоглощающем вращающемся диске 640, куда течет осушающий воздушный поток, влагопоглощающая область представляет собой область на влагопоглощающем вращающемся диске 640, куда течет циркулирующий воздушный поток.
[00077] При этом площадь области регенерации и площадь области поглощения влаги можно определить на основании площади радиального поперечного сечения трубопровода влагопоглощения и трубопровода регенерации; в некоторых примерах реализации площадь радиального поперечного сечения влагопоглощающего трубопровода больше, чем площадь радиального поперечного сечения регенерационного трубопровода, адаптивно площадь области регенерации меньше площади влагопоглощающей области, это может не только увеличить поток воздуха в трубопроводе влагопоглощения, но также гарантировать, что большая часть влагопоглощающего вращающегося диска 640 находится в области поглощения влаги, тем самым еще больше увеличивая эффективность и эффект поглощения влаги.
[00078] Во время вращения влагопоглощающего вращающегося диска 640 каждая его часть вращается от канала поглощения влаги 201 к каналу регенерации 202. Затем вращается от канала регенерации 202 к каналу поглощения влаги 201, то есть каждая часть влагопоглощающего вращающегося диска 640 вращается от области поглощения влаги к области регенерации, а затем вращается от области регенерации к области поглощения влаги. Таким образом, часть влагопоглощающего вращающегося диска 640, расположенная в области влагопоглощения, поглощает влагу влажного воздуха в канале поглощения влаги 201, а затем вращается в область регенерации и использует нагревательный элемент 630 для нагрева этой части для ускоренной десорбции влаги в данной части; влага переносится потоком воздуха для удаления влаги к воздуховыпускному концу 621 регенерационного канала 202 и выбрасывается наружу, поэтому во время вращения влагопоглощающего вращающегося диска 640 он продолжает поглощать влагу из влажного воздуха во канале поглощения влаги 201, а также может продолжать выводить влагу, поглощенную влагопоглощающим вращающимся диском 640, таким образом водопоглощающий вращающийся диск 640 всегда имеет хорошую водопоглощающую способность, за счет чего повышается эффективность и результат поглощения влаги.
[00079] В одном примере реализации, как показано на фиг. 4, нагревательный узел 630 включает в себя крышку 631; крышка 631 закрывает область регенерации влагопоглощающего вращающегося диска 640, крышка 631 имеет отверстие, сообщающееся с каналом 202 регенерации в положении, соответствующем области регенерации, в крышке 631 предусмотрена часть регенерационного нагрева 632.
[00080] В том числе, крышка 631 закрывает область регенерации влагопоглощающего вращающегося диска 640 и расположена на стороне влагопоглощающего вращающегося диска 640 вдали от первого воздуховпускного отверстия 611, таким образом, поток осушающего воздуха не будет блокироваться из-за контакта с частью влагопоглощающего вращающегося диска 640 в области регенерации, тем самым максимально увеличивая площадь контакта между потоком осушающего воздуха в канале регенерации 202 и влагопоглощающим вращающимся диском 640, тем самым способствуя переносу большего количества влаги. Крышка 631 используется для разделения области поглощения влаги от области регенерации на влагопоглощающем вращающемся диске 640, а также для фиксации части регенерационного нагрева 632; в процессе вращения влагопоглощающего вращающегося диска 640 крышка 631 и нагревательный элемент 630 не вращаются, то есть влагопоглощающий вращающийся диск 640 вращается относительно крышки 631 и нагревательного компонента 630; таким образом, часть регенерационного нагрева 632 может нагревать область, где влагопоглощающий вращающийся диск 640 вращается вблизи части регенерационного нагрева 632. Для достижения цели лучшего нагрева и абсорбции влаги в области регенерации влагопоглощающего вращающегося диска 640, часть регенерационного нагрева 632 расположена как можно ближе к влагопоглощающему вращающемуся диску 640.
[00081] Под действием вентилятора регенерации 205 воздушный поток поступает снаружи в канал регенерации 202, по очереди проходит через часть регенерационного нагрева 632 и область регенерации, а затем выбрасывается наружу через выпускное отверстие канала регенерации 202; в этой конструкции часть регенерационного нагрева 632 расположена перед зоной регенерации, поток нагретого воздуха обменивается теплом с зоной регенерации для абсорбирования находящейся в ней влаги; конечно, понятно, что часть регенерационного нагрева 632 также может быть расположена после области регенерации, или как перед, так и после зоны регенерации.
[00082] Чтобы предотвратить повреждение регенерационного вентилятора 205 внешней грязью и для предотвращения загрязнения воздуха потоком воздуха, выпускаемым наружу, перед вентилятором регенерации 205 и в регенерационном канале может быть предусмотрен фильтр для мусора, например, фильтровальная сетка; воздушный фильтр, такой как фильтр НЕРА, предусмотрен в канале регенерации 202 после влагопоглощающего диска 642.
[00083] Аналогичным образом, для части регенерационного нагрева 632 можно использовать электрический нагревательный провод или нагреватель с РТС или другой нагревательный функциональный элемент.
[00084] В одном из примеров реализации, как показано на фиг.4, влагопоглощающий вращающийся диск 640 включает в себя влагопоглощающий диск 642 и вращающуюся часть, которая через привод соединена с влагопоглощающим диском 642; внешняя крышка влагопоглощающего диска 642 снабжена корпусом 207, влагопоглощающий диск 642, приводимый в движение вращающейся частью, может вращаться относительно корпуса 207; корпус 207 соединен с трубопроводом поглощения влаги и трубопроводом регенерации соответственно; в частности, корпус 207 снабжен соединительным отверстием для трубопровода поглощения влаги и соединительным отверстием для трубопровода регенерации соответственно; через соединительное отверстие трубопровода поглощения влаги и соединительное отверстие трубопровода регенерации внутреннее пространство корпуса 207 разделено на часть канала поглощения влаги и часть канала регенерации.
[00085] При этом влагопоглощающий диск 642 представляет собой дискообразную конструкцию определенной толщины, которая позволяет уменьшить пространство, занимаемое влагопоглощающим диском 642, и тем самым уменьшить общий объем влагопоглощающего вращающегося диска 640. Влагопоглощающий диск 642 изготовлен из материалов с высокой поглощающей способностью, таких как хлопок, волокно, цеолит, хлорид лития, силикагель и др. Вращающаяся часть включает в себя вращающийся вал 641 и двигатель, соединенный с вращающимся валом 641; вращающийся вал 641 расположен в середине влагопоглощающего диска 642, таким образом двигатель приводит вращающийся вал 641 во вращение, тем самым влагопоглощающий диск 642, соединенный с вращающимся валом 641, вращается. Корпус 207 может использоваться для размещения влагопоглощающего диска 642, вращающегося вала 641 и двигателя; край крышки 631 жестко соединен с корпусом 207, так что влагопоглощающий диск 642 может вращаться, но крышка 631 не вращается; более того, корпус 207 соединен с каналом поглощения влаги 201 и каналом регенерации 202, тем самым обеспечивая плавную циркуляцию циркулирующего потока воздуха в канале поглощения влаги 201 и потока воздуха в канале регенерации 202.
[00086] В другом примере реализации стиральная машина с функцией сушки дополнительно включает в себя корпус 207, элемент поглощения влаги 206 расположен в корпусе 207; элемент поглощения влаги 206 фиксируется, а корпус 207 вращается или совершает возвратно-поступательное движение относительно элемента поглощения влаги 206, то есть влагопоглощающий диск 642 устанавливается неподвижно; корпус 207 выполнен с возможностью вращения или возвратно-поступательного движения относительно влагопоглощающего диска 642 через вращающийся вал 641. Одновременно корпус 207 может быть оснащен впускными и выпускными отверстиями в центральных положениях обоих концов для сообщения с каналом поглощения влаги и каналом регенерации; часть регенерационного нагрева 632 также выполнена с возможностью вращения относительно влагопоглощающего диска 642; вращается ли часть 632 регенерации синхронно с корпусом 207, здесь не ограничивается, то есть она может вращаться синхронно или асинхронно при условии, что часть регенерационного нагрева 632 может в процессе вращения разделять водопоглощающий диск 642 на зону поглощения влаги и зону регенерации. Либо, когда корпус 207 вращается вперед и назад, он не совершает полного кругового вращения; например, он может вращаться вперед и назад в диапазоне ±180°; при этом канал поглощения влаги и канал регенерации, соединенные с корпусом 207, могут быть выполнены в виде гибких шлангов для адаптации к возвратно-поступательному вращению корпуса. Конечно, расположение сообщающихся отверстий с каналом 201 поглощения влаги и каналом 202 регенерации на корпусе 207 также может отклоняться от центрального положения и быть реализовано на основе общеизвестных знаний в данной области; этот пример реализации дает только несколько возможных форм, но не ограничивает выбор формы.
[00087] В других примерах реализации, как показано на фиг. 5, конденсационный элемент 40 предусмотрен на канале регенерации 202 и используется для охлаждения потока осушенного воздуха в канале регенерации 202 для сушки потока осушенного воздуха. В конструкции, в которой не используется конденсационный элемент, канал регенерации отводит наружу поток влаги из зоны регенерации, а если стиральные машины с функцией сушки располагаются в ванных комнатах или прачечных, это может приводить к тому, что влажность воздуха в помещении может повышаться, особенно в районах с жаркой и влажной погодой; это может вызвать нежелательные последствия, а в районах с сухой погодой повысит степень комфорта в помещении, поэтому при необходимости конденсационный элемент 40 можно установить дополнительно.
[00088] В том числе, конденсационный элемент 40 может быть существующим конденсационным устройством; в конкретных сценариях применения воздуховпускной конец 622 и воздуховыпускной конец 621 регенерационного канала 202 проходят через конденсационное устройство; таким образом, воздух, поступающий в регенерационный канал 202 со стороны воздуховпускного отверстия 622, сначала охлаждается конденсационным элементом 40, так что часть влаги в воздухе конденсируется в жидкость, это делает воздух более сухим, затем проходит через область регенерации влагопоглощающего вращающегося диска 640, чтобы отвести с него влагу, затем поглощенная влага конденсируется в жидкость через конденсационный элемент 40, тем самым уменьшая влажность воздуха, выходящего наружу; это предотвращает выброс большого количества влаги наружу вместе с воздухом, что могло бы привести к повышению влажности снаружи и влиянию на окружающую среду. Конденсированная влага может быть выпущена через дренажную трубку 401 конденсационного элемента 40; чтобы сделать конструкцию более компактной и облегчить работу пользователя, для дренажной трубы 401 и дренажной трубы для отвода сточных вод из внутреннего цилиндра 30 может использоваться общий трубопровод.
[00089] В некоторых примерах реализации, как показано на фиг.6, стиральная машина с функцией сушки также включает в себя контроллер, в канале поглощения влаги 201 предусмотрен датчик температуры 50; контроллер электрически соединен с датчиком температуры 50 и нагревательным компонентом и используется для управления включением или выключением нагревательного элемента в соответствии с температурой, определенной датчиком температуры 50.
[00090] Датчик температуры 50 используется для определения температуры воздуха в канале поглощения влаги 201, а затем контроллер сравнивает значение температуры, определенное датчиком температуры 50, с заданным значением температуры; если обнаруженное значение температуры больше или равно заданному значению температуры, нагревательный компонент отключается; если оно меньше заданного значения температуры, нагревательный компонент включается; это может гарантировать, что поток циркулирующего воздуха имеет относительно стабильную температуру, и предотвратить слишком высокую температуру потока циркулирующего воздуха, вызывающую повреждение предметов стирки во внутреннем цилиндре 30.
[00091] Кроме того, во внутреннем цилиндре 30 или в воздуховыпускном канале внутреннего цилиндра 30 также предусмотрен датчик влажности для определения влажности внутреннего цилиндра 30.
[00092] Датчик влажности может определять влажность во внутреннем цилиндре 30 или воздуховыпускном канале внутреннего цилиндра 30 и отображать обнаруженное значение влажности на устройстве отображения внешнего корпуса 10, чтобы пользователь мог знать условия сушки во внутреннем цилиндре 30. К тому же, время высыхания контролируется в зависимости от значения влажности.
[00093] Кроме того, количество датчиков влажности составляет два или более, а датчики температуры 50 расположены в разных положениях канала поглощения влаги 201.
[00094] Увеличивая количество датчиков влажности для определения влажности в различных положениях внутреннего цилиндра 30 или воздуховыпускного канала внутреннего цилиндра 30, можно полностью понять состояние влажности внутреннего цилиндра 30 и избежать проблемы неточного определения, вызванной использованием одного датчика влажности для определения в одном положении. Количество датчиков влажности может быть выбрано в соответствии с размером внутреннего цилиндра 30 или воздуховыпускного канала, в данном примере реализации нет строго ограничения.
[00095] В некоторых примерах реализации, как показано на фиг. 1, стиральная машина с функцией сушки дополнительно включает в себя корпус 10; внутренний цилиндр 30 и приводная часть расположены в корпусе 10, регенерационный канал 202 по меньшей мере частично расположен между внутренним цилиндром 30 и корпусе 10; второе воздуховыпускное отверстие 102 и второе воздуховпускное отверстие 103 предусмотрены на боковой стороне корпуса 10; второе воздуховыпускное отверстие 102 соединено с воздуховыпускным концом 621 регенерационного канала 202; второе воздуховпускное отверстие 103 соединено с воздуховпускным концом 622 регенерационного канала 202; в том числе, сторона корпуса 10, на которой предусмотрены второе воздуховыпускное отверстие 102 и второе воздуховыпускное отверстие 103, является стороной корпуса 10, обращенной к пользователю, во время работы стиральной машины с функцией сушки, поэтому второе воздуховыпускное отверстие 102 и второе воздуховпускное отверстие 103 соответственно предусмотрены сбоку, чтобы облегчить пользователю размещение стиральной машины.
[00096] В том числе, сторона корпуса 10, на которой расположены второе воздуховыпускное отверстие 102 и второе воздуховпускное отверстие 103, также является стороной, на которой расположена дверца 101; таким образом, когда стиральная машина с функцией сушки сушит белье, внешние препятствия (например, стены) не могут блокировать второе воздуховыпускное отверстие 102 и второе воздуховпускное отверстие 103; это гарантирует, что в канал регенерации 202 поступает достаточное количество воздуха, и он может плавно выходить из канала регенерации 202.
[00097] Расположение регенерационного канала 202 между внутренним цилиндром 30 и внешним корпусом 10 позволяет полностью использовать пространство между внутренним цилиндром 30 и внешним корпусом 10, что делает конструкцию стиральной машины с функцией сушки более компактной.
[00098] Следует отметить, что хотя в данном описании в качестве примера для иллюстрации решения для сушки одежды в виде примеров реализации изобретения использована стиральная машина с барабаном с боковой дверцей, следует понимать, что способ сушки одежды согласно варианту реализации настоящего изобретения можно применять в стиральной машине любого типа, включая, без ограничений, стиральные машины барабанного типа с боковой дверцей, стиральные машины барабанного типа с верхней дверцей, стиральные машины активаторного типа, стиральные машины с мешалкой, небольшие (мини) стиральные машины и др.
[00099] На фиг. 7-43 изображена стиральная машина с функцией сушки 1000 согласно другим примерам реализации настоящего изобретения.
[000100] На Фиг. 7-9 показано объемное изображение, вид сзади и вид сверху соответственно стиральной машины с функцией сушки 1000 согласно некоторым примерам реализации настоящего изобретения. На Фиг. 10 и 11 показан вид сверху и объемный вид соответственно модуля сушки 2000, показанного на фиг. 8-9.
[000101] Как показано на фиг. 7-9, стиральная машина с функцией сушки 1000 включает в себя барабан 1100 для размещения одежды для обработки («обработка» здесь может представлять собой процесс стирки или процесс сушки), барабан 1100 содержит внутренний цилиндр и внешний цилиндр; внутренний цилиндр служит для размещения обрабатываемой одежды и вращается под действием приводного механизма, а внешний цилиндр фиксируется относительно корпуса путем подвешивания. Дверца 1110 предусмотрена на корпусе 1200 стиральной машины с функцией сушки 1000 в положении, соответствующем барабану 1100. Корпус 1110 двери шарнирно соединен с внешним корпусом 1200. Открытием и закрытием двери 1110 пользователь может управлять вручную или с помощью электронного контроллера.
[000102] Как показано на фиг. 7-9, стиральная машина с функцией сушки 1000 включает в себя модуль сушки 2000 для сушки одежды в барабане 1100. Модуль сушки 2000 расположен над барабаном 1100.
[000103] Как показано на фиг. 10 и фиг. 11, в примере реализации настоящего изобретения модуль сушки 2000 включает в себя канал поглощения влаги, канал регенерации, циркуляционный вентилятор 2100, элемент поглощения влаги 2200, приводной механизм 2300 и вентилятор регенерации 2400.
[000104] Как показано на фиг. 8, первое воздуховпускное отверстие 2901 канала поглощения влаги соединено с воздуховыпускным каналом 1300 барабана 1100. Первое воздуховыпускное отверстие 2902 канала поглощения влаги соединено с воздуховпускным каналом барабана 1100, например, как показано на фиг. 11; первое воздуховыпускное отверстие 2902 соединено с воздуховпускным каналом барабана 1100 (не показан на фиг. 11) через соединительный элемент 1400. Циркуляционный вентилятор 2100 расположен в канале влагопоглощения и используется для формирования циркулирующего воздушного потока в барабане 1100 и канале влагопоглощения. Вентилятор 2400 регенерации расположен в канале регенерации и используется для формирования потока осушающего воздуха в канале регенерации.
[000105] Часть элемента поглощения влаги 2200 расположена на канале поглощения влаги, а другая часть расположена на канале регенерации, так что поток циркулирующего воздуха в канале поглощения влаги и поток воздуха, отводящего влагу в канале регенерации, протекают через элемент поглощения влаги 2200. Приводным механизмом 2300 может быть, например, приводной двигатель для перемещения (например, вращения) элемента поглощения влаги 2200 относительно канала поглощения влаги и регенерационного канала. Во время вращения элемента поглощения влаги 2200 влага из циркулирующего воздушного потока поглощается и выводится через поток воздуха, отводящего влагу.
[000106] Согласно некоторым примерам реализации элемент поглощения влаги 2200 может включать в себя влагопоглощающий вращающийся диск 2201. Влагопоглощающий вращающийся диск 2201 снабжен влагопоглотителем. Влагопоглотителем может быть, например, цеолит (молекулярное сито), алюмосиликат щелочного металла (молекулярное сито 13Х), хлорид лития, силикагель, модифицированный силикагель, активированный оксид алюминия и др.
[000107] Приводной механизм 2300 используется для приведения влагопоглощающего вращающегося диска 2201 во вращение относительно канала поглощения влаги и канала регенерации. Влагопоглощающий вращающийся диск 2201 одновременно проходит через поток циркулирующего воздуха и поток воздуха для удаления влаги. В том числе, область на влагопоглощающем вращающемся диске 2201, через которую протекает поток циркулирующего воздуха, является областью поглощения влаги, а область, через которую протекает поток воздуха для осушения влаги, является областью регенерации.
[000108] Согласно некоторым примерам реализации, как показано на фиг. 10 и фиг. 11, модуль сушки 2000 может дополнительно включать в себя нагревательный компонент 2500 и конденсатор 2600, расположенный в канале регенерации. Нагревательный узел 2500 закрывает область регенерации элемента поглощения влаги 2200 (влагопоглощающий вращающийся диск 2201) и используется для нагрева области регенерации влагопоглощающего элемента 2200 (влагопоглощающий вращающийся диск 2201) для абсорбции влаги, поглощенной влагопоглощающим элементом 2200 (влагопоглощающим вращающимся диском 2201). Конденсатор 2600 используется для конденсации потока отработанного влажного воздуха, выходящего из области регенерации элемента поглощения влаги 2200, для сушки потока отработанного влажного воздуха. Конденсатор 2600 включает в себя впускное отверстие 2610 для воды и выпускное отверстие 2620 для воды, как показано на фиг. 37.
[000109] Согласно некоторым примерам реализации модуль сушки 2000 дополнительно включает в себя верхний корпус и нижний корпус. Верхний и нижний корпусы закрывают и фиксируют различные компоненты модуля сушки 2000 таким образом, что он образует единый модуль.
[000110] Согласно некоторым примерам реализации верхний корпус и нижний корпус модуля сушки 2000 могут быть отдельными корпусами, соответствующими одному компоненту модуля сушки 2000, это также может быть интегрированный корпус, соответствующий множеству компонентов модуля сушки 2000. Например, в варианте реализации, показанном на фиг. 10 и фиг. 11, нижний корпус 2700 модуля сушки 2000 представляет собой интегрированный корпус, а на фиг. 12 дополнительно показана структурная схема интегрированного нижнего корпуса 2700. Как показано на фиг. 12, нижний корпус 2700 оснащен монтажной частью 2710, предназначенной для установки циркуляционного вентилятора 2100, монтажной частью 2720, предназначенной для установки элемента поглощения влаги 2200 (т.е. первой монтажной частью) и монтажной частью 2730 для установка вентилятора регенерации 2400, монтажной частью 2740 для установки конденсатора 2600. Верхний корпус модуля сушки 2000 представляет собой отдельный корпус, включающий верхний корпус 2810 для установки циркуляционного вентилятора 2100, верхний корпус 2820 для установки компонента поглощения влаги 2200 и верхний корпус 2830 для установки конденсатора 2600.
[000111] Согласно некоторым примерам реализации, как показано на фиг. 9-11, нижний корпус 2700 модуля сушки 2000 снабжен несколькими четвертыми монтажными частями 2701, верхний корпус 2820 снабжен пятой монтажной частью 2801. Четвертая монтажная часть 2701 и пятая монтажная часть 2801 перекрываются и закрепляются на корпусе 1200 стиральной машины с функцией 1000, тем самым реализуя установку и фиксацию всего модуля сушки 2000. В этом примере реализации отсутствует прямое жесткое соединение между модулем сушки 2000 и барабаном 1100, что предотвращает передачу вибрации барабана 1100 на модуль сушки 2000 (особенно элемент поглощения влаги 2200) во время работы, повышая стабильность и надежность модуля сушки 2000.
[000112] Согласно некоторым примерам реализации, как показано на фиг. 8 и фиг. 11, первое воздуховсасывающее отверстие 2901 канала влагопоглощения модуля сушки 2000 может быть соединено с воздуховыпускным каналом 1300 барабана 1100 через гибкий шланг (например, гофрированный шланг) 2903. Согласно некоторым примерам реализации воздуховыпускной канал 1300 может быть снабжен фильтром (например, фильтровальной сеткой) для фильтрации мусора и ворса. Кроме того, соединительный элемент1400 также может быть соединен с воздухозаборным каналом барабана 1100 через гибкий шланг (не показан на фиг. 8 и фиг. 11). Это может предотвратить передачу вибрации барабана 1100 на модуль сушки 2000 (особенно элемент поглощения влаги 2200), тем самым улучшая стабильность и надежность модуля сушки 2000.
[000113] Согласно некоторым примерам реализации, как показано на фиг. 10 и фиг. 11, каждый компонент модуля сушки 2000 (включая циркуляционный вентилятор 2100, элемент поглощения влаги 2200, приводной механизм 2300, регенерационный вентилятор 2400, нагревательный компонент 2500, конденсатор 2600 и др.) имеют горизонтальную компоновку, в том числе оси вращения вращающихся частей (включая циркуляционный вентилятор 2100, элемент поглощения влаги 2200, приводной механизм 2300 и регенерирующий вентилятор 2400) обычно параллельны и по существу перпендикулярны осям вращения верхнего корпуса стиральной машины 1000 с функцией сушки и барабана 1100. Согласно данному примеру реализации высота стиральной машины 1000 с функцией сушки может быть минимизирована, экономя пространство.
[000114] Следует понимать, что барабан 1100 обычно представляет собой цилиндрическую конструкцию с осью вращения, параллельной земле, поэтому над сторонами барабана 1100 имеется больше доступного пространства (по сравнению с местом непосредственно над ним). Согласно некоторым примерам реализации некоторые компоненты модуля сушки 2000 могут быть расположены в пространстве между верхней стороной барабана 1100 и корпусом 1200, так что внутреннее пространство стиральной машины 1000 с функцией сушки может быть использовано полностью, что делает более компактной конструкцию и уменьшает объем стиральной машины с функцией сушки. Например, в примере реализации, показанном на фиг. 9-11, циркуляционный вентилятор 2100, приводной механизм 2300, вентилятор регенерации 2400, конденсатор 2600 и другие элементы расположены над боковой стороной барабана 1100. В данном примере реализации общая высота стиральной машины с функцией сушки 1000 зависит от диаметра барабана 1100 и толщины части, расположенной непосредственно над барабаном 1100 (т.е. элемента поглощения влаги 220).
[000115] Согласно некоторым примерам реализации вращающиеся оси двух вращающихся частей с наибольшими диаметрами модуля сушки 2000 могут быть соответственно расположены по обе стороны от вращающейся оси барабана 1100, и обе находятся в противоположных плоскостях и перпендикулярно вращающейся оси барабана 1100. Это позволяет полностью использовать внутреннее пространство стиральной машины 1000 с функцией сушки, что делает конструкцию более компактной с меньшим объемом. Например, в примере реализации, показанном на фиг. 9-11, двумя вращающимися частями наибольших диаметров являются элемент поглощения влаги 2200 и циркуляционный вентилятор 2100; оси вращения элемента поглощения влаги 2200 и циркуляционного вентилятора 2100 расположены соответственно на левой и правой сторонах барабана 1100 (если смотреть спереди стиральной машины 1000), все они находятся в одной плоскости и перпендикулярно оси вращения барабана 1100.
[000116] На фиг. 13-15 показан вид сверху, вид снизу и деталировочный чертеж циркуляционного вентилятора 2100 соответственно. Как показано на фиг. 13-15, циркуляционный вентилятор 2100 включает двигатель 2110, верхний корпус 2810, крыльчатку вентилятора 2120 и уплотнительную прокладку 2130.
[000117] Согласно некоторым примерам реализации верхний корпус 2810 имеет форму улитки, которая соответствует требованиям конструкции к жидкости и может служить каналом для обеспечения максимального объема воздуха и скорости воздуха для канала поглощения влаги модуля сушки 2000. Верхний корпус 2810 оснащен крепежным зажимом 2811 для трубопроводов и крепежным зажимом 2812 для проводов (например, линии электропередачи, линии управления двигателем 2110 и др). Двигатель 2110 и верхний корпус 2810 можно закрепить винтами.
[000118] На фиг. 16 показан способ посадки циркуляционного вентилятора 2100 и интегрированного нижнего корпуса 2700 модуля сушки 2000. Как показано на фиг. 16, верхний корпус 2810 может быть закреплен на монтажной части 2710 с помощью винтов 2904, тем самым прочно соединяется циркуляционный вентилятор 2100 и нижний корпус 2700. Уплотнительная прокладка 2130 расположена в месте соединения между верхним корпусом 2810 и монтажной частью 2710. Согласно некоторым примерам реализации, чтобы облегчить монтаж циркуляционного вентилятора 2100 на нижний корпус 2700 и улучшить характеристики уплотнения циркуляционного вентилятора 2100, паз для размещения уплотнитель ной прокладки 2130 может быть предусмотрен на краю монтажной части 2710 или на краю верхнего корпуса 2810 (не показано на рис. 16).
[000119] Согласно некоторым примерам реализации, воздуховпускное отверстие циркуляционного вентилятора 2100 может быть первым воздуховпускным отверстием 2901 канала поглощения влаги. Соответственно, воздуховпускное отверстие циркуляционного вентилятора 2100 может быть соединено с воздуховыпускным каналом внутреннего цилиндра через гибкий шланг 2903. Согласно некоторым примерам реализации, как показано на фиг. 17, гибкий шланг 2903 и прижимная пластина 2905 могут быть соединены посредством позиционирующих штифтов, прижимная пластина 2905 может быть прикреплена к монтажной части 2710 нижнего корпуса 2700 с помощью винтов 2906; таким образом, гибкий шланг 2903 соединяется с воздухоотверстием циркуляционного вентилятора 2100, а другой конец гибкого шланга 2903 также может быть соединен с воздуховыпускным отверстием воздуховыпускного канала таким же образом.
[000120] Под действием циркуляционного вентилятора 2100 между каналом поглощения влаги и внутренним цилиндром может образовываться циркулирующий поток воздуха. На фиг. 18 показано направление потока циркулирующего воздуха согласно примеру реализации настоящего изобретения. Как показано на фиг.18, под действием циркуляционного вентилятора 2100 поток воздуха во внутреннем цилиндре поступает в первое воздуховпускное отверстие 2901 канала поглощения влаги через воздуховыпускной канал внутреннего цилиндра (с фильтром внутри) и гибкий шланг 2903, то есть попадает в воздуховпускное отверстие циркуляционного вентилятора 2100 (как показано стрелкой А). Воздушный поток выходит из воздуховыпускного отверстия циркуляционного вентилятора 2100 к нижней стороне влагопоглощающего вращающегося диска 2201 (как показано стрелкой В), проходит через влагопоглощающий вращающийся диск 2201 и достигает верхней стороны влагопоглощающего вращающегося диска 2201 (как показано стрелкой С), проходит в верхнем пространстве (соответствующем площади поглощения влаги) влагопоглощающего вращающегося диска 2201 (как показано стрелкой D) и поступает во внутренний цилиндр (как показано стрелкой Е) через первое воздуховыпускное отверстие 2902 канала поглощения влаги и соединительный элемент 1400.
[000121] На фиг. 19 и фиг. 20 показан деталировочный чертеж элемента поглощения влаги 2200 и объемное изображение после сборки. На фиг. 21 показан вид сверху нижнего корпуса 2700.
[000122] Согласно некоторым примерам реализации, как показано на фиг. 19, элемент поглощения влаги 2200 включает в себя влагопоглощающий вращающийся диск 2201, периферийный корпус верхнего зажима 2202, периферийный корпус нижнего зажима 2203 и кольцевой амортизатор 2204. Кольцевой амортизатор 2204 предусмотрен на периферийном корпусе верхнего зажима влагопоглощающего вращающегося диска 2201 или внутренней стенке периферийного корпуса верхнего зажима 2202 и/или периферийного корпуса нижнего зажима 2203. Периферийный корпус верхнего зажима 2202 и периферийный корпус нижнего зажима 2203 зажимают и фиксируют влагопоглощающий вращающийся диск 2201 и кольцевой амортизатор 2204. Зажим и фиксация могут осуществляться, например, с помощью пряжек, винтов, клея и др.
[000123] Кольцевой амортизатор 2204 может быть изготовлен, например, из таких материалов, как пенопласт, мягкая резина, шерстяная лента и др. Кольцевой амортизатор 2204 приклеивается к периферии влагопоглощающего вращающегося диска 2201 или к внутренней периферийной стенке периферийного корпуса верхнего зажима 2202 и/или периферийного корпуса нижнего зажима 2203; между внешним кольцом влагопоглощающего вращающегося диска 2201 и внутренним кольцом периферийного корпуса верхнего зажима 2202 и периферийного корпуса нижнего зажима 2203 может быть образован буфер, который играет защитную роль для влагопоглощающего вращающегося диска 2201, предотвращая его столкновение (особенно когда влагопоглощающий вращающийся диск 2201 выполнен из относительно хрупкого материала, такого как молекулярное сито) с периферийным корпусом верхнего зажима 2202 и периферийным корпусом нижнего зажима 2203 в процессе вращения
[000124] Согласно некоторым примерам реализации, как показано на фиг. 19 и фиг. 20, в месте соединения периферийного корпуса верхнего зажима 2202 и периферийного корпуса нижнего зажима 2203, либо отдельного периферийный корпуса верхнего зажима 2203, либо отдельного периферийного корпуса внешнего зажима 2202 на периферии установлено первое уплотнительное кольцо 2205. Первое уплотнитель но е кольцо 2205 может быть изготовлено, например, из таких материалов, как пенопласт, мягкая резина, шерстяная лента и др. С одной стороны, первое уплотнительное кольцо 2205 может герметизировать соединение между периферийным корпусом верхнего зажима 2202 и периферийным корпусом нижнего зажима 2203; с другой стороны, вращательное уплотнение может быть образовано с помощью уплотнительного кольца 2724 корпуса, предусмотренного в первой монтажной части 2720 нижнего корпуса 2700; это позволяет большей части потока влажного воздуха, поднимающегося из внутреннего цилиндра, проходить через влагопоглощающий вращающийся диск 2201 и поглощаться, таким образом, он не будет выходить из зазора между внешней окружностью влагопоглощающего вращающегося диска 2201 и внутренней окружностью нижнего корпуса 2700, тем самым обеспечивая эффект поглощения влаги.
[000125] Согласно некоторым примерам реализации, как показано на фиг. 19 и фиг. 20, элемент поглощения влаги 2200 дополнительно включает в себя центральный верхний зажим 2206, центральный нижний зажим 2207 и центральный концевой амортизатор 2208. Первое отверстие 2209 сформировано в центре влагопоглощающего вращающегося диска 2201, второе отверстие 2210 сформировано в центре центрального верхнего зажима 2206, третье отверстие 2211 сформировано в центре центрального нижнего зажима 2207. Центральный верхний зажим 2206 и центральный нижний зажим 2207 проходят через первое отверстие 2209 для зажима и фиксации влагопоглощающего вращающегося диска 2201. Зажим и фиксация могут осуществляться, например, с помощью пряжек, винтов, клея и др. Первое отверстие 2209, второе отверстие 2210 и третье отверстие 2211 имеют втулки на короткой оси 2721 в центре первой монтажной части 2720 нижнего корпуса 2700, тем самым соединяя с возможностью вращения влагопоглощающий элемент 2200 и нижний корпус 2700. Центральный концевой амортизатор 2208 насажен на центральный нижний зажим 2207 и расположен между центральным нижним зажимом 2207 и влагопоглощающим вращающимся диском 2201 для его защиты, это предотвращает повреждение влагопоглощающего вращающегося диска 2201 из-за трения о центральный нижний зажим 2207 во время вращения.
[000126] Согласно некоторым примерам реализации, как показано на фиг. 19 и фиг. 20, ведущие зубья предусмотрены на периферийном корпусе верхнего зажима 2202. Приводной механизм 2300 может представлять собой приводной двигатель, а выходной конец приводного двигателя снабжен шестерней. Шестерня приводного двигателя входит в зацепление с ведущими зубьями на периферийном корпусе верхнего зажима 2202, тем самым приводя влагопоглощающий элемент 2200 во вращение. На периферийном корпусе верхнего зажима 2202 также может быть предусмотрена канавка для ремня, приводной двигатель приводит во вращение влагопоглощающий элемент 2200 посредством ременной передачи.
[000127] Следует отметить, что способ привода влагопоглощающего элемента 2200 не ограничивается способом периферийного привода, показанным на фиг.20. В других примерах реализации могут использоваться другие решения для приведения элемента поглощения влаги 2200 во вращение. Например, выходной конец приводного механизма 2300 также может быть соединен с центральным верхним зажимом 2206 или центральным нижним зажимом 2207, а элемент поглощения влаги 2200 может приводиться во вращение посредством приведения в движение центрального верхнего зажима 2206 или центрального нижнего зажима 2207, т.е. элемент поглощения влаги 2200 приводится во вращение посредством центрального привода. Обычно в режиме приведения в движение по центру приводной механизм 2300 должен быть расположен в вертикальном направлении (вверху или внизу) элемента поглощения влаги 2200. В примере с приводом с периферийным приводом, показанном на фиг. 20, приводной механизм 2300 и влагопоглощающий элемент 2200 расположены горизонтально. Можно понять, что по сравнению с периферийным приводом центральный привод занимает больше места в вертикальном направлении, что увеличивает высоту и объем стиральной машины с функцией сушки. Однако в режиме центрального привода приводной механизм 2300 может непосредственно приводить элемент поглощения влаги 2200 во вращение без необходимости дополнительно устанавливать шестерню или ремень на выходном конце приводного механизма для приведения в движение элемента поглощения влаги 2200, тем самым упрощая конструкцию приводного механизма 2300 и уменьшая момент силы центральной оси. Специалисты в данной области техники могут выбрать подходящий способ привода для приведения влагопоглощающего элемента 2200 во вращение в соответствии с фактическими потребностями.
[000128] Согласно некоторым примерам реализации, как показано на фиг. 19 и фиг. 20, вспомогательная подвижная катушка 2212 предусмотрена на периферийном корпусе верхнего зажима 2202. Как показано на фиг. 21, нижний корпус 2700 оснащен первой монтажной частью 2720, предназначенной для установки элемента поглощения влаги 2200, на внутренней стенке первой монтажной части 2720 предусмотрен гибкий ролик 2722. Гибкий ролик 2722 может, например, быть расположен на монтажной части, где внутренняя боковая стенка первой монтажной части 2720 выступает наружу. Ось вращения гибкого ролика 2722 параллельна оси вращения элемента поглощения влаги 2200.
[000129] Во время вращения элемента поглощения влаги 2200 вспомогательная подвижная катушка 2212 и гибкий ролик 2722 взаимодействуют друг с другом, что обеспечивает стабильное вращение элемента поглощения влаги 2200 и устраняет трение скольжения между элементом поглощения влаги 2200 и внутренним кольцом 2700 нижнего корпуса. Диаметр гибкого ролика 2722 является упруго переменным, то есть, когда гибкий ролик 2722 сжимается в радиальном направлении, расстояние между точкой экструзии и осью вращения гибкого ролика 2722 является переменным. Если во время вращения элемента поглощения влаги 2200 его ось вращения смещена относительно короткой оси 2721, вспомогательная подвижная катушка 2212 сжимает гибкий ролик 2722, вызывая его деформацию, при этом трение скольжения не будет возникать из-за давления между вспомогательной подвижной катушкой 2212 и гибким роликом 2722. Посадка вспомогательной подвижной катушки 2212 и гибкого ролика 2722 может уменьшить столкновение с внутренним кольцом нижнего корпуса 2700 из-за нестабильного и неравномерного вращения элемента поглощения влаги 2200, позволяя избежать повреждения элемента поглощения влаги 2200 (особенно влагопоглощающего вращающегося диска 2201) из-за столкновения.
[000130] Следует отметить, что в дополнение к вспомогательной подвижной катушке 2212, расположенной на внешней периферии периферийного корпуса верхнего зажима 2202, как показано на фиг. 19 и фиг. 20, вспомогательная подвижная катушка 2212 также может быть предусмотрена на внешней периферии периферийного корпуса нижнего зажима 2203. Кроме того, примеры реализации настоящего изобретения не ограничивают количество гибких роликов 2722. Специалисты в данной области техники могут установить пять гибких роликов 2722, как показано на фиг. 21, или также могут установить большее или меньшее количество гибких роликов 2722.
[000131] Согласно некоторым примерам реализации, как показано на фиг. 21, на нижней поверхности первой монтажной части 2720 предусмотрен жесткий ролик 2723. Жесткий ролик 2723 может быть предусмотрен, например, на краю нижней поверхности первой монтажной части 2720. Диаметр жесткого ролика 2723 фиксированный. Ось вращения жесткого ролика 2723 перпендикулярна оси вращения влагопоглощающего элемента 2200. Во процессе вращения элемента поглощения влаги 2200 жесткий ролик 2723 может катиться вместе с нижней поверхностью внешнего периферийного корпуса нижнего зажима 2203, поддерживая его; трение между влагопоглощающим элементом 2200 и нижней поверхностью нижнего корпуса 2700 устраняется.
[000132] Следует отметить, что примеры реализации настоящего изобретения не ограничивают количество жестких роликов 2723. Специалисты в данной области техники могут установить четыре жестки роликов 2723, как показано на фиг. 21, или установить большее или меньшее количество жестки роликов 2723.
[000133] На фиг. 22 и фиг. 23 показаны деталировочные чертежи первой монтажной части нижнего корпуса 2720 и верхний корпус 2820, используемые для монтажа структурного элемента поглощения влаги 2200. На фиг. 24 показан деталировочный чертеж монтажа первой монтажной части 2720, верхнего корпуса 2820 и элемента поглощения влаги 2200.
[000134] Согласно некоторым примерам реализации, как показано на фиг. 22-24, нижний корпус 2700 модуля сушки 2000 может представлять собой интегрированный нижний корпус с расположенной на нем первой монтажной частью 2720 для установки элемента поглощения влаги 2200. Модуль сушки 2000 также включает в себя отдельный верхний корпус 2820 для установки влагопоглощающего элемента 2200. В дополнение к круглой второй монтажной части 2821, предназначенной для установки влагопоглощающего элемента 2200, верхний корпус 2820 также включает в себя первое воздуховыпускное отверстие 2902 влагопоглощающего канала. Элемент поглощения влаги 2200 соединен с возможностью вращения с короткой осью 2721 первой монтажной части 2720, таким образом, элемент поглощения влаги 2200 соединен с возможностью вращения по существу в цилиндрическом пространстве, образованном первой монтажной частью 2720 и второй монтажной частью 2821.
[000135] Согласно некоторым примерам реализации, как показано на фиг. 22-24, первая монтажная часть 2720 снабжена первой перегородкой 2725, а вторая монтажная часть 2821 снабжена второй перегородкой 2822. После выполнения жесткого соединения нижнего корпуса 2700 с верхним корпусом 2820, вторая перегородка 2822 располагается непосредственно над первой перегородкой 2725, таким образом, цилиндрическое пространство, в котором расположен элемент поглощения влаги 2200, разделено на область поглощения влаги 2907 и зону регенерации 2908, т.е. первая перегородка 2725 и вторая перегородка 2822 могут разделять влагопоглощающий вращающийся диск 2201 поглощения влаги на область поглощения влаги 2907 и область регенерации 2908. Циркулирующий воздушный поток течет из нижней части влагопоглощающего вращающегося диска 2201 в область поглощения влаги 2907 влагопоглощающего вращающегося диска 2201; влагопоглощающая область 2907 используется для поглощения влаги в циркулирующем воздушном потоке. Воздушный поток для удаления влаги течет из верхней части влагополощающего вращающегося диска 2201 в область регенерации 2908 влагопоглощающего вращающегося диска 2201 и используется для удаления влаги, поглощенной влагопоглощающим вращающимся диском 2201, через воздушный поток для удаления влаги; таким образом, достигается регенерация и повторное использование влагопоглощающего вращающегося диска 2201.
[000136] Согласно некоторым примерам реализации, как показано на фиг. 22 и фиг. 24, первая монтажная часть 2720 нижнего корпуса 2700 дополнительно снабжена по меньшей мере одной третьей перегородкой 2726. По меньшей мере одна третья перегородка 2726 разделяет область 2907 поглощения влаги по меньшей мере на первую область поглощения влаги 2907-1 и вторую область поглощения влаги 2907-2, таким образом, поток циркулирующего воздуха, втекающий в зону 2907 поглощения влаги, может быть разделен. После того как циркулирующий воздушный поток попадает в пространство между нижним корпусом 2700 и элементом поглощения влаги 2200 через циркуляционный вентилятор, он относительно равномерно разделяется по меньшей мере на две части третьей перегородкой 2726 (т.е. поток воздуха в двух частях примерно одинаковый), это может помешать циркулирующему воздушному потоку течь в большей степени к окружности элемента поглощения влаги 2200 под действием центробежной силы, в то время как воздушный поток вблизи центра круга будет меньшим. Согласно этому примеру реализации эффективность поглощения влаги влагопоглощающим элементом 2200 может быть улучшена и может быть достигнуто равномерное и стабильное поглощение влаги.
[000137] Согласно некоторым примерам реализации, как показано на фиг. 22 и фиг. 24, первый уплотнительный элемент предусмотрен между элементом поглощения влаги 2200 и первой перегородкой 2725 нижнего корпуса 2700; первый уплотнительный элемент (например, посредством винтов, пряжек, клея и др.) закреплен на верхней торцевой поверхности первой перегородки 2725. Первый уплотнительный элемент может включать в себя, например, уплотнительную ленту 2728 и металлическую прижимную деталь 2727. Уплотняющая лента 2728 может быть изготовлена, например, из резины, пенопласта, шерстяной ленты или других материалов. Металлическую прижимную деталь 2727 можно соединить с уплотнительной лентой 2728 винтами или клеем и закрепить ее на первой перегородке 2725.
[000138] Аналогично вышеописанному примеру реализации, как показано на фиг. 23 и фиг. 24, второй уплотнительный элемент предусмотрен между влагопоглощающим элементом 2200 и второй перегородкой 2822 верхнего корпуса 2820; второй уплотнительный элемент (например, посредством винтов, пряжек, клея и др.) закреплен на нижней торцевой поверхности второй перегородки 2822 и расположен непосредственно над первыми уплотнениями 2727 и 2728. Второй уплотнительный элемент может включать в себя, например, уплотнительное кольцо 2824 и металлическую прижимную деталь 2823. Уплотнительное кольцо 2824 может быть изготовлено, например, из резины, пенопласта, шерстяной ленты или других материалов. Металлическую прижимную деталь 2823 можно соединить с уплотнительным кольцом 2824 винтами или клеем и закрепить ее на второй перегородке 2822.
[000139] Первое уплотнение 2727 и уплотнительная лента 2728, а также второе уплотнение 2823 и уплотнительное кольцо 2824 могут обеспечивать динамическое уплотнение между влагопоглощающим элементом 2200 и нижним корпусом 2700, то есть во время вращения влагопоглощающего элемента 2200 область 2907 поглощения влаги и области регенерации 2908 разделены и поддерживают относительно плотное уплотнение. Циркулирующий воздушный поток области поглощения влаги 2907 проходит через первую перегородку 2725 и вторую перегородку 2822 как можно меньше, чтобы достичь области регенерации 2908; поток отработанной влаги в области 2908 регенерации также проходит через первую перегородку 2725 и вторую перегородку 2822 как можно меньше, чтобы достичь области поглощения влаги 2907.
[000140] Согласно некоторым примерам реализации расстояние между первым уплотнительным элементом и вторым уплотнительным элементом, особенно уплотнительной лентой 2728 и уплотнительным кольцом 2824, и элементом поглощения влаги 2200 может быть установлено в пределах достаточно небольшого интервала, например, 0,2-5 мм или 0,6-0,8 мм, что достигается относительно легко. Таким образом, во время вращения влагопоглощающего вращающегося диска он не будет вступать в контакт с первым уплотнительным элементом и вторым уплотнительным элементом, что может вызвать увеличение сопротивления вращению, а также может быть достигнут оптимальный эффект динамического уплотнения. В вариантах реализации, показанных на Фиг. 23 и 24, уплотнительный элемент расположен на торцевой поверхности, противоположной влагопоглощающему элементу 2200, каждой из первой перегородки 2725 и второй перегородки 2822. В некоторых других вариантах реализации изобретения уплотнительный элемент расположен только на торцевой поверхности, противоположной влагопоглощающему элементу 2200, одной из первой перегородки 2725 и второй перегородки 2822, а другая из первой перегородки 2725 и второй перегородки 2822 расположена непосредственно напротив влагопоглощающего элемента 2200 (то есть уплотнительный элемент отсутствует) и отстоит от влагопоглощающего элемента 2200 на заданное расстояние. Заданное расстояние обычно задается в разумно малом диапазоне, например, 0,2-5 мм.
[000141] В некоторых других вариантах реализации изобретения ни первая перегородка 2725, ни вторая перегородка 2822 не могут быть снабжены уплотнительным элементом. Первая перегородка 2725 и вторая перегородка 2822 расположены непосредственно напротив влагопоглощающего элемента 2200 и находятся на относительно небольшом расстоянии (т.е. заданном расстоянии) от влагопоглощающего элемента 2200.
[000142] В некоторых других вариантах реализации первый уплотнительный элемент расположен на торцевой поверхности, противоположной влагопоглощающему элементу 2200, одной из первой перегородки 2725 и второй перегородки 2822 и находится в контакте с влагопоглощающим элементом 2200 (а именно, он взаимодействует с влагопоглощающим поворотным диском 2201 во время вращения этого диска 2201). Первый уплотнительный элемент может представлять собой, например, полоску шерсти. Второй уплотнительный элемент расположен на торцевой поверхности, противоположной влагопоглощающему элементу 2200, другой из первой перегородки 2725 и второй перегородки 2822 и отстоит от влагопоглощающего элемента 2200 на заданное расстояние (а именно, он не мешает влагопоглощающему поворотному диску 2201 во время вращения этого диска 2201). Второй уплотнительный элемент может быть, например, мягкой резиной для уплотнения. Заданное расстояние обычно задается в разумно малом диапазоне, например 0,2-5 мм.
[000143] На фиг. 25 показан примерный способ фиксации интегрированного нижнего корпуса 2700 и верхнего корпуса 2820 элемента поглощения влаги 2200. Как показано на фиг. 25, уплотнительное кольцо 2724 корпуса предусмотрено в соединении между верхним корпусом 2820 и первой монтажной частью 2720 нижнего корпуса 2700. Уплотнительное кольцо 2724 корпуса используется для обеспечения герметизации пространства, в котором расположен элемент поглощения влаги 2200. Уплотнительное кольцо 2724 корпуса может представлять собой, например, резиновую прокладку, силиконовую прокладку и др. Паз для установки уплотнительного кольца 2724 корпуса предусмотрен в первой монтажной части 2720 верхнего корпуса 2820 или нижнего корпуса 2700. Уплотнительное кольцо корпуса 2724 устанавливается в паз и закрепляется верхняя часть корпуса 2820 и первая монтажная часть 2720 болтами.
[000144] Как показано на фиг. 12, интегрированный нижний корпус 2700 сушильного модуля 2000 снабжен монтажной частью 2730, предназначенной для установки регенерационного вентилятора 2400. Монтажная часть 2730 может сопрягаться с отдельным верхним корпусом, соответствующим вентилятору 2400 регенерации, для фиксации вентилятора 2400 регенерации в монтажной части 2730 нижнего корпуса 2700. Вентилятор 2400 регенерации может представлять собой, например, комплектный вентиляторный модуль.
[000145] Под действием вентилятора регенерации 2400 в канале регенерации может формироваться поток осушающего воздуха. На фиг. 26 показано направление потока осушающего воздуха согласно примеру реализации настоящего изобретения. Как показано на фиг. 26, под действием вентилятора регенерации 2400 поток осушающего воздуха поступает в воздуховпускное отверстие вентилятора 2400 регенерации (как показано стрелкой А), проходит через вентилятор регенерации 2400 и входит в нагревательный узел 2500 через первое соединение 2909 (как показано стрелками В и С). Нагревательный узел 2500 расположен над областью регенерации влагопоглощающего вращающегося диска 2201. После того как поток осушающего воздуха поступает в нагревательный компонент 2500, он проходит через область регенерации влагопоглощающего вращающегося диска 2201 сверху вниз (как показано стрелкой D), а затем поступает в конденсатор 2600 (как показано стрелкой Е). Воздуховыпускное отверстие корпуса конденсатора 2600 (не показан на фиг. 26) соединено с воздуховпускным отверстием регенерационного вентилятора 2400 через второй соединительный элемент 2910, таким образом канал регенерации образует замкнутый контур. Поток осушающего воздуха, конденсированный конденсатором 2600, снова поступает в воздуховпускное отверстие регенерационного вентилятора 2400 через второй соединительный элемент 2910 (как показано стрелкой А), таким образом поток осушающего воздуха может циркулировать в канале регенерации. Канал регенерации с замкнутым контуром позволяет избежать взаимодействия между потоком осушающего воздуха и внешней средой стиральной машины, а также снизить воздействие на внешнюю среду (например, влияние на влажность наружного воздуха и др.).
[000146] В других примерах реализации канал регенерации также может быть каналом с разомкнутым контуром. Например, в вышеупомянутых способах реализации, показанных на фиг. 1 и фиг. 5, второе воздуховыпускное отверстие 102 и второе воздуховпускное отверстие 103 предусмотрены на боковой стороне корпуса 10 стиральной машины с функцией сушки; второе воздуховыпускное отверстие 102 соединено с воздуховыпускным концом 621 регенерационного канала 202, второе воздуховпускное отверстие 103 соединено с воздуховпускным концом 622 регенерационного канала 202. В этом примере реализации по меньшей мере одно из устройств на воздуховыпускном конце 621 и воздуховпускном конце 622 снабжено конденсатором. В том числе конденсатор, предусмотренный на воздуховыпускном конце 621, может конденсировать и сушить поток воздуха, выпускаемого наружу, тем самым уменьшая влажность воздушного потока, выпускаемого наружу, и предотвращая воздействие на внешнюю среду. Конденсатор, предусмотренный на воздуховпускном конце 622, может сушить внешний поток воздуха, попадающий в канал регенерации, тем самым улучшая эффект осушения области регенерации.
[000147] Согласно некоторым примерам реализации, на воздуховпускном конце 622 может быть предусмотрен дополнительный электрический нагревательный узел. Дополнительный электрический нагревательный узел используется для предварительного нагрева потока осушающего воздуха, входящего в канал регенерации 202, для улучшения эффекта осушения в области регенерации.
[000148] Во время вращения влагопоглощающего вращающегося диска 2201 каждая его часть вращается от канала поглощения влаги к каналу регенерации, затем поворачивает от канала регенерации к каналу поглощения влаги, таким образом, часть влагопоглощающего вращающегося диска 220, расположенная в области поглощения влаги, поглощает влагу из потока влажного циркулирующего воздуха в канале поглощения влаги, а затем эта часть вращается в область регенерации. Нагревательный узел 2500 нагревает эту часть, быстро абсорбируя влагу из этой части в поток осушающего воздуха; в результате осушающий воздушный поток становится высокотемпературным воздушным потоком, содержащим водяной пар (т.е. высокотемпературным влагосодержащим воздушным потоком). Конденсатор 2600 конденсирует поток высокотемпературного влажного воздуха в поток сухого воздуха с низкой температурой и выпускает конденсированную воду из конденсатора 2600 через выпускное отверстие для конденсированной воды. Поток низкотемпературного сухого воздуха, обработанный конденсатором 2600, снова поступает в воздуховпускное отверстие регенерационного вентилятора 2400 (что соответствует вышеупомянутому каналу регенерации с замкнутым контуром), или сбрасывается наружу (что соответствует вышеупомянутому каналу регенерации с разомкнутым контуром).
[000149] Нагревательный узел 2500 расположен над областью регенерации влагопоглощающего вращающегося диска 2201 и закрывает область регенерации. На фиг. 27 и фиг. 28 показан деталировочный чертеж и объемное изображение соответствующих конструкций нагревательного узла 2500 и регенерационного вентилятора 2400. Как показано на фиг. 26-28, вентилятор 2400 регенерации закреплен в верхнем корпусе 2410 вентилятора регенерации и нижнем корпусе 2420 вентилятора регенерации. Нагревательный узел 2500 соединен с воздуховыпускным отверстием регенерационного вентилятора 2400 через первый соединительный элемент 2909. Первая уплотнительная прокладка 2912 предусмотрена в месте соединения между нагревательным узлом 2500 и первым соединительным элементом 2909. Нагревательный узел 2500 может быть подсоединен к верхнему корпусу модуля, соответствующему элементу поглощения влаги, через третий соединительный элемент 2911, например, к веерообразному вырезу на верхней торцевой поверхности верхнего корпуса 2820, показанному на фиг. 24. Воздуховпускное отверстие регенерационного вентилятора 2400 соединен с корпусом конденсатора 2600 через второй соединительный элемент 2910 (не показан на фиг. 27 и фиг. 28). Вторая уплотнительная прокладка 2913 предусмотрена в соединении между вторым соединительным элементом 2910 и корпусом конденсатора 2600.
[000150] На фиг. 29 и фиг. 30 соответственно показаны объемное изображение и деталировочный чертеж первого соединительного элемента 2909, на фиг. 31 и фиг. 32 соответственно показаны объемное изображение и деталировочный чертеж второго соединительного элемента 2910. Как показано на фиг. 29-32, первый соединительный элемент 2909 можно разделить на две верхнюю и нижнюю части, а именно: первый верхний соединительный элемент 2914 и первый нижний соединительный элемент 2915. Верхняя часть первого соединительного элемента 2914 и нижняя часть первого соединительного элемента 2915 могут быть изготовлены отдельно, а затем их сваривают или соединяют болтами для получения первого соединительного элемента 2909. Аналогично, второй соединительный элемент 2910 также может быть разделен на верхнюю и нижнюю части, а именно, верхний второй соединительный элемент 2916 и второй нижний соединительный элемент 2917. Верхняя часть второго соединительного элемента 2916 и нижняя часть второго соединительного элемента 2915 могут быть изготовлены отдельно, а затем их сваривают или соединяют болтами для получения второго соединительного элемента 2910.
[000151] Разделив первый соединительный элемент 2909 и второй соединительный элемент 2910 на две части, можно уменьшить сложность обработки этих двух частей и обеспечить их технологичность. Более того, формы первого соединительного элемента 2909 и второго соединительного элемента 2910 определяются на основе конструкции и расположения регенерационного вентилятора 2400, нагревательного узла 2500, конденсатора 2600 и других элементов в регенерационном канале, он может сочетаться с другими компонентами в канале регенерации для достижения эффекта герметизации канала регенерации и регулирования направления потока осушающего воздуха.
[000152] Первый соединительный элемент 2909 может представлять собой гибкую интегрированную конструкцию, части впуска и выпуска воздуха на обоих концах могут быть деформированы так, чтобы проходить в воздуховыпускное отверстие корпуса конденсатора и корпус воздуховпускного отверстия регенерационного вентилятора; после восстановления деформации формируют герметичное соединение путем затягивания болтов.
[000153] На фиг. 33 показана схема места монтажа нагревательного узла 2500 на верхнем корпусе 2820. Как показано на фиг. 33, нагревательный узел 2500 расположен на верхнем корпусе 2820, теплоизоляционное кольцо 2918 и второе уплотнительное кольцо 2919 расположены между нагревательным узлом 2500 и верхним корпусом 2820. Теплоизоляционное кольцо 2918 изготовлено из теплоизоляционного материала. В некоторых примерах реализации теплоизоляционное кольцо 2918 может быть изготовлено из металла. Второе уплотнительное кольцо 2919 может быть изготовлено из силикона, резины, пенопласта или других материалов.
[000154] Как показано на фиг. 33, второе уплотнительное кольцо 2919 закрывает теплоизоляционное кольцо 2918, второе уплотнительное кольцо 2919 находится в непосредственном контакте с верхним корпусом 2820 и теплоизоляционным кольцом 2918. Область регенерации влагопоглощающего вращающегося диска расположена под нагревательным узлом 2500. Путем размещения теплоизоляционного кольца 2918 и второго уплотнительного кольца 2919 между нагревательным узлом 2500 и верхним корпусом 2820 влагопоглощающий вращающийся диск может быть пространственно разделен на область поглощения влаги и область регенерации, что позволяет потоку осушающего воздуха плавно проходить через влагопоглощающий вращающийся диск.
[000155] Понятно, что поскольку температура нагревательного узла 2500 относительно высокая, если нагревательный узел 2500 находится в непосредственном контакте с верхним корпусом 2820 (верхний корпус 2820 может быть изготовлен, например, из пластикового материала), со временем верхний корпус 2820 может деформироваться или повредиться. Путем установки теплоизоляционного кольца 2918 и второго уплотнительного кольца 2919 можно сформировать буферную зону передачи температуры между нагревательным узлом 2500 и верхним корпусом 2820, предотвращая деформацию или повреждение верхнего корпуса 2820 из-за высокой температуры.
[000156] На фиг. 34-36 показано объемное изображение нагревательного узла 2500, схема ячеистой пластины 2550 и вид снизу нагревательного узла 2500. Как показано на фиг. 34-36, нагревательный узел 2500 включает в себя веерообразный корпус 2510, ячеистую пластину 2520 и нагревательную трубку 2530, расположенную в веерообразном корпусе 2510. Нагревательная трубка 2530 расположена под ячеистой пластиной 2520, которая снабжена множеством отверстий 2521 для воздуха.
[000157] Веерообразный корпус 2510 снабжен воздуховпускным отверстием 2540 на окружной или радиальной стороне, поток осушающего воздуха, выходящий из первого соединителя 2909 (см. фиг. 26-28), течет из воздуховпускного отверстия 2540 в пространство над ячеистой пластиной 2520 в веерообразном корпусе 2510, затем он проходит через сетку 2521 на ячеистой пластине 2520 и после нагрева нагревательной трубкой 2530 стекает вниз в область регенерации на влагопоглощающем вращающемся диске. Высокотемпературный осушающий воздушный поток, нагретый нагревательной трубкой 2530, может абсорбировать влагу в области регенерации.
[000158] Согласно некоторым вариантам реализации диаметры множества отверстий 2521 для воздуха на ячеистой пластине 2520 могут не быть полностью одинаковыми. Диаметры множества отверстий 2521 для воздуха могут последовательно уменьшаться вдоль направления потока осушающего воздуха в нагревательном узле 2500. Таким образом, объем воздуха можно регулировать так, чтобы поток осушающего воздуха мог проходить через ячеистую пластину 2520 равномерно, таким образом нагревательная труба 2530 может равномерно нагревать поток осушающего воздуха. Например, как показано на фиг. 34 и фиг. 35, когда воздуховпускное отверстие 2540 открыто на периферийной стороне веерообразного корпуса 2510, направление потока осушающего воздуха внутри веерообразного корпуса 2510 идет от окружности к центру круга. Аналогично, диаметры множества воздушных отверстий 2521 на ячеистой пластине 2520 имеют тенденцию уменьшаться в направлении от окружности к центру веерообразного корпуса (как показано стрелками на фиг. 35), таким образом, объем воздуха можно регулировать так, чтобы нагревательная трубка 2530 могла равномерно нагревать поток осушающего воздуха.
[000159] В других примерах реализации (не показаны на фиг. 34-36) воздуховпускное отверстие 2540 также может быть предусмотрено на радиальной стороне веерообразного корпуса 2510. В этом случае поток осушающего воздуха течет внутри веерообразного корпуса 2510 вдоль направления, которое приблизительно перпендикулярно радиусу (периферийное направление); другими словами, поток в направлении вдоль стороны радиуса, от которой расположено воздуховпускное отверстие, до другой стороны радиуса веерообразного корпуса 2510. Аналогично, в направлении от радиальной стороны, где расположено воздуховпускное отверстие, к другой радиальной стороне, диаметры множества воздушных отверстий 2521 на ячеистой пластине 2520 имеют тенденцию уменьшаться. В результате объем воздуха, проходящего через ячеистую пластину 2520, можно регулировать так, чтобы нагревательная трубка 2530 могла равномерно нагревать поток осушающего воздуха, затем нагретый высокотемпературный воздушный поток для осушения может равномерно осушить область регенерации влагопоглощающего вращающегося диска, тем самым улучшая эффект осушения.
[000160] Согласно некоторым примерам реализации, как показано на фиг. 36, нагревательная трубка 2530 не расположена непосредственно под воздушным отверстием 2521, а смещена относительно воздушного отверстия 2521 по направлению к центру веерообразного корпуса. Поскольку положение нагревательной трубки 2530 смещено в определенной степени относительно воздушного отверстия 2521, нагревательная трубка 2530 не будет создавать большого сопротивления потоку осушающего воздуха, проходящему через воздушное отверстие 2521. Кроме того, когда поток осушающего воздуха входит в воздуховпускное отверстие 2540 и проходит через отверстие для воздуха 2521, поток осушающего воздуха движется со скоростью от окружности веерообразного корпуса до центра круга (как показано стрелкой на фиг. 35). Путем установки нагревательной трубки 2530 в положении, смещенном к центральному направлению веерообразного корпуса относительно воздушных отверстий 2521, поток осушающего воздуха, проходящий через воздушные отверстия 2521, может быть направлен к нагревательной трубке 2530, таким образом, эффективность нагрева нагревательной трубки 2530 потока осушающего воздуха повышается.
[000161] Согласно некоторым примерам реализации, как показано на фиг. 34 и фиг. 36, нижняя стенка веерообразного корпуса 2510 выступает наружу, образуя третью монтажную часть 2550. Нагревательный узел 2500 также включает в себя датчик температуры 2560, покрытый теплопроводящим листом 2570. После покрытия датчика температуры 2560 теплопроводным листом 2570, его размещают на третьей монтажной части 2550.
[000162] Датчик температуры 2560 используется для определения температуры нагревательного узла 2500 для управления переключателем нагревательной трубки 2530. Понятно, что поскольку поток нагретого осушающего воздуха может образовывать турбулентный поток в нагревательном узле 2500, температура в нагревательном узле 2500 не является стабильной. Если датчик температуры 2560 используется непосредственно для определения температуры воздушного потока в нагревательном узле 2500, значение температуры, определенное датчиком температуры 2560, будет колебаться и не будет стабильным, что не будет способствовать эффективному управлению нагревательной трубкой 2530. При размещении датчика температуры 2560 в теплопроводном листе 2570 температура нагревательного узла 2500 сначала передается к теплопроводящему листу 2570 за счет теплопроводности, датчик 2560 температуры определяет температуру теплопроводящего листа 2570. Температура теплопроводящего листа 2570 более стабильна по сравнению с температурой воздушного потока. Поэтому, по сравнению с датчиком температуры 2560, непосредственно определяющим температуру воздушного потока, датчик температуры 2560 определяет значение температуры теплопроводящего листа 2570, стабильность и точность определения температуры могут быть улучшены, таким образом нагревательной трубкой 2530 можно будет эффективно управлять.
[000163] Как упоминалось выше, нагревательный узел 2500 нагревает поток осушающего воздуха для получения высокотемпературного воздушного потока. Этот высокотемпературный воздушный поток может абсорбировать влагу в области регенерации влагопоглощающего вращающегося диска для получения высокотемпературного влагосодержащего воздушного потока. Поток высокотемпературного влажного воздуха, нагретый конденсатором 2600, продолжает поступать в конденсатор 2600 для конденсации потока влажного высокотемпературного воздуха в поток сухого воздуха с низкой температурой, конденсированная вода выводится из конденсатора 2600 через отверстие выхода конденсата. Поток низкотемпературного сухого воздуха, обработанный конденсатором 2600, снова поступает в воздуховпускное отверстие регенерационного вентилятора 2400 (что соответствует вышеупомянутому каналу регенерации с замкнутым контуром), или сбрасывается наружу (что соответствует вышеупомянутому каналу регенерации с разомкнутым контуром).
[000164] На фиг. 37 показан способ крепления конденсатора 2600 и нижнего корпуса 2700. Как показано на фиг. 37, верхний корпус 2830 конденсатора совмещается с монтажной частью 2740 (т.е. нижним корпусом конденсатора) в нижнем корпусе 2700 для установки конденсатора. Верхний корпус 2830 конденсатора закрывает конденсатор 2600, прижимается уплотнительная лента 2920 вокруг конденсатора 2600, герметизируется и фиксируется монтажной деталью 2740. Верхний корпус 2830 конденсатора и монтажная часть 2740 образуют цельный корпус конденсатора 2600, то есть внешний корпус конденсатора. На корпусе конденсатора имеется воздуховыпускное отверстие 2631, которое соединено с воздуховпускным отверстием регенерационного вентилятора 2400 через второй соединительный элемент 2910 (см. фиг.2 6-28).
[000165] На фиг. 38 показан поперечный разрез корпуса конденсатора 2630. Как показано на фиг.38, поток осушающего воздуха с высокой температурой и высокой влажностью, проходящий через область регенерации 2908, поступает в корпус конденсатора 2630 (как показано стрелкой А) и подвергается процессу сушки (как показано стрелкой В) в конденсаторе 2600 (не показано на фиг. 38), воздух выходит из воздуховыпускного отверстия 2631 ко второму соединительному элементу 2910 (как показано стрелкой С).
[000166] Согласно некоторым примерам реализации, как показано на фиг. 38, перегородка 2632 предусмотрена на нижней поверхности корпуса 2630 конденсатора рядом с воздуховыпускным отверстием 2631. Перегородка 2632 может улучшить эффект конденсации конденсатора 2600, таким образом поток осушающего воздуха может быть полностью осушен конденсатором 2600. Например, перегородка 2632 может препятствовать прохождению потока осушающего воздуха, поступающего в корпус конденсатора 2630, через конденсатор 2600, однако он выходит непосредственно из зазора между конденсатором 2600 и нижней поверхностью корпуса 2630 конденсатора, в результате чего эта часть воздушного потока не может быть конденсирована и высушена.
[000167] Как показано на фиг. 37, конденсатор 2600 снабжен трубкой 2640 для протекания конденсата. Трубка 2640 для конденсатной воды дополнительно включает в себя впускное отверстие 2610 для воды и выпускное отверстие 2620 для воды. Направление, указанное стрелкой А на фиг. 37, является направлением потока осушающего воздуха в конденсаторе 2600.
[000168] Согласно некоторым примерам реализации, датчик для определения состояния конденсированной воды может быть предусмотрен в трубке 2640 для конденсированной воды, например, датчик температуры, датчик расхода и т.д. или индуктивный датчик устанавливается снаружи впускной трубы для конденсата, чтобы определять, протекает ли конденсатная вода через трубку 2640 для конденсата. На основании данных о состоянии, полученных датчиком, можно регулировать расход воды в трубке 2640 для конденсационной воды или должна срабатывать сигнализация, чтобы гарантировать нормальную работу конденсатора 2600 и улучшить эффект конденсации. Например, если датчик температуры обнаруживает, что температура конденсированной воды слишком высокая, текущий эффект конденсации может быть плохим, скорость потока конденсированной воды можно соответствующим образом увеличить, тем самым снизив температуру конденсированной воды и улучшив эффект конденсации. В качестве другого примера, если датчик расхода определяет, что расход конденсированной воды слишком низкий, трубка 2640 для конденсированной воды может подвергаться риску утечки, может подаваться предупреждающее сообщение, напоминающее пользователю о необходимости проверки или ремонта конденсатной трубки 2640. Разумеется, на воздуховпускном/воздуховыпускном отверстии корпуса конденсатора также могут быть установлены датчики температуры для определения состояния работы конденсатора на основе значения определения температуры, значения разницы определения температуры или значения разницы температур между воздуховпускным и воздуховыпускным отверстиями.
[000169] Согласно некоторым примерам реализации, как показано на фиг. 37, трубка 2640 для конденсационной воды может быть змеевидной трубкой (serpentine pipe). В примере, показанном на фиг. 37, трубка 2640 для конденсационной воды расположена в конденсаторе 2600 обходным путем, тем самым увеличивая площадь контакта между потоком осушающего воздуха и трубкой 2640 конденсационной воды, таким образом полностью конденсируется поток осушающего воздуха. Как показано на фиг. 37, конденсатор 2600 включает в себя первую сторону и вторую сторону, которые противоположны друг другу в направлении потока осушающего воздуха (см. стрелку А), при этом первая сторона расположена после второй стороны. В непроиллюстрированном примере впускное отверстие 2610 для воды и выпускное отверстие 2620 для воды трубки 2640 для конденсированной воды расположены на боковой стенке конденсатора 2600; боковая стенка соединяет первую сторону и вторую сторону конденсатора 2600, впускное отверстие 2610 для воды и выпускное отверстие 2620 для воды расположены ближе к первой стороне, чем ко второй стороне. В таком примере водяная трубка конденсатора 2640 проходит от впускного отверстия для воды 2610 по первому зигзагообразному пути (zig-zag) в направлении второй стороны конденсатора 2600 к месту, удаленному от первой стороны, проходит от этого положения по второму зигзагообразному пути к первой стороне к выпускному отверстию для воды 2620, в том числе, длина первого зигзагообразного пути больше длины второго зигзагообразного пути, например, в два раза больше длины второго зигзагообразного пути. Следует понимать, что такое расположение дает преимущества, поскольку от первой стороны конденсатора 2600 ко второй стороне конденсатора 2600 из-за выделения тепла из потока осушающего воздуха от первой стороны конденсатора 2600 ко второй стороне конденсатора 2600 температура конденсированной воды постепенно увеличивается, и, в свою очередь, из-за поглощения тепла конденсированной водой от второй стороны конденсатора 2600 к первой стороне конденсатора 2600 температура потока осушающего воздуха постепенно снижается, что позволяет поддерживать определенную разницу температур между потоком осушающего воздуха и конденсированной водой в течение всего процесса конденсации, тем самым улучшая эффект конденсации.
[000170] В приведенном выше способе реализации конденсатор 2600 представляет собой конденсатор с водяным охлаждением, то есть проточная конденсированная вода используется в качестве охлаждающей среды для отвода тепла, выделяющегося при конденсации потока осушающего воздуха. В других примерах реализации конденсатор 2600 также может быть воздушным конденсатором (с использованием воздуха в качестве охлаждающей среды), испарительным конденсатором (с использованием воды и воздуха в качестве охлаждающей среды) и др.
[000171] Как показано на фиг. 8 и фиг. 11, первое воздуховпускное отверстие 2901 канала поглощения влаги соединен с воздуховыпускным каналом 1300 барабана 1100. Под действием циркуляционного вентилятора 2100 влажный воздух в барабане 1100 вводится в зону поглощения влаги влагопоглощающего элемента 2200 (водопоглощающего вращающегося диска 2201) для осушения.
[000172] Согласно некоторым примерам реализации первый фильтр предусмотрен перед элементом поглощения влаги 2200 в канале влагопоглощения. Например, первый фильтр может быть расположен в воздуховыпускном канале 1300 барабана 1100 или в первом воздуховпускном отверстии 2901 канала поглощения влаги. Первый фильтр может представлять собой, например, фильтровальную сетку, которая может улавливать и фильтровать ворс одежды во влажном воздухе барабана 1100, что позволяет предотвратить попадание ворса во влагопоглощающий вращающийся диск 2201, вызывающее засорение влагопоглощающего вращающегося диска 2201, что влияет на эффект осушения. Кроме того, первый фильтр может также предотвращать прилипание ворса к области поглощения влаги влагопоглощающего вращающегося диска 2201; по мере вращения влагопоглощающего вращающегося диска 2201 ворс будет перемещаться в зону регенерации и воспламеняться в нагревательном узле 2500.
[000173] Согласно некоторым примерам реализации, когда канал регенерации представляет собой канал с разомкнутым контуром, второй фильтр может быть предусмотрен перед вентилятором регенерации в канале регенерации, третий фильтр может быть предусмотрен после элемента поглощения влаги. Вторым фильтром может быть, например, фильтровальная сетка, используемая для предотвращения попадания загрязняющих веществ из внешней среды в канал регенерации и повреждения вентилятора регенерации. Третий фильтр представляет собой воздушный фильтр, например фильтр НЕРА, который используется для предотвращения загрязнения воздуха потоком воздуха, выбрасываемым во внешнюю среду.
[000174] Согласно некоторым примерам реализации стиральная машина с функцией сушки дополнительно снабжена очищающим узлом для автоматической очистки фильтров (таких как первый фильтр, второй фильтр и третий фильтр, описанные выше). Очищающим узлом может быть, например, распылительный механизм для разбрызгивания для фильтра, вибрационный механизм для вибрации фильтра, продувочный механизм для продувки фильтра или скребок для соскабливания фильтра. Далее в качестве примера используется очищающий узел, представленный в виде распылительного механизма, в котором описывается раствор для автоматической очистки фильтра согласно примеру реализации настоящего изобретения.
[000175] Согласно некоторым примерам реализации, распылительный механизм может быть расположен после фильтра, направление потока жидкости, распыляемой распылительным механизмом, противоположно направлению воздушного потока, проходящего через фильтр. В примере реализации направление потока жидкости, распыляемой распылительным механизмом, может быть полностью противоположно направлению потока воздуха, проходящего через соответствующий фильтр (угол между двумя направлениями составляет 180 градусов), оно также может быть примерно противоположно направлению воздушного потока, проходящего через соответствующий фильтр (угол между двумя направлениями является тупым). На фиг. 39 показано схематическое изображение фильтра 1500 и распылительного механизма 1600 для автоматической очистки фильтра 1500 согласно примеру реализации настоящего изобретения. Направление, указанное стрелкой А на фиг. 39, является направлением воздушного потока, проходящим через фильтр 1500, направление, указанное стрелкой В, представляет собой направление жидкости, распыляемой распылительным механизмом 1600.
[000176] Фильтр 1500 может представлять собой, например, фильтровальную сетку, расположенную наклонно в соответствующем канале (например, воздуховыпускной канал 1300 барабана 1100, первое воздуховпускное отверстие 2901 канала поглощения влаги, входной элемент регенерационного вентилятора в регенерационном канале или выходной элемент влагопоглощающего компонента в регенерационном канале и т.д. не показано на фиг. 39). Располагая фильтр 1500 (т.е. фильтр 1500) под углом в соответствующем канале, во-первых, можно увеличить площадь фильтра, чтобы избежать засорения при небольшой площади фильтра, что влияет на эффективность воздушного потока; во-вторых, во время процесса очистки фильтра 1500 с помощью распылительного механизма 1600, даже если очистка не производится, это не повлияет на последующую эффективность воздушного потока; в-третьих, поскольку угол наклона фильтровальной сетки 1500 небольшой, он может эффективно предотвращать попадание ворса и другого мусора в фильтровальную сетку и затруднение их смывания распылительным механизмом 1600.
[000177] Согласно некоторым примерам реализации стиральная машина с функциями сушки может включать в себя впускное отверстие для воды, соединенное с водопроводной трубой. Поток воды, поступающий в стиральную машину с функциями сушки из водозаборного отверстия, разделяется на три пути. Первый путь соединен с внутренним цилиндром и используется для стирки одежды во внутреннем цилиндре; второй путь соединен с конденсатором и используется для конденсированной воды; третий путь соединен с распылительным механизмом 1600 и используется для распыления и очистки фильтра 1500. Согласно некоторым примерам реализации, как показано на фиг. 39, распылительный механизм 1600 включает в себя выпускную трубку 1610 для воды и насадку 1620. Один конец насадки 1620 соединен с трубкой для выпуска воды 1610, другой конец - плоский и закрывает конец фильтровальной сетки 1500 рядом с трубой для выпуска воды 1610. На фиг. 40 дополнительно показан подробный вид выпускной трубы 1610 для воды и насадки 1620. Как показано на фиг. 40, насадка 1620 включает в себя переходную часть 1621 для соединения с выпускной трубой 1610 воды и удлинительную часть 1622 в форме клюва утки. В этом примере реализации насадка 1620 используется для соединения выпускной трубы 1610 воды и фильтровальной сетки 1500 и медленно становится плоской от выпускной трубы 1610 воды до фильтровальной сетки 1500; в результате поток воды, выбрасываемый из выпускной трубы 1610, может закрывать всю ширину фильтровальной сетки 1500, тем самым эффективно ее очищая.
[000178] Следует отметить, что примеры реализации настоящего изобретения не ограничивают конкретное взаимное расположение между фильтром 1500 и насадкой 1620 при условии, что поток воды, выбрасываемый из насадки 1620, может полностью покрывать фильтр 1500. Например, фильтр 1500 может быть расположен наклонно или горизонтально в соответствующем канале (например, воздуховыпускном канале внутреннего цилиндра, первом воздуховпускном отверстии канала поглощения влаги, перед регенерационным вентилятором в регенерационном канале и др.). Насадка 1620 может быть установлена лицом к фильтровальной сетке 1500 или может быть установлена под определенным углом наклона к ней. Насадка 1620 может контактировать с фильтровальной сеткой 1500, или между соплом 1620 и фильтровальной сеткой 1500 может быть определенный зазор.
[000179] Согласно некоторым примерам реализации, в дополнение к конденсатору 2600, предусмотренному на канале регенерации, как упомянуто выше, конденсатор также может быть предусмотрен между воздуховыпускным отверстием внутреннего цилиндра стиральной машины с функцией сушки и влагопоглощающим элементом 2200. Согласно этому примеру реализации поток горячего и влажного воздуха, выходящий из внутреннего цилиндра, может быть один раз конденсирован для снижения содержания в нем воды. Затем влагопоглощающий вращающийся диск поглощает влагу для увеличение эффекта влагопоглощения.
[000180] Согласно некоторым примерам реализации конденсатор, предусмотренный между воздуховыпускным отверстием внутреннего цилиндра и элементом поглощения влаги 2200, может взаимодействовать с первым фильтром (фильтровальной сеткой) и его очищающим узлом, предусмотренным в воздуховыпускном канале внутреннего цилиндра. На фиг. 41 показана схема конденсатора 2921, фильтровальной сетки 2922 и очищающего узла 2923 в воздуховыпускном трубопроводе внутреннего цилиндра.
[000181] Согласно некоторым примерам реализации, как показано на фиг. 41, фильтровальная сетка 2922 расположена под углом в воздуховыпускном канале 1300 внутреннего цилиндра. Очищающим узлом 2923 может быть, например, первая впускная труба для воды, которая используется для распыления воды на фильтровальную сетку 2922 для очистки ее фильтрующей поверхности. Конденсатором 2921 может быть, например, вторая впускная труба для воды, которая используется для медленного распыления воды на внешнюю стенку 1302 воздуховыпускного канала 1300 внутреннего цилиндра для поддержания постоянной низкой температуры на внешней стенке 1302; таким образом, горячий и влажный воздух, текущий через воздуховыпускной канал 1300, конденсируется и сушится. Согласно некоторым примерам реализации, чтобы гарантировать, что конденсат, распыляемый из второй впускной трубы 2921 воды, не будет проливаться, внешняя трубка может быть установлена снаружи воздуховыпускного канала 1300, так что между внешней стенкой 1302 воздуховыпускного канала 1300 и внутренней стенкой внешней трубки образуется пространство для потока воды, предназначенное для направления конденсата во внутренний цилиндр, внешний цилиндр или выпускную трубку стиральной машины с функцией сушки.
[000182] Следует отметить, что описанный выше модуль сушки 2000 представляет собой лишь примерный вариант осуществления модуля сушки настоящего изобретения. Технические характеристики модуля сушки 2000 могут быть заменены другими техническими характеристиками, формируя тем самым модули сушки в рамках других примеров реализации настоящего изобретения.
[000183] Следует отметить, что данное изобретение не ограничивает способ установки модуля сушки. В примере реализации, описанном выше, модуль сушки 2000 включает в себя интегрированный нижний корпус 2700 и отдельные верхние корпусы, например, верхний корпус 2810 циркуляционного вентилятора, верхний корпус 2820 влагопоглощающего элемента, верхний корпус 2830 конденсатора и др. Модуль сушки 2000 перекрывается и крепится к корпусу 1200 стиральной машины с функцией сушки посредством четвертой монтажной части 2701 на нижнем корпусе 2700. Кроме того, в соединениях между выпускным воздуховодом и воздухозпускным каналом сушильного модуля 2000 и барабана 1100 предусмотрены гибкие трубы. Это может предотвратить передачу вибрации барабана 1100 на модуль сушки 2000 и повреждение модуля сушки 2000.
[000184] В других вариантах реализации как нижний корпус, так и верхний корпус модуля сушки могут быть отдельными, т.е. сушильный модуль может быть собран из различных элементов, таких как корпус циркуляционного вентилятора, корпус элемента поглощения влаги, корпус регенерационного вентилятора и корпус конденсатора. Согласно этому примеру реализации каждый компонент модуля сушки может быть модульным, что облегчает ремонт и замену отдельных элементов, тем самым облегчая обслуживание всего модуля.
[000185] В вышеописанном примере каждый компонент модуля сушки может быть жестко соединен с внешним цилиндром барабана. Это позволяет сэкономить место и уменьшить высоту стиральной машины с функцией сушки.
[000186] В других вариантах реализации, поскольку влагопоглощающий элемент (особенно влагопоглощающий вращающийся диск) более хрупкий и больше подвержен влиянию вибрации, чем другие элементы модуля сушки, в то время как другие элементы менее подвержены воздействию вибрации, корпус влагопоглощающего элемента может быть жестко соединен с внешним корпусом стиральной машины с функциями сушки, другие компоненты могут быть жестко соединены с внешним цилиндром внутреннего цилиндра. Это может предотвратить повреждение элементов поглощения влаги (особенно влагопоглощающего вращающегося диска) из-за вибрации и в то же время снизить стоимость нижнего корпуса интегрированного модуля сушки. Чтобы еще больше снизить воздействие вибрации, в этом примере реализации используются гибкие шланги для виброизоляции перехода трубопроводов между элементов поглощения влаги и всеми другими элементами, которые могут вибрировать.
[000187] Следует отметить, что это изобретение не ограничивает взаимное расположение барабана 1100 и модуля сушки 2000. В дополнение к модулю сушки 2000, расположенному над барабаном 1100, как описано выше, модуль сушки 2000 также может быть расположен позади барабана 1100 (как показано на фиг. 42), ниже (как показано на фиг. 43)и др.
[000188] Следует отметить, что данное изобретение не ограничивает положение воздуховыпускного канала внутреннего цилиндра. В дополнение к расположению воздуховыпускного канала 1300 внутреннего цилиндра в левой задней части барабана 1100 (как показано на фиг.8), как описано выше, воздуховыпускной канал 1300 также может быть предусмотрен слева спереди, справа сзади, справа спереди барабана 1100. Понятно, что после регулировки положения воздуховыпускного канала 1300 также необходимо соответствующим образом отрегулировать положения других компонентов модуля сушки (таких как циркуляционные вентиляторы, компоненты поглощения влаги и др.).
[000189] Согласно некоторым примерам реализации, помимо использования узла очистки для автоматической очистки фильтра, как описано выше, фильтр также можно очищать ручным способом. Согласно некоторым вариантам реализации воздуховыпускной канал 1300 может быть расположен проходящим от задней левой стороны внутреннего цилиндра до передней левой стороны внутреннего цилиндра. Фильтровальная коробка с установленной фильтровальной сеткой расположена в воздуховыпускном канале 1300 рядом с передней или боковой панелью стиральной машины с функцией сушки, что облегчает пользователю извлечение фильтра вручную. Понятно, что, поскольку фильтровальную сетку необходимо вынимать вручную, воздуховыпускной канал 1300 фактически будет перерезан коробом фильтра. Поэтому, чтобы обеспечить воздухонепроницаемость и целостность воздуховыпускного канала 1300, необходимо предусмотреть уплотнение в месте расположения фильтрующей коробки.
[000190] Согласно некоторым вариантам реализации, в дополнение к области поглощения влаги и области регенерации, описанным выше, на влагопоглощающем вращающемся диске также может быть предусмотрена область охлаждения. То есть влагопоглощающий вращающийся диск разделен на три веерообразные области: область поглощения влаги, область регенерации и область охлаждения. Область охлаждения расположена после области регенерации и перед областью поглощения влаги вдоль направления вращения влагопоглощающего вращающегося диска. После того, как определенная часть влагопоглощающего вращающегося диска поглощения влаги нагревается в области регенерации, он поворачивается в область охлаждения для охлаждения, а затем поворачивается в область поглощения влаги, влага поглощается из горячего и влажного воздушного потока, исходящего из внутреннего цилиндра, тем самым улучшается эффект поглощения влаги и предотвращается негативное воздействие на эффект поглощения влаги из-за чрезмерной температуры влагопоглощающего вращающегося диска.
[000191] Согласно некоторым примерам реализации может быть предусмотрен канал охлаждения, соответствующий вышеупомянутой области охлаждения. Охлаждающий канал используется для подачи воздушного потока в зону охлаждения, тем самым охлаждая часть влагопоглощающего вращающегося диска, расположенную в области охлаждения. В некоторых примерах реализации канал охлаждения может быть каналом, отличным от канала поглощения влаги и канала регенерации, в охлаждающем канале предусматривается независимый вентилятор для создания воздушного потока в охлаждающем канале. В других примерах реализации канал охлаждения также может повторно использовать часть канала регенерации, а поток воздуха в канале охлаждения создается вентилятором регенерации. Например, выпуск воздуха регенеративного вентилятора может быть соединен с каналом регенерации и каналом охлаждения соответственно, таким образом поток воздуха может создаваться в канале регенерации и канале охлаждения. В том числе, поток воздуха в канале регенерации (т.е. поток осушающего воздуха) нагревается нагревательным узлом, а затем осушает часть влагопоглощающего вращающегося диска, расположенную в зоне регенерации; воздушный поток в охлаждающем канале не требует нагрева и протекает непосредственно через зону охлаждения для охлаждения части влагопоглощающего вращающегося диска, расположенной в зоне охлаждения.
[000192] Согласно некоторым примерам реализации, в дополнение к вышеупомянутому круглому поглощающему вращающемуся диску, поглощающий элемент также может представлять собой полосообразную влагопоглощающую ленту. Аналогично, приводной механизм приводит ее в возвратно-поступательное движение (т.е. поступательное движение) относительно канала поглощения реакции и канала регенерации или приводит в движение канал поглощения влаги и канал регенерации для совершения ими прямолинейного движения относительно влагопоглощающей ленты. Участок на влагопоглощающей ленте, совмещенный с влагопоглощающим каналом, используется для поглощения влаги из потока влажного циркулирующего воздуха, а участок на влагопоглощающей ленте, совмещенный с каналом регенерации, используется для удаления влаги.
[000193] Согласно некоторым примерам реализации элемент поглощения влаги может представлять собой влагопоглощающую плоскую поверхность. Могут быть предусмотрены соответственно несколько каналов поглощения влаги и каналов регенерации. Множество каналов поглощения влаги и множество каналов регенерации расположены попеременно в горизонтальном направлении и проходят через плоскость поглощения влаги в вертикальном направлении. Например, могут быть предусмотрены два канала поглощения влаги и два канала регенерации, причем порядок из четырех слева направо в горизонтальном направлении такой: канал поглощения влаги - канал регенерации - канал поглощения влаги - канал регенерации.
[000194] Согласно некоторым вариантам реализации приводной механизм может приводить влагопоглощающую плоскость в возвратно-поступательное движение в горизонтальном направлении ступенчатым образом. То есть приводной механизм заставляет влагопоглощающую плоскость каждый раз перемещаться на определенное расстояние в горизонтальном направлении, чтобы достичь заданного положения; после фиксации в заданном положении в течение определенного периода времени влагопоглощающая плоскость перемещается в следующее положение. Когда плоскость поглощения влаги расположена в заданном положении, первая область на плоскости поглощения влаги, совмещенная с каналом поглощения влаги, используется для поглощения влаги из потока влажного циркулирующего воздуха, удаление влаги происходит во второй области влагопоглощающей плоскости, совмещенном с каналом регенерации. После того как плоскость поглощения влаги перемещается в следующее положение, первая область, первоначально совмещенная с каналом поглощения влаги, теперь совмещается с каналом регенерации для удаления влаги; вторая область, первоначально совмещенная с каналом регенерации, теперь совмещена с каналом поглощения влаги для поглощения влаги.
[000195] Согласно некоторым вариантам реализации приводной механизм может приводить влагопоглощающую плоскость в возвратно-поступательное движение в горизонтальном направлении непрерывным перемещением. В процессе горизонтального перемещения в плоскости влагопоглощения, первая область на плоскости поглощения влаги, совмещенная с каналом поглощения влаги, используется для поглощения влаги из потока влажного циркулирующего воздуха, удаление влаги происходит во второй области влагопоглощающей плоскости, совмещенном с каналом регенерации. При перемещении первой области до совмещения с каналом регенерации происходит удаление влаги, при перемещении второй области до совмещения с каналом влагопоглощения происходит поглощение влаги.
[000196] Согласно вышеописанному примеру реализации плоскость поглощения влаги совершает возвратно-поступательное движение в горизонтальном направлении, что позволяет каждой области на плоскости поглощения влаги периодически поглощать и отводить влагу, тем самым повышается эффективность поглощения и отвода влаги. Более того, путем поочередного расположения множества каналов поглощения влаги и множества каналов регенерации можно гарантировать, что все положения на плоскости поглощения влаги находятся в рабочем состоянии поглощения или удаления влаги, тем самым улучшается эффективность поглощения и удаления влаги.
[000197] Согласно некоторым примерам реализации элемент поглощения влаги может быть установлен неподвижно и без необходимости двигаться. Приводной механизм используется для поочередного расположения канала поглощения влаги и канала регенерации на элементе поглощения влаги, таким образом элемент поглощения влаги попеременно поглощает и выводит влагу. Приводной механизм может быть реализован, например, как механизм переключения трубопровода, канал поглощения влаги и канал регенерации попеременно соединяются с элементом поглощения влаги путем переключения трубопровода. В этом примере реализации элемент поглощения влаги установлен неподвижно, можно избежать его повреждения из-за трения во время движения, кроме того, нет необходимости рассматривать проблему динамического уплотнения элементов поглощения влаги во время движения. Однако, поскольку имеется только один влагопоглощающий элемент, поглощение и удаление влаги не могут осуществляться одновременно, поэтому время сушки одежды соответственно увеличивается.
[000198] Согласно некоторым примерам реализации можно установить несколько элементов удаления влаги, например, два элемента удаления влаги: первый элемент и второй элемент удаления влаги. Приводной механизм используется для позиционирования первого и второго элемента поглощения влаги попеременно в канале влагопоглощения и канале регенерации, так что первый и второй элементы влагопоглощения поочередно поглощают и выпускают влагу. Кроме того, поскольку предусмотрено несколько влагопоглощающих элементов, процесс поглощения влаги одним элементом может осуществляться одновременно с процессом удаления влаги другим элементом.
[000199] Приводной механизм может быть реализован, например, как механизм переключения трубопровода, канал поглощения влаги и канал регенерации попеременно соединяются с первым элементом поглощения влаги и вторым элементом поглощения влаги путем переключения трубопровода. В этом примере реализации первый элемент поглощения влаги и второй элемент поглощения влаги установлены неподвижно, поэтому отсутствует необходимость в движении, можно избежать повреждения элементов из-за трения во время движения, кроме того, нет необходимости рассматривать проблему динамического уплотнения элементов поглощения влаги во время движения.
[000200] На фиг. 44-47 показана схема стиральной машины с функцией сушки согласно некоторым примерам реализации настоящего изобретения.
[000201] Как показано на фиг. 44, стиральная машина включает в себя по меньшей мере два контейнера 330 для размещения одежды, устройство осушения 350 и фильтрующий узел 70. Стирка и сушка могут выполняться внутри контейнера 330 или может осуществляться только сушка. Устройство осушения 350 избирательно осушает одежду в контейнера 330, фильтрующий узел 70 используется для фильтрации воздушного потока, выходящего из контейнере 330 и поступающего в устройство 350 осушения. Для нескольких контейнеров 330 совместно используется устройство 350 для осушения, тем самым упрощается конструкция и уменьшается общая высота или ширина оборудования для обработки белья и уменьшается объем и стоимость всего оборудования; использование фильтрующего узла 70 предотвращает попадание посторонних веществ, таких как ворс, внутрь устройства 350 осушения или закрытие поверхности устройства 350 осушения, что может повлиять на эффект осушения. Устройство 350 осушения может быть реализовано, например, как сушильный модуль 20 или сушильный модуль 2000 в приведенном выше способе осуществления.
[000202] Каждый контейнер 330 включает воздуховпускной канал 32 и воздуховыпускной канал 34.
[000203] Устройство 350 осушения выборочно осушает одежду в контейнере 330, оно включает в себя воздуховсасывающую секцию 522 для соединения с воздуховыпускным каналом 34 контейнера 330 и воздуховыпускную секцию 524 для соединения с воздуховпускным каналом 32 контейнера 330.
[000204] В некоторых вариантах реализации устройство осушения 520 включает в себя канал поглощения влаги 520, канал отвода влаги 540 и элемент поглощения и удаления влаги 560.
[000205] Элемент поглощения и осушения влаги 560 расположен с возможностью вращения в канале поглощения влаги 520 и канале осушения 540 и используется для поглощения влаги из циркулирующего воздушного потока, выпускаемого из контейнера 330 в канал 520 поглощения влаги в процессе вращения, влага выпускается через поток осушающего воздуха канала 540 осушения. В некоторых примерах реализации элемент поглощения и удаления влаги 560 включает в себя область влагопоглощения, сообщающуюся с каналом поглощения влаги 520, и зону отвода влаги, сообщающуюся с каналом удаления влаги 540. В некоторых примерах реализации элемент поглощения и удаления влаги 560 представляет собой дискообразную конструкцию определенной толщины, элемент 560 поглощения и удаления влаги изготовлен из материала с высокой поглощающей способностью, например, хлопок и волокно. Элемент поглощения и удаления влаги 560 может приводиться в движение приводным механизмом (не показан), таким как приводной двигатель, для вращения относительно канала поглощения влаги 520 и канала удаления влаги 540.
[000206] Канал поглощения влаги 520 включает в себя воздуховпускную секцию 522, расположенную на стороне впуска воздуха элемента поглощения и удаления влаги 560 (в частности, область поглощения влаги элемента поглощения и удаления влаги 560), и воздуховыпускную секцию 524, расположенную на стороне выпуска воздуха элемента поглощения и удаления влаги 560 (в частности, область поглощения влаги элемента поглощения и удаления влаги 560); воздуховпускная секция 522 канала поглощения влаги 520 образует воздуховпускную секцию 522 устройства для осушения 350; воздуховыпускная секция 524 канала поглощения влаги 520 образует воздуховыпускную секцию 524 из устройства осушения 350; воздуховпускная секция 522 и воздуховыпускная секция 524 канала поглощения влаги 520 сообщаются жидкой средой с каналом 34 выхода воздуха и каналом 32 входа воздуха контейнера 330 соответственно. Например, когда одежду в одном из контейнеров 330 необходимо высушить, воздуховпускная секция 522 и воздуховыпускная секция 524 канала поглощения влаги 520 находятся в жидкостном сообщении с каналом выпуска 34 воздуха и каналом впуска воздуха 32 контейнера 330 соответственно, и сообщение с каналом выпуска воздуха 34 и каналом впуска воздуха 32 других контейнеров 330 отключено. Кроме того, в канале поглощения влаги 520 предусмотрен вентилятор 526 для формирования циркулирующего воздушного потока в контейнере 330 и канале поглощения влаги 520. В некоторых примерах реализации в воздуховыпускной секции 524 канала поглощения влаги 520 предусмотрен нагреватель для повышения температуры потока сухого воздуха, поступающего в контейнер 330 для сушки, и ускорения скорости сушки одежды в контейнере 330. В некоторых вариантах реализации в воздуховпускной секции 522 канала поглощения влаги 520 предусмотрен конденсатор для предварительного осушения воздушного потока, выпускаемого из контейнера 330, подлежащего сушке; конденсатор может быть расположен перед фильтрующим узлом 70 в направлении воздушного потока; таким образом, с одной стороны, влажность воздушного потока, поступающего в элемент поглощения и удаления влаги 560, может быть снижена; с другой стороны, часть ворса может быть удалена непосредственно через конденсированную воду, тем самым увеличивая время однократного использования фильтра 720; другими словами, частота очистки фильтрующего узла 70 может быть уменьшена. Нагреватель 542, теплообменник 544 и вентилятор 546 предусмотрены в канале 540 удаления влаги. В некоторых примерах реализации нагреватель 542 расположен на стороне входа воздуха области удаления влаги, теплообменник 544 расположен на стороне выхода воздуха области удаления влаги. Работа вентилятора 546 создает принудительный поток воздуха; воздушный поток нагревается при прохождении через нагреватель 542; нагретый поток сухого воздуха проходит через область осушения, тем самым удаляя влагу из нее. Можно понять, что нагреватель 542 также может быть расположен на стороне выхода воздуха области удаления влаги рядом с элементом поглощения и удаления влаги 560 для нагрева области поглощения и удаления влаги элемента поглощения и удаления влаги 560, чтобы ускорить удаление влаги в области удаления влаги. В некоторых вариантах реализации нагреватель 542 может отсутствовать, но теплообменник 544 вытяжной секции может использоваться для нагрева воздушного потока. Фильтрующее устройство, например, фильтровальная сетка, может быть предусмотрено в воздуховпускной секции канала удаления влаги 540. В одном примере фильтрующее устройство расположено перед областью удаления влаги и/или нагревателем 542 и/или вентилятором 546 для защиты области удаления влаги и/или нагревателя 542 и/или вентилятора 546. Во время работы поток воздуха (обычно поток влажного воздуха), выпускаемый из контейнера 330, подлежащего сушке, проходит через фильтрующий узел 70 и затем попадает в область поглощения влаги; часть элемента поглощения и удаления влаги 560, расположенная в области поглощения влаги, поглощает влагу, т.е. водяной пар, из проходящего через него потока воздуха; в результате влажность проходящего через него воздуха снижается с образованием потока сухого воздуха; поток сухого воздуха, выходящий из области поглощения влаги, течет обратно в контейнер 330 через воздуховыпускную секцию 524 канала поглощения влаги 520 и воздуховпускной канал 32 контейнера 330 для следующего цикла; таким образом, формируется циркулирующий воздушный поток до тех пор, пока влажность в контейнере 330 не достигнет заданного целевого значения; часть элемента поглощения и удаления влаги 560, которая расположена в области поглощения влаги и поглотила влагу, входит в область удаления влаги, когда элемент поглощения и удаления влаги 560 вращается, и влага уносится потоком нагретого сухого воздуха в область удаления влаги; таким образом, сухая часть элемента 560 поглощения и удаления влаги может снова поглощать влагу, когда он в следующий раз поворачивается к области поглощения влаги.
[000207] Как показано на фиг. 45, в некоторых примерах реализации теплообменник 544 включает охлаждающий канал для прохождения охлаждающей среды 5442, например, конденсированной воды, вентиляционный канал для прохождения потока воздуха 5444 и отверстие для выпуска конденсированной воды 5446. Когда поток горячего и влажного воздуха, вытекающий из области удаления влаги устройства осушения 350, проходит через теплообменник 544, происходит теплообмен с охлаждающим каналом 5442, и большая часть влаги конденсируется в конденсат; он выпускается из выпускного отверстия конденсата 5446, поток охлажденного сухого воздуха выпускается из выпускного отверстия 5448 вентиляционного канала 5444 теплообменника 544. В одном примере выпускное отверстие 5448 соединено с воздуховпускным отверстием вентилятора 546; таким образом, в канале удаления влаги 540 образуется циркуляционный контур, который позволяет снизить воздействие на внешнюю среду.
[000208] Как показано на фиг. 46, в некоторых примерах реализации выпускное отверстие 5448 теплообменника 544 может быть соединено с внешней стороной стиральной машины с функцией сушки; таким образом, поток воздуха, обрабатываемый теплообменником 544, может быть направлен непосредственно наружу стиральной машины.
[000209] Как показано на фиг. 47, в некоторых примерах реализации впускной канал 5462 для воздуха вентилятора 546 проходит через внутреннюю часть теплообменника 544; когда горячий и влажный воздух, выходящий из области удаления влаги устройства осушения 350, проходит через теплообменник 544, он обменивается теплом с потоком холодного воздуха во впускном канале 5462 вентилятора 546; таким образом, влага из потока горячего и влажного воздуха может быть удалена, а температура потока горячего и влажного воздуха может быть снижена, и, наконец, поток выпускается через выпускное отверстие 5448 теплообменника 544; воздушный поток во впускном канале 5462 вентилятора 546 предварительно нагревается при прохождении через теплообменник 544, тем самым достигается частичная рекуперация и экономия энергии.
[000210] Понятно, что в некоторых примерах реализации теплообменник 544 также можно исключить, поток воздуха, выпускаемый со стороны выхода воздуха канала удаления влаги 540, выпускается непосредственно наружу стиральной машины с функцией сушки.
[000211] Устройство осушения 350 может избирательно связываться с любым из контейнеров 330 через переключающие механизмы 90, 92 и 94. Переключающими механизмами 90, 92 и 94 могут быть клапаны, электромагнитные клапаны и др.
[000212] В некоторых примерах реализации канал поглощения влаги 520 устройства осушения 350 может избирательно сообщаться по текучей среде с любым из контейнеров 330 через переключающие механизмы 90, 92 и 94. В некоторых примерах реализации переключающие механизмы 90, 92 и 94 включают в себя первый переключающий механизм 90, предусмотренный на соединении между воздуховыпускной секцией 524 устройства осушения 350 и воздуховпускным каналом 32 контейнера 330, а также вторые переключающие механизмы 92 и 94 воздуховыпускном канале 34 контейнера 300. При необходимости первый переключающий механизм 90 и вторые переключающие механизмы 92 и 94 могут соответственно соединять один из контейнеров 330 с воздуховыпускной секцией 524 и воздуховпускной секцией 522 устройства осушения 350 и отключать соединение между другими контейнерами 330 и воздуховыпускной секцией 524 и воздуховпускной секцией 522 устройства осушения 350. Первый переключающий механизм 90/вторые переключающие механизмы 92 и 94 могут быть расположены на соединении между воздуховыпускной секцией 524/воздуховпускной секцией 522 устройства осушения 350 и воздуховпускным каналом 32/воздуховыпускным каналом 34 контейнера 330. В качестве альтернативного решения может быть предусмотрено более одного первого переключающего механизма 90/второго переключающего механизма 92, соответственно расположенных в воздуховпускном канале 32/воздуховыпускном канале 34 каждого контейнера 330; на фиг. 44 показана ситуация, когда предусмотрены два вторых переключающих механизма 92 и 94; в соответствии с потребностями можно выбрать открытие переключающих механизмов 90/92 и 94 на воздуховпускном канале 32/воздуховыпускном канале 34 одного контейнера 330 и закрытие механизмов переключения 90/92 и 94 на воздуховпускном канале 32/воздуховыпускном канале 34 другого контейнера 330; таким образом, один из контейнеров 330 находится в жидкостном сообщении с устройством осушения 350, и соединение по жидкости между другими контейнерами 330 и устройством осушения 350 прерывается. Фильтрующий узел 70 используется для фильтрации воздушного потока, выпускаемого из контейнера 330 перед входом в устройство осушения 350, чтобы предотвратить попадание посторонних веществ, таких как ворс, выбрасываемый из контейнера 330, в устройство осушения 350. Например, можно предотвратить попадание посторонних веществ, например, ворса, выбрасываемого из контейнера 330, внутрь элемента поглощения и удаления влаги 560 или покрытия поверхности элемента поглощения и удаления влаги 560, чтобы повлиять на эффект осушения элемента поглощения и осушения влаги 560.
[000213] Фильтрующий узел 70 используется для фильтрации воздушного потока, выпускаемого из контейнера 330 перед входом в устройство осушения 350, чтобы предотвратить попадание посторонних веществ, таких как ворс, выбрасываемый из контейнера 330, в устройство осушения 350. Например, можно предотвратить попадание посторонних веществ, например, ворса, выбрасываемого из контейнера 330, внутрь элемента поглощения и удаления влаги 560 или покрытия поверхности элемента поглощения и удаления влаги 560, чтобы повлиять на эффект осушения элемента поглощения и осушения влаги 560.
[000214] В некоторых примерах реализации фильтрующий узел 70 расположен в воздуховпускной секции 522 устройства осушения 350, то есть между вторым переключающим механизмом и устройством осушения (в частности, элементом поглощения и удаления влаги 560). Понятно, что фильтрующий узел 70 также может быть расположен на воздуховыпускном канале 34 контейнера 330, второй механизм переключения может быть расположен после фильтрующего узла 70 в направлении потока воздуха (то есть фильтрующий узел 70 расположен между вторым переключающим механизмом и контейнером 330 вдоль направления воздушного потока, или второй переключающий механизм расположен между фильтрующим узлом 70 и устройством осушения 350); или второй переключающий механизм может быть расположен перед фильтрующим узлом 70 в направлении потока воздуха (то есть второй переключающий механизм расположен между узлом фильтра 70 и контейнером 330 вдоль направления воздушного потока, или узел 70 фильтра расположен между вторым переключающим механизмом и устройством осушения 350); в одном примере реализации фильтрующих узлов 70 может быть один или несколько; если имеется один фильтрующий узел, он расположен на воздуховпускной секции 522 устройства осушения 350; если имеется несколько контейнеров, они могут быть расположены отдельно на воздуховыпускных каналах 34 нескольких контейнеров 330.
[000215] Фильтрующий узел 70 включает в себя фильтр 720 и устройство 740 самоочистки фильтра; или фильтрующий узел 70 представляет собой съемный фильтр 720 и его монтажный кронштейн. Когда фильтр 720 является съемным, пользователь может вручную его очистить в соответствии с данными измерения датчика; конечно, его также можно чистить после завершения каждой операции или время от времени; конкретный метод очистки может заключаться в том, чтобы вручную снять фильтр 720, а затем промыть и протереть его.
[000216] Конкретной формой фильтра 720 может быть, помимо прочего, фильтровальная сетка, число ячеек которой может быть установлено по мере необходимости. Количество фильтров 720 не ограничено, например, может использоваться одноступенчатая фильтрация, фильтр 720 устанавливается на воздуховыпускном канале 34 контейнера 330 или на воздуховпускной секции 522 устройства осушения 350; также может использоваться двухступенчатая или многоступенчатая фильтрация, фильтры 720 предусмотрены как на воздуховыпускном канале 34 контейнера 330, так и на воздуховпускной секции 522 устройства осушения 350 для повышения эффективности фильтрации.
[000217] Устройство 740 самоочистки фильтра используется для автоматической очистки фильтра 720 для обеспечения фильтрующей функции фильтра 720. Методы очистки могут включать распыление жидкости, вибрацию, продувку или соскабливание. Например, устройство 740 самоочистки фильтра включает в себя распылительный механизм 740 для опрыскивания фильтра 720 и вибрационный механизм для вибрации фильтра 720 (например, вибрационный двигатель используется для вибрации сетчатого фильтра), продувочный механизм для продувки фильтра 720 (например, вентилятор 526 канала поглощения влаги 520 можно вращать в обратном направлении для создания обратного воздушного потока, то есть направление воздушного потока, проходящего через фильтр 720 во время очистки, противоположно направлению воздушного потока, проходящего через фильтр 720 во время сушки, особенно, когда вентилятор 526 расположен в воздуховпускной секции 522 канала 520 для поглощения влаги, эффект становится лучше; конечно, можно настроить и вентилятор на продувку фильтра 720 в обратном направлении); или скребковый механизм, например, скребок для очистки фильтра 720; когда на основе сигнала датчика обнаруживается определенная степень засорения фильтра 720, система управления управляет электрическим скребком, который скребет вдоль адсорбционной поверхности фильтра 720 для очистки от ворса и другого мусора, адсорбированного на ней. При необходимости контроллер встроенной стиральной машины с функцией сушки может управлять устройством 740 самоочистки фильтра для активной очистки фильтра 720.
[000218] Ниже в качестве примера подробно описан способ распыления жидкости. Распылительный механизм 740 включает в себя насадку 742 и систему подачи воды 744 для подачи воды в насадку, при этом насадка 742 обращена к фильтру 720; система подачи воды 744 соединена с впускным каналом воды (не показана) стиральной машины с функцией сушки через переключатель, например, клапан (не показан), причем переключатель может управляться для открытия или закрытия с помощью контроллера системы подачи воды 744 стиральной машины с функцией сушки. В одном примере насадка 742 распылительного механизма 740 расположена на стороне фильтра 720, близкой к устройству осушения 350 (то есть на стороне, удаленной от воздуховыпускного отверстия контейнера 330); инородные вещества, такие как ворс, выбрасываемые из контейнера 330, обычно адсорбируются на стороне фильтра 720, удаленной от устройства осушения 350 (то есть на стороне, близкой к воздуховыпускному отверстию контейнера 330). Таким образом, направление, в котором жидкость, выбрасываемая из распылительного механизма 740, например вода, протекает через фильтр 720, противоположно направлению, в котором поток воздуха, выпускаемый из контейнера 330, протекает через фильтр 720. При таком расположении жидкость, распыляемая из распылительного механизма 740, может легче отделять ворс, адсорбированный на фильтре 720, от фильтра 720; вместе с потоком воды она попадает в дренажный канал стиральной машины с функцией сушки и выводится из нее. Например, когда фильтр 720, например, фильтровальная сетка, расположен наклонно в канале выпуска воздуха контейнера 330 или в воздуховпускной секции 522 канала поглощения влаги 520, насадка 742 распылительного механизма 740 расположена на стороне фильтра рядом с устройством осушения 350 и над средней линией фильтра, так что жидкость, распыляемая из насадки 744, может максимально покрыть весь фильтр, тем самым эффективно очищая фильтровальную сетку. Понятно, что фильтровальная сетка может устанавливаться горизонтально, вертикально, частично наклонно и частично вертикально или частично горизонтально и частично наклонно, к тому же направление распыления сопла 742 устанавливается на максимально полное опрыскивание всей площади фильтра 720 при запуске процесса самоочистки.
[000219] При использовании метода распыления жидкости фильтр 720 и фильтрующее самоочищающееся устройство могут быть расположены в воздуховпускной секции 522 канала осушения, очищенная жидкость может течь из воздуховпускной секции 522 канала поглощения влаги через воздуховыпускной канал 34 одного из контейнеров 330, сообщающийся с ним по текучей среде, в дренажный канал контейнера 330 и затем выгружаться из стиральной машины с функцией сушки (например, когда контейнеры 330 нагромождены сверху вниз, во время или после завершения очистки, контейнер 330 в нижней части соединяется с воздуховпускной секцией 522 канала поглощения влаги, сообщение между верхним контейнером 330 и воздухозаборной секцией 522 канала поглощения влаги прерывается вторым переключающим механизмом 92). Например, когда одежду в верхнем контейнере 330 на фиг.44 необходимо высушить, контроллер может управлять первым переключающим механизмом 90 для соединения воздуховпускной секции 524 устройства осушения 350 и впускного канала 32 воздуха верхнего контейнера 330 и прерывания связи между воздуховыпускной секцией 524 устройства осушения 350 и воздуховпускной канал 32 нижнего контейнера 330; одновременно контроллер может управлять вторым переключающим механизмом 92, расположенным в воздуховыпускном канале 34 верхнего контейнера 330, для соединения воздуховпускной секции 522 устройства осушения 350 с воздуховыпускным каналом 34 верхнего контейнера 330, а вторым переключающим механизмом 94, расположенным в выпускном канале 34 воздуха нижнего контейнера 330, можно управлять, чтобы отключить сообщение между воздуховпускной секцией 522 устройства осушения 350 и воздуховыпускным каналом 34 нижнего контейнера 330. Когда необходимо высушить одежду в нижнем контейнере 330 на фиг.44, контроллер может управлять первым переключающим механизмом 90 для соединения воздуховыпускной секции 524 устройства осушения 350 и воздуховпускного канала 32 нижнего контейнера 330, к тому же прервется сообщение между воздуховыпускной секцией 524 устройства осушения 350 и воздуховпускным каналом 32 верхнего контейнера 330; вместе с тем, контроллер может управлять вторым переключающим механизмом 94, расположенным в воздуховыпускном канале 34 нижнего контейнера 330, для соединения воздуховпускной секции 522 устройства осушения 350 с воздуховыпускным каналом 34 нижнего контейнера 330, к тому же второй переключающий механизм 92, расположенный в воздуховыпускном канале 34 верхнего контейнера 330, контролируется для отключения сообщения между воздуховпускной секцией 522 устройства осушения 350 и воздуховыпускным каналом 34 верхнего контейнера 330. Когда фильтр 720 необходимо очистить после сушки, контроллер управляет вторым переключающим механизмом 92, расположенным в воздуховыпускном канале 34 верхнего контейнера 330, чтобы отключить сообщение между воздуховпускной секцией 522 устройства осушения 350 и воздуховыпускным каналом 34 верхнего контейнера 330. Второй переключающий механизм 94, расположенный в воздуховыпускном канале 34 нижнего контейнера 330, управляется для соединения воздуховпускной секции 522 устройства осушения 350 с воздуховыпускным каналом 34 нижнего контейнера 330; очищенная жидкость может быть выпущена через воздуховыпускной канал 34 нижнего контейнера 330, а затем через дренажный канал нижнего контейнера 330; воздуховыпускной канал 34 нижнего контейнера 330 и дренажный канал нижнего контейнера 330 могут быть соединены или отключены посредством клапана.
[000220] То есть во время процесса сушки одежды в верхнем контейнере 330 второй переключающий механизм 92 сообщается с воздуховыпускным каналом 34 верхнего контейнера 330 и воздуховпускной секцией 522 устройства осушения 350; второй переключающий механизм 94 закрывает сообщение между воздуховыпускным каналом 34 нижнего контейнера 330 и воздуховпускной секцией 522 устройства осушения 350; когда фильтр 720 очищается распылением, второй переключающий механизм 94 кратковременно открывается для выпуска распыленной воды в нижний контейнер 330 или дренажный канал. Когда в нижнем контейнере 330 сушится одежда, второй переключающий механизм 92 всегда закрывает сообщение между воздуховыпускным каналом 34 верхнего контейнера 330 и воздуховпускной секцией 522 устройства осушения 350; второй переключающий механизм 94 всегда сообщается с воздуховыпускным каналом 34 нижнего контейнера 330 и воздухозаборной секцией 522 устройства 350 осушения; таким образом, воздушный поток нижнего контейнера 330 может проходить через фильтр 720 и поступать в устройство осушения, а жидкость, распыляемая и очищаемая фильтром 720, течет в направлении, противоположном указанному выше потоку воздуха, в нижний контейнер 330 или дренажный канал.
[000221] При использовании метода распыления жидкости фильтр 720 и устройство 740 самоочистки фильтра также могут быть расположены на воздуховыпускном канале 34 контейнера 330, например, фильтр 720 и фильтрующее самоочищающееся устройство 740 могут быть предусмотрены на воздуховыпускном канале 34 каждого контейнера 330; очищенная жидкость может проходить через воздуховыпускной канал 34 соответствующего контейнера 330 и затем выбрасываться через дренажный канал контейнера 330.
[000222] Понятно, что поток воды фильтрующего самоочищающегося устройства 740 может течь в бак для хранения воды или дренажный трубопровод одного из контейнеров 330 через отдельно предусмотренный трубопровод для жидкости, например, для бака для хранения воды или дренажной трубки, расположенных в нижнем контейнере 330, в данное время необходимо только предусмотреть второй переключающий механизм на пересечении воздуховыпускного канала 34 верхнего контейнера 330 и воздуховыпускного канала 34 нижнего контейнера 330, необходимо только реализовать переключение связи между воздуховыпускными каналами 34 верхнего и нижнего контейнеров и воздуховпускной секцией устройства осушения 350.
[000223] Частоту очистки можно установить по мере необходимости, например, фильтр 720 очищается один раз каждый раз во время сушки одежды. Фильтр 720 также можно очищать после многократной сушки одежды. Такие параметры, как время распыления и скорость распыления воды для каждого процесса очистки, можно установить по мере необходимости; время распыления и скорость распыления воды для каждого процесса очистки можно зафиксировать или отрегулировать по мере необходимости, например, если фильтр 720 очищается каждый раз во время сушки одежды, время распыления может быть относительно коротким, а скорость распыляемой воды также может быть относительно небольшой; если фильтр 720 очищается один раз после многократной сушки одежды, время распыления может быть относительно продолжительным, скорость распыляемой воды также может быть относительно высокой, либо на фильтре 720 можно установить датчик, при обнаружении более серьезной блокировки фильтра 720, например, датчик давления на канале, когда давление воздуха на трубопроводе упадет до определенного порога, если фильтр серьезно засорен, контроллер стиральной машины с функцией сушки может увеличить время распыления и/или скорость распыления воды, чтобы повысить интенсивность очистки.
[000224] Контейнер 330 для размещения одежды может представлять собой барабан для обработки одежды в стиральной машине с функцией сушки; по меньшей мере, два контейнера 330 для размещения одежды могут быть установлены один над другим или горизонтально. Например, стиральная машина с функцией сушки, показанная на фиг. 44, включает в себя верхний бак для обработки одежды и нижний бак для обработки одежды, расположенные один над другим. Понятно, что в стиральной машине с функцией сушки, показанной на фиг. 44, верхний бак для обработки одежды может быть сушильным баком, а нижний бак для обработки одежды может быть стиральным баком, или нижний бак для обработки одежды может быть сушильным баком и верхний бак для обработки одежды может быть баком для стирки, или верхний и нижний баки для обработки одежды являются интегрированными баками для стирки и сушки.
[000225] Хотя в приведенных выше примерах реализации в качестве примера для описания решения для сушки одежды используется стиральная машина с функцией сушки, в которой для нескольких контейнеров используется одно и то же устройство для осушения, понятно, что описанное выше решение для сушки одежды также применимо к сушильным машинам, которые имеют только функцию сушки одежды (но не имеют функцию стирки одежды), то есть устройство для обработки одежды, показанное на фиг. 44, может представлять собой сушилку. Соответственно, контейнер 330 для размещения одежды включает в себя верхний сушильный бак и нижний сушильный бак, расположенные один над другим.
[000226] Пример реализации настоящего изобретения также предлагает способ использования стиральной машины с функцией сушки, который включает следующие этапы:
[000227] Этап осушения: устройство осушения избирательно соединено по текучей среде с одним из контейнеров и осушает одежду внутри контейнера, при этом поток воздуха, выходящий из контейнера, поступает в устройство осушения после прохождения через фильтрующий узел.
[000228] Этап очистки: устройство самоочистки фильтра очищает фильтр.
[000229] В некоторых примерах реализации этап осушения дополнительно включает в себя регулирование температуры воздушного потока, входящего в контейнер после выпуска из устройства осушения, такой, чтобы она была ниже заданной температуры. В одном примере датчик температуры может быть установлен рядом с воздуховпускным отверстием контейнера, когда датчик определяет, что температура воздушного потока, входящего в воздуховпускное отверстие контейнера, выше заданной температуры, например 75 градусов; контроллер будет контролировать температуру нагрева нагревателя, например, снижая температуру нагрева, тем самым снижая температуру воздушного потока, поступающего в зону осушения, и, соответственно, снижая температуру элемента влагопоглощения и осушения; это снижает температуру воздушного потока, выходящего из области влагопоглощения в контейнер.
[000230] Устройство самоочистки фильтра может очищать фильтр путем распыления, продувки, вибрации или соскабливания и т.д.
[000231] Стиральная машина с функцией сушки, предусмотренная в вышеописанных вариантах реализации, имеет по меньшей мере следующие характеристики:
[000232] Для нескольких контейнеров используется одно и то же устройство для осушения, тем самым упрощается конструкция оборудования для обработки белья и уменьшается его общая высота или ширина, таким образом уменьшается размер и стоимость всего оборудования; использование фильтров может предотвратить попадание посторонних веществ, например, ворса, внутрь устройства осушения или на покрытие поверхности устройства осушения, которое влияет на эффект осушения; фильтрующий узел включает в себя устройство самоочистки фильтра, которое используется для автоматической очистки фильтра, гарантирующей, что фильтрующая функция фильтра не снижается при длительном использовании, это обеспечивает надежную защиту устройства осушения и продлевает срок его службы.
[000233] Хотя примеры реализации настоящего изобретения были описаны со ссылкой на прилагаемые чертежи, следует понимать, что объем настоящего изобретения не ограничивается этими вариантами реализации или примерами, а только формулой изобретения и их аналогами. Различные элементы в вариантах реализации или примерах могут быть опущены или заменены их аналогами. Также следует понимать, что по мере развития технологии многие элементы, описанные здесь, могут быть заменены эквивалентными элементами, появляющимися после данного изобретения.
[000234] Следует понимать, что в данном описании используемые термины «центр», «продольный», «поперечный», «длина», «ширина», «толщина», «верхний», «нижний», «передний», «задний», «слева», «справа», «вертикально», «горизонтально», «сверху», «снизу», «внутри», «снаружи», «по часовой стрелке», «против часовой стрелки», «осевое направление», «радиальное направление», «круговое направление» и др. указывают на ориентацию, взаимные соответствия или размеры, показанных на чертежах; эти термины используются только для удобства описания, а не указывают или не подразумевают, что упомянутое устройство или элемент должно иметь определенную ориентацию, быть сконструировано и работать в определенной ориентации, и, следовательно, не должны рассматриваться как ограничение объема настоящего изобретения.
[000235] Кроме того, термины «первый», «второй», «третий» и др. используются только в описательных целях и не могут пониматься как указывающие или подразумевающие относительную важность или неявно указывающие на количество указанных технических характеристик. Поэтому признаки, определенные как «первый», «второй» и «третий», могут явно или неявно включать в себя один или несколько из этих признаков. В описании настоящего изобретения «множество» означает два или более двух, если иное не имеет более четкого и конкретного ограничения.
[000236] В данном изобретении, если иное не имеет более четкого определения и ограничения, термины «монтаж», «связь», «соединение», «фиксация» и другие термины следует понимать в широком смысле, например, это может быть фиксированное соединение, разъемное соединение или цельное соединение; это может быть механическое соединение, электрическое соединение или связь; это может быть прямая связь или косвенная связь через посредника, внутренняя связь между двумя элементами или взаимодействие между двумя элементами. Для специалистов в данной области техники конкретные значения приведенных выше терминов в настоящем описании могут быть понятны в соответствии с конкретными обстоятельствами.
[000237] В данном изобретении, если иное не имеет более четкого определения и ограничения, первый элемент, находящийся «над» или «под» вторым элементом, может включать в себя первый и второй элементы, находящиеся в прямом контакте, а также может включать первый и второй признаки, находящиеся не в прямом контакте, а через другой признак между ними. Кроме того, термины «выше», «над» и «на» (первый признак относительно второго признака) включают в себя то, что первый признак находится непосредственно над вторым признаком и по диагонали над ним, или просто означают, что первый признак находится выше по уровню, чем второй признак. «Ниже», «под» и «под» (первый признак относительно второго признака) включает в себя первый признак, находящийся непосредственно под вторым признаком и по диагонали под ним, или просто означает, что первый признак расположен менее горизонтально, чем второй признак.
[000238] Предложено оборудование для обработки одежды, содержащее:
[000239] внутренний цилиндр для размещения одежды, подлежащей обработке; и
[000240] модуль сушки, предназначенный для сушки вышеуказанной одежды, причем сушильный модуль содержит:
[000241] канал поглощения влаги, имеющий первое воздуховпускное отверстие и первое воздуховыпускное отверстие, причем первое воздуховпускное отверстие и первое воздуховыпускное отверстие соответственно соединены с внутренним цилиндром;
[000242] циркуляционный вентилятор, установленный в канале влагопоглощения и выполненный с возможностью формирования циркуляционного воздушного потока во внутреннем цилиндре и канале влагопоглощения;
[000243] канал регенерации;
[000244] вентилятор регенерации, установленный в канале регенерации и выполненный с возможностью формирования потока осушающего воздуха в канале регенерации.
[000245] элемент поглощения влаги, установленный на влагопоглощающем канале и регенеративном канале, причем поток циркулирующего воздуха и поток осушающего воздуха протекают через элемент поглощения влаги; и
[000246] приводной механизм, выполненный с возможностью перемещения элемента поглощения влаги относительно влагопоглощающего канала и канала регенерации;
[000247] причем элемент поглощения влаги выполнен с возможностью поглощения влаги в циркулирующем воздушном потоке в процессе перемещения относительно влагопоглощающего канала и канала регенерации и вывода поглощенной влаги через поток осушающего воздуха,
[000248] при этом сушильный модуль дополнительно содержит узел осушения, который расположен в канале регенерации.
[000249] В некоторых вариантах выполнения упомянутый элемент поглощения влаги снабжен влагопоглотителем, который содержит по меньшей мере одно из следующих веществ: цеолит, алюмосиликат щелочного металла, хлорид лития, силикагель, модифицированный силикагель или активированный оксид алюминия; и
[000250] причем узел осушения выполнен с возможностью абсорбции влаги, поглощенной упомянутым влагопоглотителем, и содержит по меньшей мере один из следующих элементов: нагревательный узел, ультразвуковой генератор или микроволновый генератор.
[000251] В некоторых вариантах выполнения упомянутый элемент поглощения влаги содержит влагопоглощающий вращающийся диск, а упомянутый приводной механизм выполнен с возможностью приведения влагопоглощающего вращающегося диска во вращение относительно канала поглощения влаги и канала регенерации; причем упомянутый влагопоглощающий вращающийся диск содержит область поглощения влаги и область регенерации; при этом упомянутая область поглощения влаги - это область на влагопоглощающем вращающемся диске, через которую проходит циркулирующий поток воздуха, а упомянутая область регенерации - это область на влагопоглощающем вращающемся диске, через которую проходит осушающий воздушный поток; причем
[000252] упомянутый сушильный модуль также содержит нагревательный элемент, который расположен в канале регенерации и закрывает область регенерации.
[000253] В некоторых вариантах выполнения упомянутый элемент поглощения влаги дополнительно содержит периферийный корпус верхнего зажима, периферийный корпус нижнего зажима и кольцевой амортизатор, причем упомянутый кольцевой амортизатор расположен на внешней периферии влагопоглощающего вращающегося диска или на внутренней периферии корпуса, причем влагопоглощающий вращающийся диск и кольцевой амортизатор зажаты и зафиксированы упомянутым периферийным корпусом верхнего зажима и упомянутым периферийным корпусом нижнего зажима.
[000254] В некоторых вариантах выполнения на внешней периферии соединения периферийного корпуса верхнего зажима и периферийного корпуса нижнего зажима расположено первое уплотнительное кольцо.
[000255] В некоторых вариантах выполнения на внешней периферии упомянутого периферийного корпуса верхнего зажима или на внешней периферии упомянутого периферийного корпуса нижнего зажима расположены ведущие зубья; причем
[000256] упомянутый приводной механизм является приводным двигателем, на выходном конце которого расположена шестерня, которая находится в зацеплении с упомянутыми ведущими зубьями для приведения во вращение элемента поглощения влаги.
[000257] В некоторых вариантах выполнения сушильный модуль содержит нижний корпус, который содержит первую монтажную часть, предназначенную для установки элемента поглощения влаги, причем на внутренней стенке первой монтажной части расположен первый ролик; причем
[000258] на внешней периферии упомянутого периферийного корпуса верхнего зажима или на внешней периферии упомянутого периферийного корпуса нижнего зажима расположена вспомогательная подвижная катушка, которая находится в подвижной посадке с первым роликом.
[000259] В некоторых вариантах выполнения на нижней поверхности первой монтажной части расположен второй ролик, который находится в подвижной посадке с нижней поверхностью упомянутого периферийного корпуса нижнего зажима.
[000260] В некоторых вариантах выполнения в центре первой монтажной части расположена короткая ось;
[000261] причем упомянутый элемент поглощения влаги также содержит центральный верхний зажим, центральный нижний зажим и центральный концевой амортизатор;
[000262] в центре упомянутого влагопоглощающего вращающегося диска выполнено первое отверстие, в центре упомянутого центрального верхнего зажима выполнено второе отверстие, и в центре упомянутого центрального нижнего зажима выполнено третье отверстие, и
[000263] упомянутый центральный верхний зажим и упомянутый центральный нижний зажим проходят через первое отверстие для зажима и фиксации влагопоглощающего вращающегося диска; и через второе отверстие и третье отверстие проходит упомянутая короткая ось с обеспечением вращательного соединения упомянутого элемента поглощения влаги с упомянутым нижним корпусом; при этом центральный концевой амортизатор расположен между упомянутым центральным нижним зажимом и упомянутым влагопоглощающим вращающимся диском.
[000264] В некоторых вариантах выполнения упомянутый влагопоглощающий вращающийся диск также содержит область охлаждения, расположенную за областью регенерации и перед влагопоглощающей областью вдоль направления вращения влагопоглощающего вращающегося диска.
[000265] В некоторых вариантах выполнения сушильный модуль содержит нижний корпус и верхний корпус, причем упомянутый нижний корпус оснащен первой монтажной частью для установки упомянутого элемента поглощения влаги, а упомянутый верхний корпус оснащен второй монтажной частью для установки упомянутого элемента поглощения влаги, причем упомянутый элемент поглощения влаги соединен с возможностью вращения в пространстве, образованном упомянутой первой монтажной частью и упомянутой второй монтажной частью;
[000266] упомянутая первая монтажная часть снабжена первой перегородкой, а упомянутая вторая монтажная часть снабжена второй перегородкой, которая расположена непосредственно над первой перегородкой, причем первая перегородка и вторая перегородка разделяют указанный влагопоглощающий вращающийся диск на область поглощения влаги и область регенерации.
[000267] В некоторых вариантах выполнения упомянутая первая монтажная часть снабжена также третьей перегородкой, предназначенной для разделения циркуляционного потока воздуха, поступающего в область поглощения влаги.
[000268] В некоторых вариантах выполнения между упомянутым элементом (2200) поглощения влаги и первой перегородкой расположен первый уплотнительный элемент, закрепленный на верхней торцевой поверхности упомянутой первой перегородки.
[000269] В некоторых вариантах выполнения между упомянутым элементом поглощения влаги и второй перегородкой расположен второй уплотнительный элемент, закрепленный на нижней торцевой поверхности второй перегородки и расположенный непосредственно над первым уплотнительным элементом.
[000270] В некоторых вариантах выполнения на одной из упомянутых первой перегородки и второй перегородки, на ее торцевой стороне, противоположной элементу поглощения влаги, расположен уплотнительный элемент, а на другой из упомянутых первой перегородки и второй перегородки, на ее торцевой стороне, противоположной элементу поглощения влаги, отсутствует уплотнительный элемент, и указанная другая из упомянутых первой перегородки и второй перегородки расположена на заданном расстоянии от упомянутого элемента поглощения влаги.
[000271] В некоторых вариантах выполнения на одной из упомянутых первой перегородки и второй перегородки, на ее торцевой стороне, противоположной элементу поглощения влаги, расположен первый уплотнительный элемент, который находится в контакте с упомянутым элементом поглощения влаги; а
[000272] на другой из упомянутых первой перегородки и второй перегородки, на ее торцевой стороне, противоположной элементу поглощения влаги, расположен второй уплотнительный элемент, который расположен на заданном расстоянии от упомянутого элемента поглощения влаги.
[000273] В некоторых вариантах выполнения упомянутый сушильный узел содержит верхний корпус, упомянутый нагревательный узел находится на упомянутом верхнем корпусе, и между упомянутым нагревательным узлом и упомянутым верхним корпусом расположены теплоизоляционное кольцо и второе уплотнительное кольцо.
[000274] В некоторых вариантах выполнения упомянутый нагревательный узел содержит веерообразный корпус, ячеистую пластину и нагревательную трубку, расположенные в веерообразном корпусе; упомянутая нагревательная трубка расположена под ячеистой пластиной, и ячеистая пластина имеет множество отверстий для воздуха;
[000275] на окружной или радиальной стороне упомянутого веерообразного корпуса выполнено воздуховпускное отверстие, и упомянутый поток осушающего воздуха поступает в область регенерации через воздуховпускное отверстие, множество отверстий для воздуха на ячеистой пластине и упомянутую нагревательную трубку, направление потока в упомянутую область регенерации.
[000276] В некоторых вариантах выполнения диаметры множества воздушных отверстий имеют тенденцию уменьшаться вдоль направления указанного потока осушающего воздуха.
[000277] В некоторых вариантах выполнения упомянутая нагревательная трубка смещена в направлении центра упомянутого веерообразного корпуса относительно множества отверстий для воздуха.
[000278] В некоторых вариантах выполнения верхняя или нижняя часть боковой стенки упомянутого веерообразного корпуса выступает наружу, образуя третью монтажную часть;
[000279] упомянутый нагревательный узел также включает в себя датчик температуры, расположенный на упомянутой третьей монтажной части.
[000280] В некоторых вариантах выполнения оборудование также содержит фильтр, который расположен по меньшей мере в одном из следующих мест:
[000281] перед упомянутым элементом поглощения влаги во влагопоглощающем канале, перед упомянутым регенерационным вентилятором в регенерационном канале или за упомянутым элементом поглощения влаги в регенерационном канале.
[000282] В некоторых вариантах выполнения оборудование также содержит очищающий узел для автоматической очистки фильтра, причем упомянутый очищающий узел содержит по меньшей мере одно из следующего:
[000283] распылительный механизм для опрыскивания упомянутого фильтра, вибрационный механизм для вибрации упомянутого фильтра, продувочный механизм для продувки упомянутого фильтра и скребковый механизм для соскабливания фильтра.
[000284] В некоторых вариантах выполнения упомянутый очищающий узел содержит упомянутый распылительный механизм, который расположен за упомянутым фильтром, и направление потока жидкости, распыляемой упомянутым распылительным механизмом, противоположно направлению воздушного потока, протекающего через упомянутый фильтр.
[000285] В некоторых вариантах выполнения упомянутый фильтр содержит упомянутую фильтрационную сетку, расположенную наклонно в упомянутом канале поглощения влаги или упомянутом канале регенерации;
[000286] упомянутый распылительный механизм содержит трубку для выпуска воды и насадку; причем один конец упомянутой насадки соединен с упомянутой трубкой для выпуска воды, а другой конец является плоским и закрывает конец упомянутой фильтровальной сетки, расположенный рядом с упомянутой трубкой для выпуска воды.
[000287] В некоторых вариантах выполнения упомянутый элемент поглощения влаги включает первый элемент поглощения влаги и второй элемент поглощения влаги; а упомянутый приводной механизм используется для позиционирования упомянутого первого элемента поглощения влаги и упомянутого второго элемента поглощения влаги поочередно на упомянутом канале поглощения влаги и упомянутом канале регенерации.
[000288] В некоторых вариантах выполнения упомянутый элемент поглощения влаги включает влагопоглощающую ленту, а упомянутый приводной механизм используется для приведения упомянутой влагопоглощающей ленты в линейное движение относительно упомянутого влагопоглощающего канала и упомянутого регенерационного канала.
[000289] В некоторых вариантах выполнения оборудование также содержит внешний корпус, на боковой стороне которого расположены второе воздуховпускное отверстие и второе воздуховыпускное отверстие; причем упомянутое второе воздуховпускное отверстие соединено с воздуховыпускным концом упомянутого регенерационного канала, а упомянутое второе воздуховыпускное отверстие соединено с воздуховыпускным концом упомянутого регенерационного канала.
[000290] В некоторых вариантах выполнения по меньшей мере один из упомянутого воздуховпускного конца и упомянутого воздуховыпускного конца оснащен конденсатором.
[000291] В некоторых вариантах выполнения за упомянутым элементом поглощения влаги в регенерационном канале расположен конденсатор, при этом воздуховыпускное отверстие упомянутого конденсатора соединено с воздуховпускным отверстием упомянутого вентилятора регенерации, таким образом канал регенерации образует замкнутый контур.
[000292] В некоторых вариантах выполнения между воздуховыпускным отверстием упомянутого внутреннего цилиндра и упомянутым элементом поглощения влаги расположен конденсатор.
[000293] В некоторых вариантах выполнения упомянутый конденсатор содержит змеевик для циркуляции конденсированной воды.
[000294] В некоторых вариантах выполнения оборудование содержит внешний корпус, при этом модуль сушки содержит нижний корпус, на котором расположена четвертая монтажная часть; упомянутая четвертая монтажная часть наложена внахлест и закреплена на упомянутом внешнем корпусе таким образом, что сушильный модуль зафиксирован на упомянутом внешнем корпусе.
[000295] В некоторых вариантах выполнения упомянутое первое воздуховпускное отверстие и первое воздуховыпускное отверстие соответственно соединены с внутренним цилиндром посредством гибких шлангов.
[000296] Настоящее описание предоставляет множество различных вариантов реализации или примеров, которые можно использовать для реализации изобретения. Следует понимать, что эти различные варианты реализации или примеры являются исключительно иллюстративными. Объем защиты настоящего изобретения, определенный прилагаемой формулой изобретения, имеет преимущественную силу.
| название | год | авторы | номер документа |
|---|---|---|---|
| Стиральный агрегат | 2022 |
|
RU2829711C2 |
| СТИРАЛЬНАЯ МАШИНА С ФУНКЦИЕЙ СУШКИ | 2022 |
|
RU2840401C2 |
| МАШИНА ДЛЯ ОБРАБОТКИ БЕЛЬЯ | 2013 |
|
RU2585560C1 |
| СТИРАЛЬНАЯ МАШИНА С ПАРОГЕНЕРАТОРОМ И СПОСОБ УПРАВЛЕНИЯ ТАКОЙ МАШИНОЙ | 2005 |
|
RU2300590C2 |
| УЗЕЛ ПРИЕМА И КОНСЕРВАЦИИ МОЧИ СО СТАТИЧЕСКИМ СЕПАРАТОРОМ ДЛЯ РАЗДЕЛЕНИЯ ГАЗОЖИДКОСТНОЙ СМЕСИ НА БОРТУ КОСМИЧЕСКОГО ЛЕТАТЕЛЬНОГО АППАРАТА | 2011 |
|
RU2478538C1 |
| ВАКУУМНЫЙ ПЫЛЕСОС | 2000 |
|
RU2172132C1 |
| УСТРОЙСТВО ДЛЯ ОБРАБОТКИ ОДЕЖДЫ, СОДЕРЖАЩЕЕ МОДУЛЬ ТЕПЛОВОГО НАСОСА | 2016 |
|
RU2774949C2 |
| УСТРОЙСТВО ДЛЯ ОБРАБОТКИ ОДЕЖДЫ, СОДЕРЖАЩЕЕ МОДУЛЬ ТЕПЛОВОГО НАСОСА | 2016 |
|
RU2710409C1 |
| УСТРОЙСТВО ДЛЯ РЕГУЛИРОВАНИЯ ВЛАЖНОСТИ ВОЗДУХА В ОБИТАЕМОМ ОТСЕКЕ ПИЛОТИРУЕМОГО КОСМИЧЕСКОГО АППАРАТА | 2007 |
|
RU2361789C2 |
| УСТРОЙСТВО ДЛЯ КОНДИЦИОНИРОВАНИЯ ВОЗДУХА | 2009 |
|
RU2411317C1 |
Изобретение относится к области бытовой техники и, в частности, к устройству для обработки одежды. Предложено устройство для обработки одежды, включающее в себя внутренний цилиндр для размещения одежды, подлежащей обработке, а также модуль сушки для сушки одежды; модуль сушки включает в себя канал поглощения влаги, включающий в себя первое воздуховпускное отверстие и первое воздуховыпускное отверстие; первое воздуховпускное отверстие и первое воздуховыпускное отверстие соответственно соединены с внутренним цилиндром; циркуляционный вентилятор, установленный в канале поглощения влаги, служит для формирования циркуляционного воздушного потока во внутреннем цилиндре и канале поглощения влаги; канал регенерации; в канале регенерации установлен вентилятор регенерации, который служит для формирования осушающего воздушного потока в канале регенерации; элемент конструкции поглощения влаги расположен на канале поглощения влаги и в канале регенерации; как циркуляционный воздушный поток, так и влагоотводящий воздушный поток проходят через элемент конструкции поглощения влаги; приводной механизм для перемещения элемента конструкции поглощения влаги относительно канала поглощения влаги и регенерационного канала, при этом влагопоглощающий элемент используется для поглощения влаги в циркулирующем воздушном потоке во время движения относительно канала поглощения влаги и регенерационного канала и отвода влаги через влагоотводящий воздушный поток. Технический результат заявленного изобретения заключается в том, что оно может быть применимо в среде с более широким диапазоном температур, а также конструкция стиральной машины с функцией сушки является более компактной. 15 з.п. ф-лы, 47 ил.
1. Оборудование для обработки одежды, содержащее:
внутренний цилиндр (30) для размещения одежды, подлежащей обработке; и
сушильный модуль (20, 2000), предназначенный для сушки вышеуказанной одежды, причем сушильный модуль (20, 2000) содержит:
канал (201) поглощения влаги, имеющий первое воздуховпускное отверстие (611) и первое воздуховыпускное отверстие (612), причем первое воздуховпускное отверстие (611) и первое воздуховыпускное отверстие (612) соответственно соединены с внутренним цилиндром (30);
циркуляционный вентилятор (203), установленный в канале (201) поглощения влаги и выполненный с возможностью формирования циркуляционного воздушного потока во внутреннем цилиндре (30) и канале (201) поглощения влаги;
канал (202) регенерации;
вентилятор (205) регенерации, установленный в канале (202) регенерации и выполненный с возможностью формирования потока осушающего воздуха в канале (202) регенерации;
элемент (206, 2200) поглощения влаги, установленный на канале (201) поглощения влаги и канале (202) регенерации, причем поток циркулирующего воздуха и поток осушающего воздуха протекают через элемент (206, 2200) поглощения влаги; и
приводной механизм (2300), выполненный с возможностью перемещения элемента (206, 2200) поглощения влаги относительно канала (201) поглощения влаги и канала (202) регенерации;
причем элемент (206, 2200) поглощения влаги выполнен с возможностью поглощения влаги в циркулирующем воздушном потоке в процессе перемещения относительно влагопоглощающего канала (201) и канала (202) регенерации и вывода поглощенной влаги через поток осушающего воздуха,
при этом сушильный модуль (20, 2000) дополнительно содержит узел осушения, который расположен в канале (202) регенерации.
2. Оборудование по п. 1, в котором упомянутый элемент (206, 2200) поглощения влаги снабжен влагопоглотителем, который содержит по меньшей мере одно из следующих веществ: цеолит, алюмосиликат щелочного металла, хлорид лития, силикагель, модифицированный силикагель или активированный оксид алюминия; причем узел осушения выполнен с возможностью абсорбции влаги, поглощенной упомянутым влагопоглотителем, и содержит по меньшей мере один из следующих элементов: нагревательный узел (630), ультразвуковой генератор или микроволновый генератор.
3. Оборудование по п. 1, в котором упомянутый элемент (206, 2200) поглощения влаги содержит влагопоглощающий вращающийся диск (640, 2201), а упомянутый приводной механизм (2300) выполнен с возможностью приведения влагопоглощающего вращающегося диска (640, 2201) во вращение относительно канала (201) поглощения влаги и канала (202) регенерации; причем упомянутый влагопоглощающий вращающийся диск (640, 2201) содержит область (2907) поглощения влаги и область (2908) регенерации; при этом упомянутая область (2907) поглощения влаги - это область на влагопоглощающем вращающемся диске (640, 2201), через которую проходит циркулирующий поток воздуха, а упомянутая область (2908) регенерации - это область на влагопоглощающем вращающемся диске (640, 2201), через которую проходит осушающий воздушный поток; причем упомянутый сушильный модуль (20, 2000) также содержит нагревательный элемент (630), который расположен в канале (202) регенерации и закрывает область (2908) регенерации.
4. Оборудование по п. 3, в котором упомянутый элемент (206, 2200) поглощения влаги дополнительно содержит периферийный корпус (2202) верхнего зажима, периферийный корпус (2203) нижнего зажима и кольцевой амортизатор (2204), причем упомянутый кольцевой амортизатор (2204) расположен на внешней периферии влагопоглощающего вращающегося диска (640, 2201) или на внутренней периферии корпуса (2202, 2203), причем влагопоглощающий вращающийся диск (2201) и кольцевой амортизатор (2204) зажаты и зафиксированы упомянутым периферийным корпусом (2202) верхнего зажима и упомянутым периферийным корпусом (2203) нижнего зажима.
5. Оборудование по п. 4, в котором на внешней периферии соединения периферийного корпуса верхнего зажима и периферийного корпуса нижнего зажима расположено первое уплотнительное кольцо.
6. Оборудование по п. 4, в котором на внешней периферии упомянутого периферийного корпуса (2202) верхнего зажима или на внешней периферии упомянутого периферийного корпуса (2203) нижнего зажима расположены ведущие зубья; причем упомянутый приводной механизм (2300) является приводным двигателем, на выходном конце которого расположена шестерня, которая находится в зацеплении с упомянутыми ведущими зубьями для приведения во вращение элемента (2200) поглощения влаги.
7. Оборудование по п. 4, в котором сушильный модуль (2000) содержит нижний корпус (2700), который содержит первую монтажную часть (2720), предназначенную для установки элемента (2200) поглощения влаги, причем на внутренней стенке первой монтажной части (2720) расположен первый ролик (2722); причем на внешней периферии упомянутого периферийного корпуса (2202) верхнего зажима или на внешней периферии упомянутого периферийного корпуса (2203) нижнего зажима расположена вспомогательная подвижная катушка (2212), которая находится в подвижной посадке с первым роликом (2722).
8. Оборудование по п. 7, в котором на нижней поверхности первой монтажной части (2720) расположен второй ролик (2723), который находится в подвижной посадке с нижней поверхностью упомянутого периферийного корпуса (2203) нижнего зажима.
9. Оборудование по п. 7, в котором в центре первой монтажной части (2720) расположена короткая ось (2721);
причем упомянутый элемент (2200) поглощения влаги также содержит центральный верхний зажим (2206), центральный нижний зажим (2207) и центральный концевой амортизатор (2208);
в центре упомянутого влагопоглощающего вращающегося диска (2201) выполнено первое отверстие (2209), в центре упомянутого центрального верхнего зажима (2206) выполнено второе отверстие (2210) и в центре упомянутого центрального нижнего зажима (2207) выполнено третье отверстие (2211); и
упомянутый центральный верхний зажим (2206) и упомянутый центральный нижний зажим (2207) проходят через первое отверстие (2209) для зажима и фиксации влагопоглощающего вращающегося диска (2201); и через второе отверстие (2210) и третье отверстие (2211) проходит упомянутая короткая ось (2721) с обеспечением вращательного соединения упомянутого элемента (2200) поглощения влаги с упомянутым нижним корпусом (2700); при этом центральный концевой амортизатор (2208) расположен между упомянутым центральным нижним зажимом (2207) и упомянутым влагопоглощающим вращающимся диском (2201).
10. Оборудование по любому из пп. 3-9, в котором упомянутый влагопоглощающий вращающийся диск (640, 2201) также содержит область охлаждения, расположенную за областью (2908) регенерации и перед влагопоглощающей областью (2907) вдоль направления вращения влагопоглощающего вращающегося диска (640, 2201).
11. Оборудование по п. 3, в котором сушильный модуль (20, 2000) содержит нижний корпус (2700) и верхний корпус (2810), причем упомянутый нижний корпус (2700) оснащен первой монтажной частью (2720) для установки упомянутого элемента (2200) поглощения влаги, а упомянутый верхний корпус (2810) оснащен второй монтажной частью (2821) для установки упомянутого элемента (2200) поглощения влаги, причем упомянутый элемент (2200) поглощения влаги соединен с возможностью вращения в пространстве, образованном упомянутой первой монтажной частью (2720) и упомянутой второй монтажной частью (2821);
упомянутая первая монтажная часть (2720) снабжена первой перегородкой (2725), а упомянутая вторая монтажная часть (2821) снабжена второй перегородкой (2822), которая расположена непосредственно над первой перегородкой (2725), причем первая перегородка (2725) и вторая перегородка (2822) разделяют указанный влагопоглощающий вращающийся диск (2201) на область (2907) поглощения влаги и область (2908) регенерации.
12. Оборудование по п. 11, в котором упомянутая первая монтажная часть (2720) снабжена также третьей перегородкой (2726), предназначенной для разделения циркуляционного потока воздуха, поступающего в область (2907) поглощения влаги.
13. Оборудование по п. 11 или 12, в котором между упомянутым элементом (2200) поглощения влаги и первой перегородкой (2725) расположен первый уплотнительный элемент (2727, 2728), закрепленный на верхней торцевой поверхности упомянутой первой перегородки (2725).
14. Оборудование по п. 13, в котором между упомянутым элементом (206, 2200) поглощения влаги и второй перегородкой (2822) расположен второй уплотнительный элемент (2823, 2824), закрепленный на нижней торцевой поверхности второй перегородки (2822) и расположенный непосредственно над первым уплотнительным элементом (2727, 2728).
15. Оборудование по п. 11 или 12, в котором на одной из упомянутых первой
перегородки (2725) и второй перегородки (2822), на ее торцевой стороне, противоположной элементу (2200) поглощения влаги, расположен уплотнительный элемент, при этом другая из упомянутых первой перегородки (2725) и второй перегородки (2822) расположена непосредственно напротив элемента (2200) поглощения влаги и на заданном расстоянии от упомянутого элемента (2200) поглощения влаги.
16. Оборудование по п. 11 или 12, в котором на одной из упомянутых первой перегородки (2725) и второй перегородки (2822), на ее торцевой стороне, противоположной элементу (2200) поглощения влаги, расположен первый уплотнительный элемент (2727, 2728), который находится в контакте с упомянутым элементом (2200) поглощения влаги; а на другой из упомянутых первой перегородки (2725) и второй перегородки (2822), на ее торцевой стороне, противоположной элементу (206, 2200) поглощения влаги, расположен второй уплотнительный элемент (2823, 2824), который расположен на заданном расстоянии от упомянутого элемента (2200) поглощения влаги.
| CN 105324528 A, 10.02.2016 | |||
| CN 102482828 A, 30.05.2012 | |||
| CN 204491256 U, 22.07.2015 | |||
| УСТРОЙСТВО ДЛЯ ОБРАБОТКИ ОДЕЖДЫ, СОДЕРЖАЩЕЕ МОДУЛЬ ТЕПЛОВОГО НАСОСА | 2016 |
|
RU2710409C1 |
Авторы
Даты
2025-03-17—Публикация
2022-08-31—Подача