Изобретение относится к области машиностроения и может быть использовано во всех отраслях народного хозяйства, в частности в высоконагруженных планетарных передачах.
Известна планетарная передача, содержащая эксцентриковое водило, один или два сателлита с отверстиями, неподвижное центральное колесо и механизм снятия движения с сателлитов, состоящий из щеки, жестко связанной с ведомым валом, и установленных в щеке неподвижно пальцев с посаженными на них втулками, внешний диаметр которых меньше диаметра отверстий сателлитов на удвоенную величину межосевого расстояния передачи (Кудрявцев В.Н. Планетарные передачи. - М. - Л.: Машиностроение, 1966. - С. 260, рис. 147а).
Недостатком конструкции является низкий коэффициент полезного действия, что обусловлено потерями мощности на трение скольжения в местах сопряжения втулок с пальцами и сателлитами.
Известна планетарная передача, содержащая эксцентриковое водило, два сателлита с цилиндрическими отверстиями, неподвижное центральное колесо и механизм снятия момента с сателлитов, состоящий из ступицы, выполненной за одно целое с ведомым валом, и цилиндрических роликов, расположенных в отверстиях сателлитов и ступицы под углом к оси передачи, причем отверстия сателлитов и ступицы выполнены в виде двух соосных конусов (Пат. № 2593167 РФ, МПК F16H1/32. Планетарная передача / Якимович Б. А., Михайлов Ю. О., Плеханов Ф.И. Опубл. 27.07.2016 , бюл. № 21).
Недостатками ее являются низкая нагрузочная способность из-за неравномерного распределения нагрузок в зацеплениях колес и в местах сопряжения роликов с коническими поверхностями сателлитов, а также низкий коэффициент полезного действия в результате больших потерь мощности на трение скольжения в местах сопряжения пальцев с коническими поверхностями сателлитами.
Известна также планетарная передача, содержащая ведущее эксцентриковое водило, два сателлита с внешними зубьями и отверстиями на ободьях, неподвижное центральное колесо с внутренними зубьями, щеки механизма снятия движения с цилиндрическими отверстиями, жестко связанные между собой посредством стяжек, и установленные свободно в два ряда в отверстиях щек и сателлитов ролики. Причем диаметр роликов меньше диаметров отверстий в щеках и на ободьях сателлитов на величину межосевого расстояния передачи (Пат. № 2460916 РФ, МПК F16H1/32. Планетарная передача / Плеханов Ф.И., Гольдфарб В.И. Опубл. 10.09.2012 , бюл. № 25) (прототип).
Недостатком этой конструкции является низкая ее нагрузочная способность, вызванная неравномерным распределением нагрузки в зацеплениях колес и в сопряжениях сателлит-ролик при неизбежных погрешностях изготовления передачи. Это связано с выполнением отверстий на ободьях сателлитов и поверхностей роликов цилиндрическими по всей их длине и установкой сателлитов на игольчатые подшипники, что препятствует их самоустанавливаемости.
Задачей настоящего изобретения является повышение нагрузочной способности планетарной передачи.
Для этого в планетарной передаче, содержащей ведущее эксцентриковое водило, два сателлита с внешними зубьями и отверстиями на ободьях, неподвижное центральное колесо с внутренними зубьями, щеки механизма снятия движения с цилиндрическими отверстиями, жестко связанные между собой посредством стяжек, и установленные свободно в два ряда в отверстиях щек и сателлитов ролики, диаметр которых меньше диаметра отверстий на величину межосевого расстояния передачи, отверстия на ободьях сателлитов и поверхности контактирующих с ними роликов выполнены сферическими, а сателлиты установлены на сферические подшипники.
Повышение нагрузочной способности планетарной передачи обеспечивается за счет выполнения отверстий на ободьях сателлитов и поверхностей контактирующих с ними роликов сферическими и установки сателлитов на сферические подшипники, что приводит к самоустанавливаемости сателлитов и снижению неравномерности распределения нагрузки в зацеплениях колес.
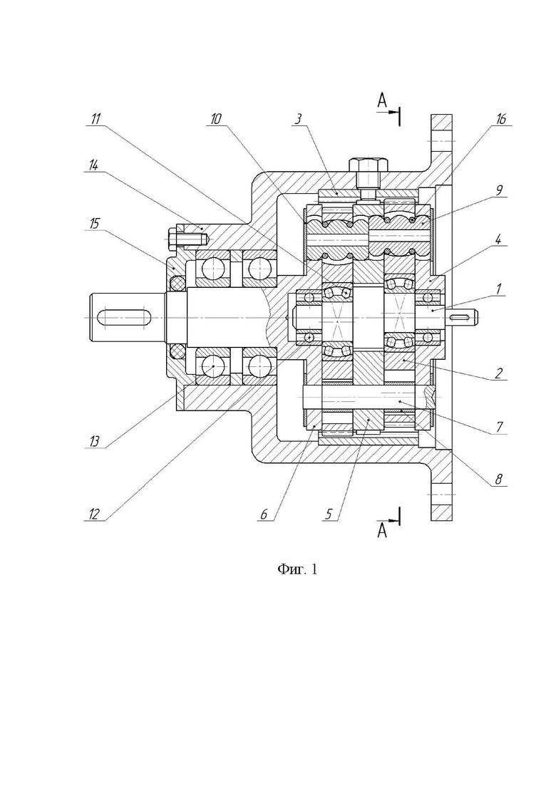
Суть изобретения поясняется чертежами, где на фиг. 1 показан общий вид передачи в разрезе (разрез по Б-Б на фиг. 2), на фиг. 2 - вид по А-А на фиг.1.
Передача содержит ведущее эксцентриковое водило 1; два сателлита с внешними зубьями и отверстиями на ободьях 2; неподвижное центральное колесо с внутренними зубьями 3; щеки механизма снятия движения 4, 5, 6; соединительные стержни щек 7; упорные кольца соединительных стержней 8, ролики 9, ограничительные диски 10, подшипники сателлитов 11, подшипники ведущего эксцентрикового водила 12, подшипники ведомого вала 13, корпус 14, крышку 15, резиновые кольца 16 (пункт 2 формулы изобретения).
Ролики 9 выполнены со сферическими поверхностями в зонах их сопряжения с ободьями сателлитов 2. Сателлиты 2 выполнены с отверстиями сферической формы в местах расположения роликов 9 и цилиндрическими отверстиями в местах расположения соединительных стержней щек 7 и их упорных колец 8. Диаметр отверстий сателлитов 2 и щек механизма снятия движения 4, 5, 6 в местах их сопряжения с роликами 9 больше диаметра роликов 9 на величину межосевого расстояния планетарной передачи. Диаметр цилиндрических отверстий сателлитов 2 в местах расположения соединительных стержней щек 7 и их упорных колец 8 больше внешнего диаметра упорных колец на величину, превышающую два межосевых расстояния планетарной передачи. Щека механизма снятия движения 6 выполнена за одно целое с ведомым валом.
Ролики 9 установлены в цилиндрических отверстиях сателлитов 2 и щек механизма снятия движения 4, 5, 6. Соединительные стержни щек 7 запрессованы в отверстия щек механизма снятия движения 4, 5, 6. Сателлиты 2 зацепляются с неподвижным центральным колесом с внутренними зубьями 3 так, что зоны их зацеплений диаметрально противоположны.
Сборка передачи осуществляется следующим образом.
Подшипники сателлитов 11 располагаются в посадочных гнездах сателлитов 2, а подшипник ведущего эксцентрикового водила 12 - в посадочном гнезде щеки механизма снятия движения 6. Ролики 9 устанавливаются в отверстия обода левого сателлита 2, который после этого осевым перемещением сажается роликами 9 в отверстия щеки механизма снятия движения 6. Ведущее эксцентриковое водило 1 осевым перемещением вставляется посадочными поверхностями в отверстия внутренних колец подшипников левого сателлита и ведущего эксцентрикового водила 11, 12. Соединительные стержни щек 7 через отверстия в сателлите 2 запрессовываются в отверстия щеки механизма снятия движения 6. Упорные кольца соединительных стержней 8 сажаются на соединительные стержни щек 7. Щека механизма снятия движения 5 устанавливается отверстиями на ролики 9 левого сателлита 2 и одновременно сажается на соединительные стержни щек 7. На соединительные стержни щек 7 сажаются их упорные кольца 8. Правый сателлит 2 в сборе с роликами 9 и подшипником 11 сажается одновременно отверстиями на упорные кольца соединительных стержней 8, внутренним кольцом подшипника 11 на посадочную поверхность ведущего эксцентрикового водила 1, роликами 9 в отверстия щеки механизма снятия движения 5. На ведущее эксцентриковое водило 1 сажается правый подшипник 12. Щека механизма снятия движения 4 сажается одновременно на ролики 9, правый подшипник ведущего эксцентрикового водила 12 и на соединительные стержни 7. Ограничительные диски 10 сажаются на соединительные стержни щек 7, после чего стержни развальцовываются. В корпусе 14 устанавливаются подшипники ведомого вала 13 и неподвижное центральное колесо с внутренними зубьями 3. Собранный блок сателлитов осевым перемещением вводится в зацепление с неподвижным центральным колесом с внутренними зубьями 3 и одновременно сажается ведомым валом 6 во внутренние кольца его подшипников 13. Крышка 15 крепится к корпусу 14.
Планетарная передача работает следующим образом. Вращательное движение от ведущего эксцентрикового водила 1 передается сателлитам 2, а от них через ролики 9 щекам механизма снятия движения 4, 5, 6 и жестко связанному с ними выходному валу. При этом так как каждый сателлит 2 имеет возможность углового поворота благодаря установке его на сферический подшипник 11 и выполнению сопрягаемых поверхностей роликов 9 и сателлитов 2 сферическими неприлегание зубьев сателлита 2 и неподвижного центрального колеса с внутренними зубьями 3, вызванное погрешностями изготовления планетарной передачи, устраняется, снижается неравномерность распределения нагрузки по длине зубьев зацепляющихся колес, что обеспечивает повышение нагрузочной способности механизма.
Для снижения динамической нагрузки, вызванной соударением роликов 9 и ободьев сателлитов 2 при переменном моменте на ведомом валу, ролики 9 могут быть выполнены с канавками, в которые установлены резиновые кольца круглого сечения 16, внешний диаметр которых превышает диаметр роликов в зоне их сопряжения с сателлитом 2.
Для увеличения площади контакта в зонах сопряжения роликов 9 со щеками механизма снятия движения 4, 5, 6 и повышения нагрузочной способности планетарной передачи отверстия в щеках механизма снятия движения 4, 5, 6 и ролики 9 в местах их сопряжения со щеками могут быть выполнены со сферическими поверхностями.
Таким образом, самоустанавливаемость сателлитов 2, обеспечивающая выравнивание нагрузки по длине их зубьев, ведет к увеличению нагрузочной способности планетарной передачи.
Установка на роликах 9 резиновых колец 16 снижает динамическую нагрузку и повышает плавность работы планетарной передачи.
Выполнение роликов 9 и отверстий щек механизма снятия движения 4, 5, 6 в зонах их сопряжения со сферическими поверхностями позволяет увеличить площади их контакта при наличии погрешностей изготовления и повысить нагрузочную способность планетарной передачи.
ИСТОЧНИКИ ИНФОРМАЦИИ
1. Кудрявцев В. Н. Планетарные передачи. - М. - Л.: Машиностроение, 1966. - С. 260, рис. 147а.
2. Пат. № 2593167 РФ, МПК F16H1/32. Планетарная передача /Якимович Б.А., Михайлов Ю.О., Плеханов Ф.И. Опубл. 27.07.2016 , бюл. № 21).
3. Пат. № 2460916 РФ, МПК F16H1/32. Планетарная передача / Плеханов Ф.И., Гольдфарб В.И. Опубл. 10.09.2012 , бюл. № 25 (прототип).
| название | год | авторы | номер документа |
|---|---|---|---|
| ПЛАНЕТАРНАЯ ПЕРЕДАЧА | 2013 |
|
RU2531430C1 |
| ПЛАНЕТАРНАЯ ПЕРЕДАЧА | 2012 |
|
RU2492376C1 |
| ПЛАНЕТАРНАЯ ПЕРЕДАЧА | 2011 |
|
RU2460916C1 |
| ПЛАНЕТАРНАЯ ПЕРЕДАЧА | 2010 |
|
RU2445529C1 |
| ПЛАНЕТАРНАЯ ПЕРЕДАЧА | 2011 |
|
RU2462631C1 |
| ПЛАНЕТАРНАЯ ПЕРЕДАЧА | 2015 |
|
RU2593223C1 |
| ПЛАНЕТАРНАЯ ПЕРЕДАЧА | 2016 |
|
RU2677105C2 |
| ПЛАНЕТАРНАЯ ПЕРЕДАЧА | 2014 |
|
RU2550598C1 |
| ПЛАНЕТАРНАЯ ПЕРЕДАЧА | 2023 |
|
RU2821404C1 |
| ПЛАНЕТАРНАЯ ПЕРЕДАЧА | 2012 |
|
RU2509240C1 |
Изобретение относится к области машиностроения. Передача содержит ведущее эксцентриковое водило (1), два сателлита с внешними зубьями и отверстиями на ободьях (2), неподвижное центральное колесо с внутренними зубьями (3), щеки механизма снятия движения с цилиндрическими отверстиями (4, 5, 6), соединительные стержни щек (7), упорные кольца соединительных стержней (8), ролики (9), расположенные свободно в отверстиях ободьев сателлитов (2) и щек (4, 5, 6), ограничительные диски (10), подшипники сателлитов (11), подшипники ведущего эксцентрикового водила (12), подшипники ведомого вала (13), корпус (14), крышку (15), резиновые кольца (16). Ролики (9) и отверстия сателлитов (2) выполнены со сферическими поверхностями в зонах их сопряжения. Сателлиты (2) посажены на сферические подшипники (11). Обеспечивается повышение нагрузочной способности планетарной передачи. 2 з.п. ф-лы, 2 ил.
1. Планетарная передача, содержащая ведущее эксцентриковое водило, два сателлита с внешними зубьями и отверстиями на ободьях, неподвижное центральное колесо с внутренними зубьями, щеки механизма снятия движения с цилиндрическими отверстиями, жестко связанные между собой посредством стяжек, и установленные свободно в цилиндрических отверстиях щек и ободьев сателлитов ролики, диаметр которых в зоне сопряжения с сателлитом меньше диаметра отверстий на величину межосевого расстояния передачи, отличающаяся тем, что отверстия на ободьях сателлитов и контактирующие с ними ролики выполнены со сферическими поверхностями, а сателлиты установлены на сферические подшипники.
2. Планетарная передача по п. 1, отличающаяся тем, что ролики выполнены с канавками, в которые установлены резиновые кольца круглого сечения, внешний диаметр которых превышает диаметр роликов.
3. Планетарная передача по п. 1, отличающаяся тем, что ролики и щеки механизма снятия движения в местах их сопряжения выполнены со сферическими поверхностями.
| ПЛАНЕТАРНАЯ ПЕРЕДАЧА | 2011 |
|
RU2460916C1 |
| ПЛАНЕТАРНАЯ ЗУБЧАТАЯ ПЕРЕДАЧА С РАСПРЕДЕЛЕННОЙ НАГРУЗКОЙ (ВАРИАНТЫ) | 1994 |
|
RU2114343C1 |
| ПЛАНЕТАРНАЯ ПЕРЕДАЧА | 2011 |
|
RU2462631C1 |
| US 9353800 B2, 31.05.2016. | |||
Авторы
Даты
2025-03-17—Публикация
2024-07-30—Подача