Область техники, к которой относится изобретение
Настоящее изобретение относится, в целом, к инструментальному соединению для использования в процессах резки металла и, в частности, для выполнения операций токарной обработки.
уровень техники
В области режущих инструментов, используемых в операциях токарной обработки, имеется множество примеров инструментальных соединений, в одних из которых режущая вставка (пластина) соединена непосредственно с державкой, а в других переходник инструмента с вставленной режущей пластиной соединен с хвостовиком инструмента.
US 5,873,682 раскрывает державку, содержащую корпус, имеющий канал, образованный в нем для позиционирования пальца, который проходит от головки. Палец закрепляется внутри канала посредством монтажного винта, что позволяет головке перемещаться между убранным положением и выдвинутым положением относительно корпуса. Когда головка находится в своем выдвинутом положении, головка может поворачиваться относительно корпуса; однако когда головка находится в своем убранном положении, пара заплечиков на корпусе входят в зацепление с парой вырезов на головке, препятствуя повороту головки. Также предусмотрен стопорный винт, который фиксирует головку на корпусе. Стопорный винт выполнен так, что при затягивании стопорного винта головка прижимается к корпусу, обеспечивая, таким образом, положительное известное положение для вставки всякий раз, когда головка перемещается.
US 6,270,293 В2 раскрывает устройство для разъемного удерживания державки, содержащее опорный элемент инструмента, имеющий обращенную вперед поверхность, расточенное отверстие (канал) вдоль продольной оси и проходное отверстие. Канал пересекает обращенную вперед поверхность и продолжается назад от нее для позиционирования державки, а проходное отверстие проходит через опорный элемент инструмента и пересекает продольную ось. Приводной болт проходит через опорный элемент инструмента внутри проходного отверстия и имеет возможность возвратно-поступательного перемещения между положением фиксации и положением высвобождения вдоль радиальной оси относительно продольной оси для фиксации или извлечения хвостовика в опорном элементе инструмента или из него. Приводной болт имеет фиксирующий сегмент для упора и прижатия назад поверхности фиксации хвостовика державки для фиксации державки внутри опорного элемента инструмента.
ЕР 3292931 А1 раскрывает режущий инструмент с базовой державкой и сменной головкой, которая несет режущую кромку и имеет штифт, который вставляется в соответствующую выемку на одном торце базовой державки. Зажимное приспособление (губка), прикрепленное к боковой стороне базовой державки, зажимает штифт в выемке посредством винта базовой державки. Штифт содержит по меньшей мере одну опорную поверхность для позиционирования нажимной поверхности, предусмотренной на зажимном приспособлении.
Задачей настоящего изобретения является создание усовершенствованного инструментального соединения.
Также задачей настоящего изобретения является обеспечение инструментального соединения, имеющего высокопрочную и устойчивую зажимную конфигурацию.
Еще одной задачей настоящего изобретения является обеспечение инструментального соединения, имеющего очень компактное средство зажима.
Еще одной задачей настоящего изобретения является обеспечение инструментального соединения, подходящего для использования при токарных операциях продольного точения.
СУЩНОСТЬ ИЗОБРЕТЕНИЯ
В соответствии с настоящим изобретением предложено инструментальное соединение, проходящее в направлении вперед-назад вдоль продольной оси и имеющая первую плоскость, перпендикулярную продольной оси, и вторую плоскость, содержащую продольную ось и поперечную первой плоскости, причем вторая плоскость имеет верхнюю сторону, определяющую направление вверх инструментального соединения, и нижнюю сторону, которая противоположна верхней стороне и определяет направление вниз инструментального соединения, при этом инструментальное соединение содержит:
первый компонент, второй компонент и зажим для скрепления первого компонента со вторым компонентом,
первый компонент имеет первую корпусную часть и охватываемую зажимную часть, проходящую от заднего сопрягаемого торца первой части корпуса в направлении назад,
второй компонент имеет вторую корпусную часть, охватывающую зажимную часть и внутреннюю полость, причем охватывающая зажимная часть раскрыта к переднему сопрягаемому торцу второй корпусной части, и внутренняя полость сообщается с охватывающей зажимной частью, и
зажим расположен во внутренней полости и имеет переднюю часть зацепления зажима и заднюю приводную часть зажима, причем передняя часть зацепления зажима имеет первую область зацепления зажима и вторую область зацепления зажима,
при этом:
охватываемая зажимная часть занимает охватывающую зажимную часть и имеет первую упорную область, расположенную аксиально сзади от первой плоскости;
внутренняя полость имеет вторую упорную область, расположенную аксиально впереди от первой плоскости, причем вторая упорная область расположена на верхней стороне от второй плоскости;
каждая из первой и второй упорных областей обращена к первой плоскости; и в скрепленном состоянии инструментального соединения:
задняя сопрягаемая поверхность заднего сопрягаемого торца образует зажимной контакт с передней сопрягаемой поверхностью переднего сопрягаемого торца;
первая область зацепления зажима образует зажимной контакт с первой упорной областью охватываемой зажимной части; и
вторая область зацепления зажима образует зажимной контакт со второй упорной областью внутренней полости.
Краткое описание чертежей
Для лучшего понимания, настоящее изобретение будет описано, только в качестве примера, со ссылкой на прилагаемые чертежи, на которых штрихпунктирные линии представляют границы отсечки для частичных видов элемента и на которых:
Фиг. 1 представляет собой вид в перспективе инструментального соединения в соответствии с некоторыми вариантами осуществления настоящего изобретения;
Фиг. 2 представляет собой вид в перспективе с разнесением элементов инструментального соединения, показанного на фиг. 1;
Фиг. 3 представляет собой вид в перспективе первого компонента инструментального соединения, показанного на фиг. 1 и 2;
Фиг. 4 представляет собой вид торца первого компонента, показанного на фиг. 3, со скрытой деталью;
Фиг. 5 представляет собой вид в перспективе второго компонента инструментального соединения, показанного на фиг. 1 и 2;
Фиг. 6 представляет собой вид торца второго компонента, показанного на фиг. 5, со скрытой деталью;
Фиг. 7 представляет собой вид в перспективе зажима инструментального соединения, показанного на фиг. 1 и 2;
Фиг. 8 представляет собой вид сбоку зажима, показанного на фиг. 7, со скрытой деталью;
Фиг. 9 представляет собой вид сверху инструментального соединения, показанного на фиг. 1 и 2, со скрытой деталью;
Фиг. 10а представляет собой вид в сечении инструментального соединения, показанного на фиг. 9, вдоль линии X-X, в скрепленном состоянии;
Фиг. 10b представляет собой подробный вид инструментального соединения, показанного на фиг. 10а;
Фиг. 11 представляет собой вид в сечении инструментального соединения, показанного на фиг. 10а, вдоль линии XI-XI;
Фиг. 12 представляет собой подробный вид сбоку инструментального соединения, показанного на фиг. 1 и 2, в скрепленном состоянии с удаленной боковой панелью;
Фиг. 13а представляет собой вид в сечении инструментального соединения, показанного на фиг. 9, вдоль линии XIII-XIII, в раскрепленном состоянии; и
Фиг. 13b представляет собой подробный вид инструментального соединения, показанного на фиг. 13а.
ПОДРОБНОЕ ОПИСАНИЕ ИЗОБРЕТЕНИЯ
Как показано на фиг. 1 и 2, настоящее изобретение относится к инструментальному соединению 20, проходящему в направлении вперед-назад вдоль продольной оси A1, содержащему первый компонент 22 (передний компонент 22), второй компонент 24 (задний компонент 24) и зажим 26 для скрепления первого компонента 22 со вторым компонентом 24.
В некоторых вариантах осуществления настоящего изобретения, второй компонент 24 и зажим 26 могут быть изготовлены из инструментальной стали.
Кроме того, в некоторых вариантах осуществления настоящего изобретения, второй компонент 24 и зажим 26 могут быть изготовлены посредством аддитивного производства.
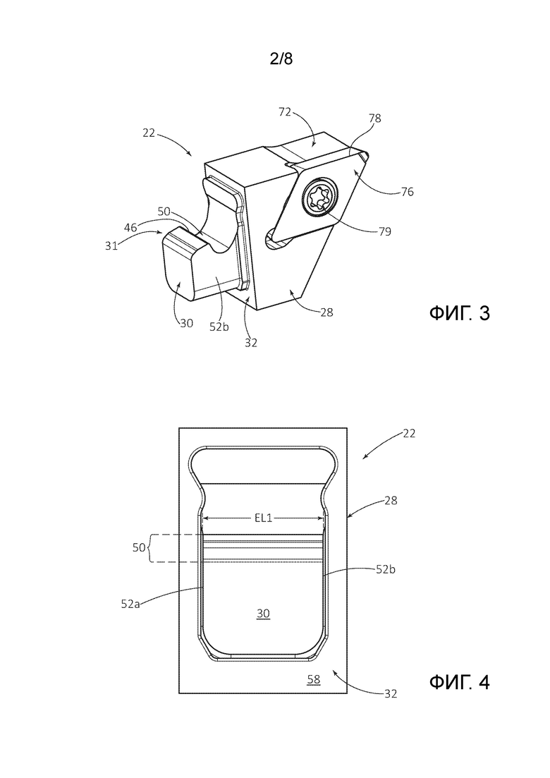
Как показано на фиг. 1-4, первый компонент 22 имеет первую корпусную часть 28 и охватываемую зажимную часть 30, которая проходит от заднего сопрягаемого торца 32 первой корпусной части 28 в направлении назад DR.
Как показано на фиг. 1, 2, 5 и 6, второй компонент 24 имеет вторую корпусную часть 34, охватывающую зажимную часть 36 и внутреннюю полость 38, охватывающая зажимная часть 36 открывается к переднему сопрягаемому торцу 40 второй корпусной части 34, и внутренняя полость 38 сообщается с охватывающей зажимной частью 36.
Как показано на фиг. 1, 2, 7 и 8, зажим 26 расположен во внутренней полости 38 и имеет переднюю часть 42 зацепления зажима и заднюю приводную часть 44 зажима.
В некоторых вариантах осуществления настоящего изобретения, задняя приводная часть 44 зажима может быть расположена дистально от передней части 42 зацепления зажима.
В некоторых вариантах осуществления настоящего изобретения, зажим 26 может иметь единую цельную конструкцию.
После сборки инструментального соединения 20, как показано на фиг. 9-12, охватываемая зажимная часть 30 занимает охватывающую зажимную часть 36, первая упорная область 46 охватываемой зажимной части 30 располагается аксиально сзади от первой плоскости P1, перпендикулярной продольной оси A1, и вторая упорная область 48 внутренней полости 38 располагается аксиально впереди от первой плоскости P1.
В некоторых вариантах осуществления настоящего изобретения, первая плоскость P1 проходит через охватывающую зажимную часть 36 и внутреннюю полость 38.
Как показано на фиг. 10b и 12, каждая из первой и второй упорных областей 46, 48 обращена к первой плоскости P1.
Следует понимать, что использование термина "обращена к" по всему описанию и формуле изобретения относится к области поверхности, по меньшей мере частично обращенной к плоскости, и не требует, чтобы упомянутая область поверхности была ориентирована перпендикулярно к упомянутой плоскости.
В некоторых вариантах осуществления настоящего изобретения, охватываемая зажимная часть 30 может включать в себя первое поднутрение (подрез) 50 относительно направления вперед DF, и первая упорная область 46 может проходить вдоль первого поднутрения 50. Благодаря первому поднутрению 50, обращенная назад охватываемая зажимная часть 30 содержит охватываемый крюк 31, который, в инструментальном соединении 20, выступает в направлении назад DR.
Следует понимать, что использование термина "поднутрение" по всему описанию и формуле изобретения относится к канавке или выемке, где прямая линия, проходящая в определенном направлении от данной области канавки или выемки, пересекает другую область этой же канавки или выемки.
В некоторых вариантах осуществления настоящего изобретения, первая упорная область 46 может проходить между противоположными первой и второй наружными боковыми поверхностями 52a, 52b охватываемой зажимной части 30.
Кроме того, в некоторых вариантах осуществления настоящего изобретения, первая упорная область 46 может пересекать первую и вторую наружные боковые поверхности 52a, 52b.
Как показано на фиг. 4, первая и вторая наружные боковые поверхности 52а, 52b могут быть плоскими.
В некоторых вариантах осуществления настоящего изобретения, внутренняя полость 38 может включать в себя второе поднутрение 54 относительно направления назад DR, и вторая упорная область 48 может проходить вдоль второго поднутрения 54.
Также в некоторых вариантах осуществления настоящего изобретения, вторая упорная область 48 может проходить между первой и второй внутренними боковыми поверхностями 56а, 56b внутренней полости 38, хотя следует понимать, что вторая упорная область 48 может не проходить по всему расстоянию между первой и второй внутренними боковыми поверхностями 56а, 56b.
Инструментальное соединение 20 имеет вторую плоскость P2, которая содержит продольную ось A1 и является поперечной к первой плоскости P1. Вторая плоскость P2 имеет верхнюю сторону SU, определяющую направление вверх DU инструментального соединения 20, и нижнюю сторону SL, которая противоположна верхней стороне SU и определяет направление вниз DD инструментального соединения 20. Направления вверх и вниз DU, DD противоположны друг другу и перпендикулярны ко второй плоскости P2.
В некоторых вариантах осуществления настоящего изобретения, вторая плоскость Р2 может быть перпендикулярна первой плоскости P1.
Как показано на фиг. 10а, 10b и 12, вторая упорная область 48 расположена на верхней стороне SU от второй плоскости Р2.
В некоторых вариантах осуществления настоящего изобретения, вторая упорная область 48 может быть обращена ко второй плоскости Р2.
Кроме того, в некоторых вариантах осуществления настоящего изобретения, первая упорная область 46 может быть расположена на нижней стороне SL от второй плоскости Р2.
Кроме того, в некоторых вариантах осуществления настоящего изобретения, первая упорная область 46 может быть обращена ко второй плоскости Р2.
В скрепленном состоянии инструментального соединения 20, как показано на фиг. 10-12:
задняя сопрягаемая поверхность 58 заднего сопрягаемого торца 32 первого компонента 22 образует зажимной контакт с передней сопрягаемой поверхностью 60 переднего сопрягаемого торца 40 второго компонента 24;
первая область 62 зацепления зажима передней части 42 зацепления зажима образует зажимной контакт с первой упорной областью 46 охватываемой зажимной части; и
вторая область 64 зацепления зажима передней части 42 зацепления зажима образует зажимной контакт со второй упорной областью 48 внутренней полости.
Следует понимать, что, в скрепленном состоянии инструментального соединения 20, передняя часть 42 зацепления зажима может частично занимать охватывающую зажимную часть 36.
Как показано на фиг. 9 и 10а, задняя сопрягаемая поверхность 58 может определять третью плоскость Р3, параллельную и находящуюся аксиально впереди от первой плоскости P1.
Для вариантов осуществления настоящего изобретения, в которых первая и вторая упорные области 46, 48 расположены на противоположных нижней и верхней сторонах SL, SU, соответственно, от второй плоскости Р2, следует понимать, что любой риск заклинивания или обдирки первой части 42 зацепления зажима может быть минимизирован.
Как показано на фиг. 1, 2, 7 и 8, зажим 26 может иметь противоположные первую и вторую боковые поверхности 66а, 66b, и первая и вторая области 62, 64 зацепления могут проходить между первой и второй боковыми поверхностями 66а, 66b.
В некоторых вариантах осуществления настоящего изобретения, вторая область 64 зацепления зажима может пересекать первую и вторую боковые поверхности 66а, 66b.
Кроме того, в некоторых вариантах осуществления настоящего изобретения, первая и вторая зажимные боковые поверхности 66а, 66b могут быть плоскими.
Как показано на фиг. 10а, 10b и 12, поперечная ось А2 определяется пересечением первой и второй плоскостей P1, P2.
В некоторых вариантах осуществления настоящего изобретения, первая и вторая упорные области 46, 48 могут проходить вдоль направления поперечной оси А2.
Как показано на фиг. 4 и 9, первая упорная область 46 может иметь первую боковую протяженность EL1, и в некоторых вариантах осуществления настоящего изобретения, первая область 62 зацепления зажима может соответственно проходить вдоль первой боковой протяженности EL1.
Для вариантов осуществления настоящего изобретения, в которых первая упорная область 46 пересекает первую и вторую наружные боковые поверхности 52а, 52b охватываемой зажимной части, следует понимать, что первая боковая протяженность EL1 может соответствовать ширине охватываемой зажимной части 30, т.е. расстоянию между первой и второй внешними боковыми поверхностями 52a, 52b.
Как показано на фиг. 6 и 9, вторая упорная область 48 может иметь вторую боковую протяженность EL2, и, в некоторых вариантах осуществления настоящего изобретения, вторая область 64 зацепления зажима может соответственно проходить вдоль второй боковой протяженности EL2.
Для вариантов осуществления настоящего изобретения, в которых вторая область 64 зацепления зажима пересекает первую и вторую боковые поверхности 66а, 66b зажима, следует понимать, что вторая боковая протяженность EL2 может соответствовать ширине зажима 26, т.е. расстоянию между первой и второй боковыми поверхностями 66а, 66b.
В некоторых вариантах осуществления настоящего изобретения, вторая поперечная протяженность EL2 может быть больше, чем первая боковая протяженность EL1, т.е. EL2 > EL1.
Кроме того, в некоторых вариантах осуществления настоящего изобретения, первая и вторая упорные области 46, 48 могут параллельно проходить вдоль направления поперечной оси А2.
Для вариантов осуществления настоящего изобретения, в которых первая и вторая упорные области 46, 48 параллельно проходят вдоль направления поперечной оси А2, следует понимать, что может быть реализована высокостабильная зажимная конфигурация.
Как показано на фиг. 9, 10а и 10b, четвертая плоскость Р4, перпендикулярная первой и второй плоскостям P1, Р2, может пересекать первую упорную область 46 и вторую упорную область 48.
В некоторых вариантах осуществления настоящего изобретения, четвертая плоскость Р4 может содержать продольную ось А1.
Как показано на фиг. 10а и 10b, на виде в поперечном сечении в четвертой плоскости Р4, первая область 62 зацепления зажима может находиться в зажимном контакте с первой упорной областью 46, и вторая область 64 зацепления зажима может находиться в зажимном контакте со второй упорной областью 48.
В некоторых вариантах осуществления настоящего изобретения, первая и вторая упорные области 46, 48 могут обладать зеркальной симметрией относительно четвертой плоскости Р4.
Кроме того, в некоторых вариантах осуществления настоящего изобретения, передняя часть 42 зацепления зажима может обладать зеркальной симметрией относительно четвертой плоскости Р4.
Для вариантов осуществления настоящего изобретения, в которых первая и вторая упорные области 46, 48 обладают зеркальной симметрией относительно четвертой плоскости Р4, следует понимать, что может быть реализована высокостабильная зажимная конфигурация.
Как показано на фиг. 10b, на виде в поперечном сечении в четвертой плоскости Р4, первая и вторая упорные области 46, 48 имеют первую и вторую касательные линии TL1, TL2, соответственно, и, в некоторых вариантах осуществления настоящего изобретения, первая и вторая касательные линии TL1, TL2 могут расходиться в направлении вверх DU.
Для вариантов осуществления настоящего изобретения, в которых первая и вторая касательные линии TL1, TL2 расходятся в направлении вверх DU, следует понимать, что первая и вторая области 62, 64 зацепления зажима части зацепления зажима образуют клиновидную форму, соответствующую первой и второй упорным областям 46, 48, соответственно.
Как показано на фиг. 10b, на виде в поперечном сечении в четвертой плоскости Р4, первая касательная линия TL1 может образовывать внешний острый первый угол β1 упора с первой плоскостью P1.
В некоторых вариантах осуществления настоящего изобретения первый угол β1 упора может составлять меньше, чем 45 градусов, т.е. β1<45°.
Также, как показано на фиг. 10b, на виде в поперечном сечении в четвертой плоскости Р4, вторая касательная линия ТL2 может образовывать внешний острый второй угол β2 упора с первой плоскостью P1.
В некоторых вариантах осуществления настоящего изобретения, второй угол β2 упора может составлять меньше, чем 45 градусов, т.е. β2<45°.
Следует понимать, что использование термина "внешний угол упора" по всему описанию и формуле изобретения относится к углу между упорной областью и плоскостью, как измеряется внешним образом к элементу, на котором образована упорная область.
Как показано на фиг. 10а, 10b и 12, внутренняя полость 38 может иметь третью упорную область 68, расположенную аксиально сзади от первой плоскости P1.
В некоторых вариантах осуществления настоящего изобретения, третья упорная область 68 может быть расположена аксиально сзади от первой упорной области 46.
Кроме того, в некоторых вариантах осуществления настоящего изобретения, третья упорная область 68 может располагаться на расстоянии от второй упорной области 48.
Кроме того, в некоторых вариантах осуществления настоящего изобретения, третья упорная область 68 может проходить вдоль направления поперечной оси А2.
В скрепленном состоянии инструментального соединения 20, третья область 70 зацепления зажима передней части 42 зацепления зажима может образовывать зажимной контакт с третьей упорной областью 68 внутренней полости.
В некоторых вариантах осуществления настоящего изобретения, третья область 70 зацепления зажима может проходить между первой и второй боковыми поверхностями 66а, 66b зажима.
Как показано на фиг. 9, 10а и 10b, четвертая плоскость Р4 может пересекать третью упорную область 68.
Как показано на фиг. 10а и 10b, на виде в поперечном сечении в четвертой плоскости Р4, третья область 70 зацепления зажима может находиться в зажимном контакте с третьей упорной областью 68.
В некоторых вариантах осуществления настоящего изобретения, третья упорная область 68 может обладать зеркальной симметрией относительно четвертой плоскости Р4.
Как показано на фиг. 1-3 и 10а, первая корпусная часть 28 может иметь передний режущий торец 72, аксиально противоположный заднему сопрягаемому торцу 32, вдоль продольной оси A1.
В некоторых вариантах осуществления настоящего изобретения, передний режущий торец 72 может иметь гнездо 74 для позиционирования режущей пластины, и режущая пластина 76, имеющая по меньшей мере одну режущую кромку 78, может быть съемно закреплена в гнезде 74 для позиционирования режущей пластины посредством винта 79 пластины.
Также, в некоторых вариантах осуществления настоящего изобретения, первый компонент 22 может быть изготовлен из инструментальной стали.
Кроме того, в некоторых вариантах осуществления настоящего изобретения, первый компонент 22 может быть изготовлен посредством аддитивного производства.
Кроме того, в некоторых вариантах осуществления настоящего изобретения, режущая пластина 76 может быть изготовлена путем прессования и спекания цементированного карбида, такого как карбид вольфрама, и может иметь покрытие или не иметь покрытия.
Для вариантов осуществления настоящего изобретения, сконфигурированных с передним режущим торцом 72, инструментальное соединение 20 может быть описано как режущий инструмент 80.
В некоторых вариантах осуществления настоящего изобретения, режущий инструмент 80 может быть использован в операциях токарной обработки.
Как показано на фиг. 5, 6, 9 и 11, второй компонент 24 может иметь противоположные первую и вторую периферийные боковые поверхности 82а, 82b.
В некоторых вариантах осуществления настоящего изобретения, как показано на фиг. 5, первая периферийная боковая поверхность 82а может включать углубленную поверхность 84 основания, и внутренняя полость 38 может быть открыта к поверхности 84 основания и образовывать боковое окно 86.
Для вариантов осуществления настоящего изобретения, в которых внутренняя полость 38 открыта к поверхности 84 основания, следует понимать, что, во время предварительной сборки инструментального соединения 20, зажим 26 может быть вставлен со скольжением во внутреннюю полость 38 через боковое окно 86.
Как показано на фиг. 2 и 11, боковое окно 86 может быть закрыто боковой панелью 88 для предотвращения непреднамеренного выскальзывания зажима 26 из внутренней полости 38.
В некоторых вариантах осуществления настоящего изобретения, боковая панель 88 может быть съемно прикреплена к поверхности 84 основания при помощи винта 90 панели.
Кроме того, в некоторых вариантах осуществления настоящего изобретения, боковая панель 88 может иметь наружную поверхность 92 панели, и когда боковая панель 88 прикреплена к поверхности 84 основания, внешняя поверхность 92 панели может быть расположена заподлицо с первой периферийной боковой поверхностью 82а.
Кроме того, в некоторых вариантах осуществления настоящего изобретения, боковая панель 88 может иметь внутреннюю поверхность 94 панели, и первая внутренняя боковая поверхность 56а внутренней полости 38 может быть образована на внутренней поверхности 94 панели.
В других вариантах осуществления настоящего изобретения (не показано), второй компонент 24 и зажим 26 могут изготавливаться одновременно посредством аддитивного производства, так что зажим 26 может быть расположен невыпадающим образом во внутренней полости 38.
Для вариантов осуществления настоящего изобретения, в которых зажим 26 расположен невыпадающим образом во внутренней полости 38, следует понимать, что второй компонент 24 может не иметь бокового окна, и зажим 26 может быть постоянно ограничен внутренней полостью 38.
Следует понимать, что одновременное изготовление второго компонента 24 и зажима 26 посредством аддитивного производства может обеспечить более рентабельный способ производства, чем обычные способы производства.
Как показано на фиг. 9, на виде сверху инструментального соединения 20, поперечная ось А2 может пересекать первую и вторую периферийные боковые поверхности 82а, 82b, чтобы определять ширину WB корпуса.
В некоторых вариантах осуществления настоящего изобретения, по меньшей мере одна из первой и второй поперечных протяженностей EL1, EL2 может быть больше, чем одна треть ширины WB корпуса, т.е. EL1 > WB/3 и/или EL2 > WB/3.
Для вариантов осуществления настоящего изобретения, в которых первая и вторая упорные области 46, 48 проходят вдоль направления поперечной оси А2, и по меньшей мере одна из первой и второй поперечных протяженностей EL1, EL2 больше, чем одна треть ширины WB корпуса, следует понимать, что может быть реализована высоконадежная и стабильная зажимная конфигурация.
В некоторых вариантах осуществления настоящего изобретения, каждая из первой и второй поперечных протяженностей EL1, EL2 может быть больше, чем половина ширины WB корпуса, т.е. EL1 > WB/2 и EL2 > WB/2.
Следует понимать, что для других вариантов осуществления настоящего изобретения (не показано), по меньшей мере одна из первой и второй упорных областей 46, 48 может содержать множество упорных подобластей, расположенных на расстоянии вдоль направления поперечной оси А2. Для таких вариантов осуществления, любые зазоры между упорными подобластями могут игнорироваться при измерении первой и второй поперечных протяженностей EL1, EL2.
Как показано на фиг. 5, 10а и 11, второй компонент 24 может включать в себя канал 96 под винт с осью А3 канала, поперечной второй плоскости Р2.
В некоторых вариантах осуществления настоящего изобретения, ось A3 канала может быть перпендикулярна второй плоскости Р2.
Кроме того, в некоторых вариантах осуществления настоящего изобретения, ось A3 канала может содержаться в четвертой плоскости Р4.
Как показано на фиг. 5, 6 и 10-12, второй компонент 24 может иметь противоположные нижнюю и верхнюю периферийные поверхности 98, 100.
В некоторых вариантах осуществления настоящего изобретения, нижняя и верхняя периферийные поверхности 98, 100 могут быть разнесены друг от друга посредством первой и второй периферийных боковых поверхностей 82а, 82b, и второй компонент 24 может иметь квадратный или прямоугольный профиль.
Кроме того, в некоторых вариантах осуществления настоящего изобретения, канал 96 под винт может открываться к нижней периферийной поверхности 98 в нижнем отверстии 102 канала.
Кроме того, в некоторых вариантах осуществления настоящего изобретения, как показано на фиг. 10 и 12, нижняя периферийная поверхность 98 и вторая упорная область 48 могут быть расположены на противоположных сторонах от второй плоскости Р2.
Как показано на фиг. 10а и 10b, в некоторых вариантах осуществления настоящего изобретения, канал 96 под винт может полностью располагаться аксиально позади первой упорной области 46.
В некоторых вариантах осуществления настоящего изобретения, канал 96 под винт может быть расположен аксиально позади третьей упорной области 68.
Кроме того, в некоторых вариантах осуществления настоящего изобретения, канал 96 под винт может сообщаться с внутренней полостью 38.
Для вариантов осуществления настоящего изобретения, в которых зажим 26 расположен невыпадающим образом во внутренней полости 38 (не показано), следует понимать, что единственное средство сообщения с внутренней полостью 38 может быть обеспечено охватывающей зажимной частью 36 и каналом 96 под винт.
Как показано на фиг. 10a, ось А3 канала может пересекать верхнюю периферийную поверхность 100 и нижнее отверстие 102 канала для определения высоты HB корпуса, и нижнее отверстие 102 канала может иметь точку NB центра канала, расположенную на первом продольном расстоянии DL от задней сопрягаемой поверхности 58.
В некоторых вариантах осуществления настоящего изобретения, первое продольное расстояние DL может быть меньше, чем удвоенная высота HB корпуса, т.е. DL < 2*HB.
Кроме того, в некоторых вариантах осуществления настоящего изобретения, первое продольное расстояние DL может быть меньше, чем высота HB корпуса, т.е. DL < HB.
Как показано на фиг. 10а и 11, винтовой элемент 104, имеющий ось А4 винта, соосную с осью А3 канала, может входить в резьбовое зацепление в канале 96 под винт.
В некоторых вариантах осуществления настоящего изобретения, первый винтовой торец 106 винтового элемента 104 может иметь гнездо 108 винта, чтобы позволить моментному ключу (не показан) входить в зацепление и поворачивать винтовой элемент 104 вокруг оси А4 винта.
Кроме того, в некоторых вариантах осуществления настоящего изобретения, гнездо 108 винта может быть доступно от нижней периферийной поверхности 98 второго компонента.
Для вариантов осуществления настоящего изобретения, в которых инструментальное соединение 20 сконфигурировано как режущий инструмент 80, следует понимать, что расположение точки NB центра канала на первом продольном расстояния DL меньшем, чем удвоенная высота HB корпуса, от задней сопрягаемой поверхности 58, может быть очень полезным для конфигураций обработки, в которых режущий инструмент 80 установлен в державке (не показана) с ограниченным доступом и в которых желательно иметь минимальный вылет переднего режущего торца 72 от упомянутой державки, в то же время обеспечивая доступ к гнезду 108 винта, например, в операциях токарной обработки.
В других вариантах осуществления настоящего изобретения (не показаны), второй компонент 24 и винтовой элемент 104 могут одновременно изготавливаться посредством аддитивного производства, и винтовой элемент 104 может быть расположен невыпадающим образом во втором компоненте 24.
В некоторых вариантах осуществления настоящего изобретения, как показано на фиг. 9, вращение винтового элемента 104 в первом винтовом направлении DS1 вокруг оси А4 винта может приводить в действие заднюю приводную часть 44 зажима, чтобы способствовать скреплению (скреплению) инструментального соединения 20.
Кроме того, в некоторых вариантах осуществления настоящего изобретения, как показано на фиг. 9-11, вращение винтового элемента 104 в первом винтовом направлении DS1 вокруг оси А4 винта может вызвать перемещение винтового элемента 104 вдоль оси A3 канала в направлении вверх DU.
Кроме того, в некоторых вариантах осуществления настоящего изобретения, как показано на фиг. 10а, 10b и 11, вращение винтового элемента 104 в первом винтовом направлении DS1 вокруг оси А4 винта может заставить винтовой элемент 104 прикладывать действующую силу FA к упорной поверхности 110 задней приводной части 44 зажима.
Как показано на фиг. 10b и 11, действующая сила FA может быть направлена в направлении вверх DU.
Кроме того, в некоторых вариантах осуществления настоящего изобретения, второй винтовой торец 112 винтового элемента 104 может контактировать с упорной поверхностью 110 при приложении действующей силы FA.
Как показано на фиг. 10а и 11, второй винтовой торец 112 винтового элемента может быть аксиально противоположным первому винтовому торцу 106 вдоль оси А4 винта.
В некоторых вариантах осуществления настоящего изобретения, ось A3 канала может пересекать упорную поверхность 110.
Кроме того, в некоторых вариантах осуществления настоящего изобретения, задняя приводная часть 44 зажима может обладать зеркальной симметрией относительно четвертой плоскости Р4.
Для вариантов осуществления настоящего изобретения, в которых точка NB центра канала расположена на первом продольном расстоянии DL меньшем, чем удвоенная высота HB корпуса, от задней сопрягаемой поверхности 58, и ось А3 канала пересекает упорную поверхность 110 зажима, следует понимать, что зажим 26 может иметь очень компактную конфигурацию, что делает его подходящим для инструментальных соединений, используемых при операциях токарной обработки.
В скрепленном состоянии инструментального соединения 20, как показано на фиг. 12, на его виде сбоку, первая упорная область 46 и упорная поверхность 110 могут быть расположены соответственно на первом и втором расстояниях D1, D2 от второй упорной области 48.
Следует понимать, что, в скрепленном состоянии инструментального соединения 20, вторая упорная область 48 может действовать как ось поворота (точка опоры рычага), относительно которой вращающий момент, создаваемый первым компонентом действующей силы FA, преобразуется в первый компонент усилия FC зажима, прикладываемого к первой упорной области 46.
Как показано на фиг. 10b, усилие FC зажима может быть направлено назад в направлении DR.
В некоторых вариантах осуществления настоящего изобретения, второе расстояние D2 может быть больше, чем первое расстояние D1, т.е. D2 > D1.
Для вариантов осуществления настоящего изобретения, в которых второе расстояние D2 больше, чем первое расстояние D1, следует понимать, что первый компонент действующей силы FA может быть преобразован в первый компонент усилия FC зажима с механическим выигрышем.
Кроме того, в некоторых вариантах осуществления настоящего изобретения, второе расстояние D2 может быть больше, чем удвоенное первое расстояние D1, т.е. D2 > 2*D1.
Для вариантов осуществления настоящего изобретения, в которых второе расстояние D2 больше, чем удвоенное первое расстояние D1, должно быть понятно, что первый компонент действующей силы FA может быть преобразован в первый компонент усилия FC зажима со значительным механическим выигрышем, так что может быть реализована высоконадежная зажимная конфигурация.
Как показано на фиг. 12, на виде сбоку инструментального соединения 20, первое и второе расстояния D1, D2 могут быть измерены вдоль воображаемых первой и второй прямых линий L1, L2, соответственно.
Кроме того, в некоторых вариантах осуществления настоящего изобретения, воображаемая первая прямая линия L1 может образовывать острый воображаемый первый угол α1 с продольной осью А1, и воображаемый первый угол α1 может быть больше, чем 45 градусов, т.е. α1 > 45°.
Следует понимать, что первая длина LM1 плеча силы (момента) (не показана), ассоциированная с первым расстоянием D1, равна первому расстоянию D1, умноженному на синус воображаемого первого угла α1, т.е. LM1=D1*sin α1, и, таким образом, для вариантов осуществления настоящего изобретения, в которых воображаемый первый угол α1 больше, чем 45 градусов, вращающий момент, ассоциированный с первой длиной LM1 плеча силы, может быть преимущественно высоким.
Кроме того, в некоторых вариантах осуществления настоящего изобретения, воображаемая вторая прямая линия L2 может образовывать острый воображаемый второй угол α2 с осью А3 канала, и воображаемый второй угол α2 может быть больше, чем 60 градусов, т.е. α2 > 60°.
Следует понимать, что вторая длина LM2 плеча силы (не показана), ассоциированная со вторым расстоянием D2, равна второму расстоянию D2, умноженному на синус воображаемого второго угла α2, т.е. LM2=D2 * sin α2, и, таким образом, для вариантов осуществления настоящего изобретения, в которых воображаемый второй угол α2 больше, чем 60 градусов, вращающий момент, ассоциированный со второй длиной LM2 плеча силы, может быть преимущественно высоким.
В скрепленном состоянии инструментального соединения 20, как показано на фиг. 12, на его виде сбоку, первая упорная область 46 и упорная поверхность 110 могут быть расположены соответственно на третьем и четвертом расстояниях D3, D4 от третьей упорной области 68.
Следует понимать, что, в скрепленном состоянии инструментального соединения 20, третья упорная область 68 может действовать как ось поворота, относительно которой вращающий момент, создаваемый вторым компонентом действующей силы FA, преобразуется во второй компонент усилия FC зажима в первой упорной области 46.
В некоторых вариантах осуществления настоящего изобретения, четвертое расстояние D4 может быть больше, чем третье расстояние D3, т.е. D4 > D3.
Для вариантов осуществления настоящего изобретения, в которых четвертое расстояние D4 больше, чем третье расстояние D3, следует понимать, что второй компонент действующей силы FA может быть преобразован во второй компонент усилия FC зажима с механическим выигрышем.
Как показано на фиг. 12, на виде сбоку инструментального соединения 20, третье и четвертое расстояния D3, D4 могут быть измерены вдоль воображаемых третьей и четвертой прямых линий L3, L4, соответственно.
В некоторых вариантах осуществления настоящего изобретения, воображаемая третья прямая линия L3 может образовывать острый воображаемый третий угол α3 с продольной осью A1, и воображаемый третий угол α3 может быть больше, чем 60 градусов, т.е. α3 > 60°.
Следует понимать, что третья длина LM3 плеча силы (не показана), ассоциированная с третьим расстоянием D3, равна третьему расстоянию D3, умноженному на синус воображаемого третьего угла α3, т.е. LM3=D3 * sin α3, и, таким образом, для вариантов осуществления настоящего изобретения, в которых воображаемый третий угол α3 больше, чем 60 градусов, вращающий момент, ассоциированный с третьей длиной LM3 плеча силы, может быть преимущественно высоким.
В некоторых вариантах осуществления настоящего изобретения, зажим 26 может иметь ось А5 поворота, вокруг которой может поворачиваться зажим 26 при скреплении и раскреплении инструментального соединения 20.
Как показано на фиг. 9-12, ось А5 поворота может быть поперечной продольной оси Al и по существу параллельной второй плоскости Р2.
В некоторых вариантах осуществления настоящего изобретения, ось А5 поворота может быть по существу параллельной боковой оси А2.
Кроме того, в некоторых вариантах осуществления настоящего изобретения, должно быть понятно, что ось А5 поворота может не быть фиксированной относительно второго компонента 24 и, при наблюдении перпендикулярно второй плоскости Р2 при скреплении и раскреплении инструментального соединения 20, ось А5 поворота может поступательно перемещаться относительно второго компонента 24.
Как показано на фиг. 7 и 8, первая и вторая области 62, 64 зацепления зажима могут быть расположены на противоположных первой и второй периферийных поверхностях 114, 116 зацепления, соответственно, передней части 42 зацепления зажима.
Зажим 26 имеет поднутрение 51 зажима. Благодаря поднутрению 51 зажима, передняя часть 42 зацепления зажима содержит зажимной крюк 43, который в инструментальном соединении 20 выступает в направлении вперед DF.
В скрепленном (скрепленном) состоянии, зажимной крюк 43 зацепляется с охватываемым крюком 31, и задняя сопрягаемая поверхность 58 заднего сопрягаемого торца 32 образует зажимной контакт с передней сопрягаемой поверхностью 60 переднего сопрягаемого торца 40. В разжатом (раскрепленном) состоянии зажимной крюк 43 выходит из зацепления с охватываемым крюком 31. При приведении в действие винтового элемента 104, который функционально зацепляется с задней приводной частью 44 зажима, инструментальное соединение 20 может регулироваться между скрепленным состоянии и раскрепленным состоянием.
Как показано на фиг. 8, на виде сбоку зажима 26, первая периферийная поверхность 114 зацепления может быть вогнутой наружу, а вторая периферийная поверхность 116 зацепления может быть выпуклой наружу.
Также, как показано на фиг. 8, на виде сбоку зажима 26, зажим 26 может быть почковидной формы.
Для вариантов осуществления настоящего изобретения, в которых зажим 26 сконфигурирован со сложной геометрией поверхности, например, первая периферийная поверхность 114 зацепления является вогнутой наружу, а вторая периферийная поверхность 116 зацепления является выпуклой наружу, следует понимать, что изготовление зажима 26 посредством аддитивного производства может обеспечить более рентабельный способ производства, чем обычные способы производства.
Как показано на фиг. 8, вид сбоку зажима 26 может быть взят вдоль оси А5 поворота.
В некоторых вариантах осуществления настоящего изобретения, первая периферийная поверхность 114 зацепления может содержать несколько вогнутых под-поверхностей с разными радиусами, имеющих плавный переход между ними.
Для вариантов осуществления настоящего изобретения, в которых первая периферийная поверхность 114 зацепления является вогнутой наружу и имеет плавный переход между вогнутыми под-поверхностями разных радиусов, следует понимать, что зажим 26 может быть способен передавать большие усилия FC зажима к первой упорной области 46 с минимальными уровнями концентрации напряжений вблизи первой периферийной поверхности 114 зацепления.
В некоторых вариантах осуществления настоящего изобретения, третья область 70 зацепления зажима может быть расположена на выпуклой второй периферийной поверхности 116 зацепления.
Кроме того, в некоторых вариантах осуществления настоящего изобретения, на виде сбоку зажима 26, как показано на фиг. 8, ось А5 поворота может быть расположена снаружи зажима 26, и вогнутая первая периферийная поверхность 114 зацепления может быть обращена к оси А5 поворота.
Для вариантов осуществления настоящего изобретения, в которых ось А5 поворота не фиксирована относительно второго компонента 24, и вторая периферийная поверхность 116 зацепления является выпуклой наружу, следует понимать, что вторая и третья области 64, 70 зацепления могут скользить по второй и третьей упорным областям 48, 68, соответственно, внутренней полости 38 во время скрепления и раскрепления инструментального соединения 20.
Как показано на фиг. 8, на виде сбоку зажима 26, воображаемая первая окружность C1, имеющая первый диаметр DA1 и первый центр NC1, ограничивает (описывает) зажим 26.
В некоторых вариантах осуществления настоящего изобретения, вторая область 64 зацепления зажима второй периферийной поверхности 116 зацепления может лежать на воображаемой первой окружности C1.
Как показано на фиг. 8, на виде сбоку зажима 26, ось А5 поворота может быть расположена в воображаемой второй окружности С2, имеющей второй диаметр DA2 и второй центр NC2.
В некоторых вариантах осуществления настоящего изобретения, второй центр NC2 может совпадать с первым центром NC1.
Кроме того, в некоторых вариантах осуществления настоящего изобретения, ось А5 поворота может не быть фиксированной относительно зажима 26, и при наблюдении перпендикулярно второй плоскости Р2 при скреплении и раскреплении инструментального соединения 20, ось А5 поворота может выполнять поступательное перемещение в пределах воображаемой второй окружности С2.
Кроме того, в некоторых вариантах осуществления настоящего изобретения, второй диаметр DA2 может быть меньше, чем одна четверть первого диаметра DA1.
Как показано на фиг. 8, на виде сбоку зажима 26, кратчайшее расстояние между второй областью 64 зацепления зажима второй периферийной поверхности 116 зацепления и первой периферийной поверхностью 114 зацепления может определять толщину TE части зацепления.
В некоторых вариантах осуществления настоящего изобретения, толщина TE части зацепления может составлять больше, чем двадцать процентов от первого диаметра DA1, т.е. ТЕ > 0,20*DА1.
Для вариантов осуществления настоящего изобретения, в которых толщина TE части зацепления составляет более двадцати процентов от первого диаметра DA1, следует понимать, что зажим 26 может иметь высокий уровень жесткости и, таким образом, быть способным передавать большие усилия FC зажима к первой упорной области 46 с минимальным изгибанием.
В некоторых вариантах осуществления настоящего изобретения, вращение винтового элемента 104 во втором винтовом направлении DS2 вокруг оси А4 винта может приводить в действие заднюю приводную часть 44 зажима, способствуя раскреплению инструментального соединения 20.
Как показано на фиг. 9, второе винтовое направление DS2 может быть противоположно первому винтовому направлению DS1 вокруг оси А4 винта.
В некоторых вариантах осуществления настоящего изобретения, вращение винтового элемента 104 во втором винтовом направлении DS2 вокруг оси А4 винта может вызвать перемещение винтового элемента 104 вдоль оси А3 канала в направлении вниз DD.
Также, в некоторых вариантах осуществления настоящего изобретения, как показано на фиг. 13а и 13b, вращение винтового элемента 104 во втором винтовом направлении DS2 вокруг оси А4 винта может вызывать то, что винтовой элемент 104 прикладывает силу FR раскрепления к отводному (оттяжному) элементу 118 приводной части 44 зажима.
Как показано на фиг. 13b, сила FR раскрепления может быть направлена в направлении вниз DD.
Кроме того, в некоторых вариантах осуществления настоящего изобретения, как показано на фиг. 13b, приложение силы FR раскрепления к отводному элементу 118 зажима может вызвать поворот зажима 26 поворачиваться в первом направлении DW1 поворота вокруг оси А5 поворота.
Как показано на фиг. 7 и 8, отводной элемент 118 может быть расположен на расстоянии от упорной поверхности 110.
В некоторых вариантах осуществления настоящего изобретения, как показано на фиг. 12 и 13b, отводной элемент 118 может быть выполнен в форме по меньшей мере одного отводного (оттяжного) выступа 120а, 120b, проходящего поперечно относительно оси А4 винта.
Кроме того, в некоторых вариантах осуществления настоящего изобретения, как показано на фиг. 11, отводной элемент 118 может содержать первый и второй отводные выступы 120а, 120b, расположенные на противоположных сторонах от четвертой плоскости Р4.
Как показано на фиг. 13а и 13b, винтовой элемент 104 может иметь винтовой буртик 122 у второго винтового торца 112, и винтовой буртик 122 может контактировать с по меньшей мере одним отводным выступом 120а, 120b при приложении силы FR раскрепления.
В некоторых вариантах осуществления настоящего изобретения, как показано на фиг. 13а и 13b, вращение винтового элемента 104 во втором винтовом направлении DS2 вокруг оси А4 винта может привести к тому, что второй винтовой торец 112 будет находиться на расстоянии от упорной поверхности 110.
Для вариантов осуществления настоящего изобретения, в которых первая и вторая области 62, 64 зацепления зажима расположены на противоположных вогнутой первой и выпуклой второй периферийных поверхностях 114, 116 зацепления, соответственно, следует понимать, что любой риск заклинивания или обдирки передней части 42 зацепления зажима может быть минимизирован, и величина силы FR раскрепления, требуемой для вращения винтового элемента 104 во втором винтовом направлении DS2 и обеспечения раскрепления инструментального соединения 20, может быть относительно малой.
Как показано на фиг. 13а и 13b, в раскрепленном состоянии инструментального соединения 20, передняя часть 42 зацепления зажима может располагаться на расстоянии от первой упорной области 46.
Также, как показано на фиг. 13а и 13b, в раскрепленном состоянии инструментального соединения 20, передняя часть 42 зацепления зажима может располагаться на расстоянии от всей охватываемой зажимной части 30 и находиться на верхней стороне SU от второй плоскости Р2.
Кроме того, как показано на фиг. 13а и 13b, в раскрепленном состоянии инструментального соединения 20, передняя часть 42 зацепления зажима может располагаться на расстоянии от второй упорной области 48.
В некоторых вариантах осуществления настоящего изобретения, в раскрепленном состоянии инструментального соединения 20, первый компонент 22 может быть удаляемым со скольжением от второго компонента 24 вдоль продольной оси A1.
При последующем повторном скреплении инструментального соединения 20, следует понимать, что приложение действующей силы FA к упорной поверхности 110 зажима может вызвать поворот зажима 26 во втором направлении DW2 поворота вокруг оси А5 поворота.
Как показано на фиг. 10b и 13b, второе направление DW2 поворота может быть противоположным первому направлению DW1 поворота вокруг оси А5 поворота.
Хотя настоящее изобретение было описано с некоторой степенью конкретности, следует понимать, что могут быть выполнены различные изменения и модификации, не выходящие за рамки сущности и объема изобретения, как заявлено далее.
Группа изобретений относится к инструментальному соединению для использования в процессах резки металла и для выполнения операций токарной обработки. Инструментальное соединение проходит вдоль продольной оси и имеет первый компонент, второй компонент и зажим для скрепления первого компонента со вторым компонентом. Первый компонент имеет охватываемую зажимную часть, второй компонент имеет охватывающую зажимную часть, и зажим расположен во внутренней полости второго компонента. Охватываемая зажимная часть имеет первую упорную область, расположенную аксиально сзади от первой плоскости, перпендикулярной к продольной оси, внутренняя полость имеет вторую упорную область, расположенную аксиально впереди от первой плоскости, и первая и вторая упорные области обращены к первой плоскости. В скрепленном состоянии первая область зацепления зажима образует зажимной контакт с первой упорной областью охватываемой зажимной части и вторая область зацепления зажима образует зажимной контакт со второй упорной областью внутренней полости. Обеспечивается инструментальное соединение, имеющее высокопрочную и устойчивую зажимную конфигурацию. 2 н. и 27 з.п. ф-лы, 15 ил.
1. Инструментальное соединение (20), проходящее в направлении (DF, DR) вперед-назад вдоль продольной оси (А1) и имеющее первую плоскость (Р1), перпендикулярную продольной оси (А1), и вторую плоскость (Р2), содержащую продольную ось (А1) и поперечную первой плоскости (Р1), причем вторая плоскость (Р2) имеет верхнюю сторону (SU), определяющую направление вверх (DU) инструментального соединения (20), и нижнюю сторону (SL), которая противоположна верхней стороне (SU) и определяет направление вниз (DD) инструментального соединения (20), при этом инструментальное соединение (20) содержит:
первый компонент (22), второй компонент (24) и зажим (26) для скрепления первого компонента (22) со вторым компонентом (24),
причем первый компонент (22) имеет первую корпусную часть (28) и охватываемую зажимную часть (30), проходящую от заднего сопрягаемого торца (32) первой корпусной части (28) в направлении назад (DR),
второй компонент (24) имеет вторую корпусную часть (34), охватывающую зажимную часть (36) и внутреннюю полость (38), причем охватывающая зажимная часть (36) открыта к переднему сопрягаемому торцу (40) второй корпусной части (34) и внутренняя полость (38) сообщается с охватывающей зажимной частью (36), а
зажим (26) расположен во внутренней полости (38) и имеет переднюю часть (42) зацепления зажима и заднюю приводную часть (44) зажима, причем передняя часть (42) зацепления зажима имеет первую область (62) зацепления зажима и вторую область (64) зацепления зажима,
при этом:
охватываемая зажимная часть (30) занимает охватывающую зажимную часть (36) и имеет первую упорную область (46), расположенную аксиально сзади от первой плоскости (Р1);
внутренняя полость (38) имеет вторую упорную область (48), расположенную аксиально впереди от первой плоскости (Р1), причем вторая упорная область (48) расположена на верхней стороне (SU) от второй плоскости (Р2);
каждая из первой и второй упорных областей (46, 48) обращена к первой плоскости (Р1); и
в скрепленном состоянии инструментального соединения (20):
задняя сопрягаемая поверхность (58) заднего сопрягаемого торца (32) образует зажимной контакт с передней сопрягаемой поверхностью (60) переднего сопрягаемого торца (40);
первая область (62) зацепления зажима образует зажимной контакт с первой упорной областью (46) охватываемой зажимной части; а
вторая область (64) зацепления зажима образует зажимной контакт со второй упорной областью (48) внутренней полости.
2. Инструментальное соединение (20) по п. 1, в котором:
второй компонент (24) включает в себя канал (96) под винт с осью (A3) канала, поперечной второй плоскости (Р2),
винтовой элемент (104), имеющий ось (А4) винта, соосную с осью (A3) канала, входит в резьбовое зацепление в канале (96) под винт и
вращение винтового элемента (104) в первом винтовом направлении (DS1) вокруг оси (А4) винта приводит в действие заднюю приводную часть (44) зажима, чтобы содействовать скреплению инструментального соединения (20).
3. Инструментальное соединение (20) по п. 2, в котором вращение винтового элемента (104) в первом винтовом направлении (DS1) вокруг оси (А4) винта вызывает перемещение винтового элемента (104) вдоль оси (A3) канала в направлении вверх (DU).
4. Инструментальное соединение (20) по п. 2, в котором:
второй компонент (24) имеет противоположные нижнюю и верхнюю периферийные поверхности (98, 100) и
канал (96) под винт открыт к нижней периферийной поверхности (98) в нижнем отверстии (102) канала.
5. Инструментальное соединение (20) по п. 4, в котором нижняя периферийная поверхность (98) и вторая упорная область (48) расположены на противоположных сторонах от второй плоскости (Р2).
6. Инструментальное соединение (20) по п. 4, в котором:
ось (A3) канала пересекает верхнюю периферийную поверхность (100) и нижнее отверстие (102) канала для определения высоты (НВ) корпуса,
нижнее отверстие (102) канала имеет точку (NB) центра канала, расположенную на первом продольном расстоянии (DL) от задней сопрягаемой поверхности (58), и
первое продольное расстояние (DL) меньше, чем удвоенная высота (НВ) корпуса.
7. Инструментальное соединение (20) по п. 1, в котором:
поперечная ось (А2) определяется пересечением первой и второй плоскостей (P1, Р2) и
первая и вторая упорные области (46, 48) проходят вдоль направления поперечной оси (А2).
8. Инструментальное соединение (20) по п. 7, в котором:
второй компонент (24) имеет противоположные первую и вторую периферийные боковые поверхности (82а, 82b),
поперечная ось (А2) пересекает первую и вторую периферийные боковые поверхности (82а, 82b) для определения ширины (WB) корпуса,
первая и вторая упорные области (46, 48) имеют первую и вторую поперечные протяженности (EL1, EL2), соответственно, и
по меньшей мере одна из первой и второй поперечных протяженностей (ELI, EL2) больше, чем одна треть ширины (WB) корпуса.
9. Инструментальное соединение (20) по п. 8, в котором каждая из первой и второй поперечных протяженностей (EL1, EL2) больше, чем половина ширины (WB) корпуса.
10. Инструментальное соединение (20) по п. 2, в котором вращение винтового элемента (104) в первом винтовом направлении (DS1) вокруг оси (А4) винта вызывает приложение действующей силы (FA) винтовым элементом (104) к упорной поверхности (110) задней приводной части (44) зажима.
11. Инструментальное соединение (20) по п. 10, в котором в скрепленном состоянии инструментального соединения (20) и на его виде сбоку:
первая упорная область (46) и упорная поверхность (110) расположены соответственно на первом и втором расстояниях (D1, D2) от второй упорной области (48) и
второе расстояние (D2) больше, чем первое расстояние (D1).
12. Инструментальное соединение (20) по п. 11, в котором
второе расстояние (D2) больше, чем удвоенное первое расстояние (D1).
13. Инструментальное соединение (20) по п. 1, в котором:
внутренняя полость (38) имеет третью упорную область (68), расположенную аксиально сзади от первой плоскости (Р1), и
в скрепленном состоянии инструментального соединения (20) третья область (70) зацепления зажима передней части (42) зацепления зажима образует зажимной контакт с третьей упорной областью (68) внутренней полости.
14. Инструментальное соединение (20) по п. 13, в котором третья упорная область (68) внутренней полости расположена аксиально сзади от первой упорной области (46).
15. Инструментальное соединение (20) по п. 2, в котором вращение винтового элемента (104) во втором винтовом направлении (DS2) вокруг оси (А4) винта приводит в действие заднюю приводную часть (44) зажима, чтобы содействовать раскреплению инструментального соединения (20).
16. Инструментальное соединение (20) по п. 15, в котором вращение винтового элемента (104) во втором винтовом направлении (DS2) вокруг оси (А4) винта вызывает приложение силы (FR) раскрепления винтовым элементом (104) к отводному элементу (118) задней приводной части (44) зажима.
17. Инструментальное соединение (20) по п. 15, в котором в раскрепленном состоянии инструментального соединения (20)
передняя часть (42) зацепления зажима расположена на расстоянии от всей охватываемой зажимной части (30) и находится на верхней стороне (SU) от второй плоскости (Р2).
18. Инструментальное соединение (20) по п. 15, в котором в раскрепленном состоянии инструментального соединения (20)
первый компонент (22) выполнен удаляемым со скольжением от второго компонента (24) вдоль продольной оси (А1).
19. Инструментальное соединение (20) по п. 1, в котором зажим (26) имеет ось (А5) поворота, вокруг которой зажим (26) имеет возможность поворота.
20. Инструментальное соединение (20) по п. 19, в котором:
первая и вторая области (62, 64) зацепления зажима расположены на противоположных первой и второй периферийных поверхностях (114, 116) зацепления, соответственно, передней части (42) зацепления зажима и
на виде сбоку зажима (26) первая периферийная поверхность (114) зацепления является вогнутой наружу, а вторая периферийная поверхность (116) зацепления является выпуклой наружу.
21. Инструментальное соединение (20) по п. 20, в котором на виде сбоку зажима (26):
воображаемая первая окружность (С1), имеющая первый диаметр (DA1) и первый центр (NC1), ограничивает зажим (26),
ось (А5) поворота расположена в воображаемой второй окружности (С2), имеющей второй диаметр (DA2) и второй центр (NC2),
второй центр (NC2) совпадает с первым центром (NC1) и
второй диаметр (DA2) меньше, чем одна четверть первого диаметра (DA1).
22. Инструментальное соединение (20) по п. 21, в котором на виде сбоку зажима (26):
кратчайшее расстояние между второй областью (64) зацепления зажима второй периферийной поверхности (116) зацепления и первой периферийной поверхностью (114) зацепления определяет толщину (ТЕ) части зацепления и
толщина (ТЕ) части зацепления больше чем двадцать процентов от первого диаметра (DA1).
23. Инструментальное соединение (20) по п. 20, в котором на виде сбоку зажима (26):
ось (А5) поворота расположена снаружи зажима (26) и
вогнутая первая периферийная поверхность (114) зацепления обращена к оси (А5) поворота.
24. Инструментальное соединение (20) по п. 19, в котором ось (А5) поворота является поперечной продольной оси (А1) и по существу параллельна второй плоскости (Р2).
25. Инструментальное соединение (20), проходящее в направлении (DF, DR) вперед-назад вдоль продольной оси (А1) и содержащее:
передний компонент (22), имеющий первую корпусную часть (28) и охватываемую зажимную часть (30), проходящую от заднего сопрягаемого торца (32) первой корпусной части (28) в направлении назад (DR), причем охватываемая соединительная часть (30) содержит охватываемый крюк (31), выступающий в направлении назад (DR);
задний компонент (24), имеющий вторую корпусную часть (34), охватывающую зажимную часть (36) и внутреннюю полость (38), причем охватывающая зажимная часть (36) открыта к переднему сопрягаемому торцу (40) второй корпусной части (34) и внутренняя полость (38) сообщается с охватывающей зажимной частью (36); и
зажим (26), расположенный во внутренней полости (38), причем зажим (26) имеет переднюю часть (42) зацепления зажима и заднюю приводную часть (44) зажима, причем передняя часть (42) зацепления зажима содержит зажимной крюк (43), который выступает в направлении вперед (DF);
при этом:
охватываемая зажимная часть (30) занимает охватывающую зажимную часть (36); и
при приведении в действие винтового элемента (104), функционально входящего в зацепление с задней приводной частью (44) зажима, инструментальное соединение (20) может регулироваться между:
скрепленным состоянием, в котором
зажимной крюк (43) входит в зацепление с охватываемым крюком (31) и
задняя сопрягаемая поверхность (58) заднего сопрягаемого торца (32) образует зажимной контакт с передней сопрягаемой поверхностью (60) переднего сопрягаемого торца (40); и
раскрепленным состоянием, в котором
зажимной крюк (43) выходит из зацепления с охватываемым крюком (31).
26. Инструментальное соединение (20) по п. 25, в котором
приведение в действие винтового элемента (104) вокруг оси (А4) винта приводит к повороту зажима (26) вокруг оси (А5) поворота, причем ось (А5) поворота перпендикулярна продольной оси (А1).
27. Инструментальное соединение (20) по п. 25, в котором:
инструментальное соединение (20) имеет первую плоскость (Р1), перпендикулярную продольной оси (А1), и вторую плоскость (Р2), содержащую продольную ось (А1) и поперечную первой плоскости (Р1), причем вторая плоскость (Р2) имеет верхнюю сторону (SU), определяющую направление вверх (DU) инструментального соединения (20), и нижнюю сторону (SL), которая противоположна верхней стороне (SU) и определяет направление вниз (DD) инструментального соединения (20);
передняя часть (42) зацепления зажима имеет первую область (62) зацепления зажима и вторую область (64) зацепления зажима;
охватываемая зажимная часть (30) имеет первую упорную область (46), расположенную аксиально сзади от первой плоскости (P1);
внутренняя полость (38) имеет вторую упорную область (48), расположенную аксиально впереди от первой плоскости (Р1), причем вторая упорная область (48) расположена на верхней стороне (SU) от второй плоскости (Р2);
каждая из первой и второй упорных областей (46, 48) обращена к первой плоскости (Р1); и
в скрепленном состоянии инструментального соединения (20):
первая область (62) зацепления зажима образует зажимной контакт с первой упорной областью (46) охватываемой зажимной части, а
вторая область (64) зацепления зажима образует зажимной контакт со второй упорной областью (48) внутренней полости.
28. Инструментальное соединение (20) по п. 25, в котором:
приведение в действие винтового элемента (104) вокруг оси (А4) винта приводит к повороту зажима (26) вокруг оси (А5) поворота, поперечной продольной оси (А1), и
ось (А5) поворота является не фиксированной относительно заднего компонента (24).
29. Инструментальное соединение (20) по п. 28, в котором
при скреплении и раскреплении инструментального соединения (20) ось (А5) поворота поступательно перемещается относительно заднего компонента (24).
| БЫСТРОСМЕННЫЙ РЕЗЦЕДЕРЖАТЕЛЬ С РЕГУЛИРОВОЧНЫМ МЕХАНИЗМОМ | 1995 |
|
RU2097169C1 |
| Резцедержатель быстросменный | 1983 |
|
SU1154057A1 |
| US 5040932 A1, 20.08.1991 | |||
| EP 3292931 A1, 14.03.2018 | |||
| US 6270293 B1, 07.08.2001. | |||
Авторы
Даты
2025-03-25—Публикация
2021-09-30—Подача