Настоящее изобретение испрашивает приоритет заявки на китайский патент, поданной в китайское патентное бюро 3 апреля 2024 года, заявка №CN 202410403093.6, с названием изобретения «Устройство для фиксации бутылок», все содержание которой включено в настоящее изобретение посредством ссылки.
Область техники
Настоящее изобретение относится к технической области этикетировочных машин, в частности к устройству для фиксации бутылок.
Уровень техники
В настоящее время некоторые покупатели требуют этикетку на весь корпус упаковочной бутылки в целом, высота этикетки, используемой в этикетке на весь корпус, равна расстоянию между горлышком упаковочной бутылки и дном бутылки, при наклеивании этикетки термоклей сначала распыляется на корпус упаковочной бутылки, после распыления упаковочная бутылка продолжает поддерживать свое собственное вращение, продвигаясь к позиции станции этикетирования, корпус бутылки в положении распыления сначала со станции этикетирования в передней стороне этикетки прикреплены, а затем, когда бутылка вращается, этикетка обертывается и наклеивается вокруг бутылки, в процессе обертывания и наклеивания станция этикетирования одновременно наносит клей кисточкой на обратную сторону этикетки, так что после обертывания и наклеивания лицевая сторона этикетки и бутылка плотно прилегают друг к другу, обратная сторона этикетки накладывается и приклеивается к лицевой стороне этикетки, и в итоге этикетка образует плотную часть корпуса бутылки, а внешняя часть горлышка бутылки имеет форму бумажной трубки; после наклеивания этикетки бутылка продолжает вращаться и катится вперед по щетке, под действием щетки этикетка на внешней стороне горлышка бутылки деформируется и прилегает к горлышку бутылки, общий эффект показан на фиг.8, таким образом завершая процесс наклеивания этикетки на весь корпус; однако в процессе этикетирования выяснилось, что из-за тонкого горлышка бутылки этикетка на внешней стороне горлышка находится в подвешенном состоянии, что приводит к плохой адгезии между лицевой и обратной сторонами этикетки, что в свою очередь приводит к последующему моделированию этикетки с помощью щетки для раскрытия клея, что влияет на эффект моделирования.
Сущность изобретения
В ответ на вышеуказанные проблемы варианты осуществления настоящего изобретения предлагают устройство для фиксации бутылок.
В вариантах осуществления настоящего изобретения предусмотрено устройство для фиксации бутылок, которое включает в себя карусель для прижима бутылок, которая оснащена механизмом прижима бутылок, расположенным с определенными интервалами, механизм прижима бутылок состоит из внешнего блока прижима бутылок и внутреннего блока прижима бутылок, причем внешний блок прижима бутылок состоит из внешней приводной части и внешней прижимной головки, внутренний блок прижима бутылок состоит из внутренней приводной части и внутренней прижимной головки, причем внутренняя прижимная головка приспособлена к горлышку упакованной бутылки, внешняя прижимная головка имеет форму цилиндра, ее диаметр приспособлен к корпусу упакованной бутылки, внутренняя прижимная головка помещается внутрь внешней прижимной головки, а зазор между ними совпадает; в процессе синхронного вращения упакованной бутылки и карусели для прижима бутылок, внутренняя приводная часть управляет внутренней прижимной головкой вниз с давлением горлышка упакованной бутылки, внешняя приводная часть управляет внешней прижимной головкой вниз с верхней частью корпуса упакованной бутылки против плотного, а затем в процессе этикетирования внешняя этикетка на горлышке упакованной бутылки поддерживается внешней прижимной головкой, что обеспечивает ее надежное крепление.
Во время вращения карусели для прижима бутылок внешняя приводная часть периодически перемещает внешнюю прижимную головку вверх и вниз, а внутренняя приводная часть периодически перемещает внутреннюю прижимную головку вверх и вниз, чтобы завершить процесс: упакованная бутылка из положения входа в бутылку в нижней части карусели для прижима бутылок, внутренняя прижимная головка прижимается вниз горлышком упакованной бутылки, перед перемещением упакованной бутылки на позицию станции этикетирования внешняя прижимная головка перемещается вниз и устанавливается на периферии горлышка бутылки соосно с дном, контактирующим с верхней частью бутылки, внешняя прижимная головка перемещается вверх для сброса после завершения этикетирования всего корпуса, и, наконец, внутренняя прижимная головка перемещается вверх для сброса перед отправкой упакованной бутылки с положения выхода из бутылки.
По сравнению с существующей технологией, положительный эффект настоящего изобретения заключается в том, что: с помощью внешней прижимной головкой достигает в процессе этикетирования на горлышке бутылки внешней части опоры этикетки, так что нахлесточные соединения прочно скрепляются, чтобы обеспечить последующий эффект моделирования.
Альтернативно, над каруселью для прижима бутылок установлен кулачковый диск, карусель для прижима бутылок соосна с кулачковым диском и может вращаться относительно кулачкового диска, внешняя приводная часть включает в себя внешний кулачок и внешнюю кулачковую колею, расположенную на нижней поверхности кулачкового диска, внешняя кулачковая колея концентрична с кулачковым диском, внешний кулачок контактирует с внешней кулачковой колеей и соединен с внешней прижимной головкой с помощью привода, и во время вращения карусели для прижима бутылок относительно кулачкового диска внешний кулачок заставляет внешнюю прижимную головку периодически перемещаться вверх и вниз под действием внешней кулачковой колеи.
Альтернативно, внутренняя приводная часть включает в себя внутренний кулачок и внутреннюю кулачковую колею, расположенную на нижней поверхности кулачкового диска, внутренняя кулачковая колея концентрична с кулачковым диском, внутренний кулачок контактирует с внутренней кулачковой колеей и соединен с внутренней прижимной головкой с помощью привода, и во время вращения карусели для прижима бутылок относительно кулачкового диска внутренний кулачок заставляет внутреннюю прижимную головку периодически перемещаться вверх и вниз под действием внутренней кулачковой колеи.
Альтернативно, внутренняя приводная часть также включает в себя внутренний скользящий рычаг, который вертикально перемещается через карусель для прижима бутылок, внутреннюю прижимную головку, вращающуюся на нижнем конце внутреннего скользящего рычага, карусель для прижима бутылок расположена на одной стороне внутреннего скользящего рычага с модулем внутреннего привода, внутренний кулачок установлен на модуле внутреннего привода, и внутренний кулачок оказывает давление вниз и усилие сброса вверх на внутренний скользящий рычаг через модуль внутреннего привода во время процесса качения внутреннего кулачка по внутренней кулачковой колее.
Альтернативно, внешняя приводная часть также включает в себя соединительную муфту, соосно скользящую вверх и вниз по внутреннему скользящему рычагу, внешняя прижимная головка соосно и вращательно расположена на периферии соединительной муфты, соединительная муфта вертикально снабжена внешним скользящим рычагом, и внешний скользящий рычаг скользит вверх через карусель для прижима бутылок, карусель для прижима бутылок расположена на одной стороне внешнего скользящего рычага с модулем внешнего привода, внешний кулачок установлен на модуле внешнего привода, и внешний кулачок оказывает давление вниз и усилие сброса вверх на внешний скользящий рычаг через модуль внешнего привода во время процесса качения внешнего кулачка по внешней кулачковой колее.
Альтернативно, модуль внутреннего привода имеет ту же структуру, что и модуль внешнего привода, включая неподвижную колонну, закрепленную вертикально на карусели для прижима бутылок, скользящее седло, установленное на неподвижной колонне, пружину сброса, установленную между скользящим седлом и неподвижной колонной, и пружину сброса, используемую для обеспечения усилия сброса.
Альтернативно, скользящее седло имеет U-образную форму, две стороны скользящего седла и неподвижная колонна устанавливаются скользящим образом, неподвижная колонна и расположенная между двумя сторонами скользящего седла фиксируются стопорными болтами, а пружина сброса соединяется между запорными болтами и скользящим седлом.
Краткое описание чертежей
Сопроводительные чертежи, показанные в настоящем документе, используются для обеспечения дальнейшего понимания настоящего изобретения, являются частью настоящей заявки и не являются ограничением изобретения. На сопроводительных чертежах:
На фиг. 1 представлена схема общей конструкции устройства для фиксации бутылок в соответствии с вариантами осуществления настоящего изобретения;
На фиг. 2 представлена схема конструкции установки между кулачковым диском и каруселью для прижима бутылок в соответствии с вариантами осуществления настоящего изобретения;
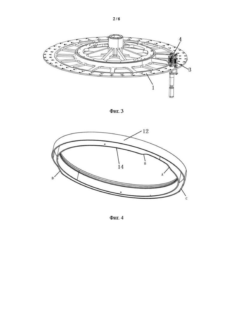
На фиг. 3 представлена схема конструкции карусели для прижима бутылок в соответствии с вариантами осуществления настоящего изобретения;
На фиг. 4 представлена схема конструкции кулачкового диска в соответствии с вариантами осуществления настоящего изобретения;
На фиг. 5 представлена схема конструкции установки механизма прижима бутылок в соответствии с вариантами осуществления настоящего изобретения;
На фиг. 6 представлена схема конструкции механизма прижима бутылок в соответствии с вариантами осуществления настоящего изобретения;
На фиг. 7 представлена схема конструкции частичного разреза внутренней прижимной головки и внешней прижимной головки в соответствии с вариантами осуществления настоящего изобретения;
На фиг. 8 представлена схема эффекта упаковочной бутылки после наклеивания этикетки на весь корпус в соответствии с вариантами осуществления настоящего изобретения.
В том числе, карусель для прижима бутылок 1, механизм прижима бутылок 2, внешний блок прижима бутылок 3, внутренний блок прижима бутылок 4, внешняя приводная часть 5, внешняя прижимная головка 6, внутренняя приводная часть 7, внутренняя прижимная головка 8, упакованная бутылка 9, кулачковый диск 10, внешний кулачок 11, внешняя кулачковая колея 12, внутренний кулачок 13, внутренняя кулачковая колея 14, внутренний скользящий рычаг 15, соединительная муфта 16, внешний скользящий рычаг 17, соединительный рычаг 18, неподвижная колонна 19, скользящее седло 20, пружина сброса 21, запорный болт 22.
Вариант осуществления изобретения
Для того чтобы сделать объекты, технические решения и преимущества настоящего изобретения более ясными и понятными, настоящее изобретение подробнее описывается ниже в сочетании с вариантами осуществления и сопроводительными чертежами. Схематические варианты осуществления изобретения и их описание используются в настоящем документе для пояснения изобретения, но не являются ограничением изобретения.
Ссылаясь на фиг. 1 - фиг. 7, в вариантах осуществления настоящего изобретения предусмотрено устройство для фиксации бутылок, которое включает в себя карусель для прижима бутылок 1, которая оснащена механизмом прижима бутылок 2, расположенным с определенными интервалами, механизм прижима бутылок 2 состоит из внешнего блока прижима бутылок 3 и внутреннего блока прижима бутылок 4, причем внешний блок прижима бутылок 3 состоит из внешней приводной части 5 и внешней прижимной головки 6, внутренний блок прижима бутылок 4 состоит из внутренней приводной части 7 и внутренней прижимной головки 8, причем внутренняя прижимная головка 8 приспособлена к горлышку упакованной бутылки 9, внешняя прижимная головка 6 имеет форму цилиндра, ее диаметр приспособлен к корпусу упакованной бутылки 9, внутренняя прижимная головка 8 помещается внутрь внешней прижимной головки 6, а зазор между ними совпадает; в процессе синхронного вращения упакованной бутылки 9 и карусели для прижима бутылок 1, внутренняя приводная часть 7 управляет внутренней прижимной головкой 8 вниз с давлением горлышка упакованной бутылки 9, внешняя приводная часть 5 управляет внешней прижимной головкой 6 вниз с верхней частью корпуса упакованной бутылки 9 против плотного, а затем в процессе этикетирования внешняя этикетка на горлышке упакованной бутылки 9 поддерживается внешней прижимной головкой 6, что обеспечивает ее надежное крепление.
Во время вращения карусели для прижима бутылок 1 внешняя приводная часть 5 периодически перемещает внешнюю прижимную головку 6 вверх и вниз, а внутренняя приводная часть 7 периодически перемещает внутреннюю прижимную головку 8 вверх и вниз, чтобы завершить процесс: упакованная бутылка 9 из положения входа в бутылку в нижней части карусели для прижима бутылок 1, внутренняя прижимная головка 8 прижимается вниз горлышком упакованной бутылки 9, перед перемещением упакованной бутылки 9 на позицию станции этикетирования внешняя прижимная головка 6 перемещается вниз и устанавливается на периферии горлышка бутылки соосно с дном, контактирующим с верхней частью бутылки, внешняя прижимная головка 6 перемещается вверх для сброса после завершения этикетирования всего корпуса, и, наконец, внутренняя прижимная головка 8 перемещается вверх для сброса перед отправкой упакованной бутылки 9 с положения выхода из бутылки.
В варианте осуществления подача и выгрузка бутылок из устройства для фиксации бутылок осуществляется с помощью звездчатых колес для подачи и выгрузки бутылок на центральной направляющей пластине, под каждым механизмом прижима бутылок 2 будет установлен механизм поддержки бутылок, который будет следовать за каруселью для прижима бутылок 1 синхронного вращения, каждая упаковочная бутылка 9 будет подаваться в механизм поддержки бутылок с помощью звездчатого колеса для подачи бутылок, центральная направляющая пластина, звездчатое колесо для подачи бутылок, звездчатое колесо для выгрузки бутылок и механизм поддержки бутылок - все это существующее оборудование, их специфическая структура не будет повторяться.
В варианте осуществления над каруселью для прижима бутылок 1 установлен кулачковый диск 10, карусель для прижима бутылок 1 соосна с кулачковым диском 10 и может вращаться относительно кулачкового диска 10, внешняя приводная часть 5 включает в себя внешний кулачок 11 и внешнюю кулачковую колею 12, расположенную на нижней поверхности кулачкового диска 10, внешняя кулачковая колея 12 концентрична с кулачковым диском 10, внешний кулачок 11 контактирует с внешней кулачковой колеей 12 и соединен с внешней прижимной головкой 6 с помощью привода, и во время вращения карусели для прижима бутылок 1 относительно кулачкового диска 10 внешний кулачок 11 заставляет внешнюю прижимную головку 6 периодически перемещаться вверх и вниз под действием внешней кулачковой колеи 12.
В варианте осуществления внутренняя приводная часть 7 включает в себя внутренний кулачок 13 и внутреннюю кулачковую колею 14, расположенную на нижней поверхности кулачкового диска 10, внутренняя кулачковая колея 14 концентрична с кулачковым диском 10, внутренний кулачок 13 контактирует с внутренней кулачковой колеей 14 и соединен с внутренней прижимной головкой 8 с помощью привода, и во время вращения карусели для прижима бутылок 1 относительно кулачкового диска 10 внутренний кулачок 13 заставляет внутреннюю прижимную головку 8 периодически перемещаться вверх и вниз под действием внутренней кулачковой колеи 14.
Внешняя кулачковая колея 11 и внутренняя кулачковая колея 14 имеют направленный вверх участок с разрывом, отличающийся тем, что участок с разрывом внутренней кулачковой колеи 14 короче участка с разрывом внешней кулачковой колеи 11, и что участок с разрывом внутренней кулачковой колеи 14 начинается сзади и заканчивается спереди вдоль направления вращения карусели для прижима бутылок 1; в конкретном случае, см. фиг.4, внутренняя кулачковая колея 14 между А-В направленным вверх участком с разрывом и центральной направляющей пластиной напротив, в процессе этикетирования упаковочная бутылка 9 подается в карусель для прижима бутылок 1 с помощью звездчатого колеса для подачи бутылок и вращается вместе с каруселью для прижима бутылок 1 относительно кулачкового диска 10, и во время вращения внутренний кулачок 13 сначала попадает в точку А, после чего внутренняя кулачковая колея 14 начинает давить на внутренний кулачок 13, и внутренний кулачок 13 приводит внутреннюю прижимную головку 8 в движение вниз для давления на горлышко упаковочной бутылки 9, и упаковочная бутылка 9 продолжает вращаться вместе с каруселью для прижима бутылок 1; когда внешний кулачок 11 перемещается в положение точки С внешней кулачковой колеи 12, внешняя кулачковая колея 12 начинает давить на внешний кулачок 11, и внешний кулачок 11 приводит внешнюю прижимную головку 6 в движение вниз, чтобы прижать ее к верхней части бутылки; внутренняя и внешняя прижимная головка плотно прижимаются после того, как упаковочная бутылка 9 начали входить в зону станции этикетирования для этикетирования, процесс этикетирования благодаря поддержке внешней прижимной головки 6, чтобы сделать обратную сторону и лицевую сторону этикетки перекрытия прочно наклеены, этикетка на весь корпус завершена, когда внешний кулачок 11 перемещается в положение точки D внешней кулачковой колеи 12, внешний кулачок 11 начинает двигаться вверх, приводя внешнюю прижимную головку 6 в исходное положение, а затем, когда внутренний кулачок 13 перемещается в положение точки В внутренней кулачковой колеи 14, внутренний кулачок 13 начинает двигаться вверх, приводя внутреннюю прижимную головку 8 в исходное положение, и упаковочная бутылка 9 с готовой этикеткой отправляется звездчатым колесом для выгрузки бутылок в центральной направляющей пластине.
В варианте осуществления внутренняя приводная часть 7 также включает в себя внутренний скользящий рычаг 15, который вертикально перемещается через карусель для прижима бутылок 1, внутреннюю прижимную головку 8, вращающуюся на нижнем конце внутреннего скользящего рычага 15, карусель для прижима бутылок 1 расположена на одной стороне внутреннего скользящего рычага 15 с модулем внутреннего привода, внутренний кулачок 13 установлен на модуле внутреннего привода, и внутренний кулачок 13 оказывает давление вниз и усилие сброса вверх на внутренний скользящий рычаг 15 через модуль внутреннего привода во время процесса качения внутреннего кулачка по внутренней кулачковой колее 14.
Внешняя приводная часть 5 также включает в себя соединительную муфту 16, соосно скользящую вверх и вниз по внутреннему скользящему рычагу 15, внешняя прижимная головка 6 соосно и вращательно расположена на периферии соединительной муфты 16, соединительная муфта 16 вертикально снабжена внешним скользящим рычагом 17, в частности, внешний скользящий рычаг 17 может быть зафиксирован соединительным рычагом 18, расположенным горизонтально на соединительной муфте 16, и внешний скользящий рычаг 17 скользит вверх через карусель для прижима бутылок 1, карусель для прижима бутылок 1 расположена на одной стороне внешнего скользящего рычага 17 с модулем внешнего привода, внешний кулачок 11 установлен на модуле внешнего привода, и внешний кулачок 11 оказывает давление вниз и усилие сброса вверх на внешний скользящий рычаг 17 через модуль внешнего привода во время процесса качения внешнего кулачка по внешней кулачковой колее 12.
Модуль внутреннего привода имеет ту же структуру, что и модуль внешнего привода, включая неподвижную колонну 19, закрепленную вертикально на карусели для прижима бутылок 1, скользящее седло 20, установленное на неподвижной колонне 19, пружину сброса 21, установленную между скользящим седлом 20 и неподвижной колонной 19, и пружину сброса 21, используемую для обеспечения усилия сброса.
Скользящее седло 20 имеет U-образную форму, две стороны скользящего седла 20 и неподвижная колонна 19 устанавливаются скользящим образом, неподвижная колонна 19 и расположенная между двумя сторонами скользящего седла 20 фиксируются стопорными болтами 22, а пружина сброса 21 соединяется между запорными болтами 22 и скользящим седлом 20.
В частности, внутренний кулачок 13 и внешний кулачок 11 закреплены на стороне соответствующего скользящего седла 20, внутренний скользящий рычаг 15 и внешний скользящий рычаг 17 закреплены на соответствующем скользящем седле 20, а два конца пружины сброса 21 соответственно соединены с запорным болтом 22 и верхней стороной скользящего седла 20, под действием внутреннего кулачка 13 или внешнего кулачка 11 скользящее седло 20 перемещается вниз, приводя в движение соответствующий внутренний скользящий рычаг 15 или внешний скользящий рычаг 17, во время этого процесса пружина сброса 21 сжимается, и когда внутренний кулачок 13 и внешний кулачок 11 перемещаются к участку с разрывом в внутренней кулачковой колее 14 и внешней кулачковой колее 12, соответственно, пружина сброса 21 создает усилие сброса для приведения в исходное положение соответствующей внутренней прижимной головки 8 и внешней прижимной головки 6.
Вышеописанное является лишь предпочтительным вариантом осуществления настоящего изобретения и не ограничивает объем охраны настоящего изобретения. Любые модификации, эквивалентные замены, усовершенствования и т.д., выполненные в соответствии с духом и принципами настоящего изобретения, включены в объем охраны настоящего изобретения.
| название | год | авторы | номер документа |
|---|---|---|---|
| МАШИНА ДЛЯ НАКЛЕИВАНИЯ АКЦИЗНОЙ МАРКИ НА ГОРЛЫШКО УКУПОРЕННОЙ БУТЫЛКИ | 1997 |
|
RU2121454C1 |
| УСТАНОВКА ДЛЯ РОЗЛИВА ЖИДКОСТЕЙ В ТАРУ | 1968 |
|
SU208513A1 |
| ЭТИКЕТИРОВОЧНАЯ МАШИНА ДЛЯ АКЦИЗНОЙ МАРКИ | 1997 |
|
RU2115601C1 |
| МАШИНА ДЛЯ ЭТИКЕТИРОВАНИЯ БУТЫЛОК АКЦИЗНЫМИ МАРКАМИ | 1998 |
|
RU2119879C1 |
| КОНВЕЙЕРНАЯ УСТАНОВКА ДЛЯ КОНТЕЙНЕРОВ | 2016 |
|
RU2721634C2 |
| ПОЛУАВТОМАТ ДЛЯ МОЙКИ БУТЫЛОК И НОСИТЕЛЬ БУТЫЛОК ДЛЯ НЕГО | 2001 |
|
RU2202510C1 |
| Автомат для изготовления алюминиевых колпачков, вставки в них прокладок и укупорки бутылок | 1958 |
|
SU121044A1 |
| ЛИТЕЙНАЯ ФОРМА ДЛЯ ПЛАСТИКОВОЙ ЗАГОТОВКИ | 2014 |
|
RU2640537C2 |
| Автомат для дозирования, налива и укупорки газированных напитков в бутылках | 1960 |
|
SU137409A1 |
| АППАРАТ ДЛЯ РОЗЛИВА И УКУПОРКИ НАПИТКОВ В БУТЫЛКИ | 2004 |
|
RU2266861C2 |
Изобретение относится к технической области этикетировочных машин, в частности к устройству для фиксации бутылок. Устройство для фиксации бутылок содержит карусель для прижима бутылок, которая оснащена механизмом прижима бутылок, расположенным с определенными интервалами. Механизм прижима бутылок состоит из внешнего блока прижима бутылок и внутреннего блока прижима бутылок. Внешний блок прижима бутылок состоит из внешней приводной части и внешней прижимной головки. Внутренний блок прижима бутылок состоит из внутренней приводной части и внутренней прижимной головки, причем внутренняя прижимная головка приспособлена к горлышку упакованной бутылки. Внешняя прижимная головка имеет форму цилиндра, ее диаметр приспособлен к корпусу бутылки, внутренняя прижимная головка помещается внутрь внешней прижимной головки, а зазор между ними совпадает. В процессе синхронного вращения бутылки и карусели для прижима бутылок внутренняя приводная часть управляет внутренней прижимной головкой вниз с давлением горлышка бутылки, внешняя приводная часть управляет внешней прижимной головкой вниз с верхней частью корпуса бутылки против плотного, что обеспечивает надежное крепление этикетки. Технический результат заключается в обеспечении прочного скрепления нахлесточных соединений в процессе этикетирования. 6 з.п. ф-лы, 8 ил.
1. Устройство для фиксации бутылок, включающее в себя карусель для прижима бутылок, которая оснащена механизмом прижима бутылок, расположенным с определенными интервалами, характеризующееся тем, что механизм прижима бутылок состоит из внешнего блока прижима бутылок и внутреннего блока прижима бутылок, причем внешний блок прижима бутылок состоит из внешней приводной части и внешней прижимной головки, внутренний блок прижима бутылок состоит из внутренней приводной части и внутренней прижимной головки, причем внутренняя прижимная головка приспособлена к горлышку упакованной бутылки, внешняя прижимная головка имеет форму цилиндра, ее диаметр приспособлен к корпусу упакованной бутылки, внутренняя прижимная головка помещается внутрь внешней прижимной головки, а зазор между ними совпадает; в процессе синхронного вращения упакованной бутылки и карусели для прижима бутылок внутренняя приводная часть управляет внутренней прижимной головкой вниз с давлением горлышка упакованной бутылки, внешняя приводная часть управляет внешней прижимной головкой вниз с верхней частью корпуса упакованной бутылки против плотного, а затем в процессе этикетирования внешняя этикетка на горлышке упакованной бутылки поддерживается внешней прижимной головкой, что обеспечивает ее надежное крепление;
во время вращения карусели для прижима бутылок внешняя приводная часть периодически перемещает внешнюю прижимную головку вверх и вниз, а внутренняя приводная часть периодически перемещает внутреннюю прижимную головку вверх и вниз, чтобы завершить процесс: упакованная бутылка из положения входа в бутылку в нижней части карусели для прижима бутылок, внутренняя прижимная головка прижимается вниз горлышком упакованной бутылки, перед перемещением упакованной бутылки на позицию станции этикетирования внешняя прижимная головка перемещается вниз и устанавливается на периферии горлышка бутылки соосно с дном, контактирующим с верхней частью бутылки, внешняя прижимная головка перемещается вверх для сброса после завершения этикетирования всего корпуса, и, наконец, внутренняя прижимная головка перемещается вверх для сброса перед отправкой упакованной бутылки с положения выхода из бутылки.
2. Устройство для фиксации бутылок по п. 1, характеризующееся тем, что над каруселью для прижима бутылок установлен кулачковый диск, карусель для прижима бутылок соосна с кулачковым диском и может вращаться относительно кулачкового диска, внешняя приводная часть включает в себя внешний кулачок и внешнюю кулачковую колею, расположенную на нижней поверхности кулачкового диска, внешняя кулачковая колея концентрична с кулачковым диском, внешний кулачок контактирует с внешней кулачковой колеей и соединен с внешней прижимной головкой с помощью привода, и во время вращения карусели для прижима бутылок относительно кулачкового диска внешний кулачок заставляет внешнюю прижимную головку периодически перемещаться вверх и вниз под действием внешней кулачковой колеи.
3. Устройство для фиксации бутылок по п. 2, характеризующееся тем, что внутренняя приводная часть включает в себя внутренний кулачок и внутреннюю кулачковую колею, расположенную на нижней поверхности кулачкового диска, внутренняя кулачковая колея концентрична с кулачковым диском, внутренний кулачок контактирует с внутренней кулачковой колеей и соединен с внутренней прижимной головкой с помощью привода, и во время вращения карусели для прижима бутылок относительно кулачкового диска внутренний кулачок заставляет внутреннюю прижимную головку периодически перемещаться вверх и вниз под действием внутренней кулачковой колеи.
4. Устройство для фиксации бутылок по п. 3, характеризующееся тем, что внутренняя приводная часть также включает в себя внутренний скользящий рычаг, который вертикально перемещается через карусель для прижима бутылок, внутреннюю прижимную головку, вращающуюся на нижнем конце внутреннего скользящего рычага, карусель для прижима бутылок расположена на одной стороне внутреннего скользящего рычага с модулем внутреннего привода, внутренний кулачок установлен на модуле внутреннего привода, и внутренний кулачок оказывает давление вниз и усилие сброса вверх на внутренний скользящий рычаг через модуль внутреннего привода во время процесса качения внутреннего кулачка по внутренней кулачковой колее.
5. Устройство для фиксации бутылок по п. 4, характеризующееся тем, что внешняя приводная часть также включает в себя соединительную муфту, соосно скользящую вверх и вниз по внутреннему скользящему рычагу, внешняя прижимная головка соосно и вращательно расположена на периферии соединительной муфты, соединительная муфта вертикально снабжена внешним скользящим рычагом, и внешний скользящий рычаг скользит вверх через карусель для прижима бутылок, карусель для прижима бутылок расположена на одной стороне внешнего скользящего рычага с модулем внешнего привода, внешний кулачок установлен на модуле внешнего привода, и внешний кулачок оказывает давление вниз и усилие сброса вверх на внешний скользящий рычаг через модуль внешнего привода во время процесса качения внешнего кулачка по внешней кулачковой колее.
6. Устройство для фиксации бутылок по п. 5, характеризующееся тем, что модуль внутреннего привода имеет ту же структуру, что и модуль внешнего привода, включая неподвижную колонну, закрепленную вертикально на карусели для прижима бутылок, скользящее седло, установленное на неподвижной колонне, пружину сброса, установленную между скользящим седлом и неподвижной колонной, и пружину сброса, используемую для обеспечения усилия сброса.
7. Устройство для фиксации бутылок по п. 6, характеризующееся тем, что скользящее седло имеет U-образную форму, две стороны скользящего седла и неподвижная колонна устанавливаются скользящим образом, неподвижная колонна и расположенная между двумя сторонами скользящего седла фиксируются стопорными болтами, а пружина сброса соединяется между запорными болтами и скользящим седлом.
| CN 209321439 U, 30.08.2019 | |||
| CN 113479443 A, 08.10.2021 | |||
| CN 113479444 A, 08.10.2021 | |||
| CN 215362268 U, 31.12.2021. |
Авторы
Даты
2025-03-31—Публикация
2024-04-09—Подача