Изобретение относится к области двигателестроения, и в частности к малоразмерным газотурбинным двигателям с высокоэффективным узлом камеры сгорания двухзонной подачи топлива.
Известна схема (см. книга Томас Кампс (Thomas Kamps). Модели реактивных двигателей (Model Jet Engines) (3rd Edition), стр. 41, 1995 Traplet Publications Ltd [1]) состоит из входного устройства, центробежного компрессора, камеры сгорания с подводом испаренного топлива в первичную зону горения, осевой турбины.
Недостатками такой конструкции являются низкие значения полноты сгорания топлива из-за подвода всего топлива только в первичную зону горения, и как следствие, высокие значения эмиссии.
Известна схема малоразмерного газотурбинного двигателя с двумя зонами горения в камере сгорания (см. Патент №US 8,307,661 В2 Дата: 13.11.2012 г. Small gas turbine engine with multiple burn zones (Малоразмерный газотурбинный двигатель с несколькими зонами горения), Авторы: Mark М. Harris, Wesley D. Brown, Angel M. Garcie [2]). Особенностью схемы является наличие двух зон горения в камере сгорания, жидкое топливо в которые подводится раздельно через вращающееся на валу центробежное колесо, либо через ряд специально расположенных струйных форсунок на наружной и внутренней стенках кольцевой камеры сгорания. Воздух от компрессора служит для охлаждения стенок камеры сгорания, сопловых лопаток и заднего подшипника, и поступает через специально спрофилированные, расположенные под углом отверстия в жаровой трубе в камеру сгорания, формируя рециркуляционные зоны. Использование центробежной силы вала для распыла топлива позволяет существенно снизить размеры и требуемые характеристики топливного насоса, что повышает общий КПД двигателя.
Недостатком схемы является сложность изготовления отверстий для подвода воздуха в жаровой трубе камеры сгорания для формирования рециркуляционных зон горения. Создание охлаждающих каналов в заднем подшипнике значительно усложняет конструкцию и уменьшает его надежность как ключевого элемента при работе двигателя, низкая полнота сгорания топлива и, как следствие, высокие значения эмиссии. Подвод топлива через сопловой аппарат значительно увеличивает пожароопасность двигателя из-за перегрева стенок лопаток соплового аппарата и повышает вероятность воспламенения топливовоздушной смеси вне области камеры сгорания.
Известна схема малоразмерного двигателя, выбранная за прототип (см. Пат. 2805397 РФ СПК F02K 3/00; F23R 3/32; F23R 3/346. Малоразмерный газотурбинный двигатель. Дата: 09.03.2023 г. [3]) Особенностью схемы является двухстадийная подача топлива в испаренном виде в первичную зону и зону догорания. Такой подвод топлива в жаровую трубу обеспечивает оптимальные (а->1,0) для горения состава топливовоздушной смеси как в первичной зоне, так и в зоне догорания, и отсутствие переобогащенных топливом зон, что позволяет полное наиболее быстрое сгорание в пределах зоны горения.
Недостатком прототипа является камера сгорания двигателя, в частности, увеличенная масса испарительных трубок и сложность регулирования подачи жидкого топлива по испарительной трубке в первичную зону и зону догорания. Это ведет к неконтролируемой величине полноты сгорания топлива, неравномерной подаче топлива в зону горения, и перегреву стенок жаровой трубы камеры сгорания, находящихся вблизи.
Целью предлагаемого технического решения является повышение эффективности малоразмерного газотурбинного двигателя применением камеры сгорания с подводом топлива в первичную и вторичную зоны горения через испарительные трубки различной длины.
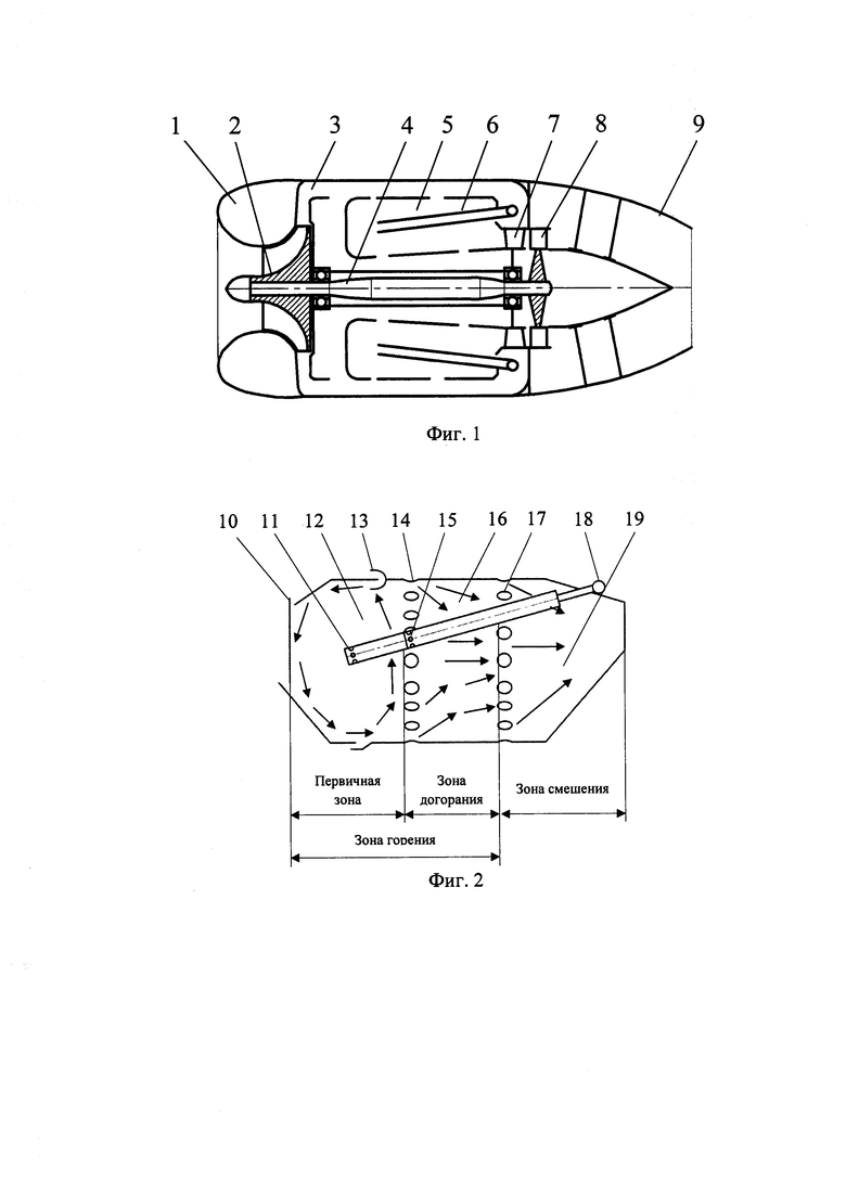
Предлагается конструкция малоразмерного газотурбинного двигателя (МГТД) (фиг. 1), где 1 - входное устройство; 2 - рабочее колесо центробежного компрессора; 3 - диффузорный лопаточный канал центробежного компрессора; 4 - вал; 5 - жаровая труба камеры сгорания; 6 -топливный коллектор с трубками (испарительные); 7 - сопловой аппарат турбины; 8 - рабочее колесо турбины; 9 - выходное реактивное сопло. В традиционном исполнении камеры сгорания МГТД состоят из кожуха, жаровой трубы кольцевого типа, топливного коллектора с испарительными трубками. Топливо в виде испаренной смеси с воздухом подается в головочную часть камеры сгорания. Процесс горения происходит в объеме камеры сгорания, причем наиболее «богатая» топливная смесь находится в головочной части камеры сгорания, что зачастую не является оптимальным. А воздух в камеру сгорания подводится через несколько не менее двух поясов отверстий, расположенных по длине жаровой трубы.
В предлагаемом двигателе (фиг. 2) топливо подается в две стадии через два ряда отверстий 11 и 15, расположенных по окружности топливных трубок разной длины 20 и 21 из топливного коллектора 18. Причем, один ряд отверстий 11 расположен в первичной зоне 12 между головкой камеры сгорания и первым рядом отверстий подвода воздуха 14. Второй ряд отверстий 15 расположен в сечении проходящем через первый пояс отверстий подвода воздуха 14. Воздух от компрессора поступает через петлевую пластину 13, которая придает ему реверсивное направление вдоль внутренней стенки, охлаждая ее от нагрева. Часть воздуха поступает через конфузорные щели 10, расположенные в головной части жаровой трубы камеры сгорания, формируя первичную зону циркуляционного течения, и участвует в образовании топливовоздушной смеси для горения. Несгоревшая часть топлива поступает из первичной зоны 12 в зону догорания 16, куда поступает часть воздуха через отверстия 14 и разбавляет продукты сгорания из первичной зоны, для дальнейшего горения. Через отверстия 17 воздух поступает в зону смешения 19, где смешивается с продуктами сгорания из зоны догорания для формирования поля температуры на выходе из камеры сгорания.
Такой подвод топлива в жаровую трубу обеспечивает оптимальные значения коэффициента избытка а (а->1,0) (отношения расхода воздуха к расходу топлива) для горения состава топливовоздушной смеси как в первичной зоне 12, так и в зоне догорания 16 за первым поясом отверстий, и отсутствие переобогащенных топливом зон, что позволяет осуществить полное наиболее быстрое сгорание в пределах зоны горения.
Отличительной чертой предлагаемого МГТД является исполнение камеры сгорания двухзонной схемы с раздельной подачей топлива и воздуха в первичную зону 12 и в зону догорания 16 через топливоподводящие трубки различной длины 20 и 21 (фиг. 3).
| название | год | авторы | номер документа |
|---|---|---|---|
| Малоразмерный газотурбинный двигатель | 2023 |
|
RU2805397C1 |
| Малоразмерная газотурбинная установка | 2024 |
|
RU2819326C1 |
| КОЛЬЦЕВАЯ МАЛОЭМИССИОННАЯ КАМЕРА СГОРАНИЯ ГАЗОТУРБИННОГО ДВИГАТЕЛЯ | 2012 |
|
RU2515909C2 |
| Прямоточная камера сгорания газотурбинного двигателя | 2015 |
|
RU2626892C2 |
| Кольцевая камера сгорания малоразмерного газотурбинного двигателя | 1990 |
|
SU1793160A1 |
| КАМЕРА СГОРАНИЯ ГАЗОТУРБИННОГО ДВИГАТЕЛЯ | 2009 |
|
RU2414649C2 |
| МАЛОРАЗМЕРНЫЙ ГАЗОТУРБИННЫЙ ДВИГАТЕЛЬ С РЕГЕНЕРАЦИЕЙ ТЕПЛА | 2014 |
|
RU2563079C1 |
| Кольцевая камера сгорания газотурбинного двигателя | 2021 |
|
RU2773783C1 |
| МАЛОЭМИССИОННАЯ КАМЕРА СГОРАНИЯ | 2019 |
|
RU2745174C2 |
| Малоэмиссионная камера сгорания с двумя зонами кинетического горения | 2020 |
|
RU2753202C1 |
Изобретение относится к области двигателестроения и, в частности, к малоразмерным газотурбинным двигателям с высокими показателями эффективности. Малоразмерный двигатель состоит из входного устройства, центробежного компрессора, испарительной камеры сгорания с двухзонной подачей топлива, турбины, реактивного сопла, систем топливопитания, охлаждения и смазки. В двигателе высоконапорный воздух от компрессора подводится для охлаждения стенок жаровой трубы камеры сгорания, далее, нагреваясь за счет отвода тепла от стенок, попадает в камеру сгорания через конфузорообразные каналы, выполненные на стенках жаровой трубы в передней части камеры сгорания, вызывая формирование циркуляционного течения в первичной зоне, из которой продукты сгорания поступают в зону догорания, далее в зону смешения для формирования поля температуры и выходят из камеры сгорания в турбину. Топливоподводящие трубки двух типов имеют различную длину для подвода топлива в первичную зону и в зону догорания. Пояса отверстий для подачи паров топлива расположены на стенках топливоподводящих трубок и размещены в первичной зоне и зоне догорания. Топливовоздушная смесь образуется за счет смешения паров топлива с воздухом. Часть воздуха идет на охлаждение стенок лопаток соплового аппарата, расположенного в области высоких температур. Такое исполнение камеры сгорания позволяет увеличить полноту сгорания для получения максимально допустимой температуры (энергии) для создания тяги летательного аппарата, а также повысить экологические показатели двигателя. 3 ил.
Малоразмерный газотурбинный двигатель, содержащий входное устройство, рабочее колесо центробежного компрессора, диффузорный лопаточный канал центробежного компрессора, вал, жаровую трубу камеры сгорания, топливный коллектор, сопловой аппарат турбины, рабочее колесо турбины, выходное реактивное сопло, камера сгорания с двухзонной схемой с раздельной подачей топлива и воздуха в первичную зону и в зону догорания, в первичную зону испаренное топливо подается через отверстия, расположенные по окружности на стенках топливных трубок, в центральную зону между головной частью камеры сгорания и первым поясом отверстий для подвода воздуха в камеру сгорания, в зону догорания испаренное топливо подается через отверстия, расположенные по окружности на стенках топливных трубок на одном уровне со вторым поясом отверстий для подвода воздуха, воздух от компрессора в камеру сгорания подается через конфузорные каналы, выполненные в стенке головной части камеры сгорания, для создания рециркуляционного течения, отличающийся тем, что топливный коллектор содержит испарительные трубки различной длины.
| Малоразмерный газотурбинный двигатель | 2023 |
|
RU2805397C1 |
| EP 3246628 A1, 22.11.2017 | |||
| CN 105444206 A, 30.03.2016 | |||
| US 2010115957 A1, 13.05.2010 | |||
| US 5163284 A, 17.11.1992 | |||
| CN 201053353 Y, 30.04.2008. | |||
Авторы
Даты
2025-03-31—Публикация
2024-03-28—Подача