Один или более примерных вариантов осуществления относятся к электронным устройствам для парения никотина (устройства для курения содержащей никотин э-сигареты).
WO 2019/205914 А1 раскрывает схему распыления, состоящую из повышающего чипа и переключающего чипа. Повышающий чип включает в себя конец подачи питания и конец выхода напряжения. На конец подачи питания повышающего чипа подается питающее напряжение от источника питания. Переключающий чип включает в себя входной конец, конец управляющего входа и выходной конец. Входной конец понижающего переключающего чипа соединен с концом выхода напряжения повышающего чипа. Конец управляющего входа переключающего чипа соединен с концом выхода первого сигнала включения главной управляющей схемы. Выходной конец переключающего чипа выдает рабочее напряжение на блок генерации аэрозоля.
Электронные устройства для парения никотина (или устройства для курения содержащей никотин э-сигареты) содержат нагреватель, который испаряет материал содержащего никотин готового состава для пара с получением пара никотина. Устройство для курения содержащей никотин э-сигареты может содержать несколько элементов для курения э-сигареты, включая источник питания, картридж или емкость для курения э-сигареты, содержащие нагреватель и резервуар для никотина, выполненный с возможностью удерживания материала содержащего никотин готового состава для пара.
По меньшей мере один примерный вариант осуществления предоставляет схему управления модулем нагрева для управления работой нагревателя электронного устройства для парения никотина, причем схема управления модулем нагрева содержит: схему преобразователя шины, выполненную с возможностью преобразования напряжения блока питания в сигнал мощности на основании сигнала включения парения, причем сигнал включения парения представляет собой сигнал с широтно-импульсной модуляцией; и схему запускающего устройства затвора, содержащую встроенное запускающее устройство затвора, при этом встроенное запускающее устройство затвора выполнено с возможностью управления подачей питания на нагреватель для нагрева содержащего никотин готового состава для пара, извлекаемого из резервуара для никотина в электронном устройстве для парения никотина на основании сигнала мощности, первого сигнала включения и второго сигнала включения.
По меньшей мере в одном другом примерном варианте осуществления предусмотрено электронное устройство для парения никотина, содержащее: нагреватель, выполненный с возможностью нагрева содержащего никотин готового состава для пара, извлекаемого из резервуара для никотина; схему преобразователя шины, выполненную с возможностью преобразования напряжения блока питания в сигнал мощности на основании сигнала включения парения, причем сигнал включения парения представляет собой сигнал с широтно-импульсной модуляцией; и схему запускающего устройства затвора, содержащую встроенное запускающее устройство затвора, при этом встроенное запускающее устройство затвора выполнено с возможностью управления подачей питания на нагреватель электронного устройства для парения никотина на основании сигнала мощности, первого сигнала включения и второго сигнала включения.
Согласно одному или более примерным вариантам осуществления схема преобразователя шины может быть выполнена с возможностью отключения сигнала мощности в ответ на прекращение сигнала включения парения.
Схема преобразователя шины может быть выполнена с возможностью вывода сигнала обратной связи, причем сигнал обратной связи представляет собой масштабированную версию сигнала мощности, указывающую текущий уровень напряжения сигнала мощности. Электронное устройство для парения никотина может содержать контроллер, выполненный с возможностью генерирования сигнала включения парения на основании сигнала обратной связи. Контроллер может быть выполнен с возможностью управления рабочим циклом сигнала включения парения на основании сигнала обратной связи.
Второй сигнал включения может представлять собой сигнал с широтно-импульсной модуляцией, причем встроенное запускающее устройство затвора может быть выполнено с возможностью приема второго сигнала включения на входном выводе, и схема запускающего устройства затвора может содержать схему фильтра, подключенную к входному выводу, причем схема фильтра выполнена с возможностью фильтрации второго сигнала включения перед вводом во встроенное запускающее устройство затвора.
Схема запускающего устройства затвора может содержать понижающий резистор, подключенный к входному выводу встроенного запускающего устройства затвора, причем понижающий резистор выполнен с возможностью поддержания входного вывода на низком логическом уровне, когда второй сигнал включения находится в высокоимпедансном состоянии.
Схема запускающего устройства затвора может содержать схему компенсации и стабилизации накачки заряда, подключенную между выводом входного напряжения и повышающим выводом встроенного запускающего устройства затвора. Схема компенсации и стабилизации накачки заряда может быть подключена к выводу узла переключения встроенного запускающего устройства затвора.
Схема запускающего устройства затвора может содержать схему фильтра, подключенную между входной клеммой сигнала мощности и схемой компенсации и стабилизации накачки заряда.
Схема преобразователя шины может содержать: первый конденсатор, подключенный между блоком питания и заземлением; индуктор, имеющий первую клемму, соединенную с первым узлом между блоком питания и первым конденсатором, и вторую клемму, соединенную со вторым узлом; переключающий транзистор, подключенный между вторым узлом и заземлением, причем переключающий транзистор выполнен с возможностью приема сигнала включения парения; второй конденсатор, имеющий первую клемму, соединенную со вторым узлом, и вторую клемму, соединенную с третьим узлом; первый диод, имеющий анод, соединенный с заземлением, и катод, соединенный с третьим узлом; второй диод, имеющий анод, соединенный с третьим узлом, и катод, соединенный с четвертым узлом; третий конденсатор, соединенный между четвертым узлом и заземлением; и схему делителя напряжения, подключенную к четвертому узлу, причем схема делителя напряжения выполнена с возможностью вывода сигнала обратной связи на основании сигнала мощности.
Схема преобразователя шины дополнительно может содержать понижающий резистор, подключенный между затвором переключающего транзистора и заземлением, причем понижающий резистор выполнен с возможностью предотвращения вывода сигнала мощности, когда сигнал включения парения находится в неопределенном состоянии.
Схема запускающего устройства затвора дополнительно может содержать: первую схему фильтра, выполненную с возможностью фильтрации сигнала мощности для ввода во встроенное запускающее устройство затвора; и вторую схему фильтра, выполненную с возможностью фильтрации второго сигнала включения для ввода во встроенное запускающее устройство затвора.
Схема управления модулем нагрева и/или электронное устройство для парения никотина может содержать схему синхронизации (запуска) модуля нагрева, выполненную с возможностью управления питанием нагревателя, при этом схема синхронизации модуля нагрева содержит первый транзистор и второй транзистор, соединенные последовательно между блоком питания и заземлением. Схема запускающего устройства затвора может быть выполнена с возможностью вывода управляющего напряжения на затвор первого транзистора для сохранения напряжения затвор-исток первого транзистора на уровне напряжения сигнала мощности, независимом от уровня напряжения блока питания.
Схема управления модулем нагрева и/или электронное устройство для парения никотина может содержать схему синхронизации модуля нагрева, выполненную с возможностью управления питанием нагревателя, при этом схема синхронизации модуля нагрева содержит первый транзистор и второй транзистор, соединенные последовательно между блоком питания и заземлением. Схема запускающего устройства затвора может быть выполнена с возможностью вывода токового переключаемого сигнала для генерирования выходного напряжения на нагревателе, причем уровень выходного напряжения на нагревателе не зависит от уровня напряжения блока питания.
Различные признаки и преимущества неограничивающих вариантов осуществления в настоящем документе могут стать более очевидными при рассмотрении подробного описания в сочетании с прилагаемыми графическими материалами. Прилагаемые графические материалы представлены исключительно для иллюстративных целей и не должны интерпретироваться как ограничивающие объем формулы изобретения. Прилагаемые графические материалы не следует рассматривать как изображенные в масштабе, если это явно не указано. Для ясности различные размеры изображений могли быть увеличены.
На фиг. 1 показан вид спереди устройства для курения содержащей никотин э-сигареты согласно примерному варианту осуществления.
На фиг. 2 показан вид сбоку устройства для курения содержащей никотин э-сигареты по фиг. 1.
На фиг. 3 показан вид сзади устройства для курения содержащей никотин э-сигареты по фиг. 1.
На фиг. 4 показан вид ближнего конца устройства для курения содержащей никотин э-сигареты по фиг. 1.
На фиг. 5 показан вид дальнего конца устройства для курения содержащей никотин э-сигареты по фиг. 1.
На фиг. 6 показан вид в перспективе устройства для курения содержащей никотин э-сигареты по фиг. 1.
На фиг. 7 показан увеличенный вид впускного отверстия вмещающего элемента, показанного на фиг. 6.
На фиг. 8 показан вид в разрезе устройства для курения содержащей никотин э-сигареты по фиг. 6.
На фиг. 9 показан вид в перспективе основной части устройства, представляющего собой устройство для курения содержащей никотин э-сигареты по фиг. 6.
На фиг. 10 показан вид спереди основной части устройства по фиг. 9.
На фиг. 11 показан увеличенный вид в перспективе сквозного отверстия по фиг. 10.
На фиг. 12 показан увеличенный вид в перспективе электрических контактов устройства, показанных на фиг. 10.
На фиг. 13 показан частичный покомпонентный вид, включающий мундштук, показанный на фиг. 12.
На фиг. 14 показан частичный покомпонентный вид, включающий наклонную конструкцию, показанную на фиг. 9.
На фиг. 15 показан увеличенный вид в перспективе мундштука, пружин, удерживающей конструкции и наклонной конструкции, показанных на фиг. 14.
На фиг. 16 показан частичный покомпонентный вид, включающий переднюю крышку, каркас и заднюю крышку, показанные на фиг. 14.
На фиг. 17 показан вид в перспективе вмещающего элемента в сборе для никотина устройства для курения содержащей никотин э-сигареты, показанного на фиг. 6.
На фиг. 18 показан другой вид в перспективе вмещающего элемента в сборе для никотина по фиг. 17.
На фиг. 19 показан другой вид в перспективе вмещающего элемента в сборе для никотина по фиг. 18.
На фиг. 20 показан вид в перспективе вмещающего элемента в сборе для никотина по фиг. 19 без соединительного модуля.
На фиг. 21 показан вид в перспективе соединительного модуля на фиг. 19.
На фиг. 22 показан другой вид в перспективе соединительного модуля по фиг. 21.
На фиг. 23 показан покомпонентный вид, включающий фитиль, нагреватель, электрические провода и контактный сердечник на фиг. 22.
На фиг. 24 показан покомпонентный вид, включающий первую секцию кожуха вмещающего элемента в сборе для никотина по фиг. 17.
На фиг. 25 показан частичный покомпонентный вид, включающий вторую секцию кожуха вмещающего элемента в сборе для никотина по фиг. 17.
На фиг. 26 показан покомпонентный вид пробойника активации на фиг. 25.
На фиг. 27 показан вид в перспективе соединительного модуля по фиг. 22 без фитиля, нагревателя, электрических проводов и контактного сердечника.
На фиг. 28 показан покомпонентный вид соединительного модуля по фиг. 27.
На фиг. 29 проиллюстрированы электрические системы основной части устройства и вмещающего элемента в сборе для никотина устройства для курения содержащей никотин э-сигареты согласно одному или более примерным вариантам осуществления.
На фиг. 30 показана простая структурная схема, иллюстрирующая систему управления сухой затяжкой и автоматическим отключением согласно примерным вариантам осуществления.
На фиг. 31 представлена блок-схема, иллюстрирующая способ обнаружения сухости согласно примерным вариантам осуществления.
На фиг. 32 проиллюстрированы графики зависимости сопротивления от времени, когда условия сухой затяжки существуют в начале затяжки («сухая затяжка»), когда условия сухой затяжки возникают во время затяжки («высыхающая затяжка») и когда условия сухой затяжки отсутствуют («стандартная затяжка»).
На фиг. 33 показана блок-схема, иллюстрирующая примерный способ работы устройства для курения содержащей никотин э-сигареты после отключения функции парения в ответ на обнаружение события серьезной неисправности вмещающего элемента, такого как условия сухой затяжки, в соответствии с примерными вариантами осуществления.
На фиг. 34 проиллюстрирована схема измерения напряжения нагревателя согласно примерным вариантам осуществления.
На фиг. 35 проиллюстрирована схема измерения тока нагревателя согласно примерным вариантам осуществления.
На фиг. 36 проиллюстрирована схема измерения температуры вмещающего элемента согласно некоторым примерным вариантам осуществления.
На фиг. 37 проиллюстрирована схема измерения температуры вмещающего элемента согласно некоторым другим примерным вариантам осуществления.
На фиг. 38 показана принципиальная схема, иллюстрирующая схему управления модулем нагрева согласно некоторым примерным вариантам осуществления.
На фиг. 39 показана принципиальная схема, иллюстрирующая схему управления модулем нагрева согласно некоторым другим примерным вариантам осуществления.
На фиг. 40 проиллюстрирован термочувствительный преобразователь согласно некоторым примерным вариантам осуществления.
На фиг. 41 проиллюстрирован термочувствительный преобразователь согласно некоторым другим примерным вариантам осуществления.
В настоящем документе раскрыты некоторые подробные примерные варианты осуществления. Однако конкретные структурные и функциональные подробности, раскрытые в настоящем документе, представлены исключительно в целях описания примерных вариантов осуществления. Однако примерные варианты осуществления могут быть осуществлены во многих альтернативных формах и не должны рассматриваться как ограниченные только примерными вариантами осуществления, которые изложены в настоящем документе.
Соответственно, поскольку примерные варианты осуществления способны иметь различные модификации и альтернативные формы, их примерные варианты осуществления показаны в качестве примера на графических материалах и будут подробно описаны в настоящем документе. Однако следует понимать, что не существует намерения ограничить примерные варианты осуществления конкретными раскрытыми формами, а наоборот, примерные варианты осуществления должны охватывать все их модификации, эквиваленты и альтернативы. Одинаковые номера относятся к одинаковым элементам по всему описанию фигур.
Следует понимать, что, когда элемент или слой обозначен как расположенный «на», «присоединенный к», «соединенный с», «прикрепленный к», «смежный с», или «покрывающий» другой элемент или слой, он может быть непосредственно расположен на, присоединен к, соединен с, прикреплен к, смежным с или может покрывать другой элемент или слой, или могут присутствовать промежуточные элементы или слои. Наоборот, если элемент обозначен как «расположенный непосредственно на», «непосредственно присоединенный к» или «непосредственно соединенный с» другим элементом или слоем, промежуточные элементы или слои отсутствуют. Одинаковые номера относятся к одинаковым элементам по всему описанию. В контексте настоящего документа термин «и/или» включает любую и все комбинации или подкомбинации из одного или более связанных перечисленных элементов.
Следует понимать, что хотя термины «первый», «второй», «третий» и т.д. могут использоваться в настоящем документе для описания различных элементов, областей, слоев и/или секций, эти элементы, области, слои и/или секции не должны ограничиваться этими терминами. Эти термины используются лишь для того, чтобы отличать один элемент, область, слой или секцию от другой области, слоя или секции. Следовательно, первый элемент, область, слой или секция, рассмотренные ниже, могли бы называться вторым элементом, областью, слоем или секцией без отступления от идей примерных вариантов осуществления.
Термины относительного пространственного расположения (например, «ниже», «под», «нижний», «над», «верхний» и т.п.) могут использоваться в настоящем документе с целью упрощения описания для раскрытия связи одного элемента или признака с другим элементом или признаком, как проиллюстрировано на фигурах. Следует понимать, что термины относительного пространственного расположения предназначены для охвата различных ориентаций устройства во время использования или работы в дополнение к ориентации, изображенной на фигурах. Например, если устройство на фигурах перевернуто, то элементы, описанные как расположенные «под» или «ниже» других элементов или признаков, окажутся расположенными «над» другими элементами или признаками. Следовательно, предлог «под» может подразумевать расположение как выше, так и ниже. Устройство может быть ориентировано иным образом (повернуто на 90 градусов или расположено с другими ориентациями), и слова, используемые в настоящем документе для определения относительного пространственного расположения, будут интерпретироваться соответствующим образом.
Терминология, используемая в настоящем документе, предназначена лишь для описания различных примерных вариантов осуществления и не предназначена для ограничения примерных вариантов осуществления. В контексте настоящего документа предполагается, что использование форм единственного числа не исключает также форм множественного числа, если контекст явно не указывает на иное. Следует также понимать, что выражения «включает», «включающий», «содержит» и/или «содержащий» при использовании в этом описании указывают на наличие определенных признаков, целых чисел, этапов, операций и/или элементов, но не исключают наличия или добавления одного или более других признаков, целых чисел, этапов, операций, элементов и/или их групп.
Когда слова «приблизительно» и «по существу» используют в этом описании в сочетании с числовым значением, предполагается, что соответствующее числовое значение включает погрешность, составляющую ±10 процентов от указанного числового значения, если явно не определено иное.
Если не определено иное, все термины (включая технические и научные термины), используемые в настоящем документе, имеют те же значения, в которых их обычно понимает специалист в данной области техники, к которой относятся примерные варианты осуществления. Следует также понимать, что термины, включая те, которые определены в общепринятых словарях, должны интерпретироваться как имеющие значение, которое соответствует их значению в контексте соответствующей области техники, и не будут интерпретироваться в идеализированном или чрезмерно формальном смысле, если это явно не определено в настоящем документе.
Термины «электронное устройство для парения никотина» или «устройство для курения содержащей никотин э-сигареты», используемые в данном документе, могут иногда называться и считаться синонимами терминов «аппарат для электронного парения никотина» и/или «аппарат для э-парения никотина».
На фиг. 1 показан вид спереди устройства для курения содержащей никотин э-сигареты согласно примерному варианту осуществления. На фиг. 2 показан вид сбоку устройства для курения содержащей никотин э-сигареты по фиг. 1. На фиг. 3 показан вид сзади устройства для курения содержащей никотин э-сигареты по фиг. 1. Как показано на фиг. 1-3, устройство 500 для курения содержащей никотин э-сигареты содержит основную часть 100 устройства, выполненную с возможностью размещения вмещающего элемента в сборе 300 для никотина. Вмещающий элемент в сборе 300 для никотина представляет собой модульное изделие, выполненное с возможностью удержания содержащего никотин готового состава для пара. «Содержащий никотин готовый состав для пара» представляет собой материал или комбинацию материалов, которые могут быть преобразованы в пар. Например, содержащий никотин готовый состав для пара может представлять собой жидкий, твердый и/или гелеобразный состав, предусматривающий, но без ограничения, воду, гранулы, растворители, активные ингредиенты, этанол, растительные экстракты, натуральные или искусственные вкусоароматические вещества и/или вещества для образования пара никотина, такие как глицерин и пропиленгликоль. Во время курения электронной сигареты устройство 500 для курения содержащей никотин э-сигареты выполнено с возможностью нагрева содержащего никотин готового состава для пара для генерирования пара. Как упоминается в данном документе, «пар никотина» представляет собой любое вещество, сгенерированное или выпущенное из любого устройства для курения содержащей никотин э-сигареты согласно любому из примерных вариантов осуществления, раскрытых в настоящем документе.
Как показано на фиг. 1 и 3, устройство 500 для курения содержащей никотин э-сигареты простирается в продольном направлении и имеет длину, превышающую его ширину. Кроме того, как показано на фиг. 2, длина устройства 500 для курения содержащей никотин э-сигареты также больше, чем его толщина. Помимо этого, ширина устройства 500 для курения содержащей никотин э-сигареты может быть больше, чем его толщина. Исходя из декартовой системы координат x-y-z, длину устройства 500 для курения содержащей никотин э-сигареты можно измерять в направлении у, ширину можно измерять в направлении х, а толщину можно измерять в направлении z. Устройство 500 для курения содержащей никотин э-сигареты может иметь по существу линейную форму с сужающимися концами на основании его видов спереди, сбоку и сзади, хотя примерные варианты осуществления этим не ограничиваются.
Основная часть 100 устройства содержит переднюю крышку 104, каркас 106 и заднюю крышку 108. Передняя крышка 104, каркас 106 и задняя крышка 108 образуют кожух устройства, который заключает в себе механические элементы, электронные элементы и/или компоновку схем, связанные с работой устройства 500 для курения содержащей никотин э-сигареты. Например, кожух устройства основной части 100 устройства может заключать в себе источник питания, выполненный с возможностью подачи питания на устройство 500 для курения содержащей никотин э-сигареты, что может предусматривать подачу электрического тока на вмещающий элемент в сборе 300 для никотина. Кожух устройства основной части 100 устройства может также включать одну или более электрических систем для управления устройством 500 для курения содержащей никотин э-сигареты. Электрические системы согласно примерным вариантам осуществления будут рассмотрены более подробно ниже. Кроме того, в собранном виде передняя крышка 104, каркас 106 и задняя крышка 108 могут составлять большую часть видимого участка основной части 100 устройства.
Передняя крышка 104 (например, первая крышка) определяет первичный проем, выполненный с возможностью размещения наклонной конструкции 112. Первичный проем может иметь закругленную прямоугольную форму, хотя возможны и другие формы в зависимости от формы наклонной конструкции 112. Наклонная конструкция 112 определяет сквозное отверстие 150, выполненное с возможностью размещения вмещающего элемента в сборе 300 для никотина. Сквозное отверстие 150 рассмотрено в настоящем документе более подробно в сочетании, например, с фиг. 9.
Передняя крышка 104 также определяет вторичный проем, выполненный с возможностью размещения световодной компоновки. Вторичный проем может напоминать паз (например, продолговатый прямоугольник с закругленными краями), хотя возможны и другие формы в зависимости от формы световодной компоновки. В примерном варианте осуществления световодная компоновка содержит кожух 114 световода и кожух 122 кнопки. Кожух 114 световода выполнен с возможностью открытия линзы 116 световода, в то время как кожух 122 кнопки выполнен с возможностью открытия первой линзы 124 кнопки и второй линзы 126 кнопки (например, фиг. 16). Первая линза 124 кнопки и расположенная раньше по ходу потока часть кожуха 122 кнопки могут образовывать первую кнопку 118. Аналогично вторая линза 126 кнопки и расположенная дальше по ходу потока часть кожуха 122 кнопки могут образовывать вторую кнопку 120. Кожух 122 кнопки может иметь форму единой конструкции или двух отдельных конструкций. В случае последней формы первая кнопка 118 и вторая кнопка 120 могут перемещаться с более свободным ощущением при нажатии.
Работой устройства 500 для курения содержащей никотин э-сигареты можно управлять с помощью первой кнопки 118 и второй кнопки 120. Например, первая кнопка 118 может представлять собой кнопку питания, а вторая кнопка 120 может представлять собой кнопку регулировки интенсивности. Хотя на графических материалах показаны две кнопки в сочетании со световодной компоновкой, следует понимать, что может быть предоставлено больше (или меньше) кнопок в зависимости от доступных элементов и необходимого пользовательского интерфейса.
Каркас 106 (например, основной каркас) представляет собой центральную опорную конструкцию для основной части 100 устройства (и устройства 500 для курения содержащей никотин э-сигареты в целом). Каркас 106 может называться основой. Каркас 106 содержит ближний конец, дальний конец и пару боковых секций между ближним концом и дальним концом. Ближний конец и дальний конец также могут называться расположенным дальше по ходу потока концом и расположенным раньше по ходу потока концом соответственно. В контексте настоящего документа термин «ближний» (и, наоборот, «дальний») используется в отношении взрослого вейпера во время курения электронной сигареты, а «расположенный дальше по ходу потока» (и, наоборот, «расположенный раньше по ходу потока») относится к потоку пара. Между противоположными внутренними поверхностями боковых секций (например, приблизительно посередине вдоль длины каркаса 106) может быть обеспечена соединительная секция для дополнительной прочности и устойчивости. Каркас 106 может быть образован как единое целое, чтобы представлять собой монолитную конструкцию.
Что касается материала конструкции, каркас 106 может быть образован из сплава или пластмассы. Сплав (например, литой под давлением, поддающийся механической обработке) может представлять собой алюминиевый (Al) сплав или цинковый (Zn) сплав. Пластмасса может представлять собой поликарбонат (PC), акрилонитрилбутадиенстирол (ABS) или их комбинацию (PC/ABS). Например, поликарбонат может представлять собой LUPOY SC1004A. Помимо этого, каркас 106 может быть обеспечен отделкой поверхности по функциональным и/или эстетичным причинам (например, для обеспечения высококачественного внешнего вида). В примерном варианте осуществления каркас 106 (например, когда он образован из алюминиевого сплава) может быть анодирован. В другом варианте осуществления каркас 106 (например, когда он образован из цинкового сплава) может быть покрыт твердой эмалью или окрашен. В другом варианте осуществления каркас 106 (например, когда он образован из поликарбоната) может быть металлизирован. В еще одном варианте осуществления каркас 106 (например, когда он образован из акрилонитрилбутадиенстирола) может иметь электролитическое покрытие. Следует понимать, что материалы конструкции в отношении каркаса 106 также могут быть применимы к передней крышке 104, задней крышке 108 и/или другим соответствующим частям устройства 500 для курения содержащей никотин э-сигареты.
Задняя крышка 108 (например, вторая крышка) также определяет проем, выполненный с возможностью размещения наклонной конструкции 112. Проем может иметь закругленную прямоугольную форму, хотя возможны и другие формы в зависимости от формы наклонной конструкции 112. В примерном варианте осуществления проем в задней крышке 108 меньше первичного проема в передней крышке 104. Кроме того, хотя это не показано, следует понимать, что в задней части устройства 500 для курения содержащей никотин э-сигареты может быть обеспечена световодная компоновка (например, в том числе кнопки) в дополнение к световодной компоновке (или вместо нее) в передней части устройства 500 для курения содержащей никотин э-сигареты.
Передняя крышка 104 и задняя крышка 108 могут быть выполнены с возможностью зацепления с каркасом 106 посредством компоновки на защелках. Например, передняя крышка 104 и/или задняя крышка 108 могут содержать зажимы, выполненные с возможностью взаимного соединения с соответствующими сопрягаемыми элементами каркаса 106. В неограничивающем варианте осуществления зажимы могут иметь форму лапок с отверстиями, выполненными с возможностью размещения соответствующих сопрягаемых элементов (например, выступов со скошенными кромками) каркаса 106. Альтернативно передняя крышка 104 и/или задняя крышка 108 могут быть выполнены с возможностью зацепления с каркасом 106 посредством посадки с натягом (которую также можно назвать прессовой посадкой или фрикционной посадкой). Однако следует понимать, что переднюю крышку 104, каркас 106 и заднюю крышку 108 можно соединить с помощью других подходящих компоновок и методик.
Основная часть 100 устройства также содержит мундштук 102. Мундштук 102 может быть прикреплен к ближнему концу каркаса 106. Кроме того, как показано на фиг.2, в примерном варианте осуществления, где каркас 106 зажат между передней крышкой 104 и задней крышкой 108, мундштук 102 может примыкать к передней крышке 104, каркасу 106 и задней крышке 108. Помимо этого, в неограничивающем варианте осуществления мундштук 102 может быть соединен с кожухом устройства с помощью байонетного соединения.
На фиг. 4 показан вид ближнего конца устройства для курения содержащей никотин э-сигареты по фиг. 1. Как показано на фиг. 4, выпускная поверхность мундштука 102 определяет множество выпускных отверстий для пара. В неограничивающем варианте осуществления выпускная поверхность мундштука 102 может иметь эллиптическую форму. Кроме того, выпускная поверхность мундштука 102 может содержать первую перемычку, соответствующую главной оси выпускной поверхности эллиптической формы, и вторую перемычку, соответствующую малой оси выпускной поверхности эллиптической формы. Помимо этого, первая перемычка и вторая перемычка могут пересекаться перпендикулярно и быть образованными как единое целое частями мундштука 102. Хотя выпускная поверхность показана как определяющая четыре выпускных отверстия для пара, следует понимать, что примерные варианты осуществления этим не ограничиваются. Например, выпускная поверхность может определять менее четырех (например, один, два) выпускных отверстий для пара или более четырех (например, шесть, восемь) выпускных отверстий для пара.
На фиг. 5 показан вид дальнего конца устройства для курения содержащей никотин э-сигареты по фиг. 1. Как показано на фиг. 5, дальний конец устройства 500 для курения содержащей никотин э-сигареты содержит порт 110. Порт 110 выполнен с возможностью приема электрического тока (например, через USB-кабель) от внешнего источника питания для зарядки внутреннего источника питания внутри устройства 500 для курения содержащей никотин э-сигареты. Кроме того, порт 110 также может быть выполнен с возможностью отправки данных (например, через USB-кабель) на другое устройство для курения содержащей никотин э-сигареты или другое электронное устройство (например, телефон, планшет, компьютер) и/или приема данных с них. Помимо этого, устройство 500 для курения содержащей никотин э-сигареты может быть выполнено с возможностью беспроводной связи с другим электронным устройством, таким как телефон, с помощью прикладной программы (приложения), установленной на этом электронном устройстве. В таком случае взрослый вейпер может управлять или иным образом взаимодействовать с устройством 500 для курения содержащей никотин э-сигареты (например, обнаруживать точное местонахождение устройства для курения содержащей никотин э-сигареты, проверять информацию об использовании, изменять рабочие параметры) через приложение.
На фиг. 6 показан вид в перспективе устройства для курения содержащей никотин э-сигареты по фиг. 1. На фиг. 7 показан увеличенный вид впускного отверстия вмещающего элемента, показанного на фиг. 6. Как показано на фиг. 6-7 и как кратко указано выше, устройство 500 для курения содержащей никотин э-сигареты содержит вмещающий элемент в сборе 300 для никотина, выполненный с возможностью удержания содержащего никотин готового состава для пара. Вмещающий элемент в сборе 300 для никотина имеет расположенный раньше по ходу потока конец (который обращен к световодной компоновке) и расположенный дальше по ходу потока конец (который обращен к мундштуку 102). В неограничивающем варианте осуществления расположенный раньше по ходу потока конец представляет собой противоположную поверхность вмещающего элемента в сборе 300 для никотина относительно расположенного дальше по ходу потока конца. Расположенный раньше по ходу потока конец вмещающего элемента в сборе 300 для никотина определяет впускное отверстие 322 вмещающего элемента. Основная часть 100 устройства определяет сквозное отверстие (например, сквозное отверстие 150, показанное на фиг. 9), выполненное с возможностью размещения вмещающего элемента в сборе 300 для никотина. В примерном варианте осуществления наклонная конструкция 112 основной части 100 устройства определяет сквозное отверстие и содержит расположенный раньше по ходу потока обод. Как показано, в частности, на фиг. 7, расположенный раньше по ходу потока обод наклонной конструкции 112 расположен под углом (например, с погружением внутрь) таким образом, что видно впускное отверстие 322 вмещающего элемента, когда вмещающий элемент в сборе 300 для никотина посажен внутри сквозного отверстия основной части 100 устройства.
Например, вместо того, чтобы повторять контур передней крышки 104 (чтобы быть в целом заподлицо с передней поверхностью вмещающего элемента в сборе 300 для никотина и, следовательно, скрывать впускное отверстие 322 вмещающего элемента), расположенный раньше по ходу потока обод наклонной конструкции 112 имеет форму ковша, выполненного с возможностью направления окружающего воздуха во впускное отверстие 322 вмещающего элемента. Эта угловая / ковшеобразная конфигурация может помочь уменьшить или предотвратить блокировку впускного отверстия для воздуха (например, впускного отверстия 322 вмещающего элемента) устройства 500 для курения содержащей никотин э-сигареты. Глубина ковша может быть такой, чтобы было видно менее половины (например, менее четверти) расположенной раньше по ходу потока концевой поверхности вмещающего элемента в сборе 300 для никотина. Кроме того, в неограничивающем варианте осуществления впускное отверстие 322 вмещающего элемента имеет форму паза. Помимо этого, если основная часть 100 устройства рассматривается как простирающаяся в первом направлении, то паз может рассматриваться как простирающийся во втором направлении, при этом второе направление является перпендикулярным по отношению к первому направлению.
На фиг. 8 показан вид в разрезе устройства для курения содержащей никотин э-сигареты по фиг. 6. На фиг. 8 разрез выполнен вдоль продольной оси устройства 500 для курения содержащей никотин э-сигареты. Как показано, основная часть 100 устройства и вмещающий элемент в сборе 300 для никотина содержат механические элементы, электронные элементы и/или компоновку схем, связанные с работой устройства 500 для курения содержащей никотин э-сигареты, которые рассмотрены более подробно в настоящем документе и/или включены в настоящий документ посредством ссылки. Например, вмещающий элемент в сборе 300 для никотина может содержать механические элементы, выполненные с возможностью приведения в действие для высвобождения содержащего никотин готового состава для пара из находящегося внутри герметичного резервуара для никотина. Вмещающий элемент в сборе 300 для никотина также может иметь механические компоненты, выполненные с возможностью зацепления с основной частью 100 устройства для облегчения вставки и посадки вмещающего элемента в сборе 300 для никотина.
Кроме того, вмещающий элемент в сборе 300 для никотина может представлять собой «умный вмещающий элемент», который содержит электронные элементы и/или компоновку схем, выполненные с возможностью сохранения, приема и/или передачи информации в основную часть 100 устройства или из нее. Такая информация может использоваться для аутентификации вмещающего элемента в сборе 300 для никотина для использования с основной частью 100 устройства (например, для предотвращения использования неодобренного / поддельного вмещающего элемента в сборе для никотина). Помимо этого, информация может быть использована для идентификации типа вмещающего элемента в сборе 300 для никотина, который затем соотносится с профилем курения электронной сигареты на основе идентифицированного типа. Профиль курения электронной сигареты может быть разработан для установки общих параметров для нагрева содержащего никотин готового состава для пара и может подвергаться настройке, улучшению или другой регулировке взрослым вейпером до и/или во время курения электронной сигареты.
Вмещающий элемент в сборе 300 для никотина может также обмениваться с основной частью 100 устройства другой информацией, которая может относиться к работе устройства 500 для курения содержащей никотин э-сигареты. Примеры соответствующей информации могут включать уровень содержащего никотин готового состава для пара внутри вмещающего элемента в сборе 300 для никотина и/или промежуток времени, прошедший с момента вставки вмещающего элемента в сборе 300 для никотина в основную часть 100 устройства и активирования. Например, если вмещающий элемент в сборе 300 для никотина был вставлен в основную часть 100 устройства и активирован намного раньше определенного периода времени (например, более 6 месяцев назад), устройство 500 для курения содержащей никотин э-сигареты может не обеспечивать курение электронной сигареты, и взрослому вейперу может быть предложено перейти на новый вмещающий элемент в сборе для никотина, даже если вмещающий элемент в сборе 300 для никотина все еще содержит достаточные уровни содержащего никотин готового состава для пара.
Основная часть 100 устройства может содержать механические элементы (например, дополнительные структуры), выполненные с возможностью зацепления, удержания и/или активации вмещающего элемента в сборе 300 для никотина. Кроме того, основная часть 100 устройства может содержать электронные элементы и/или компоновку схем, выполненные с возможностью приема электрического тока для зарядки внутреннего источника питания (например, батареи), который, в свою очередь, выполнен с возможностью подачи питания на вмещающий элемент в сборе 300 для никотина во время курения электронной сигареты. Помимо этого, основная часть 100 устройства может содержать электронные элементы и/или компоновку схем, выполненные с возможностью связи с вмещающим элементом в сборе 300 для никотина, другим устройством для курения содержащей никотин э-сигареты, другими электронными устройствами (например, телефоном, планшетом, компьютером) и/или взрослым вейпером. Передаваемая информация может включать определенные данные, касающиеся вмещающего элемента, текущую подробную информацию по курению электронной сигареты и/или предыдущие схемы/предысторию курения электронной сигареты. Взрослый вейпер может быть уведомлен о таких передачах данных с помощью обратной связи, которая является тактильной (например, вибрации), слышимой (например, гудки) и/или визуальной (например, цветные/мигающие световые сигналы). Зарядка и/или передача информации может осуществляться с помощью порта 110 (например, через USB-кабель).
На фиг. 9 показан вид в перспективе основной части устройства, представляющего собой устройство для курения содержащей никотин э-сигареты по фиг. 6. Как показано на фиг. 9, наклонная конструкция 112 основной части 100 устройства определяет сквозное отверстие 150. Сквозное отверстие 150 выполнено с возможностью размещения вмещающего элемента в сборе 300 для никотина. Для облегчения вставки и посадки вмещающего элемента в сборе 300 для никотина внутри сквозного отверстия 150 расположенный раньше по ходу потока обод наклонной конструкции 112 содержит первый расположенный раньше по ходу потока выступ 128а и второй расположенный раньше по ходу потока выступ 128b. Сквозное отверстие 150 может иметь прямоугольную форму с закругленными углами. В примерном варианте осуществления первый расположенный раньше по ходу потока выступ 128а и второй расположенный раньше по ходу потока выступ 128b образованы как единое целое с наклонной конструкцией 112 и находятся на двух закругленных углах расположенного раньше по ходу потока обода.
Расположенная дальше по ходу потока боковая стенка наклонной конструкции 112 может определять первый расположенный дальше по ходу потока проем, второй расположенный дальше по ходу потока проем и третий расположенный дальше по ходу потока проем. Удерживающая конструкция, содержащая первый расположенный дальше по ходу потока выступ 130а и второй расположенный дальше по ходу потока выступ 130b, входит в зацепление с наклонной конструкцией 112 таким образом, что первый расположенный дальше по ходу потока выступ 130а и второй расположенный дальше по ходу потока выступ 130b выступают через первый расположенный дальше по ходу потока проем и второй расположенный дальше по ходу потока проем соответственно наклонной конструкции 112 и в сквозное отверстие 150. Кроме того, дальний конец мундштука 102 простирается через третий расположенный дальше по ходу потока проем наклонной конструкции 112 и в сквозное отверстие 150 так, чтобы находиться между первым расположенным дальше по ходу потока выступом 130а и вторым расположенным дальше по ходу потока выступом 130b.
На фиг. 10 показан вид спереди основной части устройства по фиг. 9. Как показано на фиг. 10, основная часть 100 устройства содержит электрический соединитель 132 устройства, размещенный на расположенной раньше по ходу потока стороне сквозного отверстия 150. Электрический соединитель 132 устройства основной части 100 устройства выполнен с возможностью электрического соединения с вмещающим элементом в сборе 300 для никотина, который посажен внутри сквозного отверстия 150. В результате питание может подаваться с основной части 100 устройства на вмещающий элемент в сборе 300 для никотина с помощью электрического соединителя 132 устройства во время курения электронной сигареты. Кроме того, данные могут быть отправлены на основную часть 100 устройства и вмещающий элемент в сборе 300 для никотина и/или приняты от них с помощью электрического соединителя 132 устройства.
На фиг. 11 показан увеличенный вид в перспективе сквозного отверстия по фиг. 10. Как показано на фиг. 11, первый расположенный раньше по ходу потока выступ 128а, второй расположенный раньше по ходу потока выступ 128b, первый расположенный дальше по ходу потока выступ 130а, второй расположенный дальше по ходу потока выступ 130b и дальний конец мундштука 102 выступают в сквозное отверстие 150. В примерном варианте осуществления первый расположенный раньше по ходу потока выступ 128а и второй расположенный раньше по ходу потока выступ 128b являются стационарными конструкциями (например, стационарными шарнирами), в то время как первый расположенный дальше по ходу потока выступ 130а и второй расположенный дальше по ходу потока выступ 130b являются легкоперемещаемыми конструкциями (например, втягиваемыми элементами). Например, первый расположенный дальше по ходу потока выступ 130а и второй расположенный дальше по ходу потока выступ 130b могут быть выполнены (например, подпружинены) с возможностью установки по умолчанию в выдвинутое состояние, а также выполнены с возможностью временного перехода во втянутое состояние (и обратно в выдвинутое состояние) для облегчения вставки вмещающего элемента в сборе 300 для никотина.
В частности, при вставке вмещающего элемента в сборе 300 для никотина в сквозное отверстие 150 основной части 100 устройства углубления на расположенной раньше по ходу потока концевой поверхности вмещающего элемента в сборе 300 для никотина могут изначально входить в зацепление с первым расположенный раньше по ходу потока выступом 128а и вторым расположенным раньше по ходу потока выступом 128b, после чего следует поворот вмещающего элемента в сборе 300 для никотина (вокруг первого расположенного раньше по ходу потока выступа 128а и второго расположенного раньше по ходу потока выступа 128b) до тех пор, пока углубления на расположенной дальше по ходу потока концевой поверхности вмещающего элемента в сборе 300 для никотина не войдут в зацепление с первым расположенным дальше по ходу потока выступом 130а и вторым расположенным дальше по ходу потока выступом 130b. В таком случае ось вращения (во время поворота) вмещающего элемента в сборе 300 для никотина может быть ортогональна продольной оси основной части 100 устройства. Кроме того, первый расположенный дальше по ходу потока выступ 130а и второй расположенный дальше по ходу потока выступ 130b, которые могут быть смещены для обеспечения легкого перемещения, могут втягиваться, когда вмещающий элемент в сборе 300 для никотина поворачивается в сквозное отверстие 150, и упруго выдвигаться для зацепления с углублениями на расположенной дальше по ходу потока концевой поверхности вмещающего элемента в сборе 300 для никотина. Помимо этого, зацепление первого расположенного дальше по ходу потока выступа 130а и второго расположенного дальше по ходу потока выступа 130b с углублениями на расположенной дальше по ходу потока концевой поверхности вмещающего элемента в сборе 300 для никотина может вызвать тактильную и/или слышимую обратную связь (например, слышимый щелчок) для уведомления взрослого вейпера о том, что вмещающий элемент в сборе 300 для никотина правильно посажен в сквозном отверстии 150 основной части 100 устройства.
На фиг. 12 показан увеличенный вид в перспективе электрических контактов устройства, показанных на фиг. 10. Электрические контакты устройства основной части 100 устройства выполнены с возможностью зацепления с электрическими контактами вмещающего элемента в сборе 300 для никотина, когда вмещающий элемент в сборе 300 для никотина посажен внутри сквозного отверстия 150 основной части 100 устройства. Как показано на фиг. 12, электрические контакты устройства основной части 100 устройства содержат электрический соединитель 132 устройства. Электрический соединитель 132 устройства содержит контакты питания и контакты данных. Контакты питания электрического соединителя 132 устройства выполнены с возможностью подачи питания с основной части 100 устройства на вмещающий элемент в сборе 300 для никотина. Как проиллюстрировано, контакты питания электрического соединителя 132 устройства содержат первую пару контактов питания и вторую пару контактов питания (которые расположены так, чтобы быть ближе к передней крышке 104, чем к задней крышке 108). Первая пара контактов питания (например, пара, смежная с первым расположенным раньше по ходу потока выступом 128а) может представлять собой единую цельную конструкцию, которая отличается от второй пары контактов питания и которая в собранном виде содержит две выступающие части, которые простираются в сквозное отверстие 150. Аналогично вторая пара контактов питания (например, пара, смежная со вторым расположенным раньше по ходу потока выступом 128b) может представлять собой единую цельную конструкцию, которая отличается от первой пары контактов питания и которая в собранном виде содержит две выступающие части, которые простираются в сквозное отверстие 150. Первая пара контактов питания и вторая пара контактов питания электрического соединителя 132 устройства могут быть смонтированы с возможностью легкого перемещения и смещены так, чтобы входить в сквозное отверстие 150 по умолчанию и выводиться (например, независимо) из сквозного отверстия 150 при воздействии силы, которая превосходит смещение.
Контакты данных электрического соединителя 132 устройства выполнены с возможностью передачи данных между вмещающим элементом в сборе 300 для никотина и основной частью 100 устройства. Как проиллюстрировано, контакты данных электрического соединителя 132 устройства содержат ряд из пяти выступающих частей (которые расположены так, чтобы быть ближе к задней крышке 108, чем к передней крышке 104). Контакты данных электрического соединителя 132 устройства могут представлять собой отдельные конструкции, которые в собранном виде простираются в сквозное отверстие 150. Контакты данных электрического соединителя 132 устройства также могут быть смонтированы с возможностью легкого перемещения и смещены (например, пружинами) так, чтобы входить в сквозное отверстие 150 по умолчанию и выводиться (например, независимо) из сквозного отверстия 150 при воздействии силы, которая превосходит смещение. Например, когда вмещающий элемент в сборе 300 для никотина вставлен в сквозное отверстие 150 основной части 100 устройства, электрические контакты вмещающего элемента у вмещающего элемента в сборе 300 для никотина будут прижиматься к соответствующим электрическим контактам устройства основной части 100 устройства. В результате контакты питания и контакты данных электрического соединителя 132 устройства будут втянуты (например, по меньшей мере частично втянуты) в основную часть 100 устройства, но продолжат давить на соответствующие электрические контакты вмещающего элемента благодаря их упругой компоновке, тем самым помогая обеспечить надлежащее электрическое соединение между основной частью 100 устройства и вмещающим элементом в сборе 300 для никотина. Помимо этого, такое соединение также может быть механически надежным и иметь минимальное сопротивление контакта, чтобы обеспечить возможность передачи питания и/или сигналов между основной частью 100 устройства и вмещающим элементом в сборе 300 для никотина и/или обмена ими надежным и точным способом. Хотя были рассмотрены различные аспекты в отношении электрических контактов устройства основной части 100 устройства, следует понимать, что примерные варианты осуществления не ограничиваются этим и что могут использоваться другие конфигурации.
На фиг. 13 показан частичный покомпонентный вид, включающий мундштук, показанный на фиг. 12. Как показано на фиг. 13, мундштук 102 выполнен с возможностью зацепления с кожухом устройства через удерживающую конструкцию 140. В примерном варианте осуществления удерживающая конструкция 140 расположена так, чтобы первично находиться между каркасом 106 и наклонной конструкцией 112. Как показано, удерживающая конструкция 140 размещена внутри кожуха устройства таким образом, что ближний конец удерживающей конструкции 140 простирается через ближний конец каркаса 106. Удерживающая конструкция 140 может немного выступать за ближний конец каркаса 106 или по существу быть на одном уровне с ним. Ближний конец удерживающей конструкции 140 выполнен с возможностью размещения дальнего конца мундштука 102. Ближний конец удерживающей конструкции 140 может представлять собой охватывающий конец, в то время как дальний конец мундштука может представлять собой охватываемый конец.
Например, мундштук 102 может быть соединен (например, разъемно соединен) с удерживающей конструкцией 140 с помощью байонетного соединения. В таком случае охватывающий конец удерживающей конструкции 140 может определять пару противоположных L-образных пазов, в то время как охватываемый конец мундштука 102 может иметь противоположные радиальные элементы 134 (например, радиальные штифты), выполненные с возможностью зацепления с L-образными пазами удерживающей конструкции 140. Каждый из L-образных пазов удерживающей конструкции 140 имеет продольную часть и окружную часть. Необязательно край окружной части может иметь часть с засечками, чтобы помочь уменьшить или предотвратить вероятность того, что радиальный элемент 134 мундштука 102 непреднамеренно выйдет из зацепления. В неограничивающем варианте осуществления продольные части L-образных пазов простираются параллельно и вдоль продольной оси основной части 100 устройства, в то время как окружные части L-образных пазов простираются вокруг продольной оси (например, центральной оси) основной части 100 устройства. В результате для соединения мундштука 102 с кожухом устройства, мундштук 102, показанный на фиг. 13, первоначально поворачивают на 90 градусов для выравнивания радиальных элементов 134 с входами в продольные части L-образных пазов удерживающей конструкции 140. Затем мундштук 102 вталкивают в удерживающую конструкцию 140 таким образом, что радиальные элементы 134 скользят вдоль продольных частей L-образных пазов до тех пор, пока не будет достигнуто соединение с каждой из окружных частей. В этом месте мундштук 102 затем поворачивают таким образом, что радиальные элементы 134 перемещаются по окружным частям до тех пор, пока не будет достигнут край каждой из них. В случае, когда на каждом краю присутствует часть с засечками, может быть создана тактильная и/или слышимая обратная связь (например, слышимый щелчок), чтобы уведомить взрослого вейпера о том, что мундштук 102 был правильно присоединен к кожуху устройства.
Мундштук 102 определяет проход 136 для пара, через который протекает пар никотина во время курения электронной сигареты. Проход 136 для пара находится в сообщении по текучей среде со сквозным отверстием 150 (а именно там, где вмещающий элемент в сборе 300 для никотина посажен внутри основной части 100 устройства). Ближний конец прохода 136 для пара может содержать расширяющуюся к низу часть. Кроме того, мундштук 102 может содержать концевую крышку 138. Концевая крышка 138 может сужаться от своего дальнего конца к своему ближнему концу. Выпускная поверхность концевой крышки 138 определяет множество выпускных отверстий для пара. Хотя в концевой крышке 138 показаны четыре выпускных отверстия для пара, следует понимать, что примерные варианты осуществления не ограничиваются этим.
На фиг. 14 показан частичный покомпонентный вид, включающий наклонную конструкцию, показанную на фиг. 9. На фиг. 15 показан увеличенный вид в перспективе мундштука, пружин, удерживающей конструкции и наклонной конструкции, показанных на фиг. 14. Как показано на фиг. 14-15, наклонная конструкция 112 содержит расположенную раньше по ходу потока боковую стенку и расположенную дальше по ходу потока боковую стенку. Расположенная раньше по ходу потока боковая стенка наклонной конструкции 112 определяет проем 146 для соединителя. Проем 146 для соединителя выполнен таким образом, что в нем виден или размещен электрический соединитель 132 устройства основной части 100 устройства. Расположенная дальше по ходу потока боковая стенка наклонной конструкции 112 определяет первый расположенный дальше по ходу потока проем 148а, второй расположенный дальше по ходу потока проем 148b и третий расположенный дальше по ходу потока проем 148с. Первый расположенный дальше по ходу потока проем 148а и второй расположенный дальше по ходу потока проем 148b наклонной конструкции 112 выполнены с возможностью размещения первого расположенного дальше по ходу потока выступа 130а и второго расположенного дальше по ходу потока выступа 130b соответственно удерживающей конструкции 140. Третий расположенный дальше по ходу потока проем 148 с наклонной конструкции 112 выполнен с возможностью размещения дальнего конца мундштука 102.
Как показано на фиг. 14, первый расположенный дальше по ходу потока выступ 130а и второй расположенный дальше по ходу потока выступ 130b находятся на вогнутой стороне удерживающей конструкции 140. Как показано на фиг. 15, первый стержень 142а и второй стержень 142b находятся на противоположной выпуклой стороне удерживающей конструкции 140. Первая пружина 144а и вторая пружина 144b размещены на первом стержне 142а и втором стержне 142b соответственно. Первая пружина 144а и вторая пружина 144b выполнены с возможностью смещения удерживающей конструкции 140 относительно наклонной конструкции 112.
В собранном виде наклонная конструкция 112 может быть прикреплена к каркасу 106 посредством пары лапок, смежной с проемом 146 для соединителя. Кроме того, удерживающая конструкция 140 будет примыкать к наклонной конструкции 112 таким образом, что первый расположенный дальше по ходу потока выступ 130а и второй расположенный дальше по ходу потока выступ 130b простираются через первый расположенный дальше по ходу потока проем 148а и второй расположенный дальше по ходу потока проем 148b соответственно. Мундштук 102 будет соединен с удерживающей конструкцией 140 таким образом, что дальний конец мундштука 102 будет простираться через удерживающую конструкцию 140, а также третий расположенный дальше по ходу потока проем 148 с наклонной конструкции 112. Первая пружина 144а и вторая пружина 144b будут находиться между каркасом 106 и удерживающей конструкцией 140.
Когда вмещающий элемент в сборе 300 для никотина будет вставлен в сквозное отверстие 150 основной части 100 устройства, расположенный дальше по ходу потока конец вмещающего элемента в сборе 300 для никотина будет проталкивать первый расположенный дальше по ходу потока выступ 130а и второй расположенный дальше по ходу потока выступ 130b удерживающей конструкции 140. В результате первый расположенный дальше по ходу потока выступ 130а и второй расположенный дальше по ходу потока выступ 130b удерживающей конструкции 140 будут упруго пружинить и втягиваться из сквозного отверстия 150 основной части 100 устройства (благодаря сжатию первой пружины 144а и второй пружины 144b), таким образом обеспечивая продолжение вставки вмещающего элемента в сборе 300 для никотина. В примерном варианте осуществления, когда первый расположенный дальше по ходу потока выступ 130а и второй расположенный дальше по ходу потока выступ 130b полностью втянуты из сквозного отверстия 150 основной части 100 устройства, смещение удерживающей конструкции 140 может привести к контактированию концов первого стержня 142а и второго стержня 142b с внутренней концевой поверхностью каркаса 106. Помимо этого, поскольку мундштук 102 соединен с удерживающей конструкцией 140, дальний конец мундштука 102 будет втягиваться из сквозного отверстия 150, тем самым также приводя к сдвигу ближнего конца мундштука 102 (например, видимой части, включающей концевую крышку 138) на соответствующее расстояние от кожуха устройства.
Как только вмещающий элемент в сборе 300 для никотина вставлен надлежащим образом так, что первое расположенное дальше по ходу потока углубление и второе расположенное дальше по ходу потока углубление вмещающего элемента в сборе 300 для никотина достигают положения, делающего возможным зацепление с первым расположенным дальше по ходу потока выступом 130а и вторым расположенным дальше по ходу потока выступом 130b соответственно, накопленная энергия сжатия первой пружины 144а и второй пружины 144b приводит к тому, что первый расположенный дальше по ходу потока выступ 130а и второй расположенный дальше по ходу потока выступ 130b упруго выдвигаются и входят в зацепление с первым расположенным дальше по ходу потока углублением и вторым расположенным дальше по ходу потока углублением соответственно вмещающего элемента в сборе 300 для никотина. Помимо этого, зацепление может вызвать тактильную и/или слышимую обратную связь (например, слышимый щелчок) для уведомления взрослого вейпера о том, что вмещающий элемент в сборе 300 для никотина правильно посажен внутри сквозного отверстия 150 основной части 100 устройства.
На фиг. 16 показан частичный покомпонентный вид, включающий переднюю крышку, каркас и заднюю крышку, показанные на фиг. 14. Как показано на фиг. 16, различные механические элементы, электронные элементы и/или компоновка схем, связанные с работой устройства 500 для курения содержащей никотин э-сигареты, могут быть прикреплены к каркасу 106. Передняя крышка 104 и задняя крышка 108 могут быть выполнены с возможностью зацепления с каркасом 106 посредством компоновки на защелках. В примерном варианте осуществления передняя крышка 104 и задняя крышка 108 содержат зажимы, выполненные с возможностью взаимного соединения с соответствующими сопрягаемыми элементами каркаса 106. Зажимы могут иметь форму лапок с отверстиями, выполненными с возможностью размещения соответствующих сопрягаемых элементов (например, выступов со скошенными кромками) каркаса 106. На фиг. 16 передняя крышка 104 имеет два ряда по четыре зажима в каждом (всего восемь зажимов для передней крышки 104). Аналогично задняя крышка 108 имеет два ряда по четыре зажима в каждом (всего восемь зажимов для задней крышки 108). Соответствующие сопрягаемые элементы каркаса 106 могут находиться на внутренних боковых стенках каркаса 106. В результате зацепленные зажимы и сопрягаемые элементы могут быть скрыты из вида при взаимном защелкивании передней крышки 104 и задней крышки 108. Альтернативно передняя крышка 104 и/или задняя крышка 108 могут быть выполнены с возможностью зацепления с каркасом 106 посредством посадки с натягом. Однако следует понимать, что переднюю крышку 104, каркас 106 и заднюю крышку 108 можно соединить с помощью других подходящих компоновок и методик.
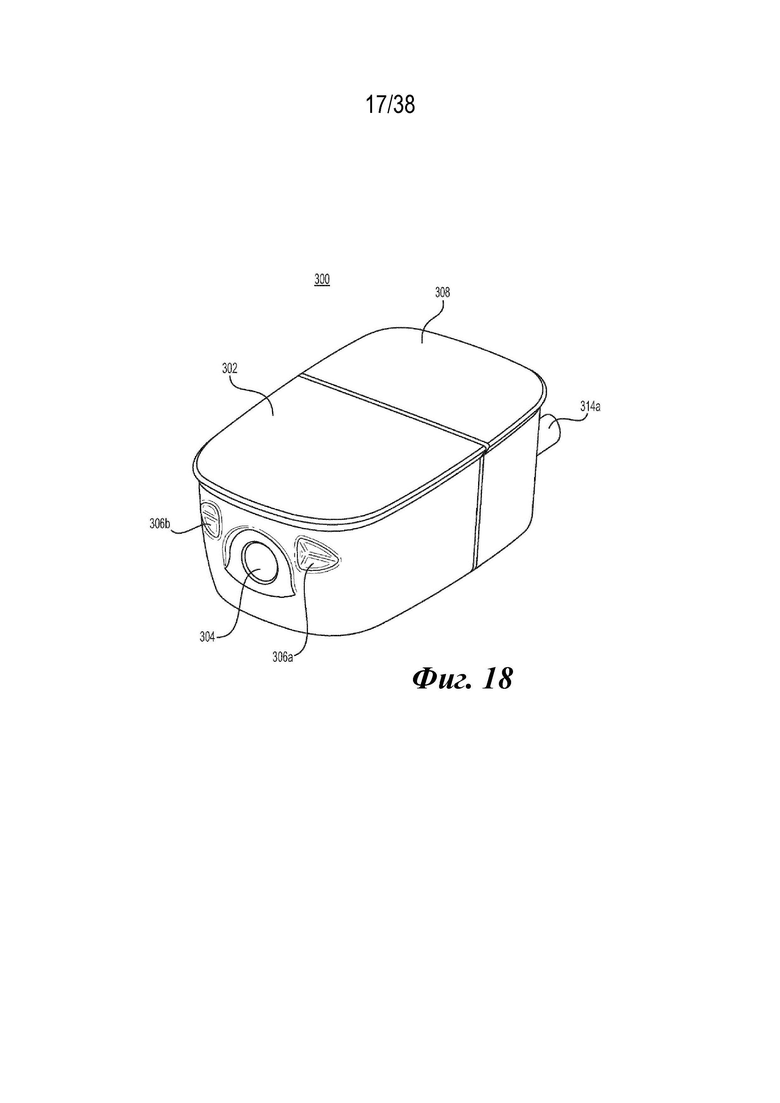
На фиг. 17 показан вид в перспективе вмещающего элемента в сборе для никотина устройства для курения содержащей никотин э-сигареты, показанного на фиг. 6. На фиг. 18 показан другой вид в перспективе вмещающего элемента в сборе для никотина по фиг. 17. На фиг. 19 показан другой вид в перспективе вмещающего элемента в сборе для никотина по фиг. 18. Как показано на фиг. 17-19, вмещающий элемент в сборе 300 для никотина устройства 500 для курения содержащей никотин э-сигареты содержит основную часть вмещающего элемента, выполненную с возможностью удержания содержащего никотин готового состава для пара. Основная часть вмещающего элемента имеет расположенный раньше по ходу потока конец и расположенный дальше по ходу потока конец. В расположенном раньше по ходу потока конце основной части вмещающего элемента образована полость 310 (фиг. 20). В расположенном дальше по ходу потока конце основной части вмещающего элемента образовано выпускное отверстие 304 вмещающего элемента, которое находится в сообщении по текучей среде с полостью 310 на расположенном раньше по ходу потока конце. Соединительный модуль 320 выполнен с возможностью посадки внутри полости 310 основной части вмещающего элемента. Соединительный модуль 320 включает внешнюю поверхность и боковую поверхность. Внешняя поверхность соединительного модуля 320 образует внешнюю основную часть вмещающего элемента.
Внешняя поверхность соединительного модуля 320 образует впускное отверстие 322 вмещающего элемента. Впускное отверстие 322 вмещающего элемента (через которое поступает воздух во время курения электронной сигареты) находится в сообщении по текучей среде с выпускным отверстием 304 вмещающего элемента (через которое выходит пар никотина во время курения электронной сигареты). Впускное отверстие 322 вмещающего элемента показано на фиг. 19 в форме паза. Однако следует понимать, что примерные варианты осуществления не ограничиваются этим и что возможны другие формы. Когда соединительный модуль 320 посажен внутри полости 310 основной части вмещающего элемента, внешняя поверхность соединительного модуля 320 остается видимой, в то время как боковая поверхность соединительного модуля 320 становится в основном затемненной, чтобы быть видимой только частично через впускное отверстие 322 вмещающего элемента на основании заданного угла.
Внешняя поверхность соединительного модуля 320 содержит по меньшей мере один электрический контакт. По меньшей мере один электрический контакт может содержать несколько контактов питания. Например, несколько контактов питания могут включать в себя первый контакт 324а питания и второй контакт 324b питания. Первый контакт 324а питания вмещающего элемента в сборе 300 для никотина выполнен с возможностью электрического соединения с первой парой контактов питания (например, с парой, смежной с первым расположенным раньше по ходу потока выступом 128а на фиг. 12) электрического соединителя 132 устройства основной части 100 устройства. Аналогично второй контакт 324b питания вмещающего элемента в сборе 300 для никотина выполнен с возможностью электрического соединения со второй парой контактов питания (например, с парой, смежной со вторым расположенным раньше по ходу потока выступом 128b на фиг. 12) электрического соединителя 132 устройства основной части 100 устройства. Кроме того, по меньшей мере один электрический контакт вмещающего элемента в сборе 300 для никотина содержит несколько контактов 326 данных. Несколько контактов 326 данных вмещающего элемента в сборе 300 для никотина выполнены с возможностью электрического соединения с контактами данных электрического соединителя 132 устройства (например, ряд из пяти выступающих частей на фиг. 12). Хотя два контакта питания и пять контактов данных показаны в сочетании с вмещающим элементом в сборе 300 для никотина, следует понимать, что возможны и другие варианты в зависимости от конструкции основной части 100 устройства.
В примерном варианте осуществления вмещающий элемент в сборе 300 для никотина содержит переднюю поверхность, заднюю поверхность, противоположную передней поверхности, первую боковую поверхность между передней поверхностью и задней поверхностью, вторую боковую поверхность, противоположную первой боковой поверхности, расположенную раньше по ходу потока концевую поверхность и расположенную дальше по ходу потока концевую поверхность, противоположную расположенной раньше по ходу потока концевой поверхности. Углы боковой и концевой поверхностей (например, угол первой боковой поверхности и расположенной раньше по ходу потока концевой поверхности, угол расположенной раньше по ходу потока концевой поверхности и второй боковой поверхности, угол второй боковой поверхности и расположенной дальше по ходу потока концевой поверхности, угол расположенной дальше по ходу потока концевой поверхности и первой боковой поверхности) могут быть закруглены. Однако в некоторых случаях углы могут быть заостренными. Кроме того, периферийная кромка передней поверхности может иметь форму уступа. Внешняя поверхность соединительного модуля 320 может быть рассмотрена как часть расположенной раньше по ходу потока концевой поверхности вмещающего элемента в сборе 300 для никотина. Передняя поверхность вмещающего элемента в сборе 300 для никотина может быть шире и длиннее задней поверхности. В таком случае первая боковая поверхность и вторая боковая поверхность могут быть наклонены под углом внутрь друг к другу. Расположенная раньше по ходу потока концевая поверхность и расположенная дальше по ходу потока концевая поверхность могут также быть наклонены под углом внутрь друг к другу. Благодаря наклоненным под углом поверхностям, вставка вмещающего элемента в сборе 300 для никотина будет осуществляться в одном направлении (например, с передней стороны (стороны, связанной с передней крышкой 104) основной части 100 устройства). В результате можно уменьшить или предотвратить возможность неправильной вставки вмещающего элемента в сборе 300 для никотина в основную часть 100 устройства.
Как проиллюстрировано, основная часть вмещающего элемента для вмещающего элемента в сборе 300 для никотина содержит первую секцию 302 кожуха и вторую секцию 308 кожуха. Первая секция 302 кожуха имеет расположенный дальше по ходу потока конец, определяющий выпускное отверстие 304 вмещающего элемента. Обод выпускного отверстия 304 вмещающего элемента может необязательно представлять собой утопленную или вдавленную область. В таком случае эта область может напоминать свод, при этом сторона обода, смежная с задней поверхностью вмещающего элемента в сборе 300 для никотина, может быть открыта, в то время как сторона обода, смежная с передней поверхностью, может быть окружена приподнятой частью расположенного дальше по ходу потока конца первой секции 302 кожуха. Приподнятая часть может функционировать как стопор для дальнего конца мундштука 102. В результате такая конфигурация выпускного отверстия 304 вмещающего элемента может облегчить размещение и выравнивание дальнего конца мундштука 102 (например, фиг. 11) через открытую сторону обода и его последующую посадку на приподнятую часть расположенного дальше по ходу потока конца первой секции 302 кожуха. В неограничивающем варианте осуществления дальний конец мундштука 102 может также содержать упругий материал (или быть образован из него), который помогает создать уплотнение вокруг выпускного отверстия 304 вмещающего элемента, когда вмещающий элемент в сборе 300 для никотина вставлен надлежащим образом внутри сквозного отверстия 150 основной части 100 устройства.
Расположенный дальше по ходу потока конец первой секции 302 кожуха дополнительно определяет по меньшей мере одно расположенное дальше по ходу потока углубление. В примерном варианте осуществления по меньшей мере одно расположенное дальше по ходу потока углубление имеет форму первого расположенного дальше по ходу потока углубления 306а и второго расположенного дальше по ходу потока углубления 306b. Выпускное отверстие 304 вмещающего элемента может находиться между первым расположенным дальше по ходу потока углублением 306а и вторым расположенным дальше по ходу потока углублением 306b. Первое расположенное дальше по ходу потока углубление 306а и второе расположенное дальше по ходу потока углубление 306b выполнены с возможностью зацепления с первым расположенным дальше по ходу потока выступом 130а и вторым расположенным дальше по ходу потока выступом 130b соответственно основной части 100 устройства. Как показано на фиг. 11, первый расположенный дальше по ходу потока выступ 130а и второй расположенный дальше по ходу потока выступ 130b основной части 100 устройства могут быть размещены на смежных углах расположенной дальше по ходу потока боковой стенки сквозного отверстия 150. Каждое из первого расположенного дальше по ходу потока углубления 306а и второго расположенного дальше по ходу потока углубления 306b может иметь форму V-образной выемки. В таком случае каждый из первого расположенного дальше по ходу потока выступа 130а и второго расположенного дальше по ходу потока выступа 130b основной части 100 устройства может иметь форму клиновидной конструкции, выполненной с возможностью зацепления с соответствующей V-образной выемкой первого расположенного дальше по ходу потока углубления 306а и второго расположенного дальше по ходу потока углубления 306b. Первое расположенное дальше по ходу потока углубление 306а может примыкать к углу расположенной дальше по ходу потока концевой поверхности и первой боковой поверхности, в то время как второе расположенное дальше по ходу потока углубление 306b может примыкать к углу расположенной дальше по ходу потока концевой поверхности и второй боковой поверхности. В результате кромки первого расположенного дальше по ходу потока углубления 306а и второго расположенного дальше по ходу потока углубления 306b, смежных с первой боковой поверхностью и второй боковой поверхностью соответственно, могут быть открыты. В таком случае, как показано на фиг.18, каждое из первого расположенного дальше по ходу потока углубления 306а и второго расположенного дальше по ходу потока углубления 306b может быть 3-сторонним углублением.
Вторая секция 308 кожуха имеет расположенный раньше по ходу потока конец, образующий полость 310 (фиг. 20). Полость 310 выполнена с возможностью размещения соединительного модуля 320 (фиг. 21). Кроме того, в расположенном раньше по ходу потока конце второй секции 308 кожуха образовано по меньшей мере одно расположенное раньше по ходу потока углубление. В примерном варианте осуществления по меньшей мере одно расположенное раньше по ходу потока углубление имеет форму первого расположенного раньше по ходу потока углубления 312а и второго расположенного раньше по ходу потока углубления 312b. Впускное отверстие 322 вмещающего элемента может находиться между первым расположенным раньше по ходу потока углублением 312а и вторым расположенным раньше по ходу потока углублением 312b. Первое расположенное раньше по ходу потока углубление 312а и второе расположенное раньше по ходу потока углубление 312b выполнены с возможностью зацепления с первым расположенным раньше по ходу потока выступом 128а и вторым расположенным раньше по ходу потока выступом 128b соответственно основной части 100 устройства. Как показано на фиг. 12, первый расположенный раньше по ходу потока выступ 128а и второй расположенный раньше по ходу потока выступ 128b основной части 100 устройства могут быть размещены на смежных углах расположенной раньше по ходу потока боковой стенки сквозного отверстия 150. Глубина каждого из первого расположенного раньше по ходу потока углубления 312а и второго расположенного раньше по ходу потока углубления 312b может быть больше, чем глубина каждого из первого расположенного дальше по ходу потока углубления 306а и второго расположенного дальше по ходу потока углубления 306b. Край каждого из первого расположенного раньше по ходу потока углубления 312а и второго расположенного раньше по ходу потока углубления 312b может также быть более закругленным, чем край каждого из первого расположенного дальше по ходу потока углубления 306а и второго расположенного дальше по ходу потока углубления 306b. Например, первое расположенное раньше по ходу потока углубление 312а и второе расположенное раньше по ходу потока углубление 312b могут также иметь форму U-образного выреза. В таком случае каждый из первого расположенного раньше по ходу потока выступа 128а и второго расположенного раньше по ходу потока выступа 128b основной части 100 устройства может иметь форму округлой выпуклости, выполненной с возможностью зацепления с соответствующим U-образным вырезом первого расположенного раньше по ходу потока углубления 312а и второго расположенного раньше по ходу потока углубления 312b. Первое расположенное раньше по ходу потока углубление 312а может примыкать к углу расположенной раньше по ходу потока концевой поверхности и первой боковой поверхности, в то время как второе расположенное раньше по ходу потока углубление 312b может примыкать к углу расположенной раньше по ходу потока концевой поверхности и второй боковой поверхности. В результате кромки первого расположенного раньше по ходу потока углубления 312а и второго расположенного раньше по ходу потока углубления 312b, смежных с первой боковой поверхностью и второй боковой поверхностью соответственно, могут быть открыты.
Первая секция 302 кожуха может образовывать внутри резервуар для никотина, выполненный с возможностью удержания содержащего никотин готового состава для пара. Резервуар для никотина может быть выполнен с возможностью герметичного запечатывания содержащего никотин готового состава для пара до активации вмещающего элемента в сборе 300 для никотина для высвобождения содержащего никотин готового состава для пара из резервуара для никотина. В результате герметичного запечатывания содержащий никотин готовый состав для пара может быть изолирован от окружающей среды, а также внутренних элементов вмещающего элемента в сборе 300 для никотина, которые могут потенциально вступать в реакцию с содержащим никотин готовым составом для пара, что тем самым снижает или предотвращает возможность отрицательных воздействий на срок годности и/или органолептические характеристики (например, вкус) содержащего никотин готового состава для пара. Вторая секция 308 кожуха может содержать конструкции, выполненные с возможностью активации вмещающего элемента в сборе 300 для никотина и с возможностью размещения и нагрева содержащего никотин готового состава для пара, высвобождаемого из резервуара для никотина после активации.
Вмещающий элемент в сборе 300 для никотина может быть активирован вручную взрослым вейпером до вставки вмещающего элемента в сборе 300 для никотина в основную часть 100 устройства. Альтернативно вмещающий элемент в сборе 300 для никотина может быть активирован как часть вставки вмещающего элемента в сборе 300 для никотина в основную часть 100 устройства. В примерном варианте осуществления вторая секция 308 кожуха основной части вмещающего элемента содержит перфоратор, выполненный с возможностью высвобождения содержащего никотин готового состава для пара из резервуара для никотина во время активации вмещающего элемента в сборе 300 для никотина. Перфоратор может иметь форму первого пробойника 314а активации и второго пробойника 314b активации, которые будут рассмотрены более подробно в настоящем документе.
Для активации вмещающего элемента в сборе 300 для никотина вручную взрослый вейпер может прижать внутрь первый пробойник 314а активации и второй пробойник 314b активации (например, одновременно или последовательно) перед тем, как вставить вмещающий элемент в сборе 300 для никотина в сквозное отверстие 150 основной части 100 устройства. Например, первый пробойник 314а активации и второй пробойник 314b активации могут нажиматься вручную до тех пор, пока их концы не будут практически выровнены с расположенной раньше по ходу потока концевой поверхностью вмещающего элемента в сборе 300 для никотина. В примерном варианте осуществления движение первого пробойника 314а активации и второго пробойника 314b активации внутрь вызывает прокол или другое нарушение герметичности резервуара для никотина, чтобы высвободить из него содержащий никотин готовый состав для пара.
Альтернативно для активации вмещающего элемента в сборе 300 для никотина как части вставки вмещающего элемента в сборе 300 для никотина в основную часть 100 устройства вмещающий элемент в сборе 300 для никотина первоначально расположен таким образом, что первое расположенное раньше по ходу потока углубление 312а и второе расположенное раньше по ходу потока углубление 312b зацеплены с первым расположенным раньше по ходу потока выступом 128а и вторым расположенным раньше по ходу потока выступом 128b соответственно (например, расположенное раньше по ходу потока зацепление). Поскольку каждый из первого расположенного раньше по ходу потока выступа 128а и второго расположенного раньше по ходу потока выступа 128b основной части 100 устройства может иметь форму округлой выпуклости, выполненной с возможностью зацепления с соответствующим U-образным вырезом первого расположенного раньше по ходу потока углубления 312а и второго расположенного раньше по ходу потока углубления 312b, вмещающий элемент в сборе 300 для никотина может быть впоследствии относительно легко повернут вокруг первого расположенного раньше по ходу потока выступа 128а и второго расположенного раньше по ходу потока выступа 128b и в сквозное отверстие 150 основной части 100 устройства.
Что касается поворота вмещающего элемента в сборе 300 для никотина, ось вращения можно рассматривать как простирающуюся через первый расположенный раньше по ходу потока выступ 128а и второй расположенный раньше по ходу потока выступ 128b и ориентированную ортогонально к продольной оси основной части 100 устройства. Во время установки начального положения и последующего поворота вмещающего элемента в сборе 300 для никотина первый пробойник 314а активации и второй пробойник 314b активации будут вступать в контакт с расположенной раньше по ходу потока боковой стенкой сквозного отверстия 150 и переходить из выдвинутого состояния во втянутое состояние по мере того, как первый пробойник 314а активации и второй пробойник 314b активации вталкиваются (например, одновременно) во вторую секцию 308 кожуха по мере того, как вмещающий элемент в сборе 300 для никотина продвигается в сквозное отверстие 150. Когда расположенный дальше по ходу потока конец вмещающего элемента в сборе 300 для никотина достигает области вблизи расположенной дальше по ходу потока боковой стенки сквозного отверстия 150 и входит в контакт с первым расположенным дальше по ходу потока выступом 130а и вторым расположенным дальше по ходу потока выступом 130b, первый расположенный дальше по ходу потока выступ 130а и второй расположенный дальше по ходу потока выступ 130b будут втягиваться, а затем упруго выдвигаться (например, отпружинивать), когда положение вмещающего элемента в сборе 300 для никотина позволяет первому расположенному дальше по ходу потока выступу 130а и второму расположенному дальше по ходу потока выступу 130b основной части 100 устройства входить в зацепление с первым расположенным дальше по ходу потока углублением 306а и вторым расположенным дальше по ходу потока углублением 306b соответственно вмещающего элемента в сборе 300 для никотина (например, расположенное дальше по ходу потока зацепление).
Как отмечено выше, согласно примерному варианту осуществления мундштук 102 прикреплен к удерживающей конструкции 140 (частью которой являются первый расположенный дальше по ходу потока выступ 130а и второй расположенный дальше по ходу потока выступ 130b). В таком случае втягивание первого расположенного дальше по ходу потока выступа 130а и второго расположенного дальше по ходу потока выступа 130b из сквозного отверстия 150 вызовет одновременный сдвиг мундштука 102 на соответствующее расстояние в том же направлении (например, в направлении дальше по ходу потока). С другой стороны, мундштук 102 будет отпружинивать одновременно с первым расположенным дальше по ходу потока выступом 130а и вторым расположенным дальше по ходу потока выступом 130b, когда вмещающий элемент в сборе 300 для никотина будет достаточно вставлен для облегчения расположенного дальше по ходу потока зацепления. В дополнение к упругому зацеплению первым расположенным дальше по ходу потока выступом 130а и вторым расположенным дальше по ходу потока выступом 130b, дальний конец мундштука 102 выполнен также с возможностью смещения по отношению к вмещающему элементу в сборе 300 для никотина (и выровнен с выпускным отверстием 304 вмещающего элемента для образования относительно паронепроницаемого уплотнения), когда вмещающий элемент в сборе 300 для никотина надлежащим образом посажен внутри сквозного отверстия 150 основной части 100 устройства.
Помимо этого, расположенное дальше по ходу потока зацепление может создавать слышимый щелчок и/или тактильную обратную связь, чтобы указать на то, что вмещающий элемент в сборе 300 для никотина правильно посажен внутри сквозного отверстия 150 основной части 100 устройства. При правильной посадке вмещающий элемент в сборе 300 для никотина будет соединен механически, электрически и по текучей среде с основной частью 100 устройства. Несмотря на то что в неограничивающих вариантах осуществления в настоящем документе описано расположенное раньше по ходу потока зацепление вмещающего элемента в сборе 300 для никотина, имеющее место перед расположенным дальше по ходу потока зацеплением, следует понимать, что подходящие сопряжение, активация и/или электрические компоновки могут быть обратными, так что расположенное дальше по ходу потока зацепление имеет место перед расположенным раньше по ходу потока зацеплением.
На фиг. 20 показан вид в перспективе вмещающего элемента в сборе для никотина по фиг. 19 без соединительного модуля. Как показано на фиг. 20, расположенный раньше по ходу потока конец второй секции 308 кожуха образует полость 310. Как указано выше, полость 310 выполнена с возможностью размещения соединительного модуля 320 (например, посредством посадки с натягом). В примерном варианте осуществления полость 310 расположена между первым расположенным раньше по ходу потока углублением 312а и вторым расположенным раньше по ходу потока углублением 312b, а также расположен между первым пробойником 314а активации и вторым пробойником 314b активации. При отсутствии соединительного модуля 320, вставка 342 (фиг. 24) и абсорбирующий материал 346 (фиг. 25) видны через углубленный проем в полости 310. Вставка 342 выполнена с возможностью удерживания абсорбирующего материала 346. Абсорбирующий материал 346 выполнен с возможностью поглощения и удержания некоторого количества содержащего никотин готового состава для пара, высвобождаемого из резервуара для никотина, когда вмещающий элемент в сборе 300 для никотина активирован. Вставка 342 и абсорбирующий материал 346 будут рассмотрены более подробно в настоящем документе.
На фиг. 21 показан вид в перспективе соединительного модуля на фиг. 19. На фиг. 22 показан другой вид в перспективе соединительного модуля по фиг. 21. Как показано на фиг. 21-22, общая рама соединительного модуля 320 содержит кожух 354 модуля и лицевую пластину 366. Кроме того, соединительный модуль 320 имеет множество поверхностей, включая внешнюю поверхность и боковую поверхность, при этом внешняя поверхность является смежной с боковой поверхностью. В примерном варианте осуществления внешняя поверхность соединительного модуля 320 состоит из расположенных раньше по ходу потока поверхностей лицевой пластины 366, первого контакта 324а питания, второго контакта 324b питания и контактов 326 данных. Боковая поверхность соединительного модуля 320 может быть частью кожуха 354 модуля. Боковая поверхность соединительного модуля 320 образует первое впускное отверстие 330 модуля и второе впускное отверстие 332 модуля. Помимо этого, две латеральные поверхности, смежные с боковыми поверхностями (которые также являются частью кожуха 354 модуля), могут содержать ребристые конструкции (например, сдавленные ребра), выполненные с возможностью облегчения посадки с натягом, когда соединительный модуль 320 посажен внутри полости 310 основной части вмещающего элемента. Например, каждая из двух латеральных поверхностей может содержать пару ребристых конструкций, которые сужаются от лицевой пластины 366. В результате, кожух 354 модуля будет сталкиваться с возрастающим сопротивлением за счет трения ребристых конструкций о латеральные стенки полости 310 по мере вдавливания соединительного модуля 320 в полость 310 основной части вмещающего элемента. Когда соединительный модуль 320 посажен внутри полости 310, лицевая пластина 366 может быть по существу вровень с расположенным раньше по ходу потока концом второй секции 308 кожуха. Также боковая поверхность (которая образует первое впускное отверстие 330 модуля и второе впускное отверстие 332 модуля) соединительного модуля 320 будет обращена к боковой стенке полости 310.
Лицевая пластина 366 соединительного модуля 320 может иметь кромку 328 с канавками, которая в комбинации с соответствующей боковой поверхностью полости 310 образует впускное отверстие 322 вмещающего элемента. Однако следует понимать, что примерные варианты осуществления этим не ограничены. Например, лицевая пластина 366 соединительного модуля 320 может быть альтернативно выполнена таким образом, чтобы полностью образовывать впускное отверстие 322 вмещающего элемента. Боковая поверхность (которая образует первое впускное отверстие 330 модуля и второе впускное отверстие 332 модуля) соединительного модуля 320 и боковая стенка полости 310 (которая обращена к боковой поверхности) образуют промежуточное пространство между ними. Промежуточное пространство расположено дальше по ходу потока от впускного отверстия 322 вмещающего элемента и раньше по ходу потока от первого впускного отверстия 330 модуля и второго впускного отверстия 332 модуля. Следовательно, в примерном варианте осуществления впускное отверстие 322 вмещающего элемента находится в сообщении по текучей среде как с первым впускным отверстием 330 модуля, так и со вторым впускным отверстием 332 модуля через промежуточное пространство. Первое впускное отверстие 330 модуля может быть больше, чем второе впускное отверстие 332 модуля. В таком случае, когда поступающий воздух поступает во впускное отверстие 322 вмещающего элемента во время курения электронной сигареты, первое впускное отверстие 330 модуля может принимать первичный поток (например, больший поток) поступающего воздуха, в то время как второе впускное отверстие 332 модуля может принимать вторичный поток (например, меньший поток) поступающего воздуха.
Как показано на фиг. 22, соединительный модуль 320 содержит фитиль 338, который выполнен с возможностью передачи содержащего никотин готового состава для пара на нагреватель 336. Нагреватель 336 выполнен с возможностью нагрева содержащего никотин готового состава для пара во время курения электронной сигареты для генерирования пара. Нагреватель 336 может быть установлен в соединительном модуле 320 с помощью контактного сердечника 334. Нагреватель 336 электрически соединен с по меньшей мере одним электрическим контактом соединительного модуля 320. Например, один конец (например, первый конец) нагревателя 336 может быть соединен с первым контактом 324а питания, в то время как другой конец (например, второй конец) нагревателя 336 может быть соединен со вторым контактом 324b питания. В примерном варианте осуществления нагреватель 336 содержит сложенный нагревательный элемент. В таком случае фитиль 338 может иметь плоскую форму, приспособленную для удерживания сложенным нагревательным элементом. Когда соединительный модуль 320 посажен внутри полости 310 основной части вмещающего элемента, фитиль 338 приспособлен так, чтобы находиться в сообщении по текучей среде с абсорбирующим материалом 346 так, что содержащий никотин готовый состав для пара, находящийся в абсорбирующем материале 346 (когда вмещающий элемент в сборе 300 для никотина активирован), будет передаваться на фитиль 338 посредством капиллярного действия.
На фиг. 23 показан покомпонентный вид, включающий фитиль, нагреватель, электрические провода и контактный сердечник на фиг. 22. Как показано на фиг. 23, фитиль 338 может представлять собой волокнистую прокладку или другую конструкцию с порами / пустотами, предусмотренными для капиллярного действия. Кроме того, фитиль 338 может иметь форму неправильного шестиугольника, хотя примерные варианты осуществления этим не ограничены. Фитилю 338 можно придать шестиугольную форму, или его можно вырезать такой формы из большего листа материала. Поскольку нижняя секция фитиля 338 сужается к секции обмотки нагревателя 336, вероятность того, что содержащий никотин готовый состав для пара, находящийся в части фитиля 338, которая постоянно избегает испарения (из-за ее расстояния от нагревателя 336), можно уменьшить или устранить.
В примерном варианте осуществления нагреватель 336 выполнен с возможностью подвергания джоулеву нагреву (который также известен как омический / резистивный нагрев) при подаче на него электрического тока. Говоря более подробно, нагреватель 336 может быть образован из одного или более проводников и выполнен с возможностью создания тепла при прохождении через него электрического тока. Электрический ток может подаваться от источника питания (например, батареи) внутри основной части 100 устройства и переноситься на нагреватель 336 через первый контакт 324а питания и первый электрический провод 340а (или через второй контакт 324b питания и второй электрический провод 340b).
Подходящие проводники для нагревателя 336 содержат сплав на основе железа (например, нержавеющую сталь) и/или сплав на основе никеля (например, нихром). Нагреватель 336 может быть изготовлен из проводящего листа (например, из металла, сплава), который штампуется для вырезания из него узора обмотки. Узор обмотки может иметь изогнутые сегменты, поочередно скомпонованные с горизонтальными сегментами, чтобы позволить горизонтальным сегментам двигаться зигзагом назад и вперед, в то же время простираясь параллельно. Кроме того, ширина каждого из горизонтальных сегментов узора обмотки может быть по существу равна расстоянию между смежными горизонтальными сегментами узора обмотки, хотя примерные варианты осуществления не ограничиваются этим. Для получения формы нагревателя 336, показанной на графических материалах, узор обмотки может быть сложен таким образом, чтобы захватывать фитиль 338.
Нагреватель 336 может быть прикреплен к контактному сердечнику 334 с помощью первого электрического провода 340а и второго электрического провода 340b. Контактный сердечник 334 образован из изоляционного материала и выполнен с возможностью электрической изоляции первого электрического провода 340а от второго электрического провода 340b. В примерном варианте осуществления каждый первый электрический провод 340а и каждый второй электрический провод 340b образуют охватывающее отверстие, которое выполнено с возможностью зацепления с соответствующими охватываемыми элементами контактного сердечника 334. Как только произошло зацепление, первый конец и второй конец нагревателя 336 могут быть прикреплены (например, приварены, припаяны, спаяны) к первому электрическому проводу 340а и ко второму электрическому проводу 340b, соответственно. Затем контактный сердечник 334 может быть размещен в соответствующем гнезде в кожухе 354 модуля (например, посредством посадки с натягом). По завершении сборки соединительного модуля 320, первый электрический провод 340а электрически соединит первый конец нагревателя 336 с первым контактом 324а питания, в то время как второй электрический провод 340b электрически соединит второй конец нагревателя 336 со вторым контактом 324b питания. Нагреватель и связанные с ним конструкции рассмотрены более подробно в заявке на патент США №15/729909 под названием «Folded Heater For Nicotine electronic vaping device» (номер патентного реестра 24000-000371-US), поданной 11 октября 2017 г., полное содержание которой включено в настоящий документ посредством ссылки.
На фиг. 24 показан покомпонентный вид, включающий первую секцию кожуха вмещающего элемента в сборе для никотина по фиг. 17. Как показано на фиг. 24, первая секция 302 кожуха содержит канал 316 для пара. Канал 316 для пара выполнен с возможностью приема пара никотина, генерируемого нагревателем 336, и находится в сообщении по текучей среде с выпускным отверстием 304 вмещающего элемента. В примерном варианте осуществления канал 316 для пара может постепенно увеличиваться в размере (например, диаметре) по мере того, как он простирается в направлении выпускного отверстия 304 вмещающего элемента. Кроме того, канал 316 для пара может быть образован как единое целое с первой секцией 302 кожуха. Обертка 318, вставка 342 и уплотнение 344 размещены на расположенном раньше по ходу потока конце первой секции 302 кожуха для определения резервуара для никотина вмещающего элемента в сборе 300 для никотина. Например, обертка 318 может быть расположена на ободе первой секции 302 кожуха. Вставка 342 может быть посажена внутри первой секции 302 кожуха таким образом, чтобы периферийная поверхность вставки 342 находилась в зацеплении с внутренней поверхностью первой секции 302 кожуха вдоль обода (например, посредством посадки с натягом), так что стык периферийной поверхности вставки 342 и внутренней поверхности первой секции 302 кожуха является непроницаемым для текучей среды (например, непроницаемым для жидкости и/или непроницаемым для воздуха). Помимо этого, уплотнение 344 прикреплено к расположенной раньше по ходу потока стороне вставки 342 для закрытия выпускных отверстий резервуара для никотина во вставке 342 для обеспечения непроницаемой для текучей среды (например, непроницаемой для жидкости и/или непроницаемой для воздуха) защитной оболочки содержащего никотин готового состава для пара в резервуаре для никотина.
В примерном варианте осуществления вставка 342 содержит часть в виде держателя, которая выступает из расположенной раньше по ходу потока стороны (как показано на фиг. 24), и часть в виде соединителя, которая выступает из расположенной дальше по ходу потока стороны (не показана на фиг. 24). Часть в виде держателя вставки 342 выполнена с возможностью удержания абсорбирующего материала 346, в то время как часть в виде соединителя вставки 342 выполнена с возможностью зацепления с каналом 316 для пара первой секции 302 кожуха. Часть в виде соединителя вставки 342 может быть выполнена с возможностью посадки внутри канала 316 для пара и, следовательно, зацепления с внутренней частью канала 316 для пара. Альтернативно часть в виде соединителя вставки 342 может быть выполнена с возможностью размещения канала 316 для пара и, следовательно, зацепления с внешней частью канала 316 для пара. Вставка 342 также определяет выпускные отверстия резервуара для никотина, через которые вытекает содержащий никотин готовый состав для пара, когда уплотнение 344 прокалывается (как показано на фиг. 24) во время активации вмещающего элемента в сборе 300 для никотина. Часть в виде держателя и часть в виде соединителя вставки 342 могут быть расположены между выпускными отверстиями резервуара для никотина (например, первым и вторым выпускными отверстиями резервуара для никотина), хотя примерные варианты осуществления не ограничиваются этим. Помимо этого, вставка 342 определяет паропровод, простирающийся через часть в виде держателя и часть в виде соединителя. В результате, когда вставка 342 посажена внутри первой секции 302 кожуха, паропровод вставки 342 будет выровнен и будет находиться в сообщении по текучей среде с каналом 316 для пара, образуя непрерывный путь через резервуар для никотина к выпускному отверстию 304 вмещающего элемента для пара никотина, генерируемого нагревателем 336 во время курения электронной сигареты.
Уплотнение 344 прикреплено к расположенной раньше по ходу потока стороне вставки 342, чтобы закрыть выпускные отверстия резервуара для никотина во вставке 342. В примерном варианте осуществления уплотнение 344 определяет проем (например, центральный проем), выполненный с возможностью обеспечения подходящего зазора для размещения части в виде держателя (выступающей из расположенной раньше по ходу потока стороны вставки 342), когда уплотнение 344 прикреплено к вставке 342. На фиг. 24 следует понимать, что уплотнение 344 показано в проколотом состоянии. В частности, при прокалывании первым пробойником 314а активации и вторым пробойником 314b активации вмещающего элемента в сборе 300 для никотина две проколотые секции уплотнения 344 будут выталкиваться в резервуар для никотина в виде клапанов (как показано на фиг. 24), таким образом создавая два проколотых проема (например, по одному с каждой стороны центрального проема) в уплотнении 344. Размер и форма проколотых проемов в уплотнении 344 могут соответствовать размеру и форме выпускных отверстий резервуара для никотина во вставке 342. В отличие от этого, в не проколотом состоянии уплотнение 344 будет иметь плоскую форму и только один проем (например, центральный проем). Уплотнение 344 выполнено достаточно прочным, чтобы оставаться неповрежденным во время нормального перемещения вмещающего элемента в сборе 300 для никотина и/или обращения с ним, чтобы избежать преждевременного/непреднамеренного проламывания. Например, уплотнение 344 может представлять собой фольгу с покрытием (например, тритан на алюминиевой основе).
На фиг. 25 показан частичный покомпонентный вид, включающий вторую секцию кожуха вмещающего элемента в сборе для никотина по фиг. 17. Как показано на фиг. 25, вторая секция 308 кожуха сконструирована так, чтобы содержать различные элементы, выполненные с возможностью высвобождения, размещения и нагрева содержащего никотин готового состава для пара. Например, первый пробойник 314а активации и второй пробойник 314b активации выполнены с возможностью прокола резервуара для никотина в первой секции 302 кожуха для высвобождения содержащего никотин готового состава для пара. Каждый из первого пробойника 314а активации и второго пробойника 314b активации имеет дальний конец, который проходит через соответствующие проемы во вторую секцию 308 кожуха. В примерном варианте осуществления дальние концы первого пробойника 314а активации и второго пробойника 314b активации видны после сборки (например, фиг. 17), в то время как остальная часть первого пробойника 314а активации и второго пробойника 314b активации скрыта из вида внутри вмещающего элемента в сборе 300 для никотина. Кроме того, каждый из первого пробойника 314а активации и второго пробойника 314b активации имеет ближний конец, который расположен так, чтобы быть смежным с уплотнением 344 и расположенным раньше по ходу потока относительно него перед активацией вмещающего элемента в сборе 300 для никотина. Когда первый пробойник 314а активации и второй пробойник 314b активации проталкиваются во вторую секцию 308 кожуха для активации вмещающего элемента в сборе 300 для никотина, ближний конец каждого из первого пробойника 314а активации и второго пробойника 314b активации будет продвигаться вперед через вставку 342 и в результате прокалывать уплотнение 344, которое будет высвобождать содержащий никотин готовый состав для пара из резервуара для никотина. Перемещение первого пробойника 314а активации может быть независимым от перемещения второго пробойника 314b активации (и наоборот). Первый пробойник 314а активации и второй пробойник 314b активации будут рассмотрены более подробно в настоящем документе.
Абсорбирующий материал 346 выполнен с возможностью зацепления с частью в виде держателя вставки 342 (которая, как показано на фиг. 24, выступает из расположенной раньше по ходу потока стороны вставки 342). Абсорбирующий материал 346 может иметь кольцевую форму, хотя примерные варианты осуществления этим не ограничиваются. Как показано на фиг. 25, абсорбирующий материал 346 может напоминать полый цилиндр. В таком случае наружный диаметр абсорбирующего материала 346 может быть по существу равен длине фитиля 338 (или быть немного больше). Внутренний диаметр абсорбирующего материала 346 может быть меньше, чем средний наружный диаметр части в виде держателя вставки 342, что в результате обеспечивает посадку с натягом. Для облегчения зацепления с абсорбирующим материалом 346 кончик части в виде держателя вставки 342 может быть скошенным. Кроме того, хотя, скрытая от вида на фиг. 25, расположенная дальше по ходу потока сторона второй секции 308 кожуха может образовывать вогнутость, выполненную с возможностью размещения и поддержки абсорбирующего материала 346. Примером такой вогнутости может быть круглая камера, которая находится в сообщении по текучей среде с полостью 310 и расположена дальше по ходу потока от нее. Абсорбирующий материал 346 выполнен с возможностью размещения и удержания некоторого количества содержащего никотин готового состава для пара, высвобождаемого из резервуара для никотина, когда вмещающий элемент в сборе 300 для никотина активирован.
Фитиль 338 расположен внутри вмещающего элемента в сборе 300 для никотина таким образом, что он находится в сообщении по текучей среде с абсорбирующим материалом 346, так что содержащий никотин готовый состав для пара может быть вытянут из абсорбирующего материала 346 на нагреватель 336 посредством капиллярного действия. Фитиль 338 может физически контактировать с расположенной раньше по ходу потока стороной абсорбирующего материала 346 (например, нижней частью абсорбирующего материала 346, как показано на фиг. 25). Кроме того, фитиль 338 может соответствовать диаметру абсорбирующего материала 346, хотя примерные варианты осуществления не ограничиваются этим.
Как проиллюстрировано на фиг. 25 (а также на предыдущей фиг. 23), нагреватель 336 может иметь сложенную конфигурацию для захвата и установки теплового контакта с противоположными поверхностями фитиля 338. Нагреватель 336 выполнен с возможностью нагрева фитиля 338 во время курения электронной сигареты для генерирования пара. Для облегчения такого нагрева первый конец нагревателя 336 может быть электрически соединен с первым контактом 324а питания через первый электрический провод 340а, в то время как второй конец нагревателя 336 может быть электрически соединен со вторым контактом 324b питания через второй электрический провод 340b. В результате электрический ток может подаваться от источника питания (например, батареи) внутри основной части 100 устройства и переноситься на нагреватель 336 через первый контакт 324а питания и первый электрический провод 340а (или через второй контакт 324b питания и второй электрический провод 340b). Первый электрический провод 340а и второй электрический провод 340b (которые показаны отдельно на фиг. 23) могут входить в зацепление с контактным сердечником 334 (как показано на фиг. 25). Соответствующие подробности других аспектов соединительного модуля 320, который выполнен с возможностью посадки в полости 310 второй секции 308 кожуха, которые были рассмотрены выше (например, в связи с фиг. 21-22) и не будут повторяться в этом разделе в целях краткости. Во время курения электронной сигареты пар никотина, генерируемый нагревателем 336, втягивается через паропровод вставки 342, через канал 316 для пара первой секции 302 кожуха, наружу из выпускного отверстия 304 вмещающего элемента у вмещающего элемента в сборе 300 для никотина и через проход 136 для пара мундштука 102 к одному или более выпускным отверстиям для пара.
На фиг. 26 показан покомпонентный вид пробойника активации на фиг. 25. Как показано на фиг. 26, пробойник активации может иметь форму первого пробойника 314а активации и второго пробойника 314b активации. Несмотря на то что в настоящем документе два пробойника активации показаны и рассмотрены в сочетании с неограничивающими вариантами осуществления, следует понимать, что альтернативно вмещающий элемент в сборе 300 для никотина может содержать только один пробойник активации. На фиг. 26 первый пробойник 314а активации может содержать первую пластину 348а, первый исполнительный механизм 350а и первое уплотнительное кольцо 352а. Аналогично второй пробойник 314b активации может содержать вторую пластину 348b, второй исполнительный механизм 350b и второе уплотнительное кольцо 352b.
В примерном варианте осуществления первая пластина 348а и вторая пластина 348b выполнены с возможностью установки или прикрепления к верхним частям (например, ближним частям) первого исполнительного механизма 350а и второго исполнительного механизма 350b, соответственно. Установка или прикрепление может быть достигнуто с помощью соединения на защелках, соединения посредством посадки с натягом (например, фрикционной посадки), клея или другой подходящей методики соединения. Верх каждой из первой пластины 348а и второй пластины 348b может иметь одну или более изогнутых или вогнутых кромок, которые сужаются вверх к заостренному кончику. Например, каждая из первой пластины 348а и второй пластины 348b может иметь два заостренных кончика с вогнутой кромкой между ними и изогнутой кромкой, смежной с каждым заостренным кончиком. Радиусы кривизны вогнутой кромки и изогнутых кромок могут быть одинаковыми, в то время как их длины дуг могут различаться. Первая пластина 348а и вторая пластина 348b могут быть образованы из листового металла (например, нержавеющей стали), который вырезан или которому придана другая форма для получения необходимого профиля и который согнут в его окончательную форму. В другом случае первая пластина 348а и вторая пластина 348b могут быть образованы из пластика.
На виде сверху размер и форма первой пластины 348а, второй пластины 348b и частей первого исполнительного механизма 350а и второго исполнительного механизма 350b, на которых они установлены, могут соответствовать размеру и форме выпускных отверстий резервуара для никотина во вставке 342. Кроме того, как показано на фиг. 26, первый исполнительный механизм 350а и второй исполнительный механизм 350b могут содержать выступающие края (например, изогнутые внутренние кромки, обращенные друг к другу), выполненные с возможностью выталкивания двух проколотых секций уплотнения 344 в резервуар для никотина по мере того, как первая пластина 348а и вторая пластина 348b продвигаются в резервуар для никотина. В неограничивающем варианте осуществления, когда первый пробойник 314а активации и второй пробойник 314b активации полностью вставлены во вмещающий элемент в сборе 300 для никотина, два клапана (от двух проколотых секций уплотнения 344, как показано на фиг. 24) могут находиться между изогнутыми боковыми стенками выпускных отверстий резервуара для никотина вставки 342 и соответствующими изгибами выступающих краев первого исполнительного механизма 350а и второго исполнительного механизма 350b. В результате может быть уменьшена или предотвращена вероятность того, что два проколотых проема в уплотнителе 344 будут заблокированы (двумя клапанами из двух проколотых секций). Помимо этого, первый исполнительный механизм 350а и второй исполнительный механизм 350b могут быть выполнены с возможностью направления содержащего никотин готового состава для пара из резервуара для никотина к абсорбирующему материалу 346.
Нижняя часть (например, дальняя часть) каждого из первого исполнительного механизма 350а и второго исполнительного механизма 350b выполнена с возможностью простирания через нижнюю секцию (например, расположенный раньше по ходу потока конец) второй секции 308 кожуха. Эта стержнеобразная часть каждого из первого исполнительного механизма 350а и второго исполнительного механизма 350b также может называться валом. Первое уплотнительное кольцо 352а и второе уплотнительное кольцо 352b могут быть посажены в кольцевых канавках в соответствующих валах первого исполнительного механизма 350а и второго исполнительного механизма 350b. Первое уплотнительное кольцо 352а и второе уплотнительное кольцо 352b выполнены с возможностью зацепления с валами первого исполнительного механизма 350а и второго исполнительного механизма 350b, а также внутренними поверхностями соответствующих проемов во второй секции 308 кожуха, чтобы обеспечить непроницаемое для текучей среды уплотнение. В результате, когда первый пробойник 314а активации и второй пробойник 314b активации проталкиваются внутрь для активации вмещающего элемента в сборе 300 для никотина, первое уплотнительное кольцо 352а и второе уплотнительное кольцо 352b могут перемещаться вместе с соответствующими валами первого исполнительного механизма 350а и второго исполнительного механизма 350b внутри соответствующих проемов во второй секции 308 кожуха, сохраняя при этом их соответствующие уплотнения, тем самым помогая уменьшить или предотвратить утечку содержащего никотин готового состава для пара через проемы во второй секции 308 кожуха для первого пробойника 314а активации и второго пробойника 314b активации. Первое уплотнительное кольцо 352а и второе уплотнительное кольцо 352b могут быть образованы из силикона.
На фиг. 27 показан вид в перспективе соединительного модуля по фиг. 22 без фитиля, нагревателя, электрических проводов и контактного сердечника. На фиг. 28 показан покомпонентный вид соединительного модуля по фиг. 27. Как показано на фиг. 27-28, кожух 354 модуля и лицевая пластина 366 в целом образуют внешнюю раму соединительного модуля 320. Кожух 354 модуля образует первое впускное отверстие 330 модуля и кромку 356 с канавками. Кромка 356 с канавками кожуха 354 модуля открывает второе впускное отверстие 332 модуля (который образован посредством обходной конструкции 358). Однако следует понимать, что кромка 356 с канавками также может быть рассмотрена как образующая впускное отверстие модуля (например, в комбинации с лицевой пластиной 366). Лицевая пластина 366 имеет кромку 328 с канавками, которая вместе с соответствующей боковой поверхностью полости 310 второй секции 308 кожуха образует впускное отверстие 322 вмещающего элемента. Кроме того, лицевая пластина 366 образует первый контактный проем, второй контактный проем и третий контактный проем. Первый контактный проем и второй контактный проем могут иметь квадратную форму и выполнены с возможностью открытия первого контакта 324а питания и второго контакта 324b питания, соответственно, в то время как третий контактный проем может иметь прямоугольную форму и выполнен с возможностью открытия множества контактов 326 данных, хотя примерные варианты осуществления не ограничены этим.
Первый контакт 324а питания, второй контакт 324b питания, печатная плата (РСВ) 362 и обходная конструкция 358 расположены внутри внешней рамы, образованной кожухом 354 модуля и лицевой пластиной 366. Печатная плата (РСВ) 362 содержит множество контактов 326 данных на своей расположенной раньше по ходу потока стороне (которая скрыта от вида на фиг. 28) и датчик 364, на своей расположенной дальше по ходу потока стороне. Обходная конструкция 358 образует второе впускное отверстие 332 модуля и обходное выпускное отверстие 360.
Во время сборки первый контакт 324а питания и второй контакт 324b питания расположены так, чтобы быть видимыми через первый контактный проем и второй контактный проем, соответственно, лицевой пластины 366. Кроме того, печатная плата (РСВ) 362 расположена таким образом, что множество контактов 326 данных на своей расположенной раньше по ходу потока стороне видны через третий контактный проем лицевой пластины 366. Печатная плата (РСВ) 362 может также перекрывать задние поверхности первого контакта 324а питания и второго контакта 324b питания. Обходная конструкция 358 расположена на печатной плате (РСВ) 362 таким образом, что датчик 364 находится внутри пути потока воздуха, определяемого вторым впускным отверстием 332 модуля и обходным выпускным отверстием 360. В собранном виде обходная конструкция 358 и печатная плата (РСВ) 362 могут быть рассмотрены как окруженная с по меньшей мере четырех сторон зигзагообразными конструкциями первого контакта 324а питания и второго контакта 324b питания. В примерном варианте осуществления раздвоенные концы первого контакта 324а питания и второго контакта 324b питания выполнены с возможностью электрического соединения с первым электрическим проводом 340а и вторым электрическим проводом 340b.
Когда поступающий воздух поступает во впускное отверстие 322 вмещающего элемента во время курения электронной сигареты, первое впускное отверстие 330 модуля может принимать первичный поток (например, больший поток) поступающего воздуха, в то время как второе впускное отверстие 332 модуля может принимать вторичный поток (например, меньший поток) поступающего воздуха. Вторичный поток поступающего воздуха может повысить чувствительность датчика 364. После выхода из обходной конструкции 358 через обходное выпускное отверстие 360, вторичный поток повторно соединяется с первичным потоком, образуя комбинированный поток, который втягивается в контактный сердечник 334 и проходит через него, чтобы встретиться с нагревателем 336 и фитилем 338. В неограничивающем варианте осуществления первичный поток может составлять 60-95 процентов (например, 80-90 процентов) поступающего воздуха, в то время как вторичный поток может составлять 5-40 процентов (например, 10-20 процентов) поступающего воздуха.
Первое впускное отверстие 330 модуля может представлять собой порт сопротивления затяжке (RTD), в то время как второе впускное отверстие 332 модуля может представлять собой обходной порт. В такой конфигурации сопротивление затяжке устройства 500 для курения содержащей никотин э-сигареты можно регулировать путем изменения размера первого впускного отверстия 330 модуля (вместо изменения размера впускного отверстия 322 вмещающего элемента). В примерном варианте осуществления размер первого впускного отверстия 330 модуля может быть выбран так, что сопротивление затяжке составляет 25-100 миллиметров водяного столба (например, 30-50 миллиметров водяного столба). Например, диаметр, равный 1,0 миллиметра, для первого впускного отверстия 330 модуля может привести к сопротивлению затяжке, составляющему 88,3 миллиметра водяного столба. В другом случае, диаметр, равный 1,1 миллиметра, для первого впускного отверстия 330 модуля может привести к сопротивлению затяжке, составляющему 73.6 миллиметра водяного столба. В другом случае, диаметр, равный 1,2 миллиметра, для первого впускного отверстия 330 модуля может привести к сопротивлению затяжке, составляющему 58.7 миллиметра водяного столба. В еще одном случае диаметр, равный 1,3 миллиметра, для первого впускного отверстия 330 модуля может привести к сопротивлению затяжке, составляющему 43.8 миллиметра водяного столба. Примечательно, что размер первого впускного отверстия 330 модуля, благодаря его внутренней компоновке, можно регулировать, не влияя на эстетичный внешний вид вмещающего элемента в сборе 300 для никотина, тем самым обеспечивая более стандартизированный дизайн продукта для вмещающих элементов в сборе с различным сопротивлением затяжке (RTD), в то же время снижая вероятность непреднамеренной блокировки входящего воздуха.
На фиг. 29 проиллюстрированы электрические системы основной части устройства и вмещающего элемента в сборе для никотина устройства для курения содержащей никотин э-сигареты согласно одному или более примерным вариантам осуществления.
Как показано на фиг. 29, электрические системы включают электрическую систему 2100 основной части устройства и электрическую систему 2200 вмещающего элемента в сборе для никотина. Электрическая система 2100 основной части устройства может быть включена в основную часть 100 устройства, а электрическая система 2200 вмещающего элемента в сборе для никотина может быть включена во вмещающий элемент в сборе 300 для никотина устройства 500 для курения содержащей никотин э-сигареты, рассмотренного выше в отношении фиг. 1-28.
В примерном варианте осуществления, показанном на фиг. 29, электрическая система 2200 вмещающего элемента в сборе для никотина содержит нагреватель 336, один или более датчиков 2220 вмещающего элемента и энергонезависимую память (NVM) 2205. NVM 2205 может представлять собой электрически стираемую программируемую постоянную память (EEPROM) интегральной схемы (IC). Один или более датчиков 2220 вмещающего элемента могут включать термочувствительный преобразователь.
Электрическая система 2200 вмещающего элемента в сборе для никотина может дополнительно содержать электрический интерфейс / интерфейс данных основной части (не показан) для передачи питания и/или данных между основной частью 100 устройства и вмещающим элементом в сборе 300 для никотина. Согласно по меньшей мере одному примерному варианту осуществления электрические контакты 324а, 324b и 326, показанные на фиг. 17, например, могут служить в качестве электрического интерфейса/интерфейса данных основной части.
Электрическая система 2100 основной части устройства содержит контроллер 2105, блок 2110 питания, датчики устройства или схемы 2125 измерения, схему 2127 управления модулем нагрева (также называемую схемой отключения модуля нагрева), индикаторы 2135 для вейпера, встроенные в продукт средства 2150 управления (например, кнопки 118 и 120, показанные на фиг. 1), память 2130 и схему синхронизации 2128. Электрическая система 2100 основной части устройства может дополнительно включать электрический интерфейс / интерфейс данных вмещающего элемента (не показан) для передачи питания и/или данных между основной частью 100 устройства и вмещающим элементом в сборе 300 для никотина. Согласно по меньшей мере одному примерному варианту осуществления электрический соединитель 132 устройства, показанный на фиг. 12, например, может служить в качестве электрического интерфейса / интерфейса данных вмещающего элемента.
Блок 2110 питания может быть внутренним источником питания для подачи питания на основную часть 100 устройства и вмещающий элемент в сборе 300 для никотина устройства 500 для курения содержащей никотин э-сигареты. Подачей питания от блока 2110 питания можно управлять посредством контроллера 2105 через компоновку схем управления питанием (не показана). Компоновка схем управления питанием может включать один или более переключателей или транзисторов для регулирования выходной мощности от блока 2110 питания. Блок 2110 питания может быть литий-ионной батарей или одним из ее вариантов (например, литий-ионной полимерной батареей).
Контроллер 2105 может быть выполнен с возможностью управления всей работой устройства 500 для курения содержащей никотин э-сигареты. Согласно по меньшей мере некоторым примерным вариантам осуществления контроллер 2105 может содержать схему обработки, такую как аппаратное обеспечение, предусматривающее логические схемы; сочетание аппаратного / программного обеспечения, такое как процессор, исполняющий программное обеспечение; или их комбинацию. Более конкретно, например, схема обработки может предусматривать, но не ограничена этим, центральный процессор (CPU), арифметико-логическое устройство (ALU), цифровой сигнальный процессор, микрокомпьютер, программируемую пользователем вентильную матрицу (FPGA), однокристальную систему (SoC), программируемый логический блок, микропроцессор, интегральную схему специального назначения (ASIC) и т.п.
В примерном варианте осуществления, показанном на фиг. 29, контроллер 2105 проиллюстрирован в виде микроконтроллера, содержащего: интерфейсы ввода/вывода (I/O), такие как вводы/выводы общего назначения (GPIO), интерфейсы взаимно-интегрированной схемы (I2C), интерфейсы шины последовательного периферийного интерфейса (SPI) или т.п.; многоканальный аналого-цифровой преобразователь (ADC); и входной терминал синхронизации. Однако примерные варианты осуществления не следует ограничивать этим примером. В по меньшей мере одной примерной реализации контроллер 2105 может быть микропроцессором.
Контроллер 2105 соединен с установлением связи с датчиками 2125 устройства, схемой 2127 управления модулем нагрева, индикаторами 2135 для вейпера, памятью 2130, встроенными в продукт средствами 2150 управления, схемой 2128 синхронизации и блоком 2110 питания.
Схема 2127 управления модулем нагрева подключена к контроллеру 2105 через вывод GPIO. Память 2130 подключена к контроллеру 2105 через вывод SPI. Схема 2128 синхронизации подключена к выводу входа синхронизации контроллера 2105. Индикаторы 2135 для вейпера подключены к контроллеру 2105 через вывод интерфейса I2C и вывод GPIO. Датчики 2125 устройства подключены к контроллеру 2105 через соответствующие выводы многоканального АБС.
Схема 2128 синхронизации может быть механизмом синхронизации, таким как схема генератора, чтобы позволить контроллеру 2105 отслеживать время простоя, продолжительность парения, комбинацию времени простоя и продолжительности парения или т.п.устройства 500 для курения содержащей никотин э-сигареты. Схема 2128 синхронизации может также содержать специальный внешний кристалл тактового генератора, выполненный с возможностью генерирования синхронизации системы для устройства 500 для курения содержащей никотин э-сигареты.
Память 2130 может быть энергонезависимой памятью, выполненной с возможностью сохранения одного или более журналов регистрации отключений. В одном примере в памяти 2130 может быть сохранен один или более журналов регистрации отключений в одной или более таблицах. Память 2130 и один или более сохраненных в ней журналов регистрации отключений будут рассмотрены более подробно ниже. В одном примере память 2130 может представлять собой электрически стираемую программируемую постоянную память (EEPROM), такую как флеш-память или т.п.
По-прежнему, как показано на фиг. 29, датчики 2125 устройства могут включать множество датчиков или схем измерения, выполненных с возможностью предоставления сигналов, указывающих на информацию о датчике или измерении, контроллеру 2105. В примере, показанном на фиг. 29, датчики 2125 устройства содержат схему 21258 измерения тока нагревателя, схему 21252 измерения напряжения нагревателя и схему 21250 измерения температуры вмещающего элемента.
Схема 21258 измерения тока нагревателя может быть выполнена с возможностью вывода сигналов (например, напряжения), указывающих на ток через нагреватель 336. Примерный вариант осуществления схемы 21258 измерения тока нагревателя будет рассмотрен более подробно ниже в отношении фиг. 35.
Схема 21252 измерения напряжения нагревателя может быть выполнена с возможностью вывода сигналов (например, напряжения), указывающих на напряжение через нагреватель 336. Примерный вариант осуществления схемы 21252 измерения напряжения нагревателя будет рассмотрен более подробно ниже в отношении фиг. 34.
Схема 21250 измерения температуры вмещающего элемента может быть выполнена с возможностью вывода сигналов (например, напряжения), указывающих на сопротивление и/или температуру одного или более элементов вмещающего элемента в сборе 300 для никотина. Примерные варианты осуществления схемы 21250 измерения температуры вмещающего элемента будут рассмотрены более подробно ниже в отношении фиг. 36 и 37.
Как рассмотрено выше, схема 21250 измерения температуры вмещающего элемента, схема 21258 измерения тока нагревателя и схема 21252 измерения напряжения нагревателя подключены к контроллеру 2105 через выводы многоканального ADC. Для измерения характеристик и/или параметров устройства 500 для курения содержащей никотин э-сигареты (например, напряжения, тока, сопротивления, температуры или т.п. нагревателя 336), многоканальный ADC в контроллере 2105 может выполнять выборку выходных сигналов от датчиков 2125 устройства с частотой дискретизации, соответствующей заданной характеристике и/или параметру, измеряемому соответствующим датчиком устройства.
Хотя это и не показано на фиг. 29, датчики 2220 вмещающего элемента могут также включать датчик 364, показанный на фиг. 28. В по меньшей мере одном примерном варианте осуществления датчик 364 может быть датчиком потока или давления микроэлектромеханической системы (MEMS) или датчиком другого типа, выполненным с возможностью измерения потока воздуха, таким как термоанемометр.
Схема 2127 управления модулем нагрева подключена к контроллеру 2105 через вывод GPIO. Схема 2127 управления модулем нагрева выполнена с возможностью управления модулем нагрева (его включения и/или выключения) устройства 500 для курения содержащей никотин э-сигареты посредством управления питанием нагревателя 336. Как рассмотрено более подробно ниже, схема 2127 управления модулем нагрева может выключать модуль нагрева на основании управляющей сигнализации (иногда называемой в настоящем документе сигналами состояния питания устройства) от контроллера 2105.
Когда вмещающий элемент в сборе 300 для никотина вставлен в основную часть 100 устройства, контроллер 2105 также соединен с установлением связи с по меньшей мере NVM 2205 и датчиками 2220 вмещающего элемента посредством интерфейса I2C. В одном примере контроллер 2105 может получать рабочие параметры для электрической системы 2200 вмещающего элемента в сборе для никотина от NVM 2205.
Контроллер 2105 может управлять индикаторами 2135 для вейпера для указания взрослому вейперу состояний и/или операций устройства 500 для курения содержащей никотин э-сигареты. Индикаторы 2135 для вейпера могут быть по меньшей мере частично реализованы с помощью световода (например, световодная компоновка, показанная на фиг. 1) и могут включать индикатор питания (например, LED), который может быть активирован, когда контроллер 2105 выявляет нажатие кнопки взрослым вейпером. Индикаторы 2135 для вейпера могут также включать вибратор, динамик или другие механизмы обратной связи и могут указывать текущее состояние параметра парения, контролируемого взрослым вейпером (например, объем паров никотина).
По-прежнему, как показано на фиг. 29, контроллер 2105 может управлять питанием нагревателя 336 для нагрева содержащего никотин готового состава для пара в соответствии с профилем нагрева (например, нагрев на основании объема, температуры, аромата или т.п.). Профиль нагрева может быть определен на основании эмпирических данных и может быть сохранен в NVM 2205 вмещающего элемента в сборе 300 для никотина.
На фиг. 30 показана простая структурная схема, иллюстрирующая систему 2300 управления сухой затяжкой и автоматическим отключением согласно примерным вариантам осуществления. Для краткости система 2300 управления сухой затяжкой и автоматическим отключением может упоминаться в настоящем документе как система 2300 управления автоматическим отключением.
Система 2300 управления автоматическим отключением, показанная на фиг. 30, может быть реализована в контроллере 2105. В одном примере система 2300 управления автоматическим отключением может быть реализована как часть реализации программного обеспечения автомата с конечным числом состояний диспетчера устройств (FSM), исполняемой в контроллере 2105. В примере, показанном на фиг. 30, система 2300 управления автоматическим отключением содержит модуль 2610 обнаружения сухости. Однако следует понимать, что система 2300 управления автоматическим отключением может содержать различные другие модули подсистемы.
Как показано на фиг. 30, система 2300 управления автоматическим отключением и в более общем смысле контроллер 2105 могут идентифицировать условия сухой затяжки в устройстве 500 для курения содержащей никотин э-сигареты и обеспечить управление контроллером 2105 одной или более подсистемами устройства 500 для курения содержащей никотин э-сигареты для выполнения одного или более последующих действий в ответ на идентификацию условий сухой затяжки. Условия сухой затяжки иногда могут называться неисправностью при сухой затяжке или условием неисправности при сухой затяжке. Идентификация условий сухой затяжки может быть основана на информации и/или входных данных, таких как пороговые параметры для вмещающего элемента в сборе 300 для никотина, информации датчика вмещающего элемента от одного или более датчиков 2220 вмещающего элемента, информации датчика от одного или более датчиков 2125 электрической системы 2100 основной части устройства, любой их комбинацию или т.п. Условия сухой затяжки являются примером события серьезной неисправности вмещающего элемента в устройстве 500 для курения содержащей никотин э-сигареты. Событие серьезной неисправности вмещающего элемента - это событие, которое может потребовать корректирующего действия (например, замены вмещающего элемента в сборе для никотина) для повторного включения функций парения на устройстве 500 для курения содержащей никотин э-сигареты.
Контроллер 2105 может управлять одной или более подсистемами посредством вывода одного или более управляющих сигналов (или подтверждения или отмены подтверждения соответствующего сигнала), как будет рассмотрено более подробно ниже. В некоторых случаях управляющие сигналы, выводимые из контроллера 2105, могут называться сигналами состояния питания устройства, командами состояния питания устройства или сигналами управления питанием устройства. В по меньшей мере одном примерном варианте осуществления контроллер 2105 может выводить один или более управляющих сигналов в схему 2127 управления модулем нагрева, чтобы отключить функции парения в устройстве 500 для курения содержащей никотин э-сигареты в ответ на обнаружение условий сухой затяжки в устройстве 500 для курения содержащей никотин э-сигареты.
Согласно одному или более примерным вариантам осуществления тип последующих действий в устройстве 500 для курения содержащей никотин э-сигареты может быть основан на условиях сухой затяжки и/или текущей работы устройства 500 для курения содержащей никотин э-сигареты. Несколько последующих действий могут быть выполнены последовательно в ответ на событие неисправности, такое как условия сухой затяжки. В одном примере последующие действия могут включать:
операцию автоматического отключения, при которой устройство 500 для курения содержащей никотин э-сигареты переключается в состояние низкого энергопотребления (например, эквивалентно выключению устройства для курения содержащей никотин э-сигареты с использованием кнопки питания);
операцию отключения нагревателя, при которой питание нагревателя 336 прервано или выключено, завершая текущую затяжку, но в остальном оставаясь готовым к парению; или
операцию отключения парения, при которой подсистема для парения выключена (например, путем выключения всего питания нагревателя 336), тем самым предотвращая парение до тех пор, пока не будет выполнено корректирующее действие (например, замена вмещающего элемента в сборе для никотина).
Как упоминалось выше, система 2300 управления автоматическим отключением содержит подсистему 2610 обнаружения сухости (также называемую модулем, схемой или компоновкой схем подсистемы обнаружения сухости). С помощью подсистемы 2610 обнаружения сухости контроллер 2105 отслеживает увлажненность (или сухость) фитиля 338, чтобы обнаруживать наличие условий сухой затяжки в устройстве 500 для курения содержащей никотин э-сигареты. Как упоминалось выше, при обнаружении условий сухой затяжки контроллер 2105 может отключить или выключить одну или более подсистем или элементов устройства 500 для курения содержащей никотин э-сигареты.
В по меньшей мере одном примерном варианте осуществления контроллер 2105 отслеживает увлажненность фитиля 338 на основании процентного изменения сопротивления нагревателя 336 с течением времени во время курения электронной сигареты. В по меньшей мере одном примерном варианте осуществления контроллер 2105 может принимать один или более сигналов, указывающих сопротивление нагревателя 336, от схемы 21250 измерения температуры вмещающего элемента.
В другом примерном варианте осуществления контроллер 2105 может вычислять сопротивление нагревателя 336 на основании сигналов от схемы 21258 измерения тока нагревателя и/или схемы 21252 измерения напряжения нагревателя.
В соответствии с одним или более примерными вариантами осуществления, если процентное изменение сопротивления нагревателя 336 во временном промежутке превышает пороговое значение процентного изменения сопротивления, то контроллер 2105 определяет, что существуют условия сухой затяжки (например, фитиль 338 сухой) в устройстве 500 для курения содержащей никотин э-сигареты. Контроллер 2105 может получать пороговое значение процентного изменения сопротивления от NVM 2205 в электрической системе 2200 вмещающего элемента в сборе для никотина. Пороговое значение процентного изменения сопротивления может быть установлено производителем вмещающего элемента в сборе 300 для никотина на основании эмпирических данных, содержащего никотин готового состава для пара, конструкции нагревателя 336, их подкомбинации, их комбинации или т.п. Согласно по меньшей мере некоторым примерным вариантам осуществления пороговое значение процентного изменения сопротивления может составлять от приблизительно 0,1 процента до 25,5 процента (с шагом приблизительно 0,1 процента). В одном примере процентное изменение сопротивления может составлять приблизительно 2,0 процента для нагревателей, изготовленных из нержавеющей стали марки 316L.
В одном примере условия сухой затяжки могут существовать из-за того, что содержащий никотин готовый состава для пара не подается в фитиль 338 со скоростью потока, достаточной для поддержания стандартного температурного профиля для нагревателя 336. Соответственно, процентное изменение сопротивления может указывать на скорость потока содержащего никотин готового состава для пара к фитилю 338, а подсистема 2610 обнаружения сухости может быть охарактеризована как выполненная с возможностью определения того, существуют ли условия сухой затяжки, на основании скорости потока содержащего никотин готового состава для пара к фитилю 338. Кроме того, условия сухой затяжки могут быть результатом израсходования содержащего никотин готового состава для пара во вмещающем элементе в сборе 300 для никотина. Соответственно, обнаружение условий сухой затяжки также может указывать на израсходованный и/или пустой вмещающий элемент в сборе для никотина.
Контроллер 2105 может использовать скользящее окно измерения из N выборок сопротивления нагревателя 336, так что определение выполняется за самый недавний временной интервал во время курения электронной сигареты. Это позволяет контроллеру 2105 выдерживать относительно длительные приложения отрицательного давления взрослым вейпером, одновременно также обеспечивая более быстрые обнаружения условий сухой затяжки, когда сопротивление нагревателя 336 начинает относительно быстро изменяться при приложении отрицательного давления.
В ответ на обнаружение условий сухой затяжки контроллер 2105 может управлять схемой 2127 управления модулем нагрева, отключая питание нагревателя 336 (отключая нагреватель) и/или выключая парение в устройстве 500 для курения содержащей никотин э-сигареты (отключая парение).
Согласно по меньшей мере одному примерному варианту осуществления память обратного магазинного типа (FIFO), в которой сохранены приблизительно 100 выборок (N=100), может использоваться для установки скользящего окна измерения на приблизительно 100 миллисекунд (мс), в котором сопротивление нагревателя 336 периодически обновляется (например, пересчитывается) с шагом в 1 мс. Память FIFO может быть внутренней для контроллера 2105 или может быть включена в память 2130, показанную на фиг. 29.
Согласно по меньшей мере некоторым примерным вариантам осуществления скользящее окно может не начинаться до тех пор, пока измерение сопротивления нагревателя 336 не станет относительно стабильным, или же ложные значения, введенные в FIFO, могут вызвать ложные результаты позже в процессе. Измерение сопротивления считается относительно стабильным, когда измерение сопротивления достигает рабочего состояния, при котором ожидаемая ошибка измерения меньше порогового значения процентного изменения сопротивления. В одном примере сопротивление нагревателя 336 может стать относительно стабильным после того, как ток, протекающий через нагреватель 336, превысит пороговое значение тока «смачивания» (например, приблизительно 100 миллиампер (мА)). Контроллер 2105 может определить, что было достигнуто пороговое значение тока «смачивания», путем отслеживания тока через нагреватель 336 на основании сигналов от схемы 21258 измерения тока нагревателя.
На фиг. 31 представлена блок-схема, иллюстрирующая способ обнаружения сухости согласно примерным вариантам осуществления. В целях примера, схема, показанная на фиг. 31, будет рассмотрена в отношении электрических систем, показанных на фиг. 29. Однако следует понимать, что примерные варианты осуществления не следует ограничивать этим примером. Скорее, примерные варианты осуществления могут быть применимы к другим устройствам для курения содержащей никотин э-сигареты и их электрическим системам. Более того, примерный вариант осуществления, показанный на фиг. 31, будет описан в отношении операций, выполняемых контроллером 2105. Однако следует понимать, что примерный вариант осуществления может быть описан аналогичным образом в отношении системы 2300 управления автоматическим отключением и/или подсистемы 2 610 обнаружения сухости, выполняющих одну или более из функций / операций, показанных на фиг. 31.
Согласно фиг. 31, когда вмещающий элемент в сборе 300 для никотина вставлен в основную часть 100 устройства, и устройство 500 для курения содержащей никотин э-сигареты включено, на этапе S2702 контроллер 2105 получает пороговое значение Δ%R_THRESHOLD процентного изменения сопротивления (также называемое параметром процентного изменения сопротивления), которое сохранено в NVM 2205 в электрической системе 2200 вмещающего элемента в сборе для никотина.
На этапе S2704 контроллер 2105 определяет, существуют ли условия для парения в устройстве 500 для курения содержащей никотин э-сигареты. Согласно по меньшей мере одному примерному варианту осуществления контроллер 2105 может определять, существуют ли условия для парения в электронном устройстве 500 для курения содержащей никотин э-сигареты, на основании выходных данных с датчика 364. В одном примере, если выходные данные с датчика 364 указывают на приложение отрицательного давления выше порогового значения на мундштуке 102 устройства 500 для курения содержащей никотин э-сигареты, то контроллер 2105 может определить, что в устройстве 500 для курения содержащей никотин э-сигареты существуют условия для парения.
Если контроллер 2105 обнаруживает условия для парения на этапе S2704, то на этапе S2705 контроллер 2105 управляет схемой 2127 управления модулем нагрева для подачи питания на нагреватель 336 для парения. Примерное управление схемой 2127 управления модулем нагрева для подачи питания на нагреватель 336 будет рассмотрено более подробно ниже в отношении фиг. 38 и 39.
На этапе S2706 контроллер 2105 определяет, стабилизировалось ли сопротивление нагревателя 336. Как указано выше, контроллер 2105 может определить, что сопротивление нагревателя 336 стабилизировалось, как только ток через нагреватель 336 достигает порогового значения тока «смачивания» (например, приблизительно 100 миллиампер (мА)). Контроллер 2105 может определить, что ток через нагреватель 336 достиг порогового значения тока «смачивания», на основании выходных сигналов от схемы 21258 измерения тока нагревателя.
Если контроллер 2105 определяет, что сопротивление нагревателя 336 стабилизировалось, на этапе S2706, то контроллер 2105 начинает сохранять измерения сопротивления для нагревателя 336 в памяти FIFO с интервалами в 1 мс (с шагом в 1 мс).
На этапе S2710 контроллер 2105 определяет, заполнена ли память FIFO (например, собрано ли пороговое количество выборок). В одном примере память FIFO может быть заполнена, когда сохранено приблизительно 100 выборок сопротивления нагревателя 336 (например, через приблизительно 100 мс после определения того, что сопротивление нагревателя 336 стабилизировалось, на этапе S2706).
Если контроллер 2105 определяет, что память FIFO заполнена, то на этапе S2712 контроллер 2105 вычисляет процентное изменение Δ%R сопротивления между первым значением Rt_0 сопротивления (в момент t0) и последним (самым недавним) значением Rt_N-1 сопротивления (в момент времени tN-1), которые сохранены в памяти FIFO.
На этапе S2714 контроллер 2105 сравнивает вычисленное процентное изменение Δ%R сопротивления с пороговым значением Δ%R_THRESHOLD процентного изменения сопротивления, полученным от NVM 2205 на этапе S2702.
Если вычисленное процентное изменение Δ%R сопротивления больше, чем пороговое значение Δ%R_THRESHOLD процентного изменения сопротивления, то на этапе S2716 контроллер 2105 управляет схемой 2127 управления модулем нагрева, чтобы отключить нагреватель 336 (например, отключить его питание). В одном примере контроллер 2105 может управлять схемой 2127 управления модулем нагрева для выполнения операции отключения парения. Как указано выше, операция отключения парения может выключить всю энергию на нагревателе 336, тем самым предотвращая парение до тех пор, пока не будет выполнено корректирующее действие (например, взрослым вейпером). Как рассмотрено более подробно ниже, контроллер 2105 может управлять схемой 2127 управления модулем нагрева для выключения всей энергии на нагревателе 336 посредством вывода сигнала COIL_SHDN отключения парения, имеющего высокий логический уровень (фиг. 38), и/или посредством отмены подтверждения (или прекращения вывода) сигнала COIL_VGATE_PWM включения парения (фиг. 39). В по меньшей мере одном примере по меньшей мере сигнал COIL_VGATE_PWM включения парения может быть сигналом широтно-импульсной модуляции (PWM). Пример корректирующего действия также рассмотрен более подробно будет ниже.
Возвращаясь к этапу S2714, если вычисленное процентное изменение Δ%R сопротивления меньше или равно пороговому значению Δ%R_THRESHOLD процентного изменения сопротивления, то процесс возвращается к S2708 и продолжается, как рассмотрено выше.
Возвращаясь к этапу S2710, если контроллер 2105 определяет, что память FIFO еще не заполнена, то процесс возвращается к этапу S2708 и продолжается, как рассмотрено выше.
Возвращаясь к этапу S2706, если контроллер 2105 определяет, что сопротивление нагревателя 336 еще не стабилизировалось, то контроллер 2105 продолжает отслеживать сопротивление нагревателя 336. Как только сопротивление нагревателя 336 стабилизировалось, процесс переходит к этапу S2708 и продолжается, как рассмотрено выше.
Возвращаясь к этапу S2704, если контроллер 2105 определяет, что условия парения еще отсутствуют, то контроллер 2105 продолжает отслеживать выходные данные датчика 364 на предмет условий парения. После обнаружения условий парения процесс продолжается так, как рассмотрено выше.
На фиг. 32 проиллюстрированы графики зависимости сопротивления от времени, когда условия сухой затяжки существуют в начале затяжки («сухая затяжка»), когда условия сухой затяжки возникают во время затяжки («высыхающая затяжка») и когда условия сухой затяжки отсутствуют («стандартная затяжка»).
Как показано на фиг. 32, когда в начале затяжки существуют условия сухой затяжки, сопротивление со временем возрастает более резко. В этом примере контроллер 2105 может отключить функцию парения устройство 500 для курения содержащей никотин э-сигареты в конце начального интервала выборки (например, приблизительно 100 мс), поскольку процентное изменение Δ%R сопротивления нагревателя 336 в конце начального интервала времени больше порогового значения Δ%R_THRESHOLD процентного изменения сопротивления.
Когда во время затяжки начинают возникать условия сухой затяжки, сопротивление нагревателя начинает возрастать более резко (наклон графика увеличивается). В этом случае контроллер 2105 отключает функцию парения в момент времени tSHUTOFF, когда процентное изменение Δ%R сопротивления нагревателя 336 между самым старым сопротивлением нагревателя и самым недавним сопротивлением нагревателя в FIFO превышает пороговое значение Δ%R_THRESHOLD процентного изменения сопротивления.
Когда условия сухой затяжки отсутствуют (существуют условия стандартной затяжки), затяжка заканчивается, и питание нагревателя 336 отключается в ответ на прекращение приложения отрицательного давления или по истечении порогового интервала времени. В этом случае может быть выполнена операция отключения нагревателя, а не операция отключения парения.
Как указано выше, условия сухой затяжки являются примером события серьезной неисправности вмещающего элемента в устройстве 500 для курения содержащей никотин э-сигареты.
На фиг. 33 показана блок-схема, иллюстрирующая примерный способ работы устройства для курения содержащей никотин э-сигареты после отключения функции парения (операция отключения парения) в ответ на обнаружение события серьезной неисправности вмещающего элемента, такого как условия сухой затяжки, в соответствии с примерными вариантами осуществления. В целях примера, примерный вариант осуществления, показанный на фиг. 33, будет рассмотрен в отношении условий сухой затяжки. Однако примерные варианты осуществления не следует ограничивать этим примером.
Также, в целях примера, блок-схема, показанная на фиг. 33, будет рассмотрена в отношении электрических систем, показанных на фиг. 29. Однако следует понимать, что примерные варианты осуществления не следует ограничивать этим примером. Скорее, примерные варианты осуществления могут быть применимы к другим устройствам для курения содержащей никотин э-сигареты и их электрическим системам. Более того, примерный вариант осуществления, показанный на фиг. 33, будет описан в отношении операций, выполняемых контроллером 2105. Однако следует понимать, что примерный вариант осуществления может быть описан аналогичным образом в отношении системы 2300 управления автоматическим отключением и/или подсистемы 2610 обнаружения сухости, выполняющих одну или более из функций / операций, показанных на фиг. 33.
Согласно фиг. 33, на этапе S3804 контроллер 2105 регистрирует возникновение условий сухой затяжки в памяти 2130. В одном примере контроллер 2105 может хранить идентификатор события (условий сухой затяжки или события сухой затяжки) в связи с последующим действием (например, операцией отключения парения) и временем, когда событие и последующее действие произошли.
На этапе S3806 контроллер 2105 управляет индикаторами 2135 для вейпера для вывода индикации того, что были обнаружены условия сухой затяжки. В одном примере индикация может быть в форме звука, визуального отображения и/или тактильной обратной связи для взрослого вейпера. Например, индикация может быть мигающим красным светодиодом, программным сообщением, содержащим код ошибки, которое отправляется (например, через Bluetooth) в подключенное «Приложение» на удаленном электронном устройстве, что впоследствии может вызвать уведомление в Приложении, обеспечивающее информацию о корректирующем действии взрослому вейперу, любой их комбинацией или т.п.
На этапе S3808 контроллер 2105 определяет, был ли извлечен (корректирующее действие) вмещающий элемент в сборе 300 для никотина из основной части 100 устройства в пределах (до истечения) порогового интервала времени извлечения после индикации (например, в ответ на нее) взрослому вейперу об условиях сухой затяжки. В по меньшей мере одном примерном варианте осуществления контроллер 2105 может определить, что вмещающий элемент в сборе 300 для никотина был извлечен из основной части 100 устройства цифровым способом, посредством проверки того, что набор из пяти контактов 326 вмещающего элемента в сборе для никотина был извлечен. В другом примере контроллер 2105 может определить, что вмещающий элемент в сборе для никотина был извлечен из основной части 100 устройства, путем выявления того, что электрические контакты 324а, 324b и/или 326 вмещающего элемента в сборе 300 для никотина были отсоединены от электрического соединителя 132 устройства основной части 100 устройства. В по меньшей мере одном примере контроллер 2105 может выявить, что электрические контакты 324а, 324b и/или 326 вмещающего элемента в сборе 300 для никотина были отсоединены от электрического соединителя 132 устройства основной части 100 устройства, путем обнаружения бесконечного сопротивления между электрическими контактами 324а, 324b и/или 326 вмещающего элемента в сборе 300 для никотина и электрическим соединителем 132 устройства основной части 100 устройства.
Если контроллер 2105 определяет, что вмещающий элемент в сборе 300 для никотина был извлечен из основной части 100 устройства в пределах порогового интервала времени извлечения после индикации (например, в ответ на нее) взрослому вейперу об условиях сухой затяжки, то на этапе S3814 контроллер 2105 управляет устройством 500 для курения содержащей никотин э-сигареты для возвращения к нормальной работе (в состояние отсутствия неисправности). В этом случае, хотя подача энергии на нагреватель 336 по-прежнему выключена, поскольку вмещающий элемент в сборе 300 для никотина был извлечен, устройство 500 для курения содержащей никотин э-сигареты в остальном готово к парению в ответ на приложение отрицательного давления взрослым вейпером, как только был вставлен новый вмещающий элемент в сборе для никотина.
На этапе S3812 контроллер 2105 определяет, был ли вставлен новый вмещающий элемент в сборе для никотина в основную часть 100 устройства в пределах (до истечения) порогового интервала времени вставки после извлечения вмещающего элемента в сборе 300 для никотина и возвращения устройства 500 для курения содержащей никотин э-сигареты к нормальной работе на этапе S3814. В по меньшей мере одном примере пороговый интервал времени вставки может иметь продолжительность от приблизительно 5 минут до приблизительно 120 минут. Взрослый вейпер может установить продолжительность порогового интервала времени вставки в пределах этого диапазона. В по меньшей мере одном примерном варианте осуществления контроллер 2105 может определить, что в основную часть 100 устройства был вставлен новый вмещающий элемент в сборе для никотина, путем выявления сопротивления нагревателя 336 (например, от приблизительно 0,5 Ом до приблизительно 5,0 Ом) между электрическими контактами 324а и 324b вмещающего элемента в сборе 300 для никотина и электрическим соединителем 132 устройства основной части 100 устройства. В дополнительном примерном варианте осуществления контроллер 2105 может определить, что в основную часть 100 устройства был вставлен новый вмещающий элемент в сборе для никотина, путем выявления наличия резистора повышения уровня, содержащегося во вмещающем элементе в сборе 300 для никотина, между электрическими контактами 32 6 вмещающего элемента в сборе 300 для никотина и электрическим соединителем 132 устройства основной части 100 устройства.
Если контроллер 2105 определяет, что новый вмещающий элемент в сборе для никотина был вставлен в основную часть 100 устройства в пределах порогового интервала времени вставки, то на этапе S3810 контроллер 2105 управляет схемой 2127 управления модулем нагрева, чтобы повторно включить модуль парения (например, разрешить подачу питания на нагреватель 336). Как рассмотрено более подробно ниже, контроллер 2105 может управлять схемой 2127 управления модулем нагрева для повторного включения модуля парения посредством вывода сигнала COIL_SHDN отключения парения, имеющего низкий логический уровень (фиг. 38), и/или подтверждения сигнала COIL_VGATE_PWM включения парения (фиг. 39).
Возвращаясь к этапу S3812, если контроллер 2105 определяет, что новый вмещающий элемент в сборе для никотина был вставлен в основную часть 100 устройства в пределах порогового интервала времени вставки, то на этапе S3816 контроллер 2105 выводит еще один или более управляющих сигналов для выполнения операции автоматического отключения, при которой устройство 500 для курения содержащей никотин э-сигареты отключается или переходит в режим пониженного энергопотребления. Согласно по меньшей мере некоторым примерным вариантам осуществления в контексте автоматического отключения нормального программного обеспечения контроллер 2105 может выводить несколько или множество контрольных линий GPIO (сигналов) для отключения всех или по существу всех периферийных устройств устройства 500 для курения содержащей никотин э-сигареты и обеспечения перехода контроллера 2105 в спящее состояние.
Возвращаясь теперь к этапу S3808, если вмещающий элемент в сборе 300 для никотина не извлечен в пределах порогового интервала времени извлечения, то процесс переходит к этапу S3816 и продолжается, как рассмотрено выше.
На фиг. 34 проиллюстрирован примерный вариант осуществления схемы 21252 измерения напряжения нагревателя.
Как показано на фиг. 34, схема 21252 измерения напряжения нагревателя содержит резистор 3702 и резистор 3704, соединенные в конфигурации делителя напряжения между клеммой, выполненной с возможностью приема сигнала COIL_OUT входного напряжения, и заземлением. Сигнал COIL_OUT входного напряжения это напряжение на входе (напряжение на входной клемме) нагревателя 336. Узел N3716 между резистором 3702 и резистором 3704 подключен к положительному входу операционного усилителя (Op-Amp) 3708. Конденсатор 3706 подключен между узлом N3716 и заземлением для формирования схемы фильтра нижних частот (R/C фильтр) для стабилизации напряжения на входе, подаваемого на положительный вход операционного усилителя 3708. Схема фильтра может также уменьшить неточность из-за помех переключения, вызванных сигналами PWM, используемыми для питания нагревателя 336, и иметь одинаковую фазовую характеристику / групповую задержку как для тока, так и для напряжения.
Схема 21252 измерения напряжения нагревателя дополнительно включает резисторы 3710 и 3712 и конденсатор 3714. Резистор 3712 подключен между узлом N3718 и клеммой, выполненной с возможностью приема сигнала COIL_RTN выходного напряжения. Сигнал COIL_RTN выходного напряжения это напряжение на выходе (напряжение на выходной клемме) нагревателя 336.
Резистор 3710 и конденсатор 3714 подключены параллельно между узлом N3718 и выходом операционного усилителя 3708. Отрицательный вход операционного усилителя 3708 также подключен к узлу N3718. Резисторы 3710 и 3712 и конденсатор 3714 соединены в конфигурации схемы фильтра нижних частот.
Схема 21252 измерения напряжения нагревателя использует Op-Amp 3708 для измерения разности напряжений между сигналом COIL_OUT входного напряжения и сигналом COIL_RTN выходного напряжения и вывода масштабированного сигнала COIL_VOL измерения напряжения нагревателя, который представляет напряжение на нагревателе 336. Схема 21252 измерения напряжения нагревателя выводит масштабированный сигнал COIL_VOL измерения напряжения нагревателя на вывод ADC контроллера 2105 для цифровой выборки и измерения контроллером 2105.
Коэффициент усиления Op-Amp 3708 может быть установлен на основании окружающих пассивных электрических элементов (например, резисторов и конденсаторов) для улучшения динамического диапазона измерения напряжения. В одном примере динамический диапазон Op-Amp 3708 может быть достигнут путем масштабирования напряжения таким образом, чтобы максимальный выход напряжения соответствовал максимальному диапазону входного сигнала ADC (например, приблизительно 1,8 В). В по меньшей мере одном примерном варианте осуществления масштабирование может составлять приблизительно 267 мВ на В, и, следовательно, схема 21252 измерения напряжения нагревателя может измерять приблизительно до 1,8 В/0,267 В=6,74 В.
На фиг. 35 проиллюстрирован примерный вариант осуществления схемы 21258 измерения тока нагревателя, показанного на фиг. 29.
Как показано на фиг. 35, сигнал COIL_RTN выходного напряжения поступает на вход четырехклеммного (4Т) измерительного резистора 3802, подключенного к заземлению. Дифференциальное напряжение на четырехклеммном измерительном резисторе 3802 масштабировано с помощью Op-Amp 3806, который выводит сигнал COIL_CUR измерения тока нагревателя, указывающий на ток через нагреватель 336. Сигнал COIL_CUR измерения тока нагревателя выводится на вывод ADC контроллера 2105 для цифровой выборки и измерения тока через нагреватель 336 в контроллере 2105.
В примерном варианте осуществления, показанном на фиг. 35, четырехклеммный измерительный резистор 3802 может быть использован для уменьшения погрешности измерения тока с использованием метода «Измерения тока по Кельвину». В этом примере разделение пути измерения тока от пути измерения напряжения может уменьшить помехи на пути измерения напряжения.
Коэффициент усиления Op-Amp 380 может быть установлен для улучшения динамического диапазона измерения. В этом примере масштабирование Op-Amp 3806 может составлять приблизительно 0,577 В/А, и, следовательно, схема 21258 измерения тока нагревателя может измерять до приблизительно
.
Как показано на фиг. 35 более подробно, первая клемма четырехклеммного измерительного резистора 3802 соединена с клеммой нагревателя 336 для приема сигнала COIL_RTN выходного напряжения. Вторая клемма четырехклеммного измерительного резистора 3802 подключена к заземлению. Третья клемма четырехклеммного измерительного резистора 3802 подключена к схеме фильтра нижних частот (R/C фильтр), включающей резистор 3804, конденсатор 3808 и резистор 3810. Выход схемы фильтра нижних частот подключен к положительному входу Op-Amp 3806. Схема фильтра нижних частот может уменьшить неточность из-за помех переключения, вызванных сигналами PWM, подаваемыми для питания нагревателя 336, и может также иметь одинаковую фазовую характеристику / групповую задержку как для тока, так и для напряжения.
Схема 21258 измерения тока нагревателя дополнительно включает резисторы 3812 и 3814 и конденсатор 3816. Резисторы 3812 и 3814 и конденсатор 3816 подключены к четвертой клемме четырехклеммного измерителвного резистора 3802, отрицателвный вход Op-Amp 3806 и выход Op-Amp 3806 в конфигурации схемы фильтра нижних частот, при этом выход схемы фильтра нижних частот соединен с отрицательным входом Op-Amp 3806.
Op-Amp 3806 выводит дифференциальное напряжение в виде сигнала COIL_CUR измерения тока нагревателя на вывод ADC контроллера 2105 для выборки и измерения тока через нагреватель 336 с помощью контроллера 2105.
Согласно по меньшей мере этому примерному варианту осуществления конфигурация схемы 21258 измерения тока нагревателя подобна конфигурации схемы 21252 измерения напряжения нагревателя, за исключением того, что схема фильтра нижних частот, включающая резисторы 3804 и 3810 и конденсатор 3808, подключена к клемме четырехклеммного измерительного резистора 3802, а схема фильтра нижних частот, включающая резисторы 3812 и 3814 и конденсатор 3816, подключена к другой клемме четырехклеммного измерительного резистора 3802.
Контроллер 2105 может усреднять множество выборок (например, напряжения) за временной промежуток (например, приблизительно 1 мс), соответствующий времени «тиканья», используемого в устройстве 500 для курения содержащей никотин э-сигареты, и преобразуют среднее значение в математическое представление напряжения и тока на нагревателе 336 путем применения масштабного значения. Масштабное значение может быть определено на основании настроек коэффициента усиления, реализованных в соответствующих Op-Amp, которые могут быть конкретными для аппаратного обеспечения устройства 500 для курения содержащей никотин э-сигареты.
Контроллер 2105 может фильтровать преобразованные измерения напряжения и тока, используя, например, фильтр скользящего среднего с тремя отводами для ослабления помех измерения. Затем контроллер 2105 может использовать отфильтрованные измерения для расчета: сопротивления RHEATER нагревателя 336
, мощности PHEATER, подаваемой на нагреватель 336
, тока блока питания
, где
, или т.п. Эффективность (Efficiency) представляет собой соотношение мощности Pin, доставляемой на нагреватель 336, во всех условиях эксплуатации. В одном примере Эффективность (Efficiency) может составлять по меньшей мере 85 процентов.
Согласно одному или более примерным вариантам осуществления настройки коэффициента усиления пассивных элементов схем, показанных на фиг. 34 и/или 35, могут быть отрегулированы, чтобы диапазон выходного сигнала соответствовал диапазону входного сигнала контроллера 2105.
На фиг. 36 и 37 проиллюстрированы схемы измерения температуры вмещающего элемента согласно примерным вариантам осуществления.
Как показано на фиг. 36, схема 21250А измерения температуры вмещающего элемента включает предоконечный каскад 3902А и измерительный каскад 3904А. Предоконечный каскад 3902А выполнен с возможностью генерирования сигнала HW_POWER мощности измерения температуры вмещающего элемента для доставки питания на датчик 2220 вмещающего элемента в ответ на управляющий сигнал HW_ENB измерения температуры вмещающего элемента. Сигнал HW_POWER мощности измерения температуры вмещающего элемента может быть сигналом PWM. Измерительный каскад 3904А выполнен с возможностью генерирования выходного сигнала HW_SIGNAL измерения температуры вмещающего элемента на основании сигнала HW_DAC сравнения DAC от DAC (не показан) в контроллере 2105 и сигнала SP_HW датчика вмещающего элемента от датчика 2220 вмещающего элемента. Выходной сигнал HW_SIGNAL измерения температуры вмещающего элемента может быть сигналом дифференциального напряжения, указывающим на температуру одного или более элементов вмещающего элемента в сборе 300 для никотина. Ввод и вывод из примерного варианта осуществления датчика 2220 вмещающего элемента будут рассмотрены более подробно ниже.
Более подробно в отношении фиг. 36 предоконечный каскад 3902А принимает управляющий сигнал HW_ENB измерения температуры вмещающего элемента от контроллера 2105. В этом примере управляющий сигнал HW_ENB измерения температуры вмещающего элемента может быть сигналом PWM, имеющим рабочий цикл, регулируемый контроллером 2105 для изменения мощности на основании сигнала SP_HW датчика вмещающего элемента от датчика 2220 вмещающего элемента. Когда подтвержден (активен) управляющий сигнал HW_ENB измерения температуры вмещающего элемента, предоконечный каскад 3902А может быть включен и может выводить сигнал HW_POWER мощности измерения температуры вмещающего элемента, в противном случае вывод предоконечного каскада 3902А может быть выключен.
Управляющий сигнал HW_ENB измерения температуры вмещающего элемента вводят на разрешающий вывод EN регулятора с малым падением напряжения (LDO) U10, который преобразует управляющий сигнал HW_ENB измерения температуры вмещающего элемента, который представляет собой сигнал процессора с низким уровнем приводной мощности по току, в сигнал HW_POWER мощности измерения температуры вмещающего элемента, который представляет собой сигнал PWM с высоким уровнем приводной мощности по току.
Резистор R80 подключен в качестве понижающего резистора между разрешающим выводом EN, относящимся к LDO U10, и заземлением для гарантирования того, что вывод предоконечного каскада 3902А выключен, если управляющий сигнал HW_ENB измерения температуры вмещающего элемента находится в неопределенном состоянии.
Предоконечный каскад 3902А дополнительно включает конденсаторы С43 и С44. Конденсатор С44 подключен к входному выводу IN, относящемуся к LDO U10, и источнику напряжения для предоставления резервуара для никотина и фильтра, что может повысить скорость, с которой сигнал HW_POWER мощности измерения температуры вмещающего элемента достигает своего напряжения ВКЛЮЧЕНИЯ. Конденсатор С43 подключен между выходным выводом и заземлением для предоставления фильтрации и резервуара для никотина для сигнала HW_POWER мощности измерения температуры вмещающего элемента.
Резисторы R60 и R61 образуют сеть 39028 обратной связи в виде схемы делителя напряжения. Сеть 39028 обратной связи выводит напряжение обратной связи на регулировочную клемму ADJ или на клемму ADJ обратной связи LDO U10. LDO U10 устанавливает точный выход напряжения сигнала HW_POWER мощности измерения температуры вмещающего элемента на основании напряжения обратной связи, подаваемого на клемму ADJ обратной связи. Согласно по меньшей мере некоторым примерным вариантам осуществления связь между точным выходом напряжения для сигнала HW_POWER мощности измерения температуры вмещающего элемента и выходом напряжения VADJ обратной связи задается как
. В этом примере сопротивления резисторов R60 и R61 имеют известные сопротивления, а напряжение VADJ также известно на основании типа LDO U10.
На измерительном каскаде 3904А сигнал SP_HW датчика вмещающего элемента от датчика 2220 вмещающего элемента подается на отрицательный вход Op-Amp U11A через резистор R66 для усиления масштабирования напряжения сигнала SP_HW датчика вмещающего элемента для измерения с помощью ADC на контроллере 2105. Op-Amp U11A представляет собой инвертирующий усилитель с коэффициентом усиления согласно сопротивлению резистора R66 и сопротивлению резистора R67, которые подключены между отрицательным входом и выходом Op-Amp U11A. Конденсатор С47 подключен параллельно с резистором R67 для формирования схемы фильтра нижних частот для отфильтровывания высокочастотных помех из сигнала SP_HW датчика вмещающего элемента.
Сигнал HW_DAC сравнения DAC от DAC на контроллере 2105 подают на положительный вход Op-Amp U11A через схему 39042 делителя напряжения, включающую резисторы R63 и R64. Сигнал HW DAC сравнения DAC устанавливает уровень опорного напряжения для Op-Amp U11A, который фактически выбирает дифференциальное напряжение, подаваемое на Op-Amp U11A, и подавляет или предотвращает насыщение Op-Amp U11A. Другими словами, сигнал HW_DAC сравнения DAC устанавливает рабочую точку для Op-Amp U11A для подавления насыщения выходного сигнала HW_SIGNAL измерения температуры вмещающего элемента, выводимого с помощью Op-Amp U11A. Делитель 39042 напряжения уменьшает каждый шаг DAC в напряжении для обеспечения более точного управления настройкой диапазона. Отношение резисторов R63 и R64 может быть примерно таким, как у балансировочного резистора и датчика 2220 вмещающего элемента (например, при его максимальной температуре). Конденсатор С46 подключен параллельно с резистором R64 для формирования схемы фильтра нижних частот для отфильтровывания помех из сигнала HW_DAC сравнения DAC. Резистор R69 подключен между выходом делителя 39042 напряжения и положительным входом Op-Amp U11A.
Сигнал SP_HW датчика вмещающего элемента от датчика 2220 вмещающего элемента может иметь относительно небольшой уровень напряжения (например, приблизительно 2 мВ), и, следовательно, относительно высокий коэффициент усиления Op-Amp U11A можно использовать, чтобы сигнал HW_SIGNAL измерения температуры вмещающего элемента соответствовал динамическому диапазону сигнала ADC на контроллере 2105 (например, приблизительно 1,8 В). Соответственно Op-Amp U11A усиливает сигнал SP_HW датчика вмещающего элемента и выводит усиленный сигнал в качестве выходного сигнала HW_SIGNAL измерения температуры вмещающего элемента на ADC для выборки и измерения в контроллере 2105.
Как показано на фиг. 37, схема 21250 В измерения температуры вмещающего элемента включает предоконечный каскад 3902В и измерительный каскад 3904В. В примерном варианте осуществления, показанном на фиг. 37, предоконечный каскад 3902В и измерительный каскад 3904В подобны предоконечному каскаду 3902А и измерительному каскаду 3904А соответственно, показанным на фиг. 36, за исключением того, что предоконечный каскад 3902 В дополнительно включает измерительный балансировочный резистор R93, и величина емкости конденсатора С43 может быть уменьшена для увеличения времени нарастания / спада сигнала SP_HW датчика вмещающего элемента. В по меньшей мере одном примере измерительный балансировочный резистор R93 может иметь сопротивление приблизительно 3 Ом и может быть перемещен из электрической системы 2200 вмещающего элемента в сборе для никотина в электрическую систему 2100 основной части устройства в сборе для снижения стоимости вмещающего элемента в сборе 300 для никотина. Кроме того, в по меньшей мере примерном варианте осуществления, показанном на фиг. 37, пассивные элементы могут быть расположены и отрегулированы для настройки коэффициентов усиления таким образом, чтобы диапазон выходного сигнала соответствовал диапазону входного сигнала контроллера 2105.
На фиг. 38 показана принципиальная схема, иллюстрирующая схему управления модулем нагрева согласно некоторым примерным вариантам осуществления. Схема управления модулем нагрева, показанная на фиг. 38, является примером схемы 2127 управления модулем нагрева, показанной на фиг. 29.
Как показано на фиг. 38, схема 2127А управления модулем нагрева включает зарядовый насос U2 CMOS, выполненный с возможностью подачи шины питания (например, шины питания приблизительно 7 В (7V_CP)) на одну или более интегральных схем (IC) запускающего устройства затвора для управления силовыми FET (компоновкой схем управления мощностью нагревателя, также называемой схемой или компоновкой схем синхронизации модуля нагрева, не показанной на фиг. 38), которые питают нагреватель 336 во вмещающем элементе в сборе 300 для никотина.
В примерной работе зарядовый насос U2 управляется (выборочно активируется или деактивируется) на основании сигнала COIL_SHDN отключения парения (сигнала состояния питания устройства, также называемого сигналом включения парения) от контроллера 2105. В примере, показанном на фиг. 38, зарядовый насос U2 активируется в ответ на вывод сигнала COIL_SHDN отключения парения, имеющего низкий логический уровень, и деактивируется в ответ на вывод сигнала COIL-SHDN отключения катушки, имеющего высокий логический уровень. Как только шина 7V_CP питания стабилизировалась после активации зарядового насоса U2 (например, по истечении интервала времени установления), контроллер 2105 может включить сигнал GATE_ON активации нагревателя для подачи питания на компоновку схем управления питанием нагревателя и нагреватель 336.
Согласно по меньшей мере одному примерному варианту осуществления контроллер 2105 может выполнить операцию отключения парения посредством вывода (включения) сигнала COIL_SHDN отключения парения, имеющего высокий логический уровень, для выключения всего питания нагревателя 336 до тех пор, пока сигнал COIL_SHDN отключения парения не будет выключен (переведен на низкий логический уровень) контроллером 2105.
Контроллер 2105 может выводить сигнал GATE_ON активации нагревателя (другой сигнал состояния питания устройства), имеющий высокий логический уровень, в ответ на обнаружение наличия условий для парения в устройстве 500 для курения содержащей никотин э-сигареты. В этом примерном варианте осуществления транзисторы (например, полевые транзисторы (FET)) Q5 и Q7A' активируются тогда, когда контроллер 2105 включает сигнал GATE_ON активации нагревателя до высокого логического уровня. Контроллер 2105 может выводить сигнал GATE_ON активации нагревателя, имеющий низкий логический уровень, для выключения питания нагревателя 336, тем самым выполняя операцию отключения нагревателя.
Если происходит неисправность силового каскада, где транзисторы Q5 и Q7A' не реагируют на сигнал GATE_ON активации нагревателя, то контроллер 2105 может выполнить операцию отключения парения посредством вывода сигнала COIL_SHDN отключения парения, имеющего высокий логический уровень, для выключения питания запускающего устройства затвора, который, в свою очередь, также отключает питание нагревателя 336.
В другом примере, если контроллеру 2105 не удается загрузиться должным образом, что приводит к тому, что сигнал COIL_SHDN отключения парения имеет неопределенное состояние, то схема 2127А управления модулем нагрева автоматически переводит сигнал COIL_SHDN отключения парения на высокий логический уровень, чтобы автоматически отключить питание нагревателя 336.
Более подробно в отношении фиг. 38, конденсатор С9, зарядовый насос U2 и конденсатор С10 подключены в конфигурации удвоителя положительного напряжения. Конденсатор С9 подключен между выводами С- и С+ зарядового насоса U2 и служит в качестве резервуара для никотина для зарядового насоса U2. Вывод VIN входного напряжения зарядового насоса U2 подключен к источнику ВАТТ напряжения в узле N3801, а конденсатор С10 подключен между заземлением и выводом VOUT выходного напряжения зарядового насоса U2 в узле N3802. Конденсатор С10 предоставляет фильтр и резервуар для никотина для выходных данных от зарядового насоса U2, что может обеспечить более стабильное выходное напряжение от зарядового насоса U2.
Конденсатор С11 подключен между узлом N3801 и заземлением для предоставления фильтра и резервуара для никотина для входного напряжения в зарядовый насос U2.
Резистор R10 подключен между источником положительного напряжения и выводом SHDN отключения. Резистор R10 служит в качестве резистора повышения уровня для обеспечения высокого уровня на входе вывода SHDN отключения, тем самым выключая выход (VOUT) зарядового насоса U2 и отключая питание нагревателя 336, когда сигнал COIL_SHDN отключения парения находится в неопределенном состоянии.
Резистор R43 подключен между заземлением и затвором транзистора Q7A' в узле N3804. Резистор R43 служит в качестве понижающего резистора для обеспечения того, чтобы транзистор Q7A' находился в высокоимпедансном (ОТКЛЮЧЕННОМ) состоянии, тем самым отключая шину 7V_CP питания и отключая питание нагревателя 336, если сигнал GATE_ON активации нагревателя находится в неопределенном состоянии.
Резистор R41 подключен между узлом N3802 и узлом N3803 между затвором транзистора Q5 и стоком транзистора Q7A'. Резистор R41 служит в качестве понижающего резистора для обеспечения более надежного отключения транзистора Q5.
Транзистор Q5 выполнен таким образом, чтобы выборочно изолировать шину 7V_CP питания от вывода VOUT зарядового насоса U2. Затвор транзистора Q5 подключен к узлу N3803, сток транзистора Q5 подключен к клемме VOUT выходного напряжения зарядового насоса U2 в узле N3802, а исток транзистора Q5 служит в качестве выходной клеммы для шины 7V_CP питания. Данная конфигурация позволяет конденсатору С10 быстрее достигать рабочего напряжения посредством изоляции нагрузки и создает отказоустойчивость, поскольку и сигнал COIL_SHDN отключения парения, и сигнал GATE_ON активации нагревателя должны находиться в правильном состоянии для подачи питания на нагреватель 336.
Транзистор Q7A выполнен с возможностью управления работой транзистора Q5 на основании сигнала GATE_ON активации нагревателя. Например, когда сигнал GATE_ON активации нагревателя имеет высокий логический уровень (например, выше ~2 В), транзистор Q7A находится в своем низкоимпедансном (ВКЛЮЧЕННОМ) состоянии, что приводит к заземлению затвора транзистора Q5, тем самым приводя к переходу транзистора Q5 в низкоимпедансное (ВКЛЮЧЕННОЕ) состояние. В этом случае схема 2127А управления модулем нагрева выводит шину 7V_CP питания на схему синхронизации модуля нагрева (не показана), тем самым обеспечивая подачу питания на нагреватель 336.
Если сигнал GATE_ON активации нагревателя имеет низкий логический уровень, то транзистор Q7A переходит в высокоимпедансное (ОТКЛЮЧЕННОЕ) состояние, что приводит к разрядке затвора транзистора Q5 через резистор R41, тем самым переводя транзистор Q5 в высокоимпедансное (ОТКЛЮЧЕННОЕ) состояние. В этом случае шина 7V_CP питания не выведена, а питание схемы синхронизации модуля нагрева (и нагревателя 336) отключено.
В примере, показанном на фиг. 38, поскольку транзистору Q5 требуется напряжение затвора такое же высокое, как напряжение истока (~7 В), чтобы находиться в высокоимпедансном (ОТКЛЮЧЕННОМ) состоянии, контроллер 2105 не управляет транзистором Q5 напрямую. Транзистор Q7A предоставляет механизм для управления транзистором Q5 на основании более низкого напряжения от контроллера 2105.
На фиг. 39 показана принципиальная схема, иллюстрирующая другую схему управления модулем нагрева согласно примерным вариантам осуществления. Схема управления модулем нагрева, показанная на фиг. 39, является другим примером схемы 2127 управления модулем нагрева, показанной на фиг. 29.
Как показано на фиг. 39, схема 2127В управления модулем нагрева включает схему 39020 преобразователя шины (также называемую схемой повышающего преобразователя) и схему 39040 запускающего устройства затвора. Схема 39020 преобразователя шины выполнена с возможностью вывода сигнала 9V_GATE напряжения (также называемого сигналом мощности или сигналом входного напряжения) для питания схемы 39040 запускающего устройства затвора на основании сигнала COIL_VGATE_PWM включения парения (также называемого сигналом отключения парения). Схема 39020 преобразователя шины может быть определена программным обеспечением, при этом сигнал COIL_VGATE_PWM включения парения используют для регулирования выходного сигнала 9V_GATE.
Схема 39040 запускающего устройства затвора использует сигнал 9V_GATE входного напряжения от схемы 39020 преобразователя шины для приведения в действие схемы 3906 синхронизации модуля нагрева.
В примерном варианте осуществления, показанном на фиг. 39, схема 39020 преобразователя шины генерирует сигнал 9V_GATE входного напряжения только в том случае, если подтвержден (присутствует) сигнал COIL_VGATE_PWM включения парения. Контроллер 2105 может выключить шину в 9 В, чтобы отключить питание схемы 39040 запускающего устройства затвора, посредством отмены подтверждения (прекращения или завершения) сигнала COIL_VGATE_PWM включения парения. Подобно сигналу COIL_SHDN отключения парения в примерном варианте осуществления, показанном на фиг. 38, сигнал COIL_VGATE_PWM включения парения может служить в качестве сигнала мощности состояния устройства для выполнения операции отключения парения в устройстве 500 для курения содержащей никотин э-сигареты. В этом примере контроллер 2105 может выполнить операцию отключения парения посредством отмены подтверждения сигнала COIL_VGATE_PWM включения парения, тем самым выключая все питание схемы 39040 запускающего устройства затвора, схемы 3906 синхронизации модуля нагрева и нагревателя 336. Затем контроллер 2105 может активировать парение в устройстве 500 для курения содержащей никотин э-сигареты посредством повторного подтверждения сигнала COIL_VGATE_PWM включения парения в схему 39020 преобразователя шины.
Подобно сигналу GATE_ON активации нагревателя на фиг. 38, контроллер 2105 может выводить первый сигнал GATE_ENB включения нагревателя, имеющий высокий логический уровень, для включения питания схемы 3906 синхронизации модуля нагрева и нагревателя 336 в ответ на обнаружение условий для парения в устройстве 500 для курения содержащей никотин э-сигареты. Контроллер 2105 может выводить первый сигнал GATE_ENB включения нагревателя, имеющий низкий логический уровень, для выключения питания схемы 3906 синхронизации модуля нагрева и нагревателя 336, тем самым выполняя операцию отключения нагревателя.
Обращаясь более подробно к схеме 39020 преобразователя шины на фиг. 39, конденсатор С36 подключен между источником ВАТТ напряжения и заземлением. Конденсатор С36 служит в качестве резервуара для никотина для схемы 39020 преобразователя шины.
Первая клемма индуктора L1006 подключена к узлу Nodel между источником ВАТТ напряжения и конденсатором С36. Индуктор L1006 служит в качестве основного запоминающего элемента схемы 39020 преобразователя шины.
Вторая клемма индуктора L1006, сток транзистора (например, MOSFET в режиме усиления) Q1009 и первая клемма конденсатора С1056 соединены в узле Node2. Исток транзистора Q1009 подключен к заземлению, а затвор транзистора Q1009 выполнен с возможностью приема сигнала COIL_VGATE_PWM включения парения от контроллера 2105.
В примере, показанном на фиг. 39, транзистор Q1009 служит в качестве основного переключающего элемента схемы 39020 преобразователя шины.
Резистор R29 подключен между затвором транзистора Q1009 и заземлением, чтобы действовать как понижающий резистор для обеспечения того, что транзистор Q1009 отключится более надежно и что работа нагревателя 336 предотвращается, когда сигнал COIL_VGATE_PWM включения парения находится в неопределенном состоянии.
Вторая клемма конденсатора С1056 соединена с катодом диода D1012 Зенера и анодом диода D1013 Зенера в узле Node3. Анод диода D1012 Зенера подключен к заземлению.
Катод диода D1013 Зенера соединен с клеммой конденсатора С35 и входом схемы делителя напряжения, включающей резисторы R1087 и R1088 в узле Node4. Другая клемма конденсатора С35 подключена к заземлению. Напряжение на узле Node4 также является выходным напряжением 9V_GATE, выводимым из схемы 39020 преобразователя шины.
Резистор R1089 подключен к выходу схемы делителя напряжения в узле Node5.
В примерной работе, когда сигнал COIL_VGATE_PWM включения парения подтвержден и находится на высоком логическом уровне, транзистор Q1009 переключается в низкоимпедансное (ВКЛЮЧЕННОЕ) состояние, тем самым позволяя току протекать от источника ВАТТ напряжения и конденсатора С36 к заземлению через индуктор L1006 и транзистор Q1009. Это накапливает энергию в индукторе L1006, при этом ток линейно увеличивается с течением времени.
Когда сигнал COIL_VGATE_PWM включения парения находится на низком логическом уровне, транзистор Q1009 переключается в высокоимпедансное (ОТКЛЮЧЕННОЕ) состояние. В этом случае индуктор L1006 поддерживает протекание тока (линейно затухающий), а напряжение в узле Node2 повышается.
Рабочий цикл сигнала COIL_VGATE_PWM включения парения определяет величину повышения напряжения для заданной нагрузки. Соответственно, сигналом COIL_VGATE_PWM включения парения управляет контроллер 2105 в замкнутом контуре, используя сигнал COIL_VGATE_FB обратной связи, выводимый схемой делителя напряжения в узле Node5 в качестве обратной связи. Переключение, описанное выше, происходит с относительно высокой скоростью (например, приблизительно 2 МГц, однако могут быть использованы разные частоты в зависимости от требуемых параметров и значений элементов).
По-прежнему обращаясь к схеме 39020 преобразователя шины на фиг. 39, конденсатор С1056 представляет собой конденсатор связи по переменному току, который обеспечивает блокировку постоянного тока для удаления уровня постоянного тока. Конденсатор С1056 блокирует протекание тока от источника ВАТТ напряжения через индуктор L1006 и диод D1013 к схеме 39040 запускающего устройства затвора, когда сигнал COIL_VGATE_PWM включения парения низкий, чтобы сохранить срок службы батареи (например, когда устройство 500 для курения содержащей никотин э-сигареты находится в режиме ожидания). Емкость конденсатора С1056 может быть выбрана таким образом, чтобы обеспечить относительно низкий импеданс пути на частоте переключения.
Диод D1012 Зенера устанавливает основной уровень сигнала переключения. Поскольку конденсатор С1056 удаляет уровень постоянного тока, напряжение на узле Node3 обычно может быть биполярным. В одном примере диод D1012 Зенера может зажимать отрицательный полуцикл сигнала до приблизительно 0,3 В ниже основного уровня.
Конденсатор С35 служит в качестве выходного резервуара для никотина для схемы 39020 преобразователя шины. Диод D1013 Зенера блокирует протекание тока из конденсатора С35 через конденсатор С1056 и транзистор Q1009, когда транзистор Q1009 ВКЛЮЧЕН.
Поскольку затухающий ток от индуктора L1006 создает повышение напряжения в узле Node4 между диодом D1013 Зенера и конденсатором С35, ток протекает в конденсатор С35. Конденсатор С35 поддерживает напряжение 9V_GATE, пока энергия накапливается в индукторе L1006.
Схема делителя напряжения, включающая резисторы R1087 и R1088, снижает напряжение до приемлемого уровня для измерения на ADC в контроллере 2105. Этот сигнал пониженного напряжения выводится как сигнал COIL_VGATE_FB обратной связи.
В схеме, показанной на фиг. 39, напряжение сигнала COIL_VGATE_FB обратной связи масштабируют приблизительно в 0,25 раза, следовательно, выходное напряжение в 9 В снижается до приблизительно 2,25 В для ввода в ADC в контроллере 2105.
Резистор R1089 обеспечивает ограничение тока при неисправности перенапряжения на выходе схемы 39020 преобразователя шины (например, в узле Node4) для защиты ADC в контроллере 2105.
Сигнал 9V_GATE выходного напряжения в 9 В выводится из схемы 39020 преобразователя шины в схему 39040 запускающего устройства затвора для питания схемы 39040 запускающего устройства затвора.
Обращаясь теперь более подробно к схеме 39040 запускающего устройства затвора, схема 39040 запускающего устройства затвора включает, среди прочего, встроенное запускающее устройство U2003 затвора, выполненное с возможностью преобразования одного или более слаботочных сигналов от контроллера 2105 в сильноточные сигналы для управления переключением транзисторов (например, MOSFET) схемы 3906 синхронизации модуля нагрева. Встроенное запускающее устройство U2003 затвора также выполнено с возможностью преобразования уровней напряжения от контроллера 2105 в уровни напряжения, требуемые транзисторами схемы 3906 синхронизации модуля нагрева. В примерном варианте осуществления, показанном на фиг. 39, встроенное запускающее устройство U2003 затвора является полумостовым запускающим устройством. Однако примерные варианты осуществления не следует ограничивать этим примером.
Более подробно, выходное напряжение в 9 В от схемы 39020 преобразователя шины вводится в схему 39040 запускающего устройства затвора через схему фильтра, включающую резистор R2012 и конденсатор С2009. Схема фильтра, включающая резистор R2012 и конденсатор С2009, подключена к выводу VCC (выводу 4) встроенного запускающего устройства U2003 затвора и аноду диода S2002 Зенера в узле Node6. Вторая клемма конденсатора С2009 подключена к заземлению. Анод диода В2002 Зенера соединен с первой клеммой конденсатора С2007 и повышающим выводом BST (выводом 1) встроенного запускающего устройства U2003 затвора в узле Node7. Вторая клемма конденсатора С2007 подключена к выводу SWN узла переключения (выводу 7) встроенного запускающего устройства U2003 затвора и схемы 3906 синхронизации модуля нагрева (например, между двумя MOSFET) в узле Node8. В примерном варианте осуществления, показанном на фиг. 39, диод D2002 Зенера и конденсатор С2007 образуют часть схемы компенсации и стабилизации накачки заряда, подключенной между выводом VCC входного напряжения и повышающим выводом BST встроенного запускающего устройства U2003 затвора. Поскольку конденсатор С2007 соединен с сигналом 9V_GATE входного напряжения в 9 В от схемы 39020 преобразователя шины, конденсатор С2007 заряжается до напряжения, почти равного сигналу 9V_GATE напряжения, через диод D2002.
По-прежнему, как показано на фиг. 39, вывод DRVH запускающего устройства затвора с высокой стороны напряжения (вывод 8), вывод BRVL запускающего устройства затвора с низкой стороны напряжения (вывод 5) и вывод ЕР (вывод 9) встроенного запускающего устройства U2003 затвора также подключены к схеме 3906 синхронизации модуля нагрева.
Резистор R2013 и конденсатор С2010 образуют схему фильтра, подключенную к входному выводу IN (выводу 2) встроенного запускающего устройства U2003 затвора. Схема фильтра выполнена с возможностью удаления высокочастотных помех из второго сигнала COIL_Z включения нагревателя на входной вывод. Второй сигнал COIL_Z включения нагревателя может быть сигналом PWM от контроллера 2105.
Резистор R2014 подключен к схеме фильтра и входному выводу IN в узле Node9. Резистор R2014 используют в качестве понижающего резистора, так что, если второй сигнал COIL_Z включения нагревателя является плавающим (или неопределенным), то входной вывод IN встроенного запускающего устройства U2003 затвора удерживается на низком логическом уровне для предотвращения активации схемы 3906 синхронизации модуля нагрева и нагревателя 336.
Первый сигнал GATE_ENB включения нагревателя от контроллера 2105 вводится на вывод OD (вывод 3) встроенного запускающего устройства U2003 затвора. Резистор R2016 подключен к выводу OD встроенного запускающего устройства U2003 затвора в качестве понижающего резистора, так что, если первый сигнал GATE_ENB включения нагревателя от контроллера 2105 является плавающим (или неопределенным), то вывод OD встроенного запускающего устройства U2003 затвора удерживается на низком логическом уровне для предотвращения активации схемы 3906 синхронизации модуля нагрева и нагревателя 336.
В примерном варианте осуществления, показанном на фиг. 39, схема 3906 синхронизации модуля нагрева включает транзисторную (например, MOSFET) схему, включающую транзисторы (например, MOSFET) 39062 и 39064, соединенные последовательно между источником ВАТТ напряжения и заземлением. Затвор транзистора 39064 соединен с выводом DRVL запускающего устройства затвора со стороны низкого напряжения (выводом 5) встроенного запускающего устройства U2003 затвора, сток транзистора 39064 соединен с выводом SWN узла переключения (выводом 7) встроенного запускающего устройства U2003 затвора в узле Node8, а исток транзистора 39064 соединен с заземлением GND.
Когда управляющий сигнал затвора со стороны низкого напряжения, выходящий из вывода DRVL запускающего устройства затвора со стороны низкого напряжения, имеет высокий уровень, транзистор 39064 находится в низкоимпедансном (ВКЛЮЧЕННОМ) состоянии, тем самым соединяя узел Node8 с заземлением.
Как упомянуто выше, поскольку конденсатор С2007 соединен с сигналом 9V_GATE входного напряжения в 9 В от схемы 39020 преобразователя шины, конденсатор С2007 заряжается до напряжения, равного или по существу равного сигналу 9V_GATE входного напряжения в 9 В, через диод D2002.
Когда управляющий сигнал затвора со стороны низкого напряжения, выходящий из вывода DRVL запускающего устройства затвора со стороны низкого напряжения, имеет низкий уровень, транзистор 39064 переключается в высокоимпедансное (ОТКЛЮЧЕННОЕ) состояние, а вывод DRVH запускающего устройства затвора со стороны высокого напряжения (вывод 8) внутренне соединен с повышающим выводом BST внутри встроенного запускающего устройства U2003 затвора. В результате транзистор 39062 находится в низкоимпедансном (ВКЛЮЧЕННОМ) состоянии, тем самым подключая узел SWN переключения к источнику ВАТТ напряжения, чтобы подтянуть узел SWN переключения (Node 8) к напряжению источника ВАТТ напряжения.
В этом случае узел Node7 повышается до повышающего напряжения V(BST) ≈ V(9V_GATE) + V(ВАТТ), что позволяет напряжению затвор-исток транзистора 39062 быть таким же или по существу таким же, как напряжение сигнала 9V_GATE входного напряжения в 9 В (например, V (9V_GATE)) вне зависимости (или независимо) от напряжения от источника ВАТТ напряжения. В результате узел SWN переключения (Node 8) предоставляет сильноточный переключаемый сигнал, который можно использовать для генерирования выходного напряжения на нагреватель 336, которое по существу не зависит от напряжения, выходящего из источника ВАТТ напряжения батареи.
На фиг. 40 и 41 проиллюстрированы примерные варианты осуществления термочувствительных преобразователей, включенных в датчики 2220 вмещающего элемента, показанные на фиг. 29.
Как показано на фиг. 40, термочувствительный преобразователь 3600А содержит резистор R3602 и датчик-преобразователь R3604. В по меньшей мере одном примерном варианте осуществления резистор R3602 может иметь фиксированное сопротивление приблизительно 3 Ом. Датчик-преобразователь R3604 может представлять собой резистор, имеющий переменное сопротивление, которое изменяется в зависимости от температуры. Резистор R3602 и датчик-преобразователь R3604 расположены в схеме делителя напряжения, так что напряжение на датчике-преобразователе R3604 (напряжение на измерительном узле N3606) может быть выведено в схему 21250 измерения температуры вмещающего элемента для масштабирования и затем использования при измерении температуры вмещающего элемента в сборе 300 для никотина или одного или более элементов вмещающего элемента в сборе 300 для никотина.
В примерной работе предоконечный каскад 3902А схемы 21250А измерения температуры вмещающего элемента (фиг. 36) подает сигнал HW_POWER мощности измерения температуры вмещающего элемента на термочувствительный преобразователь 3600А, а измерительный каскад 3904А схемы 21250А измерения температуры вмещающего элемента масштабирует выявленное напряжение сигнала SP_HW датчика вмещающего элемента на измерительном узле N3606 и выводит масштабированное напряжение на контроллер 2105 в качестве выходного сигнала HW_SIGNAL измерения температуры вмещающего элемента. Затем контроллер 2105 определяет температуру вмещающего элемента в сборе 300 для никотина или одного или более элементов вмещающего элемента в сборе 300 для никотина на основании выходного сигнала HW_SIGNAL измерения температуры вмещающего элемента.
В по меньшей мере одном примерном варианте осуществления напряжение сигнала HW_POWER мощности измерения температуры вмещающего элемента может быть фиксированным, и, следовательно, схема 21250А измерения температуры вмещающего элемента может также вычислять ток через резисторы R3602 и R3604, поскольку сопротивление резистора R3602 является известным сопротивлением.
Обращаясь к примерному варианту осуществления, показанному на фиг. 41, термочувствительный преобразователь 3600В подобен термочувствительному преобразователю 3600А на фиг. 40, за исключением того, что, как упомянуто выше в отношении фиг. 37, резистор R3602 исключен из термочувствительного преобразователя 3600В и перемещен в предоконечный каскад 3902В схемы 21250В измерения температуры вмещающего элемента на фиг. 37. За счет перемещения резистора R3602 в предоконечный каскад 3902В схемы 21250В измерения температуры вмещающего элемента стоимость электрической системы 2200 вмещающего элемента в сборе для никотина и/или количество выводов, требуемых для связи между основной частью 100 устройства и вмещающим элементом в сборе 300 для никотина, может быть уменьшена. Более того, сопротивление датчика-преобразователя R3606 в примерном варианте осуществления, показанном на фиг. 41, может быть больше, чем сопротивление датчика-преобразователя R3604 на фиг. 40, чтобы уменьшить ток, потребляемый термочувствительным преобразователем 3600В.
В настоящем документе были раскрыты примерные варианты осуществления, однако следует понимать, что могут быть возможны другие варианты. Такие варианты не должны считаться отступлением от объема настоящего изобретения, и подразумевается, что все такие модификации, которые будут очевидны специалисту в данной области техники, должны быть включены в объем следующей формулы изобретения.
Группа изобретений относится к табачной промышленности, а именно к схеме управления модулем нагрева для управления работой нагревателя электронного устройства для парения никотина и электронному устройству для парения никотина. Схема управления модулем нагрева для управления работой нагревателя электронного устройства для парения никотина содержит схему преобразователя шины, выполненную с возможностью преобразования напряжения блока питания в сигнал мощности на основании сигнала включения парения, причем сигнал включения парения представляет собой сигнал с широтно-импульсной модуляцией. Схема управления модулем нагрева включает схему запускающего устройства затвора, содержащую встроенное запускающее устройство затвора. Встроенное запускающее устройство затвора выполнено с возможностью управления подачей питания на нагреватель для нагрева содержащего никотин готового состава для пара, извлекаемого из резервуара для никотина в электронном устройстве для парения никотина на основании сигнала мощности, первого сигнала включения и второго сигнала включения. Технический результат заключается в повышении эффективности работы нагревателя электронного устройства для парения никотина. 2 н. и 26 з.п. ф-лы, 41 ил.
1. Схема управления модулем нагрева для управления работой нагревателя электронного устройства для парения никотина, причем схема управления модулем нагрева содержит:
схему преобразователя шины, выполненную с возможностью преобразования напряжения блока питания в сигнал мощности на основании сигнала включения парения, причем сигнал включения парения представляет собой сигнал с широтно-импульсной модуляцией; и
схему запускающего устройства затвора, содержащую встроенное запускающее устройство затвора, причем встроенное запускающее устройство затвора выполнено с возможностью управления подачей питания на нагреватель для нагрева содержащего никотин готового состава для пара, извлекаемого из резервуара для никотина в электронном устройстве для парения никотина на основании сигнала мощности, первого сигнала включения и второго сигнала включения.
2. Схема управления модулем нагрева по п.1, отличающаяся тем, что схема преобразователя шины выполнена с возможностью отключения сигнала мощности в ответ на прекращение сигнала включения парения.
3. Схема управления модулем нагрева по п.1 или 2, отличающаяся тем, что
сигнал включения парения принимается от контроллера электронного устройства для парения никотина;
схема преобразователя шины выполнена с возможностью вывода сигнала обратной связи на контроллер, причем сигнал обратной связи представляет собой масштабированную версию сигнала мощности, указывающую текущий уровень напряжения сигнала мощности; и
рабочий цикл сигнала включения парения основан на сигнале обратной связи.
4. Схема управления модулем нагрева по любому из пп.1, 2 или 3, отличающаяся тем, что
второй сигнал включения представляет собой сигнал с широтно-импульсной модуляцией;
встроенное запускающее устройство затвора выполнено с возможностью приема второго сигнала включения на входном выводе; и
схема запускающего устройства затвора содержит схему фильтра, подключенную к входному выводу, причем схема фильтра выполнена с возможностью фильтрации второго сигнала включения перед вводом во встроенное запускающее устройство затвора.
5. Схема управления модулем нагрева по п.4, отличающаяся тем, что схема запускающего устройства затвора содержит понижающий резистор, подключенный к входному выводу встроенного запускающего устройства затвора, причем понижающий резистор выполнен с возможностью поддержания входного вывода на низком логическом уровне, когда второй сигнал включения находится в высокоимпедансном состоянии.
6. Схема управления модулем нагрева по любому предыдущему пункту, отличающаяся тем, что схема запускающего устройства затвора содержит:
схему компенсации и стабилизации накачки заряда, подключенную между выводом входного напряжения и повышающим выводом встроенного запускающего устройства затвора.
7. Схема управления модулем нагрева по п.6, отличающаяся тем, что схема компенсации и стабилизации накачки заряда подключена к выводу узла переключения встроенного запускающего устройства затвора.
8. Схема управления модулем нагрева по п.6 или 7, отличающаяся тем, что схема запускающего устройства затвора содержит:
схему фильтра, подключенную между входной клеммой сигнала мощности и схемой компенсации и стабилизации накачки заряда.
9. Схема управления модулем нагрева по любому предыдущему пункту, отличающаяся тем, что схема преобразователя шины содержит:
первый конденсатор, подключенный между блоком питания и заземлением;
индуктор, имеющий первую клемму, соединенную с первым узлом между блоком питания и первым конденсатором, и вторую клемму, соединенную со вторым узлом;
переключающий транзистор, подключенный между упомянутым вторым узлом и заземлением, причем переключающий транзистор выполнен с возможностью приема сигнала включения парения;
второй конденсатор, имеющий первую клемму, соединенную с упомянутым вторым узлом, и вторую клемму, соединенную с третьим узлом;
первый диод, имеющий анод, соединенный с заземлением, и катод, соединенный с упомянутым третьим узлом;
второй диод, имеющий анод, соединенный с упомянутым третьим узлом, и катод, соединенный с четвертым узлом;
третий конденсатор, соединенный между упомянутым четвертым узлом и заземлением; и
схему делителя напряжения, подключенную к упомянутому четвертому узлу, причем схема делителя напряжения выполнена с возможностью вывода сигнала обратной связи на основании сигнала мощности.
10. Схема управления модулем нагрева по п.9, отличающаяся тем, что схема преобразователя шины дополнительно содержит:
понижающий резистор, подключенный между затвором переключающего транзистора и заземлением, причем понижающий резистор выполнен с возможностью предотвращения вывода сигнала мощности, когда сигнал включения парения находится в неопределенном состоянии.
11. Схема управления модулем нагрева по любому предыдущему пункту, отличающаяся тем, что схема запускающего устройства затвора дополнительно содержит:
первую схему фильтра, выполненную с возможностью фильтрации сигнала мощности для ввода во встроенное запускающее устройство затвора; и
вторую схему фильтра, выполненную с возможностью фильтрации второго сигнала включения для ввода во встроенное запускающее устройство затвора.
12. Схема управления модулем нагрева по любому предыдущему пункту, отличающаяся тем, что дополнительно содержит:
схему синхронизации модуля нагрева, выполненную с возможностью управления питанием нагревателя, причем схема синхронизации модуля нагрева содержит первый транзистор и второй транзистор, соединенные последовательно между блоком питания и заземлением; и при этом
схема запускающего устройства затвора выполнена с возможностью вывода управляющего напряжения на затвор первого транзистора для поддержания напряжения затвор-исток первого транзистора на уровне напряжения сигнала мощности, независимом от уровня напряжения блока питания.
13. Схема управления модулем нагрева по любому предыдущему пункту, отличающаяся тем, что дополнительно содержит:
схему синхронизации модуля нагрева, выполненную с возможностью управления питанием нагревателя, причем схема синхронизации модуля нагрева содержит первый транзистор и второй транзистор, соединенные последовательно между блоком питания и заземлением; и при этом
схема запускающего устройства затвора выполнена с возможностью вывода текущего переключаемого сигнала для генерирования выходного напряжения на нагревателе, причем уровень выходного напряжения на нагревателе не зависит от уровня напряжения блока питания.
14. Электронное устройство для парения никотина, содержащее:
нагреватель, выполненный с возможностью нагрева содержащего никотин готового состава для пара, втягиваемого из резервуара для никотина;
схему преобразователя шины, выполненную с возможностью преобразования напряжения блока питания в сигнал мощности на основании сигнала включения парения, причем сигнал включения парения представляет собой сигнал с широтно-импульсной модуляцией; и
схему запускающего устройства затвора, содержащую встроенное запускающее устройство затвора, причем встроенное запускающее устройство затвора выполнено с возможностью управления подачей питания на нагреватель электронного устройства для парения никотина на основании сигнала мощности, первого сигнала включения и второго сигнала включения.
15. Электронное устройство для парения никотина по п.14, отличающееся тем, что схема преобразователя шины выполнена с возможностью отключения сигнала мощности в ответ на прекращение сигнала включения парения.
16. Электронное устройство для парения никотина по п.14 или 15, отличающееся тем, что
схема преобразователя шины выполнена с возможностью вывода сигнала обратной связи, причем сигнал обратной связи представляет собой масштабированную версию сигнала мощности, указывающую текущий уровень напряжения сигнала мощности; и
электронное устройство для парения никотина содержит контроллер, выполненный с возможностью генерирования сигнала включения парения на основании сигнала обратной связи.
17. Электронное устройство для парения никотина по п.16, отличающееся тем, что контроллер выполнен с возможностью управления рабочим циклом сигнала включения парения на основании сигнала обратной связи.
18. Электронное устройство для парения никотина по любому из пп.14-17, отличающееся тем, что
второй сигнал включения представляет собой сигнал с широтно-импульсной модуляцией;
встроенное запускающее устройство затвора выполнено с возможностью приема второго сигнала включения на входном выводе; и
схема запускающего устройства затвора содержит схему фильтра, подключенную к входному выводу, причем схема фильтра выполнена с возможностью фильтрации второго сигнала включения перед вводом во встроенное запускающее устройство затвора.
19. Электронное устройство для парения никотина по п.18, отличающееся тем, что схема запускающего устройства затвора содержит понижающий резистор, подключенный к входному выводу встроенного запускающего устройства затвора, причем понижающий резистор выполнен с возможностью поддержания входного вывода на низком логическом уровне, когда второй сигнал включения находится в высокоимпедансном состоянии.
20. Электронное устройство для парения никотина по любому из пп.14-19, отличающееся тем, что схема запускающего устройства затвора содержит:
схему компенсации и стабилизации накачки заряда, подключенную между выводом входного напряжения и повышающим выводом встроенного запускающего устройства затвора.
21. Электронное устройство для парения никотина по п.20, отличающееся тем, что схема компенсации и стабилизации накачки заряда подключена к выводу узла переключения встроенного запускающего устройства затвора.
22. Электронное устройство для парения никотина по п.20 или 21, отличающееся тем, что схема запускающего устройства затвора содержит:
схему фильтра, подключенную между входной клеммой сигнала мощности и схемой компенсации и стабилизации накачки заряда.
23. Электронное устройство для парения никотина по любому из пп.14-22, отличающееся тем, что схема преобразователя шины содержит:
первый конденсатор, подключенный между блоком питания и заземлением;
индуктор, имеющий первую клемму, соединенную с первым узлом между блоком питания и упомянутым первым конденсатором, и вторую клемму, соединенную со вторым узлом;
переключающий транзистор, подключенный между упомянутым вторым узлом и заземлением, причем переключающий транзистор выполнен с возможностью приема сигнала включения парения;
второй конденсатор, имеющий первую клемму, соединенную с упомянутым вторым узлом, и вторую клемму, соединенную с третьим узлом;
первый диод, имеющий анод, соединенный с заземлением, и катод, соединенный с упомянутым третьим узлом;
второй диод, имеющий анод, соединенный с упомянутым третьим узлом, и катод, соединенный с четвертым узлом;
третий конденсатор, соединенный между упомянутым четвертым узлом и заземлением; и
схему делителя напряжения, подключенную к упомянутому четвертому узлу, причем схема делителя напряжения выполнена с возможностью вывода сигнала обратной связи на основании сигнала мощности.
24. Электронное устройство для парения никотина по п.23, отличающееся тем, что схема преобразователя шины дополнительно содержит:
понижающий резистор, подключенный между затвором переключающего транзистора и заземлением, причем понижающий резистор выполнен с возможностью предотвращения вывода сигнала мощности, когда сигнал включения парения находится в неопределенном состоянии.
25. Электронное устройство для парения никотина по любому из пп.14-24, отличающееся тем, что схема запускающего устройства затвора дополнительно содержит:
первую схему фильтра, выполненную с возможностью фильтрации сигнала мощности для ввода во встроенное запускающее устройство затвора; и
вторую схему фильтра, выполненную с возможностью фильтрации второго сигнала включения для ввода во встроенное запускающее устройство затвора.
26. Электронное устройство для парения никотина по любому из пп.14-25, отличающееся тем, что дополнительно содержит:
схему синхронизации модуля нагрева, выполненную с возможностью управления питанием нагревателя, причем схема синхронизации модуля нагрева содержит первый транзистор и второй транзистор, соединенные последовательно между блоком питания и заземлением; и при этом
схема запускающего устройства затвора выполнена с возможностью вывода управляющего напряжения на затвор первого транзистора для поддержания напряжения затвор-исток первого транзистора на уровне напряжения сигнала мощности, независимом от уровня напряжения блока питания.
27. Электронное устройство для парения никотина по любому из пп.14-26, отличающееся тем, что дополнительно содержит:
схему синхронизации модуля нагрева, выполненную с возможностью управления питанием нагревателя, причем схема синхронизации модуля нагрева содержит первый транзистор и второй транзистор, соединенные последовательно между блоком питания и заземлением; и при этом
схема запускающего устройства затвора выполнена с возможностью вывода текущего переключаемого сигнала для генерирования выходного напряжения на нагревателе, причем уровень выходного напряжения на нагревателе не зависит от уровня напряжения блока питания.
28. Электронное устройство для парения никотина по любому из пп.14-27, отличающееся тем, что дополнительно содержит:
резервуар для никотина для хранения содержащего никотин готового состава для пара;
фитиль, выполненный с возможностью передачи содержащего никотин готового состава для пара из резервуара для никотина на нагреватель; и при этом
нагреватель выполнен с возможностью нагрева содержащего никотин готового состава для пара, передаваемого из резервуара для никотина посредством фитиля.
| WO 2019205914 A1, 31.10.2019 | |||
| US 2020154787 A1, 21.05.2020 | |||
| US 2019200675 A1, 04.07.2019 | |||
| УПРАВЛЕНИЕ НАГРЕВАТЕЛЕМ | 2016 |
|
RU2700016C2 |
| WO 2020057474 A1, 26.03.2020 | |||
| ЭЛЕКТРОУПРАВЛЯЕМАЯ СИСТЕМА ГЕНЕРИРОВАНИЯ АЭРОЗОЛЯ С РЕГУЛИРОВАНИЕМ ПРОИЗВОДСТВА АЭРОЗОЛЯ | 2012 |
|
RU2605837C2 |
Авторы
Даты
2025-04-02—Публикация
2021-07-15—Подача