Один или более примерных вариантов осуществления относятся к электронным устройствам для парения никотина (устройства для курения содержащей никотин э-сигареты).
В US 2014/270727 А1 описан способ управления нагревом системы для предшественника аэрозоля электронного устройства или изделия для парения никотина. Согласно известному способу, средняя мощность направляется от источника питания к нагревательному устройству, предназначенному для нагрева системы/устройства для предшественника аэрозоля, и соответствующим образом запускается период времени нагрева. Средняя мощность соответствует выбранной установке мощности, связанной с источником питания. Фактическая мощность, направленная на нагревательное устройство, определяется как произведение напряжения на нагревательном устройстве и тока через него. Фактическая мощность сравнивается со средней мощностью, и средняя мощность регулируется, чтобы направить фактическую мощность к выбранному заданному значению мощности. Фактическая мощность периодически определяется и сравнивается со средней мощностью, а средняя мощность регулируется в направлении выбранного заданного значения мощности до истечения упомянутого периода времени нагрева. В некоторых аспектах определяются неисправности или неполадки, связанные с электронным устройством для парения никотина. Контроллер или процессор может быть сконфигурирован для распознавания таких условий и уведомления пользователя о таких неисправностях или неполадках.
Проблемой в US 2014/270727 А1 является отсутствие оптимизированной реакции раскрытого там устройства на различные сбои. Электронное изделие не реагирует по-разному на различные типы неисправностей.
Настоящее изобретение решает проблему улучшения или оптимизации реакции электронного устройства для парения никотина на неисправности в его работе.
Электронные устройства для парения никотина (или устройства для курения содержащей никотин э-сигареты) содержат нагреватель, который испаряет материал содержащего никотин готового состава для пара с получением пара никотина. Устройство для курения содержащей никотин э-сигареты может содержать несколько элементов для э-парения никотина, включая источник питания, картридж для никотина или емкость для э-парения никотина, включающие нагреватель, и резервуар для никотина, выполненный с возможностью удерживания материала содержащего никотин готового состава для пара.
По меньшей мере в одном примерном варианте осуществления предусмотрено электронное устройство для парения никотина, содержащее вмещающий элемент в сборе для никотина и основную часть устройства. Вмещающий элемент в сборе для никотина содержит резервуар для никотина, предназначенный для удерживания содержащего никотин готового состава для пара, и нагреватель, выполненный с возможностью испарения содержащего никотин готового состава для пара, втягиваемого из резервуара для никотина. Основная часть устройства выполнена с возможностью зацепления с вмещающим элементом в сборе для никотина и содержит контроллер. Контроллер выполнен с возможностью обнаружения события неисправности в электронном устройстве для парения никотина, классификации события неисправности как одного из множества типов событий неисправности и выполнения по меньшей мере одного последующего действия на основании классификации события неисправности.
Согласно по меньшей мере некоторым примерным вариантам осуществления, событием неисправности может быть одно из обычного события, события мягкой неисправности вмещающего элемента, события жесткой неисправности вмещающего элемента, события мягкой неисправности устройства или события жесткой неисправности устройства. Событие мягкой неисправности вмещающего элемента и событие жесткой неисправности вмещающего элемента могут быть отклоняющимися от нормы состояниями во вмещающем элементе в сборе для никотина, а событие мягкой неисправности устройства и событие жесткой неисправности устройства могут быть отклоняющимися от нормы состояниями в основной части устройства.
По меньшей мере одно последующее действие включает операцию автоматического отключения, операцию отключения нагревателя, операцию отключения испарения, операцию прекращения зарядки или их комбинацию.
Основная часть устройства может дополнительно содержать по меньшей мере один индикатор для вейпера, выполненный с возможностью вывода индикации того, что произошло событие неисправности.
Основная часть устройства может дополнительно содержать запоминающее устройство.
Контроллер может быть выполнен с возможностью выполнения по меньшей мере одного последующего действия путем отключения питания нагревателя, регистрации возникновения события неисправности в запоминающем устройстве и обеспечения вывода по меньшей мере одним индикатором для вейпера индикации того, что произошло событие неисправности.
Контроллер может быть выполнен с возможностью выполнения по меньшей мере одного последующего действия путем отключения функции парения в электронном устройстве для парения никотина, регистрации возникновения события неисправности в запоминающем устройстве и обеспечения вывода по меньшей мере одним индикатором для вейпера индикации того, что произошло событие неисправности.
Контроллер может быть выполнен с возможностью обнаружения выхода вмещающего элемента в сборе для никотина из зацепления с основной частью устройства и включения функции испарения в электронном устройстве для парения никотина в ответ на обнаружение выхода вмещающего элемента в сборе для никотина из зацепления с основной частью устройства.
Контроллер может быть выполнен так, чтобы заставить основную часть устройства перейти в спящий режим в ответ на определение того, что корректирующее действие не произошло в ответ на событие неисправности.
Контроллер может быть выполнен с возможностью выполнения по меньшей мере одного последующего действия путем инициирования операции автоматического отключения, при которой электронное устройство для парения никотина переходит в спящий режим, регистрации возникновения события неисправности в запоминающем устройстве и обеспечения вывода по меньшей мере одним индикатором для вейпера индикации того, что произошло событие неисправности.
Контроллер может быть выполнен с возможностью выполнения по меньшей мере одного последующего действия путем отключения функции парения, операции зарядки или функции парения и операции зарядки в электронном устройстве для парения никотина, регистрации возникновения события неисправности в запоминающем устройстве и обеспечения вывода по меньшей мере одним индикатором для вейпера индикации того, что произошло событие неисправности.
Контроллер может быть выполнен с возможностью инициирования сброса таймера в ответ на обнаружение события неисправности, определения того, что сброс таймера произошел, и выполнение сброса электронного устройства для парения никотина в ответ на определение того, что сброс таймера произошел. Сброс может быть одним из следующих: мягкий сброс, при котором сбрасываются приложения программного обеспечения, запущенные в контроллере, жесткий сброс при котором сбрасываются приложения программного обеспечения, запущенные в контроллере, и аппаратное обеспечение электронного устройства для парения никотина, или сброс питания (POR). POR может включать генерирование импульса сброса для всей схемы устройства для курения содержащей никотин э-сигареты, чтобы устранить событие неисправности.
Контроллер может быть выполнен с возможностью определения того, что событие неисправности было устранено путем сброса, и включения функции парения, операции зарядки или функции парения и операции зарядки в ответ на определение того, что событие неисправности было устранено путем сброса.
Контроллер может быть выполнен с возможностью обнаружения корректирующего действия в электронном устройстве для парения никотина и включения функции парения, операции зарядки или функции парения и операции зарядки в ответ на обнаружение корректирующего действия.
Вмещающий элемент в сборе для никотина может содержать запоминающее устройство, выполненное с возможностью хранения порогового значения температуры, и контроллер выполнен с возможностью обнаружения события неисправности путем получения порогового значения температуры из запоминающего устройства, оценки температуры нагревателя во время работы электронного устройства для парения никотина, и обнаружения события неисправности в ответ на определение того, что температура нагревателя выше или равна пороговому значению температуры.
Основная часть устройства может дополнительно содержать блок питания, выполненный с возможностью подачи питания на электронное устройство для парения никотина. Событие неисправности может быть событием неисправности низкого напряжения блока питания, указывающим на то, что напряжение блока питания ниже минимального порогового значения. Контроллер может быть дополнительно выполнен с возможностью выполнения по меньшей мере одного последующего действия путем отключения функции парения в электронном устройстве для парения никотина в ответ на обнаружение события неисправности низкого напряжения блока питания.
Основная часть устройства может дополнительно содержать блок питания, выполненный с возможностью подачи питания на электронное устройство для парения никотина. Событие неисправности может быть событием неисправности температуры блока питания, указывающим на то, что температура блока питания выше или равна максимальному пороговому значению. Контроллер может быть выполнен с возможностью выполнения по меньшей мере одного последующего действия путем предотвращения зарядки блока питания в ответ на обнаружение события неисправности температуры блока питания.
По меньшей мере один примерный вариант осуществления предусматривает способ управления электронным устройством для парения никотина, причем способ включает: обнаружение события неисправности в электронном устройстве для парения никотина; классификацию события неисправности как одного из множества типов событий неисправности; и выполнение по меньшей мере одного последующего действия на основании классификации события неисправности.
Согласно по меньшей мере некоторым примерным вариантам осуществления, событием неисправности может быть одно из следующих: обычное событие, событие мягкой неисправности вмещающего элемента, событие жесткой неисправности вмещающего элемента, событие мягкой неисправности устройства или событие жесткой неисправности устройства. Событие мягкой неисправности вмещающего элемента и событие жесткой неисправности вмещающего элемента могут быть отклоняющимися от нормы состояниями во вмещающем элементе в сборе для никотина, а событие мягкой неисправности устройства и событие жесткой неисправности устройства могут быть отклоняющимися от нормы состояниями в основной части устройства.
По меньшей мере одно последующее действие может включать операцию автоматического отключения, операцию отключения нагревателя, операцию отключения испарения, операцию прекращения зарядки или их комбинацию.
Выполнение по меньшей мере одного последующего действия может включать: отключение питания нагревателя в электронном устройстве для парения никотина; регистрацию возникновения события неисправности в запоминающем устройстве в электронном устройстве для парения никотина; и вывод индикации того, что произошло событие неисправности.
Выполнение по меньшей мере одного последующего действия может включать: отключение функции парения в электронном устройстве для парения никотина; регистрацию возникновения события неисправности в запоминающем устройстве в электронном устройстве для парения никотина; и вывод индикации того, что произошло событие неисправности.
Способ может дополнительно включать: обнаружение извлечения вмещающего элемента в сборе для никотина из электронного устройства для парения никотина; и включение функции испарения в электронном устройстве для парения никотина в ответ на обнаружение извлечения вмещающего элемента в сборе для никотина из электронного устройства для парения никотина.
Способ может дополнительно включать перевод электронного устройства для парения никотина в спящий режим в ответ на определение того, что корректирующее действие не произошло в ответ на событие неисправности.
Выполнение по меньшей мере одного последующего действия может включать: инициирование операции автоматического отключения, при которой электронное устройство для парения никотина переходит в спящий режим; регистрацию возникновения события неисправности в запоминающем устройстве в электронном устройстве для парения никотина; и вывод индикации того, что произошло событие неисправности.
Выполнение по меньшей мере одного последующего действия может включать: отключения функции парения, операции зарядки или функции парения и операции зарядки в электронном устройстве для парения никотина; регистрацию возникновения события неисправности в запоминающем устройстве в электронном устройстве для парения никотина; и вывод индикации того, что произошло событие неисправности.
Способ может дополнительно включать: инициирование сброса таймера в ответ на обнаружение события неисправности; определение того, что сброс таймера произошел; и выполнение сброса электронного устройства для парения никотина в ответ на определение того, что сброс таймера произошел.
Способ может дополнительно включать: определение того, что событие неисправности было устранено путем сброса; и включение функции парения, операции зарядки или функции парения и операции зарядки в электронном устройстве для парения никотина в ответ на определение того, что событие неисправности было устранено путем сброса.
Способ может дополнительно включать: обнаружение корректирующего действия в электронном устройстве для парения никотина; и включение функции парения, операции зарядки или функции парения и операции зарядки в электронном устройстве для парения никотина в ответ на обнаружение корректирующего действия.
Обнаружение события неисправности может включать: получение порогового значения температуры из запоминающего устройства в электронном устройстве для парения никотина; оценку температуры нагревателя в электронном устройстве для парения никотина; и обнаружение события неисправности в ответ на определение того, что температура нагревателя выше или равна пороговому значению температуры.
Событие неисправности может быть событием неисправности низкого напряжения блока питания, указывающим на то, что напряжение блока питания в электронном устройстве для парения никотина ниже минимального порогового значения. Выполнение по меньшей мере одного последующего действия может включать отключение функции парения в электронном устройстве для парения никотина в ответ на обнаружение события неисправности низкого напряжения блока питания.
Событие неисправности может быть событием неисправности температуры блока питания, указывающим на то, что температура блока питания в электронном устройстве для парения никотина выше или равна максимальному пороговому значению. Выполнение по меньшей мере одного последующего действия может включать предотвращение зарядки блока питания в ответ на обнаружение события неисправности температуры блока питания.
Различные признаки и преимущества неограничивающих вариантов осуществления в настоящем документе могут стать более очевидными при рассмотрении подробного описания в сочетании с прилагаемыми графическими материалами. Прилагаемые графические материалы представлены исключительно для иллюстративных целей и не должны интерпретироваться как ограничивающие объем формулы изобретения. Прилагаемые графические материалы не следует рассматривать как изображенные в масштабе, если это явно не указано. Для ясности различные размеры изображений могли быть увеличены.
На фиг. 1 показан вид спереди устройства для курения содержащей никотин э-сигареты согласно примерному варианту осуществления.
На фиг. 2 показан вид сбоку устройства для курения содержащей никотин э-сигареты по фиг. 1.
На фиг. 3 показан вид сзади устройства для курения содержащей никотин э-сигареты по фиг. 1.
На фиг. 4 показан вид ближнего конца устройства для курения содержащей никотин э-сигареты по фиг. 1.
На фиг. 5 показан вид дальнего конца устройства для курения содержащей никотин э-сигареты по фиг. 1.
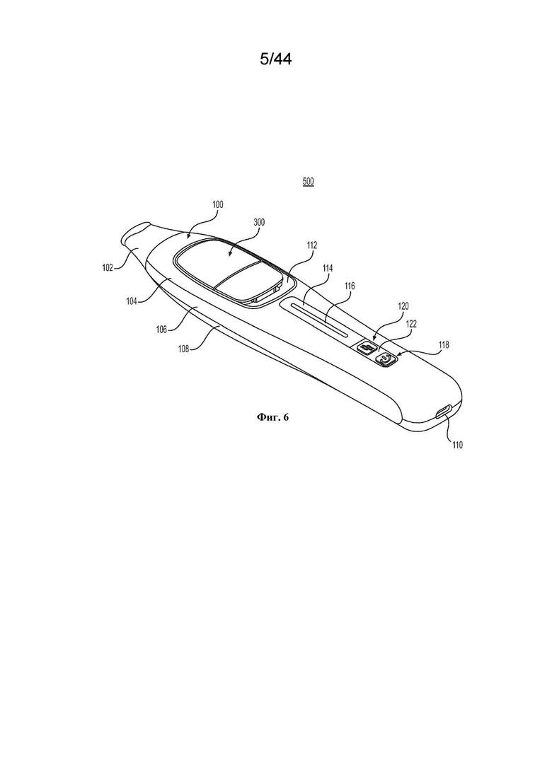
На фиг. 6 показан вид в перспективе устройства для курения содержащей никотин э-сигареты по фиг. 1.
На фиг. 7 показан увеличенный вид впускного отверстия вмещающего элемента, показанного на фиг. 6.
На фиг. 8 показан вид в разрезе устройства для курения содержащей никотин э-сигареты по фиг. 6.
На фиг. 9 показан вид в перспективе основной части устройства, представляющего собой устройство для курения содержащей никотин э-сигареты по фиг. 6.
На фиг. 10 показан вид спереди основной части устройства по фиг. 9.
На фиг. 11 показан увеличенный вид в перспективе сквозного отверстия по фиг. 10.
На фиг. 12 показан увеличенный вид в перспективе электрических контактов устройства, показанных на фиг. 10.
На фиг. 13 показан частичный покомпонентный вид, включающий мундштук, показанный на фиг. 12.
На фиг. 14 показан частичный покомпонентный вид, включающий наклонную конструкцию, показанную на фиг. 9.
На фиг. 15 показан увеличенный вид в перспективе мундштука, пружин, удерживающей конструкции и наклонной конструкции, показанных на фиг. 14.
На фиг. 16 показан частичный покомпонентный вид, включающий переднюю крышку, каркас и заднюю крышку, показанные на фиг. 14.
На фиг. 17 показан вид в перспективе вмещающего элемента в сборе для никотина устройства для курения содержащей никотин э-сигареты, показанного на фиг. 6.
На фиг. 18 показан другой вид в перспективе вмещающего элемента в сборе для никотина по фиг. 17.
На фиг. 19 показан другой вид в перспективе вмещающего элемента в сборе для никотина по фиг. 18.
На фиг. 20 показан вид в перспективе вмещающего элемента в сборе для никотина по фиг. 19 без соединительного модуля.
На фиг. 21 показан вид в перспективе соединительного модуля на фиг. 19.
На фиг. 22 показан другой вид в перспективе соединительного модуля по фиг. 21.
На фиг. 23 показан покомпонентный вид, включающий фитиль, нагреватель, электрические провода и контактный сердечник на фиг. 22.
На фиг. 24 показан покомпонентный вид, включающий первую секцию кожуха вмещающего элемента в сборе для никотина по фиг. 17.
На фиг. 25 показан частичный покомпонентный вид, включающий вторую секцию кожуха вмещающего элемента в сборе для никотина по фиг. 17.
На фиг. 26 показан покомпонентный вид пробойника активации на фиг. 25.
На фиг. 27 показан вид в перспективе соединительного модуля по фиг. 22 без фитиля, нагревателя, электрических проводов и контактного сердечника.
На фиг. 28 показан покомпонентный вид соединительного модуля по фиг. 27.
На фиг. 29 показаны электрические системы основной части устройства и вмещающего элемента в сборе для никотина устройства для курения содержащей никотин э-сигареты согласно примерному варианту осуществления.
На фиг. 30 показана простая блок-схема, иллюстрирующая систему 2300 управления автоматическим отключением согласно примерному варианту осуществления.
На фиг. 31 показана схема, иллюстрирующая способ обнаружения события простоя согласно примерному варианту осуществления.
На фиг. 32А показана схема, иллюстрирующая способ обнаружения события неисправности температуры нагревателя согласно примерному варианту осуществления.
На фиг. 32В показана схема, иллюстрирующая способ обнаружения события неисправности температуры нагревателя согласно другому примерному варианту осуществления.
На фиг. 33А и 33В показан способ управления автоматическим отключением согласно одному или более примерным вариантам осуществления.
На фиг. 34 показан примерный вариант осуществления схемы 21252 измерения напряжения нагревателя.
На фиг. 35 показан примерный вариант осуществления схемы 21258 измерения тока нагревателя, показанного на фиг. 29.
На фиг. 36 показаны схемы измерения температуры вмещающего элемента согласно примерному варианту осуществления.
На фиг. 37 показаны схемы измерения температуры вмещающего элемента согласно другому примерному варианту осуществления.
На фиг. 38 показана принципиальная схема, иллюстрирующая схему управления модулем нагрева согласно примерному варианту осуществления.
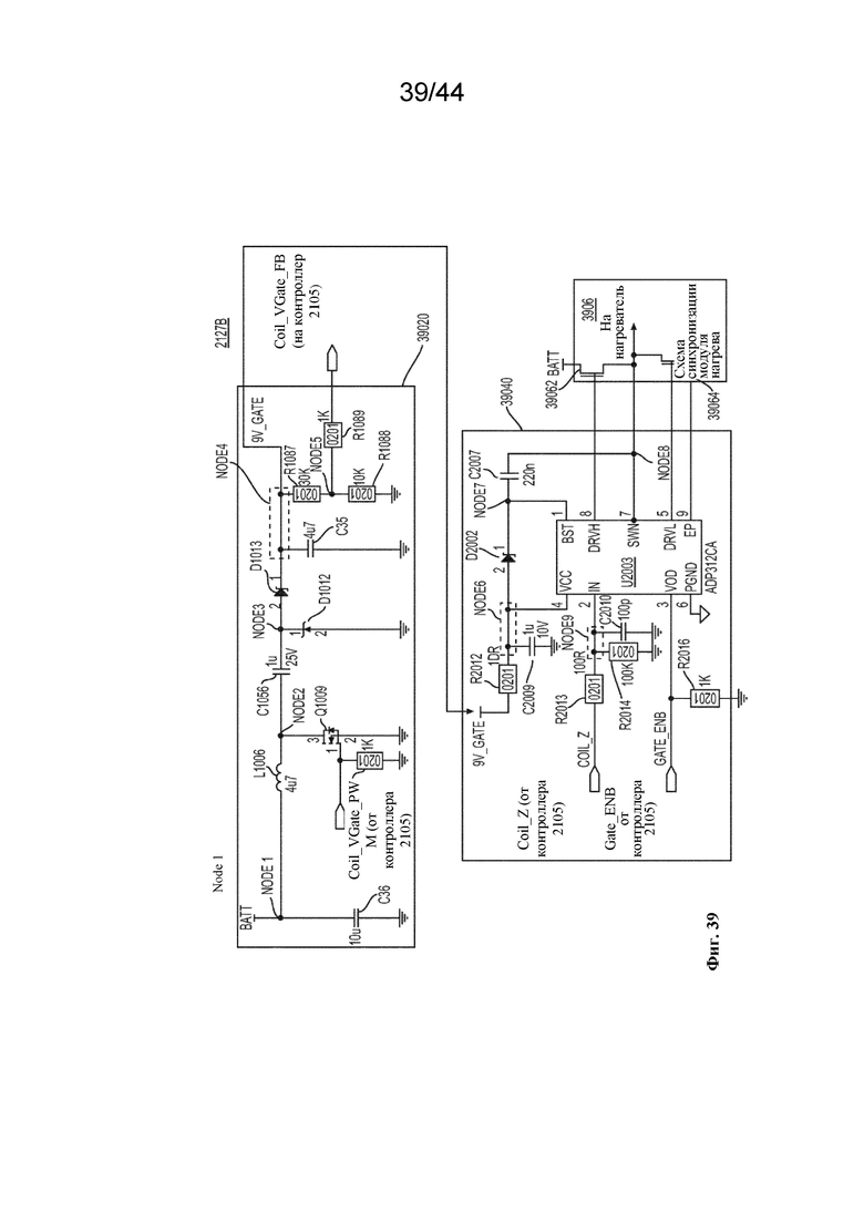
На фиг. 39 показана принципиальная схема, иллюстрирующая другую схему управления модулем нагрева согласно примерному варианту осуществления.
На фиг. 40 показан датчик измерения температуры согласно примерному варианту осуществления.
На фиг. 41 показан датчик измерения температуры согласно другому примерному варианту осуществления.
На фиг. 42А показана схема измерения температуры блока питания согласно примерному варианту осуществления.
На фиг. 42В показана схема измерения температуры блока питания согласно другому примерному варианту осуществления.
На фиг. 43А показана схема измерения напряжения блока питания согласно примерному варианту осуществления.
На фиг. 43В показана схема измерения напряжения блока питания согласно примерному варианту осуществления.
На фиг. 44А показано зарядное устройство согласно примерному варианту осуществления.
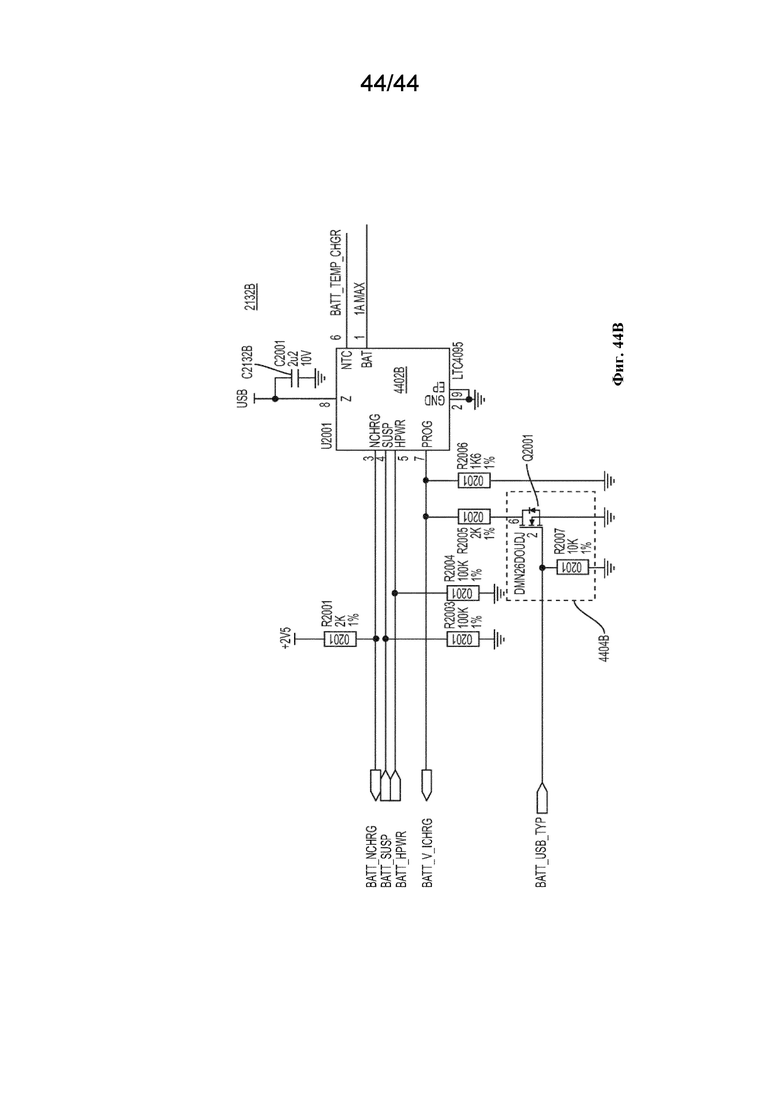
На фиг. 44В показано зарядное устройство согласно другому примерному варианту осуществления.
В настоящем документе раскрыты некоторые подробные примерные варианты осуществления. Однако конкретные структурные и функциональные подробности, раскрытые в настоящем документе, представлены исключительно в целях описания примерных вариантов осуществления. Однако примерные варианты осуществления могут быть осуществлены во многих альтернативных формах и не должны рассматриваться как ограниченные только примерными вариантами осуществления, которые изложены в настоящем документе.
Соответственно, поскольку примерные варианты осуществления способны иметь различные модификации и альтернативные формы, их примерные варианты осуществления показаны в качестве примера на графических материалах и будут подробно описаны в настоящем документе. Однако следует понимать, что не существует намерения ограничить примерные варианты осуществления конкретными раскрытыми формами, а наоборот, примерные варианты осуществления должны охватывать все их модификации, эквиваленты и альтернативы. Одинаковые номера относятся к одинаковым элементам по всему описанию фигур.
Следует понимать, что, когда элемент или слой обозначен как расположенный «на», «присоединенный к», «соединенный с», «прикрепленный к», «смежный с», или «покрывающий» другой элемент или слой, он может быть непосредственно расположен на, присоединен к, соединен с, прикреплен к, смежным с или может покрывать другой элемент или слой, или могут присутствовать промежуточные элементы или слои. Наоборот, если элемент обозначен как «расположенный непосредственно на», «непосредственно присоединенный к» или «непосредственно соединенный с» другим элементом или слоем, промежуточные элементы или слои отсутствуют. Одинаковые номера относятся к одинаковым элементам по всему описанию. В контексте настоящего документа термин «и/или» включает любую и все комбинации или подкомбинации из одного или более связанных перечисленных элементов.
Следует понимать, что хотя термины «первый», «второй», «третий» и т.д. могут использоваться в настоящем документе для описания различных элементов, областей, слоев и/или секций, эти элементы, области, слои и/или секции не должны ограничиваться этими терминами. Эти термины используются лишь для того, чтобы отличать один элемент, область, слой или секцию от другой области, слоя или секции. Следовательно, первый элемент, область, слой или секция, рассмотренные ниже, могли бы называться вторым элементом, областью, слоем или секцией без отступления от идей примерных вариантов осуществления.
Термины относительного пространственного расположения (например, «ниже», «под», «нижний», «над», «верхний» и т.п.) могут использоваться в настоящем документе с целью упрощения описания для раскрытия связи одного элемента или признака с другим элементом или признаком, как проиллюстрировано на фигурах. Следует понимать, что термины относительного пространственного расположения предназначены для охвата различных ориентации устройства во время использования или работы в дополнение к ориентации, изображенной на фигурах. Например, если устройство на фигурах перевернуто, то элементы, описанные как расположенные «под» или «ниже» других элементов или признаков, окажутся расположенными «над» другими элементами или признаками. Следовательно, предлог «под» может подразумевать расположение как выше, так и ниже. Устройство может быть ориентировано иным образом (повернуто на 90 градусов или расположено с другими ориентациями), и слова, используемые в настоящем документе для определения относительного пространственного расположения, будут интерпретироваться соответствующим образом.
Терминология, используемая в настоящем документе, предназначена лишь для описания различных примерных вариантов осуществления и не предназначена для ограничения примерных вариантов осуществления. В контексте настоящего документа предполагается, что использование форм единственного числа не исключает также форм множественного числа, если контекст явно не указывает на иное. Следует также понимать, что выражения «включает», «включающий», «содержит» и/или «содержащий» при использовании в этом описании указывают на наличие определенных признаков, целых чисел, этапов, операций и/или элементов, но не исключают наличия или добавления одного или более других признаков, целых чисел, этапов, операций, элементов и/или их групп.
Когда слова «приблизительно» и «по существу» используют в этом описании в сочетании с числовым значением, предполагается, что соответствующее числовое значение включает погрешность, составляющую ±10 процентов от указанного числового значения, если явно не определено иное.
Если не определено иное, все термины (включая технические и научные термины), используемые в настоящем документе, имеют те же значения, в которых их обычно понимает специалист в данной области техники, к которой относятся примерные варианты осуществления. Следует также понимать, что термины, включая те, которые определены в общепринятых словарях, должны интерпретироваться как имеющие значение, которое соответствует их значению в контексте соответствующей области техники, и не будут интерпретироваться в идеализированном или чрезмерно формальном смысле, если это явно не определено в настоящем документе.
Термины «электронное устройство для парения никотина» или «устройство для курения содержащей никотин э-сигареты», используемые в данном документе, могут иногда называться и считаться синонимами терминов «аппарат для электронного парения никотина» и/или «аппарат для э-парения никотина».
На фиг. 1 показан вид спереди устройства для курения содержащей никотин э-сигареты согласно примерному варианту осуществления. На фиг. 2 показан вид сбоку устройства для курения содержащей никотин э-сигареты по фиг. 1. На фиг. 3 показан вид сзади устройства для курения содержащей никотин э-сигареты по фиг. 1. Как показано на фиг. 1-3, устройство 500 для курения содержащей никотин э-сигареты содержит основную часть 100 устройства, выполненную с возможностью размещения вмещающего элемента в сборе 300 для никотина. Вмещающий элемент в сборе 300 для никотина представляет собой модульное изделие, выполненное с возможностью удержания содержащего никотин готового состава для пара. «Содержащий никотин готовый состав для пара» представляет собой материал или комбинацию материалов, которые могут быть преобразованы в пар. Например, содержащий никотин готовый состав для пара может представлять собой жидкий, твердый и/или гелеобразный состав, включающий, без ограничения, воду, гранулы, растворители, активные ингредиенты, этанол, растительные экстракты, натуральные или искусственные ароматизирующие вещества и/или вещества для образования пара, такие как глицерин и пропиленгликоль. Во время курения электронной сигареты устройство 500 для курения содержащей никотин э-сигареты выполнено с возможностью нагрева содержащего никотин готового состава для пара для генерирования пара. Как упоминается в данном документе, «пар никотина» представляет собой любое вещество, сгенерированное или выпущенное из любого устройства для курения содержащей никотин э-сигареты согласно любому из примерных вариантов осуществления, раскрытых в настоящем документе.
Как показано на фиг. 1 и фиг. 3, устройство 500 для курения содержащей никотин э-сигареты простирается в продольном направлении и имеет длину, превышающую его ширину. Кроме того, как показано на фиг. 2, длина устройства 500 для курения содержащей никотин э-сигареты также больше, чем его толщина. Помимо этого, ширина устройства 500 для курения содержащей никотин э-сигареты может быть больше, чем его толщина. Исходя из декартовой системы координат x-y-z, длину устройства 500 для курения содержащей никотин э-сигареты можно измерять в направлении у, ширину можно измерять в направлении х, а толщину можно измерять в направлении z. Устройство 500 для курения содержащей никотин э-сигареты может иметь по существу линейную форму с сужающимися концами на основе его видов спереди, сбоку и сзади, хотя примерные варианты осуществления этим не ограничиваются.
Основная часть 100 устройства содержит переднюю крышку 104, каркас 106 и заднюю крышку 108. Передняя крышка 104, каркас 106 и задняя крышка 108 образуют кожух устройства, который заключает в себе механические элементы, электронные элементы и/или схемы, связанные с работой устройства 500 для курения содержащей никотин э-сигареты. Например, кожух устройства основной части 100 устройства может заключать в себе источник питания, выполненный с возможностью подачи питания на устройство 500 для курения содержащей никотин э-сигареты, что может предусматривать подачу электрического тока на вмещающий элемент в сборе 300 для никотина. Кожух устройства основной части 100 устройства может также включать одну или более электрических систем для управления устройством 500 для курения содержащей никотин э-сигареты. Электрические системы согласно примерным вариантам осуществления будут более подробно рассмотрены ниже. Кроме того, в собранном виде передняя крышка 104, каркас 106 и задняя крышка 108 могут составлять большую часть видимого участка основной части 100 устройства.
Передняя крышка 104 (например, первая крышка) определяет первичный проем, выполненный с возможностью размещения наклонной конструкции 112. Первичный проем может иметь закругленную прямоугольную форму, хотя возможны и другие формы в зависимости от формы наклонной конструкции 112. Наклонная конструкция 112 определяет сквозное отверстие 150, выполненное с возможностью размещения вмещающего элемента в сборе 300 для никотина. Сквозное отверстие 150 рассмотрено в настоящем документе более подробно в сочетании, например, с фиг. 9.
Передняя крышка 104 также определяет вторичный проем, выполненный с возможностью размещения световодной компоновки. Вторичный проем может напоминать паз (например, продолговатый прямоугольник с закругленными краями), хотя возможны и другие формы в зависимости от формы световодной компоновки. В примерном варианте осуществления световодная компоновка содержит кожух 114 световода и кожух 122 кнопки. Кожух 114 световода выполнен с возможностью открытия линзы 116 световода, в то время как кожух 122 кнопки выполнен с возможностью открытия первой линзы 124 кнопки и второй линзы 126 кнопки (например, фиг. 16). Первая линза 124 кнопки и расположенная раньше по ходу потока часть кожуха 122 кнопки могут образовывать первую кнопку 118. Аналогично вторая линза 126 кнопки и расположенная дальше по ходу потока часть кожуха 122 кнопки могут образовывать вторую кнопку 120. Кожух 122 кнопки может иметь форму единой конструкции или двух отдельных конструкций. В случае последней формы первая кнопка 118 и вторая кнопка 120 могут перемещаться с более свободным ощущением при нажатии.
Работой устройства 500 для курения содержащей никотин э-сигареты можно управлять с помощью первой кнопки 118 и второй кнопки 120. Например, первая кнопка 118 может представлять собой кнопку питания, а вторая кнопка 120 может представлять собой кнопку регулировки интенсивности. Хотя на графических материалах показаны две кнопки в сочетании со световодной компоновкой, следует понимать, что может быть предоставлено больше (или меньше) кнопок в зависимости от доступных элементов и необходимого пользовательского интерфейса.
Каркас 106 (например, основной каркас) представляет собой центральную опорную конструкцию для основной части 100 устройства (и устройства 500 для курения содержащей никотин э-сигареты в целом). Каркас 106 может называться основой. Каркас 106 содержит ближний конец, дальний конец и пару боковых секций между ближним концом и дальним концом. Ближний конец и дальний конец также могут называться расположенным дальше по ходу потока концом и расположенным раньше по ходу потока концом соответственно. В контексте настоящего документа термин «ближний» (и, наоборот, «дальний») относится к взрослому вейперу во время курения электронной сигареты, а «расположенный дальше по ходу потока» (и, наоборот, «расположенный раньше по ходу потока») относится к потоку пара никотина. Между противоположными внутренними поверхностями боковых секций (например, приблизительно посередине вдоль длины каркаса 106) может быть обеспечена соединительная секция для дополнительной прочности и устойчивости. Каркас 106 может быть образован как единое целое, чтобы представлять собой монолитную конструкцию.
Что касается материала конструкции, каркас 106 может быть образован из сплава или пластмассы. Сплав (например, литой под давлением, поддающийся механической обработке) может представлять собой алюминиевый (Al) сплав или цинковый (Zn) сплав. Пластмасса может представлять собой поликарбонат (PC), акрилонитрилбутадиенстирол (ABS) или их комбинацию (PC/ABS). Например, поликарбонат может представлять собой LUPOY SC1004A. Помимо этого, каркас 106 может быть обеспечен отделкой поверхности по функциональным и/или эстетичным причинам (например, для обеспечения высококачественного внешнего вида). В примерном варианте осуществления каркас 106 (например, когда он образован из алюминиевого сплава) может быть анодирован. В другом варианте осуществления каркас 106 (например, когда он образован из цинкового сплава) может быть покрыт твердой эмалью или окрашен. В другом варианте осуществления каркас 106 (например, когда он образован из поликарбоната) может быть металлизирован. В еще одном варианте осуществления каркас 106 (например, когда он образован из акрилонитрилбутадиенстирола) может иметь электролитическое покрытие. Следует понимать, что материалы конструкции в отношении каркаса 106 также могут быть применимы к передней крышке 104, задней крышке 108 и/или другим соответствующим частям устройства 500 для курения содержащей никотин э-сигареты.
Задняя крышка 108 (например, вторая крышка) также определяет проем, выполненный с возможностью размещения наклонной конструкции 112. Проем может иметь закругленную прямоугольную форму, хотя возможны и другие формы в зависимости от формы наклонной конструкции 112. В примерном варианте осуществления проем в задней крышке 108 меньше первичного проема в передней крышке 104. Кроме того, хотя это не показано, следует понимать, что в задней части устройства 500 для курения содержащей никотин э-сигареты может быть обеспечена световодная компоновка (например, в том числе кнопки) в дополнение к световодной компоновке (или вместо нее) в передней части устройства 500 для курения содержащей никотин э-сигареты.
Передняя крышка 104 и задняя крышка 108 могут быть выполнены с возможностью зацепления с каркасом 106 посредством компоновки на защелках. Например, передняя крышка 104 и/или задняя крышка 108 могут содержать зажимы, выполненные с возможностью взаимного соединения с соответствующими сопрягаемыми элементами каркаса 106. В неограничивающем варианте осуществления зажимы могут иметь форму лапок с отверстиями, выполненными с возможностью размещения соответствующих сопрягаемых элементов (например, выступов со скошенными кромками) каркаса 106. Альтернативно передняя крышка 104 и/или задняя крышка 108 могут быть выполнены с возможностью зацепления с каркасом 106 посредством посадки с натягом (которую также можно назвать прессовой посадкой или фрикционной посадкой). Однако следует понимать, что переднюю крышку 104, каркас 106 и заднюю крышку 108 можно соединить с помощью других подходящих компоновок и методик.
Основная часть 100 устройства также содержит мундштук 102. Мундштук 102 может быть прикреплен к ближнему концу каркаса 106. Кроме того, как показано на фиг. 2, в примерном варианте осуществления, где каркас 106 зажат между передней крышкой 104 и задней крышкой 108, мундштук 102 может примыкать к передней крышке 104, каркасу 106 и задней крышке 108. Помимо этого, в неограничивающем варианте осуществления мундштук 102 может быть соединен с кожухом устройства с помощью байонетного соединения.
На фиг. 4 показан вид ближнего конца устройства для курения содержащей никотин э-сигареты по фиг. 1. Как показано на фиг. 4, выпускная поверхность мундштука 102 определяет множество выпускных отверстий для пара. В неограничивающем варианте осуществления выпускная поверхность мундштука 102 может иметь эллиптическую форму. Кроме того, выпускная поверхность мундштука 102 может содержать первую перемычку, соответствующую главной оси выпускной поверхности эллиптической формы, и вторую перемычку, соответствующую малой оси выпускной поверхности эллиптической формы. Помимо этого, первая перемычка и вторая перемычка могут пересекаться перпендикулярно и быть образованными как единое целое частями мундштука 102. Хотя выпускная поверхность показана как определяющая четыре выпускных отверстия для пара, следует понимать, что примерные варианты осуществления этим не ограничиваются. Например, выпускная поверхность может определять менее четырех (например, один, два) выпускных отверстий для пара или более четырех (например, шесть, восемь) выпускных отверстий для пара.
На фиг. 5 показан вид дальнего конца устройства для курения содержащей никотин э-сигареты по фиг. 1. Как показано на фиг. 5, дальний конец устройства 500 для курения содержащей никотин э-сигареты содержит порт 110. Порт 110 выполнен с возможностью приема электрического тока (например, через USB-кабель) от внешнего источника питания для зарядки внутреннего источника питания внутри устройства 500 для курения содержащей никотин э-сигареты. Кроме того, порт 110 также может быть выполнен с возможностью отправки данных (например, через USB-кабель) на другое устройство для курения содержащей никотин э-сигареты или другое электронное устройство (например, телефон, планшет, компьютер) и/или приема данных с них. Помимо этого, устройство 500 для курения содержащей никотин э-сигареты может быть выполнено с возможностью беспроводной связи с другим электронным устройством, таким как телефон, с помощью прикладной программы (приложения), установленной на этом электронном устройстве. В таком случае взрослый вейпер может управлять или иным образом взаимодействовать с устройством 500 для курения содержащей никотин э-сигареты (например, обнаруживать точное местонахождение устройства для курения содержащей никотин э-сигареты, проверять информацию об использовании, изменять рабочие параметры) через приложение.
На фиг. 6 показан вид в перспективе устройства для курения содержащей никотин э-сигареты по фиг. 1. На фиг. 7 показан увеличенный вид впускного отверстия вмещающего элемента, показанного на фиг. 6. Как показано на фиг. 6-7 и как кратко указано выше, устройство 500 для курения содержащей никотин э-сигареты содержит вмещающий элемент в сборе 300 для никотина, выполненный с возможностью удержания содержащего никотин готового состава для пара. Вмещающий элемент в сборе 300 для никотина имеет расположенный раньше по ходу потока конец (который обращен к световодной компоновке) и расположенный дальше по ходу потока конец (который обращен к мундштуку 102). В неограничивающем варианте осуществления расположенный раньше по ходу потока конец представляет собой противоположную поверхность вмещающего элемента в сборе 300 для никотина относительно расположенного дальше по ходу потока конца. Расположенный раньше по ходу потока конец вмещающего элемента в сборе 300 для никотина определяет впускное отверстие 322 вмещающего элемента. Основная часть 100 устройства определяет сквозное отверстие (например, сквозное отверстие 150, показанное на фиг. 9), выполненное с возможностью размещения вмещающего элемента в сборе 300 для никотина. В примерном варианте осуществления наклонная конструкция 112 основной части 100 устройства определяет сквозное отверстие и содержит расположенный раньше по ходу потока обод. Как показано, в частности, на фиг. 7, расположенный раньше по ходу потока обод наклонной конструкции 112 расположен под углом (например, с погружением внутрь) таким образом, что видно впускное отверстие 322 вмещающего элемента, когда вмещающий элемент в сборе 300 для никотина посажен внутри сквозного отверстия основной части 100 устройства.
Например, вместо того чтобы повторять контур передней крышки 104 (чтобы быть в целом заподлицо с передней поверхностью вмещающего элемента в сборе 300 для никотина и, следовательно, скрывать впускное отверстие 322 вмещающего элемента), расположенный раньше по ходу потока обод наклонной конструкции 112 имеет форму ковша, выполненного с возможностью направления окружающего воздуха во впускное отверстие 322 вмещающего элемента. Эта угловая/ковшеобразная конфигурация может помочь уменьшить или предотвратить блокировку впускного отверстия для воздуха (например, впускного отверстия 322 вмещающего элемента) устройства 500 для курения содержащей никотин э-сигареты. Глубина ковша может быть такой, чтобы было видно менее половины (например, менее четверти) расположенной раньше по ходу потока концевой поверхности вмещающего элемента в сборе 300 для никотина. Кроме того, в неограничивающем варианте осуществления впускное отверстие 322 вмещающего элемента имеет форму паза. Помимо этого, если основная часть 100 устройства рассматривается как простирающаяся в первом направлении, то паз может рассматриваться как простирающийся во втором направлении, при этом второе направление является перпендикулярным по отношению к первому направлению.
На фиг. 8 показан вид в разрезе устройства для курения содержащей никотин э-сигареты по фиг. 6. На фиг. 8 разрез выполнен вдоль продольной оси устройства 500 для курения содержащей никотин э-сигареты. Как показано, основная часть 100 устройства и вмещающий элемент в сборе 300 для никотина содержат механические элементы, электронные элементы и/или схему, связанные с работой устройства 500 для курения содержащей никотин э-сигареты, которые рассмотрены более подробно в настоящем документе и/или включены в настоящий документ посредством ссылки. Например, вмещающий элемент в сборе 300 для никотина может содержать механические элементы, выполненные с возможностью приведения в действие для высвобождения содержащего никотин готового состава для пара из находящегося внутри герметичного резервуара для никотина. Вмещающий элемент в сборе 300 для никотина также может иметь механические компоненты, выполненные с возможностью зацепления с основной частью 100 устройства для облегчения вставки и посадки вмещающего элемента в сборе 300 для никотина.
Кроме того, вмещающий элемент в сборе 300 для никотина может представлять собой «умный вмещающий элемент», который содержит электронные элементы и/или схему, выполненные с возможностью хранения, приема и/или передачи информации в основную часть 100 устройства или из нее. Такая информация может использоваться для аутентификации вмещающего элемента в сборе 300 для никотина для использования с основной частью 100 устройства (например, для предотвращения использования неодобренного/поддельного вмещающего элемента в сборе для никотина). Помимо этого, информация может использоваться для идентификации типа вмещающего элемента в сборе 300 для никотина, который затем соотносится с профилем курения электронной сигареты на основе идентифицированного типа. Профиль курения электронной сигареты может быть разработан для установки общих параметров для нагрева содержащего никотин готового состава для пара и может подвергаться настройке, улучшению или другой регулировке взрослым вейпером до и/или во время курения электронной сигареты.
Вмещающий элемент в сборе 300 для никотина может также обмениваться с основной частью 100 устройства другой информацией, которая может относиться к работе устройства 500 для курения содержащей никотин э-сигареты. Примеры соответствующей информации могут включать уровень содержащего никотин готового состава для пара внутри вмещающего элемента в сборе 300 для никотина и/или промежуток времени, прошедший с момента вставки вмещающего элемента в сборе 300 для никотина в основную часть 100 устройства и активирования. Например, если вмещающий элемент в сборе 300 для никотина был вставлен в основную часть 100 устройства и активирован намного раньше определенного периода времени (например, более 6 месяцев назад), устройство 500 для курения содержащей никотин э-сигареты может не обеспечивать курение электронной сигареты, и взрослому вейперу может быть предложено перейти на новый вмещающий элемент в сборе для никотина, даже если вмещающий элемент в сборе 300 для никотина все еще содержит достаточные уровни содержащего никотин готового состава для пара.
Основная часть 100 устройства может содержать механические элементы (например, дополнительные структуры), выполненные с возможностью зацепления, удержания и/или активации вмещающего элемента в сборе 300 для никотина. Кроме того, основная часть 100 устройства может содержать электронные элементы и/или схему, выполненные с возможностью приема электрического тока для зарядки внутреннего источника питания (например, батареи), который, в свою очередь, выполнен с возможностью подачи питания на вмещающий элемент в сборе 300 для никотина во время курения электронной сигареты. Помимо этого, основная часть 100 устройства может содержать электронные элементы и/или схему, выполненные с возможностью связи с вмещающим элементом в сборе 300 для никотина, другим устройством для курения содержащей никотин э-сигареты, другими электронными устройствами (например, телефоном, планшетом, компьютером) и/или взрослым вейпером. Передаваемая информация может включать определенные данные, касающиеся вмещающего элемента, текущую подробную информацию по курению электронной сигареты и/или предыдущие схемы/предысторию курения электронной сигареты. Взрослый вейпер может быть уведомлен о таких передачах данных с помощью обратной связи, которая является тактильной (например, вибрации), слышимой (например, гудки) и/или визуальной (например, цветные/мигающие световые сигналы). Зарядка и/или передача информации может осуществляться с помощью порта 110 (например, через USB-кабель).
На фиг. 9 показан вид в перспективе основной части устройства, представляющего собой устройство для курения содержащей никотин э-сигареты по фиг. 6. Как показано на фиг. 9, наклонная конструкция 112 основной части 100 устройства определяет сквозное отверстие 150. Сквозное отверстие 150 выполнено с возможностью размещения вмещающего элемента в сборе 300 для никотина. Для облегчения вставки и посадки вмещающего элемента в сборе 300 для никотина внутри сквозного отверстия 150 расположенный раньше по ходу потока обод наклонной конструкции 112 содержит первый расположенный раньше по ходу потока выступ 128а и второй расположенный раньше по ходу потока выступ 128b. Сквозное отверстие 150 может иметь прямоугольную форму с закругленными углами. В примерном варианте осуществления первый расположенный раньше по ходу потока выступ 128а и второй расположенный раньше по ходу потока выступ 128b образованы как единое целое с наклонной конструкцией 112 и находятся на двух закругленных углах расположенного раньше по ходу потока обода.
Расположенная дальше по ходу потока боковая стенка наклонной конструкции 112 может определять первый расположенный дальше по ходу потока проем, второй расположенный дальше по ходу потока проем и третий расположенный дальше по ходу потока проем. Удерживающая конструкция, содержащая первый расположенный дальше по ходу потока выступ 130а и второй расположенный дальше по ходу потока выступ 130b, входит в зацепление с наклонной конструкцией 112 таким образом, что первый расположенный дальше по ходу потока выступ 130а и второй расположенный дальше по ходу потока выступ 130b выступают через первый расположенный дальше по ходу потока проем и второй расположенный дальше по ходу потока проем соответственно наклонной конструкции 112 и в сквозное отверстие 150. Кроме того, дальний конец мундштука 102 простирается через третий расположенный дальше по ходу потока проем наклонной конструкции 112 и в сквозное отверстие 150 так, чтобы находиться между первым расположенным дальше по ходу потока выступом 130а и вторым расположенным дальше по ходу потока выступом 130b.
На фиг. 10 показан вид спереди основной части устройства по фиг. 9. Как показано на фиг. 10, основная часть 100 устройства содержит электрический соединитель 132 устройства, размещенный на расположенной раньше по ходу потока стороне сквозного отверстия 150. Электрический соединитель 132 устройства основной части 100 устройства выполнен с возможностью электрического соединения с вмещающим элементом в сборе 300 для никотина, который посажен внутри сквозного отверстия 150. В результате питание может подаваться с основной части 100 устройства на вмещающий элемент в сборе 300 для никотина с помощью электрического соединителя 132 устройства во время курения электронной сигареты. Кроме того, данные могут быть отправлены на основную часть 100 устройства и вмещающий элемент в сборе 300 для никотина и/или приняты от них с помощью электрического соединителя 132 устройства.
На фиг. 11 показан увеличенный вид в перспективе сквозного отверстия по фиг. 10. Как показано на фиг. 11, первый расположенный раньше по ходу потока выступ 128а, второй расположенный раньше по ходу потока выступ 128b, первый расположенный дальше по ходу потока выступ 130а, второй расположенный дальше по ходу потока выступ 130b и дальний конец мундштука 102 выступают в сквозное отверстие 150. В примерном варианте осуществления первый расположенный раньше по ходу потока выступ 128а и второй расположенный раньше по ходу потока выступ 128b являются стационарными конструкциями (например, стационарными шарнирами), в то время как первый расположенный дальше по ходу потока выступ 130а и второй расположенный дальше по ходу потока выступ 130b являются легкоперемещаемыми конструкциями (например, втягиваемыми элементами). Например, первый расположенный дальше по ходу потока выступ 130а и второй расположенный дальше по ходу потока выступ 130b могут быть выполнены (например, подпружинены) с возможностью установки по умолчанию в выдвинутое состояние, а также выполнены с возможностью временного перехода в отведенное состояние (и обратно в выдвинутое состояние) для облегчения вставки вмещающего элемента в сборе 300 для никотина.
В частности, при вставке вмещающего элемента в сборе 300 для никотина в сквозное отверстие 150 основной части 100 устройства углубления на расположенной раньше по ходу потока концевой поверхности вмещающего элемента в сборе 300 для никотина могут изначально входить в зацепление с первым расположенный раньше по ходу потока выступом 128а и вторым расположенным раньше по ходу потока выступом 128b, после чего следует поворот вмещающего элемента в сборе 300 для никотина (вокруг первого расположенного раньше по ходу потока выступа 128а и второго расположенного раньше по ходу потока выступа 128b) до тех пор, пока углубления на расположенной дальше по ходу потока концевой поверхности вмещающего элемента в сборе 300 для никотина не войдут в зацепление с первым расположенным дальше по ходу потока выступом 130а и вторым расположенным дальше по ходу потока выступом 130b. В таком случае ось вращения (во время поворота) вмещающего элемента в сборе 300 для никотина может быть ортогональна продольной оси основной части 100 устройства. Кроме того, первый расположенный дальше по ходу потока выступ 130а и второй расположенный дальше по ходу потока выступ 130b, которые могут быть смещены для обеспечения легкого перемещения, могут втягиваться, когда вмещающий элемент в сборе 300 для никотина поворачивается в сквозное отверстие 150, и упруго выдвигаться для зацепления с углублениями на расположенной дальше по ходу потока концевой поверхности вмещающего элемента в сборе 300 для никотина. Помимо этого, зацепление первого расположенного дальше по ходу потока выступа 130а и второго расположенного дальше по ходу потока выступа 130b с углублениями на расположенной дальше по ходу потока концевой поверхности вмещающего элемента в сборе 300 для никотина может вызвать тактильную и/или слышимую обратную связь (например, слышимый щелчок) для уведомления взрослого вейпера о том, что вмещающий элемент в сборе 300 для никотина правильно посажен в сквозном отверстии 150 основной части 100 устройства.
На фиг. 12 показан увеличенный вид в перспективе электрических контактов устройства, показанных на фиг. 10. Электрические контакты устройства основной части 100 устройства выполнены с возможностью зацепления с электрическими контактами вмещающего элемента в сборе 300 для никотина, когда вмещающий элемент в сборе 300 для никотина посажен внутри сквозного отверстия 150 основной части 100 устройства. Как показано на фиг. 12, электрические контакты устройства основной части 100 устройства содержат электрический соединитель 132 устройства. Электрический соединитель 132 устройства содержит контакты питания и контакты данных. Контакты питания электрического соединителя 132 устройства выполнены с возможностью подачи питания с основной части 100 устройства на вмещающий элемент в сборе 300 для никотина. Как проиллюстрировано, контакты питания электрического соединителя 132 устройства содержат первую пару контактов питания и вторую пару контактов питания (которые расположены так, чтобы быть ближе к передней крышке 104, чем к задней крышке 108). Первая пара контактов питания (например, пара, смежная с первым расположенным раньше по ходу потока выступом 128а) может представлять собой единую цельную конструкцию, которая отличается от второй пары контактов питания и которая в собранном виде содержит две выступающие части, которые простираются в сквозное отверстие 150. Аналогично вторая пара контактов питания (например, пара, смежная со вторым расположенным раньше по ходу потока выступом 128b) может представлять собой единую цельную конструкцию, которая отличается от первой пары контактов питания и которая в собранном виде содержит две выступающие части, которые простираются в сквозное отверстие 150. Первая пара контактов питания и вторая пара контактов питания электрического соединителя 132 устройства могут быть смонтированы с возможностью легкого перемещения и смещены так, чтобы входить в сквозное отверстие 150 по умолчанию и выводиться (например, независимо) из сквозного отверстия 150 при воздействии силы, которая превосходит смещение.
Контакты данных электрического соединителя 132 устройства выполнены с возможностью передачи данных между вмещающим элементом в сборе 300 для никотина и основной частью 100 устройства. Как проиллюстрировано, контакты данных электрического соединителя 132 устройства содержат ряд из пяти выступающих частей (которые расположены так, чтобы быть ближе к задней крышке 108, чем к передней крышке 104). Контакты данных электрического соединителя 132 устройства могут представлять собой отдельные конструкции, которые в собранном виде простираются в сквозное отверстие 150. Контакты данных электрического соединителя 132 устройства также могут быть смонтированы с возможностью легкого перемещения и смещены (например, пружинами) так, чтобы входить в сквозное отверстие 150 по умолчанию и втягиваться (например, независимо) из сквозного отверстия 150 при воздействии силы, которая превосходит смещение. Например, когда вмещающий элемент в сборе 300 для никотина вставлен в сквозное отверстие 150 основной части 100 устройства, электрические контакты вмещающего элемента у вмещающего элемента в сборе 300 для никотина будут прижиматься к соответствующим электрическим контактам устройства основной части 100 устройства. В результате контакты питания и контакты данных электрического соединителя 132 устройства будут втянуты (например, по меньшей мере частично втянуты) в основную часть 100 устройства, но продолжат давить на соответствующие электрические контакты вмещающего элемента благодаря их упругой компоновке, тем самым помогая обеспечить надлежащее электрическое соединение между основной частью 100 устройства и вмещающим элементом в сборе 300 для никотина. Помимо этого, такое соединение также может быть механически надежным и иметь минимальное сопротивление контакта, чтобы обеспечить возможность передачи питания и/или сигналов между основной частью 100 устройства и вмещающим элементом в сборе 300 для никотина и/или обмена ими надежным и точным способом. Хотя были рассмотрены различные аспекты в отношении электрических контактов устройства основной части 100 устройства, следует понимать, что примерные варианты осуществления не ограничиваются этим и что могут использоваться другие конфигурации.
На фиг. 13 показан частичный покомпонентный вид, включающий мундштук, показанный на фиг. 12. Как показано на фиг. 13, мундштук 102 выполнен с возможностью зацепления с кожухом устройства через удерживающую конструкцию 140. В примерном варианте осуществления удерживающая конструкция 140 расположена так, чтобы первично находиться между каркасом 106 и наклонной конструкцией 112. Как показано, удерживающая конструкция 140 размещена внутри кожуха устройства таким образом, что ближний конец удерживающей конструкции 140 простирается через ближний конец каркаса 106. Удерживающая конструкция 140 может немного выступать за ближний конец каркаса 106 или по существу быть на одном уровне с ним. Ближний конец удерживающей конструкции 140 выполнен с возможностью размещения дальнего конца мундштука 102. Ближний конец удерживающей конструкции 140 может представлять собой охватывающий конец, в то время как дальний конец мундштука может представлять собой охватываемый конец.
Например, мундштук 102 может быть соединен (например, разъемно соединен) с удерживающей конструкцией 140 с помощью байонетного соединения. В таком случае охватывающий конец удерживающей конструкции 140 может определять пару противоположных L-образных пазов, в то время как охватываемый конец мундштука 102 может иметь противоположные радиальные элементы 134 (например, радиальные штифты), выполненные с возможностью зацепления с L-образными пазами удерживающей конструкции 140. Каждый из L-образных пазов удерживающей конструкции 140 имеет продольную часть и окружную часть. Необязательно край окружной части может иметь часть с засечками, чтобы помочь уменьшить или предотвратить вероятность того, что радиальный элемент 134 мундштука 102 непреднамеренно выйдет из зацепления. В неограничивающем варианте осуществления продольные части L-образных пазов простираются параллельно и вдоль продольной оси основной части 100 устройства, в то время как окружные части L-образных пазов простираются вокруг продольной оси (например, центральной оси) основной части 100 устройства. В результате для соединения мундштука 102 с кожухом устройства, мундштук 102, показанный на фиг. 13, первоначально поворачивают на 90 градусов для выравнивания радиальных элементов 134 с входами в продольные части L-образных пазов удерживающей конструкции 140. Затем мундштук 102 вталкивают в удерживающую конструкцию 140 таким образом, что радиальные элементы 134 скользят вдоль продольных частей L-образных пазов до тех пор, пока не будет достигнуто соединение с каждой из окружных частей. В этом месте мундштук 102 затем поворачивают таким образом, что радиальные элементы 134 перемещаются по окружным частям до тех пор, пока не будет достигнут край каждой из них. В случае когда на каждом краю присутствует часть с засечками, может быть создана тактильная и/или слышимая обратная связь (например, слышимый щелчок), чтобы уведомить взрослого вейпера о том, что мундштук 102 был правильно присоединен к кожуху устройства.
Мундштук 102 определяет проход 136 для пара, через который протекает пар никотина во время курения электронной сигареты. Проход 136 для пара находится в сообщении по текучей среде со сквозным отверстием 150 (а именно там, где вмещающий элемент в сборе 300 для никотина посажен внутри основной части 100 устройства). Ближний конец прохода 136 для пара может содержать расширяющуюся к низу часть. Кроме того, мундштук 102 может содержать концевую крышку 138. Концевая крышка 138 может сужаться от своего дальнего конца к своему ближнему концу. Выпускная поверхность концевой крышки 138 определяет множество выпускных отверстий для пара. Хотя в концевой крышке 138 показаны четыре выпускных отверстия для пара, следует понимать, что примерные варианты осуществления не ограничиваются этим.
На фиг. 14 показан частичный покомпонентный вид, включающий наклонную конструкцию, показанную на фиг. 9. На фиг. 15 показан увеличенный вид в перспективе мундштука, пружин, удерживающей конструкции и наклонной конструкции, показанных на фиг. 14. Как показано на фиг. 14-15, наклонная конструкция 112 содержит расположенную раньше по ходу потока боковую стенку и расположенную дальше по ходу потока боковую стенку. Расположенная раньше по ходу потока боковая стенка наклонной конструкции 112 определяет проем 146 для соединителя. Проем 146 для соединителя выполнен таким образом, что в нем виден или размещен электрический соединитель 132 устройства основной части 100 устройства. Расположенная дальше по ходу потока боковая стенка наклонной конструкции 112 определяет первый расположенный дальше по ходу потока проем 148а, второй расположенный дальше по ходу потока проем 148b и третий расположенный дальше по ходу потока проем 148с. Первый расположенный дальше по ходу потока проем 148а и второй расположенный дальше по ходу потока проем 148b наклонной конструкции 112 выполнены с возможностью размещения первого расположенного дальше по ходу потока выступа 130а и второго расположенного дальше по ходу потока выступа 130b соответственно удерживающей конструкции 140. Третий расположенный дальше по ходу потока проем 148с наклонной конструкции 112 выполнен с возможностью размещения дальнего конца мундштука 102.
Как показано на фиг. 14, первый расположенный дальше по ходу потока выступ 130а и второй расположенный дальше по ходу потока выступ 130b находятся на вогнутой стороне удерживающей конструкции 140. Как показано на фиг. 15, первый стержень 142а и второй стержень 142b находятся на противоположной выпуклой стороне удерживающей конструкции 140. Первая пружина 144а и вторая пружина 144b размещены на первом стержне 142а и втором стержне 142b соответственно. Первая пружина 144а и вторая пружина 144b выполнены с возможностью смещения удерживающей конструкции 140 относительно наклонной конструкции 112.
В собранном виде наклонная конструкция 112 может быть прикреплена к каркасу 106 посредством пары лапок, смежной с проемом 146 для соединителя. Кроме того, удерживающая конструкция 140 будет примыкать к наклонной конструкции 112 таким образом, что первый расположенный дальше по ходу потока выступ 130а и второй расположенный дальше по ходу потока выступ 130b простираются через первый расположенный дальше по ходу потока проем 148а и второй расположенный дальше по ходу потока проем 148b соответственно. Мундштук 102 будет соединен с удерживающей конструкцией 140 таким образом, что дальний конец мундштука 102 будет простираться через удерживающую конструкцию 140, а также третий расположенный дальше по ходу потока проем 148 с наклонной конструкции 112. Первая пружина 144а и вторая пружина 144b будут находиться между каркасом 106 и удерживающей конструкцией 140.
Когда вмещающий элемент в сборе 300 для никотина будет вставлен в сквозное отверстие 150 основной части 100 устройства, расположенный дальше по ходу потока конец вмещающего элемента в сборе 300 для никотина будет проталкивать первый расположенный дальше по ходу потока выступ 130а и второй расположенный дальше по ходу потока выступ 130b удерживающей конструкции 140. В результате первый расположенный дальше по ходу потока выступ 130а и второй расположенный дальше по ходу потока выступ 130b удерживающей конструкции 140 будут упруго пружинить и втягиваться из сквозного отверстия 150 основной части 100 устройства (благодаря сжатию первой пружины 144а и второй пружины 144b), таким образом обеспечивая продолжение вставки вмещающего элемента в сборе 300 для никотина. В примерном варианте осуществления, когда первый расположенный дальше по ходу потока выступ 130а и второй расположенный дальше по ходу потока выступ 130b полностью втянуты из сквозного отверстия 150 основной части 100 устройства, смещение удерживающей конструкции 140 может привести к контактированию концов первого стержня 142а и второго стержня 142b с внутренней концевой поверхностью каркаса 106. Помимо этого, поскольку мундштук 102 соединен с удерживающей конструкцией 140, дальний конец мундштука 102 будет втягиваться из сквозного отверстия 150, тем самым также приводя к сдвигу ближнего конца мундштука 102 (например, видимой части, включающей концевую крышку 138) на соответствующее расстояние от кожуха устройства.
Как только вмещающий элемент в сборе 300 для никотина вставлен надлежащим образом так, что первое расположенное дальше по ходу потока углубление и второе расположенное дальше по ходу потока углубление вмещающего элемента в сборе 300 для никотина достигают положения, делающего возможным зацепление с первым расположенным дальше по ходу потока выступом 130а и вторым расположенным дальше по ходу потока выступом 130b соответственно, накопленная энергия сжатия первой пружины 144а и второй пружины 144b приводит к тому, что первый расположенный дальше по ходу потока выступ 130а и второй расположенный дальше по ходу потока выступ 130b упруго выдвигаются и входят в зацепление с первым расположенным дальше по ходу потока углублением и вторым расположенным дальше по ходу потока углублением соответственно вмещающего элемента в сборе 300 для никотина. Помимо этого, зацепление может вызвать тактильную и/или слышимую обратную связь (например, слышимый щелчок) для уведомления взрослого вейпера о том, что вмещающий элемент в сборе 300 для никотина правильно посажен внутри сквозного отверстия 150 основной части 100 устройства.
На фиг. 16 показан частичный покомпонентный вид, включающий переднюю крышку, каркас и заднюю крышку, показанные на фиг. 14. Как показано на фиг. 16, различные механические элементы, электронные элементы и/или схема, связанные с работой устройства 500 для курения содержащей никотин э-сигареты, могут быть прикреплены к каркасу 106. Передняя крышка 104 и задняя крышка 108 могут быть выполнены с возможностью зацепления с каркасом 106 посредством компоновки на защелках. В примерном варианте осуществления передняя крышка 104 и задняя крышка 108 содержат зажимы, выполненные с возможностью взаимного соединения с соответствующими сопрягаемыми элементами каркаса 106. Зажимы могут иметь форму лапок с отверстиями, выполненными с возможностью размещения соответствующих сопрягаемых элементов (например, выступов со скошенными кромками) каркаса 106. На фиг. 16 передняя крышка 104 имеет два ряда по четыре зажима в каждом (всего восемь зажимов для передней крышки 104). Аналогично задняя крышка 108 имеет два ряда по четыре зажима в каждом (всего восемь зажимов для задней крышки 108). Соответствующие сопрягаемые элементы каркаса 106 могут находиться на внутренних боковых стенках каркаса 106. В результате зацепленные зажимы и сопрягаемые элементы могут быть скрыты из вида при взаимном защелкивании передней крышки 104 и задней крышки 108. Альтернативно передняя крышка 104 и/или задняя крышка 108 могут быть выполнены с возможностью зацепления с каркасом 106 посредством посадки с натягом. Однако следует понимать, что переднюю крышку 104, каркас 106 и заднюю крышку 108 можно соединить с помощью других подходящих компоновок и методик.
На фиг. 17 показан вид в перспективе вмещающего элемента в сборе для никотина устройства для курения содержащей никотин э-сигареты, показанного на фиг. 6. На фиг. 18 показан другой вид в перспективе вмещающего элемента в сборе для никотина по фиг. 17. На фиг. 19 показан другой вид в перспективе вмещающего элемента в сборе для никотина по фиг. 18. Как показано на фиг. 17-19, вмещающий элемент в сборе 300 для никотина устройства 500 для курения содержащей никотин э-сигареты содержит основную часть вмещающего элемента, выполненную с возможностью удержания содержащего никотин готового состава для пара. Основная часть вмещающего элемента имеет расположенный раньше по ходу потока конец и расположенный дальше по ходу потока конец. В расположенном раньше по ходу потока конце основной части вмещающего элемента образована полость 310 (фиг. 20). В расположенном дальше по ходу потока конце основной части вмещающего элемента образовано выпускное отверстие 304 вмещающего элемента, которое находится в сообщении по текучей среде с полостью 310 на расположенном раньше по ходу потока конце. Соединительный модуль 320 выполнен с возможностью посадки внутри полости 310 основной части вмещающего элемента. Соединительный модуль 320 включает внешнюю поверхность и боковую поверхность. Внешняя поверхность соединительного модуля 320 образует внешнюю основную часть вмещающего элемента.
Внешняя поверхность соединительного модуля 320 образует впускное отверстие 322 вмещающего элемента. Впускное отверстие 322 вмещающего элемента (через которое поступает воздух во время курения электронной сигареты) находится в сообщении по текучей среде с выпускным отверстием 304 вмещающего элемента (через которое выходит пар никотина во время курения электронной сигареты). Впускное отверстие 322 вмещающего элемента показано на фиг. 19 в форме паза. Однако следует понимать, что примерные варианты осуществления не ограничиваются этим и что возможны другие формы. Когда соединительный модуль 320 посажен внутри полости 310 основной части вмещающего элемента, внешняя поверхность соединительного модуля 320 остается видимой, в то время как боковая поверхность соединительного модуля 320 становится в основном затемненной, чтобы быть видимой только частично через впускное отверстие 322 вмещающего элемента на основании заданного угла.
Внешняя поверхность соединительного модуля 320 содержит по меньшей мере один электрический контакт. По меньшей мере один электрический контакт может содержать несколько контактов питания. Например, несколько контактов питания могут включать в себя первый контакт 324а питания и второй контакт 324b питания. Первый контакт 324а питания вмещающего элемента в сборе 300 для никотина выполнен с возможностью электрического соединения с первой парой контактов питания (например, с парой, смежной с первым расположенным раньше по ходу потока выступом 128а на фиг. 12) электрического соединителя 132 устройства основной части 100 устройства. Аналогично второй контакт 324b питания вмещающего элемента в сборе 300 для никотина выполнен с возможностью электрического соединения со второй парой контактов питания (например, с парой, смежной со вторым расположенным раньше по ходу потока выступом 128b на фиг. 12) электрического соединителя 132 устройства основной части 100 устройства. Кроме того, по меньшей мере один электрический контакт вмещающего элемента в сборе 300 для никотина содержит несколько контактов 326 данных. Несколько контактов 326 данных вмещающего элемента в сборе 300 для никотина выполнены с возможностью электрического соединения с контактами данных электрического соединителя 132 устройства (например, ряд из пяти выступающих частей на фиг. 12). Хотя два контакта питания и пять контактов данных показаны в сочетании с вмещающим элементом в сборе 300 для никотина, следует понимать, что возможны и другие варианты в зависимости от конструкции основной части 100 устройства.
В примерном варианте осуществления вмещающий элемент в сборе 300 для никотина содержит переднюю поверхность, заднюю поверхность, противоположную передней поверхности, первую боковую поверхность между передней поверхностью и задней поверхностью, вторую боковую поверхность, противоположную первой боковой поверхности, расположенную раньше по ходу потока концевую поверхность и расположенную дальше по ходу потока концевую поверхность, противоположную расположенной раньше по ходу потока концевой поверхности. Углы боковой и концевой поверхностей (например, угол первой боковой поверхности и расположенной раньше по ходу потока концевой поверхности, угол расположенной раньше по ходу потока концевой поверхности и второй боковой поверхности, угол второй боковой поверхности и расположенной дальше по ходу потока концевой поверхности, угол расположенной дальше по ходу потока концевой поверхности и первой боковой поверхности) могут быть закруглены. Однако в некоторых случаях углы могут быть заостренными. Кроме того, периферийная кромка передней поверхности может иметь форму уступа. Внешняя поверхность соединительного модуля 320 может быть рассмотрена как часть расположенной раньше по ходу потока концевой поверхности вмещающего элемента в сборе 300 для никотина. Передняя поверхность вмещающего элемента в сборе 300 для никотина может быть шире и длиннее задней поверхности. В таком случае первая боковая поверхность и вторая боковая поверхность могут быть наклонены под углом внутрь друг к другу. Расположенная раньше по ходу потока концевая поверхность и расположенная дальше по ходу потока концевая поверхность могут также быть наклонены под углом внутрь друг к другу. Благодаря наклоненным под углом поверхностям, вставка вмещающего элемента в сборе 300 для никотина будет осуществляться в одном направлении (например, с передней стороны (стороны, связанной с передней крышкой 104) основной части 100 устройства). В результате можно уменьшить или предотвратить возможность неправильной вставки вмещающего элемента в сборе 300 для никотина в основную часть 100 устройства.
Как проиллюстрировано, основная часть вмещающего элемента для вмещающего элемента в сборе 300 для никотина содержит первую секцию 302 кожуха и вторую секцию 308 кожуха. Первая секция 302 кожуха имеет расположенный дальше по ходу потока конец, определяющий выпускное отверстие 304 вмещающего элемента. Обод выпускного отверстия 304 вмещающего элемента может необязательно представлять собой утопленную или вдавленную область. В таком случае эта область может напоминать свод, при этом сторона обода, смежная с задней поверхностью вмещающего элемента в сборе 300 для никотина, может быть открыта, в то время как сторона обода, смежная с передней поверхностью, может быть окружена приподнятой частью расположенного дальше по ходу потока конца первой секции 302 кожуха. Приподнятая часть может функционировать как стопор для дальнего конца мундштука 102. В результате такая конфигурация выпускного отверстия 304 вмещающего элемента может облегчить размещение и выравнивание дальнего конца мундштука 102 (например, фиг. 11) через открытую сторону обода и его последующую посадку на приподнятую часть расположенного дальше по ходу потока конца первой секции 302 кожуха. В неограничивающем варианте осуществления дальний конец мундштука 102 может также содержать упругий материал (или быть образован из него), который помогает создать уплотнение вокруг выпускного отверстия 304 вмещающего элемента, когда вмещающий элемент в сборе 300 для никотина вставлен надлежащим образом внутри сквозного отверстия 150 основной части 100 устройства.
Расположенный дальше по ходу потока конец первой секции 302 кожуха дополнительно определяет по меньшей мере одно расположенное дальше по ходу потока углубление. В примерном варианте осуществления по меньшей мере одно расположенное дальше по ходу потока углубление имеет форму первого расположенного дальше по ходу потока углубления 306а и второго расположенного дальше по ходу потока углубления 306b. Выпускное отверстие 304 вмещающего элемента может находиться между первым расположенным дальше по ходу потока углублением 306а и вторым расположенным дальше по ходу потока углублением 306b. Первое расположенное дальше по ходу потока углубление 306а и второе расположенное дальше по ходу потока углубление 306b выполнены с возможностью зацепления с первым расположенным дальше по ходу потока выступом 130а и вторым расположенным дальше по ходу потока выступом 130b соответственно основной части 100 устройства. Как показано на фиг. 11, первый расположенный дальше по ходу потока выступ 130а и второй расположенный дальше по ходу потока выступ 130b основной части 100 устройства могут быть размещены на смежных углах расположенной дальше по ходу потока боковой стенки сквозного отверстия 150. Каждое из первого расположенного дальше по ходу потока углубления 306а и второго расположенного дальше по ходу потока углубления 306b может иметь форму V-образной выемки. В таком случае каждый из первого расположенного дальше по ходу потока выступа 130а и второго расположенного дальше по ходу потока выступа 130b основной части 100 устройства может иметь форму клиновидной конструкции, выполненной с возможностью зацепления с соответствующей V-образной выемкой первого расположенного дальше по ходу потока углубления 306а и второго расположенного дальше по ходу потока углубления 306b. Первое расположенное дальше по ходу потока углубление 306а может примыкать к углу расположенной дальше по ходу потока концевой поверхности и первой боковой поверхности, в то время как второе расположенное дальше по ходу потока углубление 306b может примыкать к углу расположенной дальше по ходу потока концевой поверхности и второй боковой поверхности. В результате кромки первого расположенного дальше по ходу потока углубления 306а и второго расположенного дальше по ходу потока углубления 306b, смежных с первой боковой поверхностью и второй боковой поверхностью соответственно, могут быть открыты. В таком случае, как показано на фиг. 18, каждое из первого расположенного дальше по ходу потока углубления 306а и второго расположенного дальше по ходу потока углубления 306b может быть 3-сторонним углублением.
Вторая секция 308 кожуха имеет расположенный раньше по ходу потока конец, образующий полость 310 (фиг. 20). Полость 310 выполнена с возможностью размещения соединительного модуля 320 (фиг. 21). Кроме того, в расположенном раньше по ходу потока конце второй секции 308 кожуха образовано по меньшей мере одно расположенное раньше по ходу потока углубление. В примерном варианте осуществления по меньшей мере одно расположенное раньше по ходу потока углубление имеет форму первого расположенного раньше по ходу потока углубления 312а и второго расположенного раньше по ходу потока углубления 312b. Впускное отверстие 322 вмещающего элемента может находиться между первым расположенным раньше по ходу потока углублением 312а и вторым расположенным раньше по ходу потока углублением 312b. Первое расположенное раньше по ходу потока углубление 312а и второе расположенное раньше по ходу потока углубление 312b выполнены с возможностью зацепления с первым расположенным раньше по ходу потока выступом 128а и вторым расположенным раньше по ходу потока выступом 128b соответственно основной части 100 устройства. Как показано на фиг. 12, первый расположенный раньше по ходу потока выступ 128а и второй расположенный раньше по ходу потока выступ 128b основной части 100 устройства могут быть размещены на смежных углах расположенной раньше по ходу потока боковой стенки сквозного отверстия 150. Глубина каждого из первого расположенного раньше по ходу потока углубления 312а и второго расположенного раньше по ходу потока углубления 312b может быть больше, чем глубина каждого из первого расположенного дальше по ходу потока углубления 306а и второго расположенного дальше по ходу потока углубления 306b. Край каждого из первого расположенного раньше по ходу потока углубления 312а и второго расположенного раньше по ходу потока углубления 312b может также быть более закругленным, чем край каждого из первого расположенного дальше по ходу потока углубления 306а и второго расположенного дальше по ходу потока углубления 306b. Например, первое расположенное раньше по ходу потока углубление 312а и второе расположенное раньше по ходу потока углубление 312b могут также иметь форму U-образного выреза. В таком случае каждый из первого расположенного раньше по ходу потока выступа 128а и второго расположенного раньше по ходу потока выступа 128b основной части 100 устройства может иметь форму округлой выпуклости, выполненной с возможностью зацепления с соответствующим U-образным вырезом первого расположенного раньше по ходу потока углубления 312а и второго расположенного раньше по ходу потока углубления 312b. Первое расположенное раньше по ходу потока углубление 312а может примыкать к углу расположенной раньше по ходу потока концевой поверхности и первой боковой поверхности, в то время как второе расположенное раньше по ходу потока углубление 312b может примыкать к углу расположенной раньше по ходу потока концевой поверхности и второй боковой поверхности. В результате кромки первого расположенного раньше по ходу потока углубления 312а и второго расположенного раньше по ходу потока углубления 312b, смежных с первой боковой поверхностью и второй боковой поверхностью соответственно, могут быть открыты.
Первая секция 302 кожуха может образовывать внутри резервуар для никотина, выполненный с возможностью удержания содержащего никотин готового состава для пара. Резервуар для никотина может быть выполнен с возможностью герметичного запечатывания содержащего никотин готового состава для пара до активации вмещающего элемента в сборе 300 для никотина для высвобождения содержащего никотин готового состава для пара из резервуара для никотина. В результате герметичного запечатывания содержащий никотин готовый состав для пара может быть изолирован от окружающей среды, а также внутренних элементов вмещающего элемента в сборе 300 для никотина, которые могут потенциально вступать в реакцию с содержащим никотин готовым составом для пара, что тем самым снижает или предотвращает возможность отрицательных воздействий на срок годности и/или органолептические характеристики (например, вкус) содержащего никотин готового состава для пара. Вторая секция 308 кожуха может содержать конструкции, выполненные с возможностью активации вмещающего элемента в сборе 300 для никотина и с возможностью размещения и нагрева содержащего никотин готового состава для пара, высвобождаемого из резервуара для никотина после активации.
Вмещающий элемент в сборе 300 для никотина может быть активирован вручную взрослым вейпером до вставки вмещающего элемента в сборе 300 для никотина в основную часть 100 устройства. Альтернативно вмещающий элемент в сборе 300 для никотина может быть активирован как часть вставки вмещающего элемента в сборе 300 для никотина в основную часть 100 устройства. В примерном варианте осуществления вторая секция 308 кожуха основной части вмещающего элемента содержит перфоратор, выполненный с возможностью высвобождения содержащего никотин готового состава для пара из резервуара для никотина во время активации вмещающего элемента в сборе 300 для никотина. Перфоратор может иметь форму первого пробойника 314а активации и второго пробойника 314b активации, которые будут рассмотрены более подробно в настоящем документе.
Для активации вмещающего элемента в сборе 300 для никотина вручную взрослый вейпер может прижать внутрь первый пробойник 314а активации и второй пробойник 314b активации (например, одновременно или последовательно) перед тем, как вставить вмещающий элемент в сборе 300 для никотина в сквозное отверстие 150 основной части 100 устройства. Например, первый пробойник 314а активации и второй пробойник 314b активации могут нажиматься вручную до тех пор, пока их концы не будут практически выровнены с расположенной раньше по ходу потока концевой поверхностью вмещающего элемента в сборе 300 для никотина. В примерном варианте осуществления движение первого пробойника 314а активации и второго пробойника 314b активации внутрь вызывает прокол или другое нарушение герметичности резервуара для никотина, чтобы высвободить из него содержащий никотин готовый состав для пара.
Альтернативно для активации вмещающего элемента в сборе 300 для никотина как части вставки вмещающего элемента в сборе 300 для никотина в основную часть 100 устройства вмещающий элемент в сборе 300 для никотина первоначально расположен таким образом, что первое расположенное раньше по ходу потока углубление 312а и второе расположенное раньше по ходу потока углубление 312b зацеплены с первым расположенным раньше по ходу потока выступом 128а и вторым расположенным раньше по ходу потока выступом 128b соответственно (например, расположенное раньше по ходу потока зацепление). Поскольку каждый из первого расположенного раньше по ходу потока выступа 128а и второго расположенного раньше по ходу потока выступа 128b основной части 100 устройства может иметь форму округлой выпуклости, выполненной с возможностью зацепления с соответствующим U-образным вырезом первого расположенного раньше по ходу потока углубления 312а и второго расположенного раньше по ходу потока углубления 312b, вмещающий элемент в сборе 300 для никотина может быть впоследствии относительно легко повернут вокруг первого расположенного раньше по ходу потока выступа 128а и второго расположенного раньше по ходу потока выступа 128b и в сквозное отверстие 150 основной части 100 устройства.
Что касается поворота вмещающего элемента в сборе 300 для никотина, ось вращения можно рассматривать как простирающуюся через первый расположенный раньше по ходу потока выступ 128а и второй расположенный раньше по ходу потока выступ 128b и ориентированную ортогонально к продольной оси основной части 100 устройства. Во время установки начального положения и последующего поворота вмещающего элемента в сборе 300 для никотина первый пробойник 314а активации и второй пробойник 314b активации будут вступать в контакт с расположенной раньше по ходу потока боковой стенкой сквозного отверстия 150 и переходить из выдвинутого состояния во втянутое состояние по мере того, как первый пробойник 314а активации и второй пробойник 314b активации вталкиваются (например, одновременно) во вторую секцию 308 кожуха по мере того, как вмещающий элемент в сборе 300 для никотина продвигается в сквозное отверстие 150. Когда расположенный дальше по ходу потока конец вмещающего элемента в сборе 300 для никотина достигает области расположенной дальше по ходу потока боковой стенки сквозного отверстия 150 и входит в контакт с первым расположенным дальше по ходу потока выступом 130а и вторым расположенным дальше по ходу потока выступом 130b, первый расположенный дальше по ходу потока выступ 130а и второй расположенный дальше по ходу потока выступ 130b будут втягиваться, а затем упруго выдвигаться (например, отпружинивать), когда положение вмещающего элемента в сборе 300 для никотина позволяет первому расположенному дальше по ходу потока выступу 130а и второму расположенному дальше по ходу потока выступу 130b основной части 100 устройства входить в зацепление с первым расположенным дальше по ходу потока углублением 306а и вторым расположенным дальше по ходу потока углублением 306b, соответственно, вмещающего элемента в сборе 300 для никотина (например, расположенное дальше по ходу потока зацепление).
Как отмечено выше, согласно примерному варианту осуществления мундштук 102 прикреплен к удерживающей конструкции 140 (частью которой являются первый расположенный дальше по ходу потока выступ 130а и второй расположенный дальше по ходу потока выступ 130b). В таком случае втягивание первого расположенного дальше по ходу потока выступа 130а и второго расположенного дальше по ходу потока выступа 130b из сквозного отверстия 150 вызовет одновременный сдвиг мундштука 102 на соответствующее расстояние в том же направлении (например, в направлении дальше по ходу потока). С другой стороны, мундштук 102 будет отпружинивать одновременно с первым расположенным дальше по ходу потока выступом 130а и вторым расположенным дальше по ходу потока выступом 130b, когда вмещающий элемент в сборе 300 для никотина будет достаточно вставлен для облегчения расположенного дальше по ходу потока зацепления. В дополнение к упругому зацеплению первым расположенным дальше по ходу потока выступом 130а и вторым расположенным дальше по ходу потока выступом 130b, дальний конец мундштука 102 приспособлен также для смещения по отношению к вмещающему элементу в сборе 300 для никотина (и выровнен с выпускным отверстием 304 вмещающего элемента для образования относительно паронепроницаемого уплотнения для никотина), когда вмещающий элемент в сборе 300 для никотина надлежащим образом посажен внутри сквозного отверстия 150 основной части 100 устройства.
Помимо этого, расположенное дальше по ходу потока зацепление может создавать слышимый щелчок и/или тактильную обратную связь, чтобы указать на то, что вмещающий элемент в сборе 300 для никотина правильно посажен внутри сквозного отверстия 150 основной части 100 устройства. При правильной посадке вмещающий элемент в сборе 300 для никотина будет соединен механически, электрически и по текучей среде с основной частью 100 устройства. Несмотря на то что в неограничивающих вариантах осуществления в настоящем документе описано расположенное раньше по ходу потока зацепление вмещающего элемента в сборе 300 для никотина, имеющее место перед расположенным дальше по ходу потока зацеплением, следует понимать, что подходящие сопряжение, активация и/или электрические компоновки могут быть обратными, так что расположенное дальше по ходу потока зацепление имеет место перед расположенным раньше по ходу потока зацеплением.
На фиг. 20 показан вид в перспективе вмещающего элемента в сборе для никотина по фиг. 19 без соединительного модуля. Как показано на фиг. 20, расположенный раньше по ходу потока конец второй секции 308 кожуха образует полость 310. Как указано выше, полость 310 выполнена с возможностью размещения соединительного модуля 320 (например, посредством посадки с натягом). В примерном варианте осуществления полость 310 расположена между первым расположенным раньше по ходу потока углублением 312а и вторым расположенным раньше по ходу потока углублением 312b, а также расположен между первым пробойником 314а активации и вторым пробойником 314b активации. При отсутствии соединительного модуля 320, вставка 342 (фиг. 24) и абсорбирующий материал 346 (фиг. 25) видны через углубленный проем в полости 310. Вставка 342 выполнена с возможностью удерживания абсорбирующего материала 346. Абсорбирующий материал 346 выполнен с возможностью поглощения и удержания некоторого количества содержащего никотин готового состава для пара, высвобождаемого из резервуара для никотина, когда вмещающий элемент в сборе 300 для никотина активирован. Вставка 342 и абсорбирующий материал 346 будут рассмотрены более подробно в настоящем документе.
На фиг. 21 показан вид в перспективе соединительного модуля на фиг. 19. На фиг. 22 показан другой вид в перспективе соединительного модуля по фиг. 21. Как показано на фиг. 21-22, общая рама соединительного модуля 320 содержит кожух 354 модуля и лицевую пластину 366. Кроме того, соединительный модуль 320 имеет множество поверхностей, включая внешнюю поверхность и боковую поверхность, при этом внешняя поверхность является смежной с боковой поверхностью. В примерном варианте осуществления внешняя поверхность соединительного модуля 320 состоит из расположенных раньше по ходу потока поверхностей лицевой пластины 366, первого контакта 324а питания, второго контакта 324b питания и контактов 326 данных. Боковая поверхность соединительного модуля 320 может быть частью кожуха 354 модуля. Боковая поверхность соединительного модуля 320 образует первое впускное отверстие 330 модуля и второе впускное отверстие 332 модуля. Помимо этого, две латеральные поверхности, смежные с боковыми поверхностями (которые также являются частью кожуха 354 модуля), могут содержать ребристые конструкции (например, сдавленные ребра), выполненные с возможностью облегчения посадки с натягом, когда соединительный модуль 320 посажен внутри полости 310 основной части вмещающего элемента. Например, каждая из двух латеральных поверхностей может содержать пару ребристых конструкций, которые сужаются от лицевой пластины 366. В результате, кожух 354 модуля будет сталкиваться с возрастающим сопротивлением за счет трения ребристых конструкций о латеральные стенки полости 310 по мере вдавливания соединительного модуля 320 в полость 310 основной части вмещающего элемента. Когда соединительный модуль 320 посажен внутри полости 310, лицевая пластина 366 может быть по существу вровень с расположенным раньше по ходу потока концом второй секции 308 кожуха. Также боковая поверхность (которая образует первое впускное отверстие 330 модуля и второе впускное отверстие 332 модуля) соединительного модуля 320 будет обращена к боковой стенке полости 310.
Лицевая пластина 366 соединительного модуля 320 может иметь кромку 328 с канавками, которая в комбинации с соответствующей боковой поверхностью полости 310 образует впускное отверстие 322 вмещающего элемента. Однако следует понимать, что примерные варианты осуществления этим не ограничены. Например, лицевая пластина 366 соединительного модуля 320 может быть альтернативно выполнена таким образом, чтобы полностью образовывать впускное отверстие 322 вмещающего элемента. Боковая поверхность (которая образует первое впускное отверстие 330 модуля и второе впускное отверстие 332 модуля) соединительного модуля 320 и боковая стенка полости 310 (которая обращена к боковой поверхности) образуют промежуточное пространство между ними. Промежуточное пространство расположено дальше по ходу потока от впускного отверстия 322 вмещающего элемента и раньше по ходу потока от первого впускного отверстия 330 модуля и второго впускного отверстия 332 модуля. Следовательно, в примерном варианте осуществления впускное отверстие 322 вмещающего элемента находится в сообщении по текучей среде как с первым впускным отверстием 330 модуля, так и с вторым впускным отверстием 332 модуля через промежуточное пространство. Первое впускное отверстие 330 модуля может быть больше, чем второе впускное отверстие 332 модуля. В таком случае, когда поступающий воздух поступает во впускное отверстие 322 вмещающего элемента во время курения электронной сигареты, первое впускное отверстие 330 модуля может принимать первичный поток (например, больший поток) поступающего воздуха, в то время как второе впускное отверстие 332 модуля может принимать вторичный поток (например, меньший поток) поступающего воздуха.
Как показано на фиг. 22, соединительный модуль 320 содержит фитиль 338, который выполнен с возможностью передачи содержащего никотин готового состава для пара на нагреватель 336. Нагреватель 336 выполнен с возможностью нагрева содержащего никотин готового состава для пара во время курения электронной сигареты для генерирования пара никотина. Нагреватель 336 может быть установлен в соединительном модуле 320 с помощью контактного сердечника 334. Нагреватель 336 электрически соединен с по меньшей мере одним электрическим контактом соединительного модуля 320. Например, один конец (например, первый конец) нагревателя 336 может быть соединен с первым контактом 324а питания, в то время как другой конец (например, второй конец) нагревателя 336 может быть соединен со вторым контактом 324b питания. В примерном варианте осуществления нагреватель 336 содержит сложенный нагревательный элемент. В таком случае фитиль 338 может иметь плоскую форму, приспособленную для удерживания сложенным нагревательным элементом. Когда соединительный модуль 320 посажен внутри полости 310 основной части вмещающего элемента, фитиль 338 приспособлен так, чтобы находиться в сообщении по текучей среде с абсорбирующим материалом 346 так, что содержащий никотин готовый состав для пара, находящийся в абсорбирующем материале 346 (когда вмещающий элемент в сборе 300 для никотина активирован), будет передаваться на фитиль 338 посредством капиллярного действия.
На фиг. 23 показан покомпонентный вид, включающий фитиль, нагреватель, электрические провода и контактный сердечник на фиг. 22. Как показано на фиг. 23, фитиль 338 может представлять собой волокнистую прокладку или другую конструкцию с порами/пустотами, предусмотренными для капиллярного действия. Кроме того, фитиль 338 может иметь форму неправильного шестиугольника, хотя примерные варианты осуществления этим не ограничены. Фитилю 338 можно придать шестиугольную форму, или его можно вырезать такой формы из большего листа материала. Поскольку нижняя секция фитиля 338 сужается к секции обмотки нагревателя 336, вероятность того, что содержащий никотин готовый состав для пара, находящийся в части фитиля 338, которая постоянно избегает испарения (из-за ее расстояния от нагревателя 336), можно уменьшить или устранить.
В примерном варианте осуществления нагреватель 336 выполнен с возможностью подвергания джоулеву нагреву (который также известен как омический/резистивный нагрев) при подаче на него электрического тока. Говоря более подробно, нагреватель 336 может быть образован из одного или более проводников и выполнен с возможностью создания тепла при прохождении через него электрического тока. Электрический ток может подаваться от источника питания (например, батареи) внутри основной части 100 устройства и переноситься на нагреватель 336 через первый контакт 324а питания и первый электрический провод 340а (или через второй контакт 324b питания и второй электрический провод 340b).
Подходящие проводники для нагревателя 336 содержат сплав на основе железа (например, нержавеющую сталь) и/или сплав на основе никеля (например, нихром). Нагреватель 336 может быть изготовлен из проводящего листа (например, из металла, сплава), который штампуется для вырезания из него узора обмотки. Узор обмотки может иметь изогнутые сегменты, поочередно скомпонованные с горизонтальными сегментами, чтобы позволить горизонтальным сегментам двигаться зигзагом назад и вперед, в то же время простираясь параллельно. Кроме того, ширина каждого из горизонтальных сегментов узора обмотки может быть по существу равна расстоянию между смежными горизонтальными сегментами узора обмотки, хотя примерные варианты осуществления не ограничиваются этим. Для получения формы нагревателя 336, показанной на графических материалах, узор обмотки может быть сложен таким образом, чтобы захватывать фитиль 338.
Нагреватель 336 может быть прикреплен к контактному сердечнику 334 с помощью первого электрического провода 340а и второго электрического провода 340b. Контактный сердечник 334 образован из изоляционного материала и выполнен с возможностью электрической изоляции первого электрического провода 340а от второго электрического провода 340b. В примерном варианте осуществления каждый первый электрический провод 340а и каждый второй электрический провод 340b образуют охватывающее отверстие, которое выполнено с возможностью зацепления с соответствующими охватываемыми элементами контактного сердечника 334. Как только произошло зацепление, первый конец и второй конец нагревателя 336 могут быть прикреплены (например, приварены, припаяны, спаяны) к первому электрическому проводу 340а и ко второму электрическому проводу 340b, соответственно. Затем контактный сердечник 334 может быть размещен в соответствующем гнезде в кожухе 354 модуля (например, посредством посадки с натягом). По завершении сборки соединительного модуля 320, первый электрический провод 340а электрически соединит первый конец нагревателя 336 с первым контактом 324а питания, в то время как второй электрический провод 340b электрически соединит второй конец нагревателя 336 со вторым контактом 324b питания. Нагреватель и связанные с ним конструкции более подробно рассмотрены в заявке на патент США №15/729909 под названием «Folded Heater For Electronic Vaping Devices (номер патентного реестра 24000-000371-US), поданной 11 октября 2017 г., полное содержание которой включено в настоящий документ посредством ссылки.
На фиг. 24 показан покомпонентный вид, включающий первую секцию кожуха вмещающего элемента в сборе для никотина по фиг. 17. Как показано на фиг. 24, первая секция 302 кожуха содержит канал 316 для пара. Канал 316 для пара выполнен с возможностью приема пара, генерируемого нагревателем 336, и находится в сообщении по текучей среде с выпускным отверстием 304 вмещающего элемента. В примерном варианте осуществления канал 316 для пара может постепенно увеличиваться в размере (например, диаметре) по мере того, как он простирается в направлении выпускного отверстия 304 вмещающего элемента. Кроме того, канал 316 для пара может быть образован как единое целое с первой секцией 302 кожуха. Обертка 318, вставка 342 и уплотнение 344 размещены на расположенном раньше по ходу потока конце первой секции 302 кожуха для определения резервуара для никотина вмещающего элемента в сборе 300 для никотина. Например, обертка 318 может быть расположена на ободе первой секции 302 кожуха. Вставка 342 может быть посажена внутри первой секции 302 кожуха таким образом, чтобы периферийная поверхность вставки 342 находилась в зацеплении с внутренней поверхностью первой секции 302 кожуха вдоль обода (например, посредством посадки с натягом), так что стык периферийной поверхности вставки 342 и внутренней поверхности первой секции 302 кожуха является непроницаемым для текучей среды (например, непроницаемым для жидкости и/или непроницаемым для воздуха). Помимо этого, уплотнение 344 прикреплено к расположенной раньше по ходу потока стороне вставки 342 для закрытия выпускных отверстий резервуара во вставке 342 для обеспечения непроницаемой для текучей среды (например, непроницаемой для жидкости и/или непроницаемой для воздуха) защитной оболочки содержащего никотин готового состава для пара в резервуаре для никотина.
В примерном варианте осуществления вставка 342 содержит часть в виде держателя, которая выступает из расположенной раньше по ходу потока стороны (как показано на фиг. 24), и часть в виде соединителя, которая выступает из расположенной дальше по ходу потока стороны (не показана на фиг. 24). Часть в виде держателя вставки 342 выполнена с возможностью удержания абсорбирующего материала 346, в то время как часть в виде соединителя вставки 342 выполнена с возможностью зацепления с каналом 316 для пара первой секции 302 кожуха. Часть в виде соединителя вставки 342 может быть выполнена с возможностью посадки внутри канала 316 для пара и, следовательно, зацепления с внутренней частью канала 316 для пара. Альтернативно часть в виде соединителя вставки 342 может быть выполнена с возможностью размещения канала 316 для пара и, следовательно, зацепления с внешней частью канала 316 для пара. Вставка 342 также определяет выпускные отверстия резервуара, через которые вытекает содержащий никотин готовый состав для пара, когда уплотнение 344 прокалывается (как показано на фиг. 24) во время активации вмещающего элемента в сборе 300 для никотина. Часть в виде держателя и часть в виде соединителя вставки 342 могут быть расположены между выпускными отверстиями резервуара (например, первым и вторым выпускными отверстиями резервуара), хотя примерные варианты осуществления не ограничиваются этим. Помимо этого, вставка 342 определяет паропровод, простирающийся через часть в виде держателя и часть в виде соединителя. В результате, когда вставка 342 посажена внутри первой секции 302 кожуха, паропровод вставки 342 будет выровнен и будет находиться в сообщении по текучей среде с каналом 316 для пара, образуя непрерывный путь через резервуар для никотина к выпускному отверстию 304 вмещающего элемента для пара никотина, генерируемого нагревателем 336 во время курения электронной сигареты.
Уплотнение 344 прикреплено к расположенной раньше по ходу потока стороне вставки 342, чтобы закрыть выпускные отверстия резервуара во вставке 342. В примерном варианте осуществления уплотнение 344 определяет проем (например, центральный проем), выполненный с возможностью обеспечения подходящего зазора для размещения части в виде держателя (выступающей из расположенной раньше по ходу потока стороны вставки 342), когда уплотнение 344 прикреплено к вставке 342. На фиг. 24 следует понимать, что уплотнение 344 показано в проколотом состоянии. В частности, при прокалывании первым пробойником 314а активации и вторым пробойником 314b активации вмещающего элемента в сборе 300 для никотина две проколотые секции уплотнения 344 будут выталкиваться в резервуар для никотина в виде клапанов (как показано на фиг. 24), таким образом создавая два проколотых проема (например, по одному с каждой стороны центрального проема) в уплотнении 344. Размер и форма проколотых проемов в уплотнении 344 могут соответствовать размеру и форме выпускных отверстий резервуара во вставке 342. В отличие от этого, в не проколотом состоянии уплотнение 344 будет иметь плоскую форму и только один проем (например, центральный проем). Уплотнение 344 выполнено достаточно прочным, чтобы оставаться неповрежденным во время нормального перемещения вмещающего элемента в сборе 300 для никотина и/или обращения с ним, чтобы избежать преждевременного/непреднамеренного проламывания. Например, уплотнение 344 может представлять собой фольгу с покрытием (например, тритан на алюминиевой основе).
На фиг. 25 показан частичный покомпонентный вид, включающий вторую секцию кожуха вмещающего элемента в сборе для никотина по фиг. 17. Как показано на фиг. 25, вторая секция 308 кожуха сконструирована так, чтобы содержать различные элементы, выполненные с возможностью высвобождения, размещения и нагрева содержащего никотин готового состава для пара. Например, первый пробойник 314а активации и второй пробойник 314b активации выполнены с возможностью прокола резервуара для никотина в первой секции 302 кожуха для высвобождения содержащего никотин готового состава для пара. Каждый из первого пробойника 314а активации и второго пробойника 314b активации имеет дальний конец, который проходит через соответствующие проемы во вторую секцию 308 корпуса. В примерном варианте осуществления дальние концы первого пробойника 314а активации и второго пробойника 314b активации видны после сборки (например, фиг. 17), в то время как остальная часть первого пробойника 314а активации и второго пробойника 314b активации скрыта из вида внутри вмещающего элемента в сборе 300 для никотина. Кроме того, каждый из первого пробойника 314а активации и второго пробойника 314b активации имеет ближний конец, который расположен так, чтобы быть смежным с уплотнением 344 и расположенным раньше по ходу потока относительно него перед активацией вмещающего элемента в сборе 300 для никотина. Когда первый пробойник 314а активации и второй пробойник 314b активации проталкиваются во вторую секцию 308 кожуха для активации вмещающего элемента в сборе 300 для никотина, ближний конец каждого из первого пробойника 314а активации и второго пробойника 314b активации будет продвигаться вперед через вставку 342 и в результате прокалывать уплотнение 344, которое будет высвобождать содержащий никотин готовый состав для пара из резервуара для никотина. Перемещение первого пробойника 314а активации может быть независимым от перемещения второго пробойника 314b активации (и наоборот). Первый пробойник 314а активации и второй пробойник 314b активации будут рассмотрены более подробно в настоящем документе.
Абсорбирующий материал 346 выполнен с возможностью зацепления с частью в виде держателя вставки 342 (которая, как показано на фиг. 24, выступает из расположенной раньше по ходу потока стороны вставки 342). Абсорбирующий материал 346 может иметь кольцевую форму, хотя примерные варианты осуществления этим не ограничиваются. Как показано на фиг. 25, абсорбирующий материал 346 может напоминать полый цилиндр. В таком случае наружный диаметр абсорбирующего материала 346 может быть по существу равен длине фитиля 338 (или быть немного больше). Внутренний диаметр абсорбирующего материала 346 может быть меньше, чем средний наружный диаметр части в виде держателя вставки 342, что в результате обеспечивает посадку с натягом. Для облегчения зацепления с абсорбирующим материалом 346 кончик части в виде держателя вставки 342 может быть скошенным. Кроме того, хотя, скрытая от вида на фиг. 25, расположенная дальше по ходу потока сторона второй секции 308 кожуха может образовывать вогнутость, выполненную с возможностью размещения и поддержки абсорбирующего материала 346. Примером такой вогнутости может быть круглая камера, которая находится в сообщении по текучей среде с полостью 310 и расположена дальше по ходу потока от нее. Абсорбирующий материал 346 выполнен с возможностью размещения и удержания некоторого количества содержащего никотин готового состава для пара, высвобождаемого из резервуара для никотина, когда вмещающий элемент в сборе 300 для никотина активирован.
Фитиль 338 расположен внутри вмещающего элемента в сборе 300 для никотина таким образом, что он находится в сообщении по текучей среде с абсорбирующим материалом 346, так что содержащий никотин готовый состав для пара может быть вытянут из абсорбирующего материала 346 на нагреватель 336 посредством капиллярного действия. Фитиль 338 может физически контактировать с расположенной раньше по ходу потока стороной абсорбирующего материала 346 (например, нижней частью абсорбирующего материала 346, как показано на фиг. 25). Кроме того, фитиль 338 может соответствовать диаметру абсорбирующего материала 346, хотя примерные варианты осуществления не ограничиваются этим.
Как проиллюстрировано на фиг. 25 (а также на предыдущей фиг. 23), нагреватель 336 может иметь сложенную конфигурацию для захвата и установки теплового контакта с противоположными поверхностями фитиля 338. Нагреватель 336 выполнен с возможностью нагрева фитиля 338 во время курения электронной сигареты для генерирования никотина. Для облегчения такого нагрева первый конец нагревателя 336 может быть электрически соединен с первым контактом 324а питания через первый электрический провод 340а, в то время как второй конец нагревателя 336 может быть электрически соединен со вторым контактом 324b питания через второй электрический провод 340b. В результате электрический ток может подаваться от источника питания (например, батареи) внутри основной части 100 устройства и переноситься на нагреватель 336 через первый контакт 324а питания и первый электрический провод 340а (или через второй контакт 324b питания и второй электрический провод 340b). Первый электрический провод 340а и второй электрический провод 340b (которые показаны отдельно на фиг. 23) могут входить в зацепление с контактным сердечником 334 (как показано на фиг. 25). Соответствующие подробности других аспектов соединительного модуля 320, который выполнен с возможностью посадки в полости второй секции 308 кожуха, которые были рассмотрены выше (например, в связи с фиг. 21-22) и не будут повторяться в этом разделе в целях краткости. Во время курения электронной сигареты никотин, генерируемый нагревателем 336, вытягивается через паропровод вставки 342, через канал 316 для пара первой секции 302 кожуха, наружу из выпускного отверстия 304 вмещающего элемента у вмещающего элемента в сборе 300 для никотина и через проход 136 для пара мундштука 102 к одному или более выпускным отверстиям для пара.
На фиг. 26 показан покомпонентный вид пробойника активации на фиг. 25. Как показано на фиг. 26, пробойник активации может иметь форму первого пробойника 314а активации и второго пробойника 314b активации. Несмотря на то что в настоящем документе два пробойника активации показаны и рассмотрены в сочетании с неограничивающими вариантами осуществления, следует понимать, что альтернативно вмещающий элемент в сборе 300 для никотина может содержать только один пробойник активации. На фиг. 26 первый пробойник 314а активации может содержать первую пластину 348а, первый исполнительный механизм 350а и первое уплотнительное кольцо 352а. Аналогично второй пробойник 314b активации может содержать вторую пластину 348b, второй исполнительный механизм 350b и второе уплотнительное кольцо 352b.
В примерном варианте осуществления первая пластина 348а и вторая пластина 348b выполнены с возможностью установки или прикрепления к верхним частям (например, ближним частям) первого исполнительного механизма 350а и второго исполнительного механизма 350b, соответственно. Установка или прикрепление может быть достигнуто с помощью соединения на защелках, соединения посредством посадки с натягом (например, фрикционной посадки), клея или другой подходящей методики соединения. Верх каждой из первой пластины 348а и второй пластины 348b может иметь одну или более изогнутых или вогнутых кромок, которые сужаются вверх к заостренному кончику. Например, каждая из первой пластины 348а и второй пластины 348b может иметь два заостренных кончика с вогнутой кромкой между ними и изогнутой кромкой, смежной с каждым заостренным кончиком. Радиусы кривизны вогнутой кромки и изогнутых кромок могут быть одинаковыми, в то время как их длины дуг могут различаться. Первая пластина 348а и вторая пластина 348b могут быть образованы из листового металла (например, нержавеющей стали), который вырезан или которому придана другая форма для получения необходимого профиля и который согнут в его окончательную форму. В другом случае первая пластина 348а и вторая пластина 348b могут быть образованы из пластика.
На виде сверху размер и форма первой пластины 348а, второй пластины 348b и частей первого исполнительного механизма 350а и второго исполнительного механизма 350b, на которых они установлены, могут соответствовать размеру и форме выпускных отверстий резервуара во вставке 342. Кроме того, как показано на фиг. 26, первый исполнительный механизм 350а и второй исполнительный механизм 350b могут содержать выступающие края (например, изогнутые внутренние кромки, обращенные друг к другу), выполненные с возможностью выталкивания двух проколотых секций уплотнения 344 в резервуар для никотина по мере того, как первая пластина 348а и вторая пластина 348b продвигаются в резервуар для никотина. В неограничивающем варианте осуществления, когда первый пробойник 314а активации и второй пробойник 314b активации полностью вставлены во вмещающий элемент в сборе 300 для никотина, два клапана (от двух проколотых секций уплотнения 344, как показано на фиг. 24) могут находиться между изогнутыми боковыми стенками выпускных отверстий резервуара вставки 342 и соответствующими изгибами выступающих кромок первого исполнительного механизма 350а и второго исполнительного механизма 350b. В результате может быть уменьшена или предотвращена вероятность того, что два проколотых проема в уплотнителе 344 будут заблокированы (двумя клапанами из двух проколотых секций). Помимо этого, первый исполнительный механизм 350а и второй исполнительный механизм 350b могут быть выполнены с возможностью направления содержащего никотин готового состава для пара из резервуара для никотина к абсорбирующему материалу 346.
Нижняя часть (например, дальняя часть) каждого из первого исполнительного механизма 350а и второго исполнительного механизма 350b выполнена с возможностью простирания через нижнюю секцию (например, расположенный раньше по ходу потока конец) второй секции 308 кожуха. Эта стержнеобразная часть каждого из первого исполнительного механизма 350а и второго исполнительного механизма 350b также может называться валом. Первое уплотнительное кольцо 352а и второе уплотнительное кольцо 352b могут быть посажены в кольцевых канавках в соответствующих валах первого исполнительного механизма 350а и второго исполнительного механизма 350b. Первое уплотнительное кольцо 352а и второе уплотнительное кольцо 352b выполнены с возможностью зацепления с валами первого исполнительного механизма 350а и второго исполнительного механизма 350b, а также внутренними поверхностями соответствующих проемов во второй секции 308 кожуха, чтобы обеспечить непроницаемое для текучей среды уплотнение. В результате, когда первый пробойник 314а активации и второй пробойник 314b активации проталкиваются внутрь для активации вмещающего элемента в сборе 300 для никотина, первое уплотнительное кольцо 352а и второе уплотнительное кольцо 352b могут перемещаться вместе с соответствующими валами первого исполнительного механизма 350а и второго исполнительного механизма 350b внутри соответствующих проемов во второй секции 308 кожуха, сохраняя при этом их соответствующие уплотнения, тем самым помогая уменьшить или предотвратить утечку содержащего никотин готового состава для пара через проемы во второй секции 308 кожуха для первого пробойника 314а активации и второго пробойника 314b активации. Первое уплотнительное кольцо 352а и второе уплотнительное кольцо 352b могут быть образованы из силикона.
На фиг. 27 показан вид в перспективе соединительного модуля по фиг. 22 без фитиля, нагревателя, электрических проводов и контактного сердечника. На фиг. 28 показан покомпонентный вид соединительного модуля по фиг. 27. Как показано на фиг. 27-28, кожух 354 модуля и лицевая пластина 366 в целом образуют внешнюю раму соединительного модуля 320. Кожух 354 модуля образует первое впускное отверстие 330 модуля и кромку 356 с канавками. Кромка 356 с канавками кожуха 354 модуля открывает второе впускное отверстие 332 модуля (который образован посредством обходной конструкции 358). Однако следует понимать, что кромка 356 с канавками также может быть рассмотрена как образующая впускное отверстие модуля (например, в комбинации с лицевой пластиной 366). Лицевая пластина 366 имеет кромку 328 с канавками, которая вместе с соответствующей боковой поверхностью полости 310 второй секции 308 кожуха образует впускное отверстие 322 вмещающего элемента. Кроме того, лицевая пластина 366 образует первый контактный проем, второй контактный проем и третий контактный проем. Первый контактный проем и второй контактный проем могут иметь квадратную форму и выполнены с возможностью открытия первого контакта 324а питания и второго контакта 324b питания, соответственно, в то время как третий контактный проем может иметь прямоугольную форму и выполнен с возможностью открытия множества контактов 326 данных, хотя примерные варианты осуществления не ограничены этим.
Первый контакт 324а питания, второй контакт 324b питания, печатная плата (РСВ) 362 и обходная конструкция 358 расположены внутри внешней рамы, образованной кожухом 354 модуля и лицевой пластиной 366. Печатная плата (РСВ) 362 содержит множество контактов 326 данных на своей расположенной раньше по ходу потока стороне (которая скрыта от вида на фиг. 28) и датчик 364, на своей расположенной дальше по ходу потока стороне. Обходная конструкция 358 образует второе впускное отверстие 332 модуля и обходное выпускное отверстие 360.
Во время сборки первый контакт 324а питания и второй контакт 324b питания расположены так, чтобы быть видимыми через первый контактный проем и второй контактный проем, соответственно, лицевой пластины 366. Кроме того, печатная плата (РСВ) 362 расположена таким образом, что множество контактов 326 данных на своей расположенной раньше по ходу потока стороне видны через третий контактный проем лицевой пластины 366. Печатная плата (РСВ) 362 может также перекрывать задние поверхности первого контакта 324а питания и второго контакта 324b питания. Обходная конструкция 358 расположена на печатной плате (РСВ) 362 таким образом, что датчик 364 находится внутри пути потока воздуха, определяемого вторым впускным отверстием 332 модуля и обходным выпускным отверстием 360. В собранном виде обходная конструкция 358 и печатная плата (РСВ) 362 могут быть рассмотрены как окруженная с по меньшей мере четырех сторон зигзагообразными конструкциями первого контакта 324а питания и второго контакта 324b питания. В примерном варианте осуществления раздвоенные концы первого контакта 324а питания и второго контакта 324b питания выполнены с возможностью электрического соединения с первым электрическим проводом 340а и вторым электрическим проводом 340b.
Когда поступающий воздух поступает в впускное отверстие 322 вмещающего элемента во время курения электронной сигареты, первое впускное отверстие 330 модуля может принимать первичный поток (например, больший поток) поступающего воздуха, в то время как второе впускное отверстие 332 модуля может принимать вторичный поток (например, меньший поток) поступающего воздуха. Вторичный поток поступающего воздуха может повысить чувствительность датчика 364. После выхода из обходной конструкции 358 через обходное выпускное отверстие 360, вторичный поток повторно соединяется с первичным потоком, образуя комбинированный поток, который втягивается в контактный сердечник 334 и проходит через него, чтобы встретиться с нагревателем 336 и фитилем 338. В неограничивающем варианте осуществления первичный поток может составлять 60-95 процентов (например, 80-90 процентов) поступающего воздуха, в то время как вторичный поток может составлять 5-40 процентов (например, 10-20 процентов) поступающего воздуха.
Первое впускное отверстие 330 модуля может представлять собой порт сопротивления затяжке (RTD), в то время как второе впускное отверстие 332 модуля может представлять собой обходной порт. В такой конфигурации сопротивление затяжке устройства 500 для курения содержащей никотин э-сигареты можно регулировать путем изменения размера первого впускного отверстия 330 модуля (вместо изменения размера впускного отверстия 322 вмещающего элемента). В примерном варианте осуществления размер первого впускного отверстия 330 модуля может быть выбран так, что сопротивление затяжке составляет 25-100 миллиметров водяного столба (например, 30-50 миллиметров водяного столба). Например, диаметр, равный 1,0 миллиметра, для первого впускного отверстия 330 модуля может привести к сопротивлению затяжке, составляющему 88,3 миллиметра водяного столба. В другом случае, диаметр, равный 1,1 миллиметра, для первого впускного отверстия 330 модуля может привести к сопротивлению затяжке, составляющему 73,6 миллиметра водяного столба. В другом случае, диаметр, равный 1,2 миллиметра, для первого впускного отверстия 330 модуля может привести к сопротивлению затяжке, составляющему 58,7 миллиметра водяного столба. В еще одном случае диаметр, равный 1,3 миллиметра, для первого впускного отверстия 330 модуля может привести к сопротивлению затяжке, составляющему 43,8 миллиметра водяного столба. Примечательно, что размер первого впускного отверстия 330 модуля, благодаря его внутренней компоновке, можно регулировать, не влияя на эстетичный внешний вид вмещающего элемента в сборе 300 для никотина, тем самым обеспечивая более стандартизированный дизайн продукта для вмещающих элементов в сборе с различным сопротивлением затяжке (RTD), в то же время снижая вероятность непреднамеренной блокировки входящего воздуха.
На фиг. 29 показаны электрические системы основной части устройства и вмещающего элемента в сборе для никотина устройства для курения содержащей никотин э-сигареты согласно примерному варианту осуществления.
Как показано на фиг. 29, электрические системы включают электрическую систему 2100 основной части устройства и электрическую систему 2200 вмещающего элемента в сборе для никотина. Электрическая система 2100 основной части устройства может быть включена в основную часть 100 устройства, а электрическая система 2200 вмещающего элемента в сборе для никотина может быть включена во вмещающий элемент в сборе 300 для никотина устройства 500 для курения содержащей никотин э-сигареты, рассмотренного выше в отношении фиг. 1-28.
В примерном варианте осуществления, показанном на фиг. 29, электрическая система 2200 вмещающего элемента в сборе для никотина содержит нагреватель 336, один или более датчиков 2220 вмещающего элемента и энергонезависимое запоминающее устройство (NVM) 2205. NVM 2205 может представлять собой электрически стираемое программируемое постоянное запоминающее устройство (EEPROM) интегральной схемы (IC).
Электрическая система 2200 вмещающего элемента в сборе для никотина может дополнительно содержать электрический интерфейс/интерфейс данных основной части (не показан) для передачи питания и/или данных между основной частью 100 устройства и вмещающим элементом в сборе 300 для никотина. Согласно по меньшей мере одному примерному варианту осуществления электрические контакты 324а, 324b и 326, показанные на фиг. 17, например, могут служить в качестве электрического интерфейса/интерфейса данных основной части.
Электрическая система 2100 основной части устройства содержит контроллер 2105, блок 2110 питания, датчики устройства или схемы 2125 измерения (называемые в настоящем документе датчиками 2125 устройства), схему управления модулем нагрева (также называемую схемой отключения модуля нагрева) 2127, индикаторы 2135 для вейпера, встроенные в продукт средства 2150 управления (например, кнопки 118 и 120, показанные на фиг. 1), запоминающее устройство 2130 и схему синхронизации 2128. Электрическая система 2100 основной части устройства может дополнительно включать электрический интерфейс/интерфейс данных вмещающего элемента (не показан) для передачи питания и/или данных между основной частью 100 устройства и вмещающим элементом в сборе 300 для никотина. Согласно по меньшей мере одному примерному варианту осуществления электрический соединитель 132 устройства, показанный на фиг. 12, например, может служить в качестве электрического интерфейса/интерфейса данных вмещающего элемента.
Блок 2110 питания может быть внутренним источником питания для подачи питания на основную часть 100 устройства и вмещающий элемент в сборе 300 для никотина устройства 500 для курения содержащей никотин э-сигареты. Подачей питания от блока 2110 питания можно управлять посредством контроллера 2105 через схему управления питанием (не показана). Схема управления питанием может включать один или более переключателей или транзисторов для регулирования выходной мощности от блока 2110 питания. Блок 2110 питания может быть литий-ионной батарей или одним из ее вариантов (например, литий-ионной полимерной батареей). Блок 2110 питания может быть подключен к зарядному устройству 2132 (также называемому в настоящем документе зарядным устройством блока питания или зарядным устройством для батареи) для зарядки. Примерные варианты осуществления зарядного устройства 2132 блока питания будут более подробно рассмотрены ниже в отношении фиг. 44А и фиг. 44В.
Контроллер 2105 может быть выполнен с возможностью управления всей работой устройства 500 для курения содержащей никотин э-сигареты. Согласно по меньшей мере некоторым примерным вариантам осуществления контроллер 2105 может содержать схему обработки, такую как аппаратное обеспечение, включающее логические схемы; комбинацию аппаратного/программного обеспечения, такую как процессор, исполняющий программное обеспечение; или их комбинацию. Более конкретно, например, схема обработки может включать, ню не ограничивается этим, центральное процессорное устройство (CPU), арифметико-логическое устройство (ALU), цифровой процессор сигналов, микрокомпьютер, программируемую пользователем вентильную матрицу (FPGA), однокристальную систему (SoC), программируемый логический элемент, микропроцессор, интегральную схему специального назначения (ASIC) или т.п.
В примерном варианте осуществления, показанном на фиг. 29, контроллер 2105 показан в виде микроконтроллера, содержащего: интерфейсы ввода/вывода (I/O), такие как вводы/выводы общего назначения (GPIO), интерфейсы взаимно-интегрированной схемы (I2C), интерфейсы шины последовательного периферийного интерфейса (SPI) или т.п.; многоканальный аналого-цифровой преобразователь (ADC); и входной терминал синхронизации. Однако примерные варианты осуществления не следует ограничивать этим примером. В по меньшей мере одной примерной реализации контроллер 2105 может быть микропроцессором.
Контроллер 2105 соединен с установлением связи с датчиками 2125 устройства, схемой 2127 управления модулем нагрева, индикаторами 2135 для вейпера, запоминающим устройством 2130, встроенными в продукт средствами 2150 управления, схемой 2128 синхронизации и блоком 2110 питания. Контроллер 2105 также может быть соединен с установлением связи с зарядным устройством 2132 (например, через соединение по универсальной последовательной шине (USB)) при зарядке блока 2110 питания.
Схема 2127 управления модулем нагрева подключена к контроллеру 2105 через вывод GPIO. Запоминающее устройство 2130 подключено к контроллеру 2105 через вывод SPI. Схема 2128 синхронизации подключена к выводу входа синхронизации контроллера 2105. Индикаторы 2135 для вейпера подключены к контроллеру 2105 через вывод интерфейса I2C и вывод GPIO. Элементы датчиков 2125 устройства подключены к контроллеру 2105 через соответствующие выводы многоканального ADC. При подключении зарядное устройство 2132 блока питания также может быть подключено к контроллеру 2105 через вывод GPIO.
Схема 2128 синхронизации может быть механизмом синхронизации, таким как схема генератора, чтобы позволить контроллеру 2105 отслеживать время простоя, сброс времени посредством сброса таймера, продолжительность парения, интервал измерения, их комбинацию или т.п. устройства 500 для курения содержащей никотин э-сигареты. Схема 2128 синхронизации может также содержать специальный внешний кристалл тактового генератора, выполненный с возможностью генерирования синхронизации системы для устройства 500 для курения содержащей никотин э-сигареты.
Запоминающее устройство 2130 может быть энергонезависимым запоминающим устройством, выполненным с возможностью хранения одного или более журналов регистрации отключений (или событий неисправности). В одном примере запоминающее устройство 2130 может хранить один или более журналов регистрации отключений в одной или более таблицах. Запоминающее устройство 2130 и один или более сохраненных в нем журналов регистрации отключений будут рассмотрены более подробно ниже. В одном примере запоминающее устройство 2130 может представлять собой электрически стираемое программируемое постоянное запоминающее устройство (EEPROM), такое как флэш-память или т.п.
По-прежнему, как показано на фиг. 29, датчики 2125 устройства могут включать множество датчиков или схем измерения, выполненных с возможностью предоставления измерений или сигналов, указывающих на информацию о датчике или измерении, контроллеру 2105. В примере, показанном на фиг. 29, датчики 2125 устройства содержат схему 21258 измерения тока нагревателя, схему 21252 измерения напряжения нагревателя, схему 21250 измерения температуры вмещающего элемента, схему 21254 измерения температуры блока питания и схему 21256 измерения напряжения блока питания.
Схема 21258 измерения тока нагревателя может быть выполнена с возможностью вывода сигналов (например, напряжения), указывающих на ток через нагреватель 336. Примерный вариант осуществления схемы 21258 измерения тока нагревателя будет более подробно рассмотрен ниже в отношении фиг. 35.
Схема 21252 измерения напряжения нагревателя может быть выполнена с возможностью вывода сигналов (например, напряжения), указывающих на напряжение через нагреватель 336. Примерный вариант осуществления схемы 21252 измерения напряжения нагревателя будет более подробно рассмотрен ниже в отношении фиг. 34.
Схема 21250 измерения температуры вмещающего элемента может быть выполнена с возможностью вывода сигналов (например, напряжения), указывающих на сопротивление и/или температуру одного или более элементов вмещающего элемента в сборе 300 для никотина. Примерные варианты осуществления схемы 21250 измерения температуры вмещающего элемента будут более подробно рассмотрены ниже в отношении фиг. 36 и фиг. 37.
Схема 21254 измерения температуры блока питания может быть выполнена с возможностью измерения температуры блока 2110 питания во время работы и/или зарядки. Примерные варианты осуществления схемы 21254 измерения температуры блока питания будут более подробно рассмотрены ниже в отношении фиг. 42А и фиг. 42В.
Схема 21256 измерения напряжения блока питания может быть выполнена с возможностью вывода сигналов, указывающих на напряжение блока 2110 питания во время работы и/или зарядки. Примерные варианты осуществления схемы 21256 измерения напряжения блока питания будут более подробно рассмотрены ниже в отношении фиг. 43А и фиг. 43В.
Как рассмотрено выше, схема 21250 измерения температуры вмещающего элемента, схема 21258 измерения тока нагревателя, схема 21252 измерения напряжения нагревателя, схема 21254 измерения температуры блока питания и схема 21256 измерения напряжения блока питания подключены к контроллеру 2105 через выводы многоканального ADC. Для измерения характеристик и/или параметров устройства 500 для курения содержащей никотин э-сигареты (например, напряжения, тока, сопротивления, температуры или т.п. нагревателя 336), многоканальный ADC в контроллере 2105 может выполнять выборку выходных сигналов от датчиков 2125 устройства с частотой дискретизации, соответствующей заданной характеристике и/или параметру, измеряемому соответствующим датчиком устройства.
Как показано на фиг. 29, датчики 2220 вмещающего элемента также включают датчик 364, показанный на фиг. 28. В по меньшей мере одном примерном варианте осуществления датчик 364 может быть датчиком потока или давления микроэлектромеханической системы (MEMS) или датчиком другого типа, выполненным с возможностью измерения потока воздуха, таким как термоанемометр.
Схема 2127 управления модулем нагрева подключена к контроллеру 2105 через вывод GPIO. Схема 2127 управления модулем нагрева выполнена с возможностью управления (включения и/или отключения) модулем нагрева устройства 500 для курения содержащей никотин э-сигареты посредством управления питанием нагревателя 336. Как более подробно рассмотрено ниже, схема 2127 управления модулем нагрева может отключать модуль нагрева на основании управляющей сигнализации (иногда называемой в настоящем документе сигналами состояния питания устройства) от контроллера 2105.
Когда вмещающий элемент в сборе 300 для никотина вставлен в основную часть 100 устройства, контроллер 2105 также соединен с установлением связи с по меньшей мере NVM 2205 и датчиками 2220 вмещающего элемента посредством интерфейса I2C. В одном примере контроллер 2105 может получать рабочие параметры для электрической системы 2200 вмещающего элемента в сборе для никотина от NVM 2205.
Контроллер 2105 может управлять индикаторами 2135 для вейпера для указания взрослому вейперу состояний, событий неисправности и/или операций устройства 500 для курения содержащей никотин э-сигареты. Индикаторы 2135 для вейпера могут быть по меньшей мере частично реализованы с помощью световода (например, световодная компоновка, показанная на фиг. 1) и могут включать индикатор питания (например, LED), который может быть активирован, когда контроллер 2105 определяет нажатие кнопки взрослым вейпером. Индикаторы 2135 для вейпера могут также включать вибратор, динамик, устройство отображения (дисплейный блок или дисплей) или другие механизмы обратной связи и могут указывать текущее состояние параметра парения, контролируемого взрослым вейпером (например, объем паров никотина).
По-прежнему, как показано на фиг. 29, контроллер 2105 может управлять питанием нагревателя 336 для нагрева содержащего никотин готового состава для пара в соответствии с профилем нагрева (например, нагрев на основании объема, температуры, аромата или т.п.). Профиль нагрева может быть определен на основании эмпирических данных и может быть сохранен в NVM 2205 вмещающего элемента в сборе 300 для никотина.
На фиг. 30 показана простая блок-схема, иллюстрирующая систему 2300 управления автоматическим отключением согласно примерному варианту осуществления.
Система 2300 управления автоматическим отключением, показанная на фиг. 30, может быть реализована в контроллере 2105. В одном примере система 2300 управления автоматическим отключением может быть реализована как часть реализации программного обеспечения автомата с конечным числом состояний диспетчера устройств (FSM) в контроллере 2105. В примере, показанном на фиг. 30, система 2300 управления автоматическим отключением содержит подсистему 2630 обнаружения неисправностей и подсистему 2650 принятия решения об автоматическом отключении. Однако следует понимать, что система 2300 управления автоматическим отключением может содержать различные другие подсистемы.
Как показано на фиг. 30, система 2300 управления автоматическим отключением и в более общем смысле контроллер 2105 могут обнаруживать события неисправности (или условия) в устройстве 500 для курения содержащей никотин э-сигареты и заставить контроллер 2105 управлять одной или более подсистемами устройства 500 для курения содержащей никотин э-сигареты для выполнения одного или более последующих действий в ответ на обнаружение событий неисправности. Как более подробно рассмотрено ниже, типы событий неисправности могут включать обычные события (неисправности), события мягкой неисправности вмещающего элемента, события жесткой неисправности вмещающего элемента, события мягкой неисправности устройства и события жесткой неисправности устройства.
Обычные события могут включать, например, событие полной зарядки блока питания (или батареи) (событие завершения зарядки), события ввода от взрослого вейпера (например, через встроенные в продукт средства 2150 управления), вставку электрической системы 2200 вмещающего элемента в сборе для никотина, событие простоя (или событие неисправности простоя), их комбинацию или т.п. В более общем смысле, например, обычным событием может быть обычное состояние устройства 500 для курения содержащей никотин э-сигареты, для которого парение или другая функция устройства 500 для курения содержащей никотин э-сигареты не может быть отключена.
События мягкой неисправности вмещающего элемента могут включать, например, событие неисправности температуры нагревателя, при котором температура нагревателя 336 превышает максимальное пороговое значение. В более общем смысле, например, событие мягкой неисправности вмещающего элемента может быть отклоняющимся от нормы состоянием внутри вмещающего элемента в сборе 300 для никотина, для которого происходит последующее действие (например, отключение парения) и для устранения которого может не потребоваться взаимодействие взрослого вейпера с электронным устройством 500 для парения никотина.
События жесткой неисправности вмещающего элемента могут включать неисправность разомкнутой цепи в нагревателе 336, исчерпание содержащего никотин готового состава для пара во вмещающем элементе в сборе 300 для никотина (пустой вмещающий элемент), их комбинацию или т.п. В более общем смысле, например, событие жесткой неисправности вмещающего элемента может быть отклоняющимся от нормы состоянием внутри вмещающего элемента в сборе 300 для никотина, для которого происходит последующее действие (например, отключение парения) и для устранения которого требуется взаимодействие взрослого вейпера с электронным устройством 500 для парения никотина.
Примерами событий мягкой неисправности устройства могут быть неисправность при загрузке и событие неисправности низкого напряжения блока питания, при которых напряжение блока 2110 питания падает ниже порогового минимума (например, блок питания разряжен и требует подзарядки). Событие неисправности низкого напряжения блока питания может также называться в настоящем документе неисправностью низкого напряжения блока питания (или батареи) или событием неисправности низкого напряжения батареи. В более общем смысле, например, событие мягкой неисправности устройства может быть отклоняющимся от нормы состоянием в устройстве 500 для курения содержащей никотин э-сигареты, для которого парение отключено до тех пор, пока не будет выполнено корректирующее действие.
Примерами событий жесткой неисправности устройства могут быть неисправность зарядки блока питания (или батареи) в зарядном устройстве 2132 и неисправность силового каскада, которые будут более подробно рассмотрены ниже. В более общем смысле, например, событие жесткой неисправности устройства может быть отклоняющимся от нормы состоянием в устройстве 500 для курения содержащей никотин э-сигареты, для которого по меньшей мере парение отключено и для устранения которого требуется вмешательство взрослого вейпера.
Контроллер 2105 может управлять одной или более подсистемами посредством вывода одного или более управляющих сигналов (или подтверждая или отменяя подтверждение соответствующего сигнала), как будет более подробно рассмотрено ниже. В некоторых случаях управляющие сигналы, выводимые из контроллера 2105, могут называться сигналами состояния питания устройства, командами состояния питания устройства или сигналами управления питанием устройства. Согласно одному или более примерным вариантам осуществления контроллер 2105 может выводить один или более управляющих сигналов на схему 2127 управления модулем нагрева для отключения питания нагревателя 336 и/или отключения функций парения в устройстве 500 для курения содержащей никотин э-сигареты, и/или выводить один или более управляющих сигналов на зарядное устройство 2132 для выполнения операции остановки зарядки в ответ на обнаружение одного или более событий неисправности в устройстве 500 для курения содержащей никотин э-сигареты.
Согласно одному или более примерным вариантам осуществления тип последующих действий в устройстве 500 для курения содержащей никотин э-сигареты может зависеть от идентифицированного события неисправности и/или текущей работы устройства для курения содержащей никотин э-сигареты. Несколько последующих действий могут быть выполнены последовательно в ответ на событие неисправности. В одном примере последующие действия могут включать:
операцию автоматического отключения, при которой устройство 500 для курения содержащей никотин э-сигареты переключается в состояние низкого энергопотребления (например, эквивалентно выключению устройства для курения содержащей никотин э-сигареты с использованием кнопки питания);
операцию отключения нагревателя, при которой питание нагревателя 336 прервано или отключено, завершая текущую затяжку, но в остальном оставаясь готовым к парению;
операцию отключения парения, при которой подсистема для парения отключена (например, путем отключения всего питания нагревателя 336), тем самым предотвращая парение до тех пор, пока не будет выполнено корректирующее действие (например, зарядка блока питания, замена вмещающего элемента в сборе для никотина и т.д.);
мягкий сброс устройства, при котором программное обеспечение устройства для курения содержащей никотин э-сигареты сбрасывается для устранения события неисправности и возвращения устройства для курения содержащей никотин э-сигареты в известное нормальное рабочее состояние;
жесткий сброс устройства, при котором программное обеспечение и аппаратное обеспечение устройства сбрасывается для устранения события неисправности и возвращения устройства для курения содержащей никотин э-сигареты в известное нормальное рабочее состояние; и
остановку зарядного устройства, при которой процесс зарядки блока питания останавливается и не возобновляется до тех пор, пока не будет выполнено корректирующее действие.
По-прежнему, как показано на фиг. 30, в более конкретном примере подсистема 2630 обнаружения неисправностей и в более общем смысле контроллер 2105 могут обнаруживать событие простоя в устройстве 500 для курения содержащей никотин э-сигареты и выводить один или более управляющих сигналов (или подтверждая или отменяя подтверждение соответствующего сигнала), чтобы заставить устройство 500 для курения содержащей никотин э-сигареты выполнить одно или более последующих действий в ответ на событие простоя. Подсистема 2630 обнаружения неисправностей может определять, произошло ли событие простоя на основании: определения того, что произошло отключение таймера, запущены ли какие-либо таймеры программного обеспечения в микропрограмме устройства, находятся ли какие-либо события программного обеспечения в очередях программного обеспечения, ожидающих обработки (например, сообщения связи от внешних устройств посредством проводной или беспроводной связи), выполняются ли какие-либо операции аппаратного обеспечения (например, транзакции прямого доступа к памяти (DMA)) или их комбинация. Если эти проверки возвращают значение «ложь», то подсистема 2630 обнаружения неисправностей может выводить предупреждение о простое (или предупреждение о событии простоя) подсистеме 2650 принятия решения об автоматическом отключении в ответ на что подсистема 2650 принятия решения об автоматическом отключении может привести к переходу устройства 500 для курения содержащей никотин э-сигареты в состояние низкого энергопотребления путем отключения одной или более подсистем устройства 500 для курения содержащей никотин э-сигареты. В одном примере подсистема 2650 принятия решения об автоматическом отключении (или в более общем смысле контроллер 2105) может выводить несколько или множество контрольных линий GPIO (сигналов) для отключения всех или по существу всех периферийных устройств устройства 500 для курения содержащей никотин э-сигареты и перевода контроллера 2105 в спящее состояние.
Функции и/или операции согласно одному или более примерным вариантам осуществления могут быть рассмотрены в настоящем документе в отношении выполнения контроллером 2105, подсистемой 2630 обнаружения неисправностей и/или подсистемой 2650 принятия решения об автоматическом отключении в определенных контекстах. Однако следует понимать, что функции и/или операции, рассмотренные в отношении контроллера 2105, могут быть взаимозаменяемо рассмотрены как выполняемые подсистемой 2630 обнаружения неисправностей и/или подсистемой 2650 принятия решения об автоматическом отключении. Аналогично следует понимать, что функции и/или операции, рассмотренные в отношении подсистемы 2630 обнаружения неисправностей и/или подсистемы 2650 принятия решения об автоматическом отключении, могут быть взаимозаменяемо рассмотрены как выполняемые контроллером 2105.
На фиг. 31 показана схема, иллюстрирующая способ обнаружения события простоя согласно примерному варианту осуществления. Схема на фиг. 31 представляет собой единственную итерацию процесса обнаружения простоя. Подсистема 2630 обнаружения неисправностей может непрерывно и/или периодически выполнять данный процесс для определения следует ли выполнять последующее действие, такое как перевод устройства 500 для курения содержащей никотин э-сигареты в спящий режим с низким энергопотреблением.
В целях примера, схема, показанная на фиг. 31, будет рассмотрена в отношении электрических систем, показанных на фиг. 29. Однако следует понимать, что примерные варианты осуществления не следует ограничивать этим примером. Скорее, примерные варианты осуществления могут быть применимы к другим устройствам для курения содержащей никотин э-сигареты и их электрическим системам. Более того, примерный вариант осуществления, показанный на фиг. 31, будет описан в отношении операций, выполняемых подсистемой 2630 обнаружения неисправностей. Однако следует понимать, что примерный вариант осуществления может быть описан аналогичным образом в отношении системы 2300 управления автоматическим отключением и/или контроллера 2105, выполняющего одну или более из функций/операций, показанных на фиг. 31.
Как показано на фиг. 31, на этапе S3100 подсистема 2630 обнаружения неисправностей планирует задачу простоя, чтобы заставить устройство 500 для курения содержащей никотин э-сигареты вывести предупреждение о простое подсистеме 2650 принятия решения об автоматическом отключении, ожидающей проверки программных таймеров, драйверов аппаратного обеспечения и очередей программного обеспечения на устройстве 500 для курения содержащей никотин э-сигареты.
На этапе S3102 подсистема 2630 обнаружения неисправностей проверяет приоритетные программные таймеры в контроллере 2105, чтобы определить, активны ли в текущий момент какие-либо приоритетные программные таймеры. Согласно одному или более примерным вариантам осуществления приоритетный программный таймер запускается каждый раз, когда программный модуль в устройстве 500 для курения содержащей никотин э-сигареты инициирует действие. Подсистема 2630 обнаружения неисправностей определяет, что приоритетный программный таймер активен, если приоритетный программный таймер не истек (обратный отсчет до нуля) или был прерван соответствующим программным модулем (действие завершено).
Примером особенного случая приоритетного таймера является таймер, используемый для отслеживания взаимодействия взрослого вейпера с устройством 500 для курения содержащей никотин э-сигареты. Это может называться программным таймером «отключения устройства» и может быть использован для определения промежутка времени, прошедшего с момента последнего взаимодействия взрослого вейпера с устройством 500 для курения содержащей никотин э-сигареты. Данный таймер может соответствовать периоду времени (например, количеству секунд или минут), по истечении которого устройство 500 для курения содержащей никотин э-сигареты автоматически перейдет в состояние низкого энергопотребления или отключится. Таймер может быть установлен на значение, указанное взрослым вейпером (например, через встроенные в продукт средства 2150 управления, подключенное приложение или «Арр», их комбинацию или т.п.). Таймер может вести обратный отсчет с шагом в 1 миллисекунду и может перезапускаться каждый раз, когда взрослый вейпер взаимодействует с устройством 500 для курения содержащей никотин э-сигареты. В по меньшей мере одном примерном варианте осуществления взаимодействия взрослого вейпера, которые могут перезапустить данный приоритетный таймер и поддерживать устройство в активном состоянии (например, предотвращать переход устройства в состояние низкого энергопотребления), включает нажатие кнопки на устройстве 500 для курения содержащей никотин э-сигареты, парение, вставку вмещающего элемента в сборе 300 для никотина, отсоединение устройства 500 для курения содержащей никотин э-сигареты от USB-кабеля, их комбинацию или т.п.
Если активны один или более приоритетных программных таймеров (этап S3104), то подсистема 2630 обнаружения неисправностей прерывает запланированную задачу простоя и не выводит предупреждение о простое подсистеме 2650 принятия решения об автоматическом отключении. В этом случае устройство 500 для курения содержащей никотин э-сигареты остается в активном состоянии, готовое к парению.
Возвращаясь к этапу S3104, если никакие приоритетные программные таймеры не активны (например, все приоритетные программные таймеры истекли или были прерваны), то затем на этапе S3108 подсистема 2630 обнаружения неисправностей проверяет драйверы аппаратного обеспечения в контроллере 2105, чтобы определить, выполняются ли какие-либо операции аппаратного обеспечения (например, транзакции DMA или т.п.) в устройстве 500 для курения содержащей никотин э-сигареты.
Каждый раз, когда запускается операция аппаратного обеспечения, программное обеспечение драйвера для этой операции регистрирует себя как «занятое», устанавливая флаг занятости. Затем программное обеспечение драйвера ставит себя в «простой» (сбрасывает флаг занятости), когда операция аппаратного обеспечения завершена (например, получено прерывание или завершена транзакция данных). Соответственно, подсистема 2630 обнаружения неисправностей может определять, осуществляются ли в данный момент какие-либо операции аппаратного обеспечения, проверяя, установлен ли флаг занятости для операции аппаратного обеспечения.
Если подсистема 2630 обнаружения неисправностей определяет, что выполняется одна или более операций аппаратного обеспечения (например, флаг занятости установлен для по меньшей мере одного драйвера аппаратного обеспечения) на этапе S3110, то процесс переходит к этапу S3106 и продолжается, как рассмотрено выше.
Возвращаясь к этапу S3110, если подсистема 2630 обнаружения неисправностей определяет, что никакие операции аппаратного обеспечения в данный момент не выполняются (например, флаги занятости не установлены), то на этапе S3112 подсистема 2630 обнаружения неисправностей проверяет очереди программного обеспечения на наличие событий, ожидающих обработки в контроллере 2105. Согласно одному или более примерным вариантам осуществления контроллер 2105 может планировать события для выполнения в очереди программного обеспечения в ответ, например, на сообщения связи от внешних устройств через проводную (например, универсальную последовательную шину (USB)) и/или беспроводную (например, беспроводную связь ближнего действия, такую как Bluetooth) связь.
Согласно по меньшей мере одному примерному варианту осуществления проверка очереди программного обеспечения, подобная той, которая выполнена на этапе S3112, может быть выполнена как задача в операционной системе реального времени (RTOS), выполняемой в контроллере 2105.
Если подсистема 2630 обнаружения неисправностей определяет, что в очередях программного обеспечения имеются события, ожидающие обработки на этапе S3114, то процесс переходит к этапу S3106 и продолжается, как рассмотрено выше.
Возвращаясь к этапу S3114, если подсистема 2630 обнаружения неисправностей определяет, что нет событий программного обеспечения, ожидающих обработки, то тогда подсистема 2630 обнаружения неисправностей выводит предупреждение о простое подсистеме 2650 принятия решения об автоматическом отключении, чтобы указать, что произошло событие простоя. В ответ на предупреждение о простое подсистема 2650 принятия решения об автоматическом отключении может определять одно или более последующих действий, которые необходимо выполнить, и может выводить один или более сигналов состояния питания устройства для управления устройством 500 для курения содержащей никотин э-сигареты для выполнения одного или более последующих действий. Примерная работа подсистемы 2650 принятия решения об автоматическом отключении в ответ на предупреждения о неисправностях, такие как предупреждение о простое, рассмотренное выше, будет более подробно рассмотрена ниже в отношении фиг. 33А и фиг. 33В.
Возвращаясь снова к фиг. 30, в другом примере подсистема 2630 обнаружения неисправностей может обнаруживать и/или определять, когда температура нагревателя 336 достигает или превышает (выше или равна) максимальное пороговое значение температуры (пороговый параметр Heater Max Temperature) (событие неисправности температуры нагревателя), и выводить предупреждение о температуре в подсистему 2650 принятия решения об автоматическом отключении в ответ на это.
Подсистема 2630 обнаружения неисправностей может определять, следует ли выводить предупреждение о температуре на основании температуры нагревателя 336 и доверительного интервала (CI). Максимальное пороговое значение температуры и CI могут быть определены на основании эмпирических данных и могут быть сохранены и получены из NVM 2205 в электрической системе 2200 вмещающего элемента в сборе для никотина. Температура нагревателя 336 (или сигналы, указывающие температуру нагревателя 336) может быть предоставлена, например, компонентом датчика измерения температуры датчиков 2220 вмещающего элемента.
В альтернативном примере контроллер 2105 может определять температуру нагревателя 336 на основании измерений напряжения от схемы 21252 измерения напряжения нагревателя и/или измерений тока посредством схемы 21258 измерения тока нагревателя.
CI представляет собой уровень технического запаса для температуры нагревателя 336. Для измерения нагревателя 336 на основании сопротивления оценка температуры может быть относительно неточной из-за допусков компонентов, ошибок округления, переменного сопротивления контакта и т.д. Соответственно, теоретическая наихудшая погрешность может быть применена в качестве CI. В по меньшей мере одном примерном варианте осуществления наихудшая погрешность может составлять приблизительно 15 градусов Цельсия.
Для измерения вмещающего элемента на основании датчика CI для оценки температуры нагревателя 336 может быть выше (например, порядка приблизительно от 50 градусов Цельсия до 100 градусов Цельсия), поскольку датчик вмещающего элемента может не находиться в непосредственной близости от нагревателя 336, и следовательно температура нагревателя 336 может быть спрогнозирована, а не оценена. Согласно по меньшей мере одному примерному варианту осуществления измерения вмещающего элемента на основании датчика могут быть использованы в качестве (например, только в качестве) измерения температуры корпуса, а не самого нагревателя, и, таким образом, точка отключения от этого показания была предназначена для предотвращения повышения температуры основной части вмещающего элемента выше максимального порога.
На фиг. 32А показана схема, иллюстрирующая способ обнаружения события неисправности температуры нагревателя согласно примерному варианту осуществления.
В целях примера, схема, показанная на фиг. 32А, будет рассмотрена в отношении электрических систем, показанных на фиг. 29. Однако следует понимать, что примерные варианты осуществления не следует ограничивать этим примером. Скорее, примерные варианты осуществления могут быть применимы к другим устройствам для курения содержащей никотин э-сигареты и их электрическим системам. Более того, примерный вариант осуществления, показанный на фиг. 32А, будет описан в основном в отношении операций, выполняемых подсистемой 2630 обнаружения неисправностей. Однако следует понимать, что примерный вариант осуществления может быть описан аналогичным образом в отношении системы 2300 управления автоматическим отключением и/или контроллера 2105, выполняющего одну или более из функций/операций, показанных на фиг. 32А.
Как показано на фиг. 32А, когда вмещающий элемент в сборе 300 для никотина вставлен в основную часть 100 устройства, на этапе S2902 подсистема 2630 обнаружения неисправностей получает максимальное пороговое значение температуры от NVM 2205 в электрической системе 2200 вмещающего элемента в сборе для никотина. В одном примере максимальное пороговое значение температуры может быть сохранено в пределах одного байта при разрешении приблизительно 2 градуса Цельсия и может находиться в диапазоне от приблизительно 0 градусов Цельсия до приблизительно 510 градусов Цельсия.
Согласно по меньшей мере одному примерному варианту осуществления температура сохранялась при разрешении приблизительно 2 градуса Цельсия, чтобы вместить полезный диапазон в один байт. Поскольку требуемый диапазон охватывает, согласно по меньшей мере одному примерному варианту осуществления, по меньшей мере 0-300 градусов Цельсия, температура, сохраненная при разрешении приблизительно 1 градус Цельсия, не поместилась бы в один байт (например, это обеспечило бы только диапазон 0-255 градусов Цельсия).
На этапе S2904 подсистема 2630 обнаружения неисправностей определяет, существуют ли условия для парения в устройстве 500 для курения содержащей никотин э-сигареты. Согласно по меньшей мере одному примерному варианту осуществления подсистема 2630 обнаружения неисправностей может определить, существуют ли условия для парения в устройстве 500 для курения содержащей никотин э-сигареты на основании выходных данных от датчика 364. В одном примере, если выходные данные от датчика 364 указывают на приложение отрицательного давления выше порогового значения на мундштуке 102 устройства 500 для курения содержащей никотин э-сигареты, то тогда подсистема 2630 обнаружения неисправностей может определить, что в устройстве 500 для курения содержащей никотин э-сигареты существуют условия для парения.
Если подсистема 2630 обнаружения неисправностей определяет, что в устройстве 500 для курения содержащей никотин э-сигареты присутствуют условия для парения, то на этапе S2905 контроллер 2105 управляет схемой 2127 управления модулем нагрева для подачи питания на нагреватель 336 для парения. Примерное управление схемой 2127 управления модулем нагрева для подачи питания на нагреватель 336 будет более подробно рассмотрено ниже в отношении фиг. 38 и фиг. 39.
На этапе S2906 подсистема 2630 обнаружения неисправностей определяет, стабилизировалось ли сопротивление нагревателя 336. Подсистема 2630 обнаружения неисправностей может определить, что сопротивление нагревателя 336 стабилизировалось, как только ток через нагреватель 336 достигает порогового значения тока «смачивания» (например, приблизительно 100 миллиампер (мА)). Подсистема 2630 обнаружения неисправностей может определить, что ток через нагреватель 336 достиг порогового значения тока «смачивания» на основании выходных сигналов от схемы 21258 измерения тока нагревателя.
Если подсистема 2630 обнаружения неисправностей определяет, что сопротивление нагревателя 336 стабилизировалось, то на этапе S2910 подсистема 2630 обнаружения неисправностей оценивает температуру нагревателя 336 на основании измеренного сопротивления нагревателя 336. Подсистема 2630 обнаружения неисправностей может оценивать температуру нагревателя 336 любым известным способом (например, на основании относительно линейной связи между сопротивлением и температурой нагревателя 336). В одном примере, как будет более подробно рассмотрено ниже, подсистема 2630 обнаружения неисправностей может определить измерение температуры на основании выходных данных от компонента датчика измерения температуры датчиков 2220 вмещающего элемента.
По-прежнему, как показано на фиг. 32А, на этапе S2912 подсистема 2630 обнаружения неисправностей определяет, является ли расчетная температура нагревателя 336 выше или равна (достигла или превысила) максимальной пороговой температуре путем сравнения расчетной температуры с максимальным пороговым значением температуры, полученным от NVM 2205.
Если подсистема 2630 обнаружения неисправностей определяет, что расчетная температура нагревателя 336 ниже максимальной пороговой температуры, то тогда на этапе S2916 подсистема 2630 обнаружения неисправностей определяет, прошел ли интервал измерения. Интервал измерения может быть определен на основании эмпирических данных. В одном примере интервал измерения может составлять приблизительно 10 миллисекунд.
Согласно по меньшей мере одному примерному варианту осуществления интервал измерения в 10 миллисекунд может быть использован для измерений, выполненных с датчика вмещающего элемента I2C (поскольку это может быть максимальная частота дискретизации). Однако, в по меньшей мере одном другом примерном варианте осуществления для измерения нагревателя на основании сопротивления можно использовать интервал измерения в 1 миллисекунду (тактовая частота системы).
Если интервал измерения прошел, то тогда процесс возвращается к этапу S2910 и продолжается, как рассмотрено в настоящем документе.
Возвращаясь к этапу S2916, если интервал измерения еще не прошел, то подсистема 2630 обнаружения неисправностей ожидает истечения интервала измерения, прежде чем вернуться к этапу S2910 и продолжить, как рассмотрено в настоящем документе.
Возвращаясь к этапу S2912, если подсистема 2630 обнаружения неисправностей определяет, что расчетная температура нагревателя 336 достигла или превысила максимальное пороговое значение температуры, то тогда на этапе S2914 подсистема 2630 обнаружения неисправностей выводит предупреждение о событии неисправности температуры нагревателя в подсистему 2650 принятия решения об автоматическом отключении.
Возвращаясь к этапу S2906, если подсистема 2630 обнаружения неисправностей определяет, что сопротивление нагревателя 336 еще не стабилизировалось, то тогда подсистема 2630 обнаружения неисправностей продолжает отслеживать (или ожидает) сопротивление нагревателя 336. Как только сопротивление нагревателя 336 стабилизировалось, процесс переходит к этапу S2910 и продолжается, как рассмотрено выше.
Возвращаясь к этапу S2904, если подсистема 2630 обнаружения неисправностей определяет, что условия для парения отсутствуют в устройстве 500 для курения содержащей никотин э-сигареты, то тогда подсистема 2630 обнаружения неисправностей продолжает отслеживать выходные данные от датчика 364 на наличие условий для курения содержащей никотин э-сигареты. Как только обнаруживаются условия для курения содержащей никотин э-сигареты, процесс продолжается, как рассмотрено выше.
На фиг. 32В показана схема, иллюстрирующая способ обнаружения события неисправности температуры нагревателя согласно другому примерному варианту осуществления. Способ, показанный на фиг. 32 В, может позволить устройству 500 для курения содержащей никотин э-сигареты определить, подавать ли питание на нагреватель 336 в начале события затяжки (например, при первоначальном приложении отрицательного давления к мундштуку 102).
Как и в примерном варианте осуществления, показанном на фиг. 32А, в целях примера, схема, показанная на фиг. 32В, будет рассмотрена в отношении электрических систем, показанных на фиг. 29. Однако следует понимать, что примерные варианты осуществления не следует ограничивать этим примером. Скорее, примерные варианты осуществления могут быть применимы к другим устройствам для курения содержащей никотин э-сигареты и их электрическим системам. Более того, примерный вариант осуществления, показанный на фиг. 32В, будет описан в основном в отношении операций, выполняемых подсистемой 2630 обнаружения неисправностей. Однако следует понимать, что примерный вариант осуществления может быть описан аналогичным образом в отношении системы 2300 управления автоматическим отключением и/или контроллера 2105, выполняющего одну или более из функций/операций, показанных на фиг. 32В.
Как показано на фиг. 32В, когда вмещающий элемент в сборе 300 для никотина вставлен в основную часть 100 устройства, на этапе S3000 подсистема 2630 обнаружения неисправностей получает максимальное пороговое значение температуры от NVM 2205 в электрической системе 2200 вмещающего элемента в сборе для никотина. Максимальное пороговое значение температуры может быть таким же или по существу таким же, как то, которое рассмотрено выше в отношении этапа S2902 на фиг. 32А.
На этапе S3002 подсистема 2630 обнаружения неисправностей определяет, существуют ли условия для парения в устройстве 500 для курения содержащей никотин э-сигареты. Подсистема 2630 обнаружения неисправностей может определить, существуют ли условия для парения в устройстве 500 для курения содержащей никотин э-сигареты таким же или по существу таким же образом, как рассмотрено выше в отношении этапа S2904 на фиг. 32А.
Если подсистема 2630 обнаружения неисправностей обнаруживает наличие условий для парения на этапе S3002, то тогда на этапе S3004 подсистема 2630 обнаружения неисправностей оценивает температуру нагревателя 336 на основании информации от компонента датчика измерения температуры датчиков 2220 вмещающего элемента. Подсистема 2630 обнаружения неисправностей может оценивать температуру нагревателя 336 таким же или по существу таким же образом, как рассмотрено выше в отношении этапа S2910 на фиг. 32А.
На этапе S3006 подсистема 2630 обнаружения неисправностей определяет, является ли расчетная температура, например, выше или равна максимальному пороговому значению температуры путем сравнения расчетной температуры с максимальным пороговым значением температуры, полученным от NVM 2205. Максимальное пороговое значение температуры, полученное от NVM 2205, может быть таким же или по существу таким же, как то, которое рассмотрено выше в отношении фиг. 32А.
Если подсистема 2630 обнаружения неисправностей определяет, что расчетная температура превышает максимальное пороговое значение температуры, то тогда на этапе S3008 подсистема 2630 обнаружения неисправностей выводит предупреждение о событии неисправности температуры нагревателя в подсистему 2650 принятия решения об автоматическом отключении и процесс завершается.
Возвращаясь к этапу S3006, если подсистема 2630 обнаружения неисправностей определяет, что расчетная температура не превышает максимальное пороговое значение температуры, то тогда подсистеме 2630 обнаружения неисправностей не обязательно выводить предупреждение о событии неисправности температуры нагревателя в подсистему 2630 обнаружения неисправностей, и контроллер 2105 может подавать питание на нагреватель 336 на этапе S3010.
На фиг. 33А и фиг. 33В показан способ управления автоматическим отключением согласно одному или более примерным вариантам осуществления.
В целях примера, схема, показанная на фиг. 33А и фиг. 33В, будет рассмотрена в отношении электрических систем, показанных на фиг. 29. Однако следует понимать, что примерные варианты осуществления не следует ограничивать этим примером. Скорее, примерные варианты осуществления могут быть применимы к другим устройствам для курения содержащей никотин э-сигареты и их электрическим системам. Более того, примерный вариант осуществления, показанный на фиг. 33А и фиг. 33В, будет описан в основном в отношении операций, выполняемых подсистемой 2650 принятия решения об автоматическом отключении. Однако следует понимать, что примерный вариант осуществления может быть описан аналогичным образом в отношении системы 2300 управления автоматическим отключением и/или контроллера 2105, выполняющего одну или более из функций/операций, показанных на фиг. 33А и фиг. 33В.
Как показано на фиг. 33А и фиг. 33В, на этапе S3702 подсистема 2650 принятия решения об автоматическом отключении определяет, произошло ли событие неисправности в устройстве 500 для курения содержащей никотин э-сигареты. Согласно одному или более примерным вариантам осуществления подсистема 2650 принятия решения об автоматическом отключении определяет, что произошло событие неисправности в ответ на получение предупреждения о неисправности от подсистемы 2630 обнаружения неисправностей.
Если подсистема 2650 принятия решения об автоматическом отключении определяет, что произошло событие неисправности, то тогда на этапе S3704 подсистема 2650 принятия решения об автоматическом отключении классифицирует событие неисправности как одно из: события обычной неисправности, события мягкой неисправности вмещающего элемента, события жесткой неисправности вмещающего элемента, события мягкой неисправности устройства или события жесткой неисправности устройства. Согласно одному или более примерным вариантам осуществления подсистема 2650 принятия решения об автоматическом отключении может классифицировать событие неисправности посредством использования таблицы поиска, хранящей классификации событий неисправности в связи с конкретными событиями неисправности и/или кодами ошибок неисправности, связанными с ними. В этом примере подсистема 2630 обнаружения неисправностей может выводить индикацию события неисправности, которое вызвало предупреждение о неисправности, для отправки в подсистему 2650 принятия решения об автоматическом отключении.
В по меньшей мере одном примерном варианте осуществления классификация может быть реализована с использованием инструкции программирования «переключатель» для выбора типа неисправности на основании перечисленного значения неисправности.
Как подобным образом упоминалось выше, обычные события неисправности могут включать прерывание от зарядного устройства 2132, указывающее на то, что зарядка блока 2110 питания завершена, ввод от взрослого вейпера (например, для отключения подсистемы для парения или устройства для курения содержащей никотин э-сигареты) через встроенные в продукт средства 2150 управления, событие простоя, при котором устройство 500 для курения содержащей никотин э-сигареты оставалось бездействующим в течение по меньшей мере порогового интервала времени (например, как рассмотрено выше в отношении фиг. 31), их комбинацию или т.п.
Если подсистема 2650 принятия решения об автоматическом отключении классифицирует событие неисправности как обычное событие неисправности, то тогда на этапе S3710 подсистема 2650 принятия решения об автоматическом отключении заставляет устройство 500 для курения содержащей никотин э-сигареты выполнять одно или более последующих действий в зависимости от произошедшего события неисправности. Например, подсистема 2650 принятия решения об автоматическом отключении может выводить один или более сигналов состояния питания устройства для управления устройством 500 для курения содержащей никотин э-сигареты для выполнения одного или более последующих действий (например, операция остановки зарядного устройства, операция отключения парения, операция автоматического отключения, операция отключения нагревателя, их комбинация или т.п.).
В примере, в котором обычным событием неисправности является прерывание от зарядного устройства 2132, указывающее на то, что зарядка блока 2110 питания завершена, подсистема 2630 обнаружения неисправностей может принимать прерывание от зарядного устройства 2132. В ответ на получение прерывания от зарядного устройства 2132 подсистема 2630 обнаружения неисправностей может выводить предупреждение о неисправности (предупреждение о неисправности завершения зарядки) подсистеме 2650 принятия решения об автоматическом отключении, указывающее на то, что прерывание было получено. В ответ на предупреждение о неисправности подсистема 2650 принятия решения об автоматическом отключении определяет, что произошло обычное событие неисправности, и инициирует/выполняет операцию остановки зарядного устройства.
Как более подробно рассмотрено ниже, зарядное устройство 2132 может включать специальную IC зарядки, включающую ряд вводов/выводов (I/O), которые используют для управления и контроля зарядки блока 2110 питания. Операция остановки зарядного устройства может отключить или приостановить зарядку блока 2110 питания в устройстве 500 для курения содержащей никотин э-сигареты. Как более подробно рассмотрено ниже, контроллер 2105 может управлять зарядным устройством 2132 для отключения или приостановки зарядки блока 2110 питания путем вывода сигнала остановки зарядного устройства ВАТТ_SUSP (например, имеющего высокий логический уровень) на специальную IC зарядки в зарядном устройстве 2132.
В примере, в котором обычным событием неисправности является прерывание, генерируемое в ответ на ввод через встроенные в продукт средства 2150 управления (например, запрашивая отключение функции парения, отключение питания нагревателя 336 или отключение питания устройства 500 для курения содержащей никотин э-сигареты), подсистема 2630 обнаружения неисправностей может принимать прерывание от встроенных в продукт средств 2150 управления. В ответ на получение прерывания подсистема 2630 обнаружения неисправностей может выводить предупреждение о неисправности (предупреждение взрослому вейперу о неисправности) подсистеме 2650 принятия решения об автоматическом отключении, указывающее на то, что прерывание было получено. В ответ на предупреждение о неисправности подсистема 2650 принятия решения об автоматическом отключении определяет, что произошло обычное событие неисправности и инициирует/выполняет операцию отключения парения, операцию отключения нагревателя, операцию автоматического отключения, их комбинацию или т.п., при необходимости.
Согласно по меньшей мере некоторым примерным вариантам осуществления подсистема 2650 принятия решения об автоматическом отключении (или контроллер 2105) может выполнить операцию автоматического отключения посредством вывода нескольких или множества контрольных линий GPIO (сигналов) для отключения всех или по существу всех периферийных устройств устройства 500 для курения содержащей никотин э-сигареты и инициирования перевода контроллера 2105 в спящее состояние.
Операция отключения парения может отключить всю энергию на нагревателе 336, тем самым предотвращая парение до тех пор, пока не будет выполнено корректирующее действие (например, взрослым вейпером). Как более подробно рассмотрено ниже, подсистема 2650 принятия решения об автоматическом отключении может управлять схемой 2127 управления модулем нагрева для отключения всей энергии на нагревателе 336 посредством вывода сигнала отключения парения COIL_SHDN, имеющего высокий логический уровень (фиг. 38), или посредством отмены подтверждения (или прекращения вывода) сигнала включения парения COIL_VGATE_PWM (фиг. 39). В по меньшей мере одном примере по меньшей мере сигнал включения парения COIL_VGATE_PWM может быть сигналом широтно-импульсной модуляции (PWM).
Операция отключения нагревателя может отключить питание нагревателя 336, прекращая любое текущее событие затяжки, но в остальном позволяя устройству 500 для курения содержащей никотин э-сигареты оставаться готовым к парению. Как более подробно рассмотрено ниже, подсистема 2650 принятия решения об автоматическом отключении (или в более общем смысле контроллер 2105) может управлять схемой 2127 управления модулем нагрева для отключения питания нагревателя 336 посредством вывода сигнала активации нагревателя GATE_ON (фиг. 38), имеющего низкий логический уровень или посредством вывода одного или более из первого сигнала включения нагревателя GATE_ENB или второго сигнала включения нагревателя COIL_Z (фиг. 39), имеющего низкий логический уровень.
В еще одном примере подсистема 2630 обнаружения неисправностей может определить, что произошло событие простоя в соответствии с примерным вариантом осуществления, показанным на фиг. 31. В этом примере в ответ на определение того, что произошло событие простоя, подсистема 2630 обнаружения неисправностей может выводить предупреждение о неисправности (предупреждение о простое) подсистеме 2650 принятия решения об автоматическом отключении, указывающее на то, что произошло событие простоя. В ответ на предупреждение о неисправности подсистема 2650 принятия решения об автоматическом отключении классифицирует событие простоя как обычное событие неисправности и может выполнить операцию отключения нагревателя, операцию отключения парения, операцию автоматического отключения или т.п., при необходимости.
Возвращаясь теперь к этапу S3706, если событие неисправности не является обычным событием неисправности, то тогда на этапе S3722 подсистема 2650 принятия решения об автоматическом отключении определяет, является ли событие неисправности событием мягкой неисправности вмещающего элемента.
Как рассмотрено выше, событие мягкой неисправности вмещающего элемента может включать температурное событие, при котором температура электрической системы 2200 вмещающего элемента в сборе для никотина или ее компонента (например, нагревателя 336) превышает максимальную пороговую температуру. В более конкретном примере подсистема обнаружения неисправностей может определить, произошло ли событие неисправности температуры нагревателя согласно одному или более примерным вариантам осуществления, показанным на фиг. 32А и фиг. 32В. Однако примерные варианты осуществления не должны ограничиваться этими примерами.
Если подсистема 2650 принятия решения об автоматическом отключении идентифицирует событие неисправности как событие мягкой неисправности вмещающего элемента, то тогда на этапе S372 подсистема 2650 принятия решения об автоматическом отключении выполняет одно или более последующих действий для события мягкой неисправности вмещающего элемента.
В целях примера, более подробный пример будет описан в отношении одного или более последующих действий в ответ на событие неисправности температуры нагревателя.
Как показано на фиг. 33А и фиг. 33В, на этапе S3724 подсистема 2650 принятия решения об автоматическом отключении управляет схемой 2127 управления модулем нагрева для выполнения операции отключения нагревателя, как было рассмотрено ранее, а также более подробно ниже.
На этапе S3726 подсистема 2650 принятия решения об автоматическом отключении регистрирует возникновение события мягкой неисправности вмещающего элемента в запоминающем устройстве 2130. В одном примере контроллер 2105 может сохранять идентификатор события мягкой неисправности вмещающего элемента (например, событие неисправности температуры нагревателя) в сочетании с идентификацией операции отключения нагревателя и времени, в которое произошло событие мягкой неисправности вмещающего элемента и операция отключения нагревателя.
На этапе S3727 подсистема 2650 принятия решения об автоматическом отключении управляет индикаторами 2135 для вейпера для вывода индикации того, что произошло событие неисправности (например, событие неисправности температуры нагревателя). В одном примере индикация может быть в форме звука, визуального отображения и/или тактильной обратной связи для взрослого вейпера. Например, индикацией может быть мигающий красный LED, программное сообщение, содержащее код ошибки, которое отправлено (например, через Bluetooth) в подключенное «приложение» на удаленном электронном устройстве.
На этапе S3728 подсистема 2650 принятия решения об автоматическом отключении определяет, следует ли возвращать устройство 500 для курения содержащей никотин э-сигареты к нормальной работе (состояние без неисправности FSM). В примере, в котором событие мягкой неисправности вмещающего элемента является событием неисправности температуры нагревателя, подсистема 2650 принятия решения об автоматическом отключении может определить, следует ли возвращаться к нормальной работе на основании того, упала ли температура нагревателя 336 ниже максимального порогового значения температуры.
Если подсистема 2650 принятия решения об автоматическом отключении определяет, что устройство 500 для курения содержащей никотин э-сигареты не должно возвращаться к нормальной работе (например, температура нагревателя 336 не упала ниже максимального порогового значения температуры), то тогда процесс возвращается к этапу S3727 и продолжает ожидать индикации о том, что устройство 500 для курения содержащей никотин э-сигареты должно вернуться к нормальной работе.
Однако, если подсистема 2650 принятия решения об автоматическом отключении определяет, что устройство 500 для курения содержащей никотин э-сигареты должно вернуться к нормальной работе на этапе S3728, то тогда на этапе S3729 подсистема 2650 принятия решения об автоматическом отключении возвращает устройство 500 для курения содержащей никотин э-сигареты к нормальной работе, при которой устройство 500 для курения содержащей никотин э-сигареты готово к парению, когда впоследствии будут представлены условия для парения (например, в ответ на приложение отрицательного давления взрослым вейпером). В примере, в котором произошло событие неисправности температуры нагревателя, подсистема 2650 принятия решения об автоматическом отключении может управлять схемой 2127 управления модулем нагрева для включения питания нагревателя 336 посредством вывода сигнала активации нагревателя GATE_ON (фиг. 38), имеющего высокий логический уровень или посредством вывода и первого сигнала включения нагревателя GATE_ENB, и второго сигнала включения нагревателя COIL_Z (фиг. 39), имеющих высокий логический уровень.
Хотя примерный вариант осуществления, показанный на фиг. 33А и фиг. 33В, рассмотрен как включающий этап S3728, следует понимать, что данный этап может быть опущен, и процесс может перейти непосредственно от этапа S3727 к этапу S3729, на котором подсистема 2650 принятия решения об автоматическом отключении возвращается к нормальной работе. Поскольку события мягкой неисправности вмещающего элемента имеют относительно низкую важность, а также являются прерывистыми и самоустраняющимися, в более простой реализации эти неисправности активно не отслеживаются и никакая информация об их состоянии не поддерживается в системе принятия решения. Вместо этого неисправность просто повторяется (и обрабатывается снова), если она все еще присутствует, когда условия для парения снова представлены в устройстве для курения содержащей никотин э-сигареты. Например, если температура нагревателя 336 все еще выше максимального порогового значения температуры и взрослый пользователь прикладывает отрицательное давление к устройству для курения содержащей никотин э-сигареты, то тогда снова выполняется операция отключения нагревателя.
Возвращаясь к этапу S3722, если событие неисправности не является событием мягкой неисправности вмещающего элемента, то тогда на этапе S3730 подсистема 2650 принятия решения об автоматическом отключении определяет, является ли событие неисправности событием жесткой неисправности вмещающего элемента.
Как рассмотрено выше, событие жесткой неисправности вмещающего элемента может включать неисправность разомкнутой цепи в электрической системе 2200 вмещающего элемента в сборе для никотина, исчерпание содержащего никотин готового состава для пара во вмещающем элементе в сборе 300 для никотина (пустой вмещающий элемент), обнаружение сухой затяжки вмещающего элемента в сборе 300 для никотина, их комбинацию или т.п.
Если подсистема 2650 принятия решения об автоматическом отключении идентифицирует событие неисправности как событие жесткой неисправности вмещающего элемента, то тогда на этапе S3730 подсистема 2650 принятия решения об автоматическом отключении выполняет одно или более последующих действий для события жесткой неисправности вмещающего элемента.
Как показано на фиг. 33А и фиг. 33В, по меньшей мере в одном примерном варианте осуществления на этапе S3732 подсистема 2650 принятия решения об автоматическом отключении может выполнить операцию отключения парения, как рассмотрено выше в отношении этапа S3710, в ответ на событие жесткой неисправности вмещающего элемента.
На этапе S3734 подсистема 2650 принятия решения об автоматическом отключении регистрирует или сохраняет возникновение события жесткой неисправности вмещающего элемента в запоминающем устройстве 2130. Подсистема 2650 принятия решения об автоматическом отключении может регистрировать или сохранять возникновение жесткой неисправности вмещающего элемента таким же или по существу таким же образом, как рассмотрено выше в отношении этапа S3726.
На этапе S3736 подсистема 2650 принятия решения об автоматическом отключении управляет индикаторами 2135 для вейпера для вывода индикации того, что произошло событие жесткой неисправности вмещающего элемента. Подсистема 2650 принятия решения об автоматическом отключении может управлять индикаторами 2135 для вейпера для вывода индикации таким же или по существу таким же образом, как рассмотрено выше в отношении этапа S3727.
На этапе S3738 подсистема 2650 принятия решения об автоматическом отключении определяет, было ли выполнено корректирующее действие (например, взрослым вейпером в течение порогового периода времени после обнаружения события жесткой неисправности вмещающего элемента) в ответ на событие жесткой неисправности вмещающего элемента. Корректирующее действие может включать извлечение вмещающего элемента 300 в сборе для никотина из основной части 100 устройства в течение (до истечения) порогового интервала времени извлечения после (например, в ответ на) индикации взрослому вейперу о событии жесткой неисправности вмещающего элемента.
В этом примере подсистема 2650 принятия решения об автоматическом отключении может определить, что вмещающий элемент 300 в сборе для никотина был извлечен из основной части 100 устройства цифровым способом, посредством проверки того, что набор из пяти контактов 326 вмещающего элемента 300 в сборе для никотина был извлечен. В другом примере подсистема 2650 принятия решения об автоматическом отключении может определить, что вмещающий элемент 300 в сборе для никотина был извлечен из основной части 100 устройства, путем определения того, что электрические контакты 324а, 324b и/или 326 вмещающего элемента 300 в сборе для никотина были отсоединены от электрического соединителя 132 устройства основной части 100 устройства.
Если подсистема 2650 принятия решения об автоматическом отключении определяет, что корректирующее действие было выполнено (например, вмещающий элемент 300 в сборе для никотина был извлечен из основной части 100 устройства в течение порогового интервала времени извлечения после индикации о событии жесткой неисправности вмещающего элемента), то тогда процесс переходит к этапу S3729 и продолжается, как рассмотрено выше. В этом случае, хотя подача энергии на нагреватель 336 по-прежнему отключена, поскольку вмещающий элемент 300 в сборе для никотина был извлечен, устройство 500 для курения содержащей никотин э-сигареты в остальном готово к парению в ответ на приложение отрицательного давления взрослым вейпером, как только был вставлен новый вмещающий элемент в сборе для никотина.
Если подсистема 2650 принятия решения об автоматическом отключении определяет, что вмещающий элемент 300 в сборе для никотина не извлечен в течение порогового интервала времени извлечения (корректирующее действие не было выполнено в течение порогового интервала времени), то тогда подсистема 2650 принятия решения об автоматическом отключении выводит еще один или более управляющих сигналов для выполнения операции автоматического отключения.
Посредством выполнения операции автоматического отключения может быть предотвращен разряд блока 2110 питания устройства 500 для курения содержащей никотин э-сигареты, возникающий в результате отображения неисправности в течение длительного периода.
Возвращаясь к этапу S3730, если событие неисправности не является событием жесткой неисправности вмещающего элемента, то тогда на этапе S3742 подсистема 2650 принятия решения об автоматическом отключении определяет, является ли событие неисправности событием мягкой неисправности устройства. Как упомянуто выше, примером события мягкой неисправности устройства может быть событие неисправности низкого напряжения блока питания, когда напряжение или заряд блока 2110 питания падает ниже минимального порогового уровня. В этом примере подсистема 2630 обнаружения неисправностей может определить, что произошло событие неисправности низкого напряжения блока питания, и может выводить предупреждение о неисправности в подсистему 2650 принятия решения об автоматическом отключении, указывающее на возникновение события неисправности низкого напряжения блока питания. В ответ на предупреждение о неисправности подсистема 2650 принятия решения об автоматическом отключении классифицирует событие неисправности низкого напряжения блока питания как событие мягкой неисправности устройства. В более общем смысле подсистема 2630 обнаружения неисправностей может выводить предупреждение о событии мягкой неисправности устройства в подсистему 2650 принятия решения об автоматическом отключении, указывающее на то, что событие мягкой неисправности устройства произошло в устройстве 500 для курения содержащей никотин э-сигареты.
Если подсистема 2650 принятия решения об автоматическом отключении идентифицирует событие неисправности как событие мягкой неисправности устройства, то тогда на этапе S374 подсистема 2650 принятия решения об автоматическом отключении выполняет одно или более последующих действий для события мягкой неисправности устройства.
Как показано на фиг. 33А и фиг. 33В, по меньшей мере в одном примерном варианте осуществления на этапе S3744 подсистема 2650 принятия решения об автоматическом отключении выводит один или более сигналов состояния питания устройства для инициирования/выполнения операции отключения парения и/или операции автоматического отключения. Подсистема 2650 принятия решения об автоматическом отключении может определить, следует ли инициировать операцию отключения парения и/или операцию автоматического отключения на основании текущего напряжения блока питания. Например, если напряжение блока 2110 питания меньше первого порогового уровня, то тогда подсистема 2650 принятия решения об автоматическом отключении может инициировать операцию отключения парения. Однако, если напряжение блока 2110 питания падает ниже второго порогового уровня, который ниже первого порогового уровня, то тогда подсистема 2650 принятия решения об автоматическом отключении может инициировать операцию автоматического отключения.
На этапе S3746 подсистема 2650 принятия решения об автоматическом отключении регистрирует или сохраняет возникновение события мягкой неисправности устройства в запоминающем устройстве 2130. Подсистема 2650 принятия решения об автоматическом отключении может регистрировать или сохранять возникновение мягкой неисправности устройства таким же или по существу таким же образом, как рассмотрено выше в отношении этапа S3726.
На этапе S3748 подсистема 2650 принятия решения об автоматическом отключении управляет индикаторами 2135 для вейпера для вывода индикации того, что произошло событие мягкой неисправности устройства. Подсистема 2650 принятия решения об автоматическом отключении может управлять индикаторами 2135 для вейпера для вывода индикации таким же или по существу таким же образом, как рассмотрено выше в отношении этапа S3727.
На этапе S3750 подсистема 2650 принятия решения об автоматическом отключении определяет, было ли выполнено корректирующее действие (например, взрослым вейпером в течение порогового интервала времени) в ответ на событие мягкой неисправности устройства. В примере, в котором событие мягкой неисправности устройства является событием неисправности низкого напряжения блока питания, корректирующее действие может включать зарядку блока 2110 питания выше первого порогового уровня.
Если подсистема 2650 принятия решения об автоматическом отключении определяет, что было выполнено корректирующее действие (например, напряжение блока 2110 питания увеличилось выше первого (минимального) порогового уровня), то процесс переходит к этапу S3729, на котором устройство 500 для курения содержащей никотин э-сигареты возвращается к нормальной работе. В этом случае подсистема 2650 принятия решения об автоматическом отключении может разрешить контроллеру 2105 выйти из спящего состояния (например, если выполняется операция автоматического отключения) и/или включить функции парения в устройстве 500 для курения содержащей никотин э-сигареты, как рассмотрено выше в отношении этапа S3729.
Возвращаясь к этапу S3750, если корректирующее действие не выполнено в ответ на событие мягкой неисправности устройства, то тогда процесс возвращается к S3748, а индикация события мягкой неисправности устройства постоянно выводится взрослому вейперу до тех пор, пока не будет выполнено корректирующее действие или устройство 500 для курения содержащей никотин э-сигареты не будет отключено вручную. В случае, если операция автоматического отключения инициирована на этапе S3744, индикация события мягкой неисправности устройства может быть повторно выведена через индикаторы 2135 для вейпера в ответ на взаимодействие взрослого вейпера с устройством 500 для курения содержащей никотин э-сигареты (например, нажатие одной или более кнопок на устройстве), пока не будет выполнено корректирующее действие.
Возвращаясь к этапу S3742, если подсистема 2650 принятия решения об автоматическом отключении определяет, что событие неисправности не является событием мягкой неисправности устройства, то тогда подсистема 2650 принятия решения об автоматическом отключении определяет, что событие неисправности является событием жесткой неисправности устройства на этапе S3754. Как рассмотрено выше, события жесткой неисправности устройства могут включать события неисправности зарядки блока питания, наличие тока, протекающего через нагреватель, когда он не находится в состоянии парения («неожиданный ток нагревателя»), и неисправности температуры блока питания, указывающие на то, что температура блока 2110 питания находится за пределами допустимого диапазона, их комбинацию или т.п. «Неожиданный ток нагревателя» представляет собой событие жесткой неисправности устройства, при котором программное обеспечение (или аппаратное обеспечение) оставило питание в нагревателе 336 (например, после того, как условия для парения больше не присутствуют в устройстве 500 для курения содержащей никотин э-сигареты), и является примером того, почему происходит сброс устройства 500 для курения содержащей никотин э-сигареты на этапе S3768 как часть его последующих действий.
Согласно по меньшей мере одному примерному варианту осуществления подсистема 2650 принятия решения об автоматическом отключении может определить, что произошла неисправность температуры блока питания на основании того, является ли расчетная температура блока 2110 питания выше или равна максимальному пороговому значению температуры блока питания или ниже или равна минимальному пороговому значению температуры блока питания. Подсистема 2650 принятия решения об автоматическом отключении может оценивать температуру блока 2110 питания на основании выходных данных схемы 21254 измерения температуры блока питания, что будет рассмотрено более подробно ниже.
Если подсистема 2650 принятия решения об автоматическом отключении идентифицирует событие неисправности как событие жесткой неисправности устройства, то тогда на этапе S376 подсистема 2650 принятия решения об автоматическом отключении выполняет одно или более последующих действий для события жесткой неисправности устройства.
Как показано на фиг. 33А и фиг. 33В, в по меньшей мере одном примерном варианте осуществления в ответ на событие жесткой неисправности устройства на этапе S3756 подсистема 2650 принятия решения об автоматическом отключении инициирует/выполняет одну или более операции отключения парения, операции остановки зарядного устройства и/или операции автоматического отключения.
На этапе S3758 подсистема 2650 принятия решения об автоматическом отключении регистрирует или сохраняет возникновение события жесткой неисправности устройства в запоминающем устройстве 2130. Подсистема 2650 принятия решения об автоматическом отключении может регистрировать или сохранять возникновение события жесткой неисправности устройства таким же или по существу таким же образом, как рассмотрено выше в отношении этапа S3726.
На этапе S3760 подсистема 2650 принятия решения об автоматическом отключении инициирует таймер сброса. Таймер сброса может быть интервалом времени, по истечении которого подсистема 2650 принятия решения об автоматическом отключении заставляет устройство 500 для курения содержащей никотин э-сигареты выполнить мягкий (программный) сброс. В этом случае таймер сброса может быть таймером обратного отсчета, выполняемым с использованием схемы 2128 синхронизации.
На этапе S3762 подсистема 2650 принятия решения об автоматическом отключении управляет индикаторами 2135 для вейпера для вывода индикации того, что произошло событие жесткой неисправности устройства. Подсистема 2650 принятия решения об автоматическом отключении может управлять индикаторами 2135 для вейпера для вывода индикации таким же или по существу таким же образом, как рассмотрено выше в отношении этапа S3727.
После вывода индикации на этапе S3764 подсистема 2650 принятия решения об автоматическом отключении определяет, истек ли таймер сброса на этапе S3764, инициированный на этапе S3760.
Если таймер сброса истек, то тогда на этапе S3768 подсистема 2650 принятия решения об автоматическом отключении выполняет мягкий сброс устройства 500 для курения содержащей никотин э-сигареты в попытке устранить событие жесткой неисправности устройства. Мягкий сброс может включать закрытие всех программных приложений, запущенных на контроллере 2105, возможно очистку оперативной памяти (RAM) и/или любой постоянной памяти, и перезапуск устройства 500 для курения содержащей никотин э-сигареты.
Хотя это рассмотрено в отношении мягкого сброса, сброс на этапе S3768 может быть мягким (программным) сбросом, жестким (аппаратным) сбросом или сбросом по включению питания (POR).
После выполнения мягкого сброса на этапе S3770 подсистема 2650 принятия решения об автоматическом отключении определяет, было ли устранено событие жесткой неисправности устройства (например, мягкий сброс исправил состояние неисправности).
Если событие жесткой неисправности устройства было устранено с помощью мягкого сброса на этапе S3768, то тогда процесс переходит к этапу S3729 и подсистема 2650 принятия решения об автоматическом отключении возвращает устройство 500 для курения содержащей никотин э-сигареты к нормальной работе, например, посредством включения зарядки, включения парения и т.д., при необходимости.
Согласно одному или более примерным вариантам осуществления событие жесткой неисправности устройства может по меньше мере охватывать непредвиденные случаи (например, аварийные завершения программного обеспечения), которые обычно можно восстановить только путем выполнения сброса.
Возвращаясь к этапу S3770, если событие жесткой неисправности устройства не было устранено с помощью мягкого сброса на этапе S3768, то тогда на этапе S3772 подсистема 2650 принятия решения об автоматическом отключении приводит к отключению устройства 500 для курения содержащей никотин э-сигареты. В этом примере, подобно операции автоматического отключения, подсистема 2650 принятия решения об автоматическом отключении может выводить один или более сигналов состояния питания устройства в подсистемах устройства 500 для курения содержащей никотин э-сигареты, чтобы отключить устройство 500 для курения содержащей никотин э-сигареты.
Согласно по меньшей мере одному примерному варианту осуществления сброс на этапе S3768 может быть предпринят трижды, прежде чем отключить устройство 500 для курения содержащей никотин э-сигареты на этапе S3772.
Согласно по меньшей мере некоторым другим примерным вариантам осуществления, если с трех попыток сброса не удается устранить событие жесткой неисправности устройства, то тогда подсистема 2650 принятия решения об автоматическом отключении может установить постоянный бит в запоминающем устройстве, который предотвращает включение устройства 500 для курения содержащей никотин э-сигареты.
Возвращаясь теперь к этапу S3764, если таймер сброса не истек, то тогда подсистема 2650 принятия решения об автоматическом отключении определяет, было ли выполнено корректирующее действие на этапе S3766.
В примере, в котором событием жесткой неисправности устройства является неисправность температуры блока питания, корректирующее действие может включать перемещение устройства 500 для курения содержащей никотин э-сигареты в более теплое место (в случае, если температура блока питания падает ниже минимального порогового значения) или перемещение устройства 500 для курения содержащей никотин э-сигареты в более прохладное место (в случае, если температура блока питания поднимается выше максимального порогового значения). В этом примере подсистема 2650 принятия решения об автоматическом отключении может определить, было ли выполнено корректирующее действие на основании того, повышается или понижается температура блока 2110 питания при необходимости.
Если корректирующее действие было выполнено, то тогда процесс переходит к этапу S3729 и продолжается, как рассмотрено выше.
Возвращаясь к этапу S3766, если таймер сброса не истек и корректирующее действие еще не было выполнено, то тогда процесс возвращается к S3762, а индикация события жесткой неисправности устройства постоянно выводится до тех пор, пока не будет выполнено корректирующее действие или устройство 500 для курения содержащей никотин э-сигареты не будет отключено вручную. Затем процесс продолжается, как рассмотрено в настоящем документе.
На фиг. 34 показан примерный вариант осуществления схемы 21252 измерения напряжения нагревателя.
Как показано на фиг. 34, схема 21252 измерения напряжения нагревателя включает резистор 3702 и резистор 3704, соединенные в конфигурации делителя напряжения между клеммой, выполненной с возможностью приема сигнала входного напряжения COIL_OUT, и заземлением. Сигнал входного напряжения COIL_OUT это напряжение на входе (напряжение на входной клемме) нагревателя 336. Узел N3716 между резистором 3702 и резистором 3704 подключен к положительному входу операционного усилителя (Op-Amp) 3708. Конденсатор 3706 подключен между узлом N3716 и заземлением для формирования схемы фильтра нижних частот (R/C фильтр) для стабилизации напряжения на входе, подаваемого на положительный вход операционного усилителя 3708. Схема фильтра может также уменьшить неточность из-за помех переключения, вызванных сигналами PWM, используемыми для питания нагревателя 336, и иметь одинаковую фазовую характеристику/групповую задержку как для тока, так и для напряжения.
Схема 21252 измерения напряжения нагревателя дополнительно включает резисторы 3710 и 3712 и конденсатор 3714. Резистор 3712 подключен между узлом N3718 и клеммой, выполненной с возможностью приема сигнала выходного напряжения COIL_RTN. Сигнал выходного напряжения COIL_RTN это напряжение на выходе (напряжение на выходной клемме) нагревателя 336.
Резистор 3710 и конденсатор 3714 подключены параллельно между узлом N3718 и выходом операционного усилителя 3708. Отрицательный вход операционного усилителя 3708 также подключен к узлу N3718. Резисторы 3710 и 3712 и конденсатор 3714 соединены в конфигурации схемы фильтра нижних частот.
Схема 21252 измерения напряжения нагревателя использует Op-Amp 3708 для измерения разности напряжений между сигналом входного напряжения COIL_OUT и сигналом выходного напряжения COIL_RTN, и вывода масштабированного сигнала измерения напряжения нагревателя COIL_VOL, который представляет напряжение по всему нагревателю 336. Схема 21252 измерения напряжения нагревателя выводит масштабированный сигнал измерения напряжения нагревателя COIL_VOL на вывод ADC контроллера 2105 для цифровой выборки и измерения контроллером 2105.
Коэффициент усиления Op-Amp 3708 может быть установлен на основании окружающих пассивных электрических элементов (например, резисторов и конденсаторов) для улучшения динамического диапазона измерения напряжения. В одном примере динамический диапазон Op-Amp 3708 может быть достигнут путем масштабирования напряжения таким образом, чтобы максимальный выход напряжения соответствовал максимальному диапазону входного сигнала ADC (например, приблизительно 1,8 В). В по меньшей мере одном примерном варианте осуществления масштабирование может составлять приблизительно 267 мВ/В и следовательно схема 21252 измерения напряжения нагревателя может измерять приблизительно до 1,8 В/0,267 В=6,74 В.
На фиг. 35 показан примерный вариант осуществления схемы 21258 измерения тока нагревателя, показанного на фиг. 29.
Как показано на фиг. 35, сигнал выходного напряжения COIL_RTN поступает на вход четырехклеммного (4Т) измерительного резистора 3802, подключенного к заземлению. Дифференциальное напряжение на четырехклеммном измерительном резисторе 3802 масштабировано Op-Amp 3806, который выводит сигнал измерения тока нагревателя COIL_CUR, указывающий на ток через нагреватель 336. Сигнал измерения тока нагревателя COIL_CUR выводится на вывод ADC контроллера 2105 для цифровой выборки и измерения тока черев нагреватель 336 в контроллере 2105.
В примерном варианте осуществления, показанном на фиг. 35, четырехклеммный измерительный резистор 3802 может быть использован для уменьшения погрешности измерения тока с использованием метода «Измерения тока по Кельвину». В этом примере разделение пути измерения тока от пути измерения напряжения может уменьшить помехи на пути измерения напряжения.
Коэффициент усиления Op-Amp 3806 может быть установлен для улучшения динамического диапазона измерения. В этом примере масштабирование Op-Amp 3806 может составлять приблизительно 0,577 В/А, и следовательно схема 21258 измерения тока нагревателя может измерять до приблизительно 
Как показано на фиг. 35 более подробно, первая клемма четырехклеммного измерительного резистора 3802 соединена с клеммой нагревателя 336 для приема сигнала выходного напряжения COIL_RTN. Вторая клемма четырехклеммного измерительного резистора 3802 подключена к заземлению. Третья клемма четырехклеммного измерительного резистора 3802 подключена к схеме фильтра нижних частот (R/C фильтр), включающей резистор 3804, конденсатор 3808 и резистор 3810. Выход схемы фильтра нижних частот подключен к положительному входу Op-Amp 3806. Схема фильтра нижних частот может уменьшить неточность из-за помех переключения, вызванных сигналами PWM, подаваемыми для питания нагревателя 336, и может также иметь одинаковую фазовую характеристику/групповую задержку как для тока, так и для напряжения.
Схема 21258 измерения тока нагревателя дополнительно включает резисторы 3812 и 3814 и конденсатор 3816. Резисторы 3812 и 3814 и конденсатор 3816 подключены к четвертой клемме четырехклеммного измерительного резистора 3802, отрицательный вход Op-Amp 3806 и выход Op-Amp 3806 в конфигурации схемы фильтра нижних частот, при этом выход схемы фильтра нижних частот соединен с отрицательным входом Op-Amp 3806.
Op-Amp 3806 выводит дифференциальное напряжение в виде сигнала измерения тока нагревателя COIL_CUR на вывод ADC контроллера 2105 для выборки и измерения тока через нагреватель 336 с помощью контроллера 2105.
Согласно по меньшей мере этому примерному варианту осуществления конфигурация схемы 21258 измерения тока нагревателя подобна конфигурации схемы 21252 измерения напряжения нагревателя, за исключением того, что схема фильтра нижних частот, включающая резисторы 3804 и 3810 и конденсатор 3808, подключена к клемме четырехклеммного измерительного резистора 3802, а схема фильтра нижних частот, включающая резисторы 3812 и 3814 и конденсатор 3816, подключена к другой клемме четырехклеммного измерительного резистора 3802.
Контроллер 2105 может усреднять множество выборок (например, напряжения) за временной промежуток (например, приблизительно 1 мс), соответствующий времени «тиканья», используемого в устройстве 500 для курения содержащей никотин э-сигареты, и преобразуют среднее значение в математическое представление напряжения и тока на нагревателе 336 путем применения масштабного значения. Масштабное значение может быть определено на основании настроек коэффициента усиления, реализованных в соответствующих Op-Amp, которые могут быть конкретными для аппаратного обеспечения устройства 500 для курения содержащей никотин э-сигареты.
Контроллер 2105 может фильтровать преобразованные измерения напряжения и тока, используя, например, фильтр скользящего среднего с тремя отводами для ослабления помех измерения. Затем контроллер 2105 может использовать отфильтрованные измерения для расчета: сопротивления RHEATER нагревателя 336
мощности PHEATER, подаваемой на нагреватель 336
тока блока питания
где
или т.п. Эффективность представляет собой отношение мощности Pв подаваемой на нагреватель 336 при всех условиях эксплуатации. В одном примере Эффективность может составлять по меньше мере 85 процентов.
Согласно одному или более примерным вариантам осуществления настройки коэффициента усиления пассивных элементов схем, показанных на фиг. 34 и/или фиг. 35, могут быть отрегулированы для соответствия диапазона выходного сигнала с диапазоном входного сигнала контроллера 2105.
Подсистема 2630 обнаружения неисправностей может использовать измерения напряжения нагревателя и/или измерения тока нагревателя, чтобы определить, например, произошло ли событие жесткой неисправности вмещающего элемента, такое как неисправность разомкнутой цепи в нагревателе 336.
На фиг. 36 и фиг. 37 показаны схемы измерения температуры вмещающего элемента согласно примерным вариантам осуществления.
Как показано на фиг. 36, схема 21250А измерения температуры вмещающего элемента включает предоконечный каскад 3902А и измерительный каскад 3904А. Предоконечный каскад 3902А выполнен с возможностью генерирования сигнала мощности измерения температуры вмещающего элемента HW_POWER для подачи питания на датчик 2220 вмещающего элемента в ответ на управляющий сигнал измерения температуры вмещающего элемента HW_ENB. Сигнал мощности измерения температуры вмещающего элемента HW_POWER может быть сигналом PWM. Измерительный каскад 3904А выполнен с возможностью генерирования выходного сигнала измерения температуры вмещающего элемента HW_SIGNAL на основании сигнала сравнения DAC HW_DAC от DAC (не показан) в контроллере 2105 и сигнала датчика вмещающего элемента SP_HW от датчика 2220 вмещающего элемента. Выходной сигнал измерения температуры вмещающего элемента HW_SIGNAL может быть сигналом дифференциального напряжения, указывающим на температуру одного или более элементов (например, нагревателя 336) вмещающего элемента в сборе 300 для никотина. Ввод и вывод из примерного варианта осуществления датчика 2220 вмещающего элемента будут рассмотрены более подробно ниже.
Более подробно в отношении фиг. 36 предоконечный каскад 3902А принимает управляющий сигнал измерения температуры вмещающего элемента HW_ENB от контроллера 2105. В этом примере управляющий сигнал измерения температуры вмещающего элемента HW_ENB может быть сигналом PWM, имеющим рабочий цикл, регулируемый контроллером 2105 для изменения мощности на основании сигнала датчика вмещающего элемента SP_HW от датчика 2220 вмещающего элемента. Когда подтвержден (активен) управляющий сигнал измерения температуры вмещающего элемента HW_ENB, предоконечный каскад 3902А может быть включен и может выводить сигнал мощности измерения температуры вмещающего элемента HW_POWER, в противном случае вывод предоконечного каскада 3902А может быть отключен.
Управляющий сигнал измерения температуры вмещающего элемента HW_ENB вводят на разрешающий вывод EN регулятора с малым падением напряжения (LDO) U10, который преобразует управляющий сигнал измерения температуры вмещающего элемента HW_ENB, который представляет собой сигнал процессора с низким уровнем приводной мощности по току в сигнал мощности измерения температуры вмещающего элемента HW_POWER, который представляет собой сигнал PWM с высоким уровнем приводной мощности по току.
Резистор R80 подключен в качестве резистора понижения уровня между разрешающим выводом EN LDO U10 и заземлением для гарантирования того, что вывод предоконечного каскада 3902А отключен, если управляющий сигнал измерения температуры вмещающего элемента HW_ENB находится в неопределенном состоянии.
Предоконечный каскад 3902А дополнительно включает конденсаторы С43 и С44. Конденсатор С44 подключен к входному выводу LDO U10 и источнику напряжения для предоставления резервуара и фильтра, что может повысить скорость, с которой сигнал мощности измерения температуры вмещающего элемента HW_POWER достигает своего напряжения включения. Конденсатор С43 подключен между выходным выводом и заземлением для предоставления фильтрации и резервуара для сигнала мощности измерения температуры вмещающего элемента HW_POWER.
Резисторы R60 и R61 образуют сеть 39028 обратной связи в виде цепи делителя напряжения. Сеть 39028 обратной связи выводит напряжение обратной связи на регулировочную клемму ADJ или на клемму ADJ обратной связи LDO U10. IDOL U10 устанавливает точный выход напряжения сигнала мощности измерения температуры вмещающего элемента HW_POWER на основании напряжения обратной связи, подаваемого на клемму ADJ обратной связи. Согласно по меньшей мере некоторым примерным вариантам осуществления связь между точным выходом напряжения для сигнала мощности измерения температуры вмещающего элемента HW_POWER и выходом напряжения обратной связи задается
В этом примере сопротивления резисторов R60 и R61 имеют известные сопротивления, а напряжение VADJ также известно на основании типа LDO U10.
На измерительном каскаде 3904А сигнал датчика вмещающего элемента SP_HW от датчика 2220 вмещающего элемента подается на отрицательный вход Op-Amp U11A через резистор R66 для усиления масштабирования напряжения сигнала датчика вмещающего элемента SP_HW для измерения ADC на контроллере 2105. Op-Amp U11A представляет собой инвертирующий усилители с коэффициентом усиления согласно сопротивлению резистора R66 и сопротивлению резистора R67, которые подключены между отрицательным входом и выходом Op-Amp U11A. Конденсатор С47 подключен параллельно с резистором R67 для формирования схемы фильтра нижних частот для отфильтровывания высокочастотных помех из сигнала датчика вмещающего элемента SP_HW.
Сигнал сравнения DAC HW_DAC от DAC на контроллере 2105 подают на положительный вход Op-Amp U11A через цепь 39042 делителя напряжения, включающую резисторы R63 и R64. Сигнал сравнения DAC HW_DAC устанавливает уровень опорного напряжения для Op-Amp U11A, который фактически выбирает дифференциальное напряжение, подаваемое на Op-Amp U11A, и подавляет или предотвращает насыщение Op-Amp U11A. Другими словами, сигнал сравнения DAC HW_DAC устанавливает рабочую точку для Op-Amp U11A для подавления насыщения выходного сигнала измерения температуры вмещающего элемента HW_SIGNAL, выводимого Op-Amp U11A. Цепь 39042 делителя напряжения уменьшает каждый шаг DAC в напряжении для обеспечения более точного управления настройкой диапазона. Отношение резисторов R63 и R64 может быть примерно таким, как у балансировочного резистора и датчика 2220 вмещающего элемента (например, при его максимальной температуре). Конденсатор С46 подключен параллельно с резистором R64 для формирования схемы фильтра нижних частот для отфильтровывания помех из сигнала сравнения DAC HW_DAC. Резистор R69 подключен между выходом цепи 39042 делителя напряжения и положительным входом Op-Amp U11A.
Сигнал датчика вмещающего элемента SP_HW от датчика 2220 вмещающего элемента может иметь относительно небольшой уровень напряжения (например, приблизительно 2 мВ), и следовательно относительно высокий коэффициент усиления Op-Amp U11A можно использовать для соответствия сигнала измерения температуры вмещающего элемента HW_SIGNAL с динамическим диапазоном сигнала ADC на контроллере 2105 (например, приблизительно 1,8 В). Соответственно Op-Amp U11A усиливает сигнал датчика вмещающего элемента SP_HW и выводит усиленный сигнал в качестве выходного сигнала измерения температуры вмещающего элемента HW_SIGNAL на ADC для выборки и измерения в контроллере 2105.
Как показано на фиг. 37, схема 21250 В измерения температуры вмещающего элемента включает предоконечный каскад 3902 В и измерительный каскад 3904В. В примерном варианте осуществления, показанном на фиг. 37, предоконечный каскад 3902В и измерительный каскад 3904В подобны предоконечному каскаду 3902А и измерительному каскаду 3904А, соответственно, показанным на фиг. 36, за исключением того, что предоконечный каскад 3902В дополнительно включает измерительный балансировочный резистор R93 и емкость конденсатора С43 может быть уменьшена на величину для увеличения времени нарастания/спада сигнала датчика вмещающего элемента SP_HW. По меньшей мере в одном примере измерительный балансировочный резистор R93 может иметь сопротивление приблизительно 3 Ом и может быть перемещен из электрической системы 2200 вмещающего элемента в сборе для никотина в электрическую систему 2100 основной части устройства для снижения стоимости вмещающего элемента в сборе 300 для никотина. Дополнительно, в по меньшей мере примерном варианте осуществления, показанном на фиг. 37, пассивные элементы могут быть расположены и отрегулированы для настройки коэффициентов усиления таким образом, чтобы диапазон выходного сигнала соответствовал диапазону входного сигнала контроллера 2105.
Согласно одному или более примерным вариантам осуществления подсистема 2630 обнаружения неисправностей может использовать измерения температуры в контроллере 2105, чтобы, например, оценить температуру нагревателя 336 или другой части вмещающего элемента в сборе 300 для никотина и определить, произошло ли событие мягкой неисправности вмещающего элемента (например, событие неисправности температуры нагревателя).
На фиг. 38 показана принципиальная схема, иллюстрирующая схему управления модулем нагрева согласно примерному варианту осуществления. Схема управления модулем нагрева, показанная на фиг. 38, является примером схемы 2127 управления модулем нагрева, показанной на фиг. 29.
Как показано на фиг. 38, схема 2127А управления модулем нагрева включает зарядовый насос U2 CMOS, выполненный с возможностью подачи шины питания (например, шина питания приблизительно 7В (7V_СР)) на одну или более интегральных схем (ICs) запускающего устройства затвора для управления силовыми FET (схема управления мощностью нагревателя, также называемая схемой синхронизации модуля нагрева или компоновкой схем, не показана на фиг. 38), которые питают нагреватель 336 во вмещающем элементе в сборе 300 для никотина.
В примерной работе зарядовый насос U2 управляется (выборочно активируется или деактивируется) на основании сигнала отключения парения COIL_SHDN (сигнал состояния питания устройства; также называемый сигналом включения парения) от контроллера 2105. В примере, показанном на фиг. 38, зарядовый насос U2 активируется в ответ на вывод сигнала отключения парения COIL_SHDN, имеющего низкий логический уровень, и деактивируется в ответ на вывод сигнала отключения катушки COIL-SHDN, имеющего высокий логический уровень. Как только шина питания 7V_CP стабилизировалась после активации зарядового насоса U2 (например, по истечении интервала времени установления), контроллер 2105 может включить сигнал активации нагревателя GATE_ON для подачи питания на схему управления мощностью нагревателя и нагреватель 336.
Согласно по меньшей мере одному примерному варианту осуществления контроллер 2105 (или подсистема 2650 принятия решения об автоматическом отключении) может выполнить операцию отключения парения посредством вывода (включения) сигнала отключения парения COIL_SHDN, имеющего высокий логический уровень, для отключения всего питания нагревателя 336 до тех пор, пока сигнал отключения парения COIL_SHDN не будет отключен (переведен на низкий логический уровень) контроллером 2105.
Контроллер 2105 может выводить сигнал активации нагревателя GATE_ON (другой сигнал состояния питания устройства), имеющий высокий логический уровень, в ответ на обнаружение наличия условий для парения в устройстве 500 для курения содержащей никотин э-сигареты. В этом примерном варианте осуществления транзисторы (например, полевые транзисторы (FET)) Q5 и Q7A' активируются тогда, когда контроллер 2105 включает сигнал активации нагревателя GATE_ON до высокого логического уровня. Контроллер 2105 может выводить сигнал активации нагревателя GATE_ON, имеющий низкий логический уровень, для отключения питания нагревателя 336, тем самым выполняя операцию отключения нагревателя.
Если происходит событие неисправности силового каскада (событие жесткой неисправности устройства), где транзисторы Q5 и Q7A' не реагируют на сигнал активации нагревателя GATE_ON, то тогда контроллер 2105 может выполнить операцию отключения парения посредством вывода сигнала отключения парения COIL_SHDN, имеющего высокий логический уровень, для отключения питания запускающего устройства затвора, который, в свою очередь, также отключает питание нагревателя 336.
В другом примере, если контроллеру 2105 не удается загрузиться должным образом, что приводит к тому, что сигнал отключения парения COIL_SHDN имеет неопределенное состояние (неисправность загрузки), то тогда схема 2127А управления модулем нагрева автоматически переводит сигнал отключения парения COIL_SHDN на высокий логический уровень, чтобы автоматически отключить питание нагревателя 336.
Более подробно в отношении фиг. 38, конденсатор С9, зарядовый насос U2 и конденсатор С10 подключены в конфигурации удвоителя положительного напряжения. Конденсатор С9 подключен между выводами С- и С+ зарядового насоса U2 и служит в качестве резервуара для зарядового насоса U2. Вывод входного напряжения VIN зарядового насоса U2 подключен к источнику напряжения ВАТТ в узле N3801, а конденсатор СЮ подключен между заземлением и выводом выходного напряжения VOUT зарядового насоса U2 в узле N3802. Конденсатор СЮ предоставляет фильтр и резервуар для выходных данных от зарядового насоса U2, что может обеспечить более стабильное выходное напряжение от зарядового насоса U2.
Конденсатор С11 подключен между узлом N3801 и заземлением для предоставления фильтра и резервуара для входного напряжения зарядовому насосу U2.
Резистор R10 подключен между источником положительного напряжения и выводом отключения SHDN. Резистор R10 служит в качестве резистора повышения уровня для обеспечения высокого уровня на входе на выводе отключения SHDN, тем самым отключая выход (VOUT) зарядового насоса U2 и отключая питание нагревателя 336, когда сигнал отключения парения COIL_SHDN находится в неопределенном состоянии.
Резистор R43 подключен между заземлением и затвором транзистора Q7A' в узле N3804. Резистор R43 служит в качестве резистора понижения уровня для обеспечения того, чтобы транзистор Q7A' находился в высокоимпедансном (отключенном) состоянии, тем самым отключая шину питания 7V_CP и отключая питание нагревателя 336, если сигнал активации нагревателя GATE_ON находится в неопределенном состоянии.
Резистор R41 подключен между узлом N3802 и узлом N3803 между затвором транзистора Q5 и стоком транзистора Q7A'. Резистор R41 служит в качестве резистора понижения уровня для обеспечения более надежного отключения транзистора Q5.
Транзистор Q5 выполнен таким образом, чтобы выборочно изолировать шину питания 7V_CP от вывода VOUT зарядового насоса U2. Затвор транзистора Q5 подключен к узлу N3803, сток транзистора Q5 подключен к клемме выходного напряжения VOUT зарядового насоса U2 в узле N3802, а источник транзистора Q5 служит в качестве выходной клеммы для шины питания 7V_СР. Данная конфигурация позволяет конденсатору С10 быстрее достигать рабочего напряжения посредством изоляции нагрузки и создает отказоустойчивость, поскольку и сигнал отключения парения COIL_SHDN, и сигнал активации нагревателя GATE_ON должны находиться в правильном состоянии для подачи питания на нагреватель 336.
Транзистор Q7A выполнен с возможностью управления работой транзистора Q5 на основании сигнала активации нагревателя GATE_ON. Например, когда сигнал активации нагревателя GATE_ON имеет высокий логический уровень (например, выше ~2В), транзистор Q7A находится в своем низкоимпедансном (включенном) состоянии, что приводит к заземлению затвора транзистора Q5, тем самым приводит к переходу транзистора Q5 в низкоимпедансное (включенное) состояние. В этом случае схема 2127А управления модулем нагрева выводит шину питания 7V_CP на схему синхронизации модуля нагрева (не показана), тем самым обеспечивая подачу питания на нагреватель 336.
Если сигнал активации нагревателя GATE_ON имеет низкий логический уровень, то тогда транзистор Q7A переходит в высокоимпедансное (отключенное) состояние, что приводит к разрядке затвора транзистора Q5 через резистор R41, тем самым переводя транзистор Q5 в высокоимпедансное (отключенное) состояние. В этом случае шина питания 7V_CP не выведена, а питание схемы синхронизации модуля нагрева (и нагревателя 336) отключено.
В примере, показанном на фиг. 38, поскольку транзистору Q5 требуется напряжение затвора такое же высокое, как напряжение источника (~7В), чтобы находиться в высокоимпедансном (отключенном) состоянии, контроллер 2105 не управляет транзистором Q5 напрямую. Транзистор Q7A предоставляет механизм для управления транзистором Q5 на основании более низкого напряжения от контроллера 2105.
На фиг. 39 показана принципиальная схема, иллюстрирующая Другую схему управления модулем нагрева согласно примерному варианту осуществления. Схема управления модулем нагрева, показанная на фиг. 39, является другим примером схемы 2127 управления модулем нагрева, показанной на фиг. 29.
Как показано на фиг. 39, схема 2127В управления модулем нагрева включает схему 39020 преобразователя шины (также называемую схемой повышающего преобразователя) и схему 39040 запускающего устройства затвора. Схема 39020 преобразователя шины выполнена с возможностью вывода сигнала напряжения 9V_GATE (также называемого сигналом мощности или сигналом входного напряжения) для питания схемы 39040 запускающего устройства затвора на основании сигнала включения парения COIL_VGATE_PWM (также называемого сигналом отключения парения). Схема 39020 преобразователя шины может быть определена программным обеспечением, при этом сигнал включения парения COIL_VGATE_PWM используют для регулирования выходного сигнала 9V_GATE.
Схема 39040 запускающего устройства затвора использует сигнал входного напряжения 9V_GATE от схемы 39020 преобразователя шины для приведения в действие схемы 3906 синхронизации модуля нагрева.
В примерном варианте осуществления, показанном на фиг. 39, схема 39020 преобразователя шины генерирует сигнал входного напряжения 9V_GATE только в том случае, если подтвержден (присутствует) сигнал включения парения COIL_VGATE_PWM. Контроллер 2105 может отключить шину в 9В, чтобы отключить питание схемы 39040 запускающего устройства затвора посредством отмены подтверждения (прекращения или завершения) сигнала включения парения COIL_VGATE_PWM. Подобно сигналу отключения парения COIL_SHDN в примерном варианте осуществления, показанном на фиг. 38, сигнал включения парения COIL_VGATE_PWM может служить в качестве сигнала состояния питания устройства для выполнения операции отключения парения в устройстве 500 для курения содержащей никотин э-сигареты. В этом примере контроллер 2105 может выполнить операцию отключения парения посредством отмены подтверждения сигнала включения парения COIL_VGATE_PWM, тем самым отключая все питание схемы 39040 запускающего устройства затвора, схемы 3906 синхронизации модуля нагрева и нагревателя 336. Затем контроллер 2105 может включить парение в устройстве 500 для курения содержащей никотин э-сигареты посредством повторного подтверждения сигнала включения парения COIL_VGATE_PWM в схему 39020 преобразователя шины.
Подобно сигналу активации нагревателя GATE_ON на фиг. 38, контроллер 2105 может выводить первый сигнал включения нагревателя GATE_ENB, имеющий высокий логический уровень, для включения питания схемы 3906 синхронизации модуля нагрева и нагревателя 336 в ответ на обнаружение условий для парения в устройстве 500 для курения содержащей никотин э-сигареты. Контроллер 2105 может выводить первый сигнал включения нагревателя GATE_ENB, имеющий низкий логический уровень, для отключения питания схемы 3906 синхронизации модуля нагрева и нагревателя 336, тем самым выполняя операцию отключения нагревателя.
Обращаясь более подробно к схеме 39020 преобразователя шины на фиг. 39, конденсатор С36 подключен между источником напряжения ВАТТ и заземлением. Конденсатор С36 служит в качестве резервуара для схемы 39020 преобразователя шины.
Первая клемма индуктора L1006 подключена к узлу Nodel между источником напряжения ВАТТ и конденсатором С36. Индуктор L1006 служит в качестве основного запоминающего элемента схемы 39020 преобразователя шины.
Вторая клемма индуктора L1006, сток транзистора (например, MOSFET в режиме усиления) Q1009 и первая клемма конденсатора С1056 соединены в узле Node2. Источник транзистора Q1009 подключен к заземлению, а затвор транзистора Q1009 выполнен с возможностью приема сигнала включения парения COIL_VGATE_PWM от контроллера 2105.
В примере, показанном на фиг. 39, транзистор Q1009 служит в качестве основного переключающего элемента схемы 39020 преобразователя шины.
Резистор R29 подключен между затвором транзистора Q1009 и заземлением, чтобы действовать как резистор понижения уровня для обеспечения того, что транзистор Q1009 отключится более надежно и что работа нагревателя 336 предотвращается, когда сигнал включения парения COIL_VGATE_PWM находится в неопределенном состоянии.
Вторая клемма конденсатора С1056 соединена с катодом диода Зенера D1012 и анодом диода Зенера D1013 в узле Node3. Анод диода Зенера D1012 подключен к заземлению.
Катод диода Зенера D1013 соединен с клеммой конденсатора С35 и входом цепи делителя напряжения, включающей резисторы R1087 и R1088 в узле Node4. Другая клемма конденсатора С35 подключена к заземлению. Напряжение на узле Node4 также является выходным напряжением 9V_GATE, выводимым из схемы 39020 преобразователя шины.
Резистор R1089 подключен к выходу цепи делителя напряжения в узле Node5.
В примерной работе, когда подтвержден сигнал включения парения COIL_VGATE_PWM и находится на высоком логическом уровне, транзистор Q1009 переключается в низкоимпедансное (включенное) состояние, тем самым позволяя току протекать от источника напряжения ВАТТ и конденсатора С36 к заземлению через индуктор L1006 и транзистор Q1009. Это накапливает энергию в индукторе L1006, при этом ток линейно увеличивается с течением времени.
Когда сигнал включения парения COIL_VGATE_PWM находится на низком логическом уровне, транзистор Q1009 переключается в высокоимпедансное (отключенное) состояние. В этом случае индуктор L1006 поддерживает протекание тока (линейно затухающий), а напряжение в узле Node2 повышается.
Рабочий цикл сигнала включения парения COIL_VGATE_PWM определяет величину повышения напряжения для заданной нагрузки. Соответственно, сигналом включения парения COIL_VGATE_PWM управляет контроллер 2105 в замкнутом контуре, используя сигнал обратной связи COIL_VGATE_FB, выводимый цепью делителя напряжения в узле Node5 в качестве обратной связи. Переключение, описанное выше, происходит с относительно высокой скоростью (например, приблизительно 2 МГц, однако могут быть использованы разные частоты в зависимости от требуемых параметров и значений элементов).
По-прежнему обращаясь к схеме 39020 преобразователя шины на фиг. 39, конденсатор С1056 представляет собой конденсатор связи по переменному току, который обеспечивает блокировку постоянного тока для удаления уровня постоянного тока. Конденсатор С1056 блокирует протекание тока от источника напряжения ВАТТ через индуктор L1006 и диод D1013 к схеме 39040 запускающего устройства затвора, когда сигнал включения парения COIL_VGATE_PWM низкий, чтобы сэкономить срок службы батареи (например, когда устройство 500 для курения содержащей никотин э-сигареты находится в режиме ожидания). Емкость конденсатора С1056 может быть выбрана таким образом, чтобы обеспечить относительно низкий импеданс пути на частоте переключения.
Диод Зенера D1012 устанавливает основной уровень сигнала переключения. Поскольку конденсатор С1056 удаляет уровень постоянного тока, напряжение на узле Node3 обычно может быть биполярным. В одном примере диод Зенера D1012 может зажимать отрицательный полупериод сигнала до приблизительно 0,3 В ниже основного уровня.
Конденсатор С35 служит в качестве выходного резервуара для схемы 39020 преобразователя шины. Диод Зенера D1013 блокирует протекание тока из конденсатора С35 через конденсатор С1056 и транзистор Q1009, когда транзистор Q1009 включен.
Поскольку затухающий ток от индуктора L1006 создает повышение напряжения в узле Node4 между диодом Зенера D1013 и конденсатором С35, ток протекает в конденсатор С35. Конденсатор С35 поддерживает напряжение 9V_GATE, пока энергия накапливается в индукторе L1006.
Цепь делителя напряжения, включающая резисторы R1087 и R1088, снижает напряжение до приемлемого уровня для измерения на ADC в контроллере 2105. Этот сигнал пониженного напряжения выводится как сигнал обратной связи COIL_VGATE_FB.
В схеме, показанной на фиг. 39, напряжение сигнала обратной связи COIL_VGATE_FB масштабируют приблизительно в 0,25 раза, следовательно выходное напряжение в 9 В снижается до приблизительно 2,25 В для ввода в ADC в контроллере 2105.
Резистор R1089 обеспечивает ограничение тока при неисправности перенапряжения на выходе схемы 39020 преобразователя шины (например, в узле Node4) для защиты ADC в контроллере 2105.
Сигнал выходного напряжения в 9 В 9V_GATE выводится из схемы 39020 преобразователя шины в схему 39040 запускающего устройства затвора для питания схемы 39040 запускающего устройства затвора.
Обращаясь теперь более подробно к схеме 39040 запускающего устройства затвора, схема 39040 запускающего устройства затвора включает, среди прочего, встроенное запускающее устройство U2003 затвора, выполненное с возможностью преобразования одного или более слаботочных сигналов от контроллера 2105 в сильноточные сигналы для управления переключением транзисторов (например, MOSFET) схемы 3906 синхронизации модуля нагрева. Встроенное запускающее устройство U2003 затвора также выполнено с возможностью преобразования уровней напряжения от контроллера 2105 в уровни напряжения, требуемые транзисторами схемы 3906 синхронизации модуля нагрева. В примерном варианте осуществления, показанном на фиг. 39, встроенное запускающее устройство U2003 затвора является полумостовым затвором. Однако примерные варианты осуществления не следует ограничивать этим примером.
Более подробно, выходное напряжение в 9 В от схемы 39020 преобразователя шины вводится в схему 39040 запускающего устройства затвора через схему фильтра, включающую резистор R2012 и конденсатор С2009. Схема фильтра, включающая резистор R2012 и конденсатор С2009, подключена к выводу VCC (вывод 4) встроенного запускающего устройства U2003 затвора и аноду диода Зенера S2002 в узле Node6. Вторая клемма конденсатора С2009 подключена к заземлению. Анод диода Зенера D2002 соединен с первой клеммой конденсатора С2007 и повышающим выводом BST (вывод 1) встроенного запускающего устройства U2003 затвора в узле Node7. Вторая клемма конденсатора С2007 подключена к выводу SWN узла переключения (вывод 7) встроенного запускающего устройства U2003 затвора и схемы 3906 синхронизации модуля нагрева (например, между двумя MOSFET) в узле Node8. В примерном варианте осуществления, показанном на фиг. 39, диод Зенера D2002 и конденсатор С2007 образуют часть схемы компенсации и стабилизации накачки заряда, подключенной между выводом VCC входного напряжения и повышающим выводом BST встроенного запускающего устройства U2003 затвора. Посколвку конденсатор С2007 соединен с сигналом входного напряжения в 9 В 9V_GATE от схемы 39020 преобразователя шины, конденсатор С2007 заряжается до напряжения, почти равного сигналу напряжения 9V_GATE через диод D2002.
По-прежнему, как показано на фиг. 39, вывод запускающего устройства затвора с высокой стороны напряжения DRVH (вывод 8), вывод запускающего устройства затвора с низкой стороны напряжения DRVL (вывод 5) и вывод ЕР (вывод 9) встроенного запускающего устройства U2003 затвора также подключены к схеме 3906 синхронизации модуля нагрева.
Резистор R2013 и конденсатор С2010 образуют схему фильтра, подключенную к входному выводу IN (вывод 2) встроенного запускающего устройства U2003 затвора. Схема фильтра выполнена с возможностью удаления высокочастотных помех из второго сигнала включения нагревателя COIL_Z на входной вывод. Второй сигнал включения нагревателя COIL_Z может быть сигналом PWM от контроллера 2105.
Резистор R2014 подключен к схеме фильтра и входному выводу IN в узле Node9. Резистор R2014 используют в качестве резистора понижения уровня, так что, если второй сигнал включения нагревателя COIL_Z является плавающим (или неопределенным), то тогда входной вывод IN встроенного запускающего устройства U2003 затвора удерживается на низком логическом уровне для предотвращения активации схемы 3906 синхронизации модуля нагрева и нагревателя 336.
Первый сигнал включения нагревателя GATE_ENB от контроллера 2105 вводится на вывод OD (вывод 3) встроенного запускающего устройства U2003 затвора. Резистор R2016 подключен к выводу OD встроенного запускающего устройства U2003 затвора в качестве резистора понижения уровня, так что, если первый сигнал включения нагревателя GATE_ENB от контроллера 2105 является плавающим (или неопределенным), то тогда вывод OD встроенного запускающего устройства U2003 затвора удерживается на низком логическом уровне для предотвращения активации схемы 3906 синхронизации модуля нагрева и нагревателя 336.
В примерном варианте осуществления, показанном на фиг. 39, схема 3906 синхронизации модуля нагрева включает транзисторную (например, MOSFET) схему, включающую транзисторы (например, MOSFET) 39062 и 39064, соединенные последовательно между источником напряжения ВАТТ и заземлением. Затвор транзистора 39064 соединен с выводом запускающего устройства затвора со стороны низкого напряжения DRVL (вывод 5) встроенного запускающего устройства U2003 затвора, сток транзистора 39064 соединен с выводом узла переключения SWN (вывод 7) встроенного запускающего устройства U2003 затвора в узле Node8, а источник транзистора 39064 соединен с заземлением GND.
Когда управляющий сигнал затвора со стороны низкого напряжения, выходящий из вывода запускающего устройства затвора со стороны низкого напряжения DRVL, имеет высокий уровень, то транзистор 39064 находится в низкоимпедансном (включенном) состоянии, тем самым соединяя узел Node8 с заземлением.
Как упомянуто выше, поскольку конденсатор С2007 соединен с сигналом входного напряжения в 9 В 9V_GATE от схемы 39020 преобразователя шины, конденсатор С2007 заряжается до напряжения, равного или по существу равного сигналу входного напряжения в 9 В 9V_GATE через диод D2002.
Когда управляющий сигнал затвора со стороны низкого напряжения, выходящий из вывода запускающего устройства затвора со стороны низкого напряжения DRVL, имеет низкий уровень, то транзистор 39064 переключается в высокоимпедансное (отключенное) состояние, а вывод запускающего устройства затвора со стороны высокого напряжения DRVH (вывод 8) внутренне соединен с повышающим выводом BST внутри встроенного запускающего устройства U2003 затвора. В результате транзистор 39062 находится в низкоимпедансном (включенном) состоянии, тем самым подключая SWN узел переключения к источнику напряжения ВАТТ, чтобы подтянуть SINN узел переключения (узел 8) к напряжению источника напряжения ВАТТ.
В этом случае узел Node7 повышается до повышающего напряжения V(BST) ≈ V(9V_GATE) + V(BATT), что позволяет напряжению затвор-исток транзистора 39062 быть таким же или по существу таким же, как напряжение сигнала входного напряжения в 9 В 9V_GATE (например, V(9V_GATE)) вне зависимости (или независимо) от напряжения от источника напряжения ВАТТ. В результате SWN узел переключения (узел 8) предоставляет сильноточный переключаемый сигнал, который можно использовать для генерирования выходного напряжения на нагреватель 336, которое по существу не зависит от напряжения, выходящего из источника напряжения батареи ВАТТ.
На фиг. 40 и фиг. 41 изображены примерные варианты осуществления датчиков измерения температуры, включенных в датчики 2220 вмещающего элемента.
Как показано на фиг. 40, датчик 3600А измерения температуры содержит резистор R3602 и датчик-преобразователь R3604. В по меньшей мере одном примерном варианте осуществления резистор R3602 может иметь фиксированное сопротивление приблизительно 3 Ом. Датчик-преобразователь R3604 может представлять собой резистор, имеющий переменное сопротивление, которое изменяется в зависимости от температуры. Резистор R3602 и датчик-преобразователь R3604 расположены в цепи делителя напряжения, так что напряжение на датчике-преобразователе R3604 (напряжение на измерительном узле N3606) может быть выведено в схему 21250 измерения температуры вмещающего элемента для масштабирования и затем использования при измерении температуры вмещающего элемента в сборе 300 для никотина или одного или более элементов вмещающего элемента в сборе 300 для никотина, таких как нагреватель 336.
В примерной работе предоконечный каскад 3902А схемы 21250А измерения температуры вмещающего элемента (фиг. 36) подает сигнал мощности измерения температуры вмещающего элемента HW_POWER на датчик 3600А измерения температуры, а измерительный каскад 3904А схемы 21250А измерения температуры вмещающего элемента масштабирует измеренное напряжение сигнала датчика вмещающего элемента SP_HW на измерительном узле N3606 и выводит масштабированное напряжение на контроллер 2105 в качестве выходного сигнала измерения температуры вмещающего элемента HW_SIGNAL. Затем контроллер 2105 (или подсистема 2630 обнаружения неисправностей) может определить температуру вмещающего элемента в сборе 300 для никотина или одного или более элементов вмещающего элемента в сборе 300 для никотина на основании выходного сигнала измерения температуры вмещающего элемента HW_SIGNAL.
В по меньшей мере одном примерном варианте осуществления напряжение сигнала мощности измерения температуры вмещающего элемента HW_POWER может быть фиксированным, и следовательно схема 21250А измерения температуры вмещающего элемента может также вычислять ток через резисторы R3602 и R3604, поскольку сопротивление резистора R3602 является известным сопротивлением.
Обращаясь к примерному варианту осуществления, показанному на фиг. 41, датчик 3600 В измерения температуры подобен датчику 3600А измерения температуры на фиг. 40, за исключением того, что как упомянуто выше в отношении фиг. 37, резистор R3602 исключен из датчика 3600 В измерения температуры и перемещен в предоконечный каскад 3902 В схемы 21250 В измерения температуры вмещающего элемента на фиг. 37. За счет перемещения резистора R3602 в предоконечный каскад 3902 В схемы 21250 В измерения температуры вмещающего элемента стоимости электрической системы 2200 вмещающего элемента в сборе для никотина и/или количество выводов, требуемых для связи между основной частью 100 устройства и вмещающим элементом в сборе 300 для никотина, может быть уменьшена. Более того, сопротивление датчика-преобразователя R3606 в примерном варианте осуществления, показанном на фиг. 41, может быть больше, чем сопротивление датчика-преобразователя R3604 на фиг. 40, чтобы уменьшить ток, потребляемый датчиком 3600 В измерения температуры.
На фиг. 42А показан примерный вариант осуществления схемы 21254 измерения температуры блока питания.
Как показано на фиг. 42А, схема 21254А измерения температуры блока питания выполнена с возможностью измерения температуры блока 2110 питания, например, во время зарядки. Схема 21254А измерения температуры блока питания использует термистор RTH21254, который размещен относительно близко (около) к блоку питания, для оценки температуры батареи. Схема 21254А измерения температуры блока питания выводит сигнал TEMP в виде сигнала температуры EXT_TEMP на специальную IC зарядного устройства, которая может прекратить зарядку и уведомить подсистему 2630 обнаружения неисправностей о неисправности, если сигнал температуры EXT_TEMP указывает на то, что температура блока 2110 питания превышает максимальный порог температуры.
Допустимая температура может быть установлена путем изменения отношения резисторов R21250 и R21252 для смещения сопротивления цепи делителя напряжения, включающей резисторы R21250 и R21252. Конденсатор С21254 соединен параллельно с резисторами R21250, R21252 и термистором RTH21254.
Схема 21254А измерения температуры блока питания может быть запитана от напряжения USB через зарядное устройство 2132, чтобы исключить любую зависимость от других напряжений системы (например, напряжения блока питания) при зарядке.
Схема 21254А измерения температуры блока питания может быть специальной схемой измерения температуры для IC зарядного устройства на зарядном устройстве 2132.
На фиг. 42В показан другой примерный вариант осуществления схемы 21254 измерения температуры блока питания.
Как показано на фиг. 42В, схема 21254В измерения температуры блока питания функционально эквивалентна схеме, показанной на фиг. 42А, но дополнительно включает вторую схему датчика температуры блока питания, выполненную с возможностью вывода сигнала температуры ВАТТ_TEMP_MCU на контроллер 2105 для определения того, находится ли температура блока 2110 питания за пределами его рабочих ограничений (например, выше порогового максимума или ниже порогового минимума) и произошло ли событие неисправности температуры блока питания.
Более подробно, схема 21254В измерения температуры блока питания включает первую схему датчика температуры блока питания, которая использует термистор 21254В4, который размещен относительно близко (около) к блоку 2110 питания, для оценки температуры блока 2110 питания. Первая схема датчика температуры блока питания выводит сигнал температуры ВАТТ_TEMP_CHGR на специальную IC зарядного устройства, которая может прекратить зарядку и уведомить подсистему 2630 обнаружения неисправностей о неисправности, когда температура блока 2110 питания превышает максимальный порог температуры.
Схема 21254В измерения температуры блока питания дополнительно включает вторую схему датчика температуры блока питания. Вторая схема датчика температуры блока питания подобна первой схеме датчика блока питания, за исключением того, что вторая схема датчика температуры блока питания выводит сигнал температуры ВАТТ_TEMP_MCU на контроллер 2105.
Более подробно, вторая схема датчика температуры блока питания использует термистор 21254В8, который размещен относительно близко (около) к блоку 2110 питания, для оценки температуры блока 2110 питания. Вторая схема датчика температуры блока питания затем выводит сигнал температуры ВАТТ_TEMP_MCU, указывающий на измеренную температуру, на контроллер 2105. Подсистема 2630 обнаружения неисправностей может определить, произошло ли событие неисправности температуры блока питания в устройстве 500 для курения содержащей никотин э-сигареты, на основании сигнала температуры ВАТТ_TEMP_MCU. Конденсатор С21254 В подключен между заземлением и узлом между резистором 21254 В9 и термистором 21254В8.
Вторая схема датчика температуры блока питания также включает схему 21254В6 управления измерением температуры, выполненную с возможностью отключения измерения температуры блока 2110 питания и изоляции включенных в него делителей напряжения в режиме низкой мощности (например, после операции автоматического отключения) для экономии энергии. Как показано на фиг. 42В, схема 21254В6 управления измерением температуры может включать транзистор Q2001, подключенный между термистором 21254В8 и заземлением. Транзистор Q2001 может быть выборочно включен и отключен на основании сигнала включения измерения блока питания MEAS_EN от контроллера 2105 для выборочного включения и отключения второй схемы датчика температуры блока питания.
На фиг. 43А показан примерный вариант осуществления схемы 21256 измерения напряжения блока питания.
Как показано на фиг. 43А, схема 21256А измерения напряжения блока питания использует цепь делителя напряжения, включающую резисторы 21256А2 и 21256А4, для масштабирования сигнала измерения напряжения блока питания ВАТТ_VOL для соответствия с диапазоном входного сигнала ADC в контроллере 2105 (например, приблизительно 1,8 В). Контроллер 2105 может определить уровень напряжения блока 2110 питания на основании сигнала измерения напряжения блока питания ВАТТ_VOL.
Конденсатор С21256А подключен между заземлением и узлом между резисторами 21256А2 и 21256А4.
Схема 21256А измерения напряжения блока питания может использовать относительно большое значение общего сопротивления (например, приблизительно 147 кОм) для снижения дополнительного потребления блока 2110 питания.
Контроллер 2105 может масштабировать сигнал измерения напряжения блока питания ВАТТ_VOL для представления фактического напряжения блока 2110 питания. Подсистема 2630 обнаружения неисправностей может определить, что произошла неисправность напряжения блока питания, если напряжение блока питания падает ниже минимального порогового уровня (например, приблизительно ~3,6 В).
На фиг. 43В показан другой примерный вариант осуществления схемы 21256 измерения напряжения блока питания. Примерный вариант осуществления, показанный на фиг. 43В подобен примерному варианту осуществления, показанному на фиг. 43А, но дополнительно включает схему 21256В6 управления измерением напряжения, выполненную с возможностью отключения измерения напряжения блока 2110 питания и изоляции включенных в него делителей напряжения в режиме низкой мощности для экономии энергии. Как показано на фиг. 43В, схема 21256В6 управления измерением напряжения может включать транзисторную схему, включающую транзисторы Q3001 и Q3002, выполненные с возможностью выборочного включения и отключения на основании сигнала включения измерения блока питания MEAS_EN для выборочного включения и отключения схемы 21256В датчика напряжения блока питания.
На фиг. 44А показан примерный вариант осуществления зарядного устройства 2132.
Как показано на фиг. 44А, зарядное устройство 2132А включает специальную IC 4202А зарядки, которая обеспечивает множество вводов/выводов (I/O) для управления зарядкой блока 2110 питания. Конденсаторы С2132А2 и С2132А4 соединены параллельно друг с другом между вводом VCC специальной IC 4202А зарядки и заземлением.
Специальная IC 4202А зарядки выполнена с возможностью вывода сигнала зарядки блока питания ВАТТ_CHRG на контроллер 2105. Сигнал зарядки блока питания ВАТТ_CHRG может быть модулированным выходом PWM, выполненным с возможностью передачи четырех состояний: выполняется зарядка, зарядка завершена, разряженная батарея или температура батареи вне допустимого диапазона. Подсистема 2630 обнаружения неисправностей может определить, произошло ли событие неисправности, на основании сигнала зарядки блока питания ВАТТ_NCHRG. В одном примере сигнал зарядки блока питания ВАТТ_NCHRG, имеющий состояние «зарядка завершена», может указывать на обычное событие неисправности (например, событие неисправности завершения зарядки) подсистеме 2630 обнаружения неисправностей, в ответ на которое подсистема 2630 обнаружения неисправностей может выводить предупреждение об обычном событии неисправности подсистеме 2650 принятия решения об автоматическом отключении. В другом примере сигнал зарядки блока питания ВАТТ_NCHRG, имеющий состояние «разряженная батарея», может указывать на событие жесткой неисправности устройства (например, событие неисправности блока питания) подсистеме 2630 обнаружения неисправностей, в ответ на которое подсистема 2630 обнаружения неисправностей может выводить предупреждение о событии жесткой неисправности устройства подсистеме 2650 принятия решения об автоматическом отключении. В еще одном примере сигнал зарядки блока питания ВАТТ_NCHRG, имеющий состояние «температура батареи вне допустимого диапазона», может указывать на событие жесткой неисправности устройства подсистеме 2630 обнаружения неисправностей, в ответ на которое подсистема 2630 обнаружения неисправностей может выводить предупреждение о событии жесткой неисправности устройства подсистеме 2650 принятия решения об автоматическом отключении. Специальная IC 4202А зарядки может выводить сигнал зарядки блока питания ВАТТ_NCHRG, имеющий «температуру батареи вне допустимого диапазона», в ответ на прием сигнала температуры ВАТТ_TEMP_CHGR, указывающего на то же самое, от схемы 21254 измерения температуры блока питания.
Сигнал управления блоком питания ВАТТ_SUSP является примером сигнала состояния питания устройства, выводимого контроллером 2105 на специальную IC 4202А зарядки, чтобы заставить зарядное устройство 2132А выполнять операцию остановки зарядного устройства, тем самым приостанавливая зарядку блока 2110 питания зарядным устройством 2132А.
Зарядное устройство 2132А также выполнено с возможностью вывода сигнала напряжения зарядки ВАТТ_V_ICHRG на контроллер 2105. Сигнал напряжения зарядки ВАТТ_V_ICHRG представляет величину тока, подаваемого в данный момент на блок 2110 питания зарядным устройством 2132А. На основании сигнала напряжения зарядки ВАТТ_V_CHRG подсистема 2630 обнаружения неисправностей может отслеживать ток, подаваемый на блок 2110 питания зарядным устройством 2132, чтобы определить, находится ли зарядный ток за пределами диапазона значений (например, ниже минимального порога или выше максимального порога, каждый из которых может быть определен на основании эмпирических данных). Если подсистема 2630 обнаружения неисправностей определяет, что зарядный ток находится за пределами диапазона значений, то тогда подсистема 2630 обнаружения неисправностей может выводить предупреждение о событии жесткой неисправности устройства в подсистеме 2650 принятия решения об автоматическом отключении.
Согласно по меньшей мере некоторым примерным вариантам осуществления максимальный сверхток, составляющий приблизительно 105 процентов от указанного максимума, может быть использован в качестве верхнего предела диапазона значений. В одном примере при максимальной скорости зарядки 900 мА, ожидаемой для устройства 500 для курения содержащей никотин э-сигареты, предупреждение о событии жесткой неисправности устройства будет выводиться подсистеме 2650 принятия решения об автоматическом отключении приблизительно при 945 мА.
Нижний предел значений диапазона необязательно указывать, поскольку ток заряда будет уменьшаться по мере приближения к полной зарядке батареи.
На фиг. 44В показан другой примерный вариант осуществления зарядного устройства 2132. Зарядное устройство 2132 В аналогично схеме, показанной на фиг. 44А, за исключением того, что используется другая IC, и схема дополнительно включает переключатель 4404 В скорости заряда. В примерном варианте осуществления, показанном на фиг. 44В, конденсатор 2132В подключен между входом IN и заземлением.
В примерном варианте осуществления, показанном на фиг. 44В, специальная IC 4402В зарядки поддерживает те же сигналы управления и отслеживания (например, ВАТТ_NCHRG, ВАТТ_SUSP, ВАТ_V_ICHRG и т.д.), описанные выше в отношении фиг. 44А, но удаляет встроенные регуляторы напряжения из специальной IC 4202А зарядки, показанной на фиг. 44А.
Переключатель 4404В скорости заряда содержит транзистор Q2001A и позволяет контроллеру 2105 выбирать разные токи заряда, используя сигнал регулировки зарядного тока ВАТТ_USB_TYP.
В настоящем документе были раскрыты примерные варианты осуществления, и следует понимать, что могут быть возможны другие варианты. Такие варианты не должны считаться отступлением от объема настоящего изобретения, и подразумевается, что все такие модификации, которые будут очевидны специалисту в данной области техники, должны быть включены в объем следующей формулы изобретения.
Группа изобретений относится к табачной промышленности, а именно к устройству для парения никотина и способу эксплуатации электронного устройства для парения никотина. Электронное устройство для парения никотина содержит вмещающий элемент в сборе для никотина, включающий резервуар для никотина для удерживания содержащего никотин готового состава для пара. Электронное устройство для парения никотина содержит нагреватель, выполненный с возможностью испарения содержащего никотин готового состава для пара, втягиваемого из резервуара для никотина. Электронное устройство для парения никотина содержит основную часть устройства, выполненную с возможностью зацепления с вмещающим элементом в сборе для никотина. Основная часть устройства содержит контроллер, выполненный с возможностью обнаружения события неисправности в электронном устройстве для парения никотина, классификации события неисправности как одного из множества типов событий неисправности и выполнения по меньшей мере одного последующего действия на основании классификации события неисправности. Технический результат заключается в оптимизации реакции электронного устройства для парения никотина на неисправность в работе. 2 н. и 31 з.п. ф-лы, 49 ил.
1. Электронное устройство для парения никотина, содержащее:
вмещающий элемент в сборе для никотина, содержащий
резервуар для никотина для удерживания содержащего никотин готового состава для пара и
нагреватель, выполненный с возможностью испарения содержащего никотин готового состава для пара, втягиваемого из резервуара для никотина; и
основную часть устройства, выполненную с возможностью зацепления с вмещающим элементом в сборе для никотина, причем основная часть устройства содержит контроллер, выполненный с возможностью
обнаружения события неисправности в электронном устройстве для парения никотина,
классификации события неисправности как одного из множества типов событий неисправности и
выполнения по меньшей мере одного последующего действия на основании классификации события неисправности.
2. Электронное устройство для парения никотина по п. 1, отличающееся тем, что
событие неисправности является одним из события мягкой неисправности вмещающего элемента, события жесткой неисправности вмещающего элемента, события мягкой неисправности устройства и события жесткой неисправности устройства,
при этом событие мягкой неисправности вмещающего элемента является отклоняющимся от нормы состоянием внутри вмещающего элемента в сборе для никотина, для устранения которого не требуется взаимодействие взрослого вейпера с электронным устройством для парения никотина, а событие жесткой неисправности вмещающего элемента является отклоняющимся от нормы состоянием внутри вмещающего элемента в сборе для никотина, для устранения которого требуется взаимодействие взрослого вейпера с электронным устройством для парения никотина, и
при этом событие мягкой неисправности устройства является отклоняющимся от нормы состоянием в электронном устройстве для парения никотина, для которого парение отключено до тех пор, пока не будет выполнено корректирующее действие, а событие жесткой неисправности устройства является отклоняющимся от нормы состоянием в электронном устройстве для парения никотина, для которого по меньшей мере парение отключено и для устранения которого требуется вмешательство взрослого вейпера.
3. Электронное устройство для парения никотина по п. 1 или 2, отличающееся тем, что упомянутое по меньшей мере одно последующее действие включает в себя операцию автоматического отключения, операцию отключения нагревателя, операцию отключения парения, операцию остановки зарядки или их комбинацию.
4. Электронное устройство для парения никотина по п. 1, 2 или 3, отличающееся тем, что основная часть устройства дополнительно содержит
по меньшей мере один индикатор для вейпера, выполненный с возможностью вывода индикации того, что произошло событие неисправности.
5. Электронное устройство для парения никотина по п. 4, отличающееся тем, что
основная часть устройства дополнительно содержит запоминающее устройство и
контроллер выполнен с возможностью выполнения упомянутого по меньшей мере одного последующего действия путем
отключения питания нагревателя,
регистрации возникновения события неисправности в запоминающем устройстве и
обеспечения вывода упомянутым по меньшей мере одним индикатором для вейпера индикации того, что произошло событие неисправности.
6. Электронное устройство для парения никотина по п. 4 или 5, отличающееся тем, что
основная часть устройства дополнительно содержит запоминающее устройство и
контроллер выполнен с возможностью выполнения упомянутого по меньшей мере одного последующего действия путем
отключения функции парения в электронном устройстве для парения никотина,
регистрации возникновения события неисправности в запоминающем устройстве и
обеспечения вывода упомянутым по меньшей мере одним индикатором для вейпера индикации того, что произошло событие неисправности.
7. Электронное устройство для парения никотина по п. 5 или 6, отличающееся тем, что контроллер дополнительно выполнен с возможностью
обнаружения выхода вмещающего элемента в сборе для никотина из зацепления с основной частью устройства и
включения функции парения в электронном устройстве для парения никотина в ответ на обнаружение выхода вмещающего элемента в сборе для никотина из зацепления с основной частью устройства.
8. Электронное устройство для парения никотина по п. 5, 6 или 7, отличающееся тем, что контроллер дополнительно выполнен так, чтобы заставить основную часть устройства перейти в спящий режим в ответ на определение того, что корректирующее действие не произошло в ответ на событие неисправности.
9. Электронное устройство для парения никотина по любому из пп. 4-8, отличающееся тем, что
основная часть устройства дополнительно содержит запоминающее устройство и
контроллер выполнен с возможностью выполнения упомянутого по меньшей мере одного последующего действия путем
инициирования операции автоматического отключения, при которой электронное устройство для парения никотина переходит в спящий режим,
регистрации возникновения события неисправности в запоминающем устройстве и
обеспечения вывода упомянутым по меньшей мере одним индикатором для вейпера индикации того, что произошло событие неисправности.
10. Электронное устройство для парения никотина по п. 4, отличающееся тем, что
основная часть устройства дополнительно содержит запоминающее устройство и
контроллер выполнен с возможностью выполнения упомянутого по меньшей мере одного последующего действия путем
отключения функции парения, операции зарядки или функции парения и операции зарядки в электронном устройстве для парения никотина,
регистрации возникновения события неисправности в запоминающем устройстве и
обеспечения вывода упомянутым по меньшей мере одним индикатором для вейпера индикации того, что произошло событие неисправности.
11. Электронное устройство для парения никотина по п. 10, отличающееся тем, что контроллер выполнен с возможностью
инициирования таймера сброса в ответ на обнаружение события неисправности,
определения того, что таймер сброса истек, и
выполнения сброса электронного устройства для парения никотина в ответ на определение того, что таймер сброса истек.
12. Электронное устройство для парения никотина по п. 11, отличающееся тем, что контроллер выполнен с возможностью
определения того, что событие неисправности было устранено путем сброса, и
включения функции парения, операции зарядки или функции парения и операции зарядки в ответ на определение того, что событие неисправности было устранено путем сброса.
13. Электронное устройство для парения никотина по п. 11 или 12, отличающееся тем, что сброс является одним из
мягкого сброса, при котором сбрасываются приложения программного обеспечения, запущенные в контроллере,
жесткого сброса, при котором сбрасываются приложения программного обеспечения, запущенные в контроллере, и аппаратное обеспечение электронного устройства для парения никотина, или
сброса питания, включающего в себя генерирование импульса сброса для всей схемы электронного устройства для парения никотина.
14. Электронное устройство для парения никотина по любому из пп. 10-13, отличающееся тем, что контроллер выполнен с возможностью
обнаружения корректирующего действия в электронном устройстве для парения никотина и
включения функции парения, операции зарядки или функции парения и операции зарядки в ответ на обнаружение корректирующего действия.
15. Электронное устройство для парения никотина по любому из предыдущих пунктов, отличающееся тем, что
вмещающий элемент в сборе для никотина содержит запоминающее устройство, выполненное с возможностью хранения порогового значения температуры, и
контроллер выполнен с возможностью обнаружения события неисправности путем
получения порогового значения температуры из запоминающего устройства,
оценки температуры нагревателя во время работы электронного устройства для парения никотина и
обнаружения события неисправности в ответ на определение того, что температура нагревателя выше или равна пороговому значению температуры.
16. Электронное устройство для парения никотина по любому из предыдущих пунктов, отличающееся тем, что
основная часть устройства дополнительно содержит блок питания, выполненный с возможностью подачи питания на электронное устройство для парения никотина;
событие неисправности является событием неисправности низкого напряжения блока питания, указывающим на то, что напряжение блока питания ниже минимального порогового значения; и
контроллер дополнительно выполнен с возможностью выполнения упомянутого по меньшей мере одного последующего действия путем отключения функции парения в электронном устройстве для парения никотина в ответ на обнаружение события неисправности низкого напряжения блока питания.
17. Электронное устройство для парения никотина по любому из предыдущих пунктов, отличающееся тем, что
основная часть устройства дополнительно содержит блок питания, выполненный с возможностью подачи питания на электронное устройство для парения никотина;
событие неисправности является событием неисправности температуры блока питания, указывающим на то, что температура блока питания выше или равна максимальному пороговому значению; и
контроллер выполнен с возможностью выполнения упомянутого по меньшей мере одного последующего действия путем предотвращения зарядки блока питания в ответ на обнаружение события неисправности температуры блока питания.
18. Способ эксплуатации электронного устройства для парения никотина, причем способ включает в себя:
обнаружение события неисправности в электронном устройстве для парения никотина;
классификацию события неисправности как одного из множества типов событий неисправности; и
выполнение по меньшей мере одного последующего действия на основании классификации события неисправности.
19. Способ по п. 18, отличающийся тем, что
событие неисправности является одним из события мягкой неисправности вмещающего элемента, события жесткой неисправности вмещающего элемента, события мягкой неисправности устройства и события жесткой неисправности устройства,
при этом событие мягкой неисправности вмещающего элемента является отклоняющимся от нормы состоянием внутри вмещающего элемента в сборе для никотина, для устранения которого не требуется взаимодействие взрослого вейпера с электронным устройством для парения никотина, а событие жесткой неисправности вмещающего элемента является отклоняющимся от нормы состоянием внутри вмещающего элемента в сборе для никотина, для устранения которого требуется взаимодействие взрослого вейпера с электронным устройством для парения никотина, и
при этом событие мягкой неисправности устройства является отклоняющимся от нормы состоянием в электронном устройстве для парения никотина, для которого парение отключено до тех пор, пока не будет выполнено корректирующее действие, а событие жесткой неисправности устройства является отклоняющимся от нормы состоянием в электронном устройстве для парения никотина, для которого по меньшей мере парение отключено и для устранения которого требуется вмешательство взрослого вейпера.
20. Способ по п. 18 или 19, отличающийся тем, что упомянутое по меньшей мере одно последующее действие включает операцию автоматического отключения, операцию отключения нагревателя, операцию отключения парения, операцию остановки зарядки или их комбинацию.
21. Способ по п. 18, 19 или 20, отличающийся тем, что выполнение по меньшей мере одного последующего действия включает в себя:
отключение питания нагревателя в электронном устройстве для парения никотина;
регистрацию возникновения события неисправности в запоминающем устройстве в электронном устройстве для парения никотина; и
вывод индикации о том, что произошло событие неисправности.
22. Способ по любому из пп. 18-21, отличающийся тем, что выполнение по меньшей мере одного последующего действия включает в себя:
отключение функции парения в электронном устройстве для парения никотина;
регистрацию возникновения события неисправности в запоминающем устройстве в электронном устройстве для парения никотина; и
вывод индикации о том, что произошло событие неисправности.
23. Способ по п. 22, отличающийся тем, что дополнительно включает в себя:
обнаружение извлечения вмещающего элемента в сборе для никотина из электронного устройства для парения никотина; и
включение функции парения в электронном устройстве для парения никотина в ответ на обнаружение извлечения вмещающего элемента в сборе для никотина из электронного устройства для парения никотина.
24. Способ по любому из пп. 18-23, отличающийся тем, что дополнительно включает в себя
перевод электронного устройства для парения никотина в спящий режим в ответ на определение того, что корректирующее действие не произошло в ответ на событие неисправности.
25. Способ по любому из пп. 18-24, отличающийся тем, что выполнение по меньшей мере одного последующего действия включает в себя:
инициирование операции автоматического отключения, при которой электронное устройство для парения никотина переходит в спящий режим;
регистрацию возникновения события неисправности в запоминающем устройстве в электронном устройстве для парения никотина; и
вывод индикации о том, что произошло событие неисправности.
26. Способ по п. 18, отличающийся тем, что выполнение по меньшей мере одного последующего действия включает в себя:
отключение функции парения, операции зарядки или функции парения и операции зарядки в электронном устройстве для парения никотина;
регистрацию возникновения события неисправности в запоминающем устройстве в электронном устройстве для парения никотина; и
вывод индикации о том, что произошло событие неисправности.
27. Способ по п. 26, отличающийся тем, что дополнительно включает в себя:
инициирование таймера сброса в ответ на обнаружение события неисправности;
определение того, что таймер сброса истек; и
выполнение сброса электронного устройства для парения никотина в ответ на определение того, что таймер сброса истек.
28. Способ по п. 27, отличающийся тем, что дополнительно включает в себя:
определение того, что событие неисправности было устранено путем сброса; и
включение функции парения, операции зарядки или функции парения и операции зарядки в электронном устройстве для парения никотина в ответ на определение того, что событие неисправности было устранено путем сброса.
29. Способ по п. 27 или 28, отличающийся тем, что сброс является одним из
мягкого сброса, при котором сбрасываются приложения программного обеспечения, запущенные в контроллере,
жесткого сброса, при котором сбрасываются приложения программного обеспечения, запущенные в контроллере, и аппаратное обеспечение электронного устройства для парения никотина, или
сброса питания, включающего в себя генерирование импульса сброса для всей схемы электронного устройства для парения никотина.
30. Способ по п. 27, 28 или 29, отличающийся тем, что дополнительно включает в себя:
обнаружение корректирующего действия в электронном устройстве для парения никотина; и
включение функции парения, операции зарядки или функции парения и операции зарядки в электронном устройстве для парения никотина в ответ на обнаружение корректирующего действия.
31. Способ по любому из пп. 18-30, отличающийся тем, что обнаружение события неисправности включает в себя:
получение порогового значения температуры из запоминающего устройства в электронном устройстве для парения никотина;
оценку температуры нагревателя в электронном устройстве для парения никотина;
обнаружение события неисправности в ответ на определение того, что температура нагревателя выше или равна пороговому значению температуры.
32. Способ по любому из пп. 18-31, отличающийся тем, что
событие неисправности является событием неисправности низкого напряжения блока питания, указывающим на то, что напряжение блока питания в электронном устройстве для парения никотина ниже минимального порогового значения, и
выполнение упомянутого по меньшей мере одного последующего действия включает в себя отключение функции парения в электронном устройстве для парения никотина в ответ на обнаружение события неисправности низкого напряжения блока питания.
33. Способ по любому из пп. 18-32, отличающийся тем, что
событие неисправности является событием неисправности температуры блока питания, указывающим на то, что температура блока питания в электронном устройстве для парения никотина выше или равна максимальному пороговому значению, и
выполнение упомянутого по меньшей мере одного последующего действия включает в себя предотвращение зарядки блока питания в ответ на обнаружение события неисправности температуры блока питания.
| Способ защиты переносных электрических установок от опасностей, связанных с заземлением одной из фаз | 1924 |
|
SU2014A1 |
| Токарный резец | 1924 |
|
SU2016A1 |
| АГРЕГАТ ДЛЯ ОТВОДА КАРТЕРНЫХ ГАЗОВ В СИСТЕМЕ ВЕНТИЛЯЦИИ КАРТЕРА ДВИГАТЕЛЯ ВНУТРЕННЕГО СГОРАНИЯ | 2018 |
|
RU2683333C1 |
| Способ получения сальварсана | 1930 |
|
SU34538A1 |
| DE 202012101880 U1, 02.07.2012 | |||
| СПОСОБ ОПРЕДЕЛЕНИЯ АЛЛЕЛЬНОГО ПОЛИМОРФИЗМА CCR5 delta 32 | 2014 |
|
RU2563172C1 |
Авторы
Даты
2024-12-28—Публикация
2021-07-15—Подача