[0001] Предметом данного изобретения является капсула для приготовления настоев или растворимых напитков, в частности биоразлагаемая и/или компостируемая капсула, которая самостоятельно раскрывается за счет повышения давления внутри капсулы.
[0002] В отрасли известны капсулы для расфасовки концентрированных продуктов (например, в виде порошка, гранул, листьев) в заданных однократных дозах, для быстрого приготовления напитков (таких как чай, кофе, травяные чаи, молочные напитки, шоколад и т.д.) посредством введения в указанную капсулу жидкости под давлением (чаще всего горячей воды). Проникновение в содержащийся внутри капсулы концентрат, подлежащий настаиванию или растворению, потоком горячей воды, подаваемой экстракционной машиной, приводит к быстрому приготовлению напитка.
[0003] В отрасли известны различные типы автоматических или полуавтоматических машин для приготовления напитков.
[0004] Первый тип машин предусматривает прокол капсулы с обеих сторон, чтобы обеспечить впрыск жидкости под давлением в резервуар с одной стороны и вытекание напитка с противоположной стороны. Этот первый тип машин предназначен для очень простых капсул, состоящих из резервуара, закрытого с обеих сторон соответственно дном и крышкой.
[0005] Второй тип машины предусматривает прокол капсулы только с одной стороны, что позволяет впрыскивать жидкость под давлением в резервуар. Этот второй тип машины фактически предназначен для сложных капсул, содержащих резервуар с выпускным отверстием для напитка на одной стороне и закрывающийся крышкой на противоположной стороне, а также собственными внутренними средствами вскрытия. Упомянутые средства вскрытия, обычно в форме режущих или прокалывающих наконечников, или контуров, активируются за счет увеличения давления внутри чашки, чтобы проколоть или разорвать внутренний запечатывающий диск и таким образом позволить напитку вытекать из выпускного отверстия на дне резервуара. Капсулы этого типа довольно сложны с точки зрения конструкции, особенно сложны конструкции средств вскрытия.
[0006] Обычно для приготовления и розлива напитка внутрь капсулы вводят поток горячей воды под давлением около 20 атмосфер от 15 до 90 секунд. Таким образом, представленные на рынке капсулы в основном изготавливаются из минеральных и синтетических материалов, таких как, например, алюминий и пластик, которые придают указанной капсуле необходимые свойства для сопротивления механическим воздействиям, в частности давлению, и термическим нагрузкам, которым она подвергается во время использования.
[0007] Как известно, эти капсулы являются одноразовыми, и по окончании дозирования напитка они становятся отходами, которые трудно утилизировать из-за материалов, из которых они изготовлены. При уделении большего внимания вопросам охраны окружающей среды, капсулы изготавливают из биоразлагаемых и/или компостируемых материалов, как описано, например, в WO 2016/139554 А1, посвященном компостируемой кофейной капсуле. Как поясняется в WO 2016/139554 А1, характеристики, которыми должен обладать материал, чтобы его можно было определить как «компостируемый», изложены в европейском стандарте EN 13432 «Требования к использованию упаковки посредством компостирования и биологического разложения. Проверочная схема и критерии оценки для распределения упаковок по категориям». В WO 2016/139554 А1 описывается капсула, состоящая из очень простого резервуара, закрытого дном и крышкой, и предназначенная для машин, предусматривающих одновременное прокалывание капсулы с обеих сторон.
[0008] В отрасли известны биоразлагаемые и/или компостируемые капсулы только такого типа, которые содержат закрытый с обеих сторон резервуар и предназначены для машин, предусматривающих одновременное прокалывание капсулы с обеих сторон.
[0009] Однако, чтобы создать надлежащее давление воды внутри картриджа и обеспечить оптимальное качество экстракции, открытие дозирующей стороны капсулы должно происходить только после введения жидкости под давлением.
[0010] Поэтому в данной отрасли существует потребность в биоразлагаемой и/или компостируемой капсуле, снабженной собственными внутренними средствами вскрытия, которые активируются только после введения жидкости под давлением. Однако, как упоминалось выше, капсулы этого типа довольно сложны с точки зрения конструкции, особенно сложны конструкции средств вскрытия. Эта сложность усугубляется при использовании биоразлагаемых и/или компостируемых материалов, которые обычно характеризуются плохими механическими и термическими свойствами.
[0011] Задачей данного изобретения является создание капсулы для приготовления настоев или растворимых напитков, которая решает проблемы предшествующего уровня техники с учетом потребностей отрасли.
[0012] В частности, целью настоящего изобретения является создание биоразлагаемой и/или компостируемой капсулы, которая самостоятельно раскрывается при повышении внутреннего давления и способна выдерживать механические и термические нагрузки, которым она подвергается во время использования.
[0013] Эта цель достигается с помощью капсулы для приготовления настоев или растворимых напитков по п. 1. Зависимые пункты формулы изобретения описывают предпочтительные варианты осуществления изобретения.
[0014] Особенности и преимущества капсулы для приготовления настоев или растворимых напитков в соответствии с данным изобретением очевидны из следующего описания, приведенного в качестве неограничивающего примера и согласно прилагаемым фигурам:
[0015] на фиг. 1 показано сечение капсулы для приготовления настоев или растворимых напитков по данному изобретению в одном из вариантов осуществления;
[0016] фиг. 2 - вид сбоку в разрезе капсулы на фиг. 1;
[0017] фиг. 3 - вид снаружи капсулы на фиг. 1, в частности на дно для выхода напитка;
[0018] на фиг. 4 показана деталь капсулы на фиг. 1, в частности, внутреннее основание с выпускным отверстием для напитка;
[0019] на фиг. 5 показан вид в разрезе капсулы для приготовления настоя или растворимых напитков в соответствии с данным изобретением в еще одном примерном варианте осуществления;
[0020] на фиг. 6 показан вид сбоку в разрезе капсулы на фиг. 5;
[0021] на фиг. 7 показан вид снаружи капсулы на фиг. 5, в частности, дна для выхода напитка;
[0022] на фиг. 8 показана деталь капсулы на фиг. 5, в частности, внутреннее основание с выпускным отверстием для напитка;
[0023] на фиг. 9 и 10 показан первый способ самостоятельного открывания капсул на фиг. 1 и 5 соответственно, в котором запечатывающий диск состоит из одного диска;
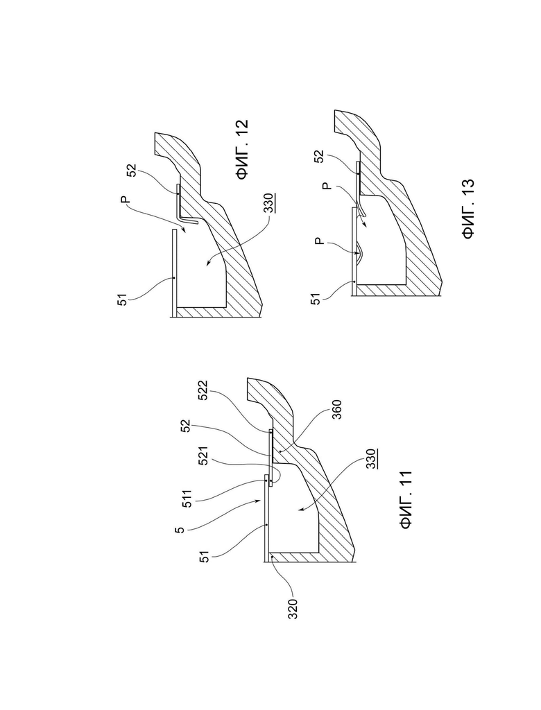
[0024] на фиг. с 11 по 16 показан второй способ самостоятельного открывания капсул с фиг. 1 и 5, в котором запечатывающий диск представляет собой диск, состоящий из центральной части и кольцевой части, при этом:
[0025] в варианте с фиг. 11-13 запечатывающий диск содержит жесткую центральную часть и гибкую кольцевую часть. На фиг. 11 показана еще закрытая капсула, на фиг. 12 показана открытая капсула с полным отделением гибкой кольцевой части, на фиг. 13 показана открытая капсула с частичным отделением гибкой кольцевой части;
[0026] в варианте с фиг. 14-16 запечатывающий диск содержит центральную гибкую часть и жесткую кольцевую часть. На фиг. 14 показана еще закрытая капсула, на фиг. 15 показана открытая капсула с полным отделением центральной гибкой части, на фиг. 16 показана открытая капсула с частичным отделением гибкой центральной части.
[0027] Со ссылкой на прилагаемые фигуры показана капсула для приготовления настоев или растворимых напитков, обозначенная справочным номером 1.
[0028] Капсула 1 содержит корпус или резервуар 2, подходящие для определения внутреннего объема V, в котором содержится по меньшей мере одно вещество S, подлежащее экстракции или растворению, обычно в форме порошка или гранул.
[0029] С одной стороны резервуар 2 снабжен дном 3, а с противоположной стороны входным отверстием 21, образованным выступающим наружу краем 4.
[0030] Капсула 1 содержит крышку 6, прикрепленную к краю 4 для герметизации резервуара 2 сверху.
[0031] Капсула 1 содержит запечатывающий диск 5, расположенный внутри резервуара 2, который закрывает капсулу 1. Фактически, крышкой 6 и диском 5 определяется внутренний объем V, в котором содержится вещество S, подлежащее экстрагированию или растворению.
[0032] В нижней части 3 резервуар 2 снабжен выпускным отверстием 31 для вытекания напитка после экстракции.
[0033] В примере на фиг. 1 множество внутренних отверстий 321 впадают в сопло 32, заканчивающееся выпускным отверстием 31. При использовании напиток поступает в сопло 32, которое направляет его в конечную емкость, такую как чашка или стакан.
[0034] В примере на фиг. 5 множество внутренних отверстий 321 открываются в отделение 322, заканчивающееся выпускным отверстием 31. В указанном примере капсула 1 снабжена выступом 323 в центральной части 310 основания 33, обращенным внутрь резервуара 2 в направлении крышки 6. Отсек 322 образует пространство, размер которого подходит для размещения нижнего прокалывающего элемента машины для приготовления напитка. При использовании в отделение 322, не соприкасаясь с капсулой 1, вставляется прокалывающий элемент автомата, который в этом случае действует только как дозирующий элемент, так как снабжен каналами для сбора напитка и подачи его в конечную емкость, например, чашку или стакан.
[0035] Резервуар 2 содержит основание 33, показанное, например, на фиг. 4 и 8, снабженное множеством вертикальных выступов. Поверхность выступов по существу плоская и не содержит режущих, прокалывающих или разрывающих элементов. Фактически запечатывающий диск 5, закрывающий капсулу 1, крепится посредством приклеивания или сваривания на поверхности выступов основания 33. Фактически диск 5 расположен между внутренним объемом V и основанием 33, ниже вещества 11.
[0036] Резервуар 2 изготовлен из биоразлагаемого и компостируемого материала.
[0037] Предпочтительно резервуар 2 изготовлен из компостируемого материала, подходящего для обеспечения стабильности размеров и термической и механической прочности. Примером подходящих материалов для этой цели являются компостируемые сложные полиэфиры, в частности, полимолочная кислота (ПМК) и полибутиленсукцинат (ПБС) и/или полигидроксиалканоат (ПГА).
[0038] В одном примере тальк добавляют к слою материала, содержащего полимолочную кислоту (ПМК) и/или полибутиленсукцинат (ПБС) и/или полигидроксиалканоат (ПГА). Содержание талька в этом слое материала составляет от 10 до 40%, предпочтительно от 15 до 30%.
[0039] Ререзвуар 2 предпочтительно изготовлен из компостируемого материала, содержащего полимолочную кислоту (ПМК) и/или полибутиленсукцинат (ПБС).
[0040] Ререзвуар 2 предпочтительно изготовлен из компостируемого материала, содержащего полимолочную кислоту (ПМК) и/или полибутиленсукцинат (ПБС), обладающего по меньшей мере одним из следующих свойств:
предел текучести при растяжении от 30 до 50 МПа (стандарт ASTM D638) или от 35 до 50 МПа (ISO 527-1);
относительное удлинение при разрыве более 10% (стандарт ASTM D638) или от 10 до 35% (ISO 527-1);
модуль упругости при изгибе от 2000 до 2500 МПа (ASTM D790) или от 2000 до 4500 МПа (ISO 527-1).
[0041] В примерном варианте осуществления ререзвуар 2 изготовлен из компостируемого материала, содержащего полимолочную кислоту (ПМК), и имеет по меньшей мере два из следующих свойств:
предел текучести при растяжении от 30 до 40 МПа (стандарт ASTM D638);
относительное удлинение при разрыве более 10% (стандарт ASTM D638);
модуль упругости при изгибе от 2000 до 2500 МПа (ASTM D790).
[0042] В примерном варианте осуществления ререзвуар 2 изготовлен из компостируемого материала, содержащего полибутиленсукцинат (ПБС), и имеет по меньшей мере два из следующих свойств:
относительное удлинение при разрыве от 30 до 40% (ISO 527-1);
модуль упругости при растяжении от 4 ООО до 4500 МПа (ISO 527-1).
[0043] В примерном варианте осуществления ререзвуар 2 изготовлен из компостируемого материала, содержащего полигидроксиалканоата (ПГА), и имеет по меньшей мере два из следующих свойств:
предел прочности при растяжении от 30 до 35 МПа (ISO 527-1);
относительное удлинение при разрыве от 2 до 5% (ISO 527-1);
модуль упругости от 1500 до 2500 МПа (ISO 527-1).
[0044] Указанные признаки позволяют получить компостируемый ререзвуар 2 с высокой термической и механической прочностью, в который может проникать поток жидкости при высоких температурах (от 90 до 95°С) и давлении (от 10 до 12 бар) в течение всего времени дозирования (около 1 минуты) без размягчения и деформации (например, дна и сопла) и без разрушения (например, боковых стенок).
[0045] Предпочтительно ререзвуар 2 имеет толщину стенки от 0,4 до 0,8 мм, предпочтительно от 0,5 до 0,7 мм.
[0046] Ререзвуар 2 изготовлен из компостируемого материала, который обычно характеризуется плохими механическими и термическими свойствами. Поэтому дно 3 резервуара 2 снаружи усилено внешними ребрами 81. Упомянутые внешние усиливающие ребра расположены на лабиринтной части 320. Предпочтительно внешние усиливающие ребра 81 проходят радиально и образуют равномерную последовательность по окружности. Предпочтительно большое количество внешних усиливающих ребер 81 обеспечивает достаточную поддержку дна 3, когда давление внутри резервуара 2 увеличивается. Например, количество внешних усиливающих ребер 81 превышает 15.
[0047] Кроме того, в варианте осуществления, показанном на фиг. 5, центральные усиления 82 также были добавлены в центральную часть 310. Предпочтительно усиления 82 в центральной части расположены радиально и образуют равномерную последовательность по окружности. Предпочтительно количество усилений 82 в центральной части, имеющих по существу треугольную форму, превышает 5.
[0048] Крышка 6 также изготовлена из биоразлагаемого и компостируемого материала.
[0049] Предпочтительно покрытие 6 представляет собой многослойный компостируемый материал, имеющий по меньшей мере один слой, который действует как барьер для кислорода и/или пара. Например, указанный барьерный слой представляет собой верхний внешний слой, изготовленный из металлизированной целлюлозы.
[0050] Предпочтительно покрытие 6 имеет по меньшей мере один слой из компостируемого материала, включающего полимолочную кислоту (ПМК) и/или полибутиленсукцинат (ПБС) и/или полигидроксиалканоат (ПГА). Например, указанный слой является нижним внешним слоем для формирования компостируемого материала, пригодного для сваривания с резервуаром 2.
[0051] Предпочтительно покрытие 6 изготовлено из многослойного компостируемого материала, обладающего по меньшей мере одним из следующих свойств:
[0052] - напряжение при растяжении (стандарт ASTM D882) MD от 20 до 25 МПа, TD от 7 до 13 МПа;
[0053] - удлинение при разрыве (стандарт ASTM D882) MD от 20 до 25%, TD от 65 до 75%.
[0054] Диск 5 изготовлен из биоразлагаемого и компостируемого материала.
[0055] В варианте на фиг. 1 диск 5 полностью гибкий.
[0056] В вариантах на фиг. 11-16 диск 5 является лишь частично гибким. Материал, описанный ниже, относится к гибкой части.
[0057] Предпочтительно диск 5 представляет собой многослойный компостируемый материал, имеющий по меньшей мере один слой, который действует как барьер для кислорода и/или пара. Например, указанный барьерный слой представляет собой промежуточный слой из металлизированной целлюлозы или металлизированного целлофана.
[0058] Предпочтительно диск 5 имеет по меньшей мере один слой из компостируемого материала, подходящего для контакта с пищевыми продуктами, содержащимся в ререзвуаре 2. Например, таким слоем является верхний внешний слой, выполненный из бумаги или целлофана.
[0059] Предпочтительно диск 5 имеет по меньшей мере один слой из компостируемого материала, включающего полимолочную кислоту (ПМК) и/или полибутиленсукцинат (ПБС). Например, указанный слой является нижним внешним слоем для формирования компостируемого материала, пригодного для сваривания с резервуаром 2.
[0060] Предпочтительно диск 5 изготовлен из многослойного компостируемого материала, обладающего по меньшей мере одним из следующих свойств:
[0061] - напряжение при растяжении (стандарт ISO 527 1-3) MD от 85 до 95 МПа, TD от 35 до 45 МПа;
[0062] - удлинение при разрыве (стандарт ISO 527 1-3) MD от 10 до 20%, TD от 40 до 50%.
[0063] Указанные свойства позволяют получить компостируемый диск 5 с высокой термической и механической прочностью, способный выдерживать воздействие потока жидкости при высокой температуре (от 90 до 95°С) и давлении (от 10 до 12 бар) в течение всего времени дозирования (около 1 минуты) без полного размягчения и деформации до такой степени, при которой капсула не может правильно открыться или даже полностью прилипает к основанию 33 резервуара 2, закрывая выпускной канал для напитка.
[0064] В варианте с фиг. 11-16 диск 5 также содержит жесткую часть. В этом варианте жесткая часть изготовлена из того же материала, что и ререзвуар 2.
[0065] Как показано на фиг. 4 и 8, основание 33 содержит центральную часть 310, закрывающую по меньшей мере одно выпускное отверстие 31. Основание 33 дополнительно содержит по меньшей мере одну лабиринтную часть 320 по существу кольцеобразной формы, расположенную концентрически вокруг центральной части 310 и, следовательно, вокруг выпускного отверстия 31. Основание 33 также содержит край 360 по периметру, к которому приклеивается или приваривается запечатывающий диск 5.
[0066] Основание 33 между кромкой 360 по периметру и лабиринтной частью 320 снабжено углублением для сбора 330, подходящим для сбора заваренного напитка и позволяющим ему течь к лабиринтной части 320. Углубление для сбора 330 образует пространство, подходящее для того, чтобы компенсировать, не блокируя его, деформацию запечатывающего диска 5 или, по меньшей мере, его части, когда давление жидкости внутри капсулы 1 достигает определенного порогового уровня открытия.
[0067] Основание 33 между лабиринтной частью 320 и центральной частью 310 дополнительно снабжено транспортировочным углублением 340, подходящим для сбора настоянного напитка и обеспечения его протекания, по меньшей мере, через одно выпускное отверстие 31 наружу из капсулы 1.
[0068] Лабиринтная часть 320 имеет множество капиллярных каналов 421, которые позволяют напитку течь к выпускному отверстию 31, а затем из капсулы 1. И наоборот, указанные капиллярные каналы 4 21 предотвращают прохождение напитка, когда давление внутри капсулы 1 падает ниже порогового значения, чтобы напиток не капал в конце дозирования.
[0069] Каждый капиллярный канал 421 соединяет углубление для сбора 330 с транспортировочным углублением 340.
[0070] Капиллярный канал 421 закрыт сверху диском 5, изготовленным из компостируемого материала, который обычно имеет плохие механические и термические свойства. Когда диск 5 представляет собой гибкую пленку из компостируемого материала, по мере увеличения давления и температуры в капсуле 1 он имеет тенденцию размягчаться и прилипать к контуру основания 33.
[0071] Таким образом, капиллярные каналы 421 имеют меньшее поперечное сечение, чтобы избежать возможного блокирования уплотнительным диском, и с увеличенной длиной, чтобы эффективно предотвращать появления капель.
[0072] Предпочтительно капиллярный канал 421 имеет зигзагообразную форму или форму «прямоугольной волны».
[0073] Предпочтительно лабиринт 30 содержит количество капиллярных каналов 421 от 10 до 40, предпочтительно от 20 до 30.
[0074] Лабиринтная часть 320 содержит капиллярные каналы 421, разделенные перегородками 322, на которых постоянно закреплен запечатывающий диск 5. Предпочтительно, чтобы поверхность, занимаемая перегородками 322, была больше, чем поверхность, занимаемая капиллярными каналами 421, чтобы надлежащим образом поддерживать запечатывающий диск 5, изготовленный из компостируемого материала.
[0075] Как упоминалось выше, когда диск 5 представляет собой гибкую пленку из компостируемого материала, по мере увеличения давления и температуры в капсуле 1 он имеет тенденцию размягчаться и прилипать к контуру основания 33.
[0076] Таким образом, капсула 1 снабжена в основании 33 опорами 90, способными удерживать запечатывающий диск 5 в поднятом состоянии во время самостоятельного открывания, чтобы он не прилипал полностью ко дну углубления для сбора 330, тем самым предотвращая выброс напитка. Предпочтительно опоры 90 представляют собой радиальные выступы, расположенные на дне углубления для сбора 330.
[0077] Предпочтительно капсула 1 снабжена в основании 33 опорами 350, на которых запечатывающий диск 5 крепится или, по меньшей мере, поддерживается во время предварительного открытия. Предпочтительно опоры 90 представляют собой дугообразные выступы, выступающие из нижней части углубления для сбора 330. Опоры 350 при их наличии создают множество углублений 351 или отсеков между ними. В частности, парами соседних опор 350 образована выемка 351. Углубление 351 образует пространство, подходящее для того, чтобы вместить, не блокируя его, деформацию по меньшей мере части запечатывающего диска 5, когда давление жидкости внутри капсулы 1 достигает определенного порогового уровня открытия. Углубление 351 определяет предпочтительное пространство для деформации диска 5.
[0078] Предпочтительно, когда вещество S представляет собой молотый кофе, капсула 1 содержит фильтр 7, закрепленный под веществом 11, непосредственно над диском 5.
[0079] Фильтр 7 изготовлен из биоразлагаемого и компостируемого материала.
[0080] Предпочтительно фильтр 7 изготовлен из бумажного волокна или целлюлозы и содержит полимолочную кислоту (ПМК) и/или полибутиленсукцинат (ПБС) по меньшей мере на нижней стороне, чтобы получить компостируемый материал, пригодный для сваривания с резервуаром 2.
[0081] Предпочтительно, когда вещество S представляет собой молотый кофе, капсула 1 содержит пленку 8, проницаемую или микроперфорированную, закрепленную на некотором расстоянии над веществом S, под крышкой 6. Пленка 8 снабжена отверстиями для равномерного прохождения впрыскиваемой жидкости от машины к порошкообразному пищевому продукту.
[0082] Пленка 8 изготовлена из биоразлагаемого и компостируемого материала.
[0083] Пленка 8 предпочтительно изготовлена из полимолочной кислоты (ПМК) и/или полибутиленсукцината (ПБС), по меньшей мере, на нижней стороне, чтобы обеспечить компостируемый материал, пригодный для сваривания с резервуаром 2.
[0084] Как показано на фиг. 1 и 5, капсула 1 для приготовления настоев или растворимых напитков содержит запечатывающий диск 5, приспособленный для запечатывания резервуара 2 со стороны дна.
[0085] Диск 5 прикреплен к основанию 33 по меньшей мере частично разъемным образом, так что он по меньшей мере частично отсоединяется от него при увеличении давления в объеме V, в котором содержится пищевой продукт S.
[0086] Диск 5 закреплен либо постоянно, либо разъемно на крае по периметру 360.
[0087] Диск 5 постоянно прикреплен к лабиринтной части 320 и центральной части 310.
[0088] При использовании капсула 1 вставляется в прорезь, предусмотренную в экстрагирующей машине, которая прокалывает крышку 6 и вводит жидкость под давлением (чаще всего горячую воду) во внутренний объем V, в котором содержится вещество S. Наличие запечатывающего диска 5, закрывающего дно 3 капсулы 1, позволяет жидкости под давлением оставаться в течение определенного времени в контакте с веществом 11, которое необходимо настаивать или растворять, обеспечивая оптимальные свойства напитка. Давление жидкости внутри капсулы 1, повышается до тех пор, пока не достигнет определенного порогового уровня или давления открытия (например, между 4 и 8 бар), которое давит на диск 5 до тех пор, пока не произойдет самостоятельное открывание, обеспечивающее отток напитка.
[0089] В частности, как показано на фиг. 9-16, открытие капсулы 1 вызвано по меньшей мере частичной деформацией запечатывающего диска 5.
[0090] В варианте осуществления, показанном на фиг. 9 и 10, капсула 1 открывается согласно первому режиму самостоятельного открывания. В таком варианте осуществления запечатывающий диск 5 является гибким, выполненным как единое целое, без слабых мест или разрезов и прикреплен по меньшей мере частично разъемным образом к краю по периметру 360. Из-за увеличения давления внутри капсулы 1 внешний край диска 5 деформируется и по меньшей мере частично отделяется от края по периметру 360, что приводит к нарушению ранее предусмотренного герметизирующего эффекта и открытию прохода Р для вытекания напитка.
[0091] В варианте осуществления, показанном на фиг. 11-16, капсула 1 открывается в соответствии со вторым режимом самостоятельного открывания. В указанном варианте осуществления запечатывающий диск 5 представляет собой составной диск, то есть содержащий центральную часть 51 и внешнюю кольцевую часть 52, скрепленные друг с другом по меньшей мере частично разъемным образом.
[0092] Диск 5 постоянно прикреплен к основанию 33, то есть, по меньшей мере, к краю по периметру 360 и к лабиринтной части 320. Как видно на фиг. 11 и 14, внешний край 522 кольцевой части 52 крепится к краю по периметру 360 основания 33, а центр центральной части 51 крепится к лабиринтной части 320. Внутренний край 521 кольцевой части 52 прикреплен по меньшей мере частично разъемным образом к краю по периметру 511 центральной части 51.
[0093] Как указывалось выше, когда диск 5 представляет собой гибкую пленку из компостируемого материала, по мере увеличения давления и температуры в капсуле 1 он имеет тенденцию размягчаться и прилипать к контуру основания 33. Таким образом, в капсуле 1 диск 5 содержит жесткую часть и гибкую часть, соединенные вместе. Это снижает риск размягчения диска 5 и полного прилипания к основанию.
[0094] Предпочтительно край гибкого участка крепится ниже края жесткого участка. В результате увеличения давления внутри капсулы 1 гибкая часть диска 5 деформируется и по меньшей мере частично отделяется от жесткой части, что приводит к нарушению ранее предусмотренного уплотнения и открытию по меньшей мере одного прохода Р для оттока напитка.
[0095] В примере на фиг. 11-13 в капсуле 1 центральная часть 51 диска 5, предназначенная для покрытия по меньшей мере лабиринтной части 320, представляет собой жесткий диск. Это снижает риск размягчения диска 5 и закупорки капиллярных каналов 421. Кольцевая часть 52, с другой стороны, представляет собой гибкую пленку, чтобы иметь возможность хотя бы частично деформироваться и позволить капсуле 1 открыться.
[0096] В примере на фиг. 14-16 в капсуле 1 кольцевая часть 52 диска 5, предназначенная для крепления к краю по периметру 360, является жесткой. Это облегчает его сваривание с краем по периметру 360.
[0097] В варианте осуществления по фиг. 12 и 15 центральная часть 51 и кольцевая часть 52 скреплены друг с другом посредством разъемного кругового сварного шва. Поэтому из-за увеличения давления внутри капсулы 1 гибкая часть диска 5 деформируется и полностью отделяется от жесткой части, образуя один широкий канал Р для вытекания напитка.
[0098] В варианте осуществления по фиг. 13 и 16 центральная часть 51 и кольцевая часть 52 скреплены друг с другом посредством частично разъемного кругового сварного шва. Поэтому из-за увеличения давления внутри капсулы 1 гибкая часть диска 5 деформируется и лишь частично отделяется от жесткой части, образуя множество небольших каналов Р для вытекания напитка.
[0099] Капсула в соответствии с настоящим изобретением может использоваться для упаковки концентрированных продуктов (в форме порошка, гранул или листьев) в заранее определенных одноразовых дозах, для быстрого приготовления напитков, таких как листовой или растворимый чай, молотый или растворимый кофе, травяные чаи, молоко, шоколад или другие обезвоженные и растворимые продукты.
[00100] Новизна заключается в том, что капсула для приготовления настоев или растворимых напитков в соответствии с данным изобретением является полностью биоразлагаемой и компостируемой и снабжена собственными внутренними открывающими средствами, которые активируются только после введения жидкости под давлением.
[00101] Преимущественно биоразлагаемая и компостируемая капсула в соответствии с данным изобретением является самостоятельно открывающейся за счет увеличения внутреннего давления и способна выдерживать механические и термические нагрузки, которым она подвергается во время использования.
[00102] Преимущественно биоразлагаемая и компостируемая капсула в соответствии с настоящим изобретением снабжена усиливающими элементами на дне для сопротивления механическим и термическим нагрузкам, которым она подвергается во время использования.
[00103] Преимущественно биоразлагаемая и компостируемая капсула в соответствии с настоящим изобретением является самостоятельно открывающейся за счет по меньшей мере частичной деформации частично жесткого запечатывающего диска для сопротивления механическим и термическим нагрузкам, которым она подвергается во время использования.
[00104] Очевидно, что специалисты в данной области техники могут внести модификации в капсулы для приготовления настоев или растворимых напитков, описанные выше, все из которых входят в объем защиты, определенный следующей формулой изобретения.
| название | год | авторы | номер документа |
|---|---|---|---|
| КАРТРИДЖ ДЛЯ ПРИГОТОВЛЕНИЯ ЖИДКОГО ПРОДУКТА И СПОСОБ ЕГО ИЗГОТОВЛЕНИЯ | 2013 |
|
RU2621958C2 |
| КАПСУЛА ДЛЯ НАПИТКА | 2019 |
|
RU2816388C2 |
| КОМПОСТИРУЕМАЯ МНОГОСЛОЙНАЯ МЕМБРАНА И КАРТРИДЖ С УКАЗАННОЙ МЕМБРАНОЙ | 2018 |
|
RU2763766C2 |
| БИОРАЗЛАГАЕМЫЙ ТЕКСТИЛЬ, КОНЦЕНТРАТЫ И СПОСОБ ИЗГОТОВЛЕНИЯ БИОРАЗЛАГАЕМЫХ ВОЛОКОН | 2019 |
|
RU2767438C1 |
| МНОГОСЛОЙНАЯ СТРУКТУРА ДЛЯ БИОСОВМЕСТИМОЙ БАРЬЕРНОЙ УПАКОВКИ | 2018 |
|
RU2770123C2 |
| ЧАШКА И КАПСУЛА ДЛЯ ПРИГОТОВЛЕНИЯ НАПИТКОВ | 2022 |
|
RU2838528C2 |
| БИОРАЗЛАГАЕМЫЕ АЛИФАТИЧЕСКО-АРОМАТИЧЕСКИЕ ПОЛИЭФИРЫ | 2006 |
|
RU2415879C2 |
| ПРИГОДНАЯ ДЛЯ КОМПОСТИРОВАНИЯ КОНСТРУКЦИЯ ВЕРХНЕЙ КРЫШКИ КАПСУЛЫ ДЛЯ ПРИГОТОВЛЕНИЯ НАПИТКА | 2021 |
|
RU2826204C1 |
| БИОРАЗЛАГАЕМОЕ И/ИЛИ КОМПОСТИРУЕМОЕ В ДОМАШНИХ УСЛОВИЯХ САШЕ, СОДЕРЖАЩЕЕ ТВЕРДОЕ ИЗДЕЛИЕ | 2020 |
|
RU2804406C1 |
| КОМПОЗИЦИОННЫЙ МАТЕРИАЛ С КОМПОНЕНТОМ, ПОЛУЧЕННЫМ ИЗ СЕРЕБРИСТОЙ ОБОЛОЧКИ КОФЕЙНОЙ ВИШНИ, И ПОРЦИОННАЯ КАПСУЛА, СОДЕРЖАЩАЯ ТАКОЙ КОМПОЗИЦИОННЫЙ МАТЕРИАЛ | 2021 |
|
RU2826897C1 |
Изобретение относится к биоразлагаемой и/или компостируемой капсуле, которая самостоятельно раскрывается за счет повышения давления внутри капсулы. Компостируемая капсула (1) для приготовления настоев или растворимых напитков содержит резервуар (2), в котором определен внутренний объем (V), в котором содержится по меньшей мере одно вещество (S), подлежащее настаиванию или растворению. Резервуар (2) имеет дно (3) с выпускным отверстием (31) для напитка, входное отверстие (21), закрытое крышкой (6), и внутреннее основание (33). Капсула дополнительно содержит по меньшей мере частично гибкий запечатывающий диск (5), герметично закрепленный на основании (33) резервуара (2) для обеспечения вместе с крышкой (6) герметизации внутреннего объема (V). Капсула отличается тем, что резервуар (2), крышка (6) и уплотнительный диск (5) выполнены из компостируемого материала, а отверстие для вытекания напитка определяется по меньшей мере частичной деформацией уплотнительного диска (5), при этом деформация приводит к нарушению герметичности объема (V). Технический результат заключается в создании биоразлагаемой и/или компостируемой капсулы, которая самостоятельно раскрывается при повышении внутреннего давления и способна выдерживать механические и термические нагрузки, которым она подвергается во время использования. 13 з.п. ф-лы, 16 ил.
1. Компостируемая капсула (1) для приготовления настоев или растворимых напитков, содержащая следующие элементы:
резервуар (2), в котором выделен внутренний объем (V), в котором содержится по меньшей мере одно вещество (S), подлежащее настаиванию или растворению; указанный резервуар (2):
с одной стороны с дном (3) с выпускным отверстием (31) для напитка,
с противоположной стороны с входным отверстием для жидкости (21);
внутри с внутренним основанием (33), содержащим:
центральную часть (310), закрывающую отверстие (31),
лабиринтную часть (320), расположенную вокруг центральной части (310),
край по периметру (360), расположенный вокруг центральной части (310),
углубление для сбора напитка (330), расположенное между краем по периметру (360) и лабиринтной частью (230),
транспортировочное углубление (340) для напитка, расположенное между лабиринтной частью (230) и центральной частью (310);
крышка (6), герметично прикрепленная к резервуару (2) для закрытия отверстия (21);
по меньшей мере частично гибкий запечатывающий диск (5), герметично закрепленный на внутреннем основании (33) резервуара (2) для обеспечения вместе с крышкой (6) герметизации внутреннего объема (V);
при этом отверстие для вытекания напитка определяется по меньшей мере частичной деформацией уплотняющего диска (5), то есть деформацией, которая устраняет герметизацию объема (V),
отличающаяся тем, что резервуар (2), крышка (6) и запечатывающий диск (5) выполнены из компостируемого материала,
и тем, что резервуар (2), запечатывающий диск (5) и крышка содержат полимолочную кислоту (ПМК), и/или полибутиленсукцинат (ПБС), и/или полигидроксиалканоат (ПГА).
2. Капсула (1) по п. 1, в которой резервуар (2) изготовлен из компостируемого материала, обладающего по меньшей мере одним из следующих свойств:
предел текучести при растяжении от 30 до 50 МПа (стандарт ASTM D638) или от 35 до 50 МПа (ISO 527-1);
относительное удлинение при разрыве более или равно 10% (стандарт ASTM D638) или от 10 до 35% (ISO 527-1);
модуль упругости при изгибе от 2000 до 2500 МПа (ASTM D790) или от 2000 до 4500 МПа (ISO 527-1).
3. Капсула (1) по любому из предыдущих пунктов, в которой резервуар (2) изготовлен из компостируемого материала, содержащего полимолочную кислоту (ПМК), и имеет по меньшей мере два из следующих свойств:
предел текучести при растяжении от 30 до 40 МПа (стандарт ASTM D638);
относительное удлинение при разрыве больше или равно 10% (стандарт ASTM D638);
модуль упругости при изгибе от 2000 до 2500 МПа (ASTM D790).
4. Капсула (1) по п. 1 или 2, в которой резервуар (2) изготовлен из компостируемого материала, содержащего полибутиленсукцинат (ПБС), и имеет по меньшей мере два из следующих свойств:
относительное удлинение при разрыве от 30 до 40% (ISO 527-1);
модуль упругости при растяжении от 4000 до 4500 МПа (ISO 527-1).
5. Капсула (1) по п. 1, в которой резервуар (2) изготовлен из компостируемого материала, содержащего полигидроксиалканоат (ПГА), и имеет по меньшей мере два из следующих свойств:
предел прочности при растяжении от 30 до 35 МПа (ISO 527-1);
относительное удлинение при разрыве от 2 до 5% (ISO 527-1);
модуль упругости от 1500 до 2500 МПа (ISO 527-1).
6. Капсула (1) по любому из предшествующих пунктов, в которой компостируемый материал диска (5) имеет:
напряжение при растяжении (стандарт ISO 527 1-3) MD от 85 до 95 МПа, TD от 35 до 45 МПа и/или
удлинение при разрыве (стандарт ISO 527 1-3) MD от 10 до 20%, TD от 40 до 50.
7. Капсула (1) по любому из предшествующих пунктов, в которой диск (5) является по меньшей мере частично многослойным, имеющим промежуточный барьерный слой из металлизированной целлюлозы или металлизированного целлофана и/или верхний внешний слой из бумаги или целлофана.
8. Капсула (1) по любому из предшествующих пунктов, в которой диск (5) является по меньшей мере частично жестким и изготовлен из того же материала, что и резервуар (2).
9. Капсула (1) по любому из предшествующих пунктов, в которой дно (3) резервуара (2) снаружи усилено внешними ребрами (81), расположенными радиально и на лабиринтной части (320), при этом указанные внешние усиливающие ребра (81) присутствуют в количестве больше 15.
10. Капсула (1) по любому из предшествующих пунктов, в которой дно (3) резервуара (2) снаружи усилено центральным усилением (82), расположенным радиально и в центральной части (310).
11. Капсула (1) по любому из предыдущих пунктов, в которой диск (5) состоит из центральной части (51), постоянно прикрепленной к лабиринтной части (320), и внешней кольцевой части (52), постоянно прикрепленной к краю по периметру (360), при этом центральная часть (51) и внешняя кольцевая часть (52) прикреплены друг к другу по меньшей мере частично разъемным образом, а одна из них представляет собой гибкую пленку, в которой из-за увеличения давления указанная гибкая часть диска (5) отделяется по меньшей мере частично от жесткой части диска (5), открывая по меньшей мере один проход (Р) для вытекания напитка.
12. Капсула (1) по п. 11, в которой край гибкого участка закреплен ниже края жесткого участка.
13. Капсула (1) по п. 11 или 12, в которой центральная часть (51) диска (5), предназначенная для покрытия лабиринтной части (320), представляет собой жесткий диск, а кольцевая часть (52) представляет собой гибкую пленку.
14. Капсула (1) по п. 11, в которой центральная часть (51) диска (5), предназначенная для покрытия лабиринтной части (320), представляет собой гибкую пленку, а кольцевая часть (52) является жесткой.
| WO 2020026101 A1, 06.02.2020 | |||
| УЛУЧШЕННАЯ КАПСУЛА ДЛЯ ПРИГОТОВЛЕНИЯ ЗАВАРНЫХ ИЛИ РАСТВОРИМЫХ НАПИТКОВ | 2016 |
|
RU2698127C1 |
| IT UA20161354 A1, 04.09.2017 | |||
| WO 2016139554 A1, 09.09.2016. | |||
Авторы
Даты
2025-04-07—Публикация
2021-12-09—Подача