Изобретение относится к информационно-управляющим аналитическим системам комплексной оптимизации технологических режимов скважин и может быть использовано в газодобывающей, нефтедобывающей и других областях промышленности для повышения безопасности ведения технологического процесса добычи и транспорта добываемой газожидкостной смеси до перерабатывающего предприятия, а также сокращения непроизводственных затрат на добычу.
Известен способ мониторинга энергопотребления оборудования для добычи нефти и газа (изобретение РФ №2 801 699, МПК: G05B 19/418, дата регистрации: 14.08.2023), включающий получение на сервере параметрических данных с датчиков, размещенных на скважине и/или замерной установке для определения дебита скважины, получение из базы данных сведений о диаметрах скважины и погружного электродвигателя (ПЭД), определения порогового значения дебита, сравнение на сервере значений дебита скважин, измеренных в режиме реального времени, с пороговыми значениями, для скважин, в которых значение дебита превышает пороговое значение, осуществляют моделирование рабочих параметров оборудования с помощью цифрового двойника, изменяют удаленные настройки станции управления оборудованием и/или режимы его эксплуатации и отправляют полученный результат для отображения данных о скважинах, в которых оборудование скважины подлежит оптимизации или замене.
Недостатком этого способа является отсутствие возможности управления промысловыми объектами в автоматическом режиме с целью обеспечения заданного давления и расхода газожидкостной смеси промысловых скважин на входе перерабатывающего предприятия.
Известна информационно-измерительная управляющая система автоматического управления температурными параметрами газового комплекса (изобретение РФ №2 801 843, МПК: G05B 19/418, опубликовано 26.03.2010). Изобретение относится к информационно-измерительным управляющим системам автоматического управления температурными параметрами газового комплекса и может быть использовано в газодобывающей, нефтедобывающей и других областях промышленности для снижения потерь товарного газа на подогрев пластового флюида, поставляемого перерабатывающему предприятию и заключается в автоматическом учете как теплотворных способностей каждого подогревателя на площадках скважин, так и отслеживании в автоматическом режиме актуальных температурных характеристик всех участков газотранспортной сети от промысла до входа перерабатывающего предприятия, а также учете суточных и сезонных колебаний температуры окружающей среды.
Недостатком этой системы, является также отсутствие возможности управления промысловыми объектами в автоматическом режиме с целью обеспечения заданного давления и расхода газожидкостной смеси промысловых скважин на входе перерабатывающего предприятия.
Наиболее близкой по технической сущности и достигаемому положительному результату является полезная модель «Информационно-управляющая аналитическая система комплексной оптимизации технологических режимов скважин» (патент РФ №96 675 МПК: G06F 13/00, дата публикации: 10.08.2010), принятая авторами за прототип, содержащая блок диагностирования сигналов датчиков промысла, связанный своими основными входами с датчиками давления, температуры и расхода скважин, датчиками дискретных сигналов состояния запорной арматуры, связи и режимов управления скважин, а также с датчиками температуры, давления и расхода газоконденсатопровода, датчиками дискретных сигналов состояния запорной арматуры, связи и режимов управления газоконденсатопровода, блок анализа состояния технологического процесса, связанный своими основными входами с АРМ администратора, выходом блока диагностирования сигналов датчиков промысла, с первым основным выходом АРМ диспетчерской службы и первым основным выходом блока ведения и формирования архива событий, второй основной выход которого связан с первым входом АРМ диспетчерской службы, блок отображения состояния технологического процесса и системы, связанный входом с основным выходом блока анализа состояния технологического процесса, а первым основным выходом - со вторым входом АРМ диспетчерской службы, второй основной выход которого связан с основным входом блока расчета изменения производительности газоконденсатопровода, выход которого связан с входом блока распределения рассчитанного воздействия по скважинам, основные выходы которого связаны соответственно с входом блока ведения и формирования архива событий и основным входом блока выдачи уставок и управления исполнительными устройствами скважин, а также АРМ геологической службы, связанный своими основными входами соответственно с вторым выходом блока отображения состояния технологического процесса и системы и третьим выходом блока ведения и формирования архива событий, отличающаяся тем, что в нее введены блок памяти параметров скважин, блок памяти параметров газоконденсатопровода, блок изменения температурного режима подогревателей на скважинах, блок определения скважин доступных для автоматического управления, сумматор общего расхода скважин, блок вычисления скорости изменения давления, блок вычисления направления изменения давления, блок формирования управляющих сигналов, блок корректировки диапазонов производительности скважин, блок вычисления минимальных и максимальных запасов производительности, сумматор общего расхода скважин, доступных для управления, а также блок разрешения изменения производительности газоконденсатопровода, при этом АРМ диспетчерской службы снабжен четырьмя дополнительными выходами, каждый из которых связан соответственно с входом блока памяти параметров скважин, с входом блока памяти параметров газоконденсатопровода, с первым входом блока определения скважин, доступных для автоматического управления и первым входом блока разрешения изменения производительности газоконденсатопровода, выход блока памяти параметров скважин связан с первым дополнительным входом блока диагностирования сигналов датчиков промысла, второй дополнительный вход которого связан с первым выходом блока памяти параметров газоконденсатопровода, первый и второй выходы АРМ геологической службы связаны соответственно с первым входом блока корректировки диапазонов производительности скважин и вторым входом блока определения скважин, доступных для автоматического управления, третий вход которого связан с первым дополнительным выходом блока анализа состояния технологического процесса, второй дополнительный выход которого параллельно соединен с входом сумматора общего расхода скважин и первым входом блока вычисления минимальных и максимальных запасов производительности, второй вход которого связан с первым выходом блока корректировки диапазонов производительности скважин, второй вход которого связан с выходом блока определения скважин, доступных для автоматического управления, а второй выход - с входом сумматора общего расхода скважин, доступных для управления, выход сумматора общего расхода скважин параллельно подключен к входу блока вычисления направления изменения давления и к первому входу блока вычисления скорости изменения давления, второй вход которого связан с вторым выходом блока памяти параметров газоконденсатопровода, первый и второй входы блока формирования управляющих сигналов связан с выходом блока вычисления скорости изменения давления и выходом блока вычисления направления изменения давления, а выход - с вторым входом блока разрешения изменения производительности газоконденсатопровода, третий и четвертый входы которого связаны соответственно с выходом блока вычисления минимальных и максимальных запасов производительности и выходом сумматора общего расхода скважин, доступных для управления, выход блока разрешения изменения производительности газоконденсатопровода связан с дополнительным входом блока расчета изменения производительности газоконденсатопровода, а блок изменения температурного режима подогревателей на скважинах своим входом связан с дополнительным выходом блока распределения рассчитанного воздействия по скважинам, а выход - с дополнительным входом блока выдачи уставок и управления исполнительными устройствами.
В известной информационно-управляющей аналитической системе комплексной оптимизации технологических режимов скважин по прототипу управление осуществляется по скважинам, доступным для автоматического управления каждой отдельной установки предварительной подготовки газа (далее УППГ).
Однако, в известной информационно-управляющей аналитической системе комплексной оптимизации технологических режимов скважин, если хотя бы одно условие разрешения на автоматическое управления УППГ не выполняется, то прекращается управление всеми скважинами, принадлежащими этой УППГ, что существенно сокращает запас производительности промысла, приводит к снижению безопасности ведения технологического процесса, так как часть скважин выпадает из контура автоматического управления, а также приводит к снижению стабилизации давления и расхода газожидкостной смеси на входе перерабатывающего предприятия, кроме того отсутствует возможность экстренного уменьшения производительности скважин, что при резком изменении технологического процесса, когда давление в магистральном трубопроводе на входе перерабатывающего предприятия достигает предельного или критического значений приводит к повышенной опасности ведения технологического процесса, наряду с этим отсутствует возможность экстренного увеличения производительности скважин, что при резком изменении технологического процесса, когда давление в магистральном трубопроводе на входе перерабатывающего предприятия снижается ниже установленного регламентом значения и отсутствует дополнительный запас производительности промысла, также приводит к снижению безопасности ведения процесса и снижению стабилизации давления и расхода газожидкостной смеси на входе перерабатывающего предприятия, а также к повышению непроизводственных затрат на добычу.
Целью заявляемого изобретения является повышение безопасности ведения технологического процесса добычи и транспорта добываемой газожидкостной смеси до перерабатывающего предприятия, а также сокращения непроизводственных затрат на добычу.
Технический результат, на достижение которого направлено изобретение заключается в автоматическом выборе скважин по определенным критериям очередности их выбора при распределении рассчитанного управляющего воздействия, выявления дополнительных запасов производительности скважин, формирования упреждающих воздействий изменения производительности скважин при предельном и критическом давлениях в газоконденсатопроводе на входе перерабатывающего предприятия.
Для достижения указанного технического результата в информационно-управляющую аналитическую систему комплексной оптимизации технологических режимов скважин, содержащую блок диагностирования сигналов датчиков промысла, связанный своими четырьмя входами соответственно с датчиками давления, температуры и расхода скважин, датчиками дискретных сигналов состояния запорной арматуры, связи и режимов управления скважин, датчиками температуры, давления и расхода в газоконденсатопроводе, а также с датчиками дискретных сигналов состояния запорной арматуры, связи и режимов управления газоконденсатопровода, блок анализа состояния технологического процесса, связанный первым входом с выходом АРМ администратора, вторым входом - с выходом блока диагностирования сигналов датчиков промысла, третьим входом - с первым выходом АРМ диспетчерской службы и четвертым входом - с первым выходом блока ведения и формирования архива событий, второй выход которого связан с первым входом АРМ диспетчерской службы, блок отображения состояния технологического процесса и системы, связанный входом с первым выходом блока анализа состояния технологического процесса, а первым выходом со вторым входом АРМ диспетчерской службы, второй выход которого связан с первым входом блока расчета изменения производительности в газоконденсатопроводе, выход которого связан с входом блока распределения рассчитанного воздействия по скважинам, первый и второй выходы которого связаны соответственно с первым входом блока ведения и формирования архива событий и первым входом блока выдачи уставок и управления исполнительными устройствами скважин, АРМ геологической службы, связанный первым и вторым входами соответственно со вторым выходом блока отображения состояния технологического процесса и системы и с третьим выходом блока ведения и формирования архива событий, а также блок памяти параметров скважин, блок памяти параметров газоконденсатопровода, сумматор общего расхода скважин, блок вычисления скорости изменения давления, блок вычисления направления изменения давления, блок формирования управляющих сигналов, блок корректировки диапазонов производительности скважин, блок вычисления минимальных и максимальных запасов производительности, сумматор общего расхода скважин, доступных для управления, блок разрешения изменения производительности в газоконденсатопроводе, третий, четвертый и пятый выходы АРМ диспетчерской службы связаны соответственно с входом блока памяти параметров газоконденсатопровода, первым входом блока разрешения изменения производительности в газоконденсатопроводе и входом блока памяти параметров скважин, выход которого связан с пятым входом блока диагностирования сигналов датчиков промысла, шестой вход которого связан с первым выходом блока памяти параметров газоконденсатопровода, второй выход блока анализа состояния технологического процесса параллельно соединен с входом сумматора общего расхода скважин и первым входом блока вычисления минимальных и максимальных запасов производительности, второй вход которого связан с первым выходом блока корректировки диапазонов производительности скважин, второй выход которого связан с входом сумматора общего расхода скважин, доступных для управления, выход сумматора общего расхода скважин параллельно подключен к первому входу блока вычисления скорости изменения давления и к входу блока вычисления направления изменения давления, второй выход блока памяти параметров газоконденсатопровода связан со вторым входом блока вычисления скорости изменения давления, выход которого связан с первым входом блока формирования управляющих сигналов, второй вход которого связан с выходом блока вычисления направления изменения давления, выход блока формирования управляющих сигналов связан со вторым входом блока разрешения изменения производительности в газоконденсатопроводе, третий и четвертый входы которого связаны соответственно с выходом блока вычисления минимальных и максимальных запасов производительности и выходом сумматора общего расхода скважин, доступных для управления, выход блока разрешения изменения производительности в газоконденсатопроводе связан со вторым входом блока расчета изменения производительности в газоконденсатопроводе, а первый выход АРМ геологической службы связан с первым входом блока корректировки диапазонов производительности скважин, дополнительно введены блок определения магистральных трубопроводов промысла, доступных для управления, и классификации подключенных к ним скважин, блок вычисления минимальных и максимальных запасов производительности по скважинам, подключенным к каждому магистральному трубопроводу, доступным для управления с запрещенным диспетчером автоматическим регулированием производительности, блок экстренного распределения всего запаса производительности скважин, подключенных к каждому магистральному трубопроводу, доступных для управления с запрещенным диспетчером автоматическим регулированием производительности, матрица критериев очередности выбора скважин при распределении рассчитанного управляющего воздействия, а также блок контроля предельного и критического давлений в магистральном трубопроводе, блок последовательного перевода скважин на минимальный режим производительности, блок одновременного перевода всех скважин на минимальный режим производительности, при этом матрица критериев очередности выбора скважин при распределении рассчитанного управляющего воздействия, первым и вторым входами, а также выходом связана соответственно с пятым дополнительным выходом блока анализа состояния технологического процесса, со вторым выходом АРМ геологической службы и с пятым дополнительным входом блока анализа состояния технологического процесса, третий дополнительный выход которого связан с первым входом блока определения магистральных трубопроводов промысла, доступных для управления, и классификации подключенных к ним скважин, второй вход, а также первый и второй выходы которого, связаны соответственно с шестым дополнительным выходом АРМ диспетчерской службы, со вторым входом блока корректировки диапазонов производительности скважин и входом блока вычисления минимальных и максимальных запасов производительности по скважинам, подключенным к каждому магистральному трубопроводу, доступным для управления с запрещенным диспетчером автоматическим регулированием производительности, первый и второй выходы которого связаны соответственно с третьим дополнительным входом АРМ диспетчерской службы и первым входом блока экстренного распределения всего запаса производительности скважин, подключенных к каждому магистральному трубопроводу, доступных для управления с запрещенным диспетчером автоматическим регулированием производительности, второй вход, а также второй и первый выходы которого связаны соответственно с седьмым дополнительным выходом АРМ диспетчерской службы, со вторым входом блока ведения и формирования архива событий и вторым дополнительным входом блока выдачи уставок и управления исполнительными устройствами скважин, при этом блок контроля предельного и критического давлений в магистральном трубопроводе своими первым и вторым входами, связан соответственно с вторым дополнительным выходом АРМ администратора и с четвертым дополнительным выходом блока анализа состояния технологического процесса, при этом дополнительный третий вход блока ведения и формирования архива событий связан с третьим выходом блока контроля предельного и критического давлений в магистральном трубопроводе, который своими первым и вторым выходами связан соответственно с входом блока последовательного перевода скважин на минимальный режим производительности и входом блока одновременного перевода всех скважин на минимальный режим производительности, при этом выходы блока последовательного перевода скважин на минимальный режим производительности и блока одновременного перевода всех скважин на минимальный режим производительности связаны соответственно с дополнительным четвертым входом и дополнительным третьим входом блока выдачи уставок и управления исполнительными устройствами скважин.
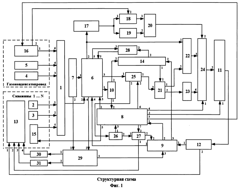
Структурная схема информационно-управляющей аналитической системы комплексной оптимизации технологических режимов скважин приведена на Фиг. 1.
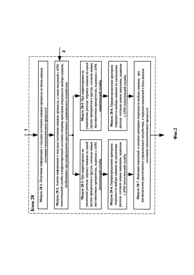
На Фиг. 2 приведена функциональная схема, поясняющая работу Матрицы критериев очередности выбора скважин при распределении рассчитанного управляющего воздействия 28.
На Фиг. 3 приведена функциональная схема, поясняющая работу блока определения магистральных трубопроводов промысла, доступных для управления, и классификации подключенных к ним скважин 25.
На Фиг. 4 приведена функциональная схема, поясняющая работу блока вычисления минимальных и максимальных запасов производительности по скважинам, подключенным к каждому магистральному трубопроводу, доступным для управления с запрещенным диспетчером автоматическим регулированием производительности 26.
На Фиг. 5 приведена функциональная схема, поясняющая работу блока экстренного распределения всего запаса производительности скважин, подключенных к каждому магистральному трубопроводу, доступных для управления с запрещенным диспетчером автоматическим регулированием производительности 27.
На Фиг. 6 приведен алгоритм, поясняющий работу блока контроля предельного и критического давлений в магистральном трубопроводе 29.
На Фиг. 7 приведен пример, поясняющий работу блока контроля предельного и критического давлений в магистральном трубопроводе 29.
На Фиг. 8 приведена функциональная схема, поясняющая работу блока последовательного перевода скважин на минимальный режим производительности 30.
На Фиг. 9 приведена функциональная схема, поясняющая работу блока одновременного перевода всех скважин на минимальный режим производительности 31.
Информационно-управляющая аналитическая система комплексной оптимизации технологических режимов скважин содержащая блок диагностирования сигналов датчиков промысла 1, связанный своими четырьмя входами соответственно с датчиками давления, температуры и расхода скважин 2, датчиками дискретных сигналов состояния запорной арматуры, связи и режимов управления скважин 3, датчиками температуры, давления и расхода в газоконденсатопроводе 4, а также с датчиками дискретных сигналов состояния запорной арматуры, связи и режимов управления газоконденсатопровода 5, блок анализа состояния технологического процесса 6, связанный первым входом с выходом АРМ администратора 7, вторым входом - с выходом блока диагностирования сигналов датчиков промысла 1, третьим входом - с первым выходом АРМ диспетчерской службы 8 и четвертым входом - с первым выходом блока ведения и формирования архива событий 9, второй выход которого связан с первым входом АРМ диспетчерской службы 8, блок отображения состояния технологического процесса и системы 10, связанный входом с первым выходом блока анализа состояния технологического процесса 6, а первым выходом со вторым входом АРМ диспетчерской службы 8, второй выход которого связан с первым входом блока расчета изменения производительности в газоконденсатопроводе 11, выход которого связан с входом блока распределения рассчитанного воздействия по скважинам 12, первый и второй выходы которого связаны соответственно с первым входом блока ведения и формирования архива событий 9 и первым входом блока выдачи уставок и управления исполнительными устройствами скважин 13, АРМ геологической службы 14, связанный первым и вторым входами соответственно со вторым выходом блока отображения состояния технологического процесса и системы 10 и с третьим выходом блока ведения и формирования архива событий 9, а также блок памяти параметров скважин 15, блок памяти параметров газоконденсатопровода 16, сумматор общего расхода скважин 17, блок вычисления скорости изменения давления 18, блок вычисления направления изменения давления 19, блок формирования управляющих сигналов 20, блок корректировки диапазонов производительности скважин 21, блок вычисления минимальных и максимальных запасов производительности 22, сумматор общего расхода скважин, доступных для управления 23, блок разрешения изменения производительности в газоконденсатопроводе 24, третий, четвертый и пятый выходы АРМ диспетчерской службы 8 связаны соответственно с входом блока памяти параметров газоконденсатопровода 16, первым входом блока разрешения изменения производительности в газоконденсатопроводе 24 и входом блока памяти параметров скважин 15, выход которого связан с пятым входом блока диагностирования сигналов датчиков промысла 1, шестой вход которого связан с первым выходом блока памяти параметров газоконденсатопровода 16, второй выход блока анализа состояния технологического процесса 6 параллельно соединен с входом сумматора общего расхода скважин 17 и первым входом блока вычисления минимальных и максимальных запасов производительности 22, второй вход которого связан с первым выходом блока корректировки диапазонов производительности скважин 21, второй выход которого связан с входом сумматора общего расхода скважин, доступных для управления 23, выход сумматора общего расхода скважин 17 параллельно подключен к первому входу блока вычисления скорости изменения давления 18 и к входу блока вычисления направления изменения давления 19, второй выход блока памяти параметров газоконденсатопровода 16 связан со вторым входом блока вычисления скорости изменения давления 18, выход которого связан с первым входом блока формирования управляющих сигналов 20, второй вход которого связан с выходом блока вычисления направления изменения давления 19, выход блока формирования управляющих сигналов 20 связан со вторым входом блока разрешения изменения производительности в газоконденсатопроводе 24, третий и четвертый входы которого связаны соответственно с выходом блока вычисления минимальных и максимальных запасов производительности 22 и выходом сумматора общего расхода скважин, доступных для управления 23, выход блока разрешения изменения производительности в газоконденсатопроводе 24 связан со вторым входом блока расчета изменения производительности в газоконденсатопроводе 11, а первый выход АРМ геологической службы 14 связан с первым входом блока корректировки диапазонов производительности скважин 21, отличающаяся тем, что в нее дополнительно введены блок определения магистральных трубопроводов промысла, доступных для управления, и классификации подключенных к ним скважин 25, блок вычисления минимальных и максимальных запасов производительности по скважинам, подключенным к каждому магистральному трубопроводу, доступным для управления с запрещенным диспетчером автоматическим регулированием производительности 26, блок экстренного распределения всего запаса производительности скважин, подключенных к каждому магистральному трубопроводу, доступных для управления с запрещенным диспетчером автоматическим регулированием производительности 27, матрица критериев очередности выбора скважин при распределении рассчитанного управляющего воздействия 28, а также блок контроля предельного и критического давлений в магистральном трубопроводе 29, блок последовательного перевода скважин на минимальный режим производительности 30, блок одновременного перевода всех скважин на минимальный режим производительности 31, при этом матрица критериев очередности выбора скважин при распределении рассчитанного управляющего воздействия 28, первым и вторым входами, а также выходом связана соответственно с пятым дополнительным выходом блока анализа состояния технологического процесса 6, со вторым выходом АРМ геологической службы 14 и с пятым дополнительным входом блока анализа состояния технологического процесса 6, третий дополнительный выход которого связан с первым входом блока определения магистральных трубопроводов промысла, доступных для управления, и классификации подключенных к ним скважин 25, второй вход а также первый и второй выходы которого, связаны соответственно с шестым дополнительным выходом АРМ диспетчерской службы 8, со вторым входом блока корректировки диапазонов производительности скважин 21 и входом блока вычисления минимальных и максимальных запасов производительности по скважинам, подключенным к каждому магистральному трубопроводу, доступным для управления с запрещенным диспетчером автоматическим регулированием производительности 26, первый и второй выходы которого связаны соответственно с третьим дополнительным входом АРМ диспетчерской службы 8 и первым входом блока экстренного распределения всего запаса производительности скважин, подключенных к каждому магистральному трубопроводу, доступных для управления с запрещенным диспетчером автоматическим регулированием производительности 27, второй вход, а также второй и первый выходы которого связаны соответственно с седьмым дополнительным выходом АРМ диспетчерской службы 8, со вторым входом блока ведения и формирования архива событий 9 и вторым дополнительным входом блока выдачи уставок и управления исполнительными устройствами скважин 13, при этом блок контроля предельного и критического давлений в магистральном трубопроводе 29 своими первым и вторым входами, связан соответственно с вторым дополнительным выходом АРМ администратора 7 и с четвертым дополнительным выходом блока анализа состояния технологического процесса 6, при этом дополнительный третий вход блока ведения и формирования архива событий 9 связан с третьим выходом блока контроля предельного и критического давлений в магистральном трубопроводе 29, который своими первым и вторым выходами связан соответственно с входом блока последовательного перевода скважин на минимальный режим производительности 30 и входом блока одновременного перевода всех скважин на минимальный режим производительности 31, при этом выходы блока последовательного перевода скважин на минимальный режим производительности 30 и блока одновременного перевода всех скважин на минимальный режим производительности 31 связаны соответственно с дополнительным четвертым входом и дополнительным третьим входом блока выдачи уставок и управления исполнительными устройствами скважин 13.
Устройство работает следующим образом.
Сигналы с выходов полевых датчиков 2, 3 скважин и 4, 5 газоконденсатопровода сравниваются в блоке диагностирования сигналов датчиков промысла 1 с параметрами (допустимый диапазон, максимальные значения и др.), поступающими соответственно с блоков памяти параметров скважин 15 и блока памяти параметров газоконденсатопровода 16. Поток данных после диагностики поступает на второй вход блока анализа состояния технологического процесса 6, на первый, третий и четвертый входы которого поступают соответственно конфигурационные параметры системы с АРМ администратора 7, уставки для управления газоконденсатопроводом с АРМ диспетчерской службы 8 и с блока ведения и формирования архива событий 9 данные о предыдущих состояниях системы. Далее поток данных с первого выхода блока анализа состояния технологического процесса 6 поступает в блок отображения состояния технологического процессов и системы 10, где происходит визуализация параметров для их отображения на АРМ диспетчерской службы 8 и АРМ геологической службы 14.
В матрице критериев очередности выбора скважин при распределении рассчитанного управляющего воздействия 28 все скважины сгруппированы на пять групп приоритетов распределения (строки матрицы) и четыре диапазона по расходу (столбцы матрицы). Посредством матрицы определяется какая группа скважин и в какой очередности будет выбираться при распределении рассчитанного управляющего воздействия согласно алгоритму.
В скважины первого приоритета распределения входят скважины-регуляторы, расходами которых управляют в первую очередь.
Скважины второго приоритета распределения также являются регуляторами, но не основными.
Скважины третьего приоритета - это обычные скважины, расход которых меняют не часто.
Скважины четвертого приоритета - это скважины, на которых расход желательно менять в последнюю очередь, из-за проводимых на них технологических регламентных работ.
Скважины пятого минимального приоритета - это скважины, подготовленные к ликвидации и работающие на своем минимуме расхода, расход на которых можно менять только в крайнем случае, например, при резких колебаниях технологического процесса.
Все скважины имеют граничные значения по расходу («минимальный расход» и «максимальный расход»), которые определяют рабочий диапазон скважины по расходу. Если ввести дополнительные граничные значения («низкий расход», «средний расход», «высокий расход») для обеспечения многоступенчатости регулирования, то основной «рабочий диапазон» разбивается на 4 диапазона (первый диапазон: «минимальный расход -низкий расход», второй диапазон: «низкий расход - средний расход», третий диапазон: «средний расход - высокий расход», четвертый диапазон: «высокий расход - максимальный расход»).
Для определения дополнительных граничных значений в автоматизированной системе принято следующее распределение коэффициентов «25%-50%-75%» относительно рабочего диапазона расхода (эти значения можно настраивать, конфигурировать).
Например:
- если рабочий диапазон расхода скважин «3000 м3/час - 13000 м3/час», то для них разбивка на 4 диапазона по расходу будет следующая: 3000 м3/час - 5500 м3/час (первый диапазон - низкий расход); 5500 м3/час - 8000 м3/час (второй диапазон - средний расход); 8000 м3/час - 10500 м3/час (третий диапазон - высокий расход); 10500 м3/час - 13000 м3/час (четвертый диапазон - максимальный расход);
- если рабочий диапазон скважин «5000 м3/час - 21000 м3/час», то для них разбивка на 4 диапазона по расходу будет следующая: 5000 м3/час - 9000 м3/час (первый диапазон - низкий расход); 9000 м3/час - 13000 м3/час (второй диапазон - средний расход); 13000 м3/час - 17000 м3/час (третий диапазон -высокий расход); 17000 м3/час - 21000 м3/час (четвертый диапазон - максимальный расход).
Таким образом, в матрице реализовано многоступенчатое автоматическое изменение расхода, что позволяет эксплуатировать все скважины приблизительно на одинаковых режимах расхода, когда отсутствует ситуация что часть скважин находится на минимальных расходах, а часть на максимальных, что существенно снижает износ технологического оборудования и сокращает непроизводительные затраты на добычу.
С учетом принятой размерности матрицы 5×4 (пять групп приоритетов распределения и четыре диапазона расходов) как при распределении рассчитанного управляющего воздействия для газоконденсатопровода на увеличение, так и на уменьшение задается 20 значений очередности выбора скважин.
Диапазоны по расходу, на котором находится скважина, при каждой активации автоматизированной системы вычисляются автоматически, путем сопоставления всего ее рабочего диапазона, заданных процентных коэффициентов разбиения рабочего диапазона и ее текущего расхода.
Поэтому набор скважин для каждого диапазона (с учетом изменения технологической ситуации во времени) будет отличаться после очередной активации автоматизированной системы.
В качестве примера распределения рассмотрим матрицу на увеличение расхода (таблица 1).
Число в таблице означает номер итерации (действий), которую поочередно выбирает автоматизированная система для обеспечения требуемой производительности газоконденсатопровода на входе перерабатывающего предприятия.
Автоматизированная система распределение увеличения расхода по скважинам начинает с 1-й итерации. Для данной матрицы - это набор скважин, попадающих в группу «Первый приоритет» и первый диапазон.
Если все расходы из данного набора скважин 1-й итерации увеличены до значения «Низкий расход», а величина общего распределения рассчитанного управляющего воздействия для газоконденсатопровода на входе перерабатывающего предприятия еще не достигла установленного значения производительности, то переходят к 2-й итерации: набору скважин, попадающих в группу «Первый приоритет» и имеющих значение расхода меньше, чем «Средний расход» (т.е. находящихся во втором диапазоне). Следует отметить, что набор скважин 2-й итерации дополнился набором скважин 1-й итерации, для которых был поднят расход до их значения «Низкий расход».
Далее, согласно принятой очередности выбираются:
- для 3-й итерации - скважины из группы «Первый приоритет» и третий диапазон, имеющие значение расхода меньше, чем «Высокий расход»;
- для 4-й итерации - скважины из группы «Первый приоритет» и четвертый диапазон, имеющие значение расхода меньше, чем «Максимальный расход».
Для 5-й итерации выбираются скважины из группы «Второй приоритет» и первого диапазона. Далее линейность, прослеживаемая для первых четырех итераций, нарушается, т.к. для 6-й итерации уже выбираются скважины из группы «Третий приоритет» и первого диапазона.
И так далее происходит последовательный переход к следующим итерациям, пока автоматизированная система не достигнет суммарного расход скважин, обеспечивающего требуемую рассчитанную производительность в газоконденсатопроводе на входе перерабатывающего предприятия.
В качестве примера в таблице 2 приведена матрица распределения скважин на уменьшение расхода.
Матрица распределения скважин на уменьшение расхода (Табл. 2) аналогична матрице распределения скважин на увеличение расхода (Табл. 1) за исключением очередности итераций. При этом автоматизированная система последовательно переходит от одной итерации до другой, уменьшая расходы скважин, пока в процессе многоступенчатого автоматического уменьшения расхода не достигнет суммарного расхода скважин, обеспечивающего требуемую рассчитанную производительность в газоконденсатопроводе на входе перерабатывающего предприятия.
Специалист геологической службы со второго выхода АРМ 14 оперативно вносит необходимые изменения в матрицу 28 - на любом этапе работы автоматизированной системы:
- переводит скважины из одной группы в другую (при наличии показаний по текущим параметрам работы, опыту эксплуатации и проведенных на ней работ по интенсификации и/или ремонту). Например, если после проведенных работ у скважины повысился максимальный расход (и, соответственно, рабочий диапазон), то ее можно перевести в группу «скважины-регуляторы»;
- изменяет очередность выполнения итераций (от 1 до 20), в зависимости от технологической ситуации и общего состояния фонда скважин.
В Матрице 28 согласно функциональной схеме представленной на Фиг. 2 происходит анализ состояния технологического процесса, а также критериев очередности выбора скважин, необходимых при распределении рассчитанного управляющего воздействия, на основе которых осуществляется распределение критериев очередности выбора скважин на увеличение, так и на уменьшение расхода - результирующей производительности газоконденсатопровода на входе перерабатывающего предприятия, а также фиксация изменений в матрице критериев очередности выбора скважин, при распределении рассчитанного управляющего воздействия, и передача этих изменений в блок анализа состояния технологического процесса 6, а с его пятого выхода на первый вход матрицы 28 поступает информация о текущем состоянии скважин промысла.
С третьего выхода блока анализа состояния технологического процесса 6 данные о состоянии магистральных трубопроводов (например, запорная арматура закрыта/открыта, наличие связи с магистральным трубопроводом, количество подключенных к нему скважин) поступают на первый вход блока определения магистральных трубопроводов промысла, доступных для управления, и классификации подключенным к ним скважин 25.
На второй вход блока 25 с шестого выхода АРМ 8 диспетчер классифицирует каждую скважину на наличие или отсутствие диспетчерского разрешения на автоматическое регулирование. Все работающие скважины по умолчанию имеют состояние «диспетчерское разрешение», однако со скважины может быть снято «диспетчерское разрешение» и выставлено «диспетчерское запрещение», например, если она находится на исследовании и подключена к контрольном сепаратору - т.е. она удовлетворяет требованиям доступности для управления, но при проведении на ней исследования согласно «Технологического регламента» не рекомендуется изменять режим по расходу, для исключения ошибок в расчете по ней геологической зависимости («расход-давление») на устоявшихся режимах эксплуатации, поэтому для нее выставляется запрет на автоматическое регулирование производительности. Также «запреты» могут выставляться:
- если по результатам исследований для скважины определен конкретный режим, на котором достигается максимально полезный расход, т.к. на других режимах эксплуатации, например, увеличивается количество добываемой попутной воды;
- если скважины работают в паре по типу соединения «звезда», и при повышении расхода на одной из них происходит «передавливание» другой скважины с меньшим расходом, что может привести к гидратообразованию;
- если присутствует временная неисправность какого-либо измерительного прибора, не позволяющая получить достоверную информацию со скважины;
- или другие причины.
В блоке 25 согласно функциональной схеме представленной на Фиг. 3 происходит формирование набора скважин, доступных для управления, определение возможности управления магистральным трубопроводом, классификация диспетчером скважин, подключенных к магистральным трубопроводам, доступных для управления, на скважины с запрещенным диспетчером автоматическим регулированием производительности и на скважины с разрешенным диспетчером автоматическим регулированием производительности, выбор набора скважин, подключенных к магистральным трубопроводам, доступных для управления, с запрещенным и разрешенным диспетчером автоматическим регулированием производительности.
С первого выхода блока 25 на второй вход блока 21 поступает информация о наборе скважин, подключенных к каждому магистральному трубопроводу, доступных для управления с разрешенным диспетчером автоматическим регулированием производительности, а со второго выхода на вход блока 26 поступает информация о наборе скважин, подключенных к каждому магистральному трубопроводу, доступным для управления с запрещенным диспетчером автоматическим регулированием производительности.
В блоке 26 согласно функциональной схеме представленной на Фиг. 4 производят формирование набора соответствия «скважина - минимальная уставка производительности», а также «скважина - максимальная уставка производительности» для всех скважин, подключенных к каждому магистральному трубопроводу, доступным для управления с запрещенным диспетчером автоматическим регулированием производительности, вычисляют разницы между текущей производительностью и минимальной уставкой, а также между текущей производительностью и максимальной уставкой производительности для каждой скважины из набора скважин, подключенных к каждому магистральному трубопроводу, доступным для управления с запрещенным диспетчером автоматическим регулированием производительности, раздельно суммируют эти разницы и вычисленные суммарные минимальные и суммарные максимальные запасы производительности по каждому магистральному трубопроводу с первого выхода блока 26 поступает на третий вход АРМ диспетчерской службы 8 для его дальнейшего отображения, а сформированные наборы соответствия «скважина - минимальная уставка производительности», а также «скважина - максимальная уставка производительности» для всех скважин, подключенных к каждому магистральному трубопроводу, доступным для управления с запрещенным диспетчером автоматическим регулированием производительности, со второго выхода блока 26 поступают на первый вход блока экстренного распределения всего запаса производительности скважин, подключенных к каждому магистральному трубопроводу, доступных для управления с запрещенным диспетчером автоматическим регулированием производительности 27.
В блоке 27 согласно функциональной схеме представленной на Фиг. 5 по команде диспетчера с седьмого выхода АРМ 8 происходит экстренное распределение запаса производительности набора скважин с минимальной уставкой производительности или с максимальной уставкой производительности, которые совместно со сформированными наборами соответствия «скважина - минимальная уставка производительности», а также «скважина - максимальная уставка производительности» для всех скважин, поступают со второго выхода блока 27 на второй вход блока 9 для ведения и формирования архива событий.
В блоке корректировки диапазонов производительности скважин 21 происходит изменение диапазонов производительности на основе уставок, выдаваемых с АРМ геологической службы 14 и экстренное распределения по команде диспетчера запаса производительности набора скважин с минимальной уставкой производительности или с максимальной уставкой производительности, выдаваемых с первого выхода блока 25.
С четвертого выхода блока анализа состояния технологического процесса 6 на второй вход блока контроля предельного и критического давлений в магистральном трубопроводе 29 поступает текущее значение давления на входе перерабатывающего предприятия, которое сравнивается с уставками критического (90 кг/см2) и предельного (94 кг/см2) давлений, задаваемых со второго выхода АРМ администратора 7 на первый вход блока 29.
В блоке 29 согласно функциональной схеме представленной на Фиг. 6 при превышении текущего значения давления на входе перерабатывающего предприятия (Ртек) значения уставки предельного давления (Рпред) срабатывает команда на запуск блока 31 для одновременного перевода всех скважин на минимальный режим производительности.
Если Ртек меньше Рпред, но выше уставки критического давления (Ркрит), а время ожидания отклика (снижения текущего значения давления на входе перерабатывающего предприятия Ртек) истекло, то срабатывает команда на запуск блока 30 перевода одной скважины на минимальный режим производительности.
В модуле 29-3 происходит анализ состояния параметра «текущее количество прогонов для ожидания отклика снижения давления на входе перерабатывающего предприятия с выдачи команды на перевод скважины на минимальный режим производительности по превышению критического давления» (далее - ТКП).
Если значение ТКП больше 0, его значение уменьшается на один прогон.
Параллельно, в модуле 29-1 текущее давление Ртек, поступающее с четвертого выхода блока анализа состояния технологического процесса 6, сравнивается с уставкой Рпред, задаваемой с АРМ администратора 7.
Если Ртек больше или равно Рпред, то управление, согласно алгоритму, передается на модуль 29-4, в котором выдается команда на блок 31 для одновременного перевода всех скважин на минимальный режим производительности.
Если Pтек меньше Pпред, то управление, согласно алгоритму, передается на модуль 29-2, в котором выполняется сравнение Ртек с уставкой Ркрит, также задаваемой с АРМ администратора 7.
Если Ртек больше или равно Ркрит, то управление передается на модуль 29-5, в котором выполняется дополнительная проверка для возможности перевода первой одной скважины на минимальный режим производительности.
Если ТКП равно 0, то выполняется отправка команды на блок 30 для перевода следующей одной скважины на минимальный режим производительности. Параллельно в модуле 29-6 значению ТКП присваивается уставка «ожидание влияния воздействия в прогонах», задаваемая с АРМ администратора 7.
При выполнении условий для одновременного перевода всех скважин на минимальный режим производительности (посредством блока одновременного перевода всех скважин на минимальный режим производительности 31) или для перевода по одной скважине на минимальный режим производительности (посредством блока последовательного перевода скважин на минимальный режим производительности 30), согласно алгоритму, в модуле 29-7 происходит фиксация всех действий в блоке 29 для протоколирования и передачи их в блок 9.
Если оба условия не выполнены, то работа блока 29 завершается без влияния на работу системы в целом.
Пример, поясняющий работу блока контроля предельного и критического давлений в магистральном трубопроводе 29 приведен на Фиг. 7.
В блоке 30, согласно функциональной схеме представленной на Фиг. 8, формируется набор соответствия «скважина - минимальная уставка производительности - текущая уставка производительности» из которого выбирается одна скважина с наибольшей разницей между текущей уставкой производительности и минимальной уставкой производительности, на основе которой формируется новый набор соответствия «выбранная скважина - минимальная уставка производительности» и выдача из сформированного нового набора соответствия управляющего воздействия на блок выдачи уставок и управления исполнительными устройствами скважин 13 для последовательного перевода скважин на минимальный режим производительности.
В блоке 31 согласно функциональной схеме представленной на Фиг. 9 определяют набор всех скважин, подключенных к обрабатываемому магистральному трубопроводу, доступных для управления с разрешенным диспетчером автоматическим регулированием производительности и из сформированного набор соответствия «скважина - минимальная уставка производительности» выдают на блок 13 управляющие воздействия для одновременного перевода всех скважин на минимальный режим производительности.
Скорректированные диапазоны производительности скважин со второго выхода блока 21 поступают на вход блока 23 и суммарное значение расхода скважин, доступных для управления, с выхода блока 23 поступает на четвертый вход блока разрешения изменения производительности в газоконденсатопроводе 24. Скорректированные диапазоны производительности скважин, доступных для автоматического управления, с первого выхода блока 21 также поступают в блок 22 вместе с расходом всех работающих скважин со второго выхода блока анализа состояния технологического процесса 6. В блоке 22 автоматически происходит вычисление минимальных и максимальных запасов производительности по газоконденсатопроводу в целом, в диапазоне которых может оперировать система.
Расходы всех работающих скважин, с выхода блока 6, суммируется в блоке 17. В блоке 18 и 19 соответственно производятся вычисления скорости изменения давления и направления изменения давления, на основании которых в блоке 20 формируются управляющие сигналы на изменение производительности в газоконденсатопроводе, поступающие на второй вход блока 24. Скорость изменения давления по модулю за один цикл работы системы является коэффициентом увеличения рассчитанного изменения производительности и этот коэффициент вычисляется в блоке 18 с учетом параметров, поступающих со второго выхода блока памяти параметров газоконденсатопровода 16 на второй вход блока 18, которые поступают на вход блока 16 с третьего выхода АРМ диспетчерской службы 8. В результате формируются упреждающие воздействия изменения производительности в газоконденсатопроводе в автоматическом режиме и снижается запаздывание в цепи регулирования и соответственно уменьшается нестабильность давления газожидкостной смеси на входе перерабатывающего предприятия. В блоке 19 вычисляется направление изменения давления. Так при росте давления формируется управляющий сигнал на уменьшение общей производительности в газоконденсатопроводе в блоке 20, а при падении - на увеличение общей производительности в газоконденсатопроводе.
В блоке 24 формируется сигнал разрешения изменения производительности в газоконденсатопроводе с учетом управляющих сигналов с блока 20, запасов производительности по газоконденсатопроводу с выходов блока вычисления минимальных и максимальных запасов производительности 22, общего расхода скважин с блока 23 и уставок, поступающих с четвертого выхода АРМ диспетчерской службы 8. На основании разрешений, поступающих с выхода блока 24, в блоке 11 производится расчет изменения производительности в газоконденсатопроводе. Так при росте давления уменьшается производительность в газоконденсатопроводе пропорционально величине скорости изменения давления, а при снижении давления - на увеличение пропорционально величине скорости изменения давления, с учетом запасов производительности и величины общего расхода.
Рассчитанная в блоке 11 величина воздействия для изменения производительности в газоконденсатопроводе с учетом уставок, поступающих со второго выхода АРМ диспетчерской службы 8 (в зависимости от оперативной обстановки на промысле), поступает на вход блока распределения рассчитанного воздействия по скважинам 12, в котором с учетом критериев очередности выбора скважин и принадлежности скважин к одной групп приоритетов при распределении рассчитанного управляющего воздействия, сформированных в матрице 28, распределяются новые уставки расхода для каждой скважины, доступной для автоматического управления, которые поступают на первый вход блока выдачи уставок и управления исполнительными устройствами скважин 13, для тех скважин, на которых изменилась уставка расхода. В результате новых выданных уставок изменяется расход скважин, поддерживая заданное давление газожидкостной смеси в газоконденсатопроводе. Кроме этого, с блока 12 новые уставки передаются в блок ведения и формирования архива событий 9 для визуализации произведенных изменений на АРМ диспетчерской службы 8 и АРМ геологической службы 14.
Таким образом, в изобретении в автоматическом режиме:
- повышена безопасность ведения технологического процесса добычи и транспорта добываемой газожидкостной смеси до перерабатывающего предприятия за счет существенного повышения запаса производительности промысла, в связи с тем, что исключено выпадение части скважин из контура автоматического регулирования;
- повышена безопасность ведения технологического процесса за счет экстренного уменьшения производительности скважин при резком изменении технологического процесса, когда давление в магистральном трубопроводе на входе перерабатывающего предприятия достигает предельного или критического значений;
- повышена безопасность ведения технологического процесса за счет обеспечения дополнительного запаса производительности промысла, который вовлекается в контур автоматического регулирования при резком изменении технологического процесса, когда давление в магистральном трубопроводе на входе перерабатывающего предприятия снижается ниже установленного регламентом значения;
- реализовано многоступенчатое автоматическое изменение расхода, что позволяет эксплуатировать все скважины приблизительно на одинаковых режимах расхода, когда отсутствует ситуация что часть скважин находится на минимальных расходах, а часть на максимальных, что существенно снижает износ технологического оборудования и сокращает непроизводительные затраты на добычу.
Пример практической реализации существенных отличительных признаков заявляемого изобретения.
Функционирование блоков 25-31 системы осуществляется на локальные средства автоматики, выполненных на промышленных контроллерах TREI-5B-05 фирмы АО «ТРЭИ». В контроллерах использованы модули аналогового ввода со стандартными сигналами 0-20mA, а также модули дискретного ввода, через которые с полевых датчиков поступают в систему сигналы, характеризующие состояние технологического процесса (например, состояние регулирующей арматуры, текущая производительность скважины, связь с объектом, режим управления местный/дистанционный и другие).
Формируемые в блоках 27, 30, 31 новые уставки производительности передаются через блок выдачи уставок и управления исполнительными устройствами скважин 13 на модули аналогового вывода контроллера TREI, с которого выдаются управляющие воздействия на исполнительные устройства скважин.
Для дополнительно введенных параметров, используемых в новых блоках системы, используется СУБД PostgreSQL, размещенная на сервере информационно-управляющей аналитической системы комплексной оптимизации технологических режимов скважин. Например, параметры из блоков 29-31: «уставка критического значения давления» и «уставка предельного значения давления».
Также на сервер для дальнейшей обработки, использования в алгоритмах и отображения на технологических АРМах (диспетчерские, геологические) передаются и записываются в базу данных значения сигналов, приходящие с контроллера. Сервер и АРМы реализованы на следующих технических средствах: сервер Lenovo System X 3650 М5 и рабочие станции DEPO Race DT348, на которых используется операционная система Astra Linux 1.8.
Программное обеспечение, реализующее работу алгоритмов блоков 25-31, использует язык программирования Axiom JDK. Программное обеспечение функционирует на сервере информационно-управляющей аналитической системы комплексной оптимизации технологических режимов скважин. На нем производятся все операции (вычисление, суммирование, сравнение, формирование наборов скважин, проверка выполнения условий, выдача уставок производительности и другие) для блоков 25-31: например, «вычисление разницы между текущей производительностью и максимальной уставкой производительности для каждой скважины», «суммирование разниц между текущей производительностью и минимальной уставкой производительности для каждой скважины».
Пример практической реализации информационно-управляющей аналитической системы комплексной оптимизации технологических режимов скважин.
Система имеет возможность подключения для управления до 1000 скважин.
Система в реальном масштабе времени считывает данные с выходов локальных средств автоматики, с выходов которых считываются данные с датчиков на скважинах и газоконденсатопроводах и на которые выдаются управляющие воздействия по управлению расходом.
Локальные средства автоматики выполнены на промышленных контроллерах TREI-5B-05 фирмы АО «ТРЭИ», с резервируемыми процессорами с разветвленной системой ввода/вывода (6000 линий), усовершенствованными мастер-модулями на основе микросхем Intel Atom. Характеристика мастер-модулей контроллера: ЦПУ Intel Atom, тактовая частота 1,46 ГГц, ОЗУ - 2 ГБ, ПЗУ (flash) - 4 ГБ, 6 портов Ethernet, порты USB, microSD, RS485. В контроллерах использованы модули аналогового ввода/вывода со стандартными сигналами 0-20mA, а также модули дискретного ввода/вывода с общей точкой 24V(DC).
Система функционирует на следующих технических средствах: серверы Lenovo System X 3650 М5 (2 × Intel Xeon CPU Е5-2640 v4 @ 2.40GHz, технология Broadwell-E/EP 14nm 10 ядер, 63,0ГБ @ 1066 МГц, 2 × IBM ServeRAID М5210 SCSI Disk Device 557GB, PLDS DVD-RW DU8AESH, 4 × NetXtreme Gigabit Ethernet, 32 MBMatrox G200eR) и рабочие станции DEPO Race DT348 (Intel Core i5 7600 @ 3.50GHz, технология Kaby Lake 14nm 4 ядер, 16,384ГБ @ 1066 МГц, 931GB TOSHIBA DT01ACA100 (SATA), ATAPI iHAS122 F, Intel(R) Ethernet Connection I219-V, Realtek PCIe GBE Family Controller, NVIDIA Quadro P600), используемые как рабочие места специалистов, управляющих технологическим процессом.
На серверах и рабочих станциях используется операционная система Astra Linux 1.8.
Программная часть системы реализована на языке программирования Axiom JDK. Хранение данных системы, конфигурационных параметров, ведение и формирование архивов событий реализовано в СУБД PostgreSQL.
Применение информационно-управляющей аналитической системы комплексной оптимизации технологических режимов скважин обеспечивает повышение надежности ведения технологического процесса за счет автоматического уточнения доступных для управления скважин с учетом максимально допустимого давления в шлейфовом трубопроводе каждой скважины, выявление дополнительных запасов производительности, формирование экстренных упреждающих воздействий изменения производительности в газоконденсатопроводе, снижение запаздывания в цепи регулирования и соответственно снижение нестабильности давления газожидкостной смеси на входе перерабатывающего предприятия, прозрачность для дистанционной корректировки диапазонов производительности скважин геологической службой и управление диспетчером режимами работы скважин и газоконденсатопровода, а также сокращение непроизводственных затрат на добычу газожидкостной смеси.
Информационно-управляющая аналитическая система комплексной оптимизации технологических режимов скважин внедрена в Газопромысловом управлении ООО «Газпром добыча Астрахань» и обеспечивает в автоматическом режиме существенное повышение безопасности ведения процесса добычи и транспорта добываемой газожидкостной смеси до перерабатывающего предприятия.
| название | год | авторы | номер документа |
|---|---|---|---|
| ИНФОРМАЦИОННО-ИЗМЕРИТЕЛЬНАЯ УПРАВЛЯЮЩАЯ СИСТЕМА АВТОМАТИЧЕСКОГО УПРАВЛЕНИЯ ТЕМПЕРАТУРНЫМИ ПАРАМЕТРАМИ ОБЪЕКТОВ ГАЗОВОГО ПРОМЫСЛА | 2022 |
|
RU2801843C1 |
| Способ автоматического управления производительностью газовых промыслов с учетом их энергоэффективности в условиях Крайнего Севера | 2023 |
|
RU2819122C1 |
| СПОСОБ АВТОМАТИЧЕСКОГО УПРАВЛЕНИЯ ПРОИЗВОДИТЕЛЬНОСТЬЮ УСТАНОВКИ НИЗКОТЕМПЕРАТУРНОЙ СЕПАРАЦИИ ГАЗА | 2019 |
|
RU2709045C1 |
| ЦЕНТРАЛИЗОВАННАЯ СИСТЕМА ПРОТИВОАВАРИЙНОЙ АВТОМАТИКИ МАГИСТРАЛЬНЫХ НЕФТЕПРОВОДОВ И НЕФТЕПРОДУКТОПРОВОДОВ | 2015 |
|
RU2588330C1 |
| СПОСОБ АВТОМАТИЧЕСКОГО УПРАВЛЕНИЯ ПРОИЗВОДИТЕЛЬНОСТЬЮ УСТАНОВКИ НИЗКОТЕМПЕРАТУРНОЙ СЕПАРАЦИИ ГАЗА В УСЛОВИЯХ КРАЙНЕГО СЕВЕРА | 2019 |
|
RU2709044C1 |
| СПОСОБ УПРАВЛЕНИЯ ПЕРЕГРУЗКОЙ ГАЗОПЕРЕКАЧИВАЮЩИХ АГРЕГАТОВ ОДНОГО ЦЕХА ДОЖИМНОЙ КОМПРЕССОРНОЙ СТАНЦИИ | 2024 |
|
RU2837177C1 |
| СПОСОБ АВТОМАТИЧЕСКОГО ПОДДЕРЖАНИЯ ПЛОТНОСТИ НЕСТАБИЛЬНОГО ГАЗОВОГО КОНДЕНСАТА НА ВЫХОДЕ УСТАНОВОК НИЗКОТЕМПЕРАТУРНОЙ СЕПАРАЦИИ ГАЗА СЕВЕРНЫХ НЕФТЕГАЗОКОНДЕНСАТНЫХ МЕСТОРОЖДЕНИЙ РФ | 2021 |
|
RU2775126C1 |
| ИНТЕЛЛЕКТУАЛЬНАЯ СИСТЕМА ПОМОЩИ ПРИНЯТИЯ ДИСПЕТЧЕРСКИХ РЕШЕНИЙ ДЛЯ ТОЧНОГО ОПРЕДЕЛЕНИЯ УЧАСТКА И МЕСТА РАЗРЫВА МАГИСТРАЛЬНОГО ГАЗОПРОВОДА В РЕЖИМЕ РЕАЛЬНОГО ВРЕМЕНИ | 2019 |
|
RU2725342C1 |
| СПОСОБ АВТОМАТИЧЕСКОГО РАСПРЕДЕЛЕНИЯ НАГРУЗКИ МЕЖДУ ТЕХНОЛОГИЧЕСКИМИ ЛИНИЯМИ ОСУШКИ ГАЗА НА УСТАНОВКАХ КОМПЛЕКСНОЙ ПОДГОТОВКИ ГАЗА, РАСПОЛОЖЕННЫХ НА СЕВЕРЕ РФ | 2019 |
|
RU2724756C1 |
| СПОСОБ АВТОМАТИЧЕСКОГО ПОДДЕРЖАНИЯ ПЛОТНОСТИ НЕСТАБИЛЬНОГО ГАЗОВОГО КОНДЕНСАТА С ПРИМЕНЕНИЕМ АППАРАТОВ ВОЗДУШНОГО ОХЛАЖДЕНИЯ В УСТАНОВКАХ НИЗКОТЕМПЕРАТУРНОЙ СЕПАРАЦИИ ГАЗА СЕВЕРНЫХ НЕФТЕГАЗОКОНДЕНСАТНЫХ МЕСТОРОЖДЕНИЙ РФ | 2021 |
|
RU2768442C1 |
Изобретение относится к информационно-управляющим аналитическим системам комплексной оптимизации технологических режимов скважин и может быть использовано в газодобывающей, нефтедобывающей и других областях промышленности для повышения безопасности ведения технологического процесса добычи и транспорта добываемой газожидкостной смеси до перерабатывающего предприятия, а также сокращения непроизводственных затрат на добычу. Преимущество информационно-управляющей аналитической системы комплексной оптимизации технологических режимов скважин заключается в повышении надежности ведения технологического процесса за счет автоматического уточнения доступных для управления скважин с учетом максимально допустимого давления в шлейфовом трубопроводе каждой скважины, выявлении дополнительных запасов производительности, формировании экстренных упреждающих воздействий изменения производительности в газоконденсатопроводе, снижении запаздывания в цепи регулирования и соответственно снижении нестабильности давления газожидкостной смеси на входе перерабатывающего предприятия, прозрачности для дистанционной корректировки диапазонов производительности скважин геологической службой и управления диспетчером режимами работы скважин и газоконденсатопровода, а также сокращении непроизводственных затрат на добычу газожидкостной смеси. Технический результат, на достижение которого направлено изобретение, заключается в автоматическом выборе скважин по определенным критериям очередности их выбора при распределении рассчитанного управляющего воздействия, выявлении дополнительных запасов производительности скважин, формировании упреждающих воздействий изменения производительности скважин при предельном и критическом давлениях в газоконденсатопроводе на входе перерабатывающего предприятия. 9 ил., 2 табл.
Информационно-управляющая аналитическая система комплексной оптимизации технологических режимов скважин, содержащая блок диагностирования сигналов датчиков промысла, связанный своими четырьмя входами соответственно с датчиками давления, температуры и расхода скважин, датчиками дискретных сигналов состояния запорной арматуры, связи и режимов управления скважин, датчиками температуры, давления и расхода в газоконденсатопроводе, а также с датчиками дискретных сигналов состояния запорной арматуры, связи и режимов управления газоконденсатопровода, блок анализа состояния технологического процесса, связанный первым входом с выходом АРМ администратора, вторым входом - с выходом блока диагностирования сигналов датчиков промысла, третьим входом - с первым выходом АРМ диспетчерской службы и четвертым входом - с первым выходом блока ведения и формирования архива событий, второй выход которого связан с первым входом АРМ диспетчерской службы, блок отображения состояния технологического процесса и системы, связанный входом с первым выходом блока анализа состояния технологического процесса, а первым выходом со вторым входом АРМ диспетчерской службы, второй выход которого связан с первым входом блока расчета изменения производительности в газоконденсатопроводе, выход которого связан с входом блока распределения рассчитанного воздействия по скважинам, первый и второй выходы которого связаны соответственно с первым входом блока ведения и формирования архива событий и первым входом блока выдачи уставок и управления исполнительными устройствами скважин, АРМ геологической службы, связанный первым и вторым входами соответственно со вторым выходом блока отображения состояния технологического процесса и системы и с третьим выходом блока ведения и формирования архива событий, а также блок памяти параметров скважин, блок памяти параметров газоконденсатопровода, сумматор общего расхода скважин, блок вычисления скорости изменения давления, блок вычисления направления изменения давления, блок формирования управляющих сигналов, блок корректировки диапазонов производительности скважин, блок вычисления минимальных и максимальных запасов производительности, сумматор общего расхода скважин, доступных для управления, блок разрешения изменения производительности в газоконденсатопроводе, третий, четвертый и пятый выходы АРМ диспетчерской службы связаны соответственно с входом блока памяти параметров газоконденсатопровода, первым входом блока разрешения изменения производительности в газоконденсатопроводе и входом блока памяти параметров скважин, выход которого связан с пятым входом блока диагностирования сигналов датчиков промысла, шестой вход которого связан с первым выходом блока памяти параметров газоконденсатопровода, второй выход блока анализа состояния технологического процесса параллельно соединен с входом сумматора общего расхода скважин и первым входом блока вычисления минимальных и максимальных запасов производительности, второй вход которого связан с первым выходом блока корректировки диапазонов производительности скважин, второй выход которого связан с входом сумматора общего расхода скважин, доступных для управления, выход сумматора общего расхода скважин параллельно подключен к первому входу блока вычисления скорости изменения давления и к входу блока вычисления направления изменения давления, второй выход блока памяти параметров газоконденсатопровода связан со вторым входом блока вычисления скорости изменения давления, выход которого связан с первым входом блока формирования управляющих сигналов, второй вход которого связан с выходом блока вычисления направления изменения давления, выход блока формирования управляющих сигналов связан со вторым входом блока разрешения изменения производительности в газоконденсатопроводе, третий и четвертый входы которого связаны соответственно с выходом блока вычисления минимальных и максимальных запасов производительности и выходом сумматора общего расхода скважин, доступных для управления, выход блока разрешения изменения производительности в газоконденсатопроводе связан со вторым входом блока расчета изменения производительности в газоконденсатопроводе, а первый выход АРМ геологической службы связан с первым входом блока корректировки диапазонов производительности скважин, отличающаяся тем, что в нее дополнительно введены блок определения магистральных трубопроводов промысла, доступных для управления, и классификации подключенных к ним скважин, блок вычисления минимальных и максимальных запасов производительности по скважинам, подключенным к каждому магистральному трубопроводу, доступным для управления с запрещенным диспетчером автоматическим регулированием производительности, блок экстренного распределения всего запаса производительности скважин, подключенных к каждому магистральному трубопроводу, доступных для управления с запрещенным диспетчером автоматическим регулированием производительности, матрица критериев очередности выбора скважин при распределении рассчитанного управляющего воздействия, а также блок контроля предельного и критического давлений в магистральном трубопроводе, блок последовательного перевода скважин на минимальный режим производительности, блок одновременного перевода всех скважин на минимальный режим производительности, при этом матрица критериев очередности выбора скважин при распределении рассчитанного управляющего воздействия первым и вторым входами, а также выходом связана соответственно с пятым дополнительным выходом блока анализа состояния технологического процесса, со вторым выходом АРМ геологической службы и с пятым дополнительным входом блока анализа состояния технологического процесса, третий дополнительный выход которого связан с первым входом блока определения магистральных трубопроводов промысла, доступных для управления, и классификации подключенных к ним скважин, второй вход, а также первый и второй выходы которого связаны соответственно с шестым дополнительным выходом АРМ диспетчерской службы, со вторым входом блока корректировки диапазонов производительности скважин и входом блока вычисления минимальных и максимальных запасов производительности по скважинам, подключенным к каждому магистральному трубопроводу, доступным для управления с запрещенным диспетчером автоматическим регулированием производительности, первый и второй выходы которого связаны соответственно с третьим дополнительным входом АРМ диспетчерской службы и первым входом блока экстренного распределения всего запаса производительности скважин, подключенных к каждому магистральному трубопроводу, доступных для управления с запрещенным диспетчером автоматическим регулированием производительности, второй вход, а также второй и первый выходы которого связаны соответственно с седьмым дополнительным выходом АРМ диспетчерской службы, со вторым входом блока ведения и формирования архива событий и вторым дополнительным входом блока выдачи уставок и управления исполнительными устройствами скважин, при этом блок контроля предельного и критического давлений в магистральном трубопроводе своими первым и вторым входами связан соответственно со вторым дополнительным выходом АРМ администратора и с четвертым дополнительным выходом блока анализа состояния технологического процесса, при этом дополнительный третий вход блока ведения и формирования архива событий связан с третьим выходом блока контроля предельного и критического давлений в магистральном трубопроводе, который своими первым и вторым выходами связан соответственно с входом блока последовательного перевода скважин на минимальный режим производительности и входом блока одновременного перевода всех скважин на минимальный режим производительности, при этом выходы блока последовательного перевода скважин на минимальный режим производительности и блока одновременного перевода всех скважин на минимальный режим производительности связаны соответственно с дополнительным четвертым входом и дополнительным третьим входом блока выдачи уставок и управления исполнительными устройствами скважин.
| Электроконтактный батарейный манометр | 1952 |
|
SU96675A1 |
| ИНФОРМАЦИОННО-ИЗМЕРИТЕЛЬНАЯ УПРАВЛЯЮЩАЯ СИСТЕМА АВТОМАТИЧЕСКОГО УПРАВЛЕНИЯ ТЕМПЕРАТУРНЫМИ ПАРАМЕТРАМИ ОБЪЕКТОВ ГАЗОВОГО ПРОМЫСЛА | 2022 |
|
RU2801843C1 |
| Машина для горячего формования носка или пятки | 1952 |
|
SU97544A1 |
| Система автоматизированного контроля работ на скважинах и нефтепромысловом оборудовании, не оснащенных или частично оснащенных АСУ ТП | 2018 |
|
RU2699101C1 |
| RU 112936 U1, 27.01.2012 | |||
| WO 2017078890 A1, 11.05.2017. | |||
Авторы
Даты
2025-04-11—Публикация
2024-08-28—Подача