СЕТЧАТЫЙ ФИЛЬТР Российский патент 2025 года по МПК B01D29/23 B01D46/24 

Описание патента на изобретение RU2838448C1

Изобретение относится к устройствам для фильтрации рабочей жидкости и газов с содержанием механических примесей.

Известен цилиндрический фильтр по патенту 2042090, мпк F25B 43/02, предназначенный для очистки газов от твердых и жидких примесей. Фильтр содержит внутренний проницаемый сердечник с глухими зонами, торцевые крышки, фильтровальный материал, дренажный слой и перфорированный цилиндр. Фильтр работает следующим образом. Поток, содержащий жидкие частицы, поступает внутрь сердечника, проходит через фильтрующий и дренажные слои и выходит из фильтра. Улавливаемые фильтрующим материалом жидкие частицы накапливаются в нем и выдавливаются газом в дренажный слой, по которому стекают с фильтра. Известно, что пропускная способность фильтра определяется соотношением , где F - рабочая наружная площадь поверхности сердечника, F0-площадь отверстий в сердечнике. «Обоснование размеров ячейки фильтрующих элементов систем защиты, предотвращающих попадание твердых частиц в газорегулирующие пункты… А.П. Усачев и др. Саратовский ГТУ. Нефтегазовое дело. 2010. T. 8, №1,c. 80).» Из рисунков видно, что F намного больше F0. Фильтр сетчатый Т-образный, патент на полезную модель 195597,мпк B01D 35/00,относится к очистке газов и жидкостей и направлен на увеличение площади фильтрации фильтрующего элемента. Сетчатый фильтр Т-образный модульный содержит корпус, фильтрующий элемент, заглушку и модуль увеличения емкости. В зависимости от характеристик среды изменением емкости можно изменять площадь фильтрующего элемента. Известен патент 2169035,мпк B01D 27/00, 20.12.2001, Дренажный фильтр. Он предназначен для очистки жидкостей в установках водоподготовки и доочистки сточных вод. Дренажный фильтр содержит каркас в виде перфорированной трубы с коническими отверстиями. Наружную поверхность трубы охватывает пористая гильза из многослойного волокнистого материала. На торцах каркаса имеются две муфты. Загрязненная жидкость проходит через пористую гильзу и через конические отверстия поступает во внутреннюю полость перфорированной трубы. Из перфорированной трубы очищенная жидкость поступает в водосборник. Наличие конических отверстий способствует более равномерному распределению жидкости по площади фильтра. Однако пропускная способность фильтра недостаточно высокая. Наиболее близким по техническому решению и достигаемому результату является патент на полезную модель 137478 мпк B01D 29/21, сетчатый фильтр с высокой площадью фильтрации. Сетчатый фильтр состоит из каркаса, который соединен фланцевым соединением с крышкой и эллиптическим днищем. Внутри корпуса расположена фильтрующая кассета в виде параллельно расположенных и соединенных со стальными стержнями сборные пластины, промеж которых S-образно укладывается фильтрующая сетка. Сетчатый фильтр устанавливается в линии всасывающего трубопровода. Направление потока жидкости параллельно фильтрующей сетке. S-образное расположение сетки увеличивает площадь фильтрации, что и обеспечивает высокую степень очистки жидкости. Если фильтрацию с S-образным расположением сетки и расположением сетки в одной плоскости привести к единице площади сетки-1 см2, то отличия если и будут то незначительные. К недостаткам фильтра следует отнести его сложность.

Решаемая техническая задача-повышение пропускной способности сетчатого фильтра. Решаемая техническая задача в сетчатом фильтре, содержащем перфорируемое основание, соединенное герметично по торцам с торцевой крышкой и фланцем для вывода очищаемой среды и фильтрующую сетку достигается тем, что на неперфорированную наружную часть рабочей поверхности основания, закреплен профиль с формой его расположения в виде прямой или кривой S-образной формы, при этом, профиль выполнен металлическим или полимерным и может быть прямоугольным, треугольным или круглым, с обеспечением зазора между сеткой и основанием.

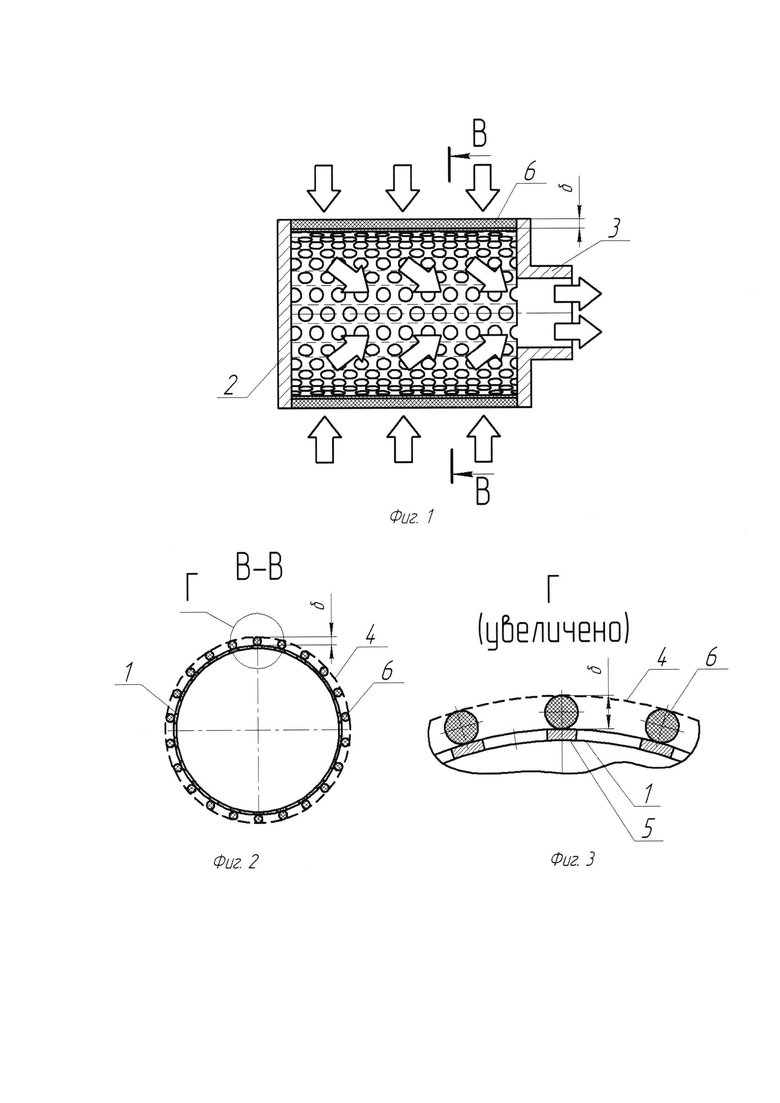
На фиг. 1 представлен общий вид сетчатого фильтра с повышенной пропускной способностью. На фиг. 2- сечение В-В на фиг. 1, на фиг. 3- место Г- на фиг. 2. На фиг. 4 - S-образное расположение профиля на наружной поверхности основания. На фиг. 5-сечение А-А на фиг. 4. На фиг. 6- сечение Б-Б на фиг. 5. Сетчатый фильтр с повышенной пропускной способностью содержит перфорированное цилиндрическое основание 1 соединенное герметично по торцам с торцевой крышкой 2 и фланцем 3 для выхода очищенной среды и фильтрующую сетку 4 (фиг. 1-3). На неперфорированной наружной поверхности 5 основания 1 закреплен круглый профиль 6 с разной формой его расположения в виде прямой 7 (траектория положения профиля 6 на основание 1 (фиг. 1) или кривой - S-образной формы 8 (фиг. 4-6). Профиль 6 закреплен на основании 1 с обеспечением воздушного зазора δ между сеткой 4 и основанием 1. Пропускная (открытая) поверхность фильтрации обеспечивает производительность фильтра, его ресурс (время до забивания поверхности примесями), которая определяется соотношением F0/F, где F0 - площадь отверстий в основании, F - рабочая площадь поверхности основании. Известно, что для сетки номер 05 по ГОСТ 6613-86,сетки проволочные тканевые с квадратной ячейкой, с толщиной проволоки 0,25 мм, это соотношение составит 45%. В случае плотного прилегания фильтрующей сетки к перфорированному основанию имеет место частичное перекрытие открытой фильтрующей поверхности сетки. Открытость самого распространенного перфорированного листа (Rv5/8-шахматное положение отверстий диаметром 5 мм с шагом 8 мм) составляет около 40%. Таким образом, максимальная возможная открытость поверхности сетки номер 05 с заданной тонкостью фильтрации, нанесенной 1 слоем на перфорированное основание составит (берем 40% от 45%) 18%. Данный показатель - это процент используемой фильтрующей поверхности. Здесь он достаточно мал. Наличие профиля 6 на основании 1 с зазором δ позволяет исключить контакт сетки с основанием 1. Величина зазора δ, найденная экспериментальным путем, составляет 2-5 мм. Профиль может быть металлическим или полимерным. Полимерный профиль можно получить на 3Д принтере. Профиль наносится на неперфорированную часть 5 основания 1, таким образом, что отношение площади прилегания сетки к площади самой сетки будет не более 1/10. Для исключения прогиба сетки положение профиля на основании может быть S-образной формы. Площадь контакта профиля 6 с сеткой 4 можно регулировать его формой (круглой, треугольной, прямоугольной).Тогда открытость сетки номер 5 с толщиной проволоки 0,25 мм составит 90% от 45% это 4о,5%, что больше рассчитанного выше случая (18%) на 2,25 раза. Сетчатый фильтр повышенной проходимости работает следующим образом. Он устанавливается в линии всасывающего трубопровода, жидкость или газ прокачиваются через сетку 4 и перфорированное основание 1 и поступают в сборник очищенной среды. Фильтр позволяет пропускать больший расход очищаемой среды и увеличить грязеемкость поверхности фильтрации в 2,25 раза. Это позволяет использовать меньшее количество фильтроэлементов и сократить капитальные затраты на обслуживание.

Похожие патенты RU2838448C1

название год авторы номер документа
ГАЗООЧИСТИТЕЛЬ 2014
  • Егорочкин Руслан Алексеевич
  • Меркушев Константин Егорович
RU2553304C2
Проточный котёл пульсирующего горения 2021
  • Намазов Мусрет Османович
  • Намазов Марат Мусретович
  • Егорочкин Руслан Алексеевич
  • Меркушев Константин Егорович
RU2767121C1
УСТРОЙСТВО ДЛЯ ПРИГОТОВЛЕНИЯ ЭМУЛЬСИЙ 2024
  • Намазов Мусрет Османович
  • Пилягин Михаил Васильевич
  • Егорочкин Руслан Алексеевич
  • Меркушев Константин Егорович
  • Намазов Марат Мусретович
RU2834070C1
АВТОМАТИЧЕСКИЙ РЕГЕНЕРИРУЕМЫЙ ФИЛЬТР 2015
  • Большаков Михаил Владимирович
RU2580732C1
Сепарирующее устройство 2019
  • Ахсаниев Гамаль Рафаэльевич
  • Нохратский Юрий Андреевич
  • Салимгареев Руслан Ильдарович
  • Шигапов Ильяс Масгутович
RU2699122C1
БЛОЧНО-МОДУЛЬНАЯ ФИЛЬТРАЦИОННАЯ УСТАНОВКА 2019
  • Большаков Владимир Алексеевич
RU2709275C1
БЛОК ТОНКОЙ ФИЛЬТРАЦИИ 2011
  • Большаков Владимир Алексеевич
  • Гребнев Максим Викторович
RU2474461C1
Устройство для очистки жидких сред от механических примесей 2015
  • Мартынов Пётр Никифорович
  • Паповянц Альберт Константинович
  • Григоров Виталий Владимирович
  • Дворникова Елена Германовна
  • Скворцов Игорь Сергеевич
RU2620439C1
СЕТЧАТЫЙ ФИЛЬТР 2009
  • Клыков Михаил Васильевич
  • Разноушкин Артем Егорович
RU2486941C2
Устройство для очистки попутно добываемой воды 2024
  • Катермин Михаил Викторович
  • Муллаянова Алсу Салаватовна
  • Фатхутдинов Ринат Рустамович
  • Яковлев Руслан Радикович
  • Талибуллин Руслан Наилевич
RU2840122C1

Иллюстрации к изобретению RU 2 838 448 C1

Реферат патента 2025 года СЕТЧАТЫЙ ФИЛЬТР

Изобретение относится к устройствам для фильтрации газов и жидкостей от механических примесей. Сетчатый фильтр содержит перфорированное основание, соединенное герметично по торцам с крышкой и фланцем для выхода очищаемой среды, и фильтрующую сетку. На неперфорированной наружной части рабочей поверхности основания закреплен профиль с формой его расположения в виде прямой или кривой S-образной формы. Профиль выполнен из металла или полимера и имеет круглую, прямоугольную или треугольную формы и установлен на основании с обеспечением зазора между сеткой и основанием. Технический результат: повышение пропускной способности сетчатого фильтра. 6 ил.

Формула изобретения RU 2 838 448 C1

Сетчатый фильтр, содержащий перфорированное основание, соединенное герметично по торцам с торцевой крышкой и фланцем для выхода очищаемой среды, и фильтрующую сетку, отличающийся тем, что на неперфорированную наружную часть рабочей поверхности основания закреплен профиль с формой его расположения в виде прямой или кривой S-образной формы, при этом профиль выполнен из металла или полимера и может быть прямоугольным, треугольным или круглым с обеспечением зазора между сеткой и основанием.

Документы, цитированные в отчете о поиске Патент 2025 года RU2838448C1

RU 137478 U1, 20.02.2014
СКВАЖИННЫЙ ФИЛЬТР 2001
  • Тельных В.А.
RU2203366C2
Буровой предохранительный переходник 1948
  • Давыдов В.И.
SU76677A1
Способ получения масла из молозива 1940
  • Коссов Е.Д.
SU66416A1
Устройство для правки металлических шпуль кольцепрядильных машин 1959
  • Капранов В.Д.
  • Лунин Д.А.
  • Нуждин Н.А.
  • Тюников Б.М.
SU129552A1
Способ использования отработавшего пара двигателей на речных вароходах 1935
  • Семека В.А.
SU51664A1
US 5980745 A1, 09.11.1999
US 5937944 A1, 17.08.1999.

RU 2 838 448 C1

Авторы

Егорочкин Руслан Алексеевич

Меркушев Константин Егорович

Даты

2025-04-16Публикация

2023-11-22Подача