ПЕРЕКРЕСТНАЯ ССЫЛКА НА РОДСТВЕННЫЕ ЗАЯВКИ
Данная заявка испрашивает приоритет и преимущество по заявке на патент Кореи №10-2023-0038119, поданной в Корейское ведомство по интеллектуальной собственности 23 марта 2023 г., содержимое которой полностью включено в настоящий документ посредством ссылки.
ОБЛАСТЬ ТЕХНИКИ
Настоящее изобретение относится к сгибаемому детектору, используемому для проверки материалов, характеристик, состояний, наличия дефекта и т.п. без разрушения объектов контроля.
УРОВЕНЬ ТЕХНИКИ
Метод неразрушающего контроля относится к способу проверки материалов, характеристик, состояния, наличия дефекта и т.п. без разрушения объектов контроля.
Метод неразрушающего контроля может быть использован для выявления внутренней структуры или дефекта без разрушения объекта контроля. Например, метод неразрушающего контроля может быть использован для проверки качества промышленной продукции различных видов на промышленных площадках, определения того, являются ли здания и т.п. дефектными, и выявления состояния истирания/коррозии.
В случае выполнения неразрушающего контроля с использованием рентгеновского метода неразрушающего контроля объектом контроля может быть полый цилиндрический объект, например, труба.
Например, в патенте Кореи №10-2373241 раскрыт детектор радиоактивных лучей, содержащий гибкую панель обнаружения радиоактивного излучения и сгибаемую опорную часть, выполненную с возможностью поддержки панели обнаружения радиоактивных лучей. Однако конструкция сгибаемого детектора известного уровня техники уязвима для воды и пыли, а механизм и устройство для поддержки детектора сложны. Кроме того, существует проблема, заключающаяся в том, при поломке панели обнаружения радиоактивных лучей непригодным становится весь детектор.
РАСКРЫТИЕ СУЩНОСТИ ИЗОБРЕТЕНИЯ
Целью настоящего изобретения является создание сгибаемого детектора, который может иметь улучшенные характеристики защиты от проникновения воды и/или пыли за счет усовершенствования сгибаемого детектора известного уровня техники и обладает панелью обнаружения, которая может обнаруживать радиоактивные лучи, легко заменяется и проста в использовании.
В настоящем изобретении предложен сгибаемый детектор, содержащий: первый корпус, содержащий в себе блок управления и выполненный из неупругого материала или материала, имеющего более высокую жесткость, чем материал второго корпуса; второй корпус, содержащий в себе панель обнаружения и выполненный из упругого материала или композиционного материала, включающего упругий материал и неупругий материал; и соединительный механизм, имеющий соединительную конструкцию, выполненную с возможностью разъемного соединения первого корпуса и второго корпуса таким образом, что первый корпус и второй корпус являются разъемными.
Кроме того, сгибаемый детектор может включать в себя: первый соединитель, выполненный на первой ответной поверхности первого корпуса; и второй соединитель, выполненный на второй ответной поверхности второго корпуса с возможностью соединения с первым соединителем.
Кроме того, любой из первого и второго соединителей может быть соединителем, имеющим подпружиненные контакты, а другой из первого и второго соединителей может быть соединителем, к которому подпружиненный контакт подсоединен.
В варианте осуществления соединительный механизм может представлять собой первый соединительный механизм, включающий в себя: вставляемый элемент, выступающий с одной стороны или двух противоположных сторон первой ответной поверхности первого корпуса по направлению ко второй ответной поверхности второго корпуса; и отверстие для вставки, выполненное в части второй ответной поверхности второго корпуса, соответствующей вставляемому элементу, так что вставляемый элемент вставляется в отверстие для вставки.
В варианте осуществления соединительный механизм может представлять собой первый соединительный механизм, включающий в себя: вставляемый элемент, выступающий с одной стороны или двух противоположных сторон второй ответной поверхности второго корпуса по направлению к первой ответной поверхности первого корпуса; и отверстие для вставки, выполненное в части первой ответной поверхности первого корпуса, соответствующей вставляемому элементу, так что вставляемый элемент вставляется в отверстие для вставки.
Кроме того, первый соединительный механизм может включать в себя фиксирующий элемент, выполненный с возможностью предотвращения разъединения первого и второго корпусов, при этом во втором корпусе может быть сформировано направляющее отверстие в направлении, пересекающем отверстие для вставки, один конец фиксирующего элемента может упруго поддерживаться упругим элементом, выполненным в направляющем отверстии, другой конец фиксирующего элемента может быть вставлен в канавку для вставки, выполненную во вставляемом элементе, и ограничивать перемещение вставляемого элемента, а устройство регулировки фиксации, соединенное с фиксирующим элементом, может перемещать фиксирующий элемент при перемещении вдоль рабочего пространства, выполненного во втором корпусе.
В варианте осуществления соединительный механизм может представлять собой второй соединительный механизм, включающий в себя: вставляемый элемент, выступающий с одной стороны или двух противоположных сторон первой ответной поверхности первого корпуса по направлению ко второй ответной поверхности второго корпуса; и канавку для вставки, выполненную на боковой поверхности второго корпуса, соответствующей вставляемому элементу, и сформированную в продольном направлении таким образом, что вставляемый элемент вставляется в канавку для вставки.
Кроме того, каждое из вставляемого элемента и канавки для вставки может иметь форму, такую как форма
или форма
.
В варианте осуществления соединительный механизм может включать в себя вставляемый элемент, выполненный с возможностью предотвращения разъединения первого и второго корпусов, при этом вставляемый элемент может включать в себя удлинительную часть, выступающую с одной стороны или двух противоположных сторон первой ответной поверхности первого корпуса по направлению ко второй ответной поверхности второго корпуса, и фиксирующий элемент, выполненный на конце удлинительной части, а в соответствующей вставляемому элементу части второй ответной поверхности второго корпуса может быть выполнена канавка для вставки, причем вставляемый элемент может быть вставлен в канавку для вставки, также может быть предусмотрено устройство регулировки фиксации, соединенное с удлинительной частью, при этом устройство регулировки фиксации может быть размещено в приемной части первого корпуса, по меньшей мере часть устройства регулировки фиксации может быть выставлена наружу приемной части, а устройство регулировки фиксации может поворачиваться для поворота фиксирующего элемента в направлении фиксации в состоянии, в котором вставляемый элемент вставлен в канавку для вставки, так что фиксирующий элемент пересекает канавку для вставки.
В варианте осуществления соединительный механизм может представлять собой пятый соединительный механизм, включающий в себя: фиксирующий элемент, выполненный на одной боковой поверхности или двух противоположных поверхностях первого корпуса и включающий в себя удлинительную часть, имеющую один конец, соединенный с первым корпусом осью шарнира, причем удлинительная часть выполнена с возможностью поворота вокруг оси шарнира и упруго поддерживается упругим элементом, соединенным с осью шарнира, и захватный выступ, выполненный на другом конце удлинительной части; и канавку для вставки, выполненную на боковой поверхности второго корпуса, соответствующей фиксирующему элементу, и сформированную в продольном направлении так, что удлинительная часть вставляется в канавку для вставки.
Кроме того, захватный выступ может быть вставлен в захватную канавку, выполненную в канавке для вставки.
Кроме того, пятый соединительный механизм может дополнительно включать в себя: вставляемый элемент, выполненный между фиксирующими элементами, расположенными на двух противоположных сторонах, причем вставляемый элемент выступает с одной стороны или двух противоположных сторон первой ответной поверхности первого корпуса по направлению ко второй ответной поверхности второго корпуса; и отверстие для вставки, выполненное в части второй ответной поверхности второго корпуса, соответствующей вставляемому элементу, так что вставляемый элемент вставляется в отверстие для вставки.
В варианте осуществления соединительный механизм может представлять собой шестой соединительный механизм, имеющий соединительный элемент, соединяемый с проникновением в первый и второй корпуса в состоянии, в котором первый и второй корпуса расположены рядом друг с другом горизонтально в продольном направлении.
В варианте осуществления соединительный механизм может представлять собой седьмой соединительный механизм, имеющий соединительный элемент, соединяемый с проникновением в первый и второй корпуса в состоянии, в котором первый и второй корпуса расположены вертикально.
Кроме того, седьмой соединительный механизм может дополнительно содержать: канавку скольжения, выполненную в нижней части первого корпуса; и направляющую скольжения, выполненную на верхней части второго корпуса таким образом, чтобы она соответствовала канавке скольжения и вставлялась с возможностью скольжения в канавку скольжения.
В варианте осуществления соединительный механизм может представлять собой восьмой соединительный механизмом, в котором соединительные пластины, выполненные с возможностью соединения с первым корпусом и вторым корпусом, прикрепляют к двум противоположным сторонам первого корпуса и двум противоположным сторонам второго корпуса в состоянии, в котором первый и второй корпуса расположены горизонтально рядом друг с другом в продольном направлении или расположены вертикально, при этом первые соединительные элементы соединяются с первым корпусом, проникая через соединительные пластины, а вторые соединительные элементы соединяются со вторым корпусом, проникая через соединительные пластины.
В варианте осуществления соединительный механизм может представлять собой девятый соединительный механизм, содержащий: канавку скольжения, выполненную в нижней части первого корпуса и сформированную в продольном направлении; и направляющую скольжения, выполненную на верхней части второго корпуса и сформированную в продольном направлении, причем направляющая скольжения соответствует канавке скольжения, так что направляющая скольжения вставляется с возможностью скольжения в канавку скольжения.
Кроме того, девятый соединительный механизм может дополнительно включать в себя: направляющее отверстие, выполненное в первом корпусе и сформированное в направлении, пересекающем канавку скольжения; фиксирующий элемент, имеющий один конец, упруго поддерживаемый упругим элементом, вставленным в направляющее отверстие, и другой конец, вставленный в канавку для вставки, выполненную в направляющей скольжения; и устройство регулировки фиксации, соединенное с фиксирующим элементом и выполненное с возможностью перемещения фиксирующего элемента при перемещении вдоль рабочего пространства, выполненного в первом корпусе.
В варианте осуществления соединительный механизм может представлять собой десятый соединительный механизм, включающий в себя: направляющую скольжения, выполненную на одной продольной поверхности первого корпуса и сформированную в направлении, пересекающем продольное направление первого корпуса; и канавку скольжения, выполненную в одной продольной поверхности второго корпуса и сформированную в направлении, пересекающем продольное направление второго корпуса, так что направляющая скольжения вставляется в канавку скольжения.
Кроме того, первая ответная поверхность, на которой выполнен первый соединитель, может быть выполнена на поверхности, которая входит в канавку скольжения направляющей скольжения, а вторая ответная поверхность, на которой выполнен второй соединитель, может быть выполнена на внутренней торцевой поверхности канавки скольжения, соответствующей первой ответной поверхности.
Кроме того, первая ответная поверхность может быть выполнена в направлении, пересекающем продольное направление первого корпуса, а вторая ответная поверхность может быть выполнена в направлении, пересекающем продольное направление второго корпуса.
Кроме того, первый соединитель может быть выполнен в направлении, пересекающем продольное направление первого корпуса, а второй соединитель может быть выполнен в направлении, пересекающем продольное направление второго корпуса.
Кроме того, первая ответная поверхность, на которой выполнен первый соединитель, может быть выполнена в приемной канавке, выполненной в продольном направлении одной поверхности направляющей скольжения, а вторая ответная поверхность, на которой выполнен второй соединитель, может быть выполнена в канавке скольжения, соответствующей первой ответной поверхности.
Кроме того, первая ответная поверхность может быть выполнена в направлении, идентичном продольному направлению первого корпуса, а вторая ответная поверхность может быть выполнена в направлении, идентичном продольному направлению второго корпуса.
Кроме того, первый соединитель может быть выполнен в направлении, идентичном продольному направлению первого корпуса, а второй соединитель может быть выполнен в направлении, идентичном продольному направлению второго корпуса.
Кроме того, каждый из первого соединителя и второго соединителя может быть выполнен в виде горизонтального соединителя или наклонного соединителя.
Кроме того, десятый соединительный механизм может дополнительно включать в себя: направляющее отверстие, выполненное во втором корпусе с возможностью сообщения с канавкой скольжения; фиксирующий элемент, имеющий один конец, упруго поддерживаемый упругим элементом, выполненным в направляющем отверстии, и другой конец, вставленный в канавку для вставки первого корпуса; и устройство регулировки фиксации, соединенное с фиксирующим элементом и выполненное с возможностью перемещения фиксирующего элемента при перемещении вдоль рабочего пространства, выполненного во втором корпусе.
В варианте осуществления соединительный механизм может представлять собой одиннадцатый соединительный механизм, включающий в себя: монтажную канавку, выполненную в верхней части первой ответной поверхности первого корпуса; фиксирующий механизм, включающий в себя удлинительную часть, имеющую один конец, расположенный в первом корпусе, соединенный с возможностью поворота с первым корпусом посредством оси шарнира и упруго поддерживаемый упругим элементом, и второй конец, открытый в направлении второго корпуса, причем на другом конце удлинительной части выполнен захватный выступ; по меньшей мере один крючок, вставляемый в монтажную канавку и выполненный на части второй ответной поверхности второго корпуса, соответствующей монтажной канавке; канавку для вставки, сформированную в нижней поверхности второго корпуса таким образом, что второй конец удлинительной части вставляется в канавку для вставки; и захватную канавку, выполненную в канавке для вставки таким образом, что захватный выступ вставляется в захватную канавку.
В варианте осуществления соединительный механизм может представлять собой двенадцатый соединительный механизм, включающий в себя: отверстие для вставки, выполненное на одной стороне первой ответной поверхности первого корпуса; захватную канавку, выполненную на другой стороне первой ответной поверхности первого корпуса и выполненную в виде вогнутой канавки, сформированной в направлении от нижней поверхности первого корпуса в направлении верхней поверхности первого корпуса; вставляемый элемент, выступающий из одной стороны второй ответной поверхности второго корпуса в направлении первого корпуса и вставляемый в отверстие для вставки; захватный элемент, выступающий из другого конца второй ответной поверхности второго корпуса в направлении первого корпуса, причем захватный элемент выполнен с возможностью вставки в захватную канавку с поворотом при этом вокруг вставляемого элемента, вставленного в отверстие для вставки, в направлении от нижней поверхности первого корпуса в направлении верхней поверхности первого корпуса.
Кроме того, отверстие для вставки может включать в себя: первое отверстие для вставки, выполненное в виде длинного отверстия; и второе отверстие для вставки, выполненное с возможностью сообщения с первым отверстием для вставки и расположенное ближе к внутренней части первого корпуса, чем первое отверстие для вставки, причем второе отверстие для вставки выполнено в виде отверстия, центр которого совпадает с центром первого отверстия для вставки.
Кроме того, вставляемый элемент может включать в себя: первый вставляемый элемент, располагаемый в первом отверстии для вставки, когда вставляемый элемент вставляют в отверстие для вставки; и второй вставляемый элемент, выполненный на конце первого вставляемого элемента и имеющий форму, соответствующую первому отверстию для вставки, причем второй вставляемый элемент выполнен с возможностью поворота для пересечения первого отверстия для вставки в состоянии, в котором второй вставляемый элемент вставлен во второе отверстие для вставки через первое отверстие для вставки.
Кроме того, захватная канавка может включать в себя: первую захватную канавку и вторую захватную канавку, выполненную с возможностью сообщения с первой захватной канавкой и расположенную ближе к внутренней части второго корпуса, чем первая захватная канавка, причем вторая захватная канавка выполнена в виде более крупной канавки, чем первая захватная канавка.
Кроме того, по меньшей мере одна боковая поверхность первой захватной канавки может быть выполнена в виде наклонной поверхности, и наклонная поверхность может иметь наклонную конструкцию, ширина которой уменьшается в направлении от нижней поверхности первого корпуса в направлении верхней поверхности первого корпуса.
Кроме того, захватный элемент может включать в себя: первый захватный элемент, располагаемый в первой захватной канавке, когда захватный элемент вставляют в захватную канавку; и второй захватный элемент, выполненный на конце первого захватного элемента таким образом, что часть второго захватного элемента, которая направлена к нижней поверхности первого корпуса в состоянии, в котором второй захватный элемента вставлен во вторую захватную канавку, выполнена в виде плоской части поверхности.
Кроме того, двенадцатый соединительный механизм может дополнительно включать в себя: направляющее отверстие, выполненное в первом корпусе и сформированное в направлении, пересекающем вторую захватную канавку, чтобы сообщаться со второй захватной канавкой; фиксирующий элемент, имеющий один конец, вставленный в направляющее отверстие и упруго поддерживаемый упругим элементом, и второй конец, выполненный с возможностью поддержания плоской части поверхности второго захватного элемента, вставленного во вторую захватную канавку, для реализации фиксированного состояния; и устройство регулировки фиксации, соединенное с фиксирующим элементом и выполненное с возможностью перемещения фиксирующего элемента в направлении фиксации при перемещении вдоль рабочего пространства, выполненного в первом корпусе.
В соответствии с настоящим изобретением первый корпус, который включает в себя блок управления, и второй корпус, который включает в себя панель обнаружения радиоактивных лучей, могут быть соединены с возможностью разъединения, так что второй корпус, включающий в себя панель обнаружения радиоактивных лучей, может быть заменен и использован по мере необходимости.
Кроме того, в соответствии с настоящим изобретением второй корпус, который включает в себя панель обнаружения радиоактивных лучей, может быть изготовлен из гибкого материала и выполнен с возможностью заключения в себе панели обнаружения радиоактивных лучей, что позволяет улучшить характеристики защиты от проникновения воды и/или пыли.
Кроме того, в соответствии с настоящим изобретением соединительный механизм, имеющий по меньше мере одну соединительную конструкцию, может быть расположен между первым корпусом и вторым корпусом, так что первый соединитель первого корпуса и второй соединитель второго корпуса могут оставаться надежно соединенными, а первый корпус может оставаться надежно соединенным со вторым корпусом.
Вышеприведенное раскрытие сущности изобретения носит исключительно иллюстративный характер и ни в коей мере не является ограничивающим. Дополнительные аспекты, варианты осуществления и признаки, помимо вышеописанных иллюстративных аспектов, вариантов осуществления и признаков, станут очевидны при обращении к чертежам и следующему подробному описанию.
КРАТКОЕ ОПИСАНИЕ ЧЕРТЕЖЕЙ
На ФИГ. 1 приведен вид в перспективе с пространственным разделением деталей, иллюстрирующий первый корпус и второй корпус в соответствии с первым вариантом осуществления настоящего изобретения.
На ФИГ. 2 приведен вид в перспективе, иллюстрирующий второй корпус в соответствии с первым вариантом осуществления настоящего изобретения.
На ФИГ. 3 приведен вид сверху, иллюстрирующий второй корпус в соответствии еще с одним вариантом осуществления, изображенного на ФИГ. 1, а именно, вид в частичном поперечном разрезе, иллюстрирующий фиксирующий элемент.
На ФИГ. 4 приведен вид сверху, иллюстрирующий состояние, в котором первый корпус и второй корпус в соответствии еще с одним вариантом осуществления, изображенного на ФИГ. 1 соединены.
На ФИГ. 5 приведен вид сверху, иллюстрирующий первый корпус и второй корпус в соответствии еще с одним вариантом осуществления, изображенного на ФИГ. 1, а именно, вид в частичном поперечном разрезе, иллюстрирующий состояние, в котором фиксирующий элемент вставлен в канавку для вставки вставляемого элемента.
На ФИГ. 6 приведен вид в перспективе с пространственным разделением деталей, иллюстрирующий первый корпус и второй корпус в соответствии со вторым вариантом осуществления настоящего изобретения.
На ФИГ. 7 приведен вид в перспективе с пространственным разделением деталей, иллюстрирующий первый корпус и второй корпус в соответствии с третьим вариантом осуществления настоящего изобретения.
На ФИГ. 8 приведен вид сверху, иллюстрирующий первый корпус в соответствии с четвертым вариантом осуществления настоящего изобретения.
На ФИГ. 9 приведен увеличенный вид, иллюстрирующий вставляемый элемент согласно четвертому варианту осуществления настоящего изобретения.
На ФИГ. 10 приведен вид спереди, иллюстрирующий второй корпус в соответствии с четвертым вариантом осуществления настоящего изобретения.
На ФИГ. 11 приведен вид сверху, иллюстрирующий первый корпус в соответствии с пятым вариантом осуществления настоящего изобретения.
На ФИГ. 12 приведен вид, иллюстрирующий упругий элемент, соединенный с осью шарнира, в соответствии с пятым вариантом осуществления настоящего изобретения.
На ФИГ. 13 приведен вид спереди, иллюстрирующий второй корпус в соответствии с пятым вариантом осуществления настоящего изобретения.
На ФИГ. 14 приведен вид сбоку, иллюстрирующий состояние, в котором первый корпус и второй корпус в соответствии с шестым вариантом осуществления настоящего изобретения соединены горизонтально.
На ФИГ. 15 приведен вид сбоку, иллюстрирующий состояние, в котором первый корпус и второй корпус в соответствии с седьмым вариантом осуществления настоящего изобретения соединены вертикально.
На ФИГ. 16 приведен вид спереди, иллюстрирующий состояние, в котором первый корпус и второй корпус в соответствии с седьмым вариантом осуществления настоящего изобретения соединены вертикально.
На ФИГ. 17 приведен вид сбоку, иллюстрирующий состояние, в котором первый корпус и второй корпус в соответствии с восьмым вариантом осуществления настоящего изобретения, соединены вертикально.
На ФИГ. 18 приведен вид спереди, иллюстрирующий состояние, в котором первый корпус и второй корпус в соответствии с восьмым вариантом осуществления настоящего изобретения соединены вертикально.
На ФИГ. 19 приведен вид сбоку, иллюстрирующий состояние, в котором первый корпус и второй корпус в соответствии еще с одним вариантом осуществления, изображенного на ФИГ. 18 соединены горизонтально.
На ФИГ. 20 приведен вид спереди, иллюстрирующий состояние, в котором первый корпус и второй корпус в соответствии с восьмым вариантом осуществления настоящего изобретения соединены горизонтально.
На ФИГ. 21 приведен вид, иллюстрирующий процесс соединения первого корпуса и второго корпуса в соответствии с девятым вариантом осуществления настоящего изобретения.
На ФИГ. 22 приведен вид спереди, иллюстрирующий второй корпус в соответствии с девятым вариантом осуществления настоящего изобретения.
На ФИГ. 23 приведен вид спереди, иллюстрирующий первый корпус в соответствии с девятым вариантом осуществления настоящего изобретения.
На ФИГ. 24 приведен вид в перспективе с пространственным разделением деталей, иллюстрирующий первый корпус и второй корпус в соответствии с десятым вариантом осуществления настоящего изобретения, если смотреть со стороны второго корпуса.
На ФИГ. 25 приведен вид в перспективе с пространственным разделением деталей, иллюстрирующий первый корпус и второй корпус в соответствии с десятым вариантом осуществления настоящего изобретения, если смотреть со стороны первого корпуса.
На ФИГ. 26 приведен вид в перспективе, иллюстрирующий вторую ответную поверхность второго корпусу в соответствии с десятым вариантом осуществления настоящего изобретения.
На ФИГ. 27 приведен вид, иллюстрирующий первую ответную поверхность первого корпуса в соответствии с десятым вариантом осуществления настоящего изобретения.
На ФИГ. 28 приведен вид, иллюстрирующий наклонный второй соединитель в соответствии с десятым вариантом осуществления настоящего изобретения.
На ФИГ. 29 приведен вид сверху, иллюстрирующий состояние, в котором первый корпус и второй корпус в соответствии с десятым вариантом осуществления настоящего изобретения соединены.
На ФИГ. 30 приведен вид в поперечном разрезе вдоль линии А-А, показанной на ФИГ. 29.
На ФИГ. 31 приведен вид сбоку, иллюстрирующий процесс соединения первого корпуса и второго корпуса в соответствии с одиннадцатым вариантом осуществления настоящего изобретения.
На ФИГ. 32 приведен вид в перспективе, иллюстрирующий состояние, в котором первый корпус и второй корпус в соответствии с двенадцатым вариантом осуществления настоящего изобретения разъединены.
На ФИГ. 33 приведен вид сбоку, иллюстрирующий состояние, в котором первый корпус и второй корпус в соответствии с двенадцатым вариантом осуществления настоящего изобретения разъединены.
На ФИГ. 34 приведен вид сверху, иллюстрирующий состояние, в котором первый корпус и второй корпус в соответствии с двенадцатым вариантом осуществления настоящего изобретения соединены.
На ФИГ. 35 приведен вид в поперечном разрезе вдоль линии В-В, показанной на ФИГ. 34.
На ФИГ. 36 приведен вид спереди, иллюстрирующий первый корпус в соответствии с двенадцатым вариантом осуществления настоящего изобретения.
На ФИГ. 37 приведен вид спереди, иллюстрирующий второй корпус в соответствии с двенадцатым вариантом осуществления настоящего изобретения.
На ФИГ. 38 приведен вид, иллюстрирующий процесс соединения первого корпуса и второго корпуса в соответствии с двенадцатым вариантом осуществления настоящего изобретения.
Следует понимать, что прилагаемые чертежи необязательно выполнены в масштабе и представляют собой несколько упрощенное изображение различных признаков, иллюстрирующих основные принципы изобретения. Конкретные признаки конструкции настоящего изобретения, раскрытые в настоящем документе, включая, например, конкретные размеры, ориентации, местоположения и формы, будут определяться отчасти конкретным предусмотренным применением и условиями эксплуатации.
На всех фигурах графических материалов одинаковые номера позиций относятся к одинаковым частям настоящего изобретения.
ОСУЩЕСТВЛЕНИЕ ИЗОБРЕТЕНИЯ
Далее в настоящем документе будут подробно описаны приведенные в качестве примера варианты осуществления настоящего изобретения со ссылкой на прилагаемые чертежи. Во-первых, следует отметить, что при присвоении номеров позиций составляющим элементам соответствующих чертежей одни и те же составляющие элементы будут обозначаться, по возможности, одними и теми же номерами позиций, даже если составляющие элементы проиллюстрированы на разных чертежах. Кроме того, при описании настоящего изобретения конкретные описания общеизвестных соответствующих конфигураций или функций будут опущены, если определено, что конкретные описания могут отвлекать внимание от предмета изобретения настоящего изобретения. Кроме того, ниже будут описаны в качестве примера варианты осуществления настоящего изобретения, однако техническая сущность настоящего изобретения ими не ограничивается и, разумеется, может быть модифицирована и по-разному осуществлена специалистами в данной области.
Первый корпус и второй корпус настоящего изобретения могут быть соединены любым соединительным механизмом из числа соединительных механизмов с первого по двенадцатый, каждый из которых имеет по меньшей мере одну соединительную конструкцию.
Настоящее изобретение может включать в себя первый корпус и второй корпус. В первом корпусе может быть установлен блок управления (не показан), содержащий компоненты, такие как узел печатной платы (РВА) и батарея. Первый корпус может быть выполнен из неупругого материала или из более жесткого материала, чем материал второго корпуса. Например, первый корпус может быть выполнен из металлического материала, такого как алюминий, нержавеющая сталь или магний, или изготовлен из неупругого углеродного композиционного материала и т.п.
Второй корпус может быть выполнен из упругого материала. В альтернативном варианте осуществления второй корпус может быть в основном выполнен из упругого материала или частично выполнен из неупругого материала.
Например, по меньшей мере часть второго корпуса может быть выполнена из упругого материала, такого как резина, уретан, силикон, углеродный композиционный материал или пластмасса, который может пропускать радиоактивные лучи и изменять свою форму. Во втором корпусе может располагаться панель обнаружения (не показана), выполненная из гибкого материала.
Например, панель обнаружения может представлять собой гибкую панель на тонкопленочном транзисторе (TFT) и получать информацию об изображении путем преобразования света, излучаемого флуоресцентным материалом, в электрические сигналы (электрические заряды) в ответ на радиоактивные лучи, проникающие в объект контроля. Кроме того, панель обнаружения может содержать датчик на считывающей интегральной схеме (ROIC), выполненный в виде кристалла на ленточном носителе (COF), и вентильный датчик. Каждый из датчика на ROIC и вентильного датчика может быть выполнен из гибкого материала или иметь изменяемую структуру. Второй корпус может быть установлен на внешней периферийной поверхности объекта контроля, имеющего искривленную поверхность, и на объекте контроля может быть выполнен неразрушающий контроль.
Второй корпус выполнен таким образом, чтобы при размещении панели обнаружения и т.п. во втором корпусе второй соединитель выступал наружу. Таким образом, панель обнаружения может быть полностью герметичной, что позволяет улучшить характеристики защиты от проникновения воды и/или пыли.
Первая ответная поверхность первого корпуса и вторая ответная поверхность второго корпуса могут быть расположены напротив друг друга таким образом, что первый корпус и второй корпус могут быть соединены. При соединении первого корпуса и второго корпуса первый соединитель, выполненный на первой ответной поверхности, и второй соединитель, выполненный на второй ответной поверхности, могут быть соединены друг с другом.
При соединении первого корпуса и второго корпуса первый корпус и второй корпус могут быть расположены рядом друг с другом так, что первая ответная поверхность и вторая ответная поверхность плотно прилегают друг к другу или первая ответная поверхность и вторая ответная поверхность обращены друг к другу, но при этом отстоят друг от друга на интервал, соответствующий выступающему соединителю.
Например, любой из первого и второго соединителей может быть охватываемым соединителем, а другой из первого и второго соединителей может быть охватывающим соединителем. Например, любой из первого и второго соединителей может быть соединителем, имеющим штырьковые контакты, а другой из первого и второго соединителей может быть соединителем, с которым соединяются штырьковые контакты. Например, первый соединитель может быть соединителем, имеющим подпружиненные контакты (pogo pin, РР), а второй соединитель может быть магнитным соединителем, с которым подпружиненные контакты могут быть соединены.
В соответствии с настоящим изобретением первой и второй корпуса соединены или выполнены раздельно, так что любой из первого и второго корпусов может быть легко заменен и использован по мере необходимости.
Например, поскольку панель обнаружения используют в состоянии, в котором панель обнаружения изгибают и располагают на наружной поверхности объекта контроля, при многократном использовании панели обнаружения второй корпус, в котором панель обнаружения находится, может быть поврежден быстрее по сравнению с первым корпусом, в котором встроен блок управления. В альтернативном варианте осуществления, если у объектов контроля разные размеры, могут потребоваться вторые корпуса, имеющие панели обнаружения разных размеров. В этом случае настоящее изобретение позволяет соединять с первым корпусом и использовать различные вторые корпуса.
На ФИГ. 1 приведен вид в перспективе с пространственным разделением деталей, иллюстрирующий первый корпус и второй корпус в соответствии с первым вариантом осуществления настоящего изобретения, а на ФИГ. 2 приведен вид в перспективе, иллюстрирующий второй корпус в соответствии с первым вариантом осуществления настоящего изобретения.
Как проиллюстрировано на ФИГ. 1 и 2, в первом варианте осуществления настоящего изобретения первый корпус 110 и второй корпус 120 могут быть соединены первым соединительным механизмом. Кроме того, хотя это и не показано, на первом корпусе 110 и втором корпусе 120 могут быть предусмотрены средства фиксации (например, фиксирующая лента) и фиксировать сгибаемый детектор, который включает в себя первый корпус 110 и второй корпус 120, на объекте контроля.
Эта конфигурация описана со ссылкой на ФИГ. 1 и 2. Первый корпус 110 и второй корпус 120 могут быть соединены без фиксирующего элемента 124 показанного на ФИГ. 3. Как показано на ФИГ. 1 и 2, первый корпус 110 и второй корпус 120 могут быть соединены при вставке вставляемых элементов 111 в отверстия 121 для вставки.
Конфигурация для фиксации первого корпуса 110 и второго корпуса 120 будет описана со ссылкой на ФИГ. 3-5.
Со ссылкой на ФИГ. 3 5, первый соединительный механизм может включать в себя вставляемые элементы 111, отверстия 121 для вставки, в которые вставляют вставляемые элементы 111, направляющие отверстия 122, фиксирующие элементы 124, выполненные в направляющих отверстия 122, и устройства 126 регулировки фиксации, выполненные с возможностью перемещения вставляемых элементов 111 в направлении фиксации.
Первый корпус 110 и второй корпус 120 могут быть соединены в состоянии, в котором первый корпус 110 и второй корпус 120 расположены рядом друг с другом по горизонтали в продольном направлении (в направлении оси х).
На первой ответной поверхности F1 первого корпуса 110 и второй ответной поверхности F2 второго корпуса 120 могут быть выполнены первый соединитель С1 и второй соединитель С2, которые обращены друг к другу.
В соответствии с первым вариантом осуществления первый соединитель С1 и второй соединитель С2 могут быть соединены друг с другом при соединении первого корпуса 110 и второго корпуса 120. Первый и второй соединители С1 и С2 могут быть выполнены на одной продольной поверхности первого корпуса 110 и одной продольной поверхности второго корпуса 120, чтобы первый и второй соединители С1 и С2 были обращены друг к другу. Первый соединитель С1 и второй соединитель С2 могут быть расположены в направлении оси х.
На первой ответной поверхности F1 первого корпуса 110 или второй ответной поверхности F2 второго корпуса 120 может быть выполнен уплотнительный элемент О. Уплотнительный элемент О может обеспечивать уплотнительную конструкцию между первой ответной поверхностью Fin второй ответной поверхностью F2.
Уплотнительный элемент О может предотвращать проникновение влаги или пыли в первый корпус 110 и второй корпус 120, когда первый корпус 110 и второй корпус 120 соединены.
Например, уплотнительный элемент О может быть выполнен таким образом, чтобы окружать по периметру первый соединитель С1. Например, уплотнительный элемент О может представлять собой уплотнительное кольцо, прокладку и т.п., которая обеспечивает водонепроницаемость.
В соответствии с первым вариантом осуществления вставляемые элементы 111 могут быть выполнены на первой ответной поверхности F1. Вставляемые элементы 111 могут быть выполнены на обеих сторона первой ответной поверхности F1 с первым соединителем С1, расположенным между ними. Вставляемый элемент 111 может быть выполнен только на любой одной из сторон слева или справа от первого соединителя С1. Однако вставляемые элементы 111 могут быть выполнены по обе стороны от первого соединителя С1, чтобы первый корпус 110 и второй корпус 120 были надежно соединены.
В случае, если вставляемые элементы 111 выполнены на первой ответной поверхности F1, первые вставляемые элементы 111 могут выступать в направлении второй ответной поверхности F2 второго корпуса 120.
Вставляемый элемент 111 может иметь различные формы, такие как круглая форма или многоугольная форма, которая соответствует отверстию 121 для вставки.
В первом варианте осуществления отверстия 121 для вставки, выполненные во втором корпусе 120, могут соответствовать по количеству вставляемым элементам 111.
Отверстия 121 для вставки могут быть выполнены на обеих сторонах второй ответной поверхности F2 второго корпуса 120 со вторым соединителем С2, расположенным между ними. Отверстие 121 для вставки может быть выполнено в виде отверстия, в которое может быть вставлен вставляемый элемент 111. Отверстие 121 для вставки может иметь различные формы, такие как круглая форма или многоугольная форма, которая соответствует вставляемому элементу 111.
На ФИГ. 1 и 2 проиллюстрировано, что вставляемый элемент 111 выполнен на первом корпусе 110, а отверстие 121 для вставки выполнено во втором корпусе 120. Однако настоящее изобретение не обязательно ограничивается этим. Напротив, отверстие 121 для вставки может быть выполнено в первом корпусе ПО, а вставляемый элемент 111 может быть выполнен на втором корпусе 120.
На ФИГ. 3 приведен вид сверху, иллюстрирующий второй корпус в соответствии еще с одним вариантом осуществления изображенного на ФИГ. 1, а именно, вид в частичном поперечном разрезе, иллюстрирующий фиксирующий элемент, на ФИГ. 4 приведен вид сверху, иллюстрирующий состояние, в котором первый корпус и второй корпус в соответствии еще с одним вариантом осуществления изображенного на ФИГ. 1 соединены, на ФИГ. 5 приведен вид сверху, иллюстрирующий первый корпус и второй корпус в соответствии еще с одним вариантом осуществления изображенного на ФИГ. 1, а именно, вид в частичном поперечном разрезе, иллюстрирующий состояние, в котором фиксирующий элемент вставлен в канавку для вставки вставляемого элемента.
Как проиллюстрировано на ФИГ. 3-5, в случае, когда отверстие 121 для вставки сформировано во втором корпусе 120, фиксирующий элемент 124 может быть вставлен во второй корпус 120. Фиксирующий элемент 124 вставляют в направляющее отверстие 122, выполненное во втором корпусе 120. Направляющее отверстие 122 может быть сформировано в направлении (например, в направлении оси у), пересекающем отверстие 121 для вставки, так что направляющее отверстие 122 выполнено во втором корпусе 120 и сообщается с отверстием 121 для вставки.
Как проиллюстрировано, один конец фиксирующего элемента 124, который вставляют в направляющее отверстие 122, может упруго поддерживаться упругим элементом 123. В альтернативном варианте осуществления, хотя он и не проиллюстрирован, один конец фиксирующего элемента 124, который вставляют в направляющее отверстие 122, может поддерживаться неподвижной переключающей кнопкой или рычагом. Например, упругий элемент 123 может представлять собой цилиндрическую винтовую пружину.
В состоянии, в котором вставляемый элемент 111 вставлен в отверстие 121 для вставки, другой конец фиксирующего элемента 124 может быть вставлен в канавку 111а для вставки, выполненную во вставляемом элементе 111, за счет упругой силы упругого элемента 123. Когда другой конец фиксирующего элемента 111 вставлен в канавку 111а для вставки вставляемого элемента 111, перемещение вставляемого элемента 111 может быть ограничено. На ФИГ. 5 показано состояние, в котором другой конец фиксирующего элемента 111 вставлен в канавку 111а для вставки.
Канавка 111а для вставки вставляемого элемента 111 может быть сформирована в виде канавки, которая соответствует другому концу фиксирующего элемента 124 (см. ФИГ. 5).
Как проиллюстрировано на ФИГ. 3, когда вставляемый элемент 111 вставляют в отверстие 121 для вставки в состоянии, когда другой конец фиксирующего элемента 124 расположен в отверстии 121 для вставки, фиксирующий элемент 124 проталкивается к направляющему отверстию 122 вставляемым элементом 111, так что другой конец фиксирующего элемента 124 может быть вставлен в канавку 111а для вставки, выполненную во вставляемом элементе 111, как проиллюстрировано на ФИГ. 5. Например, как показано на ФИГ. 5, одна поверхность другого конца фиксирующего элемента 124, которая обращена к вставляемому элементу 111, может быть выполнена в виде наклонной поверхности, так что фиксирующий элемент 124 может легко проталкиваться вставляемым элементом 111.
В качестве еще одного примера, как показано на ФИГ. 3-5, устройство 126 регулировки фиксации может приводиться в действия для вставки вставляемого элемента 111 в отверстие 121 для вставки в состоянии, в котором фиксирующий элемент 124 полностью вставлен в направляющее отверстие 122. Например, устройство 126 регулировки фиксации может представлять собой рычаг, переключатель, кнопку и т.п.
Устройство 126 регулировки фиксации может быть соединено с фиксирующим элементом 124. Устройства 126 регулировки фиксации могут перемещаться вдоль рабочих пространств 125, выполненных во втором корпусе 120.
Например, фиксированное состояние может быть освобождено путем перемещения устройства 126 регулировки фиксации в направлении расфиксации в фиксированном состоянии, в котором другой конец фиксирующего элемента 124 вставлен в канавку 111а для вставки вставляемого элемента 111 упругой силой упругого элемента 123, как показано на ФИГ. 5.
В качестве еще одного варианта осуществления упругий элемент 123 может быть исключен, а устройство 126 регулировки фиксации может приводиться в действие для выполнения операции фиксации или расфиксации принудительным перемещением фиксирующего элемента 124. В частности, устройство 126 регулировки фиксации может быть приведено в действие для вставки вставляемого элемента 111 в отверстие 121 для вставки в состоянии, в котором фиксирующий элемент 124, соединенный с устройством 126 регулировки фиксации, полностью вставлен в направляющее отверстие 122. Кроме того, устройство 126 регулировки фиксации может быть приведено в действие для перемещения фиксирующего элемента 124, который соединен с устройством 126 регулировки фиксации, в направлении фиксации, чтобы фиксирующий элемент 124 вошел в канавку 111а для вставки, выполненную во вставляемом элементе 111, как показано в увеличенном виде на ФИГ. 5.
Поскольку вставляемый элемент 111 вставлен в отверстие 121 для вставки, как описано выше, первый корпус 110 и второй корпус 120 могут быть надежно соединены. Кроме того, поскольку вставляемый элемент 111 зафиксирован фиксирующим элементом 124, первый корпус 110 и второй корпус 120 могут быть надежно соединены.
Например, когда к устройству 126 регулировки фиксации прикладывается внешняя сила и толкает устройство 126 регулировки фиксации в направлении расфиксации, фиксирующий элемент 124, соединенный с устройством 126 регулировки фиксации, может быть вставлен в направляющее отверстие 122, сжимая при этом упругий элемент 123.
Вставляемый элемент 111 вставляется в отверстие 121 для вставки в состоянии, в котором фиксирующий элемент 124 полностью вставлен в направляющее отверстие 122. Когда внешняя сила, прикладываемая к устройству 126 регулировки фиксации, устраняется в состоянии, в котором вставляемый элемент 111 вставлен в отверстие 121 для вставки, сжатый упругий элемент 123 может разжаться и толкнуть фиксирующий элемент 124 к вставляемому элементу 111.
Фиксирующий элемент 124 проталкивается к вставляемому элементу 111 упругим элементом 123, и другой конец фиксирующего элемента 124 вставляется в канавку 111а для вставки. Таким образом, перемещение вставляемого элемента 111 может быть ограничено.
В этом случае вставляемый элемент 111 вставляется после того, как фиксирующий элемент 124 извлекается из направляющего отверстия 122 устройством 126 регулировки фиксации. Однако, даже если фиксирующий элемент 124 не извлечен отдельно из направляющего отверстия 122 устройством 126 регулировки фиксации, вставляемый элемент 111 может быть вставлен с выталкиванием при этом фиксирующего элемента 124 в направляющее отверстие.
Например, как показано на чертежах, одна поверхность фиксирующего элемента 124 может быть наклонной. В этом случае сформированный наклон может позволить вытолкнуть фиксирующий элемент 124 в направляющее отверстие 122 за счет вставки вставляемого элемента 111.
И наоборот, когда к устройству 126 регулировки фиксации прикладывается внешняя сила и перемещает устройство 126 регулировки фиксации в направлении расфиксации, фиксирующий элемент 124, соединенный с устройством 126 регулировки фиксации, может быть вставлен в направляющее отверстие 122, сжимая при этом упругий элемент 123.
Когда фиксирующий элемент 124 вставляется в направляющее отверстие 122, фиксированное состояние другого конца фиксирующего элемента 124, который вставлен в канавку 111а для вставки вставляемого элемента 111, может быть расфиксировано. Таким образом, может быть реализовано состояние, в котором вставляемый элемент 111 может быть перемещен.
Когда первый корпус 110 тянут в направлении разъединения, вставной элемент 111, вставленный в отверстие 121 для вставки, отделяется, так что первый корпус 110 и второй корпус 120 могут быть разъединены.
Был описан первый вариант осуществления, в котором вставляемый элемент 111 выполнен на первом корпусе 110, а отверстие 121 для вставки выполнено во втором корпусе 120. Однако настоящее изобретение не обязательно ограничивается этим. В случае, когда вставляемый элемент 111 выполнен на любом одном из первого корпуса 110 и второго корпуса 120, отверстие 121 для вставки, в которое вставляют вставляемый элемент 111, может быть выполнено в другом корпусе.
Как описано выше, в первом варианте осуществления настоящего изобретения первый корпус 110 и второй корпус 120 могут быть надежно соединены соединительной конструкцией, в которой вставляемые элементы 111 вставляют в отверстия 121 для вставки, и вставляемые элементы 111 фиксируются фиксирующими элементами 124.
Был описан вариант осуществления, в котором направляющее отверстие 122 сформировано в направлении оси у. Однако направляющее отверстие 122 может быть выполнено в отверстии 121 для вставки и сформировано вверх или вниз в направлении оси z. В этом случае устройство 126 регулировки фиксации может быть выполнено на боковой поверхности второго корпуса 120.
На ФИГ. 6 приведен вид в перспективе с пространственным разделением деталей, иллюстрирующий первый корпус и второй корпус в соответствии со вторым вариантом осуществления настоящего изобретения.
Как проиллюстрировано на ФИГ. 6, во втором варианте осуществления настоящего изобретения первый корпус 210 и второй корпус 220 могут быть соединены вторым соединительным механизмом.
Второй соединительный механизм может включать в себя вставляемые элементы 211 и канавки 221 для вставки, в которые вставляют вставляемые элементы 211.
Первый корпус 210 и второй корпус 220 могут быть соединены в состоянии, в котором первый корпус 210 и второй корпус 220 расположены рядом друг с другом по горизонтали в продольном направлении (например, в направлении оси х).
Вставляемый элемент 211 может быть выполнен в положении, соответствующем канавке 221 для вставки. Вставляемые элементы 211 могут быть выполнены на обеих сторонах первой ответной поверхности F1 корпуса 210 с первым соединителем С1, расположенным между ними.
Во втором варианте осуществления один боковой вставляемый элемент 211 из числа вставляемых элементов 211, выполненных на двух противоположных сторонах, может быть расположен между первым соединителем С1 и одним боковым краем первой ответной поверхности F1. Другой боковой вставляемый элемент 211 из числа вставляемых элементов 211, выполненных на двух противоположных сторонах, может быть расположен между первым соединителем С1 и другим боковым краем первой ответной поверхности F1.
Вставляемый элемент 211 может иметь различные формы, такие как форма
или
, которая соответствует канавке 221 для вставки.
Канавки 221 для вставки могут быть сформированы в двух противоположных поверхностях второго корпуса 220 и выполнены в продольном направлении (например, в направлении оси х) таким образом, чтобы соответствовать вставляемым элементам 211.
Канавка 221 для вставки может иметь различные формы, такие как форма
или
, которая соответствует вставляемому элементу 211.
Был описан второй вариант осуществления, в котором вставляемый элемент 211 выполнен на первом корпусе 210, а канавка 221 для вставки выполнена во втором корпусе 220. Однако настоящее изобретение не обязательно ограничивается этим. В случае, когда вставляемый элемент 211 выполнен на любом одном из первого корпуса 210 и второго корпуса 220, канавка 221 для вставки, в которую вставляют вставляемый элемент 211, может быть выполнена в другом корпусе.
Как описано выше, во втором варианте осуществления настоящего изобретения первый корпус 210 и второй корпус 220 могут быть надежно соединены соединительной конструкцией, в которой вставляемые элементы 211 вставляют в канавки 221.
На ФИГ. 7 приведен вид в перспективе с пространственным разделением деталей, иллюстрирующий первый корпус и второй корпус в соответствии с третьим вариантом осуществления настоящего изобретения.
Как проиллюстрировано на ФИГ. 7, в третьем варианте осуществления настоящего изобретения первый корпус 310 и второй корпус 320 могут быть соединены третьим соединительным механизмом.
Третий соединительный механизм может включать в себя вставляемые элементы 311 и канавки 321 для вставки, в которые вставляют вставляемые элементы 311.
Первый корпус 310 и второй корпус 320 могут быть соединены в состоянии, в котором первый корпус 310 и второй корпус 320 расположены рядом друг с другом по горизонтали в продольном направлении (например, в направлении оси х).
Вставляемые элементы 311 сформированы в положении, соответствующем канавкам 321 для вставки. Вставляемые элементы 311 сформированы на двух противоположных сторонах первой ответной поверхности F1 корпуса 310 с первым соединителем С1, расположенным между ними. Вставляемый элемент 311 может быть сформирован в направлении оси х.
Вставляемый элемент 311 выступает в сторону второй ответной поверхности F2 второго корпуса 320. Вставляемый элемент 311 может иметь различные формы, такие как форма
или
, которая соответствует канавке 321 для вставки.
Канавки 321 для вставки могут быть сформированы на двух противоположных сторонах второй ответной поверхности F2 второго корпуса 320 со вторым соединителем С2, расположенным между ними. Вставляемый элемент 311 вставляют в канавку 321 для вставки. Канавка 321 для вставки может иметь различные формы, такие как форма
или
, которая соответствует вставляемому элементу 311.
Был описан третий вариант осуществления, в котором вставляемый элемент 311 выполнен на первом корпусе 310, а канавка 321 для вставки выполнена во втором корпусе 320. Однако настоящее изобретение не обязательно ограничивается этим. В случае, когда вставляемый элемент 311 выполнен на любом одном из первого корпуса 310 и второго корпуса 320, канавка 321 для вставки, в которую вставляют вставляемый элемент 311, может быть выполнена в другом корпусе.
Как описано выше, в третьем варианте осуществления настоящего изобретения первый корпус 310 и второй корпус 320 могут быть надежно соединены соединительной конструкцией, в которой вставляемые элементы 311 вставляют в канавки 321.
На ФИГ. 8 приведен вид сверху, иллюстрирующий первый корпус в соответствии с четвертым вариантом осуществления настоящего изобретения, на ФИГ. 9 приведен увеличенный вид, иллюстрирующий вставляемый элемент согласно четвертому варианту осуществления настоящего изобретения, а на ФИГ. 10 приведен вид спереди, иллюстрирующий второй корпус в соответствии с четвертым вариантом осуществления настоящего изобретения.
Как проиллюстрировано на ФИГ. 8-10, в четвертом варианте осуществления настоящего изобретения первый корпус 410 и второй корпус 420 могут быть соединены четвертым соединительным механизмом.
Четвертый соединительный механизм может включать в себя вставляемые элементы 411, канавки 421 для вставки, в которые вставляют вставляемые элементы 411, и устройства 422 регулировки фиксации, выполненные с возможностью поворота вставляемых элементов 411.
Первый корпус 410 и второй корпус 420 могут быть соединены в состоянии, в котором первый корпус 410 и второй корпус 420 расположены рядом друг с другом по горизонтали в продольном направлении (например, в направлении оси х).
Вставляемые элементы 411 могут быть сформированы, например, в форме «Т». Вставляемый элемент 411 может содержать удлинительную часть 411 а и фиксирующий элемент 411b.
Удлинительные части 411а могут быть выполнены на двух сторонах первой ответной поверхности F1 корпуса 410 с первым соединителем С1, расположенным между ними.
Фиксирующий элемент 411b может быть выполнен на конце удлинительной части 411а. Блокирующий элемент 411b может быть соединен с протяженной частью 411а и образован в направлении, пересекающем протяженную часть 411а. Например, удлинительная часть 411а может быть сформирована в направлении оси х. В состоянии, в котором фиксирующие элементы 411b выполнены на концах удлинительных частей 411а и выровнены в направлении оси у, фиксирующие элементы 411b могут быть вставлены в канавка 421 для вставки и повернуты в направлении оси z.
Канавка 421 для вставки выполнены на двух противоположных сторонах второй ответной поверхности F2 второго корпуса 420. Вставляемый элемент 411 вставляют в канавку 421 для вставки.
Устройство 422 регулировки фиксации соединено с удлинительной частью 411а. Вставляемый элемент 411 может быть вставлен в приемную часть 412 первого корпуса 410, и по меньшей мере часть вставляемого элемента 411 может быть выставлена наружу приемной части 412.
Когда устройство 422 регулировки фиксации поворачивают в направлении фиксации в состоянии, в котором вставляемый элемент 411 вставлен в канавку 421 для вставки, фиксирующий элемент 411b может быть повернут в направлении, пересекающем канавку 421 для вставки, и захвачен канавкой 421 для вставки.
В частности, вставляемый элемент 411 может быть вставлен в канавку 421 для вставки в состоянии, в котором вставляемый элемент 411 выровнен в направлении оси у, и вставляемый элемент 411 может быть зафиксирован, когда вставляемый элемент 411 после вставки поворачивают в направлении оси z.
Был описан четвертый вариант осуществления, в котором вставляемый элемент 411 выполнен на первом корпусе 410, а канавка 421 для вставки выполнена во втором корпусе 420. Однако настоящее изобретение не обязательно ограничивается этим. В случае, когда вставляемый элемент 411 выполнен на любом одном из первого корпуса 410 и второго корпуса 420, канавка 421 для вставки, в которую вставляют вставляемый элемент 411, может быть выполнена в другом корпусе.
Как описано выше, в четвертом варианте осуществления настоящего изобретения первый корпус 410 и второй корпус 420 могут быть надежно соединены соединительной конструкцией, реализующей фиксированное состояние, в котором фиксирующий элемент 411b захватывается при пересечении канавки 421 для вставки второго корпуса 420, когда устройство 422 управления фиксацией поворачивают в состоянии, в котором вставляемый элемент 411 вставлен в канавку 421 для вставки.
И наоборот, когда устройство 422 управления фиксацией поворачивают в направлении расфиксации, фиксирующий элемент 411b, который пересекает канавку 421 для вставки, совмещается с канавкой 421 для вставки, так-то фиксирующий элемент 411b может быть вынут через канавку 421 для вставки.
На ФИГ. 11 приведен вид сверху, иллюстрирующий первый корпус в соответствии с пятым вариантом осуществления настоящего изобретения, на ФИГ. 12 приведен вид, иллюстрирующий упругий элемент, соединенный с осью шарнира, в соответствии с пятым вариантом осуществления настоящего изобретения, а на ФИГ. 13 приведен вид спереди, иллюстрирующий второй корпус в соответствии с пятым вариантом осуществления настоящего изобретения.
Как проиллюстрировано на ФИГ. 11-13, в пятом варианте осуществления настоящего изобретения первый корпус 510 и второй корпус 520 могут быть соединены пятым соединительным механизмом.
Пятый соединительный механизм может включать в себя фиксирующие элементы 511, канавки 521 для вставки, в который вставляют фиксирующие элементы 511, вставляемые элементы 514 и отверстия 522 для вставки, в которые вставляют вставляемые элементы 514.
Первый корпус 510 и второй корпус 520 могут быть соединены в состоянии, в котором первый корпус 510 и второй корпус 520 расположены рядом друг с другом по горизонтали в продольном направлении.
Фиксирующие элементы 511 могут быть выполнены на двух противоположных сторонах первой ответной поверхности F1 первого корпуса 510. Один конец фиксирующего элемента 511 соединен с первым корпусом 510 осью 512 шарнира. Фиксирующий элемент 511 может поворачиваться вокруг оси 512 шарнира.
Фиксирующий элемент 511 может содержать удлинительную часть 511а и захватный выступ 511b. Один конец удлинительной части 511а может быть соединен с первым корпусом 510 осью 512 шарнира. Удлинительная часть 511а упруго поддерживается упругим элементом 513, соединенным с осью 512 шарнира. Фиксирующий элемент 511 может быть надежно вставлен в канавку 521 для вставки за счет упругой силы упругого элемента 513.
Например, упругий элемент 513 может представлять собой торсионную пружину. Захватный выступ 511b может быть выполнен на другом конце удлинительной части 511а.
Канавки 521 для вставки сформированы в двух противоположных поверхностях второго корпуса 520 и выполнены в продольном направлении. Удлинительную часть 511а вставляют в канавки 521 для вставки. Захватный выступ 511b может быть вставлен в захватную канавку 521а, выполненную в канавке 521 вставки.
Вставляемый элемент 514 может быть сформирован в направлении оси х. Вставляемые элементы 514 могут быть выполнены на двух противоположных сторонах первой ответной поверхности F1 первого корпуса 510. Вставляемые элементы 514 могут быть выполнены между фиксирующими элементами 511, расположенными на двух противоположных сторонах. Вставляемые элементы 514 могут выступать из двух противоположных сторон первой ответной поверхности F1 первого корпуса 510 в направлении второй ответной поверхности F2 второго корпуса 520.
Отверстия 522 для вставки могут быть выполнены на двух противоположных сторонах второй ответной поверхности F2 второго корпуса 520 со вторым соединителем С2, расположенным между ними. Отверстия 522 для вставки могут быть выполнены между канавками 521 для вставки, расположенными на двух противоположных сторонах. Вставляемый элемент 514 может быть вставлен в отверстие 522 для вставки.
Был описан пятый вариант осуществления, в котором вставляемый элемент 514 выполнен на первом корпусе 510, а отверстие 522 для вставки выполнено во втором корпусе 520. Однако настоящее изобретение не обязательно ограничивается этим. В случае, когда вставляемый элемент 514 выполнен на любом одном из первого корпуса 510 и второго корпуса 520, отверстие 522 для вставки, в которое вставляют вставляемый элемент 514, может быть выполнено в другом корпусе.
Как описано выше, в пятом варианте осуществления настоящего изобретения первый корпус 510 и второй корпус 520 могут быть надежно соединены соединительной конструкцией, в которой фиксирующие элементы 511 вставляют в канавки 521 для вставки, а вставляемые элементы 514 вставляют в отверстия 522 для вставки.
На ФИГ. 14 приведен вид сбоку, иллюстрирующий состояние, в котором первый корпус и второй корпус в соответствии с шестым вариантом осуществления настоящего изобретения соединены горизонтально.
Как проиллюстрировано на ФИГ. 14, в шестом варианте осуществления настоящего изобретения первый корпус 610 и второй корпус 620 могут быть соединены шестым соединительным механизмом. Шестой соединительный механизм может включать в себя соединительный элемент 630.
Первый корпус 610 и второй корпус 620 могут быть соединен соединительным элементом 630 в состоянии, в котором первый корпус 610 и второй корпус 620 расположены рядом друг с другом в направлении оси х.
В состоянии, в котором первый корпус 610 и второй корпус 620 расположены горизонтально, соединительный элемент 630 соединяют горизонтально с проникновением при этом в первый корпус 610 и второй корпус 620. Соединительный элемент 630 может быть соединен в направлении оси х.
Например, соединительный элемент 630 может быть винтом, соединяемым ввинчиванием с проникновением при этом в первый корпус 610 и второй корпус 620.
Как описано выше, в шестом варианте осуществления настоящего изобретения первый корпус 610 и второй корпус 620 могут быть надежно соединены соединительной конструкцией, такой как соединительный элемент 630, соединяемый ввинчиванием с проникновением при этом в первый корпус 610 и второй корпус 620.
На ФИГ. 15 приведен вид сбоку, иллюстрирующий состояние, в котором первый корпус и второй корпус в соответствии с седьмым вариантом осуществления настоящего изобретения соединены вертикально, а на ФИГ. 16 приведен вид спереди, иллюстрирующий состояние, в котором первый корпус и второй корпус в соответствии с седьмым вариантом осуществления настоящего изобретения соединены вертикально.
Как проиллюстрировано на ФИГ. 15 и 16, в седьмом варианте осуществления настоящего изобретения первый корпус 710 и второй корпус 720 могут быть соединены седьмым соединительным механизмом.
Как проиллюстрировано на ФИГ. 15 и 16, седьмой соединительный механизм может включать в себя соединительные элементы 730, выполненные с возможностью соединения первого корпуса 710 и второго корпуса 720.
В седьмом варианте осуществления первый корпус 710 и второй корпус 720 могут быть зафиксированы только соединительными элементами 730. Однако также может быть дополнительно включена конструкция скольжения, и конструкция скольжения может включать в себя канавку 711 скольжения, выполненную в первом корпусе 710, и направляющую 721 скольжения второго корпуса 720, которую вставляют в канавку 711 скольжения.
Канавка 711 скольжения выполнена в нижней части первого корпуса 710. Направляющая 721 скольжения сформирована на верхней части второго корпуса 720. Направляющая 721 скольжения может быть выполнена так, чтобы соответствовать канавке 711 скольжения, так что направляющая 721 скольжения может быть вставлена с возможностью скольжения в канавку 711 скольжения.
В состоянии, в котором первый корпус 710 и второй корпус 720 соединены вертикально в направлении оси z, в котором направляющую 721 скольжения вставляют в канавку 711 скольжения, соединительные элементы 730 соединяют с проникновением при этом в первый корпус 710 и второй корпус 720. Например, соединительный элемент 730 может быть соединен вертикально в направлении оси z.
Например, соединительный элемент 730 может быть винтом, соединяемым ввинчиванием с проникновением при этом в первый корпус 710 и второй корпус 720.
Как описано выше, в седьмом варианте осуществления настоящего изобретения первый корпус 710 и второй корпус 720 могут быть надежно соединены соединительной конструкцией, в которой соединительные элементы 730 ввинчивают с проникновением в вертикальном направлении в первый корпус 710 и второй корпус 720 в состоянии, в котором направляющая 721 скольжения второго корпуса 720 вставлена с возможностью скольжения в канавку 711 скольжения первого корпуса 710.
На ФИГ. 17 приведен вид сбоку, иллюстрирующий состояние, в котором первый корпус и второй корпус в соответствии с восьмым вариантом осуществления настоящего изобретения соединены вертикально, а на ФИГ. 18 приведен вид спереди, иллюстрирующий состояние, в котором первый корпус и второй корпус в соответствии с восьмым вариантом осуществления настоящего изобретения соединены вертикально.
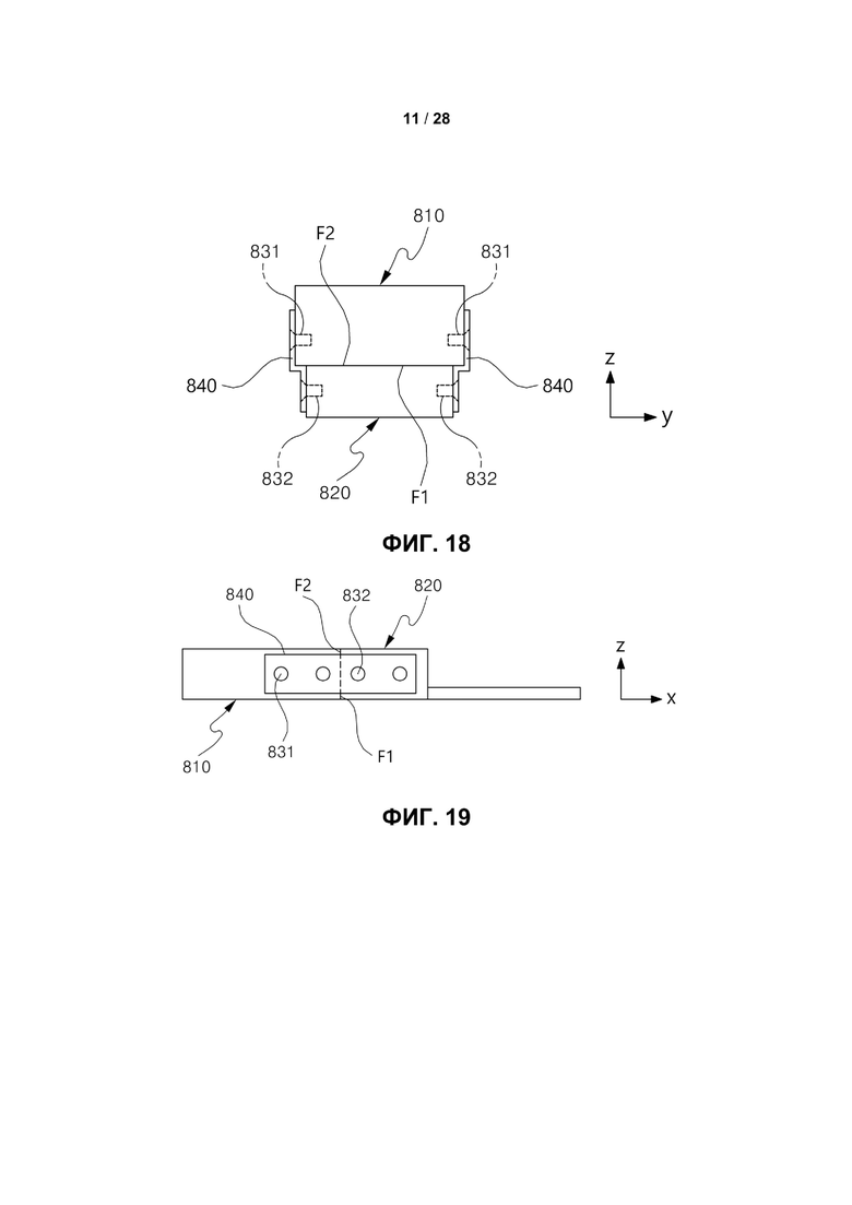
Как проиллюстрировано на ФИГ. 17 и 18, в восьмом варианте осуществления настоящего изобретения первый корпус 810 и второй корпус 820 могут быть соединены восьмым соединительным механизмом.
Восьмой соединительный механизм может включать в себя соединительные пластины 840, первые соединительные элементы 831, соединяемые при проникновении через соединительные пластины 840, и вторые соединительные элементы 832, соединяемые с проникновением через соединительные пластины 840.
Первый корпус 810 и второй корпус 820 могут быть расположении в направлении оси z. Состояние, в котором первый корпус 810 и второй корпус 820 расположены вертикально, соединительные пластины 840, которые соединяют первый корпус 810 и второй корпус 820, прикрепляют к двум противоположным сторонам первого корпуса 810 и к двум противоположным сторонам второго корпуса 820.
Например, первый соединительный элемент 831 и второй соединительный элемент 832 могут быть винтами, ввинчиваемыми в первый корпус 810 и второй корпус 820 с проникновением через соединительные пластины 840. Первый соединительный элемент 831 и второй соединительный элемент 832 могут быть соединены в направлении оси у.
Как описано выше, в восьмом варианте осуществления настоящего изобретения первый корпус 810 и второй корпус 820 могут быть надежно соединены соединительной конструкцией, в которой первые соединительные элементы 831 и вторые соединительные элементы 832 ввинчивают в первый корпус 810 и второй корпус 820 с проникновением через соединительные пластины 840 в состоянии, в котором первый корпус 810 и второй корпус 820 расположены вертикально, а соединительные пластины 840 прикреплены к двум противоположным сторонам первого корпуса 810 и двум противоположным сторонам второго корпуса 820.
На ФИГ. 19 приведен вид сбоку, иллюстрирующий состояние, в котором первый корпус и второй корпус в соответствии еще с одним вариантом осуществления, изображенного на ФИГ. 18 соединены горизонтально, а на ФИГ. 20 приведен вид спереди, иллюстрирующий состояние, в котором первый корпус и второй корпус в соответствии с восьмым вариантом осуществления настоящего изобретения соединены горизонтально.
Как проиллюстрировано на ФИГ. 19 и 20, первый корпус 810 и второй корпус 820 расположены рядом друг с другом в направлении х. В состоянии, в котором первый корпус 810 и второй корпус 820 расположены горизонтально, соединительные пластины 840, которые соединяют первый корпус 810 и второй корпус 820, прикрепляют к двум противоположным сторонам первого корпуса 810 и к двум противоположным сторонам второго корпуса 820.
Первый соединительный элемент 831 может быть соединен с первым корпусом 810 с проникновением через соединительную пластину 840, а второй соединительный элемент 832 может быть соединен со вторым корпусом 820 с проникновением через соединительную пластину 840.
Первый соединительный элемент 831 и второй соединительный элемент 832 могут быть соединены в направлении оси у.
Например, первый соединительный элемент 831 и второй соединительный элемент 832 могут быть винтами, ввинчиваемыми в первый корпус 810 и второй корпус 820 с проникновением через соединительные пластины 840.
Как описано выше, в восьмом варианте осуществления настоящего изобретения первый корпус 810 и второй корпус 820 могут быть надежно соединены соединительной конструкцией, в которой первые соединительные элементы 831 и вторые соединительные элементы 832 ввинчивают в первый корпус 810 и второй корпус 820 с проникновением через соединительные пластины 840 в состоянии, в котором первый корпус 810 и второй корпус 820 расположены горизонтально, а соединительные пластины 840 прикреплены к двум противоположным сторонам первого корпуса 810 и двум противоположным сторонам второго корпуса 820.
На ФИГ. 21 приведен вид, иллюстрирующий процесс соединения первого корпуса и второго корпуса в соответствии с девятым вариантом осуществления настоящего изобретения, на ФИГ. 22 приведен вид спереди, иллюстрирующий второй корпус в соответствии с девятым вариантом осуществления настоящего изобретения, а на ФИГ. 23 приведен вид спереди, иллюстрирующий первый корпус в соответствии с девятым вариантом осуществления настоящего изобретения.
Как проиллюстрировано на ФИГ. 21-23, в девятом варианте осуществления настоящего изобретения первый корпус 910 и второй корпус 920 могут быть соединены девятым соединительным механизмом.
Девятый соединительный механизм может включать в себя канавку 911 скольжения, направляющую 921 скольжения, соединяемую с возможностью скольжения с канавкой 911 скольжения, направляющее отверстие 912, выполненное в первом корпусе 910, фиксирующий элемент 914, соединенный с направляющим отверстием 912, и устройство 915 управления фиксацией, выполненным с возможностью перемещения фиксирующего элемента 914.
Направляющая 921 скольжения, сформированная на верхней части второго корпуса 920, может быть соединена с возможностью скольжения в направлении х с канавкой 911 скольжения, сформированной в нижней части первого корпуса 910. На верхней поверхности, направляющей 921 скольжения второго корпуса 920 может быть выполнена канавка 921а для вставки.
Первая ответная поверхность F1 расположена на внутренней поверхности канавки 911 скольжения первого корпуса 910. Вторая ответная поверхность F2 расположена на одной поверхности второго корпуса 920, обращенной к первой ответной поверхности F1. Первая ответная поверхность F1 и вторая ответная поверхность F2 могут быть сформированы в направлении оси х. Первый соединитель С1 может быть выполнен на первой ответной поверхности F1, а второй соединитель С2 может быть выполнен на второй ответной поверхности F2.
Направляющее отверстие 912 сформировано в направлении оси z. Направляющее отверстие 912 может быть сформировано в направлении, пересекающем канавку 911 скольжения, и выполнено в первом корпусе 910 так, чтобы сообщаться с канавкой 911 скольжения.
Один конец фиксирующего элемента 914, который вставляют в направляющее отверстие 912, может упруго поддерживаться упругим элементом 913, а другой конец фиксирующего элемента 914, который направлен ко второму корпусу 920, может быть вставлен в канавку 921а для вставки.
Например, упругий элемент 913 может представлять собой цилиндрическую винтовую пружину.
Устройство 915 регулировки фиксации может быть соединено с фиксирующим элементом 914 и перемещать фиксирующий элемент 914 в направлении фиксации. Устройство 915 регулировки фиксации может перемещаться вдоль рабочих пространств 916, выполненных в первом корпусе 910. Например, устройство 915 регулировки фиксации может представлять собой рычаг, переключатель, кнопку и т.п.
Когда направляющую 921 скольжения второго корпуса 920 вставляют в канавку 911 скольжения первого корпуса 910, первый соединитель С1 первого корпуса 910 и второй соединитель С2 второго корпуса 920 могут быть соединены.
Когда к устройству 915 регулировки фиксации прикладывается внешняя сила и толкает устройство 915 регулировки фиксации в направлении расфиксации, фиксирующий элемент 914, соединенный с устройством 915 регулировки фиксации, может быть вставлен в направляющее отверстие 912, сжимая при этом упругий элемент 913. В состоянии, в котором фиксирующий элемент 914 полностью вставлен в направляющее отверстие 912, направляющая 921 скольжения вставлена в канавку 911 скольжения с возможностью скольжения в направлении оси х.
Когда внешняя сила, которая прикладывается к устройству 915 регулировки фиксации, устраняется в состоянии, в котором направляющая 921 скольжения вставлена с возможностью скольжения в канавку 911 скольжения, фиксирующий элемент 914, соединенный с устройством 915 регулировки фиксации, может перемещаться в направлении фиксации, а другой конец фиксирующего элемента 914 может быть вставлен в канавку 921а для вставки.
Как описано выше, в девятом варианте осуществления настоящего изобретения первый корпус 910 и второй корпус 920 могут быть надежно соединены соединительной конструкцией, в которой направляющую 921 скольжения вставляют с возможностью скольжения в канавку 911 скольжения, а фиксирующий элемент 914 вставляют в канавку 921а для вставки.
На ФИГ. 24 приведен вид в перспективе с пространственным разделением деталей, иллюстрирующий первый корпус и второй корпус в соответствии с десятым вариантом осуществления настоящего изобретения, если смотреть со стороны второго корпуса, а на ФИГ. 25 приведен вид в перспективе с пространственным разделением деталей, иллюстрирующий первый корпус и второй корпус в соответствии с десятым вариантом осуществления настоящего изобретения, если смотреть со стороны первого корпуса.
Как проиллюстрировано на ФИГ. 24-25, в десятом варианте осуществления настоящего изобретения первый корпус 1010 и второй корпус 1020 могут быть соединены десятым соединительным механизмом.
Десятый соединительный механизм может включать в себя направляющую 1011 скольжения на первом корпусе 1010 и канавку 1021 скольжения на втором корпусе 1020.
Направляющая 1011 скольжения выполнена на поверхности первого корпуса 1010 на основе продольного направления (например, направления х) и сформирована в направлении, пересекающем продольное направление первого корпуса 1010 (например, в направлении оси у), Первая ответная поверхность F1 может быть расположена на поверхности, которая входит в канавку 1021 скольжения направляющей 1011 скольжения.
Первый соединитель С1 выполнен на первой ответной поверхности F1. Первый соединитель С1 сформирован в направлении (например, в направлении оси у), пересекающем продольное направление (например, направление оси х) первого корпуса 1010. Например, первый соединитель С1 может представлять собой соединитель, имеющий подпружиненные контакты.
Канавка 1021 скольжения выполнена на поверхности второго корпуса 1020 на основе продольного направления (например, направления х) и сформирована в направлении, пересекающем продольное направление второго корпуса 1020 (например, в направлении оси у). Вторая ответная поверхность F2 может расположена на внутренней торцевой поверхности канавки 1021 скольжения и соответствовать первой ответной поверхности F1.
Второй соединитель С2, соединяемый с первым соединителем С1, может быть выполнен на второй ответной поверхности F2. Второй соединитель С2 сформирован в направлении (например, в направлении оси х), пересекающем продольное направление (например, направление оси х) второго корпуса 1020. Например, второй соединитель С2 может представлять собой магнитный соединитель, имеющий магнит М, с которым могут быть соединены подпружиненные контакты соединителя С1.
Как описано выше, когда направляющую 1011 скольжения вставляют в канавку 1021 скольжения в состоянии, в котором направляющая 1011 скольжения первого корпуса 1010 совмещена с канавкой 1021 скольжения второго корпуса 1020, первый соединитель С1, который сформирован в направлении (например, направлении оси у), пересекающем продольное направление (например, направление оси х) первого корпуса 1010, может быть соединен со вторым соединителем С2, сформированным в направлении (например, направлении оси у), пересекающем продольное направление (например, направление оси х) второго корпуса 1020. Первый корпус 1010 и второй корпус 1020 могут быть надежно соединены соединительной конструкцией.
На ФИГ. 26 приведен вид в перспективе, иллюстрирующий вторую ответную поверхность второго корпусу в соответствии с десятым вариантом осуществления настоящего изобретения, а на ФИГ. 27 приведен вид, иллюстрирующий первую ответную поверхность первого корпуса в соответствии с десятым вариантом осуществления настоящего изобретения.
Как проиллюстрировано на ФИГ. 26 и 27, направляющая 1011 скольжения выполнена на поверхности первого корпуса 1010 на основе продольного направления (например, направления х) и сформирована в пересекающемся направлении (например, в направлении оси х), а приемная канавка 1011а выполнена в продольном направлении (например, в направлении оси х) направляющей 1011 скольжения. Первая ответная поверхность F1 может быть выполнена в приемной канавке 1011а.
Первый соединитель С1 выполнен на первой ответной поверхности F1. Первый соединитель С1 может быть расположен на внутреннем конце приемной канавки 1011а таким образом, чтобы соответствовать второму соединителю С2.
Первый соединитель С1 сформирован в направлении (например, в направлении оси х), совпадающим с продольным направлением (например, с направлением оси х) первого корпуса 1010. Например, первый соединитель С1 может представлять собой соединитель, имеющий подпружиненные контакты.
Канавка 1021 скольжения выполнена на поверхности второго корпуса 1020 на основе продольного направления (например, направления х) и сформирована в пересекающем направлении (например, в направлении оси у). Вторая ответная поверхность F2 может быть выполнена в положении, соответствующем первой ответной поверхности F1 канавки 1021 скольжения.
Второй соединитель С2, соединяемый с первым соединителем С1, выполнен на второй ответной поверхности F2.
Второй соединитель С2 сформирован в направлении (например, в направлении оси х), совпадающим с продольным направлением (например, с направлением оси х) второго корпуса 1020. Например, второй соединитель С2 может представлять собой магнитный соединитель, имеющий магнит М, с которым могут быть соединены подпружиненные контакты соединителя С1.
Как проиллюстрировано на ФИГ. 24-27, каждый из первого соединителя С1 и второго соединителя С2 может быть выполнен в виде горизонтального соединителя. В альтернативном варианте осуществления, как показано на ФИГ. 28, каждый из первого соединителя С1 и второго соединителя С2 может быть выполнен в виде наклонного соединителя.
Как описано выше, когда направляющую 1011 скольжения вставляют в канавку 1021 скольжения в состоянии, в котором направляющая 1011 скольжения первого корпуса 1010 совмещается с канавкой 1021 скольжения второго корпуса 1020, первый соединитель С1, который сформирован в направлении (например, направлении оси х), совпадающим с продольным направлением (например, с направлением оси х) первого корпуса 1010, может быть соединен со вторым соединителем С2, сформированным в направлении (например, направлении оси х), совпадающим с продольным направлением (например, с направлением оси х) второго корпуса 1020. Первый корпус 1010 и второй корпус 1020 могут быть надежно соединены соединительной конструкцией.
На ФИГ. 29 приведен вид сверху, иллюстрирующий состояние, в котором первый корпус и второй корпус в соответствии с десятым вариантом осуществления настоящего изобретения соединены, а на ФИГ. 30 приведен вид в поперечном разрезе вдоль линии А-А, показанной на ФИГ. 29.
Как показано на ФИГ. 29 и 30, десятый соединительный механизм может включать в себя направляющее отверстие 1022, выполненное во втором корпусе 1020, фиксирующий элемент 1024, вставляемый в направляющее отверстие 1022, и устройство 1025 регулировки фиксации, соединенное с фиксирующим элементом 1024.
Направляющее отверстие 1022 выполнено во втором корпусе 1020 и сформировано в направлении (например, в направлении оси х), пересекающем канавку 1021 скольжения. Направляющее отверстие 1022 может быть выполнено с возможностью сообщения с канавкой 1021 скольжения.
Один конец фиксирующего элемента 1024, который вставляют в направляющее отверстие 1022, упруго поддерживаться упругим элементом 1023, выполненным в направляющем отверстии 1022. Например, упругий элемент 1023 может представлять собой цилиндрическую винтовую пружину. Другой конец фиксирующего элемента 1024 может быть вставлен в канавку 1012 для вставки первого корпуса 1010.
Устройство 1025 регулировки фиксации соединено с фиксирующим элементом 1024. Устройство 1025 регулировки фиксации может перемещать фиксирующий элемент 1024 в направлении фиксации, перемещаясь вдоль рабочего пространства 1026, выполненного во втором корпусе 1020.
Как проиллюстрировано на ФИГ. 24-30, когда к устройству 1025 регулировки фиксации прикладывается внешняя сила и перемещает устройство 1025 регулировки фиксации в направлении расфиксации, фиксирующий элемент 1024, соединенный с устройством 1025 регулировки фиксации, может быть вставлен в направляющее отверстие 1022, сжимая при этом упругий элемент 1023.
Когда направляющую 1011 скольжения первого корпуса 1010 вставляют с возможностью скольжения в канавку 1021 скольжения второго корпуса 1020 в состоянии, в котором фиксирующий элемент 1024 полностью вставлен в направляющее отверстие 1022, первый соединитель С1 и второй соединитель С2 могут быть соединены.
Когда внешняя сила, которая прикладывается к устройству 1025 регулировки фиксации, устраняется в состоянии, в котором направляющая 1011 скольжения вставлена в канавку 1021 скольжения, сжатый упругий элемент 1023 может разжаться.
Фиксирующий элемент 1024 может быть протолкнут к первому корпусу 1010 упругим элементом 1023, и другой конец фиксирующего элемента 1024 может быть вставлен в канавку 1012 для вставки первого корпуса 1010.
Как описано выше, в десятом варианте осуществления настоящего изобретения первый корпус 1010 и второй корпус 1020 могут быть надежно соединены соединительной конструкцией, такой как направляющая 1011 скольжения, которая вставлена в канавку 1021 скольжения, и фиксирующий элемент 1024, вставленный в канавку 1012 для вставки.
На ФИГ. 31 приведен вид сбоку, иллюстрирующий процесс соединения первого корпуса и второго корпуса в соответствии с одиннадцатым вариантом осуществления настоящего изобретения.
Как проиллюстрировано на фиг. 31, в одиннадцатом варианте осуществления настоящего изобретения первый корпус 1110 и второй корпус 1120 могут быть соединены с помощью одиннадцатого соединительного механизма.
Одиннадцатый соединительный механизм может включать в себя крючок 1121, монтажную канавку 1111, в которую вставляют крючок 1121, блокирующий элемент 1114 и канавку 1122 для вставки, в которую вставляют блокирующий элемент 1114.
Первый корпус 1110 и второй корпус 1120 могут быть соединены в состоянии, в котором первый корпус 1110 и второй корпус 1120 расположены рядом друг с другом по горизонтали в продольном направлении (в направлении оси х).
Монтажная канавка 1111 выполнена в верхней части первой ответной поверхности F1 первого корпуса 1110. Один конец фиксирующего элемента 1114 может быть соединен с нижней внутренней частью первого корпуса 1110 осью 1112 шарнира.
Фиксирующий элемент 1114 может поворачиваться вокруг оси 1112 шарнира. Фиксирующий элемент 1114 может содержать удлинительную часть 1114а и захватный выступ 1114b.
Один конец удлинительной части 1114а находится в первом корпусе 1110 и упруго поддерживается упругим элементом 1113. Например, упругий элемент 1113 может представлять собой цилиндрическую винтовую пружину.
Захватный выступ 1114b выполнен на другом конце удлинительной части 1114а. Другой конец удлинительной части 1114а и захватный выступ 1114b могут быть расположены на нижней поверхности второго корпуса 1120 путем поворота фиксирующего элемента 1114.
На верхней части второй ответной поверхности F2 второго корпуса 1120 может быть выполнен по меньшей мере один крючок 1121. Например, крючок 1121 может быть выполнен на двух противоположных, левой и правой, сторонах второго корпуса 1120.
Канавка 1122 для вставки сформирована на нижней поверхности второго корпуса 1120. Канавка 1122 для вставки может иметь захватную канавку 1122а.
Как проиллюстрировано на ФИГ. 31А, когда к фиксирующему элементу 1114 прикладывается внешняя сила, блокирующий элемент 1114 может поворачиваться вокруг оси 1112 шарнира, сжимая при этом упругий элемент 1113.
В состоянии, в котором фиксирующий элемент 1114 поворачивается вокруг оси 1112 шарнира и располагается на нижней поверхности первого корпуса 1110, крючок 1121 второго корпуса 1120 может быть вставлен в монтажную канавку 1111 первого корпуса 1110.
В случае, когда крючок 1121 вставляют в монтажную канавку 1111 в состоянии, в котором фиксирующий элемент 1114 не расположен на нижней поверхности первого корпуса 1110, второй корпус 1120 захватывается фиксирующим элементом 1114, и крючок 1121 не может быть вставлен в монтажную канавку 1111. Поэтому крючок 1121 может быть вставлен в монтажную канавку 1111 в состоянии, в котором фиксирующий элемент 1114 расположен на нижней поверхности первого корпуса 1110.
Как проиллюстрировано на ФИГ. 31В, в состоянии, в котором крючок 1121 вставлен в монтажную канавку 1111, вторая ответная поверхность F2 второго корпуса 1120 может быть в тесном контакте с первой ответной поверхностью F1 первого корпуса 1110.
Когда внешняя сила, которую прикладывают к фиксирующему элементу 1114, устраняется, сжатый упругий элемент 1113 может разжаться, и упругая сила упругого элемента 1113 может быть приложена к фиксирующему элементу 1114.
Фиксирующий элемент 1114 может быть протолкнут упругим элементом 1113 и повернут вокруг оси 1112 шарнира в первоначальное состояние.
По мере поворота фиксирующего элемента 1114 в первоначальное состояние другой конец удлинительной части 1114а может быть вставлен в канавку 1122 для вставки второго корпуса 1120, а захватный выступ 1114b может быть вставлен в захватную канавку 1122а канавки 1122 для вставки.
Как описано выше, в одиннадцатом варианте осуществления настоящего изобретения первый корпус 1110 и второй корпус 1120 могут быть надежно соединены соединительной конструкцией, в которой крючок 1121 вставляют в монтажную канавку 1111, а захватный выступ 1114b и другой конец удлинительной части 1114а фиксирующего элемента 1114 вставляются в канавку 1122 для вставки и захватную канавку 1122а.
На ФИГ. 32 приведен вид в перспективе, иллюстрирующий состояние, в котором первый корпус и второй корпус в соответствии с двенадцатым вариантом осуществления настоящего изобретения разъединены, на ФИГ. 33 приведен вид сбоку, иллюстрирующий состояние, в котором первый корпус и второй корпус в соответствии с двенадцатым вариантом осуществления настоящего изобретения разъединены, на ФИГ. 34 приведен вид сверху, иллюстрирующий состояние, в котором первый корпус и второй корпус в соответствии с двенадцатым вариантом осуществления настоящего изобретения соединены, на ФИГ. 35 приведен вид в поперечном разрезе вдоль линии В-В, показанной на ФИГ. 34, на ФИГ. 36 приведен вид спереди, иллюстрирующий первый корпус в соответствии с двенадцатым вариантом осуществления настоящего изобретения, а на ФИГ. 37 приведен вид спереди, иллюстрирующий второй корпус в соответствии с двенадцатым вариантом осуществления настоящего изобретения.
Как проиллюстрировано на ФИГ. 32 37, в двенадцатом варианте осуществления настоящего изобретения первый корпус 1210 и второй корпус 1220 могут быть соединены двенадцатым соединительным механизмом.
Двенадцатый соединительный механизм может включать в себя отверстие 1211 для вставки, захватную канавку 1212, вставляемый элемент 1221, захватный элемента 1222 и фиксирующий элемент 1215.
Отверстие 1211 для вставки и захватное отверстие 1212 могут быть выполнены на двух противоположных сторонах с первым соединителем С1 между ними, а первый соединитель С1 может быть выполнен на первой ответной поверхности F1 первого корпуса 1210.
Отверстие 1211 для вставки может содержать первое отверстие 1211а для вставки и второе отверстие 1211b для вставки. Первое отверстие 1211а для вставки и второе отверстие 1211b для вставки выполнены в первой ответной поверхности F1 и последовательно сформированы в направлении к внутренней части первого корпуса 1210. Первое отверстие 1211а для вставки и второе отверстие 1211b для вставки соединены друг с другом. Первое отверстие 1211а для вставки и второе отверстие 1211b для вставки могут быть выполнены концентрично.
Например, первое отверстие 1211а для вставки может быть выполнено в виде длинного отверстия, удлиненного в направлении вверх (в направлении оси z) от нижней части первой ответной поверхности F1. Второе отверстие 1211b для вставки может иметь круглую форму.
Захватная канавка 1212 может быть выполнена в виде вогнутой канавки в направлении от нижней поверхности первого корпуса 1210 в направлении верхней поверхности первого корпуса 1210. Захватная канавка 1212 может содержать первую захватную канавку 1212а и вторую захватную канавку 1212b.
По меньшей мере одна из левой и правой поверхностей первой захватной канавки 1212а может быть выполнена в виде наклонной поверхности SL. Наклонная поверхность SL может иметь наклонную конструкцию, ширина которой уменьшается в направлении (в направлении оси z) от нижней поверхности первого корпуса 1210 в направлении верхней поверхности первого корпуса 1210.
Первый захватный элемент 1222а захватного элемента 1222, который вставляют в первую захватную канавку 1212а, может быть точно вставлен в первую захватную канавку 1212а вдоль наклонной поверхности SL.
Вторая захватная канавка 1212b может быть выполнена в виде канавки большего размера, чем первая захватная канавка 1212а. Во вторую захватную канавку 1212b может быть вставлен второй захватный элемент 1222b захватного элемента 1222.
Вставляемый элемент 1221 и захватный элемент 1222 могут быть выполнены на двух противоположных сторонах со вторым соединителем С2 между ними, а второй соединитель С2 может быть выполнен на второй ответной поверхности F2 второго корпуса 1220.
Вставляемый элемент 1221 может содержать первый вставляемый элемент 1221а и второй вставляемый элемент 1221b.
Первый вставляемый элемент 1221а может быть расположен в первом отверстии 1211а для вставки, когда вставляемый элемент 1221 вставляют в отверстие 1211 для вставки.
Второй вставляемый элемент 1221b выполнен на конце первого вставляемого элемента 1221а. Второй вставляемый элемент 1221b может быть выполнен в форме, которая соответствует первому отверстию 1211а для вставки таким образом, чтобы второй вставляемый элемент 1221b мог быть вставлен в первое отверстие 1211а для вставки.
Второй вставляемый элемент 1221b может быть вставлен во второе отверстие 1211b для вставки через первое отверстие 1211а для вставки. Второй вставляемый элемент 1221b поворачивается во втором отверстии 1211b для вставки таким образом, что пересекает первое отверстие 1211а для вставки. Когда второй вставляемый элемент 1221b пересекает первое отверстие 1211а для вставки, второй вставляемый элемент 1221b не может быть извлечен из второго отверстия 1211а для вставки.
Когда второй корпус 1220 тянут в состоянии, в котором второй вставной элемент 1221b пересекает первое отверстие 1211а для вставки, второй вставляемый элемент 1221b захватывается первым отверстием 1211а для вставки, так что первый корпус 1210 и второй корпус 1220 не могут быть разъединены.
Захватный элемент 1222 может содержать первый захватный элемент 1222а и второй захватный элемент 1222b.
Когда захватный элемент 1222 поворачивается в направлении от нижней поверхности первого корпуса 1210 в направлении верхней поверхности первого корпуса 1210 вокруг вставляемого элемента 1221, вставляемого в отверстие 1211 для вставки, первый захватный элемент 1222а может быть вставлен в первую захватную канавку 1212а, а второй захватный элемент 1222b может быть вставлен во вторую захватную канавку 1212b.
Второй захватный элемент 1222b выполнен на конце первого захватного элемента 1222а. Например, второй захватный элемент 1222b может иметь круглую форму, выполненную с возможностью вставки во вторую захватную канавку 1212b.
Второй захватный элемент 1222b имеет участок FS плоской поверхности. Участок FS плоской поверхности направлен к нижней поверхности первого корпуса 1210 в состоянии, в котором второй захватный элемент 1222b вставлен во вторую захватную канавку 1212 Ь. Второй захватный элемент 1222b может быть зафиксирован в состоянии, в котором участок FS плоской поверхности поддерживается фиксирующим элементом 1215.
Фиксирующий элемент 1215 вставляют в направляющее отверстие 1213. Направляющее отверстие 1213 может быть выполнено в первом корпусе 1210 и сформировано в направлении, пересекающем вторую захватную канавку 1212b таким образом, чтобы сообщаться со второй захватной канавкой 1212b.
Один конец фиксирующего элемента 1215 вставляется в направляющее отверстие 1213 и может упруго поддерживаться упругим элементом 1214. Другой конец фиксирующего элемента 1215 поддерживает участок FS плоской поверхности второго захватного элемента 1222b, вставленного во вторую захватную канавку 1212b, тем самым реализуя фиксированное состояние.
Фиксирующий элемент 1215 может предотвращать извлечение второго захватного элемента 1222b, который вставлен во вторую захватную канавку 1212b, из второй захватной канавки 1212b.
Фиксирующий элемент 1215 соединен с устройством 1217 регулировки фиксации. Устройство 1217 регулировки фиксации может перемещать фиксирующий элемент 1215 в направлении фиксации, перемещаясь вдоль рабочего пространства 1216, выполненного в первом корпусе 1210. Например, устройство 1217 регулировки фиксации может представлять собой рычаг, переключатель, кнопку и т.п.
На ФИГ. 38 приведен вид, иллюстрирующий процесс соединения первого корпуса и второго корпуса в соответствии с двенадцатым вариантом осуществления настоящего изобретения.
Как проиллюстрировано на ФИГ. 38А, второй вставляемый элемент 1221b вставляемого элемента 1221 согласуется с первым отверстием 1211а для вставки первого корпуса 1210, чтобы вставлять вставляемый элемент 1221 второго корпуса 1220 в отверстие 1211 для вставки первого корпуса 1210.
Как проиллюстрировано на ФИГ. 38В, второй вставляемый элемент 1221b может быть вставлен во второе отверстие 1211b для вставки через первое отверстие 1211а для вставки в состоянии, в котором второй вставляемый элемент 1221b второго корпуса 1220 согласуется с первым отверстием 1211а для вставки первого корпуса 1210.
Как проиллюстрировано на ФИГ. 38С и 38D, состояние, в котором вставляемый элемент 1221 второго корпуса 1220 вставлен в отверстие 1211 для вставки первого корпуса 1210, второй корпус 1220 поворачивают вокруг вставляемого элемента 1221 так, чтобы захватный элемент 1222 вставился в захватную канавку 1212, поворачиваясь при этом в направлении от нижней поверхности первого корпуса 1210 в направлении верхней поверхности первого корпуса 1210.
Когда захватный элемент 1222 вставляют в захватную канавку 1212, первый захватный элемент 1222а может быть вставлен в первую захватную канавку 1212а за счет направления его наклонной поверхностью SL, а второй захватный элемент 1222b может быть вставлен во вторую захватную канавку 1212b (см. ФИГ. 34).
В процесс поворота второго корпуса 1220 вокруг вставляемого элемента 1221 второй вставляемый элемент 1221b может пересечь первое отверстие 1211а для вставки (см. ФИГ. 35).
Когда второй захватный элемент 1222b вставляют во вторую захватную канавку 1212b в состоянии, в котором другой конец фиксирующего элемента 1215 расположен во второй захватной канавке 1212b, второй захватный элемент 1222b захватывается другим концом фиксирующего элемента 1215, так что второй захватный элемент 1222b не может быть вставлен во вторую захватную канавку 1212b. Когда второй захватный элемент 1222b вставлен во вторую захватную канавку 1212b, устройство 1217 регулировки фиксации может быть вытянуто, и второй захватный элемент 1222b может быть вставлен во вторую захватную канавку 1212b в состоянии, в котором фиксирующий элемент 1215, соединенный с устройством 1217 регулировки фиксации, полностью вставлен в направляющее отверстие 1213 со сжатием при этом упругого элемента 1214 (см. ФИГ. 35).
Как проиллюстрировано на ФИГ. 35, когда устраняют силу, которая вытягивает устройство 1217 регулировки фиксации, в состоянии, в котором второй захватный элемент 1222b вставлен во вторую захватную канавку 1212b, сжатый упругий элемент 1214 может разжаться, и фиксирующий элемент 1215 может быть протолкнут ко второй захватной канавке 1212b упругим элементом 1214.
По мере проталкивания фиксирующего элемента 1215 ко второй захватной канавке 1212b другой конец фиксирующего элемента 1215 может поддерживать участок FS плоской поверхности второго захватного элемента 1222b, вставленного во вторую захватную канавку 1212b, так что может быть реализовано зафиксированное состояние захватного элемента 1222.
Как описано выше, в двенадцатом варианте осуществления настоящего изобретения первый корпус 1210 и второй корпус 1220 могут быть надежно соединены соединительной конструкцией, такой как вставляемый элемент 1221 и захватный элемент 1222 второго корпуса 1220, которые вставляют в отверстие 1211 для вставки и захватную канавку 1212 первого корпуса 1210, и фиксирующий элемент 1215, выполненный с возможностью фиксации захватного элемента 1222.
Приведенное выше описание служит просто для иллюстративного описания технической сущности настоящего изобретения, и специалистам в области техники, к которой относится настоящее изобретение, понятно, что возможны различные модификации, изменения и замены в пределах объема существенных признаков настоящего изобретения. Соответственно, варианты осуществления, раскрытые в настоящем изобретении, и прилагаемые чертежи предназначены не для ограничения, а для описания технической сущности настоящего изобретения, и объем технической сущности настоящего изобретения не ограничивается этими вариантами осуществления и прилагаемыми чертежами. Объем охраны настоящего изобретения следует толковать на основе следующей формулы изобретения, и всю техническую сущность в эквивалентном ей объеме следует толковать как попадающую в объем настоящего изобретения.
Как описано выше, приведенные в качестве примера варианты осуществления были описаны и проиллюстрированы на чертежах и в описании изобретения. Приведенные в качестве примера варианты осуществления выбирали и описывали для объяснения определенных принципов изобретения и их практического применения, чтобы тем самым позволить другим специалистам в данной области создавать и использовать различные примеры осуществления настоящего изобретения, а также их различные альтернативы и модификации. Как очевидно из приведенного выше описания, некоторые аспекты настоящего изобретения не ограничиваются конкретными деталями примеров, проиллюстрированных в настоящем документе, и поэтому предполагается, что специалистам в данной области могут прийти на ум другие модификации и применения или их эквиваленты. Однако после рассмотрения описания изобретения и прилагаемых чертежей специалистам в данной области станут очевидны многие изменения, модификации, варианты и другие способы использования и применения настоящей конструкции. Все такие изменения, модификации, варианты и другие способы использования и применения, которые не выходят за пределы сущности и объема изобретения, считаются охваченными изобретением, которое ограничивается только приведенной далее формулой изобретения.
| название | год | авторы | номер документа |
|---|---|---|---|
| РОБОТ-ПЫЛЕСОС (ВАРИАНТЫ) | 2020 |
|
RU2793117C1 |
| Единый порт для малоинвазивной хирургии | 2020 |
|
RU2780520C1 |
| УДЛИНИТЕЛЬНАЯ ТРУБА ДЛЯ ПЫЛЕСОСА (ВАРИАНТЫ) | 2002 |
|
RU2221474C2 |
| УСТРОЙСТВО ДЛЯ РАСПРЕДЕЛЕНИЯ СРОСТКОВ ОПТИЧЕСКИХ ВОЛОКОН | 1996 |
|
RU2164357C2 |
| ВИЛКА ВОЛОКОННО-ОПТИЧЕСКОГО СОЕДИНИТЕЛЯ, ВОЛОКОННО-ОПТИЧЕСКИЙ АДАПТЕР, ВОЛОКОННО-ОПТИЧЕСКИЙ СОЕДИНИТЕЛЬ В СБОРЕ И УСТРОЙСТВО СВЯЗИ | 2021 |
|
RU2835901C1 |
| УСТРОЙСТВО ДЛЯ ОРИЕНТИРОВАННОГО РАЗДЕЛЕНИЯ ОПТИЧЕСКОГО ВОЛОКНА | 2007 |
|
RU2453875C2 |
| УСТРОЙСТВО ДЛЯ ОБРАБОТКИ БЕЛЬЯ | 2014 |
|
RU2622810C1 |
| КОЖУХ В ВИДЕ КОЛПАКА ДЛЯ ВОЛОКОННО-ОПТИЧЕСКИХ КАБЕЛЕЙ | 1996 |
|
RU2165095C2 |
| УСТРОЙСТВО ДЛЯ ОБРАБОТКИ БЕЛЬЯ | 2014 |
|
RU2645659C2 |
| УСТРОЙСТВО ДЛЯ РАЗДЕЛЕНИЯ ОПТИЧЕСКОГО ВОЛОКНА | 2003 |
|
RU2331908C2 |
Группа изобретений (варианты) относится к сгибаемому детектору обнаружения радиоактивного излучения. Сгибаемый детектор содержит первый корпус, содержащий блок управления и выполненный из неупругого материала или из более жесткого материала, чем материал второго корпуса; второй корпус, содержащий панель обнаружения и выполненный из упругого материала или композиционного материала, включающего в себя упругий материал и неупругий материал; и соединительный механизм, имеющий соединительную конструкцию, выполненную с возможностью соединения первого корпуса и второго корпуса таким образом, что первый корпус и второй корпус являются разъемными, при этом соединительный механизм содержит фиксирующий элемент, выполненный с возможностью предотвращения разъединения первого и второго корпусов, во втором корпусе сформировано направляющее отверстие, при этом соединительный механизм представляет собой комбинацию соединительных элементов и отверстий для вставки. Технический результат – повышение защитных характеристик от проникновения воды и/или пыли сгибаемого детектора обнаружения радиоактивного излучения, обеспечение легкости замены панели обнаружения сгибаемого детектора и простоты использования. 11 н. и 9 з.п. ф-лы, 38 ил.
1. Сгибаемый детектор обнаружения радиоактивного излучения, содержащий:
первый корпус, содержащий блок управления и выполненный из неупругого материала или из более жесткого материала, чем материал второго корпуса;
второй корпус, содержащий панель обнаружения и выполненный из упругого материала или композиционного материала, включающего в себя упругий материал и неупругий материал; и
соединительный механизм, имеющий соединительную конструкцию, выполненную с возможностью соединения первого корпуса и второго корпуса таким образом, что первый корпус и второй корпус являются разъемными,
при этом соединительный механизм представляет собой первый соединительный механизм, содержащий:
вставляемый элемент, выступающий с одной стороны или из двух противоположных сторон первой ответной поверхности первого корпуса по направлению ко второй ответной поверхности второго корпуса; и
отверстие для вставки, выполненное в части второй ответной поверхности второго корпуса, соответствующей вставляемому элементу, так что вставляемый элемент вставляется в отверстие для вставки,
при этом первый соединительный механизм содержит фиксирующий элемент, выполненный с возможностью предотвращения разъединения первого и второго корпусов, во втором корпусе сформировано направляющее отверстие в направлении, пересекающем отверстие для вставки, один конец фиксирующего элемента упруго поддерживается упругим элементом, выполненным в направляющем отверстии, другой конец фиксирующего элемента вставляется в канавку для вставки, выполненную во вставляемом элементе, и ограничивает перемещение вставляемого элемента, а устройство регулировки фиксации, соединенное с фиксирующим элементом, перемещает фиксирующий элемент при перемещении вдоль рабочего пространства, выполненного во втором корпусе.
2. Сгибаемый детектор по п. 1, содержащий:
первый соединитель, выполненный на первой ответной поверхности первого корпуса; и
второй соединитель, выполненный на второй ответной поверхности второго корпуса и выполненный с возможностью соединения с первым соединителем.
3. Сгибаемый детектор обнаружения радиоактивного излучения, содержащий:
первый корпус, содержащий блок управления и выполненный из неупругого материала или из более жесткого материала, чем материал второго корпуса;
второй корпус, содержащий панель обнаружения и выполненный из упругого материала или композиционного материала, включающего в себя упругий материал и неупругий материал; и
соединительный механизм, имеющий соединительную конструкцию, выполненную с возможностью соединения первого корпуса и второго корпуса таким образом, что первый корпус и второй корпус являются разъемными,
при этом соединительный механизм представляет собой третий соединительный механизм, содержащий:
вставляемый элемент, выступающий с одной стороны или из двух противоположных сторон первой ответной поверхности первого корпуса в направлении второй ответной поверхности второго корпуса; и
канавку для вставки, сформированную в части второй ответной поверхности второго корпуса, соответствующей вставляемому элементу, так что вставляемый элемент вставляется с возможностью скольжения в канавку для вставки,
при этом каждое из вставляемого элемента и канавки для вставки имеет форму, такую как форма «L» или форма «С».
4. Сгибаемый детектор обнаружения радиоактивного излучения, содержащий:
первый корпус, содержащий блок управления и выполненный из неупругого материала или из более жесткого материала, чем материал второго корпуса;
второй корпус, содержащий панель обнаружения и выполненный из упругого материала или композиционного материала, включающего в себя упругий материал и неупругий материал; и
соединительный механизм, имеющий соединительную конструкцию, выполненную с возможностью соединения первого корпуса и второго корпуса таким образом, что первый корпус и второй корпус являются разъемными,
причем соединительный механизм содержит вставляемый элемент, выполненный с возможностью предотвращения разъединения первого и второго корпусов, при этом вставляемый элемент содержит удлинительную часть, выступающую с одной стороны или двух противоположных сторон первой ответной поверхности первого корпуса по направлению ко второй ответной поверхности второго корпуса, и фиксирующий элемент, выполненный на конце удлинительной части, в соответствующей вставляемому элементу части второй ответной поверхности второго корпуса выполнена канавка для вставки, причем вставляемый элемент вставляется в канавку для вставки, также предусмотрено устройство регулировки фиксации, соединенное с удлинительной частью, устройство регулировки фиксации размещено в приемной части первого корпуса, по меньшей мере часть устройства регулировки фиксации выставлена наружу приемной части, а устройство регулировки фиксации поворачивается для поворота фиксирующего элемента в направлении фиксации в состоянии, в котором вставляемый элемент вставлен в канавку для вставки, так что фиксирующий элемент пересекает канавку для вставки.
5. Сгибаемый детектор обнаружения радиоактивного излучения, содержащий:
первый корпус, содержащий блок управления и выполненный из неупругого материала или из более жесткого материала, чем материал второго корпуса;
второй корпус, содержащий панель обнаружения и выполненный из упругого материала или композиционного материала, включающего в себя упругий материал и неупругий материал; и
соединительный механизм, имеющий соединительную конструкцию, выполненную с возможностью соединения первого корпуса и второго корпуса таким образом, что первый корпус и второй корпус являются разъемными,
при этом соединительный механизм представляет собой пятый соединительный механизм, содержащий:
фиксирующий элемент, выполненный на одной боковой поверхности или двух противоположных поверхностях первого корпуса и содержащий удлинительную часть, имеющую один конец, соединенный с первым корпусом осью шарнира, причем удлинительная часть выполнена с возможностью поворота вокруг оси шарнира и упруго поддерживается упругим элементом, соединенным с осью шарнира, и захватный выступ, выполненный на другом конце удлинительной части; и
канавку для вставки, выполненную на боковой поверхности второго корпуса в соответствии с фиксирующим элементом и сформированную в продольном направлении, так что удлинительная часть вставляется в канавку для вставки,
при этом пятый соединительный механизм дополнительно содержит:
вставляемый элемент, выполненный между фиксирующими элементами, расположенными на двух противоположных сторонах, причем вставляемый элемент выступает с одной стороны или из двух противоположных сторон первой ответной поверхности первого корпуса в направлении второй ответной поверхности второго корпуса; и
отверстие для вставки, выполненное в части второй ответной поверхности второго корпуса, соответствующей вставляемому элементу, так что вставляемый элемент вставляется в отверстие для вставки.
6. Сгибаемый детектор обнаружения радиоактивного излучения, содержащий:
первый корпус, содержащий блок управления и выполненный из неупругого материала или из более жесткого материала, чем материал второго корпуса;
второй корпус, содержащий панель обнаружения и выполненный из упругого материала или композиционного материала, включающего в себя упругий материал и неупругий материал; и
соединительный механизм, имеющий соединительную конструкцию, выполненную с возможностью соединения первого корпуса и второго корпуса таким образом, что первый корпус и второй корпус являются разъемными,
причем соединительный механизм представляет собой седьмой соединительный механизм, имеющий соединительный элемент, соединенный с проникновением в первый и второй корпуса в состоянии, в котором первый и второй корпуса расположены вертикально,
при этом седьмой соединительный механизм также содержит:
канавку скольжения, выполненную в нижней части первого корпуса; и
направляющую скольжения, выполненную на верхней части второго корпуса таким образом, чтобы она соответствовала канавке скольжения и вставлялась с возможностью скольжения в канавку скольжения.
7. Сгибаемый детектор обнаружения радиоактивного излучения, содержащий:
первый корпус, содержащий блок управления и выполненный из неупругого материала или из более жесткого материала, чем материал второго корпуса;
второй корпус, содержащий панель обнаружения и выполненный из упругого материала или композиционного материала, включающего в себя упругий материал и неупругий материал; и
соединительный механизм, имеющий соединительную конструкцию, выполненную с возможностью соединения первого корпуса и второго корпуса таким образом, что первый корпус и второй корпус являются разъемными,
при этом соединительный механизм представляет собой девятый соединительный механизм, содержащий:
канавку скольжения, выполненную в нижней части первого корпуса и сформированную в продольном направлении; и
направляющую скольжения, выполненную на верхней части второго корпуса и сформированную в продольном направлении, причем направляющая скольжения соответствует канавке скольжения, так что направляющая скольжения вставляется с возможностью скольжения в канавку скольжения,
при этом девятый соединительный механизм также содержит:
направляющее отверстие, выполненное в первом корпусе и сформированное в направлении, пересекающем канавку скольжения;
фиксирующий элемент, имеющий один конец, упруго поддерживаемый упругим элементом, вставленным в направляющее отверстие, и другой конец, вставленный в канавку для вставки, выполненную в направляющей скольжения; и
устройство регулировки фиксации, соединенное с фиксирующим элементом и выполненное с возможностью перемещения фиксирующего элемента при перемещении вдоль рабочего пространства, выполненного в первом корпусе.
8. Сгибаемый детектор обнаружения радиоактивного излучения, содержащий:
первый корпус, содержащий блок управления и выполненный из неупругого материала или из более жесткого материала, чем материал второго корпуса;
второй корпус, содержащий панель обнаружения и выполненный из упругого материала или композиционного материала, включающего в себя упругий материал и неупругий материал; и
соединительный механизм, имеющий соединительную конструкцию, выполненную с возможностью соединения первого корпуса и второго корпуса таким образом, что первый корпус и второй корпус являются разъемными,
в котором соединительный механизм представляет собой десятый соединительный механизм, содержащий:
направляющую скольжения, выполненную на одной продольной поверхности первого корпуса и сформированную в направлении, пересекающем продольное направление первого корпуса; и
канавку скольжения, выполненную на одной продольной поверхности второго корпуса и сформированную в направлении, пересекающем продольное направление второго корпуса, так что направляющая скольжения вставляется в канавку скольжения,
при этом первая ответная поверхность, на которой выполнен первый соединитель, выполнена на поверхности, которая входит в канавку скольжения направляющей скольжения, а вторая ответная поверхность, на которой выполнен второй соединитель, выполнена на внутренней торцевой поверхности канавки скольжения, соответствующей первой ответной поверхности,
при этом каждый из первого соединителя и второго соединителя выполнен в виде горизонтального соединителя или наклонного соединителя.
9. Сгибаемый детектор по п. 8, в котором первая ответная поверхность выполнена в направлении, пересекающем продольное направление первого корпуса, а вторая ответная поверхность выполнена в направлении, пересекающем продольное направление второго корпуса, при этом первый соединитель выполнен в направлении, пересекающем продольное направление первого корпуса, а второй соединитель выполнен в направлении, пересекающем продольное направление второго корпуса.
10. Сгибаемый детектор обнаружения радиоактивного излучения, содержащий:
первый корпус, содержащий блок управления и выполненный из неупругого материала или из более жесткого материала, чем материал второго корпуса;
второй корпус, содержащий панель обнаружения и выполненный из упругого материала или композиционного материала, включающего в себя упругий материал и неупругий материал; и
соединительный механизм, имеющий соединительную конструкцию, выполненную с возможностью соединения первого корпуса и второго корпуса таким образом, что первый корпус и второй корпус являются разъемными,
при этом соединительный механизм представляет собой десятый соединительный механизм, содержащий:
направляющую скольжения, выполненную на одной продольной поверхности первого корпуса и сформированную в направлении, пересекающем продольное направление первого корпуса; и
канавку скольжения, выполненную на одной продольной поверхности второго корпуса и сформированную в направлении, пересекающем продольное направление второго корпуса, так что направляющая скольжения вставляется в канавку скольжения,
при этом первая ответная поверхность, на которой выполнен первый соединитель, выполнена в приемной канавке, выполненной в продольном направлении одной поверхности направляющей скольжения, а вторая ответная поверхность, на которой выполнен второй соединитель, выполнена в канавке скольжения, соответствующей первой ответной поверхности,
при этом каждый из первого соединителя и второго соединителя выполнен в виде горизонтального соединителя или наклонного соединителя.
11. Сгибаемый детектор по п. 10, в котором первая ответная поверхность выполнена в направлении, совпадающем с продольным направлением первого корпуса, а вторая ответная поверхность выполнена в направлении, совпадающем с продольным направлением второго корпуса,
при этом первый соединитель выполнен в направлении, совпадающем с продольным направлением первого корпуса, а второй соединитель выполнен в направлении, совпадающем с продольным направлением второго корпуса.
12. Сгибаемый детектор обнаружения радиоактивного излучения, содержащий:
первый корпус, содержащий блок управления и выполненный из неупругого материала или из более жесткого материала, чем материал второго корпуса;
второй корпус, содержащий панель обнаружения и выполненный из упругого материала или композиционного материала, включающего в себя упругий материал и неупругий материал; и
соединительный механизм, имеющий соединительную конструкцию, выполненную с возможностью соединения первого корпуса и второго корпуса таким образом, что первый корпус и второй корпус являются разъемными,
при этом соединительный механизм представляет собой десятый соединительный механизм, содержащий:
направляющую скольжения, выполненную на одной продольной поверхности первого корпуса и сформированную в направлении, пересекающем продольное направление первого корпуса; и
канавку скольжения, выполненную на одной продольной поверхности второго корпуса и сформированную в направлении, пересекающем продольное направление второго корпуса, так что направляющая скольжения вставляется в канавку скольжения,
при этом десятый соединительный механизм также содержит:
направляющее отверстие, сформированное во втором корпусе и выполненное с возможностью сообщения с канавкой скольжения;
фиксирующий элемент, имеющий один конец, упруго поддерживаемый упругим элементом, выполненным в направляющем отверстии, и другой конец, вставленный в канавку для вставки первого корпуса; и
устройство регулировки фиксации, соединенное с фиксирующим элементом и выполненное с возможностью перемещения фиксирующего элемента при перемещении вдоль рабочего пространства, выполненного во втором корпусе.
13. Сгибаемый детектор обнаружения радиоактивного излучения, содержащий:
первый корпус, содержащий блок управления и выполненный из неупругого материала или из более жесткого материала, чем материал второго корпуса;
второй корпус, содержащий панель обнаружения и выполненный из упругого материала или композиционного материала, включающего в себя упругий материал и неупругий материал; и
соединительный механизм, имеющий соединительную конструкцию, выполненную с возможностью соединения первого корпуса и второго корпуса таким образом, что первый корпус и второй корпус являются разъемными,
при этом соединительный механизм представляет собой одиннадцатый соединительный механизм, содержащий:
монтажную канавку, выполненную в верхней части первой ответной поверхности первого корпуса;
фиксирующий элемент, содержащий удлинительную часть, имеющую один конец, расположенный в первом корпусе и соединенный с возможностью поворота с первым корпусом посредством оси шарнира и упруго поддерживаемый упругим элементом, и другой конец, открытый в направлении второго корпуса, и захватный выступ, выполненный на другом конце удлинительной части;
по меньшей мере один крючок, вставленный в монтажную канавку и выполненный на части второй ответной поверхности второго корпуса в соответствии с монтажной канавкой;
канавку для вставки, сформированную в нижней поверхности второго корпуса таким образом, что второй конец удлинительной части вставляется в канавку для вставки; и
захватную канавку, выполненную в канавке для вставки таким образом, что захватный выступ вставляется в захватную канавку.
14. Сгибаемый детектор обнаружения радиоактивного излучения, содержащий:
первый корпус, содержащий блок управления и выполненный из неупругого материала или из более жесткого материала, чем материал второго корпуса;
второй корпус, содержащий панель обнаружения и выполненный из упругого материала или композиционного материала, включающего в себя упругий материал и неупругий материал; и
соединительный механизм, имеющий соединительную конструкцию, выполненную с возможностью соединения первого корпуса и второго корпуса таким образом, что первый корпус и второй корпус являются разъемными,
при этом соединительный механизм представляет собой двенадцатый соединительный механизм, содержащий:
отверстие для вставки, выполненное на одной стороне первой ответной поверхности первого корпуса;
захватную канавку, выполненную на другой стороне первой ответной поверхности первого корпуса и выполненную в виде вогнутой канавки, сформированной в направлении от нижней поверхности первого корпуса в направлении верхней поверхности первого корпуса;
вставляемый элемент, выступающий из одной стороны второй ответной поверхности второго корпуса по направлению к первому корпусу и вставленный в отверстие для вставки; и
захватный элемент, выступающий из другой стороны второй ответной поверхности второго корпуса по направлению к первому корпусу, причем захватный элемент выполнен с возможностью вставки в захватную канавку с поворотом при этом вокруг вставляемого элемента, вставленного в отверстие для вставки, в направлении от нижней поверхности первого корпуса по направлению к верхней поверхности первого корпуса.
15. Сгибаемый детектор по п. 14, в котором отверстие для вставки содержит:
первое отверстие для вставки, выполненное в виде длинного отверстия; и
второе отверстие для вставки, выполненное с возможностью сообщения с первым отверстием для вставки и расположенное ближе к внутренней части первого корпуса, чем первое отверстие для вставки, причем второе отверстие для вставки выполнено в виде отверстия, центр которого совпадает с центром первого отверстия для вставки.
16. Сгибаемый детектор по п. 15, в котором вставляемый элемент содержит:
первый вставляемый элемент, располагаемый в первом отверстии для вставки, когда вставляемый элемент вставляют в отверстие для вставки; и
второй вставляемый элемент, выполненный на конце первого вставляемого элемента и имеющий форму, соответствующую первому отверстию для вставки, причем второй вставляемый элемент выполнен с возможностью поворота для пересечения первого отверстия для вставки в состоянии, в котором второй вставляемый элемент вставлен во второе отверстие для вставки через первое отверстие для вставки.
17. Сгибаемый детектор по п. 14, в котором захватная канавка содержит:
первую захватную канавку и
вторую захватную канавку, выполненную с возможностью сообщения с первой захватной канавкой и расположенную ближе к внутренней части второго корпуса, чем первая захватная канавка, причем вторая захватная канавка выполнена в виде канавки большего размера, чем первая захватная канавка.
18. Сгибаемый детектор по п. 17, в котором по меньшей мере одна боковая поверхность первой захватной канавки выполнена в виде наклонной поверхности, и наклонная поверхность имеет наклонную конструкцию, ширина которой уменьшается в направлении от нижней поверхности первого корпуса в направлении верхней поверхности первого корпуса.
19. Сгибаемый детектор по п. 17, в котором захватный элемент содержит:
первый захватный элемент, располагаемый в первой захватной канавке, когда захватный элемент вставлен в захватную канавку; и
второй захватный элемент, выполненный на конце первого захватного элемента таким образом, что часть второго захватного элемента, которая направлена к нижней поверхности первого корпуса в состоянии, в котором второй захватный элемент вставлен во вторую захватную канавку, выполнена в виде плоской части поверхности.
20. Сгибаемый детектор по п. 19, дополнительно содержащий:
направляющее отверстие, выполненное в первом корпусе и сформированное в направлении, пересекающем вторую захватную канавку для сообщения со второй захватной канавкой;
фиксирующий элемент, один конец которого вставлен в направляющее отверстие и упруго поддерживается упругим элементом, а другой конец выполнен с возможностью поддержки плоской части поверхности второго захватного элемента, вставленного во вторую захватную канавку для реализации запертого состояния; и
устройство регулировки фиксации, соединенное с фиксирующим элементом и выполненное с возможностью перемещения фиксирующего элемента в направлении фиксации при перемещении вдоль рабочего пространства, выполненного в первом корпусе.
| KR 20200001884 A, 07.01.2020 | |||
| US 20170003401 A1, 05.01.2017 | |||
| US 20100072379 A1, 25.03.2010 | |||
| WO 2009125632 A1, 15.10.2009 | |||
| Фронтальный режущий аппарат для косилок | 1938 |
|
SU55141A1 |
| RU 2014131046 A, 20.02.2016 | |||
| RU 2014123202 A, 20.12.2015. | |||
Авторы
Даты
2025-04-17—Публикация
2024-03-14—Подача