ОБЛАСТЬ ТЕХНИКИ
Изобретение относиться к области теплотехники и может быть использовано для применения в теплоэнергетике для получения тепла и горячей воды.
УРОВЕНЬ ТЕХНИКИ
Известен котел, содержащий топочную камеру, газоход, переднюю и заднюю стенки, патрубки подачи и обратки и теплообменник из оребренных труб расположенных в ряд параллельно друг другу в несколько уровней, отличающийся тем, что трубы рядов соединены зигзагообразно продольными отводами, а трубы уровней между собой соединены зигзагообразно поперечными отводами, при этом все трубы соединены с образованием единого водяного тракта (патент РФ на полезную модель №184599.
Недостатками известного котла являются:
1. Сложность очистки внутренних поверхностей теплообменных оребренных труб от образующейся в ней накипи и других отложений. Этот факт ограничивает использования котла в условиях, когда хорошая водоподготовка теплоносителя невозможна, а требования к надежной работе котла высокие. Такие условия очень часты в небольших котельных, особенно в сельской местности, где часто нет нормальной водоподготовки из-за ее высокой стоимости и высоких затрат при ее эксплуатации и также отсутствия квалифицированного персонала.
2. Сложность применения в крышных котельных так как теплообменник не разборный и имеет большой вес. Его нельзя разобрать на более мелкие части удобные для обслуживания и ремонта. В крышных котельных важно иметь котел с малыми габаритами, небольшим весом и небольшим объемом воды внутри теплообменника. При этом имеющим возможность быстро его разобрать на более мелкие части для обслуживания, замены или ремонта. Учитывая стесненные условия крышных котельных важно иметь возможность осматривать и очищать от отложений и грязи внутренние поверхности теплообменных труб, не снимая теплообменник и крупные его части из котла так как в таких котельных как правило нет места для ремонта и нет возможности на долго вывести котельную в ремонт так как котельная автономная и не имеет резерва.
3. Большие трудозатраты при изготовлении теплообменника котла из-за сложности автоматизации процессов изготовления теплообменника. Большинство сварочных швов в прототипе котла можно выполнить только ручной сваркой с участием человека так как теплообменник перед сваркой собирается целиком и сборочные детали теплообменника изготавливаются полу-ручным способом что не гарантирует высокую повторяемость деталей.
4. Сложность ремонта теплообменника котла из-за большого веса и не возможности его разобрать на более мелкие части без больших трудозатрат.
СУЩНОСТЬ ИЗОБРЕТЕНИЯ
Задача изобретения состоит в создании разборного теплообменника, свободного от, по меньшей мере, одного, а, предпочтительно, от всех упомянутых выше недостатком.
Вышеуказанная задача решена благодаря тому, что теплообменник содержит:
блоки 9, 10, 30, 31 теплообменника, образованные стальными теплообменными трубами 11 расположенными параллельно друг к другу, соединенные между собой по меньшей мере одним неразборным переходом 17, 28, 29 разворачивающим поток теплоносителя на 180 градусов, также на входе и выходе блоков 9, 10, 30, 31 теплообменника расположены фланцы 14, имеющие отверстия 8 для резьбовых элементов 16 и отверстия 24 для протока теплоносителя куда закреплены концы крайних теплообменных труб 11 одного блока 9, 10, 30, 31 теплообменника;
съемные переходы 12 образованные фланцевым элементом из металлической пластиной 13 с входным и выходным отверстиями 25 и отверстиями 23 для резьбовых элементов, полостным элементом 15, 32, 33 расположенным на одной из сторон вышеуказанного фланцевого элемента из металлической пластины и объединяющим в одно пространство оба отверстия 25 внутри данного полостного элемента 15, 32, 33.
Рядом расположенные смежные блоки 9, 10, 30, 31 теплообменника соединены между собой съемными переходами 12, при этом фланцы 14 блоков 9, 10, 30, 31 теплообменника соединены с фланцевым элементом из металлической пластиной 13 упомянутого съемного перехода 12 посредством резьбовых элементов 16 с возможностью разборки, таким образом, чтобы выход одного блока 9, 10, 30, 31 теплообменника сообщался с входным отверстием 25 съемного перехода 12, а выходное отверстие 25 съемного перехода 12 сообщалось с входом другого рядом расположенного блока 9, 10, 30, 31 теплообменника.
Как будет понятно специалисту с учетом его знаний и настоящего описания, конструкция вышеописанного теплообменника обеспечивает следующие технические преимущества.
1. В зависимости от мощности котла вес одного элемента должен быть в пределах 20-80 кг, чтобы его могли перемещать вручную максимум 2 человека. Так как теплообменник поделен на отдельные блоки небольшого размера и веса, и эти блоки соединены между собой съемными переходами, его можно легко разобрать и переместить в любое место усилиями небольшого количества людей без применения грузоподъемных механизмов или с применением простейших грузоподъемных механизмов. Это особенно актуально для котельных, расположенных на крышах (или технических этажах) домов и сооружений, где нет возможности пользоваться грузоподъемной техникой. Также это удобно если из строя выходит часть труб теплообменника. В этом случае, в отличие от аналога, нет необходимости менять теплообменник целиком или производить его монтаж/демонтаж с применением резки и сварки, а можно заменить (отремонтировать, или прочистить) только неисправные блоки теплообменника с минимальными затратами труда и материалов. Сроки ремонтных работ сокращаются.
2. Благодаря применению предлагаемых отдельных блоков теплообменника и съемных переходов появилась возможность увеличить использование оребрения труб стальной лентой в котлах котельных, расположенных на крышах (или технических этажах) домов и сооружений. Такие трубы за счет оребрения имеют хорошую теплопередачу, а значит и высокий КПД что очень важно для котла. Однако, более интенсивному использованию оребрения ранее препятствовал тот факт, что с увеличение площади теплообмена сильно растет масса теплообменника при этом становится трудно монтировать/демонтировать и ремонтировать котлы котельных, расположенных на крышах. При этом растет теплоперенос на погонный метр трубы, и, как следствие, увеличивается интенсивность солеотложения, что ведет к сокращению межремонтных промежутков. Разделение теплообменника на блоки, позволяет увеличить степень оребрения труб и КПД теплообменника без указанных побочных эффектов, характерных для неразборных или сложно разборных теплообменников, поскольку дефектные трубы могут быть быстро заменены без демонтажа теплообменника из котла.
3. Появляется доступ к внутренним поверхностям теплообменных труб для обслуживания и ремонта, без крупной разборки и демонтажа теплообменника из котла, что особенно важно в зимнее время, когда каждый день остановки котла влечет серьезные последствия. Такой доступ особенно важен из-за применения оребренных стальной лентой труб, так как более высокая теплопередача увеличивает интенсивность отложения солей. Использование таких блоков теплообменника и съемных переходов, позволяет без демонтажа теплообменника из котла, быстро провести осмотр и диагностику внутренних поверхностей отдельных или всех теплообменных труб и, при необходимости, произвести механическую или химическую очистку внутренних поверхностей от солей или других отложений. На время ремонта демонтированных блоков на их место могут устанавливаться байпасы или резервные блоки, что позволяет сократить до минимума аварийные перерывы.
4. Благодаря использованию съемных переходов для соединения между рядами батарей, состоящих из блоков теплообменника, в сравнении с прототипом уменьшатся расстояние между рядами теплообменных труб блоков теплообменника, а следовательно, и сам размер теплообменника. Это происходит, потому что съемный переход имеет меньшее расстояние между центрами отверстий для перетока теплоносителя и сам в удобном положении крепиться резьбовыми изделиями на соседние блоки теплообменника расположенных в разных рядах теплообменника котла. В прототипе такое невозможно так как ряды теплообменника соединены сварными перетоками, которые нельзя изготовить с меньшим размером так как будет невозможно его собрать посредством сварки и также в не разборном теплообменнике нужно значительно больше места между элементами чтобы добираться до них при обслуживании или ремонте.
5. Получаем дополнительную поверхность нагрева со стороны топки за счет дополнительной поверхности, получаемой за счет неразборных переходов и съемных переходов и также с внешней стороны получаем дополнительное охлаждение за счет тех же самых переходов. Что позволяет размещать автоматику котла ближе к теплообменнику котла. Такой возможности в прототипе нет, так как стенки теплообменника не охлаждаются теплоносителем и поэтому имеют температуру выше 200 град., из-за чего дополнительно появляются проблемы с покраской этой части теплообменника и ее теплоизоляцией.
6. В прототипе отводы теплообменника могут быть приварены только ручной сваркой сварщиками высокой квалификации, так как теплообменник собирается перед сваркой целиком или крупными блоками. Предлагаемая конструкция теплообменных блоков и съемных переходов вышеописанного теплообменника такова, что имеется возможность полной или практически полной автоматизации процессов их сварки из заготовок за счет доступности всех сварочных швов для роботизированных устройств. Благодаря этому снижается трудоемкость и повышается качество сварочных швов. В частности, конструкция блоков теплообменника такова, что позволяет приваривать теплообменные трубы к стальным пластинам и фланцам орбитальной сваркой или роботом манипулятором. Конструкция съемного перехода (особенно в предпочтительном варианте его исполнения), также максимально подходит для автоматизации процесса производства, так как имеет всего два элемента которые имеют минимальные отклонения формы за счет изготовления фланцевого элемента из металлической пластины лазерной резкой на станке с ЧПУ, а металлического короба на штамповочном прессе. Сварка полостного элемента к фланцевому элементу из металлической пластины тоже максимально подходит для роботизированной сварки, в том числе лазером.
Таким образом, используя все вышеуказанные конструктивные особенности получаем оптимальный разборный теплообменник для использования в крышных котельных и котельных, где есть сложности с качеством теплоносителя и обслуживающим персоналом.
Ниже описаны некоторые частные и предпочтительные формы исполнения.
Вышеупомянутые трубы, в одной из частных форм выполнения, могут быть снабжены спиральным оребрением стальной лентой, приваренным посредством высокочастотной сварки.
Вышеупомянутые блоки, в одной из частных форм выполнения, могут содержать по две стальные трубы, оребренные стальной лентой.
Блоки теплообменника,- в одной из альтернативных частных форм выполнения, могут содержать по четыре стальные трубы, оребренные стальной лентой.
Часть вышеупомянутых блоков теплообменника, в еще одной из альтернативных частных форм выполнения, могут содержать по две стальные трубы, оребренные стальной лентой, а другая часть вышеупомянутых теплообменных блоков содержит по четыре трубы, оребренные стальной лентой.
Упомянутые соединения между съемными переходами 12 и блоками теплообменника 9, 10, 30, 31, - в одной из частных форм выполнения, могут быть герметизированы посредством уплотнительных колец 27.
Упомянутые фланцевые элементы из металлической пластины 13 съемных переходов 12, в одной из частных форм выполнения, могут быть снабжены канавками 22 для уплотнительных колец 27.
Вышеупомянутые фланцы 14, в одной из частных форм выполнения, могут быть снабжены канавками 22 для уплотнительных колец 27.
Вышеупомянутые блоки, в одной из частных форм выполнения, могут быть соединены между собой в батареи, расположенные, по меньшей мере в один ряд, при этом каждая батарея содержит, по меньшей мере, один блок, а соседние батареи соединены между собой посредством вышеупомянутых съемных переходов 12.
Отверстия 8 в вышеупомянутых фланцах 14, в одной из частных форм выполнения, могут быть снабжены резьбой для резьбовых элементов 16.
Вышеупомянутый неразборный переход 17, в одной из частных форм выполнения, может быть образован стальной пластиной 18 с двумя расположенными в ней отверстиями 26, к которой приварены концы расположенных рядом теплообменных труб 11 одного блока 9, 10 и полостным элементом в виде стальной крышки 19, приваренной к упомянутой пластине 18 таким образом, что образованная упомянутой крышкой 19 и пластиной 18 полость сообщает оба упомянутые отверстия 26 между собой.
Вышеупомянутая крышка 19, в одной из частных форм выполнения, может быть выполнена из листовой стали.
Вышеупомянутый неразборный переход 28, в одной из частных форм выполнения, может быть выполнен в виде изогнутой стальной трубы, с возможностью разворота теплоносителя на 180°.
Вышеупомянутый неразборный переход 29, в одной из частных форм выполнения, может быть образован сегментами прямолинейной стальной трубы, обеспечивающих разворот теплоносителя на 180°.
Вышеупомянутый полостной элемент 15 съемного перехода 12, в одной из частных форм выполнения, - может быть выполнен из листовой стали.
Вышеупомянутый полостной элемент 32 съемного перехода 12, в одной из частных форм выполнения, может быть выполнен в виде изогнутой стальной трубы, обеспечивающей разворот теплоносителя на 180°.
Вышеупомянутый полостной элемент 33 съемного перехода 12, в одной из частных форм выполнения, может быть выполнен из сегментов прямолинейной стальной трубы, обеспечивающих разворот теплоносителя на 180°.
Вышеупомянутый съемный переход 12, - в одной из частных форм выполнения, может быть изготовлен из сплавов алюминия.
КРАТКОЕ ОПИСАНИЕ ФИГУР ЧЕРТЕЖЕЙ
На фиг. 1 изображен теплообменник в сборе (вид сбоку).
На фиг. 2 схематически изображен разрез А-А нижней части теплообменника с фиг. 1 со стрелками, указывающими движение теплоносителя.
На фиг. 3 схематически изображен разрез В-В верхней батареи блоков теплообменника с фиг. 1-2 со стрелками, указывающими движение теплоносителя.
На фиг. 4 схематически изображен теплообменник с фиг. 1-3 в сборе (вид сзади в аксонометрии).
На фиг. 5 в аксонометрии схематически изображен вид нижней и верхней батарей блоков теплообменника с фиг. 1-4, которые для наглядности отделены друг от друга.
На фиг. 6 в аксонометрии схематически изображен частично разобранный теплообменник с фиг. 1-4, где нижняя батарея блоков показана в сборе, а верхняя для наглядности разобрана на отдельные блоки с двумя оребренными трубами, съемными переходами и элементами подачи теплоносителя.
На фиг. 7 в аксонометрии схематически изображен отдельный блок теплообменника с фиг.1-4, включающий две оребренные трубы, соединенные неразборным переходом на одном конце, и фланцы для съемных переходов на другом конце.
На фиг. 8 в аксонометрии схематически изображен съемный переход между блоками теплообменника с фиг. 1-4.
На фиг. 9 схематически изображен теплообменник, собранный из отдельных блоков с четырьмя оребренными трубами (вид сзади в аксонометрии).
На фиг. 10 в аксонометрии схематически изображен вид нижней и верхней батарей блоков теплообменника с фиг. 9, которые для наглядности отделены друг от друга.
На фиг. 11 в аксонометрии схематически изображен частично разобранный теплообменник с фиг. 9-10, где нижняя батарея блоков показана в сборе, а верхняя батарея блоков для наглядности разобрана на отдельные блоки и съемные переходы.
На фиг. 12 схематически изображен отдельный блок теплообменника с фиг. 9-11.
На фиг. 13 представлен укрупненный схематический вид «В» фланца для съемного перехода, приваренного к оребренной трубе.
На фиг. 14 в аксонометрии схематически изображен неразборный переход с частичным разрезом.
На фиг. 15 схематически изображен котел с разборным теплообменником по изобретению (вид спереди в аксонометрии).
На фиг. 16 схематически изображен котел с фиг. 15 с вырезом части топочной камеры (вид спереди в аксонометрии).
На фиг. 17 схематически изображен один из возможных вариантов компоновки блоков разборного теплообменника по изобретению (вид спереди в аксонометрии).
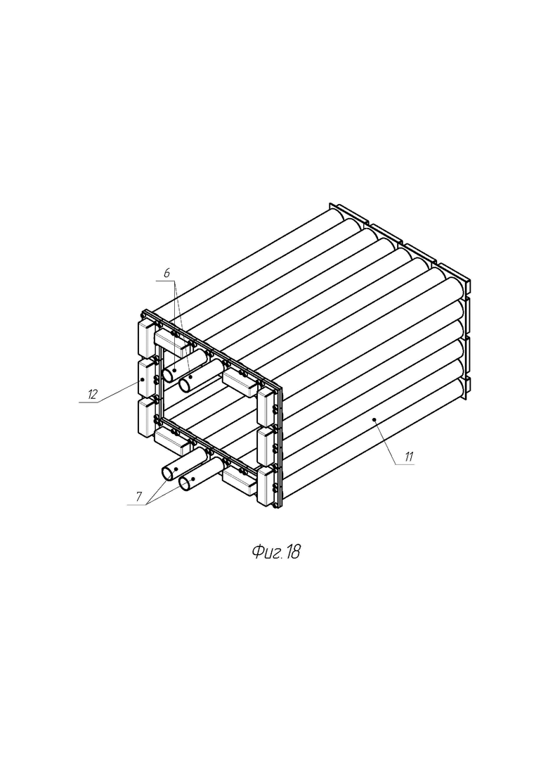
На фиг. 18 схематически изображен теплообменник с фиг. 17 (вид сзади в аксонометрии).
На фиг. 19 в аксонометрии схематически изображен блок теплообменника с неразборным переходом для разворота потока теплоносителя на 180° в виде изогнутой стальной трубы в форме буквы U.
На фиг. 20 в аксонометрии схематически изображен блок теплообменника с неразборным переходом для разворота потока теплоносителя на 180° из сегментов прямолинейной стальной трубы.
На фиг. 21 в аксонометрия схематически изображен съемный переход, аналогичный неразборному переходу с фиг. 19.
На фиг. 22 в аксонометрии схематически изображен съемный переход, аналогичный неразборному переходу с фиг. 20.
Позициями 1-23 на фиг 1-22 обозначены следующие элементы:
1 - топочная камера,
2 - стенки топочной камеры 1,
3 - изоляция стенок топочной камеры 1,
4 - атмосферная горелка из трубных инжекционных горелок,
5 - газоход,
6 - патрубок подачи,
7 - патрубок обратки,
8 - отверстия с резьбой на фланце,
9 - блок теплообменника из двух оребренных труб,
10 - блок теплообменника из четырех оребренных труб,
11 - теплообменная труба, оребренная стальной лентой,
12 - съемный переход,
13 - фланцевый элемент съемного перехода из металлической пластины,
14 - фланцы на концах конечных оребренных труб блоков теплообменника,
15 - полостной элемент съемного перехода,
16 - резьбовые элементы,
17 - неразборный переход из листового металла,
18 - стальная пластина неразборного перехода,
19 - крышка неразборного перехода,
20 - трубопровод подачи газа,
21 - автоматика котла,
22 - канавка для уплотнительного кольца,
23 - отверстия на фланцевом элементе съемного перехода для резьбовых элементов,
24 - отверстие для перетока теплоносителя на фланце 14,
25 - отверстия на фланцевом элементе съемного перехода для перетока теплоносителя,
26 - отверстия в стальной пластине неразборного перехода для перетока теплоносителя,
27 - уплотнительное кольцо,
28 - неразборный переход из изогнутой стальной трубы,
2 9 - неразборный переход из сегментов прямолинейной стальной трубы,
30 - блок теплообменника с неразборным переходом 28,
31 - блок теплообменника с неразборным переходом 29,
32 - полостной элемент съемного перехода из изогнутой стальной трубы,
33 - полостной элемент съемного перехода из сегментов прямолинейной стальной трубы.
ОСУЩЕСТВЛЕНИЕ ИЗОБРЕТЕНИЯ
Разборный теплообменник в составе котла содержит:
блоки теплообменника 9, 10, 30, 31 которые состоят из оребренных труб 11, фланца 14, неразборного перехода 17, который в свою очередь состоит из стальной пластины 18 и крышки 19 или неразборных переходов 28, 29 которые состоят из одного или двух отводов или из сегментов стальных труб соответственно;
съемные переходы 12, образованные фланцевым элементом из металлической пластины 13 и полостного элемента 15, 32, 33;
резьбовые элементы 16.
Один из вариантов водотрубного котла с данным разборным теплообменником содержит: топочную камеру 1, стенки топочной камеры 2, изоляцию стенок топочной камеры 3,
атмосферную горелку из трубных инжекционных горелок 4,
газоход 5,
патрубок подачи 6,
трубопроводы газа 20,
автоматику котла 21,
патрубок обратки 7 и
теплообменник котла, состоящий из отдельных блоков 9, 10 и съемных переходов 12.
Теплообменник состоящий из отдельных теплообменных блоков 9,
10 образованных стальными оребренными стальной лентой трубами 11 соединенными между собой неразборным переходом 17, образованным стальной пластиной 18 с двумя отверстиями 26 в ней, куда привариваются концы двух стальных теплообменных оребренных труб 11 с одной стороны и стальной пластины и крышки 19, приваренной к другой стороне стальной пластины таким образом, что пространство внутри крышки 19 объединяет оба отверстия 26 на стальной пластине, куда привариваются теплообменные оребренные трубы 11. Также на концах крайних теплообменных оребренных труб блока теплообменника расположены фланцы 14 каждый из которых имеет одно отверстие 24 для перетока теплоносителя куда приваривается один конец крайней оребренной трубы 11 блока теплообменника 9, 10 и отверстий 8 на каждом фланце 14 с нарезанной в них резьбой под резьбовые изделия 16, между собой отдельные блоки теплообменника соединяются съемными переходами 12 образованными фланцевым элементом из металлической пластиной 13 имеющей два отверстия 25 предназначенные для перетока теплоносителя из одного блока теплообменника 9, 10 в другой и отверстий 23 для резьбовых элементов 16, отверстия 25 для перетока теплоносителя из одного блока теплообменника в другой объединены между собой металлической крышкой 15, расположенной с одной стороны вышеуказанной металлической пластины 13.
Для соединения двух соседних теплообменных блоков между собой фланцы 14 соседних теплообменных блоков соединяются одним съемным элементом 12 таким образом, что отверстие для перетока теплоносителя на одном фланце 14 сообщается с одним из двух отверстий 25 съемного перехода 12 для перетока теплоносителя при помощи резьбовых элементов 16 и уплотнительного кольца 27 для создания герметичности.
Благодаря данной конструкции элементов теплообменника котла появилась возможность максимально автоматизировать процесс их изготовления. Блоки теплообменника особенно в предпочтительном варианте изготовления 9 максимально автоматизируются для процессов производства, так как все детали нарезаются на лазере с максимальной точностью и в дальнейшем могут устанавливаться на сварочные кондукторы также с максимальной точностью с погрешностью не более 0,3 мм. Этот параметр очень важен для роботизированной сварки с применением роботов манипуляторов, которые имеют максимальную производительность среди других сварочных технологий. Также важным является то, что все сварочные швы открыты и легко доступны для применения автоматизированной сварки. Фланцы 14 блока теплообменника тоже легко автоматизируются и могут изготавливаться на токарных станках с ЧПУ.
Съемные переходы особенно в предпочтительном варианте изготовления также легко автоматизируются для процессов производства. Заготовки нарезаются на лазере с максимальной точностью, затем полостной элемент разборного перехода формируется на штампе, потом он приваривается к фланцевому элементу роботом манипулятором и в дальнейшем эта сборка обрабатывается на фрезерном станке с ЧПУ.
Так что как понятно из вышеописанного предлагаемый теплообменник имеет возможность 100% автоматизации процессов изготовления всех его элементов, чего нельзя сказать о прототипе, где 100% сварочных операций выполняется вручную.
Котел с разборным теплообменником работает следующим образом. Теплоноситель поступает в патрубок обратки 7, потом - в оребренную трубу 11 одного из блоков теплообменника котла, затем через неразборный переход 17 поступает в следующую оребренную трубу 11, затем через съемный переход 12 поступает в следующий отдельный блок 9, 10 теплообменника котла и в дальнейшем теплоноситель перемещается как змейка по всем оребренным трубам блоков теплообменника котла. Из одной оребренной трубы 11 в другую внутри отдельного блока теплообменника теплоноситель переходит по неразборным переходам 17, а из отдельного блока теплообменника 9, 10 в другой блок теплообменника 9, 10 теплоноситель переходит через съемный переход 12. Теплоноситель, пройдя как змейка по всем оребренным трубам 11 и переходам 12, 17 при этом нагреваясь от пламени горелки 4 расположенной под теплообменником попадает в патрубок подачи 6 через который перемещается в трубопроводы котельной и затем к потребителю.
Газ на горелку поступает по трубопроводам газа 20 и автоматику котла 21 на горелку 4 атмосферного типа состоящую из нескольких трубных инжекционных горелок где за счет инжекции воздуха за счет кинетической энергии газа происходит смешение газа и воздуха и при добавление вторичного воздуха за счет тяги в дымоходе происходит сгорание газо-воздушной смеси. Затем продукты горения проходят через теплообменные оребренные трубы 11 блоков теплообменника 9, 10, внутри которых циркулирует теплоноситель, который принимает тепло от сгоревших газов. Газы, отдав тепло теплоносителю и, охладившись, переходят в газоход 5 и затем через дымовую трубу уходят в атмосферу.
Предлагаемый разборный теплообменник легко обслуживать и чистить в процессе эксплуатации. Для этого не требуется полностью или частично демонтировать теплообменник из котла.
Съемные переходы расположены на теплообменнике котла так, что их легко снять с теплообменника, расположенного на котле открутив только резьбовые элементы. После этого открывается доступ для обслуживания или чистки внутренних поверхностей теплообменных труб от различных отложений. Демонтаж блока при необходимости ремонта может выполнить один человек в течение 20 минут. После чего можно полностью осматривать все внутренние и наружные поверхности теплообменных труб и при необходимости произвести ремонт или их чистку от грязи, сажи или других отложений. Для того чтобы полностью или частично разобрать теплообменник котла нужно только снять(отделить) съемные переходы 12 от блоков теплообменника и затем можно полностью или частично по частям демонтировать теплообменник котла и руками перенести его в любое необходимое место. По аналогичному алгоритму происходит монтаж теплообменника на котел только в обратном порядке.
Применение данного котла с теплообменником из отдельных блоков теплообменника позволяет повысить надежность котла даже при эксплуатации в самых тяжелых условиях без хорошей водоподготовки и квалифицированного персонала, за счет возможности быстрой диагностики состояния внутренних поверхностей теплообменника котла и возможности их быстрой механической и химической очистки от отложений накипи и грязи при этом не снимая теплообменник из котла. Также за счет возможности разобрать теплообменник на не большие и легкие блоки позволит применять котлы в составе с таким теплообменниками в крышных котельных. Также значительно облегчит возможности ремонта за счет быстрой и легкой замены не дорогих и легких отдельных блоков теплообменника без применения сварки и тяжелого ручного труда.
| название | год | авторы | номер документа |
|---|---|---|---|
| КОТЕЛ | 2023 |
|
RU2803365C2 |
| КОТЕЛ | 2023 |
|
RU2805943C2 |
| ВОДОТРУБНЫЙ КОТЕЛ С ПРИНУДИТЕЛЬНОЙ ЦИРКУЛЯЦИЕЙ | 2021 |
|
RU2767418C1 |
| КОТЕЛ | 2021 |
|
RU2771558C1 |
| УСТРОЙСТВО ДЛЯ ИНТЕНСИФИКАЦИИ ТЕПЛОПЕРЕДАЧИ И КОТЕЛ, СОДЕРЖАЩИЙ ЭТО УСТРОЙСТВО | 2022 |
|
RU2778804C1 |
| ВОДОГРЕЙНЫЙ КОТЕЛ | 2010 |
|
RU2477426C2 |
| Котел водотрубный | 2017 |
|
RU2646524C1 |
| Котел с принудительной циркуляцией | 2016 |
|
RU2639438C1 |
| ВОДОГРЕЙНЫЙ КОТЕЛ | 2011 |
|
RU2477824C1 |
| Котел с принудительной циркуляцией | 2020 |
|
RU2730637C1 |
Изобретение относиться к области теплотехники и может быть использовано для применения в теплоэнергетике для получения тепла и горячей воды. Предлагается разборный теплообменник, содержащий: блоки 9, 10, 30, 31 теплообменника, содержащие стальные теплообменные трубы 11, расположенные параллельно друг к другу и соединенные между собой, по меньшей мере, одним неразборным переходом 17, 28, 29, выполненным с возможностью разворота потока теплоносителя на 180°, фланцы 14, установленные на концах крайних труб блоков, снабженные отверстиями 8 для резьбовых элементов 16 и отверстиями 24 для протока теплоносителя, съемные переходы 12, образованные фланцевым и полостным элементами, при этом упомянутый фланцевый элемент представляет собой металлическую пластину 13 с входным и выходным отверстиями 25 для теплоносителя и отверстиями 23 для резьбовых элементов 16, а упомянутый полостной элемент выполнен с возможностью сообщения входных и выходных отверстий 25. Расположенные рядом смежные блоки 9, 10, 30, 31 теплообменника соединены между собой упомянутыми разборными переходами 12, при этом фланцы 14 таких блоков 9, 10, 30, 31 соединены с фланцевыми элементами съемных переходов 12 посредством резьбовых элементов 16 с возможностью разборки таким образом, чтобы выход одного такого блока 9, 10, 30, 31 сообщался с входным отверстием 25 съемного перехода 12, а выходное отверстие 25 съемного перехода 12 сообщалось с входом другого такого блока 9, 10, 30, 31. Технический результат – упрощение изготовления, сборки и эксплуатации теплообменника. 17 з.п. ф-лы, 22 ил.
1. Разборный теплообменник, содержащий:
блоки (9, 10, 30, 31) теплообменника, содержащие стальные теплообменные трубы (11), расположенные параллельно друг к другу и соединенные между собой по меньшей мере одним неразборным переходом (17, 28, 29), выполненным с возможностью разворота потока теплоносителя на 180°, и фланцы (14), установленные на концах крайних труб блоков, снабженные отверстиями (8) для резьбовых элементов (16) и отверстиями (24) для протока теплоносителя,
съемные переходы (12), образованные фланцевым и полостным элементами, при этом упомянутый фланцевый элемент представляет собой металлическую пластину (13) с входным и выходным отверстиями (25) для теплоносителя и отверстиями (23) для резьбовых элементов (16), а упомянутый полостной элемент выполнен с возможностью сообщения входных и выходных отверстий (25),
характеризующийся тем, что в нем
расположенные рядом смежные блоки (9, 10, 30, 31) соединены между собой упомянутыми съемными переходами (12), при этом фланцы (14) таких блоков (9, 10, 30, 31) соединены с фланцевыми элементами съемных переходов (12) посредством резьбовых элементов (16) с возможностью разборки таким образом чтобы выход одного такого блока (9, 10, 30, 31) сообщался с входным отверстием (25) съемного перехода (12), а выходное отверстие (25) съемного перехода (12) сообщалось с входом другого такого блока (9, 10, 30, 31).
2. Теплообменник по п. 1, в котором вышеупомянутые трубы снабжены спиральным оребрением стальной лентой, приваренным посредством высокочастотной сварки.
3. Теплообменник по п. 1, в котором вышеупомянутые блоки содержат по две стальные трубы, оребренные стальной лентой.
4. Теплообменник по п. 1, в котором блоки теплообменника содержат по четыре стальные трубы, оребренные стальной лентой.
5. Теплообменник по п. 1, в котором часть вышеупомянутых блоков теплообменника содержат по две стальные трубы, оребренные стальной лентой, а другая часть вышеупомянутых теплообменных блоков содержит по четыре трубы, оребренные стальной лентой.
6. Теплообменник по п. 1, в котором упомянутые соединения между съемными переходами (12) и блоками теплообменника (9, 10, 30, 31) герметизированы посредством уплотнительных колец (27).
7. Теплообменник по п. 1, в котором упомянутые фланцевые элементы (13) съемных переходов (12) снабжены канавками (22) для уплотнительных колец (27).
8. Теплообменник по п. 1, в котором вышеупомянутые фланцы (14) снабжены канавками (22) для уплотнительных колец (27).
9. Теплообменник по п. 1, в котором вышеупомянутые блоки соединены между собой в батареи, расположенные по меньшей мере в один ряд, при этом каждая батарея содержит по меньшей мере один блок, а соседние батареи соединены между собой посредством вышеупомянутых съемных переходов (12).
10. Теплообменник по п. 1, в котором отверстия (8) в вышеупомянутых фланцах (14) снабжены резьбой для резьбовых элементов (16).
11. Теплообменник по п. 1, в котором вышеупомянутый неразборный переход (17) образован стальной пластиной (18) с двумя расположенными в ней отверстиями (26), к которой приварены концы расположенных рядом теплообменных труб (11) одного блока (9, 10) и полостным элементом в виде стальной крышки (19), приваренной к упомянутой пластине (18) таким образом, что образованная упомянутой крышкой (19) и пластиной (18) полость сообщает оба упомянутые отверстия (26) между собой.
12. Теплообменник по п. 11, в котором вышеупомянутая крышка (19) выполнена из листовой стали.
13. Теплообменник по п. 1, в котором вышеупомянутый неразборный переход (28) выполнен в виде изогнутой стальной трубы, с возможностью разворота теплоносителя на 180°.
14. Теплообменник по п. 1, в котором вышеупомянутый неразборный переход (29) образован сегментами прямолинейной стальной трубы с возможностью разворота теплоносителя на 180°.
15. Теплообменник по п. 1, в котором вышеупомянутый полостной элемент (15) съемного перехода (12) выполнен из листовой стали.
16. Теплообменник по п. 1, в котором вышеупомянутый съемный переход (12) изготовлен из сплавов алюминия.
17. Теплообменник по п. 1, в котором вышеупомянутый полостной элемент (32) съемного перехода (12) выполнен в виде изогнутой стальной трубы, обеспечивающей разворот теплоносителя на 180°.
18. Теплообменник по п. 1, в котором вышеупомянутый полостной элемент (33) съемного перехода (12) выполнен из сегментов прямолинейной стальной трубы, обеспечивающих разворот теплоносителя на 180°.
| 0 |
|
SU184599A1 | |
| ИМПУЛЬСНОЕ ФУНКЦИОНАЛЬНОЕ УСТРОЙСТВО | 0 |
|
SU197309A1 |
| ПОДВИЖНАЯ ДИАГРАММА | 1925 |
|
SU2861A1 |
| Многотрубчатый разборный теплообменник | 1977 |
|
SU676843A1 |
| ТЕПЛООБМЕННИК | 1997 |
|
RU2132030C1 |
| US 20080035077 A1, 14.02.2008. | |||
Авторы
Даты
2025-04-22—Публикация
2024-10-21—Подача