Изобретение относится к устройствам для отвода зарядов статического электричества с вращающихся объектов.
Известно соединительное устройство для отвода зарядов статического электричества с подвижного объекта на землю. Патент RU 2160977, МПК H05F 3/02. Устройство содержит размещенные в колпаке втулки, между которыми установлены контактные элементы из бериллиевой бронзы с зигами, входящими в центральный канал. Втулка имеет входное отверстие, у которого установлена антистатическая прокладка в виде шайбы со щелевым отверстием под ключ с наклонной нарезкой. С другой стороны втулок установлены направляющие, в которых установлен экран, выполненный в виде двух планок из материала, замыкающего магнитные силовые линии. Планки выполнены с наклонной нарезкой, ответной нарезке ключа, также на планках смонтированы магнит и геркон, включенные в цепь управления. Известное соединительное устройство обеспечивает отвод зарядов статического электричества с подвижных объектов в момент останова с помощью ключа, который вставляется в входное отверстие втулки, при этом происходит плавный переток электрического заряда, что обеспечивает отсутствие искрения, обеспечивает бесшумность процесса.
Недостатком известного соединительного устройства является невозможность обеспечить отвод зарядов статического электричества с вращающегося подвижного объекта в процессе движения. Что значительно снижает область применения известного соединительного устройства.
Известен способ получения устройства для снятия статического электричества с корпуса транспортного средства Патент RU 2290773, МПК H05F 3/02, заключающийся в изготовлении металлического элемента крепления, к которому жестко прикреплен токопроводящий элемент в виде металлической проволоки, последующем закреплении элемента крепления с проволокой в литьевой форме с углублением, образующем форму ленты с выступающим концом токопроводящего элемента. Собранную литьевую форму помещают в литьевую машину с предварительно разогретым пластифицированным поливинилхлоридом до температуры 170-200°С, который заливают в литьевую форму под давлением 50-120 кг/см2 в 10-30 секунд и охлаждают до комнатной температуры.
Недостатком известного способа является то, что в процессе эксплуатации устройство, полученное данным способом, возникают искрение и шум, быстро изнашивается. Таким образом, устройство, полученное данным способом, не обеспечивает безопасность, не износоустойчиво, что сужает область его применения.
Наиболее близким по технической сущности является Токоприемник по патенту №1652122, МПК B60L 5/06. Изобретение обеспечивает передачу электричества от неподвижного проводника к подвижному потребителю. Токоприемник содержит ось вращения, на которую надета с возможностью скольжения втулка. На втулке свободно с охватом размещены два токосъемных диска с контактными токосъемными поверхностями на торцах. Диски аксиально подпружинены и имеют возможность осевого перемещения. Между дисками на втулке жестко установлен опорный ролик, выполненный из демпфирующего материала с износостойким ободом.
Известное техническое решение позволяет улучшить динамические характеристики, однако, при этом токосъем производится в условиях трения скольжения трущихся поверхностей с токопровода на подпружиненные диски с обеспечением поджатия токосъемных дисков к токопроводу.
Недостатком данного токосъемника является то, что в условиях давления токопровода на опорный ролик и поджатия токосъемных дисков к токопроводу будут возникать шум и искрение вследствие трения скольжения трущихся контактирующих поверхностей дисков и обода о токопровод. Скольжение токопровода по дискам, т.е. металла по металлу, неизбежно сопровождается шумом и нагревом. Осуществление токосъема в условиях трения скольжения приводит к нагреву и быстрому износу трущихся поверхностей токопровода, токосъемных дисков и износостойкого обода. Таким образом, техническое решение обеспечивает надежность токосъема, но при этом не обеспечивает безопасность выполнения работ из-за искрения.
Известное техническое решение не может быть применено для отвода зарядов статического электричества от токопровода при его значительном давлении на опорный ролик, так как в этом случае неизбежны искрение, шум от трения скольжения металл по металлу, нагрев и нарушение целостности токопровода, следовательно не обеспечивается безопасность работы устройства.
Технической задачей изобретения является усовершенствование конструкции устройства с целью обеспечения безопасности токосъема в процессе вращения объекта, расширение технологических возможностей.
При решении поставленной задачи - обеспечение безопасности токосъема путем предотвращения искрения, нагрева и шума достигается следующий технический результат: уменьшение трения взаимодейстующих поверхностей вращающегося объекта и устройства путем:
- установки токосъемных дисков на подшипники качения;
- выполнения токосъемных дисков с демпфирующим наружным ободом с выемкой, выполненной по дугам окружности, направленным вогнутой частью навстречу друг другу и образующим в прижатом состоянии опорную поверхность в виде кольцевой проточки, контактирующей с токонесущим объектом;
- выполнения опорного элемента в виде кольца из пакета чередующихся слоев демпфирующего материала (например токопроводящей резины) и мягкого токопроводящего материала (например алюминиевой фольги), образующего токосъемную поверхность, единую с опорной поверхностью кольцевой проточки обода.
Решение задачи - расширение технологических возможностей устройства заключается в возможности использования устройства для отвода зарядов статического электричества при работе с легковоспламеняющимися материалами, а также с вращающимися легкими, тяжелыми и крупногабаритными объектами за счет обеспечения работы устройства в условиях трения качения (в прототипе - в условиях трения скольжения), что позволяет предотвратить искрение, возникновение шума, нагрев и износ трущихся поверхностей.
Технический результат достигается за счет того, что в устройстве для отвода зарядов статического электричества С вращающихся объектов, содержащее ось, два токосъемных диска, прижатых к установленному между ними опорному элементу, выполненному из демпфирующего материала, согласно изобретению токосъемные диски опираются на подшипники качения, размещенные на оси, и имеют демпфирующий наружный обод с выемкой, выполненной по дугам окружности, направленным вогнутой частью навстречу друг другу и образующим в прижатом состоянии опорную поверхность в виде кольцевой проточки, контактирующей с токонесущим объектом, а опорный элемент выполнен в виде кольца из пакета чередующихся слоев демпфирующего материала и мягкого токопроводящего материала, жестко закреплен на одном из токосъемных дисков и образует токосъемную поверхность, единую с опорной поверхностью кольцевой проточки обода токосъемных дисков.
Заявленная совокупность и взаимосвязь существенных признаков является новой так как имеет существенные отличительные от прототипа признаки, позволяет получить новые, указанные выше, технические результаты. Таким образом, заявляемый способ соответствует критериям изобретения новизна и изобретательский уровень.
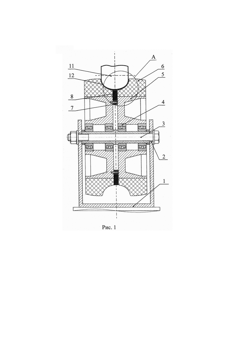
Предлагаемое устройство иллюстрируется рисунками. На Рис. 1 представлен общий вид устройства для отвода зарядов статического электричества с вращающихся объектов, на Рис. 2 - вид А на рис. 1.
Устройство содержит корпус 1, в отверстия 2 которого установлена ось 3. На оси 3 установлены подшипники качения 4, на которые опираются два токосъемных диска 5, каждый из них выполнен с демпфирующим, например полиуретановым, ободом 6. Токосъемные диски 5 выполнены из токопроводящего материала. Между дисками 5 установлен и жестко закреплен к одному из дисков 5 прижимом 7 опорный элемент 8, представляющий собой кольцо из пакета чередующихся слоев демпфирующего материала 9 (например, токопроводящей резины) и мягкого токопроводящего материала 10 (например, алюминиевой фольги), выложенных послойно и образующих токосъемную поверхность, контактирующую с токонесущим объектом 11. Токосъемные диски 5 прижаты к опорному элементу 8, например прижимными кольцами (на рис. 1 позиция не обозначена). Демпфирующий наружный обод 6 токосъемных дисков 5 имеет выемку, выполненную по дугам окружности, направленным вогнутой частью навстречу друг другу и образующим в прижатом состоянии опорную поверхность в виде кольцевой проточки 12, контактирующей с токонесущим объектом 11, а именно с прокруточным колесом. Токосъемная поверхность опорного элемента 8 образует поверхность, единую с опорной поверхностью кольцевой проточки 12 обода 6 токосъемных дисков 5. Устройство работает следующим образом.
Заявленное устройство было использовано для снятия статического электричества на испытательном стенде в целях выявления наличия посторонних предметов в замкнутом объеме изделия.
Прокруточное колесо 11 (токонесущий объект) устанавливают в кольцевой проточке 12 наружного полиуретанового обода 6 токосъемных дисков 5, при этом за счет собственного веса прокруточного колеса 11 и демпфирующих свойств материала полиуретанового обода 6 обеспечивается плотный контакт взаимодействующих поверхностей прокруточного колеса 11, опорной поверхности кольцевой проточки 12 и опорного элемента 8, жестко закрепленного на одном из токосъемных дисков 5 прижимом 7. Токосъемная поверхность опорного элемента 8 образует поверхность, единую с опорной поверхностью кольцевой проточки 12. Прокруточное колесо 11 приводят во вращение вручную или от двигателя на малых скоростях. За счет сил трения качения от прокруточного колеса 11 вращение передается на токосъемные диски 5 через размещенные на оси 3 подшипники качения 4, которые обеспечивают равномерное вращение дисков 5. В процессе вращения прокруточное колесо 11, прокатываясь по кольцевой проточке 12, контактирует с токосъемной поверхностью опорного элемента 8, обеспечивая при этом плотный контакт взаимодействующих поверхностей за счет собственного веса, демпфирующих свойств материала полиуретанового обода 6, пакета чередующихся слоев демпфирующего 9 материала и мягкого токопроводящего 10 материала опорного элемента 8. При вращении прокруточного колеса 11 накапливаются электростатические заряды, которые стекают в зону контакта прокруточного колеса 11 с токосъемными дисками 5 и с мягким токопроводящим материалом 10 опорного элемента 8. При контакте прокруточного колеса 11 с мягким токопроводящим материалом 10 (например алюминиевой фольгой) опорного элемента 8 электростатический заряд последовательно стекает в зону взаимодействия с токопроводящими материалами - токосъемных дисков 5, подшипников качения 4, оси 3 и корпуса 1.
Заявленная конструкция устройства предотвращает искрение за счет обеспечения трения качения взаимодействующих поверхностей прокруточного кольца 11 и опорного элемента 8. Это достигается путем выполнения токосъемных дисков 5 с демпфирующим наружным ободом 6 и кольцевой проточкой 12 на наружной поверхности обода 6, за счет выполнения опорного элемента в виде кольца из пакета чередующихся слоев демпфирующего материала и мягкого токопроводящего материала, закрепления его на одном из токосъемных дисков и размещения токосъемных дисков 5 на подшипниках качения 4, установленных на оси 3.
За счет выполнения опорного элемента 8 в виде кольца из пакета чередующихся слоев демпфирующего материала 9 (например, токопроводящей резины) и мягкого токопроводящего материала 10 (например алюминиевой фольги) за счет демпфирующих свойств контактирующих поверхностей обеспечивается снижение шума.
Выполнение токосъемных дисков 5 с демпфирующим наружным ободом 6 с выемкой, выполненной по дугам окружности, направленным вогнутой частью навстречу друг другу, образующим в прижатом состоянии опорную поверхность в виде кольцевой проточки 12, контактирующей с токонесущим объектом 11, а также обеспечение работы устройства в условиях трения качения за счет установки токосъемных дисков на подшипники качения, предотвращение искрения и шума в совокупности обеспечивает расширение технологических возможностей - появилась возможность использования устройства при работе с легковоспламеняющимися материалами, а также с вращающимися легкими, тяжелыми и крупногабаритными объектами.
Заявленное устройство по сравнению с прототипом обеспечивает безопасные условия работы, расширение технологических возможностей.
| название | год | авторы | номер документа |
|---|---|---|---|
| Токосъемное устройство | 1980 |
|
SU943945A1 |
| Устройство для питания электротранспортного средства | 1990 |
|
SU1766731A1 |
| Токосъемное устройство | 1984 |
|
SU1159096A1 |
| Токосъемное устройство | 1979 |
|
SU888250A1 |
| ГИДРОАГРЕГАТ | 1990 |
|
RU2010990C1 |
| Токосъемное устройство | 1981 |
|
SU991537A1 |
| Электростатический разрядник-индикатор | 1988 |
|
SU1669088A1 |
| СИСТЕМА ЭЛЕКТРОСНАБЖЕНИЯ ТРАНСПОРТНОГО СРЕДСТВА | 1991 |
|
RU2025316C1 |
| Токосъемное устройство | 1977 |
|
SU654992A1 |
| Токосъемный ролик Тригера Б.Г. и Цыганковой Т.Б. | 1985 |
|
SU1404381A1 |
Изобретение относится к устройствам для отвода зарядов статического электричества с вращающихся объектов. Технический результат заключается в исключении искрения и шума, обеспечивающего возможность использования устройства при работе с легковоспламеняющимися материалами, а также с вращающимися легкими, тяжелыми и крупногабаритными объектами. Устройство содержит корпус, в отверстия которого установлена ось. На оси установлены подшипники качения, на которые опираются два токосъемных диска, каждый из них с демпфирующим, например полиуретановым, ободом. Токосъемные диски выполнены из токопроводящего материала. Между дисками установлен и жестко закреплен к одному из дисков прижимом опорный элемент, представляющий собой кольцо из пакета чередующихся слоев демпфирующего материала и мягкого токопроводящего материала, выложенных послойно и образующих токосъемную поверхность, контактирующую с токонесущим объектом. Демпфирующий наружный обод токосъемных дисков имеет выемку, выполненную по дугам окружности, направленным вогнутой частью одна навстречу другой и образующим в прижатом состоянии опорную поверхность в виде кольцевой проточки, контактирующей с токонесущим объектом. Токосъемная поверхность опорного элемента образует поверхность, единую с опорной поверхностью кольцевой проточки обода токосъемных дисков. 2 ил.
Устройство для отвода зарядов статического электричества с подвижных вращающихся объектов, содержащее ось, два токосъемных диска, прижатых к установленному между ними опорному элементу, выполненному из демпфирующего материала, отличающееся тем, что токосъемные диски опираются на подшипники качения, размещенные на оси, и имеют демпфирующий наружный обод с выемкой, выполненной по дугам окружности, направленным вогнутой частью навстречу друг другу и образующим в прижатом состоянии опорную поверхность в виде кольцевой проточки, контактирующей с токонесущим объектом, при этом опорный элемент выполнен в виде кольца из пакета чередующихся слоев демпфирующего материала и мягкого токопроводящего материала, жестко закреплен на одном из токосъемных дисков и образует токосъемную поверхность, единую с опорной поверхностью кольцевой проточки обода токосъемных дисков.
| Токоприемник | 1989 |
|
SU1652122A1 |
| СПОСОБ ПОЛУЧЕНИЯ УСТРОЙСТВА ДЛЯ СНЯТИЯ СТАТИЧЕСКОГО ЭЛЕКТРИЧЕСТВА С КОРПУСА ТРАНСПОРТНОГО СРЕДСТВА | 2005 |
|
RU2290773C1 |
| СОЕДИНИТЕЛЬНОЕ УСТРОЙСТВО ДЛЯ ОТВОДА ЗАРЯДОВ СТАТИЧЕСКОГО ЭЛЕКТРИЧЕСТВА | 1999 |
|
RU2160977C2 |
| Соединительное устройство для заземления оборудования | 1984 |
|
SU1228309A1 |
| УСТРОЙСТВО ДЛЯ УЛУЧШЕНИЯ КОММУТАЦИИ КОЛЛЕКТОРНЫХ МАШИН ПЕРЕМЕННОГО ТОКА | 1940 |
|
SU60683A1 |
| ЗАБОЙНОЕ УСТРОЙСТВО СКВАЖИНЫ | 0 |
|
SU391263A1 |
| US 4373175 A1, 08.02.1983. | |||
Авторы
Даты
2025-04-23—Публикация
2024-08-08—Подача