СПОСОБ АВТОМАТИЗИРОВАННОЙ ОЧИСТКИ ТОРИЯ-227 С ИСПОЛЬЗОВАНИЕМ УСТРОЙСТВА ДЛЯ ЕГО ОСУЩЕСТВЛЕНИЯ Российский патент 2025 года по МПК C22B60/02 C01F15/00 B01D15/08 

Описание патента на изобретение RU2839088C1

Настоящее изобретение относится к радиохимии, а именно к способу получения раствора тория-227, очищенного от продуктов распада, пригодного для дальнейшего синтеза радиофармпрепаратов (РФЛП) для радионуклидной терапии различных заболеваний.

Таргетная α-терапия (ТАТ) позволяет избирательно доставлять высокую локализованную нагрузку излучения как на раковые клетки, так и на микроокружение опухоли, сводя к минимуму токсичность для нормальных окружающих клеток. Конъюгаты тория-227 (227Th) с объектами полипептидной природы (моноклональные антитела, наноантитела, белки и др.) представляют собой новый класс радиофармацевтических препаратов для ТАТ. Дополнительный терапевтический эффект также достигается от радия-223 (223Ra) - продукта распада тория-227.

Основным способом получения тория-227 является генератор 227Ас → 227Th → 223Ra. Разделение генераторной смеси 227Ас → 227Th → 223Ra является важным этапом для получения тория-227 с чистотой, удовлетворяющей фармакопейным критериям для биомедицинского применения. Следует отметить, что выделенный торий-227 за время транспортировки от производителя до лаборатории, в которой выполняется последующий синтез РФЛП, накапливает продукты распада, вступающие в конкуренцию с торием-227 при реакции радиомечения предшественника РФЛП (свинец-211, висмут-211, свинец-207), что приводит к снижению радиохимической чистоты РФЛП, а также повышает радиотоксичность РФЛП. Таким образом, необходимо отделение тория-227 от продуктов его распада перед синтезом РФЛП.

Как и многие другие радионуклиды, Th(IV) образует стабильные комплексы с бифункциональными хелатирующими агентами (БХА), например, DOTA (1,4,7,10-Тетраазациклододекан-1,4,7,10-тетрауксусная кислота), обеспечивая конъюгацию с биомолекулой, функционализированной БХА DOTA. Этот метод широко применялся к получению комплекса торий-227 с использованием коммерчески доступного БХА p-SCN-Bn-DOTA. В исследованиях сообщалось о получении комплекса [227Th]Th-DOTA при рН=5,5 и 55°С в течение 40 минут с последующей стадией конъюгации с антителами (например, ритуксимабом и трастузумабом) [Preparation of 227Th-labeled radioimmunoconjugates, assessment of serum stability and antigen binding ability/ Larsen R.H., Borrebaek J., Dahle J., et. al // Cancer Biother. Radiopharm. - 2007. - vol. 22. - P. 431-437; In Vitro Cytotoxicity of Low-Dose-Rate Radioimmunotherapy by the Alpha-Emitting Radioimmunoconjugate Thorium-227-DOTA-Rituximab/ Dahle J., Krogh C., Melhus K.B., et. al // Int. J. Radiat. Oncol. - 2009. - vol. 75. - P. 886-895; Assessment of long-term radiotoxicity after treatment with the low-dose-rate alpha-particle-emitting radioimmunoconjugate 227Th-rituximab/ Dahle J., Jonasdottir T.J., Heyerdahl H., et. al // Eur. J. Nucl. Med. Mol. Imaging. - 2010. - vol. 37. - P. 93-102].

Основные побочные процессы связаны с изотопом свинец-211 (Т1/2 - 36,1 мин), одним из дочерних продуктов распада тория-227. Свинец имеет степени окисления +2 или +4, БХА DOTA очень хорошо связывается с ионом [211Pb]Pb4+, и это снижает выход продукта [227Th]Th-DOTA.

Возможность очищать торий-227 от дочерних радионуклидов и остаточного актиния-227 была продемонстрирована с использованием различных методов [Selected data on ion exchange separations in radioanalytical chemistry / Saito N. // Pure & Appl. Chem. - 1984. - vol. 56. - P. 523-539; Thorium and Actinium Polyphosphonate Compounds as Bone-seeking Alpha Particle-emitting Agents / Henriksen G., Bruland Ø.S., Larsen R.Y.// Anticancer Res. - 2004. - vol. 24. - P. 101-106; Production of actinium-225 for alpha particle mediated radioimmunotherapy / Boll R.A., Malkemus D., Mirzadeh S.// Appl. Radiat. Isot. - 2005. - vol. 62. - P. 667-679; Production of high-purity radium-223 from legacy actinium-beryllium neutron sources / Soderquist C.Z., McNamara B.K., Fisher D.R.// Curr. Radiopharm. - 2012. - vol. 5. - P. 244-252; Development of separation technology for the removal of radium-223 from targeted thorium conjugate formulations. Part I: purification of decayed thorium-227 on cation exchange columns/ Frenvik J.O., Dyrstad K., Kristensen S., Ryan O.B.// Drug Dev. Ind. Pharm. - 2017. - vol. 43. - P. 225-233], в частности, в методе, разработанном компанией Eichrom, возможно селективное разделения генераторной цепочки 227Ac → 227Th → 223Ra на сорбентах UTEVA и DGA (normal). В этом случае, смесь радионуклидов в 4М азотной кислоте последовательно пропускали через две смолы и промывали 3М азотной кислотой. В результате, радий-223 не удерживался ни на одной из смол, в то время как торий-227 сорбировался на смоле UTEVA, а актиний-227 на смоле DGA, с которых они легко элюируются раствором 0.5 М соляной кислоты [Development of separation technology for the removal of radium-223 from targeted thorium conjugate formulations. Part P. purification of decayed thorium-227 on cation exchange columns/ Frenvik J.O., Dyrstad K., Kristensen S., Ryan O.B.// Drug Dev. Ind. Pharm. - 2017. - vol. 43. - P. 225-233].

Таким образом, для очистки тория-227 чаще всего используются процессы с применением концентрированных растворов сильных кислот. Следовательно, для проведения процессов мечения молекул полипептидной природы кислоты, чувствительных к внешним условиям, растворы радионуклидов необходимо упаривать досуха (удалять концентрированные кислоты) и, в дальнейшем, проводить процессы с точным контролем значения рН [Chromatographic generator systems for the actinides and natural decay series elements/ McAlister D.R., Horwitz E.P.// Radiochimica Acta. - 2011. - vol. 99. - P. 1-9; Physicochemical Stability of Monoclonal Antibodies: A Review/ Le Basle Y., Chennell P., Tokhadze N., et. al // J. Pharm. Sci. - 2020. - vol. 109. - P. 169-190.17].

Автоматизация необходима для выполнения химических процессов с использованием радионуклидов, предназначенных для синтеза РФЛП для клинического применения. Растворы, содержащие радионуклиды, должны производиться в контролируемых условиях в соответствие с правилами надлежащей производственной практики (НПП, GMP), которая описывает требуемые минимальные стандарты в процессах производства лекарственных средств. В дополнение к соответствию правилам GMP, автоматизация обеспечивает радиационную защиту персонала, когда процесс выполняется с использованием автоматизированной установки, находящейся внутри защитного оборудования ("горячей камеры").

Наиболее близкими к заявляемой группе изобретений являются способ автоматизированного разделения материнских и дочерних радионуклидов и устройство для его осуществления (патент US 6787042 В2, опубликован 07.09.2004).

Согласно прототипу, технологическая схема устройства включает три многоходовых переключателей потока, шприцевой насос, сосуды для реагентов, картриджи с сорбентом. Компоненты технологической схемы соединены капиллярами. Перемещение необходимых реагентов обеспечивается шприцевым насосом. Переключение потоков реагентов обеспечивается многоходовыми переключателями потоков. Устройство содержит систему для управления компонентами и поддерживает работу в автоматическом режиме.

Согласно прототипу, суть способа разделения радионуклидов заключается в пропускании раствора, содержащего смесь дочернего и материнского радионуклидов через вещество (сорбент), обладающее селективной сорбцией к одному из радионуклидов. При этом происходит разделение радионуклидов, целевой радионуклид собирается в сосуде для сбора элюата, либо задерживается сорбентом и затем, после переключения потоков реагентов, элюируюется в другой сосуд для сбора элюата.

Метод, описанный в прототипе, и система для его реализации позволяют эффективно выполнять автоматизированное разделение дочерних и материнских радионуклидов. Однако, на наш взгляд, метод и система имеют ряд ограничений. Во-первых, с использованием описанного устройства и способа невозможно осуществлять упаривание растворов, содержащих радионуклиды, что приводит к невозможности одностадийного получения растворов кислот низкой концентрации, содержащих радионуклиды, пригодных для прямого радиомечения, что приводит к необходимости увеличения количества технологических стадий и технологических потерь радионуклида. Во-вторых, с использованием описанного устройства и способа невозможно выполнять продувку компонентов технологической схемы инертными газами, что приводит к невозможности полного перемещения используемых реагентов при выполнении процессов разделения радионуклидов, а также при выполнении очистки компонентов технологической схемы, что приводит к смешиванию в технологической схеме реагентов и неполному удалению промывных жидкостей, таким образом, описанные недостатки приводят к увеличению технологических потерь радионуклида. Учитывая высокую стоимость наработки альфа-излучающих радионуклидов фармацевтического качества, существует острая необходимость уменьшения технологических потерь радионуклидов.

Технический результат, обеспечиваемый настоящим изобретением, заключается в создании автоматизированного способа выделения тория-227 с использованием устройства для его осуществления, устраняющего недостатки аналогов и, таким образом, значительного снижающего технологические потери радионуклида.

Технический результат обеспечивается предложенным способом автоматизированной очистки тория-227, в ходе которого, раствор, содержащий смесь радионуклидов, отбирают при помощи шприцевого насоса, дозируют через картридж с сорбентом в сосуд для отходов, затем элюируют задержанный на сорбенте радионуклид в сосуд для сбора элюата, при этом распределение потоков реагентов обеспечивается переключением многоходового переключателя потоков, согласно изобретению, осуществляют выпаривание элюата с подачей в сосуд для элюата потока инертного газа при разряжении, обеспечиваемом мембранным вакуумным насосом, после выпаривания в сосуд для сбора элюата дозируют раствор для растворения осадка, содержащего радионуклид, при этом после дозирования перечисленных выше жидкостей трубки и переключатели потоков продувают инертным газом для полного переноса жидкостей.

Выпаривание элюата с подачей в сосуд для элюата потока инертного газа при разряжении позволяет выполнять последующее растворение полученного осадка новым раствором, то есть менять химическую форму и молярность раствора, содержащего целевой радионуклид, в тех случаях, когда это невозможно более эффективно выполнить с использованием твердофазных сорбентов или других доступных методов жидкостной автоматизации. Это позволяет получать с минимальными технологическими потерями раствор, содержащий целевой радионуклид, подходящий для последующего радиомечения предшественника РФЛП.

Продувка капилляров и переключателей потоков инертным газом для полного переноса жидкостей позволяет дополнительно снизить технологические потери радионуклида.

Также технический результат обеспечивается предложенным устройством для автоматизированной очистки тория-227, включающим многоходовой переключатель потоков, шприцевой насос, картридж с сорбентами, соединительные трубки для переноса реагентов, сосуд с раствором, содержащим смесь радионуклидов, сосуды для реагентов, сосуды для сбора элюата, сосуды для сбора отходов, согласно изобретению, устройство дополнительно содержит двух- и трехходовые переключатели потоков к которым посредством трубки подключен источник инертного газа, один из сосудов для сбора элюата установлен в нагревательном блоке, к сосуду посредством соединительной трубки подключен мембранный вакуумный насос, к сосуду посредством трубки с установленным на ней регулятором потока подключен источник инертного газа.

Наличие в устройстве дополнительных двух- и трехходовых переключателей потока, к которым посредством трубки подключен источник инертного газа, позволяет осуществлять продувку коммуникаций для полного перемещения реагентов, что приводит к уменьшению технологических потерь, снижению объемов реагирующих веществ (по сравнению с промывкой коммуникаций).

Установка сосуда для сбора элюата, подключение к сосуду посредством соединительной трубки мембранного вакуумного насоса, подключение к сосуду для сбора элюата посредством трубки с установленным на ней регулятором потока источника инертного газа позволяет выполнять выпаривание элюата с подачей в сосуд для элюата потока инертного газа при разряжении и позволяет выполнять последующее растворение полученного осадка новым раствором, то есть менять химическую форму и молярность раствора, содержащего целевой радионуклид, что позволяет получать с минимальными технологическими потерями раствор, содержащий целевой радионуклид, подходящий для последующего радиомечения предшественника РФЛП.

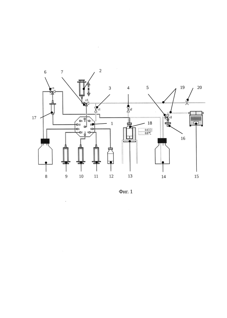
Для лучшего понимания приводим технологическую схему устройства на фиг. 1, где 1 - многоходовой переключатель потоков, 2 - шприцевой насос, 3 -переключатель потоков №1, 4 - двухходовый переключатель потоков №2, 5 - трехходовый переключатель потоков №3, 6 - химически стойкий трехходовый переключатель потоков №4, 7 - химически стойкий трехходовый переключатель потоков №5, 8 - сосуд для отходов, 9 - сосуд для азотной кислоты, 10 - сосуд для соляной кислоты, 11 - сосуд для деионизованной воды, 12 - сосуд для исходного раствора, содержащего торий-227, 13 - нагревательный блок, 14 - сосуд с раствором щелочи, 15 - мембранный вакуумный насос, 16 - воздушный фильтр, 17 - картридж с сорбентом, 18 - сосуд для сбора элюата, 19 - капилляры, 20 - регулятор потока.

Для лучшего понимания приводим также его схему на фиг. 2, где 1 - многоходовой переключатель потоков, 2 - шприцевой насос, 3 - переключатель потоков №1, 4 - переключатель потоков №2, 5 - переключатель потоков №3, 6 - химически стойкий переключатель потоков №4, 7 - химически стойкий переключатель потоков №5,18 - сосуд для сбора элюата.

Способ очистки тория-227 с использованием устройства для очистки осуществляется следующим образом:

1. Сосуд, содержащий раствор неочищенного тория-227 (Фиг. 1 (12)) подсоединяют к трубке, соединенной с многоходовым переключателем потоков (Фиг. 1, 2 (1));

2. Многоходовый переключатель потоков (Фиг. 1, 2 (1)) переключают в положение «2», химически стойкий трехходовый переключатель потоков ((Фиг 1, 2 (7)) переключают в положение «открытое» на шприцевой насос (Фиг. 1, 2 (2)), и производят отбор раствора 4М азотной кислоты из сосуда (Фиг. (9)) при помощи шприцевого насоса (Фиг. 1, 2 (2)). Многоходовой переключатель потоков ((Фиг. 1, 2 (1)) переключают в положение «5», дозируют раствор 4М азотной кислоты в сосуд, содержащий раствор неочищенного тория-227 ((Фиг. 1 (12));

3. Выполняют отбор раствора неочищенного тория-227 при помощи шприцевого насоса (Фиг. 1, 2 (2)). Многоходовый переключатель потоков (Фиг. 1, 2 (1)) переключают в положение «10», а трехходовый переключатель потоков (Фиг. 1, 2 (6)) переключают в положение «открытое» на сосуд для отходов (Фиг. 1 (8)). Производят дозирование раствора неочищенного тория-227 при помощи шприцевого насоса (Фиг. 1, 2 (2)) через картридж с сорбентом (Фиг. 1 (17)) в сосуд для отходов (Фиг. 1 (8)), при этом торий-227 селективно удерживается сорбентом;

4. Выполняют переключение трехходового переключателя потоков (Фиг. 1, 2 (7)) в положение «открытое» на трубку с регулятором потока (Фиг. 1 (20)), соединенную с источником инертного газа (не показан) при этом происходит полное перемещение раствора 4М азотной кислоты и продувка капилляров от остатков раствора 4М азотной кислоты;

5. Выполняют переключение трехходового переключателя потоков (Фиг. 1, 2 (7)) в положение «открытое» на шприцевой насос (Фиг. 1, 2 (2)), переключение многоходового переключателя потоков (Фиг. 1, 2 (1)) в положение «3». Производят отбор раствора 0.5М соляной кислоты из сосуда (Фиг. 1 (10)) при помощи шприцевого насоса (Фиг. 1, 2 (2)). Переключают многоходовый переключатель потоков (Фиг. 1, 2 (1)) в положение «10», а также переключают трехходовый переключатель потоков (Фиг. 1, 2 (6)) в положение «открытое» на сосуд для сбора элюата (Фиг. 1 (18)), установленного в нагревательном блоке (Фиг. 1 (13));

6. Выполняют дозирование раствора 0.5М соляной кислоты при помощи шприцевого насоса (Фиг. 1, 2 (2)) через картридж с сорбентом (Фиг. 1 (17)) в сосуд для сбора элюата (Фиг. 1, 2 (18)), при этом торий-227 селективно элюируется в сосуд для сбора элюата (Фиг. 1, 2 (18)). Переключают трехходовой переключатель потоков ((Фиг. 1, 2 (7)) в положение «открытое» на трубку с регулятором потока (Фиг. 1 (20)), соединенную с источником инертного газа при этом происходит полное перемещение раствора 0.5М соляной кислоты и продувка капилляров от остатков раствора 0.5М соляной кислоты, инертный газ выходит из сосуда для сбора элюата (Фиг. 1, 2 (18)) через трехходовой переключатель потоков (Фиг. 1, 2 (5)) и воздушный фильтр (Фиг. 1 (16));

7. Выполняют переключение трехходового переключателя потоков (Фиг. 1, 2 (6)) в положение «открытое» на сосуд для отходов (Фиг. 1 (8)), Переключают трехходовый переключатель потоков (Фиг. 1, 2 (7)) в положение «открытое» на шприцевой насос (Фиг. 1, 2 (2)), переключают трехходовый переключатель потоков (Фиг. 1, 2 (5)) в положение «открытое» на мембранный вакуумный насос (Фиг. 1 (15)), открывают двухходовый переключатель потоков (Фиг. 1, 2 (4)), нагревают сосуд для сбора элюата (Фиг. 1 (18)), при этом происходит упаривание элюата с разряжением в потоке инертного газа, при этом пары кислоты, выходящие из сосуда пропускают через сосуд для щелочи (Фиг. 1 (14)) для улавливания и нейтрализации. Далее выключают нагрев нагревательного блока (Фиг. 1 (13)) и переключают трехходовый переключатель потоков (6) в положение «открытое» на сосуд для сбора элюата (Фиг. 1 (18)), переключают трехходовый переключатель потоков (Фиг. 1, 2 (5)) в положение «открытое» на воздушный фильтр (Фиг. 1 (16)), закрывают двухходовый переключатель потоков (Фиг. 1 (4));

8. Выполняют переключение многоходового переключателя потоков (Фиг. 1, 2 (1)) в положение «11», отбор раствора 0.1М соляной кислоты из сосуда для деионизованной воды (Фиг. 1 (11)) при помощи шприцевого насоса (Фиг. 1, 2 (2)), переключают многоходовый переключатель потоков (Фиг. 1, 2 (1)) в положение «10», дозируют раствор 0.1М соляной кислоты в сосуд для сбора элюата (Фиг. 1 (18)) с формулированием финального раствора, содержащего очищенный торий-227.

Двухходовой переключатель потоков (Фиг. 1, 2 (3)) открывается для продувки капилляра, соединяющего трехходовой переключатель потоков (Фиг. 1, 2 (7)) и шприцевой насос (Фиг. 1, 2 (2)) при выполнении очистки компонентов технологической схемы.

Компоненты технологической схемы соединены капиллярами для переноса реагентов (Фиг. 1 (19)) в соответствии с технологической схемой.

Предлагаемый способ по сравнению с известными имеет ряд существенных преимуществ:

1. низкие технологические потери тория-227;

2. высокая воспроизводимость получения радионуклида торий-227 с необходимыми параметрами качества;

3. полная автоматизация процессов с радиоактивными веществами.

Многочисленные эксперименты показали, что способ автоматизированной очистки тория-227 с использованием устройства для его осуществления позволяют наиболее эффективно разделать торий-227 и продукты его распада, а полученный раствор, содержащий торий-227, удовлетворяет требованиям фармацевтического производства.

Похожие патенты RU2839088C1

название год авторы номер документа
Способ автоматизированного синтеза радиофармпрепаратов на основе полимерных микрочастиц с использованием устройства для его осуществления 2023
  • Сысоев Дмитрий Сергеевич
  • Антуганов Дмитрий Олегович
  • Тимин Александр Сергеевич
  • Карпов Тимофей Евгеньевич
  • Ахметова Дарья Рамилевна
  • Надпорожский Михаил Александрович
  • Алексеев Никита Сергеевич
  • Синицын Михаил Сергеевич
  • Евтушенко Владимир Иванович
  • Николаев Дмитрий Николаевич
  • Станжевский Андрей Алексеевич
  • Майстренко Дмитрий Николаевич
RU2807899C1
СПОСОБ ГЕНЕРАТОРНОГО ПОЛУЧЕНИЯ ВИСМУТА-213 ЧЕРЕЗ ОТДЕЛЕНИЕ И РАСПАД ФРАНЦИЯ-221 2021
  • Ермолаев Станислав Викторович
  • Скасырская Айно Константиновна
  • Васильев Александр Николаевич
RU2778249C1
СПОСОБ ПОЛУЧЕНИЯ АКТИНИЯ-225 И ИЗОТОПОВ РАДИЯ И МИШЕНЬ ДЛЯ ЕГО ОСУЩЕСТВЛЕНИЯ (ВАРИАНТЫ) 2008
  • Жуйков Борис Леонидович
  • Калмыков Степан Николаевич
  • Алиев Рамиз Автандилович
  • Ермолаев Станислав Викторович
  • Коханюк Владимир Михайлович
  • Коняхин Николай Александрович
  • Тананаев Иван Гундарович
  • Мясоедов Борис Фёдорович
RU2373589C1
ИНФУЗИОННАЯ СИСТЕМА ДЛЯ РАДИОФАРМПРЕПАРАТОВ НА ОСНОВЕ РУБИДИЯ-82 ИЗ ГЕНЕРАТОРА 2011
  • Гранов Анатолий Михайлович
  • Тютин Леонид Аврамович
  • Штуковский Олег Антонович
  • Мостова Маинна Иосифовна
  • Зайцев Вадим Викторович
  • Шатик Сергей Васильевич
  • Костеников Николай Анатольевич
  • Рыжкова Дарья Викторовна
RU2467692C1
Генератор для получения стерильных радиоизотопов 2016
  • Нестеров Евгений Александрович
  • Рогов Александр Сергеевич
  • Садкин Владимир Леонидович
  • Скуридин Виктор Сергеевич
  • Буханченко Сергей Евгеньевич
  • Зуев Андрей Витальевич
  • Козарь Дмитрий Михайлович
  • Арляпов Алексей Юрьевич
  • Ким Алексей Богович
RU2644395C1
Способ получения Pb/Bi для ядерной медицины 2020
  • Мокров Юрий Геннадьевич
RU2742138C1
УСТРОЙСТВО ДЛЯ ПОЛУЧЕНИЯ СТЕРИЛЬНЫХ РАДИОНУКЛИДОВ 1995
  • Басманов В.В.
  • Хавеев Н.Н.
  • Юдинцев Р.В.
RU2097857C1
Комплексные соединения, содержащие в своем составе радионуклид Th, а также бисфосфонатный фрагмент, способы их получения, а также потенциальное применение в качестве действующего вещества в составе остеотропного радиофармацевтического лекарственного препарата 2020
  • Дороватовский Станислав Анатольевич
RU2767567C1
СИСТЕМА ДЛЯ ВНУТРИВЕННОГО ВВЕДЕНИЯ "РУБИДИЯ ХЛОРИД", 82RB, ИЗ ГЕНЕРАТОРА" 2013
  • Гранов Анатолий Михайлович
  • Тютин Леонид Аврамович
  • Костеников Николай Анатольевич
  • Мостова Маинна Иосифовна
  • Штуковский Олег Антонович
  • Шатик Сергей Васильевич
  • Сысоев Дмитрий Сергеевич
  • Зайцев Вадим Викторович
  • Алексеев Никита Сергеевич
RU2534179C1
СПОСОБ ПОЛУЧЕНИЯ ИЗОТОПА 2016
  • Манцилас Димитриос
  • Карлсон Ян Рогер
  • Эстбю Юдит Тьельмеланн
RU2768732C2

Иллюстрации к изобретению RU 2 839 088 C1

Реферат патента 2025 года СПОСОБ АВТОМАТИЗИРОВАННОЙ ОЧИСТКИ ТОРИЯ-227 С ИСПОЛЬЗОВАНИЕМ УСТРОЙСТВА ДЛЯ ЕГО ОСУЩЕСТВЛЕНИЯ

Изобретение относится к радиохимии, а именно к очистке тория-227 с использованием устройства для его осуществления для дальнейшего синтеза радиофармпрепаратов (РФЛП) для радионуклидной терапии различных заболеваний. Способ описывает технологию очистки тория-227 с использованием устройства. Раствор, содержащий смесь радионуклидов, отбирают при помощи шприцевого насоса, дозируют через картридж с сорбентом в сосуд для отходов, затем элюируют задержанный на сорбенте радионуклид в сосуд для сбора элюата. Распределение потоков реагентов обеспечивается переключением многоходового переключателя потоков. Осуществляют выпаривание элюата с подачей в сосуд для элюата потока инертного газа при разряжении, обеспечиваемом мембранным вакуумным насосом. После выпаривания в сосуд для элюата дозируют раствор для растворения осадка, содержащего радионуклид. После дозирования перечисленных выше жидкостей трубки и переключатели потоков продувают инертным газом для полного переноса жидкостей. Изобретение позволяет эффективно разделять торий-227 и продукты его распада, а полученный раствор, содержащий торий-227, удовлетворяет требованиям фармацевтического производства. 2 н.п. ф-лы, 2 ил.

Формула изобретения RU 2 839 088 C1

1. Способ автоматизированной очистки тория-227, в ходе которого раствор, содержащий смесь радионуклидов, отбирают при помощи шприцевого насоса, дозируют через картридж с сорбентом в сосуд для отходов, затем элюируют задержанный на сорбенте радионуклид в сосуд для сбора элюата, при этом распределение потоков реагентов обеспечивают переключением многоходового переключателя потоков, отличающийся тем, что осуществляют выпаривание элюата с подачей в сосуд для элюата потока инертного газа при разряжении, обеспечиваемом мембранным вакуумным насосом, после выпаривания в сосуд для элюата дозируют раствор для растворения осадка, содержащего радионуклид, при этом после дозирования перечисленных выше жидкостей трубки и переключатели потоков продувают инертным газом для полного переноса жидкостей.

2. Устройство для автоматизированной очистки тория-227 способом по п. 1, включающее многоходовой переключатель потоков, шприцевой насос, картридж с сорбентами, соединительные трубки для переноса реагентов, сосуд с раствором, содержащим смесь радионуклидов, сосуды для реагентов, сосуды для сбора элюата, сосуды для сбора отходов, при этом устройство дополнительно содержит двух- и трехходовые переключатели потоков, к которым посредством трубки подключен источник инертного газа, один из сосудов для сбора элюата установлен в нагревательном блоке, к сосуду посредством соединительной трубки подключен мембранный вакуумный насос, к сосуду посредством трубки с установленным на ней регулятором потока подключен источник инертного газа.

Документы, цитированные в отчете о поиске Патент 2025 года RU2839088C1

US 6787042 B2, 07.09.2004
IVANOV P.I
et al
Ротационный колун 1919
  • Федоров В.С.
SU227A1
Буткалюк П.С
и др
Ротационный колун 1919
  • Федоров В.С.
SU227A1

RU 2 839 088 C1

Авторы

Сысоев Дмитрий Сергеевич

Надпорожский Михаил Александрович

Алексеев Никита Сергеевна

Даты

2025-04-28Публикация

2024-08-14Подача