Область техники
Изобретение относится к обувной промышленности, в частности к принадлежностям для обуви и может быть использовано при изготовлении обуви на шнурках.
Уровень техники
Известно решение RU 195447 U1 «Устройство для фиксации шнурков», МПК А43С 7/00, содержащее верхнюю и нижнюю части, соединяющихся магнитами. Верхняя часть состоит из основы и застежки с зубчатой поверхностью. Нижняя часть состоит из основы и застежки с зубчатой поверхностью.
Основы содержат отверстия для шнурков, магниты, выступы и шипы. Причем пазы выполнены такого размера, чтобы в них входили выступы с целью более надежного скрепления частей устройства. Застежки верхней и нижней частей содержат отверстия. Отверстия выполнены такого размера, чтобы в них входили шипы с целью более надежного скрепления застежки и основы. Застежки верхней и нижней частей выполнены с зубчатой поверхностью для лучшего соединения со шнурками.
Недостатком вышеописанного технического решения является отсутствие возможности ослабления затяжки шнуровки по причине необходимости обрезания шнурков для установки устройства для фиксации шнурков из-за особенностей конструкции устройства. Технической задачей для решения вышеописанных недостатков является разработка шнуровой застежки и шнурка для нее универсальной конструкции, обеспечивающей быстрое надевание/снятие на ногу пользователя, регулировку степени затяжки шнуровки.
Сущность изобретения
Поставленная техническая задача решается за счет того, что шнуровая застежка, содержит, как минимум, две пары отверстий, образующих ряды последовательно расположенных отверстий на стягиваемых частях, в которые продет шнурок. Шнурок на каждой стягиваемой части образует петлю между двумя верхними последовательно расположенными отверстиями, отверстием первой пары и отверстием второй пары. Полотно шнурка в районе петель имеет части двухкомпонентной застежки.
Шнурок (2) для шнуровой застежки содержит полотно, которое сопряжено с частями (3.1), (3.2) двухкомпонентной застежки (3).
В шнуровой застежке с количеством пар отверстий большим, чем две фиг. 2, 3, шнурок (2) от середины (2.4) продет через отверстия в стягиваемых частях (1.4) любой известной техникой шнурования, за исключением первой и второй пары. Заявленное изобретение рассмотрено на примерах:
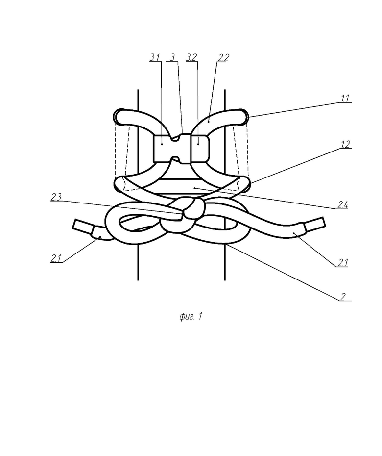
Пример 1. Стягиваемые части (1.4) имеют только две пары отверстий фиг. 1. Условно назовем их отверстия (1.1) первой пары и отверстия (1.2) второй пары. Шнурок от середины (2.4) на каждой стягиваемой части (1.4) изнутри продет через отверстие (1.2) второй пары наружу, далее с образованием петли (2.2) входит в отверстие (1.1) первой пары снаружи внутрь, проходит внутри вдоль или по диагонали и выходит наружу через отверстие (1.2) второй пары, концы завязаны в развязываемый узел. На петли (2.2) установлены части (3.1) и (3.2) двухкомпонентной застежки (3).
Пример 2. Стягиваемые части (1.4) имеют более двух пар отверстий, фиг. 2,3. Условно назовем их отверстия (1.1) первой пары, отверстия (1.2) второй пары, отверстия (1.3) третьей пары. Концы шнурка (2.1) на каждой стягиваемой части входят снаружи внутрь через отверстие (1.3) третьей пары, проходят вдоль внутренней поверхности стягиваемой части (1.4) или по диагонали минуя отверстия (1.2) второй пары, выходят наружу через отверстия (1.1) первой пары входят снаружи внутрь в отверстия (1.2) второй пары, образовывая снаружи петли (2.2), на которых установлены части двухкомпонентной застежки (3.1) и (3.2). Концы шнурка (2.1), продетые через отверстия (1.2) второй пары внутрь, выведены через края стягиваемых частей (1.4) наружу и связаны в развязываемый узел (2.3) фиг. 1, 2 над язычком (1.5).
Шнурок (2) для шнуровой застежки, содержит полотно шнурка (2) и два свободных конца (2.1), при этом полотно шнурка (2) сопряжено с частями (3.1), (3.2) одной двухкомпонентной застежки (3), разнесенными на расстояние друг от друга. В частном случае исполнения сопряжение осуществлено с возможностью перемещения частей двухкомпонентной застежки (3) по полотну шнурка.
В качестве двухкомпонентной застежки (3) фиг. 1, 2 могут быть использованы застежка типа фастекс, или застежка крючок-петля, или карабин и петля, или магнитная застежка, или кнопка-застежка, или тогл, или S-образный крючок (S-hook) и как минимум одна петля, или винт, или застежка-слайдер, или лента с застежкой Велкро на ее концах.
Регулировка степени стягивания шнуровки выполняется с сомкнутой двухкомпонентной застежкой (3) фиг. 1, 2 традиционным способом при помощи развязывания узла (2.3) ослабления/стягивания шнуровки с последующим завязыванием узла (2.3).
Технический результат заявленного решения заключается в обеспечении быстрого снятия/надевания предмета обуви, корректировки степени затяжки шнуровки традиционным способом, легкой установки на любой предмет обуви с отверстиями под шнуровку без применения специальных элементов для установки шнурка.
Краткое описание чертежей
На фиг. 1 - схематическое изображение шнуровой застежки с двумя парами отверстий и шнурка для нее.
На фиг. 2 - схематическое изображение предмета обуви со шнуровой застежкой.
На фиг. 3 - схематическое изображение шнуровой застежки с парами отверстий большим, чем два, и шнурка для нее.
Краткое описание конструктивных элементов:
1 - предмет обуви;
1.1 - отверстие первой пары;
1.2 - отверстие второй пары;
1.3 - отверстие третей пары;
1.4 - стягиваемая часть;
1.5 - язычок;
2 - шнурок;
2.1 - конец шнурка;
2.2 - петля;
2.3 - узел;
2.4 - середина шнурка;
3 - двухкомпонентная застежка;
3.1 - одна часть двухкомпонентной застежки;
3.2 - вторая часть с двухкомпонентной застежки.
Осуществление заявленного решения.
Шнуровая застежка имеет последовательно расположенные отверстия на стягиваемых частях (1.4), через которые продет шнурок (2) фиг. 1, 2, 3. Между стягиваемыми частями (1.4) расположен язычок (1.5). Шнурок (2) продет через отверстия в стягиваемых частях (1.4) любой известной техникой шнурования, например, поочередным соединением зигзагообразной линией отверстий в стягиваемых частях (1.4) за исключением верхних двух отверстий каждой стягиваемой части (1.4). Концы шнурка (2.1), продетые через отверстия (1.1) первой пары и отверстия (1.2) второйпары каждой стягиваемой части (1.1), образуют снаружи петли (2.2), в которые установлена двухкомпонентная застежка (3) или застежка типа фастекс или застежка крючок-петля или карабин и петля или магнитная застежка или кнопка-застежка или тот или S-образный крючок (S-hook) и, как минимум, одна петля или винт или застежка-слайдер или лента с застежкой Велкро на ее концах. Концы шнурка (2.1), продетые через отверстия (1.2) второй пары внутрь предмета обуви, выведены через края стягиваемых частей (1.4) наружу и связаны в развязываемый узел (2.3) над язычком (1.5).
Заявленная группа технических решений работает следующим образом.
Шнурок устанавливают на предмет обуви (1) фиг. 2. Шнуровать начинают снизу, продевая концы шнурка (2.1) через отверстия в стягиваемых частях (1.4) любой известной техникой шнурования до вторых сверху отверстий (1.2) В петли (2.2), образованные между двумя последовательно расположенными отверстиями (1.1) первой пары и отверстиями (1.2) второй пары установлены ответные части (3.1), (3.2) двухкомпонентной застежки (3). Предмет обуви (1) надевают на ногу, при этом двухкомпонентная застежка (3) находится в разомкнутом состоянии, концы шнурка (2.1) не завязаны в узел. Далее соединяют ответные части (3.1), (3.2) двухкомпонентной застежки (3) стягивают концы шнурка (2.1) подбирая оптимальное усилие затяжки шнуровки для удержания предмета обуви (1) на ноге. Завязывают концы шнурка (2.1) над язычком (1.5) фиг. 1 в развязываемый узел (2.3). Для снятия предмета обуви (1) размыкают двухкомпонентную застежку (3), не развязывая узел (2.3). В дальнейшем при надевании /снятии предмета обуви (1) используют только двухкомпонентную застежку (3), исключая натяжение шнурка (2) завязыванием узла (2.3). В процессе эксплуатации при возникновении необходимости корректировки натяжения шнуровки, развязывают узел, корректируют натяжение ослабляя/стягивая шнуровку, фиксируют традиционным развязываемым узлом.
Пример 1
Шнурок (2) имеет два конца (2.1), продетые через два верхних последовательно расположенных отверстия в стягиваемых частях (1.4) и формирующие снаружи петли (2.2), в которые установлены части одной двухкомпонентной застежки (3) типа фастекс.
Пример 2
Шнурок (2) имеет два конца (2.1), продетые через два верхних последовательно расположенных отверстия в стягиваемых частях (1.4) и формирующие снаружи петли (2.2), в которые установлены части одной двухкомпонентной застежки (3) типа крючок-петля.
Пример 3
Шнурок (2) имеет два конца (2.1), продетые через два верхних последовательно расположенных отверстия в стягиваемых частях (1.4) и формирующие снаружи петли (2.2), в которые установлены части одной двухкомпонентной застежки (3) типа карабин и петля.
Пример 4
Шнурок (2) имеет два конца (2.1), продетые через два верхних последовательно расположенных отверстия в стягиваемых частях (1.4) и формирующие снаружи петли (2.2), в которые установлены части одной двухкомпонентной застежки (3) типа магнитная застежка.
Пример 5
Шнурок (2) имеет два конца (2.1), продетые через два верхних последовательно расположенных отверстия в стягиваемых частях (1.4) и формирующие снаружи петли (2.2), в которые установлены части одной двухкомпонентной застежки (3) типа кнопка-застежка.
Пример 6
Шнурок (2) имеет два конца (2.1), продетые через два верхних последовательно расположенных отверстия в стягиваемых частях (1.4) и формирующие снаружи петли (2.2), в которые установлены части одной двухкомпонентной застежки (3) типа тогл.
Пример 7
Шнурок (2) имеет два конца (2.1), продетые через два верхних последовательно расположенных отверстия в стягиваемых частях (1.4) и формирующие снаружи петли (2.2), в которые установлены части одной двухкомпонентной застежки (3) типа S-образный крючок (S-hook) и петля.
Пример 8
Шнурок (2) имеет два конца (2.1), продетые через два верхних последовательно расположенных отверстия в стягиваемых частях (1.4) и формирующие снаружи петли (2.2), в которые установлены части одной двухкомпонентной застежки (3) типа на винте.
Пример 9
Шнурок (2) имеет два конца (2.1), продетые через два верхних последовательно расположенных отверстия в стягиваемых частях (1.4) и формирующие снаружи петли (2.2), в которые установлены части одной двухкомпонентной застежки (3) типа застежка-слайдер.
Пример 10
Шнурок (2) имеет два конца (2.1), продетые через два верхних последовательно расположенных отверстия в стягиваемых частях (1.4) и формирующие снаружи петли (2.2), в которые установлены части одной двухкомпонентной застежки (3) типа лента с застежкой Велкро на ее концах.
Пример 11
Шнуровая застежка имеет последовательно расположенные отверстия на стягиваемых частях (1.4), через которые продет шнурок (2), любой из примера 1-10, любой известной техникой шнурования, при этом продетые через два верхних последовательно расположенных отверстий, концы шнурка образуют петли (2.2), в которых установлена двухкомпонентная застежка (3). Концы шнурков (2.1) связаны в развязываемый узел (2.3) над язычком (1.5).
| название | год | авторы | номер документа |
|---|---|---|---|
| ШНУРОВАЯ ЗАСТЕЖКА | 2023 |
|
RU2830831C1 |
| ШНУРОВАЯ ЗАСТЕЖКА И КОМПЛЕКТ ШНУРКОВ ДЛЯ НЕЕ | 2023 |
|
RU2838555C2 |
| ПРЕДМЕТ ПОЯСНОЙ ОДЕЖДЫ И КОМПЛЕКТ ПОЯСОВ ДЛЯ НЕГО | 2023 |
|
RU2822420C1 |
| ПРЕДМЕТ ПОЯСНОЙ ОДЕЖДЫ И КОМПЛЕКТ ПОЯСОВ ДЛЯ НЕГО | 2023 |
|
RU2826416C1 |
| ПРЕДМЕТ ПОЯСНОЙ ОДЕЖДЫ | 2023 |
|
RU2808671C1 |
| ШНУРОВАЯ ЗАСТЕЖКА ТИПА ДЕЛПЕТ И ШНУРОК ДЛЯ НЕЕ | 2006 |
|
RU2370190C2 |
| ШНУРОВАЯ ЗАСТЕЖКА | 2013 |
|
RU2524015C1 |
| ШНУРОВАЯ ОБУВЬ И СПОСОБ ЕЕ ЗАКРЕПЛЕНИЯ НА НОГЕ | 1997 |
|
RU2146486C1 |
| ШНУРОВАЯ ЗАСТЕЖКА ТИПА ДЕЛПЕТ, СОЕДИНИТЕЛЬНЫЙ ЭЛЕМЕНТ ДЛЯ КОНЦОВ ЕЕ ШНУРКА, ЕЕ ШНУРОВОЙ ЗАЦЕП, ШНУРОК ДЛЯ НЕЕ И СПОСОБ ЕЕ ИМ ЗАСТЕГИВАНИЯ | 2011 |
|
RU2481052C2 |
| ПРЯЖКА-ЗАМОК | 2024 |
|
RU2828984C1 |
Шнуровая застежка и шнурок для нее относится к обувной промышленности, в частности к принадлежностям для обуви, и могут быть использованы при изготовлении обуви на шнурках. Застежка содержит последовательно расположенные отверстия на стягиваемых частях, шнурок, пропущенный через отверстия, свободные концы которого завязаны в узел, при этом имеет две пары отверстий на стягиваемых частях, на каждой стягиваемой части шнурок образует петлю между двумя верхними последовательно расположенными отверстиями. Достигается быстрое снятие/надевание предмета обуви, корректировка степени затяжки шнуровки. 2 н. и 2 з.п. ф-лы, 3 ил.
1. Шнуровая застежка, содержащая последовательно расположенные отверстия на стягиваемых частях, шнурок, пропущенный через отверстия, свободные концы которого завязаны в узел, отличающаяся тем, что имеет как минимум две пары отверстий на стягиваемых частях, на каждой стягиваемой части шнурок образует петлю между двумя верхними последовательно расположенными отверстиями, на петли установлены части двухкомпонентной застежки, а узел сформирован между отверстиями стягиваемых частей ниже петель с двухкомпонентной застежкой.
2. Шнуровая застежка по п. 1, отличающаяся тем, что в качестве двухкомпонентной застежки, части которой установлены на петли между двумя верхними последовательно расположенными отверстиями каждой стягиваемой части, использована застежка типа фастекс, или застежка крючок-петля, или карабин и петля, или кнопка-застежка, или тогл, или S-образный крючок и как минимум одна петля, или винт, или застежка-слайдер.
3. Шнурок для шнуровой застежки, содержащий два конца, завязанные в узел, отличающаяся тем, что два конца шнурка выполнены с возможностью формирования на каждой стягиваемой части шнуровой застежки между двумя ее верхними последовательно расположенными отверстиями петель из шнурка, на которых расположены части одной двухкомпонентной застежки с возможностью сопряжения, при этом узел сформирован между отверстиями стягиваемых частей ниже петель с двухкомпонентной застежкой.
4. Шнурок по п. 3, отличающаяся тем, что в качестве двухкомпонентной застежки использована застежка типа фастекс, или застежка крючок-петля, или карабин и петля, или кнопка-застежка, или тогл, или S-образный крючок и как минимум одна петля, или винт, или застежка-слайдер, или лента с застежкой Велкро на ее концах.
| Паровоз | 1925 |
|
SU7419A1 |
| УСТРОЙСТВО ДЛЯ ЗАКРЕПЛЕНИЯ ШНУРКОВ ОБУВИ | 2007 |
|
RU2391884C1 |
| US 2003041477 A1, 06.03.2003 | |||
| СПОСОБ ПОЛУЧЕНИЯ ФОРМИЛАКРИЛОВОЙ КИСЛОТЫ | 0 |
|
SU195447A1 |
| Сорбционный вакуумный насос | 1961 |
|
SU147287A1 |
| DE 20006157 U1, 15.03.2001. | |||
Авторы
Даты
2025-04-28—Публикация
2023-11-19—Подача