ОБЛАСТЬ ТЕХНИКИ, К КОТОРОЙ ОТНОСИТСЯ ИЗОБРЕТЕНИЕ
[0001] Настоящее изобретение относится к технологии хирургических инструментов, в частности к механизму привода закрытия и хирургическому сшивающему аппарату.
ПРЕДПОСЫЛКИ СОЗДАНИЯ ИЗОБРЕТЕНИЯ
[0002] Хирургический сшивающий аппарат содержит платформу для инструмента, подвижную рукоять, соединенную с возможностью перемещения с платформой для инструмента, и узел головки, взаимодействующий с основной частью. Часть в виде узла головки содержит узел картриджа и упор, расположенный относительно узла картриджа. Во время операции врач сначала нажимает на подвижную рукоять для продвижения детали привода закрытия проксимально через механизм привода закрытия, так что узел картриджа и упор закрываются, а затем врач снова нажимает на подвижную рукоять для продвижения скрепок в направлении ткани. Скрепки в узле картриджа образованы на упоре для соединения анастомозом ткани, и нож перемещается дистально, чтобы разрезать ткань.
[0003] Конструкция механизма привода закрытия в известном уровне техники является относительно сложной. Поэтому стоимость изготовления и технического обслуживания является высокой. Кроме того, сложная конструкция может дополнительно стать причиной неопределенности в управлении закрытием. Во время процесса активации сшивающего аппарата может быть затронуто состояние закрытия между узлом картриджа и упором, поскольку деталь привода закрытия может дистально перемещаться, что может повлиять на хирургический эффект.
СУЩНОСТЬ ИЗОБРЕТЕНИЯ
[0004] Чтобы решить проблемы известного уровня техники, задачей настоящего изобретения является предоставление механизма привода закрытия и хирургического сшивающего аппарата, механизм привода закрытия имеет простую конструкцию и может эффективно закрывать узел головки и поддерживать стабильность состояния закрытия узла головки после закрытия.
[0005] В настоящем изобретении предоставлен механизм привода закрытия, используемый для хирургического сшивающего аппарата, содержащий: связующий узел, содержащий первую поворотную часть и вторую поворотную часть, при этом первая поворотная часть выполнена с возможностью шарнирного соединения с основной частью инструмента, и вторая поворотная часть выполнена с возможностью расположения на проксимальной стороне первой поворотной части; при этом связующий узел имеет первое состояние и второе состояние; подвижную рукоять, содержащую первую сопрягаемую часть; узел привода закрытия, выполненный с возможностью шарнирного соединения со второй поворотной частью связующего узла; при этом, когда связующий узел находится в первом состоянии и подвижная рукоять вращается в первом направлении, первая сопрягаемая часть заставляет связующий узел входить во второе состояние, вторая поворотная часть связующего узла перемещается проксимально и заставляет узел привода закрытия перемещаться проксимально.
[0006] В некоторых вариантах осуществления связующий узел содержит первый связующий элемент и второй связующий элемент на проксимальной стороне первого связующего элемента; при этом первый связующий элемент содержит первую поворотную часть и третью поворотную часть, второй связующий элемент содержит вторую поворотную часть и четвертую поворотную часть, и третья поворотная часть выполнена с возможностью шарнирного соединения с четвертой поворотной частью.
[0007] В некоторых вариантах осуществления, когда связующий узел находится в первом состоянии и подвижная рукоять вращается в первом направлении, первая сопрягаемая часть заставляет первый связующий элемент вращаться в первом направлении, второй связующий элемент вращается во втором направлении относительно первого связующего элемента, и угол между первым связующим элементом и вторым связующим элементом увеличивается; при этом второе направление является противоположным первому направлению.
[0008] В некоторых вариантах осуществления механизм дополнительно содержит соединительный шток, и узел привода закрытия выполнен так, чтобы быть надетым на соединительный шток; при этом, когда связующий узел входит во второе состояние из первого состояния, третья поворотная часть и четвертая поворотная часть перемещаются в направлении соединительного штока, чтобы заставлять узел привода закрытия перемещаться в направлении проксимальной стороны соединительного штока.
[0009] В некоторых вариантах осуществления механизм дополнительно содержит деталь привода закрытия в соединительном штоке; при этом узел привода закрытия содержит втулочную часть и приводную часть, выполненную с возможностью соединения со втулочной частью, втулочная часть выполнена так, чтобы быть надетой на соединительный шток, и соединена с проксимальной стороной детали привода закрытия, и приводная часть выполнена с возможностью шарнирного соединения со второй поворотной частью.
[0010] В некоторых вариантах осуществления основная часть инструмента дополнительно содержит корпус, и одно из внутренней поверхности корпуса и приводной части узла привода закрытия снабжено направляющим пазом, проходящим в аксиальном направлении, а другое снабжено направляющей частью; при этом направляющая часть находится по меньшей мере частично в направляющем пазу и способна перемещаться вдоль направления прохождения направляющего паза.
[0011] В некоторых вариантах осуществления узел привода закрытия дополнительно содержит соединительный штифт, сквозное отверстие предусмотрено на дистальной стороне втулочной части, и соединительный штифт выполнен с возможностью прохождения как через сквозное отверстие на дистальной стороне втулочной части, так и через проксимальную сторону детали привода закрытия для неподвижного соединения втулочной части с деталью привода закрытия.
[0012] В некоторых вариантах осуществления на проксимальной стороне соединительного штока дополнительно предусмотрен фиксирующий элемент, и между втулочной частью и фиксирующим элементом предусмотрена возвратная пружина для закрытия.
[0013] В некоторых вариантах осуществления механизм дополнительно содержит канавку, и четвертая поворотная часть находится по меньшей мере частично в канавке третьей поворотной части; или четвертая поворотная часть содержит канавку, и третья поворотная часть находится по меньшей мере частично в канавке четвертой поворотной части.
[0014] В некоторых вариантах осуществления третья поворотная часть содержит канавку, четвертая поворотная часть находится по меньшей мере частично в канавке третьей поворотной части, и четвертая поворотная часть снабжена выпуклой частью; при этом, когда связующий узел находится во втором состоянии, выпуклая часть примыкает к внешней стенке снаружи канавки для блокирования вращения второго связующего элемента во втором направлении относительно первого связующего элемента; или четвертая поворотная часть содержит канавку, третья поворотная часть находится по меньшей мере частично в канавке четвертой поворотной части, и третья поворотная часть снабжена выпуклой частью; при этом, когда связующий узел находится во втором состоянии, выпуклая часть примыкает к внешней стенке снаружи канавки для блокирования вращения второго связующего элемента во втором направлении относительно первого связующего элемента.
[0015] В некоторых вариантах осуществления первый связующий элемент дополнительно содержит вторую сопрягаемую часть, и боковая поверхность второй сопрягаемой части, обращенная к подвижной рукояти, представляет собой дугообразную поверхность; при этом, когда связующий узел находится в первом состоянии и подвижная рукоять находится в исходном положении подвижной рукояти, вторая сопрягаемая часть примыкает к первой сопрягаемой части подвижной рукояти.
[0016] В некоторых вариантах осуществления первый связующий элемент представляет собой треугольную тягу, первая поворотная часть и третья поворотная часть соответственно предусмотрены в положении первой вершины и положении второй вершины треугольной тяги, и вторая сопрягаемая часть предусмотрена в положении третьей вершины треугольной тяги; и/или второй связующий элемент представляет собой прямую тягу, имеющую первый конец, снабженный второй поворотной частью, и второй конец, снабженный четвертой поворотной частью.
[0017] В некоторых вариантах осуществления основная часть инструмента содержит корпус, связующий узел находится в корпусе, и первая поворотная часть выполнена с возможностью шарнирного соединения с внутренней поверхностью корпуса.
[0018] В некоторых вариантах осуществления механизм дополнительно содержит: соединительный шток, выполненный с возможностью прохождения в аксиальном направлении сшивающего аппарата; деталь привода закрытия, выполненную с возможностью прохождения в аксиальном направлении сшивающего аппарата и по меньшей мере частично в соединительном штоке; при этом узел привода закрытия содержит: первый закрывающий элемент, выполненный так, чтобы быть надетым на соединительный шток, и соответственно соединенный с проксимальной стороной соединительного штока и проксимальной стороной детали привода закрытия; при этом соединительный шток выполнен так, чтобы заставлять деталь привода закрытия и первый закрывающий элемент вращаться вокруг центральной оси соединительного штока, когда соединительный шток вращается вокруг центральной оси соединительного штока; второй закрывающий элемент, выполненный с возможностью шарнирного соединения со второй поворотной частью связующего узла и надетый по меньшей мере частично с возможностью вращения на первый закрывающий элемент; при этом второй закрывающий элемент выполнен так, чтобы заставлять деталь привода закрытия перемещаться проксимально через первый закрывающий элемент, когда второй закрывающий элемент перемещается проксимально.
[0019] В некоторых вариантах осуществления второй закрывающий элемент содержит втулочную часть, надетую на первый закрывающий элемент, и приводную часть, выполненную с возможностью соединения со втулочной частью, и первый закрывающий элемент выполнен с возможностью вращения вокруг центральной оси соединительного штока относительно втулочной части; при этом приводная часть выполнена с возможностью шарнирного соединения со второй поворотной частью связующего узла.
[0020] В некоторых вариантах осуществления первый закрывающий элемент содержит часть в виде стержня и дисковую часть на проксимальной стороне части в виде стержня; при этом проксимальная сторона втулочной части второго закрывающего элемента снабжена кольцевой первой ступенчатой поверхностью, часть в виде стержня находится по меньшей мере частично во втулочной части, и дисковая часть находится на проксимальной стороне первой ступенчатой поверхности; при этом внешний диаметр части в виде стержня меньше, чем внутренний диаметр первой ступенчатой поверхности, и внутренний диаметр первой ступенчатой поверхности меньше, чем внешний диаметр дисковой части.
[0021] В некоторых вариантах осуществления между проксимальной стороной соединительного штока и частью в виде стержня предусмотрена возвратная пружина для закрытия; при этом возвратная пружина для закрытия выполнена с возможностью проксимального сжатия частью в виде стержня, когда второй закрывающий элемент перемещается проксимально.
[0022] В некоторых вариантах осуществления часть в виде стержня содержит первую часть в виде стержня и вторую часть в виде стержня, первая часть в виде стержня выполнена с возможностью соединения между второй частью в виде стержня и дисковой частью; при этом внешний диаметр первой части в виде стержня меньше, чем внешний диаметр второй части в виде стержня; при этом первая часть в виде стержня находится по меньшей мере частично во втулочной части, вторая ступенчатая поверхность предусмотрена между первой частью в виде стержня и второй частью в виде стержня, и возвратная пружина для закрытия предусмотрена между второй ступенчатой поверхностью и проксимальной стороной соединительного штока.
[0023] В некоторых вариантах осуществления вторая часть в виде стержня снабжена сквозным отверстием, соединительный штифт выполнен с возможностью прохождения через сквозное отверстие, и соединительный штифт выполнен с возможностью прохождения как через проксимальную сторону соединительного штока, так и через проксимальную сторону детали привода закрытия.
[0024] В некоторых вариантах осуществления на проксимальной стороне соединительного штока предусмотрена канавка для штифта, проходящая в аксиальном направлении, и соединительный штифт находится по меньшей мере частично в канавке для штифта и способен перемещаться вдоль направления прохождения канавки для штифта.
[0025] В некоторых вариантах осуществления на дистальной стороне приводной части второго закрывающего элемента предусмотрена первая канавка, и вторая поворотная часть находится по меньшей мере частично в первой канавке; или вторая поворотная часть снабжена первой канавкой, и дистальная сторона приводной части второго закрывающего элемента находится по меньшей мере частично в первой канавке.
[0026] В некоторых вариантах осуществления механизм дополнительно содержит: исполнительный элемент, содержащий переключающий элемент, при этом исполнительный элемент способен перемещаться между первой областью и второй областью, вторая область находится на дистальной стороне первой области; деталь привода закрытия, имеющую проксимальную сторону, выполненную с возможностью неподвижного соединения с узлом привода закрытия; при этом, когда связующий узел находится во втором состоянии и исполнительный элемент перемещается из второй области в первую область, переключающий элемент отводит связующий узел в сторону от исполнительного элемента, так что связующий узел входит в первое состояние, третья поворотная часть и четвертая поворотная часть перемещаются в сторону от исполнительного элемента, и вторая поворотная часть заставляет деталь привода закрытия перемещаться дистально через узел привода закрытия.
[0027] В некоторых вариантах осуществления связующий узел дополнительно содержит приводной элемент, выполненный с возможностью установки на первом связующем элементе или втором связующем элементе; при этом первый конец приводного элемента является выпуклым из боковой поверхности первого связующего элемента или второго связующего элемента, обращенной к исполнительному элементу; при этом, когда связующий узел находится во втором состоянии и исполнительный элемент перемещается из второй области в первую область, переключающий элемент отводит первый конец приводного элемента в сторону от исполнительного элемента.
[0028] В некоторых вариантах осуществления, когда связующий узел находится во втором состоянии и исполнительный элемент перемещается из первой области во вторую область, первый связующий элемент остается неподвижным относительно второго связующего элемента; при этом, когда связующий узел находится во втором состоянии и исполнительный элемент перемещается из второй области в первую область, первый связующий элемент вращается относительно второго связующего элемента.
[0029] В некоторых вариантах осуществления, когда связующий узел находится во втором состоянии и исполнительный элемент перемещается из первой области во вторую область, переключающий элемент заставляет первый конец приводного элемента перемещаться дистально, так что приводной элемент не блокирует перемещение исполнительного элемента.
[0030] В некоторых вариантах осуществления на поверхности первого связующего элемента или второго связующего элемента, обращенной к исполнительному элементу, предусмотрена установочная канавка, и приводной элемент находится в установочной канавке.
[0031] В некоторых вариантах осуществления установочная канавка содержит первую боковую стенку, вторую боковую стенку и нижнюю стенку, первая боковая стенка установочной канавки находится на дистальной стороне второй боковой стенки, и первый зазор образован между приводным элементом и первой боковой стенкой установочной канавки; при этом, когда связующий узел находится в первом состоянии, приводной элемент примыкает ко второй боковой стенке установочной канавки; при этом, когда связующий узел находится во втором состоянии и исполнительный элемент перемещается из первой области во вторую область, приводной элемент перемещается в направлении первой боковой стенки установочной канавки.
[0032] В некоторых вариантах осуществления связующий узел дополнительно содержит эластичный элемент, выполненный с возможностью расположения между приводным элементом и первой боковой стенкой для смещения приводного элемента в направлении второй боковой стенки; при этом эластичный элемент выполнен с возможностью упругого деформирования приводным элементом, когда приводной элемент перемещается в направлении первой боковой стенки.
[0033] В некоторых вариантах осуществления эластичный элемент представляет собой эластичную деталь, первый конец эластичной детали выполнен с возможностью соединения со стороной второй боковой стенки приводного элемента, обращенной к установочной канавке, и второй конец эластичной детали снабжен сгибаемой частью; при этом вторая боковая стенка установочной канавки снабжена блокирующей канавкой, и сгибаемая часть эластичной детали находится в блокирующей канавке.
[0034] В некоторых вариантах осуществления второй конец приводного элемента выполнен с возможностью шарнирного соединения с нижней стенкой установочного паза; по меньшей мере часть внешней стенки второго конца приводного элемента представляет собой первую дугообразную поверхность, и по меньшей мере часть нижней стенки установочной канавки представляет собой вторую дугообразную поверхность; при этом первая дугообразная поверхность подходит под вторую дугообразную поверхность, и первая дугообразная поверхность выполнена с возможностью вращения относительно второй дугообразной поверхности.
[0035] В некоторых вариантах осуществления переключающий элемент представляет собой зубчатую рейку на стороне исполнительного элемента, обращенной к связующему узлу.
[0036] В некоторых вариантах осуществления по меньшей мере одна сторона первого связующего элемента снабжена приводным элементом, приводной элемент выполнен так, чтобы быть соединенным с возможностью вращения с боковой стенкой первого связующего элемента, и переключающий элемент представляет собой приводной зубец на по меньшей мере одной стороне исполнительного элемента.
[0037] В некоторых вариантах осуществления первый связующий элемент дополнительно снабжен блокирующей частью на проксимальной стороне приводного элемента, и блокирующая часть блокирует проксимальное перемещение второго конца приводного элемента.
[0038] В некоторых вариантах осуществления третья поворотная часть выполнена с возможностью шарнирного соединения с четвертой поворотной частью посредством стержня, приводной элемент находится на третьей поворотной части, и первый конец приводного элемента выполнен с возможностью дистального вращения вокруг стержня.
[0039] В некоторых вариантах осуществления приводной зубец содержит первую боковую стенку и вторую боковую стенку, первая боковая стенка приводного зубца находится на дистальной стороне второй боковой стенки, первая боковая стенка приводного зубца представляет собой вертикальную поверхность, и вторая боковая стенка приводного зубца представляет собой направляющую поверхность.
[0040] В некоторых вариантах осуществления механизм дополнительно содержит: соединительный шток, выполненный с возможностью прохождения в аксиальном направлении сшивающего аппарата; деталь привода закрытия, находящуюся по меньшей мере частично в соединительном штоке и способную перемещаться в аксиальном направлении относительно соединительного штока, при этом первая стопорная часть выполнена с возможностью неподвижного расположения на проксимальной стороне детали привода закрытия; сбрасывающий элемент на проксимальной стороне соединительного штока, при этом сбрасывающий элемент находится по меньшей мере частично в соединительном штоке и способен перемещаться в аксиальном направлении относительно соединительного штока; при этом сбрасывающий элемент выполнен так, чтобы заставлять деталь привода закрытия перемещаться дистально, когда сбрасывающий элемент приводится в действие для перемещения дистально.
[0041] В некоторых вариантах осуществления механизм привода закрытия дополнительно содержит вторую стопорную часть, выполненную с возможностью расположения на проксимальной стороне первой стопорной части и прикрепленную в аксиальном направлении к корпусу основной части инструмента; при этом сбрасывающий элемент выполнен с возможностью примыкания к первой стопорной части, когда сбрасывающий элемент приводится в действие для перемещения дистально, и сбрасывающий элемент выполнен с возможностью остановки на второй стопорной части, когда сбрасывающий элемент приводится в действие для перемещения проксимально.
[0042] В некоторых вариантах осуществления основная часть инструмента снабжена сопрягаемой частью для второй стопорной части, и вторая стопорная часть выполнена так, чтобы быть соединенной с возможностью вращения с сопрягаемой частью.
[0043] В некоторых вариантах осуществления сопрягаемая часть для второй стопорной части представляет собой круговую канавку на корпусе, вторая стопорная часть представляет собой первый соединительный штифт, выполненный так, чтобы быть расположенным с возможностью перемещения на сбрасывающем элементе, и первый соединительный штифт выполнен так, чтобы быть расположенным с возможностью вращения в круговой канавке.
[0044] В некоторых вариантах осуществления механизм дополнительно содержит кольцевой фиксирующий элемент, первый соединительный штифт выполнен с возможностью неподвижного соединения с фиксирующим элементом, и фиксирующий элемент способен вращаться в круговой канавке.
[0045] В некоторых вариантах осуществления сбрасывающий элемент находится по меньшей мере частично в фиксирующем элементе, и сбрасывающий элемент способен перемещаться в аксиальном направлении относительно фиксирующего элемента.
[0046] В некоторых вариантах осуществления сбрасывающий элемент содержит сбрасываемую сопрягаемую часть и рабочую часть, выполненную с возможностью расположения на проксимальной стороне сбрасываемой сопрягаемой части, рабочая часть находится на проксимальной стороне второй стопорной части, вторая стопорная часть выполнена с возможностью прохождения через сбрасываемую сопрягаемую часть, и сбрасываемая сопрягаемая часть способна перемещаться в аксиальном направлении относительно второй стопорной части.
[0047] В некоторых вариантах осуществления боковая поверхность сбрасываемой сопрягаемой части снабжена пазом для скольжения, выполненным с возможностью прохождения в аксиальном направлении, и первый соединительный штифт находится по меньшей мере частично в пазе для скольжения и способен перемещаться вдоль направления прохождения паза для скольжения.
[0048] В некоторых вариантах осуществления паз для скольжения не соединен с дистальным концом и проксимальным концом сбрасываемой сопрягаемой части.
[0049] В некоторых вариантах осуществления между сбрасываемой сопрягаемой частью и первым соединительным штифтом предусмотрен первый смещающий элемент, и первый смещающий элемент выполнен с возможностью дистального смещения сбрасываемой сопрягаемой части.050] В некоторых вариантах осуществления в сбрасываемой сопрягаемой части предусмотрена полость, и первый смещающий элемент представляет собой первую возвратную пружину в полости; при этом первый конец первой возвратной пружины выполнен с возможностью примыкания к дистальному концу полости, и второй конец первой возвратной пружины выполнен с возможностью примыкания к первому соединительному штифту.
[0051] В некоторых вариантах осуществления первая стопорная часть представляет собой второй соединительный штифт, выполненный с возможностью прохождения через проксимальную сторону детали привода закрытия, и сбрасываемая сопрягаемая часть находится на проксимальной стороне второго соединительного штифта; при этом, когда сбрасывающий элемент приводится в действие для перемещения дистально, дистальная поверхность сбрасываемой сопрягаемой части примыкает ко второму соединительному штифту и заставляет деталь привода закрытия перемещаться дистально.
[0052] В некоторых вариантах осуществления механизм дополнительно содержит узел привода закрытия, узел привода закрытия содержит втулочную часть, втулочная часть выполнена так, чтобы быть надетой на соединительный шток, и способна перемещаться в аксиальном направлении относительно соединительного штока; при этом втулочная часть выполнена с возможностью неподвижного соединения с проксимальной стороной детали привода закрытия через второй соединительный штифт; при этом между втулочной частью и второй стопорной частью дополнительно предусмотрен второй смещающий элемент, второй смещающий элемент выполнен с возможностью дистального смещения втулочной части.
[0053] В настоящем изобретении дополнительно предоставлен хирургический сшивающий аппарат, содержащий вышеуказанный механизм привода закрытия.
[0054] Механизм привода закрытия и хирургический сшивающий аппарат имеют следующие преимущества.
[0055] В настоящем изобретении предоставлен механизм привода закрытия, используемый для хирургического сшивающего аппарата, при этом связующий узел используется в качестве механизма передачи между подвижной рукоятью и узлом привода закрытия. Когда необходимо закрыть узел головки, подвижную рукоять нажимают, и подвижная рукоять может заставлять узел привода закрытия перемещаться проксимально через связующий узел, и затем узел привода закрытия заставляет деталь привода закрытия перемещаться проксимально для закрытия узла головки. Конструкция является простой, и узел головки может быть эффективно закрыт по мере необходимости. Кроме того, состояние закрытия узла головки может поддерживаться стабильным посредством связующего узла.
КРАТКОЕ ОПИСАНИЕ ГРАФИЧЕСКИХ МАТЕРИАЛОВ
[0056] Другие признаки, задачи и преимущества настоящего изобретения станут более очевидными после прочтения подробного описания неограничивающих вариантов осуществления со ссылкой на приведенные ниже графические материалы.
[0057] На фиг. 1 представлен структурный схематический вид сшивающего аппарата согласно первому варианту осуществления настоящего изобретения.
[0058] На фиг. 2 представлен структурный схематический вид узла головки, взаимодействующего с деталью привода закрытия, согласно первому варианту осуществления настоящего изобретения.
[0059] На фиг. 3 представлен структурный схематический вид упора согласно первому варианту осуществления настоящего изобретения.
[0060] На фиг. 4 представлен структурный схематический вид платформы для инструмента без одной стороны корпуса согласно первому варианту осуществления настоящего изобретения.
[0061] На фиг. 5 представлен структурный схематический вид механизма привода закрытия согласно первому варианту осуществления настоящего изобретения.
[0062] На фиг. 6 представлен структурный схематический вид механизма привода закрытия без подвижной рукояти согласно первому варианту осуществления настоящего изобретения, при этом связующий узел находится в первом состоянии.
[0063] На фиг. 7 представлен структурный схематический вид связующего узла в первом состоянии согласно первому варианту осуществления настоящего изобретения.
[0064] На фиг. 8 представлен схематический вид первого связующего элемента, взаимодействующего со вторым связующим элементом, согласно первому варианту осуществления настоящего изобретения.
[0065] На фиг. 9 представлен структурный схематический вид узла привода закрытия согласно первому варианту осуществления настоящего изобретения.
[0066] На фиг. 10 представлен структурный схематический вид узла привода закрытия, взаимодействующего с корпусом, согласно первому варианту осуществления настоящего изобретения.
[0067] На фиг. 11 представлен структурный схематический вид механизма привода закрытия без подвижной рукояти согласно первому варианту осуществления настоящего изобретения, при этом связующий узел находится во втором состоянии.
[0068] На фиг. 12 представлен структурный схематический вид связующего узла во втором состоянии согласно первому варианту осуществления настоящего изобретения.
[0069] На фиг. 13 представлен схематический вид узла головки, взаимодействующего с соединительным штоком, согласно второму варианту осуществления настоящего изобретения.
[0070] На фиг. 14 представлен структурный схематический вид платформы для инструмента без одной стороны корпуса согласно второму варианту осуществления настоящего изобретения.
[0071] На фиг. 15 представлен структурный схематический вид механизма привода закрытия согласно второму варианту осуществления настоящего изобретения.
[0072] На фиг. 16 представлен структурный схематический вид механизма привода закрытия в первом состоянии согласно второму варианту осуществления настоящего изобретения.
[0073] На фиг. 17 представлен структурный схематический вид механизма привода закрытия во втором состоянии согласно второму варианту осуществления настоящего изобретения.
[0074] На фиг. 18 представлен структурный схематический вид связующего узла в первом состоянии, взаимодействующего со вторым закрывающим элементом, согласно второму варианту осуществления настоящего изобретения.
[0075] На фиг. 19 представлен структурный схематический вид связующего узла во втором состоянии, взаимодействующего со вторым закрывающим элементом, согласно второму варианту осуществления настоящего изобретения.
[0076] На фиг. 20 представлен структурный схематический вид связующего узла, взаимодействующего с узлом привода закрытия, согласно второму варианту осуществления настоящего изобретения.
[0077] На фиг. 21 представлен вид спереди связующего узла, взаимодействующего с узлом привода закрытия, согласно второму варианту осуществления настоящего изобретения.
[0078] На фиг. 22 представлен схематический вид соединительного штока, взаимодействующего с соединительным штифтом, согласно второму варианту осуществления настоящего изобретения.
[0079] На фиг. 23 представлен структурный схематический вид узла привода закрытия согласно второму варианту осуществления настоящего изобретения.
[0080] На фиг. 24 представлен структурный схематический вид второго закрывающего элемента согласно второму варианту осуществления настоящего изобретения.
[0081] На фиг. 25 представлен схематический вид узла привода закрытия согласно второму варианту осуществления настоящего изобретения.
[0082] На фиг. 26 представлен структурный схематический вид узла привода закрытия, взаимодействующего с деталью привода закрытия, согласно второму варианту осуществления настоящего изобретения.
[0083] На фиг. 27 представлен вид в поперечном разрезе, выполненном в направлении A1-A1 на фиг. 26.
[0084] На фиг. 28 представлен структурный схематический вид сшивающего аппарата согласно третьему варианту осуществления настоящего изобретения.
[0085] На фиг. 29 представлен структурный схематический вид платформы для инструмента без одной стороны корпуса согласно третьему варианту осуществления настоящего изобретения.
[0086] На фиг. 30 представлен структурный схематический вид связующего узла в первом состоянии, взаимодействующего с другими элементами, согласно третьему варианту осуществления настоящего изобретения.
[0087] На фиг. 31 представлен покомпонентный вид связующего узла согласно третьему варианту осуществления настоящего изобретения.
[0088] На фиг. 32 представлен вид сверху связующего узла в первом состоянии согласно третьему варианту осуществления настоящего изобретения.
[0089] На фиг. 33 представлен вид в поперечном разрезе, выполненном в направлении A2-A2 на фиг. 32.
[0090] На фиг. 34 представлен структурный схематический вид связующего узла во втором состоянии, взаимодействующего с другими элементами, согласно третьему варианту осуществления настоящего изобретения.
[0091] На фиг. 35 представлен структурный схематический вид связующего узла во втором состоянии согласно третьему варианту осуществления настоящего изобретения.
[0092] На фиг. 36 представлен вид в поперечном разрезе связующего узла во втором состоянии согласно третьему варианту осуществления настоящего изобретения.
[0093] На фиг. 37 представлен структурный схематический вид первого конца приводного элемента, входящего в установочную канавку, согласно третьему варианту осуществления настоящего изобретения.
[0094] На фиг. 38 представлен структурный схематический вид зубчатой рейки, оказывающей воздействие на приводной элемент, согласно третьему варианту осуществления настоящего изобретения.
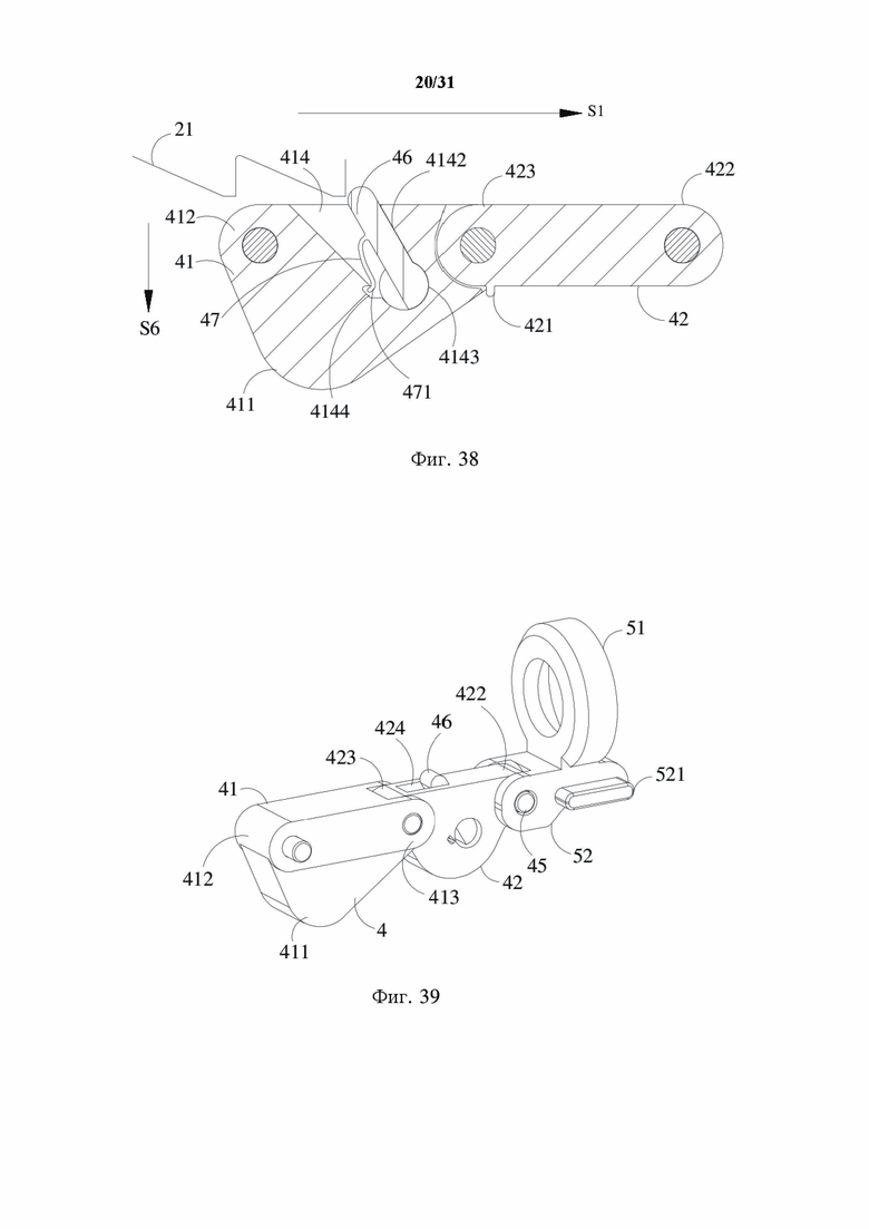
[0095] На фиг. 39 представлен структурный схематический вид связующего узла, взаимодействующего с частью узла привода закрытия, согласно третьему варианту осуществления настоящего изобретения.
[0096] На фиг. 40 представлен структурный схематический вид связующего узла во втором состоянии согласно четвертому варианту осуществления настоящего изобретения.
[0097] На фиг. 41 представлен вид в поперечном разрезе, выполненном в направлении A3-A3 на фиг. 40.
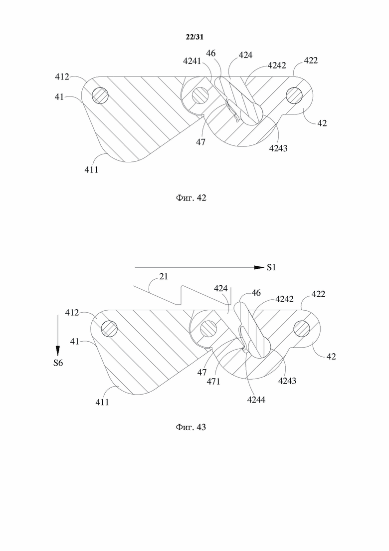
[0098] На фиг. 42 представлен структурный схематический вид первого конца приводного элемента, входящего в установочную канавку, согласно четвертому варианту осуществления настоящего изобретения.
[0099] На фиг. 43 представлен структурный схематический вид зубчатой рейки, оказывающей воздействие на приводной элемент, согласно четвертому варианту осуществления настоящего изобретения.
[00100] На фиг. 44 представлен структурный вид части механизма привода закрытия согласно пятому варианту осуществления настоящего изобретения.
[00101] На фиг. 45 представлен структурный схематический вид исполнительного элемента согласно пятому варианту осуществления настоящего изобретения.
[00102] На фиг. 46 представлен структурный схематический вид связующего узла, взаимодействующего с частью узла привода закрытия, согласно пятому варианту осуществления настоящего изобретения.
[00103] На фиг. 47 представлен структурный схематический вид платформы для инструмента без одной стороны корпуса согласно шестому варианту осуществления настоящего изобретения.
[00104] На фиг. 48 представлен вид сверху механизма переключения закрытия согласно шестому варианту осуществления настоящего изобретения.
[00105] На фиг. 49 представлен вид в поперечном разрезе, выполненном в направлении A4-A4 на фиг. 4.
[00106] На фиг. 50 представлен схематический вид по фиг. 49 без подвижной рукояти.
[00107] На фиг. 51 представлен структурный схематический вид механизма привода закрытия согласно шестому варианту осуществления настоящего изобретения.
[00108] На фиг. 52 представлен покомпонентный вид механизма привода закрытия без подвижной рукояти согласно шестому варианту осуществления настоящего изобретения.
[00109] На фиг. 53 представлен вид сверху сбрасывающего элемента, взаимодействующего с фиксирующим элементом, согласно шестому варианту осуществления настоящего изобретения.
[00110] На фиг. 54 представлен покомпонентный вид сбрасывающего элемента, взаимодействующего со второй стопорной частью, согласно шестому варианту осуществления настоящего изобретения.
[00111] На фиг. 55 представлен структурный схематический вид связующего узла в первом состоянии, взаимодействующего с другими элементами, согласно шестому варианту осуществления настоящего изобретения.
[00112] На фиг. 56 представлен структурный схематический вид связующего узла во втором состоянии, взаимодействующего с другими элементами, согласно шестому варианту осуществления настоящего изобретения.
[00113] На фиг. 57 представлен вид в поперечном разрезе связующего узла во втором состоянии согласно шестому варианту осуществления настоящего изобретения.
[00114] На фиг. 58 представлен схематический вид состояния сбрасывающего элемента после закрытия узла головки согласно шестому варианту осуществления настоящего изобретения.
[00115] На фиг. 59 представлен структурный схематический вид механизма привода закрытия, когда сбрасывающий элемент заставляют открывать узел головки, согласно шестому варианту осуществления настоящего изобретения.
[00116] На фиг. 60 представлен структурный схематический вид механизма переключения закрытия после закрытия узла головки согласно седьмому варианту осуществления настоящего изобретения.
ПОДРОБНОЕ ОПИСАНИЕ
[00117] Иллюстративные варианты осуществления будут более полно описаны путем сочетания графических материалов. Однако иллюстративные варианты осуществления могут быть реализованы в нескольких формах и не должны быть ограничены вариантами осуществления, описанными в настоящем документе. Напротив, предоставление этих вариантов осуществления сделает настоящее изобретение полным и завершенным, и полностью передаст идею иллюстративных вариантов осуществления специалистам в данной области техники. Одинаковые ссылочные позиции в графических материалах представляют одинаковые или подобные конструкции, поэтому их повторяющиеся описания будут пропущены.
[00118] В настоящем изобретении предоставлен механизм привода закрытия, используемый для хирургического сшивающего аппарата, и хирургический сшивающий аппарат, содержащий его. Сшивающий аппарат дополнительно содержит узел головки и платформу для инструмента, и узел головки расположен на дистальной стороне платформы для инструмента. Платформа для инструмента снабжена деталью привода закрытия для закрытия узла головки. Дистальная сторона детали привода закрытия соединена с узлом головки. Механизм привода закрытия содержит: связующий узел, содержащий первую поворотную часть и вторую поворотную часть, при этом первая поворотная часть шарнирно соединена с платформой для инструмента, и вторая поворотная часть расположена на проксимальной стороне первой поворотной части; при этом связующий узел имеет первое состояние и второе состояние; подвижную рукоять, содержащую первую сопрягаемую часть; узел привода закрытия, шарнирно соединенный со второй поворотной частью связующего узла. Когда связующий узел находится в первом состоянии и подвижная рукоять вращается в первом направлении, первая сопрягаемая часть заставляет связующий узел входить во второе состояние, вторая поворотная часть связующего узла перемещается проксимально и заставляет узел привода закрытия перемещаться проксимально. Узел привода закрытия соединен с деталью привода закрытия. Когда узел привода закрытия перемещается проксимально, деталь привода закрытия приводится в действие для перемещения проксимально, затем деталь привода закрытия заставляет узел головки закрываться.
[00119] Поэтому связующий узел используется в качестве механизма передачи между подвижной рукоятью и узлом привода закрытия. Когда необходимо закрыть узел головки, подвижную рукоять нажимают, и подвижная рукоять может заставлять узел привода закрытия перемещаться проксимально через связующий узел, и затем узел привода закрытия заставляет деталь привода закрытия перемещаться проксимально для закрытия узла головки. Конструкция является простой, и узел головки может быть эффективно закрыт по мере необходимости.
[00120] Конструкции механизмов привода закрытия в различных конкретных вариантах осуществления настоящего изобретения подробно описаны ниже со ссылкой на прилагаемые графические материалы. Следует понимать, что различные конкретные варианты осуществления не предназначены для ограничения объема правовой охраны настоящего изобретения.
[00121] Как показано на фиг. 1-12, в первом варианте осуществления настоящего изобретения предоставлены механизм привода закрытия, используемый для хирургического сшивающего аппарата, и хирургический сшивающий аппарат, содержащий его. Как показано на фиг. 1, сшивающий аппарат содержит узел 9 головки, платформу 1 для инструмента и механизм привода закрытия. Узел 9 головки расположен на дистальной стороне платформы 1 для инструмента. Как показано на фиг. 2 и фиг. 3, часть в виде узла 9 головки содержит упор 91 и узел 92 картриджа, расположенный относительно упора 91. Упор 91 имеет третье состояние на удалении от узла 92 картриджа и четвертое состояние вблизи узла 92 картриджа. Проксимальная сторона упора 91 снабжена наклонным первым пазом 911 для сопряжения, и проксимальная сторона узла 92 картриджа снабжена вторым пазом 921 для сопряжения, проходящим в аксиальном направлении сшивающего аппарата. Поворотный штифт 93 проходит как через первый паз 911 для сопряжения, так и через второй паз 921 для сопряжения. Когда поворотный штифт 93 расположен на дистальной стороне второй соответствующей канавки 921, упор 91 находится в третьем состоянии, и, когда поворотный штифт 93 перемещается из дистальной стороны в проксимальную сторону второй соответствующей канавки 921, упор 91 входит в четвертое состояние. Когда упор 91 находится в четвертом состоянии, упор 91 и узел 92 картриджа зажимают ткань. Процесс вхождения упора 91 в четвертое состояние из третьего состояния представляет собой процесс закрытия узла 9 головки, то есть процесс закрытия сшивающего аппарата. Платформа 1 для инструмента снабжена деталью 12 привода закрытия для закрытия узла 9 головки. Дистальный конец детали 12 привода закрытия соединен с поворотным штифтом 93. Когда деталь 12 привода закрытия перемещается проксимально, поворотный штифт 93 может перемещаться проксимально для закрытия узла 9 головки.
[00122] В настоящем изобретении дистальную сторону и проксимальную сторону определяют относительно оператора, сторона ближе к оператору является проксимальной стороной, а сторона, удаленная от оператора, то есть сторона рядом с операционным полем, является дистальной стороной. Направление вдоль оси сшивающего аппарата представляет собой аксиальное направление, то есть направление от дистальной стороны до проксимальной стороны сшивающего аппарата или от проксимальной стороны до дистальной стороны сшивающего аппарата. Например, согласно фиг. 1 для сшивающего аппарата дистальной стороной является левая сторона, и проксимальной стороной является правая сторона. Направление S1 на фиг. 1 представляет собой направление от дистальной стороны до проксимальной стороны сшивающего аппарата. Направление S1 или направление, противоположное направлению S1, определяется как аксиальное направление сшивающего аппарата. Направление S2 на фиг. 5 определяется как продольное направление, то есть направление по высоте.
[00123] Как показано на фиг. 4, платформа 1 для инструмента дополнительно содержит корпус 13, неподвижную рукоять 11, соединительный шток 18, проходящий в аксиальном направлении, и исполнительный элемент 2, надетый на соединительный шток 18. Деталь 12 привода закрытия расположена внутри соединительного штока 18, и деталь 12 привода закрытия способна перемещаться в аксиальном направлении относительно соединительного штока 18. Соединительный шток 18 представляет собой полый трубчатый шток и имеет дистальный конец, соединенный с узлом головки. Зубчатая рейка 21 предусмотрена на стороне исполнительного элемента 2. Механизм привода закрытия содержит связующий узел 4, подвижную рукоять 3 и узел 5 привода закрытия. Подвижная рукоять 3 соединена с возможностью перемещения с платформой 1 для инструмента и способна перемещаться относительно неподвижной рукояти 11. На фиг. 4 показано исходное положение подвижной рукояти 3. Когда подвижную рукоять 3 не нажимают, подвижная рукоять 3 расположена в исходном положении на удалении от неподвижной рукояти 11. Когда подвижную рукоять нажимают, подвижная рукоять 3 перемещается к неподвижной рукояти 11 в первом направлении (направлении S3 на фиг. 6, то есть направлении против часовой стрелки согласно фиг. 6). После достижения операционного поля узлом головки подвижная рукоять 3 нажимается, и механизм привода закрытия заставляет деталь 12 привода закрытия перемещаться проксимально, так что узел головки закрывается с зажиманием ткани. Конец подвижной рукояти 3, расположенный в платформе 1 для инструмента, снабжен защелкой 31 для продвижения, и защелка 31 для продвижения взаимодействует с зубчатой рейкой 21. После закрытия узла головки подвижная рукоять 3 нажимается снова, подвижная рукоять 3 перемещается в направлении неподвижной рукояти 11 и приводит в действие зубчатую рейку 21 через защелку 31 для продвижения, чтобы заставлять исполнительный элемент 2 перемещаться дистально. Исполнительный элемент 2 приводит в действие активирующий стержень, так что активирующий стержень заставляет нож и активирующий ползунок в узле головки перемещаться дистально, чтобы активировать сшивающий аппарат. Возвратная пружина 15 дополнительно предусмотрена в платформе 1 для инструмента. Когда подвижную рукоять 3 нажимают, возвратная пружина 15 сжимается и упруго деформируется. При разжатии подвижная рукоять 3 вращается в сторону от неподвижной рукояти 11 под действием силы, восстанавливающей деформацию, возвратной пружины 15 и затем возвращается в исходное положение подвижной рукояти 3.
[00124] Как показано на фиг. 5-8, связующий узел 4 содержит первую поворотную часть 412, вторую поворотную часть 422 и вторую сопрягаемую часть 411. Первая поворотная часть 412 шарнирно соединена с корпусом 13 платформы 1 для инструмента, то есть первая поворотная часть 412 может только вращаться относительно платформы 1 для инструмента, но не может перемещаться в аксиальном направлении относительно платформы 1 для инструмента. В аксиальном направлении первая поворотная часть 412 поддерживается в относительно фиксированном положении. Вторая поворотная часть 422 расположена на проксимальной стороне первой поворотной части 412. Связующий узел 4 имеет первое состояние и второе состояние. Вторая поворотная часть 422 способна перемещаться между третьей областью и четвертой областью. Вторая область находится на проксимальной стороне третьей области. Когда связующий узел 4 находится в первом состоянии, вторая поворотная часть 422 находится в третьей области. Когда связующий узел 4 находится во втором состоянии, вторая поворотная часть 422 находится в четвертой области. Поэтому, когда связующий узел 4 входит во второе состояние из первого состояния, вторая поворотная часть 422 перемещается проксимально из третьей области в четвертую область. Подвижная рукоять 3 дополнительно содержит первую сопрягаемую часть 32, выпуклую со стороны подвижной рукояти 3, обращенной к связующему узлу 4. Узел 5 привода закрытия шарнирно соединен со второй поворотной частью 422 связующего узла 4.
[00125] В исходном состоянии связующий узел 4 находится в первом состоянии, и подвижная рукоять 3 находится в ее исходном положении, показанном на фиг. 5. Когда связующий узел 4 находится в первом состоянии и подвижная рукоять 3 вращается в направлении S3, первая сопрягаемая часть 32 заставляет связующий узел 4 входить во второе состояние через вторую сопрягаемую часть 411. Вторая поворотная часть 422 связующего узла 4 перемещается проксимально и заставляет узел 5 привода закрытия, соединенный с деталью 12 привода закрытия, перемещаться проксимально, затем узел 5 привода закрытия заставляет деталь 12 привода закрытия перемещаться проксимально для закрытия узла 9 головки.
[00126] Связующий узел 4 представляет собой узел, образованный двумя или более стержнеобразными элементами, соединенными друг с другом посредством одной или более вращающихся пар. В данном варианте осуществления связующий узел 4 описан как содержащий два стержнеобразных элемента. Как показано на фиг. 5-8, связующий узел 4 содержит первый связующий элемент 41 и второй связующий элемент 42, расположенный на проксимальной стороне первого связующего элемента 41. Первый связующий элемент 41 содержит первую поворотную часть 412, вторую сопрягаемую часть 411 и третью поворотную часть 413. Вторая сопрягаемая часть 411 расположена на стороне первого связующего элемента 41, обращенной к подвижной рукояти 3. Первая поворотная часть 412 первого связующего элемента 41 шарнирно соединена с корпусом 13 платформы 1 для инструмента посредством первого стержня 43. Первый связующий элемент 41 представляет собой треугольную тягу, при этом первая поворотная часть 412 и третья поворотная часть 413 соответственно расположены в положении первой вершины и положении второй вершины треугольной тяги, и вторая сопрягаемая часть 411 предусмотрена в положении третьей вершины треугольной тяги. Конструкция треугольной тяги делает взаимодействие между первым связующим элементом 41 и подвижной рукоятью 3 более устойчивым. Внешняя поверхность второй сопрягаемой части 411 представляет собой дугообразную поверхность. Когда первая сопрягаемая часть 32 подвижной рукояти 3 заставляет первый связующий элемент 41 вращаться через вторую сопрягаемую часть 411, первая сопрягаемая часть 32 всегда взаимодействует со второй сопрягаемой частью 411 с относительно большой контактной поверхностью, чтобы избежать заклинивания. В других альтернативных вариантах осуществления первый связующий элемент 41 может быть элементом другой формы, например прямой тягой, дугообразной тягой, трапециевидной тягой, ромбовидной тягой и т. д.
[00127] Второй связующий элемент 42 содержит вторую поворотную часть 422 и четвертую поворотную часть 423, и третья поворотная часть 413 шарнирно соединена с четвертой поворотной частью 423. В варианте осуществления второй связующий элемент 42 представляет собой прямую тягу, и первый конец и второй конец второго связующего элемента 42 соответственно снабжены второй поворотной частью 422 и четвертой поворотной частью 423. В других альтернативных вариантах осуществления второй связующий элемент 42 может представлять собой элемент другой формы, например треугольную тягу, дуговую тягу, трапециевидную тягу, ромбовидную тягу и т. д. Третья поворотная часть 413 шарнирно соединена с четвертой поворотной частью 423 через второй стержень 44, и вторая поворотная часть 422 шарнирно соединена с узлом 5 привода закрытия через третий стержень 45. В данном варианте осуществления третья поворотная часть 413 содержит канавку, и четвертая поворотная часть 423 находится по меньшей мере частично в канавке третьей поворотной части 413. В другом альтернативном варианте осуществления четвертая поворотная часть 423 может содержать канавку, и третья поворотная часть 413 находится по меньшей мере частично в канавке четвертой поворотной части 423.
[00128] Как показано на фиг. 6, когда подвижная рукоять 3 вращается в направлении S3, первый связующий элемент 41 заставляют вращаться вокруг первого стержня 43 в направлении S3, и второй связующий элемент 42 вращается относительно первого связующего элемента 41 во втором направлении, то есть направлении S4. Направление S4 является противоположным направлению S3. Согласно фиг. 6 направление S4 представляет собой направление по часовой стрелке. На фиг. 5 и фиг. 6 показан связующий узел 4, взаимодействующий с другими элементами, в первом состоянии. Третья поворотная часть 413 и четвертая поворотная часть 423 расположены в положении, относительно удаленном от соединительного штока 18, и угол a1 образован между первым связующим элементом 41 и вторым связующим элементом 42. Аксиальное расстояние между центром второй поворотной части 422 и центром первой поворотной части 412 составляет L1, и связующий узел 4 находится в относительно компактном состоянии в аксиальном направлении. В это время внешняя поверхность второй сопрягаемой части 411 первого связующего элемента 41 примыкает к первой сопрягаемой части 32 подвижной рукояти 3. Связующий узел 4 находится в относительно устойчивом состоянии, так что, когда не нажимается подвижная рукоять 3, состояние связующего узла 4 поддерживается устойчивым, и узел 5 привода закрытия может хорошо поддерживаться в его исходном положении.
[00129] Как показано на фиг. 6, 9 и 10, узел 5 привода закрытия содержит втулочную часть 51 и приводную часть 52, соединенную со втулочной частью 51. Втулочная часть 51 надета на соединительный шток 18, и приводная часть 52 шарнирно соединена со второй поворотной частью 422. Отверстие 522 для сопряжения предусмотрено на дистальной стороне приводной части 52, и третий стержень 45 проходит через отверстие 522 для сопряжения. Сквозное отверстие 511 предусмотрено на проксимальной стороне втулочной части 51, и втулочная часть 51 неподвижно соединена с проксимальной стороной детали 12 привода закрытия посредством соединительного штифта 53. Когда приводная часть 52 перемещается проксимально, деталь 12 привода закрытия приводится в действие для перемещения проксимально через втулочную часть 51 и соединительный штифт 53. Фиксирующий элемент 14 дополнительно предусмотрен на проксимальной стороне соединительного штока 18. Фиксирующий элемент 14 расположен на проксимальной стороне втулочной части 51. Возвратная пружина 6 для закрытия предусмотрена между втулочной частью 51 и фиксирующим элементом 14. Возвратная пружина 6 для закрытия может представлять собой, например, пружину сжатия. Когда втулочная часть 51 перемещается проксимально, возвратная пружина 6 для закрытия сжимается втулочной частью 51 для упругого деформирования. После активации сшивающего аппарата во время процесса открытия узла головки возвратная пружина 6 для закрытия прикладывает движущую силу в направлении дистальной стороны на втулочной части 51, чтобы заставлять втулочную часть 51 возвращаться в ее исходное положение. В других альтернативных вариантах осуществления возвратная пружина 6 для закрытия может быть пружиной другого вида, например пружиной растяжения.
[00130] Как показано на фиг. 10, в данном варианте осуществления внутренняя поверхность корпуса 13 снабжена направляющим пазом 131, проходящим в аксиальном направлении, и приводная часть 52 узла 5 привода закрытия снабжена направляющей частью 521. Направляющая часть 521 представляет собой выпуклую полосу, проходящую в аксиальном направлении. Направляющая часть 521 находится по меньшей мере частично в направляющем пазе 131 и способна перемещаться вдоль направления прохождения направляющего паза 131, так что приводная часть 52 ограничена тем, что выполнена только с возможностью перемещения в аксиальном направлении. В другом альтернативном варианте осуществления направляющая часть может быть предусмотрена на внутренней поверхности корпуса 13, и приводная часть 52 узла 5 привода закрытия может быть снабжена направляющим пазом, проходящим в аксиальном направлении, и направляющая часть находится по меньшей мере частично в направляющем пазе и способна перемещаться вдоль направления прохождения направляющего паза. Направляющая часть, расположенная на приводной части 52 узла 5 привода закрытия или внутренней поверхности корпуса 13, может быть выпуклой полосой или выпуклым блоком, выпуклостью и т. д. Внутренние поверхности с двух сторон корпуса 13 могут быть соответственно снабжены одним из направляющих пазов или направляющих частей. Соответственно, каждая сторона приводной части 52 может быть соответственно снабжена одним из направляющих частей или направляющих пазов. В другом альтернативном варианте осуществления только одна сторона внутренней поверхности корпуса 13 может быть снабжена направляющим пазом или направляющей частью, и сторона приводной части 52 может быть снабжена направляющей частью или направляющим пазом.
[00131] Как описано выше, когда связующий узел 4 находится в первом состоянии и подвижная рукоять 3 нажимается для вращения в направлении S3, первый связующий элемент 41 вращается в направлении S3 вокруг первого стержень 43, и второй связующий элемент 42 вращается в направлении S4 относительно первого связующего элемента 41, так что связующий узел 4 входит во второе состояние. На фиг. 11 и 12 показана конструкция связующего узла 4 во втором состоянии согласно данному варианту осуществления.
[00132] Как показано на фиг. 11, во время процесса вхождения связующего узла 4 во второе состояние из первого состояния, третья поворотная часть 413 и четвертая поворотная часть 423 перемещаются в направлении соединительного штока 18 из положения в первом состоянии, то есть перемещаются вверх в положение, относительно близкое к соединительному штоку 18, согласно фиг. 11. В это время связующий узел 4 находится в относительно устойчивом втором состоянии. Угол между первым связующим элементом 41 и вторым связующим элементом 42 составляет a2, что больше, чем угол a1 в первом состоянии, показанном на фиг. 6. В другом варианте осуществления во время процесса вхождения связующего узла 4 во второе состояние из первого состояния угол между первым связующим элементом 41 и вторым связующим элементом 42 постепенно увеличивается от угла a1 в первом состоянии до 180°, и затем третья поворотная часть 413 и четвертая поворотная часть продолжают перемещаться в направлении соединительного штока 18 до тех пор, пока угол не составит a2. Во втором состоянии аксиальное расстояние между центром первой поворотной части 412 и центром второй поворотной части 422 составляет L2, и расстояние L2 больше, чем расстояние L1 в первом состоянии, показанном на фиг. 6. Связующий узел 4 находится в относительно развернутом состоянии в аксиальном направлении. Поскольку первая поворотная часть 412 не может перемещаться в аксиальном направлении относительно корпуса 13 платформы 1 для инструмента, вторая поворотная часть 422 перемещается проксимально и заставляет узел 5 привода закрытия перемещаться проксимально. Втулочная часть 51 сжимает возвратную пружину 6 для закрытия для деформирования, и узел 5 привода закрытия заставляет деталь 12 привода закрытия перемещаться проксимально для закрытия узла головки. В это время, поскольку второе состояние связующего узла 4 является относительно устойчивым, даже если подвижная рукоять 3 расцепляется и возвращается обратно в ее исходное положение под действием возвратной пружины 15, связующий узел 4 поддерживается во втором состоянии.
[00133] Как показано на фиг. 12, в данном варианте осуществления четвертая поворотная часть 423 снабжена выпуклой частью 421. Когда связующий узел 4 находится во втором состоянии, выпуклая часть 421 примыкает к внешней стенке снаружи канавки для предотвращения продолжения вращения второго связующего элемента 42 во втором направлении относительно первого связующего элемента 41, так что обеспечивается то, что третья поворотная часть 413 и четвертая поворотная часть 423 не продолжают перемещаться в направлении соединительного штока 18, так что обеспечивается устойчивость второго состояния.
[00134] В другом альтернативном варианте осуществления четвертая поворотная часть 423 может содержать канавку, третья поворотная часть 413 находится по меньшей мере частично в канавке четвертой поворотной части 423, и третья поворотная часть 413 снабжена выпуклой частью. Поэтому, когда связующий узел 4 находится во втором состоянии, выпуклая часть примыкает к внешней стенке снаружи канавки для предотвращения продолжения вращения второго связующего элемента 42 во втором направлении относительно первого связующего элемента 41, так что обеспечивается устойчивость второго состояния.
[00135] Поэтому связующий узел 4 согласно настоящему изобретению имеет два устойчивых состояния: первое состояние и второе состояние. Когда сшивающий аппарат находится в исходном состоянии и подвижная рукоять 3 расположена в ее исходном положении на удалении от неподвижной рукояти 11, связующий узел 4 находится в устойчивом первом состоянии, так что механизм привода закрытия является устойчивым, когда не нажимается подвижная рукоять 3, и деталь 12 привода закрытия не будет перемещаться в аксиальном направлении. Когда необходимо закрыть сшивающий аппарат, подвижная рукоять 3 нажимается для вращения в направлении неподвижной рукояти 11, так что связующий узел 4 приводится в действие для его вхождения во второе состояние, и затем поддерживается его устойчивое второе состояние. В это время деталь 12 привода закрытия перемещается проксимально для закрытия узла головки. В этом состоянии, когда подвижная рукоять 3 нажимается, чтобы продолжать вращаться, поскольку защелка 31 для продвижения подвижной рукояти 3 взаимодействует с зубчатой рейкой 21, активирующий стержень внутри платформы 1 для инструмента перемещается зубчатой рейкой, чтобы заставлять узел головки активировать сшивающий аппарат. Во время процесса активации сшивающего аппарата связующий узел 4 всегда поддерживается устойчиво во втором состоянии, так что обеспечивается то, что деталь 12 привода закрытия не перемещается дистально, и улучшается хирургический эффект.
[00136] На фиг. 13-27 показана конструкция механизма привода закрытия согласно второму варианту осуществления настоящего изобретения. Во время операции врачу необходимо, чтобы узел головки имел возможность гибкого вращения относительно платформы для инструмента, чтобы удовлетворять требованиям в сложных хирургических ситуациях. Второй вариант осуществления обеспечивает простое и эффективное решение. Когда врач работает с платформой для инструмента, узел головки может гибко вращаться в диапазоне 360°, так что сшивающий аппарат удобен в работе для врача. Во втором варианте осуществления, когда соединительный шток вращается вокруг его центральной оси, соединительный шток заставляет узел головки вращаться синхронно, так что узел головки выполнен с возможностью вращения вокруг центральной оси соединительного штока.
[00137] В данном втором варианте осуществления узел привода закрытия содержит первый закрывающий элемент и второй закрывающий элемент, первый закрывающий элемент окружает снаружи соединительный шток, первый закрывающий элемент соответственно соединен с проксимальной стороной соединительного штока и проксимальной стороной детали привода закрытия. Второй закрывающий элемент по меньшей мере частично надет на первый закрывающий элемент. Первый закрывающий элемент выполнен с возможностью вращения вокруг центральной оси соединительного штока относительно второго закрывающего элемента.
[00138] При этом первый закрывающий элемент относительно прикреплен к детали привода закрытия в аксиальном направлении. Когда второй закрывающий элемент перемещается проксимально, первый закрывающий элемент заставляет деталь привода закрытия перемещаться проксимально для закрытия узла головки. Первый закрывающий элемент, деталь привода закрытия и соединительный шток относительно прикреплены в круговом направлении соединительного штока. Когда соединительный шток вращается вокруг центральной оси соединительного штока, деталь привода закрытия и первый закрывающий элемент вращаются вокруг центральной оси соединительного штока. Поэтому, когда соединительный шток заставляет узел головки вращаться, деталь привода закрытия и первый закрывающий элемент вращаются синхронно, тогда как второй закрывающий элемент не вращается, так что это не влияет на функцию закрытия у механизма привода закрытия. Поэтому, когда соединительный шток вращается, это заставляет деталь привода закрытия и первый закрывающий элемент вращаться вместе. Вращение соединительного штока заставляет узел головки вращаться. Кроме того, поскольку первый закрывающий элемент выполнен с возможностью вращения относительно второго закрывающего элемента, когда первый закрывающий элемент вращается, предотвращается вращение второго закрывающего элемента, чтобы не влиять на функцию закрытия у механизма привода закрытия. Узел головки выполнен с возможностью вращения в диапазоне 360°.
[00139] Как показано на фиг. 13-27, во втором варианте осуществления предоставлены механизм привода закрытия, используемый для хирургического сшивающего аппарата, и хирургический сшивающий аппарат, содержащий его. Конструкция узла 50 привода закрытия согласно второму варианту осуществления отличается от конструкции узла 5 привода закрытия согласно первому варианту осуществления. Как показано на фиг. 13 и 14, сшивающий аппарат содержит узел 9 головки, платформу 1 для инструмента и механизм привода закрытия, при этом узел 9 головки расположен на дистальной стороне платформы для инструмента. Механизм привода закрытия содержит соединительный шток 18, деталь 12 привода закрытия и узел 5 привода закрытия. Как показано на фиг. 13, часть в виде узла 9 головки содержит упор 91 и узел 92 картриджа, расположенный относительно упора 91. Упор 91 имеет третье состояние на удалении от узла 92 картриджа и четвертое состояние вблизи узла 92 картриджа. Конструкция и принцип закрытия узла 9 головки деталью 12 привода закрытия являются такими же, как конструкция и принцип закрытия согласно первому варианту осуществления, и не описываются здесь подробно.
[00140] Как показано на фиг. 13 и 14, соединительный шток 18 проходит в аксиальном направлении сшивающего аппарата, и соединительный шток 18 находится по меньшей мере частично в корпусе 13 платформы 1 для инструмента. Дистальная сторона соединительного штока 18 соединена с узлом 9 головки. Когда соединительный шток 18 вращается в направлении S5 вокруг центральной оси S0 соединительного штока 18, соединительный шток 18 заставляет узел головки вращаться синхронно, так что узел 9 головки выполнен с возможностью вращения в направлении S5 вокруг центральной оси S0 и даже в диапазоне 360° относительно центральной оси S0 соединительного штока 18.
[00141] Как показано на фиг. 15-17, деталь 12 привода закрытия проходит в аксиальном направлении сшивающего аппарата и находится по меньшей мере частично в соединительном штоке 18. Узел 50 привода закрытия содержит первый закрывающий элемент 501 и второй закрывающий элемент 502. Первый закрывающий элемент 501 окружает снаружи соединительный шток 18, и первый закрывающий элемент 501 соответственно соединен с проксимальной стороной соединительного штока 18 и проксимальной стороной детали 12 привода закрытия. Второй закрывающий элемент 502 по меньшей мере частично надет на первый закрывающий элемент 501, и первый закрывающий элемент 501 выполнен с возможностью вращения вокруг центральной оси соединительного штока 18 относительно второго закрывающего элемента 502.
[00142] Первый закрывающий элемент 501 относительно прикреплен к детали 12 привода закрытия в аксиальном направлении сшивающего аппарата. Когда второй закрывающий элемент 502 перемещается проксимально, первый закрывающий элемент 501 заставляет деталь 12 привода закрытия перемещаться проксимально для закрытия узла головки. Первый закрывающий элемент 501, деталь 12 привода закрытия и соединительный шток 18 относительно прикреплены в круговом направлении соединительного штока 18. Когда соединительный шток 18 вращается вокруг центральной оси соединительного штока 18, деталь 12 привода закрытия и первый закрывающий элемент 501 вращаются вокруг центральной оси соединительного штока 18. Поэтому, когда соединительный шток 18 заставляет узел головки вращаться, деталь 12 привода закрытия и первый закрывающий элемент 501 вращаются синхронно, тогда как второй закрывающий элемент 502 не вращается, и это не будет влиять на функцию закрытия у механизма привода закрытия.
[00143] Как показано на фиг. 15-17, в данном варианте осуществления механизм привода закрытия дополнительно содержит узел передачи и подвижную рукоять 3. Узел передачи используется для передачи силы между подвижной рукоятью 3 и вторым закрывающим элементом 502. В данном варианте осуществления узел передачи представляет собой связующий узел 4, содержащий два или более стержнеобразных элемента, соединенных друг с другом посредством вращающейся пары. Как показано на фиг. 15, платформа 1 для инструмента содержит корпус 13, неподвижную рукоять 11 и исполнительный элемент 2, надетый на соединительный шток 18, и деталь 12 привода закрытия находится в соединительном штоке 18. Зубчатая рейка 21 предусмотрена на одной стороне исполнительного элемента 2. Подвижная рукоять 3 соединена с возможностью перемещения с платформой 1 для инструмента и способна перемещаться относительно неподвижной рукояти 11. На фиг. 15 показано исходное положение подвижной рукояти 33. Когда подвижную рукоять 33 нажимают, подвижная рукоять 3 перемещается в направлении S3 к неподвижной рукояти 11. Подвижная рукоять 3 заставляет узел 50 привода закрытия перемещаться проксимально через связующий узел 3, так что узел головки закрывается с зажиманием ткани. Один конец подвижной рукояти 3, который входит в платформу 1 для инструмента, снабжен защелкой 31 для продвижения, и защелка 31 для продвижения взаимодействует с зубчатой рейкой 21. После закрытия узла головки подвижная рукоять 3 нажимается снова, защелка 31 для продвижения приводит в действие зубчатую рейку 21, чтобы заставлять исполнительный элемент 2 перемещаться дистально, так что активирующий стержень, расположенный в платформе 1 для инструмента, перемещается с приведением в действие ножа и активирующего ползунка в узле головки, чтобы активировать сшивающий аппарат. Возвратная пружина 15 предусмотрена в платформе 1 для инструмента и имеет такую же функцию, как в первом варианте осуществления. Как показано на фиг. 15-17, связующий узел 4 содержит первую поворотную часть 412, шарнирно соединенную с платформой 1 для инструмента, и вторую поворотную часть 422. Вторая поворотная часть 422 расположена на проксимальной стороне первой поворотной части 412, и вторая поворотная часть 422 шарнирно соединена со вторым закрывающим элементом 502. Связующий узел 4 имеет первое состояние, показанное на фиг. 16, и второе состояние, показанное на фиг. 17, и подвижная рукоять 3 содержит первую сопрягаемую часть 32. В данном варианте осуществления связующий узел 4 содержит первый связующий элемент 41 и второй связующий элемент 42 на проксимальной стороне первого связующего элемента 41. Первый связующий элемент 41 содержит первую поворотную часть 412, третью поворотную часть 413 и сопрягаемую часть, второй связующий элемент 42 содержит вторую поворотную часть 422 и четвертую поворотную часть 423. Третья поворотная часть 413 шарнирно соединена с четвертой поворотной частью 423. Когда связующий узел 4 находится в первом состоянии, аксиальное расстояние между центром первой поворотной части 412 и центром второй поворотной части 422 составляет L1. В это время третья поворотная часть 413 и четвертая поворотная часть 423 расположены в положении, относительно удаленном от соединительного штока 18, и угол a1 образован между первым связующим элементом 41 и вторым связующим элементом 42. Внешняя поверхность второй сопрягаемой части 411 первого связующего элемента 41 примыкает к первой сопрягаемой части 32 подвижной рукояти 3. Связующий узел 4 находится в относительно устойчивом состоянии, так что состояние связующего узла 4 не будет изменяться, когда не нажимается подвижная рукоять 3, и узел 50 привода закрытия может хорошо поддерживаться в его исходном положении. Связующий узел 4 находится в относительно компактном состоянии в аксиальном направлении. Фиксирующий элемент 14 расположен на проксимальной стороне соединительного штока 18, и возвратная пружина 6 для закрытия расположена между механизмом привода закрытия и фиксирующим элементом 14. Возвратная пружина 6 для закрытия может представлять собой, например, пружину сжатия.
[00144] Когда связующий узел 4 находится в первом состоянии, показанном на фиг. 16, и подвижная рукоять 3 вращается в направлении S3, первый связующий элемент 41 вращается в первом направлении (направлении S3) вокруг первого стержня 43, и второй связующий элемент 42 вращается во втором направлении (направлении S4) относительно первого связующего элемента 41, так что связующий узел 4 входит во второе состояние, показанное на фиг. 17. Второе направление является противоположным первому направлению. Согласно фиг. 16 первое направление (направление S3) представляет собой направление против часовой стрелки, и второе направление (направление S4) представляет собой направление по часовой стрелке. Как показано на фиг. 17, третья поворотная часть 413 и четвертая поворотная часть 423 перемещаются в направлении соединительного штока 18 по сравнению с положением в первом состоянии, то есть перемещаются вверх в положение, относительно близкое к соединительному штоку 18, согласно фиг. 17. В это время связующий узел 4 находится в относительно устойчивом втором состоянии. Угол между первым связующим элементом 41 и вторым связующим элементом 42 составляет a2, что больше, чем угол a1 в первом состоянии, показанном на фиг. 16. Расстояние между центром первой поворотной части 412 и центром второй поворотной части 422 составляет L2, и расстояние L2 больше, чем расстояние L1 в первом состоянии, показанном на фиг. 16. Связующий узел 4 находится в относительно развернутом состоянии в аксиальном направлении. Поскольку первая поворотная часть 412 не может перемещаться в аксиальном направлении относительно корпуса 13 платформы 1 для инструмента, вторая поворотная часть 422 перемещается проксимально и заставляет второй закрывающий элемент 502 узла 50 привода закрытия перемещаться проксимально. Узел 50 привода закрытия сжимает возвратную пружину 6 для закрытия для деформирования, и второй закрывающий элемент 502 заставляет деталь 12 привода закрытия перемещаться проксимально через первый закрывающий элемент 501 для закрытия узла головки.
[00145] На фиг. 19 и фиг. 20 соответственно показан связующий узел 4, взаимодействующий со вторым закрывающим элементом 502, в первом состоянии и втором состоянии. Как показано на фиг. 19 и 20, первая поворотная часть 412 первого связующего элемента 41 шарнирно соединена с корпусом 13 платформы 1 для инструмента посредством первого стержня 43. Третья поворотная часть 413 шарнирно соединена с четвертой поворотной частью 423 посредством второго стержня 44, и вторая поворотная часть 422 шарнирно соединена с первой сопрягаемой частью 32 посредством третьего стержня 45. Конкретные формы и конструкции первого связующего элемента 41 и второго связующего элемента 42 являются такими же, как в первом варианте осуществления, и не описаны подробно в настоящем документе. Поэтому связующий узел 4 согласно настоящему изобретению имеет два устойчивых состояния: первое состояние и второе состояние. Когда сшивающий аппарат находится в исходном состоянии и подвижная рукоять 3 расположена в ее исходном положении на удалении от неподвижной рукояти 11, связующий узел 4 находится в устойчивом первом состоянии, так что механизм привода закрытия поддерживается устойчивым, когда не нажимается подвижная рукоять 3, и деталь 12 привода закрытия не будет перемещаться в аксиальном направлении. Когда необходимо закрыть сшивающий аппарат, подвижную рукоять 3 нажимают для вращения в направлении неподвижной рукояти 11, связующий узел 4 приводится в действие для его вхождения во второе состояние, и затем поддерживается его устойчивое второе состояние. В это время деталь 12 привода закрытия перемещается проксимально для закрытия узла головки. Поскольку второе состояние связующего узла 4 является относительно устойчивым, даже если подвижная рукоять 3 расцепляется и возвращается обратно в ее исходное положение под действием возвратной пружины 15, связующий узел 4 может поддерживаться во втором состоянии. В это время, когда подвижная рукоять 3 нажимается снова, защелка 31 для продвижения подвижной рукояти 3 заставляет зубчатую рейку 21 исполнительного элемента 2 перемещаться, активирующий стержень внутри платформы 1 для инструмента перемещается для приведения в действие узла головки, чтобы активировать сшивающий аппарат. Во время процесса активации сшивающего аппарата связующий узел 4 может всегда поддерживаться устойчиво во втором состоянии, так что обеспечивается то, что деталь 12 привода закрытия не перемещается дистально, так что улучшается хирургический эффект.
[00146] Как показано на фиг. 20 и 21, в данном варианте осуществления второй закрывающий элемент 502 содержит втулочную часть 5021 и приводную часть 5022, соединенную со втулочной частью 5021. Втулочная часть 5021 надета на первый закрывающий элемент 501, и первый закрывающий элемент 501 выполнен с возможностью вращения вокруг центральной оси соединительного штока 18 относительно втулочной части 5021. Отверстие 50222 для сопряжения, взаимодействующее с третьим стержнем 45, предусмотрено на дистальной стороне приводной части 5022. Первая канавка расположена на дистальной стороне приводной части 5022 второго закрывающего элемента 502, внутренняя стенка первой канавки снабжена отверстием 50222 для сопряжения, и вторая поворотная часть 422 находится по меньшей мере частично в первой канавке. В другом альтернативном варианте осуществления вторая поворотная часть 422 может быть снабжена первой канавкой, и дистальная сторона приводной части 5022 второго закрывающего элемента 502 находится по меньшей мере частично в первой канавке.
[00147] Как показано на фиг. 14, внутренняя поверхность корпуса 13 снабжена направляющим пазом 131, проходящим в аксиальном направлении, и приводная часть 5022 узла 50 привода закрытия снабжена направляющей частью 50221. Как показано на фиг. 20 и 21, направляющая часть 50221 представляет собой выпуклую полосу, проходящую в аксиальном направлении, и направляющая часть 50221 находится по меньшей мере частично в направляющем пазе 131 и способна перемещаться вдоль направления прохождения направляющего паза 131, так что приводная часть 5022 ограничена тем, что выполнена только с возможностью перемещения в аксиальном направлении. Приводная часть 5022 не может вращаться относительно корпуса 13, и вращение первого закрывающего элемента 501 не может обеспечивать вращение приводной части 5022, так что поддерживается относительно устойчивое взаимодействие между приводной частью 5022 и связующим узлом 4. В другом альтернативном варианте осуществления направляющая часть может быть предусмотрена на внутренней поверхности корпуса 13, и приводная часть 5022 узла 50 привода закрытия может быть снабжена направляющим пазом, проходящим в аксиальном направлении, и направляющая часть находится по меньшей мере частично в направляющем пазе и способна перемещаться вдоль направления прохождения направляющего паза. Направляющая часть на приводной части 5022 узла 50 привода закрытия или внутренней поверхности корпуса 13 может быть выпуклой полосой или выпуклым блоком, выпуклостью и т.д. Внутренние поверхности двух сторон корпуса 13 могут быть соответственно снабжены одним из направляющих пазов или направляющих частей. Соответственно, каждая сторона приводной части 5022 может быть снабжена одним из направляющих частей или направляющих пазов. В другом альтернативном варианте осуществления только одна сторона внутренней поверхности корпуса 13 может быть снабжена направляющим пазом или направляющей частью, и сторона приводной части 5022 может быть снабжена направляющей частью или направляющим пазом.
[00148] Как показано на фиг. 21 и 22, вторая часть 5014 в виде стержня снабжена сквозным отверстием 5011, соединительный штифт 503 проходит через сквозное отверстие 5011, и соединительный штифт 503 проходит как через проксимальную сторону соединительного штока 18, так и через проксимальную сторону детали 12 привода закрытия. Соединительный штифт 503 взаимодействует с деталью 12 привода закрытия следующим образом: отверстие, имеющее такой размер, чтобы подходить под внешний диаметр соединительного штифта 503, предусмотрено на проксимальной стороне детали 12 привода закрытия, и соединительный штифт 503 проходит через отверстие на проксимальной стороне детали 12 привода закрытия. Когда первый закрывающий элемент 501 перемещается проксимально, деталь 12 привода закрытия перемещается проксимально через соединительный штифт 503. Соединительный штифт 503 взаимодействует с соединительным штоком 18 следующим образом: канавка 181 для штифта, проходящая в аксиальном направлении, предусмотрена на проксимальной стороне соединительного штока 18, и соединительный штифт 503 находится по меньшей мере частично в канавке 181 для штифта и способен перемещаться вдоль направления прохождения канавки 181 для штифта. Поэтому, когда первый закрывающий элемент 501 перемещается проксимально, соединительный штифт 503 перемещается в аксиальном направлении в канавке 181 для штифта, не заставляя соединительный шток 18 перемещаться в аксиальном направлении. Когда связующий узел 4 находится в первом состоянии, соединительный штифт 503 находится на дистальной стороне канавки 181 для штифта. Когда связующий узел 4 входит во второе состояние из первого состояния, соединительный штифт 503 приводится в действие для перемещения проксимально через второй закрывающий элемент 502 и первый закрывающий элемент 501 последовательно, так что соединительный штифт 503 перемещается на проксимальную сторону канавки 181 для штифта. В то же время первый закрывающий элемент 501, деталь 12 привода закрытия и соединительный шток 18 образуют неподвижное по окружности соединение через канавку 181 для штифта, то есть, когда соединительный шток 18 заставляет узел головки вращаться вокруг центральной оси соединительного штока 18, деталь 12 привода закрытия и первый закрывающий элемент 501 одновременно приводятся в действие для вращения вокруг центральной оси соединительного штока 18 через соединительный штифт 503. В это время второй закрывающий элемент 502 не вращается и сохраняет устойчивое взаимодействие со связующим узлом 4.
[00149] Как показано на фиг. 25, первый закрывающий элемент 501 содержит часть в виде стержня и дисковую часть 5012, часть в виде стержня содержит первую часть 5013 в виде стержня и вторую часть 5014 в виде стержня, первая часть 5013 в виде стержня соединена между второй частью 5014 в виде стержня и дисковой частью 5012, и дисковая часть 5012 находится на проксимальной стороне первой части 5013 в виде стержня. Как показано на фиг. 17 и 18, возвратная пружина 6 для закрытия расположена между первым закрывающим элементом 501 и фиксирующим элементом 14. В варианте осуществления, показанном на фиг. 20 и 27, кольцевая вторая ступенчатая поверхность 5015 предусмотрена между первой частью 5013 в виде стержня и второй частью 5014 в виде стержня. Возвратная пружина 6 для закрытия расположена между второй ступенчатой поверхностью 5015 и фиксирующим элементом 14. Когда первый закрывающий элемент 501 приводится в действие для перемещения проксимально, вторая ступенчатая поверхность 5015 сжимает возвратную пружину 6 для закрытия для деформирования. Как показано на фиг. 24-27, первая кольцевая ступенчатая поверхность 50211 предусмотрена на проксимальной стороне втулочной части 5021 второго закрывающего элемента 502, часть в виде стержня находится по меньшей мере частично во втулочной части 5021, и дисковая часть 5012 расположена на проксимальной стороне первой ступенчатой поверхности 50211. Внешний диаметр первой части 5013 в виде стержня меньше, чем внешний диаметр второй части 5014 в виде стержня. Первая часть 5013 в виде стержня находится по меньшей мере частично во втулочной части 5021, и внешний диаметр второй части 5014 в виде стержня меньше, чем внутренний диаметр первой ступенчатой поверхности 50211, так что вторая часть 5014 в виде стержня может вращаться свободно относительно втулочной части 5021. В исходном состоянии первая ступенчатая поверхность 50211 может примыкать к дистальной поверхности дисковой части 5012, или первая ступенчатая поверхность 50211 имеет определенное аксиальное расстояние от дистальной поверхности дисковой части 5012. Внутренний диаметр первой ступенчатой поверхности 50211 меньше, чем внешний диаметр дисковой части 5012. Поэтому, когда вторая поворотная часть 422 заставляет приводную часть 5022 перемещаться проксимально, втулочная часть 5021 перемещается проксимально до тех пор, пока первая ступенчатая поверхность 50211 не будет примыкать к дистальной стороне дисковой части 5012, и затем втулочная часть 5021 продолжает перемещаться проксимально, так что дисковая часть 5012 может заставлять первый закрывающий элемент 501 перемещаться проксимально, чтобы в целом приводить в действие деталь 12 привода закрытия проксимально. Внешний диаметр дисковой части 5012 меньше, чем внутренний диаметр втулочной части 5021, так что дисковая часть 5012 может вращаться свободно внутри втулочной части 5021.
[00150] Кроме того, в вариантах осуществления настоящего изобретения с третьего по пятый механизм привода закрытия может также автоматически открывать узел головки. В вариантах осуществления настоящего изобретения с третьего по пятый исполнительный элемент содержит переключающий элемент. Исполнительный элемент способен перемещаться между первой областью и второй областью, и вторая область расположена на дистальной стороне первой области.
[00151] Во время процесса активации сшивающего аппарата связующий узел поддерживается во втором состоянии, и исполнительный элемент перемещается из первой области во вторую область в дистальном направлении. После активации сшивающего аппарата связующий узел находится во втором состоянии, и, когда исполнительный элемент приводится в действие для перемещения из второй области в первую область, переключающий элемент отводит связующий узел в сторону от исполнительного элемента, так что связующий узел входит в первое состояние, третья поворотная часть и четвертая поворотная часть перемещаются в сторону от исполнительного элемента, и вторая поворотная часть заставляет деталь привода закрытия перемещаться дистально через узел привода закрытия, чтобы автоматически открывать узел головки.
[00152] На фиг. 28-38 представлены структурные схематические виды механизма привода закрытия и хирургического сшивающего аппарата согласно третьему варианту осуществления настоящего изобретения. Сшивающий аппарат содержит узел 9 головки, платформу 1 для инструмента и механизм привода закрытия, при этом узел 9 головки расположен на дистальной стороне платформы 1 для инструмента. Как показано на фиг. 28 и фиг. 38, часть в виде узла 9 головки содержит упор 91 и узел 92 картриджа, расположенный относительно упора 91. Упор 91 имеет третье состояние на удалении от узла 92 картриджа и четвертое состояние вблизи узла 92 картриджа. Процесс переключения между третьим состоянием и четвертым состоянием упора 91 относительно узла 92 картриджа является таким же, как процесс переключения согласно первому варианту осуществления, и не описывается здесь подробно. Процесс вхождения упора 91 в четвертое состояние из третьего состояния называется процессом закрытия узла 9 головки, то есть процессом закрытия сшивающего аппарата. Во время процесса активации сшивающего аппарата необходимо сохранять закрытым узел 9 головки. После активации сшивающего аппарата поворотный штифт 93 и деталь 12 привода закрытия перемещаются дистально c открытием узла 9 головки.
[00153] Как показано на фиг. 29-31, механизм привода закрытия дополнительно содержит связующий узел 4, исполнительный элемент 2 и узел 5 привода закрытия. Связующий узел 4 содержит первый связующий элемент 41 и второй связующий элемент 42 на проксимальной стороне первого связующего элемента 41. Первый связующий элемент 41 содержит первую поворотную часть 412 и третью поворотную часть 413. Второй связующий элемент 42 содержит вторую поворотную часть 422 и четвертую поворотную часть 423. Структура взаимодействия между первым связующим элементом 41 и вторым связующим элементом 42, структура взаимодействия между первым связующим элементом 41 и корпусом 13 и структура взаимодействия между вторым связующим элементом 42 и узлом 5 привода закрытия являются такими же, как структура взаимодействия согласно первому варианту осуществления, и не описываются подробно в настоящем документе.
[00154] Связующий узел 4 имеет первое состояние и второе состояние. Когда связующий узел 4 находится в первом состоянии, вторая поворотная часть 422 находится в третьей области. Когда связующий узел 4 находится во втором состоянии, вторая поворотная часть 422 находится в четвертой области. Четвертая область находится на проксимальной стороне третьей области. То есть, когда связующий узел 4 входит во второе состояние из первого состояния, вторая поворотная часть 422 перемещается проксимально. Исполнительный элемент 2 содержит переключающий элемент. В данном варианте осуществления переключающий элемент представляет собой зубчатую рейку 21, расположенную на одной стороне исполнительного элемента 2. Исполнительный элемент 2 способен перемещаться между первой областью и второй областью, при этом вторая область расположена на дистальной стороне первой области.
[00155] В данном варианте осуществления первая область относится к положению исполнительного элемента 2 в исходном состоянии сшивающего аппарата, то есть положению исполнительного элемента 2, показанному на фиг. 29. Вторая область относится к области, где исполнительный элемент 2 расположен после активации сшивающего аппарата. Во время процесса активации сшивающего аппарата нажимается подвижная рукоять 3, и защелка 31 для продвижения подвижной рукояти 3 взаимодействует с зубчатой рейкой 21, чтобы заставлять исполнительный элемент 2 перемещаться из первой области во вторую область. Как показано на фиг. 27, возвращающий элемент 7 закреплен на исполнительном элементе 2. Во время процесса активации сшивающего аппарата возвращающий элемент 7 перемещается дистально вместе с исполнительным элементом 2. Исполнительный элемент 2 приводит в действие активирующий стержень на дистальной стороне, чтобы активировать сшивающий аппарат. После активации сшивающего аппарата исполнительный элемент 2 находится во второй области. За счет работы возвращающего элемента 7 с его проксимальным перемещением возвращающий элемент 7 заставляет исполнительный элемент 2 возвращаться из второй области в исходную первую область.
[00156] Когда связующий узел 4 входит во второе состояние из первого состояния, вторая поворотная часть 422 заставляет деталь 12 привода закрытия перемещаться проксимально через узел 5 привода закрытия для закрытия узла 9 головки. Когда связующий узел 4 находится во втором состоянии и исполнительный элемент 2 перемещается из второй области в первую область, переключающий элемент отводит связующий узел 4 в сторону от исполнительного элемента 2, так что связующий узел 4 входит в первое состояние, при этом третья поворотная часть 413 и четвертая поворотная часть 423 перемещаются в сторону от исполнительного элемента 2, и вторая поворотная часть 422 заставляет деталь 12 привода закрытия перемещаться дистально через узел 5 привода закрытия, чтобы автоматически открывать узел 9 головки.
[00157] Как показано на фиг. 29, платформа для инструмента содержит корпус 13 и неподвижную рукоять 11. Механизм привода закрытия дополнительно содержит подвижную рукоять 3, соединенную с возможностью перемещения с платформой для инструмента. Возвратная пружина 15 расположена в платформе для инструмента. Подвижная рукоять 3 снабжена защелкой 31 для продвижения, взаимодействующей с зубчатой рейкой 21. Структура взаимодействия между подвижной рукоятью 3 и первым связующим элементом 41 и формы первого связующего элемента 41 и второго связующего элемента 42 являются такими же, как в первом варианте осуществления, конструкция узла 5 привода закрытия и структура взаимодействия между узлом 5 привода закрытия и вторым связующим элементом 42 являются такими же, как в первом варианте осуществления, и не описываются здесь подробно.
[00158] Как показано на фиг. 29-33, связующий узел 4 дополнительно содержит приводной элемент 46. Первая установочная канавка 414 предусмотрена на боковой поверхности первого связующего элемента 41, обращенной к исполнительному элементу 2. Второй конец приводного элемента 46 установлен в первой установочной канавке 414, и первый конец приводного элемента 46 проходит наружу от боковой поверхности первого связующего элемента 41, обращенной к исполнительному элементу 2. Первая установочная канавка 414 содержит первую боковую стенку 4141, вторую боковую стенку 4142 и нижнюю стенку 4143. Первая боковая стенка 4141 расположена на дистальной стороне второй боковой стенки 4142. В исходном состоянии приводной элемент 46 расположен вблизи второй боковой стенки 4142 первого установочного отверстия, и первый зазор образован между приводным элементом 46 и первой боковой стенкой 4141. Эластичный элемент 47 расположен между приводным элементом 46 и первой боковой стенкой 4141 для смещения приводного элемента 46 в направлении второй боковой стенки 4142. Когда связующий узел 4 находится в первом состоянии, приводной элемент 46 примыкает ко второй боковой стенке 4142. В данном варианте осуществления эластичный элемент 47 представляет собой эластичную деталь, такую как металлическая эластичная деталь, пластиковая эластичная деталь и т.д. Первый конец эластичной детали соединен с приводным элементом 46, второй конец эластичной детали имеет сгибаемую часть 471. Сторона первой боковой стенки 4141 снабжена первой блокирующей канавкой 4144, и сгибаемая часть 471 находится в первой блокирующей канавке 4144, чтобы поддерживать эластичную деталь в устойчивом закрепленном состоянии. Второй конец приводного элемента 46 шарнирно соединен с нижней стенкой 4143 первого установочного паза 414. По меньшей мере часть внешней стенки второго конца приводного элемента 46 представляет собой первую дугообразную поверхность 461, и по меньшей мере часть нижней стенки 4143 первой установочной канавки 414 представляет собой вторую дугообразную поверхность. Первая дугообразная поверхность 461 подходит под вторую дугообразную поверхность, и первая дугообразная поверхность 461 выполнена с возможностью вращения относительно второй дугообразной поверхности. Когда связующий узел 4 находится во втором состоянии и исполнительный элемент 2 перемещается из второй области в первую область, зубчатая рейка 21 нажимает на первый конец приводного элемента 46, отводя его в сторону от исполнительного элемента 2. В другом альтернативном варианте осуществления эластичный элемент 47 может представлять собой пружину или другие эластичные элементы.
[00159] Принцип работы механизма привода закрытия подробно описан ниже со ссылкой на каждый этап процесса работы сшивающего аппарата.
[00160] Как показано на фиг. 29-33, в исходном состоянии связующий узел 4 находится в первом состоянии, подвижная рукоять 3 находится в исходном положении на удалении от неподвижной рукояти 11, и исполнительный элемент 2 находится в первой области. Как показано на фиг. 30, в это время третья поворотная часть 413 и четвертая поворотная часть 423 расположены относительно на удалении от исполнительного элемента 2. Расстояние между центром первой поворотной части 412 и центром второй поворотной части 422 составляет L1, и связующий узел 4 находится в относительно компактном состоянии в аксиальном направлении. Как показано на фиг. 33, между первым связующим элементом 41 и вторым связующим элементом 42 образован угол a1. Приводной элемент 46 расположен вблизи второй боковой стенки 4142 первой установочной канавки 414, и первый конец приводного элемента 46 проходит наружу от боковой поверхности первого связующего элемента 41, обращенной к исполнительному элементу 2. Поскольку третья поворотная часть 413 и четвертая поворотная часть 423 находятся относительно на удалении от исполнительного элемента 2, зубчатая рейка 21 не будет оказывать воздействие на приводной элемент 46. В это время внешняя поверхность второй сопрягаемой части 411 первого связующего элемента 41 примыкает к первой сопрягаемой части 32 подвижной рукояти 3. Связующий узел 4 находится в относительно устойчивом состоянии, так что, когда не нажимается подвижная рукоять 3, состояние связующего узла 4 поддерживается устойчивым, и узел 5 привода закрытия может хорошо поддерживаться в его исходном положении.
[00161] После достижения операционного поля узлом 9 головки подвижная рукоять 3 нажимается для вращения в первом направлении, и второй связующий элемент 42 вращается во втором направлении, то есть направлении S4, относительно первого связующего элемента 41. Согласно фиг. 30 направление S4 представляет собой направление по часовой стрелке. На фиг. 34-36 показана конструкция связующего узла 4 во втором состоянии.
[00162] Как показано на фиг. 34-36, во время вхождения связующего узла 4 во второе состояние из первого состояния третья поворотная часть 413 и четвертая поворотная часть 423 перемещаются в направлении исполнительного элемента 2 по сравнению с положением в первом состоянии, то есть перемещаются вверх в положение, относительно близкое к исполнительному элементу 2, согласно фиг. 34. В это время связующий узел 4 находится в относительно устойчивом втором состоянии. Аксиальное расстояние между центром первой поворотной части 412 и центром второй поворотной части 422 составляет L2, и расстояние L2 больше, чем аксиальное расстояние L1 в первом состоянии, показанном на фиг. 30. Связующий узел 4 находится в относительно развернутом состоянии в аксиальном направлении. Как показано на фиг. 36, угол между первым связующим элементом 41 и вторым связующим элементом 42 составляет a2, что больше, чем угол a1 в первом состоянии, показанном на фиг. 33. Поскольку первая поворотная часть 412 не может перемещаться в аксиальном направлении относительно корпуса 13, вторая поворотная часть 422 перемещается проксимально и заставляет узел 5 привода закрытия перемещаться проксимально, втулочная часть 51 сжимает возвратную пружину 6 для закрытия для деформирования, и узел 5 привода закрытия заставляет деталь 12 привода закрытия перемещаться проксимально для закрытия узла 9 головки.
[00163] Во время процесса активации сшивающего аппарата связующий узел 4 остается во втором состоянии. Когда подвижную рукоять 3 нажимают снова, защелка 31 для продвижения подвижной рукояти 3 приводит в действие зубчатую рейку 21, так что зубчатая рейка 21 заставляет исполнительный элемент 2 перемещаться из первой области во вторую область на дистальной стороне, и возвращающий элемент 7 также перемещается дистально. Как показано на фиг. 37, во время процесса активации сшивающего аппарата зубцы зубчатой рейки 21 контактируют с первым концом приводного элемента 46 и заставляют первый конец приводного элемента 46 перемещаться дистально, первый конец приводного элемента 46 по меньшей мере частично входит в первую установочную канавку 414, и эластичный элемент 47 сжимается и упруго деформируется. В это время приводной элемент 46 не блокирует дистальное перемещение зубчатой рейки 21, так что третья поворотная часть 413 и четвертая поворотная часть 423 не могут быть принудительно отведены от исполнительного элемента 2. Связующий узел 4 может поддерживаться во втором состоянии, чтобы сохранить устойчивость закрытия узла 9 головки и избежать случайного открытия узла 9 головки во время процесса активации сшивающего аппарата.
[00164] После активации сшивающего аппарата исполнительный элемент 2 перемещается во вторую область. Зубчатая рейка 21 перемещается на дистальную сторону первого конца приводного элемента 46, и зубчатая рейка 21 больше не влияет на приводной элемент 46. Под действием силы, восстанавливающей деформацию, эластичного элемента 47 первый конец приводного элемента 46 вращается проксимально и возвращается в положение, показанное на фиг. 36. Исполнительный элемент 2 соединен с возвращающим элементом 7 (показанным на фиг. 30) посредством четвертого стержня 23 (показанного на фиг. 30), и направляющий паз для направления перемещения возвращающего элемента 7 предусмотрен на корпусе 13. Когда исполнительный элемент 2 перемещается во вторую область, возвращающий элемент 7 перемещается на дистальную сторону направляющего паза. В это время оператор вручную управляет возвращающим элементом 7, чтобы он перемещался в направлении проксимального конца направляющего паза, возвращающий элемент 7 заставляет исполнительный элемент 2 перемещаться проксимально. Как показано на фиг. 38, когда зубчатая рейка 21 перемещается из второй области в первую область, зубчатая рейка 21 отводит приводной элемент 46 в сторону от исполнительного элемента 2, и первый конец приводного элемента 46 блокируется второй боковой стенкой 4142 первой установочной канавки 414 и не может вращаться проксимально. Поэтому приводной элемент 46 сначала блокирует проксимальное перемещение зубчатой рейки 21. Зубчатая рейка 21 прилагает направленную вниз силу к первому концу приводного элемента 46, и третья поворотная часть 413 и четвертая поворотная часть 423 перемещаются в сторону от исполнительного элемента 2 (в направлении S6 на фиг. 38), так что связующий узел 4 входит в первое состояние. В то же время вторая поворотная часть 422 заставляет деталь 12 привода закрытия перемещаться дистально через узел 5 привода закрытия для автоматического открытия узла 9 головки.
[00165] На фиг. 39-43 представлены структурные схематические виды части механизма привода закрытия согласно четвертому варианту осуществления настоящего изобретения. Четвертый вариант осуществления отличается от третьего варианта осуществления только тем, что вторая установочная канавка 424 предусмотрена на стороне второго связующего элемента 42, обращенной к исполнительному элементу 2, и второй конец приводного элемента 46 установлен во второй установочной канавке 424. Вторая установочная канавка 424 содержит первую боковую стенку 4241, вторую боковую стенку 4242 и нижнюю стенку 4243. Первая боковая стенка 4241 расположена на дистальной стороне второй боковой стенки 4242. В исходном состоянии приводной элемент 46 расположен вблизи второй боковой стенки 4242 первой установочной канавки 4244, и первый зазор образован между приводным элементом 46 и первой боковой стенкой 4241. Эластичный элемент 47 расположен между приводным элементом 46 и первой боковой стенкой 4241. В данном варианте осуществления эластичный элемент 47 представляет собой эластичную деталь, такую как металлическая эластичная деталь, пластиковая эластичная деталь и т. д. Первый конец эластичной детали соединен с приводным элементом 46, и второй конец эластичной детали имеет сгибаемую часть 471. Конец первой боковой стенки 4241 снабжен второй блокирующей канавкой 4244, и сгибаемая часть 471 входит во вторую блокирующую канавку 4244 для поддержания устойчивости положения эластичной детали. По меньшей мере часть внешней стенки второго конца приводного элемента 46 представляет собой первую дугообразную поверхность 461, и по меньшей мере часть нижней стенки 4243 второй установочной канавки 424 представляет собой вторую дугообразную поверхность. Первая дугообразная поверхность 461 подходит под вторую дугообразную поверхность, и первая дугообразная поверхность 461 выполнена с возможностью вращения относительно второй дугообразной поверхности. Когда связующий узел 4 находится во втором состоянии и исполнительный элемент 2 перемещается из второй области в первую область, зубчатая рейка 21 отводит первый конец приводного элемента 46 в сторону от исполнительного элемента 2. В другом альтернативном варианте осуществления эластичный элемент 47 может представлять собой пружину или эластичные элементы других видов. Конструкции других элементов в четвертом варианте осуществления, таких как исполнительный элемент 2, подвижная рукоять 3, соединительный шток 18, деталь 12 привода закрытия, узел 5 привода закрытия, платформа 1 для инструмента, узел 9 головки и т. д., могут быть такими же, как в третьем варианте осуществления, или могут отличаться от конструкций, представленных в третьем варианте осуществления, и представлять собой другие конструкции, все из которых входят в объем правовой охраны настоящего изобретения.
[00166] Принцип закрытия сшивающего аппарата в четвертом варианте осуществления является таким же, как в третьем варианте осуществления. На фиг. 41 показана конструкция, когда связующий узел находится во втором состоянии и зубчатая рейка 21 не оказывает воздействия на приводной элемент 46, в это время первый конец приводного элемента 46 проходит наружу от боковой поверхности второго связующего элемента 42, обращенной к исполнительному элементу 2. Как показано на фиг. 42, во время процесса активации сшивающего аппарата зубчатая рейка 21 заставляет первый конец приводного элемента 46 перемещаться дистально и по меньшей мере частично входить во вторую установочную канавку 424, чтобы не блокировать дистальное перемещение зубчатой рейки 21. Как показано на фиг. 43, после активации сшивающего аппарата возвращающий элемент 7 принудительно перемещается проксимально, зубчатая рейка 21 перемещается проксимально и оказывает воздействие на первый конец приводного элемента 46, зубчатая рейка 21 отводит приводной элемент 46 в сторону от исполнительного элемента 2, так что третья поворотная часть 413 и четвертая поворотная часть 423 перемещаются в сторону от исполнительного элемента 2, и связующий узел 4 возвращается в первое состояние. В то же время вторая поворотная часть 422 заставляет деталь 12 привода закрытия перемещаться проксимально через узел 5 привода закрытия, чтобы автоматически открывать узел головки.
[00167] На фиг. 44-46 представлены структурные схематические виды части механизма привода закрытия согласно пятому варианту осуществления настоящего изобретения. Пятый вариант осуществления отличается от третьего варианта осуществления тем, что по меньшей мере одна сторона первого связующего элемента 41 снабжена приводным элементом 48, и приводной элемент 48 соединен с возможностью вращения с боковой стенкой первого связующего элемента 41, и переключающий элемент представляет собой приводной зубец 22, предусмотренный на по меньшей мере одной стороне исполнительного элемента 2. Как показано на фиг. 45 и фиг. 46, в данном варианте осуществления каждая из двух сторон первого связующего элемента 41 снабжена приводным элементом 48, и приводной зубец 22 расположен на каждой из двух сторон исполнительного элемента 2. Приводной зубец 22 содержит первую боковую стенку 221 и вторую боковую стенку 222. Первая боковая стенка 221 приводного зубца 22 расположена на дистальной стороне второй боковой стенки 222. Первая боковая стенка 221 приводного зубца 22 представляет собой вертикальную поверхность, и вторая боковая стенка 222 приводного зубца 22 представляет собой направляющую поверхность. Проксимальная сторона направляющей поверхности наклонена вверх по сравнению с ее дистальной стороной. В другом альтернативном варианте осуществления приводной элемент 48 может быть предусмотрен только на одной стороне первого связующего элемента 41, и приводной зубец 22 может быть предусмотрен на одной стороне исполнительного элемента 2.
[00168] В этом варианте осуществления приводной элемент 48 расположен на третьей поворотной части 413, и первый конец приводного элемента 48 выполнен с возможностью вращения вокруг второго стержня 44 в направлении дистальной стороны. Первый связующий элемент 41 дополнительно снабжен блокирующей частью 415 на проксимальной стороне приводного элемента 48, и блокирующая часть 415 блокирует проксимальное перемещение второго конца приводного элемента 48. На второй стержень 44 надета пружина кручения, и пружина кручения примыкает как к приводному элементу 48, так и к первому связующему элементу 41. В других вариантах осуществления приводной элемент 48 может также взаимодействовать с эластичными элементами других видов.
[00169] Принцип закрытия сшивающего аппарата в пятом варианте осуществления является таким же, как в третьем варианте осуществления. Во время процесса активации сшивающего аппарата, когда приводной зубец 22 перемещается от проксимальной стороны на дистальную сторону приводного элемента 48, приводной зубец 22 заставляет первый конец приводного элемента 48 вращаться дистально, чтобы не блокировать дистальное перемещение приводного зубца 22, и пружина кручения упруго деформируется. После активации сшивающего аппарата возвращающий элемент 7 перемещается проксимально, так что приводной зубец 22 перемещается проксимально вместе с исполнительным элементом 2, и приводной зубец 22 оказывает воздействие на приводной элемент 48. Приводной элемент 48 блокируется блокирующей частью 415 и не может перемещаться проксимально. Приводной зубец 22 прикладывает силу к первому концу приводного элемента 48 в сторону от исполнительного элемента 2, так что третья поворотная часть 413 и четвертая поворотная часть 423 перемещаются в сторону от исполнительного элемента 2, и связующий узел 4 возвращается в первое состояние. В то же время вторая поворотная часть 422 заставляет деталь 12 привода закрытия перемещаться проксимально через узел 5 привода закрытия, чтобы автоматически открывать узел головки.
[00170] Кроме того, из-за наличия конструктивных допусков размерной цепи сшивающего аппарата деталь привода закрытия может не втягиваться в ее исходное положение после открытия сшивающего аппарата. Поэтому узел головки необходимо открывать вручную путем управления сбрасывающим элементом так, чтобы он перемещался дистально, чтобы заставлять деталь привода закрытия перемещаться дистально, так что предотвращается ситуация, когда деталь привода закрытия не втягивается в ее исходное положение и узел головки не может быть нормально открыт. В шестом и седьмом вариантах осуществления настоящего изобретения дополнительно предусмотрена конструкция для открытия вручную узла головки с помощью сбрасывающего элемента. В частности, в шестом варианте осуществления и седьмом варианте осуществления механизм привода закрытия дополнительно содержит сбрасывающий элемент на проксимальной стороне соединительного штока. Сбрасывающий элемент находится по меньшей мере частично в соединительном штоке и способен перемещаться в аксиальном направлении относительно соединительного штока.
[00171] На фиг. 47-59 представлены структурные схематические виды механизма привода закрытия и хирургического сшивающего аппарата, содержащего его, согласно шестому варианту осуществления настоящего изобретения. Взаимодействие между узлом головки и платформой для инструмента в данном варианте осуществления является таким же, как взаимодействие в первом варианте осуществления. Со ссылкой на фиг. 1 согласно первому варианту осуществления сшивающий аппарат содержит узел 9 головки, платформу для инструмента и механизм привода закрытия, при этом механизм привода закрытия используется для закрытия и открытия узла 9 головки, и узел 9 головки расположен на дистальной стороне платформы 1 для инструмента. Платформа 1 для инструмента содержит корпус 13 и неподвижную рукоять 11 на одной стороне корпуса 13. Со ссылкой на фиг. 1 и 2, согласно первому варианту осуществления узел 9 головки содержит упор 91 и узел 92 картриджа, расположенный относительно упора 91, и упор 91 имеет третье состояние на удалении от узла 92 картриджа и четвертое состояние вблизи узла 92 картриджа. Переключение между третьим состоянием и четвертым состоянием упора 91 относительно узла 92 картриджа является таким же, как в первом варианте осуществления, и не описывается здесь подробно.
[00172] Как показано на фиг. 47-50, механизм привода закрытия дополнительно содержит соединительный шток 18 и сбрасывающий элемент 8. Соединительный шток 18 проходит вдоль аксиального направления сшивающего аппарата. Деталь 12 привода закрытия находится по меньшей мере частично в соединительном штоке 18 и способна перемещаться в аксиальном направлении относительно соединительного штока 18. На проксимальной стороне детали 12 привода закрытия расположена первая стопорная часть. Сбрасывающий элемент 8 расположен на проксимальной стороне соединительного штока 18, и сбрасывающий элемент 8 содержит рабочую часть 81 и сбрасываемую сопрягаемую часть 82. Сбрасываемая сопрягаемая часть 82 сбрасывающего элемента 8 находится по меньшей мере частично в соединительном штоке 18 и способна перемещаться в аксиальном направлении относительно соединительного штока 18. Рабочая часть 81 соединена с проксимальной стороной сбрасываемой сопрягаемой части 82, и проксимальная поверхность рабочей части 81 представляет собой поверхность, подходящую для нажатия оператором. В исходном состоянии сбрасываемая сопрягаемая часть 82 примыкает к первой стопорной части. Если деталь 12 привода закрытия перемещается проксимально, первая стопорная часть может заставлять сбрасываемую сопрягаемую часть 82 перемещаться проксимально. В то же время, когда узел головки необходимо открыть вручную, рабочая часть 81 сбрасывающего элемента 8 перемещается дистально, сбрасываемая сопрягаемая часть 82 примыкает к первой стопорной части и заставляет деталь 12 привода закрытия перемещаться дистально, так что узел головки может быть открыт вручную. Поэтому предотвращается ситуация, когда деталь 12 привода закрытия не втягивается в ее исходное положение и узел головки не может быть нормально открыт.
[00173] Как показано на фиг. 47-50, механизм привода закрытия дополнительно содержит вторую стопорную часть. Вторая стопорная часть находится на проксимальной стороне первой стопорной части и прикреплена к корпусу 13 платформы для инструмента в аксиальном направлении. Когда сбрасывающий элемент 8 приводится в действие для перемещения проксимально, вторая стопорная часть останавливает продолжение перемещения сбрасывающего элемента 8. Корпус 13 платформы для инструмента сшивающего аппарата снабжен сопрягаемой частью для второй стопорной части, и вторая стопорная часть предусмотрена с возможностью вращения на сопрягаемой части. В данном варианте осуществления вторая стопорная часть представляет собой первый соединительный штифт 19. Сопрягаемая часть для второй стопорной части представляет собой круговую канавку 132, предусмотренную на внутренней поверхности корпуса 13, и первый соединительный штифт 19 предусмотрен с возможностью вращения в круговой канавке 132. Здесь вращение первого соединительного штифта 19 означает, что первый соединительный штифт 19 вращается вокруг оси первого соединительного штифта 19. Направление S8 на фиг. 48 представляет собой боковое направление сшивающего аппарата, то есть направление по ширине.
[00174] Как показано на фиг. 50, рабочая часть 81 расположена на проксимальной стороне первого соединительного штифта 19, и первый соединительный штифт 19 находится по меньшей мере частично в сбрасываемой сопрягаемой части 82. В варианте осуществления паз 822 для скольжения, проходящий в аксиальном направлении, предусмотрен на боковой поверхности сбрасываемой сопрягаемой части 82, и первый соединительный штифт 19 находится по меньшей мере частично в пазе 822 для скольжения и способен перемещаться вдоль направления прохождения паза 822 для скольжения. За счет взаимодействия между первым соединительным штифтом 19 и пазом 822 для скольжения сбрасываемая сопрягаемая часть 82 ограничена тем, что способна перемещаться только в аксиальном направлении относительно первого соединительного штифта 19, то есть сбрасываемая сопрягаемая часть 82 не может перемещаться латерально или в продольном направлении относительно первого соединительного штифта 19 и не может вращаться относительно первого соединительного штифта 19. Паз 822 для скольжения не соединен с дистальным концом и проксимальным концом сбрасываемой сопрягаемой части 82, так что обеспечивается то, что первый соединительный штифт 19 не отделяется от сбрасываемой сопрягаемой части 82 с дистального конца или проксимального конца паза 822 для скольжения.
[00175] В шестом варианте осуществления, показанном на фиг. 47-50, механизм привода закрытия дополнительно содержит кольцевой фиксирующий элемент 14 на проксимальной стороне соединительного штока 18. Корпус 13 платформы 1 для инструмента снабжен установочным отверстием 132 для фиксирующего элемента, имеющим такую форму, чтобы подходить под фиксирующий элемент 14, и фиксирующий элемент 14 закреплен в установочном отверстии 132 для фиксирующего элемента, чтобы неподвижно соединять фиксирующий элемент 14 с корпусом 13 платформы 1 для инструмента. Рабочая часть 81 сбрасывающего элемента 8 находится на проксимальной стороне фиксирующего элемента 14, сбрасываемая сопрягаемая часть 82 проходит через фиксирующий элемент 14, и сбрасываемая сопрягаемая часть 82 способна перемещаться в аксиальном направлении относительно фиксирующего элемента 14. Продольное положение и латеральное положение сбрасывающего элемента 8 дополнительно ограничены фиксирующим элементом 14, так что сбрасывающий элемент 8 способен перемещаться только в аксиальном направлении относительно корпуса 13 платформы 1 для инструмента. В данном варианте осуществления внешний диаметр сбрасываемой сопрягаемой части 82 меньше, чем внутренний диаметр фиксирующего элемента 14, и внешний диаметр рабочей части 81 больше, чем внутренний диаметр фиксирующего элемента 14, так что рабочая часть 81 может поддерживаться на проксимальной стороне фиксирующего элемента 14 без вхождения в фиксирующий элемент 14.
[00176] Как показано на фиг. 47-50, в данном варианте осуществления первая стопорная часть представляет собой второй соединительный штифт 53. Механизм привода закрытия может дополнительно содержать конструкцию для обеспечения закрытия узла головки. В варианте осуществления механизм привода закрытия дополнительно содержит подвижную рукоять 3, связующий узел 4 и узел 5 привода закрытия. Подвижная рукоять 3 шарнирно соединена с корпусом 13 платформы 1 для инструмента. Подвижная рукоять 3 содержит первую сопрягаемую часть 32. Возвратная пружина 15 предусмотрена между подвижной рукоятью 3 и корпусом сшивающего аппарата. Когда подвижную рукоять 3 нажимают для вращения в направлении неподвижной рукояти 11, возвратная пружина 15 упруго деформируется. Связующий узел 4 содержит первый связующий элемент 41 и второй связующий элемент 42 на проксимальном конце первого связующего элемента 41. Первый связующий элемент 41 содержит первую поворотную часть 412, и второй связующий элемент 42 содержит вторую поворотную часть 422. Связующий узел 4 имеет два относительно устойчивых состояния: первое состояние, соответствующее открытому состоянию узла головки, и второе состояние, соответствующее закрытому состоянию узла головки. Структура взаимодействия подвижной рукояти 3, первого связующего элемента 41, второго связующего элемента 42, узла 5 привода закрытия и корпуса 13 является такой же, как в первом варианте осуществления, и не описана подробно в настоящем документе.
[00177] Конструкция механизма привода закрытия согласно шестому варианту осуществления в разных состояниях описана подробно ниже со ссылкой на фиг. 47-59. На фиг. 47-55 показана конструкция механизма привода закрытия, когда узел головки открыт, при этом связующий узел 4 находится в первом состоянии. На фиг. 56-58 показана конструкция механизма привода закрытия, когда узел головки закрыт, при этом связующий узел 4 находится во втором состоянии. На фиг. 59 показана конструкция механизма привода закрытия после того, как узел головки будет снова открыт механизмом привода закрытия в данном варианте осуществления, при этом связующий узел 4 возвращается в первое состояние.
[00178] Как показано на фиг. 50-52, в исходном состоянии связующий узел 4 находится в первом состоянии. Связующий узел 4 находится в относительно компактном состоянии. Расстояние между первой поворотной частью 412 и второй поворотной частью 422 связующего узла 4 является небольшим. Третья поворотная часть 413 и четвертая поворотная часть 423 расположены в положении, удаленном от соединительного штока 18. Узел 5 привода закрытия содержит втулочную часть 51 и приводную часть 52. Втулочная часть 51 надета на соединительный шток 18 и способна перемещаться в аксиальном направлении относительно соединительного штока 18. Сквозное отверстие 511 предусмотрено на дистальной стороне втулочной части 51. Второй соединительный штифт 53 проходит через сквозное отверстие 511, чтобы неподвижно соединять дистальную сторону втулочной части 511 и проксимальную сторону детали 12 привода закрытия. Приводная часть 52 расположена на стороне втулочной части 51, обращенной к связующему узлу 4, и один конец приводной части 52 шарнирно соединен со второй поворотной частью 422 связующего узла 4. Между втулочной частью 51 и первым соединительным штифтом 19 дополнительно предусмотрен второй смещающий элемент, и второй смещающий элемент смещает втулочную часть 51 дистально. В варианте осуществления второй смещающий элемент представляет собой вторую возвратную пружину 61. Вторая возвратная пружина 61 расположена между ступенчатой поверхностью 512 внутри втулочной части 51 и первым соединительным штифтом 19. Вторая возвратная пружина 61 может представлять собой, например, пружину сжатия.
[00179] Как показано на фиг. 52-54, отверстие 141 для штифта предусмотрено на боковой стенке фиксирующего элемента 14, и первый соединительный штифт 19 проходит как через фиксирующий элемент 14, так и через отверстие 141 для штифта.
[00180] В данном варианте осуществления между сбрасываемой сопрягаемой частью 82 и первым соединительным штифтом 19 предусмотрен первый смещающий элемент, и первый смещающий элемент смещает сбрасываемую сопрягаемую часть 82 дистально. В варианте осуществления, показанном на фиг. 50 и 53, первый смещающий элемент представляет собой первую возвратную пружину 62, в возвратной сопрягаемой части 82 предусмотрена полость, и первая возвратная пружина 62 расположена внутри полости. В выборочном варианте осуществления первый конец первой возвратной пружины 62 примыкает к дистальной стороне полости, и второй конец первой возвратной пружины 62 примыкает к первому соединительному штифту 19 для поддержания сбрасывающего элемента 8 в устойчивом состоянии. Первая возвратная пружина 62 может представлять собой, например, пружину сжатия. Установочное отверстие 821 для пружины может быть предусмотрено на верхней поверхности полости для установки первой возвратной пружины 62 внутри полости возвратной сопрягаемой части 82.
[00181] Как показано на фиг. 50, 51 и 55, когда связующий узел 4 находится в первом состоянии, аксиальное расстояние между первой поворотной частью 412 и второй поворотной частью 422 связующего узла 4 составляет L1, и угол между первым связующим элементом 41 и вторым связующим элементом 42 составляет a1. Когда подвижная рукоять 3 вращается в первом направлении (против часовой стрелки на фиг. 51), первая сопрягаемая часть 32 подвижной рукояти 3 взаимодействует со второй сопрягаемой частью 411 первого связующего элемента 41 и заставляет первый связующий элемент 41 вращаться вокруг первого стержня 43 в направлении S3 (против часовой стрелки на фиг. 55), и второй связующий элемент 42 вращается вокруг второго стержня 44 в направлении S4 (по часовой стрелке на фиг. 55), так что расстояние между второй поворотной частью 422 и первой поворотной частью 412 постепенно увеличивается, угол между первым связующим элементом 41 и вторым связующим элементом 42 постепенно увеличивается, третья поворотная часть 413 и четвертая поворотная часть 423 перемещаются в направлении соединительного штока 18, и связующий узел 4 входит во второе состояние, как показано на фиг. 56. Как показано на фиг. 55 и 56, после нахождения связующего узла 4 во втором состоянии аксиальное расстояние между второй поворотной частью 422 и первой поворотной частью 412 увеличивается от L1 до L2, и угол между первым связующим элементом 41 и вторым связующим элементом 42 также увеличивается до угла, приблизительно равного 180°. Поскольку первая поворотная часть 412 не может перемещаться в аксиальном направлении относительно корпуса 13 платформы 1 для инструмента, положение второй поворотной части 422 во втором состоянии находится на проксимальной стороне положения второй поворотной части 422 в первом состоянии, и вторая поворотная часть 422 заставляет узел 5 привода закрытия перемещаться проксимально. В это время связующий узел 4 поддерживается в относительно устойчивом втором состоянии. Даже если подвижная рукоять 3 расцепляется в это время, подвижная рукоять 3 возвращается в ее исходное положение под действием возвратной пружины 15, и состояние связующего узла 4 не будет изменяться.
[00182] Как показано на фиг. 56-58, когда связующий узел 4 входит во второе состояние из первого состояния, по мере того, как узел 5 привода закрытия перемещается проксимально, узел 5 привода закрытия заставляет деталь 12 привода закрытия перемещаться проксимально через второй соединительный штифт 53 для закрытия узла головки. В то же время второй соединительный штифт 53 примыкает к дистальной поверхности 823 сбрасываемой сопрягаемой части 82 и заставляет сбрасываемую сопрягаемую часть 82 перемещаться проксимально, и сбрасывающий элемент 8 перемещается проксимально в целом до тех пор, пока не будет образовано аксиальное расстояние между дистальным концом рабочей части 81 и проксимальным концом фиксирующего элемента 14, и рабочая часть 81 проходит наружу от проксимальной стороны корпуса 13 сшивающего аппарата. В это время сбрасываемая сопрягаемая часть 82 сбрасывающего элемента 8 сжимает первую возвратную пружину 62 для деформирования, и втулочная часть 51 узла 5 привода закрытия сжимает вторую возвратную пружину 61 для деформирования.
[00183] В данном варианте осуществления механизм привода закрытия может дополнительно содержать конструкцию для автоматического открытия узла головки после закрытия узла головки. В варианте осуществления связующий узел 4 дополнительно содержит приводной элемент 46, и механизм привода закрытия дополнительно содержит переключающий элемент. В этом варианте осуществления механизм привода закрытия дополнительно содержит исполнительный элемент 2, надетый на соединительный шток 18. Зубчатая рейка 21 предусмотрена на стороне исполнительного элемента 2, обращенной к связующему узлу 4. Зубчатая рейка 21 служит как в качестве исполнительного элемента для активации сшивающего аппарата, так и в качестве переключающего элемента. Зубчатая рейка 21 способна перемещаться между первой областью и второй областью, при этом первая область находится на проксимальной стороне второй области. В исходном состоянии зубчатая рейка 21 находится в первой области. Как показано на фиг. 49, подвижная рукоять 3 дополнительно содержит защелку 31 для продвижения, взаимодействующую с зубчатой рейкой 21. После закрытия узла головки за счет повторного нажатия на подвижную рукоять 3 защелка 31 для продвижения приводит в действие зубчатую рейку 21 дистально, так что зубчатая рейка 21 заставляет исполнительный элемент 2 перемещаться дистально, чтобы активировать сшивающий аппарат.
[00184] Приводной элемент 46 соединен с возможностью вращения с первым связующим элементом 41 или вторым связующим элементом 42. В варианте осуществления, показанном на фиг. 56 и 57, первая установочная канавка 414 предусмотрена внутри первого связующего элемента 41, первый конец приводного элемента 46 входит в первую установочную канавку 414 и выполнен с возможностью вращения вокруг первого конца в первой установочной канавке 414. Когда второй конец приводного элемента 46 не находится под воздействием внешней силы, второй конец приводного элемента 46 проходит наружу от боковой поверхности первого связующего элемента 41, обращенной к соединительному штоку 18, и приводной элемент 46 находится вблизи второй боковой стенки 4142 первой установочной канавки 414. В состоянии по фиг. 56, когда подвижную рукоять 3 нажимают, чтобы заставлять зубчатую рейку 21 перемещаться из первой области во вторую область, зубчатая рейка 21 контактирует со вторым концом приводного элемента 46 и нажимает на второй конец приводного элемента 46 вниз, приводной элемент 46 принудительно вращается, так что приводной элемент 46 перемещается в направлении первой боковой стенки 4141 первой установочной канавки 414. В то же время эластичный элемент 47 сжимается для деформирования, и приводной элемент 46 дополнительно входит в первую установочную канавку 414 и входит в состояние по фиг. 57, так что приводной элемент 46 больше не блокирует перемещение зубчатой рейки 21. В то же время связующий узел 4 также поддерживается во втором состоянии для поддержания устойчивости узла головки.
[00185] После активации сшивающего аппарата исполнительный элемент 2 перемещается проксимально за счет управления возвращающим элементом 7, так что когда исполнительный элемент 2 перемещается из второй области в первую область, зубчатая рейка 21 отводит приводной элемент 46 в сторону от исполнительного элемента 2, так что приводной элемент 46 заставляет третью поворотную часть 413 и четвертую поворотную часть 423 перемещаться в сторону от соединительного штока 18, и связующий узел 4 входит в первое состояние. Во время этого процесса вторая поворотная часть 422 заставляет узел 5 привода закрытия перемещаться дистально, и деталь 12 привода закрытия принудительно перемещается дистально для автоматического открытия узла головки.
[00186] Однако в фактических раскрытиях из-за наличия конструктивных допусков размерной цепи или других условий конструкция автоматического открытия узла головки может не сработать. Например, деталь привода закрытия может не возвращаться в указанное положение, когда связующий узел 4 возвращается в первое состояние после активации, так что узел головки не может быть нормально открыт или угол открытия узла головки является ограниченным, и узел головки не может быть полностью открыт. В это время узел головки может быть открыт вручную путем управления сбрасывающим элементом 8. В варианте осуществления, показанном на фиг. 56 и фиг. 58, когда связующий узел 4 находится во втором состоянии, дистальный конец рабочей части 81 сбрасывающего элемента 8 находится на определенном расстоянии от проксимального конца фиксирующего элемента 14. В то же время рабочая часть 81 сбрасывающего элемента 8 проходит наружу от поверхности корпуса 13 для простоты работы. Оператор может нажимать на сбрасывающий элемент 8 в направлении дистальной стороны (то есть в направлении S7 на фиг. 58) для обеспечения дистального перемещения сбрасывающего элемента 8 в положение, показанное на фиг. 59. Во время этого процесса под действием движущей силы рабочей части 81 сбрасываемая сопрягаемая часть 82 заставляет второй соединительный штифт 53 перемещаться дистально, так что деталь 12 привода закрытия перемещается дистально и открывает узел головки. В то же время второй соединительный штифт 53 заставляет втулочную часть 51 узла 5 привода закрытия перемещаться дистально, и приводная часть 52 узла 5 привода закрытия заставляет вторую поворотную часть 422 перемещаться дистально, так что третья поворотная часть 413 и четвертая поворотная часть 423 перемещаются в сторону от соединительного штока 18 в положение, показанное на фиг. 59, то есть связующий узел 4 возвращается в первое состояние, и первая возвратная пружина 62 и вторая возвратная пружина 61 также возвращаются в исходное состояние. Поэтому, когда узел головки закрыт, деталь 12 привода закрытия может принудительно втягиваться дистально за счет управления сбрасывающим элементом 8 для открытия вручную узла головки, так что предотвращается ситуация, когда деталь 12 привода закрытия не возвращается в ее исходное положение и узел головки не может быть нормально открыт.
[00187] На фиг. 60 представлен структурный схематический вид механизма привода закрытия согласно седьмому варианту осуществления настоящего изобретения. Седьмой вариант осуществления отличается от шестого варианта осуществления, показанного на фиг. 47-59, тем, что механизм привода закрытия содержит конструкцию для закрытия вручную и открытия вручную узла головки. В варианте осуществления механизм привода закрытия дополнительно содержит переключающий элемент 16, один конец переключающего элемента 16 проходит наружу от корпуса платформы для инструмента для облегчения работы. Третья поворотная часть 413 первого связующего элемента 41 снабжена приводным элементом 48, и приводной элемент 48 не выполнен с возможностью вращения относительно первого связующего элемента 41. Переключающий элемент 16 надет на соединительный шток 18, и третья возвратная пружина 63 предусмотрена между переключающим элементом 16 и корпусом платформы 1 для инструмента. Третья возвратная пружина 63 может представлять собой, например, пружину сжатия. Переключающий элемент 16 способен перемещаться между пятой областью и шестой областью, и пятая область расположена на дистальной стороне шестой области. В исходном состоянии переключающий элемент 16 находится в пятой области. Переключающий элемент 16 перемещается проксимально, чтобы перемещаться из пятой области в шестую область. Затем переключающий элемент 16 заставляет узел 5 привода закрытия перемещаться проксимально для закрытия узла головки. В то же время узел 5 привода закрытия заставляет вторую поворотную часть 422 перемещаться проксимально через приводную часть 52, и третья поворотная часть 413 и четвертая поворотная часть 423 связующего узла 4 перемещаются в направлении соединительного штока 18, так что связующий узел 4 входит во второе состояние из первого состояния. Во время процесса активации сшивающего аппарата переключающий элемент 16 расположен на проксимальной стороне приводного элемента 48 и не оказывает воздействия на связующий узел 4. Связующий узел 4 остается во втором состоянии. После активации сшивающего аппарата переключающим элементом 16 управляют так, чтобы он перемещался из шестой области дистально в пятую область и сжимал третью возвратную пружину 63, и переключающий элемент 16 отводит приводной элемент 48 связующего узла 4 в сторону от соединительного штока 18, так что третья поворотная часть 413 и четвертая поворотная часть 423 перемещаются в сторону от соединительного штока 18, и связующий узел 4 возвращается в первое состояние, затем узел 5 привода закрытия перемещается дистально, узел 5 привода закрытия заставляет деталь 12 привода закрытия перемещаться дистально, чтобы открывать узел головки.
[00188] В седьмом варианте осуществления, если переключающий элемент 16 не срабатывает или переключающий элемент 16 не может полностью открывать узел головки, рабочая часть 81 сбрасывающего элемента 8 может также нажиматься в направлении S7 на фиг. 60, так что рабочая часть 81 заставляет сбрасываемую сопрягаемую часть 82 перемещаться дистально, затем деталь 12 привода закрытия перемещается в направлении дистальной стороны, чтобы открывать узел головки. В то же время второй соединительный штифт 53 заставляет втулочную часть 51 узла 5 привода закрытия перемещаться дистально, и приводная часть 52 узла 5 привода закрытия заставляет вторую поворотную часть 422 перемещаться дистально, так что третья поворотная часть 413 и четвертая поворотная часть 423 перемещаются в сторону от соединительного штока 18, и связующий узел 4 возвращается в первое состояние.
[00189] На фиг. 47-59 механизм привода закрытия содержит конструкцию для обеспечения закрытия узла головки с помощью подвижной рукояти, конструкцию для автоматического открытия узла головки и конструкцию для управления вручную сбрасывающим элементом 8 для сбрасывания узла головки, когда конструкция для автоматического открытия узла головки не срабатывает. В варианте осуществления по фиг. 60 механизм привода закрытия содержит механизм для закрытия и открытия вручную узла головки и конструкцию для управления вручную сбрасывающим элементом 8 для сбрасывания узла головки, когда переключающий элемент 16 не срабатывает. В другом альтернативном варианте осуществления сбрасывающая конструкция со сбрасывающим элементом в механизме привода закрытия может взаимодействовать с другими конструкциями для открытия сшивающего аппарата, что отличается от конструкции с зубчатой рейкой и приводным элементом, показанной на фиг. 47-59, и конструкции с переключающим элементом, показанной на фиг. 60. В другом альтернативном варианте осуществления может не быть предусмотрена конструкция для автоматического/ручного открытия узла головки, но могут быть предусмотрены только конструкция для обеспечения закрытия узла головки с помощью подвижной рукояти и сбрасывающая конструкция со сбрасывающим элементом. То есть после обеспечения закрытия узла головки с помощью подвижной рукояти обеспечивается активация сшивающего аппарата с помощью подвижной рукояти, и затем узел головки открывается непосредственно путем управления сбрасывающим элементом. Это также входит в объем правовой охраны настоящего изобретения. В других альтернативных вариантах осуществления могут быть предусмотрены другие конструкции для закрытия узла головки, которые взаимодействуют со сбрасывающей конструкцией со сбрасывающим элементом.
[00190] Вышеизложенное представляет собой подробное описание настоящего изобретения в связи с конкретными выборочными вариантами осуществления, и конкретные варианты осуществления настоящего изобретения не ограничиваются описанием. Без отступления от сущности и объема настоящего изобретения могут выполняться модификации и осуществляться замены.
| название | год | авторы | номер документа |
|---|---|---|---|
| КРУГОВОЙ СШИВАЮЩИЙ ИНСТРУМЕНТ С ВЫБОРОМ УПРАВЛЕНИЯ С ИСПОЛЬЗОВАНИЕМ ДВИГАТЕЛЯ И РУЧНОГО УПРАВЛЕНИЯ, ВКЛЮЧАЮЩИЙ УПРАВЛЯЮЩЕЕ КОЛЬЦО | 2013 |
|
RU2653993C2 |
| КРУГОВОЙ СШИВАЮЩИЙ ИНСТРУМЕНТ С ВЫБОРОМ УПРАВЛЕНИЯ С ИСПОЛЬЗОВАНИЕМ ЭЛЕКТРОПРИВОДА И РУЧНОГО УПРАВЛЕНИЯ | 2013 |
|
RU2676523C2 |
| ХИРУРГИЧЕСКИЙ СШИВАЮЩИЙ АППАРАТ МНОГОКРАТНОГО ИСПОЛЬЗОВАНИЯ (ВАРИАНТЫ) И СПОСОБ ЕГО ОБРАБОТКИ (ВАРИАНТЫ) | 2009 |
|
RU2488358C2 |
| ХИРУРГИЧЕСКАЯ ИНСТРУМЕНТАЛЬНАЯ СИСТЕМА (ВАРИАНТЫ) И МЕХАНИЧЕСКАЯ СОЕДИНИТЕЛЬНАЯ СИСТЕМА ДЛЯ РАЗЪЕМНОГО СОЕДИНЕНИЯ СДВОЕННЫХ ПОВОРОТНЫХ ПРИВОДНЫХ ВАЛОВ ХИРУРГИЧЕСКОГО ИНСТРУМЕНТА | 2014 |
|
RU2676439C2 |
| ХИРУРГИЧЕСКИЙ СШИВАЮЩИЙ АППАРАТ С ШАРНИРНО-ПОВОРАЧИВАЕМЫМИ КОМПОНЕНТАМИ | 2009 |
|
RU2489100C2 |
| ХИРУРГИЧЕСКОЕ УСТРОЙСТВО ДЛЯ ЗАКРЫТИЯ ТКАНИ | 2016 |
|
RU2723729C1 |
| ХИРУРГИЧЕСКИЙ ИНСТРУМЕНТ, СОДЕРЖАЩИЙ ЗАКРЫВАЮЩИЙ ПРИВОД И ПУСКОВОЙ ПРИВОД, РАБОТАЮЩИЕ ОТ ОДНОГО ПОВОРАЧИВАЕМОГО ВЫХОДА | 2014 |
|
RU2650585C2 |
| КОНЦЕВОЙ ЭФФЕКТОР ДЛЯ ПРИМЕНЕНИЯ С ХИРУРГИЧЕСКИМ ИНСТРУМЕНТОМ | 2014 |
|
RU2690895C2 |
| ХИРУРГИЧЕСКИЙ СШИВАЮЩИЙ АППАРАТ С МЕХАНИЗМОМ ЗАПУСКА, ЧУВСТВИТЕЛЬНЫМ К НАГРУЗКЕ | 2009 |
|
RU2499567C2 |
| ХИРУРГИЧЕСКИЙ СШИВАЮЩИЙ АППАРАТ С ЭЛЕМЕНТАМИ УПРАВЛЕНИЯ, ПРИГОДНЫМИ ДЛЯ РАБОТЫ ОДНОЙ РУКОЙ | 2009 |
|
RU2489099C2 |
Группа изобретений относится к медицинской технике, а именно к механизму привода закрытия и хирургическому сшивающему аппарату. Механизм привода закрытия для хирургического сшивающего аппарата включает корпус, содержащий связующий узел, подвижную рукоять, узел привода закрытия и исполнительный элемент. Связующий узел содержит первый связующий элемент и второй связующий элемент на проксимальной стороне первого связующего элемента. Первый связующий элемент содержит первую поворотную часть, третью поворотную часть и вторую сопрягаемую часть, второй связующий элемент содержит вторую поворотную часть и четвертую поворотную часть. Третья поворотная часть выполнена с возможностью шарнирного соединения с четвертой поворотной частью. Первая поворотная часть выполнена с возможностью шарнирного соединения с корпусом. Вторая поворотная часть выполнена с возможностью расположения на проксимальной стороне первой поворотной части. Связующий узел имеет первое состояние и второе состояние. Подвижная рукоять содержит первую сопрягаемую часть, соединенную с возможностью перемещения с корпусом. Вторая поворотная часть связующего узла выполнена с возможностью шарнирного соединения с узлом привода закрытия. Когда связующий узел находится в первом состоянии, и подвижная рукоять находится в положении вращения в первом направлении, первая сопрягаемая часть выполнена с возможностью введения связующего узла во второе состояние с помощью второй сопрягаемой части. Вторая поворотная часть связующего узла выполнена с возможностью проксимального перемещения и обеспечения проксимального перемещения узла привода закрытия. Исполнительный элемент выполнен с возможностью перемещения между первой областью и второй областью. Вторая область находится на дистальной стороне первой области. Когда связующий узел находится во втором состоянии и исполнительный элемент перемещают из первой области во вторую область, первый связующий элемент остается неподвижным относительно второго связующего элемента. Когда связующий узел находится во втором состоянии и исполнительный элемент перемещают из второй области в первую область, первый связующий элемент выполнен с возможностью вращения относительно второго связующего элемента. Хирургический сшивающий аппарат содержит вышеуказанный механизм привода закрытия. Использование группы изобретений позволяет обеспечить стабильное состояние связующего узла, таким образом, чтобы когда связующий узел пребывал в стабильном состоянии, связующий узел не перемещался, в то время как подвижная рукоять продолжала перемещение для продвижения скрепок. 2 н. и 13 з.п. ф-лы, 60 ил.
1. Механизм привода закрытия для хирургического сшивающего аппарата, имеющий корпус, содержащий:
связующий узел, содержащий первый связующий элемент и второй связующий элемент на проксимальной стороне первого связующего элемента; при этом первый связующий элемент содержит первую поворотную часть, третью поворотную часть и вторую сопрягаемую часть, второй связующий элемент содержит вторую поворотную часть и четвертую поворотную часть, и третья поворотная часть выполнена с возможностью шарнирного соединения с четвертой поворотной частью, первая поворотная часть выполнена с возможностью шарнирного соединения с корпусом, и вторая поворотная часть выполнена с возможностью расположения на проксимальной стороне первой поворотной части, связующий узел имеет первое состояние и второе состояние;
подвижную рукоять, содержащую первую сопрягаемую часть, соединенную с возможностью перемещения с корпусом;
узел привода закрытия, при этом вторая поворотная часть связующего узла выполнена с возможностью шарнирного соединения с узлом привода закрытия;
при этом, когда связующий узел находится в первом состоянии и подвижная рукоять находится в положении вращения в первом направлении, первая сопрягаемая часть выполнена с возможностью введения связующего узла во второе состояние с помощью второй сопрягаемой части, вторая поворотная часть связующего узла выполнена с возможностью проксимального перемещения и обеспечения проксимального перемещения узла привода закрытия; и
исполнительный элемент, при этом исполнительный элемент выполнен с возможностью перемещения между первой областью и второй областью, вторая область находится на дистальной стороне первой области; когда связующий узел находится во втором состоянии и исполнительный элемент перемещают из первой области во вторую область, первый связующий элемент остается неподвижным относительно второго связующего элемента; при этом когда связующий узел находится во втором состоянии и исполнительный элемент перемещают из второй области в первую область, первый связующий элемент выполнен с возможностью вращения относительно второго связующего элемента.
2. Механизм по п. 1, отличающийся тем, что, когда связующий узел находится в первом состоянии и подвижная рукоять находится в положении вращения в первом направлении, первая сопрягаемая часть выполнена с возможностью приведения первого связующего элемента во вращение в первом направлении, второй связующий элемент выполнен с возможностью вращения во втором направлении относительно первого связующего элемента, и угол между первым связующим элементом и вторым связующим элементом увеличивается; при этом второе направление является противоположным первому направлению.
3. Механизм по п. 2, отличающийся тем, что дополнительно содержит соединительный шток, и узел привода закрытия надет на соединительный шток; при этом, когда связующий узел входит во второе состояние из первого состояния, третья поворотная часть и четвертая поворотная часть выполнены с возможностью перемещения в направлении соединительного штока, чтобы обеспечить перемещение узла привода закрытия в направлении проксимальной стороны соединительного штока.
4. Механизм по п. 3, отличающийся тем, что дополнительно содержит деталь привода закрытия в соединительном штоке; при этом узел привода закрытия содержит втулочную часть и приводную часть, выполненную с возможностью соединения со втулочной частью, втулочная часть надета на соединительный шток, и соединена с проксимальной стороной детали привода закрытия, и приводная часть выполнена с возможностью шарнирного соединения со второй поворотной частью.
5. Механизм по п. 2, отличающийся тем, что третья поворотная часть содержит канавку, четвертая поворотная часть находится по меньшей мере частично в канавке третьей поворотной части, и четвертая поворотная часть снабжена выпуклой частью; при этом, когда связующий узел находится во втором состоянии, выпуклая часть примыкает к внешней стенке снаружи канавки для блокирования вращения второго связующего элемента во втором направлении относительно первого связующего элемента; или
четвертая поворотная часть содержит канавку, третья поворотная часть находится по меньшей мере частично в канавке четвертой поворотной части, и третья поворотная часть снабжена выпуклой частью; при этом, когда связующий узел находится во втором состоянии, выпуклая часть примыкает к внешней стенке снаружи канавки для блокирования вращения второго связующего элемента во втором направлении относительно первого связующего элемента.
6. Механизм по п. 1, отличающийся тем, что дополнительно содержит:
соединительный шток, выполненный с возможностью прохождения в аксиальном направлении сшивающего аппарата;
деталь привода закрытия, выполненную с возможностью прохождения в аксиальном направлении сшивающего аппарата и по меньшей мере частично в соединительном штоке;
при этом узел привода закрытия содержит:
первый закрывающий элемент, надетый на соединительный шток, и соответственно соединенный с проксимальной стороной соединительного штока и проксимальной стороной детали привода закрытия; при этом соединительный шток выполнен с возможностью приведения детали привода закрытия и первого закрывающего элемента во вращение вокруг центральной оси соединительного штока, когда соединительный шток вращается вокруг центральной оси соединительного штока;
второй закрывающий элемент, выполненный с возможностью шарнирного соединения со второй поворотной частью связующего узла и надетый по меньшей мере частично с возможностью вращения на первый закрывающий элемент; при этом второй закрывающий элемент выполнен с возможностью проксимального перемещения детали привода закрытия через первый закрывающий элемент, когда второй закрывающий элемент перемещают проксимально.
7. Механизм по п. 6, отличающийся тем, что второй закрывающий элемент содержит втулочную часть, надетую на первый закрывающий элемент, и приводную часть, выполненную с возможностью соединения со втулочной частью, и первый закрывающий элемент выполнен с возможностью вращения вокруг центральной оси соединительного штока относительно втулочной части; при этом приводная часть выполнена с возможностью шарнирного соединения со второй поворотной частью связующего узла;
при этом первый закрывающий элемент содержит часть в виде стержня и дисковую часть на проксимальной стороне части в виде стержня; при этом проксимальная сторона втулочной части второго закрывающего элемента снабжена кольцевой первой ступенчатой поверхностью, часть в виде стержня находится по меньшей мере частично во втулочной части, и дисковая часть находится на проксимальной стороне первой ступенчатой поверхности; при этом внешний диаметр части в виде стержня меньше, чем внутренний диаметр первой ступенчатой поверхности, и внутренний диаметр первой ступенчатой поверхности меньше, чем внешний диаметр дисковой части.
8. Механизм по п. 2, отличающийся тем, что дополнительно содержит:
деталь привода закрытия, имеющую проксимальную сторону, выполненную с возможностью неподвижного соединения с узлом привода закрытия;
при этом исполнительный элемент содержит переключающий элемент, когда связующий узел находится во втором состоянии и исполнительный элемент перемещают из второй области в первую область, переключающий элемент выполнен с возможностью отвода связующего узла в сторону от исполнительного элемента, так что связующий узел входит в первое состояние, третья поворотная часть и четвертая поворотная часть выполнены с возможностью перемещения в сторону от исполнительного элемента, и вторая поворотная часть обеспечивает дистальное перемещение детали привода закрытия через узел привода закрытия.
9. Механизм по п. 8, отличающийся тем, что связующий узел дополнительно содержит приводной элемент, выполненный с возможностью установки на первом связующем элементе или втором связующем элементе; при этом первый конец приводного элемента является выпуклым из боковой поверхности первого связующего элемента или второго связующего элемента, обращенной к исполнительному элементу;
при этом, когда связующий узел находится во втором состоянии и исполнительный элемент перемещают из второй области в первую область, переключающий элемент выполнен с возможностью отвода первого конца приводного элемента в сторону от исполнительного элемента.
10. Механизм по п. 9, отличающийся тем, что, когда связующий узел находится во втором состоянии и исполнительный элемент перемещают из первой области во вторую область, первый связующий элемент остается неподвижным относительно второго связующего элемента, переключающий элемент обеспечивает дистальное перемещение первого конца приводного элемента, так что приводной элемент не блокирует перемещение исполнительного элемента;
при этом, когда связующий узел находится во втором состоянии и исполнительный элемент перемещают из второй области в первую область, первый связующий элемент выполнен с возможностью вращения относительно второго связующего элемента.
11. Механизм по п. 10, отличающийся тем, что на поверхности первого связующего элемента или второго связующего элемента, обращенной к исполнительному элементу, предусмотрена установочная канавка, и приводной элемент находится в установочной канавке;
при этом установочная канавка содержит первую боковую стенку, вторую боковую стенку и нижнюю стенку, первая боковая стенка установочной канавки находится на дистальной стороне второй боковой стенки, и первый зазор образован между приводным элементом и первой боковой стенкой установочной канавки; при этом, когда связующий узел находится в первом состоянии, приводной элемент примыкает ко второй боковой стенке установочной канавки; при этом, когда связующий узел находится во втором состоянии и исполнительный элемент перемещают из первой области во вторую область, приводной элемент выполнен с возможностью перемещения в направлении первой боковой стенки установочной канавки.
12. Механизм по п. 10, отличающийся тем, что по меньшей мере одна сторона первого связующего элемента снабжена приводным элементом, приводной элемент соединен с возможностью вращения с боковой стенкой первого связующего элемента, и переключающий элемент представляет собой приводной зубец на по меньшей мере одной стороне исполнительного элемента;
при этом первый связующий элемент дополнительно снабжен блокирующей частью на проксимальной стороне приводного элемента, и блокирующая часть блокирует проксимальное перемещение второго конца приводного элемента.
13. Механизм по п. 2, отличающийся тем, что дополнительно содержит:
соединительный шток, выполненный с возможностью прохождения в аксиальном направлении сшивающего аппарата;
деталь привода закрытия, находящуюся по меньшей мере частично в соединительном штоке и выполненную с возможностью перемещения в аксиальном направлении относительно соединительного штока, при этом первая стопорная часть выполнена с возможностью неподвижного расположения на проксимальной стороне детали привода закрытия;
сбрасывающий элемент на проксимальной стороне соединительного штока, при этом сбрасывающий элемент находится по меньшей мере частично в соединительном штоке и выполнен с возможностью перемещения в аксиальном направлении относительно соединительного штока; при этом сбрасывающий элемент выполнен с возможностью дистального перемещения детали привода закрытия, когда сбрасывающий элемент приводят в действие для перемещения дистально.
14. Механизм по п. 13, отличающийся тем, что механизм привода закрытия дополнительно содержит вторую стопорную часть, выполненную с возможностью расположения на проксимальной стороне первой стопорной части и прикрепленную в аксиальном направлении к корпусу;
при этом сбрасывающий элемент выполнен с возможностью примыкания к первой стопорной части, когда сбрасывающий элемент приводят в действие для перемещения дистально, и сбрасывающий элемент выполнен с возможностью остановки на второй стопорной части, когда сбрасывающий элемент приводят в действие для перемещения проксимально;
при этом корпус снабжен сопрягаемой частью для второй стопорной части, и вторая стопорная часть соединена с возможностью вращения с сопрягаемой частью.
15. Хирургический сшивающий аппарат, содержащий механизм привода закрытия по любому из пп. 1-14.
| US 5535935 A, 16.07.1996 | |||
| US 2016262764 A1, 15.09.2016 | |||
| WO 8302247 A1, 07.07.1983 | |||
| WO 8200968 A1, 01.04.1982 | |||
| АППАРАТ ДЛЯ ПРОШИВАНИЯ И РАССЕЧЕНИЯ ЖЕЛУДОЧНОЙ СТЕНКИ | 1992 |
|
RU2056798C1 |
| WO 2019030676 A1, 14.02.2019 | |||
| US 5470007 A, 28.11.1995. | |||
Авторы
Даты
2025-05-05—Публикация
2022-12-13—Подача