Изобретение относится к сельскохозяйственному машиностроению, в частности к устройствам для сушки зерна.
Известно устройство для сушки зерна [Устройство для сушки зерна. - Патент RU 2620136. - Опубл. 23.05.2017, Бюл. №15], включающее в себя кожух прямоугольного сечения, поверхность которого покрыта слоем теплоизолирующего материала, загрузочный бункер, выгрузное окно, нагревательные элементы, вентилятор, воздуховод, а также установленный внутри кожуха транспортирующий рабочий орган. Транспортирующий рабочий орган выполнен в виде короба и установлен с возможностью сообщения ему колебаний. Верхняя поверхность короба выполнена ступенчатой с возможностью изменения угла наклона ступеней. Боковые поверхности ступеней выполнены перфорированными. Воздуховод соединен с внутренней полостью короба. Нагревательные элементы установлены в воздуховоде.
Известное устройство обладает недостатками - низкое качество сушки, что заключается в неравномерном подводе теплоты к обрабатываемому продукту.
Технический результат, достигаемый при использовании изобретения -повышение качества сушки зерна.
Технический результат достигается тем, что в устройстве для сушки зерна, содержащем кожух прямоугольного сечения, поверхность которого покрыта слоем теплоизолирующего материала, загрузочный бункер, выгрузное окно, вентилятор, воздуховод, нагревательные элементы, установленный внутри кожуха транспортирующий рабочий орган и привод колебательного движения, согласно изобретению, транспортирующий рабочий орган выполнен в виде клавишного транспортера, причем при колебании клавиш зерно при своем движении периодически падает с поднятой клавиши на соседнюю опущенную, меняя свое положение по отношению к воздушному потоку, равномерно обдуваясь им со всех сторон, ширина клавиш и расстояние между соседними клавишами выполнены меньше, чем толщина зерна, нагревательные элементы установлены с нижней стороны клавиш, а с наружной стороны крайних клавиш транспортирующего рабочего органа по всей их длине установлены бортики, при этом воздуховод установлен в нижней части кожуха.
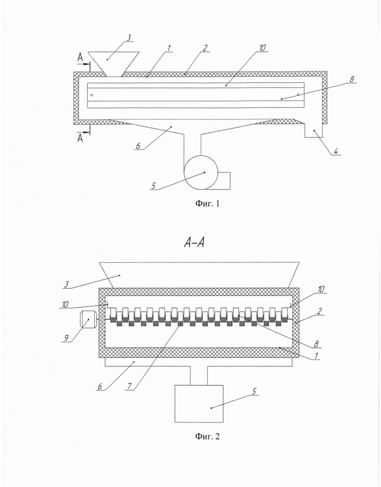
На фиг. 1 изображен общий вид устройства, а на фиг. 2 - то же, разрез по А-А.
Устройство для сушки зерна включает кожух 1 прямоугольного сечения, поверхность которого покрыта слоем теплоизолирующего материала 2, загрузочный бункер 3, выгрузное окно 4, вентилятор 5, воздуховод 6, нагревательные элементы 7, установленный внутри кожуха транспортирующий рабочий орган 8 и привод 9. Транспортирующий рабочий орган 8 выполнен в виде клавишного транспортера, причем ширина клавиш и расстояние между соседними клавишами выполнены меньше, чем толщина зерна. Нагревательные элементы 7 установлены с нижней стороны клавиш. С наружной стороны крайних клавиш транспортирующего рабочего органа 8 по всей их длине выполнены бортики 10. Воздуховод 6 установлен в нижней части кожуха 1.
Устройство работает следующим образом. Включают вентилятор 5. Затем включают нагревательные элементы 7. Воздушный поток, создаваемый вентилятором 5 через воздуховод 6 поступает внутрь кожуха 1. Затем включают привод 9 транспортирующего рабочего органа 8, который при вращении коленчатого вала (на фиг. не показан) начинает попеременно колебать клавиши транспортирующего рабочего органа 8. После этого подают влажное зерно в загрузочный бункер 3, откуда оно поступает на клавиши транспортирующего рабочего органа 8 и перемещается к выгрузному окну 4. Контактируя с нагретой поверхностью клавиш транспортирующего рабочего органа 8, а также с подогретым от клавиш и нагревательных элементов 7 воздушным потоком, зерно также нагревается, теряет излишки влаги, которая в виде пара удаляется из устройства воздушным потоком через выгрузное окно 4. Поскольку ширина клавиш и расстояние между соседними клавишами выполнены меньше, чем толщина зерна, при колебании клавиш зерно при своем движении периодически падает с поднятой клавиши на соседнюю опущенную, меняя свое положение по отношению к воздушному потоку, равномерно обдуваясь им со всех сторон. Наличие с наружной стороны крайних клавиш транспортирующего рабочего органа по всей их длине бортиков 10 не позволяет зерну во время движения сваливаться с транспортирующего рабочего органа 8 при колебании его клавиш. Установка воздуховода 6 в нижней части кожуха 1 обеспечивает равномерный обдув зерна, а также установка с нижней стороны клавиш нагревательных элементов позволяет быстро прогреть транспортирующий рабочий орган 8 и подогреть поток воздуха, что дает возможность более эффективно нагревать зерно комбинированным (конвективным и контактным) способом. Сухое зерно удаляется из устройства также через выгрузное окно 4.
При использовании зерна другой культуры меняют температуру нагревательных элементов 7 или частоту вращения коленчатого вала транспортирующего рабочего органа 8, что позволяет изменить время пребывания зерна в устройстве (время сушки).
Таким образом, выполнение транспортирующего рабочего органа в виде клавишного транспортера, а также выполнение ширины клавиш и расстояния между соседними клавишами меньшими, чем толщина зерна, установка с нижней стороны клавиш нагревательных элементов, установка с наружной стороны крайних клавиш транспортирующего рабочего органа по всей их длине бортиков и установка воздуховода в нижней части кожуха повышает качество сушки зерна.
| название | год | авторы | номер документа |
|---|---|---|---|
| УСТРОЙСТВО ДЛЯ СУШКИ ЗЕРНА | 2023 |
|
RU2830929C1 |
| УСТРОЙСТВО ДЛЯ СУШКИ ЗЕРНА | 2023 |
|
RU2832553C1 |
| УСТРОЙСТВО ДЛЯ СУШКИ ЗЕРНА | 2023 |
|
RU2832558C1 |
| УСТРОЙСТВО ДЛЯ СУШКИ ЗЕРНА | 2023 |
|
RU2832549C1 |
| УСТРОЙСТВО ДЛЯ СУШКИ ЗЕРНА | 2023 |
|
RU2832551C1 |
| УСТРОЙСТВО ДЛЯ СУШКИ ЗЕРНА | 2023 |
|
RU2823024C1 |
| УСТРОЙСТВО ДЛЯ СУШКИ ЗЕРНА | 2023 |
|
RU2823023C1 |
| УСТРОЙСТВО ДЛЯ СУШКИ ЗЕРНА | 2023 |
|
RU2823005C1 |
| УСТРОЙСТВО ДЛЯ СУШКИ ЗЕРНА | 2018 |
|
RU2683383C1 |
| УСТРОЙСТВО ДЛЯ СУШКИ ЗЕРНА | 2016 |
|
RU2620136C1 |
Изобретение относится к сельскохозяйственному машиностроению, в частности к устройствам для сушки зерна. В устройстве для сушки зерна, содержащем кожух прямоугольного сечения, поверхность которого покрыта слоем теплоизолирующего материала, загрузочный бункер, выгрузное окно, вентилятор, воздуховод, нагревательные элементы, установленный внутри кожуха транспортирующий рабочий орган и привод колебательного движения. Транспортирующий рабочий орган выполнен в виде клавишного транспортера, причем при колебании клавиш зерно при своем движении периодически падает с поднятой клавиши на соседнюю опущенную, меняя свое положение по отношению к воздушному потоку, равномерно обдуваясь им со всех сторон, ширина клавиш и расстояние между соседними клавишами выполнены меньше, чем толщина зерна, нагревательные элементы установлены с нижней стороны клавиш, а с наружной стороны крайних клавиш транспортирующего рабочего органа по всей их длине установлены бортики, при этом воздуховод установлен в нижней части кожуха. Повышается качество сушки зерна. 2 ил.
Устройство для сушки зерна, содержащее кожух прямоугольного сечения, поверхность которого покрыта слоем теплоизолирующего материала, загрузочный бункер, выгрузное окно, вентилятор, воздуховод, нагревательные элементы, установленный внутри кожуха транспортирующий рабочий орган и привод колебательного движения, отличающееся тем, что транспортирующий рабочий орган выполнен в виде клавишного транспортера, причем при колебании клавиш зерно при своем движении периодически падает с поднятой клавиши на соседнюю опущенную, меняя свое положение по отношению к воздушному потоку, равномерно обдуваясь им со всех сторон, ширина клавиш и расстояние между соседними клавишами выполнены меньше, чем толщина зерна, нагревательные элементы установлены с нижней стороны клавиш, а с наружной стороны крайних клавиш транспортирующего рабочего органа по всей их длине установлены бортики, при этом воздуховод установлен в нижней части кожуха.
| УСТРОЙСТВО ДЛЯ СУШКИ ЗЕРНА | 2016 |
|
RU2620136C1 |
| Машина для уборки корнеплодов, картофеля и т.п. | 1932 |
|
SU32812A1 |
| Клавишный транспортер-сепаратор | 1961 |
|
SU142098A1 |
| Хлопкоуборочная машина | 1947 |
|
SU71486A1 |
| Разбрасыватель минеральных удобрений | 1990 |
|
SU1771579A1 |
| Фотоэлектрический датчик перемещения | 1978 |
|
SU702241A1 |
Авторы
Даты
2025-05-22—Публикация
2023-12-07—Подача