Изобретение относится к сельскохозяйственному машиностроению, в частности к устройствам для сушки зерна.
Известно устройство для сушки зерна [Устройство для сушки зерна. - Патент RU 2620136. - Опубл. 23.05.2017, Бюл. №15], включающее в себя кожух прямоугольного сечения, поверхность которого покрыта слоем теплоизолирующего материала, загрузочный бункер, выгрузное окно, нагревательные элементы, вентилятор, воздуховод, а также установленный внутри кожуха транспортирующий рабочий орган. Транспортирующий рабочий орган выполнен в виде короба и установлен с возможностью сообщения ему колебаний. Верхняя поверхность короба выполнена ступенчатой с возможностью изменения угла наклона ступеней. Боковые поверхности ступеней выполнены перфорированными. Воздуховод соединен с внутренней полостью короба. Нагревательные элементы установлены в воздуховоде.
Известное устройство обладает недостатками - низкое качество сушки, что заключается в неравномерном подводе теплоты к обрабатываемому продукту.
Технический результат, достигаемый при использовании изобретения -повышение качества сушки зерна.
Технический результат достигается тем, что в устройстве для сушки зерна, содержащем кожух прямоугольного сечения, поверхность которого покрыта слоем теплоизолирующего материала, загрузочный бункер, выгрузное окно, вентилятор, воздуховод, установленные внутри воздуховода нагревательные элементы, установленный внутри кожуха транспортирующий рабочий орган и привод, транспортирующий рабочий орган выполнен в виде клавишного транспортера, причем ширина клавиш и расстояние между соседними клавишами выполнены меньше, чем толщина зерна, причем при колебании клавиш зерно при своем движении периодически падает с поднятой клавиши на соседнюю опущенную, меняя свое положение по отношению к воздушному потоку, равномерно обдуваясь им со всех сторон, с наружной стороны крайних клавиш транспортирующего рабочего органа по всей их длине установлены бортики, верхняя часть кожуха выполнена перфорированной, а воздуховод установлен в нижней части кожуха
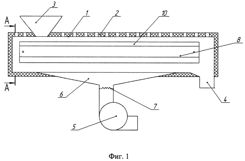
На фиг. 1 изображен общий вид устройства, а на фиг. 2 - то же, разрез по А-А.
Устройство для сушки зерна включает кожух 1 прямоугольного сечения, поверхность которого покрыта слоем теплоизолирующего материала 2, загрузочный бункер 3, выгрузное окно 4, вентилятор 5, воздуховод 6, установленные внутри воздуховода 6 нагревательные элементы 7, установленный внутри кожуха транспортирующий рабочий орган 8 и привод 9. Транспортирующий рабочий орган 8 выполнен в виде клавишного транспортера. Ширина клавиш и расстояние между соседними клавишами выполнены меньше, чем толщина зерна. С наружной стороны крайних клавиш транспортирующего рабочего органа 8 по всей их длине выполнены бортики 10. Верхняя часть кожуха 1 выполнена перфорированной. Воздуховод 6 установлен в нижней части кожуха 1.
Устройство работает следующим образом. Включают вентилятор 5. Затем включают нагревательные элементы 7. Воздушный поток, создаваемый вентилятором 5, проходит через нагревательные элементы 7, подогревается, после чего через воздуховод 6 поступает внутрь кожуха 1. После достижения необходимой температуры воздушного потока включают привод 9 транспортирующего рабочего органа 8, который при вращении коленчатого вала (на фиг. не показан) начинает попеременно колебать клавиши транспортирующего рабочего органа 8. Затем подают влажное зерно в загрузочный бункер 3, откуда оно поступает на клавиши транспортирующего рабочего органа 8 и перемещается к выгрузному окну 4. Контактируя с подогретым воздушным потоком, зерно также нагревается, теряет излишки влаги, которая в виде пара удаляется из устройства воздушным потоком через выгрузное окно 4 и перфорацию верхней части кожуха 1. Поскольку ширина клавиш и расстояние между соседними клавишами выполнены меньше, чем толщина зерна, при колебании клавиш зерно при своем движении периодически падает с поднятой клавиши на соседнюю опущенную, меняя свое положение по отношению к воздушному потоку, равномерно обдуваясь им со всех сторон. Наличие с наружной стороны крайних клавиш транспортирующего рабочего органа по всей их длине бортиков 10 не позволяет зерну во время движения сваливаться с транспортирующего рабочего органа 8 при колебании его клавиш. Установка воздуховода 6 в нижней части кожуха 1 обеспечивает равномерный обдув зерна и одновременный прогрев транспортирующего рабочего органа 8, что позволяет более эффективно нагревать зерно комбинированным (конвективным и контактным) способом. Сухое зерно удаляется из устройства также через выгрузное окно 4.
При использовании зерна другой культуры меняют температуру нагрева воздушного потока с помощью нагревательных элементов 7 или частоту вращения коленчатого вала транспортирующего рабочего органа 8, что позволяет изменить время пребывания зерна в устройстве (время сушки).
Таким образом, выполнение транспортирующего рабочего органа в виде клавишного транспортера, а также выполнение ширины клавиш и расстояния между соседними клавишами меньшими, чем толщина зерна, установка с наружной стороны крайних клавиш транспортирующего рабочего органа по всей их длине бортиков, выполнение верхней части кожуха перфорированной, а также установка воздуховода в нижней части кожуха повышает качество сушки зерна.
| название | год | авторы | номер документа |
|---|---|---|---|
| УСТРОЙСТВО ДЛЯ СУШКИ ЗЕРНА | 2023 |
|
RU2832553C1 |
| УСТРОЙСТВО ДЛЯ СУШКИ ЗЕРНА | 2023 |
|
RU2830929C1 |
| УСТРОЙСТВО ДЛЯ СУШКИ ЗЕРНА | 2023 |
|
RU2840387C1 |
| УСТРОЙСТВО ДЛЯ СУШКИ ЗЕРНА | 2023 |
|
RU2832549C1 |
| УСТРОЙСТВО ДЛЯ СУШКИ ЗЕРНА | 2023 |
|
RU2832551C1 |
| УСТРОЙСТВО ДЛЯ СУШКИ ЗЕРНА | 2023 |
|
RU2823023C1 |
| УСТРОЙСТВО ДЛЯ СУШКИ ЗЕРНА | 2023 |
|
RU2823024C1 |
| УСТРОЙСТВО ДЛЯ СУШКИ ЗЕРНА | 2023 |
|
RU2823005C1 |
| УСТРОЙСТВО ДЛЯ СУШКИ ЗЕРНА | 2018 |
|
RU2683383C1 |
| УСТРОЙСТВО ДЛЯ СУШКИ ЗЕРНА | 2016 |
|
RU2620136C1 |
Изобретение относится к сельскохозяйственному машиностроению, в частности к устройствам для сушки зерна. Устройство для сушки зерна содержит кожух прямоугольного сечения, поверхность которого покрыта слоем теплоизолирующего материала, загрузочный бункер, выгрузное окно, вентилятор, воздуховод, установленные внутри воздуховода нагревательные элементы, установленный внутри кожуха транспортирующий рабочий орган и привод, согласно изобретению, транспортирующий рабочий орган выполнен в виде клавишного транспортера, причем ширина клавиш и расстояние между соседними клавишами выполнены меньше, чем толщина зерна, причем при колебании клавиш зерно при своем движении периодически падает с поднятой клавиши на соседнюю опущенную, меняя свое положение по отношению к воздушному потоку, равномерно обдуваясь им со всех сторон, с наружной стороны крайних клавиш транспортирующего рабочего органа по всей их длине установлены бортики, верхняя часть кожуха выполнена перфорированной, а воздуховод установлен в нижней части кожуха. Повышается качество сушки зерна. 2 ил.
Устройство для сушки зерна, содержащее кожух прямоугольного сечения, поверхность которого покрыта слоем теплоизолирующего материала, загрузочный бункер, выгрузное окно, вентилятор, воздуховод, установленные внутри воздуховода нагревательные элементы, установленный внутри кожуха транспортирующий рабочий орган и привод, отличающееся тем, что транспортирующий рабочий орган выполнен в виде клавишного транспортера, причем ширина клавиш и расстояние между соседними клавишами выполнены меньше, чем толщина зерна, причем при колебании клавиш зерно при своем движении периодически падает с поднятой клавиши на соседнюю опущенную, меняя свое положение по отношению к воздушному потоку, равномерно обдуваясь им со всех сторон, с наружной стороны крайних клавиш транспортирующего рабочего органа по всей их длине установлены бортики, верхняя часть кожуха выполнена перфорированной, а воздуховод установлен в нижней части кожуха.
| УСТРОЙСТВО ДЛЯ СУШКИ ЗЕРНА | 2016 |
|
RU2620136C1 |
| Машина для уборки корнеплодов, картофеля и т.п. | 1932 |
|
SU32812A1 |
| Клавишный транспортер-сепаратор | 1961 |
|
SU142098A1 |
| Машина для уборки зеленого лука | 1987 |
|
SU1516048A1 |
| Многорядная машина для уборки корнеплодов | 1929 |
|
SU26135A1 |
| СИСТЕМА ОТВОДА ТОКА МОЛНИИ, ГЕНЕРИРУЕМОГО ГРОЗОВЫМ РАЗРЯДОМ НА ЛЕТАТЕЛЬНЫЙ АППАРАТ | 2009 |
|
RU2465176C2 |
Авторы
Даты
2024-12-25—Публикация
2023-12-07—Подача