Область техники
Изобретение относится к области транспортных средств и индустрии развлечений и может быть использовано в качестве подводного аттракциона.
Уровень техники
Известны различные решения, позволяющие осуществлять движение под водой.
Известно о проекте «Зеетойфель» - подводная лодка-амфибия с гусеничным движетелем https://topwar.ru/17403-zeetovfel-podvodnava-lodka-amfibiya-s-gusenichnym-dvizhetelem.html.
Однако, такой проект оказался не удачным по причине большой массы подводной лодки и сложности гусиничной ходовой части;
Известна транспортная система: по патенту РФ 2750926 которая содержит подводное судно с корпусом и иллюминатором, монорельс, проложенный по дну акватории, и трос. Подводное судно выполнено многоместным и оснащено общим блистером, изготовленным из прозрачного материала, содержит колеса, огибающие монорельс, и приводится в движение с помощью троса, смонтированного в монорельсе и кинематически связанного с корпусом подводного судна. В результате управленческие функции пассажира сведены к минимуму, повышается безопасность эксплуатации судна.
Данная система обладает существенными недостатками.
Прокладывать монорельс по дну водоема, не важно из какого материала (бетон, сталь и т.д.) задача не простая и дорогостоящая. Это удорожает строительство данной системы. А при горном подводном рельефе дна, задача прокладки монорельса становится вообще не реализуемой. При этом, именно такой рельеф наиболее привлекателен для подводных экскурсий.
Проблемный местом, в приведенном решении является и переход с морской акватории (если это эксплуатируется на море) на берег. Именно в этой точке происходит максимальная нагрузка от волн при волнении моря, тем более штормах. Все это будет вызывать большие расходы на строительство и ремонт пути. В данной системе будет высокая положительная плавучесть, которая также будет создавать большую выталкивающую силу, а это, в свою очередь, предъявлять повышенные требования к ходовой части и работе в сложной водной среде.
Так же известны:
способ транспортировки пассажиров (туристов) с их грузами под водой с использованием подводной канатной дороги (ПКД) "Телескаф" (журнал "Техника молодежи" 1973-08, стр. 25). Эта ПКД содержит две пары канатов из нержавеющей стали, натянутых под водой между двумя станциями, находящимися на противоположных берегах. На одной станции канаты проходят через тяговые колеса с приводом от двойных гидравлических устройств, на другой - через натяжные. На каждой паре канатов закреплены по две близко расположенные кабины. Причем каждая кабина состоит из двух частей - нижней, прочно сцепленной с канатами и снабженной четырьмя колесиками, и верхней - в виде застекленного герметичного водо-погружного колокола с аварийным люком;
устройство и способ доставки грузов по патенту РФ №2735796 где используется канатная дорога, образованная множеством последовательно соединенных между собой приводных участков с трехфазными синхронными мотор-редукторами и адаптированная для подводного использования;
ПОДВОДНАЯ КАНАТНАЯ ДОРОГА, СПОСОБНАЯ ВЫДЕРЖИВАТЬ ДАВЛЕНИЕ МОРСКОЙ ВОДЫ И СОХРАНЯТЬ ГЕРМЕТИЧНОСТЬ по заявке на патент Кореи №KR1020110041350 состоящая из железных башен, установленных на земле, основного и вспомогательного канатов, установленных на нескольких стойках. Основной канат и вспомогательный канат направляются направляющим роликом основного каната и направляющим роликом вспомогательного каната. Посадочный контейнер, оборудованный устройством аварийного покидания и устройством подачи кислорода, соединен с кареткой. Посадочный контейнер перемещается по земле и под водой с помощью привода приводного блока. Передвижной поддерживающий трос соединен с железной башней и стойкой;
подводная экскурсионная подводная система типа канатной дороги по патенту Китая №CN115973376 состоящая из обзорной подводной лодки, рельса для подвешивания обзорной подводной лодки и туристической платформы. Обзорная подводная лодка содержит подводную часть и надводную часть, подводная часть представляет собой прозрачную кабину. В прозрачной кабине расположены сиденье и эскалатор, балансировочный груз и система балансировки расположены на двух сторонах внешнего дна прозрачной кабины соответственно, а надводная часть снабжена канавкой для блокировки воды, захватом выдвижная тележка и фонарь. Трек представляет собой одинарный подвесной рельс закрытой или открытой I-образной конструкции, а раздвижная тележка захватывающего и удерживающего типа захватывается и удерживается на пути, а туристическая платформа расположена на туристической линии пути; и находится выше поверхности воды. Подводное смотровое устройство и система имеют преимущества, заключающиеся в том, что пробел подводного смотрового оборудования и системы заполняется, мечта туристов, садящихся на подводную лодку, может стать реальностью, обогащаются различные впечатления от игры в океанском мире, развитие. Ускоряется реализация проектов подводного осмотра достопримечательностей, а устройство и система подводного осмотра могут быть популяризированы и применены на большой территории.
Общим недостатком приведенных решений является то, что они предполагают, что грузовые капсулы подводных канатных дорог (ПКД) будут организованы по схеме подвесных канатных дорог, то есть капсула крепиться под канатом и канат, перемещается по роликам, установленным на опорах. Следовательно, капсулы обладают отрицательной плавучестью или, как в последнем решении по патенту РФ №2735796 имеют нулевую плавучесть. Из чего следует, что ПКД будут сопровождать все проблемы и ограничения подвесных канатных дорог, а именно, ограничение расстояния между опорами из-за провиса троса, сложность строительства капитальных опор на морском дне, а так же из- за отрицательной или нулевой плавучести капсула не сможет осуществить аварийное всплытие на поверхность в случае аварии, а соответственно и аварийное покидание пассажирами кабины. При этом аварийных ситуаций при конструкциях, предложенных в аналогах, может быть более чем предостаточно: оборвался тяговый трос, заклинили колеса монорельса, вышел из строя привод тягового троса, нарушилась герметизация кабины и т.д. Для устранения данного недостатка потребуется дополнительная система, установка которой усложнит и удорожает конструкцию и способ ее применения.
Раскрытие изобретения
Технической проблемой, на решение которой направлено заявляемое изобретение, является реализация системы подводной канатной дороги, лишенной недостатков аналогов.
Технический результат заявленного изобретения заключается в конструкции, обеспечивающей нижнее относительно капсулы с незначительной, положительной плавучестью, размещение троса на ролико-образных опорах, в свою очередь, размещенных на морском дне с необходимым шагом.
Для достижения указанного технического результата предложена
подводная канатная транспортная система, содержащая подводную канатную дорогу и по меньшей мере одну герметичную капсулу для пассажиров, характеризующаяся тем, что подводная канатная дорога содержит тяговой трос, установленный с возможностью движения по роликовым опорам, расположенным на дне водоема за счет приводных устройств, расположенных на берегах или искусственных строениях вместе с системой управления и источником напряжения, а упомянутая по меньшей мере одна герметичная капсула для пассажиров выполнена положительной плавучести в состоянии загрузки с источниками электропитания и системами воздухообеспечения и закреплена снизу посредством по меньшей мере двух поводков с механизмами аварийной отцепки к тяговому тросу, подводная канатная дорога содержит также приемники капсул, установленные на поверхности воды на искусственных строениях, представленных наклонной плоскостью, погруженной в воду в сторону от ближнего берега, при этом каждый приемник капсул содержит прорезь для прохождения поводка капсулы.
Возможны модификации когда:
тяговой трос закольцован на приводных устройствах в виде шкивов с приводами, перед которыми на кронштейнах установлены направляющие ролики тягового троса;
качестве приводов использованы лебедки, одна из которых в момент -наматывает тяговой трос на барабан, другая разматывает, при этом поворот тягового троса проходит через шкив, установленный на дне водоема, и на обоих участках тягового троса от лебедки до шкива установлена капсула;
на наклонной поверхности приемника капсулы размещена скользящая поверхность или ролики;
на нижней части корпуса капсулы закреплен с возможностью сброса балласт.
Совокупность приведенных выше существенных признаков приводит к тому, что:
- в аварийном случае происходит отстыковка от поводков и автономное всплытие капсулы;
- отсутствует необходимость строительства дорогостоящих опор, т.к. трос просто ложится на ролико-образные опоры, размешенные на дне водоема, по линии прохождения троса, с требуемым шагом.
Краткое описание чертежей
На фиг. 1 изображена схема, заявляемой подводной канатной дороги (ПКД), с расположенными шкивами 6 на разных противоположных берегах 2 (залива, речки, бухты и т.п.)
На фиг. 2 изображена ПКД с расположенным одним шкивом 6 на берегу, а вторым шкивом 6 на дне 2 водоема.
На фиг. 3 изображена капсула 4 на приемнике 10, готовая к посадке/высадки пассажиров, (вид сбоку)
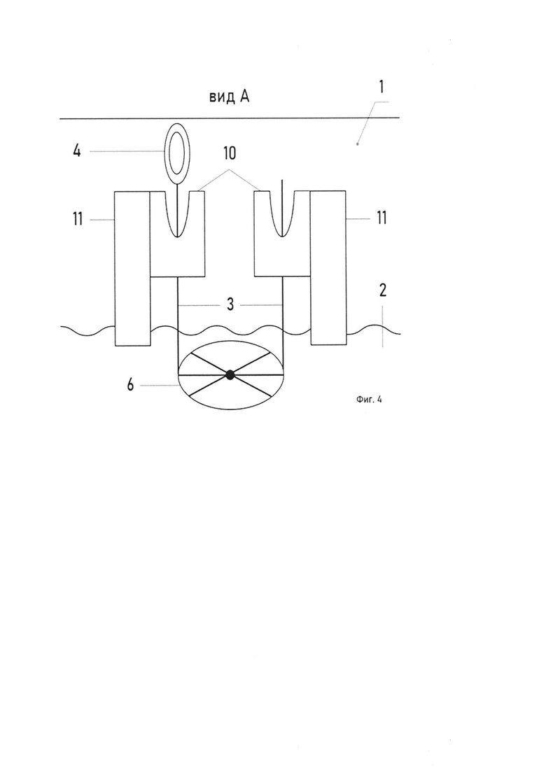
На фиг. 4 изображена капсула 4 на приемнике 10, готовая к посадке/высадки пассажиров, (вид сверху)
На фиг. 5 изображена капсула 4 в момент прохода над роликовой опорой 9
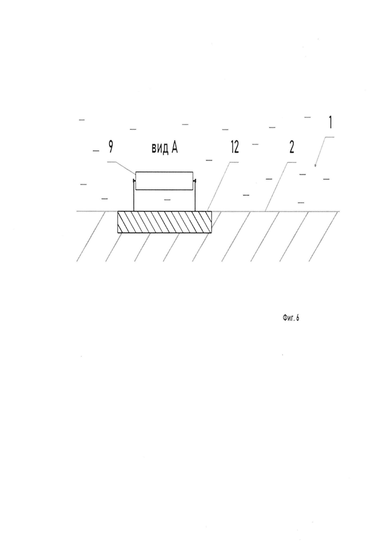
На фиг. 6 изображен вид (спереди) роликовой опоры 9
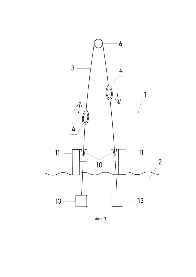
На фиг. 7 изображена подводная КД с использованием двух лебедок 13.
Позициями на чертежах обозначены:
1 - водоем (море, река),
2 - берег и дно,
3 - трос,
4 - капсула с пассажирами,
5 - поводок,
6 - фрикционный шкив,
7 - привод шкива 6,
8 - направляющие ролики с кронштейном,
9 - роликопоры,
10 - приемник для капсул,
11 - пристань,
12 - бетонное основание,
13 - лебедка,
14 - механизм аварийной отцепки, пирозамок (замок).
Осуществление и примеры реализации изобретения
Ниже приведен пример конкретного выполнения заявляемого решения, который не ограничивает варианты его исполнения.
Заявляемая подводная канатная дорога (ПКД), схематически показана на фигурах 1-7 содержит, как минимум одну капсулу 4 для пассажиров, прикрепленную в нижней части корпуса с помощью замков 14 и поводков 5 к тяговому тросу 3 который установлен на роликовых опорах 9 установленных на дне 2 водоема с возможностью движения посредством приводных устройств - пропускания через шкивы 6 с приводами 7 или лебедки 13.
Капсула 4, оборудована системами воздухо-обеспечения не показана на чертежах, связи и аварийного всплытия. У береговой линии на жестко установленных опорах размещается приемник капсул 10 фиг. 1-3, 7, представляющий из себя наклонную плоскость, одной стороной погруженную в воду. Приемник 10 может быть выполнен из железобетона или металла. В центре приемника 10 со стороны расположения тягового троса 3 имеется прорезь для безпрепятсвенного прохождения поводка 5 капсулы 4 в момент ее надвигания. Для уменьшения трения на наклонной поверхности приемника 10 может быть размещен листовой пластик (например, полиамид) или установлены ролики для скольжения или переката соответственно.
Механизмы аварийной отцепки (замок) 14, располагаются на поводках 5, одним концом жестко закрепленных на тяговом тросе 3, а вторым к корпусу капсулы 4. Замки 14 могут быть как механические, так и пиропатроными. Количество поводков 5 зависит от массогабаритных характеристик капсулы 4, но для устойчивости капсулы 4 по направлению минимальное количество поводков 5 ограниченно двумя. Длина поводков 5 зависит от размеров приемника и капсулы и может быть длиной от метра и более.
Замки 14 могут располагаться в любой точке поводков 5. ПКД имеет несколько источников электропитания, установленных в местах расположения шкивов 6 для возможности работы электроприводов 7, или лебедок 13, а также системы управления (не показана) размещенной около приводов 7.
Существуют различные вариации заявляемой ПКД:
Расположение шкивов 6 с приводами 7 на берегах или искусственных строениях, расположенных на берегах водоема фиг. 1;
Расположение одного конца ПКД с шкивами 6 и приводом на берегу или искусственном строении, а другого конца с шкивом на дне водоема фиг. 2;
Расположение ПКД двумя концами на берегу или пристани 11 (или любом другом возвышении над водой), где в качестве приводов использованы лебедки 13 фиг. 7 одна из которых в момент - наматывает трос 3 на барабан, другая - разматывает, при этом поворот троса 3 проходит через шкив 6 установленный на дне водоема. При данной конструкции применяется два приемника 10 установленных на пристанях 11 или другом естественном или искусственном возвышении над водой так же применяется две капсулы 4 для каждого конца ПКД.
Для всех вариантов кроме схемы по фиг. 7 трос 3 закольцован на шкивах 6 с приводами 7. Перед шкивами 6 для точного захождения на них троса 3 установлены направляющие ролики с кронштейнами 8.
В качестве роликовых опор 9 применимы любые виды конвейерных роликовых опор https://studizba.com/lectures/inzhenerija/mashiny-nepreryvnogo-HYPERLINK “https://studizba.com/lectures/inzhenerija/mashiny-nepreryvnogo-transporta/37435-podderzhivajuschie-ustrojstva-konvejerov.html” HYPERLINK “https://studizba.com/lectures/inzhenerija/mashiny-nepreryvnogo-transporta/37435-podderzhivajuschie-ustrojstva-konvejerov.html” HYPERLINK “https://studizba.com/lectures/inzhenerija/mashiny-nepreryvnogo-transporta/37435-podderzhivajuschie-ustrojstva-konvejerov.html”transporta/37435-podderzhivajuschie-ustrojstva-konvejerov.html но лучше использовать желобчатые роликовые опоры которые лучше будут способствовать поддержанию направления троса 3 при этом чем больше расстояние между опорами тем большей длиной должны быть роликовые опоры 9.
К внешнему корпусу капсулы так же закреплены, в верхней части поплавок с антенной соединенные линией передачи (кабелем) с радиоаппаратурой, размещенной внутри капсулы 4 и в нижней части, может быть закреплен балласт, установленный через замки с возможностью сброса.
Механизмы аварийной отцепки и пирозамки широко известны (например, патент RU 2150413, RU 2527634, https://aeronatc.ru/otcep) и могут быть как с механическим, так и с электрическим управлением из капсулы. Также управлением замками может быть производиться и оператором с пристани с помощью канала связи и пульта управления (не показан) и пульта приема управляющего сигнала и исполнительного устройства, расположенного на капсуле (не показаны).
Величина положительной плавучести капсулы 4 подбирается таким образом, чтобы после погрузки всех пассажиров она оставалась положительной и чтобы ее величина была бы недостаточной для значительного отрыва тянущего троса 4 от дна фиг 5. Так же в расчет берется массивность тягового троса.
Примеры осуществления
Подводная КД работает следующим образом. Пассажиры по пирсу заходят на приемник 10 и размещаются в капсуле 4. После герметизации входного люка (не показан) капсулы 4, оператор подает сигнал на привод 7 и по движению тягового троса 3 капсула 4 соскальзывает с поверхности приемника 10 и погружается в воду. Сопровождающий сотрудник внутри капсулы 4 контролирует ситуацию внутри и по связи (поплавок с антенной и кабелем на катушке установлены на корпусе капсулы 4 - не показаны) докладывает оператору о ситуации в капсуле 4. Капсула всегда имеет небольшую положительную плавучесть. Но из-за усилия тягового троса 3, она погружается и перемещается вдоль дна. На дне, по линии тягового троса 3 проложены, по мере необходимости, роликовые опоры 9 установленные на бетонных основаниях 12, не допускающих контакта тягового троса 3 с дном и его повышенного износа.
В случае аварии, оператор или сопровождающий сотрудник может подать сигнал на раскрытие замков 14, капсула 4 будет от стыкована от тягового троса 3 и, благодаря положительной плавучести, поднимется на водную поверхность водоема. На усмотрение оператора или лица сопровождающего капсулу, может быть подан сигнал на расстыковку замков крепления балласта при их наличии (не показан) к капсуле 4. В этом случае, балласт будет сброшен и будет обеспечена еще большая положительная плавучесть, даже с учетом полного наполнения водой пассажирской кабины капсулы.
| название | год | авторы | номер документа |
|---|---|---|---|
| Канатная дорога | 2024 |
|
RU2838270C1 |
| Устройство и способ доставки грузов | 2019 |
|
RU2735796C1 |
| Канатная дорога-автозиплайн | 2021 |
|
RU2754046C1 |
| Канатный велосипед Костенюка | 2024 |
|
RU2828503C1 |
| Каретка канатной дороги - тросоход | 2020 |
|
RU2742438C1 |
| ПОДВЕСНАЯ КАНАТНАЯ ДОРОГА | 2003 |
|
RU2247671C1 |
| Система Костенюка быстрой доставки людей и грузов с поля или на поле боя | 2023 |
|
RU2809726C1 |
| ГОРОДСКАЯ КАНАТНАЯ ДОРОГА | 2011 |
|
RU2466889C1 |
| Ходовой путь для монорельсового транспортного средства | 2017 |
|
RU2670337C2 |
| ПОДВОДНОЕ ТРАНСПОРТНОЕ СРЕДСТВО | 2007 |
|
RU2320515C1 |
Изобретение относится к транспортным средствам, а также средствам развлечения и отдыха, а именно к подводному аттракциону в виде канатной транспортной системы. Подводная канатная транспортная система содержит подводную канатную дорогу и по меньшей мере одну герметичную капсулу для пассажиров. Подводная канатная дорога содержит тяговой трос, установленный с возможностью движения по роликовым опорам, расположенным на дне водоема за счет приводных устройств, расположенных на берегах или искусственных строениях вместе с системой управления и источником напряжения. Упомянутая по меньшей мере одна герметичная капсула для пассажиров выполнена положительной плавучести в состоянии загрузки с источниками электропитания и системами воздухообеспечения и закреплена снизу посредством по меньшей мере двух поводков с механизмами аварийной отцепки к тяговому тросу. Подводная канатная дорога содержит также приемники капсул, установленные на поверхности воды на искусственных строениях, представленных наклонной плоскостью, погруженной в воду в сторону от ближнего берега, при этом каждый приемник капсул содержит прорезь для прохождения поводка капсулы. В результате облегчается покидание капсулы пассажирами в случае аварии за счет положительной плавучести и ее размещения выше конструкции канатной дороги. 4 з.п. ф-лы, 7 ил.
1. Подводная канатная транспортная система, содержащая подводную канатную дорогу и по меньшей мере одну герметичную капсулу для пассажиров, характеризующаяся тем, что подводная канатная дорога содержит тяговой трос, установленный с возможностью движения по роликовым опорам, расположенным на дне водоема за счет приводных устройств, расположенных на берегах или искусственных строениях вместе с системой управления и источником напряжения, а упомянутая по меньшей мере одна герметичная капсула для пассажиров выполнена положительной плавучести в состоянии загрузки с источниками электропитания и системами воздухообеспечения и закреплена снизу посредством по меньшей мере двух поводков с механизмами аварийной отцепки к тяговому тросу, подводная канатная дорога содержит также приемники капсул, установленные на поверхности воды на искусственных строениях, представленных наклонными плоскостями, погруженными в воду в сторону от ближнего берега, при этом каждый приемник капсул содержит прорезь для прохождения поводка капсулы.
2. Подводная канатная транспортная система по п. 1, отличающаяся тем, что тяговой трос закольцован на приводных устройствах в виде шкивов с приводами, перед которыми на кронштейнах установлены направляющие ролики тягового троса.
3. Подводная канатная транспортная система по п. 1, отличающаяся тем, что качестве приводов использованы лебедки, одна из которых наматывает тяговой трос на барабан, другая разматывает, при этом поворот тягового троса проходит через шкив, установленный на дне водоема, и на обоих участках тягового троса от лебедки до шкива установлена капсула.
4. Подводная канатная транспортная система по п. 1, отличающаяся тем, что на наклонной поверхности приемника капсулы размещена скользящая поверхность или ролики.
5. Подводная канатная транспортная система по п. 1, отличающаяся тем, что на нижней части корпуса капсулы закреплен с возможностью сброса балласта.
| ПОДВОДНЫЙ АТТРАКЦИОН | 2020 |
|
RU2750926C1 |
| KR 1020110041350 A, 21.04.2011 | |||
| ПОДВОДНОЕ ТРАНСПОРТНОЕ СРЕДСТВО | 2007 |
|
RU2320515C1 |
| РАСШИРИТЕЛЬ СКВАЖИН | 2005 |
|
RU2299968C1 |
Авторы
Даты
2025-05-26—Публикация
2024-11-15—Подача