Изобретение относится к сельскохозяйственному машиностроению, в частности к узлу для ворошения зерна в зерносушилке.
Известен «Ворошитель для сыпучих и волокнистых материалов» (См. патент РФ №2549969 от 10.05. 2015 г. Бюл. №13) состоит из конусного корпуса, обрезанной вершиной направленного вниз, с валом, проходящим по оси конуса и имеющим шлицевую втулку с закрепленной на ней спиралью с сечением, которое подбирается по распушаемому материалу - это может быть круг, квадрат, прямоугольник и др., и имеющей в плане форму логарифмической, начало которой прикреплено к шлицевой втулке при вершине конуса, а продолжение ее, расширяющееся по мере подъема к основанию, спицами к этой же втулке таким образом, что при вращении вала со втулкой этой спиралью распушаемый материал поднимается вверх по внутренней поверхности конусного корпуса, а затем по мере накопления над спиралью, в распушенном виде, падает вниз, проваливаясь сквозь нижнее отверстие конусного корпуса, не распушенная же часть снова поднимается спиралью вверх для повторения цикла распушения.
К недостаткам известного ворошителя можно отнести невозможность его применения для ворошения сыпучего продукта при конвейерном способе сушки сыпучих сельскохозяйственных культур.
Известно «Устройство для сушки зерна» (См. патент РФ №2672487 от 15.11.2018 г. Бюл. №32). Устройство состоит из кожуха прямоугольного сечения, загрузочного бункера, выгрузного окна, установленного внутри кожуха с возможностью вращения транспортирующего рабочего органа с гибкой лентой, а также нагревательных элементов. На внутренней верхней стороне кожуха перпендикулярно верхней поверхности гибкой ленты с возможностью вращения размещены ворошители зерна, выполненные в виде вала с лопастями и установленные со смещением друг относительно друга в поперечных рядах, а также с минимальным зазором между их нижними концами и внешней поверхностью верхней ветви гибкой ленты, причем соседние ворошители зерна, установленные в поперечных рядах, выполнены вращающимися в противоположных направлениях, а ворошители зерна, установленные в каждом следующем поперечном ряду, выполнены вращающимися в противоположных направлениях как относительно друг друга, так и относительно ворошителей зерна предыдущего поперечного ряда.
К недостаткам известного ворошителя можно отнести сложность конструкции ворошителей, множество механических приводов, вращающих лопатки ворошителей в разных направлениях, увеличенную нагрузку на валы конструкции приводящей к увеличению энергопотребления, а также сложность быстрой замены лопаток в случае необходимости.
Известен ворошитель продукта конвейерной сушилки Alvan Blanch, ссылка: https://agrostyle.by/assets/images/alvan-blanch/sushilka-blansh1.jpg, взятый в качестве прототипа. Ворошитель выполнен в виде вала со смонтированными на нем усиливающими продольными пластинами с установленными между ними и закрепленными на них при помощи болтового соединения лопатками, выполненными в виде прямоугольных заостренных с наружного торца пластин.
К недостаткам известного ворошителя можно отнести громоздкость конструкции, ее материалоемкость и большую нагрузку на вал, что уменьшает ресурс мотор-редуктора, а также увеличивает энергопотребление. При этом в сельской местности как раз этот показатель часто является наиболее значимым, поскольку хозяйства не обладают мощными электрическими сетями.
Техническим результатом предполагаемого изобретения является устранение недостатков аналога и прототипа, в частности создание ворошителя простой облегченной конструкции, с уменьшенной нагрузкой на вал, позволяющей увеличить ресурс мотор-редуктора, при этом сохранить надежность и эффективность конструкции, позволяющей легко и быстро осуществлять замену лопаток в случае необходимости.
Поставленный технический результат достигается использованием сочетания общих с прототипом известных признаков включающих вал, смонтированный на подшипниковых опорах с закрепленными на нем лопатками и электрический привод с редуктором - мотор-редуктором и новых признаков, заключающихся в том, что вал выполнен в виде трубчатого корпуса с закрепленными по торцам съемными опорными хвостовиками, на наружной поверхности вала с шагом равным от 0,3 до 2,5 диаметра вала жестко смонтированы фланцы с отверстиями на которых, при помощи болтового соединения, закреплено по меньшей мере по одной лопатке, с выполненными отверстиями идентично отверстиям фланцев на расширяющейся, в месте крепления к фланцу, стороне, при этом каждая последующая лопатка, относительно предыдущей, закреплена на фланцах со смещением по спиральной образующей вала на угол от 15,0 до 60,0-ти градусов.
Съемные хвостовики смонтированы на торцах трубчатого корпуса при помощи фланцевого соединения.
Лопатки выполнены в виде пластин, при этом расширяющаяся сторона лопаток в месте крепления к фланцу выполнена криволинейной, повторяющей форму и размер части фланца.
Новизной предполагаемого изобретения является то, что вал выполнен в виде трубчатого корпуса с закрепленными по торцам съемными опорными хвостовиками, на наружной поверхности вала с шагом равным от 0,3 до 2,5 диаметра вала жестко смонтированы фланцы с отверстиями на которых, при помощи болтового соединения, закреплено по меньшей мере по одной лопатке, с выполненными отверстиями идентично отверстиям фланцев на расширяющейся, в месте крепления к фланцу, стороне, при этом каждая последующая лопатка, относительно предыдущей, закреплена на фланцах со смещением по спиральной образующей вала на угол от 15,0 до 60,0-ти градусов.
Так признак выполнения вала выполнен в виде трубчатого корпуса с закрепленными по торцам съемными опорными хвостовиками обеспечивает его прочность и надежность, а также позволит легко и быстро заменить лопатки не снимая вал.
Признак выполнения на наружной поверхности вала с шагом равным от 0,3 до 2,5 диаметра вала жестко смонтированы фланцы с отверстиями на которых, при помощи болтового соединения, закреплено по меньшей мере по одной лопатке, с выполненными отверстиями идентично отверстиям фланцев на расширяющейся в месте крепления к фланцу стороне обеспечивает надежность конструкции. Наличие отверстий в лопатке выполненных идентично отверстиям фланцев и болтового соединения обеспечивает простоту и универсальность мест крепления лопаток на валу с фланцами, простую установку и крепление лопаток, что позволяет легко и быстро осуществить замену конкретных лопаток в случае необходимости и исключает необходимость осуществлять демонтаж остальных не требующих замены.
Выполнение шага монтажа фланцев на поверхности вала менее 0,3 диаметра вала изменит назначение ворошителя, поскольку частое и близкое расположение лопаток будет не ворошить культуры, а сдвигать, что отрицательно отразится на эффективности и качестве сушки культуры. Если же фланцы монтировать на расстоянии, превышающем 2,5 диаметра вала, то получим не равномерное ворошение культуры, что также ухудшит качество сушки и даже увеличит риск возгорания при сушке масличных культур.
Признак закрепления каждой последующей лопатки, относительно предыдущей, на фланцах со смещением по спиральной образующей вала на угол от 15,0 до 60,0-ти градусов обеспечивает уменьшение нагрузки на вал и на привод с редуктором, увеличит ресурс моторредуктора и предотвратит увеличенное энергопотребление. Так, размещение лопаток по спиральной образующей вала делает возможным поочередное и постепенное погружение лопаток в слой зерна, снижая тем самым нагрузку на привод ворошителя и при этом сохраняя качество ворошения. При этом, если угол смещения выполнить менее 15,0 градусов, то это увеличит нагрузку на вал, так как лопатки будут располагаться слишком часто, а если угол смещения выполнить более 60 градусов, то редкое размещение лопаток ухудшит ворошение и, как следствие, качество сушки зерна.
Признак монтажа съемных хвостовиков на торцах трубчатого корпуса при помощи фланцевого соединения способствует надежности, простоте сборки ворошителя, его монтажа и демонтажа в случае необходимости, а также добавляет ремонтопригодности ворошителю.
Признак выполнения лопаток в виде пластин и выполнение расширяющейся стороны лопаток в месте крепления к фланцу криволинейной, повторяющей форму и размер части фланца, способствует сохранению надежности конструкции и ее эффективности за счет равномерного распределения воспринимаемой лопаткой нагрузки и сохранения ее целостности, предотвращая скручивание, при этом способствуя облегчению конструкции ворошителя.
Поскольку предложенное сочетание признаков не известно из существующего уровня техники и не вытекает из него явным образом позволяет получить более высокий технический результат, то предлагаемые существенные признаки и их сочетание можно считать имеющими изобретательский уровень.
Согласно проведенных патентно-информационных исследований, сочетания известных и новых признаков предполагаемого изобретения в источниках патентной и научно - технической информации не обнаружено, что позволяет отнести признаки к обладающим новизной.
Описание осуществления предполагаемого изобретения позволяет отнести его к промышленно выполнимым.
На фиг. 1 схематично показан общий вид ворошителя в сборе с двумя смонтированными лопатками на каждом фланце, со смещением лопаток по спиральной образующей вала равным 45 градусов.
На фиг. 2 схематично показан ворошитель с одной смонтированной лопаткой на каждом фланце.
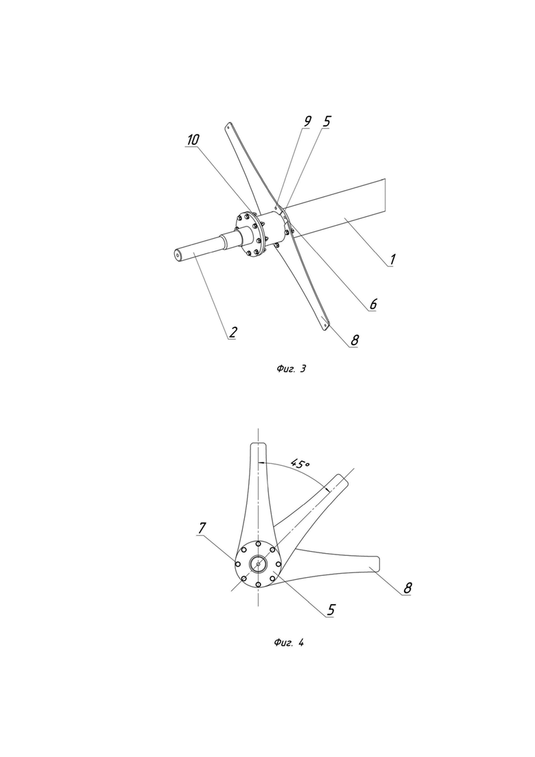
На фиг. 3 схематично показано крепление фланца с хвостовиком и лопатки с отверстиями для их болтового соединения.
На фиг. 4 схематично показан угол смещения лопаток, смонтированных на двух последовательно расположенных фланцах.
На фиг. 5 схематично показан продольный вид ворошителя со смещенными лопатками относительно предыдущих по спиральной образующей вала.
Ворошитель для сыпучих сельскохозяйственных культур состоит из вала 1 выполненного в виде трубчатого корпуса с двумя съемными хвостовиками 2 и 3 смонтированными на его торцах и установленного на подшипниковых опорах 4. На наружной поверхности вала 1 жестко смонтированы фланцы 5 с отверстиями 6 для болтового соединения 7 с лопатками 8 посредством отверстий 9 выполненными на стороне их крепления к фланцам 5. Съемные хвостовики 2 и 3 закреплены на торцах вала 1 при помощи фланцев 10 и 11. Расстояние между фланцами 5 для крепления лопаток 8 выполнено с шагом равным от 0,3 до 2,5 диаметра вала. Лопатки 8 выполнены в виде пластин, с расширяющейся стороной в месте крепления к фланцу 5. При этом каждая последующая лопатка 8, относительно предыдущей, закреплена на фланцах 5 со смещением по спиральной образующей 12 вала 1 на угол от 15,0 до 60,0-ти градусов, а расширяющаяся сторона лопаток выполнена криволинейной, повторяющей форму и размер части фланца 5. Ворошитель снабжен электрическим приводом с редуктором 13.
Пример конкретного изготовления и работы ворошителя.
Из трубы диаметром 102 мм. изготовили корпус вала 1. На наружной поверхности вала 1 с шагом равным 2,2 его диаметра посредством сварки смонтировали фланцы 5 с отверстиями 6 для болтового соединения 7 с лопатками 8. После чего посредством фланцев 10 и 11 и болтового соединения 7, с торцов трубчатого корпуса, закрепили два съемных хвостовика 2 и 3 и установили на подшипниковых опорах 4. Затем на каждом фланце 5, посредством болтового соединения 7 и отверстий 9 выполненных на лопатках 8 на стороне их крепления к фланцам, смонтировали по две диаметрально расположенные лопатки 8. Причем каждая последующая лопатка, относительно предыдущей, на последующих фланцах закрепили со смещением по спиральной образующей вала на угол 45 градусов.
Работает ворошитель следующим образом:
Ворошитель установили в сушилку на верхнем ложе так, что при заполнении верхнего ложе он расположен как раз над слоем сыпучей сельскохозяйственной культуры подлежащей сушке, в данном случае, подсолнечником. Оператор установил скорость вращения ворошителя. При помощи электрического привода с редуктором осуществляется вращение ворошителя, на валу которого смонтированы лопатки. Подсолнечник медленно перемещается решетчатым транспортером по верхнему ложе. В поджалюзийное пространство подается горячий воздух, который проходя через слой подсолнечника сушит его. Для более эффективной и качественной его сушки ворошитель вращаясь вокруг своей продольной оси лопатками поочередно погружается в слой сыпучего продукта и таким образом поднимает более нагретое семя подсолнечника с нижней части слоя, тем самым перемешивая и выравнивая температуру по всей толщине (глубине) слоя. Таким образом сохраняя качество продукта и обеспечивая пожаробезопасность на некоторых культурах, как раз таких, как подсолнечник. При этом, лопатки не травмируют зерно так как заходят ребром, это очень важно для некоторых видов продукта, тот же подсолнечник при давлении на него выделяет масло, которое весьма пожароопасно. Поочередное и постепенное погружение лопаток в слой зерна, снижает нагрузку на привод ворошителя и при этом сохраняет качество ворошения. Поскольку ворошитель дает возможность горячему воздуху равномерно прогревать весь слой удаляя при этом лишнюю влагу из продукта предупреждая его перегрев. Выполнение лопаток, закрепленных посредством болтового соединения на жестко смонтированных, на трубчатом корпусе, фланцах обеспечивает надежность конструкции ворошителя позволяя, при этом, не только облегчить ее, но также легко и быстро осуществлять замену лопаток в случае необходимости.
В настоящее время на предприятии на предлагаемую конструкцию ворошителя разработана техническая документация, изготовлен опытный образец и проведены ходовые испытания, показавшие хорошие и стабильные результаты: качественное ворошение при облегчении конструкции и сохранении ее надежности. В ближайшее время будет принято решение о запуске предлагаемой конструкции ворошителя в производство.
| название | год | авторы | номер документа |
|---|---|---|---|
| СУШИЛКА ДЛЯ СЫПУЧИХ МАТЕРИАЛОВ | 2005 |
|
RU2282804C1 |
| Конвейерная зерносушилка | 2024 |
|
RU2836965C1 |
| НАВЕСНОЙ РАЗБРАСЫВАТЕЛЬ МИНЕРАЛЬНЫХ УДОБРЕНИЙ | 2007 |
|
RU2343678C2 |
| ЦЕНТРОБЕЖНЫЙ ИЗМЕЛЬЧИТЕЛЬ ФУРАЖНОГО ЗЕРНА | 2023 |
|
RU2819309C1 |
| ЭЛЕКТРОМЕХАНИЧЕСКИЙ СЕПАРАТОР | 1996 |
|
RU2100093C1 |
| ИЗМЕЛЬЧИТЕЛЬ-ДИСПЕРГАТОР | 2011 |
|
RU2472576C2 |
| Двухвальный горизонтальный смеситель с регулируемыми вертикальными лопатками | 2017 |
|
RU2646406C1 |
| РОТОР МОЛОТИЛЬНО-СЕПАРИРУЮЩЕГО УСТРОЙСТВА ЗЕРНОУБОРОЧНОГО КОМБАЙНА ДЛЯ УБОРКИ ТРУДНООБМОЛАЧИВАЕМЫХ ЗЕРНОВЫХ КУЛЬТУР | 2023 |
|
RU2803275C1 |
| АЭРОЖЕЛОБ УНИВЕРСАЛЬНЫЙ ДЛЯ НЕСЫПУЧЕГО И СЫПУЧЕГО МАТЕРИАЛА | 2010 |
|
RU2460276C2 |
| УСТРОЙСТВО ДЛЯ ПРОСЕИВАНИЯ СЫПУЧИХ МАТЕРИАЛОВ ТИПА МУКИ | 1991 |
|
RU2022665C1 |
Ворошитель включает вал, смонтированный на подшипниковых опорах, с закрепленными на нем лопатками и электрический привод с редуктором - мотор-редуктором, при этом вал выполнен в виде трубчатого корпуса с закрепленными по торцам съемными опорными хвостовиками, на наружной поверхности вала с шагом, равным от 0,3 до 2,5 диаметра вала, жестко смонтированы фланцы с отверстиями, на которых, при помощи болтового соединения, закреплено по меньшей мере по одной лопатке, с выполненными отверстиями идентично отверстиям фланцев на расширяющейся, в месте крепления к фланцу, стороне, при этом каждая последующая лопатка относительно предыдущей закреплена на фланцах со смещением по спиральной образующей вала на угол от 15,0 до 60,0°. Обеспечивается создание ворошителя простой облегченной конструкции с уменьшенной нагрузкой на вал, позволяющей увеличить ресурс мотор-редуктора, при этом сохранить надежность и эффективность конструкции, позволяющей легко и быстро осуществлять замену лопаток в случае необходимости. 2 з.п. ф-лы, 5 ил.
1. Ворошитель для сыпучих сельскохозяйственных культур, включающий вал, смонтированный на подшипниковых опорах, с закреплёнными на нём лопатками и электрический привод с редуктором – мотор-редуктором, отличающийся тем, что вал выполнен в виде трубчатого корпуса с закрепленными по торцам съёмными опорными хвостовиками, на наружной поверхности вала с шагом, равным от 0,3 до 2,5 диаметра вала, жестко смонтированы фланцы с отверстиями, на которых при помощи болтового соединения закреплено по меньшей мере по одной лопатке с выполненными отверстиями идентично отверстиям фланцев на расширяющейся в месте крепления к фланцу стороне, при этом каждая последующая лопатка, относительно предыдущей, закреплена на фланцах со смещением по спиральной образующей вала на угол от 15,0 до 60,0 градусов.
2. Ворошитель по п. 1, отличающийся тем, что съёмные хвостовики смонтированы на торцах трубчатого корпуса при помощи фланцевого соединения.
3. Ворошитель по п. 1, отличающийся тем, что лопатки выполнены в виде пластин, при этом расширяющаяся сторона лопаток в месте крепления к фланцу выполнена криволинейной, повторяющей форму и размер части фланца.
| Топчак-трактор для канатной вспашки | 1923 |
|
SU2002A1 |
| СПОСОБ ЛАЗЕРНОЙ ПОЛЯРИЗАЦИОННОЙ СПЕКТРОСКОПИИ | 1989 |
|
RU2039351C1 |
| Многосекционная ленточная сушилка | 1984 |
|
SU1146529A1 |
| Установка для сушки зернообразных продуктов | 1990 |
|
SU1771581A2 |
| Ротор барабанной сушилки | 1987 |
|
SU1478013A1 |
| CN 208042687 U, 02.11.2018 | |||
| CN 217877011 U, 22.11.2022. | |||
Авторы
Даты
2025-05-26—Публикация
2024-11-02—Подача