Поршень для применения со шприцем Российский патент 2025 года по МПК A61M5/145 A61M5/315 A61M5/36 

Описание патента на изобретение RU2841032C1

ПЕРЕКРЕСТНАЯ ССЫЛКА НА СВЯЗАННУЮ ЗАЯВКУ

[0001] Настоящая заявка испрашивает приоритет предварительной патентной заявки США №62/705265, поданной 18 июня 2020 г. раскрытие которой полностью включено в эту заявку посредством ссылки.

ПРЕДПОСЫЛКИ СОЗДАНИЯ ИЗОБРЕТЕНИЯ

Область техники изобретения

[0002] Настоящее изобретение в целом относится к системе, которая включает в себя шприц с фронтальной загрузкой и/или герметичный кожух, предназначенной для применения с инъектором для введения жидкости и, кроме того, к соединительному интерфейсу для крепления поршня шприца с плунжером инъектора для введения жидкости и к способу зацепления поршня шприца с плунжером инъектора для введения жидкости и расцепления с ним.

Описание соответствующего уровня техники

[0003] Во многих медицинских диагностических и терапевтических процедурах, практикующий врач вводит пациенту одну или несколько жидкостей медицинского назначения. Для применения в процедурах визуализации с контрастным усилением, таких как ангиография, компьютерная томография (КТ), ультразвук, магнитно-резонансная томография (МРТ), позитронно-эмиссионная томография (ПЭТ), и других процедурах визуализации, был разработан несколько приводимых в действие инъектором шприцев и инъекторов для введения под давлением таких жидкостей, как контрастный раствор (часто называемый просто "контраст"), промывающий агент (такой как физиологический раствор, или лактат Рингера), и других жидкостей медицинского назначения. Как правило, указанные инъекторы для введения жидкости предназначены для доставки заданного количества одной или нескольких жидкостей с заданной скоростью потока.

[0004] Как правило, инъекторы для введения жидкости имеют по меньшей мере один приводной элемент, такой как плунжер, который соединяется со шприцем, например, с помощью соединения с поршнем или зацепляющим элементом на проксимальной торцевой стенке шприца. Шприц может включать в себя жесткий цилиндр шприца с поршнем шприца, расположенным внутри цилиндра шприца с возможностью скольжения. По меньшей мере один приводной элемент выполнен с возможностью приведения в движение поршня в проксимальном и/или дистальном направлении относительно продольной оси цилиндра шприца для втягивания жидкости в цилиндр шприца или выпуска жидкости от него.

[0005] Для облегчения зацепления поршня шприца с плунжером инъектора для введения жидкости были разработаны различные соединительные интерфейсы. В некоторых вариантах осуществления, шприц, имеющий удерживающий элемент, вставляется в порт шприца на инъекторе для введения жидкости посредством совмещения шприца с соответствующим фиксирующим элементом, обеспеченным на инъекторе для введения жидкости. Такое совмещение также совмещает поршень в шприце с плунжером на инъекторе для введения жидкости таким образом, что плунжер может зацеплять поршень и осуществлять возвратно-поступательные движения поршня внутри цилиндра шприца для отвода жидкости в цилиндр шприца или выпуска жидкости из цилиндра шприца и подачи жидкости в цилиндр шприца. В других вариантах осуществления, при начальном зацеплении с поршнем, плунжер поворачивают по часовой стрелке или против часовой стрелки, до тех пор, пока плунжер не зацепит фиксатор на поршне. В дополнительных вариантах осуществления, плунжер имеет простирающиеся радиально стержни, которые зацепляют выступ на поршне.

[0006] Многие из существующих соединительных интерфейсов имеют конструкцию, которая требует сложной головки плунжера с различными сенсорными элементами и активными конструкциями зацепления. В данной области техники существует потребность в усовершенствованном соединительном интерфейсе, который обеспечивает более простое и более легкое зацепление поршня шприца с плунжером инъектора для введения жидкости и расцепление поршня шприца с ним. В данной области техники существует дополнительная потребность в уменьшении или устранять необходимость для оператора посредством вращения совмещать шприц с инъектором для введения жидкости перед зацеплением поршня шприца с плунжером инъектора для введения жидкости. Хотя в медицинской сфере известны различные соединительные интерфейсы и способы присоединения шприца, усовершенствованные соединительные интерфейсы между поршнем шприца и плунжером инъектора для введения жидкости и способы зацепления поршня шприца с плунжером инъектора для введения жидкости и расцепления с ним продолжают быть затребованы.

КРАТКОЕ ОПИСАНИЕ ИЗОБРЕТЕНИЯ

[0007] В данной области техники существует потребность в усовершенствованном соединительном интерфейсе между поршнем шприца и плунжером инъектора для введения жидкости, который преодолевает недостатки предыдущего уровня техники. Существует дополнительная потребность в усовершенствованных способах зацепления поршня шприца с плунжером инъектора для введения жидкости и расцепления с ним, для обеспечения возможности легко вставлять шприц в инъектор для введения жидкости или удалять шприц от него.

[0008] В соответствии с некоторыми вариантами осуществления, поршень, предназначенный для применения со шприцем, может включать в себя корпус поршня, определяющий центральную продольную ось, и имеющий проксимальный конец, дистальный конец, и боковую стенку по окружности, соединяющую проксимальный конец и дистальный конец; и по меньшей мере один удерживающий элемент, связанный с корпусом поршня и простирающийся проксимально от него, при этом по меньшей мере один удерживающий элемент содержит: первый конец, соединенный с корпусом поршня; второй конец, проксимальный к первому концу и выполненный с возможностью радиального и упругого отклонения относительно первого конца; и по меньшей мере один фиксатор на втором конце, причем по меньшей мере один удерживающий элемент может иметь внешнюю поверхность, выполненную с возможностью зацепления втулки зацепления поршня механизма зацепления поршня на плунжере системы инъектора для введения жидкости, когда поршень может находиться в фиксированном состоянии с плунжером, причем по меньшей мере один удерживающий элемент может иметь внутреннюю поверхность, выполненную с возможностью зацепления узла зацепления поршня механизма зацепления поршня, когда поршень может находиться в фиксированном состоянии с плунжером, причем по меньшей мере один фиксатор может быть выполнен с возможностью зацепления фиксирующего элемента на одном из такого как втулка зацепления поршня и узел зацепления поршня, когда поршень может находиться в фиксированном состоянии с плунжером, для предотвращения осевого перемещения поршня относительно плунжера, и причем по меньшей мере один фиксатор может быть выполнен с возможностью радиального отклонения второго конца по меньшей мере одного удерживающего элемента при осевом перемещении плунжера относительно поршня в разблокированном состоянии поршня от плунжера в результате зацепления по меньшей мере одного фиксатора с фиксирующим элементом на одном из такого как втулка зацепления поршня и узел зацепления поршня.

[0009] В соответствии с некоторыми вариантами осуществления, по меньшей мере один удерживающий элемент может включать в себя несколько удерживающих элементов, расположенных на расстоянии друг от друга вокруг центральной продольной оси. Причем несколько удерживающих элементов могут быть расположены вокруг центральной продольной оси на расстоянии друг от друга на равных промежутках. По меньшей мере один удерживающий элемент может простираться проксимально в направлении, параллельном центральной продольной оси, или в направлении, расположенным под углом относительно центральной продольной оси. По меньшей мере один удерживающий элемент может располагаться между первым концом и вторым концом линейно или криволинейно. Поршень может быть выполнен с возможностью зацепления механизма зацепления поршня независимо от угловой ориентации поршня относительно плунжера инъектора для введения жидкости.

[0010] В соответствии с некоторыми вариантами осуществления, по меньшей мере один фиксатор может иметь первую поверхность на проксимальном конце по меньшей мере одного фиксатора, выполненную с возможностью зацепления дистального конца фиксирующего элемента на одном из такого как втулка зацепления поршня и узел зацепления поршня во время зацепления поршня с плунжером, и вторую поверхность на дистальном конце по меньшей мере одного фиксатора, выполненную с возможностью зацепления проксимального конца фиксирующего элемента на одном из такого как втулка зацепления поршня и узел зацепления поршня во время расцепления поршня от плунжера.

[0011] В соответствии с некоторыми вариантами осуществления, по меньшей мере один фиксатор может выступать радиально внутрь от внутренней поверхности по меньшей мере одного удерживающего элемента в направлении к центральной продольной оси или радиально наружу от внешней поверхности по меньшей мере одного удерживающего элемента в направлении от центральной продольной оси. По меньшей мере один фиксатор может определять фиксирующее углубление для размещения по меньшей мере части механизма зацепления поршня, когда поршень соединяется с плунжером. По меньшей мере один фиксатор может выступать радиально внутрь от внутренней поверхности по меньшей мере одного удерживающего элемента в направлении к центральной продольной оси, и по меньшей мере один фиксатор может быть выполнен с возможностью размещения внутри фиксирующего элемента, который может иметь форму фиксирующей канавки, выступающей радиально внутрь от внешней поверхности узла зацепления поршня, когда поршень может находиться в фиксированном состоянии с плунжером.

[0012] В соответствии с некоторыми вариантами осуществления, корпус поршня может иметь участок конической формы на дистальном конце и участок цилиндрической формы на проксимальном конце. По меньшей мере один удерживающий элемент может выступать проксимально от внутренней поверхности участка конической формы. Один или более (несколько) расцепляющих выступов могут выступать радиально внутрь от внутренней поверхности участка цилиндрической формы или проксимально от внутренней поверхности участка цилиндрической формы, причем каждый из нескольких расцепляющих выступов выполнен с возможностью взаимодействия с втулкой зацепления поршня для осуществления расцепления поршня от плунжера при вращении поршня вокруг центральной продольной оси. Проксимальный конец каждого из нескольких расцепляющих выступов может иметь заостренную направляющую поверхность.

[0013] В соответствии с некоторыми вариантами осуществления, крышка поршня может закрывать по меньшей мере часть дистальной поверхности корпуса поршня и может включать в себя уплотнение, расположенное вокруг по меньшей мере части боковой стенки по окружности корпуса поршня.

[0014] В соответствии с некоторыми вариантами осуществления, поршень может быть выполнен с возможностью расположения внутри цилиндра шприца с возможностью скольжения. Поршень может быть выполнен с возможностью возвратно-поступательного движения в цилиндре шприца.

[0015] В соответствии с некоторыми вариантами осуществления, система инъектора для введения жидкости может включать в себя по меньшей мере один плунжер, выполненный с возможностью возвратно-поступательного движения, имеющий головку плунжера; и механизм зацепления поршня, связанный с головкой плунжера и выполненный с возможностью зацепления поршня шприца, соединенного с системой инъектора для введения жидкости для возвратно-поступательного движения поршня в шприце благодаря перемещению по меньшей мере одного плунжера, при этом механизм зацепления поршня может включать в себя: втулку зацепления поршня, имеющую полый корпус; узел зацепления поршня, выполненный с возможностью размещения внутри полого корпуса втулки зацепления поршня; и исполнительный механизм, функционально соединенный с одним из такого как втулка зацепления поршня и узел зацепления поршня и выполненный с возможностью перемещения одного из такого как втулка зацепления поршня и узел зацепления поршня между положением зацепления и положением расцепления, причем, в положении зацепления, узел зацепления поршня может быть расположен внутри полого корпуса втулки зацепления поршня для захвата по меньшей мере одного упруго-гибкого удерживающего элемента, связанного с поршнем, в приемном пространстве между буртиком зацепления поршня и узлом зацепления поршня, и причем, в положении расцепления, узел зацепления поршня может быть расположен, по меньшей мере частично, снаружи полого корпуса втулки зацепления поршня, с тем, чтобы обеспечивать возможность гибкого вставления или удаления по меньшей мере одного упруго-гибкого удерживающего элемента поршня из приемного пространства.

[0016] В соответствии с некоторыми вариантами осуществления, исполнительный механизм может представлять собой роторный электродвигатель, линейный электродвигатель, линейный исполнительный механизм, или соленоид. В соответствии с некоторыми вариантами осуществления, исполнительный механизм может приводиться в действие вручную. Исполнительный механизм может иметь состояние зацепления для перемещения одного из такого как втулка зацепления поршня и узел зацепления поршня в положение зацепления, и состояние расцепления для перемещения одного из такого как втулка зацепления поршня и узел зацепления поршня в положение расцепления. Исполнительный механизм может автоматически перемещаться в состояние расцепления при потере подачи электропитания на исполнительный механизм. Исполнительный механизм может находиться в состоянии зацепления только во время проксимального перемещения по меньшей мере одного плунжера. Для перемещения исполнительного механизма из состояние зацепления в состояние расцепления может обеспечиваться по меньшей мере один смещающий элемент.

[0017] В соответствии с некоторыми вариантами осуществления, вращательное движение исполнительного механизма может перемещать одно из такого как втулка зацепления поршня и узел зацепления поршня проксимально или дистально в линейном направлении. В соответствии с некоторыми вариантами осуществления, линейное перемещение исполнительного механизма может перемещать одно из такого как втулка зацепления поршня и узел зацепления поршня проксимально или дистально в линейном направлении. Исполнительный механизм может быть функционально соединен с контроллером, выполненным с возможностью управления приведением в действие исполнительного механизма.

[0018] В соответствии с некоторыми вариантами осуществления, одна из такого как втулка зацепления поршня и втулка зацепления поршня может быть выполнена с возможностью линейного или вращательного движения относительно плунжера, в то время как другая из такого как втулка зацепления поршня и втулка зацепления поршня может быть неподвижной относительно плунжера. Узел зацепления поршня и буртик зацепления поршня могут быть выполнены с возможностью линейного или вращательного движения относительно плунжера.

[0019] В соответствии с некоторыми вариантами осуществления, по меньшей мере один датчик может быть выполнен с возможностью определения положения по меньшей мере одного буртика зацепления поршня и узла зацепления поршня между положением зацепления и положением расцепления. Датчик обнаружения поршня может быть выполнен с возможностью определения присутствия по меньшей мере одного удерживающего элемента поршня в приемном пространстве между буртиком зацепления поршня и узлом зацепления поршня.

[0020] В соответствии с некоторыми вариантами осуществления, полый корпус втулки зацепления поршня может иметь отверстие со ступенчатым внутренним диаметром, который уменьшается в направлении от дистального конца втулки зацепления поршня до проксимального конца втулки зацепления поршня. Узел зацепления поршня может включать в себя фиксирующую канавку, выступающую радиально внутрь от внешней поверхности узла зацепления поршня, и при этом фиксирующая канавка может быть выполнена с возможностью размещения по меньшей мере одного фиксатора по меньшей мере на удерживающем элементе поршня. Дистальный край фиксирующей канавки может быть выполнен с возможностью гибкого отклонения по меньшей мере удерживающего элемента поршня во время осевого перемещения поршня относительно плунжера, для перемещения по меньшей мере одного фиксатора по меньшей мере одного удерживающего элемента из зацепления с фиксирующей канавкой, когда одно из такого как втулка зацепления поршня и узел зацепления поршня может перемещаться в положение расцепления. Узел зацепления поршня может иметь корпус со ступенчатым внешним диаметром, который уменьшается в направлении от дистального конца узла зацепления поршня до проксимального конца узла зацепления поршня.

[0021] В соответствии с некоторыми вариантами осуществления, буртик зацепления поршня может включать в себя фиксирующий элемент, выступающий радиально внутрь от внутренней поверхности буртика зацепления поршня. Фиксирующий элемент может быть выполнен с возможностью зацепления по меньшей мере одного фиксатора по меньшей мере на удерживающем элементе поршня, когда одно из такого как втулка зацепления поршня и узел зацепления поршня может перемещаться в положение зацепления. Фиксирующий элемент может быть выполнен с возможностью гибкого отклонения по меньшей мере удерживающего элемента поршня во время осевого перемещения поршня относительно плунжера для перемещения по меньшей мере одного фиксатора по меньшей мере одного удерживающего элемента из зацепления с фиксирующим элементом, когда одно из такого как втулка зацепления поршня и узел зацепления поршня может перемещаться в положение расцепления.

[0022] В соответствии с некоторыми вариантами осуществления, система инъектора для введения жидкости может дополнительно включать в себя шприц, при этом шприц имеет цилиндр, имеющий проксимальный конец цилиндра, дистальный конец цилиндра, имеющий выпускной наконечник, и боковую стенку цилиндра простирающуюся между проксимальным концом цилиндра и дистальным концом цилиндра; а также поршень, расположенный внутри цилиндра шприца с возможностью скольжения и возвратно-поступательного движения между проксимальным концом цилиндра и дистальным концом цилиндра.

[0023] В соответствии с некоторыми вариантами осуществления, поршень может включать в себя: корпус поршня, определяющий центральную продольную ось, и имеющий проксимальный конец, дистальный конец, и боковую стенку по окружности, соединяющую проксимальный конец и дистальный конец; и по меньшей мере один удерживающий элемент, связанный с корпусом поршня, и простирающийся проксимально от него.

[0024] В соответствии с некоторыми вариантами осуществления, по меньшей мере один удерживающий элемент может включать в себя первый конец, соединенный с корпусом поршня; второй конец, проксимальный к первому концу и выполненный с возможностью радиального и упругого отклонения относительно первого конца; и по меньшей мере один фиксатор на втором конце, причем по меньшей мере один удерживающий элемент может иметь внешнюю поверхность, выполненную с возможностью зацепления втулки зацепления поршня, когда поршень может зацепляться с плунжером, причем по меньшей мере один удерживающий элемент может иметь внутреннюю поверхность, выполненную с возможностью зацепления узла зацепления поршня, когда поршень может зацепляться с плунжером, причем по меньшей мере один фиксатор может быть выполнен с возможностью зацепления фиксирующего элемента на одном из такого как втулка зацепления поршня и узел зацепления поршня, когда поршень может зацепляться с плунжером, для предотвращения осевого перемещения поршня относительно плунжера, и причем по меньшей мере один фиксатор может быть выполнен с возможностью радиального отклонения второго конца по меньшей мере одного удерживающего элемента при осевом перемещении плунжера относительно поршня в состояние расцепления поршня, в результате контакта по меньшей мере одного фиксатора с фиксирующим элементом.

[0025] В соответствии с некоторыми вариантами осуществления, поршень может быть выполнен с возможностью зацепления механизма зацепления поршня независимо от угловой ориентации поршня относительно плунжера инъектора для введения жидкости. По меньшей мере один фиксатор может выступать радиально внутрь от внутренней поверхности по меньшей мере одного удерживающего элемента в направлении к центральной продольной оси. По меньшей мере один фиксатор может быть выполнен с возможностью размещения внутри фиксирующего элемента, который может иметь форму фиксирующей канавки, выступающей радиально внутрь от внешней поверхности узла зацепления поршня, когда поршень может находиться в фиксированном состоянии с плунжером.

[0026] В соответствии с некоторыми вариантами осуществления, по меньшей мере один фиксатор может выступать радиально внутрь от внутренней поверхности по меньшей мере одного удерживающего элемента в направлении к центральной продольной оси. В соответствии с некоторыми вариантами осуществления, по меньшей мере один фиксатор может выступать радиально наружу от внешней поверхности по меньшей мере одного удерживающего элемента в направлении от центральной продольной оси.

[0027] В соответствии с некоторыми вариантами осуществления, корпус поршня может иметь участок конической формы на дистальном конце и участок цилиндрической формы на проксимальном конце. По меньшей мере один удерживающий элемент может выступать проксимально от внутренней поверхности участка конической формы. Несколько расцепляющих выступов могут выступать радиально внутрь от внутренней поверхности участка цилиндрической формы, причем каждый из нескольких расцепляющих выступов выполнен с возможностью взаимодействия с втулкой зацепления поршня для осуществления расцепления поршня от плунжера при вращении поршня вокруг центральной продольной оси. Проксимальный конец каждого из нескольких расцепляющих выступов может иметь заостренную направляющую поверхность.

[0028] В соответствии с некоторыми вариантами осуществления, система инъектора для введения жидкости может включать в себя: по меньшей мере один плунжер, выполненный с возможностью возвратно-поступательного движения, имеющий головку плунжера; а также механизм зацепления поршня, связанный с головкой плунжера и выполненный с возможностью зацепления поршня шприца, соединенного с системой инъектора для введения жидкости для возвратно-поступательного движения поршня в шприце благодаря перемещению по меньшей мере одного плунжера, при этом механизм зацепления поршня содержит: втулку зацепления поршня, имеющую полый корпус с продольной осью; узел зацепления поршня, выполненный с возможностью размещения внутри полого корпуса втулки зацепления поршня и выполненный с возможностью осевого перемещения относительно втулки зацепления поршня между положением зацепления и положением расцепления, причем втулка зацепления поршня может быть выполнена с возможностью вращения вокруг продольной оси между первым положением и вторым положением, причем узел зацепления поршня может быть выполнен с возможностью осевого перемещения вдоль продольной оси из положения зацепления в положение расцепления в результате вращения втулки зацепления поршня.

[0029] В соответствии с некоторыми вариантами осуществления, узел зацепления поршня может быть выполнен с возможностью осевого перемещения от проксимального конца плунжера к дистальному концу плунжера. Втулка расцепления поршня может включать в себя несколько зубьев расцепления поршня, выступающих радиально наружу от внешней поверхности полого корпуса. Несколько зубьев расцепления поршня могут быть выполнены с возможностью зацепления нескольких расцепляющих выступов на поршне, таким образом, что вращение поршня вокруг продольной оси поршня вызывает вращение втулки зацепления поршня вокруг продольной оси.

[0030] В соответствии с некоторыми вариантами осуществления, втулка расцепления поршня может окружать по меньшей мере часть втулки зацепления поршня, причем втулка расцепления поршня может быть выполнена с возможностью вращения вокруг продольной оси с вращением втулки зацепления поршня. Втулка расцепления поршня может включать в себя отверстие, имеющее наклонную поверхность, которая может быть расположена под углом относительно направления продольной оси в направлении от дистального конца втулки расцепления поршня к проксимальному концу втулки расцепления поршня.

[0031] В соответствии с некоторыми вариантами осуществления, узел зацепления поршня может иметь направляющий стержень, простирающийся в направлении, перпендикулярном продольной оси, и причем направляющий стержень может размещаться внутри отверстия втулки расцепления поршня. Вращение втулки зацепления поршня может вызывать соответствующее вращение втулки расцепления поршня. Направляющий стержень может направляться вдоль наклонной поверхности от проксимального конца к дистальному концу наклонной поверхности, тем самым перемещая узел зацепления поршня из положения зацепления в положение расцепления.

[0032] В соответствии с некоторыми вариантами осуществления, смещающий элемент может быть функционально соединен с втулкой зацепления поршня и узлом зацепления поршня. Смещающий элемент может быть выполнен с возможностью смещения втулки зацепления поршня к первому положению.

[0033] В соответствии с некоторыми вариантами осуществления, исполнительный механизм функционально соединен с узлом зацепления поршня и выполнен с возможностью перемещения узла зацепления поршня между положением зацепления и положением расцепления. В положении зацепления, узел зацепления поршня может быть расположен внутри полого корпуса втулки зацепления поршня и может быть выполнен с возможностью захвата по меньшей мере одного упруго-гибкого удерживающего элемента, связанного с поршнем в приемном пространстве между буртиком зацепления поршня и узлом зацепления поршня. В положении расцепления, узел зацепления поршня может быть расположен, по меньшей мере частично, снаружи полого корпуса втулки зацепления поршня, с тем, чтобы обеспечивать возможность гибкого вставления или удаления по меньшей мере одного упруго-гибкого удерживающего элемента поршня из приемного пространства.

[0034] В соответствии с некоторыми вариантами осуществления, исполнительный механизм может представлять собой роторный электродвигатель, линейный электродвигатель, линейный исполнительный механизм, или соленоид. В соответствии с некоторыми вариантами осуществления, исполнительный механизм может приводиться в действие вручную. Исполнительный механизм может иметь состояние зацепления для перемещения одного из такого как втулка зацепления поршня и узел зацепления поршня в положение зацепления, и состояние расцепления для перемещения одного из такого как втулка зацепления поршня и узел зацепления поршня в положение расцепления. Исполнительный механизм может автоматически перемещаться в состояние расцепления при потере подачи электропитания на исполнительный механизм. Исполнительный механизм может находиться в состояние зацепления только во время проксимального перемещения по меньшей мере одного плунжера.

[0035] В соответствии с некоторыми вариантами осуществления, по меньшей мере один смещающий элемент предназначен для перемещения исполнительного механизма из состояния зацепления в состояние расцепления. Вращательное или линейное перемещение исполнительного механизма перемещает одно из такого как втулка зацепления поршня и узел зацепления поршня проксимально или дистально в линейном направлении. Исполнительный механизм может быть функционально соединен с контроллером, выполненным с возможностью управления приведением в действие исполнительного механизма.

[0036] В соответствии с некоторыми вариантами осуществления, по меньшей мере один датчик может быть выполнен с возможностью определения положения по меньшей мере одного буртика зацепления поршня и узла зацепления поршня между положением зацепления и положением расцепления. Датчик обнаружения поршня может быть выполнен с возможностью определения присутствия по меньшей мере одного удерживающего элемента поршня в приемном пространстве между буртиком зацепления поршня и узлом зацепления поршня.

[0037] В соответствии с некоторыми вариантами осуществления, полый корпус втулки зацепления поршня может иметь отверстие со ступенчатым внутренним диаметром, который уменьшается в направлении от дистального конца втулки зацепления поршня до проксимального конца втулки зацепления поршня. Узел зацепления поршня может включать в себя фиксирующую канавку, выступающую радиально внутрь от внешней поверхности узла зацепления поршня, и при этом фиксирующая канавка может быть выполнена с возможностью размещения по меньшей мере одного фиксатора по меньшей мере на удерживающем элементе поршня. Дистальный край фиксирующей канавки может быть выполнен с возможностью гибкого отклонения по меньшей мере удерживающего элемента поршня во время осевого перемещения поршня относительно плунжера, для перемещения по меньшей мере одного фиксатора по меньшей мере одного удерживающего элемента из зацепления с фиксирующей канавкой, когда одно из такого как втулка зацепления поршня и узел зацепления поршня может перемещаться в положение расцепления.

[0038] В соответствии с некоторыми вариантами осуществления, система инъектора для введения жидкости может дополнительно включать в себя шприц, при этом шприц имеет: цилиндр, имеющий проксимальный конец цилиндра, дистальный конец цилиндра, который имеет выпускной наконечник, и боковую стенку цилиндра, простирающуюся между проксимальным концом цилиндра и дистальным концом цилиндра; а также поршень, расположенный внутри цилиндра шприца с возможностью скольжения и возвратно-поступательного движения между проксимальным концом цилиндра и дистальным концом цилиндра.

[0039] В соответствии с некоторыми вариантами осуществления, поршень может включать в себя: корпус поршня, определяющий центральную продольную ось, и имеющий проксимальный конец, дистальный конец, и боковую стенку по окружности, соединяющую проксимальный конец и дистальный конец; и по меньшей мере один удерживающий элемент, связанный с корпусом поршня, и простирающийся проксимально от него.

[0040] В соответствии с некоторыми вариантами осуществления, по меньшей мере один удерживающий элемент может включать в себя: первый конец, соединенный с корпусом поршня; второй конец, проксимальный к первому концу и выполненный с возможностью радиального и упругого отклонения относительно первого конца; и по меньшей мере один фиксатор на втором конце, причем по меньшей мере один удерживающий элемент может иметь внешнюю поверхность, выполненную с возможностью зацепления втулки зацепления поршня, когда поршень может зацепляться с плунжером, причем по меньшей мере один удерживающий элемент может иметь внутреннюю поверхность, выполненную с возможностью зацепления узла зацепления поршня, когда поршень может зацепляться с плунжером, причем по меньшей мере один фиксатор может быть выполнен с возможностью зацепления фиксирующего элемента на одном из такого как втулка зацепления поршня и узел зацепления поршня, когда поршень может зацепляться с плунжером, для предотвращения осевого перемещения поршня относительно плунжера, и причем по меньшей мере один фиксатор может быть выполнен с возможностью радиального отклонения второго конца по меньшей мере одного удерживающего элемента при осевом перемещении плунжера относительно поршня в состояние расцепления поршня в результате контакта по меньшей мере одного фиксатора с фиксирующим элементом.

[0041] В соответствии с некоторыми вариантами осуществления, поршень может быть выполнен с возможностью зацепления механизма зацепления поршня независимо от угловой ориентации поршня относительно плунжера инъектора для введения жидкости.

[0042] В соответствии с некоторыми вариантами осуществления, по меньшей мере один фиксатор может выступать радиально внутрь от внутренней поверхности по меньшей мере одного удерживающего элемента в направлении к центральной продольной оси, и по меньшей мере один фиксатор может быть выполнен с возможностью размещения внутри фиксирующего элемента, который может иметь форму фиксирующей канавки, выступающей радиально внутрь от внешней поверхности узла зацепления поршня, когда поршень может находиться в фиксированном состоянии с плунжером.

[0043] В соответствии с некоторыми вариантами осуществления, по меньшей мере один фиксатор может выступать радиально внутрь от внутренней поверхности по меньшей мере одного удерживающего элемента в направлении к центральной продольной оси, или по меньшей мере один фиксатор может выступать радиально наружу от внешней поверхности по меньшей мере одного удерживающего элемента в направлении от центральной продольной оси. По меньшей мере один фиксатор может определять фиксирующее углубление для размещения по меньшей мере части механизма зацепления поршня, когда поршень может соединяться с плунжером.

В соответствии с некоторыми вариантами осуществления, корпус поршня может иметь участок конической формы на дистальном конце и участок цилиндрической формы на проксимальном конце. По меньшей мере один удерживающий элемент может выступать проксимально от внутренней поверхности участка конической формы, несколько расцепляющих выступов могут выступать радиально внутрь от внутренней поверхности участка цилиндрической формы или проксимально от внутренней поверхности участка цилиндрической формы, при этом каждый из нескольких расцепляющих выступов выполнен с возможностью взаимодействия с втулкой зацепления поршня для осуществления расцепления поршня от плунжера при вращении поршня вокруг центральной продольной оси. Проксимальный конец каждого из нескольких расцепляющих выступов может иметь заостренную направляющую поверхность.

[0044] Дополнительные варианты осуществления или аспекты настоящего изобретения описаны в приведенных ниже пронумерованных пунктах:

[0045] Пункт 1: поршень, предназначенный для применения со шприцем, при этом поршень содержит: корпус поршня, определяющий центральную продольную ось, и имеющий проксимальный конец, дистальный конец, и боковую стенку по окружности, соединяющую проксимальный конец и дистальный конец; а также по меньшей мере один удерживающий элемент, связанный с корпусом поршня и простирающийся проксимально от него, при этом по меньшей мере один удерживающий элемент содержит: первый конец, соединенный с корпусом поршня; второй конец, проксимальный к первому концу, и выполненный с возможностью радиального и упругого отклонения относительно первого конца; а также по меньшей мере один фиксатор на втором конце, причем по меньшей мере один удерживающий элемент имеет внешнюю поверхность, выполненную с возможностью зацепления втулки зацепления поршня механизма зацепления поршня на плунжере системы инъектора для введения жидкости, когда поршень находится в фиксированном состоянии с плунжером, причем по меньшей мере один удерживающий элемент имеет внутреннюю поверхность, выполненную с возможностью зацепления узла зацепления поршня механизма зацепления поршня, когда поршень находится в фиксированном состоянии с плунжером, причем по меньшей мере один фиксатор выполнен с возможностью зацепления фиксирующего элемента на одном из такого как втулка зацепления поршня и узел зацепления поршня, когда поршень находится в фиксированном состоянии с плунжером, для предотвращения осевого перемещения поршня относительно плунжера, и причем по меньшей мере один фиксатор выполнен с возможностью радиального отклонения второго конца по меньшей мере одного удерживающего элемента при осевом перемещении плунжера относительно поршня в разблокированном состоянии поршня от плунжера в результате зацепления по меньшей мере одного фиксатора с фиксирующим элементом на одном из такого как втулка зацепления поршня и узел зацепления поршня.

[0046] Пункт 2. Поршень в соответствии с пунктом 1, причем по меньшей мере один удерживающий элемент представляет собой несколько удерживающих элементов, расположенных на расстоянии друг от друга вокруг центральной продольной оси.

[0047] Пункт 3. Поршень в соответствии с пунктом 2, причем несколько удерживающих элементов расположены на расстоянии друг от друга на равных промежутках вокруг центральной продольной оси.

[0048] Пункт 4. Поршень в соответствии с любым из пунктов 1-3, причем по меньшей мере один удерживающий элемент простирается проксимально в направлении, параллельном центральной продольной оси.

[0049] Пункт 5. Поршень в соответствии с любым из пунктов 1-3, причем по меньшей мере один удерживающий элемент простирается проксимально в направлении, расположенным под углом относительно продольной оси.

[0050] Пункт 6. Поршень в соответствии с любым из пунктов 1-5, причем по меньшей мере один удерживающий элемент располагается линейно между первым концом и вторым концом.

[0051] Пункт 7. Поршень в соответствии с любым из пунктов 1-5, причем по меньшей мере один удерживающий элемент располагается криволинейно между первым концом и вторым концом.

[0052] Пункт 8. Поршень в соответствии с любым из пунктов 1-7, причем поршень выполнен с возможностью зацепления механизма зацепления поршня независимо от угловой ориентации поршня относительно плунжера инъектора для введения жидкости.

[0053] Пункт 9. Поршень в соответствии с любым из пунктов 1-8, причем по меньшей мере один фиксатор имеет первую поверхность на проксимальном конце по меньшей мере одного фиксатора, выполненную с возможностью зацепления дистального конца фиксирующего элемента на одном из такого как втулка зацепления поршня и узел зацепления поршня во время зацепления поршня с плунжером, и вторую поверхность на дистальном конце по меньшей мере одного фиксатора, выполненную с возможностью зацепления проксимального конца фиксирующего элемента на одном из такого как втулка зацепления поршня и узел зацепления поршня во время расцепления поршня от плунжера.

[0054] Пункт 10. Поршень в соответствии с любым из пунктов 1-9, причем по меньшей мере один фиксатор выступает радиально внутрь от внутренней поверхности по меньшей мере одного удерживающего элемента в направлении к центральной продольной оси.

[0055] Пункт 11. Поршень в соответствии с любым из пунктов 1-10, причем по меньшей мере один фиксатор выступает радиально наружу от внешней поверхности по меньшей мере одного удерживающего элемента в направлении от центральной продольной оси.

[0056] Пункт 12. Поршень в соответствии с любым из пунктов 1-11, причем по меньшей мере один фиксатор определяет фиксирующее углубление для размещения по меньшей мере части механизма зацепления поршня, когда поршень соединяется с плунжером.

[0057] Пункт 13. Поршень в соответствии с любым из пунктов 1-12, причем по меньшей мере один фиксатор выступает радиально внутрь от внутренней поверхности по меньшей мере одного удерживающего элемента в направлении к центральной продольной оси, и причем по меньшей мере один фиксатор выполнен с возможностью размещения внутри фиксирующего элемента, который имеет форму фиксирующей канавки, выступающей радиально внутрь от внешней поверхности узла зацепления поршня, когда поршень находится в фиксированном состоянии с плунжером.

[0058] Пункт 14. Поршень в соответствии с любым из пунктов 1-13, причем корпус поршня имеет участок конической формы на дистальном конце и участок цилиндрической формы на проксимальном конце.

[0059] Пункт 15. Поршень в соответствии с пунктом 14, причем по меньшей мере один удерживающий элемент выступает проксимально от внутренней поверхности участка конической формы.

[0060] Пункт 16. Поршень в соответствии с пунктом 14 или 15, дополнительно содержащий несколько расцепляющих выступов, выступающих радиально внутрь от внутренней поверхности участка цилиндрической формы или проксимально от внутренней поверхности участка цилиндрической формы, при этом каждый из нескольких расцепляющих выступов выполнен с возможностью взаимодействия с втулкой зацепления поршня для осуществления расцепления поршня от плунжера при вращении поршня вокруг центральной продольной оси

[0061] Пункт 17. Поршень в соответствии с пунктом 16, причем проксимальный конец каждого из нескольких расцепляющих выступов имеет заостренную направляющую поверхность.

[0062] Пункт 18. Поршень в соответствии с любым из пунктов 1 - 17, дополнительно содержащий крышку поршня, закрывающую по меньшей мере часть дистальной поверхности корпуса поршня и содержащую уплотнение, расположенное вокруг по меньшей мере части боковой стенки по окружности корпуса поршня.

[0063] Пункт 19. Поршень в соответствии с любым из пунктов 1-18, причем поршень выполнен с возможностью расположения внутри цилиндра шприца с возможностью скольжения.

[0064] Пункт 20. Поршень в соответствии с пунктом 19, причем поршень выполнен с возможностью возвратно-поступательного движения в цилиндре шприца.

[0065] Пункт 21. Система инъектора для введения жидкости, содержащая: по меньшей мере один плунжер, выполненный с возможностью возвратно-поступательного движения, имеющий головку плунжера; и механизм зацепления поршня, связанный с головкой плунжера и выполненный с возможностью зацепления поршня шприца, соединенного с системой инъектора для введения жидкости, для возвратно-поступательного движения поршня в шприце благодаря перемещению по меньшей мере одного плунжера, причем механизм зацепления поршня содержит: втулку зацепления поршня, имеющую полый корпус; узел зацепления поршня, выполненный с возможностью размещения внутри полого корпуса втулки зацепления поршня; и исполнительный механизм, функционально соединенный с одним из такого как втулка зацепления поршня и узел зацепления поршня, и выполненный с возможностью перемещения одного из такого как втулка зацепления поршня и узел зацепления поршня между положением зацепления и положением расцепления, причем, в положении зацепления, узел зацепления поршня располагается внутри полого корпуса втулки зацепления поршня для захвата по меньшей мере одного упруго-гибкого удерживающего элемента, связанного с поршнем в приемном пространстве между буртиком зацепления поршня и узлом зацепления поршня, и причем, в положении расцепления, узел зацепления поршня располагается, по меньшей мере частично, снаружи полого корпуса втулки зацепления поршня, с тем, чтобы обеспечивать возможность гибкого вставления или удаления по меньшей мере одного упруго-гибкого удерживающего элемента поршня из приемного пространства.

[0066] Пункт 22. Система инъектора для введения жидкости в соответствии с пунктом 21, причем исполнительный механизм представляет собой роторный электродвигатель, линейный электродвигатель, линейный исполнительный механизм, или соленоид.

[0067] Пункт 23. Система инъектора для введения жидкости в соответствии с пунктом 21, причем исполнительный механизм приводится в действие вручную.

[0068] Пункт 24. Система инъектора для введения жидкости в соответствии с любым из пунктов 21 - 23, причем исполнительный механизм находится в состоянии зацепления для перемещения одного из такого как втулка зацепления поршня и узел зацепления поршня в положение зацепления, и состояние расцепления для перемещения одного из такого как втулка зацепления поршня и узел зацепления поршня в положение расцепления.

[0069] Пункт 25. Система инъектора для введения жидкости в соответствии с любым из пунктов 21 - 24, причем исполнительный механизм автоматически перемещается в состояние расцепления при потере подачи электропитания на исполнительный механизм.

[0070] Пункт 26. Система инъектора для введения жидкости в соответствии с любым из пунктов 21-25, причем исполнительный механизм находится в состоянии зацепления только во время проксимального перемещения по меньшей мере одного плунжера.

[0071] Пункт 27. Система инъектора для введения жидкости в соответствии с любым из пунктов 21-26, дополнительно содержащая по меньшей мере один смещающий элемент для перемещения исполнительного механизма из состояния зацепления в состояние расцепления.

[0072] Пункт 28. Система инъектора для введения жидкости в соответствии с любым из пунктов 21-27, причем вращательное движение исполнительного механизма перемещает одно из такого как втулка зацепления поршня и узел зацепления поршня проксимально или дистально в линейном направлении.

[0073] Пункт 29. Система инъектора для введения жидкости в соответствии с любым из пунктов 21-28, причем линейное перемещение исполнительного механизма перемещает одно из такого как втулка зацепления поршня и узел зацепления поршня проксимально или дистально в линейном направлении.

[0074] Пункт 30. Система инъектора для введения жидкости в соответствии с любым из пунктов 21 - 29, причем исполнительный механизм функционально соединен с контроллером, выполненным с возможностью управления приведением в действие исполнительного механизма.

[0075] Пункт 31. Система инъектора для введения жидкости в соответствии с любым из пунктов 21-30, причем одна из такого как втулка зацепления поршня и втулка зацепления поршня выполнена с возможностью линейного или вращательного движения относительно плунжера, в то время как другая из такого как втулка зацепления поршня и втулка зацепления поршня является неподвижной относительно плунжера.

[0076] Пункт 32. Система инъектора для введения жидкости в соответствии с любым из пунктов 21-31, причем узел зацепления поршня и буртик зацепления поршня выполнены с возможностью линейного или вращательного движения относительно плунжера.

[0077] Пункт 33. Система инъектора для введения жидкости в соответствии с любым из пунктов 21-32, дополнительно содержащая по меньшей мере один датчик, выполненный с возможностью определения положения по меньшей мере одного буртика зацепления поршня и узла зацепления поршня между положением зацепления и положением расцепления.

[0078] Пункт 34. Система инъектора для введения жидкости в соответствии с любым из пунктов 21-33, дополнительно содержащая датчик обнаружения поршня, выполненный с возможностью обнаружения присутствия по меньшей мере одного удерживающего элемента поршня в приемном пространстве между буртиком зацепления поршня и узлом зацепления поршня.

[0079] Пункт 35. Система инъектора для введения жидкости в соответствии с любым из пунктов 21-34, причем полый корпус втулки зацепления поршня имеет отверстие со ступенчатым внутренним диаметром, который уменьшается в направлении от дистального конца втулки зацепления поршня до проксимального конца втулки зацепления поршня.

[0080] Пункт 36. Система инъектора для введения жидкости в соответствии с любым из пунктов 21-35, причем узел зацепления поршня содержит фиксирующую канавку, выступающую радиально внутрь от внешней поверхности узла зацепления поршня, и причем фиксирующая канавка выполнена с возможностью размещения по меньшей мере одного фиксатора по меньшей мере на удерживающем элементе поршня.

[0081] Пункт 37. Система инъектора для введения жидкости в соответствии с пунктом 36, причем дистальный край фиксирующей канавки выполнен с возможностью гибкого отклонения по меньшей мере удерживающего элемента поршня во время осевого перемещения поршня относительно плунжера для перемещения по меньшей мере одного фиксатора по меньшей мере одного удерживающего элемента из зацепления с фиксирующей канавкой, когда одно из такого как втулка зацепления поршня и узел зацепления поршня перемещается в положение расцепления.

[0082] Пункт 38. Система инъектора для введения жидкости в соответствии с любым из пунктов 21-37, причем узел зацепления поршня имеет корпус со ступенчатым внешним диаметром, который уменьшается в направлении от дистального конца узла зацепления поршня до проксимального конца узла зацепления поршня.

[0083] Пункт 39. Система инъектора для введения жидкости в соответствии с любым из пунктов 21-38, причем буртик зацепления поршня содержит фиксирующий элемент, выступающий радиально внутрь от внутренней поверхности буртика зацепления поршня, и причем фиксирующий элемент выполнен с возможностью зацепления по меньшей мере одного фиксатора по меньшей мере на удерживающем элементе поршня, когда одно из такого как втулка зацепления поршня и узел зацепления поршня перемещается в положение зацепления.

[0084] Пункт 40. Система инъектора для введения жидкости в соответствии с пунктом 39, причем фиксирующий элемент выполнен с возможностью гибкого отклонения по меньшей мере удерживающего элемента поршня во время осевого перемещения поршня относительно плунжера для перемещения по меньшей мере одного фиксатора по меньшей мере одного удерживающего элемента из зацепления с фиксирующим элементом, когда одно из такого как втулка зацепления поршня и узел зацепления поршня перемещается в положение расцепления.

[0085] Пункт 41. Система инъектора для введения жидкости в соответствии с любым из пунктов 21-39, дополнительно содержащая шприц, при этом шприц содержит: цилиндр, имеющий проксимальный конец цилиндра, дистальный конец цилиндра, который имеет выпускной наконечник, и боковую стенку цилиндра, простирающуюся между проксимальным концом цилиндра и дистальным концом цилиндра; а также поршень, расположенный внутри цилиндра шприца с возможностью скольжения и возвратно-поступательного движения между проксимальным концом цилиндра и дистальным концом цилиндра.

[0086] Пункт 42. Система инъектора для введения жидкости в соответствии с пунктом 41, причем поршень содержит корпус поршня, определяющий центральную продольную ось, и имеющий проксимальный конец, дистальный конец, и боковую стенку по окружности, соединяющую проксимальный конец и дистальный конец; и по меньшей мере один удерживающий элемент, связанный с корпусом поршня, и простирающийся проксимально от него.

[0087] Пункт 43. Система инъектора для введения жидкости в соответствии с пунктом 41 или 42, причем по меньшей мере один удерживающий элемент содержит: первый конец, соединенный с корпусом поршня; второй конец, проксимальный к первому концу и выполненный с возможностью радиального и упругого отклонения относительно первого конца; и по меньшей мере один фиксатор на втором конце, причем по меньшей мере один удерживающий элемент имеет внешнюю поверхность, выполненную с возможностью зацепления втулки зацепления поршня, когда поршень зацепляется с плунжером, причем по меньшей мере один удерживающий элемент имеет внутреннюю поверхность, выполненную с возможностью зацепления узла зацепления поршня, когда поршень зацепляется с плунжером, причем по меньшей мере один фиксатор выполнен с возможностью зацепления фиксирующего элемента на одном из такого как втулка зацепления поршня и узел зацепления поршня, когда поршень зацепляется с плунжером, для предотвращения осевого перемещения поршня относительно плунжера, и причем по меньшей мере один фиксатор выполнен с возможностью радиального отклонения второго конца по меньшей мере одного удерживающего элемента при осевом перемещении плунжера относительно поршня в состояние расцепления поршня в результате контакта по меньшей мере одного фиксатора с фиксирующим элементом.

[0088] Пункт 44. Система инъектора для введения жидкости в соответствии с любым из пунктов 41-43, причем поршень выполнен с возможностью зацепления механизма зацепления поршня независимо от угловой ориентации поршня относительно плунжера инъектора для введения жидкости.

[0089] Пункт 45. Система инъектора для введения жидкости в соответствии с любым из пунктов 41-44, причем по меньшей мере один фиксатор выступает радиально внутрь от внутренней поверхности по меньшей мере одного удерживающего элемента в направлении к центральной продольной оси, и причем по меньшей мере один фиксатор выполнен с возможностью размещения внутри фиксирующего элемента, который имеет форму фиксирующей канавки, выступающей радиально внутрь от внешней поверхности узла зацепления поршня, когда поршень находится в фиксированном состоянии с плунжером.

[0090] Пункт 46. Система инъектора для введения жидкости в соответствии с любым из пунктов 41-45, причем по меньшей мере один фиксатор выступает радиально внутрь от внутренней поверхности по меньшей мере одного удерживающего элемента в направлении к центральной продольной оси, или причем по меньшей мере один фиксатор выступает радиально наружу от внешней поверхности по меньшей мере одного удерживающего элемента в направлении от центральной продольной оси.

[0091] Пункт 47. Система инъектора для введения жидкости в соответствии с любым из пунктов 41-46, причем корпус поршня имеет участок конической формы на дистальном конце и участок цилиндрической формы на проксимальном конце.

[0092] Пункт 48. Система инъектора для введения жидкости в соответствии с пунктом 47, причем по меньшей мере один удерживающий элемент выступает проксимально от внутренней поверхности участка конической формы.

[0093] Пункт 49. Система инъектора для введения жидкости в соответствии с пунктом 47 или 48, дополнительно содержащая несколько расцепляющих выступов, выступающих радиально внутрь от внутренней поверхности участка цилиндрической формы, при этом каждый из нескольких расцепляющих выступов выполнен с возможностью взаимодействия с втулкой зацепления поршня для осуществления расцепления поршня от плунжера при вращении поршня вокруг центральной продольной оси.

[0094] Пункт 50. Система инъектора для введения жидкости в соответствии с пунктом 49, причем проксимальный конец каждого из нескольких расцепляющих выступов имеет заостренную направляющую поверхность.

[0095] Пункт 51. Система инъектора для введения жидкости, содержащая: по меньшей мере один плунжер, выполненный с возможностью возвратно-поступательного движения, имеющий головку плунжера; и механизм зацепления поршня, связанный с головкой плунжера и выполненный с возможностью зацепления поршня шприца, соединенного с системой инъектора для введения жидкости, для возвратно-поступательного движения поршня в шприце благодаря перемещению по меньшей мере одного плунжера, при этом механизм зацепления поршня содержит: втулку зацепления поршня, имеющую полый корпус с продольной осью; узел зацепления поршня, выполненный с возможностью размещения внутри полого корпуса втулки зацепления поршня и выполненный с возможностью осевого перемещения относительно втулки зацепления поршня между положением зацепления и положением расцепления, причем втулка зацепления поршня выполнена с возможностью вращения вокруг продольной оси между первым положением и вторым положением, причем узел зацепления поршня выполнен с возможностью осевого перемещения вдоль продольной оси из положения зацепления в положение расцепления в результате вращения втулки зацепления поршня.

[0096] Пункт 52. Система инъектора для введения жидкости в соответствии с пунктом 51, причем узел зацепления поршня выполнен с возможностью осевого перемещения от проксимального конца плунжера к дистальному концу плунжера.

[0097] Пункт 53. Система инъектора для введения жидкости в соответствии с 51 или 52, причем втулка расцепления поршня содержит несколько зубьев расцепления поршня, выступающих радиально наружу от внешней поверхности полого корпуса.

[0098] Пункт 54. Система инъектора для введения жидкости в соответствии с пунктом 53, причем несколько зубьев расцепления поршня выполнены с возможностью зацепления нескольких расцепляющих выступов на поршне, таким образом, что вращение поршня вокруг продольной оси поршня вызывает вращение втулки зацепления поршня вокруг продольной оси.

[0099] Пункт 55. Система инъектора для введения жидкости в соответствии с любым из пунктов 51-54, дополнительно содержащая втулку расцепления поршня, которая окружает по меньшей мере часть втулки зацепления поршня, причем втулка расцепления поршня выполнена с возможностью вращения вокруг продольной оси с вращением втулки зацепления поршня.

[00100] Пункт 56. Система инъектора для введения жидкости в соответствии с любым из пунктов 51-55, причем втулка расцепления поршня содержит отверстие, имеющее наклонную поверхность, которая расположена под углом относительно направления продольной оси в направлении от дистального конца втулки расцепления поршня к проксимальному концу втулки расцепления поршня.

[00101] Пункт 57. Система инъектора для введения жидкости в соответствии с пунктом 56, причем узел зацепления поршня имеет направляющий стержень, простирающийся в направлении, перпендикулярном продольной оси, и причем направляющий стержень размещается внутри отверстия втулки расцепления поршня.

[00102] Пункт 58. Система инъектора для введения жидкости в соответствии с пунктом 57, причем вращение втулки зацепления поршня вызывает соответствующее вращение втулки расцепления поршня, и причем направляющий стержень направляется вдоль наклонной поверхности от проксимального конца к дистальному концу наклонной поверхности, тем самым перемещая узел зацепления поршня из положения зацепления в положение расцепления.

[00103] Пункт 59. Система инъектора для введения жидкости в соответствии с любым из пунктов 51-58, дополнительно содержащая смещающий элемент, функционально соединенный с втулкой зацепления поршня и узлом зацепления поршня.

[00104] Пункт 60. Система инъектора для введения жидкости в соответствии с пунктом 59, причем смещающий элемент выполнен с возможностью смещения втулки зацепления поршня к первому положению.

[00105] Пункт 61. Система инъектора для введения жидкости в соответствии с любым из пунктов 51-60, дополнительно содержащая исполнительный механизм, функционально соединенный с узлом зацепления поршня, и выполненный с возможностью перемещения узла зацепления поршня между положением зацепления и положением расцепления.

[00106] Пункт 62. Система инъектора для введения жидкости в соответствии с пунктом 61, причем, в положении зацепления, узел зацепления поршня располагается внутри полого корпуса втулки зацепления поршня и выполнен с возможностью захвата по меньшей мере одного упруго-гибкого удерживающего элемента, связанного с поршнем, в приемном пространстве между буртиком зацепления поршня и узлом зацепления поршня, и причем, в положении расцепления, узел зацепления поршня располагается, по меньшей мере частично, снаружи полого корпуса втулки зацепления поршня, с тем, чтобы обеспечивать возможность гибкого вставления или удаления по меньшей мере одного упруго-гибкого удерживающего элемента поршня из приемного пространства.

[00107] Пункт 63. Система инъектора для введения жидкости в соответствии с пунктом 61 или 62, причем исполнительный механизм представляет собой роторный электродвигатель, линейный электродвигатель, линейный исполнительный механизм, или соленоид.

[00108] Пункт 64. Система инъектора для введения жидкости в соответствии с любым из пунктов 61-63, причем исполнительный механизм приводится в действие вручную.

[00109] Пункт 65. Система инъектора для введения жидкости в соответствии с любым из пунктов 61-63, причем исполнительный механизм находится в состоянии зацепления для перемещения одного из такого как втулка зацепления поршня и узел зацепления поршня в положение зацепления, и в состоянии расцепления для перемещения одного из такого как втулка зацепления поршня и узел зацепления поршня в положение расцепления.

[00110] Пункт 66. Система инъектора для введения жидкости в соответствии с любым из пунктов 61-65, причем исполнительный механизм автоматически перемещается в состояние расцепления при потере подачи электропитания на исполнительный механизм.

[00111] Пункт 67. Система инъектора для введения жидкости в соответствии с любым из пунктов 61-66, причем исполнительный механизм находится в состоянии зацепления только во время проксимального перемещения по меньшей мере одного плунжера.

[00112] Пункт 68. Система инъектора для введения жидкости в соответствии с любым из пунктов 61-67, дополнительно содержащая по меньшей мере один смещающий элемент для перемещения исполнительного механизма из состояния зацепления в состояние расцепления.

[00113] Пункт 69. Система инъектора для введения жидкости в соответствии с любым из пунктов 61-68, причем вращательное движение исполнительного механизма перемещает одно из такого как втулка зацепления поршня и узел зацепления поршня проксимально или дистально в линейном направлении.

[00114] Пункт 70. Система инъектора для введения жидкости в соответствии с любым из пунктов 61-69, причем линейное перемещение исполнительного механизма перемещает одно из такого как втулка зацепления поршня и узел зацепления поршня проксимально или дистально в линейном направлении.

[00115] Пункт 71. Система инъектора для введения жидкости в соответствии с любым из пунктов 61-70, причем исполнительный механизм функционально соединен с контроллером, выполненным с возможностью управления приведением в действие исполнительного механизма.

[00116] Пункт 72. Система инъектора для введения жидкости в соответствии с любым из пунктов 51-71, дополнительно содержащая по меньшей мере один датчик, выполненный с возможностью определения положения по меньшей мере одного буртика зацепления поршня и узла зацепления поршня между положением зацепления и положением расцепления.

[00117] Пункт 73. Система инъектора для введения жидкости в соответствии с любым из пунктов 51-72, дополнительно содержащая датчик обнаружения поршня, выполненный с возможностью обнаружения присутствия по меньшей мере одного удерживающего элемента поршня в приемном пространстве между буртиком зацепления поршня и узлом зацепления поршня.

[00118] Пункт 74. Система инъектора для введения жидкости в соответствии с любым из пунктов 51-73, причем полый корпус втулки зацепления поршня имеет отверстие со ступенчатым внутренним диаметром, который уменьшается в направлении от дистального конца втулки зацепления поршня до проксимального конца втулки зацепления поршня.

[00119] Пункт 75. Система инъектора для введения жидкости в соответствии с любым из пунктов 51-74, причем узел зацепления поршня содержит фиксирующую канавку, выступающую радиально внутрь от внешней поверхности узла зацепления поршня, и причем фиксирующая канавка выполнена с возможностью размещения по меньшей мере одного фиксатора по меньшей мере на удерживающем элементе поршня.

[00120] Пункт 76. Система инъектора для введения жидкости в соответствии с пунктом 75, причем дистальный край фиксирующей канавки выполнен с возможностью гибкого отклонения по меньшей мере удерживающего элемента поршня во время осевого перемещения поршня относительно плунжера для перемещения по меньшей мере одного фиксатора по меньшей мере одного удерживающего элемента из зацепления с фиксирующей канавкой, когда одно из такого как втулка зацепления поршня и узел зацепления поршня перемещается в положение расцепления.

[00121] Пункт 77. Система инъектора для введения жидкости в соответствии с любым из пунктов 51-76, дополнительно содержащая шприц, при этом шприц содержит: цилиндр, имеющий проксимальный конец цилиндра, дистальный конец цилиндра, который имеет выпускной наконечник, и боковую стенку цилиндра, простирающуюся между проксимальным концом цилиндра и дистальным концом цилиндра; а также поршень, расположенный внутри цилиндра шприца с возможностью скольжения и возвратно-поступательного движения между проксимальным концом цилиндра и дистальным концом цилиндра.

[00122] Пункт 78. Система инъектора для введения жидкости в соответствии с пунктом 77, причем поршень содержит: корпус поршня, определяющий центральную продольную ось, и имеющий проксимальный конец, дистальный конец, и боковую стенку по окружности, соединяющую проксимальный конец и дистальный конец; и по меньшей мере один удерживающий элемент, связанный с корпусом поршня, и простирающийся проксимально от него.

[00123] Пункт 79. Система инъектора для введения жидкости в соответствии с пунктом 77 или 78, причем по меньшей мере один удерживающий элемент содержит: первый конец, соединенный с корпусом поршня; второй конец, проксимальный к первому концу и выполненный с возможностью радиального и упругого отклонения относительно первого конца; и по меньшей мере один фиксатор на втором конце, причем по меньшей мере один удерживающий элемент имеет внешнюю поверхность, выполненную с возможностью зацепления втулки зацепления поршня, когда поршень зацепляется с плунжером, причем по меньшей мере один удерживающий элемент имеет внутреннюю поверхность, выполненную с возможностью зацепления узла зацепления поршня, когда поршень зацепляется с плунжером, причем по меньшей мере один фиксатор выполнен с возможностью зацепления фиксирующего элемента на одном из такого как втулка зацепления поршня и узел зацепления поршня, когда поршень зацепляется с плунжером для предотвращения осевого перемещения поршня относительно плунжера, и причем по меньшей мере один фиксатор выполнен с возможностью радиального отклонения второго конца по меньшей мере одного удерживающего элемента при осевом перемещении плунжера относительно поршня в состояние расцепления поршня в результате контакта по меньшей мере одного фиксатора с фиксирующим элементом.

[00124] Пункт 80. Система инъектора для введения жидкости в соответствии с любым из пунктов 77-79, причем поршень выполнен с возможностью зацепления механизма зацепления поршня независимо от угловой ориентации поршня относительно плунжера инъектора для введения жидкости.

[00125] Пункт 81. Система инъектора для введения жидкости в соответствии с любым из пунктов 77-80, причем по меньшей мере один фиксатор выступает радиально внутрь от внутренней поверхности по меньшей мере одного удерживающего элемента в направлении к центральной продольной оси, и причем по меньшей мере один фиксатор выполнен с возможностью размещения внутри фиксирующего элемента, который имеет форму фиксирующей канавки, выступающей радиально внутрь от внешней поверхности узла зацепления поршня, когда поршень находится в фиксированном состоянии с плунжером.

[00126] Пункт 82. Система инъектора для введения жидкости в соответствии с любым из пунктов 77-81, причем по меньшей мере один фиксатор выступает радиально внутрь от внутренней поверхности по меньшей мере одного удерживающего элемента в направлении к центральной продольной оси, или причем по меньшей мере один фиксатор выступает радиально наружу от внешней поверхности по меньшей мере одного удерживающего элемента в направлении от центральной продольной оси.

[00127] Пункт 83. Система инъектора для введения жидкости в соответствии с любым из пунктов 77-82, причем по меньшей мере один фиксатор определяет фиксирующее углубление для размещения по меньшей мере части механизма зацепления поршня, когда поршень соединяется с плунжером.

[00128] Пункт 84. Система инъектора для введения жидкости в соответствии с любым из пунктов 77-83, причем корпус поршня имеет участок конической формы на дистальном конце и участок цилиндрической формы на проксимальном конце.

[00129] Пункт 85. Система инъектора для введения жидкости в соответствии с пунктом 84, причем по меньшей мере один удерживающий элемент выступает проксимально от внутренней поверхности участка конической формы.

[00130] Пункт 86. Система инъектора для введения жидкости в соответствии с пунктом 84 или 85, дополнительно содержащая несколько расцепляющих выступов, выступающих радиально внутрь от внутренней поверхности участка цилиндрической формы или проксимально от внутренней поверхности участка цилиндрической формы, при этом каждый из нескольких расцепляющих выступов выполнен с возможностью взаимодействия с втулкой зацепления поршня для осуществления расцепления поршня от плунжера при вращении поршня вокруг центральной продольной оси.

[00131] Пункт 87. Система инъектора для введения жидкости в соответствии с пунктом 86, причем проксимальный конец каждого из нескольких расцепляющих выступов имеет заостренную направляющую поверхность.

[00132] Указанные и другие элементы и характеристики шприцев, поршней шприцев, герметичных кожухов и систем, содержащих шприцы и/или поршни шприцев, а также способы работы и функции соответствующих элементов конструкций и комбинация частей, а также экономичность изготовления, станут более очевидными при рассмотрении приведенного ниже описания и приложенной формулы изобретения со ссылкой на прилагаемые графические материалы, все из которых формируют часть этого описания, причем подобные ссылочные обозначения обозначают соответствующие части на разных фигурах. Однако, следует четко понимать, что графические материалы предназначены только для целей иллюстрации и описания.

КРАТКОЕ ОПИСАНИЕ ГРАФИЧЕСКИХ МАТЕРИАЛОВ

[00133] ФИГ. 1 представляет вид в перспективе системы инъектора для введения жидкости в соответствии с одним вариантом осуществления настоящего изобретения;

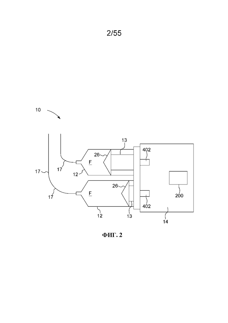
[00134] ФИГ. 2 представляет собой схематическое представление системы инъектора для введения жидкости, показанной на ФИГ. 1;

[00135] ФИГ. 3 представляет вид в перспективе системы инъектора для введения жидкости в соответствии с другим вариантом осуществления настоящего изобретения;

[00136] ФИГ. 4 представляет собой схематическое представление контроллера системы инъектора для введения жидкости в соответствии с одним вариантом осуществления настоящего изобретения;

[00137] ФИГ. 5А представляет вид в перспективе шприца в соответствии с одним вариантом осуществления настоящего изобретения;

[00138] ФИГ. 5Б представляет вид в разрезе шприца, показанного на ФИГ. 5А, демонстрируя поршень, расположенный в цилиндре шприца;

[00139] ФИГ. 6 представляет вид в перспективе поршня в соответствии с одним вариантом осуществления настоящего изобретения в разобранном виде;

[00140] ФИГ. 7 представляет вид в перспективе, в разрезе, опорного кольца поршня, показанного на ФИГ. 6;

[00141] ФИГ. 8А представляет вид в перспективе, в разрезе, опорного кольца поршня в соответствии с другим вариантом осуществления настоящего изобретения;

[00142] ФИГ. 8Б представляет вид в перспективе, в разрезе, опорного кольца поршня в соответствии с другим вариантом осуществления настоящего изобретения;

[00143] ФИГ. 8В представляет вид в перспективе, в разрезе, опорного кольца поршня в соответствии с другим вариантом осуществления настоящего изобретения;

[00144] ФИГ. 9 представляет вид в перспективе, в разрезе, плунжера механизма зацепления поршня в соответствии с одним вариантом осуществления настоящего изобретения;

[00145] ФИГ. 10А представляет вид в перспективе втулки зацепления поршня механизма зацепления поршня, показанного на ФИГ. 9;

[00146] ФИГ. 10Б представляет вид в разрезе втулки зацепления поршня, показанной на ФИГ. 10А;

[00147] ФИГ. 11А представляет вид в перспективе исполнительного механизма и втулки расцепления поршня механизма зацепления поршня, показанного на ФИГ. 9;

[00148] ФИГ. 11Б представляет вид в разрезе исполнительного механизма и втулки расцепления поршня, показанных на ФИГ. 11А;

[00149] ФИГ. 12 представляет вид в перспективе узла зацепления поршня механизма зацепления поршня, показанного на ФИГ. 9 и 13А-13К;

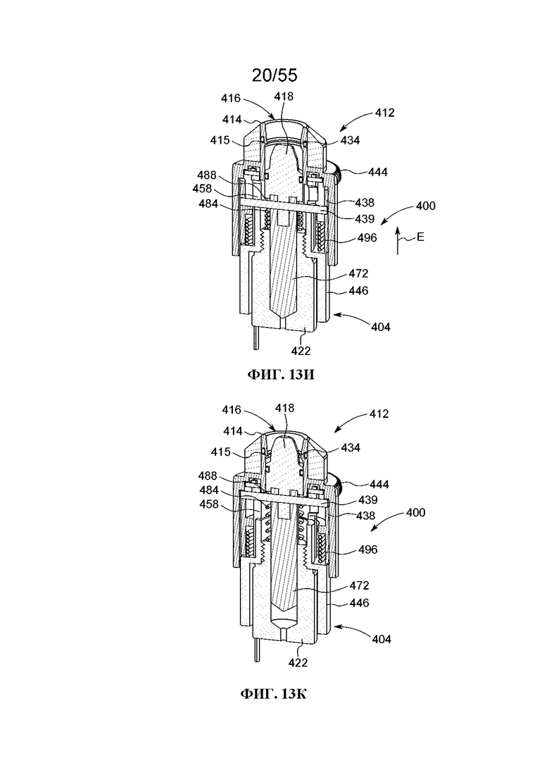
[00150] ФИГ. 13А-13К представляют вид в перспективе, в разрезе, приведения в действие плунжера и механизма зацепления поршня, показанного на ФИГ. 9;

[00151] ФИГ. 14А-14В представляют вид в разрезе приведения в действие плунжера механизма зацепления поршня в соответствии с другим вариантом осуществления настоящего изобретения;

[00152] ФИГ. 15 представляет вид в перспективе узла зацепления поршня механизма зацепления поршня, показанного на ФИГ. 14А-14В;

[00153] ФИГ. 16 представляет вид в перспективе втулки расцепления поршня механизма зацепления поршня, показанного на ФИГ. 14А-14В;

[00154] ФИГ. 17А и 17Б представляют вид в перспективе (ФИГ. 17А) и вид в перспективе, в разрезе (ФИГ. 17Б), втулки зацепления поршня механизма зацепления поршня, показанного на ФИГ. 14А-14В;

[00155] ФИГ. 18А представляет вид в перспективе, в разрезе, приведения в действие плунжера механизма зацепления поршня в соответствии с другим вариантом осуществления настоящего изобретения;

[00156] ФИГ. 18Б представляет вид в перспективе узла зацепления поршня механизма зацепления поршня, показанного на ФИГ. 18А;

[00157] ФИГ. 19 представляет вид в перспективе плунжера системы инъектора для введения жидкости, имеющего механизм зацепления поршня в соответствии с другим вариантом осуществления настоящего изобретения;

[00158] ФИГ. 20 представляет вид в перспективе, в разобранном виде, механизма зацепления поршня, показанного на ФИГ. 19;

[00159] ФИГ. 21А-21Б представляют вид в разрезе приведения в действие механизма зацепления поршня, показанного на ФИГ. 19;

[00160] ФИГ. 22А-22Д представляют вид в разрезе приведения в действие механизма зацепления поршня в соответствии с другим вариантом осуществления настоящего изобретения;

[00161] ФИГ. 23А-23Ж представляют вид в разрезе плунжера приведения в действие механизма зацепления поршня в соответствии с другим вариантом осуществления настоящего изобретения;

[00162] ФИГ. 24А представляет вид в перспективе плунжера, имеющего механизм зацепления поршня, в соответствии с другим вариантом осуществления настоящего изобретения;

[00163] ФИГ. 24Б представляет в разобранном виде механизм зацепления поршня, показанный на ФИГ. 24А;

[00164] ФИГ. 24В представляет вид в разрезе плунжера и механизма зацепления поршня, показанных на ФИГ. 24А;

[00165] ФИГ. 25А-25Б представляют вид в разрезе плунжера приведения в действие механизма зацепления поршня в соответствии с другим вариантом осуществления настоящего изобретения;

[00166] ФИГ. 26 представляет вид в перспективе, в разрезе, плунжера системы инъектора для введения жидкости, имеющего механизм зацепления поршня в соответствии с другим вариантом осуществления настоящего изобретения;

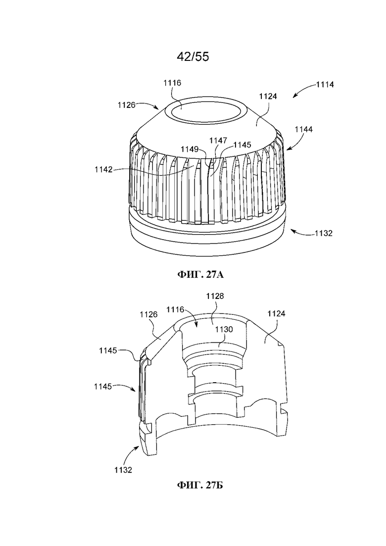
[00167] ФИГ. 27А-27Б представляют вид в перспективе (ФИГ. 27А) и вид в перспективе, в разрезе (ФИГ. 27Б) втулки зацепления поршня механизма зацепления поршня, показанного на ФИГ. 26;

[00168] ФИГ. 28 представляет вид в перспективе втулки расцепления поршня механизма зацепления поршня, показанного на ФИГ. 26;

[00169] ФИГ. 29 представляет вид в перспективе, в разрезе, узла зацепления поршня механизма зацепления поршня, показанного на ФИГ. 26;

[00170] ФИГ. 30А-30Г представляют вид в перспективе, в разрезе, осуществления действия зацепления плунжера и механизма зацепления поршня, показанных на ФИГ. 26, где механизм зацепления поршня показан на разных стадиях во время зацепления поршня;

[00171] ФИГ. 31А-31Г представляют вид в перспективе, в разрезе, осуществления действия расцепления плунжера и механизма зацепления поршня, показанных на ФИГ. 26, где механизм зацепления поршня показан на разных стадиях во время расцепления поршня;

[00172] ФИГ. 32 представляет вид сверху системы, которая включает в себя инъектор для введения жидкости и герметичные кожухи, в соответствии с другим вариантом осуществления настоящего изобретения;

[00173] ФИГ. 33 представляет собой вид сверху, в разобранном виде, системы, показанной на ФИГ. 32;

[00174] ФИГ. 34 представляет вид в перспективе пары герметичных кожухов в соответствии с другим вариантом осуществления настоящего изобретения;

[00175] ФИГ. 35А представляет вид в перспективе колпачка шприца в соответствии с другим вариантом осуществления настоящего изобретения; и

[00176] ФИГ. 35Б представляет вид в перспективе шприца в сборе в соответствии с другим вариантом осуществления настоящего изобретения.

ПОДРОБНОЕ ОПИСАНИЕ

[00177] Для целей приведенного далее описания, термины "верхний", "нижний", "правый", "левый", "вертикальный", "горизонтальный", "верх", "низ", "боковой", "продольный", и их производные будут относиться к изобретению в соответствии с ориентацией, показанной на фигурах графических материалов. Относящиеся к пространству или направлению термины, такие как "левый", "правый", "внутренний", "внешний", "выше", "ниже", и подобные, не следует рассматривать в качестве ограничивающих, поскольку варианты осуществления, описанные в этой заявке, могут предполагать различные альтернативные ориентации.

[00178] Как их используют в этой заявке, формы единственного числа включают ссылки на множественное число, если из контекста явно не следует иное. Все числа, используемые в описании и формуле изобретения, следует понимать как изменяемые во всех случаях термином "примерно". Термины "приблизительно", "примерно", и "по существу" означают сам диапазон плюс или минус десять процентов от указанного значения.

[00179] Если не указано иное, все диапазоны или соотношения, раскрытые в этой заявке, следует понимать как охватывающие начальные и конечные значения и любые и все поддиапазоны или суботношения, включенные в них. Например, указанный диапазон или соотношение "1 до 10" следует считать как включающие любые и все поддиапазоны или суботношения между (и включительно) минимальным значением, составляющим 1, и максимальным значением, составляющим 10; то есть, все поддиапазоны или суботношения, начинающиеся с минимального значения, составляющего 1 или более, и заканчивающиеся максимальным значением, составляющим 10 или менее. Диапазоны и/или соотношения, раскрытые в этой заявке, представляют средние значения в пределах указанного диапазона и/или соотношения.

[00180] Как их используют в этой заявке, термин "по меньшей мере один из" является синонимом с термином "один или более из". Например, фраза "по меньшей мере один из А, Б, и В" означает любой один из А, Б, и В, или любую комбинацию любых двух или более из А, Б, и В. Например, "по меньшей мере один из А, Б, и В" включает в себя один или более из А отдельно; или один или более из Б отдельно; или один или более из В отдельно; или один или более из А и один или более из Б; или один или более из А и один или более из В; или один или более из Б и один или более из В; или один или более из всех из А, Б, и В. Аналогичным образом, как их используют в этой заявке, термин "по меньшей мере два из" является синонимом с термином "два или нескольких из". Например, фраза "по меньшей мере два из Г, Д, и Е" означает любую комбинацию любых двух или более из Г, Д, и Е. Например, фраза "по меньшей мере два из Г, Д, и Е" включает один или более из Г и один или более из Д; или один или более из Г и один или более из Е; или один или более из Д и один или более из Е; или один или более из всех из Г, Д, и Е.

[00181] Термины "первый", "второй", и подобные не предназначены для обозначения какого-либо конкретного порядка или хронологии, а относятся к различным условиям, свойствам, или элементам. Все документы, упомянутые в этой заявке "включены посредством ссылки" полностью. Термин "по меньшей мере" является синонимом с термином "более или равно". Термин "не более" является синонимом с термином "менее или равно".

[00182] Следует понимать, что изобретение может предполагать альтернативные варианты и последовательности шагов, за исключением того, когда четко указано иное. Также следует понимать, что конкретные устройства и процессы, проиллюстрированные на приложенных графических материалах и описанные в приведенном ниже описании, просто представляют собой примерные аспекты изобретения. Следовательно, конкретные размеры и другие физические характеристики, относящиеся к примерам, раскрытым в этой заявке, не следует рассматривать в качестве ограничивающих.

[00183] Как их используют в этой заявке, термины "параллельный" или "по сути параллельный" означают относительный угол между двумя объектами (в случае их простирания до теоретического пересечения), такими как удлиненные объекты, включая также реперные линии, который составляет от 0° до 5°, или от 0° до 3°, или от 0° до 2°, или от 0° до 1°, или от 0° до 0,5°, или от 0° до 0,25°, или от 0° до 0,1°, включая приведенные значения.

[00184] Как их используют в этой заявке, термины "перпендикулярный" или "по сути перпендикулярный" означают относительный угол между двумя объектами в случае их реального или теоретического пересечения, который составляет от 85° до 90°, или от 87° до 90°, или от 88° до 90°, или от 89° до 90°, или от 89,5° до 90°, или от 89,75° до 90°, или от 89,9° до 90°, включая приведенные значения.

[00185] В случае использования в отношении компонента системы доставки жидкости, такого как резервуар для жидкости, шприц, герметичный кожух, или трубка для подачи жидкости, термин "дистальный" относится к части указанного компонента, ближайшей к пациенту. В случае использования в отношении компонента системы инъектора, такого как резервуар для жидкости, шприц, герметичный кожух, или трубка для подачи жидкости, термин "проксимальной" относится к части указанного компонента, ближайшей к инъектору системы инъектора (т.е. к части указанного компонент, наиболее удаленной от пациента). В случае использования в отношении компонента системы доставки жидкости, такого как трубка для подачи жидкости, термин "вверх по потоку" относится к направлению от пациента и по направлению к инъектору системы инъектора. Например, если первый компонент упоминают как находящийся "вверх по потоку" от второго компонента, то первый компонент расположен ближе к инъектору, чем расположен по отношению к инъектору второй компонент. В случае использования в отношении компонента системы доставки жидкости, такого как трубка для подачи жидкости, термин "вниз по потоку" относится к направлению к пациенту и от инъектора системы доставки жидкости. Например, если первый компонент упоминают как находящийся "вниз по потоку" от второго компонента, то первый компонент расположен ближе к пациенту, чем расположен по отношению к пациенту второй компонент.

[00186] В случае использования в отношении перемещения компонентов системы доставки жидкости, таких как один или несколько компонентов механизма зацепления поршня, связанного с плунжером, термины "автоматический" или "автоматически" относятся к перемещению одного или нескольких компонентов без помощи ручного управления.

[00187] Хотя системы и устройства, описанные в этой заявке, указаны как относящиеся к системам введения контрастного вещества для компьютерной томографии (КТ), к системам введения контрастного вещества для ангиографии (CV), к системам введения контрастного вещества для позитронно-эмиссионной томографии (ПЭТ), и к системам введения контрастного вещества для магнитно-резонансной томографии (МРТ), другие протоколы инъекций под давлением также могут включать различные варианты осуществления, описанные в этой заявке, относящиеся к креплению поршня шприца к плунжеру инъектора для введения жидкости.

[00188] Ссылаясь на графические материалы, где подобные ссылочные обозначения относятся к подобным деталям нескольких их видов, настоящее изобретение в целом относится к поршню шприца и соединительному интерфейсу для соединения поршня шприца с плунжером инъектора для введения жидкости. Различные варианты осуществления относятся к поршням шприца, которые могут соединяться и отсоединяться от плунжера. В различных вариантах осуществления, такие плунжеры могут приводиться в действие вручную, механически, гидравлически, или электрически. Кроме того, настоящее изобретение обеспечивает быстрое и легкое решение для зацепления поршня шприца с плунжером и/или расцепления поршня шприца от плунжера, без определенной ориентации вращения или выравнивания поршня относительно плунжера. Например, плунжер может продвигаться вперед до тех пор, пока он не зацепляется с поршнем, независимо от ориентации поршня относительно его продольной оси по отношению к продольной оси плунжера, как будет описано более подробно далее. Кроме того, когда плунжер может быть присоединен к поршню, простое вращение поршня, например, посредством вращения шприца вокруг его продольной оси относительно плунжера может вызывать отсоединение двух элементов. В других вариантах осуществления, зацепление плунжера с поршнем и расцепление плунжера от поршня может выполняться контроллером инъектора для введения жидкости, например, во время начала и окончания протокола введения жидкости, либо автоматически как часть запрограммированного протокола введения, либо начинаться пользователем, например, посредством вводимых пользователем данных в контроллер инъектора для введения жидкости. В дополнительных вариантах осуществления или аспектах, настоящее изобретение также в целом относится к герметичным кожухам и крышкам для герметичных кожухов, причем тот же соединительный интерфейс для соединения поршня шприца с плунжером инъектора для введения жидкости может применяться для соединения герметичного кожуха с инъектором для введения жидкости, и/или крышки герметичного кожуха с герметичным кожухом как таковым.

[00189] Ссылаясь на ФИГ. 1, неограничивающий пример системы 10 инъектора для введения жидкости (далее называемой "инъектор 10"), такой как автоматизированный или механизированный инъектор для введения жидкости, выполнен с возможностью соединения и приведения в действие по меньшей мере одного шприца 12 и соответствующего поршня 26, каждый из которых независимо друг от друга может быть наполнен жидкостью медицинского назначения F, такой как контрастное вещество, физиологический раствор, или любая желательная жидкость медицинского назначения. Инъектор 10 может применяться во время медицинской процедуры для введения жидкости медицинского назначения в тело пациента посредством приведения в действие поршня 26 по меньшей мере одного шприца 12 с помощью по меньшей мере одного приводного элемента, такого как по меньшей мере один плунжер 13 (показан на ФИГ. 2). Инъектор 10 может быть многошприцевым инъектором, в котором несколько шприцев 12 могут быть расположены рядом друг с другом или в другой конфигурации, и включать поршни 26, приводимые в действие отдельно с помощью соответствующих плунжеров 13, связанных с инъектором 10. В вариантах осуществления с двумя шприцами, расположенными в конфигурации рядом друг с другом и наполненными двумя разными жидкостями медицинского назначения, инъектор 10 может доставлять жидкость из одного или обоих шприцев 12.

[00190] Инъектор 10 может быть заключен в корпус 14, изготовленный из подходящего конструкционного материала, такого как пластик или металл. Корпус 14 может иметь различные формы и размеры, в зависимости от желательного применения. Инъектор 10 включает в себя по меньшей мере один порт 16 шприца для соединения по меньшей мере одного шприца 12 с соответствующим плунжером 13 (ФИГ. 2).

[00191] По меньшей мере одна гарнитура 17 трубки прохождения жидкости может быть гидравлически соединена по меньшей мере с одним шприцем 12 для доставки жидкости медицинского назначения F по меньшей мере из одного шприца 12 в катетер, иглу, или другое соединение для доставки жидкости (не показано), вставляемое в пациента в месте сосудистого доступа. Поток жидкости по меньшей мере из одного шприца 12 может регулироваться контроллером 200 (ФИГ. 2). Контроллер 200 может управлять различными плунжерами, механическими компонентами плунжера (такими как компоненты для зацепления и расцепления плунжера с поршнем), клапанами, и/или регулирующими поток конструкциями для регулирования подачи пациенту жидкости медицинского назначения, такой как физиологический раствор и контраст, на основе выбранных пользователем параметров введения. Один аспект подходящего инъектора для введения жидкости с фронтальной загрузкой, который может быть модифицирован для применения с описанной выше системой, которая включает в себя по меньшей мере один шприц и по меньшей мере один плунжер для зацепления и удерживания имеющего возможность отсоединения поршня шприца, зацепленного с инъектором для введения жидкости, описанный в этой заявке со ссылкой на ФИГ. 1-2, раскрыт в патенте США №5383858, в то время как другой аспект соответствующих систем для доставки нескольких жидкостей, которые могут быть модифицированы для применения с настоящей системой, описан в патенте США №7553294; патенте США №7666169; в международной заявке на получение патента № PCT/US 2012/037491; и в публикации заявки на получение патента США №2014/0027009; раскрытия каждого из которых включены в настоящую заявку посредством ссылки. Другие варианты осуществления могут включать в себя новые системы инъекторов для введения жидкости, разработанные для включения различных вариантов осуществления соединительного интерфейса между плунжером 13 инъектора 10 и поршнем 26 шприца 12, описанных в этой заявке.

[00192] Со ссылкой на ФИГ. 3, проиллюстрирован репрезентативный вариант осуществления системы 100 инъектора для ангиографии с двумя шприцами (далее называемой "инъектор 100"). Инъектор 100 выполнен с возможностью введения двух жидкостей медицинского назначения через первую трубку 17А прохождения жидкости, предназначенную для жидкости медицинского назначения, такой как визуализирующее контрастное вещество для процедуры инъекции для ангиографии, и через вторую трубку 17В прохождения жидкости, предназначенную для промывающей жидкости, такой как физиологический раствор или лактат Рингера. Инъектор 100 может включать в себя корпус 14 инъектора, имеющий два порта 16 для шприцев, выполненных с возможностью зацепления двух шприцев 12.

[00193] Корпус 14 инъектора может дополнительно включать по меньшей мере один пользовательский интерфейс 11, с помощью которого оператор может наблюдать и контролировать состояние процедуры инъекции. Пользовательский интерфейс 11 может находиться в оперативном соединении с контроллером (подобным контроллеру 200, уже описанным здесь, ФИГ. 2), который отправляет команды на пользовательский интерфейс 11 и принимает команды от пользовательского интерфейса 11.

[00194] Инъектор 100 может дополнительно включать по меньшей мере один расположенный вверх по потоку индикатор 240 наличия воздуха для обнаружения одного или нескольких пузырьков воздуха внутри области обнаружения воздуха в месте 250 вхождения трубок в систему первой трубки 17А прохождения жидкости и второй трубки 17В прохождения жидкости. Область обнаружения воздуха в месте 250 вхождения трубок в систему, например, может быть связана с проксимальной частью первой трубки 17А прохождения жидкости и второй трубки 17В прохождения жидкости. По меньшей мере один индикатор 240 наличия воздуха может включать в себя ультразвуковой датчик, а также оптический датчик, или подобные, выполненные с возможностью обнаружения одного или нескольких пузырьков воздуха внутри трубки прохождения жидкости.

[00195] Все еще ссылаясь на ФИГ. 3, инъектор 100 может дополнительно включать емкости 19А и 19В для большого объема жидкости для наполнения и повторного наполнения соответствующих шприцев 12 визуализирующим контрастным веществом и промывающей жидкостью, соответственно. Емкости 19А и 19В для большого объема жидкости могут выборочно находиться в гидравлическом соединении со шприцами 12 с помощью соответствующих трубок 21А и 21В прохождения большого объема жидкости и клапанов 23А и 23В для большого объема жидкости.

[00196] Дополнительные подробности и примеры подходящих неограничивающих примеров механизированных систем инъекторов, которые включают в себя шприцы, контроллеры, и индикаторы наличия воздуха, описаны в патенте США №5383858; патенте США №7553294; патенте США №7666169; патенте США №8945051; патенте США №10022493; и патенте США №10507319, раскрытия которых включены в эту заявку посредством ссылки полностью. Хотя инъектор 100 описан в этой заявке в контексте инъектора для ангиографии (CV) с двумя шприцами, следует понимать, что инъектор 100 может быть выполнен с возможностью проведения любых процедур инъекции (например, СТ, ПЭТ, МРТ, ультразвук, и т.д.) в конфигурациях с одним и несколькими шприцами.

[00197] Инъектор 100 может включать в себя плунжер, подобный плунжеру 13, описанному в этой заявке на ФИГ. 2, соответственно связанный с каждым из шприцев 12. Каждый плунжер выполнен с возможностью приведения в движение соответствующего поршня в цилиндре соответствующего шприца 12. Вследствие высоким давлениям, связанным с ангиографией CV, шприц 12 может вставляться в герметичный кожух 15, с тем чтобы контролировать радиальное расширение шприца. Контроллер функционально связан с плунжерами, с тем, чтобы возвратно-поступательным образом осуществлять перемещение поршней внутри шприцев 12 и, таким образом, осуществлять процедуру инъекции.

[00198] Контроллер может быть запрограммирован или выполнен с возможностью осуществления операции наполнения, во время которой плунжер, связанный с каждым шприцем 12, отводится к проксимальному концу шприца 12 для втягивания жидкости для инъекции (например, визуализирующего контрастного вещества и промывающей жидкости) в шприц 12 из емкостей 19А, 19В для большого объема жидкости. Во время указанной операции наполнения, контроллер может быть запрограммирован или выполнен с возможностью выборочного приведения в действие клапанов 23А и 23В для большого объема жидкости для установления гидравлического соединения между соответствующими шприцами 12 и емкостями 19А, 19В для большого объема жидкости, с помощью трубки прохождения жидкости 21А и 21В большого объема, с тем, чтобы контролировать наполнение шприцев 12 соответствующей жидкостью для инъекции. После окончания операции наполнения и, необязательно, операции продувки для удаления какого-либо воздуха из шприцев 12 (например посредством продувки любого такого воздуха назад в емкости 19А, 19В для большого объема жидкости или через трубку для продувки), контроллер может быть запрограммирован или выполнен с возможностью выборочного приведения в действие клапанов 21А и 21В для большого объема жидкости для блокирования гидравлического соединения между соответствующими шприцами 12 и емкостью 19А, 19В для большого объема жидкости с помощью трубки 17А и 17В прохождения жидкости большого объема.

[00199] После операции наполнения и операции продувки, контроллер может быть запрограммирован или выполнен с возможностью осуществления процесса доставки, во время которого плунжер, связанный с один или обоими шприцами 12, перемещается к дистальному концу шприца 12, для введения жидкости для инъекции в первый трубку 17А прохождения жидкости и во вторую трубку 17В прохождения жидкости. Контроллер может быть запрограммирован или выполнен с возможностью выборочного приведения в действие клапанов 23А и 23В жидкости, для установления гидравлического соединения между шприцами 12 и пациентом, с помощью трубки 17А, 17В прохождения жидкости. В соответствии с разными вариантами осуществления, первая трубка 17А прохождения жидкости и вторая трубка 17В прохождения жидкости могут соединяться на соединительном элементе для смешивания жидкостей, который обеспечивает вихревое смешивание первой жидкости и второй жидкости, таком как соединительный элемент для смешивания жидкостей, описанный в международных заявках соответственно системы РСТ №№ PCT/US 2021/019507 и PCT/US 2014/026324, раскрытия которых включены в эту заявку посредством ссылки.

[00200] Ссылаясь в данном случае на ФИГ. 4, показана схема примерных компонентов варианта осуществления контроллера 200, предназначенных для реализации и осуществления систем и способов, описанных в этой заявке в соответствии с вариантами осуществления настоящего изобретения. В некоторых вариантах осуществления, контроллер 200 может включать в себя дополнительные компоненты, меньшее количество компонентов, другие компоненты, или иным образом расположенные компоненты, чем те, которые показаны на ФИГ. 4. Контроллер 200 может включать в себя шину 202, по меньшей мере один процессор 204, запоминающее устройство 206, компонент 208 хранения данных, компонент 210 ввода (такой как GUI (графический пользовательский интерфейс), клавиатура, или другой пользовательский интерфейс 11, показанный на ФИГ. 3), компонент 212 вывода (такой как GUI или другой пользовательский интерфейс 11), и интерфейс 214 передачи данных (такой как GUI или другой пользовательский интерфейс 11). Шина 202 может включать в себя компонент, который обеспечивает возможность связи между компонентами контроллера 200. В некоторых неограничивающих вариантах осуществления, по меньшей мере один процессор 204 может быть реализован в средствах технического обеспечения, программно-аппаратного обеспечения, или комбинации средств технического обеспечения и программного обеспечения. Например, по меньшей мере один процессор 204 может включать в себя процессор (например, центральный процессор (CPU), графический процессор (GPU), гибридный процессор (APU), и т.д.), микропроцессор, процессор обработки цифровых сигналов (DSP), и/или любой компонент обработки данных (например, программируемая логическая интегральная схема (ПЛИС), заказная специализированная интегральная схема (ASIC), и т.д.), который может быть запрограммирован для выполнения функции. Запоминающее устройство 206 может включать в себя запоминающее устройство с произвольной выборкой (RAM), постоянное запоминающее устройство (ROM), и/или другой тип динамического или статического накопительного устройства (например, электрически перепрограммируемое постоянное запоминающее устройство, память на магнитных сердечниках, оптическое запоминающее устройство, и т.д.), которое хранит информацию и/или команды, предназначенные для применения по меньшей мере одним процессором 204.

[00201] Компонент 208 хранения данных может хранить информацию и/или программное обеспечение, относящиеся к работе и применению контроллера 200. Например, компонент 208 хранения данных может включать в себя жесткий диск и/или другой тип машиночитаемого носителя. Компонент 210 ввода может включать в себя компонент, который обеспечивает возможность контроллеру 200 получать информацию, например, с помощью вводимых пользователем данных (например, GUI, дисплей с сенсорным экраном, клавиатуру, вспомогательную клавиатуру, мышь, кнопку, переключатель, микрофон, и т.д.). Дополнительно, или в качестве альтернативы, компонент 210 ввода может включать в себя датчик для считывания информации (например, компонент глобальной системы навигации и определения положения (GPS), акселерометр, гироскоп, исполнительный механизм, и т.д.). Компонент 212 вывода может включать в себя компонент, который обеспечивает вывод информации от контроллера 200 (например, GUI, дисплей, динамик, один или несколько светоизлучающих диодов (LED), и т.д.). Интерфейс 214 передачи данных может включать в себя подобный приемопередатчику компонент (например, приемопередатчик, отдельный приемник и передатчик, и т.д.), который дает возможность контроллеру 200 соединяться с другими устройствами, например, посредством проводного соединения, беспроводного соединения, или посредством комбинации проводного и беспроводного соединений. Интерфейс 214 передачи данных может обеспечивать возможность контроллеру 200 получать информацию из другого устройства и/или предоставлять информация на другое устройство. Компонент 210 ввода, компонент 212 вывода, и/или интерфейс 214 передачи данных могут соответствовать пользовательскому интерфейсу 11, или быть его компонентами (смотри ФИГ. 3).

[00202] Контроллер 200 может осуществлять способ, описанный в этой заявке, на основе работы по меньшей мере одного процессора 204, выполняющего команды программного обеспечения, хранимые на машиночитаемом носителе, таком как запоминающее устройство 206 и/или компонент 208 хранения данных. Машиночитаемый носитель может включать в себя любое энергонезависимое запоминающее устройство. Запоминающее устройство включает в себя пространство памяти, расположенное внутри одного физического устройства хранения данных, или же пространство памяти распределено по нескольким физическим устройствам хранения данных. Команды программного обеспечения могут считываться в запоминающее устройство 206 и/или компонент 208 хранения данных с другого машиночитаемого носителя или с другого устройства с помощью интерфейса 214 передачи данных. В случае их выполнения, команды программного обеспечения, хранимые в запоминающем устройстве 206 и/или компоненте 208 хранения данных, могут заставлять процессор 204 выполнять один или несколько процессов, описанных в этой заявке. Дополнительно, или в качестве альтернативы, вместо или в комбинации с командами программного обеспечения для выполнения одного или нескольких процессов, описанных в этой заявке, может применяться аппаратно-реализованная схема.

[00203] Описав общую конструкцию и функцию инъектора 10, 100, теперь будет обсуждаться более подробно неограничивающий вариант осуществления шприца 300, выполненного с возможностью применения с инъектором 10 на ФИГ. 1-2 или инъектором 100 на ФИГ. 3, со ссылкой на ФИГ. 5А-5Б. Шприц 300 обычно имеет цилиндрический корпус шприца в виде цилиндра 318, изготовленный из стекла, металла, или подходящего пластика медицинского назначения. Цилиндр 318 имеет проксимальный конец 320 и дистальный конец 324, с боковой стенкой 319 (показана на ФИГ. 5Б), проходящей между ними по длине продольной оси 315, проходящей через центр цилиндра 318. Цилиндр 318 может быть изготовлен из прозрачного или полупрозрачного материала. Наконечник 322 простирается от дистального конца 324 цилиндра 318. Как показано на ФИГ. 5Б, цилиндр 318 имеет внешнюю поверхность 321 и внутреннюю поверхность 323, которая определяет внутренний объем 325 для размещения жидкость в нем. Проксимальный конец 320 цилиндра 318 может быть плотно закрыт поршнем 326, который выполнен с возможностью скольжения вдоль цилиндра 318. Поршень 326 образует непроницаемое для жидкости уплотнение к внутренней поверхности 323 боковой стенки 319 цилиндра 318, по мере продвижения поршня 326 внутри цилиндра 318. Поршень 326 выполнен с возможностью разъемного зацепления плунжера инъектора 10, 100 для введения жидкости, в соответствии с различными механизмами зацепления, которые описаны в этой заявке.

[00204] Противокапельный буртик 335 может простираться радиально наружу от внешней поверхности 321 цилиндра 318 шприца и предотвращать попадание жидкости, которая капает из наконечника 322, в порт шприца на инъекторе. В некоторых вариантах осуществления, противокапельный буртик 335 определяет ограничительную поверхность, которая ограничивает участок 330 вставления шприца 300.

[00205] Со ссылкой на ФИГ. 5А, в некоторых вариантах осуществления, проксимальный конец 320 шприца 300 имеет такие размеры и выполнен с возможностью вставления, с возможностью удаления, в порт шприца инъектора 10, 100 (показано на ФИГ. 1 и 3) или вставления в герметичный кожух (не показано), зацепленный с инъектором для введения жидкости. Проксимальный конец 320 шприца 300 может определять участок 330 вставления, который выполнен с возможностью удаляемого вставления в порт шприца инъектора 10, показанного на ФИГ. 1, или инъектора 100, показанного на ФИГ. 3, в то время как остальная часть шприца 300 остается снаружи порта шприца. В других вариантах осуществления, шприц 300 может вставляться в отверстие герметичного кожуха и удерживаться, с возможностью удаления, в герметичном кожухе посредством одного или нескольких удерживающих элементов, например, как описано в международной заявке системы РСТ № PCT/US 2020/049885, раскрытие которой включено в настоящую заявку посредством ссылки. В определенных вариантах осуществления, проксимальный конец 320 шприца 300 включает в себя один или несколько удерживающих элементов 331 шприца, выполненных с возможностью образования фиксирующего зацепления с соответствующим фиксирующим механизмом в порте шприца инъектора 10, 100 для разъемного удерживания шприца 300 в порте шприца. Подходящие неограничивающие конфигурации удерживающих элементов для разъемной фиксации шприца 300 с инъектором 10, 100 описаны в патентах США №№9173995 и 9199033, раскрытия которых полностью включены в настоящую заявку посредством ссылки. При этом шприц 300 не показан на многих из фигур с изображением соответствующих механизмов зацепления поршня в соответствии с настоящим изобретением для ясности.

[00206] Со ссылкой на ФИГ. 6-8В, показан поршень 326 в соответствии с одним вариантом осуществления настоящего изобретения. Поршень 326 включает в себя корпус 332 поршня, определяющий продольную ось 334 поршня и имеющий проксимальный конец 336, дистальный конец 338, и боковую стенку 339 по окружности, соединяющую проксимальный конец 336 и дистальный конец 338. Боковая стенка 339 может иметь равномерную или неравномерную толщину между проксимальным концом 336 и дистальным концом 338. По меньшей мере часть боковой стенки 339 может быть конической. Корпус 332 поршня может быть изготовлен из стекла, металла, или подходящего пластика медицинского назначения.

[00207] Корпус 332 поршня имеет внутреннюю полость 340 (ФИГ. 7) с участком 342 конической формы на дистальном конце 338 корпуса 332 поршня и участком 344 цилиндрической формы на проксимальном конце 336 корпуса 332 поршня. Участок 342 конической формы может быть выполнен как единое целое с участком 344 цилиндрической формы. В некоторых вариантах осуществления, участок 342 конической формы может быть скреплен или иным крепиться к участку 344 цилиндрической формы корпуса 332 поршня, посредством применения, например, фрикционной посадки и/или клеящего вещества, сварки, или же посредством литья. Участок 342 конической формы может иметь усеченный конец 346, имеющий литой выступ 348, выполненный с возможностью зацепление с чувствительным элементом, как описано в этой заявке. В некоторых вариантах осуществления, дистальный конец 338 корпуса 332 поршня может быть открытым или закрытым. В некоторых вариантах осуществления, участок 344 цилиндрической формы может иметь выступ 345, который выступает наружу в радиальном направлении относительно продольной оси 334. Таким образом, выступ 345 разделяет участок 344 цилиндрической формы на первую часть 347а, имеющую первый внутренний диаметр, и вторую часть 347b, имеющую второй внутренний диаметр, который больше, чем первый внутренний диаметр.

[00208] Со ссылкой на ФИГ. 7, поршень 326 может иметь один или несколько расцепляющих выступов 380, выступающих от внутренней поверхности 352 внутренней полости 340 корпуса 332 поршня. В некоторых вариантах осуществления, один или несколько расцепляющих выступов 380 могут выступать радиально внутрь от внутренней поверхности 352 по меньшей мере части участка 344 цилиндрической формы корпуса 332 поршня, такой как первая часть 347а. Один или несколько расцепляющих выступов 380 могут быть выполнены с возможностью взаимодействия по меньшей мере с частью механизма зацепления поршня на плунжере для расцепления поршня 326 от плунжера при вращении поршня 326 вокруг его продольной оси 334, например, посредством вращения шприца 300. В некоторых вариантах осуществления, несколько расцепляющих выступов 380 могут быть отделены радиально относительно продольной оси 334 поршня вдоль окружности внутренней поверхности 352 внутренней полости 340. В таких вариантах осуществления, расцепляющие выступы 380 отделены друг от друга частями внутренней поверхности 352 внутренней полости 340. В вариантах осуществления, где обеспечено более двух расцепляющих выступов 380, расцепляющие выступы 380 могут быть расположены на равном расстоянии друг от друга. В некоторых вариантах осуществления, расцепляющие выступы 380 могут иметь неодинаковую угловую протяженность и/или неодинаковый угловой интервал между удерживающими ребрами 350 вокруг внутренней поверхности 352 внутренней полости 340. Проксимальный конец 382 каждого расцепляющего выступа 380 может иметь заостренную или наклонную направляющую поверхность 384, которая выполнена с возможностью ориентации поршня 326 относительно по меньшей мере части механизма зацепления поршня, как описано в этой заявке в соответствии с определенными вариантами осуществления.

[00209] Со ссылкой на ФИГ. 6, поршень 326 может иметь крышку 357 поршня с упругим уплотнением 358, которое закрывает по меньшей мере часть внешней поверхности 360 корпуса 332 поршня. Уплотнение 358 может быть гибким уплотнением, которое стыкуется с внутренней поверхностью 323 цилиндра 318 шприца (показано на ФИГ. 5Б) таким образом, что уплотнение 358 герметизирует внутренний объем 325 цилиндра 318 шприца непроницаемым для жидкости образом. Уплотнение 358 может обеспечиваться отдельно от корпуса 332 поршня, или же оно может формироваться с корпусом 332 поршня в виде единого целого, например, посредством совместного литья. В некоторых вариантах осуществления, внешняя поверхность 360 корпуса 332 поршня может иметь окружную канавку 362. При этом по меньшей мере часть уплотнения 358 может удерживаться внутри окружной канавки 362. Внешняя поверхность 364 уплотнения 358 может иметь одно или несколько кромок, выступов, или других уплотняющих элементов 366, которые посредством скольжения стыкуются с внутренней поверхностью цилиндра 318 шприца. В некоторых вариантах осуществления, по меньшей мере уплотняющие элементы 366 уплотнения 358 могут быть изготовлены из эластомерного материала, который упруго стыкуются с внутренней поверхностью 323 цилиндра 318 шприца. По меньшей мере одно расширение 356 на корпусе 332 поршня может предотвращать выход уплотнения 358 из осевого совмещения со шприцем 300 при перемещении поршня 326 внутри цилиндра 318 шприца.

[00210] Со ссылкой на ФИГ. 7, поршень 326 может иметь по меньшей мере один выполненный с возможностью упругого отклонения удерживающий элемент 368 (далее "удерживающий элемент 368"), выступающий проксимально из корпуса 332 поршня. В некоторых вариантах осуществления, по меньшей мере один удерживающий элемент 368 может выступать проксимально от внутренней поверхности 352 внутренней полости 340 корпуса 332 поршня. По меньшей мере один удерживающий элемент 368 имеет первый дистальный конец 370, соединенный с корпусом 332 поршня, и второй проксимальный конец 372, выполненный с возможностью радиального отклонения относительно первого конца 370 в направлении к и/или от продольной оси 334. Как описано в этой заявке, второй конец 372 может быть выполнен с возможностью радиального отклонения относительно первого конца 370, когда по меньшей мере один удерживающий элемент 368 зацепляет по меньшей мере часть механизма зацепления поршня на плунжере инъектора 10, 100 (ФИГ. 1 и 3). То есть, как только часть механизма зацепления поршня перемещается в дистальном направлении и входит в контакт с удерживающим элементом 368, удерживающий элемент 368 радиально отклоняется частью механизма зацепления поршня. Аналогичным образом, во время операции расцепления плунжера из поршень, как только часть механизма зацепления поршня перемещается в проксимальном направлении и входит в контакт с удерживающим элементом 368, удерживающий элемент 368 радиально отклоняется частью механизма зацепления поршня. Первый конец 370 и второй конец 372 могут быть расположены на расстоянии друг от друга в направлении, которое простирается по сути вдоль направления продольной оси 334 поршня 326. По меньшей мере один удерживающий элемент 368 может линейно или криволинейно располагаться между первым концом 370 и вторым концом 372. В некоторых вариантах осуществления, один или несколько удерживающих элементов 368 могут простираться в направлении, параллельном направлению продольной оси 334 поршня. В других вариантах осуществления, один или несколько удерживающих элементов 368 могут простираться в направлении, которое расположено под углом относительно направления продольной оси 334 поршня. Например, один или несколько удерживающих элементов 368 могут быть расположены под углом к или от продольной оси 334 поршня в направлении, проходящем от проксимального конца 336 до дистального конца 338 корпуса 332 поршня.

[00211] В некоторых вариантах осуществления, несколько удерживающих элементов 368 расположены на расстоянии друг от друга, радиально от продольной оси 334 поршня вдоль окружности внутренней поверхности 352 внутренней полости 340. В таких вариантах осуществления, удерживающие элементы 368 отделены друг от друга частями внутренней поверхности 352 внутренней полости 340. В вариантах осуществления, где обеспечено более двух удерживающих элементов 368, удерживающие элементы 368 может быть на равном расположены на расстоянии друг от друга. В одном примерном и неограничивающем аспекте с шестью удерживающими элементами 368, имеющими равное угловое разделение между ними, как показано на ФИГ. 7-8В, например, каждый удерживающий элемент 368 отделен на 60 градусов от удерживающих элементов 368, находящихся по соседству с любой стороны. В некоторых вариантах осуществления, удерживающие элементы 368 могут иметь неодинаковую угловую протяженность и/или неодинаковый угловой интервал между удерживающими элементами 368 вокруг внутренней поверхности 352 внутренней полости 340. Радиальный интервал по меньшей мере одного удерживающего элемента 368 относительно продольной оси 334 поршня выбирают для соответствия с внешней окружностью плунжера, как описано в этой заявке.

[00212] Второй конец 372 удерживающего элемента 368 имеет по меньшей мере один фиксатор 374. По меньшей мере один фиксатор 374 выступает радиально от удерживающего элемента 368. По меньшей мере один фиксатор 374 выполнен с возможностью взаимодействия с частью механизма зацепления поршня для отклонения второго конца 372, как только через часть механизма зацепления поршня проходит по меньшей мере один фиксатор 372. В некоторых вариантах осуществления, по меньшей мере один фиксатор 374 может выступать радиально внутрь к продольной оси 334 поршня корпуса 332 поршня. Таким образом, по меньшей мере один удерживающий элемент 368 выполнен с возможностью отклонения радиально наружу в результате контакта между фиксатором 374 и по меньшей мере частью механизма зацепления поршня на плунжере, которые описаны в этой заявке. В некоторых вариантах осуществления, по меньшей мере один фиксатор 374 может выступать радиально наружу от продольной оси 334 поршня корпуса 332 поршня. Таким образом, по меньшей мере один удерживающий элемент 368 выполнен с возможностью отклонения радиально внутрь в результате контакта между фиксатором 374 и по меньшей мере частью механизма зацепления поршня на плунжере, которые описаны в этой заявке. По меньшей мере один удерживающий элемент 368 выполнен с возможностью возвращения к своему неотклоненному состоянию в результате перемещения в направлении радиально внутрь.

[00213] По меньшей мере один фиксатор 374 может формироваться в виде единого целого со вторым концом 372 по меньшей мере одного удерживающего элемента 368, или он может быть скреплен или иным образом крепиться ко второму концу 372 по меньшей мере одного удерживающего элемента 368, посредством применения, например, фрикционной посадки и/или клеящего вещества, сварки, или посредством совместного литья. В других вариантах осуществления, по меньшей мере один фиксатор 374 может формироваться на втором конце 372 по меньшей мере одного удерживающего элемента 368 посредством травления, лазерной резки, или механической обработки. Как описано в этой заявке, по меньшей мере один фиксатор 374 имеет форму, пригодную для размещения внутри приемного пространства фиксатора или канавки механизма зацепления поршня, обеспеченного на плунжере инъектора 10, 100, для фиксирования по меньшей мере одного удерживающего элемента 368 относительно плунжера, когда механизм зацепления поршня находится в фиксированном состоянии или положении в соответствии с вариантом осуществления механизмов, описанных в этой заявке. Как показано на ФИГ. 7-8В, фиксатор 374 может иметь дистальную поверхность 377 с закругленным краем. В некоторых вариантах осуществления, фиксатор 374 может иметь проксимальную поверхность 379 с закругленным краем. Форма дистальной поверхности 377 и проксимальной поверхности 379 может быть такой, чтобы фиксатор 374 не мог, как таковой, образовывать фиксирующее зацепление с соответствующим фиксирующим элементом на механизме зацепления поршня на плунжере. Вместо этого, фиксатор 374 должен воздействовать на приведение в действие механизма зацепления поршня для образования фиксирующего зацепления с плунжером.

[00214] Со ссылкой на ФИГ. 8А-8В, поршень 326 показан в соответствии с разными вариантами осуществления настоящего изобретения. Компоненты поршня 326, показанные на ФИГ. 8А-8В, являются по сути подобным или идентичными с компонентами поршня 326, описанного в этой заявке со ссылкой на ФИГ. 6-7. Соответственно, ссылочные обозначения на ФИГ. 8А-8В применяют для иллюстрации идентичных компонентов, соответствующих ссылочным обозначениям на ФИГ. 6-7, и при этом в этой заявке обсуждаются только соответствующие различия между вариантами осуществления поршня 326.

[00215] Со ссылкой на ФИГ. 8А-8В, поршень 326 может иметь один или несколько расцепляющих выступов 380, выступающих от внутренней поверхности 352 по меньшей мере части участка 344 цилиндрической формы корпуса 332 поршня, такой как вторая часть 347b. Один или несколько расцепляющих выступов 380 могут выступать аксиально из уступа 345, и радиально внутрь от внутренней поверхности 352 второй части 347b участка 344 цилиндрической формы, и могут выступать радиально внутрь от внутренней поверхности 352 второй части 347b вдоль всей ширины уступа 345 (ФИГ. 8А) или вдоль части ширины уступа 345 (ФИГ. 8Б и 8В). Как описано в этой заявке, один или несколько расцепляющих выступов 380 выполнены с возможностью взаимодействия по меньшей мере с частью механизма зацепления поршня на плунжере для осуществления расцепления поршня 326 от плунжер при вращении поршня 326 вокруг его продольной оси 334, например, вследствие вращения шприца 300.

[00216] Вариант осуществления поршня 326 на ФИГ. 8В имеет по меньшей мере один удерживающий элемент 368 с фиксатором 374, который выступает радиально наружу в направлении от продольной оси 334 поршня. Таким образом, по меньшей мере один удерживающий элемент 368, показанный на ФИГ. 8В, выполнен с возможностью отклонения в радиальном направлении внутрь в результате контакта между фиксатором 374 и по меньшей мере частью механизма зацепления поршня на плунжере, которые описаны в этой заявке. По меньшей мере один удерживающий элемент 368, показанный на ФИГ. 8В, выполнен с возможностью возвращения к своему неотклоненному состоянию посредством перемещения в радиальном направлении наружу.

[00217] Со ссылкой на ФИГ. 9, вариант осуществления плунжера 400 показан отдельно от инъектора. В других вариантах осуществления, плунжер 400 может быть выполнен с возможностью его применения с инъектором для введения жидкости, таким, который описан в этой заявке, или с любым инъектором для введения жидкости, выполненным с возможностью медицинского применения. Плунжер 400 выполнен с возможностью возвратно-поступательного движения внутри корпуса инъектора с помощью приводного механизма. Приводной механизм может включать в себя, например, электродвигатель 402 (показан на ФИГ. 2), гидравлическую систему, пневматическую систему, или любую их комбинацию. Контроллер 200 (ФИГ. 2) может быть выполнен с возможностью управления работой приводного механизма и, в свою очередь, управления возвратно-поступательным движением плунжера 400. В определенных вариантах осуществления, контроллер 200 может быть выполнен с возможностью управления зацеплением плунжера 400 с поршнем и/или расцеплением плунжера 400 от поршня.

[00218] Все еще ссылаясь на ФИГ. 9, плунжер 400 имеет корпус 404 и головку 406 плунжера на дистальном конце корпуса 404. Головка 406 плунжера выполнена с возможностью разъемного соединения с поршнем шприца, таким как поршень 326, показанный на ФИГ. 8В. Головка 406 плунжера простирается радиально наружу за радиальную кромку корпуса 404. Плунжер 400 изготовлен из относительно жесткого материала, такого как металл, пластик, или их комбинации, который сопротивляется деформации. Головка 406 плунжера имеет по сути цилиндрическую конструкцию с дистальным концом, которая выполнена с возможностью размещения внутри по меньшей мере части внутренней полости 340 (ФИГ. 8В) поршня 326. В некоторых вариантах осуществления, по меньшей мере часть головки 406 плунжера может быть изготовлена из прозрачного или полупрозрачного материала, с возможностью пропускать электромагнитное излучение, испускаемое одним или несколькими источниками электромагнитного излучения в плунжере 400, для освещения по меньшей мере части поршня 326 и/или шприца 300.

[00219] В некоторых вариантах осуществления, может обеспечиваться чувствительный элемент, такой как приводимый в действие пружиной стержень (смотри, например, стержень 767, ФИГ. 21А-21Б), соединенный с датчиком. Чувствительный элемент может простираться вдоль продольной оси плунжера 400 и может выступать через по меньшей мере часть головки 406 плунжера. Чувствительный элемент может быть выполнен с возможностью осуществления обнаружения контакта с поверхностью, такой как поверхность 348 поршня 326, и управления перемещением плунжера 400 на основе выявленного состояния. Например, начальный контакт между чувствительным элементом и поверхностью 348 поршня 326 может привести к тому, что стержень втянется назад в проксимальном направлении, так, что он соприкоснется с датчиком. Датчик может быть соединен с приводным механизмом плунжера 400 таким образом, что, при активации датчика стержнем, датчик управляет движением приводного механизма. Например, приводной механизм может останавливаться или замедляться от первой скорости до второй, меньшей скорости.

[00220] В некоторых вариантах осуществления, головка 406 плунжера имеет механизм 412 зацепления поршня, выполненный с возможностью разъемного зацепления поршня 326 для облегчения возвратно-поступательного движения поршня 326 в цилиндре шприца 300 (ФИГ. 5А-5Б). Все еще ссылаясь на ФИГ. 9, механизм 412 зацепления поршня имеет втулку 414 зацепления поршня, имеющую центральное отверстие 416, и узел 418 зацепления поршня, который выполнен с возможностью возвратно-поступательного движения внутри центрального отверстия 416 втулки 414 зацепления поршня вдоль направления продольной оси 420 плунжера. Узел 418 зацепления поршня приводится в возвратно-поступательное движение исполнительным механизмом 422. Механизм 412 зацепления поршня выполнен с возможностью работы между положением или состоянием зацепления и положением или состоянием расцепления. В положении или состоянии зацепления, узел 418 зацепления поршня может располагаться внутри втулки 414 зацепления поршня для захвата по меньшей мере одного удерживающего элемента 368, связанного с поршнем 326, в приемном пространстве 415 между втулкой 414 зацепления поршня и узлом 418 зацепления поршня. И наоборот, в положении или состоянии расцепления, узел 418 зацепления поршня может располагаться относительно втулки 414 зацепления поршня таким образом, чтобы обеспечивать возможность удаления по меньшей мере одного удерживающего элемента 368, связанного с поршнем 400, из приемного пространства 415 между втулкой 414 зацепления поршня и узлом 418 зацепления поршня. ФИГ. 9 показывает части механизма 412 зацепления поршня в положении или состоянии зацепления и в положении или состоянии расцепления. В частности, узел 418 зацепления поршня на ФИГ. 9 показан как в своем положении или состоянии зацепления (правая сторона разреза), так и в своем положении или состоянии расцепления (левая сторона разреза). Во время перемещения механизма 412 зацепления поршня из положения или состояния зацепления в положение или состояния расцепления, втулка 414 зацепления поршня и/или узел 418 зацепления поршня могут линейно и/или вращательно перемещаться относительно плунжера 400.

[00221] Со ссылкой на ФИГ. 10А-10Б, втулка 414 зацепления поршня имеет полый корпус 424, причем по меньшей мере часть внешней поверхности полого корпуса 424 определяет по меньшей мере часть головки 406 плунжера (показано на ФИГ. 9). Дистальная часть или конец 426 втулки 414 зацепления поршня имеет форму, пригодную для ее размещения внутри внутренней полости 340 поршня 326, при том, что по меньшей мере часть поршня 326, такая как по меньшей мере один удерживающий элемент 368, выполнен с возможностью его размещения внутри центрального отверстия 416 (смотри, например, ФИГ. 9). Центральное отверстие 416 проходит через полый корпус 424 втулки 414 зацепления поршня.

[00222] Со ссылкой на ФИГ. 10Б, часть внутренней поверхности 428 центрального отверстия 416 на дистальном конце отверстия 416 может иметь наклон 430, таким образом, что внутренний диаметр отверстия 416 сужается в направлении от дистального конца 426 полого корпуса 424 к проксимальной части или концу 432. Наклон 430 может быть выполнен с возможностью зацепления с фиксатором 374 и отклонения по меньшей мере одного удерживающего элемента 426, связанного с поршнем 326, в радиальном направлении внутрь во время соединения поршня 326 с дистальной частью или концом 426 втулки 414 зацепления поршня. Наклон 430 может заканчиваться на фиксирующем ребре 434. По меньшей мере один фиксатор 374 может сгибаться над и упираться в проксимальную поверхность фиксирующего ребра 434 таким образом, что по меньшей мере один фиксатор 374 может легко сгибаться над и перемещаться за фиксирующее ребро 434, когда плунжер перемещается в проксимальном направлении, пока механизм 412 зацепления поршня не переместится в конфигурацию фиксированного зацепления. То есть, по меньшей мере один удерживающий элемент 426 и соответствующий фиксатор 374 могут легко сгибаться и перемещаться в центральное отверстие 416 втулки 414 зацепления поршня и из него, когда плунжер находится в расцепленной конфигурации. В некоторых вариантах осуществления, фиксирующее ребро 434 простирается непрерывно или прерывисто вокруг внутренней поверхности 428 полого корпуса 424 втулки 414 зацепления поршня и определяет поверхность, которая зацепляет по меньшей мере один фиксатор 374 по меньшей мере на одном удерживающем элементе 368 на поршне 326 для предотвращения удаления поршня 326 из плунжера 400, когда поршень 326 находится в фиксированном зацеплении с механизмом 412 зацепления поршня, как описано в этой заявке. Внутренняя поверхность 426 центрального отверстия 416 может быть по сути цилиндрической проксимально от фиксирующего ребра 434.

[00223] Проксимальная часть или конец 432 полого корпуса 424 сформирован как единое целое с дистальной частью или концом 426, и может иметь внутреннюю поверхность 436 с продольной канавкой 438, выполненной с возможностью размещения направляющего стержня 439 узла 418 зацепления поршня (ФИГ. 9). Продольная канавка 438 имеет дистальный ограничитель 440 для ограничения дистального перемещения направляющего стержня 439 и, таким образом, для ограничения дистального перемещения узла 418 зацепления поршня относительно втулки 414 зацепления поршня. Внешняя поверхность 442 проксимальной части или конец 432 полого корпуса 424 может иметь зубчатую часть 444, выполненную с возможностью взаимодействия с одним или несколькими расцепляющими кромками 380 на поршне 326 во время удаления поршня 326 из механизма 412 зацепления поршня.

[00224] Со ссылкой на ФИГ. 11А-11Б, механизм 412 зацепления поршня дополнительно включает в себя корпус 446, выполненный с возможностью размещения исполнительного механизма 422. Как показано на ФИГ. 11Б, корпус 446 может иметь цилиндрическую конструкцию, которая имеет соединительный элемент 448, выполненный с возможностью соединения с соединительным элементом 450 на исполнительном механизме 422. В некоторых вариантах осуществления, соединительный элемент 448 на корпусе 446 может представлять собой поверхность с внутренней резьбой, которая выполнена с возможностью резьбового зацепления соединительного элемента 450 с внешней резьбой на исполнительном механизме 422. В других вариантах осуществления, соединительный элемент 448 может представлять собой клеящее вещество, зажимную скобу, посадку с натягом, защелку, или любой другой соединительный элемент для разъемного или неразъемного соединения корпуса 446 с соединительным элементом 450 на исполнительном механизме 422.

[00225] Со ссылкой на ФИГ. 11А-11Б, корпус 446 имеет проксимальную часть 452, соединенную с дистальной частью 454. В некоторых вариантах осуществления, дистальная часть 454 может иметь меньший внешний диаметр, чем проксимальная часть 452, таким образом, что уступ 456 определяется на переходной части между проксимальной частью 452 и дистальной частью 454. В некоторых вариантах осуществления, уступ 456 может быть выполнен с возможностью поддерживания проксимального конца смещающего элемента 496, выполненного с возможностью расцепления поршня 326 от механизма 412 зацепления плунжера (ФИГ. 9) во время расцепления поршня 326 от плунжера 400.

[00226] Втулка 458 расцепления поршня окружает дистальную часть 454 корпуса 446. В некоторых вариантах осуществления, втулка 458 расцепления поршня имеет цилиндрическую боковую стенку 460, имеющую отверстие 462, проходящее через нее. Отверстие 462 может иметь продольную поверхность 463, которая по сути параллельна продольной оси 464 втулки 458 расцепления поршня, и наклонную поверхность 466, которая является смежной с продольной поверхность 463 и расположена под углом вниз относительно продольной оси 464 втулки 458 расцепления поршня в направлении от дистального конца 468 к проксимальному концу 470. Как описано в этой заявке, продольная поверхность 463 выполнена с возможностью направления направляющего стержня 439 узла 418 зацепления поршня (ФИГ. 9) во время перемещение узла 418 зацепления поршня в продольном направлении вдоль продольной оси 420 плунжера 400, в то время как наклонная поверхность 464 выполнена с возможностью направления направляющего стержня 439 во время вращательного движения поршня 326 относительно плунжера 400, например, во время удаления поршня 326 из плунжера 400. Один или несколько источников света 472 могут обеспечиваться на печатной плате 474, соединенной с дистальным концом 468 втулки 458 расцепления поршня. Один или несколько источников света 472 могут быть выполнены с возможностью освещения по меньшей мере части поршня 326, как описано в этой заявке.

[00227] Со ссылкой на ФИГ. 11Б, исполнительный механизм 422 может быть выполнен с возможностью находиться в состоянии зацепления для перемещения одного из такого как втулка 414 зацепления поршня и узел 418 зацепления поршня в положение зацепления, и состояние расцепления для перемещения одного из такого как втулка зацепления поршня и узел зацепления поршня в положение расцепления. В некоторых вариантах осуществления, исполнительный механизм 422 может автоматически перемещаться в состояние расцепления, например, при потере подачи электропитания на исполнительный механизм 422. В некоторых вариантах осуществления, исполнительный механизм 422 может находиться в состояние зацепления только во время проксимального перемещения плунжера 400. В некоторых вариантах осуществления, исполнительный механизм 422 может представлять собой соленоид, выполненный с возможностью преимущественного нахождения в состоянии расцепления, и при этом может находиться в состоянии зацепления только во время соединения поршня 326 с плунжером 400. В других вариантах осуществления, исполнительный механизм 422 может представлять собой роторный электродвигатель, линейный электродвигатель, или линейный исполнительный механизм. В некоторых вариантах осуществления, исполнительный механизм 422 представляет собой линейный исполнительный механизм, который может приводиться в действие вручную в случае потери подачи электропитания на инъектор.

[00228] Со ссылкой на ФИГ. 9, втулка 414 зацепления поршня может быть выполнена с возможностью вращения вокруг продольной оси 420 плунжера относительно корпуса 446 и втулки 458 расцепления поршня между первым положением и вторым положением. В некоторых вариантах осуществления, втулка 414 зацепления поршня может быть выполнена с возможностью вращения в направлении по часовой стрелке и в направлении против часовой стрелки, или в одном из направлений по часовой стрелке и против часовой стрелки. Втулка 414 зацепления поршня может быть выполнена с возможностью вращения из первого положения во второе положение вследствие вращательного движения поршня 326 вокруг продольной оси 420 плунжера. Например, втулка 414 зацепления поршня может быть выполнена с возможностью вращения вокруг продольной оси 420 вследствие взаимодействия расцепляющих выступов 390 на поршне 326 с зубчатой частью 444 на плунжере втулки 414 зацепления. В определенных вариантах осуществления, вращение втулки 414 зацепления поршня может перемещать направляющий стержень 439 вдоль наклонной поверхности 466 втулки 458 расцепления поршня для перемещения узла 418 зацепления поршня в положение расцепления или зацепления. Для смещения втулки 414 зацепления поршня к первому положению может обеспечиваться смещающий элемент 496. Таким образом, когда втулка 414 зацепления поршня поворачивается из первого положения во второе положение, смещающий элемент 496 накапливает в себе потенциальную энергию, которая затем используется для содействия возвращению втулки 414 зацепления поршня в первое положение. В некоторых вариантах осуществления, смещающий элемент 496 может представлять собой пружину кручения, имеющую один конец, соединенный с втулкой 414 зацепления поршня, и другой конец, соединенный с корпусом 446 или втулкой 458 расцепления поршня.

[00229] Со ссылкой на ФИГ. 12, узел 418 зацепления поршня показан отдельно от механизма 412 зацепления поршня. Узел 418 зацепления поршня имеет вал 472, имеющий проксимальный конец 474 и дистальный конец 476. Дистальный конец 476 вала 472 имеет коническую торцевую поверхность 478, выполненную с возможностью контакта по меньшей мере с одним гибким удерживающим элементом 368 на поршне 326, когда узел 418 зацепления поршня находится в положении зацепления для фиксирования по меньшей мере одного фиксатора 374 на фиксирующем ребре 434 втулки 414 зацепления поршня для предотвращения удаления поршня 326 из плунжера 400. Для герметизации к внутренней поверхности 428 втулки 414 зацепления поршня на дистальном конце 478 может обеспечиваться уплотнение 480 (показано на ФИГ. 10А-10Б). Уплотнение 480 может представлять собой О-кольцевое уплотнение.

[00230] Узел 418 зацепления поршня дополнительно включает в себя направляющий стержень 439, который выполнен с возможностью направления перемещения узла 418 зацепления поршня относительно втулки 412 зацепления поршня. В некоторых вариантах осуществления, направляющий стержень 439 проходит через вал 472, и расположен по сути перпендикулярно продольной оси 482 вала 472. Упруго-эластичный элемент 484 окружает вал 472, и имеет дистальный конец 486, который упирается в уступ 488 на дистальном конце 478 вала 472. Проксимальный конец 490 упруго-эластичного элемента 484 может быть выполнен с возможностью контакта с исполнительным механизмом 422 или корпусом 446. Упруго-эластичный элемент 484 может представлять собой пружину сжатия, которая выполнена с возможностью смещения узла 418 зацепления поршня в дистальном направлении к положению зацепления, как описано в этой заявке. В других вариантах осуществления, упруго-эластичный элемент 484 может представлять собой пружину растяжения, которая выполнена с возможностью смещения узла 418 зацепления поршня в проксимальном направлении к положению расцепления.

[00231] Описав конструкцию поршня 326 и плунжера 400 в соответствии с один неограничивающим вариантом осуществления настоящего изобретения, далее, со ссылкой на ФИГ. 13А-13К, будет описан способ зацепления поршня 326 с плунжером 400 и расцепления поршня 326 от плунжера 400.

[00232] ФИГ. 13А показывает плунжер 400 с его механизмом 412 зацепления поршня в положении или состоянии зацепления и перед соединением с поршнем 326. В некоторых вариантах осуществления, состоянием механизма 412 зацепления поршня по умолчанию может быть положение или состояние зацепления. Для соединения поршня 326 с плунжером 400, шприц 300 вначале соединяют с инъектором 10, 100 (ФИГ. 1 и 3). Во время соединения шприца 300 с инъектором 10, 100, плунжер 400 втягивается в корпус инъектора 10, 100. После соединения шприца 300 с инъектором 10, 100, плунжер 400 может продвигаться в дистальном направлении к поршню 326.

[00233] Со ссылкой на ФИГ. 13Б, на исполнительный механизм 422 подается электрическое питание для втягивания вала 472 узла 418 зацепления поршня в проксимальном направлении, указанном стрелочкой, из положения или состояния зацепления в положение или состояния расцепления. Перемещение вала 472 в проксимальном направлении открывает приемное пространство 415 между втулкой 414 зацепления поршня и узлом 418 зацепления поршня, что обеспечивает возможность вставления или удаления одного или нескольких удерживающих элементов 368 поршня 326 в приемное пространство 415. Такое перемещение также сжимает упруго-эластичный элемент 484 между уступом 488 на дистальном конце вала 472 и исполнительным механизмом 422. Сжатие упруго-эластичного элемента 484 накапливает в нем потенциальную энергию, которая, при высвобождении, может использоваться для направления узла 418 зацепления поршня в положение или состояния зацепления.

[00234] В других вариантах осуществления, на исполнительный механизм 422 может прекращаться подача электрического питания, и вал 472 узла 418 зацепления поршня может втягиваться в проксимальном направлении, указанном стрелочкой, из положения или состояния зацепления в положение или состояния расцепления вследствие упругой восстанавливающей силы упруго-эластичного элемента 484. В таких вариантах осуществления, упруго-эластичный элемент 484 может представлять собой пружину растяжения, которая растягивается из первого состояния до второго состояния в результате приведения в действие исполнительного механизма 422. Как только на исполнительный механизм 422 прекращается подача электрического питания, восстанавливающая сила в упруго-эластичном элементе 484 толкает узел 418 зацепления поршня в положение или состояния расцепления. Таким образом, узел 418 зацепления поршня находится в обычном положении или состоянии расцепления, что обеспечивает возможность удаления поршня 326 из плунжера 400, в случае, когда исполнительный механизм 422 не может функционировать, например, вследствие потери подачи электропитания.

[00235] Со ссылкой на ФИГ. 13В, плунжер 400 может затем перемещаться по оси в дистальном направлении к поршню 326 (как указано стрелочкой В). В некоторых вариантах осуществления, плунжер 400 может продвигаться дистально, с помощью исполнительного механизма 402, управляемого контроллером 200 (ФИГ. 2). В других вариантах осуществления, плунжер может перемещаться в дистальном направлении вручную.

[00236] Со ссылкой на ФИГ. 13Г, плунжер 400 продвигается по оси в дистальном направлении таким образом, что по меньшей мере один удерживающий элемент 368 поршня 326 размещается внутри центрального отверстия 416 втулки 414 зацепления поршня. Сначала, внутренняя поверхность 428 центрального отверстия 416 входит в контакт с фиксатором 374 по меньшей мере одного удерживающего элемента 368. Поскольку фиксатор 374 выступает радиально наружу относительно по меньшей мере одного удерживающего элемента 368, фиксатор 374 располагается на большем радиальном расстоянии от продольной оси 334 поршня, чем наклон 430 центрального отверстия 416. Таким образом, продолжающееся перемещение в дистальном направлении плунжера 400 заставляет по меньшей мере один удерживающий элемент 368 отклоняться радиально внутрь в результате контакта между фиксатором 374 и наклонной плоскостью 430. В вариантах осуществления, где имеется несколько удерживающих элементов 368, каждый из удерживающих элементов 368 отклоняется в радиальном направлении внутрь.

[00237] Во время продолжающегося осевого перемещения плунжера 400 в дистальном направлении, фиксатор 374 отклоняется за фиксирующее ребро 434 втулки 414 зацепления, располагаемой в плунжере. После того, как фиксатор 374 располагается проксимально относительно фиксирующего ребра 434, перемещение в дистальном направлении плунжера 400 относительно поршня 326 останавливается, или контакт между дистальной частью или концом 426 втулки 414 зацепления поршня и внутренней поверхностью 352 внутренней полости 340 корпуса 332 поршня заставляет поршень 326 перемещаться в дистальном направлении вместе с плунжером 400, и по меньшей мере один удерживающий элемент 368 может упруго отклоняться в радиальном направлении внутрь таким образом, что фиксатор 374 располагается проксимально фиксирующего ребра 434. В некоторых вариантах осуществления, перемещение в дистальном направлении плунжера 400 относительно поршня 326 может останавливаться при зацеплении части втулки 414 зацепления поршня с приводным плечом 327 поршня 326. При том, что по меньшей мере один удерживающий элемент 368 находится в положении, показанном на ФИГ. 13Г, поршень 326 не находится в фиксированном зацеплении с плунжером 400, поскольку по меньшей мере один удерживающий элемент 368 может отклоняться в радиальном направлении внутрь при перемещении в проксимальном направлении плунжера 400 или перемещении в дистальном направлении поршня 326 (например, в результате удаления шприца из инъектора). Когда поршень 326 соединен с плунжером 400, один или несколько расцепляющих выступов 380 на поршне 326 совмещены с зубчатой частью 444 на внешней поверхности 442 втулки 414 зацепления поршня. В определенных вариантах осуществления, поршень 326 не может находиться в зацепленном, фиксированном положении с плунжером 400, когда плунжер 400 перемещается в дистальном направлении, и перемещается в зацепленное, фиксированное положение только при перемещении плунжера 400 в проксимальном направлении. Такая особенность может обеспечивать легкое удаление шприца 300 и поршня 326 после короткого перемещения плунжера 400 в дистальном направлении, и может уменьшать износ компонентов системы и/или двигателей, требуя фиксирующего зацепления только при втягивании плунжера 400.

[00238] Со ссылкой на ФИГ. 13Д, на исполнительный механизм 422 прекращается подача электрического питания, чтобы обеспечивать перемещение вала 472 узла 418 зацепления поршня в дистальном направлении, указанном стрелочкой С, из положения или состояния расцепления в положение или состояния зацепления. В других вариантах осуществления, на исполнительный механизм 422 может подаваться электрическое питание для перемещения вала 472 узла 418 зацепления поршня в дистальном направлении.

[00239] Перемещение вала 472 в дистальном направлении закрывает приемное пространство 415 между втулкой 414 зацепления поршня и узлом 418 зацепления поршня, фиксируя по меньшей мере один фиксатор 374 на фиксирующем ребре 434 для предотвращения удаления одного или нескольких удерживающих элементов 368 поршня 326 из приемного пространства 415, предотвращая таким образом удаление поршня 326 из плунжера 400. Узел 418 зацепления поршня перемещается из положения или состояния расцепления в положение или состояния зацепления вследствие высвобождения потенциальной энергии, накопленной в упруго-эластичном элементе 484. В других вариантах осуществления, узел 418 зацепления поршня перемещается из положения или состояния расцепления в положение или состояния зацепления вследствие приведения в действие исполнительного механизма 422, который накапливает потенциальную энергию в упруго-эластичном элементе 484. Как только узел 418 зацепления поршня перемещается в положение или состояния зацепления, по меньшей мере один удерживающий элемент 368 поршня 326 захватывается между втулкой 414 зацепления поршня и узлом 418 зацепления поршня таким образом, что осевое перемещение плунжера 400 приводит к соответствующему осевому перемещению поршня 326 внутри цилиндр шприца. Плунжер 400 и соединенный с ним поршень 326 могут затем осуществлять возвратно-поступательные движения в цилиндре 318 шприца 300 (ФИГ. 5А-5Б). В определенных вариантах осуществления, когда плунжер 400 и соединенный с ним поршень 326 могут перемещаться в проксимальном направлении в цилиндре 318 и могут перемещаться в дистальном направлении, когда плунжер 400 находится либо в положении зацепления, либо в положении расцепления с поршнем 326. В некоторых вариантах осуществления, плунжер 400 может продвигаться дистально для выпуска жидкости из шприца 300 или проксимально для наполнения шприца 300 жидкостью с использованием приводного механизма 402, управляемого контроллером 200 (ФИГ. 2).

[00240] В определенных вариантах осуществления, предусматривающих ручное отсоединение шприца, для разъединения шприца 300 из порта шприца инъектора и расцепления поршня 326 от плунжера 400, шприц 300 можно вращать по часовой стрелке или против часовой стрелки вокруг продольной оси шприца, относительно порта шприца. Поскольку поршень 326 по сути не вращается благодаря фрикционному взаимодействию с цилиндром 318 шприца, вращение шприца 300 также заставляет поршень 326 вращаться относительно плунжера 400 вокруг продольной оси 420 плунжера. Вследствие совмещения одного или нескольких расцепляющих выступов 380 на поршне 326 с зубчатой частью 444 на внешней поверхности 442 втулки 414 зацепления поршня, поворот поршня 326 также поворачивает втулку 414 зацепления поршня относительно втулки 458 расцепления поршня механизма 412 зацепления поршня из первого положения во второе положение. Поскольку направляющий стержень 439 на узле 418 зацепления поршня размещается внутри продольной канавки 438 втулки 414 зацепления поршня, то узел 418 зацепления поршня также поворачивается при повороте втулки 414 зацепления поршня. Поворот узла 418 зацепления поршня заставляет направляющий стержень 439 направляться вдоль наклонной поверхности 466 втулки 458 расцепления поршня (см. ФИГ. 13Е) и сжимать упруго-эластичный элемент 484. Кроме того, вращение втулки 414 зацепления поршня вокруг продольной оси 420 плунжера накапливает потенциальную энергию в смещающем элементе 496.

[00241] В других вариантах осуществления, например, когда шприц помещен внутри герметичного кожуха, вращение шприца и поршня для расцепления поршня 326 от плунжера 400 может оказаться невозможным. В соответствии с указанными вариантами осуществления, расцепление и зацепление плунжера 400 с поршнем 326 может осуществляться электромеханически, например посредством применения моторизованного или электрического исполнительного механизма для расцепления поршня 326 от плунжера 400. Как описано в этой заявке, для перемещения узла 418 зацепления поршня между положениями зацепления и расцепления для зацепления поршня 326 с плунжером 400 и для расцепления поршня 326 от плунжера 400 может применяться двигатель, такой как линейный или роторный электрический двигатель, или электрический исполнительный механизм, такой как соленоид. Когда поршень 326 находится в положении расцепления, например, в конце процедуры инъекции, шприц 300 может удаляться из инъектора, и инъектор можно подготовить для следующей процедуры.

[00242] Со ссылкой на ФИГ. 13Ж, перемещение направляющего стержня 439 вдоль наклонной поверхности 466 втулки 458 расцепления поршня заставляет узел 418 зацепления поршня перемещаться по оси из положения или состояния зацепления в положение или состояния расцепления в проксимальном направлении стрелочки D. В некоторых вариантах осуществления, узел 418 зацепления поршня может перемещаться в проксимальном направлении в результате подачи электрического питания на исполнительный механизм 422 для втягивания вала 472 узла 418 зацепления поршня. Таким образом, узел 418 зацепления поршня может перемещаться вручную, например, в результате вращения поршня 326 относительно плунжера 400, или с помощью приведения в действие исполнительного механизма 422. Соответственно, в случае потери подачи электропитания, поршень 326 может удаляться из плунжера 400. Перемещение узла 418 зацепления поршня в проксимальном направлении открывает приемное пространство 415 между втулкой 414 зацепления поршня и узлом 418 зацепления поршня, с тем, чтобы обеспечивать возможность удаления одного или нескольких удерживающих элементов 368 поршня 326 из приемного пространства 415. Кроме того, такая конфигурация, где приведение в действие исполнительного механизма 422 требуется только для зацепления, может уменьшать износ компонентов системы и/или двигателей, требуя фиксирующего зацепления только при перемещении плунжера 400 в проксимальном направлении.

[00243] Когда механизм 412 зацепления поршня находится в положении или состоянии расцепления, шприц 300 можно вытягивать в дистальном направлении, или плунжер 400 можно втягивать в проксимальном направлении для удаления поршня 326 из плунжера 400 и для удаления шприца 300 и поршня 326 из инъектора для введения жидкости. Во время такого относительного перемещения поршня 326 по отношению к плунжеру 400 в направлении друг от друга, фиксатор 374 отклоняется над фиксирующим ребром 434 втулки 414 зацепления, располагаемой в плунжере, с тем, чтобы обеспечивать возможность удаления одного или нескольких удерживающих элементов 368 из плунжера 400. Затем поршень 326 может свободно вытягиваться из плунжера 400, например, показано на ФИГ. 133.

[00244] Со ссылкой на ФИГ. 13И-13К, после удаления поршня 326 из плунжера 400, втулка 414 зацепления поршня и узел 418 зацепления поршня автоматически поворачиваются вокруг продольной оси 420 плунжера (показано на ФИГ. 9) из второго положения в первое положение вследствие восстанавливающей силы, обеспеченной смещающим элементом 496. При перемещении втулки 414 зацепления поршня и узла 418 зацепления поршня в первое положение, направляющий стержень 429 направляется вдоль наклонной поверхности 466 втулки 458 расцепления поршня к дистальному концу втулки 458 расцепления поршня вследствие восстанавливающей силы, обеспеченной упруго-эластичным элементом 484. Указанное заставляет узел 418 зацепления поршня перемещаться в дистальном направлении стрелочки Е. Положение механизма 412 зацепления поршня на ФИГ. 13К идентично положению механизма 412 зацепления поршня на ФИГ. 13А.

[00245] Со ссылкой на ФИГ. 14А-14В, плунжер 500 и механизм 512 зацепления поршня показаны в соответствии с другим вариантом осуществления настоящего изобретения. Компоненты плунжера 500 и механизма 512 зацепления поршня, показанные на ФИГ. 14А-14В, по сути являются подобными или идентичными компонентам плунжера 400 и механизма 412 зацепления поршня, описанным в этой заявке со ссылкой на ФИГ. 9-13К. Соответственно, ссылочные обозначения на ФИГ. 14А-14В применяют для иллюстрации идентичных компонентов соответствующих ссылочных обозначений на ФИГ. 9-13К, за исключением того, что главное обозначение в ссылочных обозначениях, применяемых на ФИГ. 14А-14В, было изменено из "4" на "5". Например, при том, что плунжер, описанный в связи с ФИГ. 9-13К, обозначен ссылочным обозначением "400", плунжер на ФИГ. 14А-14В обозначен ссылочным обозначением "500". Все, что выше обсуждалось в отношении плунжера 400 и механизма 412 зацепления поршня, в целом показанных на ФИГ. 9-13К, применимо к плунжеру 500 и механизму 512 зацепления поршня, показанным на ФИГ. 14А-14В, при этом далее обсуждаются только соответствующие различия между компонентами, показанными на указанных фигурах.

[00246] Притом что плунжер 400 и механизм 412 зацепления поршня, показанные на ФИГ. 9-13К, выполнены с возможностью взаимодействия с поршнем 326, показанным на ФИГ. 6-8Б, плунжер 500 и механизм 512 зацепления поршня на ФИГ. 14А-14В выполнены с возможностью взаимодействия с поршнем 326 на ФИГ. 8В. Таким образом, по меньшей мере один удерживающий элемент 368, показанный на ФИГ. 6-8Б, выполнен с возможностью отклонения в радиальном направлении наружу в результате контакта между фиксатором 374 и по меньшей мере частью механизма 518 зацепления поршня на плунжере, как описано в этой заявке. По меньшей мере один удерживающий элемент 368, показанный на ФИГ. 6-8Б, выполнен с возможностью возвращения к своему неотклоненному состоянию в результате перемещения в радиальном направлении внутрь.

[00247] Все еще ссылаясь на ФИГ. 14А, механизм 512 зацепления поршня имеет втулку 514 зацепления поршня, имеющую центральное отверстие 516 и узел 518 зацепления поршня. Узел 518 зацепления поршня имеет проксимальную часть 519, которая в результате вращения соединяется с втулкой 558 расцепления поршня таким образом, что узел 518 зацепления поршня выполнен с возможностью вращения вокруг продольной оси 520 плунжера. Со ссылкой на ФИГ. 15, проксимальная часть 519 может иметь зубчатую часть 544 на своем дистальном конце. Как в случае с зубчатой частью 444 механизма 412 зацепления поршня, описанного в этой заявке со ссылкой на ФИГ. 9-13К, зубчатая часть 544 выполнена с возможностью взаимодействия с расцепляющими выступами 380 на поршне 326 (ФИГ. 8А, 8Б, и 14А). Узел 518 зацепления поршня дополнительно имеет часть 521 узла, которая простирается дистально от проксимальной части 519. В некоторых вариантах осуществления, проксимальная часть 519 и часть 521 узла могут формироваться как одно целое, составляя единую часть. Одно или несколько отверстий 523 могут формироваться в узле 518 зацепления поршня сквозь соединяющую часть 525, соединяющую проксимальную часть 519 с частью 521 узла. Отверстие 523 может быть выполнено с возможностью размещения в нем части втулки 514 зацепления поршня. Верхняя поверхность соединяющей части 525 определяет поверхность зацепления для контакта по меньшей мере с частью поршня 326, такой как приводное плечо 327 поршня 326. Узел 518 зацепления поршня дополнительно имеет продольную канавку 538, выполненную с возможностью размещения направляющего стержня 539. Продольная канавка 538 имеет дистальный ограничитель 540 для ограничения перемещения в дистальном направлении направляющего стержня 539, и, таким образом для ограничения перемещение в дистальном направлении втулки 514 зацепления поршня относительно узла 518 зацепления поршня.

[00248] Узел 518 зацепления поршня на ФИГ. 14А-14В выполнен только с возможностью вращения вокруг продольной оси 520 плунжера. Узел 518 зацепления поршня может быть выполнен с возможностью вращения вокруг продольной оси 520 плунжера, а втулка 558 расцепления поршня между первым положением и вторым положением. В некоторых вариантах осуществления, узел 518 зацепления поршня может быть выполнен с возможностью вращения в направлении по часовой стрелке и в направлении против часовой стрелки, или в одном из направлений по часовой стрелке и против часовой стрелки. Узел 518 зацепления поршня может быть выполнен с возможностью поворачивания из первого положения во второе положение вследствие вращательного движения поршня 326 вокруг продольной оси 520 плунжера. Например, узел 518 зацепления поршня может быть выполнен с возможностью вращения вокруг продольной оси 520 вследствие взаимодействия расцепляющих выступов 390 на поршне 326 с зубчатой частью 544 узла 518 зацепления на плунжере. Смещающий элемент (не показан), подобен смещающему элементу 496, показанному на ФИГ. 9, может обеспечиваться для смещения узла 518 зацепления поршня к первому положению. Таким образом, когда узел 518 зацепления поршня поворачивается из первого положения во второе положение, смещающий элемент накапливает в себе потенциальную энергию, которую затем используют для содействия возвращению узла 518 зацепления поршня в первое положение. В некоторых вариантах осуществления, смещающий элемент может представлять собой пружину кручения, имеющую один конец, соединенный с узлом 518 зацепления поршня, и другой конец, соединенный с втулкой 558 расцепления поршня.

[00249] Все еще ссылаясь на ФИГ. 15, часть 521 узла 518 зацепления поршня имеет фиксирующую канавку 527, которая выполнена с возможностью размещения фиксатора 374 по меньшей мере одного гибкого удерживающего элемента 368 поршня 326. Дистальный конец части 521 узла может иметь форму, пригодную для отклонения по меньшей мере одного удерживающего элемента 368 в радиальном направлении наружу в результате контакта фиксатора 374 с внешней поверхностью части 521 узла. В определенных вариантах осуществления, дистальный конец части 521 узла может включать в себя наклон для последующего отклонения по меньшей мере одного удерживающего элемента 368 в радиальном направлении наружу. Таким образом, перемещение в дистальном направлении плунжера 500 относительно поршня 326 заставляет по меньшей мере один удерживающий элемент 368 отклоняться радиально наружу в результате контакта между фиксатором 374 и внешней поверхностью части 521 узла. В вариантах осуществления, имеющих несколько удерживающих элементов 368, каждый из удерживающих элементов 368 отклоняется в радиальном направлении наружу.

[00250] Со ссылкой на ФИГ. 14А, втулка 558 расцепления поршня, по меньшей мере частично, размещается внутри полого корпуса конструкции втулки 514 зацепления поршня и узла 518 зацепления поршня. Со ссылкой на ФИГ. 16, втулка 558 расцепления поршня имеет цилиндрическую боковую стенку 560, имеющую отверстие 562, проходящее через нее. Отверстие 562 может иметь продольную поверхность 563, которая по сути параллельна продольной оси 564 втулки 558 расцепления поршня, и наклонную поверхность 566, которая является смежной с продольной поверхностью 563 и расположена под углом вниз относительно продольной оси 564 втулки 558 расцепления поршня в направлении от дистального конца 568 к проксимальному концу 570. Как описано в этой заявке, продольная поверхность 563 выполнена с возможностью направления направляющего стержня 539 (ФИГ. 14А) во время перемещения втулки 514 зацепления поршня в продольном направлении вдоль продольной оси 520 плунжера 500, в то время как наклонная поверхность 564 выполнена с возможностью направления направляющего стержня 539 во время вращательного движения поршня 326 относительно плунжера 500 (или наоборот), например, во время удаления поршня 326 из плунжера 500.

[00251] Со ссылкой на ФИГ. 17А-17Б, втулка 514 зацепления поршня показана отдельно от остального механизма 512 зацепления поршня. Втулка 514 зацепления поршня имеет полый корпус 524, по меньшей мере часть которого выполнена с возможностью размещения внутри проксимальной части 519 узла 518 зацепления поршня. Дистальная часть или конец 526 втулки 514 зацепления поршня имеет форму, пригодную для прохождения через отверстие 523 на узле 518 зацепления поршня (ФИГ. 15) и расположения внутри внутренней полости 340 поршня 326 (ФИГ. 14А-14Б). По меньшей мере часть поршня 326, например, по меньшей мере один удерживающий элемент 368, выполнен с возможностью размещения внутри центрального отверстия 516 и в приемном пространстве 515 между частью 521 узла 518 зацепления поршня и дистальной частью или концом 526 втулки 514 зацепления поршня. Часть внутренней поверхности 528 центрального отверстия 516 может иметь наклон 530, таким образом, что внутренний диаметр отверстия 516 сужается в направлении от дистального конца 526 полого корпуса к проксимальной части или концу 532. Наклон 530 может быть выполнен с возможностью отклонения по меньшей мере одного удерживающего элемента 368, связанного с поршнем 326, в радиальном направлении внутрь во время соединения поршня 326 с плунжером 500 и создания плотного зацепляющего взаимодействия между фиксатором 374 по меньшей мере одного гибкого удерживающего элемента 368 и фиксирующей канавкой 527 узла 518 зацепления поршня.

[00252] Все еще ссылаясь на ФИГ. 17А-17Б, полый корпус 524 втулки 514 зацепления поршня имеет сквозное отверстие 533, выполненное с возможностью прохождения через него направляющего стержня 539. Втулка 514 зацепления поршня выполнена с возможностью вращаться вокруг его продольной оси 531 в результате зацепления направляющего стержня 539 с наклонно поверхностью 566 втулки 558 расцепления поршня вследствие вращения поршня 326 и узла 518 зацепления поршня.

[00253] Описав конструкцию поршня 326 и плунжера 500 в соответствии с одним неограничивающим вариантом осуществления настоящего изобретения, далее со ссылкой на ФИГ. 14А-14В будет описан способ зацепления поршня 326 с плунжером 500 и расцепления поршня 326 от плунжера 500.

[00254] ФИГ. 14Б показывает плунжер 500 с его механизмом 512 зацепления поршня в положении или состоянии расцепления и перед фиксирующим зацеплением с поршнем 326. На ФИГ. 14Б плунжер 400 продвинулся в дистальном направлении к поршню 326. В некоторых вариантах осуществления, плунжер 500 может продвигаться в дистальном направлении с использованием приводного механизма 402, управляемого контроллером 200 (ФИГ. 2). В других вариантах осуществления, плунжер может перемещаться в дистальном направлении вручную.

[00255] Все еще ссылаясь на ФИГ. 14Б, фиксатор 374 по меньшей мере на одном удерживающем элементе 368 поршня 326 отклоняется в радиальном направлении наружу в результате контакта с внешней поверхностью части 521 узла. После расположения фиксатора 374 внутри фиксирующей канавки 527, например, когда верхняя поверхность соединяющей части 525 зацепляет приводное плечо 327 поршня 326, перемещение в дистальном направлении плунжера 500 относительно поршня 326 останавливается, и по меньшей мере один удерживающий элемент 368 может упруго отклоняться в радиальном направлении внутрь таким образом, что фиксатор 374 располагается внутри фиксирующей канавки 527. При том, что по меньшей мере один удерживающий элемент 368 находится в положении, показанном на ФИГ. 14Б, поршень 326 не находится в фиксированном зацеплении с плунжером 500, поскольку, благодаря гибкости материала между первым дистальным концом 370 и вторым проксимальным концом 372 (смотри ФИГ. 7), по меньшей мере один удерживающий элемент 368 может отклоняться в радиальном направлении наружу при перемещении в проксимальном направлении плунжера 500, или при перемещении в дистальном направлении поршня 326 (например, в результате удаления шприца из инъектора). Когда поршень 326 входит в контакт с плунжером 500, как показано на ФИГ. 14Б, один или несколько расцепляющих выступов 380 на поршне 326 совмещаются с зубчатой частью 544 на узле 518 зацепления поршня.

[00256] Со ссылкой на ФИГ. 14А и 14В, втулка 514 зацепления поршня перемещается из положения или состояния расцепления в положение или состояния зацепления. Такое перемещение втулки 514 зацепления поршня может происходить вследствие прекращения подачи электрического питания на исполнительный механизм и обеспечения возможности упруго-эластичному элементу, такому как упруго-эластичный элемент 484, описанный в этой заявке со ссылкой на ФИГ. 9-13К, толкать втулку 514 зацепления поршня по оси в дистальном направлении. В других вариантах осуществления, такое перемещение втулки 514 зацепления поршня может происходить вследствие подачи электрического питания на исполнительный механизм, который толкает втулку 514 зацепления поршня по оси в дистальном направлении. Например, исполнительный механизм может приводиться в действие посредством роторного или линейного двигателя для перемещения исполнительного механизма из положения расцепления в положение зацепления в дистальном направлении. Таким образом, подача электрического питания на исполнительный механизм заставляет втулку 514 зацепления поршня перемещаться в дистальном направлении и накапливает упругую восстанавливающую силу на упруго-эластичном элементе. Перемещение втулки 514 зацепления поршня в дистальном направлении закрывает приемное пространство 515 между втулкой 514 зацепления поршня и узлом 518 зацепления поршня для предотвращения удаления одного или нескольких удерживающих элементов 368 поршня 326 из приемного пространства 515, а также фиксатора 374 одного или нескольких гибких удерживающих элементов 368 и фиксирующей канавки 527. Как только втулка 514 зацепления поршня перемещается в положение или состояния зацепления, по меньшей мере один удерживающий элемент 368 поршня 326 захватывается между втулкой 514 зацепления поршня и узлом 518 зацепления поршня, таким образом, что проксимальное осевое перемещение плунжера 500 приводит к соответствующему проксимальному осевому перемещения поршня 326 внутри цилиндра шприца. Плунжер 500 и соединенный с ним поршень 326 затем могут осуществлять возвратно-поступательные движения в цилиндре 318 шприца 300.

[00257] Для разъединения шприца 300 от порта шприца инъектора и расцепления поршня 326 от плунжера 500, шприц 300 поворачивают по часовой стрелке или против часовой стрелки вокруг продольной оси шприца, относительно порта шприца. Поскольку поршень 326 по сути не вращается внутри цилиндр 318 шприца благодаря силам трения, вращение шприца 300 также заставляет поршень 326 вращаться относительно плунжера 500 вокруг продольной оси 520 плунжера. Вследствие совмещения одного или нескольких расцепляющих выступов 380 на поршне 326 с зубчатой частью 544 на узле 518 зацепления поршня, вращение поршня 326 также вращает узел 518 зацепления поршня относительно втулки 558 расцепления поршня из первого положения во второе положение. Поскольку направляющий стержень 539 на втулке 514 зацепления поршня размещается внутри продольной канавки 538 узла 518 зацепления поршня, втулка 514 зацепления поршня также вращается при вращении узла 518 зацепления поршня. Вращение втулки 514 зацепления поршня заставляет направляющий стержень 539 направляться вдоль наклонной поверхности 566 втулки 558 расцепления поршня (смотри ФИГ. 16), перемещая втулку 514 зацепления поршня в проксимальном направлении и сжимая упруго-эластичный элемент, аналогично действию упруго-эластичного элемента 484, описанного в этой заявке со ссылкой на ФИГ. 9-13К. Кроме того, вращение узла 518 зацепления поршня вокруг продольной оси 520 плунжера может накапливать потенциальную энергию в смещающем элементе, аналогично действию смещающего элемента 496, описанного в этой заявке со ссылкой на ФИГ. 9-13К.

[00258] Перемещение направляющего стержня 539 вдоль наклонной поверхности 566 втулки 558 расцепления поршня заставляет втулку 514 зацепления поршня перемещаться по оси в проксимальном направлении из положения или состояния зацепления в положение или состояния расцепления, как показано на ФИГ. 14А. В некоторых вариантах осуществления, втулка 514 зацепления поршня может перемещаться в проксимальном направлении в результате подачи электрического питания или прекращения подачи электрического питания на исполнительный механизм для втягивания втулки 514 зацепления поршня. Перемещение втулки 514 зацепления поршня в проксимальном направлении открывает приемное пространство 515 между втулкой 514 зацепления поршня и узлом 518 зацепления поршня, с тем, чтобы обеспечивать возможность удаления фиксатора 374 одного или нескольких гибких удерживающих элементов 368 и фиксирующей канавки 527, а также обеспечивать удаление одного или нескольких удерживающих элементов 368 поршня 326 из приемного пространства 515.

[00259] Со ссылкой на ФИГ. 18А-18Б, плунжер 600 и механизм 612 зацепления поршня показаны в соответствии с другим вариантом осуществления настоящего изобретения. Компоненты плунжера 600 и механизма 612 зацепления поршня, показанные на ФИГ. 18А-18Б, являются по сути подобными или идентичными компонентам плунжера 400 и механизма 412 зацепления поршня, описанным в этой заявке со ссылкой на ФИГ. 9-13К. Соответственно, ссылочные обозначения на ФИГ. 18А-18Б используют для иллюстрации идентичных компонентов соответствующих ссылочных обозначений на ФИГ. 9-13К, за исключением того, что главное обозначение в ссылочных обозначениях, применяемых на ФИГ. 18А-18Б, было изменено из "4" на "6". Например, в то время как плунжер, описанный в связи с ФИГ. 9-13К, обозначен ссылочным обозначением "400", то плунжер на ФИГ. 18А-18Б обозначен ссылочным обозначением "600". Все то, что выше обсуждалось в отношении плунжера 400 и механизма 412 зацепления поршня, показанных в целом на ФИГ. 9-13К, применимо к плунжеру 600 и механизму 612 зацепления поршня, показанным на ФИГ. 18А-18Б, при этом далее будут обсуждаться только соответствующие различия между компонентами, показанными на указанных фигурах.

[00260] Со ссылкой на ФИГ. 18А, механизм 612 зацепления поршня имеет втулку 614 зацепления поршня, имеющую центральное отверстие 616 и узел 618 зацепления поршня, который выполнен с возможностью возвратно-поступательного движения внутри центрального отверстия 616 втулки 614 зацепления поршня вдоль направления продольной оси 620 плунжера. Узел 618 зацепления поршня приводится в возвратно-поступательное движение посредством исполнительного механизма, такого как исполнительный механизм 422, показанный и описанный в этой заявке со ссылкой на ФИГ. 9. В некоторых вариантах осуществления, исполнительный механизм может представлять собой соленоид, выполненный с возможностью преимущественного нахождения в состоянии расцепления, и который может находиться в состояние зацепления только во время соединения поршня 326 с плунжером. В других вариантах осуществления, исполнительный механизм может представлять собой роторный электродвигатель, линейный электродвигатель, или линейный исполнительный механизм. В некоторых вариантах осуществления, исполнительный механизм представляет собой линейный исполнительный механизм, который может приводиться в действие вручную в случае потери подачи электропитания на инъектор.

[00261] Механизм 612 зацепления поршня выполнен с возможностью осуществления работы между положением или состоянием зацепления, и положением или состоянием расцепления. В положении или состоянии зацепления, узел 618 зацепления поршня может располагаться внутри втулки 614 зацепления поршня для захвата по меньшей мере одного удерживающего элемента 368, связанного с поршнем 326, в приемном пространстве 615 между втулкой 614 зацепления поршня и узлом 618 зацепления поршня. И наоборот, в положении или состоянии расцепления, узел 618 зацепления поршня может располагаться проксимально относительно втулки 614 зацепления поршня, с тем, чтобы обеспечивать возможность удаления по меньшей мере одного удерживающего элемента 368, связанного с поршнем 600, из приемного пространства 615 между втулкой 614 зацепления поршня и узлом 618 зацепления поршня.

[00262] Все еще ссылаясь на ФИГ. 18А, втулка 614 зацепления поршня имеет полый корпус 624, причем по меньшей мере часть внешней поверхности полого корпуса 624 определяет по меньшей мере часть головки 606 плунжера. Дистальная часть или конец 626 втулки 614 зацепления поршня имеет форму, пригодную для размещения внутри внутренней полости 340 поршня 326, в то время как по меньшей мере часть поршня 326, такая как по меньшей мере один удерживающий элемент 368, выполнен с возможностью размещения внутри центрального отверстия 616. Центральное отверстие 616 проходит через полый корпус 624 втулки 614 зацепления поршня. Внутренняя поверхность центрального отверстия 616 может иметь наклон 630, таким образом, что внутренний диаметр отверстия 616 сужается в направлении от дистального конца полого корпуса 624 к проксимальной части или к концу. Наклон 630 может быть выполнен с возможностью отклонения по меньшей мере одного удерживающего элемента 368, связанного с поршнем 326, в радиальном направлении внутрь во время соединения поршня 326 с втулкой 614 зацепления поршня посредством вхождения в контакт с фиксатором 374 одного или нескольких гибких удерживающих элементов 368, по мере того, как головка 606 плунжера перемещается в дистальном направлении относительно поршня 326. Наклон 630 может заканчиваться на фиксирующем ребре 634. Внешняя поверхность 642 втулки 614 зацепления поршня может иметь зубчатую часть 644, подобную зубчатой части 444, описанной в этой заявке со ссылкой на ФИГ. 9-13К. Зубчатая часть 644 может быть выполнена с возможностью взаимодействия с одним или несколькими расцепляющими выступами 380 на поршне 326 во время вращения поршня 326 относительно плунжера 600 (показано на ФИГ. 8В).

[00263] Со ссылкой на ФИГ. 18Б, узел 618 зацепления поршня показан отдельно от механизма 612 зацепления поршня. Узел 618 зацепления поршня имеет вал 672, имеющий проксимальный конец 674 и дистальный конец 676. Дистальный конец 676 вала 672 имеет коническую торцевую поверхность 678, выполненную с возможностью контакта по меньшей мере с одним удерживающим элементом 368 на поршне 326, когда узел 618 зацепления поршня находится в положении зацепления, для предотвращения удаления поршня 326 от плунжера 600. Проксимальный конец 674 вала 672 выполнен с возможностью соединения с исполнительным механизмом, подобным исполнительному механизму 422, описанному в этой заявке со ссылкой на ФИГ. 9-13К, для перемещения узла 618 зацепления поршня относительно втулки 614 зацепления поршня между положением или состоянием зацепления и положением или состоянием расцепления.

[00264] Все еще ссылаясь на ФИГ. 18Б, узел 618 зацепления поршня дополнительно включает в себя по меньшей мере одну канавку 665, углубленную в корпусе вала 672 на дистальном конце 676. В некоторых вариантах осуществления, по меньшей мере одна канавка 665 может быть выполнена с возможностью размещения по меньшей мере одного удерживающего элемента 368 поршня 326, когда узел 618 зацепления поршня поворачивается вокруг продольной оси 667. По меньшей мере одна канавка 665 может линейно или криволинейно располагаться между уступом 679 поблизости проксимального конца 674 и дистального конца 676 вала 672. В некоторых вариантах осуществления, по меньшей мере одна канавка 665 может простираться в направлении, параллельном продольной оси 667 узла 618 зацепления поршня.

[00265] Все еще ссылаясь на ФИГ. 18Б, несколько канавок 665 расположены на расстоянии друг от друга, радиально от продольной оси 667 вдоль окружности дистального конца 676 вала 672. В вариантах осуществления, где обеспечено более двух канавок 665, канавки 665 могут быть расположены на равном расстоянии друг от друга, и отделены друг от друга внешней поверхностью 667 вала 672. В некоторых вариантах осуществления, количество канавок 665 и интервал между ними могут соответствовать количеству и интервалу удерживающих элементов 368 на поршне 326. В одном примерном и неограничивающем аспекте с шестью удерживающими элементами 368, имеющими одинаковое угловое разделение между ними, как показано на ФИГ. 8В, соответствующий узел 618 зацепления поршня имеет шесть канавок 665, отстоящих на 60 градусов от канавок 665, находящихся по соседству с любой стороны.

[00266] Со ссылкой на ФИГ. 18А, проксимальный конец 674 вала 672 размещается внутри вращающегося механизма 671, который установлен с возможностью скольжения внутри полого корпуса 624 втулки 614 зацепления поршня. В некоторых вариантах осуществления, вращающийся механизм 671 может иметь первую часть 673, которая установлена с возможностью скольжения внутри полого корпуса 624 и закреплена от вращения относительно втулки 614 зацепления поршня, и вторую часть 675, которая прикреплена к узлу 618 зацепления поршня и выполнена с возможностью поворота относительно первой части 673 и втулки 614 зацепления поршня. В некоторых вариантах осуществления, вращающийся механизм 671 может быть выполнен с возможностью одностороннего вращения, например, по часовой стрелке или против часовой стрелки вокруг продольной оси 620. Например, вращающийся механизм 671 может представлять собой одностороннюю муфту.

[00267] Описав конструкцию поршня 326 и плунжера 600 в соответствии с одним неограничивающим вариантом осуществления настоящего изобретения, далее будет описан способ зацепления поршня 326 с плунжером 600 и способ расцепления поршня 326 от плунжера 600.

[00268] ФИГ. 18А показывает плунжер 600 с его механизмом 612 зацепления поршня в положении или состоянии зацепления с поршнем 326. Как описано в этой заявке со ссылкой на ФИГ. 13А-13К, поршень 326 может соединяться с плунжером 600 в результате перемещения плунжера 600 в дистальном направлении, с тем, чтобы обеспечивать возможность вставления одного или нескольких удерживающих элементов 368 поршня 326 в приемном пространстве 615 между втулкой 614 зацепления поршня и узлом 618 зацепления поршня. В некоторых вариантах осуществления, плунжер 600 может продвигаться в дистальном направлении с использованием приводного механизма 402, управляемого контроллером 200 (ФИГ. 2). В других вариантах осуществления, плунжер 600 может перемещаться в дистальном направлении вручную.

[00269] Плунжер 600 продвигается по оси в дистальном направлении таким образом, что по меньшей мере один удерживающий элемент 368 поршня 326 гибко размещается внутри центрального отверстия 616 втулки 614 зацепления поршня, таким образом, что по меньшей мере один удерживающий элемент 368 отклоняется радиально внутрь в результате контакта между фиксатором 374 и наклоном 630. В вариантах осуществления, имеющих несколько удерживающих элементов 368, каждый из удерживающих элементов 368 отклоняется в радиальном направлении внутрь. В некоторых вариантах осуществления, на сторонах конической торцевой поверхности 678 могут находиться направляющие поверхности, для того чтобы помогать поворачивать узел 618 зацепления поршня в правильную ориентации для самовыравнивания с удерживающими элементами 368 на поршне 326.

[00270] Во время продолжающегося осевого перемещения плунжера 600 в дистальном направлении, фиксатор 374 отклоняется радиально внутрь за фиксирующее ребро 634 втулки 614 зацепления, располагаемой в плунжере. После расположения фиксатора 374 проксимально относительно фиксирующего ребра 634, перемещение в дистальном направлении плунжера 400 относительно поршня 326 останавливается, например, когда приводное плечо 327 поршня 326 зацепляет соответствующий приводной выступ 637 на плунжере 600, и по меньшей мере один удерживающий элемент 368 может упруго отклоняться в радиальном направлении наружу, таким образом, что фиксатор 374 располагается проксимально фиксирующего ребра 634. В этой конфигурация, узел 618 зацепления поршня все еще находится в положении или состоянии расцепления, например, вследствие приведения в действие исполнительного механизма, описанного в этой заявке со ссылкой на ФИГ. 9-14В. Когда поршень 326 соединен с плунжером 600, один или несколько расцепляющих выступов 380 на поршне 326 совмещаются с зубчатой частью 644 на внешней поверхности 642 втулки 614 зацепления поршня.

[00271] При перемещении в дистальном направлении узла 618 зацепления поршня из состояния или положения расцепления в состояние или положение зацепления, приемное пространство 615 между втулкой 614 зацепления поршня и узлом 618 зацепления поршня закрывается, для предотвращения удаления одного или нескольких удерживающих элементов 368 поршня 326 из приемного пространства 615. Как только узел 618 зацепления поршня перемещается в положение или состояния зацепления, фиксатор 374 по меньшей мере одного удерживающего элемента 368 поршня 326 захватывается между втулкой 614 зацепления поршня и внешней поверхностью 667 узла 418 зацепления поршня проксимально к фиксирующему ребру 634. Плунжер 600 и соединенный с ним поршень 326 затем могут осуществлять возвратно-поступательные движения в цилиндре 318 шприца 300). В некоторых вариантах осуществления, плунжер 600 может продвигаться в дистальном направлении для выпуска жидкости из шприца 300 или в проксимальном направлении для наполнения шприца 300 жидкостью с использованием приводного механизма 402, управляемого контроллером 200 (ФИГ. 2).

[00272] Для разъединения шприца 300 от порта шприца инъектора и расцепления поршня 326 от плунжера 600, шприц 300 можно вращать по часовой стрелке или против часовой стрелки вокруг продольной оси шприца, относительно порта шприца. Вследствие совмещение одного или нескольких расцепляющих выступов 380 на поршне 326 с зубчатой частью 644 на втулке 614 зацепления поршня, вращение поршня 326 также вращает втулку зацепления поршня. Поскольку узел 618 зацепления поршня соединяется с втулкой 614 зацепления поршня с помощью вращающегося механизма 671, узел 618 зацепления поршня не поворачивается при повороте втулки 614 зацепления поршня. Таким образом, удерживающие элементы 368 поршня 326 проскальзывают в канавки 665 на узле 618 зацепления поршня.

[00273] С удерживающими элементами 368 поршня 326, расположенными в канавках 665 на узле 618 зацепления поршня, приемное пространство 615 между втулкой 614 зацепления поршня и узлом 618 зацепления поршня открывается, для обеспечения возможности удаления одного или нескольких удерживающих элементов 368 поршня 326 из приемного пространства 615 посредством податливого перемещения в дистальном направлении фиксатора 374 по меньшей мере одного удерживающего элемента 368 над фиксирующим ребром 634. Шприц 300 можно вытягивать в дистальном направлении или поршень 600 может втягиваться в проксимальном направлении, для удаления поршня 326 от плунжера 600. Во время такого относительного перемещения плунжера 326 по отношению к поршню 600 в направлении друг от друга, фиксатор 374 отклоняется за фиксирующее ребро 634 втулки 614 зацепления, располагаемой в плунжере, с тем, чтобы можно было удалить один или несколько удерживающих элементов 368 из плунжера 600.

[00274] Со ссылкой на ФИГ. 19-21Б, плунжер 700 и механизм зацепления поршня 712 показаны в соответствии с другим вариантом осуществления настоящего изобретения. Компоненты плунжера 700 и механизма 712 зацепления поршня, показанные на ФИГ. 19-21Б, являются по сути подобными или идентичными компонентам плунжера 400 и механизма 412 зацепления поршня, описанным в этой заявке со ссылкой на ФИГ. 9-13К. Соответственно, ссылочные обозначения на ФИГ. 19-21Б используются для иллюстрации идентичных компонентов соответствующих ссылочных обозначений на ФИГ. 9-13К, за исключением того, что главное обозначение на ссылочных обозначениях, применяемых на ФИГ. 19-21Б, было изменено из "4" на "7". Все, что обсуждалось выше в отношении плунжера 400 и механизма 412 зацепления поршня, показанных в целом на ФИГ. 9-13К, применимо к плунжеру 700 и механизму 712 зацепления поршня, показанным на ФИГ. 19-21Б, при этом обсуждаются далее только соответствующие различия между компонентами, показанными на указанных фигурах.

[00275] Все еще ссылаясь на ФИГ. 19, плунжер 700 и механизм 712 зацепления поршня показаны в комбинации с портом 16 шприца инъектора, такого как инъектор 10, показанный на ФИГ. 1. Плунжер 700 выполнен с возможностью возвратно-поступательного движения внутри порта 16 шприца в направлении продольной оси 720 плунжера, например, с помощью приводного механизма 402, показанного на ФИГ. 2.

[00276] Со ссылкой на ФИГ. 20, показан плунжер 700 и механизм 712 зацепления поршня в разобранном виде. Плунжер 700 имеет корпус 704 и головку 706 плунжера на дистальном конце корпуса 704. Головка 706 плунжера выполнена с возможностью разъемного соединения с поршнем шприца, таким как поршень 326, показанный на ФИГ. 7-8Б. Механизм 712 зацепления поршня встроен в головку 706 плунжера. В некоторых вариантах осуществления, по меньшей мере часть головки 706 плунжера и/или механизма 712 зацепления поршня может быть изготовлена из прозрачного или полупрозрачного материала, с тем, чтобы обеспечивать возможность прохождения света, испускаемого одним или несколькими источниками света в плунжер 700 для освещения по меньшей мере части поршня 326 и/или шприца 300.

[00277] Все еще ссылаясь на ФИГ. 20, плунжер 700 имеет чувствительный элемент 705, такой как стержень 707 и датчик 709. Стержень 707 имеет проксимальный конец 713, выполненный с возможностью контакта с датчиком 709, когда дистальный конец 715 стержня 707 толкается в проксимальном направлении, например, в результате контакта между поршнем 326 и дистальным концом 715 стержня 707. Стержень 707 может простираться вдоль продольной оси 720 плунжера 700, и может выступать из по меньшей мере части головки 706 плунжера. Стержень 707 может быть выполнен с возможностью осуществления обнаружения контакта с поверхностью, такой как поверхность поршня 326, и отправления одного или нескольких сигналов контроллеру 200 (ФИГ. 2) для управления перемещением плунжера 700 на основе выявленного состояния. Например, начальный контакт между дистальным концом 715 стержня 707 и поршнем 326 может привести к перемещению стержня 707 в проксимальном направлении таким образом, что он входит в контакт с датчиком 709. Датчик 709 может быть функционально соединен с контроллером 200, таким образом, что при активации датчика 709 посредством стержня 707, датчик 709 управляет движением приводного механизма плунжера 700. Например, приводной механизм может останавливаться или замедляться от первой скорости до второй, уменьшать скорость и расстояние до дистального конца 715 стержня 707 и поршня 326. Стержень 707 может смещаться к своему дистальному положению с помощью пружины 711.

[00278] Все еще ссылаясь на ФИГ. 20, механизм 712 зацепления поршня имеет втулку 714 зацепления поршня, имеющую центральное отверстие 716 и узел 718 зацепления поршня. Узел 718 зацепления поршня выполнен с возможностью перемещения вдоль направления продольной оси 720 плунжера относительно втулки 714 зацепления поршня вследствие приведения в действие исполнительного механизма 722 (показано на ФИГ. 21А-21Б). В некоторых вариантах осуществления, узел 718 зацепления поршня может быть выполнен с возможностью осевого перемещения между положением зацепления, в котором поршень 326 находится в фиксированном зацеплении с плунжером 700 вследствие захвата по меньшей мере одного удерживающего элемента 368 поршня 326 между втулкой 714 зацепления поршня и узлом 718 зацепления поршня, и положением расцепления, в котором поршень 326 может удаляться из плунжера 700.

[00279] Все еще ссылаясь на ФИГ. 20, узел 718 зацепления поршня имеет часть 721 узла, которая простирается в дистальном направлении от проксимальной части 723. Узел 718 зацепления поршня дополнительно имеет радиальную канавку 737, выполненную с возможностью размещения направляющего стержня (не показано). Часть 721 узла 718 зацепления поршня имеет фиксирующий выступ 729, который выполнен с возможностью взаимодействия с фиксатором 374 по меньшей мере одного удерживающего элемента 368 поршня 326. Часть 721 узла может иметь форму, пригодную для отклонения по меньшей мере одного удерживающего элемента 368 в радиальном направлении наружу в результате контакта фиксатора 374 с внешней поверхностью части 721 узла и/или с фиксирующим выступом 729. Таким образом, перемещение в дистальном направлении плунжера 700 относительно поршня 326 заставляет по меньшей мере один удерживающий элемент 368 отклоняться радиально наружу в результате контакта между фиксатором 374 и частью 721 узла. В вариантах осуществления, имеющих несколько удерживающих элементов 368, каждый из удерживающих элементов 368 отклоняется в радиальном направлении наружу.

[00280] Все еще ссылаясь на ФИГ. 20, втулка 714 зацепления поршня имеет полый корпус 724, причем по меньшей мере часть внешней поверхности полого корпуса 724 определяет по меньшей мере часть головки 706 плунжера. Дистальная часть или конец 726 втулки 714 зацепления поршня имеет форму, пригодную для ее размещения внутри внутренней полости 340 поршня 326 (показано на ФИГ. 21А), в то время как по меньшей мере часть поршня 326, такая как по меньшей мере один удерживающий элемент 368, выполнен с возможностью его размещения внутри центрального отверстия 716. Центральное отверстие 716 проходит через полый корпус 724 втулки 714 зацепления поршня.

[00281] Часть внутренней поверхности 728 центрального отверстия 716 на дистальном конце отверстия 716 может иметь ступенчатый внутренний диаметр, где диаметр уменьшается в направлении от дистального конца 726 втулки зацепления поршня до проксимального конца втулки 714 зацепления поршня. Например, отверстие 716 может иметь первую ступень 717, имеющую первый внутренний диаметр, и вторую ступень 719, расположенную проксимально первой ступени 717, имеющую второй диаметр, который меньше, чем первый диаметр первой ступени 717. Наклон 730 может обеспечиваться между первой и второй ступенями 717, 719, предназначенный для отклонения по меньшей мере одного удерживающего элемента 368, связанного с поршнем 326, в радиальном направлении внутрь во время соединения поршня 326 с дистальной частью или концом 726 втулки 714 зацепления поршня.

[00282] Описав конструкцию поршня 326 (смотри описание в этой заявке со ссылкой на ФИГ. 6-8В) и плунжер 700 в соответствии с одним неограничивающим вариантом осуществления настоящего изобретения, способ зацепления поршня 326 с плунжером 700 и способ расцепления поршня 326 от плунжера 700 далее будет описан со ссылкой на ФИГ. 21А-21Б. При этом часть шприца 300 показана на ФИГ. 21А-21Б.

[00283] ФИГ. 21А показывает плунжер 700 с его механизмом 712 зацепления поршня в положении или состоянии расцепления и перед фиксирующим зацеплением с поршнем 326. В некоторых вариантах осуществления, плунжер 700 может продвигаться в дистальном направлении с использованием приводного механизма 402, управляемого контроллером 200 (ФИГ. 2). В других вариантах осуществления, плунжер может перемещаться в дистальном направлении вручную.

[00284] Поскольку плунжер 700 может продвигаться в дистальном направлении, фиксатор 374 по меньшей мере на одном удерживающем элементе 368 поршня 326 отклоняется в радиальном направлении наружу в результате контакта с фиксирующим выступом 729 на части 721 узла. Узел 718 зацепления поршня находится в своем положении расцепления и перемещается по оси в дистальном направлении относительно втулки 714 зацепления поршня таким образом, что удерживающий элемент 368 может отклоняться радиально наружу в пространство, определенное первой ступенью 717. После расположения фиксатора 374 проксимально относительно фиксирующего выступа 729, по меньшей мере один удерживающий элемент 368 может упруго отклоняться в радиальном направлении внутрь, например благодаря упругой гибкости удерживающего элемента 368, в комбинации с наклоном 730 между первой и второй ступенями 717, 719. При том, что по меньшей мере один удерживающий элемент 368 находится в положении, показанном на ФИГ. 21А, поршень 326 не находится в фиксированном зацеплении с плунжером 700, поскольку по меньшей мере один удерживающий элемент 368 может гибко отклоняться в радиальном направлении наружу при перемещении в проксимальном направлении плунжера 700 или при перемещении в дистальном направлении поршня 326 (например, в результате удаления шприца из инъектора), как описано в этой заявке.

[00285] Со ссылкой на ФИГ. 21Б, узел 718 зацепления поршня перемещается из положения или состояния расцепления в положение или состояния зацепления, в результате перемещения плунжера в проксимальном направлении вдоль продольной оси 720. Такое перемещение узла 718 зацепления поршня может происходить вследствие прекращения подачи электрического питания на исполнительный механизм и обеспечения возможности упруго-эластичному элементу, такому как упруго-эластичный элемент 484, описанный в этой заявке со ссылкой на ФИГ. 9-13К, толкать узел 718 зацепления поршня по оси в проксимальном направлении или, в качестве альтернативы, в результате подачи электрического питания на исполнительный механизм для перемещения узла 718 зацепления поршня в проксимальном направлении. Перемещение узла 718 зацепления поршня в проксимальном направлении фиксирует по меньшей мере один удерживающий элемент 368 и фиксатор 374 в пространстве, определяемом второй ступенью 719 втулки 714 зацепления поршня. Благодаря меньшему второму диаметру второй ступени 719, в комбинации с увеличенным диаметром фиксирующего выступа 729, один или несколько удерживающих элементов 368 поршня 326 захватываются внутри приемного пространства 715 между втулкой 714 зацепления поршня и узлом 718 зацепления поршня, таким образом, что возвратно-поступательное осевое движение плунжера 700 приводит к соответствующему возвратно-поступательному осевому движению поршня 326 внутри цилиндра 318 шприца. Для отсоединения поршня 326 от механизма 712 зацепления поршня, узел 718 зацепления поршня перемещают в положение расцепления с помощью осевого перемещения узла 718 зацепления поршня в дистальном направлении, перемещая фиксирующий выступ 729 в дистальном направлении, что позволяет фиксатору 374 одного или нескольких удерживающих элементов 368 переместиться вокруг фиксирующего выступа 729 на первой ступени 717, и позволяет удалить один или несколько удерживающих элементов 368 поршня 326 из приемного пространства 715 между втулкой 714 зацепления поршня и узлом 718 зацепления поршня.

[00286] Со ссылкой на ФИГ. 22А-22Д, плунжер 800 и механизм 812 зацепления поршня показаны в соответствии с другим вариантом осуществления настоящего изобретения. Компоненты плунжера 800 и механизма 812 зацепления поршня, показанные на ФИГ. 22А-22Д, по сути являются подобными или идентичными компонентам плунжера 400 и механизма 412 зацепления поршня, описанным в этой заявке со ссылкой на ФИГ. 9-13К. Соответственно, ссылочные обозначения на ФИГ. 22А-22Д используют для иллюстрации идентичных компонентов соответствующих ссылочных обозначений на ФИГ. 9-13К, за исключением того, что главное обозначение на ссылочных обозначениях, применяемых на ФИГ. 22А-22Д, было изменено из "4" на "8". Все, что обсуждалось выше в отношении плунжера 400 и механизма 412 зацепления поршня, показанных в целом на ФИГ. 9-13К, применимо к плунжеру 800 и механизму 812 зацепления поршня, показанным на ФИГ. 22А-22Д, только соответствующие различия между компонентами, показанными на указанных фигурах, обсуждаются далее.

[00287] Со ссылкой на ФИГ. 22А, плунжер 800 имеет корпус 804 и головку 806 плунжера на дистальном конце корпуса 804. Головка 806 плунжера выполнена с возможностью разъемного соединения с поршнем шприца, таким как поршень 326, показанный на ФИГ. 8В. Механизм 812 зацепления поршня встроен в головку 806 плунжера. В некоторых вариантах осуществления, по меньшей мере часть головки 806 плунжера и/или поршня 326 могут быть изготовлены из прозрачного или полупрозрачного материала, с тем, чтобы обеспечивать возможность прохождения света, испускаемого одним или несколькими источниками света 803, в плунжер 800, для освещения по меньшей мере части поршня 326 и/или шприца 300.

[00288] Плунжер 800 имеет чувствительный элемент 805, такой как чувствительная втулка 807 и датчик 809. Чувствительная втулка 807 имеет проксимальный конец 813, выполненный с возможностью взаимодействия с датчик 809, когда дистальный конец 815 чувствительной втулки 807 толкается в проксимальном направлении, например, в результате контакта между одним или несколькими удерживающими элементами 368 поршня 326 и дистальным концом 815 чувствительной втулки 807. Чувствительная втулка 807 может простираться вдоль продольной оси 820 плунжера 800 и может быть утоплена в головке 806 плунжера. Чувствительная втулка 807 может быть выполнена с возможностью осуществления обнаружения контакта с поверхностью, такой как поверхность поршня 326, и при этом контроллер 200 может получать сигнал для управления перемещением плунжера 800 на основе выявленного состояния. В некоторых вариантах осуществления, дистальный конец 815 чувствительной втулки 807 может быть выполнен с возможностью контакта с одним или несколькими удерживающими элементами 368 поршня 326, когда поршень 326 соединяется с плунжером 800. Начальный контакт между дистальным концом 815 чувствительной втулки 807 и одним или несколькими удерживающими элементами 368 поршня 326 может заставлять чувствительную втулку 807 втягиваться назад в проксимальном направлении, так, что чувствительная втулка 807 активизирует датчик 809. Датчик 809 может быть функционально соединен с контроллером 200 и приводным механизмом плунжера 800, так, что при активации датчика 809 чувствительной втулкой 807, датчик 809 отправляет сигнал контроллеру 200 для управления перемещением приводного механизма. Например, приводной механизм может останавливаться или замедляться от первой скорости до второй, меньшей скорости. Чувствительная втулка 807 может смещаться к своему дистальному положению смещающим элементом, таким как пружина 817.

[00289] Механизм 812 зацепления поршня имеет втулку 814 зацепления поршня, имеющую центральное отверстие 816 и узел 818 зацепления поршня. Узел 818 зацепления поршня выполнен с возможностью перемещения вдоль направления продольной оси 820 плунжера относительно втулки 814 зацепления поршня вследствие приведения в действие исполнительного механизма, такого как исполнительный механизм 422, описанный в этой заявке со ссылкой на ФИГ. 9-13К. В некоторых вариантах осуществления, узел 818 зацепления поршня может быть выполнен с возможностью осевого перемещения между положением зацепления, в котором поршень 326 находится в фиксированном зацеплении с плунжером 800 вследствие захвата фиксатора 374 по меньшей мере одного удерживающего элемента 368 поршня 326 под фиксирующее ребро 834 на втулке 814 зацепления поршня и узлом 818 зацепления поршня, и положением расцепленная, в котором поршень 326 может удаляться из плунжера 800.

[00290] Втулка 814 зацепления поршня имеет полый корпус 824, причем по меньшей мере часть внешней поверхности полого корпуса 824 определяет по меньшей мере часть головки 806 плунжера. Дистальная часть или конец 826 втулки 814 зацепления поршня имеет форму, пригодную для его размещения внутри внутренней полости 340 поршня 326, в то время как по меньшей мере часть поршня 326, такая как по меньшей мере один удерживающий элемент 368, выполнен с возможностью его размещения внутри центрального отверстия 816. Центральное отверстие 816 проходит через полый корпус 824 втулки 814 зацепления поршня.

[00291] Внутренняя поверхность центрального отверстия 816 имеет фиксирующее ребро 834, которое выступает радиально внутрь от внутренней поверхности 828. Фиксирующее ребро 834 выполнено с возможностью отклонения по меньшей мере одного удерживающего элемента 368, связанного с поршнем 326, в радиальном направлении внутрь во время соединения поршня 326 с дистальной частью или концом втулки 814 зацепления поршня. В некоторых вариантах осуществления, фиксирующее ребро 834 простирается непрерывно или прерывисто вокруг внутренней поверхности 828 полого корпуса 824 втулки 814 зацепления поршня, и определяет поверхность, которая зацепляет по меньшей мере один фиксатор 374 по меньшей мере на одном удерживающем элементе 368 на поршне 326, для предотвращения удаления поршня 326 из плунжера 800, когда поршень 326 находится в фиксированном зацеплении с механизмом 812 зацепления поршня, как описано в этой заявке.

[00292] Описав конструкцию поршня 326 и плунжера 800 в соответствии с одним неограничивающим вариантом осуществления настоящего изобретения, способ зацепления поршня 326 с плунжером 800 и способ расцепления поршня 326 от плунжера 800 далее будет описан со ссылкой на ФИГ. 22А-22Д.

[00293] ФИГ. 22А показывает плунжер 800 с его механизмом 812 зацепления поршня в положении или состоянии расцепления и перед фиксирующим зацеплением с поршнем 326. В некоторых вариантах осуществления, плунжер 800 может продвигаться в дистальном направлении с использованием приводного механизма 402, управляемого контроллером 200 (ФИГ. 2). В других вариантах осуществления, плунжер может перемещаться в дистальном направлении вручную.

[00294] Двигаясь от ФИГ. 22А до ФИГ. 22Б, когда плунжер 800 продвигается к поршню 326, по меньшей мере один удерживающий элемент 368 на поршне 326 входит в контакт с чувствительной втулкой 807, таким образом, что чувствительная втулка 807 перемещается в проксимальном направлении к датчику 809. Фиксатор 374 по меньшей мере на одном удерживающем элементе 368 поршня 326 отклоняется в радиальном направлении внутрь в результате контакта с фиксирующим ребром 834 на втулке 814 зацепления поршня. Узел 818 зацепления поршня находится в своем положении расцепления, например, втянут в проксимальном направлении. При том, что по меньшей мере один удерживающий элемент 368 находится в положении, показанном на ФИГ. 22Б, поршень 326 не находится в фиксированном зацеплении с плунжером 800, поскольку по меньшей мере один удерживающий элемент 368 может гибко отклоняться в радиальном направлении внутрь при перемещении в проксимальном направлении плунжера 800 или при перемещении в дистальном направлении поршня 326 (например, в результате удаления шприца из инъектора).

[00295] Со ссылкой на ФИГ. 22В, когда чувствительная втулка 807 перемещается в проксимальном направлении в результате контакта по меньшей мере с одним удерживающим элементом 368 поршня 326, датчик 809 выявляет присутствие чувствительной втулки 807, и приводит в действие исполнительный механизм 822, для перемещения узла 818 зацепления поршня по оси в дистальном направлении из положения или состояния расцепления в положение или состояния зацепления. Такое перемещение узла 818 зацепления поршня может происходить вследствие прекращения подачи электрического питания на исполнительный механизм 822. В других вариантах осуществления, перемещение узла 818 зацепления поршня может происходить вследствие подачи электрического питания на исполнительный механизм 822, такой как соленоид, или в результате действия двигателя для перемещения исполнительного механизма.

[00296] При перемещении узла 818 зацепления поршня из состояния или положения расцепления в состояние или положение зацепления, приемное пространство 815 между втулкой 814 зацепления поршня, проксимальной к фиксирующему ребру 834, и узлом 818 зацепления поршня закрывается, для предотвращения удаления фиксатора 374 одного или нескольких удерживающих элементов 368 поршня 326 из приемного пространства 815. Как только узел 818 зацепления поршня перемещается в положение или состояния зацепления, фиксатор 374 по меньшей мере одного удерживающего элемента 368 поршня 326 захватывается между фиксирующим ребром 834 на втулке 814 зацепления поршня и узлом 818 зацепления поршня. Плунжер 800 и соединенный с ним поршень 326 затем могут осуществлять возвратно-поступательные движения в цилиндре 318 шприца. В некоторых вариантах осуществления, плунжер 800 может продвигаться в дистальном направлении для выпуска жидкости из шприца 300 или в проксимальном направлении для наполнения шприца 300 жидкостью с использованием приводного механизма 402, управляемого контроллером 200 (ФИГ. 2).

[00297] Со ссылкой на ФИГ. 22Г, для отсоединения поршня 326 от механизма 812 зацепления поршня, узел 818 зацепления поршня перемещается в положение расцепления с помощью осевого перемещения в дистальном направлении, например с помощью исполнительного механизма (который описан в этой заявке) или накопленной восстанавливающей силы смещающего элемента, что обеспечивает возможность удаления одного или нескольких удерживающих элементов 368 поршня 326 из приемного пространства 815 между втулкой 814 зацепления поршня и узлом 718 зацепления поршня. Удаление поршня 326 из плунжера 800 позволяет чувствительной втулке 807 перемещаться в дистальном направлении благодаря восстанавливающей силе, обеспеченной пружиной 817 (ФИГ. 22Д)

[00298] Со ссылкой на ФИГ. 23А-23Ж, показаны плунжер 900 и механизм 912 зацепления поршня в соответствии с другим вариантом осуществления настоящего изобретения. Некоторые компоненты плунжера 900 и механизма 912 зацепления поршня, показанные на ФИГ. 23А-23Ж, являются по сути подобными или идентичными компонентам плунжера 400 и механизма 412 зацепления поршня, описанным в этой заявке со ссылкой на ФИГ. 9-13К. Поскольку некоторые элементы, которые обсуждались ранее в отношении плунжера 400 и механизма 412 зацепления поршня, показанных в целом на ФИГ. 9-13К, применимы к плунжеру 900 и механизму 912 зацепления поршня, показанным на ФИГ. 23А-23Ж, то далее обсуждаются только соответствующие различия между компонентами, показанными на указанных фигурах.

[00299] Со ссылкой на ФИГ. 23А, поршень 326 имеет по меньшей мере один удерживающий элемент 368 с фиксатором 374, который выступает радиально наружу относительно продольной оси 334 поршня. Фиксатор 374 имеет форму, пригодную для его размещения внутри по меньшей мере части механизма 912 зацепления плунжера. В некоторых вариантах осуществления, фиксатор 374 имеет закругленную или наклонную поверхность 375 фиксатора, которая расположена под острым или тупым углом относительно продольной оси 334 поршня. Наклонная поверхность 375 фиксатора выполнена с возможностью взаимодействия по меньшей мере с частью механизма 912 зацепления поршня во время зацепления поршня 326 с плунжером 900, как описано в этой заявке. По меньшей мере один удерживающий элемент 368 также может иметь по меньшей мере одну закругленную или одну наклонную поверхность 369 расцепления. Наклонная поверхность 369 расцепления может обеспечиваться по меньшей мере на части фиксатора 374, например, напротив наклонной поверхность 375 фиксатора. Закругленная или наклонная поверхность 369 расцепления расположена под острым или тупым углом относительно продольной оси 334 поршня в направлении, противоположном дуге или углу закругленной или наклонной поверхности 375 фиксатора. Закругленная или наклонная поверхность 369 расцепления выполнена с возможностью взаимодействия по меньшей мере с частью механизма 912 зацепления поршня во время расцепления поршня 326 от плунжера 900, как описано в этой заявке. В разных вариантах осуществления, фрикционное и фиксирующее взаимодействие между закругленной или наклонной поверхностью 369b расцепления, без дополнительной поддержки, является недостаточным для фиксирующего зацепления поршня 326 с механизмом 912 зацепления поршня плунжера 900.

[00300] Плунжер 900 выполнен с возможностью выдвижения из и втягивания в корпус инъектора 10, 100 для введения жидкости (ФИГ. 1 и 3). Плунжер 900 включает в себя ножку 901 и головку 920 плунжера, сформированную на дистальном конце ножки 901. В определенных вариантах осуществления, головка 920 плунжера может простираться радиально наружу за радиальную кромку ножки плунжера 900. Головка 920 плунжера может быть по сути цилиндрической в конструкции с полостью 940 плунжера, выполненной с возможностью размещения в ней по меньшей мере части поршня 326, такой как по меньшей мере один удерживающий элемент 368, когда поршень 326 соединяется с плунжером 900. Полость 940 плунжера может иметь по меньшей мере один фиксирующий выступ 950, выступающий радиально внутрь от внутренней поверхности полости 940 плунжера. По меньшей мере один фиксирующий выступ 950 выполнен с возможностью зацепления по меньшей мере части удерживающего элемента 368, такой как фиксатор 374. По меньшей мере один фиксирующий выступ 950 может быть непрерывным или прерывистым в направлении по окружности вокруг полости 940 плунжера.

[00301] В некоторых примерах, по меньшей мере один фиксирующий выступ 950 имеет закругленную или наклонную дистальную поверхность 960 и закругленную или наклонную проксимальную поверхность 970. Закругленная или наклонная дистальная поверхность 960 изгибается или наклоняется в том же направлении, что и закругленная или наклонная поверхность 375 фиксатора поршня 326. Таким образом, дистальная поверхность 960 зацепляет поверхность 375 фиксатора во время процесса соединения плунжера 900 и поршня 326, гибко и упруго отклоняя один или несколько удерживающих элементов 368 в радиальном направлении внутрь к продольной оси 334 поршня, что позволяет поршню 326 вставляться в полость 940 плунжера. Закругленная или наклонная проксимальная поверхность 970 изгибается или наклоняется в направлении, противоположном закругленной или наклонной дистальной поверхности 960. Закругленная или наклонная проксимальная поверхность 970 изгибается или наклоняется в том же направлении, что и закругленная или наклонная поверхность 369 расцепления поршня 326. Таким образом, проксимальная поверхность 970 зацепляет поверхность 369 расцепления, когда плунжер 900 и/или поршень 326 перемещается по оси, для отсоединения поршня 326 от плунжера 900. Зацепление между поверхностью 369 расцепления на поршне 326 и проксимальной поверхностью 970 на плунжере 900 отклоняет один или несколько удерживающих элементов 368 в радиальном направлении внутрь к продольной оси 334, что обеспечивает возможность поршню 326 отводиться из полости 940 плунжера.

[00302] Со ссылкой на ФИГ. 23А-23Ж, плунжер 900 имеет фиксирующий элемент 980, выполненный с возможностью фиксирования поршня 326 относительно плунжера 900. Фиксирующий элемент 980 может быть выполнен с возможностью осевого перемещения между первым положением (ФИГ. 23Г) и вторым положением (ФИГ. 23Д). В некоторых примерах, фиксирующий элемент 980 выполнен с возможностью перемещения таким образом, что он проходит, по меньшей мере частично, внутри полости 940 плунжера. В случае, когда он проходит во второе положение, фиксирующий элемент 980 вставляется в полость 340 поршня 326 для предотвращения отклонения по меньшей мере одного удерживающего элемента 368 в радиальном направлении внутрь. Например, во втором, положении зацепления, фиксирующий элемент 980 фиксирует фиксатор 374 по меньшей мере на одном фиксирующем выступе 950 посредством удерживания поверхности 369 расцепления на поршне 326 напротив проксимальной поверхность 970 на плунжере 900, таким образом, что фиксатор 374 не может перемещаться по меньшей мере за один фиксирующий выступ 950. В некоторых вариантах осуществления, для обнаружения контакта с поверхностью, такой как поверхность поршня 326, а также для управления перемещением плунжера 900 на основе выявленного состояния, может обеспечиваться чувствительный элемент (не показан), такой как приводимый в действие пружиной стержень, соединенный с датчиком.

[00303] Описав конструкцию поршня 326 и плунжера 900 в соответствии с одним неограничивающим вариантом осуществления, зацепление поршня 326 с плунжером 900 и расцепление поршня 326 от плунжера 900 далее будет описано со ссылкой на ФИГ. 23А-23Ж. Шприц 12, показанный на ФИГ. 23А, не показан на остальных ФИГ. 23Б-23Ж для ясности.

[00304] Для зацепления поршня 326 с плунжером 900, вначале шприц 12 вставляется в порт 16 шприца инъектора 10 для введения жидкости (ФИГ. 1) или герметичный кожух 15 (ФИГ. 3). Как только шприц 12 вставляется в порт 16 шприца, различные фиксирующие механизмы (не показаны) могут применяться для удерживания шприца 12 внутри порта 16 шприца или внутри герметичного кожуха, для предотвращения отсоединения шприца 12 от порта 16 шприца. Сначала, поршень 326 может располагаться на проксимальном конце 20 цилиндра 18 шприца. Затем плунжер 900 может продвигаться в дистальном направлении к поршню 326 для зацепления головки 920 плунжера с поршнем 326.

[00305] Со ссылкой на ФИГ. 23А-23Б, плунжер 900 продвигается по оси в дистальном направлении (стрелочка на ФИГ. 23А-23Б) таким образом, что наклонная дистальная поверхность 960 головки 920 плунжера входит в контакт по меньшей мере с одним удерживающим элементом 368 поршня 326. Сначала, наклонная дистальная поверхность 960 входит в контакт с фиксатором 374, например, поверхностью 375 фиксатора, по меньшей мере одного удерживающего элемента 368. Поскольку фиксатор 374 выступает радиально наружу относительно меньшей мере одного удерживающего элемента 368, фиксатор 374 располагается на большем радиальном расстоянии от продольной оси 334 поршня, чем внутренняя поверхность полости 940 плунжера, рядом с наклонной дистальной поверхностью 960. Таким образом, продолжающееся перемещение в дистальном направлении плунжера 900 заставляет по меньшей мере один удерживающий элемент 368 гибко и упруго отклоняться радиально внутрь в результате контакта между поверхностью 375 фиксатора на поршне 326 и дистальной поверхностью 960 на плунжере 900 (ФИГ. 23Б). В примерах с несколькими удерживающими элементами 368, каждый из удерживающих элементов 368 отклоняется радиально внутрь относительно продольной оси 334 поршня.

[00306] Со ссылкой на ФИГ. 23В, во время продолжающегося осевого перемещения плунжера 900 в дистальном направлении, фиксатор 374 продвигается по оси по меньшей мере за один выступ 950 головки 920 плунжера. Вследствие восстанавливающей силы, полученной во время радиального отклонения гибкого, по меньшей мере одного удерживающего элемента 368, фиксатор 374 защелкивается в радиальном направлении наружу в углубление 990, расположенное проксимально по меньшей мере одного фиксирующего выступа 950 (ФИГ. 23А). Таким образом, поршень 326 разъемно удерживается внутри полости 940 плунжера. Для фиксирования поршня 326 с плунжером 900 и предотвращения удаления поршня 326 из плунжера 900, фиксирующий элемент 980 проходит из первого положения (ФИГ. 23Г) во второе положение (ФИГ. 23Д) в результате перемещения фиксирующего элемента 980 в аксиальном направлении (стрелочка В). В втором положении, фиксирующий элемент 980 располагается таким образом, что удерживающие элементы 368 фиксируются между внутренней поверхностью полости 940 плунжера и внешней поверхностью фиксирующего элемента 980, и не способны гибко отклоняться внутрь для расцепления. Фиксирующий элемент 980 предотвращает удерживающие элементы 368 от перемещения в радиальном направлении внутрь, тем самым предотвращая поршень 326 от отсоединения от плунжера 900. Таким образом, плунжер 900 может перемещаться в проксимальном или дистальном направлении, что приводит к соответствующему перемещение поршня 326. Фиксирующий элемент 980 может перемещаться между положениями расцепления и зацепления с помощью электромеханического исполнительного механизма, такого как исполнительный механизм в виде соленоида, роторного двигателя, линейного двигателя, и подобного. Как показано на ФИГ. 23А-23Б, фиксирующий элемент 980 может осуществлять возвратно-поступательные движения с использованием роторного двигателя для вращения зацепляющихся поверхностей резьбового, винтового привода.

[00307] Для разъединения шприца 12 от порта 16 шприца и расцепления поршня 326 от плунжера 900, фиксирующий элемент 980 перемещается из второго положения в первое положение посредством осевого перемещения в направлении стрелочки С, как показано на ФИГ. 23Е. Когда фиксирующий элемент 980 находится в первом положении, поршень 326 может отсоединяться от плунжера 900 в результате перемещения поршня 326, с помощью шприца 12, в дистальном направлении (стрелочка D на ФИГ. 23Ж) и/или в результате перемещения плунжер 900 в проксимальном направлении. Такое относительное перемещение между плунжером 900 и поршнем 326 приводит к тому, что наклонная поверхность 369 расцепления удерживающих элементов 368 зацепляется с наклонной проксимальной поверхностью 970 плунжера 900. Продолжающееся перемещение поршня 326 от плунжера 900 заставляет удерживающие элементы 368 отклоняться радиально внутрь, для того чтобы освободить выступ 950. После освобождения выступа 950, удерживающие элементы 368 пружинят назад в радиальном направлении наружу, в результате чего поршень 326 полностью расцепляется от плунжера 900.

[00308] Со ссылкой на ФИГ. 24А-24В, показаны плунжер 1000 и механизм 1012 зацепления поршня в соответствии с другим вариантом осуществления настоящего изобретения. Компоненты плунжера 1000 и механизма 1012 зацепления поршня, показанные на ФИГ. 24А-24В, являются по сути подобными или идентичными компонентам плунжера 400 и механизма 412 зацепления поршня, описанным в этой заявке со ссылкой на ФИГ. 9-13К. Соответственно, ссылочные обозначения на ФИГ. 24А-24В используют для иллюстрации идентичных компонентов соответствующих ссылочных обозначений на ФИГ. 9-13К, за исключением того, что главное обозначение в ссылочных обозначениях, применяемых на ФИГ. 24А-24В, было изменено из "4" на "10". Все, что обсуждалось выше в отношении плунжера 400 и механизма 412 зацепления поршня, показанных в целом на ФИГ. 9-13К, применимо к плунжеру 1000 и механизму 1012 зацепления поршня, показанным на ФИГ. 24А-24В, при этом далее обсуждаются только соответствующие различия между компонентами, показанными на указанных фигурах.

[00309] Со ссылкой на ФИГ. 24Б, механизм 1012 зацепления поршня имеет втулку 1014 зацепления поршня, имеющую центральное отверстие 1016 и узел 1018 зацепления поршня, который выполнен с возможностью возвратно-поступательного движения внутри центрального отверстия 1016 втулки 1014 зацепления поршня вдоль направления продольной оси 1020 плунжера. Узел 1018 зацепления поршня приводится в возвратно-поступательное движение с помощью исполнительного механизма, такого как исполнительный механизм 422, показанный на описанной в этой заявке ФИГ. 9, или другие варианты осуществления механизма зацепления поршня, описанного в этой заявке. Механизм 1012 зацепления поршня выполнен с возможностью осуществления работы между положением или состоянием зацепления, и положением или состоянием расцепления. В положении или состоянии зацепления, узел 1018 зацепления поршня может располагаться внутри втулки 1014 зацепления поршня для захвата по меньшей мере одного удерживающего элемента 368, связанного с поршнем 326, в приемном пространстве 615 между втулкой 1014 зацепления поршня и узлом 1018 зацепления поршня (показано на ФИГ. 24В). И наоборот, в положении или состоянии расцепления, узел 1018 зацепления поршня может располагаться относительно втулки 1014 зацепления поршня таким образом, чтобы обеспечивать возможность удаления по меньшей мере одного удерживающего элемента 368, связанного с поршнем 326, из приемного пространства 1015 между втулкой 1014 зацепления поршня и узлом 1018 зацепления поршня.

[00310] Со ссылкой на ФИГ. 24Б, втулка 1014 зацепления поршня имеет полый корпус 1024, причем по меньшей мере часть внешней поверхности полого корпуса 1024 определяет по меньшей мере часть головки 1006 плунжера. Дистальная часть или конец 1026 втулки 1014 зацепления поршня имеет форму, пригодную для ее размещения внутри внутренней полости 340 поршня 326, в то время как по меньшей мере часть поршня 326, например, по меньшей мере один удерживающий элемент 368, выполнен с возможностью размещения внутри центрального отверстия 1016. Центральное отверстие 1016 проходит через полый корпус 1024 втулки 1014 зацепления поршня. Внешняя поверхность 1042 втулки 1014 зацепления поршня может иметь зубчатую часть 1044. Зубчатая часть 1044 может быть выполнена с возможностью взаимодействия с соответствующей зубчатой частью 329 на поршне 326 во время вращения поршня 326 относительно плунжера 1000.

[00311] Втулка 1014 зацепления поршня дополнительно включает в себя по меньшей мере одну фиксирующую канавку 1065, углубленную во внутреннюю поверхность центрального отверстия 1016. В некоторых вариантах осуществления, по меньшей мере одна канавка 1065 может быть выполнена с возможностью размещения фиксатор 374 по меньшей мере одного удерживающего элемента 368 поршня 326, когда поршень 326 соединяется с втулкой 1014 зацепления поршня.

[00312] Узел 1018 зацепления поршня имеет вал 1072, имеющий проксимальный конец 1074 и дистальный конец 1076. Дистальный конец 1076 вала 1072 имеет коническую торцевую поверхность 1078, выполненную с возможностью контакта по меньшей мере с одним удерживающим элементом 368 на поршне 326 для гибкого отклонения по меньшей мере одного удерживающего элемента 368 в радиальном направлении внутрь, как только плунжер 1000 входит в контакт с поршнем 326. При перемещении в положение зацепления, узел 1018 зацепления поршня предотвращает удаление поршня 326 из плунжера 1000 (показано на ФИГ. 24В), например посредством фиксирования фиксатора 374 по меньшей мере одного удерживающего элемента 368 поршня 326 под фиксирующей канавкой 1065 на втулке 1014 зацепления поршня. Проксимальный конец 1074 вала 1072 выполнен с возможностью соединения с исполнительным механизмом, подобным исполнительному механизму 422, описанному в этой заявке со ссылкой на ФИГ. 9-13К, для перемещения узла 1018 зацепления поршня относительно втулки 1014 зацепления поршня между положением или состоянием зацепления и положением или состоянием расцепления.

[00313] Со ссылкой на ФИГ. 24В, проксимальный конец 1074 вала 1072 размещается внутри вращающегося механизма 1071, который установлен с возможностью скольжения внутри полого корпуса 1024 втулки 1014 зацепления поршня. В некоторых вариантах осуществления, вращающийся механизм 1071 может быть выполнен с возможностью одностороннего вращения, например, по часовой стрелке или против часовой стрелки вокруг продольной оси 1020 плунжера, как описано в соответствии с разными вариантами осуществления в этой заявке. Например, вращающийся механизм 1071 может представлять собой одностороннюю муфту.

[00314] Описав конструкцию поршня 326 и плунжера 1000 в соответствии с одним неограничивающим вариантом осуществления настоящего изобретения, далее будет описан способ зацепления поршня 326 с плунжером 1000 и способ расцепления поршня 326 от плунжера 1000.

[00315] ФИГ. 24В показывает плунжер 1000 с его механизмом 1012 зацепления поршня в положении или состоянии зацепления с поршнем 326. Как описано в этой заявке со ссылкой на ФИГ. 13А-13К, поршень 326 может соединяться с плунжером 1000 в результате перемещения плунжера 1000 в дистальном направлении, с тем, чтобы обеспечивать возможность вставления одного или нескольких удерживающих элементов 368 поршня 326 в приемное пространстве 1015 между втулкой 1014 зацепления поршня и узлом 1018 зацепления поршня, таким образом, что фиксатор 374 размещается внутри фиксирующей канавки 1065. В некоторых вариантах осуществления, плунжер 1000 может продвигаться в дистальном направлении с использованием приводного механизма 402, управляемого контроллером 200 (ФИГ. 2). В других вариантах осуществления, плунжер 1000 может перемещаться в дистальном направлении вручную.

[00316] Плунжер 1000 продвигается по оси в дистальном направлении таким образом, что по меньшей мере один удерживающий элемент 368 поршня 326 размещается внутри центрального отверстия 1016 втулки 1014 зацепления поршня таким образом, что по меньшей мере один удерживающий элемент 368 отклоняется радиально внутрь в результате контакта между фиксатором 374 и внутренней поверхностью втулки 1014 зацепления поршня. В вариантах осуществления, имеющих несколько удерживающих элементов 368, каждый из удерживающих элементов 368 отклоняется в радиальном направлении внутрь.

[00317] Во время продолжающегося осевого перемещения плунжера 1000 в дистальном направлении, фиксатор 374 отклоняется радиально наружу в фиксирующую канавку 1065 втулки 1014 зацепления на плунжере. После расположения фиксатора 374 внутри фиксирующей канавки 1065, перемещение в дистальном направлении плунжера 1000 относительно поршня 326 останавливается, например, в результате зацепления между зубчатой частью 329 на поршне 326 и зубчатой частью 1044 на внешней поверхности 1042 втулки 1014 зацепления поршня. Узел 1018 зацепления поршня находится в положении или состоянии расцепления, а поршень 326 соединен с плунжером 1000, зубчатая часть 329 на поршне 326 совмещена с зубчатой частью 1044 на внешней поверхности 1042 втулки 1014 зацепления поршня.

[00318] При перемещении узла 1018 зацепления поршня из состояния или положения расцепления в состояние или положения зацепления, приемное пространство 1015 между втулкой 1014 зацепления поршня и узлом 1018 зацепления поршня закрывается, что предотвращает удаление одного или нескольких удерживающих элементов 368 поршня 326 из приемного пространства 1015 и фиксирующей канавки 1065. Как только узел 1018 зацепления поршня перемещается в положение или состояния зацепления, по меньшей мере один удерживающий элемент 368 поршня 326 захватывается между втулкой 1014 зацепления поршня и внешней поверхностью узла 418 зацепления поршня. Плунжер 1000 и соединенный с ним поршень 326 затем могут осуществлять возвратно-поступательные движения в цилиндре 318 шприца 300. В некоторых вариантах осуществления, плунжер 1000 может продвигаться в дистальном направлении для выпуска жидкости из шприца 300, или в проксимальном направлении для наполнения шприца 300 жидкостью, с использованием приводного механизма 402, управляемого контроллером 200 (ФИГ. 2).

[00319] Для разъединения шприца 300 от порта шприца инъектора и расцепления поршня 326 от плунжера 1000, шприц 300 поворачивают по часовой стрелке или против часовой стрелки вокруг продольной оси шприца, относительно порта шприца. Вследствие совмещение зубчатой части 329 на поршне 326 с зубчатой частью 1044 на втулке 1014 зацепления поршня, поворот поршня 326 также поворачивает втулку 1014 зацепления поршня. Поскольку узел 1018 зацепления поршня соединен с втулкой 1014 зацепления поршня с помощью вращающегося механизма 1071, узел 1018 зацепления поршня не поворачивается при повороте втулки 1014 зацепления поршня. В некоторых вариантах осуществления, узел 1018 зацепления поршня может быть выполнен с возможностью перемещения между положением зацепления и положением расцепления с помощью исполнительного механизма, такого как исполнительный механизм 424, описанный в этой заявке со ссылкой на ФИГ. 9-13К.

[00320] ФИГ. 25А и 25Б иллюстрируют варианты осуществления системы зацепления плунжера с поршнем в соответствии с другим вариантом осуществления. ФИГ. 25А показывает систему в положении расцепления, где поршень содержит обращенный внутрь упор зацепления или фиксатор 2774, простирающийся проксимально от внутренней поверхности основания поршня. Плунжер включает в себя по меньшей мере один гибкий удерживающий элемент 2750, имеющий по меньшей мере один удерживающий фиксатор 2755, выполненный с возможностью зацепления соответствующего упора зацепления или фиксатора 2774 основания поршня. В положении расцепления, фиксирующий элемент 2798 выполнен с возможностью перемещения в дистальное, первое положении таким образом, чтобы фиксирующий элемент 2798 не зацеплялся по меньшей мере с одним гибким удерживающим элементом 2750 плунжера 2700. Как показано на ФИГ. 25Б, система зацепления плунжера с поршнем находится в положении зацепления, где выполненный с возможностью перемещения фиксирующий элемент 2798 перемещается в проксимальном направлении, например, с помощью двигателя, соленоида, или кулачковой системы. Поскольку фиксирующий элемент 2798 перемещается проксимально, проксимальная поверхность 2799, например наклонная поверхность, проиллюстрированная на ФИГ. 25А и 25Б, входит в контакт с и зацепляет по меньшей мере один гибкий удерживающий элемент 2750, изгибая удерживающий элемент 2750 в радиальном направлении наружу. Поскольку удерживающий элемент 2750 перемещается радиально наружу, по меньшей мере один удерживающий фиксатор 2755 зацепляет по меньшей мере один обращенный внутрь упор зацепления или фиксатор 2774, фиксируя основание поршня к плунжеру. Как правило, по меньшей мере один обращенный внутрь упор зацепления или фиксатор 2774 является по сути негибким, например, вследствие прочности конструкции или внешней поверхности втулки 2714 зацепления поршня, что препятствует упору зацепления или фиксатору 2774 изгибаться радиально наружу и расцепляться по меньшей мере с одним удерживающим фиксатором 2755 по меньшей мере одного гибкого удерживающего элемента 2750. Перемещение фиксирующего элемента 2798 в дистальном направлении высвобождает силу, приложенную по меньшей мере к одному гибкому удерживающему элементу 2750, который обеспечивает возможность удерживающего элемента 2750 возвращаться к неизогнутому положению расцепления, в котором по меньшей мере один удерживающий фиксатор 2755 не входит в контакт или не зацепляет по меньшей мере один обращенный внутрь упор зацепления или фиксатор 2774, и обеспечивает возможность удаления поршня из плунжера.

[00321] В некоторых вариантах осуществления, упруго-эластичный элемент 2784 может быть выполнен с возможностью смещения фиксирующего элемента 2798 в положение расцепления или в положение зацепления. Например, упруго-эластичный элемент 2784 может представлять собой пружину сжатия, которая выполнена с возможностью смещения фиксирующего элемента 2798 в дистальном направлении в положение расцепления. Таким образом, фиксирующий элемент 2798 находится в обычном состоянии расцепления таким образом, что, в случае потери подачи электропитания, поршень может отсоединяться от фиксирующего элемента 2798. В других вариантах осуществления, упруго-эластичный элемент 2784 может представлять собой пружину растяжения, которая выполнена с возможностью смещения фиксирующего элемента 2798 в проксимальном направлении в положение зацепления. В таких вариантах осуществления, фиксирующий элемент 2798 находится в обычном положении зацепления и должен перемещаться в положение расцепления, например, с использованием исполнительного механизма 422, описанного в этой заявке со ссылкой на ФИГ. 9, с тем, чтобы обеспечивать возможность удаления поршня с фиксирующего элемента 2798.

[00322] Со ссылкой на ФИГ. 26, плунжер 1100, имеющий механизм 1112 зацепления поршня, показанный в соответствии с другим вариантом осуществления настоящего изобретения. В некоторых вариантах осуществления, плунжер 1100 может быть выполнен с возможностью применения с инъекторами 10, 100, показанными на ФИГ. 1 и 3. В других вариантах осуществления, плунжер 1100 может быть выполнен с возможностью применения с любым инъектором для введения жидкости, выполненным с возможностью медицинского применения, например, для введения контраста и физиологического раствора в процедуре визуализации с контрастным усилением. Плунжер 1100 выполнен с возможностью возвратно-поступательного движения внутри корпуса инъектора с помощью приводного механизма. Приводной механизм может включать в себя, например, электродвигатель 402 (ФИГ. 2), гидравлическую систему, пневматическую систему, или любую их комбинацию. Контроллер 200 (ФИГ. 2) может быть выполнен с возможностью управления работой приводного механизма и, в свою очередь, управления возвратно-поступательным движением плунжера 1100.

[00323] Плунжер 1100 имеет корпус 1104 и головку 1106 плунжера на дистальном конце корпуса 1104. Головка 1106 плунжера выполнена с возможностью разъемного соединения с поршнем 326 шприца 300. Головка 1106 плунжера имеет по сути цилиндрическую конструкцию с частично коническим дистальным концом, выполненным с возможностью размещения внутри по меньшей мере части внутренней полости 340 поршня 326. В некоторых вариантах осуществления, по меньшей мере часть головки 1106 плунжера и/или поршня 326 может быть изготовлен из прозрачного или полупрозрачного материала, который выполнен с возможностью прохождения света, испускаемого одним или несколькими источниками света в плунжере 1100, для освещения по меньшей мере части поршня 326 и/или шприца 300.

[00324] Головка 1106 плунжера имеет механизм 1112 зацепления поршня, выполненный с возможностью разъемного зацепления поршня 326 для облегчения возвратно-поступательно движения поршня 326 в цилиндре шприца 300 и для легкого удаления шприца 300 и поршня 326 из головки 1106 плунжера и инъектора для введения жидкости в конце процедуры инъекции. Механизм 1112 зацепления поршня имеет втулку 1114 зацепления поршня, имеющую центральное отверстие 1116 и узел 1118 зацепления поршня, который выполнен с возможностью возвратно-поступательного движения внутри центрального отверстия 1116 втулки 1114 зацепления поршня вдоль направления продольной оси 1120 плунжера. Узел 1118 зацепления поршня приводится в возвратно-поступательное движение с помощью исполнительного механизма 1122 инъектора для введения жидкости. Механизм 1112 зацепления поршня выполнен с возможностью осуществления работы между положением или состоянием зацепления, и положением или состоянием расцепления. В положении или состоянии зацепления, узел 1118 зацепления поршня может располагаться внутри втулки 1114 зацепления поршня для захвата по меньшей мере одного удерживающего элемента 368, связанного с поршнем 326 в приемном пространстве 1115 между втулкой 1114 зацепления поршня и узлом 1118 зацепления поршня. И наоборот, в положении или состоянии расцепления, узел 1118 зацепления поршня может располагаться относительно втулки 1114 зацепления поршня, таким образом, чтобы обеспечивать возможность удаления по меньшей мере одного удерживающего элемента 368, связанного с поршнем 1100, из приемного пространства 1115 между втулкой 1114 зацепления поршня и узлом 1118 зацепления поршня.

[00325] Исполнительный механизм 1122 может быть выполнен с возможностью находиться в состоянии зацепления для перемещения одного из такого как втулка 1118 зацепления поршня и узел 1118 зацепления поршня в положение зацепления, и в состоянии расцепления для перемещения одного из такого как втулка зацепления поршня и узел зацепления поршня в положение расцепления. В некоторых вариантах осуществления, исполнительный механизм 1122 может автоматически перемещаться в состояние расцепления, например, при потере подачи электропитания на исполнительный механизм 1122. В некоторых вариантах осуществления, исполнительный механизм 1122 может находиться в состоянии зацепления только во время проксимального перемещения плунжера 1100. В некоторых вариантах осуществления, исполнительный механизм 1122 может представлять собой соленоид, выполненный с возможностью преимущественного нахождения в состоянии расцепления, и при этом может находиться в состоянии зацепления только во время соединения поршня 326 с плунжером 1100. В других вариантах осуществления, исполнительный механизм 1122 может представлять собой роторный электродвигатель, линейный электродвигатель, или линейный исполнительный механизм. В некоторых вариантах осуществления, исполнительный механизм 1122 представляет собой линейный исполнительный механизм, который может приводиться в действие вручную в случае потери подачи электропитания на инъектор. В разных вариантах осуществления, перемещение одно из такого как втулка 1118 зацепления поршня и узел 1118 зацепления поршня в состояние расцепления для удаления поршня 326 из плунжера 1100 может осуществляться в результате вращения поршня 326 относительно плунжера 1100, как описано в этой заявке.

[00326] Со ссылкой на ФИГ. 27А, описана втулка 1114 зацепления поршня в соответствии с одним вариантом осуществления. Втулка 1114 зацепления поршня имеет полый корпус 1124, причем по меньшей мере часть внешней поверхности полого корпуса 1124 определяет по меньшей мере часть головки 1106 плунжера (ФИГ. 26). В некоторых вариантах осуществления, дистальная часть или конец 1126 полого корпуса 1124 может иметь коническую форму, выполненную с возможностью соответствия форме внутренней полости 340 участка конической формы поршня 326. По меньшей мере часть поршня 326, например, по меньшей мере один удерживающий элемент 368, выполнен с возможностью размещения внутри центрального отверстия 1116. Центральное отверстие 1116 проходит через полый корпус 1124 втулки 1114 зацепления поршня. Проксимальный конец или часть 1132 полого корпуса 1124 может быть выполнена с возможностью размещения внутри втулки 1158 расцепления поршня (показано на ФИГ. 28).

[00327] По меньшей мере часть внешней поверхности 1142 полого корпуса 1124 имеет зубчатую часть 1144, которая выполнена с возможностью взаимодействия с одним или несколькими расцепляющими выступами 380 на поршне 326 во время присоединения и удаления поршня 326 из механизма 1112 зацепления поршня, как описано в этой заявке. Зубчатая часть 1144 имеет один или несколько зубьев 1145 расцепления поршня, выступающих от внешней поверхности 1142. Один или несколько зубьев 1145 расцепления поршня могут выступать радиально наружу от внешней поверхности 1142 полого корпуса 1124. Один или несколько зубьев 1145 расцепления поршня отделены друг от друга частями внешней поверхности 1142 полого корпуса 1124 таким образом, что между находящимися рядом зубьями 1145 расцепления поршня формируются канавки. В вариантах осуществления, где обеспечено более двух зубьев 1145 расцепления поршня, зубья 1145 расцепления поршня могут быть расположены на равном расстоянии друг от друга. В некоторых вариантах осуществления, зубья 1145 расцепления поршня могут иметь неодинаковую угловую протяженность и/или неодинаковый угловой интервал. Радиальный интервал зубьев 1145 расцепления поршня может выбираться таким образом, чтобы соответствовать интервалу между одним или несколькими расцепляющими выступами 380 на поршне 326. Дистальный конец 1147 каждого из зубьев 1145 расцепления поршня может иметь заостренный конец 1149, который выполнен с возможностью самоориентирующего направления одного или нескольких расцепляющих выступов 380 на поршне 326 во время соединения поршня 326 с втулкой 1114 зацепления поршня. Как описано в этой заявке, один или несколько зубьев 1145 расцепления поршня выполнены с возможностью взаимодействия с одним или несколькими расцепляющими выступами 380 на поршне 326 для осуществления расцепления поршня 326 от плунжера при вращении поршня 326 вокруг его продольной оси 334, например, вследствие вращения шприца 300.

[00328] Со ссылкой на ФИГ. 27Б, часть внутренней поверхности 1128 центрального отверстия 1116 на дистальном конце отверстия 1116 может иметь наклон 1130, таким образом, что внутренний диаметр отверстия 1116 сужается в направлении от дистального конца 1126 полого корпуса 1124 к проксимальной части или концу 1132. В некоторых вариантах осуществления, наклон 1130 может быть выполнен с возможностью отклонения по меньшей мере части по меньшей мере одного удерживающего элемента 368, связанного с поршнем 326, в радиальном направлении внутрь во время соединения поршня 326 с дистальной частью или концом 1126 втулки 1114 зацепления поршня. В других вариантах осуществления, наклон 1130 может определять зазор по меньшей мере для части по меньшей мере одного удерживающего элемента 368, такого как фиксатор 374, во время соединения поршня 326 с втулкой 1114 зацепления поршня. Внутренняя поверхность 1128 центрального отверстия 1116 может иметь наклонный внутренний диаметр, который уменьшается в направлении от дистального конца 1126 втулки 1114 зацепления поршня по направлению к проксимальному концу втулки 1114 зацепления поршня. Например, отверстие 1116 может иметь первый внутренний диаметр проксимально от наклона 1130, и второй диаметр, который меньше первого диаметра, дистально от наклона 1130. Внутренняя поверхность 1128 центрального отверстия 1116 может быть по сути цилиндрической проксимально от наклона 1130. В других вариантах осуществления, одна или обе части внутренней поверхность 1128 до и после наклона 1130 могут иметь небольшой наклон под углом в том же направлении, что и наклон 1130.

[00329] Со ссылкой на ФИГ. 26 и 28, втулка 1158 расцепления поршня окружает по меньшей мере часть втулки 1114 зацепления поршня. В некоторых вариантах осуществления, втулка 1158 расцепления поршня имеет полый корпус 1159, имеющий внутреннюю полость 1161, выполненную с возможностью размещения проксимального конца или части 1132 втулки 1114 зацепления поршня. В некоторых вариантах осуществления, втулка 1158 расцепления поршня имеет цилиндрическую боковую стенку 1160, имеющую отверстие 1162, простирающиеся через нее. Отверстие 1162 может иметь продольную поверхность 1163, которая по сути параллельна продольной оси 1164 втулки 1158 расцепления поршня, и наклонную поверхность 1166, которая является смежной с продольной поверхностью 463, и расположена под углом вниз относительно продольной оси 1164 втулки 1158 расцепления поршня в направлении от дистального конца 1168 к проксимальному концу 1170. Как описано в этой заявке, продольная поверхность 1163 выполнена с возможностью направления направляющего стержня 1139, связанного с узлом 1118 зацепления поршня, во время перемещения узла 1118 зацепления поршня в продольном направлении вдоль продольной оси 1120 плунжера 1100, в то время как наклонная поверхность 1164 выполнена с возможностью направления направляющего стержня 1139 для перемещения узла 1118 зацепления поршня во время вращательного движения поршня 326 относительно плунжера 1100, например, во время удаления поршня 326 из плунжера 1100.

[00330] Со ссылкой на ФИГ. 29, механизм 1112 зацепления поршня дополнительно включает в себя корпус 1146, выполненный с возможностью размещения исполнительного механизма 1122. Корпус 1146 имеет проксимальную часть 1152, соединенную с дистальной частью 1154. В некоторых вариантах осуществления, дистальная часть 1154 может иметь меньший внешний диаметр, чем проксимальная часть 1152, таким образом, что уступ 1156 определяется на переходной части между проксимальной частью 1152 и дистальной частью 1154. В некоторых вариантах осуществления, уступ 1156 может быть выполнен с возможностью поддерживания проксимального конца смещающего элемента 1196, выполненного с возможностью расцепления поршня 326 от механизма 1112 зацепления плунжера во время расцепления поршня 326 от плунжера 1100. В некоторых вариантах осуществления, смещающий элемент 1196 может представлять собой пружину кручения, имеющую первый конец, соединенный с корпусом 1146, и второй конец, соединенный с втулкой 1158 расцепления поршня.

[00331] Со ссылкой на ФИГ. 26, втулка 1114 зацепления поршня и втулка 1158 расцепления поршня закреплены от вращения относительно друг друга, но при этом обе выполнены с возможностью вращения вокруг продольной оси 1120 плунжера относительно узла 1118 расцепления поршня между первым положением и вторым положением, как описано в этой заявке со ссылкой на ФИГ. 30А-30Г. В некоторых вариантах осуществления, втулка 1114 зацепления поршня и втулка 1158 расцепления поршня могут быть выполнены с возможностью вращения в направлении по часовой стрелке и в направлении против часовой стрелки, или в одном из направлений по часовой стрелке и против часовой стрелки. Втулка 1114 зацепления поршня и втулка 1158 расцепления поршня могут быть выполнены с возможностью вращения из первого положения во второе положение вследствие вращательного движения поршня 326 вокруг продольной оси 1120 плунжера. Например, втулка 1114 зацепления поршня и втулка 1158 расцепления поршня могут быть выполнены с возможностью вращения вокруг продольной оси 1120 вследствие взаимодействия расцепляющих выступов 380 на поршне 326 с зубчатой частью 1144 втулки 1114 зацепления на плунжере. Смещающий элемент 1196 может быть выполнен с возможностью смещения втулки 1114 зацепления поршня и втулки 1158 расцепления поршня к первому положению. Таким образом, когда втулка 1114 зацепления поршня и втулка 1158 расцепления поршня поворачиваются из первого положения во второе положение, смещающий элемент 1196 накапливает в себе потенциальную энергию, которая затем используется, чтобы помочь возвращению втулки 1114 зацепления поршня и втулки 1158 расцепления поршня в первое положение.

[00332] Со ссылкой на ФИГ. 29, узел 1118 зацепления поршня показан отдельно от механизма 1112 зацепления поршня. Узел 1118 зацепления поршня имеет вал 1172, имеющий проксимальный конец 1176 и дистальный конец 1174. Проксимальный конец 1176 вала 1172 соединен с корпусом 1146. Дистальный конец 1174 вала 1172 имеет коническую или закругленную торцевую поверхность 1178, выполненную с возможностью контакта по меньшей мере с один удерживающим элементом 368 на поршне 326 для гибкого отклонения по меньшей мере одного удерживающего элемента 368 радиально наружу, когда через него проходит торцевая поверхность 1178. Уплотнение 1180 (ФИГ. 26) может обеспечиваться на проксимальном конце 1176 для герметизации к внутренней поверхности 1128 втулки 1114 зацепления поршня. Уплотнение 1180 может представлять собой О-кольцевое уплотнение.

[00333] Узел 1118 зацепления поршня дополнительно включает в себя направляющий стержень 1139, который выполнен с возможностью направления перемещения узла 1118 зацепления поршня относительно втулки 1112 зацепления поршня и втулки 1158 расцепления поршня. В некоторых вариантах осуществления, направляющий стержень 1139 проходит через корпус 1146, и расположен по сути перпендикулярно продольной оси 1120 узла 1118 зацепления поршня.

[00334] Узел 1118 зацепления поршня имеет фиксирующую канавку 1127, которая выполнена с возможностью размещения фиксатора 374 по меньшей мере одного удерживающего элемента 368 поршня 326. Торцевая поверхность 1178 может иметь форму, пригодную для отклонения по меньшей мере одного удерживающего элемента 368 в радиальном направлении наружу в результате контакта фиксатора 374 с внешней поверхностью торцевой поверхности 1178. Таким образом, перемещение в дистальном направлении плунжера 1100 относительно поршня 326 заставляет по меньшей мере один удерживающий элемент 368 отклоняться радиально наружу в результате контакта между фиксатором 374 и закругленной или конической внешней поверхностью торцевой поверхности 1178.

[00335] Узел 1118 зацепления поршня имеет чувствительный элемент 1105, такой как стержень 1107 и датчик 1109. Стержень 1107 имеет проксимальный конец 1113, выполненный с возможностью контакта с датчиком 1109, когда дистальный конец 1117 стержня 1107 толкается в проксимальном направлении, например, в результате контакта между поршнем 326 и дистальным концом 1117 стержня 1107. Стержень 1107 может простираться вдоль продольной оси 1120 плунжера 1100, и может выступать по меньшей мере через часть головки 1106 плунжера. Стержень 1107 может быть выполнен с возможностью осуществления обнаружения контакта с поверхностью, такой как внутренняя поверхность поршня 326, и посылания одного или нескольких сигналов на контроллер 200 инъектора для введения жидкости для управления перемещением плунжера 1100 на основе выявленного состояния. Например, начальный контакт между дистальным концом 1117 стержня 1107 и поршнем 326 может привести к тому, что стержень 1107 втянется назад в проксимальном направлении таким образом, что он активизирует датчик 1109. Датчик 1109 может быть функционально соединен с контроллером 200, который контролирует приводной механизм плунжера 1100, таким образом, что при активации датчика 1109 стержнем 1107, датчик 1109 управляет движением приводного механизма. Например, приводной механизм может останавливаться или замедляться из первой скорости до второй, меньшей скорости. Стержень 1107 может смещаться к своему дистальному положению с помощью пружины 1111. Для предотвращения проникновения жидкости, между стержнем 1107 и узлом 1118 зацепления поршня может обеспечиваться уплотнение 1119.

[00336] Все еще ссылаясь на ФИГ. 29, на печатной плате 1175 в основании узла 1118 зацепления поршня может обеспечиваться один или несколько источников света 1173. Один или несколько источников света 1173 могут быть выполнены с возможностью освещения по меньшей мере части поршня 326 и втулки 1114 зацепления поршня, как описано в этой заявке.

[00337] Описав конструкцию поршня 326 и плунжера 1100 в соответствии с одним неограничивающим вариантом осуществления настоящего изобретения, способ зацепления поршня 326 с и от плунжера 1100 далее будет описан со ссылкой на ФИГ. 30А-30Г. ФИГ. 31А-31Г показывают механизм 1112 зацепления поршня во время различных стадий расцепления поршня 326 от плунжера 1100.

[00338] ФИГ. 30А показывает плунжер 1100 с его механизмом 1112 зацепления поршня в положении или состоянии расцепления и перед соединением с поршнем 326. В некоторых вариантах осуществления, состоянием механизма 1112 зацепления поршня по умолчанию может быть положение или состояние зацепления. В других вариантах осуществления, состоянием механизма 1112 зацепления поршня по умолчанию может быть положение или состояние расцепления. Для соединения поршня 326 с плунжером 1100, шприц 300 вначале соединяется с инъектором. Во время соединения шприца 300 с инъектором, плунжер 1100 втягивается в корпус инъектора. После соединения шприца 300 с инъектором, плунжер 1100 может продвигаться в дистальном направлении к поршню 326 внутри отверстия шприца 300.

[00339] Со ссылкой на ФИГ. 30А, исполнительный механизм 1122 (показан на ФИГ. 26) приводится в свое положение или состояние расцепления, причем узел 1118 зацепления поршня располагается в своем дистальном положении. Перемещение узла 1118 зацепления поршня в дистальном направлении открывает приемное пространство 1115 между втулкой 1114 зацепления поршня и узлом 1118 зацепления поршня, с тем, чтобы обеспечивать возможность вставления одного или нескольких удерживающих элементов 368 поршня 326 в приемном пространстве 1115. Стержень 1107 находится в своем дистальном положении, в то время как направляющий стержень 1139 находится на дистальном конце 1151 продольной поверхности 1163 отверстия 1162 (ФИГ. 28) на втулке 1158 расцепления поршня.

[00340] Со ссылкой на ФИГ. 30Б, плунжер 1100 перемещается по оси в дистальном направлении к поршню 326 (указанном стрелочкой А1). В некоторых вариантах осуществления, плунжер 1100 может продвигаться в дистальном направлении с использованием приводного механизма 402, управляемого контроллером 200 (ФИГ. 2) инъектора. В других вариантах осуществления, плунжер может перемещаться в дистальном направлении вручную. Плунжер 1100 продвигается по оси в дистальном направлении таким образом, что по меньшей мере один удерживающий элемент 368 поршня 326 размещается внутри центрального отверстия 1116 втулки 1114 зацепления поршня. Как только плунжер 1100 продвигается в дистальном направлении к поршню 326, по меньшей мере часть одного или нескольких удерживающих элементов 368 на поршне 326 входит в контакт с конической торцевой поверхностью 1178 узла 1118 зацепления поршня, который гибко отклоняет удерживающие элементы 368 в радиальном направлении наружу. Например, так как фиксатор 374 выступает радиально внутрь относительно второго конца каждого удерживающего элемента 368, фиксатор 374 входит в контакт с конической поверхностью 1178 узла 1118 зацепления поршня, который отклоняет удерживающие элементы 368 в радиальном направлении наружу. В вариантах осуществления, имеющих несколько удерживающих элементов 368, каждый из удерживающих элементов 368 отклоняется в радиальном направлении наружу.

[00341] Со ссылкой на ФИГ. 30В, во время продолжающегося осевого перемещения плунжера 1100 в дистальном направлении, удерживающий элемент 328 располагается таким образом, что фиксатор 374 может отклоняться в фиксирующую канавку 1127 узла 1118 зацепления на плунжере. После расположения фиксатора 374 в фиксирующей канавке 1127, по меньшей мере один удерживающий элемент 368 может упруго отклоняться в радиальном направлении внутрь, и удерживающий элемент 328 может подниматься по наклону 1130 на внутренней поверхности 1128 центрального отверстия 1116 и во второй диаметр внутренней поверхности 1128. При том, что по меньшей мере один удерживающий элемент 368 находится в положении, показанном на ФИГ. 30В, поршень 326 не находится в фиксированном зацеплении с плунжером 1100, поскольку по меньшей мере один удерживающий элемент 368 может отклоняться в радиальном направлении наружу при перемещении в проксимальном направлении плунжера 1100 или при перемещении в дистальном направлении поршня 326 (например, в результате удаления шприца из инъектора), и фиксатор 374 может перемещаться из фиксирующей канавки 1127. При соединении поршня 326 с плунжером 1100, один или несколько расцепляющих выступов 380 на поршне 326 совмещаются с зубчатой частью 1144 на внешней поверхности 1142 втулки 1114 зацепления поршня (ФИГ. 30А). Стержень 1107 чувствительного элемента 1105 перемещается по оси в проксимальном направлении в результате контакта с поршнем 326 таким образом, что проксимальный конец 1113 стержня 1107 может определяться датчиком 1109, который отправляет сигнал на контроллер 200 для остановки дальнейшего перемещения в дистальном направлении плунжера 1100.

[00342] Со ссылкой на ФИГ. 30Г, исполнительный механизм 1122 (ФИГ. 26) функционирует для перемещения узла 1118 зацепления поршня в проксимальном направлении, указанном стрелочкой В1, из положения или состояния расцепления в положение или состояния зацепления. Перемещение узла 1118 зацепления поршня в дистальном направлении закрывает приемное пространство 1115 между втулкой 1114 зацепления поршня и узлом 1118 зацепления поршня, фиксируя фиксатор 374 внутри фиксирующей канавки 1127, для предотвращения удаления одного или нескольких удерживающих элементов 368 поршня 326 из расцепления и перемещения из приемного пространства 1115. Как только узел 1118 зацепления поршня перемещается в положение или состояния зацепления, по меньшей мере один удерживающий элемент 368, включающий в себя фиксатор 374, поршня 326 захватывается между втулкой 1114 зацепления поршня и узлом 1118 зацепления поршня таким образом, что осевое перемещение плунжера 1100 приводит к соответствующему осевому перемещению поршня 326 внутри цилиндра шприца. Как только узел 1118 зацепления поршня перемещается в проксимальном направлении, направляющий стержень 1139 перемещается по оси в проксимальном направлении от дистального конца 1151 продольной поверхности 1163 отверстия 1162 (ФИГ. 28) на втулке 1158 расцепления поршня до проксимального конца 1153.

[00343] Плунжер 1100 и соединенный с ним поршень 326 затем могут осуществлять возвратно-поступательные движения в цилиндре 318 шприца 300. В некоторых вариантах осуществления, плунжер 1100 может продвигаться в дистальном направлении для выпуска жидкости из шприца 300, или в проксимальном направлении для наполнения шприца 300 жидкостью, с использованием приводного механизма 402, управляемого контроллером 200 (ФИГ. 2).

[00344] Со ссылкой на ФИГ. 31А-31Г, для разъединения шприца 300 от порта шприца инъектора и расцепления поршня 326 от плунжера 1100, шприц 300 можно вращать по часовой стрелке или против часовой стрелки вокруг продольной оси шприца 315 (ФИГ. 5Б), относительно порта шприца. Поскольку поршень 326 по сути не вращается внутри цилиндра 318 шприца в результате фрикционного контакта между ними, вращение шприца 300 также заставляет поршень 326 вращаться относительно плунжера 1100 вокруг продольной оси 1120 плунжера. Вследствие совмещения одного или нескольких расцепляющих выступов 380 на поршне 326 с зубьями 1145 расцепления поршня на зубчатой части 1144 втулки 1114 зацепления поршня, поворот поршня 326 также поворачивает втулку 1114 зацепления поршня и втулку 1158 расцепления поршня относительно узла 1118 зацепления поршня из первого положения во второе положение. Поскольку направляющий стержень 1139 на узле 1118 зацепления поршня размещается внутри отверстия 1162 на втулке 1158 расцепления поршня, и поскольку узел 1118 зацепления поршня не поворачивается вокруг продольной оси 1120 плунжера, поворот втулки 1114 зацепления поршня заставляет направляющий стержень 439 направляться вдоль наклонной поверхности 1166 втулки 1158 расцепления поршня (смотри также ФИГ. 28) из первого положения, показанного на ФИГ. 30Г, во второе положение, показанное на ФИГ. 31А (например, от проксимального конца наклонной поверхности 1166 к дистальному концу наклонной поверхности 1166). Кроме того, вращение втулки 1114 зацепления поршня вокруг продольной оси 1120 плунжера накапливает потенциальную энергию в смещающем элементе 1196.

[00345] Все еще ссылаясь на ФИГ. 31А, перемещение направляющего стержня 1139 вдоль наклонной поверхности 1166 втулки 1158 расцепления поршня заставляет узел 1118 зацепления поршня перемещаться по оси из положения или состояния зацепления в положение или состояния расцепления в дистальном направлении стрелочки С1. Перемещение узла 1118 зацепления поршня в дистальном направлении открывает приемное пространство 1115 между втулкой 1114 зацепления поршня и узлом 1118 зацепления поршня, с тем, чтобы обеспечивать возможность перемещения в дистальном направлении одного или нескольких удерживающих элементов 368 поршня 326 из приемного пространства 1115 (смотри ФИГ. 31Б).

[00346] Когда механизм 1112 зацепления поршня находится в положении или состоянии расцепления, шприц 300 можно вытягивать в дистальном направлении, или плунжер 1100 может втягиваться в проксимальном направлении для удаления поршня 326 из плунжера 1100. Во время такого относительного перемещения плунжера 326 и поршня 1100 в направлении друг от друга, фиксатор 374 каждого по меньшей мере одного удерживающего элемента 368 зацепляет узел 1118 зацепления поршня дистально фиксирующей канавки 1127 таким образом, что каждый удерживающий элемент 368 гибко отклоняется в радиальном направлении наружу (ФИГ. 31В). Продолжающееся перемещение плунжера 1000 относительно поршня 326 обеспечивает поршню 326 возможность свободно вытягиваться из плунжера 1100, например, показано на ФИГ. 31Г, обеспечивая удаление шприца 300 из порта инъектора.

[00347] Со ссылкой на ФИГ. 31Г, после удаления поршня 326 из плунжера 1100, втулка 1114 зацепления поршня и узел 1118 зацепления поршня автоматически поворачиваются вокруг продольной оси 1120 из второго положения в первое положение вследствие восстанавливающей силы, обеспеченной смещающим элементом 1196. При перемещении втулки 1114 зацепления поршня и узла 1118 зацепления поршня в первое положение, направляющий стержень 1129 направляется вдоль верхней поверхность 1179 внутри отверстия 1162 втулки 1158 расцепления поршня вследствие восстанавливающей силы, обеспеченной смещающим элементом 1196.

[00348] Далее, со ссылкой на ФИГ. 32-35Б, показан инъектор в сборе 2000 в соответствии с другим аспектом настоящего изобретения. Инъектор в сборе 2000 содержит корпус 2002, который вмещает автоматизированный или механизированный инъектор для введения жидкости. Инъектор для введения жидкости выполнен с возможностью соединения и приведения в действие одного или нескольких шприцев, причем каждый шприц может независимо наполняться жидкостью медицинского назначения, например, контрастным веществом, физиологическим раствором, или любой желательной жидкостью медицинского назначения, как также описано выше в отношении ФИГ. 1 или ФИГ. 3. Например, корпус 2002 инъектора выполнен с возможностью удерживания шприцев 2006а, 2006b, каждый из которых содержит в себе жидкость медицинского назначения.

[00349] Как известно в данной области техники, шприцы 2006а, 2006b часто изготавливают из полипропилена или подобного материала, имеющего определенную минимальную толщину стенки. Во время некоторые процедур, таких как процедуры визуализации во время ангиографии, шприцы 2006а, 2006b могут подвергаться давлению до 1200 фунтов на квадратный дюйм в случае применения для введения жидкости пациенту и, таким образом, толщина стенки и упругость шприца важны для обеспечения того, чтобы шприц не расширялся радиально, не лопался, не расцеплялся от инъектора, или не протекал. Для дополнительного противодействия возможному радиальному расширению шприцев 2006а, 2006b, когда их используют для инъекции под высоким давлением, могут использоваться соответствующие герметичные кожухи 2004а, 2004b, чтобы закрывать и удерживать шприцы 2006а, 2006b. Герметичные кожухи 2004а, 2004b служат для ограничения радиального расширения цилиндров шприцев. То есть, во время процедуры инъекции, внешние стенки шприцев 2006а, 2006b расширяются к внутренней стенке соответствующих герметичных кожухов 2004а, 2004b, тем самым ограничивая радиальное расширение внешних стенок шприцев, которое в противном случае могло бы привести к их лопанию или протеканию.

[00350] Герметичные кожухи 2004а, 2004b могут быть отдельными элементами или могут формироваться в виде цельной, монолитной конструкции. Герметичные кожухи 2004а, 2004b удерживаются на головке инъектора корпуса 2002 с помощью соответствующих присоединительных интерфейсов 2010а, 2010b. Подходящие неограничивающие примеры герметичных кожухов, которые включает в себя удерживающие элементы шприца, предназначенные для применения в процедурах инъекции CV, описаны в международной заявке PCT/US2020/049885, включенной в эту заявку посредством ссылки.

[00351] В дополнение к радиальным силам, действующим на шприцы 2006а, 2006b и герметичные кожухи 2004а, 2004b, также возможно значительное осевое перемещение во время инъекции под высоким давлением вследствие упругой природы компонентов конструкции, удерживающих шприцы 2006а, 2006b. Например, для одного шприца емкостью 150 мл, имеющего площадь поперечного сечения 1,6 квадратных дюйма, при давлении 1200 фунтов на квадратный дюйм, может потребоваться сила 2400 фунтов на квадратный дюйм для сдерживания движения шприца вперед. Для ограничения такого аксиального перемещения шприцев 2006а, 2006b, могут применяться соответствующие колпачки 2008а, 2008b для частичного закрывания дистальных концов шприцев 2006а, 2006b и удерживания шприцев 2006а, 2006b внутри инъектора и внутри герметичных кожухов 2004а, 2004b во время инъекции под высоким давлением. Колпачки 2008а, 2008b могут иметь отверстие, сформированное на их дистальном конце для обеспечения возможности выступания через него по меньшей мере части горлышка 2009а, 2009b шприцев 2006а, 2006b, тем самым позволяя шприцам 2006а, 2006b соединяться с трубками для подачи жидкости, ведущими к пациенту.

[00352] Благодаря осевым силам, воздействующим на шприцы 2006а, 2006b, желательно, чтобы присоединительные интерфейсы между герметичными кожухами 2004а, 2004b и корпусом 2002 и/или между колпачками 2008а, 2008b и герметичными кожухами 2004а, 2004b имели бы достаточную прочность, чтобы противостоять обратному осевому перемещению или непреднамеренному отсоединению. Однако, в то время как прочность является ключевым фактором, для оператора также важна способность легко снимать колпачки 2008а, 2008b и/или герметичные кожухи 2004а, 2004b, так как необходимо удалять или вставлять шприцы 2006а, 2006b. Соответственно, желательно, чтобы соединительный интерфейс между герметичными кожухами 2004а, 2004b и корпусом 2002 был достаточно надежным, обеспечивая при этом легкое присоединение и удаление. Аналогичным образом, желательно, чтобы соединительный интерфейс между колпачками 2008а, 2008b и герметичными кожухами 2004а, 2004b также был надежным, и обеспечивал при этом легкое присоединение и удаление.

[00353] Для того чтобы достичь указанные желательные характеристики, присоединительные интерфейсы 2010а, 2010b герметичных кожухов 2004а, 2004b могут иметь соединительные элементы, подобные соединительным элементам поршня 326, показанным и описан в отношении ФИГ. 6-8В, в то время как присоединительные интерфейсы 2020а, 2020b корпуса 2002, показанные на ФИГ. 32, могут иметь соединительные элементы, подобные соединительным элементам различных вариантов осуществления механизмов зацепления поршня, показанным и описанным со ссылкой на ФИГ. 9-31Г. То есть присоединительные интерфейсы 2010а, 2010b могут содержать один или несколько упруго-гибких удерживающих элементов, имеющих фиксатор, подобные упруго-гибким удерживающим элементам 368 и фиксатору 374, показанным и описанным со ссылкой на ФИГ. 6-8В, которые расположены по окружности вокруг отверстия на проксимальном конце герметичных кожухов 2004а, 2004b. Аналогичным образом, присоединительные интерфейсы 2020а, 2020b корпуса 2002 могут содержать один или несколько элементов, подобных втулке зацепления поршня и узлу зацепления поршня, показанным и описанным в отношении ФИГ. 9-31Г.

[00354] Во время работы, присоединительные интерфейсы 2010а, 2010b, и 2020а, 2020b выполнены с возможностью взаимодействия по сути подобным образом, как и взаимодействие между поршнем 326 и механизмом зацепления поршня, как показано и подробно описано в отношении ФИГ. 9-31Г. То есть, поскольку присоединительные интерфейсы 2010а, 2010b направлены аксиально к соответствующим присоединительным интерфейсам 2020а, 2020b таким образом, что соответствующие присоединительные интерфейсы 2010а, 2010b и присоединительные интерфейсы 2020а, 2020b взаимодействуют, обеспечивая крепление герметичных кожухов 2004а, 2004b к корпусу 2002. Один или несколько удерживающих элементов внутри присоединительных интерфейсов 2020а, 2020b, которые в определенных вариантах осуществления могут выступать внутрь от дистального конца присоединительных интерфейсов 2020а, 2020b, также выполнены с возможностью зацепления выступа кольца зацепления внутри каждого из присоединительных интерфейсов 2010а, 2010b для надежного присоединения герметичных кожухов 2004а, 2004b к корпусу 2002.

[00355] Для отсоединения герметичных кожухов 2004а, 2004b от корпуса 2002, герметичные кожухи 2004а, 2004b могут поворачиваться (вместе или отдельно) относительно корпуса 2002. Вращение герметичных кожухов 2004а, 2004b обеспечивает возможность присоединительных интерфейсов 2010а, 2010b взаимодействовать с присоединительными интерфейсами 2020а, 2020b, подобными тем, которые описаны выше в отношении ФИГ. 9-31Г. Указанное взаимодействие толкает по меньшей мере один удерживающий элемент радиально наружу или внутрь, таким образом, что по меньшей мере один удерживающий элемент больше не зацепляет соответствующую конструкцию на присоединительных интерфейсах 2010а, 2010b, после чего герметичные кожухи 2004а, 2004b могут аксиально отсоединяться от корпуса 2002.

[00356] В качестве альтернативы, при вставлении, проксимальный конец корпуса шприцев 2006а, 2006b может действовать в герметичных кожухах 2004а, 2004b аналогично узлу зацепления поршня, фиксируя фиксаторы соответствующих гибких удерживающих элементов герметичных кожухов в соответствующих фиксирующих канавках или на выступах в портах герметичных кожухов на инъекторе. Удаление шприцев 2006а, 2006b из герметичных кожухов 2004а, 2004b, например, после окончания протокола введения, может расцеплять гибкие удерживающие элементы герметичных кожухов из соответствующих фиксирующих канавок или выступов в портах герметичных кожухов, что обеспечивает снятие герметичных кожухов с портов.

[00357] В соответствии с альтернативным аспектом изобретения, конструкционного подробности присоединительных интерфейсов 2010а, 2010b и 2020а, 2020b, описанные выше, могут быть заменены на противоположные, то есть, присоединительные интерфейсы 2010а, 2010b герметичных кожухов 2004а, 2004b могут содержать, например, по меньшей мере один удерживающий элемент и соответствующие элементы, в то время как присоединительные интерфейсы 2020а, 2020b могут содержать элементы механизма зацепления поршня, описанного в этой заявке со ссылкой на ФИГ. 9-31Г.

[00358] Далее, со ссылкой на ФИГ. 34, ФИГ. 35А, и ФИГ. 35Б, показан альтернативный аспект изобретения. Как обсуждалось выше в отношении ФИГ. 32-33, колпачки 2008а, 2008b могут, как правило, располагаться вокруг дистального конца соответствующих герметичных кожухов 2004а, 2004b, так, чтобы аксиально удерживать в них соответствующие шприцы. Как показано на ФИГ. 35А, колпачок 2008 может иметь присоединительный интерфейс 2014 для присоединения к герметичному кожуху, а также отверстие 2016, сформированное в нем для обеспечения прохождения через него части дистального конца шприца.

[00359] Для получения надежного соединения между герметичными кожухами 2004а, 2004b и колпачками 2008а, 2008b, было бы преимущественным сконфигурировать соответствующие интерфейсы между герметичными кожухами 2004а, 2004b и колпачками 2008а, 2008b таким образом, что они взаимодействовали по сути аналогично взаимодействию между разными вариантами осуществления поршня 326 и разными вариантами осуществления механизмов зацепления поршня, показанных и описанных подробно в отношении ФИГ. 9-31Г. Как показано на ФИГ. 33, герметичные кожухи 2004а, 2004b могут иметь соответствующие присоединительные интерфейсы 2012а, 2012b на своих дистальных концах для соединения с соответствующими колпачками 2008а, 2008b. Присоединительные интерфейсы 2012а, 2012b могут включать в себя один или несколько механизмов зацепления поршня, как показано и описано в отношении ФИГ. 9-31Г. Аналогичным образом, присоединительный интерфейс 2014 колпачка 2008, показанный на ФИГ. 35А, может включать в себя один или несколько выполненных с возможностью упругого отклонения удерживающих элементов 368 наряду с соответствующим фиксатором 374, как показано и описано со ссылкой на ФИГ. 6-8В. Зацепление между присоединительными интерфейсами 2012а, 2012b герметичных кожухов 2004а, 2004b и присоединительным интерфейсом 2014 соответствующих крышек 2008 может быть идентичным или по сути подобным зацепление между поршнем 326 и механизмами зацепления поршня, описанными выше в отношении ФИГ. 9-31Г. Таким образом, колпачки 2008а, 2008b могут надежно зацепляться с дистальным концом герметичных кожухов 2004а, 2004b, и легко отсоединяться от него.

[00360] В качестве альтернативы колпачку 2008, отдельному от шприца и окружающему его часть, ФИГ. 35Б показывает шприц в сборе 2030, имеющий корпус 2032 шприц с интегрированным в него колпачком 2036. То есть колпачок 2036 может отливаться или формироваться непосредственно с корпусом 2032 шприца. Часть 2034 горлышка проходит от дистальной поверхности колпачка 2036 для обеспечения точки соединения для трубок для подачи жидкости, ведущих к пациенту. Присоединительный интерфейс 2038, подобный присоединительному интерфейсу 2014, показанному и описанному в отношении ФИГ. 35А, сформирован в колпачке 2038. Как аналогичным образом описано выше в отношении ФИГ. 32 и 35А, присоединительный интерфейс 2038 может включать в себя элементы, который взаимодействуют с одним из соответствующих присоединительных интерфейсов 2012а, 2012а герметичных кожухов 2004а, 2004b. Опять таки, зацепление между присоединительными интерфейсами 2012а, 2012b герметичных кожухов 2004а, 2004b и присоединительным интерфейсом 2038 соответствующих шприцев в сборе 2030 может быть идентичным или по сути подобным зацеплению, описанному выше в отношении ФИГ. 9-31Г.

[00361] В соответствии с альтернативным аспектом изобретения, детали конструкции присоединительных интерфейсов 2012а, 2012b, и 2014, описанные выше, могут быть заменены на противоположные. То есть, присоединительные интерфейсы 2012а, 2012b герметичных кожухов 2004а, 2004b могут содержать, например, по меньшей мере один удерживающий элемент и соответствующие элементы, в то время как присоединительный интерфейс 2014 каждого колпачка 2008 может содержать соответствующие элементы, связанные с механизмом зацепления поршня, описанным в этой заявке со ссылкой на ФИГ. 9-31Г. Подобным образом, детали конструкции присоединительных интерфейсов 2012а, 2012b, и 2038, описанных выше, могут быть заменены на противоположные.

[00362] При том, что показанные и описанные в виде интегрированных с герметичными кожухами 2004а, 2004b, один или оба из присоединительных интерфейсов 2010а, 2010b и 2012а, 2012b герметичных кожухов 2004а, 2004b, как альтернатива, они могут также формироваться в виде отдельного компонента, выполненного с возможностью присоединения проксимального или дистального конца герметичных кожухов 2004а, 2004b. Таким образом, традиционный герметичный кожух можно адаптировать с помощью одного или нескольких отдельных присоединительных интерфейсов, с тем, чтобы обеспечить надежное соединение герметичного кожуха с соответствующим образом оборудованным корпусом, колпачком, подобным колпачку 2008, и/или шприцем в сборе, имеющим интегрированный колпачок, подобным шприцу в сборе 2030, как описано выше.

[00363] При том, что изобретение было подробно описано с целью иллюстрации на основе считающихся в данный момент наиболее практичных и предпочтительных вариантов осуществления, следует понимать, что такое подробное описание предназначено исключительно для указанной цели и, что изобретение не ограничивается раскрытыми вариантами осуществления, а, напротив, предусматривает охват модификаций и эквивалентных компоновок. Например, следует понимать, что настоящее изобретение предусматривает, что, насколько это возможно, один или несколько элементов любого варианта осуществления может комбинироваться с одним или несколькими элементами любого другого варианта осуществления.

Похожие патенты RU2841032C1

название год авторы номер документа
СИСТЕМА И СПОСОБ ВВЕДЕНИЯ ПЛУНЖЕРА В ЗАЦЕПЛЕНИЕ С ИНЪЕКТОРОМ 2016
  • Суонтнер, Майкл, Дж.
  • Семан, Ричард, А.
  • Таккер, Бэрри, Л.
  • Убер, Артур, И., Iii
  • Коуэн, Кевин, П.
  • Дедиг, Джеймс, А.
  • Капоне, Кристофер, Д.
RU2730986C2
Плунжер для использования со шприцом и тело плунжера для ввода плунжера в зацепление с поршнем инъектора 2016
  • Суонтнер, Майкл, Дж.
  • Семан, Ричард, А.
  • Таккер, Бэрри, Л.
  • Убер Iii, Артур, И.
  • Коуэн, Кевин, П.
  • Дедиг, Джеймс, А.
  • Капоне, Кристофер, Д.
RU2820011C1
ШПРИЦ С ПОДВОРАЧИВАЮЩЕЙСЯ МЕМБРАНОЙ 2016
  • Бэрри Дэвид Х.
  • Гиблер Мартин Дж.
  • Крупп Бенджамин Т.
  • Делбругг Винс
  • Кован Кевин П.
  • Спон Майкл
RU2718291C2
АВТОМАТИЧЕСКИЙ ИНЪЕКТОР 2012
  • Бреретон Саймон Фрэнсис
  • Кемп Томас
  • Бернелл Рози
  • Экмен Мэттью
RU2607528C2
АВТОМАТИЧЕСКИЙ ИНЪЕКТОР 2012
  • Бреретон Саймон Фрэнсис
  • Кемп Томас
  • Бернелл Рози
  • Экмен Мэттью
RU2607939C2
АВТОМАТИЧЕСКИЙ ИНЪЕКТОР 2012
  • Бреретон Саймон Фрэнсис
  • Кемп Томас
  • Бернелл Рози
  • Экмен Мэттью
RU2607529C2
АВТОМАТИЧЕСКИЙ ИНЪЕКТОР 2012
  • Бреретон Саймон Фрэнсис
  • Кемп Томас
  • Бернелл Рози
  • Экмен Мэттью
RU2607926C2
ЗАПУСКАЕМЫЙ КНОПКОЙ АВТОИНЪЕКТОР 2023
  • Вонгснес, Райан
  • Свонсон, Кевин
  • Траванти, Майк
  • Лиденс, Тодд
RU2841007C1
ШПРИЦ С СИЛЬФОНОМ 2015
  • Берри Дэйв
  • Таккер Барри Л.
  • Райнхарт Эдвард Дж.
  • Трокки Марк
  • Каллан Джеральд В.
  • Убер Артур И. Iii
  • Урам Мартин Дж.
  • Каллен Дэйв
  • Коуэн Кевин П.
  • Хоффман Раймонд К.
  • Крупп Бенджамин Т.
  • Гиблер Мартин Дж.
  • Макджи Мэттью
  • Спон Майкл А.
RU2678791C2
ПРИВОДНОЙ МЕХАНИЗМ ДЛЯ УСТРОЙСТВА ВВЕДЕНИЯ ЛЕКАРСТВ 2005
  • Саики Масару
RU2387461C2

Иллюстрации к изобретению RU 2 841 032 C1

Реферат патента 2025 года Поршень для применения со шприцем

Изобретение относится к поршню, предназначенному для применения со шприцом. Поршень содержит корпус поршня и по меньшей мере один удерживающий элемент. Корпус поршня определяет центральную продольную ось, и имеет проксимальный конец, дистальный конец, и боковую стенку по окружности, соединяющую проксимальный конец и дистальный конец. По меньшей мере один удерживающий элемент связан с корпусом поршня и простирается в проксимальном направлении от него. По меньшей мере один удерживающий элемент содержит первый конец, соединенный с корпусом поршня; второй конец, проксимальный к первому концу, и выполненный с возможностью радиального и упругого отклонения относительно первого конца; и по меньшей мере один фиксатор на втором конце. По меньшей мере один удерживающий элемент имеет внешнюю поверхность, выполненную с возможностью зацепления втулки зацепления поршня механизма зацепления поршня на плунжере системы инъектора для введения жидкости, когда поршень находится в фиксированном состоянии с плунжером. По меньшей мере один удерживающий элемент имеет внутреннюю поверхность, выполненную с возможностью зацепления узла зацепления поршня механизма зацепления поршня, когда поршень находится в фиксированном состоянии с плунжером. По меньшей мере один фиксатор выполнен с возможностью фиксированного зацепления фиксирующего элемента на одном из втулки зацепления поршня и узла зацепления поршня, когда поршень находится в фиксированном состоянии с плунжером, для предотвращения осевого перемещения поршня относительно плунжера. По меньшей мере один фиксатор имеет первую закругленную или наклонную проксимальную поверхность на проксимальном конце по меньшей мере одного фиксатора для гибкого зацепления дистального конца фиксирующего элемента на одном из втулки зацепления поршня и узла зацепления поршня во время зацепления поршня с плунжером, и вторую закругленную или наклонную дистальную поверхность на дистальном конце по меньшей мере одного фиксатора для гибкого зацепления проксимального конца фиксирующего элемента на одном из втулки зацепления поршня и узла зацепления поршня во время расцепления поршня от плунжера. В разблокированном состоянии механизма зацепления поршня первая закругленная проксимальная поверхность и вторая закругленная дистальная поверхность по меньшей мере одного фиксатора выполнены с возможностью радиального отклонения второго конца по меньшей мере одного удерживающего элемента при осевом перемещении плунжера относительно поршня в результате гибкого взаимодействия по меньшей мере одного фиксатора с фиксирующим элементом на одном из втулки зацепления поршня и узла зацепления поршня. Изобретение обеспечивает более простое и более легкое зацепление поршня шприца с плунжером инъектора для введения жидкости и расцепление поршня шприца с ним, уменьшает или устраняет необходимость для оператора посредством вращения совмещать шприц с инъектором для введения жидкости перед зацеплением поршня шприца с плунжером инъектора для введения жидкости. 12 з.п. ф-лы, 35 ил.

Формула изобретения RU 2 841 032 C1

1. Поршень, предназначенный для применения со шприцем, причем поршень содержит:

корпус поршня, определяющий центральную продольную ось, и имеющий проксимальный конец, дистальный конец, и боковую стенку по окружности, соединяющую проксимальный конец и дистальный конец; и

по меньшей мере один удерживающий элемент, связанный с корпусом поршня, и простирающийся в проксимальном направлении от него, причем по меньшей мере один удерживающий элемент содержит:

первый конец, соединенный с корпусом поршня;

второй конец, проксимальный к первому концу, и выполненный с возможностью радиального и упругого отклонения относительно первого конца; и

по меньшей мере один фиксатор на втором конце,

причем по меньшей мере один удерживающий элемент имеет внешнюю поверхность, выполненную с возможностью зацепления втулки зацепления поршня механизма зацепления поршня на плунжере системы инъектора для введения жидкости, когда поршень находится в фиксированном состоянии с плунжером,

по меньшей мере один удерживающий элемент имеет внутреннюю поверхность, выполненную с возможностью зацепления узла зацепления поршня механизма зацепления поршня, когда поршень находится в фиксированном состоянии с плунжером,

по меньшей мере один фиксатор выполнен с возможностью фиксированного зацепления фиксирующего элемента на одном из втулки зацепления поршня и узла зацепления поршня, когда поршень находится в фиксированном состоянии с плунжером, для предотвращения осевого перемещения поршня относительно плунжера,

по меньшей мере один фиксатор имеет первую закругленную или наклонную проксимальную поверхность на проксимальном конце по меньшей мере одного фиксатора для гибкого зацепления дистального конца фиксирующего элемента на одном из втулки зацепления поршня и узла зацепления поршня во время зацепления поршня с плунжером, и вторую закругленную или наклонную дистальную поверхность на дистальном конце по меньшей мере одного фиксатора для гибкого зацепления проксимального конца фиксирующего элемента на одном из втулки зацепления поршня и узла зацепления поршня во время расцепления поршня от плунжера, и

в разблокированном состоянии механизма зацепления поршня первая закругленная проксимальная поверхность и вторая закругленная дистальная поверхность по меньшей мере одного фиксатора выполнены с возможностью радиального отклонения второго конца по меньшей мере одного удерживающего элемента при осевом перемещении плунжера относительно поршня в результате гибкого взаимодействия по меньшей мере одного фиксатора с фиксирующим элементом на одном из втулки зацепления поршня и узла зацепления поршня.

2. Поршень по п. 1, причем по меньшей мере один удерживающий элемент содержит от одного до шести удерживающих элементов, расположенных на расстоянии друг от друга вокруг центральной продольной оси.

3. Поршень по п. 1, причем по меньшей мере один удерживающий элемент простирается проксимально в направлении, параллельном центральной продольной оси.

4. Поршень по п. 1, причем поршень выполнен с возможностью зацепления механизма зацепления поршня независимо от угловой ориентации поршня относительно плунжера инъектора для введения жидкости.

5. Поршень по п. 1, причем по меньшей мере один фиксатор выступает радиально внутрь от внутренней поверхности по меньшей мере одного удерживающего элемента в направлении к центральной продольной оси.

6. Поршень по п. 1, причем по меньшей мере один фиксатор выступает радиально наружу от внешней поверхности по меньшей мере одного удерживающего элемента в направлении от центральной продольной оси.

7. Поршень по п. 1, причем по меньшей мере один фиксатор определяет фиксирующее углубление для размещения по меньшей мере части механизма зацепления поршня, когда поршень соединяется с плунжером.

8. Поршень по п. 1, причем по меньшей мере один фиксатор выступает радиально внутрь от внутренней поверхности по меньшей мере одного удерживающего элемента в направлении к центральной продольной оси, и причем по меньшей мере один фиксатор выполнен с возможностью размещения внутри фиксирующего элемента, который имеет форму фиксирующей канавки, выступающей радиально внутрь от внешней поверхности узла зацепления поршня, когда поршень находится в фиксированном состоянии с плунжером.

9. Поршень по п. 1, причем корпус поршня имеет участок конической формы на дистальном конце и участок цилиндрической формы на проксимальном конце.

10. Поршень по п. 9, причем по меньшей мере один удерживающий элемент выступает проксимально от внутренней поверхности участка конической формы.

11. Поршень по п. 10, дополнительно содержащий один или более расцепляющих выступов, выступающих радиально внутрь от внутренней поверхности участка цилиндрической формы или проксимально от внутренней поверхности участка цилиндрической формы, причем каждый из одного или более расцепляющих выступов выполнен с возможностью взаимодействия с втулкой зацепления поршня для осуществления расцепления поршня от плунжера при вращении поршня вокруг центральной продольной оси.

12. Поршень по п. 11, причем проксимальный конец каждого из одного или более расцепляющих выступов имеет заостренную направляющую поверхность.

13. Поршень по п. 1, причем когда поршень находится в фиксированном состоянии с плунжером, по меньшей мере один фиксатор выступает радиально наружу от внешней поверхности по меньшей мере одного удерживающего элемента в направлении от центральной продольной оси, и по меньшей мере один фиксатор выполнен с возможностью размещения внутри фиксирующего элемента, который имеет форму фиксирующей канавки, выступающей радиально наружу от внутренней поверхности втулки зацепления поршня.

Документы, цитированные в отчете о поиске Патент 2025 года RU2841032C1

US 5873861 A1, 23.02.1999
Станок для изготовления деревянных ниточных катушек из цилиндрических, снабженных осевым отверстием, заготовок 1923
  • Григорьев П.Н.
SU2008A1
ОДНОРАЗОВАЯ ШПРИЦ-РУЧКА НА НЕСКОЛЬКО ДОЗ 2012
  • Квинн Майкл
  • Кроненберг Ричард
RU2653780C1
Способ получения цианистых соединений 1924
  • Климов Б.К.
SU2018A1
CN 107551358 A, 09.01.2018.

RU 2 841 032 C1

Авторы

Кауэн Кевин

Дедиг Джеймс

Тахери Шахаб

Шривастава Абхинав

Такер Бэрри

Суонтнер Майкл

Капоне Кристофер

Влодарчик Ярослав

Осан Эндрю

Даты

2025-06-02Публикация

2021-06-16Подача