Перекрестная ссылка на родственную заявку
[0001] Данная заявка притязает на приоритет предварительной заявки на патент США с порядковым № 63/070789, поданной 26 августа 2020 года, содержимое которой включено в данный документ по ссылке.
Область изобретения
[0002] В целом предмет изобретения, описанный в данном документе, относится к системам, устройствам и способам для определения и направления пути пучка ионов на поверхности мишени, а более конкретно, для определения и направления пути пучка ионов на поверхности мишени для генерации пучка нейтронов.
Предпосылки изобретения
[0003] Бор-нейтронозахватная терапия (БНЗТ) представляет собой модальность лечения множества типов рака, включающих в себя некоторые наиболее сложные типы. БНЗТ представляет собой технологию, которая избирательно нацелена на лечение опухолевых клеток при восстановлении жизнеспособности нормальных клеток с использованием соединения бора. Соединение бора обеспечивает возможность эффективного поглощения множеством типов клеток и избирательного накопления лекарственного средства в участках-мишенях, таких как опухолевые клетки. Нагруженные бором клетки могут облучаться нейтронами (например, в форме пучка нейтронов). Нейтроны реагируют с бором, чтобы уничтожить опухолевые клетки.
[0004] Пучки нейтронов для БНЗТ могут генерироваться посредством облучения подходящей мишени пучком ионов, таким как пучок протонов. Ионы реагируют с ядрами клетки в мишени, чтобы испускать пучок нейтронов, которые могут использоваться для БНЗТ. Подвергание мишени воздействию пучка ионов в течение длительного периода может приводить к ухудшению характеристик мишени и результирующего пучка нейтронов. Мишени могут заменяться, но могут быть дорогими и приводить к простою системы. Соответственно, имеется потребность в улучшенной доставке пучка протонов для того, чтобы продлевать функциональность мишени ниже температурного предела и уменьшать простой системы.
Сущность изобретения
[0005] Примерные варианты осуществления систем, устройств и способов, описанных в данном документе, относятся к выбору профиля для сканирования пучка ионов (например, пучка протонов) по поверхности мишени. В некоторых вариантах осуществления путь пучка по поверхности мишени формирует первый рисунок. Рисунок, также называемый «фундаментальным рисунком» или «циклом», повторяется один или более раз в различных радиальных ориентациях из первого экземпляра рисунка для того, чтобы сформировать профиль сканирования. Здесь «радиальная» ориентация означает азимутальное или, альтернативно, периферийное направление в цилиндрической системе координат. Варианты осуществления включают в себя по меньшей мере два экземпляра первого рисунка пучка, радиально смещенные друг от друга. Различные экземпляры рисунка пучка могут быть смещены на постоянную величину так, что профиль сканирования включает в себя экземпляры рисунка, тактированного с регулярными радиальными интервалами. Варианты осуществления основаны на вычислительном моделировании, выполненном с возможностью повышать тепловую производительность и нагрузку по концентрации частиц, в числе других преимуществ. Например, вычислительное моделирование может обеспечивать возможность выбора профилей сканирования (или растра) пучка, которые улучшают однородность нагрузки по концентрации частиц на мишени, и/или может обеспечивать возможность выбора профиля сканирования, который уменьшает (например, минимизирует) пиковую переходную температуру мишени. Вычислительная модель указывает тепловое влияние на мишень нескольких параметров пучка, таких как размер и форма пучка. Вычислительная модель может включать в себя пространство с нанесенной сеткой, охватывающее мишень. Сетка состоит из трехмерной сетки, в которой моделируются тепловые нагрузки на мишень. Значения температуры получаются посредством решения одномерного уравнения теплопереноса в каждом «пикселе» (элементе) сетки. Одномерное уравнение теплопереноса решается для теплопередачи через глубину пиксела с учетом того, что перекрестные помехи между пикселами или поперечная теплопроводность между пикселами предположительно должны быть пренебрежимо малыми. Численные подходы, используемые для того, чтобы решать одномерное дифференциальное уравнение теплопереноса, включают в себя технологии конечных элементов и конечных разностей. Для любой из технологий конечных элементов и конечных разностей мишень представляется при виде сверху в качестве части сетки. Сетка может иметь одинаковый размер единичной ячейки в каждом измерении, или размер в каждом измерении может отличаться. Разрешение может выбираться так, чтобы предоставлять способность моделировать пучки различного размера и структуры совместно с физическими характеристиками изучаемой системы. Вычислительная модель обеспечивает выбор профиля сканирования, который задает путь для пучка протонов, имеющий минимальную задержку между последовательными подверганиями одного местоположения мишени воздействию пучка протонов, которая превышает пороговый период. Выбранный профиль может задавать путь на основе трохоидной формы, включающей в себя множество лепестков. Вычислительная модель обеспечивает выбор профиля, который имеет варьирующуюся угловую частоту пучка протонов между различными лепестками трохоидной формы. Вычислительная модель обеспечивает выбор профиля, который имеет варьирующуюся угловую скорость пучка протонов по поверхности мишени. Вычислительная модель обеспечивает выбор профиля сканирования, который имеет варьирующуюся линейную скорость пучка протонов по поверхности мишени.
[0006] В одном аспекте этот документ описывает способ сканирования пучка по сканируемой поверхности мишени вдоль первого пути и сканирования пучка по сканируемой поверхности мишени вдоль второго пути, при этом первый путь формирует первый рисунок в первой радиальной ориентации, и второй путь формирует практически первый рисунок во второй радиальной ориентации, отличающейся от первой радиальной ориентации. Может быть вызвана пульсация пучка при сканировании вдоль первого и второго путей. Пучок непрерывно распространяется при сканировании вдоль первого и второго путей. Пучок перемещается из внутренней области во внешнюю область сканируемой поверхности и обратно во внутреннюю область в первом рисунке. Пучок перемещается из внешней области во внутреннюю область сканируемой поверхности и обратно во внешнюю область в первом рисунке. Первый рисунок может включать в себя спираль и зеркальное изображение спирали. Первый рисунок имеет первую половину и вторую половину, при этом первая и вторая половины являются симметричными. Первый рисунок может быть искривленным. Первый рисунок имеет начальное местоположение и конечное местоположение, при этом начальное местоположение может находиться в или смежно с конечным местоположением. Первая радиальная ориентация отличается от второй радиальной ориентации на 180 градусов. Операции дополнительно могут включать в себя: сканирование пучка по сканируемой поверхности мишени вдоль третьего пути, при этом третий путь формирует первый рисунок в третьей радиальной ориентации, отличающейся от первой и второй радиальных ориентаций. Первая, вторая и третья радиальные ориентации отличаются на 120 градусов. Операции дополнительно могут включать в себя: сканирование пучка по сканируемой поверхности мишени вдоль четвертого пути, при этом четвертый путь формирует первый рисунок в четвертой радиальной ориентации, отличающейся от первой, второй и третьей радиальных ориентаций. Первая, вторая, третья и четвертая радиальные ориентации отличаются на 90 градусов. Операции дополнительно могут включать в себя: сканирование пучка по сканируемой поверхности мишени вдоль пятого пути, при этом пятый путь формирует первый рисунок в пятой радиальной ориентации, отличающейся от первой, второй, третьей и четвертой радиальных ориентаций. Первая, вторая, третья, четвертая и пятая радиальные ориентации отличаются на 72 градуса. Первый путь соответствует первому экземпляру цикла, и второй путь соответствует второму экземпляру цикла. В некоторых вариантах осуществления сканирование первого экземпляра цикла и второго экземпляра цикла формирует замкнутый контур. Пучок может представлять собой пучок протонов. Сканируемая поверхность может представлять собой литиевую или бериллиевую поверхность. Мишень генерирует нейтроны при сканировании. Пучок имеет круглый профиль сечения. Пучок имеет эллиптический профиль сечения. Пучок имеет кольцевой профиль сечения. Пучок имеет полый профиль сечения. Операции осуществляют бор-нейтронозахватную терапию (БНЗТ). Пучок может быть сформирован посредством пучковой системы, включающей в себя: источник ионов, первый тракт пучка, соединенный с источником ионов, тандемный ускоритель, соединенный с первым трактом пучка, второй тракт пучка, соединенный с тандемным ускорителем, и мишень, соединенную со вторым трактом пучка. Рисунок подвергает большую часть сканируемой поверхности воздействию пучка. Второй путь формирует первый рисунок во второй радиальной ориентации, отличающейся от первой радиальной ориентации.
[0007] В другом аспекте этот документ описывает способ работы пучка, включающий в себя: сканирование пучка по сканируемой поверхности мишени вдоль первого пути и сканирование пучка по сканируемой поверхности мишени вдоль второго пути, при этом первый путь формирует первый рисунок в первой радиальной ориентации, и второй путь формирует второй рисунок во второй радиальной ориентации, отличающейся от первой радиальной ориентации, при этом первый и второй рисунки являются практически одинаковыми, но для различных радиальных ориентаций. Первый и второй рисунки являются одинаковыми, но для различных радиальных ориентаций.
[0008] В другом аспекте этот документ описывает пучковую систему, включающую в себя: вычислительное устройство, включающее в себя процессор, соединенный с возможностью связи запоминающим устройством, при этом запоминающее устройство хранит множество инструкций, которые, будучи исполняемыми процессором, заставляют процессор: управлять перемещением пучка по сканируемой поверхности мишени вдоль первого пути и управлять перемещением пучка по сканируемой поверхности мишени вдоль второго пути, при этом первый путь может включать в себя первый рисунок в первой радиальной ориентации, и второй путь может включать в себя практически первый рисунок во второй радиальной ориентации, отличающейся от первой радиальной ориентации. Первый путь проходит из внутренней области во внешнюю область сканируемой поверхности и обратно во внутреннюю область в первом рисунке. Первый путь проходит из внешней области во внутреннюю область сканируемой поверхности и обратно во внешнюю область в первом рисунке. Первый рисунок может включать в себя спираль и зеркальное изображение спирали. Первый рисунок может включать в себя первую половину и вторую половину, при этом первая и вторая половины являются симметричными. Первый рисунок может быть непрерывно искривленным. Первый рисунок может включать в себя начальное местоположение и конечное местоположение, при этом начальное местоположение может находиться в или смежно с конечным местоположением. Первая радиальная ориентация отличается от второй радиальной ориентации на 180 градусов. Множество инструкций, будучи исполняемыми процессором, дополнительно заставляют процессор: управлять перемещением пучка по сканируемой поверхности мишени вдоль третьего пути, при этом третий путь может включать в себя первый рисунок в третьей радиальной ориентации, отличающейся от первой и второй радиальных ориентаций. Первая, вторая и третья радиальные ориентации отличаются на 120 градусов. Множество инструкций, будучи исполняемыми процессором, дополнительно заставляют процессор: управлять перемещением пучка по сканируемой поверхности мишени вдоль четвертого пути, при этом четвертый путь может включать в себя первый рисунок в четвертой радиальной ориентации, отличающейся от первой, второй и третьей радиальных ориентаций. Первая, вторая, третья и четвертая радиальные ориентации отличаются на 90 градусов. Системное множество инструкций, будучи исполняемыми процессором, дополнительно заставляют процессор: управлять перемещением пучка по сканируемой поверхности мишени вдоль пятого пути, при этом пятый путь может включать в себя первый рисунок в пятой радиальной ориентации, отличающейся от первой, второй, третьей и четвертой радиальных ориентаций. Первая, вторая, третья, четвертая и пятая радиальные ориентации отличаются на 72 градуса. Множество инструкций, будучи исполняемыми процессором, дополнительно заставляют процессор: управлять перемещением пучка по сканируемой поверхности мишени вдоль шестого пути, при этом шестой путь может включать в себя первый рисунок в шестой радиальной ориентации, отличающейся от первой, второй, третьей, четвертой и пятой радиальных ориентаций. Первая, вторая, третья, четвертая, пятая и шестая радиальные ориентации отличаются на 60 градусов. Пучок может представлять собой пучок протонов. Сканируемая поверхность может представлять собой поверхность литиевого слоя или бериллиевого слоя. Мишень генерирует нейтроны при сканировании. Пучок может включать в себя круглый профиль. Пучок может включать в себя эллиптический профиль. Пучок может включать в себя кольцевой профиль. Пучок может включать в себя полый профиль. Операции выполняются при бор-нейтронозахватной терапии (БНЗТ). Пучок может быть сгенерирован посредством пучковой системы, включающей в себя: источник ионов, первый тракт пучка, соединенный с источником ионов, тандемный ускоритель, соединенный с первым трактом пучка, второй тракт пучка, соединенный с тандемным ускорителем, и мишень, соединенную со вторым трактом пучка. Первый рисунок подвергает большую часть сканируемой поверхности воздействию пучка. Второй путь формирует первый рисунок во второй радиальной ориентации, отличающейся от первой радиальной ориентации.
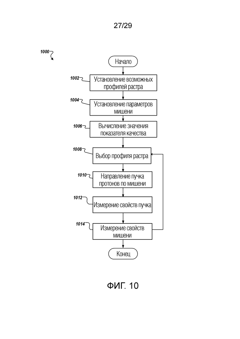
[0009] В другом аспекте этот документ описывает реализуемый компьютером способ для выбора профиля растра для сканирования пучка протонов по мишени, причем способ включает в себя: установление с использованием компьютерной системы обработки множества возможных профилей растра для сканирования пучка протонов по мишени, причем каждый из упомянутого множества возможных профилей растра включает в себя один или более параметров пучка, причем каждый из упомянутых одного или более параметров пучка характеризует свойство пучка протонов, и один или более параметров пути, характеризующих путь пучка протонов по мишени, установление с использованием компьютерной системы обработки одного или более параметров мишени, характеризующих мишень, вычисление с использованием компьютерной системы обработки значения показателя качества для каждого из возможных профилей растра пучка, при этом показатель качества может быть основан на тепловом нагружении мишени пучком протонов для соответствующего возможного профиля растра, выбор с использованием компьютерной системы обработки профиля растра из упомянутого множества возможных профилей растра на основании значения показателя качества и направление пучка протонов по мишени согласно выбранному профилю растра. Вычисление значений для показателя качества может включать в себя для каждого из возможных профилей растра вычисление тепловой нагрузки в каждой из множества дискретных частей мишени на основании линейной взаимосвязи между тепловой нагрузкой и потоком протонов в каждой дискретной части для соответствующего профиля растра. Каждая дискретная часть соответствует площади поверхности мишени на пути пучка протонов, которая может быть меньше размера пучка протонов. Тепловая нагрузка в каждой дискретной части может быть вычислена на основе теплопередачи через глубину мишени в направлении от поверхности мишени, на которую может падать пучок протонов. Показатель качества может быть выбран из группы, состоящей из: пиковой температуры мишени, изменения температуры мишени, средней температуры мишени и эффективности использования мишени. Упомянутый один или более параметров пучка выбираются из группы, состоящей из: размера пучка, формы пучка и структуры пучка. Размер пучка может составлять в диапазоне от 10 мм до 30 мм. Форма пучка может быть круглой или эллиптической. Структура пучка может быть круглой или кольцевой. Упомянутый один или более параметров пути могут быть выбраны из группы, состоящей из: частоты, связанной с путем пучка протонов, линейной скорости пучка протонов по поверхности мишени, числа слоев радиального сканирования в суперцикле пути пучка протонов и числа суперциклов пути пучка протонов. Упомянутый один или более параметров мишени выбираются из группы, состоящей из: площади поверхности мишени, толщины мишени и состава мишени. Мишень может включать в себя слой лития или слой бериллия. Мишень может включать в себя слой металла, поддерживающий слой лития или слой бериллия. Выбор может включать в себя выдачу оператору пучка протонов списка возможных профилей растра и прием через компьютерную систему выбора из списка оператором. Операции дополнительно могут включать в себя измерение одного или более свойств мишени и выбор профиля растра на основании измеренного свойства мишени. Упомянутое одно или более свойств мишени содержат температуру мишени в одном или более местоположений на мишени. Операции дополнительно могут включать в себя измерение одного или более свойств пучка и выбор профиля растра на основании измеренного свойства пучка. Упомянутое одно или более свойств пучка измеряются выше по ходу пучка от мишени. Выбранный профиль растра задает путь для пучка протонов, имеющий минимальную задержку между последовательными подверганиями одного местоположения мишени воздействию пучка протонов, которая превышает пороговый период. Выбранный профиль растра задает путь на основе трохоидной формы. Трохоидная форма может включать в себя множество лепестков. Угловая частота пучка протонов варьируется для различных лепестков трохоидной формы. Выбранный профиль растра может включать в себя варьирующуюся угловую скорость пучка протонов на поверхности мишени. Выбранный профиль растра может включать в себя варьирующуюся линейную скорость пучка протонов по поверхности мишени.
[0010] В другом аспекте этот документ описывает реализуемый компьютером способ, включающий в себя: мониторинг температуры мишени при сканировании пучка протонов по поверхности мишени согласно первому профилю растра и на основании отслеживаемой температуры изменение сканирования с первого профиля растра на второй профиль растра, при этом второй профиль растра и первый профиль растра приводят к отличающимся профилям нагрева мишени согласно компьютерной модели теплового нагружения мишени при первом и втором профилях растра. Сканирование может быть изменено в ответ на выбор второго профиля растра из множества профилей растра человеком-оператором пучка протонов. Сканирование может быть изменено автоматически согласно алгоритму с прямой связью или с обратной связью. Температура может отслеживаться во множестве дискретных местоположений мишени. Температура может отслеживаться посредством получения теплового изображения мишени.
[0011] В другом аспекте этот документ описывает способ работы пучка, включающий в себя сканирование пучка заряженных частиц по сканируемой поверхности мишени в суперцикле, при этом суперцикл может включать в себя множество циклов, причем каждый цикл из упомянутого множества циклов имеет одинаковую форму и различную азимутальную ориентацию, при этом упомянутое множество циклов конкатенируются между собой так, что путь пучка заряженных частиц проходит по упомянутому множеству циклов в замкнутом контуре. Упомянутое множество циклов могут включать в себя два цикла, азимутально смещенные на 180 градусов друг от друга. Упомянутое множество циклов могут включать в себя три цикла, азимутально смещенные на 120 градусов друг от друга. Упомянутое множество циклов могут включать в себя четыре цикла, азимутально смещенные на 90 градусов друг от друга.
[0012] Другие системы, способы, признаки и преимущества изобретения, описанные здесь, должны становиться очевидными специалистам в данной области техники после изучения прилагаемых чертежей и подробного описания. Подразумевается, что все такие дополнительные системы, способы, признаки и преимущества включены в рамки этого описания, находятся в пределах объема предмета изобретения, описанного в данном документе, и защищаются посредством прилагаемой формулы изобретения. Никоим образом признаки примерных вариантов осуществления не должны истолковываться в качестве ограничения прилагаемой формулы изобретения, при отсутствии специального перечисления этих признаков в формуле изобретения.
Краткое описание чертежей
[0013] Подробности предмета изобретения, изложенного в данном документе, как в отношении его структуры, так и в отношении его работы, могут быть очевидными посредством исследования прилагаемых чертежей, на которых аналогичные ссылки с номерами означают аналогичные части. Компоненты на чертежах не обязательно должны быть нарисованы в масштабе, причем акцент вместо этого ставится на иллюстрации принципов изобретения. Более того, все иллюстрации предназначены для того, чтобы передавать общие идеи, при этом относительные размеры, формы и другие подробные атрибуты могут иллюстрироваться схематично, а не буквально или точно.
[0014] Фиг. 1A является схематичным видом примерного варианта осуществления нейтронно-пучковой системы в соответствии с настоящим раскрытием.
[0015] Фиг. 1B является схематичным видом примерного варианта осуществления нейтронно-пучковой системы для использования при бор-нейтронозахватной терапии (БНЗТ).
[0016] Фиг. 2A является видом в перспективе примерного варианта осуществления мишени.
[0017] Фиг. 2B является видом в поперечном сечении вдоль линии 2B-2B с фиг. 2A.
[0018] Фиг. 2C является видом в поперечном сечении другого примерного варианта осуществления мишени.
[0019] Фиг. 3A является схематичным видом примера пути пучка, который формирует первый рисунок в соответствии с настоящим предметом изобретения.
[0020] Фиг. 3B-3C являются схематичными видами примерных путей пучка с эллиптическими и круглыми профилями сечения пучка соответственно.
[0021] Фиг. 4A-4G являются примерными вариантами осуществления профилей сканирования, имеющих множество экземпляров рисунка пучка, повторяющегося в различных радиальных ориентациях.
[0022] Фиг. 5A и 5B являются примерами компьютерных моделей, включающих в себя мишень в соответствии с настоящим раскрытием.
[0023] Фиг. 6A-6D являются примерами моделируемых тепловых карт в соответствии с настоящим раскрытием.
[0024] Фиг. 7A-7F являются примерами рисунков избегания недавних путей (RPA).
[0025] Фиг. 8A и 8B являются примерами смоделированных граничных температурных карт и карт использования.
[0026] Фиг. 9A-9J являются примерами результатов моделирования в соответствии с вариантами осуществления по настоящему раскрытию.
[0027] Фиг. 10 является блок-схемой последовательности операций способа, иллюстрирующей примерный процесс, который может быть выполнен в соответствии с вариантами осуществления по настоящему раскрытию.
[0028] Фиг. 11 является примерной системой, которая может быть реализована в соответствии с настоящим раскрытием.
[0029] Фиг. 12 является схематичной иллюстрацией примерных компьютерных систем, которые могут быть использованы для того, чтобы выполнять варианты осуществления по настоящему раскрытию.
[0030] Аналогичные ссылки с номерами на различных чертежах указывают аналогичные элементы.
Подробное описание изобретения
[0031] Прежде чем подробно описывать настоящий предмет изобретения, следует понимать, что это раскрытие сущности не ограничено конкретными описанными вариантами осуществления, поскольку они, конечно, могут варьироваться. Также следует понимать, что терминология, используемая в данном документе, служит только для цели описания конкретных вариантов осуществления и не имеет намерение ограничивать объем настоящего раскрытия, который ограничен только посредством прилагаемой формулы изобретения.
[0032] Термин «частица» используется широко в данном документе и, если не ограничивается в иных отношениях, может использоваться для того, чтобы описывать электрон, протон (или H+-ион) или нейтрон, а также частицы, имеющие более одного электрона, протона и/или нейтрона (например, другие ионы, атомы и молекулы).
[0033] Примерные варианты осуществления систем, устройств и способов описываются в данном документе для путей пучка вдоль поверхности мишени или используемых в комбинации с пучковой системой (например, включающей в себя ускоритель частиц). Варианты осуществления, описанные в данном документе, могут использоваться с любым типом ускорителя частиц либо в любом варианте применения ускорителя частиц, предусматривающем получение пучка заряженных частиц при указанных энергиях для подачи в ускоритель частиц. Варианты осуществления в данном документе могут использоваться во множестве вариантов применения, пример которых задается в качестве нейтронно-пучковой системы для генерации пучка нейтронов для использования при бор-нейтронозахватной терапии (БНЗТ). БНЗТ использует пучок эпитермальных нейтронов (например, с энергетическим спектром в пределах 3-30 килоэлектронвольт) для лечения рака. В некоторых вариантах осуществления эпитермальные нейтроны (например, пучки эпитермальных нейтронов) генерируются на основе ядерных реакций протонов (например, пучка протонов) с бериллиевой мишенью либо с литиевой мишенью.
[0034] Пучок протонов может генерироваться ускорителем частиц, таким как тандемный ускоритель. Например, тандемный ускоритель может представлять собой электростатический ускоритель, который использует двухэтапное ускорение заряженных частиц с использованием одного контактного вывода высокого напряжения. Высокое напряжение может использоваться для того, чтобы генерировать электрическое поле, которое прикладывается к входящему пучку отрицательно заряженных ионов, чтобы ускорять его к центру ускорителя. Центр тандемного ускорителя может быть выполнен с возможностью преобразовывать пучок отрицательно заряженных ионов в пучок протонов в процессе обмена зарядами. Параметры пучка протонов, такие как размер пучка, форма пучка и структура пучка могут варьироваться, чтобы оптимизировать использование мишени относительно локализованного нагрева мишени.
[0035] Для простоты описания множество вариантов осуществления, описанных в данном документе, в силу этого должны выполняться в контексте сканирования пучка протонов по мишени, чтобы сгенерировать пучок нейтронов для использования в БНЗТ, хотя варианты осуществления не ограничены этим и могут применяться к сканированию других пучков заряженных частиц, к генерированию пучков, отличных от пучков нейтронов, и к вариантам использования за рамками БНЗТ-вариантов применения. Мишень может поддерживаться в фиксированном (неварьирующемся) положении при сканировании пучка протонов по поверхности мишени. Альтернативно, мишень может перемещаться (например, вращаться) в то время, когда пучок протонов сканируют по поверхности мишени. Оба подхода описываются в данном документе. Варианты осуществления, связанные со сканированием (растеризацией) пучков заряженных частиц, описываются главным образом в контексте фиксированной мишени; тем не менее, все такие варианты осуществления могут быть выполнены с возможностью использования в подходе, в котором мишень перемещается.
[0036] Фиг. 1A иллюстрирует схематичный вид примерного варианта осуществления системы 100 для использования в БНЗТ в соответствии с настоящим раскрытием. Система 100 включает в себя пучковую систему 102, выполненную с возможностью генерировать пучок 104 протонов, и мишень 196, которая сканируется посредством пучка протонов 104, чтобы сгенерировать пучок 106 нейтронов, который направлен к пациенту 108. Пучковая система 102 включает в себя источник 122 заряженных частиц, низкоэнергетический тракт 190 пучка (LEBL), ускоритель 140 и высокоэнергетический тракт 150 пучка (HEBL). Ускоритель 140 соединен с низкоэнергетическим трактом 190 пучка (LEBL) и выполнен с возможностью ускорять пучок заряженных частиц (протонов). Высокоэнергетический тракт 150 пучка (HEBL) простирается из ускорителя 140 в узел 110 мишени, вмещающий мишень 196, на которую может быть направлен пучок заряженных частиц. LEBL 190 выполнен с возможностью транспортировать пучок из источника 122 в ускоритель 140. Ускоритель 140 выполнен с возможностью ускорять пучок. HEBL 150 переносит пучок 104 из вывода ускорителя 140 в мишень 196. В некоторых вариантах осуществления HEBL 150 переносит пучок 104 в мишень 196 через камеру с мишенью узла 110 мишени. Пучок 104 может представлять собой пучок отрицательно заряженных частиц или пучок положительно заряженных частиц. Мишень 196 может представлять собой устройство, которое преобразует пучок 104 заряженных частиц в другой тип пучка 106 частиц, такой как пучок нейтральных частиц, может представлять собой обрабатываемую деталь или другое тело, на которое пучок заряженных частиц направляется для полезной цели, такое как облучаемая мишень пациента 108.
[0037] Фиг. 1B является схематичным видом, иллюстрирующим примерный вариант осуществления пучковой системы 102, выполненной в качестве нейтронно-пучковой системы для использования в БНЗТ. Пучковая система 102 включает в себя систему 120 предварительного ускорителя, формирующую по меньшей мере часть LEBL, причем система 120 предварительного ускорителя служит в качестве инжектора пучка заряженных частиц, тандемный высоковольтный (HV) ускоритель 140, соединенный с системой 120 предварительного ускорителя, и высокоэнергетический тракт 150 пучка, простирающийся из тандемного HV ускорителя 140 в узел 110 нейтронной мишени, вмещающий мишень 196 для производства нейтронов, как описано со ссылкой на фиг. 1A. Пучковая система 102, как и система 120 предварительного ускорителя, также может использоваться в других вариантах применения, такая как досмотр грузов, и варианты применения не ограничены БНЗТ.
[0038] Система 120 предварительного ускорителя (также называемая в данном документе «инжектором пучка заряженных частиц» или «инжектором пучка ионов») может быть выполнена с возможностью передавать пучок ионов из источника 122 ионов во ввод (например, во входную апертуру) тандемного HV ускорителя 140. Система 120 предварительного ускорителя может включать в себя источник 122 ионов (например, источник отрицательных ионов), турбомолекулярный насос 124 (например, вакуумную камеру источника ионов для удаления газа), трубку 126 предварительного ускорителя и откачиваемую насосом камеру 128. В некоторых вариантах осуществления источник 122 пучка может включать в себя источник отрицательных ионов. Система 120 предварительного ускорителя может быть выполнена с возможностью обеспечивать ускорение частиц пучка до энергетических уровней, требуемых для тандемного HV ускорителя 140, и обеспечивать полную сходимость отрицательного пучка ионов так, что он совпадает с площадью входной апертуры во входной апертуре или входе тандемного HV ускорителя 140. Система 120 предварительного ускорителя может быть выполнена с возможностью минимизировать или дефокусировать противоток по мере того, как он проходит из тандемного HV ускорителя 140 в систему 120 предварительного ускорителя, с тем чтобы уменьшать вероятность повреждения источника 122 ионов и/или противотока, достигающего нитей источника 122 ионов.
[0039] Тандемный HV ускоритель 140 запитывается посредством источника 142 питания высокого напряжения, соединенного с ним. Тандемный HV ускоритель 140 включает в себя вакуумный бак, зарядово-обменную мишень, ускоряющие электроды и проходник высокого напряжения. Тандемный HV ускоритель 140 может, в некоторых вариантах осуществления ускорять водородный пучок, чтобы получить пучок протонов с энергией, в общем, в два раза превышающей напряжение, прикладываемое к ускоряющим электродам, расположенным в тандемном HV ускорителе 140. Энергетический уровень пучка протонов может достигаться посредством ускорения пучка отрицательных ионов водорода из ввода тандемного HV ускорителя 140 в крайний внутренний электрод с высоким потенциалом, обдирки двух электронов из каждого иона и затем ускорения полученных в результате протонов ниже посредством одинаковых напряжений, встречающихся в обратном порядке.
[0040] Высокоэнергетический тракт 150 пучка может передавать пучок протонов из вывода тандемного HV ускорителя 140 в генерирующую нейтроны мишень 196 в узле 110 нейтронной мишени, расположенном на конце ветви 170 тракта пучка, входящей в процедурный кабинет для пациентов.
[0041] Пучковая система 102 может быть выполнена с возможностью направлять пучок протонов в одну или более мишеней 196 и связанных зон мишени. В некоторых вариантах осуществления высокоэнергетический тракт 150 пучка включает в себя множество ветвей 170, 180 и 190 (например, три), выполненных с возможностью простираться в несколько различных процедурных кабинетов для пациентов. Ветви 180 и 190 могут содержать узлы мишени, аналогичные ветви 170. Высокоэнергетический тракт 150 пучка включает в себя откачиваемую насосом камеру 151, квадрупольные магниты 152 и 172, с тем чтобы предотвращать дефокусировку пучка, дипольные или отклоняющие магниты 156 и 158, с тем чтобы отклонять пучок к одной или более мишеней, корректоры 153 пучка, диагностические средства, такие как мониторы 154 и 176 тока, секцию быстрого монитора 155 положения пучка и сканирующий магнит 174.
[0042] Пучковая система 102 может использовать одну или более систем 1101 управления, с которыми могут обмениваться данными одно или более вычислительных устройств 1102 для того, чтобы взаимодействовать с системами и компонентами пучковой системы 102 (например, нейтронно-пучковой системы 102). В некоторых вариантах осуществления вычислительное устройство 1102 выполнено с возможностью исполнять вычислительную модель, которая обеспечивает выбор профиля растра, как описано со ссылкой на фиг. 5A и 5B. Вычислительное устройство 1102 выполнено с возможностью принимать пользовательский ввод, включающий в себя выбор одного или более параметров процесса сканирования мишени. Параметры могут задавать профиль растра, включающий в себя путь пучка, ориентацию сформированного пучка относительно сканируемой поверхности мишени, профиль сечения пучка и скорость пучка. Параметры могут задавать характеристики мишени, такие как вращение мишени 196 (например, угловая скорость мишени). Путь растра при использовании в данном документе не подразумевает конкретного пути пучка (например, перемещение только в ортогональных направлениях). В некоторых вариантах осуществления вычислительные устройства 1102 выполнены с возможностью принимать сигнал в реальном времени, измеренный посредством датчика 121 или термокамеры 123, который используется для того, чтобы регулировать в реальном времени профиль растра с использованием адаптируемой программы сканирования, чтобы избегать локального перегрева мишени 196 (например, с поддержанием локальной температуры ниже температуры плавления лития в 180°C). Один или более тепловых датчиков 121 могут детектировать локализованную температуру, соответствующую части мишени. Термокамера 123 может быть выполнена с возможностью генерировать сигнал, который может обрабатываться, чтобы генерировать температурную карту мишени 196. Вычислительное устройство 1102 может быть выполнено с возможностью обрабатывать принимаемый ввод и генерировать набор параметров сканирования, которые передаются в одну или более систем 1101 управления, чтобы управлять процессом сканирования мишени.
[0043] Конструкция высокоэнергетического тракта 150 пучка зависит от конфигурации лечебного учреждения (например, одноэтажной конфигурации лечебного учреждения, двухэтажной конфигурации лечебного учреждения и т.п.). Пучок может доставляться в узел 110 мишени (например, расположенный около процедурного кабинета, имеющего пациента 108) с использованием отклоняющего магнита 156. Могут содержаться квадрупольные магниты 172, чтобы затем фокусировать пучок как определенный размер на мишени. Пучок может проходить через один или более сканирующих магнитов 174, что обеспечивает поперечное перемещение пучка по поверхность мишени в требуемом рисунке (например, в спиральном, искривленном, ступенчатом в рядах и колонках, в их комбинациях и т.п.). Поперечное перемещение пучка может обеспечивать генерирование сглаженного и равномерного усредненного во времени распределения пучка протонов на мишени 196, предотвращая перегрев мишени 196 и обеспечивая максимально возможную равномерность генерирования частиц (например, нейтронов) в слое 201 мишени (например, в литиевом слое).
[0044] Сканирующие магниты 174 могут быть выполнены с возможностью направлять пучок в монитор 176 тока, который измеряет ток пучка. Значение тока пучка, измеренное посредством монитора 176 тока, может использоваться для того, чтобы управлять защитной блокировкой. Узел 110 мишени может быть физически отделен от объема высокоэнергетического тракта пучка с помощью запорного клапана 177. Функция запорного клапана 177 заключается в том, чтобы отделять вакуумный объем тракта пучка от мишени 196 во время замены/загрузки мишени. В некоторых вариантах осуществления пучок, вместо отклонения на 90 градусов посредством отклоняющего магнита 156, может быть направлен прямо вправо, чтобы входить в квадрупольные магниты 152, которые расположены в горизонтальном тракте пучка. Пучок может отклоняться посредством другого отклоняющего магнита 158 на предварительно установленный угол, в зависимости от требования окружения (например, местоположения пациента или конфигурации кабинета). В некоторых вариантах осуществления отклоняющий магнит 158 может размещаться с разбиением в тракте пучка и может быть выполнен с возможностью направлять пучок в одном из двух направлений для двух различных процедурных кабинетов, расположенных на одном этаже медицинского учреждения.
[0045] Фиг. 2A является видом в перспективе мишени 196, и фиг. 2B является видом в поперечном сечении собой вид в поперечном сечения мишени 196, иллюстрирующий каналы охлаждения. В этом варианте осуществления мишень 196 является дискообразной, в общем, с круглым внешним профилем. В целом мишень 196 включает в себя один или более слоев 201 мишени, поддерживаемых подложкой 203. Сторона подложки 203 включает в себя каналы 204 для хладагента. Сканируемая поверхность 210 присутствует на слое 201 мишени, которая представляет собой поверхность слоя 201 мишени, которая может сканироваться посредством пучка протонов для того, чтобы производить нейтроны. Слои 201 мишени включают в себя слой нейтронного источника, к примеру, слой лития, бериллия либо другого подходящего материала, который взаимодействует с пучком 104 протонов для того, чтобы производить поток нейтронов. Толщина и состав одного или более слоев 201 мишени могут варьироваться в зависимости от свойств пучка протонов и требуемого потока нейтронов. Например, литиевый слой мишени может иметь толщину в диапазоне приблизительно от 10 микронов (мкм) приблизительно до 400 мкм. Слой 201 мишени может прилипать к подложке 203 через тепловую связь.
[0046] Подложка 203 может включать в себя один или более слоев меди, алюминия, нержавеющей стали, титана и/или молибдена. Слой 201 мишени, включающий в себя реактивный металл, может формировать амальгаму с подложкой 203. Характеристики мишени 196 (например, толщина слоя, состав и тип связи) связаны с началом появления пузырей при конкретных уровнях доз частиц в расчете на поверхность мишени.
[0047] Каналы 204 могут использоваться для того, чтобы обеспечивать циркуляцию хладагента по задней стороне подложки 203 в ходе работы системы 100, чтобы рассеивать тепло, произведенное поглощением кинетической энергии в силу замедления в подложке 203 протонов, которые не участвуют в реакции. Альтернативно или дополнительно, хладагент может обеспечиваться в качестве жидкостной камеры в контакте с по меньшей мере частью подложки 203. Например, каналы для хладагента могут быть сформированы в виде сквозных отверстий с колпачком, которые пересекают подложку 203 и задают замкнутые проходы для жидкости с множеством различных геометрий (например, с круглыми или прямоугольными поперечными сечениями) и размеров (например, с диаметрами поперечного сечения в пределах приблизительно от 0,5 миллиметров (мм) приблизительно до 3 мм).
[0048] Мишень 196 может поддерживаться посредством опорной конструкции (например, вала 111 или основания 112). Опорная конструкция может быть выполнена с возможностью поддерживать мишень 196 в фиксированном положении или вращать мишень 196 по часовой стрелке 114 или против часовой стрелки (CCW) в вертикальной плоскости, включающей в себя вертикальную ось 116, которая номинально является перпендикулярной оси пучка. Пучок 104 частиц может быть динамически направлен к мишени 196 согласно конкретному рисунку (например, согласно спиральному, искривленному, ступенчатому в рядах и колонках, их комбинациям и т.п.), который может изменяться во времени. Рисунок может повторяться с данной частотой. В некоторых вариантах осуществления как мишень 196, так и пучок 104 перемещаются относительно оси пучка в ходе работы, так что сегменты вращающейся мишени 196 могут последовательно контактировать с пучком 104 для того, чтобы формировать рисунок сканирования, как подробно описано со ссылкой на фиг. 3A-3C, 4A-4G и 7A-7F. В результате взаимодействия пучка 104 со слоем 201 мишени (например, со слоем нейтронного источника), пучок 106 (например, пучок нейтронов) генерируется и направляется (например, через коллиматор либо другую конструкцию для придания формы пучку) к зоне лечения пациента 108.
[0049] Фиг. 2C является видом в поперечном сечении другого примерного варианта осуществления, в котором мишень 196 включает в себя промежуточный слой 202, расположенный между слоем 201 мишени и подложкой 203 мишени. Промежуточный слой 202 может уменьшать вероятность образования пузырей в мишени 196 вследствие попадания пучка. Промежуточный слой 202 может состоять из теплопроводящих материалов, которые являются стойкими к появлению пузырей, таких как тантал.
[0050] В ходе работы пучковой системы 102 пучок 104 протонов направляется на сканируемую поверхность 210 мишени 196. Чтобы избегать перегрева, пучок 104 протонов перемещается на высокой скорости в двух или более направлениях (например, X и Y) по поверхности 210, что представляет собой процесс, называемый «сканированием». Путь, по которому пучок проходит по поверхности 210, определяет количество тепла, которое возникает в различных местоположениях на поверхности 210, и относительные разности в нагрузке по концентрации частиц на мишени 196. Путь пучка может соответствовать возможностям системы охлаждать мишень 196 и возможности мишени 196 выдерживать расхождения в нагрузке по концентрации частиц.
[0051] Фиг. 3A является схематичным видом, иллюстрирующим примерный рисунок 300, сформированный посредством пути 301, по которому пучок проходит по поверхности 210. Внешняя граница сечения пучка указывается посредством профиля 320 сечения, который в этом примере является круглым. Рисунок 300 пути 301 является искривленным с множеством контуров или орбит, создаваемым по мере того, как пучок продвигается из внешней области поверхности 210 во внутреннюю область и затем обратно снова во внешнюю область. Путь 301 пучка включает в себя начальное местоположение A и конечное местоположение O. Местоположения A, O могут представлять собой одинаковое одно местоположение или различные местоположения. В некоторых вариантах осуществления начальное и конечное местоположения A, O могут представлять собой одинаковое положение либо находиться в непосредственной близости друг к другу (например, смежные положения или положения в пределах диаметра в один пучок друг от друга).
[0052] Путь 301 начинается в местоположении A и продвигается CCW-способом, указываемом посредством стрелки B. Путь 301 продолжается спирально внутрь (например, с постоянно снижающимся радиусом), как указано посредством стрелок C, D, E, F, G и H. Стрелка H указывает вход пути 301 пучка в орбиту с наименьшим радиусом до достижения местоположения I, которое помечает положение, в котором радиус пути пучка переходит от постоянно снижающегося радиуса к постоянно увеличивающемуся радиусу. Другими словами, в местоположении I, путь 301 пучка начинает переходить из внутренней области поверхности 210 обратно к внешней области. Стрелка J указывает путь 301 пучка из местоположения I против часовой стрелки спирально наружу (например, с постоянно увеличивающимся радиусом), как указано посредством стрелок K, L, M и N, до достижения конечного местоположения O. В этой точке путь 301 завершает переход из внешней области во внутреннюю область и обратно во внешнюю область поверхности 210. Путь с по меньшей мере одной орбитой вокруг центральной точки, который имеет начальное и конечное местоположение на одинаковом расстоянии (или радиусе) от центральной точки и который проходит между минимальным расстоянием (или радиусом) от центральной точки и максимальным расстоянием (или радиусом) от центральной точки, называется «циклом». Начальное и конечное местоположения могут находиться на любом расстоянии между (и включающим в себя) минимальным расстоянием и максимальным расстоянием. В этом случае, один цикл формирует замкнутый контур таким образом, что конечное местоположение O находится практически в или смежно с начальным местоположением A.
[0053] Рисунок 300 может покрывать большую часть площади поверхности сканируемой поверхности 210 мишени. В этом примере профиль 320 пучка является достаточно большим так, что площадь поверхности 210, с которой сталкивается пучок, должна перекрываться по мере того, как пучок переходит через каждую орбиту. Другими словами, ширина профиля 320 пучка, измеряемая перпендикулярно к направлению хода пучка, больше расстояния между смежными орбитами. Рисунок 300 является симметричным вдоль оси 330 так, что первая половина 332 рисунка 300 представляет собой зеркальное изображение второй половины 334 рисунка 300. Часть снаружи вовнутрь пути 301 из местоположения A в местоположение I представляет собой зеркальное изображение части изнутри наружу пути 301 из местоположения I в местоположение O.
[0054] Хотя путь 301 описывается как переходящий CCW-способом из внешней области во внутреннюю область и обратно, варианты осуществления, описанные в данном документе, не ограничены этим. Например, в некоторых вариантах осуществления пучок может использовать путь, который следует вращению по часовой стрелке (CW), начинаясь во внутренней области, переходя во внешнюю область и затем обратно во внутреннюю область (один цикл). Путь 301 может завершать весь цикл или только часть цикла, например, заключающую в себе переход из внутренней области во внешнюю область или наоборот.
[0055] Фиг. 3B и 3C являются схематичными видами, иллюстрирующими примеры различных заданных путей с различными профилями сечения пучка. На фиг. 3B, эллиптический (например, овальный) профиль 342 пучка, имеющий больший размер X, чем размер Y, следует по пути 341, имеющему такой размер, что профили сечения пучка смежных орбит касаются, но не перекрываются при совмещении вдоль центральной оси X. При постоянном разнесении между орбитами, пучок должен оставлять промежутки, что является наиболее очевидным при совмещении вдоль оси Y. Чтобы покрывать полную площадь с минимальным уровнем подвергания воздействию, полный путь должен задаваться эллиптическим с соотношением сторон, аналогичным профилю 342, с меньшим общим размером Y, чем размер X. Фиг. 3C показывает пример с круглым профилем 352 сечения по пути 351. При том, что промежутки не существуют на фиг. 3C, число орбит больше (немного больше 4, по сравнению с 3,75 для фиг. 3B).
[0056] Фиг. 4A-4B являются схематичными видами, иллюстрирующими примерный вариант осуществления профиля 400 сканирования (или растра), сформированного посредством цикла 405, сканированного множество раз в различных радиальных ориентациях, чтобы сформировать группу радиально сдвинутых экземпляров цикла. В этом варианте осуществления каждый экземпляр цикла 405 имеет одинаковый рисунок и конечное местоположение, которое отличается от начального местоположения этого экземпляра цикла 405. Фиг. 4A иллюстрирует цикл 405, сформированный посредством пути пучка 406, в котором начальное положение A и конечное положение O находятся в различных местоположениях, которые, в этом примере, смещаются на 180 градусов. Цикл 405 является вращающимся или тактируемым для повторения в различных радиальных ориентациях, чтобы формировать замкнутый контур.
[0057] Профиль 400 сканирования проиллюстрирован на фиг. 4B. Здесь, профиль 400 сканирования включает в себя два экземпляра цикла 405 с разностью 180 градусов в радиальной ориентации между собой. Первый экземпляр цикла 405 показан посредством пути 401, который проиллюстрирован с начальным местоположением A1, средней точкой I1 и конечным местоположением O1 в одинаковых положениях, как показано на фиг. 4A. Второй экземпляр цикла 405 показывается посредством пути 402, который имеет начальное местоположение A2, среднюю точку I2 и конечное местоположение O2. Путь 402 имеет такую же форму, что и путь 401, но вращается (или тактируется) на 180 градусов. Например, тактирование вперед может быть реализовано посредством равномерного продвижения вперед преобразованной тета-координаты по циклу A1-O1, так что O1 заканчивается на 180 градусов от A1. Каждое местоположение на пути 401 радиально смещается от одинакового или соответствующего положения на следующем пути 402 в последовательности на одинаковую радиальную величину. Каждое из местоположений A2, I2 и O2 показывается в положениях на 180 градусов от A1, I1 и O1, соответственно. В этом и в других вариантах осуществления, описанных в данном документе, тактирование циклов может выполняться в CW- или CCW-направлении.
[0058] Конечное местоположение первого цикла (например, O1) находится в или смежно с начальным местоположением непосредственно последующего сдвинутого цикла (например, A2), так что пучок может перемещаться непрерывным способом из экземпляра цикла 405 в следующий. Начальное местоположение A1 первого цикла (например, пути 401) и конечное местоположение O2 последнего цикла группы (например, пути 402) являются практически одинаковыми или смежными друг с другом. Таким образом, профиль, сформированный посредством группы из двух или более радиально сдвинутых циклов, имеет одинаковое (или смежные) начальное и конечное местоположения и формирует замкнутый контур. Группа из двух или более циклов, имеющих одинаковый рисунок, в котором каждый цикл имеет начальное расположение и конечное местоположение на одинаковом расстоянии (или радиусе) от центральной точки и каждого цикла, является вращающейся в такой ориентации, что смежные циклы могут конкатенироваться между собой с возможностью формировать замкнутый контур для группы, называется в данном документе «суперциклом». Сканирование мишени 196 может заключать в себе перемещение пучка через первый цикл в первой радиальной ориентации (например, через путь 401), затем перемещение пучка через одинаковый цикл по меньшей мере еще раз (например, через путь 402), но с последующим циклом в радиальной ориентации, отличающейся от радиальной ориентации первого цикла. Этот процесс повторяется до тех пор, пока суперцикл не завершается, причем в это время процесс сканирования повторяется. Процесс сканирования может непрерывно повторяться до тех пор, пока общая процедура, например, БНЗТ-лечение не завершается.
[0059] Термины «радиальная ориентация», «радиальный сдвиг» и «радиальное смещение» используются в данном документе для того, чтобы описывать цикл, который, в целом, может вращаться (или тактироваться) вокруг центральной точки без изменения фундаментальной формы цикла. Например, на фиг. 4A, цикл 405 имеет первую радиальную ориентацию, указываемую посредством пути 401. Цикл 405 затем радиально (периферийно) сдвигается на 180 градусов во вторую радиальную ориентацию, указываемую посредством пути 402. Радиальное смещение между двумя экземплярами 401, 402 цикла 405 составляет 180 градусов. Характеризация может аналогично выражаться посредством подстановки термина «азимутальный» вместо «радиальный» (например, азимутальная ориентация, азимутальный сдвиг и азимутальное смещение). Например, значение тета может задавать положение азимута вокруг центральной точки по сканируемой поверхности (аналогично часовой стрелке часов, в которой азимут в трехчасовом положении соответствует тета в 90 градусов, в шесть часов составляет тета в 180 градусов, в девять часов составляет тета в 270 градусов и т.д.), и положения циклов могут выражаться со ссылкой на тету и азимут.
[0060] Фиг. 4C и 4D являются схематичными видами, иллюстрирующими цикл 415, который повторяется четыре раза с разностью 90 градусов в радиальной ориентации между смежными экземплярами, чтобы формировать другой пример профиля 400 сканирования. На фиг. 4C, цикл 415 формируется посредством пути 411 пучка, который начинается в местоположении A1 и продвигается CCW-способом в среднюю точку I1 во внутренней области поверхности 210 и затем обратно во внешнюю область в конечном местоположении O1. Конечное местоположение O1 радиально смещается CCW от начального местоположения A1 на 90 градусов, что составляет идентичную величину радиального смещения, которое присутствует между циклами 415 этого профиля 400. Фиг. 4D иллюстрирует второй экземпляр цикла 415, указываемого посредством пути 412, имеющего начальное местоположение A2, среднюю точку I2 и конечное местоположение O2. Фиг. 4E является идентичным фиг. 4D, но с добавленным третьим экземпляром цикла 415, как указано посредством пути 413, имеющего начальное местоположение A3, среднюю точку I2 и конечное местоположение O3. Фиг. 4F является идентичным фиг. 4E, но с добавленным четвертым экземпляром цикла 415, как указано посредством пути 414, имеющего начальное местоположение A4, среднюю точку I4 и конечное местоположение O4, чтобы сформировать завершенный суперцикл профиля 400 сканирования. Когда этот вариант осуществления профиля 400 сканирования используется, пучок переходит через путь 411, затем через путь 412, затем через путь 413, и после этого через путь 414, с тем чтобы завершать суперцикл, и этот суперцикл затем может повторяться непрерывно по всей процедуре.
[0061] В примере, проиллюстрированном посредством фиг. 4G, профиль 400 сканирования представляет собой суперцикл, включающий в себя три экземпляра 421, 422, 423 одинакового цикла, но с разностью в 120 градусов в радиальной ориентации между смежными экземплярами. Цикл с фиг. 4G модифицирован относительно цикла с фиг. 4A так, чтобы позволять три итерации с одним замкнутым контуром. Второй экземпляр 422 радиально сдвигается CCW на 120 градусов от первого экземпляра 421, и третий экземпляр 423 радиально сдвинут CCW на 120 градусов от экземпляра 422 (радиально сдвинут CCW на 240 градусов от экземпляра 421). Каждое из местоположений A2, I2 и O2 показано в положениях на 120 градусов CCW от A1, I1 и O1, соответственно, и каждое из местоположений A3, I3 и O3 показано в положениях на 120 градусов CCW от A2, I2 и O5, соответственно. Пучок переходит через экземпляр 421, затем через экземпляр 422 и затем через экземпляр 423, чтобы завершать суперцикл. Суперцикл может повторяться непрерывно несколько раз по всей процедуре.
[0062] Также могут реализовываться дополнительные примерные варианты осуществления профиля 400 сканирования. Величина радиального смещения между повторяющимися рисунками 301 может определяться посредством деления 360 градусов на число экземпляров рисунка. Например, профиль 400, имеющий пять экземпляров цикла, может иметь радиальное смещение в 72 градуса между смежными циклами, профиль 400, имеющий шесть экземпляров цикла, может иметь радиальное смещение в 60 градусов между смежными циклами, профиль 400, имеющий семь экземпляров цикла, может иметь радиальное смещение приблизительно в 51,4 градуса между смежными циклами, профиль 400, имеющий восемь экземпляров цикла, может иметь радиальное смещение в 45 градусов между смежными циклами, профиль 400, имеющий девять экземпляров цикла, может иметь радиальное смещение в 40 градусов между смежными циклами, профиль 400, имеющий 10 экземпляров цикла, может иметь радиальное смещение в 36 градусов между смежными циклами, профиль 400, имеющий одиннадцать экземпляров цикла, может иметь радиальное смещение приблизительно в 32,7 градусов между смежными циклами, профиль 400, имеющий двенадцать экземпляров цикла, может иметь радиальное смещение в 30 градусов между смежными циклами, и т.д.
[0063] В некоторых вариантах осуществления конечное местоположение первого экземпляра цикла может не быть тем же самым или даже находиться близко к начальному местоположению следующего экземпляра цикла. Например, пучок может устранять промежуток относительно быстрым способом, который имеет пренебрежимо малое влияние на полную тепловую производительность и нагрузку по концентрации частиц. Если вызывают пульсацию пучка, радиальный сдвиг может возникать между импульсами в то время, когда пучок выключен.
[0064] Хотя варианты осуществления, описанные в данном документе, показаны с одинаковым циклом, повторяющимся несколько раз в суперцикле, следует отметить, что рисунок циклов не должен обязательно быть идентичным и отличаться только по радиальной ориентации. На практике, небольшие варьирования внутренне присутствуют с учетом пределов допустимой ошибки и дисперсий рабочих условий во время процедуры. Фактически, объем настоящего предмета изобретения охватывает варианты осуществления, в которых повторяющиеся рисунки циклов не являются идентичными, а, наоборот, являются практически одинаковыми с разностями, вызванными посредством пределов допустимой ошибки, дисперсий рабочих условий и даже запрограммированных или намеченных иным способом неидентичностей в рисунках.
[0065] В общем, тепловое воздействие пучка на мишень может быть исследовано численно с использованием численной модели. Численное моделирование может обеспечивать возможность выбора профилей растра пучка, которые улучшают однородность нагрузки по концентрации частиц на мишени, и/или может обеспечивать возможность выбора профиля растра, который уменьшает (например, минимизирует) пиковую переходную температуру мишени. Профиль растра может отличаться посредством пути пучка и профиля пучка (например, круглый или эллиптический пучок с конкретным размером), как описано со ссылкой на фиг. 8 и 9. В некоторых вариантах осуществления профиль растра может задавать скорость сканирования пучка.
[0066] Численная модель может обеспечивать возможность исследования влияния на мишень варьирования одного или более из нескольких параметров пучка, таких как размер и форма пучка. Кроме того, тепловое воздействие пучка может оцениваться посредством вычисления одного или более показателей качества (например, пиковой температуры, изменения температуры, средней температуры), и применение численного анализа к показателю качества может обеспечивать возможность использования численной модели для того, чтобы оптимизировать профиль растра пучка.
[0067] В общем, численная модель может заключать в себе генерирование пространства с нанесенной сеткой, охватывающего мишень. Численная модель проиллюстрирована на фиг. 5A и 5B, которые иллюстрируют сетку, состоящую из трехмерной сетки, в которой может моделироваться нагрев (температурная карта) мишени 196. Значения температуры моделируются посредством решения одномерного уравнения теплопереноса в каждом «пикселе» (например, в каждом квадрате по оси X-Y сетки, показанной на фиг. 5A). Одномерное уравнение теплопереноса (ut=c2uxx, задающее температуру в пикселе с использованием постоянной c в качестве коэффициента термодиффузии) решается для теплопередачи через глубину пиксела, в направлении по оси Z, как показано на фиг. 5B. Перекрестные помехи между пикселами или поперечная теплопроводность между пикселами предположительно должны быть пренебрежимо малыми, так что тепло перемещается только горизонтально в направлении по оси Z, обеспечивая возможность использования одномерного подхода. Считается, что пучок генерирует распространение тепла на конкретную глубину в каждый пиксел (например, приблизительно 25% энергии пучка осаждаются равномерно через литиевый слой, и оставшаяся энергия осаждается в первый элемент меди), согласно падающему пучку. Изменения состава учитываются через глубину пиксела. Может использоваться любой подходящий численный подход к решению одномерного дифференциального уравнения теплопереноса. Например, численные подходы могут включать в себя подходы конечных элементов и конечных разностей. Для любой из технологий конечных элементов и конечных разностей мишень 196 может представляться при виде 220 сверху в качестве части сетки 226 (как проиллюстрировано на фиг. 5A). Размер сетки может варьироваться и может выбираться на основании размера мишени, размера пучка и требуемой эффективности вычислений и точности результатов. В общем, меньший размер позволяет обеспечивать более точные ответы, но за счет вычислительных затрат. В текущем примере, показанном на фиг. 5A, сетка 226 включает в себя пикселы (ячейки) 36×36, но, в общем, число пикселов может находиться в пределах диапазона в 103-105 или больше.
[0068] В общем, сетка может иметь одинаковый размер единичной ячейки в каждом измерении, или размер в каждом измерении может отличаться. Разрешение может выбираться таким образом, чтобы обеспечивать способность моделировать пучки различного размера и структуры совместно с физическими характеристиками изучаемой системы.
[0069] Фиг. 5B представляет собой пример модели вида 230 мишени сбоку для мишени 196, проиллюстрированной на фиг. 2A. Модель вида 220 мишени сбоку включает в себя несколько слоев, которые могут соответствовать слоям 201, 202, 203, описанным со ссылкой на фиг. 1B и 2C. В некоторых вариантах осуществления слои могут иметь толщину, заданную посредством пикселов числовой сетки 226. В некоторых вариантах осуществления граница слоя 201 мишени моделируется как соответствующая вакууму, и граница подложки 203 мишени моделируется как соответствующая охлаждающей жидкости (например, воде), задавая граничные условия одномерного уравнения теплопереноса.
[0070] Фиг. 6A-6D показывают примеры смоделированных тепловых карт с использованием модели, описанной со ссылкой на фиг. 5A и 5B. Фиг. 6A и 6B показывают примеры смоделированных тепловых карт 610, 620, определенных с использованием численной модели, как описано выше для 10-миллиметровых и 20-миллиметровых размеров пучка, соответственно. Фиг. 6C и 6D показывают примеры смоделированных тепловых карт 630, 640 определенных с использованием программного обеспечения технологического моделирования ANSYS® для 10-миллиметровых и 20-миллиметровых размеров пучка, соответственно. Модель, используемая для того, чтобы формировать смоделированных тепловые карты 610, 620, основана на переходном коде, который отслеживает нагрузку по концентрации частиц на поверхности на основании любого данного профиля пучка в комбинации с любым профилем растра. Модель сравнительно протестирована относительно переходной модели, вычисленной с помощью кода ANSYS® трехмерной теплопередачи в качестве проверки достоверности.
[0071] Полный профиль смоделированных тепловых карт 610, 620, 630, 640, вычисленных на основе допущения частоты сканирования в 120 Гц в целом совпадает для 10-миллиметровых и 20-миллиметровых размеров пучка. Например, фиг. 6A и 6C показывают распределение поверхностных температур с отличительным максимумом по теплу, соответствующим центру 10-миллиметрового пучка протонов. Наибольшая средняя температура литиевой поверхности составляет 284°C, что определено посредством модели, и 299°C, что определено посредством ANSYS®-модели. Падение температуры от центра 10-миллиметрового пучка протонов к краям 10-миллиметрового пучка протонов регистрирует 162,7°C, что определено посредством модели, и 177,7°C, что определено посредством ANSYS®-модели. Фиг. 6B и 6D показывают дисперсное распределение поверхностных температур, соответствующее 20-миллиметровому пучку протонов. Наибольшая средняя температура литиевой поверхности составляет 177°C, что определено посредством модели, и 184°C, что определено посредством ANSYS®-модели. Падение температуры от центра 20-миллиметрового пучка протонов к краям 20-миллиметрового пучка протонов регистрирует 55,7°C, что определено посредством модели, и 63,3°C, что определено посредством ANSYS®-модели. Тот факт, что некоторые вычисленные значения температуры превышают приемлемый предел для лития, не должен подрывать достоверность модели.
[0072] Таблица 1 показывает результаты моделирования карты нагрева, которые обеспечивают сравнение между спрогнозированным варьированием (ΔT) температуры и пиковой температурой (Tmax), определенной с использованием модели, описанной со ссылкой на фиг. 5A и 5B, и с использованием программного обеспечения технологического моделирования ANSYS®. Данные, в общем, проанализированы для того, чтобы определять корреляцию между моделируемыми значениями относительно значений, определенных с использованием вычислительно затратного программного обеспечения технологического моделирования ANSYS®, с тем чтобы определять надежность разработанной модели. Надежность модели отражается посредством разностей тепловых результатов. Разность повышения температуры приблизительно в 10% найдена между двумя наборами результатов, что указывает на согласование между моделью и переходной ANSYS®-моделью.
Таблица 1
[0073] Как видно из рисунков растра, показанных на фиг. 3A-5G, предусмотрено множество точек в каждом рисунке, в которых путь пучка пересекает себя. Каждая точка пересечения представляет собой местоположение, в котором поверхность мишени подвергается воздействию значительно более высокого потока частиц (например, двойного), чем местоположения, в которых поверхность мишени подвергается воздействию только один раз для каждого суперцикла. Если время между последовательными проходами по точке пересечения является относительно большим, и тепло из первого прохода может рассеиваться в достаточной степени перед повторным подверганием воздействию, увеличенная доза, связанная с повторным подверганием воздействию, может не приводить к избыточному нагреву в точке пересечения. Тем не менее, если точка пересечения подвергается воздействию дважды за относительно короткий период, эти точки пересечения могут представлять собой местоположения неприемлемо высоких тепловых нагрузок. Соответственно, в некоторых вариантах осуществления численные модели, описанные выше, могут использоваться для того, чтобы уменьшать тепловую нагрузку на мишень посредством определения путей, которые сокращают число точек пересечения, которые испытывают множество проходов пучка подряд.
[0074] Например, численная модель может использоваться для того, чтобы варьировать параметры профиля растра, чтобы избегать пересечения пути пучка, недавно пройденного в пределах порогового периода времени, ниже которого может возникать избыточный нагрев этого местоположения мишени. Фиг. 7A-7F являются схематичными видами, иллюстрирующими примеры рисунков растра, которые являются информативными для демонстрации таких стратегий избегания недавних путей (RPA). В некоторых вариантах осуществления RPA-рисунок может определяться на основе итеративного процесса. Итеративный процесс может начинаться с трохоидной формы, заданной в качестве положения (x(t), y(t)) для данного времени (t). Для радиусов, r1, r2 и частот ω1, ω2, базовая трохоида придерживается следующих уравнений за время t:
x(t)=r1 cos(ω1*t)+r2 cos(ω2*t)
y(t)=r1 sin(ω1*t)+r2 sin(ω2*t).
[0075] Для трохоиды с L лепестков с внешним радиусом, rmax и внутренним радиусом, rmin, значения для радиусов и частот являются следующими:
r1=-(rmax+rmin)/2
r2=(rmax-rmin)/2
ω1=L+1
ω2=1
[0076] Радиус с максимальным значением rmax радиуса, практически равным ширине пучка, и минимальным значением rmin радиуса, практически равным половине ширины пучка, может предоставлять хорошие результаты для пучка однородной интенсивности. Оптимальные значения для rmax и rmin могут находиться через алгоритмы оптимизации и код теплового моделирования.
[0077] Задание t в качестве времени предписывает скорость, с которой перемещается растр, которая может варьироваться на основе возможностей управляющих магнитов и риска сжигания мишени. Например, высокая скорость растра может превышать возможности управляющих магнитов, или низкая скорость растра может приводить к сжиганию мишени (при подвергании в течение слишком большого времени воздействию конкретной дозы излучения). Для всех модифицированных трохоидных профилей растра, следующее положение пучка вычисляется таким образом, что скорость остается приблизительно постоянной. Варьирование скорости на основе положения пучка может предлагать другой маршрут для улучшения. Оптимальный профиль скоростей может находиться посредством обучения алгоритма машинного обучения на результатах, сформированных посредством кода теплового моделирования, как описано со ссылкой на фиг. 8A, 8B, 9A и 9B.
[0078] Трохоидный рисунок с постоянной скоростью может обеспечивать хорошие результаты по использованию мишени, но может приводить к перегреву. Например, трохоидный рисунок посещает центр мишени с довольно высокой частотой, поскольку трохоидный путь непрерывно следует по каждому лепестку. Чтобы решить проблему нагрева, рисунок растра может модифицироваться таким образом, что вместо непрерывного следования по пути вдоль каждого лепестка, используется порядок ω=(L-1)-ого лепестка. Посещение лепестков в этом порядке обеспечивает для центра дополнительное время для охлаждения между лепестками. Именно из этого проистекает название «растр избегания недавних путей (RPA)», поскольку недавно посещенные пути избегаются, продлевая время, которое требуется пучку для того, чтобы пересекать свой недавний путь. Для некоторых значений L, может быть оптимальным выбирать лепестки чаще, чем каждый ω=(L-1)-ый лепесток. Любая частота переключения лепестков, ω, которая является взаимно-простой с общим числом лепестков, L, может работать в зависимости от физических параметров системы (профиля пучка, формы мишени, материала мишени и т.д.). Выбор частоты переключения лепестков ω может оптимизироваться через вычислительные технологии, к примеру, с использованием алгоритма машинного обучения.
[0079] В некоторых вариантах осуществления путь растра включает в себя модификацию r1 и r2 для того чтобы создавать фильтр, который обеспечивает возможность пути растра только следовать по каждому (L-1)-ому лепестку и в противном случае следовать за значением rmax, чтобы обеспечивать центру мишени время для охлаждения.
[0080] Например, начальный RPA-растр (RPA один) может включать в себя следующие радиусы и частоты:
[0081] Экспонента E может быть больше 10 и меньше 1000 (10<E<1000). Точное значение экспоненты E может зависеть от нескольких факторов. Например, E может задаваться достаточно большим, чтобы обеспечивать четко определенное окно для фильтра, чтобы избегать принудительного колебания растра вокруг периметра, которое может заставлять пучок промахиваться мимо мишени. E должно задаваться меньше порогового значения, которое задает очень небольшое окно, которое должно приводить к тому, что лепестки становятся слишком узкими, перегревая мишень. В некоторых вариантах осуществления E может задаваться таким образом, что E=100*(L-3), при этом L больше или равно 4 и меньше или равно 8 (4≤L≤8).
[0082] RPA-один хорошо работает для минимизации нагрева, но может оставлять область мишени недостаточно используемой. RPA-один может использоваться для того, чтобы разрабатывать RPA-два, который добавляет еще один член в r1 для того, чтобы задавать другой набор из L лепестков, которые могут заполнять недоиспользуемую область. RPA два использует следующие радиусы и частоты:
[0083] Коэффициент r может быть больше rmin и меньше разности между пределами rmax и rmin радиусов (rmin<r<rmax-rmin). Экспонента E может быть больше 100 и меньше 10000. Точные значения коэффициента r и экспоненты E могут оптимизироваться с использованием теплового моделирования и алгоритма оптимизации. В некоторых вариантах осуществления один или более дополнительных растров (RPA-N) могут определяться посредством добавления членов в r1, каждый новый член может оптимизироваться таким образом, чтобы минимизировать нагрев мишени и варьирование использования мишени.
[0084] Фиг. 7A иллюстрирует пример трохоидного рисунка 700 растра, который может генерироваться посредством направления пучка к (статической или вращающейся) мишени. Трохоидный рисунок 700 растра может использоваться в качестве начального рисунка растра для итеративного процесса, как описано со ссылкой на фиг. 10. Трохоидный рисунок 700 растра может включать в себя множество лепестков 702, 704, 706, 708 (например, 4 (четыре) лепестка, как проиллюстрировано на фиг. 7A). В некоторых вариантах осуществления значения для внутреннего радиуса 701 и внешнего радиуса 703 могут находиться через алгоритмы оптимизации и посредством использования кода теплового моделирования, описанного выше со ссылкой на фиг. 5A и 5B. Трохоидный рисунок 700 растра включает в себя множество точек 705a, 705b, 705c, 705d, 705e, 705f, 705g, 705h, 705i, 705j, 705k, 705l, 705m, 705n пересечения пучка, в которых путь пучка пересекает себя. Например, при рассмотрении начальной точки 705 трохоидного рисунка 700 растра, первая точка пересечения пучка представляет собой 705a, вторая точка пересечения пучка представляет собой 705b, третья точка пересечения пучка представляет собой 705c, четвертая точка пересечения представляет собой 705d, и пятая точка пересечения представляет собой 705e.
[0085] Фиг. 7B иллюстрирует пример модифицированного рисунка 710 растра, в котором порядок лепестков 702, 708, 706, 704 модифицируется для того, чтобы продлевать период охлаждения точек, в которых путь пучка пересекает себя, генерируя рисунок избегания недавних путей (RPA). Временная длительность между последующими точками пересечения пучка является прямо пропорциональной длине дуги, пройденной посредством пучка между соответствующими последовательными пересечениями. Например, при рассмотрении начальной точки 705 модифицированного рисунка 710 растра, первая точка пересечения представляет собой 705g, причем она связанна с большей длиной дуги, чем длина дуги, соответствующая первой точке 705a пересечения трохоидного рисунка 700 растра.
[0086] В некоторых вариантах осуществления RPA-рисунок дополнительно может модифицироваться так, чтобы заполнять недоиспользуемые области мишени, как описано со ссылкой на фиг. 7C-7F.
[0087] Фиг. 7C-7F являются схематичными видами, иллюстрирующими примеры рисунков 720 избегания недавних путей (RPA), которые повторяются множество (например, четыре) раз, чтобы формировать полный суперцикл профиля сканирования. Фиг. 7C иллюстрирует первый цикл 722 RPA-рисунка. Первый цикл 722 RPA-рисунка 720, начинающийся в 722A и заканчивающийся в 722O, включает в себя несколько точек 725a, 725b, 725c, 725d пересечения пучка, в которых путь пучка пересекает себя. Например, при рассмотрении начальной точки 722A первого цикла 722 RPA-рисунка 720, первая точка пересечения пучка представляет собой 725a, вторая точка пересечения пучка представляет собой 725b, третья точка пересечения пучка представляет собой 725c, и четвертая точка пересечения представляет собой 725d.
[0088] Фиг. 7D иллюстрирует второй цикл 724 RPA-рисунка 720, который может выполняться после завершения первого цикла RPA-рисунка. Второй цикл 724 RPA-рисунка 720, начинающийся в 724A и заканчивающийся в 724O, включает в себя множество точек 735a, 735b, 735c, 735d пересечения пучка, в которых путь пучка пересекает себя. Например, при рассмотрении начальной точки 724A второго цикла 724 RPA-рисунка 720, первая точка пересечения пучка представляет собой 735a, вторая точка пересечения пучка представляет собой 735b, третья точка пересечения пучка представляет собой 735c, и четвертая точка пересечения представляет собой 735d.
[0089] Фиг. 7E иллюстрирует первые два цикла 726 RPA-рисунка 720. Первые два цикла 726 RPA-рисунка 720 включают в себя точки 725a, 725b, 725c, 725d пересечения пучка первого цикла 722, точки 735a, 735b, 735c, 735d пересечения пучка второго цикла 724 и точки 745a, 745b, 745c, 745d, 745e, 745f, 745g, 745h, 745i, 745j, 745k, 745l, 745m пересечения пучка, в которых путь второго цикла 724 пересекает путь первого цикла 722.
[0090] Фиг. 7F иллюстрирует полный суперцикл 728 RPA-рисунка 720. Полный суперцикл 728 RPA-рисунка 720 включает в себя точки пересечения пучка каждого цикла (например, точки 725a, 725b, 725c, 725d пересечения пучка первого цикла 722, точки 735a, 735b, 735c, 735d пересечения пучка второго цикла 724) и точки пересечения пучка, в которых путь одного цикла пересекает путь другого цикла.
[0091] Каждый цикл RPA-рисунка 720 включает в себя конечное положение 722O, 724O, дистанцированное от начального положения соответствующего цикла 722A, 724A. Конечное положение цикла (например, конечное положение 722O первого цикла) соответствует начальному положению последующего цикла (например, начальному положению 724A второго цикла). Как проиллюстрировано на фиг. 7F, RPA-рисунок 720 формируется посредством пути 728 пучка, который начинается в местоположении 722A и продвигается CCW-способом вдоль четырех циклов (включающих в себя первые два цикла 726, проиллюстрированные на фиг. 7E) и затем обратно в начальное положение 722A. Примерный RPA-рисунок 720, проиллюстрированный на фиг. 7F, формирует профиль растра с четырьмя циклами, которые формируют замкнутый рисунок на основе одного полного суперцикла, чтобы замыкать контур.
[0092] Фиг. 8A и 8B показывают примеры моделирования граничной температурной карты 802 и смоделированной карты 804 использования мишени, соответствующей сканированию мишени с использованием RPA-рисунка, описанного со ссылкой на фиг. 7B для непрерывного пути согласно RPA-рисунку с постоянной скоростью. Граничная температурная карта 802 задает границу между литиевым и медным слоями мишени, с учетом нейтронных моделей, которые идентифицируют границу в качестве слоя выделения наибольшей энергии с самой высокой измеренной или моделируемой температурой. Карта 804 использования мишени указывает то, сколько лития потребляется посредством каждой части (пиксела) мишени в ответ на облучение пучком протонов, который направлен к мишени, с использованием RPA-рисунка.
[0093] Смоделированная граничная температурная карта 802, как проиллюстрировано посредством фиг. 8A, включает в себя круглые дисперсные максимумы по теплу, соответствующие наиболее часто используемым ячейкам, как проиллюстрировано посредством смоделированной карты 804 использования мишени с фиг. 8B. Наибольшая пиковая температура в смоделированной граничной температурной карте 802 составляет менее 150°C. Варьирование температуры на поверхности мишени в смоделированной граничной температурной карте 802 составляет приблизительно 40°C. Смоделированная граничная температурная карта 802 и смоделированная карта 804 использования мишени указывают то, что сканирование мишени с использованием применения RPA-рисунка является эффективным при предотвращении повреждения мишени через пузыри или пузырьки.
[0094] Дополнительное моделирование с использованием переходного кода предоставляет несколько показателей качества для оценки производительности мишени. Показатели качества включают в себя следующее: пиковая температура, изменение температуры, средняя температура, эффективность использования, номинальная частота и форма пучка. Пиковая температура включает в себя максимальную температуру, найденную в мишени в любое время. Изменение температуры включает в себя максимальную температуру, найденную в мишени в любое время, минус начальная температура мишени. Средняя температура представляет собой среднее температур всех ячеек в мишени. Эффективность использования включает в себя общий поток в пучке-мишени, деленный на использование максимально применяемой ячейки, нормализованное к общему числу ячеек в мишени. Результаты моделирования с использованием переходного кода для оценки производительности мишени, в ответ на один суперцикл или суперциклы, которые повторяются множество (например, 4) раз, включены в таблицу 2.
Таблица 2
[0095] Фиг. 9A-9J показывают примеры результатов моделирования для множества профилей пучка для того, чтобы сравнивать нагрев мишени и использование мишени. Каждое моделирование использует рисунок 300 растра, чтобы подчеркивать варьирование, вызываемое посредством самих различных профилей пучка. Фиг. 9A и 9B показывают смоделированную тепловую карту 902 и смоделированную карту 904 использования, соответственно, для 20-миллиметрового круглого (не полого) пучка, имеющего частоту в 120 Гц. Фиг. 9C и 9D показывают смоделированную тепловую карту 906 и смоделированную карту 908 использования, соответственно, для 10-миллиметрового круглого (не полого) пучка, имеющего частоту в 120 Гц. Фиг. 9E и 9F показывают смоделированную тепловую карту 910 и смоделированную карту 912 использования, соответственно, для эллиптического (не полого) пучка 15 мм на 25 мм, имеющего частоту в 120 Гц. Фиг. 9G и 9H показывают смоделированную тепловую карту 914 и смоделированную карту 916 использования, соответственно, для 20-миллиметрового кольцеобразного (полого) пучка с 10-миллиметровым отверстием, имеющего частоту в 120 Гц. Фиг. 9I и 9G показывают смоделированную тепловую карту 918 и смоделированную карту 920 использования, соответственно, для 10-миллиметрового круглого (не полого) пучка, имеющего частоту в 240 Гц.
[0096] Таблица 3 показывает результаты моделирования для множества профилей пучка и рисунков растра, которые обеспечивают сравнение между процентной долей от использования и пиковой температурой (Tmax), определенной с использованием модели, описанной со ссылкой на фиг. 5A и 5B. Данные, в общем, проанализированы для того, чтобы определять оптимальные профили пучка и рисунки растра. Например, результаты моделирований, как проиллюстрировано на фиг. 9A и 9C, указывают то, что 20-миллиметровый пучок проявляет равномерное распределение температур в целом. Результаты моделирований, как проиллюстрировано на фиг. 9B и 9D, указывают то, что 10-миллиметровый пучок проявляет более однородное использование, в частности, около краев. Смоделированная тепловая карта 910 и карта 912 использования, соответствующие эллиптическому пучку, как проиллюстрировано на фиг. 9E и 9F, соответственно, показывают расширенное покрытие вдоль ориентации главной оси эллиптического пучка. Сравнение результатов моделирований, как проиллюстрировано на фиг. 9E и 9F, с результатами моделирований, как проиллюстрировано на фиг. 9A и 9B, указывает то, что пучок эллиптической формы с площадью, приблизительно идентичной площади круглого пучка, формирует менее равномерные распределения температур и использования, чем круглый пучок. Смоделированная тепловая карта 914 и карта 916 использования, соответствующие кольцеобразному пучку, как проиллюстрировано на фиг. 9G и 9H, соответственно, показывают сниженное периферийное покрытие с неравномерным радиальным распределением. Сравнение результатов моделирований, как проиллюстрировано на фиг. 9G и 9H, с результатами моделирований, как проиллюстрировано на фиг. 9A и 9B, указывает то, что использование любого вида пучка с отверстием снижает эффективность и формирует более неравномерное распределение температур по всей мишени. Сравнение результатов моделирований, как проиллюстрировано на фиг. 9I и 9J, с результатами моделирований, как проиллюстрировано на фиг. 9A и 9B, указывает то, что использование пучка в 240 Гц формирует более равномерное распределение температур по всей мишени и аналогичное использование мишени.
240 Гц
240 Гц
240 Гц
240 Гц
120 Гц
240 Гц
Таблица 3
[0097] Фиг. 10 является блок-схемой последовательности операций способа, иллюстрирующей примерный процесс 1000, который может быть выполнен в соответствии с вариантами осуществления по настоящему раскрытию. Множество возможных профилей растра для сканирования пучка протонов по мишени устанавливают с использованием компьютерной системы обработки (1002). Каждый профиль растра задает отличающийся рисунок сканирования мишени. Каждый рисунок сканирования включает в себя множество суперциклов, которые формируют замкнутый путь на поверхности мишени на основе одного или более циклов, чтобы замыкать контур. Рисунок сканирования может включать в себя RPA-рисунок (например, трохоидную форму, включающую в себя множество лепестков), как описано со ссылкой на фиг. 7A-7D, или другие рисунки сканирования, описанные выше. Рисунок сканирования может характеризоваться одним или более параметрами пути. В некоторых вариантах осуществления параметры включают в себя один или более следующих параметров: угловая частота, связанная с каждым лепестком пути пучка протонов, линейная скорость пучка протонов по поверхности мишени, число слоев радиального сканирования в суперцикле пути пучка протонов, порядок прохождения лепестков и число суперциклов пути пучка протонов. Угловая частота и угловая скорость пучка протонов могут варьироваться для различных лепестков RPA-рисунка. Порядок прохождения лепестков может представлять собой прямой порядок, обратный порядок или взаимно-простой порядок. Параметры пути характеризуют путь пучка протонов по мишени. Параметры пути выбранного профиля растра задают путь для пучка протонов, имеющий минимальную задержку (превышающую пороговый период) между последовательными подверганиями одного местоположения мишени воздействию пучка протонов для того, чтобы минимизировать повреждение мишени. В некоторых вариантах осуществления возможные профили растра включают в себя маскированный профиль, который может быть сформирован на основании измерений в реальном времени на основе данных формирования изображений (например, тепловых карт мишени). Маскированный профиль может задавать профиль сканирования, выполненный с возможностью избегать частей мишени, включающих в себя слабые зоны (например, зоны, нагретые близко к точке плавления) либо поврежденные области сканируемой зоны мишени.
[0098] В дополнение к рисунку сканирования каждый из профилей растра включает в себя настройки для одного или более параметров пучка. Каждый из параметров пучка характеризует свойство пучка протонов. Параметры пучка могут включать в себя один или более следующих параметров: размер пучка (например, диаметр круглого пучка), форма пучка и структура пучка. В некоторых вариантах осуществления размер пучка составляет в диапазоне от 10 мм до 30 мм. Профили растра могут модифицироваться с коэффициентом нормализации в направлении по оси X и Y в зависимости от формы пучка. Форма пучка может быть круглой или эллиптической. Если форма пучка является эллиптической, сканирование может модифицироваться, чтобы изменяться эффективно посредством понижения радиуса сканирования в направлении, в котором пучок является наибольшим, так что пучок не сканирует за пределы внешней границы. Структура пучка означает распределение интенсивности пучка по его сечению. В некоторых вариантах осуществления распределение может быть практически постоянным или гауссовым. В определенных вариантах осуществления распределение может иметь более одного пика, к примеру, для кольцевой структуры пучка.
[0099] Один или более параметров мишени, характеризующих мишень, также устанавливаются с использованием компьютерной системы обработки (1004). Например, параметры мишени могут включать в себя следующее: площадь поверхности мишени, толщина мишени и/или состав мишени.
[00100] Значение показателя качества вычисляется для каждого из возможных профилей растра пучка (1006). В общем, показатель качества основан на тепловом нагружении мишени пучком протонов для соответствующего возможного профиля растра. В некоторых вариантах осуществления вычисление значений для показателя качества включает в себя для каждого из возможных профилей растра вычисление тепловой нагрузки в каждой из множества дискретных частей мишени на основании линейной взаимосвязи между тепловой нагрузкой и потоком протонов в каждой дискретной части для соответствующего профиля растра. В некоторых вариантах осуществления каждая дискретная часть соответствует площади поверхности мишени на пути пучка протонов, которая меньше размера пучка протонов. В некоторых вариантах осуществления тепловая нагрузка в каждой дискретной части вычисляется на основе теплопередачи через глубину мишени в направлении от поверхности мишени, на которую падает пучок протонов. В некоторых вариантах осуществления показатель качества выбирается из группы, состоящей из: пиковой температуры мишени, изменения температуры мишени, средней температуры мишени и эффективности использования мишени.
[00101] Профиль растра выбирается из числа возможных профилей растра на основании значения показателя качества и на основании измеренного свойства мишени (1008). В некоторых вариантах осуществления выбор профиля растра включает в себя представление оператору пучка протонов списка возможных профилей растра и прием через пользовательский интерфейс компьютерной системы пользовательского ввода, включающего в себя выбор из списка оператором. В некоторых случаях выбор профиля растра может возникать автоматически, например, на основании измерений любых из свойств пучка, свойств мишени либо и того, и другого. Например, если пороговый уровень нагрева обнаруживается на мишени, система может переключаться на другой профиль растра, который подвергает меньшему напряжению местоположение, в котором обнаруживается пороговая нагрузка. В некоторых вариантах осуществления система использует процесс с активной обратной связью или с прямой связью и периодически регулирует профиль растра для того, чтобы продлевать полезный срок службы мишени.
[00102] В некоторых вариантах осуществления несколько профилей растра могут выбираться в качестве возможных вариантов профилей, Fk(t), и функции переброса, sk(t), могут применяться для того, чтобы переключаться между профилями. Выходной профиль, F(t), может задаваться следующим образом:
F(t)=
sk(t) Fk(t),
где
sk(t)=1 для каждого значения t в области выходного профиля.
[00103] Например, простое линейное перекрестное соединение между двумя профилями, F1(t) и F2(t), начинающееся в t1 и завершающееся в t2, может описываться посредством задания s1(t) и s2(t) следующим образом:
[00104] После выбора конкретного профиля растра, пучок протонов сканируется по мишени согласно выбранному профилю растра (1010).
[00105] Одно или более свойств пучка измеряются (1012) в качестве части процесса 1000. В некоторых вариантах осуществления свойства пучка измеряются выше по ходу пучка от мишени. Свойства пучка, которые могут измеряться, включают в себя, например, размер пучка, структуру пучка и профиль пучка, как описано со ссылкой на фиг. 9A-9J. Профиль пучка может измеряться с использованием инфракрасных камер, выполненных с возможностью определять форму пучка в местоположении мишени.
[00106] Одно или более свойств мишени измеряются (1014) в качестве части процесса 1000. В некоторых вариантах осуществления упомянутое одно или более свойств мишени включают в себя температуру мишени в одном или более местоположений на мишени. Например, один или более тепловых датчиков (например, инфракрасных камер) могут определять температуру мишени в соответствующем местоположении. В некоторых вариантах осуществления температурная карта мишени может получаться посредством термокамеры. Измеренная температура может использоваться в качестве ввода, чтобы динамически регулировать или изменять профиль растра во время процесса сканирования, чтобы избегать локального перегрева мишени. В некоторых случаях система может полностью приостанавливать операцию обработки пучка, чтобы избегать перегрева мишени, и возобновлять операцию после того, как мишень охлаждается до допустимого уровня.
[00107] Таким образом, варианты осуществления по настоящему раскрытию могут включать в себя определенное число преимуществ. В некоторых примерах описанные технологии обеспечивают точные оценки нагрева и использования мишени с минимизированными требованиями по вычислительным ресурсам. Конструкции, описанные в данном документе, иллюстрируют преимущества конкретных профилей растра и профилей пучка, которые могут продлевать срок службы мишени за счет поддержания пиковой температуры ниже температуры повреждения (например, появления пузырей) мишени. Описанные варианты осуществления также могут обеспечивать повышенную производительность БНЗТ за счет обеспечения равномерного распределения нагрузки по концентрации частиц на мишени, которое положительно влияет на профиль пучка частиц, который облучает пациента.
[00108] В одном аспекте... [поверенные должны предоставить пункты формулы изобретения здесь после окончательной доработки формулы изобретения]
[00109] Фиг. 11 является блок-схемой, показывающей примерную систему, которая может быть реализована в соответствии с настоящим раскрытием. Например, проиллюстрированная примерная система 1100 включает в себя пучковую систему 102, одно или более вычислительных устройств 1102 и один или более серверов 1110. В некоторых вариантах осуществления пучковая система 102 может представлять собой часть примерной нейтронно-пучковой системы (например, систему 102, описанную со ссылкой на фиг. 1A и 1B). Пучковая система 102 может использовать одну или более систем 1101 управления, с которыми могут обмениваться данными одно или более вычислительных устройств 1102 для того, чтобы взаимодействовать с системами и компонентами пучковой системы 102 (например, нейтронно-пучковой системы 102). Система 1101 управления может быть запрограммирована с возможностью управлять управляющими устройствами (например, магнитами, средствам сдвига по оси X-Y) в ыццццццц 50, которые определяют положение по оси X-Y пучка протонов, падающего на сканируемую поверхность 210 мишени 196. Пучковая система 102, упомянутые одно или более вычислительных устройств 1102 и один или более серверов 1110 выполнены с возможностью обмениваться данными непосредственно друг с другом или через локальную сеть, к примеру, через сеть 1104.
[00110] Система 1101 управления может быть запрограммирована с параметрами управления амплитудой и смещений, которые обеспечивают возможность фиксированного смещения пучка для того, чтобы управлять местоположением общего отсканированного рисунка. В некоторых вариантах осуществления параметры программируются в или для процессора цифровых сигналов (DSP), который управляет магнитным источником питания. Параметры амплитуды и смещения могут вводиться в DSP в реальном времени в ходе работы, т.е. на лету, чтобы корректировать изменения поведения или энергии пучка. Параметры реального времени могут формировать обобщенный способ активной обратной связи для управления пучком ионных частиц.
[00111] Вычислительные устройства 1102 могут осуществляться посредством различных пользовательских устройств, систем, вычислительного оборудования, контроллеров и т.п. Например, первое вычислительное устройство 1102 может представлять собой настольный компьютер, связанный с конкретным пользователем, в то время как другое вычислительное устройство 1102 может представлять собой переносной компьютер, связанный с конкретным пользователем, и еще одно другое вычислительное устройство 1102 может представлять собой мобильное устройство (например, планшетное или интеллектуальное устройство). Каждое из вычислительных устройств 1102 может быть выполнено с возможностью обмениваться данными с пучковой системой 102, например, через пользовательский интерфейс, доступный через вычислительное устройство. Например, пользователь может выполнять настольное приложение на вычислительном устройстве 1102, которое выполнено с возможностью обмениваться данными с пучковой системой 102.
[00112] Посредством использования вычислительного устройства 1102 для того, чтобы обмениваться данными с пучковой системой 102, пользователь может предоставлять рабочие параметры для компонентов 3005 тракта пучка (например, рабочие напряжения и т.п.) согласно вариантам осуществления, описанным в данном документе.
[00113] Система 1101 управления может быть выполнена с возможностью принимать измерения, сигналы или другие данные из компонентов 1105 и устройств 1103 мониторинга пучковой системы 102. Например, система 1101 управления может принимать из одного или более устройств 1103 мониторинга сигналы, указывающие рабочие условия и/или положение пучка, проходящего через пучковую систему 102. Система 1101 управления в зависимости от рабочих условий и/или положения пучка, проходящего через пучковую систему 102, может предоставлять регулирования для вводов одного или более компонентов 1105 тракта пучка согласно способам, описанным в данном документе. Система 1101 управления также может выдавать информацию, собранную из любых из компонентов пучковой системы 102, включающих в себя устройства 1103 мониторинга, в вычислительное устройство 1102 непосредственно либо через сеть 1104 связи. Система 1101 управления может программироваться с возможностью реализовывать варианты осуществления профиля сканирования, как описано со ссылкой на фиг. 4, 5 и 7-10.
[00114] Сеть 1104 связи может включать в себя любую сеть проводной или беспроводной связи, включающую в себя, например, проводную или беспроводную локальную вычислительную сеть (LAN), персональную вычислительную сеть (PAN), общегородскую вычислительную сеть (MAN), глобальную вычислительную сеть (WAN) и т.п., а также любые аппаратные средства, программное обеспечение и/или микропрограммное обеспечение, требуемое для того, чтобы реализовывать их (такие как, например, сетевые маршрутизаторы и т.д.). Например, сеть 1104 связи может включать в себя 802.11-, 802.16-, 802.20- и/или WiMAX-сеть. Сеть 1104 связи может включать в себя сеть общего пользования, к примеру, Интернет, частную сеть, к примеру, сеть intranet, либо комбинации вышеозначенного, и может использовать множество сетевых протоколов, доступных на настоящий момент или разработанных в дальнейшем, включающих в себя, но не только, сетевые протоколы на основе TIP/IP. Вычислительное устройство 1102 и система 1101 управления могут осуществляться посредством одной или более вычислительных систем, к примеру, посредством системы 1200, описанной со ссылкой на фиг. 12.
[00115] Вычислительное устройство 1102 и система 1101 управления могут быть выполнены с возможностью выполнять операции, содержащие сканирование пучка по сканируемой поверхности мишени вдоль первого пути; и сканирование пучка по сканируемой поверхности мишени вдоль второго пути, при этом первый путь формирует первый рисунок в первой радиальной ориентации, и второй путь формирует практически первый рисунок во второй радиальной ориентации, отличающейся от первой радиальной ориентации. Вызывают пульсацию пучка при сканировании вдоль первого и второго путей. Пучок непрерывно распространяется при сканировании вдоль первого и второго путей. Пучок перемещается из внутренней области во внешнюю область сканируемой поверхности и обратно во внутреннюю область в первом рисунке. Пучок перемещается из внешней области во внутреннюю область сканируемой поверхности и обратно во внешнюю область в первом рисунке. Первый рисунок содержит спираль и зеркальное изображение спирали. Первый рисунок имеет первую половину и вторую половину, при этом первая и вторая половины являются симметричными. Первый рисунок является непрерывно искривленным. Первый рисунок имеет начальное местоположение и конечное местоположение, при этом начальное местоположение находится в или смежно с конечным местоположением. Первая радиальная ориентация отличается от второй радиальной ориентации на 180 градусов. Операции дополнительно содержат: сканирование пучка по сканируемой поверхности мишени вдоль третьего пути, при этом третий путь формирует первый рисунок в третьей радиальной ориентации, отличающейся от первой и второй радиальных ориентаций. Первая, вторая и третья радиальные ориентации отличаются на 120 градусов. Операции дополнительно содержат: сканирование пучка по сканируемой поверхности мишени вдоль четвертого пути, при этом четвертый путь формирует первый рисунок в четвертой радиальной ориентации, отличающейся от первой, второй и третьей радиальных ориентаций. Первая, вторая, третья и четвертая радиальные ориентации отличаются на 90 градусов. Операции дополнительно содержат: сканирование пучка по сканируемой поверхности мишени вдоль пятого пути, при этом пятый путь формирует первый рисунок в пятой радиальной ориентации, отличающейся от первой, второй, третьей и четвертой радиальных ориентаций. Первая, вторая, третья, четвертая и пятая радиальные ориентации отличаются на 72 градуса. Первый путь соответствует первому экземпляру цикла, и второй путь соответствует второму экземпляру цикла. В некоторых вариантах осуществления сканирование первого экземпляра цикла и второго экземпляра цикла формирует замкнутый контур. Пучок представляет собой пучок протонов. Сканируемая поверхность представляет собой литиевую или бериллиевую поверхность. Мишень формирует нейтроны при сканировании. Пучок имеет круглый профиль сечения. Пучок имеет эллиптический профиль сечения. Пучок имеет кольцевой профиль сечения. Пучок имеет полый профиль сечения. Операции осуществляют бор-нейтронозахватную терапию (БНЗТ). Пучок генерируется посредством пучковой системы, содержащей: источник ионов; первый тракт пучка, соединенный с источником ионов; тандемный ускоритель, соединенный с первым трактом пучка; второй тракт пучка, соединенный с тандемным ускорителем; и мишень, соединенную со вторым трактом пучка. Рисунок подвергает большую часть сканируемой поверхности воздействию пучка. Второй путь формирует первый рисунок во второй радиальной ориентации, отличающейся от первой радиальной ориентации.
[00116] Вычислительное устройство 1102 и система 1101 управления могут быть выполнены с возможностью выполнять операции, содержащие сканирование пучка по сканируемой поверхности мишени вдоль первого пути; и сканирование пучка по сканируемой поверхности мишени вдоль второго пути, при этом первый путь формирует первый рисунок в первой радиальной ориентации, и второй путь формирует второй рисунок во второй радиальной ориентации, отличающейся от первой радиальной ориентации, при этом первый и второй рисунки являются практически одинаковыми, но для различных радиальных ориентаций. Первый и второй рисунки являются одинаковыми, но для различных радиальных ориентаций.
[00117] Вычислительное устройство 1102 и система 1101 управления могут быть выполнены с возможностью выполнять операции, содержащие установление с использованием компьютерной системы обработки множества возможных профилей растра для сканирования пучка протонов по мишени, причем каждый из упомянутого множества возможных профилей растра содержит один или более параметров пучка, причем каждый из упомянутого одного или более параметров пучка характеризует свойство пучка протонов, и один или более параметров пути, характеризующих путь пучка протонов по мишени; установление с использованием компьютерной системы обработки одного или более параметров мишени, характеризующих мишень; вычисление с использованием компьютерной системы обработки значения показателя качества для каждого из возможных профилей растра пучка, при этом показатель качества основан на тепловом нагружении мишени пучком протонов для соответствующего возможного профиля растра; выбор с использованием компьютерной системы обработки профиля растра из упомянутого множества возможных профилей растра на основании значения показателя качества; и направление пучка протонов по мишени согласно выбранному профилю растра. Вычисление значений для показателя качества содержит для каждого из возможных профилей растра вычисление тепловой нагрузки в каждой из множества дискретных частей мишени на основании линейной взаимосвязи между тепловой нагрузкой и потоком протонов в каждой дискретной части для соответствующего профиля растра. Каждая дискретная часть соответствует площади поверхности мишени на пути пучка протонов, которая меньше размера пучка протонов. Тепловая нагрузка в каждой дискретной части вычисляется на основе теплопередачи через глубину мишени в направлении от поверхности мишени, на которую падает пучок протонов. Показатель качества выбирается из группы, состоящей из: пиковой температуры мишени, изменения температуры мишени, средней температуры мишени и эффективности использования мишени. Упомянутый один или более параметров пучка выбираются из группы, состоящей из: размеров пучка, формы пучка и структуры пучка. Размер пучка составляет в диапазоне от 10 мм до 30 мм. Форма пучка является круглой или эллиптической. Структура пучка является круглой или кольцевой. Упомянутый один или более параметров пути выбираются из группы, состоящей из: частоты, связанной с путем пучка протонов, линейной скорости пучка протонов на поверхности мишени, числа слоев радиального сканирования в суперцикле пути пучка протонов и числа суперциклов пути пучка протонов. Упомянутый один или более параметров мишени выбираются из группы, состоящей из: площади поверхности мишени, толщины мишени и состава мишени. Мишень содержит слой лития или слой бериллия. Мишень содержит слой металла, поддерживающий слой лития или слой бериллия. Выбор содержит выдачу оператору пучка протонов списка возможных профилей растра и прием через компьютерную систему выбора из списка оператором. Операции дополнительно содержат измерение одного или более свойств мишени и выбор профиля растра на основании измеренного свойства мишени. Упомянутое одно или более свойств мишени содержат температуру мишени в одном или более местоположений на мишени. Операции дополнительно содержат измерение одного или более свойств пучка и выбор профиля растра на основании измеренного свойства пучка. Упомянутое одно или более свойств пучка измеряются выше по ходу пучка от мишени. Выбранный профиль растра задает путь для пучка протонов, имеющий минимальную задержку между последовательными подверганиями одного местоположения мишени воздействию пучка протонов, которая превышает пороговый период. Выбранный профиль растра задает путь на основе трохоидной формы. Трохоидная форма содержит множество лепестков. Угловая частота пучка протонов варьируется для различных лепестков трохоидной формы. Выбранный профиль растра содержит варьирующуюся угловую скорость пучка протонов по поверхности мишени. Выбранный профиль растра содержит варьирующуюся линейную скорость пучка протонов по поверхности мишени.
[00118] Вычислительное устройство 1102 и система 1101 управления могут быть выполнены с возможностью выполнять операции, содержащие мониторинг температуры мишени при сканировании пучка протонов по поверхности мишени согласно первому профилю растра; и, на основании отслеживаемой температуры изменение сканирования с первого профиля растра на второй профиль растра, при этом второй профиль растра и первый профиль растра приводят к отличающимся профилям нагрева мишени согласно компьютерной модели теплового нагружения мишени при первом и втором профилях растра. Сканирование изменяется в ответ на выбор второго профиля растра из множества профилей растра человеком-оператором пучка протонов. Сканирование изменяется автоматически согласно алгоритму с прямой связью или с обратной связью. Температура отслеживается во множестве дискретных местоположений мишени. Температура отслеживается посредством получения теплового изображения мишени.
[00119] Вычислительное устройство 1102 и система 1101 управления могут быть выполнены с возможностью выполнять операции, содержащие сканирование пучка заряженных частиц по сканируемой поверхности мишени в суперцикле, при этом суперцикл содержит множество циклов, причем каждый цикл из упомянутого множества циклов имеет одинаковую форму и различную азимутальную ориентацию, при этом упомянутое множество циклов конкатенируются между собой так, что путь пучка заряженных частиц проходит по множеству циклов в замкнутом контуре. Упомянутое множество циклов содержат два цикла, азимутально смещенные на 180 градусов друг от друга. Упомянутое множество циклов содержат три цикла, азимутально смещенные на 120 градусов друг от друга. Упомянутое множество циклов содержат четыре цикла, азимутально смещенные на 90 градусов друг от друга.
[00120] Теперь со ссылкой на фиг. 12 предоставлен схематичный вид примерной вычислительной системы 1200. Система 1200 может использоваться для операций, описанных в связи с вариантами осуществления, описанными в данном документе. Например, система 1200 может быть включена в любые из серверных компонентов, описанных в данном документе. Система 1200 включает в себя процессор 1210, запоминающее устройство 1220, устройство 1230 хранения данных и устройство 1240 ввода-вывода. Каждый из компонентов 1210, 1220, 1230 и 1240 взаимно соединен с использованием системной шины 1250. Процессор 1210 способен к обработке инструкций для исполнения в системе 1200. В одном варианте осуществления процессор 1210 представляет собой однопоточный процессор. В другом варианте осуществления процессор 1210 представляет собой многопоточный процессор. Процессор 1210 способен к обработке инструкций, сохраненных в запоминающем устройстве 1220 или на устройстве 1230 хранения данных, чтобы отображать графическую информацию для пользовательского интерфейса на устройстве 1240 ввода-вывода.
[00121] Запоминающее устройство 1220 сохраняет информацию в системе 1200. В одном варианте осуществления запоминающее устройство 1220 представляет собой машиночитаемый носитель. В одном варианте осуществления запоминающее устройство 1220 представляет собой энергозависимое запоминающее устройство. В другом варианте осуществления запоминающее устройство 1220 представляет собой энергонезависимое запоминающее устройство. Устройство 1230 хранения данных способно обеспечивать хранение данных большой емкости для системы 1200. В одном варианте осуществления устройство 1230 хранения данных представляет собой машиночитаемый носитель. Во всевозможных вариантах осуществления устройство 1230 хранения данных может представлять собой устройство на гибких дисках, устройство на жестких дисках, устройство на оптических дисках или устройство на магнитной ленте. Устройство 1240 ввода-вывода обеспечивает операции ввода-вывода для системы 1200. В одном варианте осуществления устройство 1240 ввода-вывода включает в себя клавиатуру и/или указательное устройство. В другом варианте осуществления устройство 1240 ввода-вывода включает в себя блок отображения для отображения графических пользовательских интерфейсов.
[00122] В некоторых вариантах осуществления два компонента могут обеспечивать использование идентичного процессора, сетевого интерфейса, носителя хранения данных и т.п. для того, чтобы выполнять свои связанные функции, так что дублированные аппаратные средства не требуются для каждого устройства. Использование терминов «устройство» и/или «схема» при использовании в данном документе относительно компонентов оборудования в силу этого может охватывать конкретные аппаратные средства, сконфигурированные с программным обеспечением с возможностью выполнять функции, связанные с этим конкретным устройством, как описано в данном документе.
[00123] Термины «устройство» и/или «схема» должны пониматься широко как включающие в себя аппаратные средства, в некоторых вариантах осуществления, устройство и/или схема также может включать в себя программное обеспечение для конфигурирования аппаратных средств. Например, в некоторых вариантах осуществления, устройство и/или схема может включать в себя схему обработки, носители хранения данных, сетевые интерфейсы, устройства ввода-вывода и т.п. В некоторых вариантах осуществления другие элементы системы 1200 могут предоставлять или дополнять функциональность конкретного компонента(ов).
[00124] В некоторых вариантах осуществления процессор 1210 (и/или сопроцессор или любая другая схема обработки, помогающая или иным образом связанная с процессором) может поддерживать связь с запоминающим устройством 1220 через шину для передачи информации между компонентами оборудования. Запоминающее устройство 1220 может быть энергонезависимым и может включать в себя, например, одно или более энергозависимых и/или энергонезависимых запоминающих устройств. Другими словами, например, запоминающее устройство 1220 может представлять собой электронное устройство хранения данных (например, машиночитаемый носитель хранения данных). Запоминающее устройство 1220 может быть выполнено с возможностью сохранять информацию, данные, контент, приложения, инструкции и т.п. для обеспечения возможности системе 1200 выполнять различные функции в соответствии с примерными вариантами осуществления настоящего раскрытия, как описано со ссылкой на фиг. 1-11.
[00125] Процессор 1210 может осуществляться рядом различных способов и, например, может включать в себя одно или более обрабатывающих устройств, выполненных с возможностью работать независимо. Дополнительно или альтернативно, процессор 1210 может включать в себя один или более процессоров, выполненных с возможностью совместно через шину обеспечивать независимое выполнение инструкций, конвейерную обработку и/или многопоточную обработку. Использование терминов «обрабатывающее устройство» и/или «схема обработки» может пониматься как включающее в себя одноядерный процессор, многоядерный процессор, несколько процессоров, внутренних для оборудования, и/или удаленных или «облачных» процессоров.
[00126] В некоторых вариантах осуществления процессор 1210 может быть выполнен с возможностью выполнять инструкции, сохраненные в запоминающем устройстве 1220 или иными способами доступные для процессора. Альтернативно или дополнительно, процессор 1210 может быть выполнен с возможностью выполнять жестко закодированную функциональность. В связи с этим, независимо от того, сконфигурирован посредством аппаратных или программных способов либо посредством комбинации аппаратных средств с программным обеспечением, процессор 3104 может представлять объект (например, физически осуществленный в схеме), допускающий выполнение операций согласно варианту осуществления настоящего раскрытия, при надлежащем конфигурировании. Альтернативно, в качестве другого примера, когда процессор 1210 осуществляется в качестве модуля выполнения программных инструкций, инструкции могут конкретно конфигурировать процессор 1210 с возможностью выполнять алгоритмы и/или операции, описанные в данном документе, когда инструкции выполняются. Инструкции могут включать в себя инструкции, необходимые для того, чтобы определять профиль сканирования и сканировать мишень, как описано со ссылкой на фиг. 1-11.
[00127] В некоторых вариантах осуществления система 1200 может включать в себя устройство 1260 ввода-вывода, которое может, в свою очередь, поддерживать связь с процессором 1210, чтобы предоставлять вывод пользователю и, в некоторых вариантах осуществления, принимать ввод от пользователя. Устройство 1260 ввода-вывода может включать в себя пользовательский интерфейс и может включать в себя дисплей устройства, к примеру, дисплей пользовательского устройства, который может включать в себя пользовательский веб-интерфейс, мобильное приложение, клиентское устройство и т.п. В некоторых вариантах осуществления, устройство 1260 ввода-вывода также может включать в себя клавиатуру, мышь, джойстик, сенсорный экран, области касания, программируемые клавиши, микрофон, динамик или другие механизмы ввода-вывода. Процессор и/или пользовательская интерфейсная схема, включающая в себя процессор, может быть выполнена с возможностью управлять одной или более функций одного или более элементов пользовательского интерфейса через компьютерные программные инструкции (например, программное обеспечение и/или микропрограммное обеспечение), сохраненные в запоминающем устройстве, доступном для процессора (например, в запоминающем устройстве 1220 и т.п.).
[00128] Устройство или схема 1240 связи может представлять собой любое средство, такое как устройство или схема, осуществленная в аппаратных средствах либо в комбинации аппаратных средств и программного обеспечения, которое выполнено с возможностью принимать и/или передавать данные из/в сеть и/или любое другое устройство или схему, поддерживающую связь с системой 1200. Устройство или схема 1240 связи может включать в себя, например, сетевой интерфейс для обеспечения связи с сетью проводной или беспроводной связи. Например, устройство или схема 1240 связи может включать в себя одну или более сетевых интерфейсных плат, антенн, шин, коммутаторов, маршрутизаторов, модемов и вспомогательных аппаратных средств и/или программное обеспечение либо любое другое устройство, подходящее для обеспечения связи через сеть. Дополнительно или альтернативно, интерфейс связи может включать в себя схему для взаимодействия с антенной(ами), с тем чтобы инструктировать передачу сигналов через антенну(ы) или обрабатывать прием сигналов, принимаемых через антенну(ы). Сигналы могут передаваться посредством системы 1200 с использованием любой из ряда технологий на основе беспроводных персональных вычислительных сетей (PAN), таких как текущие и будущие Bluetooth-стандарты (включающие в себя технологию Bluetooth и технологию Bluetooth с низким энергопотреблением (BLE)), инфракрасная беспроводная связь (например, IrDA), FREC, стандарт сверхширокополосной связи (UWB), индукционная беспроводная передача и т.п. Помимо этого, следует понимать, что сигналы могут передаваться с использованием Wi-Fi, связи ближнего радиуса действия (NFC), стандарта общемировой совместимости широкополосного беспроводного доступа (WiMax) или других протоколов связи на основе близости.
[00129] Любые такие компьютерные программные инструкции и/или другой тип кода может загружаться на компьютер, процессор или другую программируемую схему оборудования, чтобы формировать машину, так что компьютер, процессор или другая программируемая схема, которая выполняет код на машине, создает средство для реализации различных функций, включающих в себя функции, описанные в данном документе.
[00130] Варианты осуществления настоящего раскрытия могут быть сконфигурированы как системы, способы, мобильные устройства, внутренние интерфейсные сетевые устройства и т.п. Соответственно, варианты осуществления могут содержать различные средства, включающие в себя полностью аппаратные средства либо любую комбинацию программного обеспечения и аппаратных средств. Кроме того, варианты осуществления могут принимать форму компьютерного программного продукта на по меньшей мере одном энергонезависимом машиночитаемом носителе хранения данных, имеющем машиночитаемые программные инструкции (например, компьютерное программное обеспечение), осуществленные в носителе хранения данных. Может использоваться любой подходящий машиночитаемый носитель хранения данных, включающий в себя энергонезависимые жесткие диски, CD-ROM, флэш-память, оптические устройства хранения данных или магнитные устройства хранения данных.
[00131] Схема обработки в соответствии с настоящим раскрытием может включать в себя один или более процессоров, микропроцессоров, контроллеров и/или микроконтроллеров, каждый из которых может представлять собой дискретную микросхему либо распределяться между (и составлять часть) определенным числом различных микросхем. Схема обработки в соответствии с настоящим раскрытием может включать в себя процессор цифровых сигналов, который может реализовываться в аппаратных средствах и/или в программном обеспечении схемы обработки в соответствии с настоящим раскрытием. Схема обработки в соответствии с настоящим раскрытием может соединена с возможностью связи с другими компонентами чертежей в данном документе. Схема обработки в соответствии с настоящим раскрытием может выполнять программные инструкции, сохраненные в запоминающем устройстве, которые заставляют схему обработки осуществлять множество различных действий и управлять другими компонентами на чертежах в данном документе.
[00132] Запоминающее устройство в соответствии с настоящим раскрытием может совместно использоваться посредством одного или более различных функциональных блоков либо может распределяться между двумя или более из них (например, в качестве отдельных запоминающих устройств, присутствующих в различных микросхемах). Запоминающее устройство также может представлять собой отдельную собственную микросхему. Запоминающее устройство может быть кратковременным и может представлять собой энергозависимое (например, RAM и т.д.) и/или энергонезависимое запоминающее устройство (например, ROM, флэш-память, FRAM и т.д.).
[00133] Компьютерные программные инструкции для выполнения операций в соответствии с описанным предметом изобретения могут быть написаны на любой комбинации одного или более языков программирования и программных платформ, таких как, но не только, Python, платформа Labview от компании National Instruments, Java, JavaScript, Smalltalk, C++, C numnumnum, Transact-SQL, XML, PHP и т.п. и традиционные процедурные языки программирования, к примеру, язык программирования «C» или аналогичные языки программирования.
[00134] Различные аспекты настоящего предмета изобретения изложены ниже, в обзоре и/или в дополнении к описанным вариантам осуществления, при этом акцент здесь делается на взаимозависимости и взаимозаменяемости нижеприведенных вариантов осуществления. Другими словами, акцент делается на том факте, что каждый признак вариантов осуществления может комбинироваться с каждым другим признаком, если иное не указано в явной форме или не является логически неправдоподобным.
[00135] Следует отметить, что все признаки, элементы, компоненты, функции и этапы, описанные относительно любого варианта осуществления, предоставленного в настоящем документе, имеют намерение быть свободно комбинируемыми и заменяемыми с признаками, элементами, компонентами, функциями и этапами любого другого варианта осуществления. Если определенный признак, элемент, компонент, функция или этап описывается относительно только одного варианта осуществления, то следует понимать, что этот признак, элемент, компонент, функция или этап может использоваться с каждым другим вариантом осуществления, описанным в данном документе, если в явной форме не указано иное. В силу этого, этот параграф служит в качестве базовых сведений и письменного подтверждения для введения пунктов формулы изобретения, в любое время, которые комбинируют функции, элементы, компоненты, функции и этапы из различных вариантов осуществления либо которые заменяют признаки, элементы, компоненты, функции и этапы из одного варианта осуществления на признаки, элементы, компоненты, функции и этапы из другого, даже если нижеприведенное описание явно не утверждает, в конкретном примере, что такие комбинации или замены являются возможными. Следует явно принимать во внимание, что специальное перечисление каждой возможной комбинации и замены является излишне обременительным, в частности, при условии, что допустимость каждой такой комбинации и замены должна легко пониматься специалистами в данной области техники.
[00136] В той степени, в которой варианты осуществления, раскрытые в данном документе, включают в себя или работают в связи с запоминающим устройством, устройством хранения данных и/или машиночитаемыми носителями, это запоминающее устройство, устройство хранения данных и/или машиночитаемые носители являются энергонезависимыми. Соответственно, в той степени, в которой запоминающее устройство, устройство хранения данных и/или машиночитаемые носители охватываются посредством одного или более пунктов формулы изобретения, это запоминающее устройство, устройство хранения данных и/или машиночитаемые носители являются только энергонезависимыми.
[00137] При использовании в данном документе и в прилагаемой формуле изобретения, упоминание элемента в единственном числе не исключает возможности использования множества таких элементов, если контекст явно не предписывает иное.
[00138] Хотя варианты осуществления допускают различные модификации и альтернативные формы, их конкретные примеры показаны на чертежах и подробно описаны в данном документе. Тем не менее, следует понимать, что эти варианты осуществления не должны ограничиваться конкретной раскрытой формой, но наоборот, эти варианты осуществления должны охватывать все модификации, эквиваленты и альтернативы, попадающие в пределы сущности раскрытия. Кроме того, любые признаки, функции, этапы или элементы вариантов осуществления могут излагаться или добавляться в формулу изобретения, как и отрицательные ограничения, которые задают изобретаемый объем формулы изобретения посредством признаков, функций, этапов или элементов, которые не находятся в пределах этого объема.
Группа изобретений относится к области бор-нейтронозахватной терапии (БНЗТ). Реализуемый компьютером способ выбора профиля растра для сканирования пучка протонов по мишени содержит этапы, на которых профиль растра выбирают из множества возможных профилей растра на основании значения показателя качества. Пучок направляется по поверхности мишени с возможностью формировать рисунок, который повторяется один или более раз в различных радиальных ориентациях, чтобы сформировать профиль сканирования. Температура мишени отслеживается при сканировании пучка по поверхности мишени согласно профилю сканирования. Параметры сканирования являются изменяемыми, чтобы избегать повреждения мишени, повышать тепловую производительность и оптимизировать нагрузку по концентрации частиц. 2 н. и 13 з.п. ф-лы, 12 ил., 3 табл.
1. Реализуемый компьютером способ выбора профиля растра для сканирования пучка протонов по мишени, содержащий:
установление с использованием компьютерной системы обработки множества возможных профилей растра для сканирования пучка протонов по мишени, причем каждый из упомянутого множества возможных профилей растра содержит один или более параметров пучка, причем каждый из упомянутого одного или более параметров пучка характеризует свойство пучка протонов и один или более параметров пути, характеризующих путь пучка протонов по мишени;
установление с использованием компьютерной системы обработки одного или более параметров мишени, характеризующих мишень;
вычисление с использованием компьютерной системы обработки значения показателя качества для каждого из возможных профилей растра пучка, при этом показатель качества основан на тепловом нагружении мишени пучком протонов для соответствующего возможного профиля растра;
выбор с использованием компьютерной системы обработки профиля растра из упомянутого множества возможных профилей растра на основании значения показателя качества; и
направление пучка протонов по мишени согласно выбранному профилю растра.
2. Реализуемый компьютером способ по п. 1, причем вычисление значений показателя качества содержит для каждого из возможных профилей растра вычисление тепловой нагрузки в каждой из множества дискретных частей мишени на основании линейной взаимосвязи между тепловой нагрузкой и потоком протонов в каждой дискретной части для соответствующего профиля растра.
3. Реализуемый компьютером способ по п. 2, причем каждая дискретная часть соответствует площади поверхности мишени на пути пучка протонов, которая меньше размера пучка протонов, причем тепловую нагрузку в каждой дискретной части вычисляют на основе теплопередачи через глубину мишени в направлении от поверхности мишени, на которую падает пучок протонов.
4. Реализуемый компьютером способ по п. 1, причем показатель качества выбирают из группы, состоящей из: пиковой температуры мишени, изменения температуры мишени, средней температуры мишени и эффективности использования мишени.
5. Реализуемый компьютером способ по п. 1, причем упомянутые один или более параметров пучка выбирают из группы, состоящей из: размера пучка, формы пучка и структуры пучка, причем выбор профиля растра из упомянутого множества возможных профилей растра на основании значения показателя качества содержит выбор маскированного профиля, выполненного с возможностью избегать одной или более частей мишени.
6. Реализуемый компьютером способ по п. 1, причем упомянутые один или более параметров пути выбирают из группы, состоящей из: частоты, связанной с путем пучка протонов, линейной скорости пучка протонов по поверхности мишени, числа слоев радиального сканирования в суперцикле пути пучка протонов и числа суперциклов пути пучка протонов.
7. Реализуемый компьютером способ по п. 1, причем упомянутые один или более параметров мишени выбирают из группы, состоящей из: площади поверхности мишени, толщины мишени и состава мишени.
8. Реализуемый компьютером способ по п. 1, причем мишень содержит слой лития или слой бериллия.
9. Реализуемый компьютером способ по п. 1, дополнительно содержащий измерение одного или более свойств мишени и выбор профиля растра на основании измеренного свойства мишени, причем упомянутые одно или более свойств мишени содержат температуру мишени в одном или более местоположений на мишени.
10. Реализуемый компьютером способ по п. 1, дополнительно содержащий измерение одного или более свойств пучка и выбор профиля растра на основании измеренного свойства пучка.
11. Реализуемый компьютером способ по п. 10, причем упомянутые одно или более свойств пучка измеряют выше по ходу пучка от мишени.
12. Реализуемый компьютером способ по п. 1, причем выбранный профиль растра задает путь для пучка протонов, имеющий минимальную задержку между последовательными подверганиями одного местоположения мишени воздействию пучка протонов, которая превышает пороговый период.
13. Реализуемый компьютером способ по п. 12, причем выбранный профиль растра задает путь на основе трохоидной формы, причем трохоидная форма содержит множество лепестков и угловая частота пучка протонов варьируется для различных лепестков трохоидной формы.
14. Реализуемый компьютером способ по п. 1, причем выбранный профиль растра содержит варьирующуюся угловую скорость пучка протонов по поверхности мишени и/или варьирующуюся линейную скорость пучка протонов по поверхности мишени.
15. Пучковая система для сканирования пучка протонов по мишени, содержащая:
вычислительное устройство, содержащее процессор, соединенный с возможностью связи с запоминающим устройством, при этом запоминающее устройство хранит множество инструкций, которые, будучи исполняемыми процессором, заставляют процессор:
устанавливать множество возможных профилей растра для сканирования пучка протонов по мишени, причем каждый из упомянутого множества возможных профилей растра содержит один или более параметров пучка, причем каждый из упомянутого одного или более параметров пучка характеризует свойство пучка протонов и один или более параметров пути, характеризующих путь пучка протонов по мишени;
устанавливать один или более параметров мишени, характеризующих мишень;
вычислять значение показателя качества для каждого из возможных профилей растра пучка, при этом показатель качества основан на тепловом нагружении мишени пучком протонов для соответствующего возможного профиля растра;
выбирать профиль растра из упомянутого множества возможных профилей растра на основании значения показателя качества и
генерировать сигналы для направления пучка протонов по мишени согласно выбранному профилю растра.
| Станок для придания концам круглых радиаторных трубок шестигранного сечения | 1924 |
|
SU2019A1 |
| Способ приготовления лака | 1924 |
|
SU2011A1 |
| Автомобиль-сани, движущиеся на полозьях посредством устанавливающихся по высоте колес с шинами | 1924 |
|
SU2017A1 |
| УСТРОЙСТВО ДЛЯ ЛУЧЕВОЙ ТЕРАПИИ БЫСТРЫМИ НЕЙТРОНАМИ | 2009 |
|
RU2442620C2 |
Авторы
Даты
2025-06-05—Публикация
2021-08-26—Подача