УСТРОЙСТВО ДЛЯ МАРКИРОВКИ ШТУЧНЫХ ПРЕДМЕТОВ Советский патент 1968 года по МПК B41K3/36 

Описание патента на изобретение SU216021A1

Предлагаемое устройство может быть использовано в лесной и деревообрабатывающей промышленности.

Известны устройства для маркировки штучных предметов, включающие корпус с укрепленными на нем подпружиненными литерами.

Невозможно одновременно наносить любую комбинацию марок на предмет независимо от формы его маркируемой поверхности и расположения относительно плоскости набора литер.

В описываемом устройстве корпус выполнен в виде нескольких соосно установленных поворотных барабанов.

Такое исполнение устройства позволяет одновременно наносить любую комбинацию марок на предмет независимо от формы его маркируемой поверхности и расположения относительно плоскости набора литер.

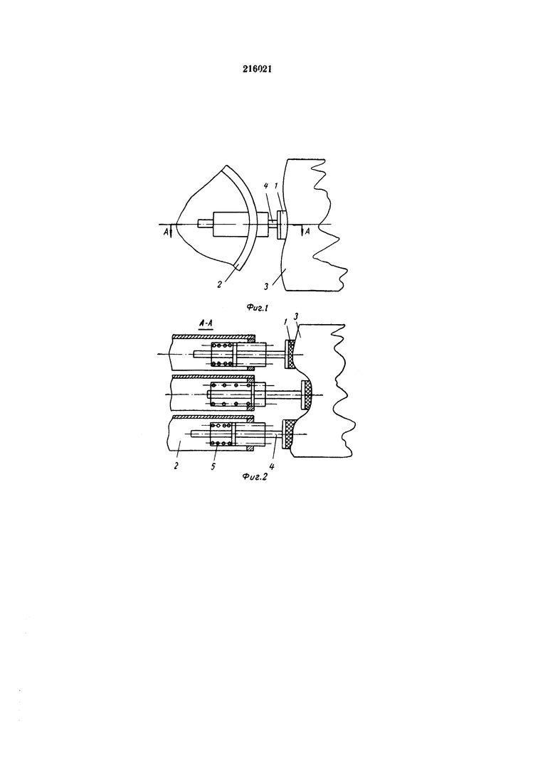
На фиг. 1 изображено предлагаемое устройство для маркировки штучных предметов, вид сбоку; на фиг. 2 - то же, разрез по А-А на фиг. 1.

Устройство состоит из подпружиненных литер 1, расположенных по окружности соосно установленных поворотных барабанов 2.

Для прижима литер к маркируемой поверхности 3 на штоках 4 литер 1 укреплены пружины 5.

Устройство работает следующим образом.

После установки комбинации литер 1 посредством поворота барабанов 2 любым из известных способов устройство надвигается на маркируемую поверхность 3. При этом литеры 1 со штоками 4 находятся в выдвинутом положении под действием пружин 5, которые обеспечивают прижим литер к разноудаленным местам маркируемой поверхности в случае выпуклой, вогнутой, волнообразной поверхности и в случае расположения маркируемой поверхности под углом к плоскости набора литер.

Похожие патенты SU216021A1

название год авторы номер документа
Устройство для маркировки 1990
  • Войткевич Евгений Георгиевич
  • Серобабин Юрий Александрович
SU1814085A1
Устройство для маркирования 1989
  • Шевинов Павел Александрович
  • Кононов Борис Макарьевич
  • Туха Надежда Александровна
  • Матрухович Надежда Павловна
SU1725275A1
Устройство для клеймения 1980
  • Розман Марлен Евгеньевич
SU897369A1
Устройство для маркировки 1989
  • Степанов Владимир Петрович
  • Роднянский Альберт Михайлович
  • Терехов Юрий Александрович
SU1757911A1
УСТРОЙСТВО ДЛЯ МАРКИРОВКИ МЕШКОВ 1971
SU427114A1
Устройство для маркировки пиломатериалов 1980
  • Тучнолобов Виталий Иванович
  • Чебыкин Евгений Лаврович
SU931484A1
Автоматическая линия для упаковывания штучных изделий в картонные пачки 1990
  • Дронченко Михаил Иванович
  • Пороховник Наталья Ильинична
SU1782870A1
Устройство для маркировки электромонтажных изделий 1985
  • Ватан Борис Евгеньевич
  • Черепанов Анатолий Петрович
SU1305783A1
Устройство для маркировки изделий 1979
  • Шаров Вячеслав Александрович
  • Зайцев Владимир Иванович
SU856785A1
МАРКИРОВОЧНОЕ УСТРОЙСТВО 1970
SU262663A1

Иллюстрации к изобретению SU 216 021 A1

Формула изобретения SU 216 021 A1

Устройство для маркировки штучных предметов, преимущественно лесоматериалов, включающее корпус с укрепленными на нем подпружиненными литерами, отличающееся тем, что, с целью обеспечения возможности одновременного нанесения любой комбинации марок на предмет независимо от формы его маркируемой поверхности и расположения относительно плоскости набора литер, корпус устройства выполнен в виде нескольких соосно установленных поворотных барабанов.

SU 216 021 A1

Авторы

Евтихов П.Я.

Столяренко С.Г.

Даты

1968-07-26Публикация

1967-03-13Подача