СПОСОБЫ ЛЕЧЕНИЯ ГИПЕРАКТИВНОГО МОЧЕВОГО ПУЗЫРЯ С ПРИМЕНЕНИЕМ ТРОСПИЯ ХЛОРИДА Российский патент 2024 года по МПК A61K31/4015 A61P13/10 

Описание патента на изобретение RU2832085C2

Перекрестная ссылка на родственные заявки

[0001] Настоящая заявка испрашивает преимущество и приоритет по предварительной заявке на патент США № 62/713414, поданной 1 августа 2018 г., и предварительной заявке на патент США № 62/850481, поданной 20 мая 2019 г. Содержание каждой из этих заявок полностью включено в настоящий документ путем ссылки.

ОБЛАСТЬ ПРИМЕНЕНИЯ ИЗОБРЕТЕНИЯ

[0002] Настоящая заявка относится к способам лечения гиперактивного мочевого пузыря, обучения или переобучения мочевого пузыря, более длительного ослабления симптомов, улучшения качества жизни и/или ремоделирования нейронов у субъекта, имеющего гиперактивный мочевой пузырь, путем местной доставки троспия хлорида в мочевой пузырь.

ПРЕДПОСЫЛКИ СОЗДАНИЯ ИЗОБРЕТЕНИЯ

[0003] Расстройства нижних мочевыводящих путей, включая гиперактивный мочевой пузырь, нестабильность мышцы-сжимателя и недержание мочи, могут возникать из-за многочисленных патологий. Эти патологии обычно классифицируются как невропатические, миогенные или идиопатические. у большинства пациентов патология обычно характеризуется как идиопатическая из-за отсутствия наблюдаемой этиологии заболевания.

[0004] Недавние исследования позволяют предположить, что сенсорная система уротелия может играть важную роль в афферентной передаче сигналов и активности мышцы-сжимателя. См. de Groat and Yoshimura, Handb Exp Pharmacol. 2009; (194) 91-138; Daly et al. Current Opinion in Urology 2011, 21:268-274; Birder and Andersson Physiol Rev 93: 653-680, 2013. Предполагается, что патология этой системы играет важную роль у многих пациентов с идиопатическим заболеванием нижних мочевыводящих путей.

[0005] Стандартные виды терапии лекарственными средствами для пациентов с идиопатическими расстройствами нижних мочевыводящих путей представляют собой системное лечение, обычно с пероральным или трансдермальным введением. Эти виды терапии часто не обладают достаточной эффективностью из-за побочных эффектов, требующих ограничения дозы, низкой активности, либо по обеим причинам.

[0006] В настоящее время пациенты, для которых системная лекарственная терапия оказалась неэффективной, имеют только две альтернативы. Первой альтернативой являются инъекции ботокса непосредственно в стенку мочевого пузыря, которые могут обеспечить облегчение симптомов, но также могут вызывать нежелательную продолжительную задержку мочеиспускания, требующую самокатетеризации. Второй альтернативой является стимуляция крестцовых нервов, производимая устройством InterStim®, которое имплантируют хирургическим путем и которое показало свою способность облегчать симптомы. Однако оборудование и хирургическое вмешательство являются дорогостоящими и высокоинвазивными, а частота нежелательных явлений, требующих корректирующих хирургических вмешательств или удаления устройства, составляет 30%.

[0007] Гиперактивный мочевой пузырь представляет собой хроническое состояние, характеризующееся симптомами неотложного позыва к мочеиспусканию со стороны нижних мочевыводящих путей с ургентным недержанием или без него, обычно с частым мочеиспусканием и никтурией. Гиперактивный мочевой пузырь является наиболее распространенной причиной недержания мочи или потери контроля мочевого пузыря у взрослых и поражает приблизительно 33 миллиона или приблизительно 17% взрослых в США. Хотя распространенность среди мужчин и женщин в США схожа (16,0% и 16,9% соответственно), степень тяжести и характер выраженности симптомов различаются, и у женщин показана более высокая частота случаев недержания мочи. Также отмечается заметное увеличение распространенности с возрастом. Гиперактивный мочевой пузырь оказывает существенное влияние на качество жизни, обусловленное состоянием здоровья, психическое здоровье и качество сна индивидуумов, независимо от того, проявляется ли у них симптом ургентного недержания. Экономическое бремя из-за гиперактивного мочевого пузыря также является значимым и по оценкам составляет только в США приблизительно 12 миллиардов долларов. Гиперактивный мочевой пузырь отличается от недержания мочи при напряжении, но в случае их совместного возникновения это обычно называется смешанным недержанием.

[0008] Сенсорная система уротелия состоит из множества рецепторов и сигнальных путей, многие из которых проявляют значительное «перекрестное влияние». Из-за вариабельности сенсорной системы уротелия селективные средства, такие как дарифенацин, могут не модулировать сенсорную активацию уротелия надлежащим образом после неспецифических болевых раздражителей. Аналогичным образом, неспецифические средства, такие как оксибутинин, обладающий антимускариновой активностью и действующий на кальциевые каналы, не ингибируют реакцию уротелия, измеряемую по интервалам между сокращениями, но могут приводить к задержке мочеиспускания.

[0009] Соответственно, сохраняется потребность в дополнительных и более эффективных способах лечения расстройств нижних мочевыводящих путей, в том числе гиперактивного мочевого пузыря. Желательно, чтобы такие способы лечения решали одну или больше проблем, связанных с системным введением лекарственных средств и высокоинвазивными и дорогостоящими хирургическими процедурами. Желательно, чтобы лечение также позволяло избежать или уменьшить потребность в болезненных инъекциях и повторной самокатетеризации. Желательно, чтобы лечение вырабатывало устойчивый ответ.

[0010] Раскрытия всех публикаций, патентов, заявок на патент и опубликованных заявок на патент, на которые даны ссылки в настоящем документе, полностью включены в настоящий документ путем ссылки.

СУЩНОСТЬ ИЗОБРЕТЕНИЯ

[0011] В некоторых вариантах осуществления в настоящем документе предложен способ обучения мочевого пузыря субъекта с гиперактивным мочевым пузырем, включающий местное введение субъекту эффективного количества троспия хлорида в мочевой пузырь в течение по меньшей мере приблизительно 24 часов.

[0012] В некоторых вариантах осуществления в настоящем документе предложен способ более длительного облегчения симптомов у субъекта с гиперактивным мочевым пузырем, включающий местное введение эффективного количества троспия хлорида в мочевой пузырь в течение по меньшей мере приблизительно 24 часов, причем у субъекта наблюдается облегчение симптомов в течение по меньшей мере приблизительно 24 часов после завершения введения троспия хлорида.

[0013] В некоторых вариантах осуществления в настоящем документе предложен способ улучшения качества жизни субъекта с гиперактивным мочевым пузырем, включающий местное введение эффективного количества троспия хлорида в мочевой пузырь в течение по меньшей мере приблизительно 24 часов, причем качество жизни субъекта улучшается при лечении троспия хлоридом.

[0014] В некоторых вариантах осуществления согласно любому из описанных выше способов субъект с гиперактивным мочевым пузырем испытывает облегчение симптомов по меньшей мере приблизительно на 50% по сравнению с исходном уровнем в течение по меньшей мере приблизительно 7 дней после завершения введения троспия хлорида.

[0015] В некоторых вариантах осуществления согласно любому из описанных выше способов троспия хлорид непрерывно вводят местно в мочевой пузырь в течение по меньшей мере приблизительно 42 дней.

[0016] В некоторых вариантах осуществления согласно любому из описанных выше способов способ дополнительно включает местное введение эффективного количества троспия хлорида в мочевой пузырь приблизительно каждые 3 месяца или по мере необходимости (в зависимости от обстоятельств).

[0017] В некоторых вариантах осуществления в настоящем документе предложен способ лечения гиперактивного мочевого пузыря, включающий непрерывное местное введение субъекту эффективного количества троспия хлорида в мочевой пузырь в течение по меньшей мере приблизительно 42 дней.

[0018] В некоторых вариантах осуществления согласно любому из описанных выше способов троспия хлорид вводят непрерывно в течение приблизительно 56 дней или приблизительно 12 недель. В некоторых вариантах осуществления троспия хлорид вводят непрерывно в течение по меньшей мере приблизительно 12 недель.

[0019] В некоторых вариантах осуществления в настоящем документе также предложен способ поддерживающей терапии гиперактивного мочевого пузыря у субъекта, включающий непрерывное местное введение троспия хлорида в мочевой пузырь в течение по меньшей мере приблизительно 24 часов, причем субъект получал предшествующую терапию гиперактивного мочевого пузыря. В некоторых вариантах осуществления поддерживающая терапия включает местное введение эффективного количества троспия хлорида в мочевой пузырь в течение по меньшей мере приблизительно 24 часов каждые 3 месяца. В некоторых вариантах осуществления поддерживающая терапия включает местное введение эффективного количества троспия хлорида в мочевой пузырь в течение по меньшей мере приблизительно 24 часов по мере необходимости (в зависимости от обстоятельств). В некоторых вариантах осуществления поддерживающая терапия включает местное введение эффективного количества троспия хлорида в мочевой пузырь в течение по меньшей мере приблизительно 24 часов после рецидива симптомов. В некоторых вариантах осуществления поддерживающая терапия включает местное введение эффективного количества троспия хлорида в мочевой пузырь в течение по меньшей мере приблизительно 24 часов, когда у субъекта наблюдается рецидив симптомов по меньшей мере на 50% от исходного уровня. В некоторых вариантах осуществления предшествующая терапия включает местное введение эффективного количества троспия хлорида в мочевой пузырь в течение по меньшей мере приблизительно 24 часов, по меньшей мере приблизительно 42 дней, по меньшей мере приблизительно 56 дней или по меньшей мере приблизительно 12 недель.

[0020] В некоторых вариантах осуществления согласно любому из описанных выше способов в ходе введения троспия хлорида концентрация троспия хлорида в мочевом пузыре составляет от приблизительно 0,1 до 100 мкг/мл. В некоторых вариантах осуществления в ходе введения субъекту троспия хлорида концентрация троспия хлорида в плазме крови составляет менее приблизительно 2 нг/мл.

[0021] В некоторых вариантах осуществления согласно любому из описанных выше способов у субъекта имеется идиопатический гиперактивный мочевой пузырь.

[0022] В некоторых вариантах осуществления согласно любому из описанных выше способов у субъекта имеется рассеянный склероз, болезнь Альцгеймера, болезнь Паркинсона или перенесенный инсульт.

[0023] В некоторых вариантах осуществления согласно любому из описанных выше способов предыдущее лечение гиперактивного мочевого пузыря у субъекта было неэффективным.

[0024] В некоторых вариантах осуществления согласно любому из описанных выше способов субъект ранее не получал лечения гиперактивного мочевого пузыря.

[0025] В некоторых вариантах осуществления согласно любому из описанных выше способов пероральная терапия оказалась неэффективной или субъект не удовлетворял критериям для пероральной терапии.

[0026] В некоторых вариантах осуществления согласно любому из описанных выше способов субъект страдает от недержания мочи или ургентного недержания.

[0027] В некоторых вариантах осуществления согласно любому из описанных выше способов способ приводит к нейронному ремоделированию или ремоделированию нервной сети. В некоторых вариантах осуществления достигается симптоматическое облегчение ургентности, частоты или недержания. В некоторых вариантах осуществления оценка качества жизни субъекта улучшается. В некоторых вариантах осуществления оценка причинения неудобств, связанных с мочеиспусканием, у субъекта снижается. В некоторых вариантах осуществления способ снижает патологические позывы к мочеиспусканию.

[0028] В некоторых вариантах осуществления согласно любому из описанных выше способов троспия хлорид вводят в мочевой пузырь с помощью устройства для внутрипузырного введения.

КРАТКОЕ ОПИСАНИЕ ГРАФИЧЕСКИХ МАТЕРИАЛОВ

[0029] Ниже приведены ссылки на графические материалы, которые приведены в качестве примера и не имеют ограничительного характера, и на которых подобные элементы пронумерованы одинаково. Подробное описание приведено со ссылкой на прилагаемые графические материалы, иллюстрирующие примеры из описания, на которых использование одинаковых номеров позиций указывает на аналогичные или идентичные элементы. Некоторые варианты осуществления настоящего изобретения могут включать элементы, компоненты и/или конфигурации, отличные от тех, что показаны на графических материалах, и некоторые из элементов, компонентов и/или конфигураций, показанных на графических материалах, могут не присутствовать в определенных вариантах осуществления.

[0030] На фиг. 1A представлен вид сбоку в поперечном сечении одного варианта осуществления упругой части устройства, содержащей удерживающую концевую заглушку.

[0031] На фиг. 1B представлен вид с торца в поперечном сечении варианта осуществления по фиг. 1А.

[0032] На фиг. 1C представлен вид сбоку в поперечном сечении устройства, изображенного на фиг. 1A, когда резервуар не находится под осмотическим давлением.

[0033] На фиг. 1D представлен вид сбоку в поперечном сечении устройства, изображенного на фиг. 1A, когда резервуар находится под осмотическим давлением.

[0034] На фиг. 2 представлен вид сбоку в поперечном сечении одного варианта осуществления устройства, имеющего предварительно сформированное отверстие в боковой стенке и две удерживающие концевые заглушки.

[0035] На фиг. 3A представлен вид в горизонтальной проекции одного варианта осуществления устройства, имеющего предварительно сформированное отверстие в боковой стенке и две удерживающие концевые заглушки.

[0036] На фиг. 3B представлен увеличенным вид в поперечном сечении одной из концевых заглушек, изображенных на фиг. 3A.

[0037] На фиг. 3C представлен вид в перспективе с пространственным разделением компонентов концевой заглушки, показанной на фиг. 3B.

[0038] На фиг. 4 представлен вид с торца в поперечном сечении одного варианта осуществления устройства для доставки лекарственных средств.

[0039] На фиг. 5A представлен вид в горизонтальной проекции одного варианта осуществления устройства для доставки лекарственных средств, имеющего ограничивающие заглушки и предварительно сформированное отверстие для высвобождения.

[0040] На фиг. 5B представлен увеличенный вид в поперечном сечении устройства, показанного на фиг. 5A.

[0041] На фиг. 6A представлен вид в горизонтальной проекции одного варианта осуществления устройства для доставки лекарственных средств, имеющего ограничивающие заглушки и предварительно сформированное отверстие для высвобождения.

[0042] На фиг. 6B представлен увеличенный вид в поперечном сечении устройства, показанного на фиг. 6A.

[0043] На фиг. 7A-7C показано устройство для внутрипузырного введения, которое может использоваться для местной и непрерывной доставки троспия хлорида или другого терапевтического средства. На фиг. 12A представлен вид в горизонтальной проекции. На фиг. 12B представлен вид в поперечном сечении вдоль линии 3-3, показанный на фиг. 12A. На фиг. 12C представлен вид одной концевой части устройства, расположенной в рабочем канале инструмента для введения, показанного частично в поперечном сечении.

[0044] На фиг. 8 показано суточное количество троспия хлорида в моче, оцененное на 3, 7, 21, 35, 42 и 56 день после введения TAR-302.

[0045] На фиг. 9A и фиг. 9B представлена схема исследования (фиг. 9A) и среднесуточное количество эпизодов недержания, оцененное в день 0 (исходный уровень), день 42 и день 84 после введения TAR-302 (фиг. 9B).

[0046] На фиг. 10A и фиг. 10B показана эффективность лечения гиперактивного мочевого пузыря. На фиг. 10A показано изменение суточного количества эпизодов ургентного недержания у пациентов с гиперактивным мочевым пузырем, невосприимчивых к пероральной терапии, при завершении дозирования после лечения с помощью TAR-302 или Botox®. На фиг. 10B показано уменьшение суточного количества эпизодов ургентного недержания у пациентов с гиперактивным мочевым пузырем, ранее не получавших пероральную терапию, после лечения VESlcare® (солифенацина сукцинат) или Detrol® LA (толтеролидина тартрат), по сравнению с уменьшением суточного количества эпизодов ургентного недержания у пациентов, невосприимчивых к пероральной терапии, после лечения TAR-302.

[0047] На фиг. 11 показана оценка причинения неудобств, связанных с мочеиспусканием, у субъектов, получавших лечение с помощью TAR-302, рассчитанная до лечения с помощью TAR-302, при завершении введения доз посредством TAR-302 в день 42 и через 42 дня после удаления TAR-302 в день 84.

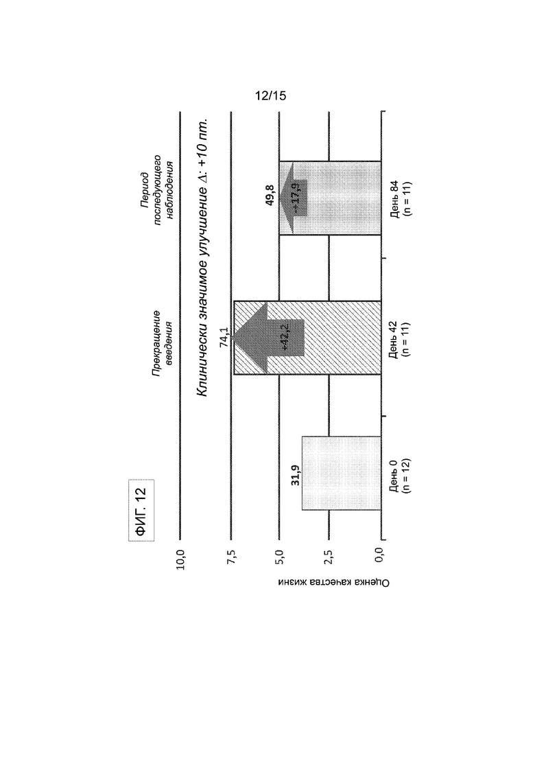
[0048] На фиг. 12 показана оценка качества жизни субъектов, получавших лечение с помощью TAR-302, рассчитанная до лечения с помощью TAR-302, при завершении введения доз посредством TAR-302 в день 42 и через 42 дня после удаления TAR-302 в день 84.

[0049] На фиг. 13 показан пример анкеты для оценки причинения неудобств.

[0050] На фиг. 14 показан пример анкеты для оценки качества жизни.

[0051] На фиг. 15A и фиг. 15B представлена схема исследования (фиг. 15A) и среднесуточное количество случаев недержания, оцененное в день 0 (исходный уровень), день 14, день 56 и день 84 после введения TAR-302 (фиг. 15B).

ПОДРОБНОЕ ОПИСАНИЕ

[0052] Настоящая заявка по меньшей мере частично основана на обнаружении заявителем того, что местное (например, внутрипузырное) введение эффективного количества троспия хлорида в мочевой пузырь субъекта с гиперактивным мочевым пузырем может привести к длительному облегчению симптомов (например, уменьшению недержания мочи). В фазе I клинического исследования TAR-302, пассивной нерассасывающейся системы для внутрипузырного высвобождения троспия хлорида, основным механизмом действия которой является контролируемое высвобождение троспия хлорида в мочевой пузырь в течение приблизительно 42 дней, было показано, что это не только уменьшает количество эпизодов недержания в течение 42 дней, когда троспия хлорид вводили в мочевой пузырь, а также неожиданно и существенно уменьшает количество эпизодов недержания через шесть недель после прекращения введения троспия хлорида. Способы по настоящему изобретению имеют существенные преимущества по сравнению с предыдущими способами лечения мочевого пузыря, включая пероральную терапию троспия хлоридом, например, уменьшение побочных эффектов наряду с более высокой локальной концентрацией троспия хлорида в мочевом пузыре. Таким образом, в некоторых аспектах настоящее изобретение особенно подходит для субъектов с идиопатическим гиперактивным мочевым пузырем, которым не помогла пероральная терапия и/или которые имеют тяжелое заболевание, трудно поддающееся лечению. В некоторых аспектах в настоящей заявке предложены способы обучения или переобучения мочевого пузыря субъекта с гиперактивным мочевым пузырем. В некоторых аспектах в настоящей заявке предложены способы продления облегчения симптомов у субъекта с гиперактивным мочевым пузырем. В некоторых аспектах в настоящей заявке предложены способы ремоделирования нейронов у субъекта с гиперактивным мочевым пузырем. В некоторых аспектах в настоящей заявке предложены способы улучшения качества жизни у субъекта с гиперактивным мочевым пузырем.

Определения

[0053] Используемые в настоящем документе формы единственного числа включают множественное число, если из контекста явно не следует иное. Например, формы единственного числа означают «по меньшей мере один» или «один или более».

[0054] Используемый в настоящем документе термин «субъект» относится к млекопитающему, включая человека. Термин «субъект» включает в себя, без ограничений, человека, корову, лошадь, животных из семейства кошачьих, собачьих, грызунов или приматов. В некоторых вариантах осуществления субъект представляет собой человека.

[0055] Используемый в настоящем документе термин «эффективное количество» относится к количеству соединения или композиции, достаточному для лечения указанного расстройства, состояния или заболевания, например, для ослабления, временного облегчения, облегчения и/или задержки одного или более симптомов.

[0056] Указание «приблизительно» со значением или параметром в настоящем документе включает в себя (и описывает) варианты осуществления, которые относятся к этому значению или параметру как таковому. Например, «приблизительно 7 дней» включает 7 дней.

[0057] Используемый в настоящем документе термин «приблизительно X-Y» имеет то же значение, что и «от приблизительно X до приблизительно Y». Аналогично, используемый в настоящем документе термин «от приблизительно X до Y» имеет то же значение, что и «от приблизительно X до приблизительно Y».

[0058] Используемый в настоящем документе термин «лечение» или «лечащий» означает подход к достижению благоприятных или желательных результатов, включая результаты клинических исследований. Для целей настоящего изобретения благоприятные или желательные клинические результаты включают, помимо прочего, одно или более из следующего: облегчение одного или более симптомов, вызванных заболеванием, уменьшение степени заболевания, стабилизацию заболевания (например, предотвращения или задержки ухудшения заболевания), предотвращение или задержку рецидива заболевания, задержку или замедление прогрессирования заболевания, облегчение состояния заболевания, уменьшение дозы одного или более других лекарственных средств, необходимых для лечения заболевания, задержку прогрессирования заболевания и/или повышение или улучшение качества жизни. Способы по настоящему изобретению предусматривают любой один или более из этих аспектов лечения.

Способы

[0059] В одном аспекте в настоящей заявке предложен способ обучения (или переобучения) мочевого пузыря субъекта с гиперактивным мочевым пузырем, включающий местное введение субъекту эффективного количества троспия хлорида в мочевой пузырь в течение по меньшей мере приблизительно 24 часов. В некоторых вариантах осуществления троспия хлорид вводят в течение по меньшей мере приблизительно 3, 5 или 7 дней. В некоторых вариантах осуществления троспия хлорид вводят в течение по меньшей мере приблизительно 2, 3, 4, 5, 6, 7, 8, 9, 10, 11, 12, 13, 14, 15 или 16 недель. В некоторых вариантах осуществления троспия хлорид вводят при помощи устройства для внутрипузырной доставки. В некоторых вариантах осуществления троспия хлорид вводят в дозе от приблизительно 1 мг/сут до 100 мг/сут, от приблизительно 1 мг/сут до 20 мг/сут, от приблизительно 2 мг/сут до 10 мг/сут, от приблизительно 4 мг/сут до 8 мг/сут. В некоторых вариантах осуществления концентрация троспия хлорида в моче составляет от приблизительно 0,1 µг/мл до приблизительно 20 µг/мл, от приблизительно 1 µг/мл до приблизительно 10 µг/мл, от приблизительно 2 µг/мл до приблизительно 8 µг/мл или от приблизительно 3 µг/мл до приблизительно 7 µг/мл или от приблизительно 3 µг/мл до приблизительно 5 µг/мл во время введения троспия хлорида. В некоторых вариантах осуществления троспия хлорид вводят непрерывно или с промежутками. В некоторых вариантах осуществления субъект с гиперактивным мочевым пузырем испытывает облегчение симптомов по меньшей мере приблизительно на 50% по сравнению с исходным уровнем в течение по меньшей мере приблизительно 7 дней, 2 недель, 3 недель, 4 недель, 5 недель или 6 недель после завершения введения троспия хлорида. В некоторых вариантах осуществления субъект получал предшествующую терапию гиперактивного мочевого пузыря. В некоторых вариантах осуществления предшествующая терапия представляет собой пероральную терапию. В некоторых вариантах осуществления субъект не отвечал на предшествующую терапию или невосприимчив к ней. В некоторых вариантах осуществления субъект представляет собой человека. В некоторых вариантах осуществления у субъекта имеется идиопатический гиперактивный мочевой пузырь. В некоторых вариантах осуществления у субъекта имеется рассеянный склероз, болезнь Альцгеймера, болезнь Паркинсона или перенесенный инсульт.

[0060] В настоящей заявке также предложен способ обучения (или переобучения) мочевого пузыря субъекта с гиперактивным мочевым пузырем, включающий местное введение субъекту эффективного количества троспия хлорида в мочевой пузырь в течение по меньшей мере приблизительно 42 дней (например, приблизительно 42, 56, 70 или 84 дней). В некоторых вариантах осуществления троспия хлорид вводят в течение по меньшей мере приблизительно 56 дней. В некоторых вариантах осуществления троспия хлорид вводят в течение по меньшей мере приблизительно 100 дней. В некоторых вариантах осуществления троспия хлорид вводят при помощи устройства для внутрипузырной доставки. В некоторых вариантах осуществления троспия хлорид вводят в дозе от приблизительно 1 мг/сут до 100 мг/сут, от приблизительно 1 мг/сут до 20 мг/сут, от приблизительно 2 мг/сут до 10 мг/сут, от приблизительно 4 мг/сут до приблизительно 8 мг/сут. В некоторых вариантах осуществления концентрация троспия хлорида в моче составляет от приблизительно 0,1 µг/мл до приблизительно 20 µг/мл, от приблизительно 1 µг/мл до приблизительно 10 µг/мл, от приблизительно 2 µг/мл до приблизительно 8 µг/мл или от приблизительно 3 µг/мл до приблизительно 7 µг/мл или от приблизительно 3 µг/мл до приблизительно 5 µг/мл во время введения троспия хлорида. В некоторых вариантах осуществления троспия хлорид вводят непрерывно или с промежутками. В некоторых вариантах осуществления субъект с гиперактивным мочевым пузырем испытывает облегчение симптомов по меньшей мере приблизительно на 50% от исходного уровня в течение по меньшей мере приблизительно 7 дней, 2 недель, 3 недель, 4 недель, 5 недель или 6 недель после завершения введения троспия хлорида. В некоторых вариантах осуществления субъект получал предшествующую терапию гиперактивного мочевого пузыря. В некоторых вариантах осуществления предшествующая терапия представляет собой пероральную терапию. В некоторых вариантах осуществления субъект не отвечал на предшествующую терапию или невосприимчив к ней. В некоторых вариантах осуществления субъект представляет собой человека. В некоторых вариантах осуществления у субъекта имеется идиопатический гиперактивный мочевой пузырь. В некоторых вариантах осуществления у субъекта имеется рассеянный склероз, болезнь Альцгеймера, болезнь Паркинсона или перенесенный инсульт.

[0061] В настоящей заявке также предложен способ обучения (или переобучения) мочевого пузыря субъекта с гиперактивным мочевым пузырем, включающий местное введение субъекту эффективного количества троспия хлорида в мочевой пузырь в течение по меньшей мере приблизительно 42 дней (например, приблизительно 42, 56, 70 или 84 дней), причем субъект проходил предшествующую терапию, и причем субъект невосприимчив к предшествующей терапии. В некоторых вариантах осуществления троспия хлорид вводят в течение по меньшей мере приблизительно 56 дней. В некоторых вариантах осуществления троспия хлорид вводят в течение по меньшей мере приблизительно 84 дней. В некоторых вариантах осуществления троспия хлорид вводят в течение по меньшей мере приблизительно 100 дней. В некоторых вариантах осуществления предшествующая терапия представляет собой пероральную терапию. В некоторых вариантах осуществления троспия хлорид вводят при помощи устройства для внутрипузырной доставки. В некоторых вариантах осуществления троспия хлорид вводят в дозе от приблизительно 1 мг/сут до 100 мг/сут, от приблизительно 1 мг/сут до 20 мг/сут, от приблизительно 2 мг/сут до 10 мг/сут, от приблизительно 4 мг/сут до приблизительно 8 мг/сут. В некоторых вариантах осуществления концентрация троспия хлорида в моче составляет от приблизительно 0,1 µг/мл до приблизительно 20 µг/мл, от приблизительно 1 µг/мл до приблизительно 10 µг/мл, от приблизительно 2 µг/мл до приблизительно 8 µг/мл или от приблизительно 3 µг/мл до приблизительно 7 µг/мл или от приблизительно 3 µг/мл до приблизительно 5 µг/мл во время введения троспия хлорида. В некоторых вариантах осуществления троспия хлорид вводят непрерывно или с промежутками. В некоторых вариантах осуществления субъект с гиперактивным мочевым пузырем испытывает облегчение симптомов по меньшей мере приблизительно на 50% от исходного уровня в течение по меньшей мере приблизительно 7 дней, 2 недель, 3 недель, 4 недель, 5 недель или 6 недель после завершения введения троспия хлорида. В некоторых вариантах осуществления субъект представляет собой человека. В некоторых вариантах осуществления у субъекта имеется идиопатический гиперактивный мочевой пузырь. В некоторых вариантах осуществления у субъекта имеется рассеянный склероз, болезнь Альцгеймера, болезнь Паркинсона или перенесенный инсульт.

[0062] В другом аспекте настоящей заявки предложен способ более длительного облегчения симптомов у субъекта с гиперактивным мочевым пузырем, включающий местное введение эффективного количества троспия хлорида в мочевой пузырь в течение по меньшей мере приблизительно 24 часов, причем у субъекта наблюдается облегчение симптома в течение по меньшей мере приблизительно 24 часов после завершения введения троспия хлорида. В некоторых вариантах осуществления достигается длительное облегчение симптомов, связанных с ургентностью, частотой, недержанием мочи и/или ургентным недержанием. В некоторых вариантах осуществления субъект испытывает облегчение симптомов в течение по меньшей мере приблизительно 1, 2, 3, 4, 5 или 6 недель после завершения введения троспия хлорида. В некоторых вариантах осуществления троспия хлорид вводят в течение по меньшей мере приблизительно 3, 5 или 7 дней. В некоторых вариантах осуществления троспия хлорид вводят в течение по меньшей мере приблизительно 2, 3, 4, 5, 6, 7, 8, 9, 10, 11, 12, 13, 14, 15 или 16 недель. В некоторых вариантах осуществления троспия хлорид вводят при помощи устройства для внутрипузырной доставки. В некоторых вариантах осуществления троспия хлорид вводят в дозе от приблизительно 1 мг/сут до 100 мг/сут, от приблизительно 1 мг/сут до 20 мг/сут, от приблизительно 2 мг/сут до 10 мг/сут, от приблизительно 4 мг/сут до приблизительно 8 мг/сут. В некоторых вариантах осуществления концентрация троспия хлорида в моче составляет от приблизительно 0,1 µг/мл до приблизительно 20 µг/мл, от приблизительно 1 µг/мл до приблизительно 10 µг/мл, от приблизительно 2 µг/мл до приблизительно 8 µг/мл или от приблизительно 3 µг/мл до приблизительно 7 µг/мл или от приблизительно 3 µг/мл до приблизительно 5 µг/мл во время введения троспия хлорида. В некоторых вариантах осуществления троспия хлорид вводят непрерывно или с промежутками. В некоторых вариантах осуществления субъект с гиперактивным мочевым пузырем испытывает облегчение симптомов по меньшей мере приблизительно на 50% от исходного уровня в течение по меньшей мере приблизительно 7 дней, 2 недель, 3 недель, 4 недель, 5 недель или 6 недель после завершения введения троспия хлорида. В некоторых вариантах осуществления субъект получал предшествующую терапию гиперактивного мочевого пузыря. В некоторых вариантах осуществления предшествующая терапия представляет собой пероральную терапию. В некоторых вариантах осуществления субъект не отвечал на предшествующую терапиею или невосприимчив к ней. В некоторых вариантах осуществления субъект представляет собой человека. В некоторых вариантах осуществления у субъекта имеется идиопатический гиперактивный мочевой пузырь. В некоторых вариантах осуществления у субъекта имеется рассеянный склероз, болезнь Альцгеймера, болезнь Паркинсона или перенесенный инсульт.

[0063] В настоящей заявке также предложен способ более длительного облегчения симптомов у субъекта с гиперактивным мочевым пузырем, включающий местное введение эффективного количества троспия хлорида в мочевой пузырь в течение по меньшей мере приблизительно 42 дней (например, приблизительно 42, 56, 70 или 84 дней), причем у субъекта наблюдается облегчение симптома в течение по меньшей мере приблизительно 24 часов после завершения введения троспия хлорида. В некоторых вариантах осуществления достигается длительное облегчение симптомов, связанных с ургентностью, частотой, недержанием мочи и/или ургентным недержанием. В некоторых вариантах осуществления субъект испытывает облегчение симптомов в течение по меньшей мере приблизительно 1, 2, 3, 4, 5 или 6 недель после завершения введения троспия хлорида. В некоторых вариантах осуществления троспия хлорид вводят в течение по меньшей мере приблизительно 56 дней. В некоторых вариантах осуществления троспия хлорид вводят в течение по меньшей мере приблизительно 84 дней. В некоторых вариантах осуществления троспия хлорид вводят в течение по меньшей мере приблизительно 100 дней. В некоторых вариантах осуществления троспия хлорид вводят при помощи устройства для внутрипузырной доставки. В некоторых вариантах осуществления троспия хлорид вводят в дозе от приблизительно 1 мг/сут до 100 мг/сут, от приблизительно 1 мг/сут до 20 мг/сут, от приблизительно 2 мг/сут до 10 мг/сут, от приблизительно 4 мг/сут до приблизительно 8 мг/сут. В некоторых вариантах осуществления концентрация троспия хлорида в моче составляет от приблизительно 0,1 µг/мл до приблизительно 20 µг/мл, от приблизительно 1 µг/мл до приблизительно 10 µг/мл, от приблизительно 2 µг/мл до приблизительно 8 µг/мл или от приблизительно 3 µг/мл до приблизительно 7 µг/мл или от приблизительно 3 µг/мл до приблизительно 5 µг/мл во время введения троспия хлорида. В некоторых вариантах осуществления троспия хлорид вводят непрерывно или с промежутками. В некоторых вариантах осуществления субъект с гиперактивным мочевым пузырем испытывает облегчние симптомов по меньшей мере приблизительно на 50% от исходного уровня в течение по меньшей мере приблизительно 7 дней, 2 недель, 3 недель, 4 недель, 5 недель или 6 недель после завершения введения троспия хлорида. В некоторых вариантах осуществления субъект получал предшествующую терапию гиперактивного мочевого пузыря. В некоторых вариантах осуществления предшествующая терапия представляет собой пероральную терапию. В некоторых вариантах осуществления субъект не отвечал на предшествующую терапию или невосприимчив к ней. В некоторых вариантах осуществления субъект представляет собой человека. В некоторых вариантах осуществления у субъекта имеется идиопатический гиперактивный мочевой пузырь. В некоторых вариантах осуществления у субъекта имеется рассеянный склероз, болезнь Альцгеймера, болезнь Паркинсона или перенесенный инсульт.

[0064] В настоящей заявке также предложен способ более длительного облегчения симптомов у субъекта с гиперактивным мочевым пузырем, включающий местное введение эффективного количества троспия хлорида в мочевой пузырь в течение по меньшей мере приблизительно 42 дней (например, приблизительно 42, 56, 70 или 84 дней), причем субъект испытывает облегчение симптома в течение по меньшей мере приблизительно 24 часов после завершения введения троспия хлорида (например, по меньшей мере приблизительно 2, 5, 7, 10, 15, 20, 25, 30, 35, 40 дней после завершения введения троспия хлорида), причем субъект получал предшествующую терапию, и причем субъект невосприимчив к предшествующей терапии. В некоторых вариантах осуществления достигается длительное облегчение симптомов, связанных с ургентностью, частотой, недержанием мочи и/или ургентным недержанием. В некоторых вариантах осуществления субъект испытывает облегчение симптомов в течение по меньшей мере приблизительно 1, 2, 3, 4, 5 или 6 недель после завершения введения троспия хлорида. В некоторых вариантах осуществления троспия хлорид вводят в течение по меньшей мере приблизительно 56 дней. В некоторых вариантах осуществления троспия хлорид вводят в течение по меньшей мере приблизительно 84 дней. В некоторых вариантах осуществления троспия хлорид вводят в течение по меньшей мере приблизительно 100 дней. В некоторых вариантах осуществления предшествующая терапия представляет собой пероральную терапию. В некоторых вариантах осуществления троспия хлорид вводят при помощи устройства для внутрипузырной доставки. В некоторых вариантах осуществления троспия хлорид вводят в дозе от приблизительно 1 мг/сут до 100 мг/сут, от приблизительно 1 мг/сут до 20 мг/сут, от приблизительно 2 мг/сут до 10 мг/сут, от приблизительно 4 мг/сут до приблизительно 8 мг/сут. В некоторых вариантах осуществления концентрация троспия хлорида в моче составляет от приблизительно 0,1 µг/мл до приблизительно 20 µг/мл, от приблизительно 1 µг/мл до приблизительно 10 µг/мл, от приблизительно 2 µг/мл до приблизительно 8 µг/мл или от приблизительно 3 µг/мл до приблизительно 7 µг/мл или от приблизительно 3 µг/мл до приблизительно 5 µг/мл во время введения троспия хлорида. В некоторых вариантах осуществления троспия хлорид вводят непрерывно или с промежутками. В некоторых вариантах осуществления субъект с гиперактивным мочевым пузырем испытывает облегчение симптомов по меньшей мере приблизительно на 50% от исходного уровня в течение по меньшей мере приблизительно 7 дней, 2 недель, 3 недель, 4 недель, 5 недель или 6 недель после завершения введения троспия хлорида. В некоторых вариантах осуществления субъект представляет собой человека. В некоторых вариантах осуществления у субъекта имеется идиопатический гиперактивный мочевой пузырь. В некоторых вариантах осуществления у субъекта имеется рассеянный склероз, болезнь Альцгеймера, болезнь Паркинсона или перенесенный инсульт.

[0065] В другом аспекте настоящей заявки предложен способ ремоделирования нейронов у субъекта с гиперактивным мочевым пузырем, включающий местное введение эффективного количества троспия хлорида в мочевой пузырь в течение по меньшей мере приблизительно 24 часов, причем ремоделирование нейронов сохраняется в течение по меньшей мере приблизительно 24 часов после завершения введения троспия хлорида (например, по меньшей мере приблизительно 2, 5, 7, 10, 15, 20, 25, 30, 35, 40 дней после завершения введения троспия хлорида). В некоторых вариантах осуществления троспия хлорид вводят в течение по меньшей мере приблизительно 3, 5 или 7 дней. В некоторых вариантах осуществления троспия хлорид вводят в течение по меньшей мере приблизительно 2, 3, 4, 5, 6, 7, 8, 9, 10, 11, 12, 13, 14, 15 или 16 недель. В некоторых вариантах осуществления троспия хлорид вводят при помощи устройства для внутрипузырной доставки. В некоторых вариантах осуществления троспия хлорид вводят в дозе от приблизительно 1 мг/сут до 100 мг/сут, от приблизительно 1 мг/сут до 20 мг/сут, от приблизительно 2 мг/сут до 10 мг/сут, от приблизительно 4 мг/сут до приблизительно 8 мг/сут. В некоторых вариантах осуществления концентрация троспия хлорида в моче составляет от приблизительно 0,1 µг/мл до приблизительно 20 µг/мл, от приблизительно 1 µг/мл до приблизительно 10 µг/мл, от приблизительно 2 µг/мл до приблизительно 8 µг/мл или от приблизительно 3 µг/мл до приблизительно 7 µг/мл или от приблизительно 3 µг/мл до приблизительно 5 µг/мл во время введения троспия хлорида. В некоторых вариантах осуществления троспия хлорид вводят непрерывно или с промежутками. В некоторых вариантах осуществления субъект с гиперактивным мочевым пузырем испытывает облегчение симптомов по меньшей мере приблизительно на 50% от исходного уровня в течение по меньшей мере приблизительно 7 дней, 2 недель, 3 недель, 4 недель, 5 недель или 6 недель после завершения введения троспия хлорида. В некоторых вариантах осуществления субъект получал предшествующую терапию гиперактивного мочевого пузыря. В некоторых вариантах осуществления предшествующая терапия представляет собой пероральную терапию. В некоторых вариантах осуществления субъект не отвечал на предшествующую терапию или невосприимчив к ней. В некоторых вариантах осуществления субъект представляет собой человека. В некоторых вариантах осуществления у субъекта имеется идиопатический гиперактивный мочевой пузырь. В некоторых вариантах осуществления у субъекта имеется рассеянный склероз, болезнь Альцгеймера, болезнь Паркинсона или перенесенный инсульт.

[0066] В другом аспекте настоящей заявки предложен способ ремоделирования нейронов у субъекта с гиперактивным мочевым пузырем, включающий местное введение эффективного количества троспия хлорида в мочевой пузырь в течение по меньшей мере приблизительно 42 дней (например, приблизительно 42, 56, 70 или 84 дней), причем ремоделирование нейронов сохраняется в течение по меньшей мере приблизительно 24 часов после завершения введения троспия хлорида (например, по меньшей мере приблизительно 2, 5, 7, 10, 15, 20, 25, 30, 35, 40 дней после завершения введения троспия хлорида). В некоторых вариантах осуществления троспия хлорид вводят в течение по меньшей мере приблизительно 56 дней. В некоторых вариантах осуществления троспия хлорид вводят в течение по меньшей мере приблизительно 84 дней. В некоторых вариантах осуществления троспия хлорид вводят в течение по меньшей мере приблизительно 100 дней. В некоторых вариантах осуществления троспия хлорид вводят при помощи устройства для внутрипузырной доставки. В некоторых вариантах осуществления троспия хлорид вводят в дозе от приблизительно 1 мг/сут до 100 мг/сут, от приблизительно 1 мг/сут до 20 мг/сут, от приблизительно 2 мг/сут до 10 мг/сут, от приблизительно 4 мг/сут до приблизительно 8 мг/сут. В некоторых вариантах осуществления концентрация троспия хлорида в моче составляет от приблизительно 0,1 µг/мл до приблизительно 20 µг/мл, от приблизительно 1 µг/мл до приблизительно 10 µг/мл, от приблизительно 2 µг/мл до приблизительно 8 µг/мл или от приблизительно 3 µг/мл до приблизительно 7 µг/мл или от приблизительно 3 µг/мл до приблизительно 5 µг/мл во время введения троспия хлорида. В некоторых вариантах осуществления троспия хлорид вводят непрерывно или с промежутками. В некоторых вариантах осуществления субъект с гиперактивным мочевым пузырем испытывает облегчение симптомов по меньшей мере приблизительно на 50% от исходного уровня в течение по меньшей мере приблизительно 7 дней, 2 недель, 3 недель, 4 недель, 5 недель или 6 недель после завершения введения троспия хлорида. В некоторых вариантах осуществления субъект получал предшествующую терапию гиперактивного мочевого пузыря. В некоторых вариантах осуществления предшествующая терапия представляет собой пероральную терапию. В некоторых вариантах осуществления субъект не отвечал на предшествующую терапию или невосприимчив к ней. В некоторых вариантах осуществления субъект представляет собой человека. В некоторых вариантах осуществления у субъекта имеется идиопатический гиперактивный мочевой пузырь. В некоторых вариантах осуществления у субъекта имеется рассеянный склероз, болезнь Альцгеймера, болезнь Паркинсона или перенесенный инсульт.

[0067] В другом аспекте настоящей заявки предложен способ ремоделирования нейронов у субъекта с гиперактивным мочевым пузырем, включающий местное введение эффективного количества троспия хлорида в мочевой пузырь в течение по меньшей мере приблизительно 42 дней (например, приблизительно 42, 56, 70 или 84 дней), причем ремоделирование нейронов сохраняется в течение по меньшей мере приблизительно 24 часов после завершения введения троспия хлорида (например, по меньшей мере приблизительно 2, 5, 7, 10, 15, 20, 25, 30, 35, 40 дней после завершения введения троспия хлорида), причем субъект получал предшествующую терапию, и причем субъект невосприимчив к предшествующей терапии. В некоторых вариантах осуществления троспия хлорид вводят в течение по меньшей мере приблизительно 56 дней. В некоторых вариантах осуществления троспия хлорид вводят в течение по меньшей мере приблизительно 56 дней. В некоторых вариантах осуществления троспия хлорид вводят в течение по меньшей мере приблизительно 100 дней. В некоторых вариантах осуществления предшествующая терапия представляет собой пероральную терапию. В некоторых вариантах осуществления троспия хлорид вводят при помощи устройства для внутрипузырной доставки. В некоторых вариантах осуществления троспия хлорид вводят в дозе от приблизительно 1 мг/сут до 100 мг/сут, от приблизительно 1 мг/сут до 20 мг/сут, от приблизительно 2 мг/сут до 10 мг/сут, от приблизительно 4 мг/сут до приблизительно 8 мг/сут. В некоторых вариантах осуществления концентрация троспия хлорида в моче составляет от приблизительно 0,1 µг/мл до приблизительно 20 µг/мл, от приблизительно 1 µг/мл до приблизительно 10 µг/мл, от приблизительно 2 µг/мл до приблизительно 8 µг/мл или от приблизительно 3 µг/мл до приблизительно 7 µг/мл или от приблизительно 3 µг/мл до приблизительно 5 µг/мл во время введения троспия хлорида. В некоторых вариантах осуществления троспия хлорид вводят непрерывно или с промежутками. В некоторых вариантах осуществления субъект с гиперактивным мочевым пузырем испытывает облечение симптомов по меньшей мере приблизительно на 50% от исходного уровня в течение по меньшей мере приблизительно 7 дней, 2 недель, 3 недель, 4 недель, 5 недель или 6 недель после завершения введения троспия хлорида. В некоторых вариантах осуществления субъект представляет собой человека. В некоторых вариантах осуществления у субъекта имеется идиопатический гиперактивный мочевой пузырь. В некоторых вариантах осуществления у субъекта имеется рассеянный склероз, болезнь Альцгеймера, болезнь Паркинсона или перенесенный инсульт.

[0068] В другом аспекте в настоящей заявке предложен способ улучшения качества жизни субъекта с гиперактивным мочевым пузырем, включающий местное введение эффективного количества троспия хлорида в мочевой пузырь в течение по меньшей мере приблизительно 24 часов, причем качество жизни субъекта улучшается через по меньшей мере приблизительно 24 часа после завершения введения троспия хлорида. В некоторых вариантах осуществления субъект имеет улучшенную оценку качества жизни. В некоторых вариантах осуществления у субъекта имеется сниженная оценка причинения неудобств, связанных с мочеиспусканием. В некоторых вариантах осуществления троспия хлорид вводят в течение по меньшей мере приблизительно 56 дней. В некоторых вариантах осуществления троспия хлорид вводят в течение по меньшей мере приблизительно 84 дней. В некоторых вариантах осуществления троспия хлорид вводят в течение по меньшей мере приблизительно 100 дней. В некоторых вариантах осуществления троспия хлорид вводят при помощи устройства для внутрипузырной доставки. В некоторых вариантах осуществления троспия хлорид вводят в дозе от приблизительно 1 мг/сут до 100 мг/сут, от приблизительно 1 мг/сут до 20 мг/сут, от приблизительно 2 мг/сут до 10 мг/сут, от приблизительно 4 мг/сут до приблизительно 8 мг/сут. В некоторых вариантах осуществления концентрация троспия хлорида в моче составляет от приблизительно 0,1 µг/мл до приблизительно 20 µг/мл, от приблизительно 1 µг/мл до приблизительно 10 µг/мл, от приблизительно 2 µг/мл до приблизительно 8 µг/мл или от приблизительно 3 µг/мл до приблизительно 7 µг/мл или от приблизительно 3 µг/мл до приблизительно 5 µг/мл во время введения троспия хлорида. В некоторых вариантах осуществления троспия хлорид вводят непрерывно или с промежутками. В некоторых вариантах осуществления субъект с гиперактивным мочевым пузырем испытывает облечение симптомов по меньшей мере приблизительно на 50% от исходного уровня в течение по меньшей мере приблизительно 7 дней, 2 недель, 3 недель, 4 недель, 5 недель или 6 недель после завершения введения троспия хлорида. В некоторых вариантах осуществления субъект получал предшествующую терапию гиперактивного мочевого пузыря. В некоторых вариантах осуществления предшествующая терапия представляет собой пероральную терапию. В некоторых вариантах осуществления субъект не отвечал на предшествующую терапию или невосприимчив к ней. В некоторых вариантах осуществления субъект представляет собой человека. В некоторых вариантах осуществления у субъекта имеется идиопатический гиперактивный мочевой пузырь. В некоторых вариантах осуществления у субъекта имеется рассеянный склероз, болезнь Альцгеймера, болезнь Паркинсона или перенесенный инсульт. В некоторых вариантах осуществления у субъекта имеется устройство для внутрипузырного введения.

[0069] В другом аспекте настоящей заявки предложен способ улучшения качества жизни субъекта с гиперактивным мочевым пузырем, включающий местное введение эффективного количества троспия хлорида в мочевой пузырь в течение по меньшей мере приблизительно 42 дней (например, приблизительно 42, 56, 70 или 84 дней), причем качество жизни улучшается в течение по меньшей мере приблизительно 24 часов после завершения введения троспия хлорида (например, по меньшей мере приблизительно 2, 5, 7, 10, 15, 20, 25, 30, 35, 40 дней после завершения введения троспия хлорида). В некоторых вариантах осуществления субъект имеет улучшенную оценку качества жизни. В некоторых вариантах осуществления у субъекта имеется сниженная оценка причинения неудобств, связанных с мочеиспусканием. В некоторых вариантах осуществления троспия хлорид вводят в течение по меньшей мере приблизительно 56 дней. В некоторых вариантах осуществления троспия хлорид вводят в течение по меньшей мере приблизительно 84 дней. В некоторых вариантах осуществления троспия хлорид вводят в течение по меньшей мере приблизительно 100 дней. В некоторых вариантах осуществления троспия хлорид вводят при помощи устройства для внутрипузырной доставки. В некоторых вариантах осуществления троспия хлорид вводят в дозе от приблизительно 1 мг/сут до 100 мг/сут, от приблизительно 1 мг/сут до 20 мг/сут, от приблизительно 2 мг/сут до 10 мг/сут, от приблизительно 4 мг/сут до приблизительно 8 мг/сут. В некоторых вариантах осуществления концентрация троспия хлорида в моче составляет от приблизительно 0,1 µг/мл до приблизительно 20 µг/мл, от приблизительно 1 µг/мл до приблизительно 10 µг/мл, от приблизительно 2 µг/мл до приблизительно 8 µг/мл или от приблизительно 3 µг/мл до приблизительно 7 µг/мл или от приблизительно 3 µг/мл до приблизительно 5 µг/мл во время введения троспия хлорида. В некоторых вариантах осуществления троспия хлорид вводят непрерывно или с промежутками. В некоторых вариантах осуществления субъект с гиперактивным мочевым пузырем испытывает облечение симптомов по меньшей мере приблизительно на 50% от исходного уровня в течение по меньшей мере приблизительно 7 дней, 2 недель, 3 недель, 4 недель, 5 недель или 6 недель после завершения введения троспия хлорида. В некоторых вариантах осуществления субъект получал предшествующую терапию гиперактивного мочевого пузыря. В некоторых вариантах осуществления предшествующая терапия представляет собой пероральную терапию. В некоторых вариантах осуществления субъект не отвечал на предшествующую терапию или невосприимчив к ней. В некоторых вариантах осуществления субъект представляет собой человека. В некоторых вариантах осуществления у субъекта имеется идиопатический гиперактивный мочевой пузырь. В некоторых вариантах осуществления у субъекта имеется рассеянный склероз, болезнь Альцгеймера, болезнь Паркинсона или перенесенный инсульт. В некоторых вариантах осуществления у субъекта имеется устройство для внутрипузырного введения.

[0070] В другом аспекте настоящей заявки предложен способ улучшения качества жизни субъекта с гиперактивным мочевым пузырем, включающий местное введение эффективного количества троспия хлорида в мочевой пузырь в течение по меньшей мере приблизительно 42 дней (например, приблизительно 42, 56, 70 или 84 дней), причем качество жизни улучшается через по меньшей мере приблизительно 24 часа после завершения введения троспия хлорида, причем субъект получает предшествующую терапию, и причем субъект невосприимчив к предшествующей терапии. В некоторых вариантах осуществления субъект имеет улучшенную оценку качества жизни. В некоторых вариантах осуществления у субъекта имеется сниженная оценка причинения неудобств, связанных с мочеиспусканием. В некоторых вариантах осуществления троспия хлорид вводят в течение по меньшей мере приблизительно 56 дней. В некоторых вариантах осуществления троспия хлорид вводят в течение по меньшей мере приблизительно 84 дней. В некоторых вариантах осуществления троспия хлорид вводят в течение по меньшей мере приблизительно 100 дней. В некоторых вариантах осуществления троспия хлорид вводят при помощи устройства для внутрипузырной доставки. В некоторых вариантах осуществления троспия хлорид вводят в дозе от приблизительно 1 мг/сут до 100 мг/сут, от приблизительно 1 мг/сут до 20 мг/сут, от приблизительно 2 мг/сут до 10 мг/сут, от приблизительно 4 мг/сут до приблизительно 8 мг/сут. В некоторых вариантах осуществления концентрация троспия хлорида в моче составляет от приблизительно 0,1 µг/мл до приблизительно 20 µг/мл, от приблизительно 1 µг/мл до приблизительно 10 µг/мл, от приблизительно 2 µг/мл до приблизительно 8 µг/мл или от приблизительно 3 µг/мл до приблизительно 7 µг/мл или от приблизительно 3 µг/мл до приблизительно 5 µг/мл во время введения троспия хлорида. В некоторых вариантах осуществления троспия хлорид вводят непрерывно или с промежутками. В некоторых вариантах осуществления субъект с гиперактивным мочевым пузырем испытывает облечение симптомов по меньшей мере приблизительно на 50% от исходного уровня в течение по меньшей мере приблизительно 7 дней, 2 недель, 3 недель, 4 недель, 5 недель или 6 недель после завершения введения троспия хлорида. В некоторых вариантах осуществления субъект получал предшествующую терапию гиперактивного мочевого пузыря. В некоторых вариантах осуществления предшествующая терапия представляет собой пероральную терапию. В некоторых вариантах осуществления субъект не отвечал на предшествующую терапию или невосприимчив к ней. В некоторых вариантах осуществления субъект представляет собой человека. В некоторых вариантах осуществления у субъекта имеется идиопатический гиперактивный мочевой пузырь. В некоторых вариантах осуществления у субъекта имеется рассеянный склероз, болезнь Альцгеймера, болезнь Паркинсона или перенесенный инсульт. В некоторых вариантах осуществления у субъекта имеется устройство для внутрипузырного введения.

[0071] В настоящем документе также предложен способ повышения оценки качества жизни у субъекта, включающий местное введение эффективного количества троспия хлорида в мочевой пузырь в течение по меньшей мере приблизительно 42 дней (например, приблизительно 42, 56, 70 или 84 дней), при этом качество жизни улучшается по меньшей мере через приблизительно 24 часа после завершения введения троспия хлорида. В некоторых вариантах осуществления улучшение качества жизни определяется как улучшенная оценка качества жизни. В некоторых вариантах осуществления улучшение качества жизни определяется как сниженная оценка причинения неудобств, связанных с мочеиспусканием. В некоторых вариантах осуществления троспия хлорид вводят в течение по меньшей мере приблизительно 56 дней. В некоторых вариантах осуществления троспия хлорид вводят в течение по меньшей мере приблизительно 84 дней. В некоторых вариантах осуществления троспия хлорид вводят в течение по меньшей мере приблизительно 100 дней. В некоторых вариантах осуществления троспия хлорид вводят при помощи устройства для внутрипузырной доставки. В некоторых вариантах осуществления троспия хлорид вводят в дозе от приблизительно 1 мг/сут до 100 мг/сут, от приблизительно 1 мг/сут до 20 мг/сут, от приблизительно 2 мг/сут до 10 мг/сут, от приблизительно 4 мг/сут до приблизительно 8 мг/сут. В некоторых вариантах осуществления концентрация троспия хлорида в моче составляет от приблизительно 0,1 µг/мл до приблизительно 20 µг/мл, от приблизительно 1 µг/мл до приблизительно 10 µг/мл, от приблизительно 2 µг/мл до приблизительно 8 µг/мл или от приблизительно 3 µг/мл до приблизительно 7 µг/мл или от приблизительно 3 µг/мл до приблизительно 5 µг/мл во время введения троспия хлорида. В некоторых вариантах осуществления троспия хлорид вводят непрерывно или с промежутками. В некоторых вариантах осуществления субъект с гиперактивным мочевым пузырем испытывает облечение симптомов по меньшей мере приблизительно на 50% от исходного уровня в течение по меньшей мере приблизительно 7 дней, 2 недель, 3 недель, 4 недель, 5 недель или 6 недель после завершения введения троспия хлорида. В некоторых вариантах осуществления субъект получал предшествующую терапию гиперактивного мочевого пузыря. В некоторых вариантах осуществления предшествующая терапия представляет собой пероральную терапию. В некоторых вариантах осуществления субъект не отвечал на предшествующую терапию или невосприимчив к ней. В некоторых вариантах осуществления субъект представляет собой человека. В некоторых вариантах осуществления у субъекта имеется идиопатический гиперактивный мочевой пузырь. В некоторых вариантах осуществления у субъекта имеется рассеянный склероз, болезнь Альцгеймера, болезнь Паркинсона или перенесенный инсульт. В некоторых вариантах осуществления у субъекта имеется устройство для внутрипузырного введения.

[0072] В настоящем документе предложен способ снижения оценки причинения неудобств, связанных с мочеиспусканием, у субъекта, включающий местное введение эффективного количества троспия хлорида в мочевой пузырь в течение по меньшей мере приблизительно 42 дней (например, приблизительно 42, 56, 70 или 84 дней), при этом качество жизни улучшается по меньшей мере через приблизительно 24 часа после завершения введения троспия хлорида. В некоторых вариантах осуществления улучшение качества жизни определяется как улучшенная оценка качества жизни. В некоторых вариантах осуществления улучшение качества жизни определяется как сниженная оценка причинения неудобств, связанных с мочеиспусканием. В некоторых вариантах осуществления троспия хлорид вводят в течение по меньшей мере приблизительно 56 дней. В некоторых вариантах осуществления троспия хлорид вводят в течение по меньшей мере приблизительно 84 дней. В некоторых вариантах осуществления троспия хлорид вводят в течение по меньшей мере приблизительно 100 дней. В некоторых вариантах осуществления троспия хлорид вводят при помощи устройства для внутрипузырной доставки. В некоторых вариантах осуществления троспия хлорид вводят в дозе от приблизительно 1 мг/сут до 100 мг/сут, от приблизительно 1 мг/сут до 20 мг/сут, от приблизительно 2 мг/сут до 10 мг/сут, от приблизительно 4 мг/сут до приблизительно 8 мг/сут. В некоторых вариантах осуществления концентрация троспия хлорида в моче составляет от приблизительно 0,1 µг/мл до приблизительно 20 µг/мл, от приблизительно 1 µг/мл до приблизительно 10 µг/мл, от приблизительно 2 µг/мл до приблизительно 8 µг/мл или от приблизительно 3 µг/мл до приблизительно 7 µг/мл или от приблизительно 3 µг/мл до приблизительно 5 µг/мл во время введения троспия хлорида. В некоторых вариантах осуществления троспия хлорид вводят в течение по меньшей мере приблизительно 84 дней. В некоторых вариантах осуществления троспия хлорид вводят непрерывно или с промежутками. В некоторых вариантах осуществления субъект с гиперактивным мочевым пузырем испытывает облечение симптомов по меньшей мере приблизительно на 50% от исходного уровня в течение по меньшей мере приблизительно 7 дней, 2 недель, 3 недель, 4 недель, 5 недель или 6 недель после завершения введения троспия хлорида. В некоторых вариантах осуществления субъект получал предшествующую терапию гиперактивного мочевого пузыря. В некоторых вариантах осуществления предшествующая терапия представляет собой пероральную терапию. В некоторых вариантах осуществления субъект не отвечал на предшествующую терапию или невосприимчив к ней. В некоторых вариантах осуществления субъект представляет собой человека. В некоторых вариантах осуществления у субъекта имеется идиопатический гиперактивный мочевой пузырь. В некоторых вариантах осуществления у субъекта имеется рассеянный склероз, болезнь Альцгеймера, болезнь Паркинсона или перенесенный инсульт. В некоторых вариантах осуществления у субъекта имеется устройство для внутрипузырного введения.

[0073] В другом аспекте настоящей заявки предложен способ лечения гиперактивного мочевого пузыря, включающий непрерывное местное введение субъекту эффективного количества троспия хлорида в мочевой пузырь в течение по меньшей мере приблизительно 42 дней (например, приблизительно 42, 56, 70 или 84 дней). В некоторых вариантах осуществления троспия хлорид вводят в течение по меньшей мере приблизительно 56 дней. В некоторых вариантах осуществления троспия хлорид вводят в течение по меньшей мере приблизительно 84 дней. В некоторых вариантах осуществления троспия хлорид вводят в течение по меньшей мере приблизительно 100 дней. В некоторых вариантах осуществления троспия хлорид вводят при помощи устройства для внутрипузырной доставки. В некоторых вариантах осуществления троспия хлорид вводят в дозе от приблизительно 1 мг/сут до 100 мг/сут, от приблизительно 1 мг/сут до 20 мг/сут, от приблизительно 2 мг/сут до 10 мг/сут, от приблизительно 4 мг/сут до приблизительно 8 мг/сут. В некоторых вариантах осуществления концентрация троспия хлорида в моче составляет от приблизительно 0,1 µг/мл до приблизительно 20 µг/мл, от приблизительно 1 µг/мл до приблизительно 10 µг/мл, от приблизительно 2 µг/мл до приблизительно 8 µг/мл или от приблизительно 3 µг/мл до приблизительно 7 µг/мл или от приблизительно 3 µг/мл до приблизительно 5 µг/мл во время введения троспия хлорида. В некоторых вариантах осуществления троспия хлорид вводят непрерывно или с промежутками. В некоторых вариантах осуществления субъект с гиперактивным мочевым пузырем испытывает облечение симптомов по меньшей мере приблизительно на 50% от исходного уровня в течение по меньшей мере приблизительно 7 дней, 2 недель, 3 недель, 4 недель, 5 недель или 6 недель после завершения введения троспия хлорида. В некоторых вариантах осуществления субъект получал предшествующую терапию гиперактивного мочевого пузыря. В некоторых вариантах осуществления предшествующая терапия представляет собой пероральную терапию. В некоторых вариантах осуществления субъект не отвечал на предшествующую терапию или невосприимчив к ней. В некоторых вариантах осуществления субъект представляет собой человека. В некоторых вариантах осуществления у субъекта имеется идиопатический гиперактивный мочевой пузырь. В некоторых вариантах осуществления у субъекта имеется рассеянный склероз, болезнь Альцгеймера, болезнь Паркинсона или перенесенный инсульт.

[0074] В другом аспекте настоящей заявки предложен способ лечения гиперактивного мочевого пузыря, включающий непрерывное местное введение субъекту эффективного количества троспия хлорида в мочевой пузырь в течение по меньшей мере приблизительно 42 дней (например, приблизительно 42, 56, 70 или 84 дней), причем субъект получает предшествующую терапию, и причем субъект невосприимчив к предшествующей терапии. В некоторых вариантах осуществления троспия хлорид вводят в течение по меньшей мере приблизительно 56 дней. В некоторых вариантах осуществления троспия хлорид вводят в течение по меньшей мере приблизительно 84 дней. В некоторых вариантах осуществления троспия хлорид вводят в течение по меньшей мере приблизительно 100 дней. В некоторых вариантах осуществления предшествующая терапия представляет собой пероральную терапию. В некоторых вариантах осуществления троспия хлорид вводят при помощи устройства для внутрипузырной доставки. В некоторых вариантах осуществления троспия хлорид вводят в дозе от приблизительно 1 мг/сут до 100 мг/сут, от приблизительно 1 мг/сут до 20 мг/сут, от приблизительно 2 мг/сут до 10 мг/сут, от приблизительно 4 мг/сут до приблизительно 8 мг/сут. В некоторых вариантах осуществления концентрация троспия хлорида в моче составляет от приблизительно 0,1 µг/мл до приблизительно 20 µг/мл, от приблизительно 1 µг/мл до приблизительно 10 µг/мл, от приблизительно 2 µг/мл до приблизительно 8 µг/мл или от приблизительно 3 µг/мл до приблизительно 7 µг/мл или от приблизительно 3 µг/мл до приблизительно 5 µг/мл во время введения троспия хлорида. В некоторых вариантах осуществления троспия хлорид вводят непрерывно или с промежутками. В некоторых вариантах осуществления субъект с гиперактивным мочевым пузырем испытывает облечение симптомов по меньшей мере приблизительно на 50% от исходного уровня в течение по меньшей мере приблизительно 7 дней, 2 недель, 3 недель, 4 недель, 5 недель или 6 недель после завершения введения троспия хлорида. В некоторых вариантах осуществления субъект представляет собой человека. В некоторых вариантах осуществления у субъекта имеется идиопатический гиперактивный мочевой пузырь. В некоторых вариантах осуществления у субъекта имеется рассеянный склероз, болезнь Альцгеймера, болезнь Паркинсона или перенесенный инсульт.

[0075] В другом аспекте настоящей заявки предложен способ поддерживающей терапии гиперактивного мочевого пузыря у субъекта, включающий непрерывное местное введение троспия хлорида в мочевой пузырь в течение по меньшей мере приблизительно 24 часов, причем субъект получал предшествующую терапию гиперактивного мочевого пузыря. В некоторых вариантах осуществления поддерживающая терапия включает местное введение эффективного количества троспия хлорида в мочевой пузырь в течение по меньшей мере приблизительно 24 часов каждые 3 месяца. В некоторых вариантах осуществления период поддерживающей терапии включает местное введение эффективного количества троспия хлорида в мочевой пузырь в течение по меньшей мере приблизительно 24 часов по мере необходимости (в зависимости от обстоятельств). В некоторых вариантах осуществления поддерживающая терапия включает местное введение эффективного количества троспия хлорида в мочевой пузырь в течение по меньшей мере приблизительно 24 часов после рецидива симптомов. В некоторых вариантах осуществления поддерживающая терапия включает местное введение эффективного количества троспия хлорида в мочевой пузырь в течение по меньшей мере приблизительно 24 часов, когда у субъекта наблюдается рецидив симптомов по меньшей мере на 50% рецидив от исходного уровня. В некоторых вариантах осуществления предшествующая терапия включает местное введение эффективного количества троспия хлорида в мочевой пузырь в течение по меньшей мере приблизительно 24 часов, по меньшей мере приблизительно 42 дней, по меньшей мере приблизительно 56 дней или по меньшей мере приблизительно 84 дней. В некоторых вариантах осуществления предшествующая терапия представляет собой пероральную терапию. В некоторых вариантах осуществления субъект невосприимчив к предшествующей терапии. В некоторых вариантах осуществления троспия хлорид вводят при помощи устройства для внутрипузырной доставки. В некоторых вариантах осуществления троспия хлорид вводят в дозе от приблизительно 1 мг/сут до 100 мг/сут, от приблизительно 1 мг/сут до 20 мг/сут, от приблизительно 2 мг/сут до 10 мг/сут, от приблизительно 4 мг/сут до приблизительно 8 мг/сут. В некоторых вариантах осуществления концентрация троспия хлорида в моче составляет от приблизительно 0,1 µг/мл до приблизительно 20 µг/мл, от приблизительно 1 µг/мл до приблизительно 10 µг/мл, от приблизительно 2 µг/мл до приблизительно 8 µг/мл или от приблизительно 3 µг/мл до приблизительно 7 µг/мл или от приблизительно 3 µг/мл до приблизительно 5 µг/мл во время введения троспия хлорида. В некоторых вариантах осуществления троспия хлорид вводят непрерывно или с промежутками. В некоторых вариантах осуществления субъект с гиперактивным мочевым пузырем испытывает облечение симптомов по меньшей мере приблизительно на 50% от исходного уровня в течение по меньшей мере приблизительно 7 дней, 2 недель, 3 недель, 4 недель, 5 недель или 6 недель после завершения введения троспия хлорида. В некоторых вариантах осуществления субъект представляет собой человека. В некоторых вариантах осуществления у субъекта имеется идиопатический гиперактивный мочевой пузырь. В некоторых вариантах осуществления у субъекта имеется рассеянный склероз, болезнь Альцгеймера, болезнь Паркинсона или перенесенный инсульт.

[0076] В настоящем документе предложен способ поддерживающей терапии гиперактивного мочевого пузыря у субъекта, включающий непрерывное местное введение троспия хлорида в мочевой пузырь в течение по меньшей мере приблизительно 24 часов в зависимости от обстоятельств (по мере необходимости), причем субъект получал предшествующую терапию гиперактивного мочевого пузыря. В некоторых вариантах осуществления поддерживающая терапия включает местное введение троспия хлорида в мочевой пузырь в течение по меньшей мере приблизительно 42 дней, по меньшей мере приблизительно 56 дней или по меньшей мере приблизительно 84 дней. В некоторых вариантах осуществления предшествующая терапия представляет собой пероральную терапию. В некоторых вариантах осуществления предшествующая терапия включает местное введение троспия хлорида в мочевой пузырь. В некоторых вариантах осуществления троспия хлорид вводят при помощи устройства для внутрипузырной доставки. В некоторых вариантах осуществления троспия хлорид вводят в дозе от приблизительно 1 мг/сут до 100 мг/сут, от приблизительно 1 мг/сут до 20 мг/сут, от приблизительно 2 мг/сут до 10 мг/сут, от приблизительно 4 мг/сут до приблизительно 8 мг/сут. В некоторых вариантах осуществления концентрация троспия хлорида в моче составляет от приблизительно 0,1 µг/мл до приблизительно 20 µг/мл, от приблизительно 1 µг/мл до приблизительно 10 µг/мл, от приблизительно 2 µг/мл до приблизительно 8 µг/мл или от приблизительно 3 µг/мл до приблизительно 7 µг/мл или от приблизительно 3 µг/мл до приблизительно 5 µг/мл во время введения троспия хлорида. В некоторых вариантах осуществления троспия хлорид вводят непрерывно или с промежутками. В некоторых вариантах осуществления субъект с гиперактивным мочевым пузырем испытывает облечение симптомов по меньшей мере приблизительно на 50% от исходного уровня в течение по меньшей мере приблизительно 7 дней, 2 недель, 3 недель, 4 недель, 5 недель или 6 недель после завершения введения троспия хлорида. В некоторых вариантах осуществления субъект представляет собой человека. В некоторых вариантах осуществления у субъекта имеется идиопатический гиперактивный мочевой пузырь. В некоторых вариантах осуществления у субъекта имеется рассеянный склероз, болезнь Альцгеймера, болезнь Паркинсона или перенесенный инсульт.

[0077] В настоящем документе также предложен способ поддерживающей терапии гиперактивного мочевого пузыря у субъекта, включающий непрерывное местное введение троспия хлорида в мочевой пузырь в течение по меньшей мере приблизительно 24 часов раз в три месяца, причем субъект получает предшествующую терапию гиперактивного мочевого пузыря. В некоторых вариантах осуществления поддерживающая терапия включает местное введение троспия хлорида в мочевой пузырь в течение по меньшей мере приблизительно 42 дней, по меньшей мере приблизительно 56 дней или по меньшей мере приблизительно 84 дней. В некоторых вариантах осуществления предшествующая терапия представляет собой пероральную терапию. В некоторых вариантах осуществления предшествующая терапия включает местное введение троспия хлорида в мочевой пузырь. В некоторых вариантах осуществления троспия хлорид вводят при помощи устройства для внутрипузырной доставки. В некоторых вариантах осуществления троспия хлорид вводят в дозе от приблизительно 1 мг/сут до 100 мг/сут, от приблизительно 1 мг/сут до 20 мг/сут, от приблизительно 2 мг/сут до 10 мг/сут, от приблизительно 4 мг/сут до приблизительно 8 мг/сут. В некоторых вариантах осуществления концентрация троспия хлорида в моче составляет от приблизительно 0,1 µг/мл до приблизительно 20 µг/мл, от приблизительно 1 µг/мл до приблизительно 10 µг/мл, от приблизительно 2 µг/мл до приблизительно 8 µг/мл или от приблизительно 3 µг/мл до приблизительно 7 µг/мл или от приблизительно 3 µг/мл до приблизительно 5 µг/мл во время введения троспия хлорида. В некоторых вариантах осуществления троспия хлорид вводят непрерывно или с промежутками. В некоторых вариантах осуществления субъект с гиперактивным мочевым пузырем испытывает облечение симптомов по меньшей мере приблизительно на 50% от исходного уровня в течение по меньшей мере приблизительно 7 дней, 2 недель, 3 недель, 4 недель, 5 недель или 6 недель после завершения введения троспия хлорида. В некоторых вариантах осуществления субъект представляет собой человека. В некоторых вариантах осуществления у субъекта имеется идиопатический гиперактивный мочевой пузырь. В некоторых вариантах осуществления у субъекта имеется рассеянный склероз, болезнь Альцгеймера, болезнь Паркинсона или перенесенный инсульт.

Троспия хлорид

[0078] Троспия хлорид является антагонистом мускариновых рецепторов. Известно, что он применяется в лечении гиперактивного мочевого пузыря, причем он составлен для перорального введения, например, Sanctura™ (Allergan). Как и в случае с другими пероральными антагонистами мускариновых рецепторов, у пациентов часто проявляются ограничивающие дозу побочные эффекты или недостаточная эффективность. В настоящей заявке троспия хлорид представлен лекарственной формой для местной доставки. Он может быть предусмотрен в твердой или полутвердой форме или в жидкой форме в зависимости от используемого механизма доставки, как описано в настоящем документе. В некоторых вариантах осуществления, устройствах и системах, описанных в настоящем документе, троспия хлорид предусмотрен в форме фармацевтически приемлемой соли троспия хлорида. В некоторых вариантах осуществления фармацевтически приемлемая соль троспия представляет собой троспия хлорид. В некоторых вариантах осуществления используется другая подходящая форма троспия хлорида, включая, помимо прочего, полиморф, гидрат и т. д.

[0079] В некоторых вариантах осуществления троспия хлорид представляет собой соединение 3-(2-гидрокси-2,2-дифенилацетокси)спиро[бицикло[3.2.1]октан-8,1 '-пирролидин]-1'-ия хлорид и любую его фармацевтически приемлемую соль. Химическая формула приведена в формуле I.

Схемы применения

[0080] В следующем разделе описаны различные аспекты (варианты осуществления) схема дозирования и лечения, любая и все из которых применимы к способам, описанным в настоящем документе.

[0081] В различных вариантах осуществления троспия хлорид вводят местно в мочевой пузырь (например, внутрипузырно) в дозе от приблизительно 0,075 мг/сут до приблизительно 150 мг/сут, например, от приблизительно 0,15 мг/сут до 150 мг/сут, от приблизительно 1 мг/сут до 100 мг/сут, от приблизительно 1 мг/сут до 20 мг/сутки, от приблизительно 2 мг/сут до 10 мг/сут, от приблизительно 4 мг/сут до приблизительно 8 мг/сут в течение периода лечения. В некоторых вариантах осуществления троспия хлорид вводят местно в мочевой пузырь (например, внутрипузырно) в дозе не более приблизительно 60 мг/сут, 40 мг/сут, 20 мг/сут, 15 мг/сут, 10 мг/сут или 8 мг/сут в течение периода лечения. В некоторых вариантах осуществления троспия хлорид вводят местно в мочевой пузырь (например, внутрипузырно) в дозе не менее приблизительно 0,1 мг/сут, 0,5 мг/сут, 1 мг/сут, 2 мг/сут, 3 мг/сут, 4 мг/сут.

[0082] В некоторых вариантах осуществления троспия хлорид вводят субъекту местно в мочевой пузырь (например, внутрипузырно) в течение по меньшей мере приблизительно 24 часов, 2 дней, 3 дней, 4 дней, 5 дней, 6 дней или 7 дней. В некоторых вариантах осуществления троспия хлорид вводят субъекту местно в мочевой пузырь (например, внутрипузырно) в течение по меньшей мере приблизительно 1, 2, 3, 4, 5, 6, 7, 8, 9, 10, 11, 12, 13, 14, 15 или 16 недель. В некоторых вариантах осуществления троспия хлорид вводят субъекту местно в мочевой пузырь (например, внутрипузырно) в течение по меньшей мере приблизительно 6 недель или 42 дней. В некоторых вариантах осуществления троспия хлорид вводят субъекту местно в мочевой пузырь (например, внутрипузырно) в течение по меньшей мере приблизительно 8 недель или 56 дней. В некоторых вариантах осуществления троспия хлорид вводят местно в мочевой пузырь в течение по меньшей мере приблизительно 12 недель или 84 дней. В некоторых вариантах осуществления троспия хлорид вводят субъекту местно в мочевой пузырь (например, внутрипузырно) в течение по меньшей мере приблизительно 16 недель или 112 дней. В некоторых вариантах осуществления троспия хлорид вводят субъекту местно в мочевой пузырь (например, внутрипузырно) в течение по меньшей мере приблизительно 1, 2, 3, 4, 5, 6, 7, 8, 9, 10, 11 или 12 месяцев. В некоторых вариантах осуществления троспия хлорид вводят субъекту местно в мочевой пузырь (например, внутрипузырно) в течение по меньшей мере приблизительно 10, 20, 30, 40, 50, 60, 70, 80, 90 или 100 дней. В некоторых вариантах осуществления троспия хлорид вводят субъекту местно в мочевой пузырь (например, внутрипузырно) в течение приблизительно 7 дней, 14 дней, 21 дня, 28 дней, 35 дней, 42 дней, 49 дней, 56 дней, 63 дней, 70 дней, 77 дней, 84 дней, 91 дня, 98 дней, 105 дней или 112 дней.

[0083] В некоторых вариантах осуществления троспия хлорид вводят субъекту местно в мочевой пузырь (например, внутрипузырно) в течение по меньшей мере приблизительно 24 часов, 2 дней, 3 дней, 4 дней, 5 дней, 6 дней или 7 дней каждые одну, две, три, четыре, пять или шесть недель. В некоторых вариантах осуществления троспия хлорид вводят субъекту местно в мочевой пузырь (например, внутрипузырно) в течение по меньшей мере приблизительно 24 часов, 2 дней, 3 дней, 4 дней, 5 дней, 6 дней или 7 дней каждые один, два, три, четыре, пять или шесть месяцев. В некоторых вариантах осуществления троспия хлорид вводят субъекту местно в мочевой пузырь (например, внутрипузырно) в течение по меньшей мере приблизительно одной недели, двух недель, трех недель или четырех недель каждые один, два, три, четыре, пять или шесть месяцев. В некоторых вариантах осуществления троспия хлорида вводят субъекту местно в мочевой пузырь (например, внутрипузырно) в течение по меньшей мере приблизительно пяти недель или шести недель каждые два, три, четыре, пять или шесть месяцев.

[0084] В некоторых вариантах осуществления троспия хлорид вводят субъекту местно (например, внутрипузырно) в мочевой пузырь в среднем количестве от 1 мг/сут до 100 мг/сут, например, от 1 мг/сут до 20 мг/сут, от 2 мг/сут до 10 мг/сут, от 4 мг/сут до приблизительно 8 мг/сут в течение до приблизительно 7, 14, 21, 28, 35, 42 дней, 49 дней, 56 дней, 63 дней, 70 дней, 77 дней, 84 дней, 91 дня, 98 дней, 105 дней или 112 дней. В некоторых вариантах осуществления троспия хлорид вводят субъекту местно (например, внутрипузырно) в мочевой пузырь в среднем количестве от 1 мг/сут до 100 мг/сут, например, от 1 мг/сут до 20 мг/сут, от 2 мг/сут до 10 мг/сут, от 4 мг/сут до приблизительно 8 мг/сут в течение до приблизительно 6, 7, 8, 9, 10, 11 или 12 месяцев.

[0085] В некоторых вариантах осуществления троспия хлорид вводят субъекту местно (например, внутрипузырно) в мочевой пузырь в среднем количестве приблизительно 10 мг/сут в течение приблизительно 40-45 дней (например, приблизительно 42 дней). В некоторых вариантах осуществления троспия хлорида вводят субъекту местно (например, внутрипузырно) в мочевой пузырь в среднем количестве приблизительно 10 мг/сут в течение приблизительно 80-87 дней (например, приблизительно 84 дней). В некоторых вариантах осуществления троспия хлорид вводят только один раз.

[0086] В некоторых вариантах осуществления концентрация троспия хлорида в моче составляет приблизительно или по меньшей мере приблизительно 0,01, 0,05, 0,1, 0,5, 1, 2, 3, 4, 5, 6, 7 или 8 µмкг/мл во время введения троспия хлорида. В некоторых вариантах осуществления концентрация троспия хлорида в моче составляет приблизительно 2-3 µг/мл, приблизительно 3-4 µг/мл, приблизительно 4-5 µг/мл, приблизительно 5-6 µг/мл или приблизительно 6-7 µг/мл во время введения троспия хлорида. В некоторых вариантах осуществления концентрация троспия хлорида в моче составляет от приблизительно 0,01 до приблизительно 100 µг/мл, например, от приблизительно 0,1 µг/мл до приблизительно 20 µг/мл, от приблизительно 1 µг/мл до приблизительно 10 µг/мл, от приблизительно 2 µг/мл до приблизительно 8 µг/мл или от приблизительно 3 µг/мл до приблизительно 7 µг/мл или от приблизительно 3 µг/мл до приблизительно 5 µг/мл во время введения троспия хлорида. В некоторых вариантах осуществления средняя концентрация троспия хлорида в моче составляет по меньшей мере приблизительно 0,01, 0,1, 1, 2, 3, 4, 5, 6, 7, 8, 9 или 10 µмкг/мл во время введения троспия хлорида. В некоторых вариантах осуществления средняя концентрация троспия хлорида в моче составляет от приблизительно 0,01 до приблизительно 100 µг/мл, от приблизительно 0,1 µг/мл до приблизительно 20 µг/мл, от приблизительно 1 µг/мл до приблизительно 10 µг/мл, или от приблизительно 2 µг/мл до приблизительно 8 µг/мл или от приблизительно 3 µг/мл до приблизительно 7 µг/мл или от приблизительно 3 µг/мл до приблизительно 5 µг/мл во время введения троспия хлорида. В некоторых вариантах осуществления концентрация троспия в плазме крови составляет менее чем приблизительно 2, 1, 0,9, 0,8, 0,7, 0,6, 0,5, 0,4, 0,3, 0,2 или 0,1 нг/мл. В некоторых вариантах осуществления концентрация троспия хлорида в плазме крови составляет менее чем приблизительно 0,7 нг/мл. В некоторых вариантах осуществления концентрация троспия хлорида в плазме крови не определяется.

[0087] В некоторых вариантах осуществления троспия хлорид вводят в мочевой пузырь посредством устройства для внутрипузырной доставки. В некоторых вариантах осуществления устройство содержит троспия хлорид в количестве, составляющем от приблизительно 100 мг до 2000 мг (например, от приблизительно 200 мг до приблизительно 1600 мг, от приблизительно 400 мг до приблизительно 1200 мг, от приблизительно 600 мг до приблизительно 1000 мг, от приблизительно 700 мг до приблизительно 900 мг или приблизительно 850 мг). В некоторых вариантах осуществления устройство удерживается в субъекте в течение по меньшей мере приблизительно одной, двух, трех, четырех, пяти или шести недель. В некоторых вариантах осуществления устройство удерживается в субъекте в течение по меньшей мере приблизительно 8, 10 или 12 недель. В некоторых вариантах осуществления устройство содержит троспия хлорид в количестве, составляющем приблизительно 850 мг, и удерживается в субъекте в течение приблизительно 42 дней. В некоторых вариантах осуществления устройство содержит троспия хлорид в количестве, составляющем приблизительно 850 мг, и удерживается в субъекте в течение приблизительно 84 дней.

[0088] В некоторых вариантах осуществления способ включает поддерживающую терапию, включающую местное (например, внутрипузырное) введение субъекту эффективного количества троспия хлорида в мочевой пузырь периодически после предшествующей терапии. В некоторых вариантах осуществления поддерживающая терапия включает введение троспия хлорида по мере необходимости. В некоторых вариантах осуществления поддерживающая терапия включает введение троспия хлорида ежемесячно, раз в два месяца или раз в три месяца. В некоторых вариантах осуществления поддерживающая терапия включает введение троспия хлорида не более чем 1, 2, 3, 4, 5, 6, 7, 8, 9, 10, 11 или 12 раз в год. В некоторых вариантах осуществления поддерживающая терапия включает введение троспия хлорида по расписанию, согласованному субъектом и врачом. В некоторых вариантах осуществления поддерживающая терапия включает введение троспия хлорида при предполагаемом возврате симптомов гиперактивного мочевого пузыря. В некоторых вариантах осуществления поддерживающая терапия включает введение троспия хлорида при рецидиве симптомов, например, при рецидиве по меньшей мере приблизительно на 10%, 20%, 30%, 40%, 50%, 60%, 70%, 80% или 90% от исходного уровня. В некоторых вариантах осуществления период поддерживающей терапии включает введение троспия хлорида в течение по меньшей мере приблизительно 24 часов, 2 дней, 3 дней, 4 дней, 5 дней, 6 дней или 7 дней. В некоторых вариантах осуществления период поддерживающей терапии включает введение троспия хлорида в течение по меньшей мере приблизительно 1, 2, 3, 4, 5, 6, 7, 8, 9, 10, 11, 12, 13, 14, 15 или 16 недель. В некоторых вариантах осуществления поддерживающая терапия включает введение троспия хлорида в течение по меньшей мере приблизительно 1, 2, 3, 4, 5, 6, 7, 8, 9, 10, 11 или 12 месяцев. В некоторых вариантах осуществления поддерживающая терапия включает введение троспия хлорида в течение по меньшей мере приблизительно 10, 20, 30, 40, 50, 60, 70, 80, 90 или 100 дней. В некоторых вариантах осуществления поддерживающая терапия включает введение троспия хлорида в течение приблизительно 7 дней, 14 дней, 21 дня, 28 дней, 35 дней, 42 дней, 49 дней, 56 дней, 63 дней, 70 дней, 77 дней, 84 дней, 91 дня, 98 дней, 105 дней или 112 дней.

[0089] В некоторых вариантах осуществления предшествующая терапия включает введение антимускаринового агента. В некоторых вариантах осуществления антимускариновый агент вводят субъекту местно в мочевой пузырь (например, внутрипузырно). В некоторых вариантах осуществления антимускариновый агент вводят субъекту перорально в качестве местного лечения. В некоторых вариантах осуществления антимускариновый агент представляет собой троспия хлорид. В некоторых вариантах осуществления предшествующая терапия включает введение антихолинергического агента. В некоторых вариантах осуществления предшествующая терапия включает местное введение троспия хлорида в мочевой пузырь в течение приблизительно 42 или приблизительно 56 дней.

[0090] В некоторых вариантах осуществления поддерживающую терапию начинают непосредственно после или в течение 24 часов после завершения предшествующей терапии. В некоторых вариантах осуществления поддерживающую терапию начинают через по меньшей мере приблизительно 1, 2, 3, 4, 5, 6 или 7 дней после завершения предшествующей терапии. В некоторых вариантах осуществления поддерживающая терапия начинается через по меньшей мере приблизительно 1, 2, 3, 4, 5, 6, 7, 8, 9, 10, 11 или 12 недель после завершения предшествующей терапии. В некоторых вариантах осуществления поддерживающая терапия начинается через по меньшей мере приблизительно 3, 4, 5, 6, 7, 8, 9, 10, 11 или 12 месяцев после завершения предшествующей терапии.

[0091] В некоторых вариантах осуществления концентрация троспия хлорида в моче составляет по меньшей мере приблизительно 0,01, 0,05, 0,1, 0,5, 1, 2, 3, 4, 5, 6, 7 или 8 µмкг/мл в течение периода предшествующей терапии и/или поддерживающей терапии. В некоторых вариантах осуществления концентрация троспия хлорида в моче составляет от приблизительно 0,01 µг/мл до приблизительно 100 µг/мл, от приблизительно 0,1 µг/мл до приблизительно 20 µг/мл, от приблизительно 1 µг/мл до приблизительно 10 µг/мл, от приблизительно 2 µг/мл до приблизительно 8 µг/мл, от приблизительно 3 µг/мл до приблизительно 7 µг/мл во время предшествующей терапии и/или периода поддерживающей терапии. В некоторых вариантах осуществления средняя концентрация троспия хлорида в моче составляет по меньшей мере приблизительно 0,01, 0,1, 1, 2, 3, 4, 5, 6, 7, 8, 9 или 10 µмкг/мл в течение периода предшествующей терапии и/или поддерживающей терапии. В некоторых вариантах осуществления средняя концентрация троспия хлорида в моче составляет от приблизительно 0,01 µг/мл до приблизительно 100 µг/мл, от приблизительно 0,1µ г/мл до приблизительно 20 µг/мл, от приблизительно 1 µг/мл до приблизительно 10 µг/мл или от приблизительно 3 µг/мл до приблизительно 8 µг/мл в течение периода предшествующей терапии и/или поддерживающей терапии.

[0092] В некоторых вариантах осуществления троспия хлорид вводят непрерывно. В некоторых вариантах осуществления троспия хлорид вводят с промежутками.

[0093] В некоторых вариантах осуществления троспия хлорид вводят посредством устройства для внутрипузырного введения, причем устройство для внутрипузырного введения пребывает в мочевом пузыре в течение периода времени, например, по меньшей мере приблизительно 24 часов, например, в течение по меньшей мере приблизительно 1, 2, 3, 4, 5, 6, 7, 8, 9, 10, 11 или 12 недель. В некоторых вариантах осуществления устройство для внутрипузырного введения пребывает в мочевом пузыре в течение по меньшей мере приблизительно 1, 2, 3, 4, 5 или 6 месяцев. В различных вариантах осуществления устройство для внутрипузырного введения может высвобождать троспия хлорид непрерывно или с промежутками для достижения концентрации троспия хлорида в мочевом пузыре, которая обеспечивает устойчивую, терапевтически эффективную концентрацию троспия в течение периода времени от приблизительно 24 часов до приблизительно 6 месяцев, например, от приблизительно 24 часов до 7 дней, от приблизительно 24 часов до двух недель, от приблизительно 24 часов до четырех недель, от приблизительно 24 часов до шести недель, от приблизительно 24 часов до восьми недель, от приблизительно 24 часов до десяти недель, от приблизительно 24 часов до двенадцати недель и т. д. В некоторых вариантах осуществления троспия хлорид вводят в мочевой пузырь в течение приблизительно 42 дней. В некоторых вариантах осуществления троспия хлорид вводят в мочевой пузырь в течение приблизительно 56 дней или 112 дней.

[0094] В некоторых вариантах осуществления общее среднесуточное количество троспия хлорида в моче во время нахождения устройства внутри организма составляет по меньшей мере приблизительно 0,1, 0,5, 1, 1,5, 2, 2,5 или 3 мг/сут. В некоторых вариантах осуществления общее среднесуточное количество троспия хлорида в моче во время нахождения устройства внутри организма составляет не более приблизительно 30, 18, 15, 12, 10, 9 или 8 мг/сут. В некоторых вариантах осуществления общее среднесуточное количество троспия хлорида в моче во время нахождения устройства внутри организма составляет от приблизительно 0,1 мг/сут до приблизительно 30 мг/сут, от приблизительно 1 мг/сут до приблизительно 25 мг/сут, от приблизительно 2 мг/сут до приблизительно 10 мг/сут, от приблизительно 3 мг/сут до приблизительно 9 мг/сут.

Популяции пациентов

[0095] Субъекты, получавшие лечение с применением способов, описанных в настоящем документе, могут представлять собой млекопитающих. В некоторых вариантах осуществления субъект представляет собой человека.

[0096] В некоторых вариантах осуществления у субъекта имеется идиопатический гиперактивный мочевой пузырь.

[0097] В некоторых вариантах осуществления субъект получал предшествующую терапию гиперактивного мочевого пузыря. В некоторых вариантах осуществления субъект невосприимчив к предшествующей терапии. В некоторых вариантах осуществления у субъекта имеется гиперактивный мочевой пузырь, трудно поддающийся лечению. В некоторых вариантах осуществления у субъекта имеется тяжелая гиперактивность мочевого пузыря. В некоторых вариантах осуществления субъект не отвечал на предшествующую терапию. В некоторых вариантах осуществления у субъекта наблюдалось прогрессирование при предшествующей терапии. В некоторых вариантах осуществления субъект имеет рецидив исходных симптомов после завершения предшествующей терапии, например, когда у субъекта отмечался рецидив симптомов по меньшей мере приблизительно на 10%, 20%, 30%, 40%, 50%, 60%, 70%, 80% или 90% от исходного уровня. В некоторых вариантах осуществления предшествующая терапия представляет собой пероральную терапию. В некоторых вариантах осуществления предшествующая терапия представляет собой местную терапию. В некоторых вариантах осуществления предшествующая терапия включает введение антимускаринового агента. В некоторых вариантах осуществления агент выбирают из группы, состоящей из Botox®, VESlcare® (солифенацина сукцинат) и Detrol® LA (толтеродина тартрат). В некоторых вариантах осуществления предшествующая терапия включает введение антихолинергического агента.

[0098] В некоторых вариантах осуществления субъект не получал предшествующую терапию гиперактивного мочевого пузыря.

[0099] В некоторых вариантах осуществления субъект не удовлетворяет критериям для пероральной терапии. Например, субъект не может переносить побочные эффекты от терапии. В некоторых вариантах осуществления субъект представляет собой пожилого или ослабленного человека. В некоторых вариантах осуществления пероральная терапия включает антихолинергический агент. В некоторых вариантах осуществления пероральная терапия включает антимускариновый агент. В некоторых вариантах осуществления агент выбирают из группы, состоящей из Botox®, VESlcare® (солифенацина сукцинат) и Detrol® LA (толтеродина тартрат).

[0100] В некоторых вариантах осуществления у субъекта имеется неврологическое состояние. В некоторых вариантах осуществления неврологическое состояние представляет собой рассеянный склероз. В некоторых вариантах осуществления неврологическое состояние представляет собой болезнь Паркинсона. В некоторых вариантах осуществления неврологическое состояние представляет собой болезнь Альцгеймера. В некоторых вариантах осуществления субъект перенес инсульт.

[0101] В некоторых вариантах осуществления у субъекта имеются симптомы гиперактивного мочевого пузыря с преобладающим ургентным компонентом, например, причем более 50% симптомов со стороны гиперактивного мочевого пузыря связаны с ургентностью (а не с частотой). В некоторых вариантах осуществления у субъекта наблюдаются симптомы гиперактивного мочевого пузыря с преобладающим ургентным компонентом в течение по меньшей мере приблизительно 1, 2, 3, 4, 5, 6, 7, 8, 9, 10, 11 или 12 недель. В некоторых вариантах осуществления у субъекта наблюдаются симптомы гиперактивного мочевого пузыря с преобладающим ургентным компонентом в течение по меньшей мере приблизительно 3, 4, 5, 6, 7, 8, 9, 10, 11 или 12 месяцев. В некоторых вариантах осуществления субъект имеет приблизительно четыре, пять, шесть, семь, восемь или более эпизодов опорожнения в течение 24 часов. В некоторых вариантах осуществления субъект имеет по меньшей мере приблизительно 2, 3, 4, 5 или 6 эпизодов недержания, связанных с ургентностью, в 3-дневном дневнике. В некоторых вариантах осуществления субъект имеет по меньшей мере один, два или три эпизода, возникающих каждые 24 часа или ежедневно.

[0102] В некоторых вариантах осуществления субъект страдает недержанием мочи или ургентным недержанием.

[0103] В некоторых вариантах осуществления субъект имеет остаточный объем мочи (PVR) менее чем приблизительно 300 мл (например, менее чем приблизительно 300 мл, 250 мл, 200 мл, 150 мл или 100 мл).

[0104] В некоторых вариантах осуществления субъект представляет собой женщину. В некоторых вариантах осуществления субъект представляет собой мужчину.

[0105] В некоторых вариантах осуществления субъект находится в возрасте от приблизительно 40 до приблизительно 70 лет. В некоторых вариантах осуществления субъекту по меньшей мере приблизительно 40, 45, 50, 55, 60, 65 или 70 лет. В некоторых вариантах осуществления субъекту не более чем приблизительно 70, 65, 60, 55, 50, 45 или 40 лет.

Гиперактивный мочевой пузырь

[0106] В некоторых вариантах осуществления гиперактивный мочевой пузырь связан с неврологическим состоянием. В некоторых вариантах осуществления неврологическое состояние представляет собой рассеянный склероз. В некоторых вариантах осуществления неврологическое состояние представляет собой болезнь Паркинсона. В некоторых вариантах осуществления неврологическое состояние представляет собой болезнь Альцгеймера. В некоторых вариантах осуществления неврологическое состояние представляет собой ранее перенесенный инсульт.

[0107] В некоторых вариантах осуществления гиперактивный мочевой пузырь не связан с неврологическим состоянием.

Критерии оценивания

[0108] В некоторых вариантах осуществления предложенные в настоящем документе способы продлевают срок облегчения симптомов у субъекта с гиперактивным мочевым пузырем и включают доставку троспия хлорида местно в мочевой пузырь в течение по меньшей мере приблизительно 24 часов. В некоторых вариантах осуществления субъект испытывает облегчение симптомов на по меньшей мере приблизительно 10%, 20%, 30%, 40%, 50%, 60%, 70%, 80% или 90% от исходного уровня во время или после завершения введения троспия хлорида. В некоторых вариантах осуществления облегчение симптомов включает уменьшение ургентности и/или частоты. В некоторых вариантах осуществления облегчение симптомов включает снижение патологических позывов к мочеиспусканию. В некоторых вариантах осуществления ургентность и/или частота снижены на по меньшей мере приблизительно 10%, 20%, 30%, 40%, 50%, 60%, 70%, 80% или 90% по сравнению с исходным уровнем во время или после завершения введения троспия хлорида. В некоторых вариантах осуществления облегчение симптомов включает снижение недержания мочи и/или ургентного недержания (например, суточное количество эпизодов недержания или количество эпизодов недержания в течение 3 дней). В некоторых вариантах осуществления недержание мочи и/или ургентное недержание (например, суточное количество эпизодов недержания или количество эпизодов недержания в течение 3 дней) снижается на по меньшей мере приблизительно 10%, 20%, 30%, 40%, 50%, 60%, 70%, 80% или 90% по сравнению с исходным уровнем во время или после завершения введения троспия хлорида. В некоторых вариантах осуществления облегчение симптомов продлевается по меньшей мере приблизительно на 1, 2, 3, 4, 5, 6 или 7 дней после завершения введения троспия хлорида. В некоторых вариантах осуществления облегчение симптомов продлевается по меньшей мере приблизительно на 1, 2, 3, 4, 5, 6, 7, 8, 9, 10, 11 или 12 недель после завершения введения троспия хлорида. В некоторых вариантах осуществления облегчение симптомов продлевается по меньшей мере приблизительно на 3, 4, 5, 6, 7, 8, 9, 10, 11 или 12 месяцев после завершения введения троспия хлорида.

[0109] В некоторых вариантах осуществления у субъекта снижено суточное количество эпизодов мочеиспускания во время или после завершения введения троспия хлорида. В некоторых вариантах осуществления суточное количество зпизодов мочеиспускания снижается на по меньшей мере приблизительно 2,5%, 5%, 7,5% или 10% по сравнению с исходным уровнем во время или после завершения введения троспия хлорида. В некоторых вариантах осуществления снижение продлевается по меньшей мере приблизительно на 1, 2, 3, 4, 5, 6 или 7 дней после завершения введения троспия хлорида. В некоторых вариантах осуществления снижение продлевается по меньшей мере приблизительно на 1, 2, 3, 4, 5, 6, 7, 8, 9, 10, 11 или 12 недель после завершения введения троспия хлорида. В некоторых вариантах осуществления снижение продлевается по меньшей мере приблизительно на 3, 4, 5, 6, 7, 8, 9, 10, 11 или 12 месяцев после завершения введения троспия хлорида.

[0110] В некоторых вариантах осуществления субъект имеет увеличение объема мочи на каждое мочеиспускание во время или после завершения введения троспия хлорида. В некоторых вариантах осуществления увеличение объема мочи на одно мочеиспускание составляет по меньшей мере приблизительно 2,5%, 5%, 7,5%, 10%, 20%, 25%, 30%, 35% или 40% по сравнению исходным уровнем во время или после завершения введения троспия хлорида. В некоторых вариантах осуществления увеличение продлевается по меньшей мере приблизительно на 1, 2, 3, 4, 5, 6 или 7 дней после завершения введения троспия хлорида. В некоторых вариантах осуществления увеличение продлевается по меньшей мере приблизительно на 1, 2, 3, 4, 5, 6, 7, 8, 9, 10, 11 или 12 недель после завершения введения троспия хлорида. В некоторых вариантах осуществления увеличение продлевается по меньшей мере приблизительно на 3, 4, 5, 6, 7, 8, 9, 10, 11 или 12 месяцев после завершения введения троспия хлорида.

[0111] В некоторых вариантах осуществления в настоящем документе предложен способ улучшения качества жизни субъекта, включающий местное введение эффективного количества троспия хлорида в мочевой пузырь в течение по меньшей мере приблизительно 24 часов. В некоторых вариантах осуществления оценка качества жизни субъекта увеличивается. В некоторых вариантах осуществления субъект имеет улучшенную оценку качества жизни через по меньшей мере приблизительно 24 часа после завершения местного введения троспия хлорида по сравнению с предшествующей оценкой качества жизни до местного лечения троспия хлоридом. В некоторых вариантах осуществления оценка качества жизни включает оценку, основанную на частоте, с которой субъект испытывал одно или более явлений в течение определенного периода времени, например, никогда, редко, иногда, значительную часть времени, большую часть времени и все время. В некоторых вариантах осуществления явление включает внезапный позыв к мочеиспусканию с незначительным предвещающим симптомом или без него. В некоторых вариантах осуществления явление включает причинение неудобств, связанных со случайным выделением небольшого количества мочи. В некоторых вариантах осуществления явление включает причинение неудобств, связанных с мочеиспусканием в ночное время. В некоторых вариантах осуществления явление включает причинение неудобств, связанных с пробуждением ночью из-за позыва к мочеиспусканию. В некоторых вариантах осуществления явление включает причинение неудобств, связанных с выделением мочи с сильным желанием мочеиспускания. В некоторых вариантах осуществления оценка качества жизни субъекта улучшается на приблизительно 10%, 20%, 30%, 40%, 50%, 60% 70% или 80% после местного введения троспия хлорида. В некоторых вариантах осуществления оценка качества жизни субъекта улучшается в течение по меньшей мере 1, по меньшей мере 2, по меньшей мере 3, по меньшей мере 4, по меньшей мере 5, по меньшей мере 6, по меньшей мере 7, по меньшей мере 8, по меньшей мере 10, по меньшей мере 11 или по меньшей мере 12 недель после завершения местного введения троспия хлорида.

[0112] В некоторых вариантах осуществления в настоящем документе предложен способ улучшения оценки качества жизни субъекта, включающий местное введение эффективного количества троспия хлорида в мочевой пузырь в течение по меньшей мере приблизительно 24 часов. В некоторых вариантах осуществления субъект имеет улучшенную оценку качества жизни через по меньшей мере приблизительно 24 часа после завершения местного введения троспия хлорида по сравнению с предшествующей оценкой качества жизни до местного лечения троспия хлоридом. В некоторых вариантах осуществления оценка качества жизни включает оценку, основанную на частоте, с которой субъект испытывал одно или более явлений в течение определенного периода времени, например, никогда, редко, иногда, значительную часть времени, большую часть времени и все время. В некоторых вариантах осуществления явление включает внезапный позыв к мочеиспусканию с незначительным предвещающим симптомом или без него. В некоторых вариантах осуществления явление включает причинение неудобств, связанных со случайным выделением небольшого количества мочи. В некоторых вариантах осуществления явление включает причинение неудобств, связанных с мочеиспусканием в ночное время. В некоторых вариантах осуществления явление включает причинение неудобств, связанных с пробуждением ночью из-за позыва к мочеиспусканию. В некоторых вариантах осуществления явление включает причинение неудобств, связанных с выделением мочи с сильным желанием мочеиспускания. В некоторых вариантах осуществления оценка качества жизни субъекта улучшается на приблизительно 10%, 20%, 30%, 40%, 50%, 60% 70% или 80% после местного введения троспия хлорида. В некоторых вариантах осуществления оценка качества жизни субъекта улучшается в течение по меньшей мере 1, по меньшей мере 2, по меньшей мере 3, по меньшей мере 4, по меньшей мере 5, по меньшей мере 6, по меньшей мере 7, по меньшей мере 8, по меньшей мере 10, по меньшей мере 11 или по меньшей мере 12 недель после завершения местного введения троспия хлорида.

[0113] В некоторых вариантах осуществления в настоящем документе предложен способ уменьшения неудобств, связанных с симптомами со стороны мочевого пузыря у субъекта, включающий доставку субъекту троспия хлорида в мочевой пузырь в течение по меньшей мере приблизительно 24 часов. В некоторых вариантах осуществления оценка причинения неудобств у субъекта снижена. В некоторых вариантах осуществления оценка причинения неудобств снижается по меньшей мере приблизительно через 24 часа после завершения местного введения троспия хлорида по сравнению с предшествующим местным лечением с помощью троспия хлорида. В некоторых вариантах осуществления оценка качества жизни может включать оценку, основанную на частоте, с которой субъект испытывал одно или более явлений в течение определенного периода времени, например, никогда, редко, иногда, значительную часть времени, большую часть времени и все время. В некоторых вариантах осуществления явление включает планирование «путей перемещения» в туалеты в общественных местах. В некоторых вариантах осуществления явление включает симптомы со стороны мочевого пузыря, влияющие на частоту, с которой симптомы со стороны мочевого пузыря заставляли субъекта чувствовать, что с ним/ней что-то не так. В некоторых вариантах осуществления явление включает симптомы со стороны мочевого пузыря, препятствующие возможности субъекта хорошо высыпаться. В некоторых вариантах осуществления явление включает симптомы со стороны мочевого пузыря, которые вызывают у субъекта разочарование или раздражение по поводу количества времени, которое он/она проводил(-а) в туалете. В некоторых вариантах осуществления явление включает симптомы со стороны мочевого пузыря, которые позволяют субъекту избегать активности в местах, где нет туалета (например, прогулки, бег, походы). В некоторых вариантах осуществления явление включает симптомы со стороны мочевого пузыря, которые будят субъекта во время сна. В некоторых вариантах осуществления явление включает симптомы со стороны мочевого пузыря, которые заставляют субъекта снижать его физическую активность (упражнения, спорт и т. д.). В некоторых вариантах осуществления явление включает симптомы со стороны мочевого пузыря, которые вызывают у субъекта проблемы с его/ее партнером или супругом/супругой. В некоторых вариантах осуществления явление включает симптомы со стороны мочевого пузыря, которые вызывают у субъекта дискомфорт во время путешествия с другими людьми из-за необходимости остановиться для посещения туалета. В некоторых вариантах осуществления явление включает симптомы со стороны мочевого пузыря, которые влияют на отношения субъекта с семьей и друзьями. В некоторых вариантах осуществления явление включает смущение у субъекта, вызванное симптомами со стороны мочевого пузыря. В некоторых вариантах осуществления явление включает ситуацию, когда симптомы со стороны мочевого пузыря заставляют субъекта искать ближайший туалет по прибытии в новое место. В некоторых вариантах осуществления после местного введения троспия хлорида оценка причинения неудобств улучшается на приблизительно 10%, 20%, 30%, 40%, 50%, 60% 70% или 80%. В некоторых вариантах осуществления оценка причинения неудобств субъекта улучшается в течение по меньшей мере 1, по меньшей мере 2, по меньшей мере 3, по меньшей мере 4, по меньшей мере 5, по меньшей мере 6, по меньшей мере 7, по меньшей мере 8, по меньшей мере 10, по меньшей мере 11 или по меньшей мере 12 недель после завершения местного введения троспия хлорида.

[0114] В некоторых вариантах осуществления оценку качества жизни [т. е. преобразованная оценка качества жизни, обусловленного состоянием здоровья (HRQL)] и оценку причинения неудобств (т. е. преобразованная оценка тяжести симптомов) рассчитывают по результатам самооценки субъекта с помощью анкеты. Примеры анкет показаны на фиг 13-14. Оценку можно проводить перед (например, непосредственно перед) введением троспия хлорида для установления исходного уровня. Оценку также можно проводить в разные моменты времени во время или после введения троспия хлорида.

[0115] Например, оценка качества жизни может быть рассчитана по результатам исходной оценки на фиг. 14 следующим образом, где исходная оценка представляла собой общую оценку значений пунктов 1-13. Оценка качества жизни = (наивысшая возможная оценка - фактическая исходная оценка)/диапазон возможной исходной оценки x 100, где наивысшая возможная оценка составила 78, а диапазон возможной исходной оценки составил 65. Следует отметить, что более высокие значения оценок качества жизни указывают на более высокое качество жизни.

[0116] Оценку причинения неудобств можно рассчитать по исходной оценке, показанной на фиг. 13, следующим образом, где исходная оценка представляет собой общую оценку значений пунктов 1-6. Оценка причинения неудобств = (фактическая исходная оценка - наименьшая возможная исходная оценка)/диапазон возможной исходной оценки x 100, где наименьшая возможная исходная оценка=6, а диапазон возможной исходной оценки составлял 30. Следует отметить, что более высокие значения оценки причинения неудобств указывают на более высокую тяжесть симптомов или причинение неудобств, связанное с симптомами, а более низкие оценки указывают на минимальную тяжесть симптомов.

[0117] В некоторых вариантах осуществления троспия хлорид доставляют посредством устройства для внутрипузырного введения, описанного в настоящем документе. В некоторых вариантах осуществления субъект имеет высокую переносимость устройства (например, менее чем приблизительно 30%, 20%, 15%, 10%, 5% или 2% субъектов требуется удаление устройства до завершения предусмотренного схемой лечения).

[0118] В некоторых вариантах осуществления способ не приводит к существенному уровню нежелательных явлений у субъекта. Примеры нежелательных явлений включают инфекцию мочевыводящих путей (ИМП), боль в мочевом пузыре, наличие крови в моче, синусит и дискомфорт в мочевом пузыре. В некоторых вариантах осуществления ИМП в течение периода лечения развивается у менее чем приблизительно 50%, 40%, 30%, 25% или 20% субъектов. В некоторых вариантах осуществления у менее чем приблизительно 50%, 40%, 30%, 25% или 20% субъектов развивается боль в мочевом пузыре в течение периода лечения. В некоторых вариантах осуществления у менее чем приблизительно 50%, 40%, 30%, 25% или 20% субъектов появляется кровь в моче в течение периода лечения. В некоторых вариантах осуществления у менее чем приблизительно 50%, 40%, 30%, 25% или 20% субъектов в течение периода лечения развивается синусит. В некоторых вариантах осуществления у менее чем приблизительно 50%, 40%, 30%, 25% или 20% субъектов развивается дискомфорт в мочевом пузыре в течение периода лечения.

[0119] В некоторых вариантах осуществления остаточный объем мочи (PVR) у субъекта уменьшается по меньшей мере на приблизительно 5%, 10%, 15%, 20%, 25%, 30%, 35% или 40% после введения троспия хлорида. В некоторых вариантах осуществления снижение наблюдается в течение приблизительно 7 дней, 21 дня или 35 дней после введения троспия хлорида.

Доставка

I. Устройства для внутрипузырного введения

1. a. Форма устройства

[0120] В некоторых вариантах осуществления способы, предложенные в настоящем документе, включают местную доставку в мочевой пузырь эффективного количества троспия хлорида с помощью устройства для внутрипузырного введения. В некоторых вариантах осуществления устройство для внутрипузырного введения имеет форму для введения и форму для удержания. Например, устройство может быть упруго деформируемым между относительно выпрямленной или несвернутой формой, подходящей для введения через просвет (например, уретру) в мочевой пузырь субъекта (форма для введения), и формой для удержания, подходящей для удержания устройства внутри мочевого пузыря. В контексте настоящего описания такие термины как «относительно увеличенная в объеме форма», «относительно высокопрофильная форма» или «форма для удержания», как правило, означают любую форму, пригодную для удерживания устройства в предполагаемом месте имплантации, включая, помимо прочего, форму кренделя или другую свернутую форму (например, двуховальные или перекрывающиеся спирали), которые подходят для удерживания устройства в мочевом пузыре. Форма для удержания предусматривает, что устройство сопротивляется попаданию в мочу и выводится, когда субъект опорожняет мочевой пузырь. Аналогичным образом, такие термины, как «форма с относительно низким профилем» или «форма развертывания», обычно обозначают любую форму, подходящую для введения устройства для доставки лекарственных средств в организм, например, мочевой пузырь, включая, помимо прочего, линейную или удлиненную форму, которая подходит для введения устройства через рабочий канал катетера, цистоскопа или другого инструмента для введения, расположенного в уретре или мочевом пузыре, например, надлобковая цистостомия или надлобковый катетер (также известный как везикостомия или эпицистостомия), используемый для дренирования мочи из мочевого пузыря у субъектов с нарушением нормального оттока мочи. В одних вариантах осуществления изобретения устройство для доставки лекарственных средств может само собой принимать относительно увеличенную в объеме форму, а может деформироваться, либо вручную, либо с помощью внешнего устройства, в относительно низкопрофильную форму для введения в организм. Например, внешним устройством может быть инструмент для введения, выполненный с возможностью трансуретрального введения. После введения устройство для внутрипузырного введения может самопроизвольно или естественным образом возвращаться в исходную, относительно увеличенную в объеме форму для удерживания в организме. В некоторых вариантах осуществления устройство ведет себя подобно пружине, деформируясь в ответ на сжимающую нагрузку (например, деформируя устройство в форму для размещения), но спонтанно возвращается к форме для удержания после снятия нагрузки.

[0121] В некоторых вариантах осуществления функция изменения формы устройства для внутрипузырного введения, описанная в предыдущем абзаце, может быть обеспечена путем включения в устройство рамки сохранения формы (т.е. «удерживающей рамки»), такой как те, что раскрыты в опубликованных заявках US2012/0203203, US2013/0158675, US2015/0360012, US20150165177, US2015/0165178, US20160199544, WO2014/145638, WO2015200752 и WO2011/031855, которые включены в настоящий документ посредством ссылки. В некоторых вариантах осуществления устройство может содержать просвет удерживающей рамки, в которой закрепляется удерживающая рамка, которая может представлять собой упругую проволоку, например, сверхупругий сплав, такой как нитинол. Удерживающая рамка может быть выполнена с возможностью самостоятельно возвращаться к форме для удерживания, такой как форма «кренделя» или другая свернутая форма, например, к формам, описанным в ранее включенных заявках на патент. В частности, удерживающая рамка может удерживать устройство в организме, например, в мочевом пузыре. Форма для удержания предусматривает, что устройство сопротивляется попаданию в мочу и выводится, когда субъект опорожняет мочевой пузырь. Например, удерживающая рамка может иметь предел упругости и модуль упругости, что обеспечивает возможность введения устройства в организм в относительно низкопрофильной форме, позволяет устройству возвращаться к относительно увеличенной в объеме форме после помещения внутрь организма и мешает устройству принимать относительно низкопрофильную форму в организме в ответ на ожидаемые силы, такие как гидродинамические силы, обусловленные сокращением мышцы-сжимателя и мочеиспусканием. Таким образом, устройство может удерживаться в мочевом пузыре субъекта после введения, ограничивая или предотвращая случайное выталкивание.

[0122] В некоторых других вариантах осуществления функция изменения формы устройства для внутрипузырного введения может быть обеспечена путем формирования корпуса устройства по меньшей мере частично из эластичного полимера с заданной термической формой, например, как описано в WO 2016/172704.

[0123] Материал, применяемый для формирования тела (т. е. корпуса) устройства, по меньшей мере частично, может быть упругим или гибким для обеспечения перехода устройства между формой для введения и формой для удерживания. Когда устройство находится в форме для удержания, область удерживающей рамки может, как правило, находиться внутри области резервуара с лекарственным средством, хотя область удерживающей рамки может быть расположена внутри, снаружи, сверху или снизу области резервуара с лекарственным средством в других случаях. Материал, используемый для формирования корпуса устройства, может быть водопроницаемым так, что солюбилизирующая жидкость (например, моча) может поступать в часть резервуара с лекарственным средством для солюбилизации нежидких форм троспия хлорида, химиотерапевтического средства, иммуномодулирующего средства, дополнительного терапевтического средства, функционального агента, или их комбинации, содержащихся в резервуаре с лекарственным средством после того, как устройство развернуто в мочевом пузыре. Например, может применяться силикон или другой биологически совместимый эластомерный материал. В других вариантах осуществления изобретения корпус устройства может быть выполнен по меньшей мере частично из водонепроницаемого материала.

[0124] В некоторых вариантах осуществления корпус устройства выполнен из упругого биосовместимого полимерного материала. Материал может быть нерассасывающимся или рассасывающимся. Примеры нерассасывающихся материалов включают в себя синтетические полимеры, выбранные из: поли(эфиров), поли(акрилатов), поли(метакрилатов), поли(винилпирролидонов), поли(винилацетатов), поли(уретанов), целлюлоз, ацетатов целлюлозы, поли(силоксанов), поли(этилена), поли(тетрафторэтилена) и других фторированных полимеров и поли(силоксанов). Примеры рассасывающихся материалов, в частности, биоразлагаемых или биоразрушаемых полимеров, включают синтетические полимеры, выбранные из поли(амидов), поли(эфиров), поли(эфирных амидов), поли(ангидридов), поли(ортоэфиров), полифосфазенов, псевдополи(аминокислот), поли(глицерин-себацината), поли(молочных кислот), поли (гликолевых кислот), поли(молочно-гликолевых кислот), поли(капролактонов), производных поли(капролактона) (ПК), поли(амидов) на основе аминоспирта (PEA) и поли(октандиолцитрата) (POC), а также другие отверждаемые биорассасывающиеся эластомеры. Для получения эластомерных свойств полимеры на основе ПК могут потребовать дополнительных сшивающих агентов, таких как лизин диизоцианата или 2,2-бис(е-капролактон-4-ил) пропан. Также могут быть использованы сополимеры, смеси и комбинации вышеуказанных материалов.

[0125] В некоторых вариантах осуществления корпус устройства содержит силикон, термопластичный полиуретан, этилвинилацетат (ЭВА) или их комбинацию. В некоторых вариантах осуществления тело устройства содержит два разных термопластичных материала, один из которых представляет собой гидрофильный термопластичный полиуретан и является проницаемым для лекарственного средства, а другой является непроницаемым для лекарственного средства. Непроницаемый для лекарственного средства материал может быть выбран из группы, состоящей из: гидрофильного полиуретана, гидрофильных полиэфиров и гидрофильных полиамидов. Корпус устройства может содержать кольцевую трубку, сформированную посредством процесса экструзии или совместной экструзии с использованием одного или больше этих материалов, как описано в публикации США 2016/0310715, которая включена в настоящий документ посредством ссылки.

2. b. Основная полезная нагрузка лекарственного средства

[0126] В вариантах осуществления, в которых троспия хлорид доставляется из устройства для внутрипузырной доставки лекарственных средств, композиция может быть размещена в устройстве в различных формах, которые могут зависеть от конкретного механизма, с помощью которого устройство управляемым образом высвобождает композицию в текучую среду (например, мочу) в мочевом пузыре. В некоторых вариантах осуществления композиция представлена в твердой, полутвердой или другой нежидкой форме, которая преимущественно может облегчить стабильное хранение композиции перед применением устройства и преимущественно может обеспечивать возможность полезной нагрузки устройства композицией для хранения в меньшем объеме, чем было бы возможно, если бы композиция была размещена в виде жидкого раствора. В некоторых вариантах осуществления нежидкая форма выбрана из таблеток, гранул, пеллет, порошков, полутвердых веществ (например, мази, крема, пасты или геля), капсул и их комбинаций. В одном варианте осуществления композиция находится в форме совокупности таблеток, таких как микротаблетки, описанные в патенте США № 9757546.

[0127] Например, троспия хлорид может принимать такие формы, как суспензии, растворы, коллоидные вещества, мицеллы или эмульсии в масляных или водных носителях, и может содержать вспомогательные вещества, такие как суспендирующие, стабилизирующие и/или диспергирующие вещества. В альтернативном варианте осуществления действующие вещества могут быть в форме порошка, полученного асептическим выделением стерильного твердого вещества или посредством лиофилизации из раствора, для смешивания с подходящей несущей средой, например, стерильной, апирогенной водой, перед применением.

[0128] В одном варианте осуществления троспия хлорид смешивают с одним или более вспомогательными веществами, которые включают агент, улучшающий вязкость, для регулирования высвобождения троспия хлорида из отверстия для высвобождения в корпусе устройства. В другом варианте осуществления резервуар устройства содержит как троспия хлорид, так и агент, улучшающий вязкость, но они не смешаны вместе, а наоборот расположены в отдельных областях внутри резервуара, например, в виде отдельных таблеток. В фармацевтической области известны подходящие агенты, улучшающие вязкость, включая, но, не ограничиваясь этим, полиэтиленоксид (ПЭО). В некоторых вариациях варианта реализации изобретения агент, улучшающий вязкость, может предоставляться в виде композиции, например, с мочевиной или другим осмотическим агентом.

[0129] В одном варианте осуществления троспия хлорид доставляют в мочевой пузырь субъекта с помощью увеличивающего растворимость агента. В одном варианте осуществления увеличивающий растворимость агент представляет собой мочевину. В одном варианте осуществления мочевина предоставляется в таблетированной или другой твердой форме и вместе с троспия хлоридом загружается в резервуар с лекарственным средством устройства для внутрипузырной доставки лекарственных средств. Мочевина может также действовать, в зависимости от устройства, в качестве осмотического средства для облегчения создания осмотического давления в резервуаре с лекарственным средством. В конкретном варианте осуществления троспия хлорид и осмотический агент выполнены как отдельные полезные нагрузки (например, порошки, таблетки или другие твердые формы), расположенные в разных областях резервуара с лекарственным средством, как описано в PCT WO2015/026813 (Lee et al.), который включен в настоящий документ посредством ссылки.

[0130] В некоторых вариантах осуществления устройство может содержать просвет резервуара с лекарственным средством. В некоторых из этих вариантов осуществления каждый просвет резервуара с лекарственным средством может содержать одно или несколько таблетированных лекарственных средств или других твердых единиц лекарственного средства. В одном варианте осуществления устройство удерживает от приблизительно 10 до 100 цилиндрических таблетированных лекарственных средств, таких как минитаблетки, среди нескольких отдельных просветов резервуара с лекарственным средством. В некоторых вариантах осуществления каждая из микротаблеток может иметь диаметр от приблизительно 1,0 до приблизительно 3,3 мм, например, от приблизительно 1,5 до приблизительно 3,1 мм, и длину от приблизительно 1,5 до приблизительно 4,7 мм, например, приблизительно от 2,0 до приблизительно 4,5 мм. В некоторых других вариантах осуществления просвет резервуара с лекарственным средством содержит порошкообразную или гранулированную форму троспия хлорида.

[0131] В некоторых вариантах осуществления устройство для внутрипузырного введения содержит и высвобождает функциональный агент вместе с троспия хлоридом. Функциональный агент может способствовать высвобождению лекарственного средства из устройства и/или может способствовать стабилизации (т. е. замедлению разложения) троспия хлорида в моче в мочевом пузыре. Например, функциональный агент может включать антипротеазу, если проблемой является протеолитический распад троспия хлорида в моче.

3. c. Корпус с лекарственным средством

[0132] Высвобождение троспия хлорида из устройств для внутрипузырного введения, описанных в настоящем документе, может быть обусловлено и регулироваться различными механизмами действия. В различных вариантах осуществления лекарственное средство может высвобождаться из устройства для внутрипузырной доставки лекарственных средств посредством диффузии через стенку корпуса с лекарственным средством, посредством диффузии через одно или более образованных отверстий в стенке корпуса с лекарственным средством, посредством осмотического давления через отверстие в корпусе с лекарственным средством, посредством осмотического давления через один или более временно сформированных микроканалов, посредством эрозии лекарственного препарата при контакте с мочой в мочевом пузыре или посредством их комбинации. В некоторых вариантах осуществления высвобождение лекарственного средства регулируется посредством диффузии лекарственного средства через полимер, пропускающий лекарственное средство, или матричный элемент, образующий область корпуса устройства, или из них. В одном варианте осуществления изобретения устройство содержит пропускающий лекарственное средство элемент.

[0133] Размер корпуса, включая толщину стенки, может выбираться, среди прочего, в зависимости от объема подлежащего размещению лекарственного (и функционального агента, если он имеется) препарата(ов), требуемой скорости доставки лекарственного средства из тела/корпуса устройства, предполагаемого места имплантации устройства в организме, требуемой механической целостности устройства, требуемой скорости высвобождения или проницаемости для воды и мочи, требуемого времени индукции перед появлением первоначального высвобождения и требуемого способа или пути введения в организм. В вариантах осуществления, в которых корпус представляет собой трубку, толщина стенки трубки может определяться на основе механических свойств и водопроницаемости трубчатого материала, поскольку слишком тонкая цилиндрическая стенка может не обладать достаточной механической целостностью, тогда как слишком толстая цилиндрическая стенка может подвергаться нежелательно длительное время индукции для первоначального высвобождения лекарственного средства из устройства и/или может не обладать достаточной гибкостью для обеспечения доставки через уретру или другой узкий анатомический просвет.

[0134] В некоторых вариантах осуществления корпус может содержать удлиненную кольцевую трубку, имеющую внутренний диаметр от приблизительно 2 мм до приблизительно 5 мм. Лекарственное средство и функциональный агент, если они имеются, могут представлять собой твердые таблетки, имеющие диаметр, по существу такой же, как внутренний диаметр удлиненной кольцевой трубки. В некоторых вариантах осуществления корпус удерживает одну или более первых единиц (например, таблеток), содержащих лекарственное средство, и одну или более вторых единиц (например, таблеток), содержащих функциональный агент, облегчающий высвобождение лекарственного средства и/или облегчающий стабилизацию троспия хлорида в моче в мочевом пузыре. Одна или более таблеток первой единицы могут заполнять от приблизительно 1 см до приблизительно 3 см просвета трубки, и одна или более таблеток второй единицы могут заполнять длину от приблизительно 10 см до приблизительно 15 см просвета трубки. В одном варианте осуществления отношение объема первой единицы (единиц) к объему второй единицы (единиц) составляет от приблизительно 0,05 до приблизительно 0,5. Предусмотрены другие длины и соотношения полезных нагрузок таблеток.

[0135] В некоторых вариантах осуществления корпус может представлять собой удлиненную кольцевую трубку, имеющую толщину стенки от 0,1 до 0,4 мм, например, толщину стенки 0,2 мм. Материал корпуса может содержать один или более биосовместимых эластомеров. Материал корпуса может быть выбран таким образом, что корпус имеет твердость от 25A до 80A, например, 25A, 50A, 65A, 70A или 80A.

[0136] В различных вариантах осуществления устройство для внутрипузырного введения может высвобождать лекарственное средство непрерывно или с промежутками для достижения концентрации лекарственного средства в мочевом пузыре, которая обеспечивает устойчивую, терапевтически эффективную концентрацию лекарственного средства в моче в мочевом пузыре, как описано в способах, предложенных в настоящем документе. В некоторых вариантах осуществления устройство для внутрипузырного введения может высвобождать троспия хлорид в количестве от 1 мг/сут до 1000 мг/сут, например, от 20 мг/сут до 300 мг/сут или от 25 мг/сут до 300 мг/сут. В некоторых вариантах реализации изобретения эти скорости высвобождения обеспечиваются в течение периода лечения, как описано в настоящем документе. В некоторых вариантах реализации изобретения эти скорости высвобождения обеспечиваются в течение периода лечения, составляющего от 14 дней до 21 дня.

4. d. Осмотические и диффузионные системы

[0137] После введения in vivo устройство высвобождает троспия хлорид. Высвобождение может происходить, как описано выше, вследствие градиента осмотического давления между внутренней и внешней поверхностями устройства, при этом лекарственное средство проходит через одно или более отверстий или через поры устройства под действием осмотического давления. Высвобождение также может происходить путем диффузии, при которой лекарственное средство проходит через одно или более отверстий или через поры в устройстве и/или через проницаемую для лекарственного средства стенку устройства вследствие градиента концентрации лекарственного средства между внутренней и внешней поверхностями устройства. Возможны комбинации этих режимов высвобождения в одном устройстве, и в некоторых вариантах осуществления они являются предпочтительными для достижения общего профиля высвобождения лекарственного средства, которого трудно достичь, используя каждый из режимов по-отдельности.

[0138] В некоторых вариантах осуществления изобретения, в которых устройство содержит лекарственное средство в твердой форме, элюирование лекарственного средства из устройства происходит после растворения лекарственного средства в устройстве. Физиологическая жидкость поступает в устройство, вступает в контакт с лекарственным средством и растворяет данное лекарственное средство, и после этого растворенное лекарственное средство диффундирует из устройства или вытекает из устройства под воздействием осмотического давления или посредством диффузии. Это «растворенное лекарственное средство» может включать микро- и наноразмерные частицы лекарственного средства в суспензии, которые остаются после существенного растворения твердой формы лекарственного средства и которые также могут высвобождаться из устройства, например, через отверстие в корпусе устройства. Например, лекарственное средство может солюбилизироваться при контакте с мочой в мочевом пузыре. В некоторых вариантах осуществления водопроницаемый участок стенки корпуса является проницаемым для лекарственного средства в водном растворе, чтобы растворенное лекарственное средство высвобождалось через участок стенки, также называемая в настоящем документе «диффузией через стенку». После введения устройства в мочевой пузырь субъекта моча проникает через стенку, поступает в резервуар и солюбилизирует троспия хлорид и функциональный агент при его наличии. В некоторых вариантах осуществления затем лекарственное средство распыляется непосредственно через стенку с контролируемой скоростью вследствие градиента концентрации лекарственного средства между внутренней частью и внешней частью устройства. Например, корпус и/или любые проницаемые для воды или лекарственного средства части стенок могут представлять собой силикон, термопластичный полиуретан, сополимер этилена и винилацетата (ЭВА) или их комбинацию.

[0139] В некоторых вариантах осуществления устройство для внутрипузырного введения содержит (i) корпус, который содержит стенку, ограничивающую резервуар, образованный внутри корпуса, причем стенка имеет предварительно сформированное сквозное отверстие и содержит водопроницаемую часть, а корпус содержит упругую часть; (ii) лекарственный препарат, который содержит троспия хлорид, размещенный внутри резервуара; и (iii) ограничивающую заглушку, закрывающую отверстие корпуса и контактирующую с упругой частью корпуса, причем отверстие находится в сообщении по текучей среде с резервуаром, при этом водопроницаемая часть стенки выполнена с возможностью обеспечения входа воды в устройство и контакта с лекарственным препаратом в резервуаре, и при этом высвобождение троспия хлорида из устройства контролируется (a) высвобождением троспия хлорида через предварительно сформированное сквозное отверстие в стенке, и (b) высвобождением троспия хлорида посредством временного формирования одного или более микроканалов между упругой частью корпуса и ограничивающей заглушкой, проходящих к отверстию, при создании внутри резервуара гидростатического давления, обеспечивающего эффективное формирование одного или более микроканалов. Лекарственный препарат может быть в форме совокупности таблеток, а корпус может быть в форме силиконовой трубки. Эти варианты осуществления дополнительно описаны в PCT/US18/16463, который включен в настоящий документ путем ссылки.

[0140] В первом аспекте, как показано на фиг. 1A-1D, устройства 50 для доставки лекарственных средств, описанные в настоящем документе, содержат одну или более ограничивающих заглушек 56, находящихся в контакте с упругой(-ими) частью(-ями) 54 корпуса 52 устройства, чтобы обеспечить высвобождение лекарственного средства через дистальное(-ые) отверстие(-я) корпуса устройства, как описано в публикации заявки на патент США 2016/0008271 Lee, которая включена в настоящий документ путем ссылки в соответствующей части. Однако в отличие от системы без отверстий (т. е. предварительно образованной системы без отверстий) в публикации заявки на патент США 2016/0008271 Lee в некоторых вариантах осуществления, как показано на фиг. 2 и 3A, устройства содержат по меньшей мере одно предварительно сформированное сквозное отверстие (т. е. отверстие) 66, расположенное в стенке корпуса 52 устройства.

[0141] Таким образом, в некоторых вариантах осуществления, как показано на фиг. 1-4, устройство 50 для доставки лекарственных средств содержит корпус 52, имеющий стенку, ограничивающую резервуар 60, образованный внутри корпуса 52, причем стенка имеет по меньшей мере одно предварительно сформированное сквозное отверстие 66, расположенное в ней и содержащее водопроницаемый участок 64, при этом корпус 52 содержит упругую часть 54; лекарственный препарат 58, который содержит лекарственное средство, причем лекарственный препарат 58 размещен внутри резервуара 60; и по меньшей мере одну ограничивающую заглушку 56, закрывающую отверстие корпуса 52 и контактирующую с упругой частью 54 корпуса 52, причем отверстие сообщается по текучей среде с резервуаром 60. Водопроницаемый участок 64 стенки выполнен с возможностью обеспечения входа воды в устройство 50 для доставки лекарственных средств и контакта с лекарственным препаратом 58, расположенным в резервуаре 60, и управление высвобождением лекарственного средства 58 из устройства 50 осуществляется по меньшей мере одним из следующих способов: (i) высвобождение лекарственного средства 58 через по меньшей мере одно предварительно сформированное сквозное отверстие 66 (т. е. отверстие) в стенке, и (ii) высвобождение лекарственного средства за счет временного образования одного или более микроканалов 62 между упругой частью 54 корпуса 52 и по меньшей мере одной ограничивающей заглушкой 56, проходящей к отверстию, при создании гидростатического давления, обеспечивающего эффективное формирование одного или более микроканалов 62. В этих вариантах осуществления ограничивающие заглушки 56 могут быть частично или полностью разгерметизированы в отверстиях на дистальном конце устройства 50. Было обнаружено, что такие системы обеспечивают постоянные и воспроизводимые профили высвобождения лекарственного средства, в то же время обеспечивая систему предохранительного клапана, которая благоприятно обеспечивает высвобождение лекарственного средства при частичном или полном засорении сквозного отверстия. Таким образом, устройство может функционировать с возможностью высвобождения лекарственного средства через предварительно сформированное отверстие до тех пор, пока гидростатическое давление внутри резервуара с лекарственным средством не достигнет порогового давления ограничивающей(-их) заглушки (заглушек), и в этот момент происходит высвобождение посредством ограничивающих заглушек. Например, высвобождение лекарственного средства через по меньшей мере одно предварительно сформированное сквозное отверстие может приводиться в действие осмотически.

[0142] Во втором аспекте, как показано на фиг. 5-6, устройства 50 для доставки лекарственных средств, описанные в настоящем документе, содержат герметичные дистальные концы (показаны герметизированными с помощью адгезива 70), причем одна или более ограничивающих заглушек 56 контактируют с упругой(-ми) частью(-ями) 54 корпуса 52 устройства, обеспечивая высвобождение лекарственного средства через предварительно сформированное(-ые) отверстие(-я) 68 для высвобождения в корпусе 52 устройства (например, боковой стенке) смежно с ограничивающей заглушкой 56. Упругие части 54 могут находиться на концах устройства 50 или рядом с ними (как показано на фиг. 9-10) или могут быть иным образом расположены по всей длине устройства, например, в центре устройства или рядом с ним. Ограничивающая(-ие) заглушка(-и) 56 может (могут) быть расположена(-ы) смежно с одним или более предварительно сформированными отверстиями 68 для высвобождения в корпусе 52 устройства таким образом, что ограничивающая(-ие) заглушка(-и) 56 покрывает(-ют) и по существу закрывает(-ют) предварительно сформированное(-ые) отверстие(-я) 68 для высвобождения, когда пороговое гидростатическое давление внутри резервуара 60 с лекарственным средством не достигнуто. В таких вариантах осуществления ограничивающие заглушки 56 и упругие части 54 устройства могут быть аналогичны описанным выше и в публикации заявки на патент США 2016/0008271, выданный Lee, за исключением того, что один или более микроканалов 62, временно образованных после достижения резервуаром 60 с лекарственным средством порогового гидростатического давления, проходят от резервуара 60 с лекарственным средством к предварительно сформированному(-ым) отверстию(-ям) 68 для высвобождения.

[0143] Таким образом, в некоторых вариантах осуществления, как показано на фиг. 5-6, устройство 50 для доставки лекарственных средств содержит трубчатый корпус 52, который содержит стенку, ограничивающую резервуар 60, образованный внутри корпуса, причем стенка имеет водопроницаемый участок 64 и упругую часть 54, имеющую по меньшей мере одно предварительно сформированное в нем отверстие 68 (например, сквозное отверстие, отверстие, щель); лекарственный препарат 58, который содержит лекарственное средство, причем лекарственный препарат 58 расположен внутри резервуара 60, при этом водопроницаемый участок 64 стенки позволяет воде входить в устройство для доставки лекарственных средств и входить в контакт с лекарственным препаратом 58, расположенным в резервуаре 60; и по меньшей мере одну ограничивающую заглушку 56, закрепленную внутри резервуара 60 в контакте с упругой частью 54 корпуса 52 и смежную с по меньшей мере одним предварительно сформированным отверстием 68 для высвобождения так, что по меньшей мере одна ограничивающая заглушка 56 контролирует высвобождение лекарственного средства из устройства через по меньшей мере одно предварительно сформированное отверстие 68 для высвобождения, за счет временного образования одного или более микроканалов 62 между упругой частью 54 корпуса и по меньшей мере одной ограничивающей заглушкой 56, проходящей к по меньшей мере одному предварительно сформированному отверстию 68 для высвобождения, при создании гидростатического давления в резервуаре 60, обеспечивающего эффективное формирование одного или более микроканалов 62. В некоторых из этих вариантов осуществления по меньшей мере одно предварительно сформированное отверстие 68 для высвобождения представляет собой сквозное отверстие или щель, расположенные в стенке корпуса 52.

[0144] Для достижения желаемого профиля высвобождения лекарственного средства может использоваться любое подходящее количество и расположение ограничивающих заглушек 56 и предварительно сформированных отверстий 68 для высвобождения лекарственного средства. Например, как показано на фиг. 5B, устройство 50 может содержать два предварительно сформированных отверстия 68, показанных в данном случае в виде отверстий, расположенных на расстоянии 180 градусов друг от друга в трубчатом корпусе 52 устройства так, что одна ограничивающая заглушка 56 расположена смежно с обоими отверстиями. Как показано на фиг. 5B, пара отверстий 68 и соответствующая ограничивающая заглушка 56 могут быть предусмотрены на каждом дистальном конце устройства или рядом с ним. Например, как показано на фиг. 6B, смежно с каждой ограничивающей заглушкой 56 может быть расположено одно предварительно сформированное отверстие 68, показанное в настоящем документе в виде щели. Как показано на фиг. 6B, предварительно сформированное отверстие 68 и соответствующая ограничивающая заглушка 56 могут быть предусмотрены на каждом дистальном конце устройства или рядом с ним.

[0145] В некоторых вариантах осуществления устройство для доставки лекарственных средств может содержать систему проникновения, описанную в WO 2014/145638 и публикации США № 2016/0310715, обе из которых полностью включены в настоящий документ посредством ссылки. В некоторых вариантах осуществления устройство для доставки лекарственных средств содержит корпус, имеющий просвет с закрытым резервуаром для лекарственных средств, ограниченный первой структурой стенки и гидрофильной структурой второй стенки; и лекарственный препарат, содержащий троспия хлорид, содержащийся в просвете резервуара с лекарственным средством, причем структура первой стенки является водопроницаемой или водонепроницаемой и непроницаемой для лекарственного средства, а вторая структура стенки является проницаемой для троспия хлорида.

[0146] В некоторых вариантах осуществления корпус устройства имеет стенки, ограничивающие и определяющие резервуар с лекарственным средством устройства, которые изготовлены из первого материала, который служит в качестве первой структурой стенки, и второго материала, который служит в качестве второй структуры стенки, так что высвобождение лекарственного препарата происходит, по существу, только через второй материал. В одном варианте осуществления устройство не содержит отверстия; высвобождение лекарственного средства происходит только за счет диффузии через вторую структуру стенки. При использовании в настоящем документе термины «непроницаемый для лекарственного средства» и «водонепроницаемый» относятся к структуре стенки, по существу, непроницаемой для лекарственного средства или воды, так что, по существу, ни лекарственное средство, ни вода не высвобождаются через структуру стенки в течение периода терапевтического высвобождения. Для применения в мочевом пузыре желательно, чтобы устройство было эластичным (то есть легко сгибалось, было мягким по ощущениям) во время сокращения мышцы-сжимателя, чтобы избежать или уменьшить дискомфорт и раздражение у пациента. Таким образом, твердость первого и второго материалов структуры являются конструктивным решением, а количественное соотношение материала высокой твердости может быть ограничено разработкой корпуса устройства заданного размера, соблюдая при этом надлежащую ему эластичность в мочевом пузыре. Например, термопластичный полиуретан TecophilicTM (Lubrizol Corp.) может иметь твердость по Шору, составляющую более 70А, например, от 80А до 65D, в то время как силиконовые трубки могут иметь твердость по Шору, составляющую от 50А до 70А. Соответственно, может быть предпочтительнее использовать сочетание этих двух разных полимерных материалов, а не изготавливать устройство полностью из влагопоглощающего гидрофильного, пропускающего лекарственное средство второго материала.

[0147] Конструкция первой и второй структур стенок может принимать различные формы. В некоторых вариантах реализации изобретения первая структура стенки представляет собой цилиндрическую трубку, а вторая структура стенки представляет собой торцевую стенку, расположенную по меньшей мере на одном конце цилиндрической трубки, или первая структура стенки и вторая структура стенки прилегают друг к другу и вместе образуют цилиндрическую трубку. То есть, высвобождение лекарственного средства регулируется посредством диффузии через пропускающий лекарственное средство элемент, определяющий участок закрытого корпуса устройства. Пропускающая лекарственное средство структура стенки может быть расположена, иметь такие размеры и свойства материала, чтобы обеспечивать требуемую скорость контролируемой диффузии лекарственного средства из устройства. В некоторых вариантах осуществления проницаемая для лекарственного средства стенка может содержать диск, закрепленный в просвете трубки на конце трубки или рядом с ним, необязательно размещенный между внутренней прокладкой и внешней прокладкой. В некоторых вариантах осуществления проницаемая для лекарственного средства стенка является частью боковой стенки трубчатого корпуса или частью концевой заглушки, размещенной на конце трубчатого корпуса.

[0148] Длина и ширина части стенки, образованной из водопроницаемого материала, могут быть выбраны так, чтобы обеспечивать желаемую скорость потока воды в резервуар, образованный корпусом устройства. В одном варианте осуществления ширина водопроницаемого участка стенки может быть определена количественно с помощью угла дуги, определяющей стенку, если смотреть в поперечном сечении, перпендикулярном по отношению к люминальной оси. Водопроницаемой областью(ями) корпуса устройства можно управлять для обеспечения выбранной областью, а следовательно скоростью, осмотического впитывания воды, и, вместе с тем преимущественно поддержания приемлемых общих размеров и эластичности устройства, образованного из приемлемых биосовместимых эластомеров. Преимуществом является то, что формирование корпуса устройства путем совместной экструзии приводит к созданию структурных вариаций водопроницаемой области (ей) с помощью обычного оборудования для совместной экструзии путем выбора параметров обработки, тем самым предпочтительно обеспечивая возможность для экономически эффективного производства множества структурных конфигураций устройств. В некоторых вариантах осуществления длина водопроницаемой области(ей) проходит вдоль только участка общей длины устройства. В таком варианте осуществления можно использовать большие углы дуги водопроницаемой области(ей), сохраняя при этом скорость высвобождения лекарственного средства на требуемом уровне в течение продолжительного периода времени. Такие корпусы устройств для внутрипузырного введения описаны, например, в US 2016/0310715.

[0149] В некоторых вариантах осуществления стенка может иметь различную толщину по окружности стенки, например, проницаемая для лекарственного средства часть может иметь толщину, которая меньше толщины непроницаемого для лекарственного средства участка. Более того, более тонкая проницаемая для лекарственного средства структура стенки может быть расположена в различных положениях относительно смежной, более толстой непроницаемой для лекарственного средства структуры стенки. В некоторых вариантах осуществления высвобождение лекарственного средства регулируется путем диффузии лекарственного средства через проницаемый для лекарственного средства элемент, образующий участок закрытого корпуса устройства. Пропускающая лекарственное средство структура стенки может быть расположена, иметь такие размеры и свойства материала, чтобы обеспечивать требуемую скорость контролируемой диффузии лекарственного средства из устройства.

[0150] В некоторых вариантах осуществления устройство для доставки лекарственных средств содержит корпус, содержащий первую структуру стенки и вторую структуру стенки, которые расположены смежно друг с другом и вместе образуют трубку, образующую просвет резервуара для лекарственных средств; и лекарственное средство, содержащееся в просвете резервуара для лекарственных средств, причем: (i) вторая структура стенки, или как первая структура стенки, так и вторая структура стенки являются водопроницаемыми, (ii) первая структура стенки является непроницаемой для лекарственного средства, а вторая структура стенки является проницаемой для лекарственного средства, чтобы лекарственное средство высвобождалось in vivo за счет диффузии через вторую структуру стенки, (iii) вторая структура стенки включает менее 90 процентов области поперечного сечения трубки, в поперечном сечении перпендикулярном к продольной оси трубки, (iv) и первая структура стенки содержит первую полиуретановую композицию.

[0151] В некоторых вариантах осуществления устройство содержит: удлиненный упругий корпус, имеющий просвет резервуара для лекарственных средств, проходящий между первым закрытым концом и вторым закрытым концом; и лекарственное средство, содержащееся в просвете резервуара с лекарственным средством, причем: (i) корпус содержит структуру трубчатой стенки, которая содержит: первый кольцевой сегмент, образованный полностью из первого материала, который является непроницаемым для лекарственного средства, и второй кольцевой сегмент, образованный по меньшей мере частично из второго материала, который является проницаемым для лекарственного средства и выполнен с возможностью высвобождения лекарственного средства in vivo посредством диффузии через второй материал во втором кольцевом сегменте, и (ii) первый кольцевой сегмент имеет первый конец, который образован как единое целое и соединен с первым концом второго кольцевого сегмента.

[0152] В некоторых вариантах осуществления стенки, которые образуют просветы резервуара для лекарственных средств, могут иметь различную толщину. Корпуса со стенками различной толщины могут улучшить гибкость, сжимаемость корпуса или и то, и другое. Различные толщины стенок также могут способствовать прикреплению твердой единицы лекарственного средства в просветах резервуара для лекарственных средств.

[0153] В некоторых вариантах осуществления тело или корпус устройства для внутрипузырного введения может содержать отверстия (например, на противоположных концах кольцевой трубки), для которых требуется герметизация после загрузки резервуара с лекарственным средством полезной нагрузкой лекарственного средства в процессе сборки. Любое из этих определенных отверстий или концов корпусов, включая монолитный корпус и модульные корпусные сборочные единицы, при необходимости, могут герметизироваться для закрытия отверстия. Такая герметизация может выполняться с помощью герметизирующего вещества или структуры. Герметизирующая структура может быть образована из биосовместимого материала, включая, среди прочего, металл, например, нержавеющая сталь, полимер, например, силикон, керамику, сапфир или адгезив или их комбинации. Герметизирующее вещество или структура могут быть биоразлагаемыми или биоразрушаемыми. В одном варианте осуществления силиконовый адгезив, предназначенный для медицинского оборудования, или другой адгезив вводят в отверстие в жидком или пригодном для использования виде, а затем отверждают внутри отверстия корпуса, чтобы герметизировать его. В некоторых вариантах осуществления корпус содержит одно или более заранее определенных отверстий для высвобождения лекарственного средства из устройства. Эти отверстия для высвобождения лекарственного средства не являются определенными отверстиями, которые герметизируются. В других вариантах осуществления корпус не содержит заранее определенных отверстий для высвобождения лекарственного средства.

[0154] В некоторых вариантах осуществления устройство высвобождает лекарственное средство без заранее определенного отверстия для высвобождения лекарственного средства (т. е. отверстия). Высвобождение лекарственного средства из устройства без заранее определенного отверстия для высвобождения лекарственного средства может приводиться в действие посредством диффузии или осмотического давления. Примеры таких подходящих систем высвобождения «без отверстий» описаны в публикации заявки на патент РСТ № WO 2014/144066 (ТВ 130) и публикации заявки на патент США № 2014/0276636 (ТВ 134), которые включены в настоящий документ посредством ссылки.

[0155] В некоторых вариантах осуществления устройство для доставки лекарственных средств может содержать осмотическую систему, описанную в публикации США № 2016/0199544, патенте США № 8679094 и публикации США № 2016/0008271, которые включены в настоящий документ посредством ссылки.

[0156] В некоторых вариантах осуществления устройство для доставки лекарственных средств содержит осмотическую систему, описанную в публикации США № 2016/0279399 (TB 137), которая включена в настоящий документ посредством ссылки. В некоторых вариантах осуществления, в которых применяются такие системы, троспия хлорид можно загружать в корпус устройства в жидкой форме перед введением устройства в мочевой пузырь субъекта.

[0157] В некоторых вариантах осуществления устройство содержит: корпус, образующий резервуар; первую единицу, содержащуюся в резервуаре, причем первая единица содержит лекарственное средство; и вторую единицу, содержащуюся в резервуаре в положении, отличающемся от первой единицы, причем вторая единица содержит функциональный агент, который облегчает in vivo высвобождение троспия хлорида из корпуса. В некоторых вариантах осуществления устройство содержит: корпус, образующий резервуар; первую единицу, содержащуюся в резервуаре, причем первая единица содержит лекарственное средство; и вторую единицу, содержащуюся внутри резервуара в положении, отличающуюся от первой единицы, причем вторая единица содержит функциональный агент, который облегчает стабилизацию троспия хлорида в моче в мочевом пузыре (т. е. антипротеазный агент). В некоторых вариантах осуществления первая единица содержит одну или более твердых таблеток или порошков, которые содержат по меньшей мере одно лекарственное средство (например, троспия хлорид, такой как гемцитабин), а вторая единица содержит одну или более твердых таблеток или порошков (например, содержащих осмотический агент, такой как мочевина). В некоторых вариантах осуществления корпус выполнен в виде удлиненной эластомерной трубки, имеющей просвет (т. е. резервуар), в котором совмещены и содержатся все твердые таблетки первой и второй единиц. Диаметр твердых таблеток может быть по существу таким же, как диаметр просвета.

[0158] Когда осмотическое высвобождение является желаемым режимом высвобождения лекарственного средства, функциональный агент во вторых единицах может включать осмотический агент, облегчающий осмотическое высвобождение лекарственного средства. Например, осмотический агент может иметь более высокую растворимость, чем лекарственное средство, чтобы осмотический агент ускорял растворение и/или последующее высвобождение лекарственного средства. Преимущество этого заключается в возможности доставлять из устройств на основе осмотической доставки лекарственные средства с низкой растворимостью или другие лекарственные средства, обычно доставляемые только посредством диффузии. Устройство может иметь индукционный период, в то время как достаточное количество функционального агента и/или лекарственного средства растворяются для достижения градиента осмотического давления.

[0159] Затем устройство может иметь нулевую скорость высвобождения в течение длительного периода времени, а затем пониженную, не нулевую, скорость высвобождения в течение периода спада. Требуемая скорость доставки может быть достигнута путем управления/выбора различных параметров устройства, включая, но, не ограничиваясь этим, площадь поверхности и толщину водопроницаемой стенки; водопроницаемость материала, используемого для формирования стенки; форма, размер, количество и расположение отверстий; и профили растворения лекарственного средства и функционального агента.

[0160] Описанные в настоящем документе устройства также могут быть выполнены с возможностью высвобождения лекарственного средства посредством диффузии, отдельно или в комбинации с осмотическим высвобождением. Устройство может быть выполнено с возможностью обеспечения прохождения растворенного лекарственного средства через участок корпуса или одно или более отверстий в нем.

[0161] Альтернативно или в комбинации с водопроницаемой частью стенки корпус может содержать по меньшей мере одно отверстие, выполненное с возможностью обеспечения входа жидкости в резервуар in vivo. Корпус также может содержать одно или более отверстий или проходящих пор, выполненных с возможностью прохождения через них растворенного лекарственного средства.

[0162] В некоторых вариантах осуществления осмотической системы корпус устройства содержит первый эластомерный материал, который является водопроницаемым, и второй эластомерный материал, который является водонепроницаемым, причем оба материала выбираются так, чтобы быть непроницаемыми для лекарственного средства, содержащегося в корпусе.

[0163] На фиг. 7A-7C представлен один вариант осуществления устройства для внутрипузырного введения, используемого в способах, описанных в настоящем документе. Устройство 100 содержит часть 102 резервуара с лекарственным средством и часть 104 удерживающей рамки. На фиг. 7A устройство 100 показано в относительно увеличенной в объеме форме, подходящей для удерживания внутри мочевого пузыря субъекта. На фиг. 7C устройство 100 показано в относительно низкопрофильной форме для введения через рабочий канал 202 инструмента 200 для введения, такого как цистоскоп или другой катетер, например, для вставки через уретру в мочевой пузырь пациента. После введения (высвобождения устройства) в мочевой пузырь устройство 100 может принимать относительно увеличенную в объеме форму для удержания устройства для доставки лекарственных средств в мочевом пузыре. В показанном варианте осуществления часть 102 резервуара с лекарственным средством и часть 104 удерживающей рамки устройства 100 для доставки лекарственных средств выровнены в продольном направлении и выполнены как одно целое или иным образом соединены друг с другом вдоль их длины.

[0164] Устройство 100 для доставки лекарственных средств содержит эластичный или гибкий корпус 106 устройства, который образует просвет 108 резервуара с лекарственным средством и просвет 110 удерживающей рамки. Просвет 108 резервуара с лекарственным средством выполнен с возможностью вмещения лекарственного средства (например, троспия хлорида), которое имеет форму множества твердых единиц 112 лекарственного средства, с образованием части 102 резервуара с лекарственным средством. Пустоты 116 или разрывы, образованные между смежными единицами 112 лекарственного средства, позволяют единицам 112 лекарственного средства перемещаться относительно друг друга, чтобы устройство 100 было гибким, несмотря на то, что оно загружено лекарственным средством в твердой форме. Просвет 110 удерживающей рамки выполнен с возможностью вмещения удерживающей рамки 114 с образованием части 104 удерживающей рамки.

[0165] Как показано на виде в поперечном сечении, изображенном на фиг. 7B, корпус 106 устройства содержит трубку или стенку 122, которая образует просвет 108 резервуара с лекарственным средством, и трубку или стенку 124, которая образует просвет 110 удерживающей рамки. Трубки 122, 124 и просветы 108, 110 могут быть по существу цилиндрическими, причем просвет 108 резервуара с лекарственным средством имеет относительно больший диаметр, чем просвет 110 удерживающей рамки, хотя можно выбирать и другие конфигурации, например, на основании количества доставляемого лекарственного средства, диаметра удерживающей рамки и соображений введения, таких как внутренний диаметр инструмента для введения. Корпус 106 устройства может быть выполнен как единое целое, например, путем литья или экструзии, хотя возможны и отдельные конструкции и сборки трубок 122, 124. Стенка 124, образующая просвет 110 удерживающей рамки, может проходить вдоль всей длины стенки 122, образующей просвет 108 резервуара с лекарственным средством так, что просвет 110 удерживающей рамки имеет такую же длину, что и просвет 108 резервуара с лекарственным средством, как показано, хотя в других вариантах осуществления одна стенка может быть короче другой стенки. Кроме того, в проиллюстрированном варианте осуществления две стенки 122, 124 прикреплены по всей длине устройства, хотя допускается прикрепление с промежутками.

[0166] Как показано на фиг. 7A, в просвет 108 резервуара с лекарственным средством загружено некоторое количество единиц 112 лекарственного средства в последовательном расположении. Например, могут быть загружены от приблизительно 10 до приблизительно 100 единиц 112 лекарственного средства, например, от приблизительно 20 до приблизительно 80 единиц 112 лекарственного средства. Единицы лекарственного средства могут представлять собой, например, таблетки, шарики или капсулы. Можно использовать по существу любое количество единиц лекарственного средства в зависимости от размеров резервуара и единиц лекарственного средства. Просвет 108 резервуара с лекарственным средством содержит открытые концы 130 и 132, которые показаны в виде относительно круглых отверстий на противоположных концах просвета 108 резервуара с лекарственным средством. По меньшей мере одно из отверстий обеспечивает проникновение единиц 112 лекарственного средства в просвет 108 резервуара с лекарственным средством во время загрузки и сборки устройства.

[0167] Концевые заглушки 120 блокируют отверстия 130 и 132 после загрузки единиц 112 лекарственного средства. Концевые заглушки 120 могут быть цилиндрическими и могут быть закреплены в просвете 108 резервуара с лекарственным средством посредством фрикционного зацепления и/или адгезива или других крепежных средств. Каждая концевая заглушка 120 содержит отверстие 118, как показано, для обеспечения прохода для высвобождения лекарственного средства из просвета 108 резервуара с лекарственным средством. В некоторых альтернативных вариантах осуществления только одна из концевых заглушек содержит отверстие. В некоторых других альтернативных вариантах осуществления ни одна из концевых заглушек не содержит отверстие, а в некоторых из этих вариантов осуществления трубчатая стенка 122 содержит образованное отверстие для высвобождения через него лекарственного средства.

[0168] Просвет 110 удерживающей рамки загружен удерживающей рамкой 114, которая может быть упругой проволокой, такой как проволока из нитинола, которой (термически) придана форма перекрывающейся спирали, показанной на фиг. 7A. Удерживающая рамка 114 может иметь предел упругости и модуль упругости, что обеспечивает возможность введения устройства 100 в организм в относительно низкопрофильной форме, позволяет устройству 100 возвращаться к относительно увеличенной в объеме форме после помещения внутрь организма и мешает устройству принимать относительно низкопрофильную форму в организме в ответ на ожидаемые силы, такие как гидродинамические силы, обусловленные сокращением мышцы-сжимателя и мочеиспусканием.

5. e. Системы на основе эрозии

[0169] В некоторых вариантах осуществления, которые можно применять с таблетками, содержащими лекарственные средства с низкой растворимостью, лекарственный препарат предоставляется в виде таблетки, закрепленной в устройстве с открытыми поверхностями таблеток, чтобы высвобождение лекарственного средства из устройства происходило посредством контролируемой эрозии/растворения, как описано в заявке на патент США № 9107816. В некоторых вариантах осуществления устройство может содержать модульные корпуса. Модульные корпуса, как правило, образованы из по меньшей мере двух отдельных корпусных сборочных единиц, причем каждое устройство вмещает по меньшей мере одно твердую единицу лекарственного средства. Материал, из которого выполнена каждая корпусная сборочная единица, образует по меньшей мере один просвет резервуара для лекарственных средств, выполненный с возможностью вмещать твердую единицу лекарственного средства. Просветы резервуара для лекарственных средств могут иметь одно или более определенных отверстий. Например, просвет резервуара для лекарственных средств может иметь два противоположных отверстия, которые открывают соответственно противоположные торцевые поверхности по меньшей мере одной содержащейся в нем твердой единицы лекарственного средства. В некоторых вариантах осуществления по меньшей мере две отдельных корпусных единицы в модульных корпусах непосредственно или опосредованно соединяются удерживающей рамкой. В некоторых вариантах осуществления модульные корпусные единицы могут размещаться на удерживающей рамке с образованием «браслетной» конструкции. Устройства могут иметь одну корпусную единицу или множество корпусных единиц. Количество корпусных единиц может быть ограничено только размером удерживающей рамки, с помощью которой они соединяются.

[0170] В некоторых вариантах осуществления одна или более отдельных корпусных единиц содержат просвет удерживающей рамки, через который расширяется общая удерживающая рамка. В некоторых вариантах осуществления просвет удерживающей рамки и просвет резервуара для лекарственных средств каждой корпусной единицы расположены параллельно друг другу. В конкретных вариантах осуществления просвет удерживающей рамки и просвет резервуара для лекарственных средств каждой корпусной единицы расположены перпендикулярно друг другу. В дополнительных вариантах осуществления просвет удерживающей рамки и просвет резервуара для лекарственных средств каждой корпусной единицы расположены под углом, отличным от 0° (параллельно) и 90° (перпендикулярно), например 5, 10, 30, 45, 60 или 85°. В дополнительных вариантах осуществления устройства, описанные в настоящем документе, содержат две или более корпусных единицы с по меньшей мере двумя из следующих конфигураций: (1) просвет удерживающей рамки и просвет резервуара для лекарственных средств расположены по существу параллельно друг другу, (2) просвет удерживающей рамки и просвет резервуара для лекарственных средств расположены по существу перпендикулярно друг другу, и (3) просвет удерживающей рамки и просвет резервуара для лекарственных средств расположены под углом, отличным от 0° (параллельно) и 90° (перпендикулярно).

6. f. Интегрированные системы доставки лекарственного средства на основе силикона

[0171] В некоторых вариантах осуществления устройство может содержать эластичную матрицу полимер-лекарственное средство, описанную в WO 2015/200752, которая полностью включена в настоящий документ посредством ссылки.

7. g. Устройства с множеством высвобождающих частей

[0172] В некоторых вариантах осуществления устройство содержит по меньшей мере две высвобождающие лекарственное средство части, причем по меньшей мере одна высвобождающая часть высвобождает лекарственное средство со скоростью, отличной от скорости другой высвобождающей части, как описано в WO 2011/031855, которая полностью включена в настоящий документ посредством ссылки. Высвобождающие части могут достигать разных скоростей высвобождения благодаря наличию различных конфигураций, среди прочего, путем размещения различных составов лекарственных средств или с использованием различных механизмов высвобождения, или их комбинации. Высвобождающие части могут объединяться для получения требуемого профиля высвобождения. Например, устройство может содержать высвобождающие части, которые, среди прочего, имеют разное время индукции или запаздывания перед началом первоначального высвобождения, которые высвобождают лекарственное средство с разной скоростью или в соответствии с разными кривыми высвобождения после начала высвобождения, или которые высвобождают лекарственное средство в течение разных периодов времени, прежде чем загрузка лекарственного средства будет по существу исчерпана или их комбинации. Различные высвобождающие части можно комбинировать для получения необходимого профиля высвобождения из устройства для доставки лекарственных средств в целом, такого как профиль высвобождения, который демонстрирует относительно короткое исходное время запаздывания, и затем демонстрирует продолжительное высвобождения с относительно постоянной скоростью в течение длительного периода времени.

[0173] В некоторых вариантах осуществления устройства загружаются с помощью лекарственных средств в виде ряда твердых таблеток лекарственного средства, размер которых может быть меньше, чем у обычных таблеток лекарственного средства. Поскольку устройства контролируют высвобождение лекарственного средства в организм, само лекарственное средство может содержать незначительное количество эксципиентов или вообще не содержать эксципиентов, контролирующих высвобождение лекарственного средства. Вместо этого эксципиенты, присутствующие в таблетках лекарственного средства, могут присутствовать преимущественно или полностью для облегчения процесса таблетирования или растворения in vivo. Таким образом, устройства могут обеспечивать высокую полезную нагрузку лекарственного средства на уровне объема или веса, однако устройства могут быть достаточно малыми для размещения in vivo минимально инвазивным способом.

[0174] Корпус с лекарственным средством также допускает выход лекарственного средства в жидкой или полутвердой форме, как при имплантации, так и после солюбилизации in vivo. Стенка может быть образована из проницаемого для лекарственных средств материала, который обеспечивает вытекание лекарственного средства через корпус лекарственного средства по всей его длине. Стенка также может быть выполнена из материала, который является полупроницаемым для лекарственного средства, в зависимости, по меньшей мере частично, от формы лекарственного средства. Например, стенка может быть проницаемой для лекарственного средства в одной форме, такой как заряженная форма, но не в другой форме, такой как незаряженная форма (например, форма основания по сравнению с формой соли). Стенка также может содержать одно или более отверстий или каналов, выполненных через нее полностью, которые позволяют лекарственному средству выходить из корпуса лекарственного средства.

[0175] Участок лекарственного средства может иметь любую комбинацию характеристик или конфигураций, описанных в настоящем документе, что означает, что отверстие может быть обеспечено, опущено, замещено проходящей порой или дополнено дополнительными отверстиями или проходящими порами; корпус может иметь пористую стенку с открытопористой структурой или закрытопористой структурой; одна или более разлагаемых временных структур или структур, модулирующих высвобождение, могут быть связаны с корпусом или любой их комбинацией.

[0176] Таблетки лекарственного средства могут совмещаться в любой конструкции, отличной от последовательной конструкции, в зависимости от конфигурации корпуса лекарственного средства. Таблетки лекарственного средства могут заполнять любую часть корпуса лекарственного средства, кроме всего корпуса лекарственного средства, как было показано. Заполняющий материал, такой как силиконовый адгезив, может использоваться для заполнения любого участка корпуса лекарственного средства, не загруженного таблетками лекарственного средства, или может использоваться воздух, увеличивающий выталкивающую силу устройства. Композиция таблеток лекарственного средства может быть одинаковой или может варьироваться вдоль устройства. Лекарственное средство также может быть выполнено в формах, отличных от таблетки лекарственного средства, таких как другие жидкие, полутвердые или твердые формы (например, гранулы).

[0177] В некоторых вариантах осуществления устройство для доставки лекарственных средств содержит по меньшей мере два отдельных или изолированных участка лекарственного средства, связанных с одним удерживающим участком. Участки лекарственного средства могут представлять собой отдельные корпуса лекарственных средств, каждый из которых связан с удерживающим участком, или участки лекарственного средства могут представлять собой отдельные области внутри одного корпуса лекарственного средства, связанные с удерживающим участком.

[0178] Каждый участок лекарственного средства может быть образован частью стенки корпуса лекарственного средства и по меньшей мере одной разделительной структурой, которая отделяет участок лекарственного средства от второго участка лекарственного средства. Разделительная структура может представлять собой заглушку, вставленную в корпус, такую как, среди прочего, цилиндр, сфера или диск, которая закрепляется на месте благодаря своему размеру или адгезиву. Разделительная структура также может представлять собой часть корпуса, образованную непосредственно в нем, например, путем формования.

[0179] Устройство с по меньшей мере двумя отдельными участками может подходить для контролируемого высвобождения по меньшей мере двух полезных нагрузок лекарственных средств из соответствующего числа резервуаров для лекарственных средств. Две отдельные части могут иметь одинаковые конфигурации или различные конфигурации, как описано в настоящем документе. Две полезные нагрузки лекарственных средств могут быть такими же, как другие, или они могут отличаться друг от друга в отношении, среди прочего, содержимого, например, содержимое активного ингредиента или содержимое эксципиента; формы, например форма соли или форма основания; состояния, например, жидкое, полутвердое или твердое состояние; или их комбинации. Таким образом, два отдельных участка могут высвобождать две полезные нагрузки лекарственных средств в одно и то же время или в разное время с одной и той же скоростью или с разной скоростью посредством одних и тех же механизмов высвобождения или различных механизмов высвобождения или любой их комбинации.

[0180] Например, один участок лекарственного средства может быть выполнен с возможностью относительно быстрого высвобождения его полезной нагрузки лекарственного средства после имплантации, а другой участок лекарственного средства может быть выполнен с возможностью воспринимать время индукции перед началом высвобождения, или их комбинации. Начало высвобождения двух полезных нагрузок в различных участках лекарственного средства может быть поэтапным. Примеры участков лекарственного средства с быстрым высвобождением включают в себя участок лекарственного средства, который функционирует в качестве относительно быстродействующего осмотического насоса, такого как силиконовая трубка, имеющая относительно более тонкую стенку, участок лекарственного средства, который загружен лекарственным средством в форме быстрого высвобождения, такой как жидкая форма, или специально разработанная твердая форма, участок лекарственного средства, связанный с относительно быстродействующей разлагаемой временной структурой, или их комбинации. Таким образом, устройство может высвобождать лекарственное средство в течение начальной, острой фазы и в течение поддерживающей фазы.

[0181] В качестве другого примера, один участок лекарственного средства может быть выполнен с возможностью высвобождения его полезной нагрузки лекарственного средства с относительно высокой скоростью, чем другая полезная нагрузка лекарственного средства. Например, один участок лекарственного средства может размещать полезную нагрузку лекарственного средства с низкой растворимостью в воде для диффузионного высвобождения, которая инициируется относительно вскоре после имплантации, а другой участок лекарственного средства может содержать лекарственное средство с высокой степенью растворимости в воде для осмотического высвобождения после индукционного периода. В качестве другого примера, один участок лекарственного средства может иметь полезную нагрузку лекарственного средства в жидком состоянии для быстрого высвобождения через отверстие, имеющее быстродействующую разлагаемую временную мембрану, а другой участок лекарственного средства может иметь другую полезную нагрузку лекарственного средства из твердых таблеток для медленного высвобождения после солюбилизации in vivo. В качестве другого примера, один участок лекарственного средства может иметь относительно твердую стенку, а другой участок лекарственного средства может иметь ряд отверстий или пор, образованных через его стенку, что может увеличивать скорость высвобождения вследствие диффузии или пористой стенки с закрытыми порами, что может увеличивать скорость высвобождения вследствие повышенной водопроницаемости или проницаемости лекарственного средства через стенку.

[0182] Высвобождающие части могут объединяться для получения требуемого профиля высвобождения. Например, устройство может содержать высвобождающие части, которые, среди прочего, имеют разное время индукции или запаздывания перед началом первоначального высвобождения, которые высвобождают лекарственное средство с разной скоростью или в соответствии с разными кривыми высвобождения после начала высвобождения, или которые высвобождают лекарственное средство в течение разных периодов времени, прежде чем загрузка лекарственного средства будет по существу исчерпана или их комбинации. Различные высвобождающие части можно комбинировать для получения необходимого профиля высвобождения из устройства для доставки лекарственных средств в целом, такого как профиль высвобождения, который демонстрирует относительно короткое исходное время запаздывания, и затем демонстрирует продолжительное высвобождения с относительно постоянной скоростью в течение длительного периода времени.

[0183] Путем комбинирования множества отдельных участков лекарственного средства в одном устройстве устройство может проявлять требуемый профиль высвобождения троспия хлорида. Профиль высвобождения из устройства в целом может представлять собой сумму профилей высвобождения отдельных участков, например, с первым участком, имеющим минимальное время запаздывания перед началом высвобождения, вторым участком, имеющим короткий индукционный период по мере возрастания градиента осмотического давления, и третьим участком, имеющим более длительную задержку перед началом, по мере растворения или разложения разлагаемой структуры. После начала высвобождения из любого участка, скорость высвобождения может быть относительно нулевой в течение длительного периода, за которым следует период спада. Следует отметить, что три отдельных участка являются примерами, и что для достижения требуемого профиля высвобождения можно использовать любое количество или комбинацию отдельных участков.

[0184] Поскольку различные участки лекарственного средства являются лишь отдельными областями внутри одного трубчатого корпуса, преимуществом устройства может быть относительно простая конструкция и размещение, и вместе с тем разные участки лекарственного средства имеют разные профили высвобождения вследствие разных полезных нагрузок лекарственного средства, расположения отверстий и разлагаемых временных структур. В других вариантах осуществления, в которых используются участки лекарственного средства, например, стенки различных материалов, толщины или структуры пористых ячеек, корпус может изменяться по всей его длине или могут использоваться отдельные корпуса лекарственных средств. Таким образом, контролируемое высвобождение может быть достигнуто различными способами.

II. Гели

[0185] В другом варианте осуществления изобретения покрывающее вещество может быть внутрипузырно нанесено на стенку мочевого пузыря (например, на область уротелия внутри мочевого пузыря), при этом покрывающее вещество содержит троспия хлорид и один или более вспомогательных материалова, которые способствуют прилипанию покрывающего вещества к стенке мочевого пузыря, а также обеспечивает непрерывное контролируемое высвобождение троспия хлорида в течение периода лечения. Покрывающее вещество может представлять собой мукоадгезивный препарат, такой как гели, мази, кремы, пасты, пленки, гели, гель-эмульсии, таблетки, полимеры или их комбинация. Мукоадгезивные полимеры для применения в фармации могут включать гидрогели или гидрофильные полимеры, поликарбофил (т. е. карбополы и т.д.), хитозан, поливинилпирролидон (ПВП), лектин, полиэтиленгликолированные полимеры, целлюлозы или их комбинацию. Подходящие целлюлозы включают метилцеллюлозу (МЦ), карбоксиметилцеллюлозу (КМЦ), гидроксипропилцеллюлозу (ГПЦ) или их комбинации. Покрывающее вещество может включать в себя усилитель проницаемости. Неограничивающие примеры усилителей проницаемости включают диметилсульфоксид (ДМСО), натрий-карбоксиметилцеллюлозу (NaCMC), липиды, поверхностно-активные вещества или их комбинации. Покрывающее вещество может быть введено в мочевой пузырь таким образом, чтобы покрывающее вещество входило в зацепление со стенкой мочевого пузыря.

[0186] Покрывающее вещество может быть введено в мочевой пузырь с помощью инструмента для введения. Инструмент для введения может представлять собой любое устройство, выполненное с возможностью перемещения через естественные полости организма для достижения предполагаемого места имплантации. Для введения в мочевой пузырь инструмент для введения может иметь такие размеры и форму, чтобы проходить через уретру субъекта, или надлобковую цистостомию, или надлобковый катетер к мочевому пузырю субъекта. Инструмент для введения может представлять собой известное устройство, такое как катетер или цистоскоп, или специально сконструированное устройство. Инструмент для введения применяют для введения покрывающего вещества в организм и затем удаляют из организма, в результате чего покрывающее вещество полностью имплантируется в организм. После такой имплантации покрывающее вещество может высвобождать лекарственное средство в организм в течение длительного периода времени. Аналогичную процедуру можно использовать для введения любого из устройств или лекарственных средств, описанных в настоящем документе, в другие части организма через другие естественные полости. Например, инструмент для введения может применяться для введения жидкого лекарственного средства или лекарственного препарата в мочевой пузырь посредством пропускания инструмента для введения через уретру или надлобковую цистостомию.

ПРИМЕРЫ

Пример 1. Внутрипузырная доставка троспия хлорида для лечения гиперактивного мочевого пузыря

[0187] Целью данного исследования было подтверждение устойчивой местной доставки троспия хлорида с помощью системы для внутрипузырного высвобождения троспия хлорида (TAR-302). TAR-302 представляет собой пассивную нерассасывающуюся систему для внутрипузырного высвобождения троспия хлорида, основным механизмом действия которой является контролируемое высвобождение троспия хлорида в мочевой пузырь в течение периода времени, например в течение 42 дней.

I. Часть A.

[0188] В данное исследование было включено десять субъектов. Эти субъекты представляли собой пациентов с идиопатическим гиперактивным мочевым пузырем, лечение которых пероральными лекарственными средствами оказалось неэффективным. TAR-302 помещали в мочевой пузырь посредством инструмента для введения в день исследования 0 и удаляли в день исследования 42. TAR-302 высвобождает троспия хлорид постепенно от приблизительно 4 до 8 мг в сутки в мочевом пузыре со временем нахождения внутри тела человека, составляющим 42 дня. См. ФИГ. 3A.

[0189] Суточное количество троспия хлорида, определяемое в моче, оценивали на 3, 7, 21, 35, 42 и 56 день. Среднесуточное количество троспия хлорида в дни отбора образцов для фармакокинетики составляет приблизительно 6,28 мг/сут, в диапазоне от 3,03 до 8,31 мг/сут. Серая пунктирная линия представляет собой оцениваемое суточное количество троспия хлорида при пероральном введении троспия хлорида в дозе приблизительно 20 мг дважды в день или 60 мг один раз в день N1. См. ФИГ. 8.

[0190] Характер нежелательных явлений при терапии TAR-302 был благоприятным. Не наблюдалось никаких признаков классических антимускариновых системных побочных эффектов, задержки или образования корок. При завершении введения доз (т. е. ко дню 42) среднесуточное количество эпизодов недержания снижалось с исходного 5,42 до 1,28. См. ФИГ. 9B. Эффективность TAR-302 у пациентов, не поддающихся лечению пероральным путем, выше по сравнению с Botox®, что привело к снижению среднесуточного количества эпизодов недержания на 2,7 по сравнению с исходным уровнем. См. ФИГ. 10A. TAR-302 также превосходит по эффективности пероральное лечение с помощью VESlcare® (солифенацина сукцинат) и Detrol® LA (толтеродина тартрат), что, соответственно, привело к снижению среднесуточного количества эпизодов недержания на 1,4 и 0,8 по сравнению с исходным уровнем. См. ФИГ. 10B. Более интересно, что после удаления TAR-302 наблюдался долговременный ответ на лечение. В день 84 через шесть недель после удаления TAR-302 субъекты в среднем имели 2,44 эпизода недержания в сутки, что на 55% меньше исходного уровня, составляющего 5,42 эпизодов. См. ФИГ. 9B.

[0191] Оценки причинения неудобств, связанных с мочеиспусканием, и оценки качества жизни также значительно улучшились посл лечения с помощью TAR-302, как показано на фиг. 11-12. Через 42 дня лечения с помощью TAR-302 наблюдалось снижение оценки причинения неудобств на 40,3%. Через шесть недель после удаления TAR-302 оценка причинения неудобств снизилась на 19,1 балла, что является клинически значимым улучшением. ФИГ. 12. Аналогичным образом, в конце 42-дневного периода лечения с помощью TAR-302 наблюдалось значимое увеличение оценки качества жизни на 42,2 балла. Даже через шесть недель после удаления TAR-302 в день 84 наблюдали значимое увеличение оценки качества жизни на 17,9 балла.

1. a. Критерии результата

[0192] Первичные критерии результата включают безопасность TAR-302, которая оценивалась на протяжении всего исследования на основании сообщенных нежелательных явлений (НЯ), явлений, связанных с исследуемым препаратом (IPE), медицинских осмотров (PE), показателей жизненно важных функций, клинических лабораторных исследований, запланированных цистоскопических исследований, УЗИ мочевого пузыря, остаточного объема мочи (PVR) в мочевом пузыре и приема сопутствующих лекарств.

[0193] Вторичные критерии результата включают следующее.

[0194] 1. Переносимость TAR-302 оценивали на протяжении всего исследования на основании, например, процента субъектов, которые переносили установку TAR-302 в течение указанного периода времени и не требовали удаления TAR-302 до запланированной даты удаления в связи наличием любого из критериев прекращения лечения субъекта или отдельным нежелательным явлением, связанным с лекарственным средством или устройством.

[0195] 2. Фармакокинетический анализ плазмы крови и мочи проводили с дня 0 до дня 56. Например, тестировали и анализировали воздействие троспия хлорида в плазме крови и моче.

[0196] 3. Уменьшение недержания в сравнении с исходным уровнем оценивали с дня 0 по день 84. Например, оценивали и анализировали отрицательное изменение суточного количества эпизодов недержания мочи по сравнению с исходным уровнем, когда недержание мочи определяется как эпизод непроизвольного выделения мочи.

[0197] 4. Уменьшение суточного количества мочеиспусканий оценивали с дня 0 до дня 56. Например, оценивали и анализировали отрицательное изменение количества посещений туалета для мочеиспускания по сравнению с исходным уровнем.

[0198] 5. Увеличение объема мочи при мочеиспускании оценивали с дня 0 до дня 56. Например, оценивали и анализировали увеличение по сравнению с исходным уровнем, измеренное в течение отдельных 24 часов.

[0199] Другие критерии результата включают качество жизни (КЖ), которое оценивалось в период с дня 0 по день 84. Например, доказательства улучшения КЖ оценивали на основе ответа субъекта на любой из следующих вопросов или их комбинации в течение последних четырех недель: a. степень, в которой субъекта беспокоили неприятные позывы к мочеиспусканию; b. степень, в которой субъекта беспокоил внезапный позыв к мочеиспусканию с незначительным предвещающим симптомом или без него; c. степень, в которой субъекта беспокоило случайное выделение небольшого количества мочи; e. степень, в которой субъекта беспокоило ночное мочеиспускание; f. степень, в которой субъекта беспокоило то, что он/она просыпался/просыпалась ночью из-за позыва к мочеиспусканию; g. степень, в которой субъекта беспокоило выделение мочи, связанное с сильным желанием мочеиспускания; h. как часто симптомы со стороны мочевого пузыря у субъекта заставляли его планировать «пути перемещения» в туалеты в общественных местах; i. как часто симптомы со стороны мочевого пузыря заставляли субъекта чувствовать, что с ним/ней что-то не так; j. как часто симптомы со стороны мочевого пузыря препятствовали возможности субъекта хорошо выспаться; k. как часто симптомы со стороны мочевого пузыря вызывали у субъекта разочарование или раздражение по поводу количества времени, которое он/она проводил(-а) в туалете; l. как часто симптомы со стороны мочевого пузыря заставляли субъекта избегать активности в местах, где нет туалета (например, прогулки, бега, походов); m. как часто симптомы со стороны мочевого пузыря будили субъекта во время сна; n. как часто симптомы со стороны мочевого пузыря у субъекта заставляли его или ее снижать физическую активность (упражнения, спорт и т. д.); o. как часто симптомы со стороны мочевого пузыря у субъекта вызывали проблемы с его/ее партнером или супругом/супругой; p. как часто симптомы со стороны мочевого пузыря вызывали у субъекта дискомфорт во время путешествия с другими людьми из-за необходимости остановиться для посещения туалета; q. как часто симптомы со стороны мочевого пузыря влияли на отношения субъекта с семьей и друзьями; r. как часто симптомы со стороны мочевого пузыря вызывали у субъекта смущение; s. как часто симптомы со стороны мочевого пузыря побуждали субъекта искать туалет, как только он/она прибывал(-а) в незнакомое место.

2. b. Критерии включения в исследование

[0200] Критерии включения включают следующее. 1. Субъект имеет симптомы гиперактивного мочевого пузыря (ГМП (OAB)) (частота/ургентность) с ургентным недержанием мочи или смешанным недержанием мочи с преобладающим ургентным компонентом в течение по меньшей мере 6 месяцев. Например, количество мочеиспусканий в течение 24 часов, зарегистрированных в дневнике, составляет 8 или более, или в дневнике зарегистрировано по меньшей мере 4 случая недержания, связанных с ургентностью, в течение 3 дней (субъект должен иметь по меньшей мере один эпизод, который проявляется каждые 24 часа или ежедневно). 2. Субъект имеет недостаточный ответ или ограничивающие побочные эффекты от антихолинергических средств для лечения ГМП (OAB).

[0201] Критерии исключения включают следующее. 1. Возраст субъекта составляет менее 18 лет. 2. ГМП (OAB) обусловлен неврологической причиной. 3. При скрининге наблюдается выраженная почечная дисфункция (скорость клубочковой фильтрации <30 мл/мин). 4. При скрининге наблюдается выраженная полиурия по любой причине (выход мочи >4000 мл/сут). 5. В анамнезе присутствует лучевая терапия тазовых органов. 6. В анамнезе имеется либо рак мочевого пузыря, либо патология мочевого пузыря, которые исследователь считает неподходящими для включения в исследование. 7. В течение 12 месяцев существует активная злокачественная опухоль, за исключением тех, кто имеет пренебрежимо малый риск метастазирования или летального исхода, получавших ожидаемый лечебный исход. 8. Субъект имеет любую анатомическую особенность мочевого пузыря или уретры, которая может препятствовать безопасному размещению, постоянному применению или удалению TAR-302. 9. По мнению исследователя у субъекта имеется в анамнезе значимое недержание мочи при напряжении. 10. У субъекта имеются камни в мочевом пузыре на данный момент или камни в мочевом пузыре в анамнезе менее 6 месяцев перед включением в исследование. 11. Субъект имеет в анамнезе рецидивирующие симптоматические инфекции мочевыводящих путей (ИМП) (больше 4 за 1 год). 12. Субъект имеет либо задержку мочеиспускания, либо застой в желудке, либо не поддающуюся лечению узкоугольную глаукому. 13. Остаточный объем мочи (PVR) у субъекта составляет 300 мл или больше. 14. Субъект имеет известную гиперчувствительность к троспия хлориду, химически родственным лекарственным средствам или составляющим вспомогательным веществам. 15. Субъект имеет известную гиперчувствительность к материалам устройства, включая силикон и нитинол. 16. Субъект активно осуществляет пероральный прием троспия хлорида. 17. Добавление нового средства или изменение дозы текущего лекарственного средства для лечения ГМП (OAB) (т. е. антихолинергических средств, бета-3-адренергических агонистов, спазмолитиков, антидепрессантов или гормонов) в течение 30 дней перед подписанием формы информированного согласия (ФИС). Доза должна оставаться постоянной до последнего визита, предусмотренного исследованием. Если лекарственные средства использовались ранее и их использование прекратилось, их необходимо было прекратить более чем за 2 недели до дня 0. 18. В течение последних 9 месяцев перед скрининговым визитом применялось внутрипузырное введение онаботулотоксина. 19. Внутрипузырные антихолинергические лекарственные средства применяли в течение последних 30 дней до скринингового визита. 20. Субъект имеет в анамнезе немедикаментозную терапию (т. е. терапию от InterStim) для лечения ГМП (OAB). Допускается наличие в анамнезе неинвазивной нейромодуляции (т. е. чрескожной стимуляции большеберцовых нервов (PTNS)), если она была прекращена по меньшей мере за 8 недель до дня 0 исследования. 21. Для женщин: беременность (что подтверждается анализом мочи на момент скрининга) или кормление грудью, либо отказ от использования надлежащих способов контрацепции в репродуктивном возрасте. 22. У субъекта имеется медицинское состояние, которое может помешать соблюдению протокола исследования. 23. Субъект участвовал в другом исследовании лекарственного средства, устройства или поведенческих характеристик в течение 60 дней до скринингового визита. 24. Субъект имеет в анамнезе или на данный момент любое значимое сердечно-сосудистое, легочное, печеночное, почечное, желудочно-кишечное, гинекологическое, эндокринное, иммунологическое, дерматологическое, неврологическое или психиатрическое заболевания или нарушение, при котором, по мнению исследователя, участие противопоказано. 25. Наличие в анамнезе любого из нижеперечисленного в течение 3 месяцев до скринингового визита. Серьезное заболевание/серьезное хирургическое вмешательство (требующее госпитализации), включая хирургическую операцию на органах таза, пояснице или процедуру, не связанную с раком мочевого пузыря; большинство амбулаторных процедур не являются исключением; наличие камней в почках или мочеточнике или применение технических средств для лечения; родоразрешение.

II. Часть B

[0202] В фазе 1b данного открытого исследования оценивали безопасность, переносимость и предварительную эффективность TAR-302 у пациентов с идиопатическим гиперактивным мочевым пузырем (иГМП (iOAB)) или неэффективностью/непереносимостью пероральной терапии. Для включения в исследования субъектам необходимо было иметь по меньшей мере 4 эпизода недержания в течение 3 дней. Субъектам однократно вводили устройство TAR-302, которое оставалось в мочевом пузыре в течение 42 дней. TAR-302 помещали с помощью катетера для вставки и удаляли посредством цистоскопа. Для фармакокинетических (ФК) анализов брали кровь и мочу. Реакцию на TAR-302 оценивали с помощью 3-дневных дневников опорожнения при недержании, а качество жизни оценивали с помощью короткого OAB-q (OAB-q SF).

Результаты

[0203] Одиннадцать человек успешно завершили исследование. Характеристики исходного уровня представлены в таблице 1. Устройство TAR-302 хорошо переносилось на протяжении всего исследования. Все НЯ, потенциально связанные с TAR-302, были слабыми и включали наличие крови в моче (n=4), дискомфорт в мочевом пузыре (n=2) и боль в мочевом пузыре (n=2). Наблюдали только 1 НЯ, характерное для антимускаринового воздействия: единственное сообщение о кратковременной сухости во рту в день 36, которая разрешилась самопроизвольно. У 2 субъектов наблюдались ИМП, которые оценили как потенциально связанные с процедурами введения.

[0204] Фармакокинетические анализы показали, что уровни троспия хлорида в моче в среднем составляли 3,27 мкг/мл в ходе исследования, что значительно превышает прогнозируемые уровни в моче, достигаемые при пероральном приеме троспия хлорида (0,5-1 мкг/мл) (см. инструкцию по применению Sanctura от Управления по контролю качества пищевых продуктов и лекарственных препаратов США, по состоянию на март 2019). Эти внутрипузырные концентрации приводили к пренебрежимо малому системному воздействию (среднее значение: 0,22 нг/мл).

Таблица 1. Демографические данные

Демографические данные Итого Возраст (среднее значение) 60 (диапазон: 54-66) Женщины 11 (100%) Раса Представители белой европеоидной расы 9 (81,8%) Негроиды/афроамериканцы 2 (18,2%) ИМТ (среднее значение) 29,3 (23,0-43,7)

[0205] Среднесуточное количество эпизодов ургентного недержания (UI) у субъектов снизилось на 75%, с 5,57 эпизодов в день на исходном уровне до 1,4 эпизода в день 42 (p<0,01). 3 из 11 субъектов могли полностью контролировать мочевой пузырь в день 42. У субъектов также наблюдалось клинически и статистически значимое улучшение как по симптомам, так и по качеству жизни, обусловленному состоянием здоровья, измеренное с помощью OAB-q SF: средние оценки по подшкале причинения неудобств из-за симптомов снизились на 41 балл (74 на исходном уровне, 33 в день 42, p<0,01), и средние оценки по подшкале качества жизни, обусловленного состоянием здоровья, повысились на 45 баллов (32 на исходном уровне, 77 в день 42, p<0,001).

[0206] Неожиданно было обнаружено долговременное облегчение симптомов у субъектов после удаления TAR-302 в день 42, несмотря на отсутствие дополнительного терапевтического вмешательства в течение этого периода. Среднее количество эпизодов UI оставалось значительно ниже исходного уровня в 84 день, 2,67 эпизода UI/день, -52%, p<0,05); дополнительные показатели улучшения UI приведены в таблице 2. Кроме того, в день 84 также набюдались клинические (а не статистические) улучшения по обеим подшкалам OABq-SF: причинение неудобств из-за симптомов снизилось на 19 баллов (74 на исходном уровне, 55 в день 84), а HRQOL увеличилось на 18 баллов (32 на исходном уровне, 50 в день 84; минимальное клинически значимое изменение=10 баллов).

Таблица 2. Анализ данных пациентов, отвечавших на лечение UI

День оценки Статистика Всего (N=11) До удаления TAR-302 (день 42) Уменьшение на >50% по сравнению с исходным уровнем n (%) 9/11 (81,8) Уменьшение на >70% по сравнению с исходным уровнем n (%) 7/11 (63,6) Уменьшение на 100% по сравнению с исходным уровнем n (%) 3/11 (27,3) Последний день исследования (день 84 +/- 7 дней) Уменьшение на >50% по сравнению с исходным уровнем n (%) 5 (45,5) Уменьшение на >70% по сравнению с исходным уровнем n (%) 2 (18,2) Уменьшение на 100% по сравнению с исходным уровнем n (%) 0 (0,0)

[0207] TAR-302 продемонстрировала обнадеживающую безопасность, переносимость и предварительную эффективность в лечении симптомов у пациентов с ургентным недержанием мочи, которое в недостаточной степени контролируется пероральной терапией.

Пример 2

[0208] В этом исследовании TAR-302 помещают в мочевой пузырь субъектов с гиперактивным мочевым пузырем через инструмент для введения в день 0 исследования и удаляют в день 56 исследования, а затем сразу вводят другое устройство TAR-302, которое удаляют в день 112. Далее субъекты получают лечению с помощью TAR-302 в зависимости от обстоятельств (по мере необходимости).

I. Критерии результата

[0209] Первичные критерии результата включают безопасность TAR-302, которая оценивалась на протяжении всего исследования на основании сообщенных нежелательных явлений (НЯ), явлений, связанных с исследуемым препаратом (IPE), медицинских осмотров (PE), показателей жизненно важных функций, клинических лабораторных исследований, запланированных цистоскопических исследований, УЗИ мочевого пузыря, остаточного объема мочи (PVR) в мочевом пузыре и приема сопутствующих лекарств.

[0210] Вторичные критерии результата включают следующее.

[0211] 1. Переносимость TAR-302 оценивали на протяжении всего исследования на основании, например, процента субъектов, которые переносили установку TAR-302 в течение указанного периода времени и не требовали удаления TAR-302 до запланированной даты удаления в связи с наличием любого из критериев прекращения лечения субъекта или отдельным нежелательным явлением, связанным с лекарственным средством или устройством.

[0212] 2. Фармакокинетический анализ плазмы крови и мочи проводили с дня 0 до дня 112. Например, тестируют и анализируют воздействие троспия хлорида в плазме крови и моче.

[0213] 3. Уменьшение недержания в сравнении с исходным уровнем оценивали на протяжении всего исследования. Например, оценивают и анализируют отрицательное изменение суточного количества эпизодов недержания мочи по сравнению с исходным уровнем, когда недержание мочи определяется как эпизод непроизвольного выделения мочи.

[0214] 4. Уменьшение суточного количества мочеиспусканий оценивают с дня 0 до дня 112. Например, оценивают и анализируют отрицательное изменение количества посещений туалета для мочеиспускания по сравнению с исходным уровнем.

[0215] 5. Увеличение объема мочи при мочеиспускании оценивали с дня 0 до дня 112. Например, оценивают и анализируют увеличение по сравнению с исходным уровнем, измеренное в течение отдельных 24 часов.

[0216] Другие критерии результата включают качество жизни (КЖ), которое оценивалось в период с дня 0 по день 112. Например, доказательства улучшения КЖ оценивали на основе ответа субъекта на любой из следующих вопросов или их комбинации в течение последних четырех недель: a. степень, в которой субъекта беспокоили неприятные позывы к мочеиспусканию; b. степень, в которой субъекта беспокоил внезапный позыв к мочеиспусканию с незначительным предвещающим симптомом или без него; c. степень, в которой субъекта беспокоило случайное выделение небольшого количества мочи; e. степень, в которой субъекта беспокоило ночное мочеиспускание; f. степень, в которой субъекта беспокоило то, что он/она просыпался/просыпалась ночью из-за позыва к мочеиспусканию; g. степень, в которой субъекта беспокоило выделение мочи, связанное с сильным желанием мочеиспускания; h. как часто симптомы со стороны мочевого пузыря у субъекта заставляли его планировать «пути перемещения» в туалеты в общественных местах; i. как часто симптомы со стороны мочевого пузыря заставляли субъекта чувствовать, что с ним/ней что-то не так; j. как часто симптомы со стороны мочевого пузыря препятствовали возможности субъекта хорошо выспаться; k. как часто симптомы со стороны мочевого пузыря вызывали у субъекта разочарование или раздражение по поводу количества времени, которое он/она проводил(-а) в туалете; l. как часто симптомы со стороны мочевого пузыря заставляли субъекта избегать активности в местах, где нет туалета (например, прогулки, бега, походов); m. как часто симптомы со стороны мочевого пузыря будили субъекта во время сна; n. как часто симптомы со стороны мочевого пузыря у субъекта заставляли его или ее снижать физическую активность (упражнения, спорт и т. д.); o. как часто симптомы со стороны мочевого пузыря у субъекта вызывали проблемы с его/ее партнером или супругом/супругой; p. как часто симптомы со стороны мочевого пузыря вызывали у субъекта дискомфорт во время путешествия с другими людьми из-за необходимости остановиться для посещения туалета; q. как часто симптомы со стороны мочевого пузыря влияли на отношения субъекта с семьей и друзьями; r. как часто симптомы со стороны мочевого пузыря вызывали у субъекта смущение; s. как часто симптомы со стороны мочевого пузыря побуждали субъекта искать туалет, как только он/она прибывал(-а) в незнакомое место.

Пример 3. Проспективное многоцентровое открытое исследование троспия хлорида, вводимого внутрипузырно с помощью TAR-302-5018 субъектам с идиопатическим гиперактивным мочевым пузырем (иГМП (iOAB)) и недержанием мочи, часть 1.

[0217] TAR-302-5018 содержит 850 мг троспия хлорида, и было показано, что высвобождение в среднем составляет 10 мг/сут в течение 42-дневного периода нахождения внутри организма в исследованиях in vitro. Эта среднесуточная скорость высвобождения по оценкам дает у людей концентрацию в моче 7 мкг/мл, при условии скорости выделения мочи 1500 мл/сут.

I. Цели

[0218] Цели исследования включают оценку безопасности и переносимости одного цикла дозирования TAR-302-5018 в течение до 42 дней, оценку фармакокинетики (ФК) воздействия троспия хлорида в моче и плазме крови в течение 42-дневного периода нахождения TAR-302-5018 внутри организма и определение влияния внутрипузырного непрерывного высвобождения троспия хлорида на недержание мочи, симптомы, связанные с мочеиспусканием (частота эпизодов мочеиспускания и объем мочи), и симптомы, связанные с качеством жизни (КЖ).

II. Методика

[0219] Среди субъектов с иГМП (iOAB), страдающих ургентным недержанием мочи, невосприимчивых к пероральной терапии антихолинергическими средствами или имеющих непереносимость к ней, провели скрининг на включение в исследование. В день 0 удовлетворяющим критериям исследования субъектам ввели TAR-302-5018 трансуретрально при помощи инструмента для введения TARIS. В день 42 TAR-302-5018 удаляли посредством гибкой или жесткой цистоскопии. За субъектами наблюдали во время лечения в течение приблизительно 42 дней после удаления TAR-302-5018 для оценки безопасности и эффективности, которые были завершены в день 84 (± 7 дней). Кроме того, ФК-оценки проводили во время визитов в день 0, день 3 (± 1 день), день 7 (± 1 день), день 21 (± 1 день), день 35 (± 2 дня), день 42 и день 56 (± 2 дня). С субъектами связывались по телефону между визитами в день 13 (± 1 день), день 27 (± 1 день), день 38 (± 1 день) и день 49 (± 1 день) для оценки безопасности и напоминания о процедурах исследования.

[0220] Запланировано включение приблизительно 10 субъектов в эту часть исследования. Двенадцать субъектов были включены в исследование и им было введено устройство TAR-302-5018; эти 12 субъектов были включены в выборку «пациенты с назначенным лечением» (ITT) и выборку для оценки безопасности. Одиннадцать человек завершили участие в исследовании и были включены в группу пациентов, завершивших участие в исследовании в соответствии с протоколом.

III. Диагноз и основные критерии включения

[0221] Чтобы соответствовать критериям для участия в данном исследовании, субъекты должны удовлетворять всем приведенным ниже критериям включения на момент включения в исследование. 1. Симптомы гиперактивного мочевого пузыря (ГМП (OAB)) (частота/ургентность) с ургентным недержанием мочи или смешанным недержанием мочи с преобладающим ургентным компонентом в течение по меньшей мере 6 месяцев. Это означает, что у субъекта должно быть 8 или больше мочеиспусканий в течение 24 часов, зарегистрированных в дневнике, и/или по меньшей мере 4 эпизода недержания, связанных с ургентностью, зарегистрированных в дневнике в течение 3 дней (или по меньшей мере один эпизод должен проявляться каждые 24 часа ежедневно). 2. Недостаточный ответ или ограничивающие побочные эффекты от антихолинергических средств для лечения ГМП (OAB).

[0222] Субъект не удовлетворял критериям для включения в исследование при наличии любого из следующих критериев исключения. 1. Возраст <18 лет 2. ГМП (OAB), вызванный неврологическим состоянием. 3. Наличие при скрининге выраженной почечной дисфункции (скорость клубочковой фильтрации <30 мл/мин). 4. Наличие при скрининге выраженной полиурии по любой причине (выход мочи >4,000 мл/сут). 5. Наличие в анамнезе лучевой терапии тазовых органов. 6. Наличие в анамнезе либо рака мочевого пузыря, либо патологии мочевого пузыря, которые исследователь считал неподходящими для включения в исследование. 7. Активная злокачественная опухоль в течение 12 месяцев, за исключением имеющих пренебрежимо малый риск метастазирования или летального исхода, после лечения, приводящего к ожидаемому выздоровлению. 8. Субъекты с любой анатомической особенностью мочевого пузыря или уретры, которая может препятствовать безопасному размещению, постоянному применению или удалению TAR-302-5018. 9. Значимое недержание мочи при напряжении в анамнезе субъекта по мнению исследователя. 10. Субъекты с камнями в мочевом пузыре на данный момент или в анамнезе менее 6 месяцев перед включением в исследование. 11. Наличие в анамнезе рецидивирующих симптоматических инфекций мочевыводящих путей (ИМП) (больше 4 за 1 год). 12. Субъекты либо с задержкой мочеиспускания, либо с застоем в желудке, либо с не поддающейся лечению узкоугольной глаукомой. 13. Остаточный объем мочи (PVR) составляет 300 мл или больше. 14. Субъекты с известной гиперчувствительностью к троспия хлориду, химически родственным лекарственным средствам или составляющим вспомогательным веществам. 15. Субъекты с известной гиперчувствительностью к материалам устройства, включая силикон и нитинол. 16. Субъект активно осуществляет пероральный прием троспия хлорида. 17. Добавление нового средства или изменение дозы текущего лекарственного средства для лечения ГМП (OAB) (т. е. антихолинергических средств, бета-3-адренергических агонистов, спазмолитиков, антидепрессантов или гормонов) в течение 30 дней перед подписанием формы информированного согласия (ФИС). Доза должна оставаться постоянной до последнего визита, предусмотренного исследованием. Если лекарственные средства использовались ранее и их использование прекратилось, их необходимо было прекратить более чем за 2 недели до дня 0. 18. Внутрипузырное применение онаботулотоксина в течение последних 9 месяцев перед скрининговым визитом. 19. Внутрипузырные антихолинергические лекарственные средства в течение последних 30 дней до скринингового визита. 20. Наличие в анамнезе немедикаментозной терапии (т. е. терапии от InterStim) для лечения ГМП (OAB). Допускалось наличие неинвазивной нейромодуляции (т. е. чрескожной стимуляции большеберцовых нервов (PTNS)), если она была прекращена по меньшей мере за 8 недель до дня 0 исследования. 21. Для женщин: беременность (что подтверждается анализом мочи на момент скрининга), кормление грудью, либо отказ от использования надлежащих способов контрацепции в репродуктвном возрасте. 22. У субъекта было медицинское состояние, которое может помешать соблюдению протокола исследования. 23. Субъект отказался от предоставления письменного информированного согласия. 24. Субъект не смог или не захотел заполнить анкеты и/или дневники и совершить все визиты, требуемые согласно протоколу. 25. Участие в другом исследовании лекарственного средства, устройства или поведенческих характеристик в течение 60 дней до скринингового визита. 26. Наличие в анамнезе или на данный момент любого значимого сердечно-сосудистого, легочного, печеночного, почечного, желудочно-кишечного, гинекологического, эндокринного, иммунологического, дерматологического, неврологического или психиатрического заболевания или нарушения, которое, по мнению исследователя, является противопоказанием для участия. 27. Наличие в анамнезе за 3 месяца до скринингового визита любого из следующих состояний: серьезного заболевания/серьезного хирургического вмешательства (требующего госпитализации), включая хирургическую операцию на органах таза, пояснице или процедуру, не связанную с раком мочевого пузыря; большинство амбулаторных процедур не являются исключением; наличие камней в почках или мочеточнике или применение технических средств для лечения; родоразрешение. 28. Трудность получения образцов крови. 29. Другие неуказанные причины, которые, по мнению исследователя или TARIS, делают субъекта не удовлетворяющим критериям включения в исследование.

IV Критерии оценивания

1. a. Первичный критерий оценки безопасности

[0223] Безопасность TAR-302-5018 при введении, непрерывном 42-дневном воздействии и удалении. Безопасность оценивали по нежелательным явлениям, возникшим в ходе лечения (НЯВЛ), клиническим лабораторным тестам, показателям жизненно важных функций, медицинским осмотрам, ультразвуковым исследованиям мочевого пузыря, явлениям, связанным с исследуемым препаратом (IPE), оценкам PVR в мочевом пузыре, цистоскопическим исследованиям и сопутствующим лекарственным средствам.

2. b. Вторичные критерии оценки безопасности

[0224] Переносимость TAR-302-5018 при введении, непрерывном 42-дневном воздействии и удалении. Переносимость определяли как: отсутствие необходимости удаления до запланированной даты в связи с наличием любого из критериев прекращения лечения субъекта, определенных протоколом, или отдельным нежелательным явлением (НЯ), связанным с лекарственным средством или устройством. ФК-анализ плазмы крови и мочи (на основании образцов, полученных в день 0, день 3 (± 1 день), день 7 (± 1 день), день 21 (± 1 день), день 35 (± 2 дня), день 42 и день 56 (± 2 дня). Образцы плазмы крови и мочи использовались для определения следующих параметров: Максимальная концентрация во время визитов (Cmax); День исследования, в который концентрация достигает максимума (Tmax); Концентрация при удалении в день 42 (Ctau); Средняя концентрация со дня 0 по 42 (Cave42); Средняя концентрация в со дня 0 до 56 (Cave56).

3. c. Предварительные критерии оценки эффективности

[0225] Уменьшение недержания определяется как отрицательное изменение суточного количества эпизодов недержания мочи по сравнению с исходным уровнем, при этом явление недержания мочи определяется как случай непроизвольного выделения мочи, зарегистрированный в дневнике мочевого пузыря субъекта в течение 3 дней до визита в день 0 (исходный уровень), день 42 и день 84 (± 7 дней). Уменьшение суточного количества мочеиспусканий определяется как отрицательное изменение количества посещений туалета для мочеиспускания по сравнению с исходным уровнем, как зарегистрировано в дневнике субъекта в течение одного 24-часового периода до визитов в день 0 (исходный уровень), день 3 (± 1 день), день 7 (± 1 день), день 21 (± 1 день), день 35 (± 2 дня), день 42 и день 56 (± 2 дня). Поисковая оценка: увеличение объема мочи при мочеиспускании по сравнению с исходным уровнем, измеренное в течение одного 24-часового периода до визитов в день 0 (исходный уровень), день 3 (± 1 день), день 7 (± 1 день), день 21 (± 1 день), день 35 (± 2 дня), день 42 и день 56 (± 2 дня) и зарегистрированное субъектом в дневнике.

4. d. Дополнительный критерий оценки эффективности

[0226] Подтверждение повышения КЖ по оценке согласно короткому OAB-q, который был заполнен в центре проведения клинического исследования в день 0, день 42 и день 84 (± 7 дней).

V. Статистические методы

5. a. Популяции для анализа

[0227] Выборка «пациенты с назначенным лечением» Включены все субъекты, включенные в исследование и у которых была предпринята попытка ввведения TAR-302-5018 в день 0, независимо от ее успешности.

[0228] Выборка пациентов, завершивших участие в исследовании в соответствии с протоколом Включены все субъекты, у которых была успешно выполнена процедура введения TAR-302-5018, и у которых устройство TAR-302-5018 сохранилось в течение всего 42-дневного периода лечения без существенных отклонений от протокола. Основные отклонения от протокола определяли до закрытия доступа к базе данных.

[0229] Выборка для оценки безопасности. Включены все субъекты, включенные в исследование, которым было успешно установлено устройство TAR-302-5018. В данном исследовании выборка «пациенты с назначенным лечением» и выборка для оценки безопасности были идентичными, и результаты представлены для выборки «пациенты с назначенным лечением».

6. b. Определение размера выборки

[0230] Размер выборки не был основан на статистических аспектах.

7. c. Эффективность

[0231] Количество эпизодов недержания в течение 3 дней до указанных визитов, количество мочеиспусканий в течение 3 дней до указанных визитов и общий остаточный объем мочи за каждый 24-чсовой период сбора подытоживали в описательной форме по моментам времени вместе с изменениями по сравнению с исходным уровнем. Сводная информация по ответу пациента на лечение (субъекты со снижением недержания на >50% по сравнению с исходным уровнем, снижением недержания на >75% по сравнению с исходным уровнем и снижением недержания на 100% по сравнению с исходным уровнем) была представлена в день 42 и день 84. Оценки по короткой форме OAB-q преобразовывали в соответствии с определением в отчете о клиническом исследовании. Преобразованные оценки тяжести симптомов и преобразованные оценки КЖ, обусловленного состоянием здоровья, подытоживали в описательной форме по моментам времени.

8. d. Фармакокинетика

[0232] Содержание троспия хлорида в плазме крови и моче подытоживали в описательной форме по моментм времени. Cmax, Tmax, Ctau, Cave42 и Cave56 для плазмы крови и мочи подытоживали в описательной форме.

9. e. Безопасность

[0233] НЯ кодировали с помощью Медицинского словаря терминологии регулятивной деятельности (MedDRA), версия 20.0. НЯВЛ были обобщены по системно-органному классу MedDRA и предпочтительному термину. НЯВЛ были также обобщены по степени тяжести, взаимосвязи (с составом лекарственного средства, составом устройства или инструментов для введения TARIS) и периоду времени (от дня 0 до дня 42, от дня 42 до дня 49 [± 1 день] и от дня 0 до дня 49 [± 1 день]). Серьезные нежелательные явления (СНЯ) также были обобщены при помощи описательных методов. Показатели жизненно важных функций и лабораторные оценки, а также изменения по сравнению с исходным уровнем, были обобщены при помощи описательных методов. Были перечислены даты медицинского осмотра. Число субъектов, переносящих устройство, было представлено за период нахождения TAR-302-5018 внутри организма. IPE были обобщены при помощи описательных методов. Результаты PVR в мочевом пузыре были обобщены при помощи описательных методов. Результаты ультразвукового исследования на наличие корок в мочевом пузыре перечислены по отдельным субъектам. Цистоскопические оценки уротелия мочевого пузыря перечислены по отдельным субъектам. Предшествующие и сопутствующие лекарственные средства кодировали с помощью усовершенствованного словаря лекарственных препаратов Всемирной организации здравоохранения (версия B3, декабрь 2017 г.) и обобщали описательными методами.

VI. Выводы и заключения

10. a. Результаты оценки эффективности

[0234] Среднее число эпизодов недержания снизилось приблизительно на 75% за 3-дневный период до дня 42 и приблизительно на 52% за 3-дневный период до дня 84 (± 7 дней) у группы пациентов, завершивших участие в исследовании в соответствии с протоколом, по сравнению с исходным уровнем.

[0235] В день 42 у приблизительно 82% субъектов наблюдали снижение эпизодов недержания мочи на >50% по сравнению с исходным уровнем, у 64% субъектов наблюдали снижение на >75% по сравнению с исходным уровнем и у 27% субъектов наблюдали снижение на 100% по сравнению с исходным уровнем в группе пациентов, завершивших участие в исследовании в соответствии с протоколом. В день 84 (± 7 дней) приблизительно 46% этих субъектов отмечали уменьшение на >50% по сравнению с исходным уровнем и 18% субъектов отмечали уменьшение на >75% по сравнению с исходным уровнем.

[0236] Среднее число мочеиспусканий за 24 часа снизилось по сравнению с исходным уровнем во все моменты времени после начала исследования, при этом снижение наблюдалось приблизительно на 8%, 12%, 12%, 14%, 8% и 11% в день 3 (± 1 день), день 7 (± 1 день), день 21 (± 1 день), день 35 (± 2 день), день 42 и день 56 (± 2 день) соответственно в группе пациентов, завершивших участие в исследовании в соответствии с протоколом.

[0237] Средние объемы мочи за 24 часа снизились по сравнению с исходным уровнем в день 3 (± 1 день), день 7 (± 1 день), день 21 (± 1 день), день 35 (± 2 день), день 42 и день 56 (± 2 день) в группе пациентов, завершивших участие в исследовании в соответствии с протоколом. Однако эти результаты наблюдали наряду с уменьшением PVR в мочевом пузыре.

[0238] Средние преобразованные оценки тяжести симптомов снизились приблизительно на 55% в день 42 и приблизительно на 26% в день 84 (± 7 день) в группе пациентов, завершивших участие в исследовании в соответствии с протоколом, что указывает на снижение тяжести симптомов, сообщаемых субъектом.

[0239] Средние преобразованные оценки качества жизни, обусловленного состоянием здоровья (HRQL), в группе пациентов, завершивших участие в исследовании в соответствии с протоколом, увеличились приблизительно на 143% в день 42 и приблизительно на 58% в день 84 (± 7 дней), что указывает на улучшение качества жизни по сообщению субъекта.

11. b. Результаты фармакокинетического анализа

[0240] После введения системы TAR-302-5018 концентрации троспия хлорида в моче количественно измерялись у 9 из 11 субъектов в день 3 и у всех 11 субъектов в группе пациентов, завершивших участие в исследовании в соответствии с протоколом, в день 7 (± 1 день) (средняя концентрация в день 7 составляла 5258 нг/мл).

[0241] Большая часть результатов измерения концентрации в моче попадала в предусматриваемый диапазон от 2000 до 6000 нг/мл, а целевые концентрации сохранялись до дня 42. Средние концентрации троспия хлорида в моче были наибольшими в день 21 (± 1 день) (среднее значение 5265 нг/мл), снизились до 3822 нг/мл в день 35 (± 2 день) и до 3565 нг/мл в день 42.

[0242] Обнаружимые концентрации в плазме крови встречались редко. Образцы с измеримыми концентрациями троспия хлорида в плазме крови не демонстрировали постоянной динамики, и наблюдаемые концентрации не коррелировали с измеренными концентрациям в моче, объемом мочи или выделенным количеством. После подтверждающих анализов с использованием независимого биоаналитического метода предполагается, что внешнее загрязнение образцов плазмы крови повлияло на результаты анализа 2 образцов с обнаружимыми концентрациями троспия хлорида. За исключением этих 2 образцов, концентрации троспия хлорида в ходе исследования были стабильно низкими (< 0,7 нг/мл).

[0243] В целом, концентрации в моче и плазме крови для данного исследования, как правило, соответствовали результатам предыдущих неклинических исследований.

12. c. Результаты оценки безопасности

[0244] Устройство TAR-302-5018 хорошо переносилось. Ни у одного субъекта не отмечено непереносимости TAR-302-5018 на основании определения переносимости, указанного в протоколе исследования.

[0245] Ни один субъект не прекратил лечение досрочно по причине либо НЯВЛ, либо IPE. Один субъект отменил согласие и прекратил использование TAR-302-5018 в день 21, а остальные 11 субъектов продолжали использовать TAR-302-5018 по графику до визита в день 42 и завершили участие в исследовании.

[0246] Наиболее частыми НЯВЛ в течение 42-дневного периода лечения было наличие крови в моче (4/12 субъектов; 33,3%), ИМП (2/12 субъектов; 16,7%), боль в мочевом пузыре (2/12 субъектов; 16,7%), дискомфорт в мочевом пузыре (2/12 субъектов; 16,7%) и синусит (2/12 субъектов; 16,7%). Большинство НЯ были слабо выраженными.

[0247] Получено одно сообщение о связанном с лекарственным средством НЯВЛ: сухость во рту. Наиболее частыми НЯВЛ, связанными с устройством, были наличие крови в моче (4/12 субъектов; 33,3%), дискомфорт в мочевом пузыре (2/12 субъектов; 16,7%) и боль в мочевом пузыре (2/12 субъектов; 16,7%). Два субъекта сообщили о по меньшей мере одном НЯВЛ, связанном с инструментом для введения TARIS. Эти явления включали тошноту, рвоту, озноб, лихорадку, ИМП, повышение уровня лейкоцитов в крови, лактатный ацидоз, дизурию, наличие крови в моче и околопочечный отек, все у одного пациента (8,3%), а также 1 сообщение о боли в уретре у другого пациента (8,3%).

[0248] Средние изменения лабораторных показателей по сравнению с исходным уровнем были по существу небольшими. Выявление скрытой крови после исходного уровня (на любом уровне) было наибольшими в день 21 (± 1 день) (41,7%) и снизиось до 27,3% в день 42 и до 9,1% в день 84 (± 7 дней). У четырех субъектов было обнаружено наличие крови в моче, что было зарегистрировано как НЯВЛ; один из этих отчетов был у субъекта с СНЯ в форме ИМП.

[0249] Средние изменения артериального давления, частоты сердечных сокращений, частоты дыхания и температуры тела по сравнению с исходным уровнем были небольшими и клинически незначимыми. Ни у одного из субъектов не было выявлено НЯ, связанного с аномальным показателем жизненно важных функций.

[0250] Среднее PVR в мочевом пузыре снижалось при скрининге на приблизительно 21%, 42% и 29% в дни 7 (± 1 день), 21 (± 1 день) и 35 (± 2 дня) соответственно.

[0251] Не выявлено случаев уротелиального кровотечения, признаков камней в мочевом пузыре и признаков дивертикула мочевого пузыря при цистоскопии. При ультразвуковых оценках мочевого пузыря в день 21 (± 1 день) или после удаления не наблюдалось случаев образования корок.

[0252] Сообщалось об одном IPE, которое включало повреждение TAR-302-5018, которое, как предполагал исследователь, произошло при захвате системы для удаления. Субъект не сообщал о дискомфорте или каких-либо других НЯВЛ.

13. d. Заключение

[0253] В целом было обнаружено, что TAR-302-5018 имеет приемлемый профиль безопасности, хорошо переносится в течение 42-дневного периода нахождения внутри организма и постоянно приводит к концентрациям в моче в целевом и ожидаемом диапазоне при ограниченном системном воздействии. У этой популяции пациентов наблюдали заметное уменьшение числа эпизодов ургентного недержания мочи, а также уменьшение числа мочеиспусканий, снижение регистрируемых субъектами оценок тяжести симптомов и улучшение КЖ. Наибольшие эффекты наблюдались в день 42, однако постоянные и значимые улучшения по сравнению с исходным уровнем все еще были очевидны при конечной оценке исследования, происходящей через 6 недель после удаления TAR-302-5018.

Пример 4. Проспективное многоцентровое открытое исследование троспия хлорида, вводимого внутрипузырно с помощью TAR-302-5018 субъектам с идиопатическим гиперактивным мочевым пузырем (иГМП (iOAB)) и недержанием мочи, часть 2.

[0254] Систему для внутрипузырного высвобождения троспия хлорида (TAR-302-5018) помещают в мочевой пузырь посредством инструмента для введения в день исследования 0 и удаляют в день исследования 84. Система TAR-302-5018 высвобождала троспия хлорид постепенно в течение периода времени нахождения внутри организма, составляющего 84 дня.

I. Критерии результата

[0255] Безопасность TAR-302-5018 оценивали в дни 0, 14, 56, 84 и 112, как показано на фиг. 15A. Безопасность оценивали на протяжении всего исследования на основании сообщенных НЯ, явлений, связанных с исследуемым препаратом (IPE), медицинских осмотров (PE), показателей жизненно важных функций, клинических лабораторных исследований, запланированных цистоскопических исследований, УЗИ мочевого пузыря, остаточного объема мочи (PVR) в мочевом пузыре и приема сопутствующих лекарств.

[0256] Оценивали переносимость TAR-302-5018. Процент субъектов, которые переносили установку TAR-302-5018 в течение указанного периода времени и не требовали удаления TAR-302-5018 до запланированной даты удаления в связи с наличием любого из критериев прекращения лечения субъекта или отдельным нежелательным явлением, связанным с лекарственным средством или устройством.

[0257] Проводили фармакокинетический анализ плазмы крови и мочи [временной интервал: с дня 0 до дня 112]. Он включает анализ воздействия троспия хлорида в плазме крови и моче.

[0258] Оценивали снижение недержания по сравнению с исходным уровнем [временной интервал: с дня 0 до дня 112]. Оценивали изменение суточного количества эпизодов недержания мочи по сравнению с исходным уровнем, когда недержание мочи определяется как эпизод непроизвольного выделения мочи.

[0259] Оценивали снижение суточного количества мочеиспусканий [временной интервал: с дня 0 до дня 112]. Оценивали изменение количества посещений туалета для мочеиспускания по сравнению с исходным уровнем.

[0260] Оценивали увеличение объема мочи при мочеиспускании [временной интервал: с дня 0 до дня 112]. Оценивали изменение по сравнению с исходным уровнем, измеренным в течение отдельных 24-чсовых периодов.

[0261] Другие критерии результата включают оценку качества жизни и оценку причинения неудобств, оцениваемые с помощью короткой формы OAB-q.

II. Критерии включения

[0262] Были включены пациенты с симптомами идиопатического гиперактивного мочевого пузыря (иГМП (iOAB)) (частота/ургентность) с ургентным недержанием мочи или смешанным недержанием мочи с преобладающим ургентным компонентом в течение по меньшей мере 6 месяцев. У этих субъектов может быть 8 или более мочеисспусканий в течение 24 часов, зарегистрированных в дневнике, и/или по меньшей мере 4 эпизода недержания, связанных с ургентностью, зарегистрированных в дневнике в течение 3 дней (или по меньшей мере 1 случай проявляется каждые 24 часа ежедневно).

[0263] Также были включены пациенты, у которых, по мнению исследователя, был недостаточный ответ на лечение ГМП (OAB) или ограничивающие побочные эффекты при предшествующем лечении пероральными лекарственными средствами.

III. Критерии исключения

[0264] Пациентов, соответствующих любому из перечисленных ниже условий, исключали из исследования. 1. Возраст < 18 лет. 2. Неврологическое нарушение мочевого пузыря. 3. Субъекты с сахарным диабетом (как тип 1, так и тип 2) должны демонстрировать оптимальный гликемический контроль с уровнями HbA1c < 7,5% и отсутствием выраженной глюкозурии, определяемой как глюкозурия 3+ при исследовании тест-полоской. 4. Наличие при скрининге выраженной полиурии по любой причине (выход мочи >3 000 мл/сут). 5. Наличие никтурии на момент скрининга в исследовании определялось как >30% от общего количества мочи за 24 часа, собранного с момента ночного сна (P.M.) и включающего количество мочи после пробуждения утром (A.M.). 6. Наличие в анамнезе лучевой терапии тазовых органов. 7. Наличие в анамнезе либо рака мочевого пузыря, либо патологии мочевого пузыря, которые исследователь считает противопоказанием для включения в исследование. 8. Применение в настоящее время периодической катетеризации (IC) для опорожнения мочевого пузыря в течение 30 дней до дня 0. 9. Субъекты с любой анатомической особенностью мочевого пузыря или уретры (например, сужение уретры), которая по мнению исследователя может препятствовать безопасному размещению, постоянному применению или удалению исследуемого устройства. 10. Субъекты с камнями в мочевом пузыре на данный момент или в анамнезе менее 6 месяцев перед включением в исследование. 11. Макроскопическая гематурия в течение 30 дней до дня 0. 12. Наличие в анамнезе неконтролируемого кровотечения, геморрагического диатеза или первичной коагулопатии в течение 30 дней до дня 0. 13. По мнению исследователя у субъекта в анамнезе преобладает значимое недержание мочи при напряжении. 14. Наличие в анамнезе более 2 симптоматических инфекций мочевыводящих путей за 6 месяцев до дня 0. 15. Субъекты либо с задержкой мочеиспускания, либо с застоем в желудке, либо с не поддающейся лечению узкоугольной глаукомой в течение периода 90 дней до дня 0. 16. Остаточный объем мочи (PVR) составляет 100 мл или больше. 17. Субъекты с известной гиперчувствительностью к троспия хлориду, химически родственным лекарственным средствам или составляющим вспомогательным веществам. 18. Субъекты с известной гиперчувствительностью к материалам устройства, включая силикон и нитинол. 19. Применение антихолинергического средства или бета-3 агониста для лечения ургентного недержания мочи менее чем за 2 недели до дня 0. 20. Наличие в анамнезе внутрипузырного применения онаботулотоксина в течение последних 9 месяцев перед скрининговым визитом. 21. Внутрипузырные антихолинергические лекарственные средства в течение последних 14 дней до скринингового визита. 22. Наличие в анамнезе процедурной нейромодулирующей терапии (например, терапии от InterStim, чрескожного стимулирования большеберцовых нервов [PTNS]) для лечения ГМП (OAB). 23. Для женщин: беременность (что подтверждается анализом крови на момент скрининга) или кормление грудью. 24. Наличие медицинского состояния, которое, по мнению исследователя, может помешать соблюдению протокола исследования. 25. Субъекты, которые не смогли или не захотели заполнить анкеты, дневники или совершить все визиты, проведенные согласно протоколу. 26. Участие в другом исследовании лекарственного средства, устройства или поведенческих характеристик в течение 60 дней до скринингового визита. 27. Наличие в анамнезе или на данный момент любого значимого сердечно-сосудистого, легочного, печеночного, почечного, желудочно-кишечного, гинекологического, эндокринного, иммунологического, дерматологического, неврологического или психиатрического заболевания или нарушения или других неуказанных причин, которые, по мнению исследователя или TARIS, делают субъекта несоответствующим критериям включения в исследование. 28. Наличие в анамнезе за 3 месяца до скринингового визита любого из следующих состояний: i. серьезного заболевания/серьезного хирургического вмешательства (требующего госпитализации), включая хирургическую операцию на органах таза, пояснице или процедуру, не связанную с раком мочевого пузыря; большинство амбулаторных процедур не являются исключением; ii. родоразрешение. 29. Наличие в анамнезе биопсии предстательной железы или хирургического вмешательства (радикального или сохранного) в течение 6 месяцев до дня 0. 30. Наличие в анамнезе значительного пролапса тазовых органов (оценка >/= 3). 31. Трудность получения образцов крови. 32. Наличие в анамнезе наркотической или алкогольной зависимости в течение 12 месяцев до скрининга. 33. Другие неуказанные причины, которые, по мнению исследователя или TARIS, делают субъекта несоответствующим критериям включения в исследование.

[0265] Суточное количество эпизодов недержания оценивали в день 0, 14, 56, 84 и 112, как показано на фиг. 15A. Как показано на фиг. 15B, до лечения среднесуточное количество эпизодов недержания у субъектов составляло 5,23. В день 14 среднесуточное количество эпизодов недержания снизилось до 2,9, то есть снижение составило 44% по сравнению с исходным уровнем. В день 56 среднесуточное количество эпизодов недержания снизилось до 3,0, то есть снижение составило 43% по сравнению с исходным уровнем. В день 84 среднесуточное количество эпизодов недержания снизилось до 2,3, то есть снижение составило 56% по сравнению с исходным уровнем. Это указывает на то, что длительная местная доставка троспия хлорида в мочевой пузырь эффективна для лечения гиперактивного мочевого пузыря.

Похожие патенты RU2832085C2

название год авторы номер документа
СИСТЕМЫ ДОСТАВКИ ЛЕКАРСТВЕННОГО СРЕДСТВА И СПОСОБЫ ЛЕЧЕНИЯ ДИСФУНКЦИИ ОПОРОЖНЕНИЯ МОЧЕВОГО ПУЗЫРЯ И ДРУГИХ РАССТРОЙСТВ НИЖНИХ МОЧЕВЫВОДЯЩИХ ПУТЕЙ С ИСПОЛЬЗОВАНИЕМ ТРОСПИЯ 2013
  • Гизинг Деннис
RU2670749C9
СПОСОБ ЛЕЧЕНИЯ РАКА УРОТЕЛИЯ НИЖНИХ ПУТЕЙ 2017
  • Гизинг, Дэннис
  • Кьюти, Кристофер
  • Сарма, Пурнананд
  • Ларриви-Элкинс, Черил
  • Сирси, Кристофер
  • Агарвал, Викас
RU2764747C2
Способ лечения пациента с идиопатической гиперактивностью мочевого пузыря и недержанием мочи (варианты) 2018
  • Ли, Хэцзинь
  • Эббейт, Эмили
  • Хокинг, Сара
  • Гизинг, Деннис
RU2809797C2
УСТРОЙСТВА И СПОСОБЫ ДЛЯ ДОСТАВКИ ЛЕКАРСТВЕННОГО СРЕДСТВА IN VIVO 2018
  • Ли, Хэцзинь
  • Эббейт, Эмили
  • Хокинг, Сара
  • Гизинг, Деннис
RU2759868C2
СПОСОБЫ ЛЕЧЕНИЯ МЕТАСТАЗА ОПУХОЛИ 2018
  • Гизинг, Дэннис
RU2799546C2
КОМПЛЕКСНЫЙ СПОСОБ ЛЕЧЕНИЯ ПАЦИЕНТОК С ХРОНИЧЕСКИМИ РЕЦИДИВИРУЮЩИМИ ЦИСТИТАМИ И РЕФРАКТЕРНЫМ ГИПЕРАКТИВНЫМ МОЧЕВЫМ ПУЗЫРЕМ 2013
  • Сухих Геннадий Тихонович
  • Аполихина Инна Анатольевна
  • Глыбочко Петр Витальевич
  • Тетерина Татьяна Александровна
  • Миркин Яков Борисович
RU2550968C1
ПРИМЕНЕНИЕ СОЛИФЕНАЦИНА И СТИМУЛЯТОРОВ СЛЮНООТДЕЛЕНИЯ В ЛЕЧЕНИИ ГИПЕРАКТИВНОГО МОЧЕВОГО ПУЗЫРЯ 2012
  • Паборджи Мехди
  • Эрнандес Венди Джейд Лимайо
  • Дачин Кеннет Л.
  • Флюгел Роджер С.
RU2671575C2
СПОСОБ ЛЕЧЕНИЯ БОЛИ ИЛИ ИНТЕРСТИЦИАЛЬНОГО ЦИСТИТА С ИСПОЛЬЗОВАНИЕМ ИНДОЛЬНОГО СОЕДИНЕНИЯ 2019
  • Уеда, Йосифуми
  • Мацусита, Муцуйоси
  • Китагава, Йосихиро
  • Мацуо, Акира
  • Маекава, Тацуя
  • Такигава, Сотаро
  • Ватанабэ, Хиромицу
  • Миягава, Наоки
  • Хамада, Юдзи
  • Хондо, Тецуя
RU2791025C2
СИСТЕМЫ И СПОСОБЫ ДОСТАВКИ ЛЕКАРСТВЕННЫХ СРЕДСТВ ДЛЯ ЛЕЧЕНИЯ РАКА МОЧЕВОГО ПУЗЫРЯ ГЕМЦИТАБИНОМ 2015
  • Гизинг Деннис
  • Ли Хэцзинь
  • Дениэл Карен
RU2694902C1
СПОСОБ ЛЕЧЕНИЯ ПАЦИЕНТОВ 14-17 ЛЕТ С ЭНУРЕЗОМ 2023
  • Гусева Наталья Борисовна
  • Крапивкин Алексей Игорьевич
  • Колодяжная Анна Вадимовна
  • Корсунский Анатолий Александрович
RU2820167C1

Иллюстрации к изобретению RU 2 832 085 C2

Реферат патента 2024 года СПОСОБЫ ЛЕЧЕНИЯ ГИПЕРАКТИВНОГО МОЧЕВОГО ПУЗЫРЯ С ПРИМЕНЕНИЕМ ТРОСПИЯ ХЛОРИДА

Изобретение относится к медицине, а именно к урологии. Осуществляют поддерживающую терапию идиопатического гиперактивного мочевого пузыря у субъекта. Осуществляют непрерывное и местное введение эффективного количества троспия хлорида в мочевой пузырь в течение по меньшей мере 42 дней. Причем субъект получал предшествующую терапию гиперактивного мочевого пузыря. При этом троспия хлорид вводят при помощи устройства для внутрипузырного введения, устройство для внутрипузырного введения содержит троспия хлорид в количестве, составляющем от 100 мг до 2000 мг. Изобретение позволяет уменьшить неудобства, связанные с симптомами со стороны мочевого пузыря у субъекта. 13 з.п. ф-лы, 15 ил., 1 пр.

Формула изобретения RU 2 832 085 C2

1. Способ поддерживающей терапии идиопатического гиперактивного мочевого пузыря у субъекта, включающий непрерывное и местное введение эффективного количества троспия хлорида в мочевой пузырь в течение по меньшей мере 42 дней, причем субъект получал предшествующую терапию гиперактивного мочевого пузыря, отличающийся тем, что троспия хлорид вводят при помощи устройства для внутрипузырного введения, и что устройство для внутрипузырного введения содержит троспия хлорид в количестве, составляющем от 100 мг до 2000 мг.

2. Способ по п. 1, отличающийся тем, что поддерживающая терапия включает местное введение эффективного количества троспия хлорида в мочевой пузырь в течение по меньшей мере 42 дней каждые 3 месяца.

3. Способ по п. 1, отличающийся тем, что поддерживающая терапия включает местное введение эффективного количества троспия хлорида в мочевой пузырь в течение по меньшей мере 42 дней по мере необходимости.

4. Способ по п. 1, отличающийся тем, что поддерживающая терапия включает местное введение эффективного количества троспия хлорида в мочевой пузырь в течение по меньшей мере 42 дней после рецидива симптомов.

5. Способ по п. 1, отличающийся тем, что поддерживающая терапия включает местное введение эффективного количества троспия хлорида в мочевой пузырь в течение по меньшей мере 42 дней, когда у субъекта проявляется рецидив симптомов по меньшей мере на 50% от исходного уровня.

6. Способ по п. 1, отличающийся тем, что предшествующая терапия включает местное введение эффективного количества троспия хлорида в мочевой пузырь в течение по меньшей мере 42 дней, по меньшей мере 56 дней, по меньшей мере 84 дней или по меньшей мере 12 недель.

7. Способ по любому из пп. 1-6, отличающийся тем, что концентрация троспия хлорида в мочевом пузыре во время введения троспия хлорида составляет от 0,1 до 100 мкг/мл.

8. Способ по любому из пп. 1-7, отличающийся тем, что концентрация троспия хлорида в плазме крови субъекта во время введения троспия хлорида составляет менее 2 нг/мл.

9. Способ по любому из пп. 1-8, отличающийся тем, что предшествующее лечение идиопатического гиперактивного мочевого пузыря у субъекта оказалось неэффективным.

10. Способ по любому из пп. 1-9, отличающийся тем, что пероральная терапия оказалась неэффективной или субъект не удовлетворяет критериям для пероральной терапии.

11. Способ по любому из пп. 1-10, отличающийся тем, что у субъекта имеется недержание мочи или ургентное недержание.

12. Способ по любому из пп. 1-11, отличающийся тем, что способ приводит к ремоделированию нейронов или ремоделированию нейронной сети.

13. Способ по любому из пп. 1-12, отличающийся тем, что достигается симптоматическое облегчение ургентности, частоты или недержания.

14. Способ по любому из пп. 1-13, отличающийся тем, что устройство для внутрипузырного введения содержит троспия хлорид в количестве, составляющем 850 мг.

Документы, цитированные в отчете о поиске Патент 2024 года RU2832085C2

WO 2014047221 A1, 27.03.2014
ТЕРАПИЯ ДЛЯ ЛЕЧЕНИЯ ЗАБОЛЕВАНИЯ 2006
  • Паборджи Меди
RU2435610C2
КРИВОБОРОДОВ Г.Г
и др
ВЫСОКИЕ ДОЗЫ ТРОСПИЯ ХЛОРИДА У БОЛЬНЫХ С ИДИОПАТИЧЕСКИМ ГИПЕРАКТИВНЫМ МОЧЕВЫМ ПУЗЫРЕМ
ДАННЫЕ МУЛЬТИЦЕНТРОВОЙ МАСШТАБНОЙ НАБЛЮДАТЕЛЬНОЙ ПРОГРАММЫ "РЕСУРС" / УРОЛОГИЯ, 2016, N 4, стр
Солесос 1922
  • Макаров Ю.А.
SU29A1
КРИВОБОРОДОВ Г.Г
и др
Троспия хлорид в лечении гиперактивного мочевого

RU 2 832 085 C2

Авторы

Гизинг, Деннис

Даты

2024-12-19Публикация

2019-07-31Подача