Область техники, к которой относится изобретение
Изобретение относится к области инженерной геодезии и может быть использовано для проверки точности положения центров геодезических пунктов геодезической сети, в том числе расположенных в зоне многолетней мерзлоты.
Уровень техники
Как известно, геодезический пункт представляет собой специальную инженерную конструкцию, состоящую из центра и наружного знака. Центр геодезического пункта (он же геодезический центр или репер), как правило, представляет собой заглубленную в грунт металлическую трубу (или железобетонный пилон), к верхнему торцу которой приварена нивелирная марка, а к нижнему - якорь (см. «Правила закладки центров и реперов на пунктах геодезической и нивелирной сетей», М.: Картгеоцентр. Геодезиздат, 1993»). Наружный знак устанавливается над центром и, обычно, представляет собой металлическую пирамиду или опознавательный столб.
Геодезический центр является «носителем» координат геодезической сети. Основным требованием, предъявляемым к конструкции геодезического центра, является сохранность марки и стабильность ее положения в плане и по высоте, что гарантирует точность проводимых измерений с использованием центра.
Для выполнения этого требования конструкция геодезического центра должна быть устойчивой к морозному пучению и иным деформациям грунта, температурным и механическим нагрузкам, химическому воздействию грунтового раствора и другим факторам, определяемым климатическими и физико-географическими особенностями местности, в которых центр установлен.
В условиях многолетней мерзлоты наиболее часто происходит пучение грунтов, приводящее к выдавливанию металлической трубы из грунта и, как следствие, изменению точности положения геодезического центра в плане и по высоте и большим погрешностям, что делает невозможным использование такого центра для съемок.
Контроль стабильности положения геодезического центра осуществляют, как правило, используя соседние геодезические пункты, относительно которых проверяют положение контролируемого центра. Однако такой контроль не дает нужной точности, вследствие значительного удаления точек привязки, положение которых также требует проверки.
Известен способ контроля за устойчивостью реперов (см. патент RU 2180430, МПК: G01C5/00, опубл. 10.03.2002), заключающийся в том, что устойчивость положения основного репера (геодезического центра) оценивается по результатам наблюдения куста из трех вспомогательных реперов, одинаковых по конструкции и условиям заложения, которые расположены так, чтобы превышения их над основным репером (центром) измерялись с одной станции при равенстве плеч и расстоянием от поверхности земли до визирного луча не менее 0,3 м. В качестве вспомогательных реперов используют металлические стержни с контрольной маркой на верхнем торце, каждый из которых заглублен в грунт ниже линии промерзания.
Устойчивость основного репера оценивается путем сравнения превышений вспомогательных реперов над ним. Если превышение каждого вспомогательного репера повторяет друг друга от цикла к циклу, то это показывает их устойчивость. При этом основной репер испытывает вертикальные перемещения на величину, равную среднему превышению в данном цикле, взятому с обратным знаком.
Недостатком технического решения по патенту RU 2180430 является использование для контроля стержней-реперов с глубинным заложением, которые сами подвержены пучениям грунта. Как следствие невысокая точность и надежность контроля. Кроме того, для проведения контрольных измерений превышения высоты вспомогательных реперов над основным требуется внешняя станция.
Способ и система контроля положения репера (центра) по патенту RLJ 2180430 приняты в качестве наиболее близких аналогов для заявляемых способа и системы контроля. При этом сходным признаком известного и заявляемого решений, как для способа, так и для системы, является использование (наличие) контрольных марок, размещенных вокруг контролируемого центра.
Предлагаемая группа изобретений направлена на решение проблемы точности и надежности контроля положения центра геодезической сети, особенно в условиях многолетней мерзлоты.
Достигаемый при использовании изобретения технический результат заключается в обеспечении простоты, точности и высокой эффективности контроля положения геодезического центра, независимо от свойств грунта в месте его заложения.
Раскрытие сущности изобретения Решение упомянутой технической проблемы и достижение технического результата обеспечивается способом контроля положения геодезического центра сиспользованием контрольных марок, в котором согласно заявляемому изобретению, вокруг геодезического центра формируют, как минимум, два не соприкасающихся между собой замкнутых контура, каждый из которых выполнен в виде монолитной ленточной конструкции из армированного бетона, установленной на подушке из насыпного материала, контрольные марки закрепляют на ленточных конструкциях, как минимум по три на каждой, контроль положения геодезического центра осуществляют путем контроля расстояний и превышений между контрольными марками контуров и геодезическим центром. Предварительно осуществлению контроля положения геодезического центра проверяют стабильность положения контрольных марок контуров друг относительно друга.
Решение упомянутой технической проблемы и достижение технического результата обеспечивается также благодаря тому, что система контроля положения геодезического центра, включающая контрольные марки, согласно заявляемому изобретению, содержит, как минимум два, охватывающих геодезический центр и не соприкасающихся между собой замкнутых контура, каждый из которых выполнен в виде монолитной ленточной конструкции из армированного бетона, установленной на подушке из насыпного материала, например песка, щебня или их комбинации, при этом контрольные марки закреплены на этих ленточных конструкциях, как минимум по три на каждой, например замоноличены в них.
В отличие от глубинных реперов, ленточные конструкции из армированного бетона, выполненные по типу ленточного фундамента и установленные на насыпной подушке, являются поверхностными конструкциями и практически не чувствительны к движениям грунтов, в результате чего риск изменения положения закрепленных на этих конструкциях контрольных марок минимален, что обеспечивает высокую стабильность системы, используемой для контроля положения геодезического центра.
Предлагаемая система контроля является самодостаточной и независимой. Все контрольные измерения положения геодезического центра выполняются внутри системы с использованием контрольных марок контуров. Это позволяет существенно упростить контрольные измерения, повысить их точность, исключить фактор ошибок, имеющий место при использовании удаленных внешних привязок.
Благодаря тому, что количество контрольных марок составляет в каждом контуре не менее трех, а лучше четыре, пять или более, обеспечивается избыточность контрольных измерений, которая позволяет исключить случайные погрешности и способствует высокой точности выводов.
Благодаря тому, что независимых контуров два или более, обеспечивается стабильность системы, в которой производятся измерения, образуемой контрольными марками.
Оба объекта изобретения направлены на решение одной задачи и обеспечивают достижение одного и того же технического результата, а именно простоты, высокой точности и эффективности контроля положения геодезического центра.
Предлагаемое решение является экономичным, малозатратным и при этом может быть использовано для любых геодезических центров, независимо от места их заложения.
Дополнительным техническим результатом является возможность использования ленточных конструкций с контрольными марками в качестве самостоятельных реперов для различных геодезических съемок и наблюдения за осадками и деформациями сооружений.
Еще одним дополнительным техническим результатом является возможность использования системы для проверки мерных интсрументов.
Форма ленточных конструкций в плане может быть любая: круглая, треугольная, прямоугольная и др., однако предпочтение отдается треугольной форме, как наиболее жесткой, экономичной и простой при возведении (формировании).
Форма внутреннего замкнутого контура может быть подобна форме внешнего замкнутого контура, а может отличаться от нее.
Предпочтительно в целях предохранения от внешних воздействий и перепадов температуры, закрыть ленточные конструкции сверху теплоизолирующим материалом, что позволит снизить риск их деформации и разрушения, позволит продлить срок службы.
Для контрольных марок в теплоизолирующем материале формируют окна. Для обеспечения защиты от механических внешних воздействий, целесообразно обнести ленточные конструкции защитным ограждением.
Суть предлагаемого способа контроля поясняется на примере работы системы контроля положения геодезического центра, иллюстрированном чертежами, где изображены:
на фиг. 1 - система контроля положения геодезического центра, общий вид;
на фиг. 2 - сечение А-А с фиг. 1;
на фиг. 3 - сечение В-В с фиг. 1;
на фиг .4 и 5 - приведены примерные схемы контрольных измерений.
Осуществление изобретения
Заявляемый способ контроля положения геодезического центра осуществляется посредством заявляемой системы.
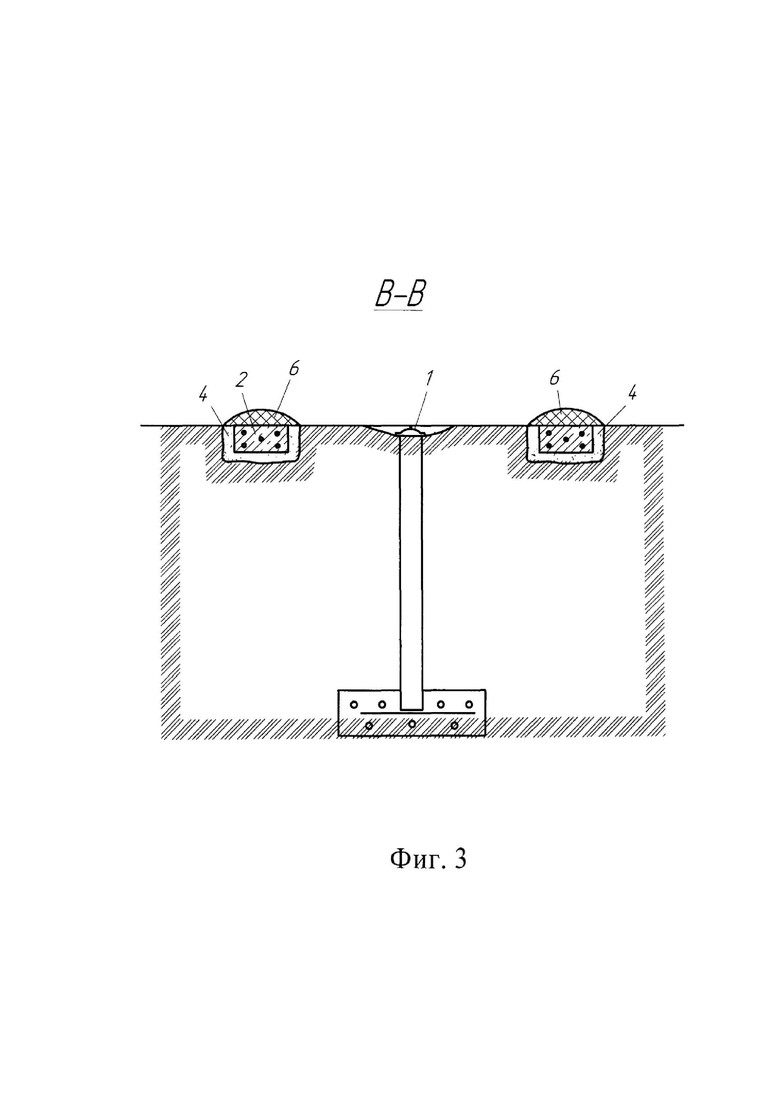
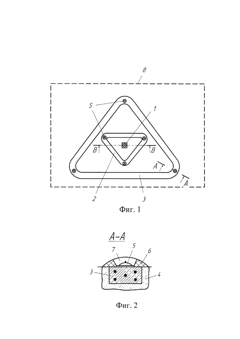
Система контроля положения геодезического центра 1 включает (см. фиг. 1) два замкнутых контура 2 и 3, охватывающих геодезический центр 1 и не имеющих точек соприкосновения. Каждый контур 2 и 3 выполнен в виде монолитной ленточной конструкции из армированного бетона, установленной на подушке 4 из насыпного материала (см. фиг. 2 и 3).
В приведенном примере контуры 2 и 3 имеют в плане форму треугольников, по углам которых замоноличены контрольные марки 5. Треугольная форма контуров 2 и 3 является предпочтительной в силу своей повышенной жесткости, экономичности и технологичности изготовления, однако не является обязательной и может отличаться от приведенной на чертежах.
Форма внутреннего замкнутого контура 2 может быть подобна форме внешнего замкнутого контура 3, как в приведенном примере, а может и отличаться от нее, что также не влияет на выполнение устройством своего функционального назначения и достижение указанных технических результатов.
С целью предохранения от внешних воздействий и перепадов температуры ленточные конструкции могут быть закрыты сверху теплоизолирующим материалом 6, в котором сформированы окна 7 для контрольных марок 5.
С целью повышения защищенности от негативного влияния человеческого фактора, целесообразно обнести ленточные конструкции защитным ограждением 8, например, в виде легкого бесфундаментного сооружения.
Устройство насыпной подушки 4 выполняют аналогично подушке ленточного фундамента. В качестве насыпного материала может быть использован песок, преимущественно крупнозернистый, песчано-гравийная смесь, щебень, смесь песка и щебня и т.п. Предварительно устройству подушки удаляют плодородный почвенно-растительный слой грунта, который обычно составляет от 40 до 80 см.
Ленточные конструкции контуров 2 и 3 могут быть отлиты в опалубке, а затем перенесены и установлены на подготовленную подушку 4 с помощью крана.
Контрольные марки 5 замоноличиваются в еще не отвердевшем бетоне. Размещают контрольные марки 5 произвольным образом, например, по углам треугольника, как в приведенном примере, или в середине каждой стороны, при этом никаких требований к точности их расположения не предъявляется.
Подготовленные таким образом ленточные конструкции выдерживают в течение какого-то времени, необходимого, чтобы они приобрели устойчивое положение.
После того как ленточные конструкции приобрели устойчивое положение, устоялись и осели, производят исходные измерения и определяют исходное планово-высотное положение контрольных марок 5 контуров друг относительно друга и исходное планово-высотное положение геодезического центра 1 относительно каждой из контрольных марок 5 контуров 2 и 3.
Для этих целей измеряют линейные расстояния и превышения сначала между парами контрольных марок 5 внутри каждого контура 2 и 3, а затем между парами контрольных марок 5 разных контуров (см. фиг. 4, показаны пунктирными линиями). Полученные данные измерений записывают и сохраняют (запоминают) любым известным способом. Например, формируют в виде таблицы в бумажном журнале или вносят данные в компьютер, используя соответствующие программы.
Затем измеряют линейные расстояния и превышения между геодезическим центром 1 и каждой из контрольных марок 5 внутреннего и внешнего контуров 2 и 3 (см. фиг. 5). Полученные данные измерений также записывают и сохраняют ручным или машинным способом.
Для выполнения измерений могут быть использованы любые известные инструменты: рулетка, линейка, лазерный дальномер, нивелиры, например, оптические, лазерные, и так далее.
В приведенном примере, в случае трех контрольных марок в каждом контуре, выполняют в сумме 21 измерение. Эти сохраненные данные являются начальными или иначе - исходными, и в дальнейшем служат в качестве эталона, с которым будут сравниваться все последующие данные измерений, проводимых в целях контроля положения геодезического центра 1.
Для обеспечения максимально высокой точности результатов, контроль положения геодезического центра 1 осуществляют, предпочтительно в два этапа. На первом этапе проверяют стабильность взаимного положения контрольных марок контуров. Для этого измеряют расстояния и превышения между парами контрольных марок 5 внутреннего и внешнего контуров 2 и 3, которые также заносят в таблицу (ручным или машинным способом), при этом фиксируют дату измерений.
Выполняют анализ полученных данных путем их сравнения с исходными данными. Если расхождений нет или если они находятся в пределах допуска, то приступают ко второму этапу.
На втором этапе измеряют расстояния и превышения между каждой из контрольных марок 5 и геодезическим центром 1, заносят данные измерений в таблицу и сравнивают их с исходными.
Благодаря тому, что ленточные конструкции на насыпной подушке являются поверхностными, они практически не чувствительны к движениям грунтов, что обеспечивает высокую стабильность положения контрольных марок 5, используемых для контроля положения геодезического центра 1.
Все контрольные измерения проводятся внутри ограниченной системы. Близкое расположение контрольных точек способствует точности проводимых измерений и исключает погрешности, имеющие место при использовании «внешних привязок».
Приведенные схемы измерений служат в качестве иллюстрирующего примера, и не ограничивают других возможных комбинаций, очевидных специалисту в данной области.
Очевидно, что чем больше контрольных марок 5, и больше измерений, тем выше точность полученных выводов. Избыточность измерений позволяет скомпенсировать и свести практически к нулю все системные и случайные погрешности измерений.
Наличие, как минимум, двух независимых контуров позволяет отслеживать стабильность используемой системы координат и исключает необходимость использования внешних привязок для этих целей.
В результате обеспечивается высокая точность контроля при простоте его осуществления.
Дополнительно предложенная система может быть использована для контроля (поверки) мерных инструментов или приборов, например, для вновь используемых рулеток или линеек, с целью исключения случайных погрешностей, связанных с индивидуальными отклонениями шкалы прибора. В этом случае измеряют этой рулеткой линейное расстояние между контрольными марками 5 одного контура и сравнивают полученное значение с исходным сохраненным. В случае выявления отклонений, их учитывают при проведении последующих контрольных измерений.
При этом каждый из контуров 2 и 3, а также любая из контрольных марок 5 могут быть использованы в качестве самостоятельных реперов для геодезических съемок и наблюдения за осадками и деформациями сооружений.
| название | год | авторы | номер документа |
|---|---|---|---|
| СПОСОБ КОНТРОЛЯ ПОЛОЖЕНИЯ ТРУБОПРОВОДОВ НАДЗЕМНОЙ ПРОКЛАДКИ В УСЛОВИЯХ ВЕЧНОЙ МЕРЗЛОТЫ | 2014 |
|
RU2582428C2 |
| СПОСОБ ИЗМЕРЕНИЙ И ДОЛГОВРЕМЕННОГО КОНТРОЛЯ КОНСТРУКЦИИ СТАРТОВОГО СООРУЖЕНИЯ РАКЕТ-НОСИТЕЛЕЙ И СИСТЕМА ДЛЯ ЕГО ОСУЩЕСТВЛЕНИЯ | 2015 |
|
RU2591734C1 |
| ГРУНТОВЫЙ ГЕОДЕЗИЧЕСКИЙ РЕПЕР | 2020 |
|
RU2764875C1 |
| ГРУНТОВЫЙ ГЕОДЕЗИЧЕСКИЙ РЕПЕР ДЛЯ ОБЛАСТЕЙ СЕЗОННОГО ПРОМЕРЗАНИЯ ГРУНТОВ | 2011 |
|
RU2456545C1 |
| СПОСОБ МОНИТОРИНГА ТЕХНИЧЕСКОГО СОСТОЯНИЯ ТРУБОПРОВОДОВ НАДЗЕМНОЙ ПРОКЛАДКИ В УСЛОВИЯХ ВЕЧНОЙ МЕРЗЛОТЫ | 2015 |
|
RU2571497C1 |
| СПОСОБ ИЗМЕРЕНИЯ ОСАДОК ФУНДАМЕНТОВ И УСТРОЙСТВО ДЛЯ ЕГО РЕАЛИЗАЦИИ | 2009 |
|
RU2413055C1 |
| ГЕОДЕЗИЧЕСКИЙ ЗНАК КАШИНА | 2004 |
|
RU2262073C1 |
| Способ определения деформаций свайных опор трубопровода с использованием навигационных спутниковых систем | 2023 |
|
RU2821670C1 |
| СПОСОБ ОПРЕДЕЛЕНИЯ СМЕЩЕНИЙ ОПОЛЗНЯ | 2024 |
|
RU2821434C1 |
| Способ автоматизированных измерений и дистанционной передачи данных для геотехнического мониторинга объектов добычи газа | 2024 |
|
RU2836421C1 |
Изобретение относится к области инженерной геодезии и применяется для проверки точности положения центров геодезических пунктов геодезической сети. Сущность заявленного технического решения заключается в том, что вокруг геодезического центра формируют как минимум два не соприкасающихся между собой замкнутых контура, каждый в виде монолитной ленточной конструкции из армированного бетона, установленной на подушке из насыпного материала. При этом минимум три контрольные марки закрепляют на каждой ленточной конструкции. Контроль положения геодезического центра осуществляют путем контроля расстояний и превышений между контрольными марками контуров и геодезическим центром. Техническим результатом изобретения является повышение точности контроля положения геодезического центра пункта геодезической сети. 2 н. и 6 з.п. ф-лы, 5 ил.
1. Способ контроля положения геодезического центра пункта геодезической сети с использованием контрольных марок, отличающийся тем, что вокруг геодезического центра формируют как минимум два не соприкасающихся между собой замкнутых контура, каждый в виде монолитной ленточной конструкции из армированного бетона, установленной на подушке из насыпного материала, контрольные марки закрепляют на ленточных конструкциях, как минимум по три на каждой, контроль положения геодезического центра осуществляют путем контроля расстояний и превышений между контрольными марками контуров и геодезическим центром.
2. Способ по п.1, отличающийся тем, что предварительно контролю положения геодезического центра проверяют стабильность положения контрольных марок контуров друг относительно друга.
3. Способ по п.1, отличающийся тем, что ленточные конструкции накрывают теплоизолирующим материалом, в котором сформированы окна для контрольных марок.
4. Система контроля положения геодезического центра пункта геодезической сети, содержащая контрольные марки, отличающаяся тем, что она содержит как минимум два охватывающих геодезический центр и не соприкасающихся между собой замкнутых контура, каждый из которых выполнен в виде монолитной ленточной конструкции из армированного бетона, установленной на подушке из насыпного материала, при этом контрольные марки закреплены на этих ленточных конструкциях, как минимум по три на каждой.
5. Система по п.4, отличающаяся тем, что ленточные конструкции закрыты сверху теплоизолирующим материалом, в котором сформированы окна для контрольных марок.
6. Система по п.4, отличающаяся тем, что ленточные конструкции обнесены защитным ограждением.
7. Система по п.4, отличающаяся тем, что ленточные конструкции имеют в плане форму треугольников, при этом контрольные марки замоноличены в вершинах треугольников.
8. Система по п.4, отличающаяся тем, что форма внешнего контура отличается от формы внутреннего контура.
| СПОСОБ КОНТРОЛЯ ЗА УСТОЙЧИВОСТЬЮ РЕПЕРОВ | 2000 |
|
RU2180430C1 |
| СПОСОБ ИЗМЕРЕНИЯ ПЛОТНОСТИ ЖИДКИХ, ПАРООБРАЗНЫХ | 0 |
|
SU186192A1 |
| Способ калибровки мобильных 3D-координатных средств измерений и устройство для его реализации | 2018 |
|
RU2710900C1 |
| US 9316496 B2, 19.04.2016. | |||
Авторы
Даты
2025-01-21—Публикация
2024-05-02—Подача