ОБЛАСТЬ ТЕХНИКИ
Настоящее изобретение относится к циклонным блокам, например, для использования в пылесосах для влажной уборки.
УРОВЕНЬ ТЕХНИКИ
Традиционно очистка твердых полов включала первоначальную обработку пола пылесосом с его последующим мытьем. Обработка пылесосом удаляет мелкую пыль и крупную грязь, в то время как мытье удаляет любую очень мелкую пыль и пятна.
В настоящее время на рынке представлено множество коммерчески доступных приспособлений, которые предлагают обработку пылесосом и мытье в один прием, и именно их называют «пылесосом для влажной уборки". Многие из этих приспособлений имеют вакуумную насадку для улавливания крупной грязи посредством воздушного потока и (влажную) ткань или щетку для удаления пятен. Эти влажные ткани или щетки могут быть предварительно смоченными или могут быть смочены пользователем, но в некоторых случаях они также могут смачиваться приспособлением (используя жидкость, а также используя пар).
В этом случае пылесос для влажной уборки должен быть способен собирать влажную грязь с пола и переносить ее в контейнер для грязи. Это достигается с использованием воздушного потока, созданного двигателем и узлом вентилятора. Влажная грязь и жидкость в виде капель должны быть отделены от воздушного потока. Влажная грязь и жидкость попадают в контейнер для грязи, в то время как остальной воздушный поток проходит через вентилятор и любые устройства последующей фильтрации и выходит из приспособления.
Известно, что для отделения жидкой и влажной грязи от воздушного потока используют лабиринты и фильтры или циклонные блоки. Настоящее изобретение, в частности, относится к применению циклона.
В циклонных системах центробежные силы возникают при вращении воздуха внутри камеры. Воздух проходит по спирали, например, начиная с верхней части циклонной камеры и заканчивая нижней, прежде чем выйти из циклона через центральную часть циклона и наружу из верхней части. Частицы и капли жидкости, увлекаемые вращающимся потоком, обладают слишком большой инерцией, чтобы следовать по крутому изгибу пути воздушного потока, и будут ударяться о внешнюю стенку, а затем перемещаться вдоль стенки в нижнюю часть циклонной камеры (или попадать в отдельную камеру для грязной воды), откуда их можно удалить.
Циклоны широко используются как способ отделения сухих частиц от воздуха. Однако использование циклона для отделения капель воды (и частиц грязи) от воздуха является более сложным, поскольку вода имеет тенденцию просачиваться к выходу вместе с основным воздушным потоком. Таким образом, основная задача при использовании циклона с влажным потоком заключается в том, чтобы направлять воду вдоль стенок циклонного блока к коллектору, не допуская при этом повторного попадания воды в воздух.
Одна из проблем для циклонных устройств заключается в том, что в дополнение к первичному спиральному потоку возникают вторичные схемы воздушного потока, приводящие, например, к переносу капель воды в направлении верхней части циклонной камеры и вдоль нее. Когда вода достигает верхней части, она может стекать к выпускному отверстию циклонного блока (выпуск, например, проходит в камеру от верхней части), что приводит к неэффективному отделению.
Другая проблема заключается в размере капель воды. Циклонный блок, например, имеет впускной патрубок, который соединяется с отверстием в корпусе циклона, в частности, в направлении тангенциальной составляющей впускного патрубка. Было установлено, что соединение между впускным патрубком и отверстием в корпусе циклона может способствовать образованию крупных застаивающихся капель воды. Когда они в конечном итоге вытесняются, они могут попасть в воздух в виде более мелкой взвеси, которая затем переносится к выпускному отверстию для основного воздушного потока, что снова приводит к снижению эффективности отделения воды.
EP 2581018, US 2019/307301, US 3877902 и WO 2011/132323 раскрывают циклонные пылесосы для влажной и сухой уборки.
Сохраняется потребность в усовершенствованной конструкции циклонного блока, подходящей для использования в пылесосе для влажной уборки.
РАКРЫТИЕ СУЩНОСТИ ИЗОБРЕТЕНИЯ
Настоящее изобретение определено формулой изобретения.
Согласно примерам в соответствии с одним аспектом настоящего изобретения предложен циклонный блок для отделения жидкости и частиц от потока, проходящего через циклонный блок, причем циклонный блок имеет ось вращения циклона и содержит:
внешний корпус, имеющий внешнюю боковую стенку, первый конец и второй конец, расположенные вдоль оси циклона;
впускное отверстие для основного потока к внешнему корпусу, содержащему отверстие во внешнем корпусе;
выпускное отверстие для основного потока из внешнего корпуса, находящееся ближе к первому концу, чем впускное отверстие для основного потока,
причем переход между впускным отверстием для основного потока и внешним корпусом имеет, по меньшей мере для части отверстия на первой концевой стороне впускного отверстия для основного потока, радиус кривизны составляющий по меньшей мере 0,5 мм.
Криволинейная часть находится в плоскости, перпендикулярной локальной касательной к впускному отверстию для основного потока.
Этот циклонный блок используется для отделения воды (и мусора) от потока, например, созданного всасыванием двигателя и вентилятора. Вихрь создается вокруг оси циклона и перемещается в направлении от второго конца (например, верхней части) к расположенному на расстоянии противоположному первому концу (например, нижней части). Следует отметить, что термины «верхняя часть» и «нижняя часть», используемые в настоящей заявке, не предназначены для обозначения гравитационных ориентаций. Верхняя часть внешнего корпуса может рассматриваться как конец, вблизи которого предусмотрен вход для основного потока, а нижняя часть внешнего корпуса может рассматриваться как конец, вблизи которого находится выпускное отверстие или камера для сбора мусора.
Первый конец может быть, например, концом для сбора мусора, а второй конец может быть концом, через который проходит выпускной патрубок. Может быть предусмотрено выпускное отверстие для сбора мусора из внешнего корпуса, либо внутри внешнего корпуса может быть предусмотрена область для сбора или камера. Выпускное отверстие для основного потока (т.е. вход в выпускной патрубок), например, расположено на большем расстоянии от второго конца, чем выпускное отверстие для основного потока. Таким образом, поток внутри циклонного блока находится, в целом, на удалении от второго конца в направлении выпускного отверстия для сбора.
Впускное отверстие для грязи предназначено, например, для крепления к головке для пылесоса или другой принадлежности для пылесоса.
Переход между впускным отверстием для основного потока и внешним корпусом представляет собой поверхность, с которой происходит встреча при движении по пути от впускного отверстия для основного потока к внешнему корпусу. Таким образом, он является криволинейной частью, с которой встречается поток, проходящий вперед вдоль направления впускного отверстия для основного потока. Криволинейная часть находится в плоскости, перпендикулярной локальной касательной к впускному отверстию для основного потока.
Большой радиус кривизны позволяет избежать острых пересечений кромок в местах, где могут образовываться капли воды. Было установлено, что если имеются места, где крупные капли воды не могут стекать, они в конечном итоге будут разбиваться на мелкие капли после вытеснения, а затем стекать к выпускному отверстию для основного потока. Использование поверхностей с большой кривизной предотвращает это.
Часть отверстия, обращенная в сторону первого конца (например, вниз), представляет собой область, в которой большая часть жидкости поступает в сепарационную систему. Таким образом, желательно предотвращать накапливание крупных капель воды в этой области.
Радиус кривизны может составлять по меньшей мере 1 мм, например по меньшей мере 2 мм, например по меньшей мере 3 мм.
Циклонный блок предпочтительно содержит впускной патрубок для основного потока, который соединяется с впускным отверстием для основного потока, причем впускной патрубок для основного потока имеет первую площадь поперечного сечения, а площадь отверстия является большей второй площадью поперечного сечения.
Таким образом, происходит увеличение площади потока при переходе от впускного патрубка для потока к циклонному блоку. Это уменьшает скорость потока. Эта мера может быть разработана для предотвращения того, чтобы капли воды размером, подходящим для сбора, разбивались на более мелкие капли, которые могут легче стекать к выпускному отверстию.
Вторая площадь поперечного сечения, например, составляет по меньшей мере 1,1 первой площади поперечного сечения. Оно может быть по меньшей мере в 1,2 раза, например по меньшей мере в 1,3 раза, например по меньшей мере в 1,4 раза больше, первой площади поперечного сечения.
Впускное отверстие для основного потока к отверстию внешнего корпуса может иметь эффективный гидравлический диаметр впускного отверстия, и впускное отверстие для основного потока отстоит внутрь от второго конца на расстояние отделения, составляющее по меньшей мере 0,1 эффективного гидравлического диаметра впускного отверстия.
Впускное отверстие для основного потока в циклонный блок расположено на расстоянии от второго конца. Это означает, что вторичный поток в направлении второго конца (например, в направлении верхней части, и дополнительно к спиральному потоку в направлении нижней части) в меньшей степени способен вызывать прилипание жидкости к внутренней части второго конца, откуда она может стекать к выпускному отверстию для основного потока и вытягиваться вместе с основным воздушным потоком. Таким образом, данная конструкция уменьшает количество воды, которое улавливается в основном выходном потоке. Расстояние предпочтительно представляет собой уступ или переход в месте расположения впускного отверстия для основного потока или вблизи него.
Отверстие впускного отверстия для основного потока не обязательно должно быть круглым. «Эффективный гидравлический диаметр впускного отверстия» может быть принят в качестве диаметра круга с той же площадью, что и данное отверстие. Площадь отверстия может рассматриваться как площадь отсутствующей части внешней стенки, которая образует впускное отверстие. Эта область может быть областью криволинейной (отсутствующей) части стенки, либо она может быть аппроксимирована как плоскостная поверхность, наилучшим образом подходящая к внешнему контуру отверстия.
Таким образом, впускное отверстие для основного потока, например, отстоит внутрь от второго конца на расстояние, составляющее от 0,1 до 2, более предпочтительно от 0,5 до 1,5 и наиболее предпочтительно от 0,9 до 1,1 эффективного гидравлического диаметра впускного отверстия.
Впускное отверстие для основного потока, например, отстоит внутрь от второго конца на расстояние отделения, составляющее от 5 мм до 50 мм. Необходимое расстояние является предпочтительно небольшим, поэтому все приспособление является небольшим и, следовательно, простым в хранении и обращении.
Например, предусмотрен впускной патрубок для основного потока, который соединяется с отверстием во внешнем корпусе. Как правило, он определяет направление потока, который направлен частично радиально внутрь и частично по окружности (т.е. тангенциально) внешнего корпуса, чтобы обеспечить компактную в целом конструкцию. Например, воздушный поток является в основном тангенциальным и частично радиальным.
Впускной патрубок для основного потока, например, проходит перпендикулярно оси циклона (на его конце, где он соединяется с впускным отверстием для основного потока) с тангенциальной составляющей и направленной внутрь радиальной составляющей. В этом случае впускной патрубок для основного потока параллелен второму концу, но отстоит от него.
Вместо этого впускной патрубок для основного потока может проходить в направлении, отклоненном от перпендикуляра к оси циклона и быть обращенным к второму концу.
Это означает, что первичный входной поток имеет наклон в направлении к второму концу (например, в направлении к верхней части). Это уменьшает разность давлений внутри и снаружи вихревого потока вблизи второго конца, так что любые капли, которые собрались на внутренней части второго конца (например, в верхней части), все еще подвергаются силе сопротивления и, таким образом, не собираются и не стекают в направлении выпускного отверстия для основного потока. Поддерживается тангенциальная составляющая первичного входного потока.
Впускной патрубок для основного потока может проходить в направлении, отклоненном на 0-90 градусов, более предпочтительно на 0-30 градусов, более предпочтительно на 10-25 градусов от перпендикуляра к оси циклона.
Например, предусмотрен выпускной патрубок, который в одном примере проходит от второго конца в центральную область внешнего корпуса, а выпускное отверстие для основного потока находится на конце выпускного патрубка.
Этот выпускной патрубок, например, образует внутри внешнего корпуса вихреуловитель, а выпускное отверстие для основного потока (в конце выпускного патрубка) расположено в положении по центру внутри внутреннего объема внешнего корпуса. Это типичная конфигурация для циклонного блока.
Выпускное отверстие для потока может проходить параллельно оси циклона. По меньшей мере часть внешнего корпуса является, например, цилиндрической вокруг оси циклона.
Эти и другие аспекты настоящего изобретения будут очевидны из описанных ниже вариантов реализации и пояснены со ссылкой на них.
КРАТКОЕ ОПИСАНИЕ ЧЕРТЕЖЕЙ
Для лучшего понимания изобретения и для того, чтобы более четко показать, как оно может быть введено в действие, далее ссылки будут делаться только посредством примеров на прилагаемые чертежи, на которых:
на фиг. 1 показан пылесос для влажной уборки;
на фиг. 2 схематически показана общеизвестная конфигурация циклонного блока;
фиг. 3 использована для показа первой проблемы, которая возникает в известной конструкции;
фиг. 4 использована для показа второй проблемы, которая возникает в известной конструкции;
на фиг. 5 показаны первый и второй конструкционные признаки, которые могут быть использованы в конструкции в соответствии с примерами изобретения;
на фиг. 6 показано сечение конструкции циклонного блока с конструкционными признаками по фиг. 5, а также третьим конструкционным признаком;
на фиг. 7 показан вид вдоль оси циклона соединения между внешней боковой стенкой и впускным патрубком для основного потока;
на фиг. 8 показан обычный переход между впускным патрубком для основного потока и внешней боковой стенкой;
на фиг. 9 показана модификация перехода для использования четвертого конструкционного признака;
на фиг. 10 изображен вид изнутри циклонной камеры, если смотреть через впускное отверстие для основного потока во впускной патрубок для основного потока;
на фиг. 11 показан вид с наружной стороны той же конструкции, что и на фиг. 10;
на фиг. 12 показан вид сверху циклонного блока со снятой верхней секцией, чтобы показать переход между впускным патрубком для основного потока и внешней боковой стенкой;
на фиг. 13 показаны некоторые альтернативные типовые формы для поверхности, которая закрывает циклонный блок на впускном конце; и
фиг. 14 используется для объяснения того, как могут быть образованы криволинейные части.
ОСУЩЕСТВЛЕНИЕ ИЗОБРЕТЕНИЯ
Настоящее изобретение будет описано со ссылкой на чертежи.
Следует понимать, что хотя подробное описание в разделе "Осуществление изобретения" и конкретные примеры представляют собой приведенные для примера варианты реализации устройств, систем и способов, они предназначены исключительно для целей иллюстрации и не предназначены для ограничения объема настоящего изобретения. Эти и другие признаки, аспекты и преимущества устройства, систем и способов согласно настоящему изобретению станут более понятными из нижеследующего описания, прилагаемой формулы изобретения и сопроводительных чертежей. Следует понимать, что Фигуры являются лишь схематическими и изображены без соблюдения масштаба. Кроме того, следует понимать, что одинаковые ссылочные обозначения используются на всех фигурах для обозначения одинаковых или подобных частей.
В изобретении предложен циклонный блок для отделения жидкости и частиц от всасывающего потока. Впускное отверстие для основного потока к внешнему корпусу циклонного блока содержит отверстие. Переход между впускным отверстием для основного потока и внешним корпусом в этом отверстии имеет, по меньшей мере для части отверстия, радиус кривизны, составляющий по меньшей мере 0,5 мм. Большой радиус кривизны предотвращает образование застаивающихся капель воды.
Изобретение относится, в частности, к конструкции циклонного блока, подходящего для пылесоса для влажной уборки, хотя он может быть использован в любой области применения, требующей отделения жидкости от потока. Перед подробным описанием циклонного блока будет приведен пример общей конфигурации пылесоса для влажной уборки.
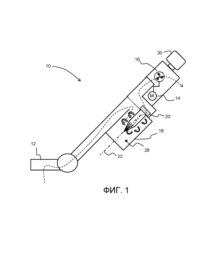
На фиг. 1 показан пылесос 10 для влажной уборки, содержащий головку 12 для пылесоса, двигатель 14 и вентилятор 16 для создания всасывания в головке для пылесоса.
Для отделения жидкости и частиц от потока, созданного всасыванием двигателя и вентилятора, предусмотрен циклонный блок 18.
Двигатель, например, содержит байпасный двигатель. Такой тип двигателя может допускать содержание воды в воздушном потоке, поскольку втягиваемый воздушный поток не используется для охлаждения двигателя и изолирован от деталей двигателя. Вместо этого в двигатель для охлаждения всасывается окружающий воздух.
Циклонный блок 18 является частью системы управления работой с грязью, которая может содержать дополнительные фильтры. Система управления работой с грязью имеет камеру для сбора отделенной влаги и грязи. Это может быть внутренней частью циклонного блока или может быть отдельным резервуаром для сбора отработанной воды, к которому подключается циклонный блок. Например, как показано, между выпускным потоком циклона и двигателем и вентилятором может быть предусмотрен выпускной фильтр 20.
Циклонный блок имеет ось 22 вращения циклона. Данная ось может быть выровненной параллельно общей продольной оси пылесоса (как в случае на фиг. 1), но это не существенно. Вместо этого ось 22 вращения может быть перпендикулярна общей продольной оси или ориентирована другим образом. Циклонный блок имеет впускное отверстие, и направление потока через впускное отверстие является перпендикулярным оси 22 циклона с преимущественно тангенциальным и частично радиальным направлением внутрь, чтобы создавать требуемое спиральное состояние потока внутри циклонного блока.
Объем 28 для сбора, например, расположен ниже циклонной камеры (когда пылесос находится в вертикальном положении), так что вода собирается под действием силы тяжести.
На конце, противоположном головке 12, расположена ручка 30.
Показанный пылесос представляет собой стержневой пылесос, так что при использовании головка 12 образует только один контакт с поверхностью, которая должна быть обработана пылесосом. Конечно, он может быть вертикальным пылесосом или контейнерным пылесосом. Изобретение относится к конструкционным признакам циклонного блока и может быть применено к любому пылесосу для влажной уборки.
Пользователю может потребоваться доставить воду на очищаемую пылесосом поверхность независимо от пылесоса. Однако система управления работой с влажной грязью может вместо этого также включать в себя резервуар для чистой воды для доставки воды к вакуумной насадке.
Головка для пылесоса, например, содержит ротационную щетку, на которую доставляется вода из резервуара для чистой воды, и, следовательно, также содержит впускное отверстие для приема воды из резервуара для чистой воды. Головка для пылесоса специально выполнена с возможностью улавливания влажной грязи и, при необходимости, для увлажнения пола.
На фиг. 2 схематически показана общеизвестная конфигурация циклонного блока 18.
Циклонный блок содержит внешний корпус 30, имеющий внешнюю боковую стенку 32, первый конец 34 и второй конец 36, разнесенные вдоль оси 22 циклона. Второй конец 36 образует поверхность (которая, соответственно, также будет обозначена ссылочным обозначением 36), которая закрывает внутренний объем циклонного блока на этом конце.
Поверхность 36 показана на фиг. 2 (и на других фигурах) в виде плоской поверхности. Однако это не обязательно. Поверхность 36 может иметь более сложную трехмерную форму.
Первый конец 34 можно рассматривать как нижнюю часть, а второй конец 36 можно рассматривать как верхнюю часть, не подразумевая какой-либо конкретной ориентации циклонного блока.
На внешней боковой стенке 32 корпуса 30, содержащей отверстие во внешнем корпусе, предусмотрено впускное отверстие 38 для основного потока. Отверстие имеет эффективный гидравлический диаметр впускного отверстия, как описано выше, а именно диаметр для круга с такой же площадью, что и отверстие.
Можно считать, что данное отверстие является отсутствующей частью внешней боковой стенки 32. Эта недостающая часть имеет площадь. Таким образом, эта область может быть рассмотрена в качестве области отсутствующей части внешней боковой стенки. Если внешняя боковая стенка является цилиндрической, то недостающая часть будет представлять собой часть цилиндрической поверхности. Однако вместо этого площадь может быть определена как меньшая плоская область, которая является наиболее близким приближением к форме впускного отверстия.
Впускной патрубок 39 для основного потока соединяется с отверстием во внешнем корпусе. Впускное отверстие 38 для основного потока и впускной патрубок 39 для основного потока схематически показаны только на фиг. 2. В частности, впускной патрубок 39 для основного потока показан направленным в радиальном направлении, тогда как на практике впускное отверстие для основного потока имеет преимущественно тангенциальное направление, а также радиальное направление, как будет более ясно показано ниже. Направление потока, созданного впускным патрубком 39 для основного потока, обеспечивает создание требуемых условий для спирального потока внутри циклонного блока.
Из внешнего корпуса 30 предусмотрено выпускное отверстие 40 для основного потока, находящееся ближе к первому концу 34, чем впускное отверстие 38 для основного потока. Таким образом, выпускное отверстие для основного потока находится ближе к нижней части. Выпускной патрубок 41 проходит от второго конца 36 в центральную область внешнего корпуса. Выпускное отверстие 40 для основного потока находится в конце выпускного патрубка 41. Этот выпускной патрубок 41 и выпускное отверстие 40 для основного потока, например, образуют вихреуловитель.
Из внешнего корпуса 30 предусмотрено выпускное отверстие 42 для сбора, используемое для сбора влаги и мусора. Однако вместо этого внешний корпус может сам по себе задавать камеру для сбора.
Грязь и вода не должны попадать обратно в циклон, после того, как они пройдут выпускное отверстие 42 для сбора. Вихреуловитель имеет форму, гарантирующую стабильный вихрь/циклон. Положение вихреуловителя относительно впускного отверстия для основного потока частично определяет эффективность отделения.
Фиг. 3 использована для показа первой проблемы, возникающей в данной конструкции.
Существует первичный вращательный поток 50 от впускного отверстия 38 для основного потока к выпускному отверстию 40 для основного потока, но также имеется вторичная схема 52 воздушного потока, которая способна переносить жидкость по направлению ко второму концу 36 (верхняя часть) и вдоль него. Это изображено в виде капель 54. Когда вода, направленная вверх, достигает второго конца 36, она может стекать по выпускному патрубку 41 и в конечном итоге отсасываться из выпускного отверстия 40 для основного потока, снижая эффективность отделения жидкости.
Фиг. 4 использована для показа второй проблемы, возникающей в данной конструкции.
Там, где впускной патрубок 39 для основного потока соединяется с отверстием во внешней стенке корпуса, может возникать образование крупных застаивающихся капель воды, как показано каплей 60. Когда они в конечном итоге вытесняются, они могут попасть в воздух в виде более мелкой взвеси, которая затем переносится к выпускному отверстию для основного воздушного потока, что снова приводит к снижению эффективности отделения воды.
На фиг. 5 показаны первый и второй конструкционные признаки, относящиеся к этим проблемам.
В соответствии с первым конструкционным признаком впускное отверстие 38 для основного потока отстоит внутрь ниже второго конца внешнего корпуса 30 на расстояние d1 отделения. Это расстояние отделения составляет более 0,1 эффективного гидравлического диаметра впускного отверстия, заданного выше.
Расстояние отделения может составлять более 0,3, например, более 0,5, например, более 0,9 эффективного гидравлического диаметра впускного отверстия. Оно предпочтительно также составляет менее 2 эффективных гидравлических диаметров впускного отверстия, во избежание значительного увеличения осевой длины циклонного блока.
Таким образом, расстояние может составлять от 0,1 до 2, более предпочтительно от 0,5 до 1,5 и наиболее предпочтительно от 0,9 до 1,1 эффективного гидравлического диаметра впускного отверстия.
На примере с фиг. 5 показан циклонный блок с цилиндрической боковой стенкой и плоской верхней стенкой, следовательно, плоской поверхностью 36. В таком случае расстояние d1 легко задать. Однако в случае неплоской поверхности 36 расстояние задать труднее. Задача расстояния состоит в том, чтобы предотвратить вторичный поток в направлении поверхности 36 (например, в направлении верхней части), в дополнение к спиральному потоку в направлении выпускного отверстия, вызывающему прилипание жидкости к внутренней части поверхности.
Таким образом, расстояние предпочтительно находится вблизи впускного отверстия 38 для основного потока, т.е. на радиально внешней части поверхности 36, где поверхность 36 соединяется с внешней боковой стенкой.
Конструкция такова, что существует по меньшей мере часть поверхности 36, которая расположена вдоль оси 22 на расстоянии d1, или превышающем d1, от верхней части впускного отверстия 38 для основного потока.
Таким образом, расстояние отделения находится между верхней частью впускного отверстия для основного потока и частью поверхности 36, т.е. нижней стороной второго конца. Таким образом, данное расстояние можно рассматривать как осевое расстояние между ближайшей (верхней) частью впускного отверстия и самой высокой частью циклонной камеры (если она имеет неплоский второй конец).
Для неплоского второго конца расстояние d1 предпочтительно находится в пределах 50%, или в пределах 40%, или в пределах 30%, или в пределах 20% внешнего радиуса поверхности 36 от оси 22. Таким образом, уступ предусмотрен на внешней боковой стенке или вблизи нее, и, следовательно, на впускном отверстии 38 для основного потока или вблизи него.
За счет смещения впускного отверстия основного потока от второго конца таким образом, что рассмотренный выше вторичный поток в направлении второго конца (т.е. в направлении верхней части) в меньшей степени способен вызывать прилипание жидкости к внутренней поверхности второго конца. Таким образом, данная конструкция уменьшает количество воды, которое улавливается в основном выходном потоке.
Впускное отверстие 38 для основного потока, например, отстоит внутрь ниже второго конца 36 на расстояние отделения от 5 мм до 50 мм. Необходимое расстояние является относительно небольшим, поэтому не требует значительного дополнительного пространства.
Впускной патрубок 39 для основного потока может проходить перпендикулярно оси циклона, т.е. горизонтально для вертикальной циклонной камеры.
Однако на фиг. 5 показан второй конструкционный признак, согласно которому впускной патрубок 39 для основного потока проходит в направлении, отклоненном от перпендикуляра к оси циклона, и обращен ко второму концу. Как показано, отклонение представляет собой угол θ.
За счет перемещения впускного отверстия для основного потока вниз, создается более легкий путь для вторичного потока. При направлении впускного патрубка для основного потока немного вверх, вторичному потоку создается противодействие за счет уменьшения разности давлений внутри и снаружи циклона в месте расположения второго конца. Это, в свою очередь, препятствует любым каплям, которые могли оказаться на втором конце, испытывать меньшую или направленную внутрь втягивающую силу.
Таким образом, первичный входной поток делается наклонным в направлении ко второму концу (т.е. к верхнему второму концу).
Впускной патрубок для потока может проходить в направлении, отклоненном на угол θ в диапазоне от 0 до 90 градусов, более предпочтительно от 0 до 30 градусов, более предпочтительно от 10 до 25 градусов от перпендикуляра к оси циклона. Оптимальный угол находится в диапазоне от 15 до 20 градусов.
На фиг. 6 показано сечение циклонного блока с такими конструкционными признаками.
Кроме того, на фиг. 6 показан третий конструкционный признак.
Впускной патрубок 39 для основного потока можно видеть с круглым поперечным сечением 70 с первой площадью поперечного сечения. Гидравлическая область отверстия 38, как определено выше, представляет собой большую вторую площадь поперечного сечения.
Таким образом, на переходе от впускного патрубка 39 для потока к циклонному блоку происходит увеличение площади потока. Это уменьшает скорость потока. Эта мера может быть разработана для предотвращения того, чтобы капли воды размером, подходящим для сбора, разбивались на более мелкие капли, которые могут легче стекать к выпускному отверстию.
Впускной патрубок для основного потока имеет постоянную площадь поперечного сечения до тех пор, пока он не достигает первого пересечения с внешним корпусом. С этой точки площадь поперечного сечения увеличивается, чтобы уменьшать скорость впуска воздуха. Процесс отделения требует определенной скорости потока, но когда скорость слишком высока, более крупные капли воды будут разбиты на капли, которые в большей степени способны перемещаться вместе с воздушным потоком. Увеличение площади непосредственно на входе в циклонную камеру предотвращает эту проблему.
Вторая площадь поперечного сечения, например, составляет по меньшей мере 1,1 первой площади поперечного сечения. Оно может быть по меньшей мере в 1,2 раза, например по меньшей мере в 1,3 раза, например по меньшей мере в 1,4 раза, больше первой площади поперечного сечения.
На фиг. 7 показан вид вдоль оси 22 циклона соединения между внешней боковой стенкой 32 и впускным патрубком для основного потока. На нем показано, что впускные патрубки для основного потока приближаются к отверстию 38 в тангенциальном направлении.
Четвертый конструкционный признак относится к границе раздела между внешней боковой стенкой 32 и впускным патрубком 39 для основного потока. Четвертый конструкционный признак заключается в том, что впускное отверстие должно плавно переходить в корпус. Плавная форма обеспечивает контролируемое поступление жидкости в объем циклона. Острая кромка на впускном отверстии имеет свойство приводить к накоплению более крупных капель, распадающихся на более мелкие капли, что в конечном итоге приводит к скоплению воды в выпускном патрубке 41 (т.е. вихреуловителе).
На фиг. 8 показан обычный переход между впускным патрубком 39 для основного потока и внешней боковой стенкой 32. Было обнаружено, что резкие кромки в области 80 вызывают скопление крупных капель.
На фиг. 9 показана модификация перехода между впускным патрубком 39 для основного потока и внешней боковой стенкой 32 в соответствии с этим четвертым признаком. В области 80 часть впускного отверстия, обращенная к первому концу (т.е. к нижней области), представляет собой область, в которой большая часть жидкости поступает в сепарационную систему. В этой области устанавливают минимальный радиус кривизны. Радиус кривизны может составлять по меньшей мере 0,5 мм, например по меньшей мере 1 мм, например по меньшей мере 2 мм, например по меньшей мере 3 мм.
Как правило, предпочтительны большие радиусы кромок. Радиус может быть по меньшей мере таким же большим, как длина капилляра (она же капиллярная постоянная), которая (для чистой воды) составляет около 3 мм. Таким образом, можно предположить, что применяемая в пылесосе жидкость является водой (с некоторыми загрязнителями и, возможно, чистящими средствами) и, следовательно, радиус кривизны может быть определен в абсолютных величинах. Однако рассматриваемый физический эффект заключается в образовании и рассеивании капель, и это зависит не только от формы поверхности, но и от характеристик жидкости. Длина капилляра является коэффициентом масштабирования длины, который соотносит гравитацию и поверхностное натяжение, и это определяет поведение менисков, основанное на равновесии между поверхностными силами и гравитацией.
В частности, длина капилляра представляет собой типичную шкалу размеров капель, ниже которой поверхностное натяжение будет стремиться удерживать капли от разрушения под действием внешних сил. Если стенка, по которой течет жидкость, имеет радиус кривизны, который больше, чем эта типичная шкала размеров капель, движение капель не будет существенно затруднено. Однако, если радиус кривизны меньше, жидкость должна выполнять значительный поворот, что приводит к ее замедлению или даже прижатию в зависимости от переднего угла контакта.
На фиг. 10 показан вид изнутри циклонной камеры, если смотреть через впускное отверстие 38 для основного потока во впускной патрубок 39 для основного потока. Представлена криволинейная часть в области 80.
На фиг. 11 показан внешний вид сбоку той же конструкции, что и на фиг. 10. На ней показан угол θ наклона.
На фиг. 12 показан вид сверху циклонного блока со снятой верхней секцией, чтобы показать переход между впускным патрубком 39 для основного потока и внешней боковой стенкой 32.
Как упомянуто выше, концы циклонного блока необязательно должны быть плоскими. На фиг. 13 показаны некоторые альтернативные типичные формы для поверхности 36, которая закрывает циклонный блок на впускном конце (в описании выше он называется вторым концом). В каждом случае по меньшей мере часть поверхности отстоит от впускного отверстия по меньшей мере на указанное выше расстояние.
На фиг. 13A показана плоская поверхность, как в приведенных выше примерах.
На фиг. 13В показана наклонная коническая поверхность. Самая внутренняя в радиальном направлении часть конической поверхности имеет расстояние, превышающее заданное минимальное расстояние. Таким образом, существует часть поверхности, которая имеет требуемое расстояние. Минимальное расстояние может быть достигнуто до самой внутренней в радиальном направлении части, например, оно может быть достигнуто даже на самых внешних в радиальном направлении 10%, или 20%, или 30% поверхности (как обсуждалось выше).
На фиг. 13B представлен возможный предел для наклона поверхности 36, при котором желаемый эффект может быть потерян, если наклон будет меньше (т.е. если второй конец будет более плоским). Минимальный угол наклона составляет, например, 15 градусов, например, 20 градусов, например, 30 градусов.
На фиг. 13С показана ступенчатая поверхность с начальным уступом к самой внешней в радиальном направлении плоской части, а затем к самой внутренней в радиальном направлении наклонной части. Снова имеется участок поверхности, который имеет требуемое расстояние. Это требуемое расстояние может возникать на начальном уступе (вблизи впускного отверстия для основного потока) или оно может возникать в положении вдоль наклонной части.
На фиг. 13D показана поверхность с начальным уступом и поднятой частью вблизи выпускного отверстия. Поднятая часть может не выполнять никакой функции в управлении потоком и, следовательно, может быть проигнорирована. В любом случае, снова имеется участок поверхности, который имеет требуемое расстояние, и этот участок находится на внешнем в радиальном направлении участке поверхности.
На фиг. 13E показана поверхность с начальным уступом и утопленной частью вблизи выпускного отверстия. Утопленная часть может не выполнять никакой функции в управлении потоком и, следовательно, может быть проигнорирована. В любом случае, снова имеется участок поверхности, который имеет требуемое расстояние, и этот участок находится на внешнем в радиальном направлении участке поверхности.
На фиг. 13F показана криволинейная поверхность. Она является достаточно крутой, чтобы возникло требуемое расстояние, достаточное для выхода наружу от оси 22.
Таким образом, существует много возможных форм поверхности, которые могут выполнять описанные выше функции при управлении общими характеристиками потока.
Как объяснялось выше, изобретение частично относится к криволинейной части перехода между впускным отверстием для основного потока и внешним корпусом.
Фиг. 14 используется для объяснения того, что имеется в виду. Впускное отверстие 38 для основного потока имеет определенную (3D) форму, например форму круга, врезанного в цилиндр внешнего корпуса 30, как показано. В любой точке вокруг этой формы существует локальная касательная 50. Локальная касательная является локальной, т.е. если часть формы может быть аппроксимирована как двумерная в двумерной плоскости. Одна такая касательная 50 показана в нижней части впускного отверстия для основного потока. Криволинейная часть находится в плоскости 52, перпендикулярной этой локальной касательной. Эта перпендикулярная плоскость 52, например, содержит общий вектор потока, представляющий основное направление потока.
Криволинейная часть 54 показана в нижней части фиг. 14 на переходе между впускным отверстием 38 для основного потока (т.е. концом впускного патрубка 39 для потока) и внешним корпусом 30.
Циклонный блок в основном применяется в пылесосе для влажной или для влажной и сухой уборки. Однако настоящее изобретение может быть в целом применено к любому циклонному блоку для отделения жидкости от потока.
Вариации в раскрытых вариантах реализации могут быть понятны специалистам в данной области техники и осуществлены ими при реализации заявленного изобретения из изучения чертежей, описания и прилагаемой формулы изобретения. В формуле изобретения слово «содержащий» не исключает наличия других элементов или этапов, а грамматические показатели единственного числа не исключают множества.
Тот факт, что определенные меры упоминаются во взаимно отличных зависимых пунктах формулы изобретения, не означает, что сочетание этих мер не может быть использовано с выгодой.
Если в формуле изобретения или описании использован термин "приспособлен для", то следует отметить, что этот термин является эквивалентом термина "выполнен с возможностью".
Никакие ссылочные обозначения в формуле изобретения не должны рассматриваться как ограничивающие ее объем.
| название | год | авторы | номер документа |
|---|---|---|---|
| ПЫЛЕСОС ДЛЯ ВЛАЖНОЙ УБОРКИ | 2021 |
|
RU2832876C1 |
| ПЫЛЕСОС | 2021 |
|
RU2832513C1 |
| УСТРОЙСТВО И СПОСОБ ВЛАЖНОЙ УБОРКИ | 2021 |
|
RU2840260C1 |
| ЧИСТЯЩЕЕ УСТРОЙСТВО | 2010 |
|
RU2530795C2 |
| УСТРОЙСТВО ДЛЯ ВЛАЖНОЙ УБОРКИ | 2021 |
|
RU2834221C1 |
| ЧИСТЯЩЕЕ УСТРОЙСТВО | 2010 |
|
RU2531263C2 |
| ПЫЛЕСОС СО СТАБИЛИЗАТОРОМ ВИХРЯ | 2008 |
|
RU2464924C2 |
| ОТДЕЛИТЕЛЬНОЕ УСТРОЙСТВО | 2010 |
|
RU2531897C2 |
| УСТРОЙСТВО ДЛЯ ВЛАЖНОЙ УБОРКИ | 2021 |
|
RU2834262C1 |
| ПЫЛЕСОС ЦИЛИНДРИЧЕСКОГО ТИПА | 2010 |
|
RU2557743C2 |
Циклонный блок предназначен для отделения жидкости и частиц от всасывающего потока. Циклонный блок (18) для отделения жидкости и частиц от потока, проходящего через циклонный блок, причем циклонный блок имеет ось (22) вращения циклона и содержит: внешний корпус (30), имеющий внешнюю боковую стенку (32), первый конец (34) и второй конец (36), расположенные вдоль оси (22) циклона; впускное отверстие (38) для основного потока к внешнему корпусу, содержащему отверстие во внешнем корпусе; выпускное отверстие (40) для основного потока из внешнего корпуса, находящееся ближе к первому концу, чем впускное отверстие для основного потока, причем переход между впускным отверстием для основного потока и внешним корпусом имеет по меньшей мере для части (80) отверстия на первой концевой стороне впускного отверстия для основного потока радиус кривизны, составляющий по меньшей мере 0,5 мм в плоскости, перпендикулярной локальной касательной к впускному отверстию для основного потока. Большой радиус кривизны предотвращает образование застаивающихся капель воды. 2 н. и 21 з.п. ф-лы, 14 ил.
1. Циклонный блок (18) для отделения жидкости и частиц от потока, проходящего через циклонный блок, причем циклонный блок имеет ось (22) вращения циклона и содержит:
внешний корпус (30), имеющий внешнюю боковую стенку (32), первый конец (34) и второй конец (36), расположенные вдоль оси (22) циклона;
впускное отверстие (38) для основного потока к внешнему корпусу, содержащему отверстие во внешнем корпусе;
выпускное отверстие (40) для основного потока из внешнего корпуса, находящееся ближе к первому концу, чем впускное отверстие для основного потока, причем переход между впускным отверстием для основного потока и внешним корпусом имеет по меньшей мере для части (80) отверстия на первой концевой стороне впускного отверстия для основного потока радиус кривизны, составляющий по меньшей мере 0,5 мм в плоскости, перпендикулярной локальной касательной к впускному отверстию для основного потока.
2. Циклонный блок по п. 1, в котором указанный радиус кривизны составляет по меньшей мере 1 мм.
3. Циклонный блок по п. 1, в котором указанный радиус кривизны составляет по меньшей мере 2 мм.
4. Циклонный блок по п. 1, в котором указанный радиус кривизны составляет по меньшей мере 3 мм.
5. Циклонный блок по любому из пп. 1-4, содержащий впускной патрубок (39) для основного потока, который соединяется с впускным отверстием для основного потока, причем впускной патрубок (39) для основного потока имеет первую площадь поперечного сечения, а площадь отверстия большая, чем первая площадь поперечного сечения, и является второй площадью поперечного сечения.
6. Циклонный блок по п. 5, в котором вторая площадь поперечного сечения составляет по меньшей мере 1,1 первой площади поперечного сечения.
7. Циклонный блок по п. 6, в котором вторая площадь поперечного сечения составляет по меньшей мере 1,2 первой площади поперечного сечения.
8. Циклонный блок по п. 6, в котором вторая площадь поперечного сечения составляет по меньшей мере 1,3 первой площади поперечного сечения.
9. Циклонный блок по п. 6, в котором вторая площадь поперечного сечения составляет по меньшей мере 1,4 первой площади поперечного сечения.
10. Циклонный блок по любому из пп. 1-9, в котором впускное отверстие (38) для основного потока к отверстию внешнего корпуса имеет гидравлический диаметр впускного отверстия и в котором впускное отверстие (38) для основного потока отстоит внутрь от второго конца (36) на расстояние (d1) отделения, составляющее по меньшей мере 0,1 гидравлического диаметра впускного отверстия.
11. Циклонный блок по п. 10, в котором впускное отверстие для основного потока отстоит внутрь от второго конца (36) на расстояние, составляющее от 0,1 до 2 гидравлического диаметра впускного отверстия.
12. Циклонный блок по п. 10, в котором впускное отверстие для основного потока отстоит внутрь от второго конца (36) на расстояние, составляющее от 0,5 до 1,5 гидравлического диаметра впускного отверстия.
13. Циклонный блок по п. 10, в котором впускное отверстие для основного потока отстоит внутрь от второго конца (36) на расстояние, составляющее от 0,9 до 1,1 гидравлического диаметра впускного отверстия.
14. Циклонный блок по любому из пп. 10-13, в котором впускное отверстие (38) для основного потока отстоит внутрь ниже второго конца на расстояние отделения от 5 мм до 50 мм.
15. Циклонный блок по любому из пп. 1-14, содержащий впускной патрубок (39) для основного потока, который соединяется с впускным отверстием для основного потока и который проходит перпендикулярно оси (22) циклона с тангенциальной составляющей и направленной внутрь радиальной составляющей.
16. Циклонный блок по любому из пп. 1-14, содержащий впускной патрубок (39) для основного потока, который соединяется с впускным отверстием для основного потока и который проходит в направлении, отклоненном от перпендикуляра к оси циклона и обращенном к второму концу.
17. Циклонный блок по п. 16, в котором впускной патрубок (39) для основного потока проходит в направлении, отклоненном от перпендикуляра к оси циклона на 0-90 градусов.
18. Циклонный блок по п. 16, в котором впускной патрубок (39) для основного потока проходит в направлении, отклоненном от перпендикуляра к оси циклона на 0-30 градусов.
19. Циклонный блок по п. 16, в котором впускной патрубок (39) для основного потока проходит в направлении, отклоненном от перпендикуляра к оси циклона на 10-25 градусов.
20. Циклонный блок по любому из пп. 1-19, содержащий выпускной патрубок (41), который проходит от второго конца (36) в центральную область внешнего корпуса, а выпускное отверстие для основного потока находится на конце выпускного патрубка (41).
21. Циклонный блок по любому из пп. 1-20, в котором выпускное отверстие (40) для основного потока проходит параллельно оси (22) циклона.
22. Циклонный блок по любому из пп. 1-21, в котором по меньшей мере часть внешнего корпуса является цилиндрической вокруг оси циклона.
23. Пылесос (10) для влажной уборки, содержащий:
впускное отверстие для грязи;
двигатель (14) и вентилятор (16) для создания всасывания во впускном отверстии для грязи; и циклонный блок по любому из пп. 1-22.
| US 2019307301 A1, 10.10.2019 | |||
| СПОСОБ ВОЗДЕЙСТВИЯ НА СРЕДСТВА ШИРОКОПОЛОСНОЙ РАДИОСВЯЗИ НА ОСНОВЕ ФОРМИРОВАНИЯ ПОСЛЕДОВАТЕЛЬНОСТИ СВЕРХКОРОТКИХ ЭЛЕКТРОМАГНИТНЫХ ИМПУЛЬСОВ | 2015 |
|
RU2581018C1 |
| US 3877902 A, 15.04.1975 | |||
| УСТРОЙСТВО ДЛЯ ОБРАБОТКИ ПОВЕРХНОСТИ | 2003 |
|
RU2414164C2 |
Авторы
Даты
2025-02-04—Публикация
2021-01-11—Подача