ОБЛАСТЬ ИЗОБРЕТЕНИЯ
Настоящее изобретение относится к устройствам для влажной уборки, а в частности к пылесосам для влажной уборки. Изобретение также относится к способу отделения частиц воды и/или грязи от воздушного потока.
УРОВЕНЬ ТЕХНИКИ
Традиционно очистка твердых полов включала первоначальную обработку пола пылесосом с его последующим мытьем. Обработка пылесосом удаляет мелкую пыль и крупную грязь, в то время как мытье удаляет любую очень мелкую пыль и пятна.
В настоящее время на рынке представлено множество коммерчески доступных бытовых приспособлений, которые предполагают обработку пылесосом и мытье за один прием, и это то, что называют «пылесосом для влажной уборки». Многие из этих приспособлений имеют вакуумную насадку для улавливания крупной грязи посредством воздушного потока и (влажную) ткань или щетку для удаления пятен. Эти влажные ткани или щетки могут быть предварительно смоченными или могут быть смочены пользователем, но в некоторых случаях они также могут смачиваться самим приспособлением (посредством жидкости, а также посредством пара).
В этом случае пылесос для влажной уборки должен быть способен собирать влажную грязь с пола и переносить ее в контейнер для грязи. Это достигается использованием потока, создаваемого двигателем и узлом вентилятора. Влажная грязь и жидкость в виде капель должны быть отделены от потока. Влажная грязь и жидкость попадают в контейнер для грязи, в то время как остальной воздушный поток проходит через вентилятор и любые устройства последующей фильтрации и выходит из приспособления.
Известно, что для отделения жидкости и влажной грязи от воздушного потока используют сепараторы лабиринтного, фильтрующего или циклонного типа.
Настоящее изобретение относится к сепараторным установкам, в которых смесь воздуха и жидкости/влажной грязи направляется через конструкцию, другими словами, элемент пути для потока, в котором происходит принудительное изменение направления, которое приводит к попаданию жидкости/влажной грязи на поверхность стенки конструкции. Таким образом, на стенках конструкции образуются капли и струи жидкости. При направлении смеси по геометрической форме, которая вынуждает ее менять направление, жидкость и твердое вещество будут распространяться в наружном направлении под действием центробежных сил. Однако, поскольку скорости воздуха могут быть выше во внешних областях конструкции, существует риск повторного смешивания отделенной воды/влажной грязи с воздухом, что не только ухудшает эффективность разделения, но и нарушает воздушный поток.
В US20160227973A раскрыт вертикальный пылесос с жидкостной фильтрацией, включающий в себя головку вакуумной насадки и корпус, соединенный с возможностью перемещения с головкой вакуумной насадки. Пылесос дополнительно включает в себя резервуар для жидкости, который включает в себя стенку, определяющую внутренний объем, и впускной канал резервуара, расположенный во внутреннем объеме. Внутренний объем выполнен с возможностью удержания жидкости. Впускной канал резервуара расположен таким образом, чтобы направлять мусор, поступающий из впускного прохода, в резервуар для жидкости таким образом, чтобы жидкость во внутреннем объеме резервуара для жидкости отфильтровывала мусор в жидкость так, чтобы выходил чистый воздух. Пылесос дополнительно включает в себя сепаратор, выполненный с возможностью создания воздушного потока. Пылесос выполнен так, чтобы происходила герметизация впускного канала, когда пылесос прекратил работу, а также выполнен так, чтобы происходила разгерметизация впускного канала, когда пылесос приведен в действие.
РАКРЫТИЕ СУЩНОСТИ ИЗОБРЕТЕНИЯ
Настоящее изобретение определено формулой изобретения.
В соответствии с примерами в соответствии с аспектом настоящего изобретения предлагается пылесос для влажной уборки, содержащий впускное отверстие для грязи, двигатель и вентилятор для обеспечения всасывания во впускном отверстии для грязи; сепараторный блок для отделения воды и/или частиц грязи от потока воздуха, создаваемого всасыванием; накопительный объем для сбора отделенной воды и/или частиц грязи, причем сепараторный блок содержит: элемент пути для потока, имеющий участок внутренней поверхности, причем элемент пути для потока выполнен с возможностью изменения направления потока воздуха таким образом, что вода и/или частицы грязи отбрасываются на участок внутренней поверхности и, таким образом, отделяются от воздуха; и выпускной элемент, проходящий от элемента пути для потока к отверстию, причем выпускной элемент выполнен с возможностью направлять отделенную воду и/или частицы грязи в направлении области в отверстии, из которого обеспечена возможность протекания отделенной воды и/или частиц грязи в направлении накопительного объема вдоль первого пути для потока, и накапливать отделенную воду и/или частицы грязи, когда устройство ориентировано для использования; и при этом устройство содержит воздушный канал для пропускания воздуха, отделенного от воды и/или частиц грязи, в направлении двигателя и вентилятора, причем воздушный канал расположен на расстоянии от выпускного элемента и накопительного объема, между указанным отверстием и воздушным каналом образован второй путь для потока, причем второй путь для потока направлен в сторону от первого пути для потока.
С помощью выпускного элемента, накапливающего отделенную воду и/или частицы грязи в направлении области в отверстии выпускного элемента, обеспечивается управляемый (первый) путь для потока воды и/или частиц грязи в направлении накопительного объема. Кроме того, путем формирования второго пути для потока отделенного воздуха из указанного отверстия в направлении воздушного канала таким образом, что второй путь для потока направлен в сторону от первого пути для потока, риск повторного захвата воды и/или частиц грязи в воздушном потоке может быть сведен к минимуму.
Направление и накопление отделенной воды и/или частиц грязи в указанную область может быть реализовано любым подходящим способом. В неограничивающем примере отверстие ограничено наклонной кромкой, которая наклонена так, что обеспечена возможность протекания отделенной воды и/или частиц грязи вокруг наклонной кромки в направлении указанной области или вдоль нее. В этом случае область может включать в себя или быть задана самой нижней точкой на наклонной кромке, к которой направляется вода и/или частицы грязи в выпускном элементе, когда устройство ориентировано для использования.
Наряду с наклонной кромкой, помогающей направлять отделенную воду и/или частицы грязи в направлении указанной области и накапливать отделенную воду и/или частицы грязи, наклонная кромка может дополнительно способствовать направлению потока отделенного воздуха в сторону от первого пути для потока, поскольку сопротивление потоку воздуха может быть выше на стороне выпускного элемента, в направлении которой вода и/или частицы грязи направляются наклонной кромкой.
В качестве альтернативы или дополнительно, выпускной элемент может содержать направляющий элемент для воды причем направляющий элемент для воды расположен на внутренней поверхности выпускного элемента или в ней и выполнен с возможностью направления отделенной воды и/или частиц грязи в направлении указанной области. Например, направляющий элемент для воды может содержать по меньшей мере одно из ребра, выступающего из внутренней поверхности выпускного элемента, и канавки во внутренней поверхности выпускного элемента.
В одном варианте реализации изобретения, проходное сечение выпускного элемента увеличивается в направлении отверстия. За счет увеличения площади поперечного сечения выпускного элемента в направлении отверстия, жидкость может подвергаться воздействию воздушного потока с более низкой скоростью и, таким образом, может быть с меньшей вероятностью повторно захвачена в воздушный поток.
Выпускной элемент может иметь первую сторону, противоположную второй стороне. Первая сторона может проходить в указанную область, причем второй путь для потока проходит от указанного отверстия на второй стороне в направлении воздушного канала. Таким образом, можно по существу предотвратить пересечение второго путь для потока с первым путем для потока. Напротив, второй путь для потока направлен в сторону от первого пути для потока.
В более общем случае, второй путь для потока отделенного воздуха от отверстия к воздушному каналу может быть по меньшей мере частично определен пространственным расположением воздушного канала относительно отверстия. Например, воздушный канал может быть расположен так, что от отверстия на второй стороне обеспечен более короткий путь для потока, чем на первой стороне.
В альтернативном или дополнительном варианте устройство для влажной уборки может содержать экранирующий элемент, который проходит от первой стороны и, таким образом, блокирует поток воздуха вдоль первой стороны в направлении воздушного канала. Таким образом, экранирующий элемент помогает образовать второй путь для потока вдоль второй стороны выпускного элемента и в направлении воздушного канала.
Выпускной элемент может содержать: первую наружную поверхность в отверстии, причем первая наружная поверхность по существу перпендикулярна направлению воздушного потока внутри выпускного элемента; и искривленную поверхность для направления отделенной воды и/или частиц грязи в выпускном элементе к первой наружной поверхности. Таким образом, капли могут направляться к первой наружной поверхности и могут течь вдоль первой наружной поверхности к указанной области.
Термин «по существу перпендикулярно» в этом контексте может означать, что наружная поверхность наклонена, например, на 90° ±10° к направлению воздушного потока внутри выпускного элемента.
В качестве альтернативы или дополнительно, первая наружная поверхность противостоит, например, граням, накопительному объему.
Выпускной элемент может дополнительно содержать вторую наружную поверхность, которая сходится с первой наружной поверхностью на кромке. Указанная кромка может способствовать удержанию капель на первой наружной поверхности, частично вследствие их смачивающих свойств, тем самым способствуя прохождению капель вдоль первой наружной поверхности в направлении указанной области.
Устройство для влажной уборки может содержать трубку для подачи воздушного потока в сепараторный блок. В одном наборе неограничивающих примеров имеется чашка, которая выполнена с возможностью приема конца трубки. В этом случае участок внутренней поверхности элемента пути для потока образован внутренней поверхностью чашки, которая расположена на расстоянии от конца трубки. Кроме того, выпускной элемент может быть образован частью чашки, расположенной дальше по потоку, которая содержит кромку чашки. Кромка чашки может быть, например, наклонена таким образом, чтобы образовывать наклонную кромку, которая ограничивает отверстие выпускного элемента.
В другом наборе примеров элемент пути для потока образован искривленным участком трубки, имеющим расположенный раньше по потоку конец и расположенный дальше по потоку конец, причем верхний по потоку конец примыкает к трубке. Элемент пути для потока примыкает к концу искривленного участка трубки, расположенного дальше по потоку.
В более общем случае, устройство для влажной уборки может содержать контейнер, объем которого включает в себя накопительный объем. Контейнер может дополнительно вмещать по меньшей мере часть сепараторного блока.
Например, устройство может дополнительно содержать перегородку. В таком примере накопительный объем ограничен стенками контейнера и перегородки, причем первый путь потока направлен за перегородку и в направлении накопительного объема.
Контейнер может быть частично ограничен торцевой стенкой, в которой предусмотрен воздушный канал, причем торцевая стенка расположена напротив накопительного объема через контейнер. Таким образом, воздушный канал может быть расположен на расстоянии от накопительного объема через контейнер.
Согласно другому аспекту предложен способ отделения воды и/или частиц грязи из потока воздуха с использованием элемента пути для потока, имеющего участок внутренней поверхности, выпускной элемент, проходящий от элемента пути для потока к отверстию, накопительный объем и воздушный канал, расположенный на расстоянии от выпускного элемента и накопительного объема, причем способ включает: создание потока воздуха, содержащего захваченную воду и/или частицы грязи; использование элемента пути для потока для изменения направления потока воздуха таким образом, что вода и/или частицы грязи отбрасываются на указанный участок внутренней поверхности и тем самым отделяются от воздуха; использование выпускного элемента для накопления и направления отделенной воды и/или частиц грязи в указанную область в отверстии, из которого обеспечена возможность протекания отделенной воды и/или частиц грязи в направлении накопительного объема вдоль первого пути для потока, причем воздух, отделенный от воды и/или частиц грязи, проходит в направлении воздушного канала вдоль второго пути для потока, который направлен в сторону от первого пути для потока.
КРАТКОЕ ОПИСАНИЕ ЧЕРТЕЖЕЙ
Примеры настоящего изобретения будут подробно описаны далее со ссылкой на сопроводительные чертежи, на которых:
на фиг. 1 схематически изображено устройство для влажной уборки в соответствии с примером;
на фиг. 2 представлен вид в перспективе сепараторного блока, включенного в устройство для влажной уборки, показанное на фиг. 1, с выносным элементом, который иллюстрирует увеличенный вид кромки выпускного элемента, включенного в сепараторный блок;
на фиг. 3 представлен вид в разрезе части устройства для влажной уборки, включающего в себя сепараторный блок, в соответствии с другим примером;
на фиг. 4 показан вид в перспективе части, показанной на фиг. 3;
на фиг. 5 представлен вид в разрезе части устройства для влажной уборки, включающего в себя сепаратор, в соответствии с еще одним примером;
на фиг. 6 представлен вид в разрезе части устройства для влажной уборки, включающего в себя сепаратор, в соответствии с еще одним примером;
на фиг. 7 показано устройство для влажной уборки в соответствии с еще одним примером;
на фиг. 8 представлен вид в разрезе сепараторного блока, включенного в устройство для влажной уборки, показанное на фиг. 7;
на фиг. 9 показан вид в разрезе части устройства для влажной уборки, включающего в себя сепаратор, в соответствии с еще одним примером;
на фиг. 10А показан вид в перспективе сепараторного блока в соответствии с еще одним примером;
на фиг. 10B показан вид в разрезе сепараторного блока, показанного на фиг. 10A; и
на фиг. 11 представлена блок-схема последовательности операций способа в соответствии с одним примером.
ОСУЩЕСТВЛЕНИЕ ИЗОБРЕТЕНИЯ
Настоящее изобретение будет описано со ссылкой на чертежи.
Следует понимать, что хотя подробное описание и конкретные примеры представляют примеры вариантов осуществления устройств, систем и способов, они предназначены исключительно для целей иллюстрации и не предназначены для ограничения объема настоящего изобретения. Эти и другие признаки, аспекты и преимущества устройств, систем и способов согласно настоящему изобретению станут более понятными из нижеследующего описания, прилагаемой формулы изобретения и сопроводительных чертежей. Следует понимать, что фигуры являются лишь схематическими и изображены без соблюдения масштаба. Кроме того, следует понимать, что одинаковые номера позиций использованы на всех фигурах для обозначения одинаковых или аналогичных деталей.
Предложено устройство для влажной уборки, такое как пылесос для влажной уборки, в котором используется сепараторный блок для отделения жидкости и частиц от потока воздуха, например, всасывающего потока. Сепараторный блок содержит элемент пути для потока и выпускной элемент, который примыкает или по существу примыкает к элементу пути для потока и проходит от элемента пути для потока. Элемент пути для потока изменяет направление потока воздуха таким образом, что любая вода и/или частицы грязи, захваченные воздухом, отбрасываются на участок внутренней поверхности элемента пути для потока. Таким образом, такая вода и/или частицы грязи отделяются от потока воздуха. Выпускной элемент имеет отверстие, к которому направляется отделенная вода и/или частицы грязи. Когда устройство ориентировано для использования, выпускной элемент выполнен с возможностью направлять и накапливать отделенную воду и/или частицы грязи в направлении области в отверстии. Отделенная вода и/или частицы грязи текут из указанной области в направлении накопительного объема вдоль первого пути для потока. Воздух, отделенный от воды и/или частиц грязи, направляется к воздушному каналу, который расположен на расстоянии от выпускного элемента и накопительного объема. Между отверстием выпускного элемента и воздушным каналом предусмотрен второй путь потока для отделенного воздуха, причем второй путь потока направлен в сторону от первого пути для потока. Это помогает свести к минимуму или предотвратить повторное проникновение воды и/или частиц грязи в поток воздуха. Кроме того, предложен способ отделения воды и/или частиц грязи от потока воздуха.
Таким образом, настоящее изобретение может, например, обеспечить решение, которое позволяет сконцентрировать жидкость, отделенную от воздуха, и направить ее в направлении накопительного объема, в то время как сухой или более сухой воздух перемещается в направлении воздушного канала. Воздушный канал может, например, образовывать выход сепараторного блока.
Настоящее изобретение относится, в частности, к конструкции сепараторного блока устройства для влажной уборки, такого как пылесос для влажной уборки. Перед подробным описанием примеров выполнения сепараторного блока будет приведен пример общей конфигурации пылесоса для влажной уборки. Тем не менее, следует понимать, что пылесос для влажной уборки описан только с целью иллюстрации, и сепараторный блок может быть использован в устройствах для влажной уборки в более общем смысле.
Потоки газа и жидкости из сепараторного блока , таким образом, могут быть разделены на соответствующие нисходящие пути с меньшим риском того, что поток газа с относительно высокой скоростью будет мешать отделенному потоку жидкости.
Сепараторный блок выполнен таким образом, что воздушный поток внутри выпускного элемента и жидкость, протекающая по его внутренней поверхности, не оказывают значительного влияния друг на друга. Это может быть достигнуто путем перемещения этих потоков в отдельных направлениях относительно друг друга. Однако может возникнуть некоторое взаимное влияние, когда, например, жидкость цепляется за край отверстия, в то время как воздух течет вокруг него. Соответственно, поток воздуха и поток жидкости могут «слегка пересекаться» друг с другом. Таким образом, пересечение воздушного потока и потока жидкости может быть только «по существу предотвращено» . Чтобы предотвратить возвращение капель в первичный воздушный поток, выпускной элемент может быть выполнен таким образом, чтобы скорости воздуха были достаточно низкими.
На фиг. 1 показан пылесос 10 для влажной уборки, содержащий впускное отверстие 11 для грязи, через которое вода и/или частицы грязи, например влажные частицы грязи и воздух, всасываются в пылесос 10 для влажной уборки. Как показано на фиг. 1, впускное отверстие 11 для грязи может быть предусмотрено в насадке 12 для пылесоса.
Пылесос 10 для влажной уборки содержит двигатель 14 и вентилятор 16 для обеспечения всасывания во впускном отверстии 11 для грязи. В примере, показанном на фиг. 1, двигатель 14 и вентилятор 16 обеспечивают всасывание во впускном отверстии 11 для грязи, предусмотренном в насадке 12 для пылесоса.
Сепараторный блок 18 предусмотрен для отделения жидкости и частиц от потока, создаваемого всасыванием, создаваемым двигателем 14 и вентилятором 16.
Двигатель 14, например, содержит байпасный двигатель 14. Этот тип двигателя 14 может допускать содержание воды в воздушном потоке, поскольку втягиваемый воздушный поток не используется для охлаждения двигателя и изолирован от деталей двигателя. Вместо этого в двигатель 14 для охлаждения всасывается окружающий воздух.
Сепараторный блок 18 можно рассматривать как часть системы управления работой с влажной грязью, которая может включать в себя дополнительные фильтры. Система управления работой с грязью имеет контейнер 19 для сбора отделенной влаги и грязи. Она может представлять собой неотъемлемую часть сепараторного блока 18 или может представлять собой отдельный резервуар для сбора отработанной воды, к которому подключается сепараторный блок 18. Например, как показано, между выпускным потоком сепараторного блока 18 и двигателем 14 и вентилятором 16 может быть предусмотрен выпускной фильтр 20.
Воздушный канал 22 пропускает воздух, отделенный от воды и/или частиц грязи, в направлении двигателя 14 и вентилятора 16.
Вода и/или частицы грязи поступают в накопительный объем 28. Накопительный объем 28 может быть, например, расположен ниже сепараторного блока 18 (когда пылесос 10 для влажной уборки находится в вертикальном положении), так что вода собирается под действием силы тяжести.
Воздушный канал 22 пространственно удален от накопительного объема 28 и частей сепараторного блока 18, которые переносят отделенную воду и/или частицы грязи в направлении накопительного объема 28. Как показано на фиг. 1, отверстие в контейнера 19 может по меньшей мере частично образовывать воздушный канал 22. Отверстие может быть расположено, например, в верхней части контейнера 19, в то время как накопительный объем 28 предусмотрен в нижней части контейнера 19 (когда пылесос 10 для влажной уборки находится в вертикальном положении). Такое расположение может способствовать минимизации риска того, что вода и/или частицы грязи будут вновь смешаны с воздухом и переданы дальше по потоку в направлении двигателя 14 и вентилятора 16.
На конце, противоположном насадке 12 для пылесоса, расположена ручка 30.
Показанный пылесос 10 представляет собой вертикальный стержневой пылесос, в котором при использовании насадка 12 для пылесоса контактирует только с обрабатываемой поверхностью. Конечно, оно может быть прямостоящим пылесосом или контейнерным пылесосом. Настоящее описание касается конструктивных признаков сепараторного блока 18 и может быть применено к любому устройству 10 для влажной уборки и к любому пылесосу 10 для влажной уборки.
Пользователю может потребоваться подавать воду на очищаемую поверхность независимо от пылесоса 10. Однако система управления работой с влажной грязью может вместо этого также включать в себя резервуар для чистой воды (не виден) для подачи воды к насадке 12 для пылесоса.
Насадка 12 для пылесоса может иметь, например, вращательную щетку (не видна), на которую вода подается из резервуара для чистой воды, и, следовательно, может также иметь впускное отверстие для приема воды из резервуара для чистой воды. Насадка 12 для пылесоса специально предназначена для сбора влажной грязи и, при необходимости, для смачивания пола.
Пунктирной линией 32 схематически представлен поток воздуха, проходящий через пылесос 10 для влажной уборки. Трубка 34 может переносить воздух из впускного отверстия 11 для грязи в сепараторный блок 18.
Сепараторный блок 18 содержит элемент 36 пути для потока, который изменяет направление потока 32 через пылесос 10 для влажной уборки. Это изменение направления потока приводит к тому, что вода и/или частицы грязи, захваченные воздухом, отбрасываются на участок внутренней поверхности элемента 36 пути для потока. Таким образом, вода и/или частицы грязи отделяются от воздуха.
Принципиальное различие между водой и воздухом заключается в том, что вода имеет тенденцию прилипать ко многим типам твердых материалов, а также к самой себе, в то время как большинство газов нет. Этот принцип удобно применять, например, для отделения воды от воздуха. Простое пропускание водовоздушной смеси через трубку 34 может привести к образованию капель и струек жидкости на стенках трубки 34. Но при направлении смеси по геометрической форме, которая также вынуждает ее менять направление, (например, на изгибе или в циклоне), жидкости (а также твердые частицы) будут стремиться наружу под действием центробежных сил. При этом жидкость будет прилипать и течь вдоль стенки, на которую направлена жидкость, в то время как сухой или более сухой воздух будет поступать в основной объем.
В примере, показанном на фиг. 1 и 2, элемент 36 пути для потока образован искривленной секцией трубки. Расположенный раньше по потоку конец искривленной секции 36 трубки примыкает к трубке 34, например, непосредственно соединен с ней.
Искривленная секция 36 трубки имеет U-образную форму в примере, показанном на фиг. 1 и 2 (и на фиг. 3-6), так что секция 36 трубки вызывает изменение направления потока на 180°. Это может способствовать эффективному отделению воды и/или частиц грязи из воздуха, хотя может быть рассмотрен любой подходящий угла изменения направления потока при условии, что изменение направления потока влияет на необходимое отделение частиц воды и/или грязи из воздуха.
Кроме того, элемент пути для потока может иметь любую подходящую конструкцию при условии, что изменение направления потока приводит к тому, что вода и/или частицы грязи отделяются от потока воздуха. В этом отношении другая конструкция элемента пути для потока будет описана ниже со ссылкой на фиг. 7-10B.
Сепараторный блок 18 дополнительно содержит выпускной элемент 38, который примыкает, например, непосредственно соединен с элементом 36 пути для потока. Выпускной элемент 38 проходит от элемента 36 пути для потока и оканчивается в отверстии, ограниченном кромкой 40 выпускного элемента 38.
Выпускной элемент 38 примыкает к элементу 36 пути для потока в положении 42. Выпускной элемент 38 может быть, например, соединен с элементом 36 пути для потока, например, с использованием крепежных средств и/или подходящего адгезива. В альтернативном варианте выпускной элемент 38 и элемент 36 пути для потока могут быть выполнены за одно целое. Например, элемент 36 пути для потока и выпускной элемент 38 могут быть выполнены за одно целое в виде одного формованного элемента, например, формованного под давлением.
В более общем смысле, сепараторный блок 18 может быть выполнен из любого подходящего материала, такого как полимер, например, полипропилен.
Отделенная вода и/или частицы грязи направляются выпускным элементом 38 в направлении отверстия выпускного элемента 38. Выпускной элемент 38 может быть выполнен таким образом, что напор воздуха и сила тяжести способствуют направлению воды и/или частиц грязи к отверстию. Кроме того, выпускной элемент 38 выполнен с возможностью направления отделенной воды и/или частиц грязи из отверстия в направлении накопительного объема 28 вдоль первого пути 39 для потока, когда устройство 10 ориентировано для использования. Таким образом, выпускной элемент 38 может быть альтернативно назван «конструкцией, направляющей жидкость».
Такое направление и накопление отделенной воды и/или частиц грязи выпускным элементом может быть реализовано любым подходящим способом. В неограничивающем примере, показанном на фиг. 1, отверстие выпускного элемента 38 ограничено наклонной кромкой 40. Наклонная кромка 40 наклонена так, что обеспечена возможность протекания отделенной вода и/или частиц грязи вдоль наклонной кромки 40 в область, например, точку на наклонной кромке 40, от которой первый путь 39 для потока проходит в направлении накопительного объема 28. Как показано на фиг. 1, сила тяжести вместе с напором воздуха может способствовать течению отделенной воды и/или частиц грязи по первому пути 39 для потока от указанной области, например, точки, на наклонной кромке 40.
Наклонная кромка 40 выпускного элемента 38 может дополнительно способствовать направлению потока отделенного воздуха в сторону от первого пути 39 для потока. Это связано с тем, что сопротивление воздушного потока может быть выше на стороне выпускного элемента 38, к которому наклонная кромка 40 направляет воду и/или частицы грязи.
В качестве альтернативы или дополнительно, выпускной элемент 38 может содержать направляющий элемент для воды (не виден). Направляющий элемент для воды может быть расположен на поверхности выпускного элемента 38 или в ней и выполнен с возможностью направления отделенной воды и/или частиц грязи к отверстию и в направлении накопительного объема 28 из указанного отверстия вдоль первого пути 39 для потока.
Например, такой направляющий элемент для воды может содержать по меньшей мере одно из ребра, выступающего из внутренней поверхности выпускного элемента 38, и канавки во внутренней поверхности выпускного элемента 38. Вода и/или частицы грязи могут, например, направляться ребром(-ами) и/или канавкой(-ами) в область, например в точку, в отверстии, из которого первый путь 39 для потока проходит в направлении накопительного объема 28.
Как показано на фиг. 1, между отверстием выпускного элемента 38 и воздушным каналом 22 предусмотрен второй путь 32A для потока, который включен в путь 32 для воздушного потока. Первый путь 39 для потока направлен в сторону от второго пути 32А для потока и, таким образом, по существу не пересекается со вторым путем 32А для потока, что способствует минимизации или предотвращению повторного захвата воды и/или частиц грязи в поток воздуха.
На фиг. 2 более подробно изображен элемент 36 пути для потока и выпускной элемент 38 сепараторного блока 18, изображенного на фиг. 1. Как показано на фиг. 2, вода и/или частицы 44 грязи, захваченные воздухом, протекающим через трубку 34, направляются на участок 36A внутренней поверхности элемента 36 пути для потока в результате изменения направления потока. Это может вызывать собирание воды и/или частиц грязи в более крупные капли 46 на участке 36A внутренней поверхности, тем самым способствуя отделению от воздуха.
В примере, показанном на фиг. 2, участок 136А внутренней поверхности образован наружной поверхностью искривленной секции 36 трубки. Изменение направления, вызываемое искривленной секцией 36 трубки, приводит к тому, что вода и/или частицы грязи отбрасываются центробежными силами на наружную поверхность 36A искривленной секции 36 трубки. Еще один участок 36B внутренней поверхности образован внутренней поверхностью искривленной секции 36 трубки.
В более общем плане, из-за неспособности воздуха следовать резкому изменению направления, ограничение потока, например, изгиб, на котором происходит очищение воздуха, может создавать «турбулентный след», соответствующий области воздушного потока с более низкой скоростью. Такой изгиб может быть предусмотрен, например, в положении 42, в котором участок 36А внутренней поверхности сходится с внутренней поверхностью 38А выпускного элемента 38. Угол такого изгиба может быть, например, больше 7°. Такой угол позволяет обеспечить эффективное очищение воздуха от жидкости и/или частиц грязи.
Как показано на фиг. 2, наклонная кромка 40 вызывает дальнейшее накопление воды и/или частиц грязи в каплях 48, когда они направляются вдоль наклонной кромки 40 в направлении от первой области 51, другими словами, «самой верхней точки» 51 на наклонной кромке 40, когда устройство 10 ориентировано для использования, в направлении второй области 52. Область 52 может в качестве альтернативы называться «самой нижней точкой» 52 на наклонной кромке 40, когда устройство 10 ориентировано для использования.
Капли 48 отделенной воды и/или частицы грязи текут вдоль наклонной кромки 40 к накопительному объему 28. Таким образом, наклонная кромка 40 может иметь наклон в направлении накопительного объема 28. Отделенная вода и/или частицы грязи текут вдоль наклонной кромки 40 к самой нижней точке 52 на наклонной кромке 40. Первый канал 39 для потока может проходить к накопительному объему 28 от самой нижней точки 52.
Сила тяжести, а также напор воздуха могут способствовать течению капель 48 вдоль наклонной кромки 40 к самой нижней точке 52 на кромке 40. Кроме того, сила тяжести может способствовать течению отделенной воды и/или частиц грязи по первому пути 39 для потока от самой нижней точки 52 в направлении накопительного объема 28.
Выпускной элемент 38 имеет внутреннюю поверхность 38A, которая проходит от участка 36A внутренней поверхности элемента 36 пути для потока. Как лучше всего показано на выносном элементе по фиг. 2, выпускной элемент 38 дополнительно содержит первую наружную поверхность 38B, которая находится напротив накопительного объема 28, и искривленную поверхность 38C между внутренней поверхностью 38A и первой наружной поверхностью 38B. Отделенная вода и/или частицы грязи направляются искривленной поверхностью 38C от внутренней поверхности 38А к первой наружной поверхности 38B. Таким образом, капли 48 могут направляться к первой наружной поверхности 38B, и в случае наклонной кромки 40 в этом неограничивающем примере капли 48 могут течь вдоль первой наружной поверхности 38B к самой нижней точке 52.
Как также показано на выносном элементе по фиг. 2, выпускной элемент 38 дополнительно содержит вторую наружную поверхность 38D. Первая наружная поверхность 38B сходится со второй наружной поверхностью 38D на образованной кромке или изгибе 38E. Эта кромка 38E способствует удержанию капель 48 на первой наружной поверхности 38B, частично вследствие их смачивающих свойств, тем самым способствуя прохождению капель 48 вдоль первой наружной поверхности 38B к самой нижней точке 52 наклонной кромки 40.
Таким образом, в отверстии жидкость может накапливаться на первой внешней поверхности 38B. Опять же, под действием воздуха и силы тяжести, накопленная жидкость следует контуру наклонной кромки 40 в направлении одной фокусной области или точки, другими словами, самой нижней точки 52. Отсюда жидкость, которая ранее была распределена на участке 36A внутренней поверхности элемента 36 пути для потока и внутренней поверхности 38A выпускного элемента 38, теперь может быть накоплена и может быть направлена к накопительному объему 28 вдоль первого пути 39 для потока контролируемым образом.
В одном варианте реализации изобретения, проходное сечение выпускного элемента 38 увеличивается в направлении к отверстию. Другими словами, площадь поперечного сечения внутренней части выпускного элемента 38 может увеличиваться в направлении к отверстию. Это может способствовать отделению капель 48 от воздушного потока, поскольку скорость воздуха через выпускной элемент 38 соответственно уменьшается. Другими словами, за счет увеличения площади поперечного сечения выпускного элемента 38 в направлении к отверстию, жидкость может подвергаться воздействию воздушного потока с более низкой скоростью и, таким образом, может быть с меньшей вероятностью повторно захвачена в воздушный поток.
В неограничивающем примере, показанном на фиг. 1 и 2, выпускной элемент 38 содержит коническую часть, например, асимметричную коническую часть. Таким образом, проходное сечение выпускного элемента 38 расширяется в направлении к отверстию. Тем не менее, следует отметить, что также могут быть предусмотрены другие формы поперечного сечения расширяющегося выпускного элемента 38, такие как квадратная, прямоугольная, треугольная и т.д. Коническая часть 38 примыкает к концу искривленной секции 36 трубки, расположенному дальше по потоку, например непосредственно соединена с ним.
Как показано на фиг. 2, коническая часть обрезана в отверстии, с образованием наклонной кромки 40. Наклонная кромка 40 в сочетании с расширяющимся проходным сечением выпускного элемента 38 может обеспечивать особенно подходящую компоновку для направления водяных капель 48 к указанному отверстию и далее по первому пути 39 для потока в направлении накопительного объема 28 с уменьшенным риском повторного захвата в воздушный поток.
На фиг. 3 показан вид в разрезе сепараторного блока 18. На фиг. 4 показан вид в перспективе части, показанной на фиг. 3. В данном примере выпускной элемент 38 образован асимметричной конической частью. Наклонная кромка 40 образована сечением конической части плоскостью 50.
В одном варианте реализации изобретения, второй путь 32А для потока воздуха от отверстия выпускного элемента 38 к воздушному каналу 22 может быть определен пространственным расположением выпускного элемента 38 и, в частности, указанного отверстия относительно воздушного канала 22.
Как показано на фиг. 3 и 4, выпускной элемент 38 имеет первую сторону 53A и вторую сторону 53B. В этом конкретном примере первая сторона 53A противоположна второй стороне 53B. Выпускной элемент 38 расположен таким образом, что когда устройство 10 ориентировано для использования, отделенная вода и/или частицы грязи накапливаются и направляются к первой стороне 53А. Как лучше всего показано на фиг. 3, первая сторона 53А оканчивается в самой нижней точке 52 выпускного элемента 38, от которой проходит первый путь 39 для потока.
Воздушный канал 22 расположен вблизи второй стороны 53B и вдали относительно первой стороны 53A. Эта геометрия может приводить к тому, что второй путь 32А для потока будет направлен в сторону от первой стороны 53А в направлении воздушного канала 22. Таким образом, второй путь 32А для потока направлен в сторону от первого пути 39 для потока и по существу не пересекается с ним.
В примере, показанном на фиг. 3 и 4, объем контейнера 19 включает в себя накопительный объем 28, а также вмещает в себя часть сепараторного блока 18. Кроме того, устройство 10 также содержит перегородку 54. Объем 28 для сбора ограничен стенками контейнера 19 и перегородки 54.
В этом конкретном примере первый путь 39 для потока направлен за перегородку 54 и к накопительному объему 28. Иными словами, первый путь 39 потока направлен к зазору 55 между перегородкой 54 и стенками контейнера 19.
Самая нижняя точка 52 наклонной кромки 40 может быть выровнена с зазором 55 таким образом, что вода и/или капли 48 грязи, накапливающиеся в направлении самой нижней точки 52, направляются через зазор 55 в накопительный объем 28.
В примере, изображенном на фиг. 3 и 4, стенка контейнера 19 ближе к первой стороне 53A, чем ко второй стороне 53B выпускного элемента 38, так что между первой стороной 53A и воздушным каналом 22 обеспечивается большее сопротивление воздушному потоку, чем между второй стороной 53B и воздушным каналом 22. Таким образом, воздушный поток предпочтительно вытягивается из отверстия выпускного элемента 38 в направлении воздушного канала 22 вдоль второго пути 32A для потока.
Следует подчеркнуть, что второй путь 32А для потока может быть задан любым подходящим способом. В варианте осуществления экранирующий элемент 56 выполнен с возможностью блокирования воздушного потока от первой стороны 53A выпускного элемента 38 (к которой направляется вода и/или частицы грязи) в воздушный канал 22. В этом случае второй канал 32A для потока предусмотрен между второй стороной 53B выпускного элемента 38 и воздушным каналом 22.
В неограничивающем примере, показанном на фиг. 5, такой экранирующий элемент 56 проходит от выпускного элемента 38 к боковой стенке контейнера 19. В частности, экранирующий элемент 56 проходит от первой стороны 53А выпускного элемента 38 к боковой стенке контейнера 19. Таким образом, сопротивление воздушному потоку, вызванному экранирующим элементом 56, может способствовать образованию второго пути 32A для потока между второй стороной 53B и воздушным каналом 22.
Как показано на фиг. 5, первый путь 39 для потока от первой стороны 53А выпускного элемента 38 к накопительному объему 28 направлен в сторону от второго пути 32А для потока от второй стороны 53B выпускного элемента 38 к воздушному каналу 22 и по существу не пересекается с ним.
На фиг. 6 показан еще один приведенный в качестве примера сепараторный блок 18. В этом примере, экранирующий элемент 56 проходит от выпускного элемента 38 до торцевой стенки (не видна) контейнера 19, другими словами, верхней торцевой стенки контейнера 19, когда устройство 10 ориентировано для использования. Аналогично примеру, показанному на фиг. 5, экранирующий элемент 56 блокирует путь воздушного потока от первой стороны 53A выпускного элемента 38 (к которой направляется вода и/или частицы грязи) к воздушному каналу 22. Второй путь 32А для потока соответственно образован между второй стороной 53B выпускного элемента 38 и воздушным каналом 22. Таким образом, первый путь 39 потока от первой стороны 53А выпускного элемента 38 к накопительному объему 28 направлен в сторону от второго пути 32А для потока от второй стороны 53B выпускного элемента 38 к воздушному каналу 22 и по существу не пересекается с ним.
Как показано на фиг. 6, капли 48 направляются к самой нижней точке 52 наклонной кромки 40, как описано ранее. Это обозначено на фиг. 6 стрелкой 57.
Угол θ образован между направлением воздушного потока внутри выпускного элемента 38 и направлением, в котором отделенная вода и/или частицы грязи транспортируются к самой нижней точке 52 наклонной кромки 40. Этот угол θ больше 0° и меньше или равен 90°, например от 20° до 75°, например около 45°.
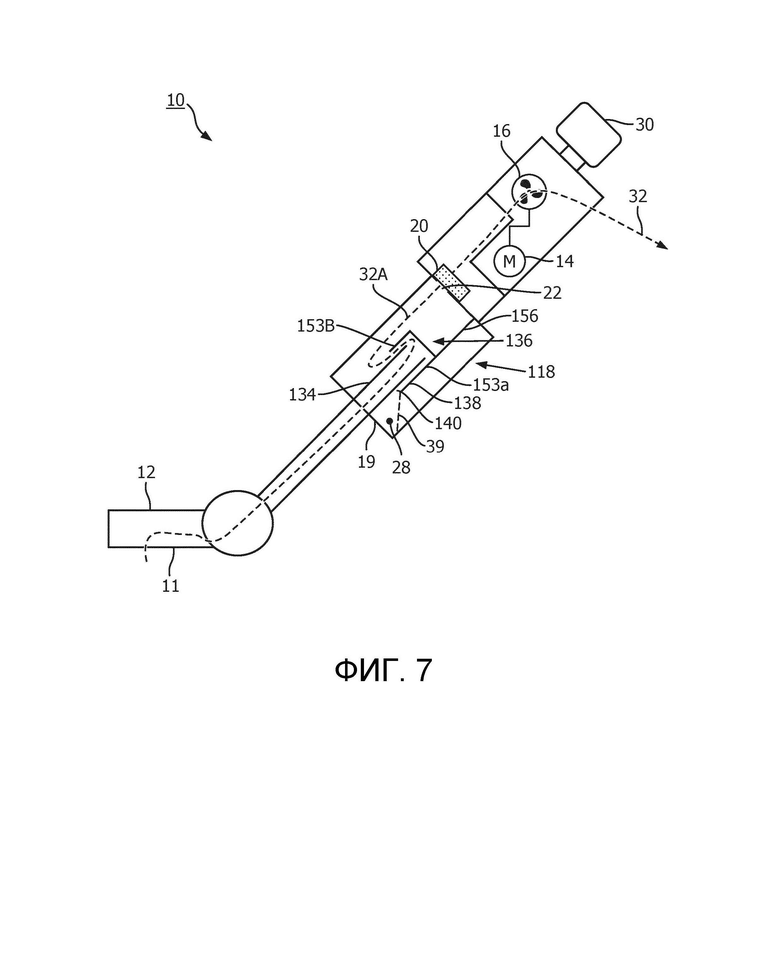
На фиг. 7 показан пылесос 10 для влажной уборки в соответствии с еще одним примером. Аналогичным образом, в примерах, изображенных на фиг. 1-6, трубка 134 переносит воздух из впускного отверстия 11 для грязи в сепараторный блок 118. Но в данном примере чашка принимает конец трубки 134, а первый участок 136A внутренней поверхности элемента 136 пути для потока образован внутренней поверхностью чашки. Чашка расположена на расстоянии от конца трубки 134, чтобы тем самым обеспечить прохождение воздуха между концом трубки 134 и чашкой в направлении воздушного канала 22.
Чашка вызывает изменение направления потока 32 аналогично U-образной секции 36 трубки, описанной выше со ссылкой на фиг. 1-6. Это может привести к тому, что вода и/или частицы грязи будут отбрасываться на внутреннюю поверхность 136A чашки и тем самым отделяться от потока воздуха.
В данном примере выпускной элемент 138 образован частью чашки, расположенной дальше по потоку. Эта часть 138, расположенная дальше по потоку, примыкает, например, непосредственно соединена с частью чашки, расположенной раньше по потоку, которая реализует изменение направления потока. Таким образом, элемент 136 пути для потока и выпускной элемент 138 могут быть, например, выполнены за одно целое.
Как описано выше в связи с фиг. 1-6, за счет силы тяжести и напора воздуха отделенная вода и/или частицы грязи направляются выпускным элементом 138 в направлении к отверстию выпускного элемента 138. Расположение выпускного элемента 138 также таково, что отделенная вода и/или частицы грязи направляются от отверстия в направлении накопительного объема 28 вдоль первого пути 39 для потока, когда устройство 10 ориентировано для использования, как описано ранее.
Такое направление отделенной воды и/или частиц грязи вдоль первого пути 39 для потока может быть реализовано любым подходящим способом. В неограничивающем примере, показанном на фиг. 7, расположенная дальше по потоку часть 138 чашки содержит кромку 140 чашки или состоит из кромки 140 чашки. Кромка 140 чашки наклонена так, что обеспечена возможность протекания отделенной вода и/или частиц грязи вдоль наклонной кромки 140 в область, например, точку на наклонной кромке 140, от которой первый путь 39 для потока проходит в направлении накопительного объема 28.
В примере, показанном на фиг. 7, выпускной элемент 138 имеет первую сторону 153A и вторую сторону 153B, и в этом примере первая сторона 153A противоположна второй стороне 153B. Когда устройство 10 ориентировано для использования, выпускной элемент 138 расположен таким образом, что отделенная вода и/или частицы грязи накапливаются и направляются в направлении первой стороны 153A. Первая сторона 153А оканчивается в самой нижней точке выпускного элемента 138, от которой проходит первый путь 39 для потока.
Экранирующий элемент 156 обеспечивает барьер для воздушного потока для ограничения воздушного потока от первой стороны 153A к воздушному каналу 22. Данное расположение может приводить к тому, что второй путь 32А для потока будет направлен от первой стороны 153А в направлении воздушного канала 22. Таким образом, второй путь 32А для потока направлен в сторону от первого пути 39 для потока и по существу не пересекается с ним.
На фиг. 8 представлен вид в разрезе сепараторного блока 118, включенного в пылесос 10 для влажной уборки, показанный на фиг. 7. Чашка имеет цилиндрическую боковую стенку 137A, проходящую от основания 137B. Боковая стенка 137A проходит перпендикулярно плоскости основания 137b. Эта геометрия приводит к изменению направления потока 32 на 180°, что может способствовать эффективному отделению воды и/или частиц грязи из воздуха. Тем не менее, следует отметить, что может быть рассмотрен любой подходящий угол изменения направления потока, например, за счет боковой стенки 137A, проходящей не перпендикулярно от основания 137B, при условии, что изменение направления потока приводит к необходимому отделению воды и/или частиц грязи из воздуха. Пример этого будет описан в настоящем документе ниже со ссылкой на фиг. 9.
В неограничивающем примере боковая стенка 137A проходит перпендикулярно от плоскости основания 137B, и выпускной элемент 138 может быть образован расширяющейся частью чашки, которая примыкает к боковой стенке 137A. Таким образом, изменение направления потока может составлять 180°, но расширяющаяся часть может помочь избежать повторного захвата жидкости/грязи, как описано ранее.
Сила тяжести, а также напор воздуха могут способствовать течению капель 48 вдоль наклонной кромки 140 в направлении в сторону от самой верхней точки 151 кромки 140 к самой нижней точке 152 кромки 140. Кроме того, сила тяжести может способствовать протеканию отделенной воды и/или частиц грязи по первому пути 39 для потока от самой нижней точки 152 в направлении накопительного объема 28, как описано ранее.
Выпускной элемент 138 имеет внутреннюю поверхность 138A, которая проходит от участка 136A внутренней поверхности элемента 136 пути для потока. Хотя на фиг. 8 это не видно, выпускной элемент 138 может дополнительно содержать первую наружную поверхность, которая находится напротив накопительного объема 28, и искривленную поверхность между внутренней поверхностью 138A и первой наружной поверхностью. Отделенные вода и/или частицы грязи направляются искривленной поверхностью от внутренней поверхности 138A к первой наружной поверхности.
Кроме того, выпускной элемент 138 может дополнительно содержать вторую наружную поверхность, а первая наружная поверхность сходится со второй наружной поверхностью на заданной кромке или углу, тем самым способствуя удержанию капель 48 на первой наружной поверхности, как описано ранее по отношению к выносному элементу, показанному на фиг. 2.
На фиг. 8 также показана часть экранирующего элемента 156, которая проходит от выпускного элемента 138, который является частью чашки в данном примере, к стенке контейнера 19. Этот защитный элемент 156 помогает образовать второй канал 32А для потока, как описано ранее.
Несмотря на то, что трубка 134 расположена в центре чашки в примерах, показанных на фиг. 7 и 8, это не предназначено для ограничения. В этом отношении трубка 134 может, например, быть расположена не по центру чашки.
Наклонная кромка 140 выпускного элемента 138 может дополнительно способствовать направлению потока отделенного воздуха в сторону от первого пути 39 для потока, поскольку сопротивление потоку воздуха может быть выше на первой стороне 153A выпускного элемента 138, в направлении которой вода и/или частицы грязи направляются наклонной кромкой 140. Другими словами, первая сторона 153A образует область с более низкой скоростью воздушного потока, поскольку воздух должен двигаться дальше, прежде чем достичь отверстия.
Этот второй путь 32А для потока может, например, дополнительно регулироваться за счет положения трубки 134 относительно чашки. Перемещение трубки 134 дальше в направлении первой стороны 153A может увеличить сопротивление потоку воздуха, тем самым увеличивая способность воздуха выходить из отверстия на второй стороне 153B чашки.
Как показано на фиг. 8, наклонная кромка 140 образована цилиндрической боковой стенкой 137A, усеченной в плоскости 150, расположенной под углом к плоскости основания 136B. Однако возможны альтернативные конструкции. На фиг. 9, например, показана чашка, имеющая боковую стенку 137A, которая проходит под углом к плоскости основания 137B, так что проходное сечение выпускного элемента 138 расширяется в направлении отверстия. Это может способствовать отделению капель 48 от воздушного потока, поскольку скорость воздуха через выпускной элемент 138 соответственно уменьшается, как описано ранее.
Сепараторный блок 118, показанный на фиг. 9, в может иначе рассматриваться как аналогичный сепараторному блоку 18, показанному на фиг. 6, и описание его работы, угол θ и т. д., соответственно, не будут повторяться для краткости.
Сепараторный блок 118 может, например, содержаться вместе с накопительным объемом 28 в контейнера 19. Чашка сепараторного блока 118 расположена над накопительным объемом 28, когда пылесос 10 для влажной уборки ориентирован для использования таким образом, что вода и/или капли 48 грязи спускаются под действием силы тяжести с наклонной кромки 140 в накопительный объем 28.
В одном варианте осуществления контейнер частично ограничен торцевой стенкой 160, в которой предусмотрен воздушный канал 22. В этом неограничивающем примере торцевая стенка 160 расположена напротив накопительного объема 28 через контейнер 19. Таким образом, воздушный канал 22 может быть расположен на расстоянии от накопительного объема 28 через контейнер 19.
Хотя на фиг. 7-9 это не видно, выпускной элемент 138, в этом случае расположенная дальше по потоку часть чашки, может дополнительно содержать направляющий воду элемент, выполненный с возможностью направления отделенных воды и/или частиц грязи в отверстие и в направлении накопительного объема 28 вдоль первого пути 39 для потока. Элемент, направляющий воду, может быть расположен на или во внутренней поверхности 138A чашки, например, во внутренней поверхности 138A части 138 чашки, расположенной дальше по потоку. Например, направляющий элемент для воды может содержать ребро, выступающее из внутренней поверхности 138A, и/или канавку во внутренней поверхности 138A, как описано ранее.
Хотя на фиг. 7-9 это не видно, пылесос 10 для влажной уборки может включать в себя перегородку. Таким образом, накопительный объем 28 может быть ограничен стенками контейнера 19 и перегородкой, аналогично примерам, показанным на фиг. 3 и 4.
На фиг. 10A и 10B представлены виды другого приведенного в качестве примера сепараторного блока 118. Этот сепараторный блок 118 имеет аналогичную конструкцию «трубка в чашке», как разъяснено выше со ссылкой на фиг. 7-9. Кроме того, направляющий воду элемент 170 включен в выпускной элемент 138 для направления отделенной воды и/или частиц грязи в область 152 в отверстии, от которого первый путь 39 для потока проходит в направлении накопительного объема 28. В этом конкретном примере направляющий воду элемент 170 предусмотрен в дополнение к наклонной кромке 140 чашки, но в других примерах вместо наклонной кромки 140 может использоваться направляющий воду элемент 170 для направления воды и/или частиц грязи в область 152 в отверстии, из которого обеспечена возможность протекания воды и/или частиц грязи вдоль первого пути 39 для потока в направлении накопительного объема 28.
В примере, показанном на фиг. 10A и 10B, направляющий воду элемент 170 содержит ребро, которое выступает из внутренней поверхности выпускного элемента. Ребро образует канал, вдоль которого вода и/или частицы грязи текут к области 152. Как показано, ребро, например спиральное ребро, может проходить вокруг по меньшей мере части окружности внутренней поверхности и в направлении отверстия.
На фиг. 10A и 10B ребро изображено как полное ребро, но в качестве альтернативы оно может представлять собой часть ребра, как показано. В альтернативном или дополнительном варианте направляющий воду элемент 170 содержит канавку во внутренней поверхности выпускного элемента 138.
Таким образом, жидкость на внутренней поверхности находит препятствие на своем пути, где более благоприятно следовать за ребром и/или канавкой в направлении предполагаемого места сбора, другими словами, области 152, вместо того, чтобы перемещаться «вниз» к отверстию, а затем в это место. Его можно рассматривать как дополнительную кромку чашки, например, для размещения больших объемов воды.
На фиг. 11 представлена блок-схема способа 200 отделения воды и/или частиц грязи из потока воздуха с использованием элемента пути для потока, имеющего участок внутренней поверхности, выпускной элемент, проходящий от элемента пути для потока к отверстию, накопительный объем и воздушный канал, расположенный на расстоянии от выпускного элемента и накопительного объема. Элемент пути для потока, выпускной элемент, накопительный объем и воздушный канал могут быть, например, такими, как описано в любом из вариантов реализации, описанных выше в отношении устройства 10 для влажной уборки.
Способ 200 включает создание 202 потока воздуха, содержащего захваченную воду и/или частицы грязи. На этапе 204 элемент пути для потока используется для изменения направления потока воздуха таким образом, что вода и/или частицы грязи отбрасываются на участок внутренней поверхности и тем самым отделяются от воздуха. На этапе 206 отделенная вода и/или частицы грязи направляются в область, например, точку, в отверстии выпускного элемента, и накапливаются в ней. Отделенная вода и/или частицы грязи текут из указанной области в направлении накопительного объема вдоль первого пути для потока. Воздух, отделенный от воды и/или частиц грязи, пропускают в направлении воздушного канала вдоль второго пути для потока, который направлен в сторону от первого пути для потока.
Другие варианты раскрытых вариантов осуществления могут быть поняты и реализованы специалистом в данной области техники при осуществлении заявленного изобретения на практике после ознакомления с чертежами, раскрытием и приложенной формулой изобретения. В формуле изобретения слово «содержащий» не исключает наличия других элементов или этапов, а грамматические показатели единственного числа не исключают множества. Тот факт, что определенные меры изложены во взаимно отличающихся зависимых пунктах формулы изобретения, не означает, что комбинации этих мер не может быть использовано эффективно. Никакие ссылочные позиции в формуле изобретения не должны рассматриваться как ограничивающие объем изобретения.
| название | год | авторы | номер документа |
|---|---|---|---|
| УСТРОЙСТВО ДЛЯ ВЛАЖНОЙ УБОРКИ | 2021 |
|
RU2834262C1 |
| УСТРОЙСТВО ДЛЯ ВЛАЖНОЙ УБОРКИ | 2021 |
|
RU2834221C1 |
| ПЫЛЕСОС ДЛЯ ВЛАЖНОЙ УБОРКИ | 2021 |
|
RU2832876C1 |
| ЦИКЛОННЫЙ БЛОК ДЛЯ ИСПОЛЬЗОВАНИЯ В ПЫЛЕСОСЕ ДЛЯ ВЛАЖНОЙ УБОРКИ | 2021 |
|
RU2834219C1 |
| ПЫЛЕСОС | 2011 |
|
RU2559232C2 |
| УСТРОЙСТВО ДЛЯ ВЛАЖНОЙ УБОРКИ И ЧИСТЯЩАЯ ГОЛОВКА | 2023 |
|
RU2826284C2 |
| УЗЕЛ ДЛЯ НАГНЕТАНИЯ ВОЗДУХА, СОДЕРЖАЩЕГО ЧАСТИЦЫ, И ДЛЯ ОТДЕЛЕНИЯ ЧАСТИЦ ОТ ВОЗДУХА | 2010 |
|
RU2542561C2 |
| УСТРОЙСТВО ДЛЯ ВЛАЖНОЙ УБОРКИ | 2023 |
|
RU2833960C2 |
| ПЫЛЕСОС | 2021 |
|
RU2832513C1 |
| ЧИСТЯЩАЯ ГОЛОВКА И УСТРОЙСТВО ДЛЯ ВЛАЖНОЙ УБОРКИ, СОДЕРЖАЩЕЕ ЕЕ | 2023 |
|
RU2826257C2 |
Предложено устройство (10) для влажной уборки, такое как пылесос для влажной уборки, в котором для отделения жидкости и частиц от потока воздуха, например от всасываемого потока, используется сепараторный блок (18). Сепараторный блок содержит элемент (36) пути для потока и выпускной элемент (38), который примыкает или по существу примыкает к элементу пути для потока и проходит от элемента пути для потока. Элемент пути для потока изменяет направление потока воздуха таким образом, что любая вода и/или частицы грязи, захваченные воздухом, отбрасываются на участок (36A) внутренней поверхности элемента пути для потока. Таким образом, такая вода и/или частицы грязи отделяются от потока воздуха. Выпускной элемент имеет отверстие, к которому направляются отделенная вода и/или частицы грязи. Когда устройство ориентировано для использования, выпускной элемент выполнен с возможностью направлять и накапливать отделенную воду и/или частицы грязи в направлении области (52) в отверстии. Отделенная вода и/или частицы грязи текут из указанной области в направлении накопительного объема (28) вдоль первого пути (39) для потока. Воздух, отделенный от воды и/или частиц грязи, направляют к воздушному каналу (22), который расположен на расстоянии от выпускного элемента и накопительного объема. Для отделенного воздуха между отверстием выпускного элемента и воздушным каналом предусмотрен второй путь (32A) для потока, причем второй путь потока направлен в сторону от первого пути для потока. Это помогает свести к минимуму или предотвратить повторное проникновение воды и/или частиц грязи в поток воздуха. Кроме того, предложен способ отделения воды и/или частиц грязи от потока воздуха. 2 н. и 13 з.п. ф-лы, 12 ил.
1. Устройство (10) для влажной уборки, содержащее:
впускное отверстие (11) для грязи;
двигатель (14) и вентилятор (16) для обеспечения всасывания во впускном отверстии для грязи;
сепараторный блок (18, 118) для отделения воды и/или частиц грязи от потока воздуха, созданного всасыванием;
накопительный объем (28) для сбора отделенной воды и/или частиц грязи, причем сепараторный блок содержит:
элемент (36, 136) пути для потока, имеющий участок (36A, 136A) внутренней поверхности, причем элемент пути для потока выполнен с возможностью изменения направления потока воздуха таким образом, что вода и/или частицы грязи отбрасываются на участок внутренней поверхности и тем самым отделяются от воздуха; и
выпускной элемент (38, 138), проходящий от элемента пути для потока к отверстию, причем выпускной элемент выполнен с возможностью направлять и накапливать отделенную воду и/или частицы грязи в направлении области (52, 152) в отверстии, из которого обеспечена возможность протекания отделенной воды и/или частиц грязи в направлении накопительного объема вдоль первого пути (39) для потока, когда устройство ориентировано для использования;
и воздушный канал (22) для пропускания воздуха, отделенного от воды и/или частиц грязи, к двигателю и вентилятору, причем воздушный канал расположен на расстоянии от выпускного элемента и накопительного объема, между указанным отверстием и воздушным каналом образован второй путь (32A) для потока, причем второй путь для потока направлен в сторону от первого пути для потока.
2. Устройство (10) для влажной уборки по п. 1, в котором указанное отверстие ограничено наклонной кромкой (40, 140), причем наклонная кромка наклонена таким образом, что обеспечена возможность протекания отделенной воды и/или частиц грязи вдоль наклонной кромки в направлении указанной области (52, 152).
3. Устройство (10) для влажной уборки по п. 1 или 2, в котором выпускной элемент (38, 138) содержит направляющий элемент для воды, причем направляющий элемент для воды расположен на внутренней поверхности (38A, 138A) выпускного элемента или во внутренней поверхности (38A, 138A) выпускного элемента и выполнен с возможностью направления отделенных частиц воды и/или грязи в указанную область (52, 152); при этом направляющий элемент для воды содержит по меньшей мере одно из ребра, выступающего из внутренней поверхности выпускного элемента, и канавки во внутренней поверхности выпускного элемента.
4. Устройство (10) для влажной уборки по любому из пп. 1-3, в котором проходное сечение выпускного элемента (38, 138) увеличивается в направлении отверстия.
5. Устройство (10) для влажной уборки по любому из пп. 1-4, в котором выпускной элемент (38, 138) имеет первую сторону (53A, 153A), противоположную второй стороне (53B, 153B), причем первая сторона проходит в указанную область (52, 152), и при этом второй путь (32A) для потока проходит от отверстия на второй стороне в направлении воздушного канала (22).
6. Устройство (10) для влажной уборки по п. 5, содержащее экранирующий элемент (56, 156), проходящий от первой стороны (53A, 153A), при этом экранирующий элемент выполнен с возможностью блокирования потока воздуха вдоль первой стороны в направлении воздушного канала (22).
7. Устройство (10) для влажной уборки по любому из пп. 1-6, в котором выпускной элемент (38, 138) содержит:
первую наружную поверхность (38B) в отверстии, причем первая наружная поверхность перпендикулярна направлению воздушного потока внутри выпускного элемента (38, 138); и
искривленную поверхность (38C) для направления отделенной воды и/или частиц грязи в выпускном элементе к первой наружной поверхности.
8. Устройство (10) для влажной уборки по п. 7, в котором выпускной элемент (38, 138) дополнительно содержит вторую наружную поверхность (38D), которая сходится с первой наружной поверхностью (38B) на кромке (38E).
9. Устройство (10) для влажной уборки по любому из пп. 1-8, содержащее трубку (134) для подачи указанного воздушного потока в сепараторный блок (118) и чашку, выполненную с возможностью приема конца трубки, причем указанная часть (136A) внутренней поверхности элемента (136) пути для потока определена внутренней поверхностью чашки, которая расположена на расстоянии от конца трубки.
10. Устройство (10) для влажной уборки по п. 9, в котором выпускной элемент (138) образован частью чашки, расположенной дальше по потоку, которая содержит кромку чашки, при этом кромка (140) чашки наклонена таким образом, чтобы образовывать наклонную кромку, обеспечивающую возможность протекания вдоль неё воды и/или частиц грязи в направлении указанной области (152).
11. Устройство (10) для влажной уборки по любому из пп. 1-8, содержащее трубку (34) для подачи указанного потока воздуха в сепараторный блок (18), причем элемент (36) пути для потока образован искривленной секцией (36) трубки, имеющей расположенный раньше по потоку конец и расположенный дальше по потоку конец, причем верхний по потоку конец примыкает к трубке.
12. Устройство (10) для влажной уборки по любому из пп. 1-11, содержащее контейнер (19), объем которого включает в себя накопительный объем (28), причем контейнер дополнительно вмещает по меньшей мере часть сепараторного блока (18).
13. Устройство (10) для влажной уборки по п. 12, причем устройство дополнительно содержит перегородку (54), причем накопительный объем (28) ограничен стенками контейнера (19) и перегородкой, и при этом первый путь (39) для потока направлен за перегородку и в направлении накопительного объема.
14. Устройство (10) для влажной уборки по п. 12 или 13, в котором контейнер (19) частично ограничен торцевой стенкой (160), в которой выполнен воздушный канал (22).
15. Способ (200) отделения воды и/или частиц грязи от потока воздуха с использованием элемента пути для потока в устройстве для влажной уборки по п. 1, имеющем участок внутренней поверхности, выпускной элемент, проходящий от элемента пути для потока до отверстия, накопительный объем и воздушный канал, расположенный на расстоянии от выпускного элемента и накопительного объема, включающий:
создание (202) потока воздуха, содержащего захваченную воду и/или частицы грязи;
использование (204) элемента пути для потока для изменения направления потока воздуха таким образом, что вода и/или частицы грязи отбрасываются на указанный участок внутренней поверхности и тем самым отделяются от воздуха;
использование (206) выпускного элемента для накопления и направления отделенной воды и/или частиц грязи к области в отверстии, из которого обеспечено протекание отделенной воды и/или частиц грязи к накопительному объему вдоль первого пути для потока, при этом воздух, отделенный от воды и/или частиц грязи, проходит к воздушному каналу вдоль второго пути для потока, который направлен в сторону от первого пути для потока.
| US 2016227973 A1, 11.08.2016 | |||
| US 6243912 B1, 12.06.2001 | |||
| US 5954863A, 21.09.1999 | |||
| УСТРОЙСТВО ДЛЯ ОБРАБОТКИ ПОВЕРХНОСТИ | 2003 |
|
RU2316992C2 |
Авторы
Даты
2025-05-20—Публикация
2021-09-17—Подача