ОБЛАСТЬ ТЕХНИКИ
Настоящее изобретение относится к нанесению рисунка электрических проводников на солнечный элемент.
УРОВЕНЬ ТЕХНИКИ
Известные способы образования проводников на солнечных элементах имеют несколько недостатков, в том числе ограничение, которое они накладывают на разрешение линий и точное размещение. Зачастую известные методы оказываются неудобными и могут быть реализованы лишь в контексте серийного производства, а при использовании указанных приемов для нанесения проводников на противоположные стороны солнечного элемента каждую сторону необходимо обрабатывать отдельно.
РАСКРЫТИЕ СУЩНОСТИ ИЗОБРЕТЕНИЯ
В целях устранения по меньшей мере некоторых из указанных недостатков в соответствии с первым аспектом настоящего изобретения предложен способ нанесения рисунка электрических проводников на подложку, образованную поверхностью солнечного элемента, причем способ включает:
a) обеспечение гибкой мембраны,
b) образование рисунка желобков на первой поверхности мембраны, причем рисунок по меньшей мере частично соответствует требуемому рисунку электрических проводников, наносимых на подложку,
c) загрузку в желобки композиции, содержащей в качестве компонентов композиции электропроводящие частицы и адгезив, причем указанную загрузку выполняют в ходе одного или более подэтапов, в результате чего по завершении этапа загрузки композиция по существу заполняет желобки вровень с первой поверхностью мембраны, а части первой поверхности между желобками по существу лишены композиции,
d) обеспечение контакта мембраны с подложкой, причем первая поверхность мембраны обращена к подложке,
e) приложение давления к мембране с обеспечением прикрепления композиции, загруженной в желобки на первой поверхности мембраны, к подложке,
f) отделение мембраны от подложки для переноса композиции из желобков на первой поверхности мембраны на подложку и
g) приложение энергии, достаточной для спекания электропроводящих частиц, с обеспечением электропроводности рисунка композиции, перенесенного на подложку из желобков.
При образовании рисунка проводников к компонентам композиции может быть добавлена жидкость-носитель для образования влажной композиции, имеющей консистенцию жидкости или пасты. Жидкость-носитель может состоять из органического растворителя или из водного растворителя. Влажная композиция, в которой жидкость-носитель содержит по меньшей мере 60 мас.% воды, может быть названа "водной композицией" или "композицией на основе воды", а влажная композиция, в которой жидкость-носитель содержит по меньшей мере 60 мас.% органических растворителей, может быть названа "композицией на основе растворителя".
В ходе этапа загрузки для прижатия композиции в желобки и стирания композиции с частей подложки между желобками может быть использован ракель. Относительная гибкость и/или жесткость наконечника скребка или лезвия (ракеля), соприкасающегося с первой поверхностью мембраны для загрузки нанесенных на него композиций в желобки, может быть выбрана и адаптирована в соответствии с консистенцией/вязкостью загружаемой композиции, размерами заполняемых желобков, усилием, прикладываемым для стирания композиции на рисунке, и сходными соображениями, очевидными специалисту. Затем жидкость-носитель может быть снята путем нагревания или использования вакуума, в результате чего оставлена высушенная композиция, покрывающая первую поверхность гибкой мембраны или выбранные участки указанной мембраны.
Снятие жидкости-носителя (например, при удалении жидкости путем испарения) обычно приводит к усадке остаточной композиции в желобках. Следует отметить, что несмотря на то, что этап загрузки (называемый в описании вышеприведенного способа этапом c)) может включать лишь единичное заполнение желобков, при необходимости указанный этап может включать множество подэтапов, таких как повторяющиеся подэтапы заполнения, между которыми выполняют необязательные подэтапы удаления жидкости (например, путем высушивания) и чистки (например, путем стирания). Может быть необходимо повторение подобных подэтапов до тех пор, пока сухая композиция по существу не заполнит желобки и не достигнет уровня вровень с первой поверхностью мембраны. В случае выполнения этапа загрузки посредством повторяющихся циклов заполнения и/или высушивания и/или чистки на последнем этапе останутся пространства между желобками на первой поверхности мембраны, по существу лишенные композиции.
Под термином "по существу лишенные" понимают, что остаточная композиция в пространстве между желобками (в случае ее наличия) присутствует в количестве/распределении, недостаточном или излишне малом для значительного покрытия поверхности солнечного элемента после переноса. Пространства между желобками по существу лишены композиции в случае, если 2% или менее, или менее 1%, или менее 0,5%, или менее 0,1% площади указанных пространств содержит ничтожно малое количество электропроводящих частиц. Подобное ничтожно малое количество композиций может быть обнаружено и оценено в ходе стандартного анализа изображений.
В случае выполнения загрузки желобков в ходе нескольких этапов относительные пропорции компонентов композиции могут варьироваться между этапами заполнения. На первом этапе или этапах адгезив может быть использован лишь для обеспечения связи электропроводящих частиц друг с другом, а на последнем этапе адгезив также может быть использован для обеспечения адгезии композиции к подложке. По указанной причине содержание адгезива в композиции при необходимости может быть увеличено по меньшей мере на последнем этапе заполнения.
В другом варианте или дополнительно, между этапами заполнения может быть изменен вид адгезива, причем адгезив для последнего этапа заполнения может быть сильнее и/или может присутствовать в большем количестве по сравнению с адгезивом для более ранних этапов, причем под термином "сила" в данном случае понимают способность адгезива прикрепляться к подложке. В некоторых примерах реализации адгезивное покрытие также может быть нанесено поверх заполненных желобков гибкой мембраны.
Композиция с меньшим количеством адгезива (и/или с содержанием более слабого адгезива, который в подобном случае может считаться связующим веществом) и бóльшим содержанием электропроводящих частиц может быть названа "металлической пастой", а композиция с бóльшим содержанием адгезива (и/или с содержанием более сильного адгезива), подходящего для обеспечения адгезии высушенной композиции к подложке, может быть названа "адгезивной пастой". Термин "паста" не призван указывать на конкретную вязкость или содержание твердых частиц; тем не менее, менее вязкие композиции требуют большего выпаривания носителя. Композиция, которая при необходимости может быть добавлена для покрытия заполненных желобков мембраны для дополнительного содействия последующей адгезии к подложке, может быть названа "адгезивным покрытием".
В другом варианте или дополнительно, каждый из этапов заполнения может быть выполнен с использованием очистителя различного вида (например, скребка или ракеля), каждый из которых приспособлен к использованию с композицией, загружаемой в желобки, и/или к использованию в конкретных условиях загрузки.
Несмотря на то, что используемый соответствующим образом ракель или скребок может обеспечивать требуемый результат, заключающийся в достаточной очистке лишенных желобков частей первой поверхности мембраны от композиции, для достижения указанной цели в другом варианте и/или дополнительно могут быть реализованы другие этапы, включая, например, стирание, соскабливание, очистку щеткой и т.п., для удаления остаточной композиции с поверхности между желобками для завершения этапа загрузки. Подобная очистка может быть осуществлена между подэтапами заполнения или лишь перед завершением этапа загрузки, после осуществления последнего подэтапа заполнения и, при необходимости, перед нанесением адгезивного покрытия в случае, если указанное покрытие наносят на мембрану после загрузки. Необязательную очистку предпочтительно выполняют посредством чистящего устройства, выполненного с возможностью использования со счищаемой композицией и с мембраной.
Любой этап очистки (в случае его выполнения) не должен воздействовать на поверхность мембраны образом, в значительной степени уменьшающим или предотвращающим последующий контакт с подложкой. Следует отметить, что подэтап очистки может быть осуществлен как до, так и после высушивания композиций. В случае осуществления подэтапа очистки после подэтапа высушивания на чистящее устройство и/или на подлежащую очистке поверхность при необходимости также может быть нанесена чистящая жидкость.
Например, очистка может быть осуществлена посредством щетки-скребка, расположенной ниже по потоку относительно устройства заполнения (например, выше по потоку относительно скребка или ракеля, загружающего композицию в желобки). Чистящий скребок может быть ориентирован идентично загрузочному скребку относительно мембраны, или может быть расположен под противоположным углом. В другом варианте очистка может быть осуществлена посредством чистящего ролика, имеющего мягкую стирающую поверхность. В случае выполнения очистки после этапа высушивания для содействия перемещению чистящего устройства по поверхности мембраны может быть использована чистящая жидкость. Подобная чистящая жидкость (в случае ее использования) также может способствовать удалению сухого остатка композиции в случае его наличия между желобками. В вышеописанных примерах чистящая жидкость может быть нанесена ниже по потоку относительно чистящего скребка или может быть использована для пропитки стирающей поверхности чистящего ролика. Чистящую жидкость подбирают таким образом, что она не воздействует на композиции, ранее загруженные и/или высушенные в рисунке желобков. Например, чистящая жидкость может представлять собой растворитель, совместимый с гибкой мембраной и несовместимый с жидкостью-носителем композиции.
Желобки любого требуемого рисунка могут быть охарактеризованы, например, по профилю поперечного сечения, по форме на виде сверху, по размерам, по расстоянию друг от друга, и по другим подобным показателям, более подробно раскрытым в нижеприведенном описании. Желобки рисунка могут не быть идентичными, и любой первый желобок может отличаться от любого второго желобка. Кроме того, в некоторых примерах реализации отдельный желобок также может отличаться по своей длине. Например, при рассмотрении сверху, один сегмент непрерывного желобка может иметь прямую форму, а другой сегмент может быть изогнутым, или первый сегмент может иметь первую ширину, а второй сегмент - вторую ширину; также возможны и другие сходные вариации. При рассмотрении в поперечном сечении отдельный желобок может иметь первый профиль на первом сегменте и второй профиль на втором сегменте, и/или может иметь первый набор размеров на первом сегменте и второй набор размеров на втором сегменте желобка. В неограничивающем примере отдельный желобок может содержать первый сегмент, имеющий треугольный или трапециевидный профиль первой высоты/глубины, и второй сегмент, имеющий полуэллиптический или полукруглый профиль отличной второй высоты/глубины. Гибкая мембрана, содержащая подобные неидентичные желобки, в которых отдельный желобок может состоять из относительно неглубоких сегментов-борозд и относительно более глубоких выемок, которые могут чередоваться вдоль высоты желобка, причем более глубокие выемки после переноса образуют более высокие точки проводящего материала (или контактные площадки), которые могут быть использованы для обеспечения взаимной связи между смежными рисунками, которые могут быть образованы в направлении, перпендикулярном плоскости подложки, или могут быть использованы для обеспечения связи между рисунком электропроводящих линий и внешними схемами (например, с аккумуляторами, выполненными с возможностью хранения электрической энергии, полученной солнечным элементом).
В некоторых примерах реализации мембрана при рабочей температуре (например, при нормальной комнатной температуре, составляющей примерно 23°C) обладает гибкостью, достаточной для содействия нанесению рисунка на гибкую мембрану, заполнению желобков любой из раскрытых в настоящем описании композиций, высушиванию композиций, или любой другой необходимой обработке, высвобождению высушенных композиций из мембраны после контакта с подложкой, и/или отделению мембраны от подложки. Несмотря на то, что в некоторых примерах реализации гибкая мембрана может быть изготовлена заранее и обеспечена в готовом виде (например, в виде рулонов или листов), в другом варианте гибкая мембрана может быть отлита из подходящих материалов (например, из термопластичных полимеров, отверждаемых при охлаждении, или фотополимеров, отверждаемых при воздействии излучения, которые в настоящем описании могут быть обозначены термином "пластиковые полимеры") с образованием мембраны в качестве части процесса. Специалисту известны формуемые пластиковые полимеры, которые могут быть отштампованы или отлиты.
Гибкие мембраны, выполненные из подобных полимеров, предпочтительно в достаточной степени неэластичны для сохранения контура желобков (и рисунков), выполняемых на указанных мембранах, и формы композиций, заполняющих указанные желобки и рисунки. С другой стороны, мембраны предпочтительно обладают гибкостью, достаточной для обеспечения соответствия поверхности подложки для обеспечения достаточно плотного контакта для переноса линий композиции. По сходным причинам улучшения сопряжения в ходе выполнения процесса (например, при заполнении желобков скребком, подложкой и т.д.) может быть предпочтительной мембрана, имеющая относительно гладкую поверхность. Предпочтительно, средняя шероховатость Rz первой поверхности гибкой мембраны составляет 1 мкм или меньше, 500 нм или меньше, 250 нм или меньше, или 100 нм или меньше. Также очевидны и другие желательные механические свойства, обуславливающие совместимость мембран с настоящим способом (например, устойчивость к растяжению, устойчивость к механическому напряжению, теплоустойчивость, устойчивость к воздействию излучения и т.п.) и с композициями, используемыми при его осуществлении (например, химическая устойчивость, химическая пассивность и т.д.).
В способе, раскрытом в настоящем описании, могут быть использованы гибкие мембраны с низкой поверхностной энергией, причем предпочтительными являются мембраны, содержащие термопластичные полимеры, выбранные из группы, включающей циклоолефиновый сополимер, полипропилен, полиэтилен и термопластичный полиуретан.
Гибкие мембраны могут быть выполнены из одного слоя, содержащего один или более подходящих пластиковых полимеров, в частности один или более из вышеописанных термопластичных полимеров. В другом варианте гибкая мембрана может быть выполнена из двух или более отдельных слоев. Например, в неограничивающем примере мембрана может содержать первый опорный слой, преимущественно обеспечивающий механическую целостность и/или прочность (например, способность по существу сохранять размеры в ходе выполнения процесса) мембраны, второй слой, допускающий деформацию, достаточную для образования желобков, и третий слой, "герметизирующий" промежуточное выполненное с возможностью образования рисунка ядро мембраны, например, улучшающий адгезию мембраны к подложке перед переносом рисунка и последующим отделением мембраны, или обладающий любым другим желательным свойством, которое может быть предпочтительным при реализации способа по настоящему изобретению (например, обеспечивающий достаточную прочность для надлежащего сохранения рисунка). Все подобные слои предпочтительно выполнены гибкими для обеспечения желательной гибкости всей мембраны, выполненной из указанных слоев. В подобных примерах реализации, в которых мембрана образована из двух или более слоев, слой, противоположный опорному слою, представляет собой первую поверхность мембраны вследствие контакта с поверхностью подложки на этапе переноса.
Перенос высушенных композиций с гибкой мембраны на подложку при приложении давления (например, в диапазоне от примерно 0,1 кгс/см2 до примерно 50 кгс/см2) при необходимости может быть осуществлен при повышенной температуре. Подобная температура переноса может зависеть от гибкой мембраны и от подложки, контакт с которой следует обеспечить. Указанная температура может также зависеть от композиций, загруженных в желобки, и от характера возможного способствования температуры высвобождению композиций из гибкой мембраны и/или адгезии композиций к подложке. Температура переноса может составлять, например, по меньшей мере 60°C, по меньшей мере 80°C, по меньшей мере 100°C, или по меньшей мере 120°C; и, при необходимости, по большей мере 200°C, по большей мере 180°C, по большей мере 160°C или по большей мере 140°C. В некоторых примерах реализации давление оказывают при температуре переноса в диапазоне от 130°C до 140°C.
В некоторых примерах реализации температуру переноса обеспечивают путем совместного нагревания подложки и мембраны, например, путем обеспечения их взаимного контакта между двумя роликами, причем по меньшей мере один из цилиндров нагрет до температуры, обеспечивающей возможность быстрого достижения подложкой и мембраной требуемой температуры переноса. В других примерах реализации температуру переноса обеспечивают исключительно путем нагревания подложки, причем мембрану сохраняют или поддерживают при температуре среды. Подложка может быть нагрета посредством любого подходящего способа, такого как кондукция (например, перемещение над горячей пластиной), конвекция (например, с использованием потока горячего воздуха), излучение (например, посредством инфракрасной лампы), или комбинация указанных средств нагревания.
В некоторых примерах реализации температуру понижают после приложения давления для обеспечения надлежащего контакта и перед отсоединением мембраны для обеспечения переноса содержимого желобков на подложку. На указанном промежуточном этапе мембрана описана как "прикрепленная к подложке", или подложка описана как "прикрепленная к мембране", несмотря на временный характер указанного крепления до момента отделения. Охлаждение может быть обеспечено путем кондукции (например, перемещения прикрепленной к подложке мембраны над холодной поверхностью), конвекции (например, подачи (при необходимости охлажденного) воздуха по направлению к прикрепленной к подложке мембране), или комбинации указанных средств охлаждения.
Подложку подбирают и адаптируют к надлежащему использованию переносимого на нее рисунка, причем процедура указанного выбора известна специалисту. Подложка может быть жесткой или гибкой, может быть выполнена из одного или более слоев материалов, может быть использована для передачи на одной или более сторонах подложки, может быть легированной или нелегированной и т.п. В неограничивающем примере подложка, подходящая для реализации солнечного элемента, может представлять собой жесткую пластину или гибкую пленку. Подложка может представлять собой сторону солнечного элемента, выполненную из неорганических материалов, таких как моно- или мультикристаллический кремний, аморфный кремний, арсенид галлия (GaAs), поликремний и любая другая сходная подложка, используемая в солнечных элементах, или из органических материалов, таких как гибкие полимеры.
Следует отметить, что настоящий способ, основанный на использовании гибкой мембраны для образования требуемого рисунка, может обладать особыми преимуществами в случае, если подложка солнечного элемента не является плоской. На одном этапе может быть обеспечен контакт между подложками, которые могут быть согнуты, сложены, или даже обернуты вокруг объектов, что может быть желательно в некоторых областях применения, и мембраной, содержащей требуемый рисунок. Например, при реализации теоретического объекта, требующего сложения схемы под углом между левой панелью и правой панелью одной схемы, в которой ток может проходить от одного конца к другому концу, в известных технологических подходах могут быть необходимы отдельная реализация каждой из панелей, сборка указанных панелей, и, возможно, даже использование промежуточной соединительной панели или схемы. Напротив, настоящий способ может обеспечивать непрерывный контакт левой панели с соответствующей частью рисунка на гибкой мембране, и непрерывный контакт правой панели с соответствующим рисунком, причем промежуточный "угловой" участок между левой и правой панелями (и соответствующими левой и правой частями рисунка) обеспечивает непрерывную схему, связывающую два указанных элемента.
Дополнительные этапы могут зависеть от области применения металлического рисунка.
При использовании в области изготовления солнечных элементов подложка может представлять собой полупроводниковую пластину. В подобных примерах реализации преимущество заключается в том, что композиция может содержать стеклоприпой, а после спекания композиции путем нагревания для придания композиции электропроводности, подложка и композиция могут быть подвергнуты обжигу для сплавления проводников с подложкой.
Согласно другим аспектам, заявленным в пунктах 27-29 сопутствующей формулы изобретения, в настоящем изобретении обеспечена мембрана для изготовления солнечного элемента, и солнечные элементы, изготавливаемые в ходе способов по настоящему изобретению. Подобные мембраны и солнечные элементы могут быть охарактеризованы различными признаками, более подробно раскрытыми в настоящем описании в контексте разнообразных примеров реализации способа, раскрытых в настоящем описании.
КРАТКОЕ ОПИСАНИЕ ЧЕРТЕЖЕЙ
Реализация настоящего изобретения дополнительно раскрыта в нижеприведенном описании в качестве примера со ссылкой на сопутствующие чертежи, на которых:
На ФИГ. 1A-1D показаны участки, иллюстрирующие упрощенные этапы процесса образования рисунка линий из композиции, содержащей электропроводящие частицы, на мембране, и последующего переноса рисунка на подложку;
На ФИГ. 1E показана упрощенная схема процесса реализации процесса по ФИГ. 1A-1D;
На ФИГ. 2A показан вид в перспективе этапа процесса по ФИГ. 1A, обеспечивающий пример варианта реализации рисунка линии с образованием непрерывной мембраны, содержащей отдельные разнесенные рисунки, каждый из которых предназначен для нанесения на соответствующую отдельную подложку, причем каждый из рисунков задает набор параллельных проводников, связанных друг с другом посредством поперечных шин;
На ФИГ. 2B и 2C соответственно показаны увеличенные виды кругов, на ФИГ. 2A показанных ссылочными обозначениями B и С, иллюстрирующие желобки в поперечном сечении;
На ФИГ. 3A показано сечение мембраны, иллюстрирующее вариант нанесения одной композиции для образования линий композиции внутри желобков в мембране;
На ФИГ. 3B показано сечение мембраны, иллюстрирующее вариант последовательного нанесения двух различных композиций в желобке для образования линий композиции в мембране;
На ФИГ. 3C показано сечение мембраны, иллюстрирующее вариант изначального нанесения разделительного слоя для содействия отделению линий композиции от мембраны;
На ФИГ. 3D показано сечение мембраны, иллюстрирующее вариант нанесения адгезивного покрытия для покрытия всей поверхности мембраны для содействия переносу линий композиции с мембраны на подложку;
На ФИГ. 4A-4C в качестве примера показан вариант выполнения и нанесения на обширную поверхность электрода, такого как задний электрод солнечного элемента;
На ФИГ. 5A схематично показан примерный металлический рисунок, выработанный согласно настоящему способу;
На ФИГ. 5B схематично показано примерное поперечное сечение выступающего ножевого штампа, по форме сходное с поперечным сечением перенесенной контактной линии до и после спекания, и сравнимое с негативным изображением поперечного сечения желобка;
На ФИГ. 5C показан микроснимок в перспективе, полученный посредством конфокальной лазерной сканирующей микроскопией и иллюстрирующий желобок гибкой мембраны, причем желобок заполнен композицией, содержащей электропроводящие частицы;
На ФИГ. 5D показан микроснимок в перспективе, полученный посредством конфокальной лазерной сканирующей микроскопией и иллюстрирующий контактную линию, перенесенную из желобка гибкой мембраны на подложку; и
На ФИГ. 6 схематично показано примерное поперечное сечение установки для заполнения множества наборов желобков соответствующими композициями.
ОСУЩЕСТВЛЕНИЕ ИЗОБРЕТЕНИЯ
Нижеследующее описание в совокупности с сопутствующими чертежами иллюстрирует для специалиста варианты реализации настоящего изобретения в виде неограничивающих примеров. Чертежи приведены в целях иллюстративного описания, и не предприняты попытки иллюстрирования конструктивных элементов примера реализации в излишних подробностях, необязательных для фундаментального понимания настоящего изобретения. В целях ясности и простоты описания некоторые из показанных на чертежах объектов могут быть приведены без соблюдения масштаба.
В целях краткости и простоты настоящее описание по существу направлено на формирование рисунка, проиллюстрированного на ФИГ. 2A (увеличенные виды которого приведены на ФИГ. 2B и 2C), исключительно в качестве примера. Специалисту будет очевидно, что рисунок, образованный желобками, и последующий рисунок проводников могут принимать любую форму, подобранную в соответствии с техническими соображениями, диктуемыми конкретными обстоятельствами.
Нанесение рисунка на гибкую мембрану
На ФИГ. 1A показана мембрана 100, выполненная из пластикового материала и пропущенная сквозь зазор между цилиндрическим прижимным роликом 104 и штамповочным роликом 102. Штамповочный ролик 102 может быть выполнен из цилиндра, из гладкой поверхности которого выступают ножевые штампы 106 и 108. Принцип изготовления штамповочного ролика 102 не имеет особой важности. Один из способов изготовления указанного ролика может заключаться в травлении гладкого цилиндра, а альтернативный способ заключается в установке штамповочной шайбы (обычно выполненной из никеля или хрома) с выступающими ножевыми штампами 106 и 108 вокруг цилиндра. На чертеже не показано, что гибкая мембрана 100 может быть выполнена из одного или более слоев различных гибких материалов.
Ножевые штампы 106 параллельны окружности штамповочного ролика 102 и выровнены относительно друг друга вдоль оси штамповочного ролика для образования желобков, параллельных направлению перемещения мембраны, при контакте с обращенной к ним поверхностью мембраны. На схематичном поперечном сечении по ФИГ. 1A виден лишь один из указанных ножевых штампов. Ножевые штампы 106 могут не проходить по всей окружности штамповочного ролика, а их длина отрегулирована в соответствии с требуемой длиной продольных линий на рисунке желобков. Ножевые штампы 108 параллельны оси штамповочного ролика 102 и могут образовывать желобки, поперечные направлению перемещения мембраны и, при необходимости, ортогональные относительно продольных желобков, образованных ножевыми штампами 106, при контакте с обращенной к ним поверхностью мембраны 100. Ножевые штампы 108 могут не проходить по всей длине штамповочного ролика или по всей ширине мембраны, а их длина отрегулирована в соответствии с любым требуемым количеством продольных линий, подлежащих пересечению на рисунке желобков. Длина ножевых штампов 106 и 108 также может быть выбрана с учетом размеров соответствующей подложки и границы, которая может в соответствии с требованиями окружать любой конкретный рисунок. Несмотря на то, что ножевые штампы 106 и 108 показаны в виде прямых линий, следует понимать, что штамповочный ролик 102 может содержать ножевые штампы, образующие любую другую требуемую форму.
Края профиля ножевых штампов могут иметь любую требуемую форму, обычно являющуюся правильной и обеспечивающую возможность переноса линий композиции с мембраны на подложку, и соответственно, предпочтительно имеют сужающуюся форму. Подобный профиль схематично показан в виде полуэллипса на ФИГ. 1A-1D. Края ножевых штампов 106 могут, например, иметь трапециевидную форму, т.е. ножевые штампы могут иметь сужающиеся кверху стороны и плоскую вершину. Ширина основания трапеции отмечена ссылочным обозначением WB, ширина плоской вершины - ссылочным обозначением wT, а высота между двумя указанными точками - ссылочным обозначением h, согласно более подробному нижеприведенному описанию со ссылкой на ФИГ. 5A. Ножевые штампы 108 могут содержать края, имеющие форму, сходную с формой краев ножевых штампов 106, но подобная конфигурация не является обязательной. Например, ножевые штампы 108 могут не иметь одну конкретную форму (описанную в вышеприведенном примере в виде трапеции для ножевых штампов 106), а могут быть выполнены из совокупности выступов. Например, ножевые штампы 108 могут быть выполнены из полосы сетчатого материала. В контексте процесса изготовления солнечных элементов, в котором ножевые штампы 108 могут быть использованы для последующего образования шин, ширина сетчатой полосы может превышать ширину основания ножевых штампов 106. Обычно количество ножевых штампов 108 меньше количества ножевых штампов 106 при реализации металлических рисунков, наносимых в проиллюстрированном примере электродов для солнечного элемента.
Несмотря на то, что в нижеприведенном описании приведена терминология, специфичная для трапециевидных поперечных сечений, ножевые штампы могут иметь любую отличную сужающуюся форму, удовлетворяющую сходным диапазонам значений. Верхний край ножевого штампа может иметь заостренный наконечник в случае, если поперечное сечение ножевого штампа является треугольным, полукруглым, полуэллиптическим и т.п.Ширина основания ножевых штампов может зависеть от их функции. Значения ширины вплоть до нескольких миллиметров могут быть пригодными для шин, а для электродов задней стороны солнечного элемента могут быть пригодны и еще более широкие ножевые штампы, если указанные электроды формируют посредством содержащей желобки мембраны. Для продольных линий предпочтительны значения ширины основания в 50 микрометров (мкм) или меньше, причем наиболее предпочтительными являются значения WB в диапазоне 10-40 мкм, или 10-30 мкм, или 10-20 мкм, или даже 5-20 мкм. Ширина вершины ножевого штампа также может зависеть от его функции и может быть приблизительно соизмеримой с шириной основания, но обычно имеет меньшие размеры. Для продольных линий предпочтительны значения ширины вершины в 40 мкм или меньше, причем наиболее предпочтительными являются значения wT в диапазоне 5-25 мкм, или 5-15 мкм, или 10-20 мкм. Высота h ножевых штампов обычно не превышает 50 мкм, причем наиболее предпочтительными являются значения h в диапазоне 25-40 мкм, или 25-30 мкм, или 15-25 мкм. Специалисту будет очевидно, что аспектное отношение (ASP) между высотой h ножевого штампа 106 и шириной WB его основания может находиться в диапазоне от примерно 5:1 до примерно 1:5, причем предпочтительными являются значения ASP в диапазоне от 3:1 до 1:1, от 2:1 до 1:2, или от 1,75:1 до 1:1,75, или от 1,5:1 до 1:1,5, при необходимости составляющие примерно 2:1, 1,5:1 или по меньшей мере 1:1.
Кроме того, рисунок может быть охарактеризован расстоянием d между обращенными друг к другу краями соседних желобков. Обычно указанное расстояние составляет не менее 100 мкм. В некоторых примерах реализации расстояние d между параллельными сегментами соседних желобков составляет по меньшей мере 150 мкм, по меньшей мере 200 мкм, или по меньшей мере 300 мкм. Для продольных линий максимальное расстояние между двумя желобками может зависеть от области применения и/или требуемой эффективности. Например, в контексте изготовления солнечных элементов значение d составляет по большей мере 2000 мкм, по большей мере 1500 мкм, по большей мере 1000 мкм, или по большей мере 500 мкм. Следует отметить, что размеры желобков и линий, образуемых любыми конкретными ножевыми штампами, могут не быть идентичными размерам исходного ножевого штампа. Подобные вариации могут зависеть от используемой мембраны и от других переменных, вовлеченных в указанный процесс. Преимущество заключается в том, что указанные вариации не превышают 25% от исходных размеров.
Тем не менее, настоящий способ обеспечивает возможность переноса на подложку металлических линий с относительно высоким аспектным отношением, обычно обеспечивающих более низкое сопротивление. Например, металлический рисунок с шириной 25 мкм, в котором линия явно имеет высоту 50 мкм, и соответственно, значение ASP составляет 2:1, обладает более низким сопротивлением по сравнению с линией, имеющей высоту лишь 5 мкм, с обеспечением значения ASP, равного 1:5, при сходных остальных параметрах (например, при сходном составе металлической линии).
Штамповочный ролик 102 (обычно значительно более сложный и/или содержащий ножевые штампы меньших размеров) может быть изготовлен способом, идентичным используемому при изготовлении штампов для биговки или резания картона. По мере прохождения мембраны 100 сквозь зазор между прижимным роликом 104 и штамповочным роликом 102 на верхней поверхности мембраны образуют желобки или выемки 110. Ножевые штампы 106 и 108 выполнены с возможностью образования на мембране рисунка желобков, соответствующего рисунку электрических проводников, подлежащих нанесению на подложку, которая может представлять собой диэлектрик или полупроводник. Несмотря на то, что на данном чертеже (и на более подробном изображении на ФИГ. 2A) показаны два набора ножевых штампов, используемых для формирования проиллюстрированного рисунка желобков на мембране, указанная конфигурация не является ограничивающей, и в различных областях применения может быть необходим лишь один набор или более двух наборов ножевых штампов в соответствии с требуемыми рисунками.
Кроме того, несмотря на то, что наносящий рисунок элемент показан на чертеже в виде вращающегося штамповочного ролика 102, для образования желобков согласно вышеприведенному описанию могут быть пригодны и имеющие другую форму совокупности ножевых штампов. Например, образование желобков в мембране может быть обеспечено посредством пластин. В случае осуществления процесса путем пропускания мембраны по стационарным станциям, таким как станция образования желобков и станция заполнения желобков для загрузки композиций, заготовочные отрезки ненатянутой мембраны между станциями могут обеспечивать возможность непрерывного осуществления процесса. Вследствие возможного повторения подэтапов этапа загрузки может быть реализовано больше одной станций заполнения, на которых могут быть нанесены и высушены композиции, причем каждая станция может работать в различных условиях, в частности при загрузке различных (в различных повторениях) композиций в желобки.
В дополнение к тиснению рисунка желобков в заранее выполненной гибкой мембране, состоящей из одного или более слоев, мембрана может быть отлита из относительно вязкого, но текучего материала, причем желобки выполняют до отверждения пленки. Заранее отвержденный материал может быть назван "предмембранным" материалом. Например, мембрана может быть образована путем выдавливания предмембранного материала сквозь сопло, содержащее по меньшей мере на части своего контура выступы, выполненные с возможностью получения соответствующих желобков в пленке при ее отверждении. Сходно с процессом, описанным в контексте ФИГ. 1, текучий предмембранный материал может быть отлит сквозь гладкую выемку, а желобки могут быть образованы посредством вращающегося штамповочного ролика или посредством пластин, несущих требуемый рисунок ножевых штампов. В зависимости от используемых материалов, отверждение относительно текучего предмембранного материала с получением гибкой мембраны с рисунком желобков согласно настоящему изобретению может быть обеспечено путем охлаждения и/или отверждения пленки. Известны подобные процессы холодного/горячего тиснения и ультрафиолетового тиснения.
Например, предмембранный материал может представлять собой материал, отверждаемый под действием ультрафиолетового излучения, который может быть отлит, например, между вращающимся штамповочным роликом и прозрачной противоположной поверхностью (например, прижимным роликом) с обеспечением возможности отверждения пленки под действием ультрафиолетового излучения при ее прохождении сквозь зазор, в котором осуществляют образование желобков или выемок. Предмембранный полимер или смесь полимеров может быть отлит в виде одного самонесущего слоя или может быть отлит с образованием слоя, выполненного с возможностью формирования рисунка (например, выполненного из каст-полипропилена), на относительно менее деформируемом опорном слое (например, выполненного из полиэтилентерефталатовой пленки).
При необходимости желобки могут быть образованы посредством направленного лазерного луча. В подобных примерах реализации лазерный луч направляют на надлежащие точки на мембране для абляции частей мембраны или для нагревания мембраны, приводящего к усадке. Кроме того, желобки могут быть образованы посредством одного или более пробойников, оказывающих давление на мембрану.
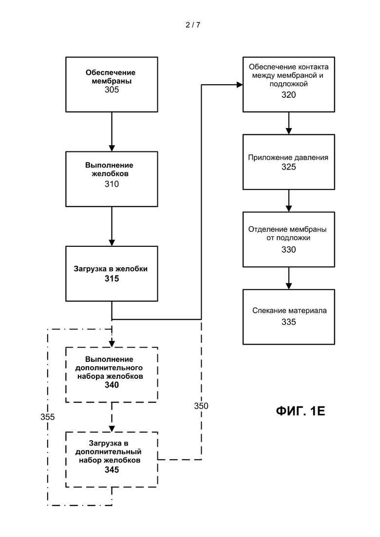
На ФИГ. 1E показана упрощенная блок-схема, иллюстрирующая этапы процесса нанесения рисунка электрических проводников на подложку, которая в свою очередь может формировать солнечный элемент. Процесс начинают с обеспечения 305 подходящей гибкой мембраны и образования 310 рисунка желобков на первой поверхности мембраны, причем рисунок по меньшей мере частично соответствует требуемому рисунку электрических проводников, подлежащему нанесению на подложку. Затем желобки загружают 315 композицией, содержащей электропроводящие частицы и адгезив. Этап загрузки, включающий заполнение желобков требуемой композицией и последующее необязательное высушивание композиции и/или очистку пространства между желобками, может быть повторен до обеспечения расположения высушенной композиции по существу вровень с поверхностью мембраны. Затем обеспечивают 320 контакт между мембраной и подложкой и прикладывают 325 давление в области между мембраной и подложкой для обеспечения прикрепления композиции, загруженной в желобки на первой поверхности мембраны, к подложке. Затем мембрану отделяют 330 от подложки для переноса по меньшей мере части (и предпочтительно всей) композиции из желобков на первой поверхности мембраны на подложку и обеспечивают приложение тепла или энергии другого вида для спекания или другого сплавления 335 электропроводящих частиц для обеспечения электропроводности рисунка композиции, перенесенного на подложку из желобков.
Этап загрузки, включающий заполнение желобков требуемой композицией или композициями, может также включать по существу высушивание или другую стабилизацию композиции или композиций. Подобные этапы могут быть повторены до тех пор, пока в достаточной степени высушенная композиция по существу не достигнет уровня вровень с поверхностью мембраны. Этап загрузки также может включать один или более этапов очистки, которые могут быть выполнены одновременно с одним или более процессами заполнения (или отдельно от указанных процессов) посредством ракеля, скребка, щетки и т.п.В другом варианте или дополнительно, первая поверхность мембраны может быть вытерта, обметена, или очищена другим образом.
На виде в перспективе по ФИГ. 2A показано, что мембрана может представлять собой непрерывную мембрану, на которую многократно наносят одинаковый рисунок желобков. Рисунок может содержать параллельные линии, проходящие параллельно длине мембраны, причем указанные линии образуют посредством окружных ножевых штампов 106 на штамповочном ролике 102, а также поперечные шины, образуемые ножевыми штампами 108, проходящими в осевом направлении на поверхности ролика 102. Увеличенный вид в поперечном сечении нескольких примерных ножевых штампов 106 показан на ФИГ. 2B. Для образования проходящих в диагональном направлении желобков могут быть использованы спиральные ножевые штампы (не показаны) на штамповочном ролике 102; сходным образом, относительно изогнутые соединительные ножевые штампы могут быть использованы для соединения вышеописанных линейных штампов с обеспечением возможности реализации любого требуемого рисунка проводников. Несмотря на то, что в целях упрощения иллюстрации ножевые штампы 106 и 108 на чертежах имеют одинаковую длину в своей группе, подобная конфигурация не является обязательной (например, см. ссылочные обозначения 520 и 530 на ФИГ. 5A).
Гибкая мембрана
Согласно вышеприведенному описанию, мембрана должна быть недостаточной упругой для возвращения в исходную форму после прохождения сквозь зазор, между пластинами, или после выполнения желобков любым требуемым способом. Мембрана может быть соответствующим образом выполнена из одного или более пластиковых полимеров, в частности, из термопластичного полимера или полимеров, выбранных из группы, включающей циклоолефиновый сополимер, этиленвинилацетат, полиамид, поликарбонат, полиэтилен, полиэтилентерефталат, полипропилен, полиуретан, поливинилхлорид, и замещенные варианты указанных материалов. Тем не менее, в другом варианте мембрана может быть выполнена из других полимеров или из непластиковых материалов, таких как фотополимеры, которые могут быть отверждены после штамповки желобков в любой из них. Предпочтительно, мембрана обладает гибкостью, достаточной для ее сворачивания. Также мембрана должна обладать гибкостью, достаточной для отсоединения мембраны от находящейся в контакте с ней поверхности (например, подложки).
Следует подчеркнуть, что вышеописанный способ образования мембраны, содержащей рисунок желобков, не является фундаментальной частью настоящего изобретения. Может быть использована любая мембрана, образованная путем выдавливания, штамповки, или механической обработки, при условии обеспечения достаточной податливости (и предпочтительно, гибкости) и возможности поддержания точных желобков требуемых глубины, ширины и поперечного сечения (например, трапециевидного или треугольного поперечного сечения), причем желобки формованы и разнесены в пространстве на рисунке согласно соответствующим требованиям.
Мембрана может быть обеспечена в виде листов или непрерывного полотна. Размеры мембраны не являются ограничивающими, но предпочтительно являются соразмерными с наносящим рисунок элементом и с целевой подложкой. Например, ширина мембраны может примерно соответствовать длине штамповочного ролика 102 в его осевом направлении, а длина мембраны (в случае обеспечения мембраны в виде отдельных листов), при рассмотрении длины в качестве направления, параллельного направлению перемещения, обычно в небольшой степени кратна окружности ролика. Толщина мембраны превышает высоту ножевых штампов (т.е. глубину желобков) и обычно находится в диапазоне 20-100 мкм. В случае выполнения мембраны из более чем одного слоя полимеров, толщина мембраны может находиться в диапазоне 20-150 мкм, причем толщина каждого из слоев находится в диапазоне 0,5-100 мкм. Например, опорный слой (например, выполненный из полиэтилентерефталата) может иметь толщину 8-75 мкм, выполненный с возможностью нанесения рисунка/деформации слой (например, выполненный из каст-полипропилена) может иметь толщину 10-75 мкм, а защитный герметизирующий слой, при необходимости способствующий последующему надлежащему контакту с подложкой (например, выполненный из сополимерной смолы этилена и винилацетата, такой как доступная на рынке смола марки Elvax®) может иметь толщину 0,5-5 мкм.
Следует отметить, что рисунки, полученные в результате одного оборота штамповочного ролика, могут быть достаточными для выполнения множества конечных изделий даже в случае, если ламинационный контакт между мембраной и требуемой подложкой выполняют одновременно и/или последовательно на участке, соответствующем ряду подобных конечных изделий.
При необходимости поверхностные свойства гибкой мембраны могут быть изменены (например, посредством физической или химической обработки) для повышения пригодности мембраны к нанесению любого из нижеприведенных материалов. Например, в случае, если гибкая мембрана выполнена из гидрофобного полимера, а композиции, подлежащие последующему нанесению, могут в недостаточной мере смачивать мембрану или взаимодействовать с ней другим образом, может быть выполнена модификация поверхности полимера или ее части, такая как избирательная модификация поверхности стенок желобков. Поверхность может быть обработана (например, коронированием или путем химической обработки улучшающими смачивание агентами) для улучшения смачиваемости гибкой мембраны или ее желобков, в результате чего мембрана становится более гидрофильной. Композиции также могут содержать агенты, улучшающие смачивание мембраны композициями. Мембрана или ее часть, а также сопрягаемые с ней композиции, обладают достаточной смачиваемостью или смачивающей способностью, соответственно, в случае обеспечения контакта между ними, достаточно плотного для предотвращения нежелательного захвата пузырьков воздуха, размеры и/или количество и/или плотность которых может ослабить итоговый рисунок. Предпочтительно, оптимальное смачивание гибкой мембраны любой сопрягаемой с ней композицией приводит к образованию последующего высушенного слоя композиции, являющегося по существу непрерывным и/или лишенным пузырьков воздуха.
Композиции для рисунков проводящих линий
После образования рисунка желобков на мембране 100 следующий этап процесса заключается в заполнении желобков композицией, содержащей электропроводящие частицы, например, серебра и адгезив, такой как термоплавкий полиамид (в случае осуществления переноса при повышенной температуре). Указанный этап загрузки показан на ФИГ. 1B, на которой мембрана 100 проходит между прижимным роликом и ракелем или скребком 130, вдавливающим композицию 120 в желобки 110 для заполнения желобков образом, показанным справа от ракеля 130 на ФИГ. 1B, причем заполненный желобок показан ссылочным обозначением 140. Увеличенный вид в поперечном сечении примерных желобков 110 перед их загрузкой показан на ФИГ. 2C.
В нижеследующем описании пропорциональные содержания различных соединений или агентов, образующих композицию, могут быть представлены в виде соотношений по весу или по объему, или в качестве процентного значения содержания во всей композиции, ее части, или даже относительно другого единичного компонента, причем процентные значения могут быть приведены с сопутствующими указаниями "мас.%" и "об.%", соответственно.
Частицы (вне зависимости от материала частиц, которые могут быть выполнены из металла или адгезива, такого как стеклоприпой) могут иметь любую форму, например, могут образовывать сферические бусины/хлопья/стержни правильной или неправильной формы и т.п., причем предпочтительно, отдельные частицы металлов лишены полостей, которые могут предотвращать надлежащее спекание или обжиг на последующем этапе. Максимальный размер частиц должен быть меньше минимального размера желобка по любой оси (например, частицы имеют размеры порядка нескольких микрон, обычно не превышающие 10-20 мкм, и зачастую значительно меньше). Излишне крупные частицы могут недостаточно хорошо заполнять желобок, в зависимости от формы частиц, причем подобное недостаточное заполнение ухудшает или предотвращает образование в достаточной мере электропроводящих линий. Несмотря на то, что более мелкие частицы более свободно заполняют желобок, использование излишне мелких частиц может не быть полезным. Во-первых, указанные частицы могут претерпевать неконтролируемое спекание при температурах, меньших по сравнению с температурой спекания более крупных частиц (например, при температуре переноса примерно 135°C). Подобное преждевременное спекание излишне мелких частиц может впоследствии влиять на перенос пасты (препятствуя ее потоку) и сопряжение пасты с подложкой. Во-вторых, увеличенная площадь поверхности множества мелких частиц может требовать наличия дополнительного адгезива, что в свою очередь может влиять на реологические свойства композиции и на обрабатываемость пасты. Кроме того, повышенное содержание адгезива может препятствовать спеканию (что влияет на последующую проводимость). Следовательно, предпочтительны частицы, имеющие максимальный размер по меньшей мере 200 нм; и, при необходимости, по большей мере 10 мкм. В некоторых примерах реализации электропроводящие частицы имеют максимальный размер в диапазоне 0,5-5 мкм или 1-3 мкм. Группы частиц различного размера (что не является ключевым фактором для некоторых форм) могут способствовать улучшению заполнения желобков, в результате чего желобки содержат меньшее количество свободных пространств между частицами. Подобное заполнение способствует спеканию (и, при необходимости, обжигу) и может улучшать проводимость итоговой спеченной/обожженной линии.
Данные о размере частиц обычно предоставлены поставщиком и могут быть определены в ходе стандартного тестирования посредством, например, приемов динамического рассеяния света, согласно которым частицы принимают за сферы с эквивалентным рассеянием и размером, выраженным в виде гидродинамического диаметра. Размеры частиц также могут быть примерно установлены посредством способов микроскопии и анализа изображений, полученных посредством растрового электронного микроскопа (РЭМ), просвечивающего электронного микроскопа (ПЭМ), фокусируемого ионного луча (ФИЛ), и/или посредством приемов конфокальной лазерной сканирующей микроскопии. Подобные способы известны специалисту и не требуют дальнейшего подробного описания. Вследствие того, что частицы обычно имеют различные размеры в различных направлениях (за исключением случаев, когда частицы представляют собой идеальные сферы), в целях простоты используют значение наибольшего размера в наибольшей плоскости частицы. В случае использования шарообразных или близких к сферической форме частиц "наибольший размер" примерно равен диаметру частиц, который может быть определен посредством приемов динамического рассеяния света. В подобном случае для оценки размера частиц может быть использован гидродинамический диаметр 90% от всей группы частиц (но обычно 50% от всей группы). Другими словами (и в зависимости от формы), частицы могут быть охарактеризованы по наибольшей длине L, по толщине и по гидродинамическим диаметрам DV90, DV50, DN90 или DN50.
В настоящем описании термин "электропроводящие частицы" охватывает частицы, выполненные из любого проводящего материала, включая металлы, оксиды металлов, соли металлов, металлорганические соединения, сплавы и проводящие полимеры, а также любые электрохимически совместимые комбинации указанных материалов (например, смесь двух металлов - алюминия и серебра). Под электрохимической совместимостью понимают, что любой проводящий материал любого слоя обладает химической инертностью в отношении любого другого проводящего материала указанного слоя или других слоев при осуществлении загрузки желобков на многократных подэтапах заполнения. В частности, ни один из материалов не оказывает негативного влияния на надлежащий эффект, в частности не влияет на электропроводность и/или проводимость итоговых проводящих линий, которые могут быть сформированы посредством настоящего способа, и на способность указанных линий к надлежащему прикреплению к подложке в положенный срок.
Металлы могут быть выбраны из группы, включающей алюминий, медь, золото, серебро, олово, никель, платину и цинк; а сплавы могут быть выбраны из группы, включающей бронзу, латунь и палладиево-серебряный сплав. Металлорганические соединения могут быть выбраны из группы, включающей формиат меди(II) (C2H2CuO4), гексаноат меди(II) (C12H22CuO4), мезителен меди(I) (C9H11Cu), винилтриметилсилан меди(I) гексафторацетилацетонат, неодеканоат серебра (C10H19AgO2), их предшественники, гидраты и/или соли.
Помимо электропроводящих частиц композиция 120 содержит адгезив. Могут быть использованы различные виды или количества адгезива в зависимости от выбранного этапа способа и итоговой подложки. В широком смысле адгезив может представлять собой одно или более из a) органического связующего вещества, достаточного для поддержания сцепляемости электропроводящих частиц, но недостаточного для обеспечения достаточной адгезии к подложке ("слабого адгезива"), b) органического адгезива, дополнительно пригодного для обеспечения требуемой адгезии к подложкам ("сильного адгезива"), и c) стеклоприпоя, который можно рассматривать в качестве неорганического адгезива, при использовании способа в условиях повышенной температуры со стеклянной или восприимчивой к стеклу подложкой, такой как используемая при формировании солнечных элементов. В случае, если первая композиция лишена сильного органического адгезива вида (b), впоследствии используют вторую композицию, обогащенную подходящим адгезивом, согласно нижеприведенному более подробному описанию со ссылкой на ФИГ. 3. Несмотря на то, что неорганический стеклоприпой помещен в настоящем описании в категорию адгезивов (указанная функция присуща неорганическому стеклоприпою), специалисту будет очевидно, что подобные соединения могут выполнять дополнительные функции при изготовлении солнечных элементов.
Адгезивные соединения могут представлять собой, например, чувствительные к давлению адгезивы в случае выполнения переноса исключительно под давлением, или чувствительные к нагреванию адгезивы (например, термоплавкие адгезивы) в случае, если условия переноса дополнительно включают повышенную температуру. Термоплавкие адгезивы могут представлять собой полимеры с температурой размягчения, находящейся в значимом для переноса диапазоне, например, от 60°C до 180°C. Находящаяся в подобных пределах температура размягчения при необходимости может быть достигнута путем смешивания адгезивного агента, имеющего относительно более высокую температуру размягчения, с пластификатором, выполненным с возможностью снижения указанной температуры фазового перехода. Значения температуры размягчения полимеров указаны поставщиками указанных полимеров, но также могут быть оценены в ходе стандартного тестирования посредством способов, известных специалисту, например, посредством дифференциальной сканирующей калориметрии.
Адгезив совместим с другими компонентами композиции (например, с электропроводящими частицами, стеклоприпоем (в случае его присутствия) и носителем) и с условиями выполнения процесса, например, адгезив выполнен с обеспечением надлежащей текучести композиции внутри желобков и/или при удалении излишнего остатка с поверхности мембраны, с обеспечением достаточной нехрупкости для сохранения целостности рисунка, или с обеспечением достаточной теплостойкости до этапа спекания электропроводящих частиц для сохранения адгезива в количестве, позволяющем сохранять надлежащую форму. Предпочтительно, адгезив должен обладать относительно слабой адгезией к гибкой мембране (например, достаточной лишь для сохранения влажной или сухой композиции в желобках в ходе изготовления и манипулирования, но обеспечивающей возможность отсоединения от мембраны при ее отсоединении от подложки после ламинирования). С другой стороны, адгезив предпочтительно должен обладать относительно сильной адгезией к принимающей подложке (например, с обеспечением возможности переноса металлического рисунка на подложку). Преимущество заключается в том, что адгезивы с низким содержанием золы обычно способствуют спеканию металла с сопутствующим улучшением электропроводности (при необходимости, после обжига). Пригодными можно считать адгезивы с временем открытой выдержки, достаточным для обеспечения надлежащего переноса металлического рисунка на подложку, после необязательного нагревания до повышенной температуры переноса, но достаточно коротким для сохранения требуемой формы (конструктивной целостности линий рисунка) после переноса. Следует отметить, что предпочтительным является время открытой выдержки меньше нескольких секунд, одной секунды, десятых или даже сотых долей секунды.
Примерные органические адгезивы могут представлять собой полиамиды, включая, например, коммерчески доступные термоплавкие полиамидные адгезивы Uni-Rez® 147, Uni-Rez® 2620 и Uni-Rez® 2720 (ранее производимые компанией Arizona Chemical, в настоящий момент производимые компанией Kraton Corporation, США), Macromelt® 6211, Macromelt® 6238, Macromelt® 6239 и Macromelt® 6264 (Henkel, Германия), Versamid® 744 и Versamid® 754 (Gabriel Performance Products, США); терпенфенолоформальдегидные смолы, такие как Sylvaprint® 3523 и Sylvaprint® 7002 (Arizona Chemical, США); гидрированную канифоль, такую как Foral™ AX-E (Eastman Chemical Company, США); сополимеры этилена и винилацетата, включая, например, коммерчески доступный адгезив Elvax® 40W производства E.I. du Pont de Nemours and Company, Inc.; или этилцеллюлозные полимеры, включая, например, коммерчески доступные адгезивы EthocelTM 4, 7, 10 или 20 производства The Dow Chemical Company.
Стеклоприпои, подходящие для солнечных элементов, обычно выполнены из следующих видов стекла: i) стекло на основе оксида свинца (PbO) обычно боросиликатное свинцовое стекло: PbO - SiO2 - B2O3; ii) стекло на основе оксида висмута (Bi2O3), обычно боросиликатное висмутовое стекло: Bi2O3 - SiO2 - B2O3; и iii) стекло на основе оксида теллура (Tl2O).
Каждое из вышеописанных стекол может также содержать одно или более из следующих веществ: оксид алюминия (Al2O3), оксид висмута (Bi2O3), оксид бора (B2O3), оксид свинца (PbO), оксид молибдена (MoO2), оксид кремния (SiO2), оксид теллура (Tl2O), оксид вольфрама (WO3) и оксид цинка (ZnO).
Подходящее содержание электропроводящих частиц (включая стеклоприпой в случае его присутствия) составляет 30-95 об.% относительно всех твердых веществ (например, электропроводящих частиц, адгезивов и стеклоприпоя в случае его присутствия) и более предпочтительно составляет 65-90 об.% для металлической пасты, и более предпочтительно - 50-70 об.% относительно всех твердых веществ для адгезивной пасты. Содержание стеклоприпоя (в случае его присутствия) обычно составляет 0,5-15 об.% относительно электропроводящих частиц, предпочтительно - в диапазоне 1-5 об.%.
Подходящее содержание адгезива составляет: 5-70 об.% относительно всех твердых веществ (например, электропроводящих частиц, адгезивов и стеклоприпоя в случае его присутствия), предпочтительно находится в диапазоне 30-50% относительно твердых веществ для адгезивной пасты, и предпочтительно находится в диапазоне 10-35% относительно твердых веществ для металлической пасты.
Необязательные пластификаторы могут представлять собой фталаты, фосфаты, глицериды и сложные эфиры высших жирных кислот и амидов. Например, при необходимости, пластификатор может представлять собой одно или более веществ, выбранных из группы, включающей дибутилсебацинат, бутилстеарат, сложные гликолевые эфиры жирных кислот кокосового масла, бутилрицинолеат, дибутилфталат, касторовое масло, бутилстеарат, дифенилфталат, дициклогексилфталат и диоктилфталат.Содержание пластификатора (в случае его присутствия) может составлять 5-30 мас.% относительно адгезива.
Электропроводящие частицы и адгезивы могут быть смешаны в жидкости-носителе с образованием композиции 120, используемой для заполнения желобков 110. Предпочтительно, содержание носителя должно быть достаточно низким для уменьшения промежутка времени, необходимого для удаления носителя при высушивании композиции. С другой стороны, содержание носителя должно быть достаточным для обеспечения достаточной текучести композиции с обеспечением относительно быстрого заполнения желобков композицией и относительно свободного удаления избытка композиции с поверхности мембраны. Содержание жидкости-носителя в композиции обычно находится в диапазоне 30-80 об.% относительно всего объема пасты.
Жидкость-носитель может быть водной, органической, или может состоять из водно-органической смеси. Органические растворители предпочтительно являются летучими и могут быть выбраны, например, из группы, включающей линейные или разветвленные спирты C1-C7 и алкилацетаты C1-C7, причем любой из подобных растворителей предпочтительно обладает высокой чистотой в 95% или выше, обычно свыше 98%. Подобные спирты могут представлять собой один или более из метанола, этанола, н-пропанола, изопропанола, н-бутанола, изобутанола, пентанола, гексанола и гептанола. Подобные алкилацетаты могут представлять собой один или более из метилацетата, этилацетата, н-пропилацетата, изопропилацетата, н-бутилацетата, изобутилацетата, пентилацетата, гексилацетата и гептилацетата.
Согласно вышеприведенному описанию, композиция 120 может быть нанесена в ходе последовательных этапов, причем удаление жидкости-носителя между указанными этапами приводит к относительной усадке высушенной композиции по сравнению с влажной композицией.
Следует понимать, что промежуточное высушивание композиции в ходе начальных этапов заполнения, обеспечивающих частичное заполнение желобков, может не быть таким же полным, как и высушивание, осуществляемое после последнего этапа заполнения. В настоящем описании понятия "высушенная" или "по существу высушенная" композиция могут охватывать случаи содержания остаточного объема жидкости-носителя при условии, что указанное содержание не оказывает отрицательного влияния на конструктивную целостность выполненных в виде рисунка линий проводников, высушенных указанным образом, или на любой другой аспект процесса. "Высушенной" можно считать композицию, содержащую менее 5 об.%, предпочтительно менее 2 об.% или даже менее 1 об.% жидкости-носителя.
После по существу заполнения сухой композицией желобков (см. ссылочное обозначение 140 на ФИГ. 1B или любое из ссылочных обозначений 140a-d на ФИГ. 3) таким образом, что уровень композиции расположен вровень с первой поверхностью мембраны, гибкая мембрана, несущая металлический рисунок, готова к дальнейшей обработке, которая может быть выполнена другими лицами, причем дальнейшая обработка может быть разнесена во времени от этапа заполнения. В подобном случае этапы, предшествующие и следующие за обеспечением контакта между первой поверхностью мембраны и подложкой солнечного элемента, могут быть разнесены во времени.
Например, после изготовления отрезка мембраны ее изготовителем указанный отрезок может быть упакован и отправлен конечному пользователю, который будет использовать мембрану в целях формирования проводников на солнечном элементе. Мембрана может быть упакована в виде рулонов. Для предотвращения прикрепления композиции к противоположной стороне мембраны в свернутом виде вторая поверхность мембраны может обладать неадгезионными свойствами относительно первой поверхности мембраны. В другом варианте на мембрану может быть нанесен защитный лист, предпочтительно содержащий отделяемую поверхность (например, гидрофобную) и отсоединяемый от мембраны перед выполнением следующего этапа процесса.
На ФИГ. 1C показан следующий этап (который может быть выполнен прежним или другим лицом), на котором обеспечивают контакт между мембраной 100 и подложкой 150, и указанные элементы пропускают сквозь зазор 156 между двумя прижимными роликами 152, 154 для обеспечения прикрепления композиции 140 внутри желобков к поверхности подложки 150. По меньшей мере один из прижимных роликов 152 и 154 может быть нагрет до температуры, обычно находящейся в диапазоне 60-200°C для дополнительного содействия переносу. В подобном случае переносимая композиция также может быть названа "расплавленной пастой". Указанный этап также может быть назван этапом ламинирования.
Наконец, согласно ФИГ. 1D, часть мембраны 100, контакт композиции которой с подложкой 150 уже был обеспечен, отводят от подложки 150 в направлении, по существу показанном стрелкой 160; при этом мембрану 100 по прежнему прижимают к подложке 150 посредством ролика 170 в точке отделения для отсоединения мембраны 100 от подложки на известном участке, причем линии 140' композиции оставлены прикрепленными к подложке 150.
Линии 140' могут еще не быть электропроводящими, а электропроводящие частицы в композиции могут быть спечены, сплавлены, или другим образом преобразованы в электропроводное состояние. Известны различные способы спекания, включая тепловое спекание, светоиндуцированное спекание, микроволновое спекание, электрическое спекание и химическое спекание, причем выбор способа спекания зависит от характера композиций и предпочтительных условий выполнения процесса. В свою очередь, указанные факторы могут быть продиктованы сущностью соответствующего итогового продукта. Спекание обычно осуществляют путем термического воздействия с образованием рисунка проводников, соответствующего рисунку на штамповочном ролике 102 по ФИГ. 1A.
В случае нанесения электропроводного рисунка на полупроводниковую пластину (например, полированную или неполированную, легированную или нелегированную кремниевую пластину, при необходимости содержащую противоотражающее покрытие), широко используемую при изготовлении некоторых солнечных элементов, размещения электропроводников на поверхности полупроводника недостаточно для достижения требуемого электрического соединения. В подобном примере реализации композиция предпочтительно также содержит стеклоприпой, и композицию подвергают обжигу для обеспечения сплавления рисунка проводников с подложкой. Расплавленное стекло протравливает диэлектрический слой полупроводниковой пластины и обеспечивает возможность перехода по нему ионов металла (например, серебра) на подложку (например, кремниевую подложку или тонкую пленку) с образованием проводящего пути между поверхностным металлическим рисунком и пластиной под диэлектрическим или пассивирующим слоем (в случае его наличия). Подобный обжиг может быть выполнен отдельно или в качестве части этапа спекания электропроводящих частиц. Однако значения температуры и промежутков времени, необходимых для сплавления проводников и полупроводниковой подложки, отличаются от значений, достаточных для спекания. Например, спекание электропроводящих частиц может быть осуществлено при температуре спекания в диапазоне от примерно 100-150°C до примерно 800°C, а обжиг рисунка композиции для образования электрического контакта с подложкой может быть выполнен при температуре обжига в диапазоне от примерно 500°C до примерно 900°C, и соответственно, температура обжига превышает температуру спекания.
В ходе заполнения желобков 110 в мембране 100 композицией 120 большая текучесть композиции может быть обеспечена путем добавления растворителя, который согласно вышеприведенному описанию может представлять собой водный или органический растворитель. В подобном случае композиция может быть подвергнута усадке в ходе высушивания и заполняет желобки не полностью. На ФИГ. 3A-3D схематично показаны необязательные этапы, направленные на решение (и, при необходимости, использование) указанного феномена.
На ФИГ. 3A желобки заполнены уникальной композицией 210. Подобная по существу полная загрузка желобка любой композицией может представлять собой результат последовательных этапов заполнения желобков, причем объем композиции уменьшается при каждом высушивании каждой из нанесенных порций идентичной композиции. При нахождении высушенной композиции 210 вровень с поверхностью мембраны 100 образуется структура, указана ссылочным обозначением 140a. Число последовательных циклов заполнения, достаточное для полного заполнения желобка может зависеть от состава композиции, размеров желобка и условий выполнения процесса, но обычно не превышает пяти циклов, причем предпочтительным является использование трех или четырех циклов.
Эффект усадки композиции 210 от поверхности мембраны 100 при высыхании лучше виден на ФИГ. 3B, на которой углубление, оставленное композицией 210, нанесенной и высушенной на первом этапе, заполняют на втором этапе, на котором в проиллюстрированном примере используют вторую композицию 220. Указанный процесс может быть повторен необходимое количество раз для обеспечения итогового заполнения желобков 110, при котором композиция расположена по существу вровень с поверхностью мембраны 100. При нахождении высушенной композиции 220 по существу вровень с поверхностью мембраны 100 образуется структура, указанная ссылочным обозначением 140b.
При выполнении последовательных этапов и/или циклов для заполнения желобков состав композиции может варьироваться на различных этапах/циклах. По существу, лишь последняя наносимая композиция должна обладать адгезионной способностью, достаточной для прикрепления к подложке, а на более ранних этапах адгезив призван лишь обеспечивать связь электропроводящих частиц друг с другом. В другом варианте или дополнительно, электропроводящие частицы или их смеси, используемые в каждой из композиций для каждого повторного заполнения, могут варьироваться на различных этапах заполнения. Таким образом, на ФИГ. 3A композиция 210 может содержать относительно сильный адгезив вследствие того, что указанная композиция является единственной композицией, образующей заполненный желобок 140a, а на ФИГ. 3B композиция 220 должна обеспечивать указанные свойства. Соответственно, композиция 210 на последнем чертеже может содержать "слабый адгезив"/связующее или сильный адгезив.
На ФИГ. 3С для покрытия желобков перед их заполнением композицией, содержащей электропроводящие частицы, используют разделительное покрытие 230, свободно отделяемое от мембраны 100, для получения поперечного сечения заполненного желобка, отмеченного ссылочным обозначением 140c. Естественно, в другом варианте указанная конструкция может быть многослойной и может содержать дополнительные слои композиции, например, с более высокой концентрацией адгезива, такой как композиция 220. Следовательно, в некоторых примерах реализации проводящие линии, которые могут быть получены посредством настоящего способа, могут иметь многослойную структуру.
Разделительное покрытие 230 может состоять из относительно разбавленного полимера в органическом растворителе (например, в спирте C1-C7, таком как бутанол). "Разделительный" полимер обладает низкой адгезионной способностью относительно поверхности мембраны, и предпочтительно, представляет собой полимер с низким содержанием золы, что позволяет достичь по существу полного удаления указанного полимера (например, путем сжигания) на последующем этапе в случае, если указанный полимер перенесен вместе с металлическими линиями. В некоторых случаях полимер разделительной композиции может быть совместимым (например, в контексте адгезии) с композициями, заливающими указанный полимер. Соответственно, после высушивания разделительной композиции она может оставаться прикрепленной к стенкам желобков или может быть перенесена вместе с линиями композиции.
"Разделительный" полимер может представлять собой, например, нерастворимый в воде этилцеллюлозный полимер или растворимый в воде простой эфир целлюлозы, в зависимости от предпочтительного носителя подобного разделительного покрытия. Концентрация полимера обычно не превышает 10 мас.%, причем предпочтительными являются композиции с концентрацией полимера в 5 мас.% или меньше. Сходно с другими композициями, разделительная композиция может быть нанесена для заполнения желобков посредством скребка, причем органический растворитель удаляют путем высушивания. Вследствие низкого содержания полимера высушенная разделительная композиция обычно оседает на стенках желобков в виде пленки толщиной 1-2 мкм или меньше. При необходимости сходным образом может быть нанесен второй слой разделительной композиции.
Например, разделительное покрытие 230 может состоять из 5 мас.% нерастворимой в воде этилцеллюлозы (такой, как доступная под маркой Ethocel™ Std 100 производства The Dow Chemical Company) в 1-бутаноле (производства Sigma Aldrich). В другом варианте, если предпочтительны водные композиции, разделительное покрытие может состоять из 10 мас.% растворимого в воде простого эфира целлюлозы (такого, как доступный под маркой Methocel™ E15 производства The Dow Chemical Company) в деионизированной воде.
Следует отметить, что в случае, если все композиции, используемые для загрузки желобков, а также для необязательных предварительного покрытия разделительным покрытием и/или последующего покрытия адгезивным покрытием, являются водными (например, с содержанием воды по меньшей мере 60 мас.% от всей жидкости-носителя композиции), может быть предпочтительной обработка (по существу гидрофобной) гибкой мембраны для содействия равномерному смачиванию мембраны указанными композициями. Подобная обработка, которая может быть осуществлена путем коронирования, предпочтительно может быть выполнена после нанесения разделительного покрытия (в случае его использования) и высушивания указанного покрытия внутри желобков, но также может быть выполнена (в случае выполнения указанной обработки в целом) перед нанесением разделительного покрытия.
На ФИГ. 3D показана необязательная структура 140d, которая в дополнение к композиции 210, заполняющей желобки, содержит адгезивное покрытие 250, покрывающее всю поверхность мембраны. Адгезивное покрытие 250 предназначено для содействия переносу композиции из желобков на подложку. При необходимости поверхность подложки может затем быть промыта растворителем для удаления адгезива со всех участков, на которых адгезив открыто расположен на поверхности и не находится под линиями композиции. Однако в большинстве случаев удаление адгезивного покрытия посредством растворителя может быть ненужным вследствие сжигания адгезива при спекании (и/или последующем обжиге) металлических линий, перенесенных на подложку.
Несмотря на то, что структура 140d показана на ФИГ. 3D в виде структуры, содержащей одну композицию 210, указанная структура может быть выполнена из нескольких слоев согласно описанию со ссылкой на ФИГ. 3B и 3C.
Адгезивное покрытие 250 может состоять из вышеописанных сильных органических адгезивов (но лишено стеклоприпоя), причем указанные адгезивы в данном случае диспергированы или растворены в носителе, не оказывающем отрицательного воздействия на конструктивную целостность высушенных композиций, заполняющих желобки. Количество адгезивного полимера в подобном инертном носителе может составлять в диапазоне 5-50 мас.% от всей композиции адгезивного покрытия. "Инертный" носитель может представлять собой по меньшей мере один из вышеописанных органических растворителей, причем летучесть подобных растворителей укорачивает время возможного воздействия указанных композиций на ранее нанесенные и высушенные композиции. После высушивания адгезивное покрытие должно иметь толщину, предпочтительно находящуюся в диапазоне 0,2-3 мкм.
Адгезивное покрытие 250 может состоять, например, из 5 мас.% полиамидного термоплавкого адгезива (Uni-Rez® 2720), 15 мас.% бутанола (Sigma Aldrich) и 80 мас.% пентилацетата (Sigma Aldrich). В другом варианте, в случае, если предпочтительными являются водные композиции, адгезивное покрытие может состоять из 5 мас.% растворимого в воде адгезива, состоящего из поли(2-этил-2-оксазолина) (такого, как коммерчески доступный под маркой Aquazol® 5 производства Polymer Chemistry Innovations), 1 мас.% совместного растворителя, такого как бутанол, 0,25 мас.% первого смачивающего вещества, такого как кремнийорганическое поверхностно-активное вещество (например, BYK®-349 производства BYK), 0,075 мас.% второго смачивающего вещества, такого как кремнийорганическое поверхностно-активное вещество (например, BYK®-333 производства BYK), в деионизированной воде.
Другие электроды
Процессы согласно вышеприведенному описанию в большей степени подходят для формирования тонких проводников, но при необходимости покрытия большой поверхности электродом, таким как, например, задний электрод солнечного элемента, процесс может быть значительно упрощен согласно ФИГ. 4A и 4C. На ФИГ. 4A ракель с закругленным наконечником прижимают к мембране 100 при прохождении мембраны между прижимным роликом 402 и ракелем 400. Избыточное количество композиции 404 наносят на мембрану 100 выше по потоку относительно ракеля 400, и толщину композиции равномерно уменьшают при прохождении композиции под ракелем. Толщина может быть установлена путем регулирования кривизны наконечника ракеля 400 и прикладываемого давления. Избыточное количество композиции может быть нанесено не по всей длине ракеля, или ракель при необходимости может быть "сегментирован", причем композицию наносят в виде слоев на целевой части мембраны. Затем композиция 404 может быть высушена.
Затем мембрану 100, несущую высушенную композицию 404, прижимают к подложке 150 согласно ФИГ. 4B путем перемещения мембраны сквозь зазор между двумя прижимными роликами 406 и 408, и мембрана может быть отсоединена от подложки 150 согласно ФИГ. 4C с сохранением покрытия композиции 404 на подложке. Прижимные ролики 406 и 408 также могут быть нагреты для содействия переносу композиций, содержащих адгезив с температурой размягчения, равной температуре переноса. Указанное покрытие из высушенной композиции 404 затем может быть подвергнуто спеканию (например, нагрето) для придания покрытию проводимости на подложку 150 и, при необходимости, может быть подвергнуто обжигу для формирования заднего электрода солнечного элемента. Подходящий задний электрод солнечного элемента не только может быть сплавлен с пластиной согласно вышеприведенному описанию, но также может образовывать сильнолегированный слой (например, легированный алюминием) на кремниевой подложке. Подобный сильнолегированный слой, называемый полем обратного рассеяния, может улучшать эффективность преобразования энергии солнечным элементом. Подобные соображения очевидны специалисту, который соответствующим образом может разработать рецептуру композиции 404 в соответствии с принципами, раскрытыми в вышеприведенном описании в отношении композиции 120.
Следует понимать, что этапы наложения слоев, показанные на ФИГ. 1C и на ФИГ. 4B, могут быть выполнены одновременно. Указанный подход обеспечивает возможность нанесения заднего электрода большой площади на полупроводниковую пластину одновременно с нанесением на переднюю поверхность указанной пластины проводящего рисунка-решетки. Спекание и сплавление композиции на обеих сторонах пластины может затем быть выполнено одновременно.
В другом варианте задние электроды могут быть нанесены на противоположную сторону подложки любым способом, используемым в соответствующей промышленности, например, путем трафаретной печати. Подобный способ может быть использован непосредственно на задней стороне подложки, но предпочтительно может быть использован для нанесения слоя композиций по настоящему изобретению на гибкую мембрану с обеспечением возможности сопутствующего переноса "переднего" металлического рисунка и "заднего" электрода согласно вышеописанному способу. В случае формирования заднего электрода на мембране, для образования слоя композиции на мембране может дополнительно быть рассмотрен вариант использования гравюрной печати.
Пример солнечного элемента
Согласно вышеприведенным принципам, схематично суммированным на ФИГ. 5A, изготовлен проводящий металлический рисунок. На чертеже показан металлический рисунок 500. Подобный рисунок может быть "негативным", т.е. выполненным ниже поверхности мембраны при по существу заполнении высушенными композициями желобков, или "позитивным", т.е. выступающим над подложкой (например, поверхностью пластины) после переноса. Продольные желобки металлических линий 510 выполнены посредством ножевых штампов 106 (см. ФИГ. 1A или ФИГ. 2A-2B), а поперечные желобки или металлические линии (например, шины) отмечены ссылочным обозначением 520 (в случае их "непрерывности", т.е. пересечения всех продольных линий металлического рисунка) или ссылочным обозначением 530 (в случае пересечения лишь подгруппы линий 510). В любом случае поперечные желобки или линии 520 и 530 выполнены посредством ножевых штампов 108 (см. ФИГ. 1A или ФИГ. 2A). Продольные линии, предназначенные для сбора тока, вырабатываемого формируемым фотогальваническим элементом, могут также быть названы линиями решетки или пальцами.
Гибкая мембрана, использованная в данном примере, представляет собой каст-полипропиленовую пленку (толщиной 50 мкм, каст-полипропилен RollCast™ 14 производства R.O.P. Ltd). Рисунок был нанесен посредством вращающегося штампа 102, причем для формирования продольных желобков была использована никелевая шайба, образующая примерно 85 ножевых штампов 106. Края ножевых штампов 106 имеют трапециевидную форму (согласно ФИГ. 5B) с основанием шириной WB=20 мкм, плоской вершиной с шириной wT=12 мкм и с высотой h=32 мкм. Расстояние d между соседними ножевыми штампами составляет 1,8 мм. Длина каждого из ножевых штампов вдоль окружности ролика 102 была выбрана таким образом, что она совместима с твердой опорой, на которую переносят металлический рисунок (включая, при необходимости, "кайму" между рисунками).
Выполненные указанным образом желобки (с основанием WB=25 мкм, вершиной wT=12 мкм и глубиной (высотой h) примерно 25 мкм, причем расстояние между обращенными друг к другу краями двух соседних желобков составляет примерно 1775 мкм) были заполнены разделительной композицией, состоящей из 5 мас.% Ethocel™ Std. 100 (The Dow Chemical Company) в 1-бутаноле (Sigma Aldrich). Композиция нанесена на снабженную рисунком мембрану посредством ракеля (MDC Longlife Multiblade, Daetwyler), расположенного под углом в 65-70° относительно нормали поверхности. Выполненный из нержавеющей стали скошенный ракель имеет ширину 20 мм, толщину 0,2 мм, угол скоса 3°, длину скоса 2,7 мм и радиус наконечника 18 мкм. Приложенное усилие равно 3 Н/см. Ракель был расположен параллельно оси вращающегося штампа 102, перпендикулярно пазам, сформированным ножевым штампом 106, и в состоянии относительного перемещения относительно гибкой мембраны, причем направление перемещения параллельно линиям 510. Затем мембрану подвергли нагреванию посредством промышленного фена до преобразования разделительной композиции в по существу сухую пленку. Температура нагревания/высушивания была подобрана с учетом соображений предотвращения деформации мембраны (<70°C для каст-полипропилена). В данном примере разделительную композицию нанесли в ходе одного этапа.
После формирования тонкой разделительной пленки, покрывающей стенки желобков, в желобки была загружена металлическая паста. Металлическая паста содержала a) частицы серебра (бусины размером 1-3 мкм) и стеклоприпой на основе оксида свинца (частицы размером 1-3 мкм), причем указанные элементы составили примерно 60 об.% от всех твердых веществ, и причем содержание стеклоприпоя составило приблизительно 3-5 об.% относительно электропроводящих частиц; b) полиамидный адгезив Uni-Rez® 2720 или Uni-Rez® 147, составляющий примерно 40 об.% от всех твердых веществ; и пентанол, составляющий 40 об.% от всей пасты. При преобразовании в проценты по весу от всей композиции состав указанной металлической пасты представил собой 87,3-88,7 мас.% частиц серебра, 1,3%-2,7 мас.% стеклоприпоя, 6 мас.% адгезива, и 4 мас.% носителя.
Вслед за каждым из этапов загрузки было выполнено последующее удаление органического носителя и высушивание композиции посредством промышленного фена. Для полного заполнения желобков (вровень с поверхностью гибкой мембраны) обычно было необходимо выполнение трех подобных этапов.
В случае необходимости использования дополнительного слоя адгезивного покрытия указанное покрытие наносили посредством проволочного стержня толщиной в 6 мкм, причем высушенное адгезивное покрытие имело толщину менее 2 мкм. Адгезивное покрытие, нанесенное в ходе некоторых испытаний, содержит 10 мас.% Uni-Rez® 2720 в смеси растворителей, состоящей из бутанола и пентилацетата (в соотношении 1:5 по весу). Были выполнены альтернативные адгезивные покрытия с использованием дополнительных термоплавких адгезивов, включая Uni-Rez® 2620 производства Kraton Corporation, США, Macromelt® 6211, Macromelt® 6224, Macromelt® 6238, и Macromelt® 6239 производства Henkel, Германия, и Versamid® 744 и Versamid® 754 производства Gabriel Performance Products, США. 10 мас.% каждого из полиамидных термоплавких адгезивов смешали с 90 мас.% органических растворителей. Полиамидные адгезивы Macromelt® и Versamid® смешали в метиловом эфире пропиленгликоля (таком, как коммерчески доступный Dowanol™ PM производства The Dow Chemical Company). Полиамидные адгезивы Uni-Rez® 2620 и Uni-Rez® 2720 были использованы в других дополнительных растворителях, причем каждый из адгезивов был смешан в (a) 90 мас.% бутанола, (b) 90 мас.% пентанола, (c) 15 мас.% бутанола и 75 мас.% амилацетата, и (d) 15 мас.% пентанола и 75 мас.% амилацетата; все использованные растворители были предоставлены Sigma-Aldrich со степенью чистоты 95%. Все вышеуказанные композиции адгезивного покрытия на основе полиамидных термоплавких адгезивов признаны удовлетворительными для переноса рисунков с мембраны на подложку.
В ходе ряда дополнительных испытаний протестированы и сходным образом признаны удовлетворительными различные другие адгезивные полимеры. Три дополнительных альтернативных покрытия состояли из (a) 20 мас.% полностью гидрированной живичной канифоли (Foral™ AX-E производства Eastman Chemical Company) в 80 мас.% Dowanol™ PM, и (b) 10 мас.% терпенфенолоформальдегидной смолы (Sylvaprint® 3523 или Sylvaprint® 7002 производства Arizona Chemical) в 90 мас.% Dowanol™ PM.
На ФИГ. 5C показан микроснимок, полученный посредством конфокального лазерного сканирующего микроскопа, на котором проиллюстрирован желобок гибкой подложки, заполненный металлической пастой (например, см. ссылочное обозначение 140 на ФИГ. 1A). Согласно изображению, желобок по существу заполнен до уровня поверхности гибкой мембраны, а участки, окружающие желобок, по существу лишены высушенной композиции. На указанном снимке не нанесено адгезивное покрытие.
Был обеспечен контакт между гибкой мембраной, содержащей выполненные в виде рисунка желобки, заполненные сухой композицией, с рельефной легированной бором кремниевой пластиной, содержащей легированную фосфором излучающую сторону и противоотражающее покрытие, выполненное из нитрида кремния. Подобные пластины могут иметь широкий ряд размеров (например, 156×156 мм или 125×125 мм) и значений толщины (например, в диапазоне 150-300 мкм), причем пластины, используемые в настоящем примере, имеют квадратную форму с длиной сторон примерно 156 мм и толщиной примерно 200 мкм. Мембрану прижали к пластине с приложением давления в 6 кг/см2 путем пропуска сквозь зазор 156 со скоростью 5 см/с. Прижимные ролики 152 и 154 были нагреты до температуры примерно 130-140°C. Адгезивное покрытие (в случае его использования) вытекало в поверхностный рельеф кремниевой пластины, к которой указанное покрытие прикреплялось после охлаждения пластины обратно до температуры среды. Затем каст-полипропиленовую мембрану отсоединили от пластины, причем покрывающий слой адгезива и металлический рисунок были перенесены на пластину и оставлены на ней после удаления мембраны. Перенесенные металлические рисунки подвергли спеканию и обжигу при температурном профиле, достигающем максимальной температуры примерно 750°C в солнечной конвейерной печи Despatch CDF-SL. Обрабатываемые таким образом рисунки обычно поддерживали при температуре 700°C или выше в течение по меньшей мере от 5 до 20 секунд с последующим охлаждением обратно до температуры среды.
Контактное сопротивление (Rc) полученных проводящих линий измерили посредством способа оценки расстояния передачи. Значения Rc составили от 0,05 до 0,1 Ом⋅см, причем значения ниже 0,2 Ом⋅см следует считать весьма удовлетворительными, с потерей эффективности менее 0,1% по сравнению с оптимальным контактом, имеющим нулевое значение Rc.
На ФИГ. 5D показан микроснимок, полученный посредством конфокального лазерного сканирующего микроскопа (LEXT OLS4000 3D производства Olympus Corporation), на котором проиллюстрирована контактная линия, выполненная из металлической пасты (идентичной залитой в желобок по ФИГ. 5C), перенесенная на пластину (например, см. ссылочное обозначение 140' на ФИГ. 1D) и подвергнутая спеканию согласно вышеприведенному описанию. На микроснимке видно, что спеченная металлическая линия по существу сохранила форму ножевых штампов, задающих желобки, в которых линия была сформирована.
Преимущество процесса по настоящему изобретению заключается в том, что проводники могут быть крайне узкими (например, с шириной примерно 20-25 мкм или меньше, что составляет половину или даже меньше по сравнению с значениями, стандартными для уровня техники) с сохранением достаточной высоты, свидетельством чему является относительно высокое аспектное отношение ASP (между высотой и шириной), в данном примере составляющее примерно 1:1.
Сходным образом был выполнен солнечный элемент с использованием вышеописанных мембраны и рисунка желобков, путем замены вышеописанных неводных композиций на водные. Разделительное покрытие выполнено с использованием разделительной композиции, содержащей 10 мас.% Methocel™ E15 (The Dow Chemical Company) в деионизированной воде. Разделительную композицию дважды нанесли и высушили, а затем снабженную желобками сторону мембраны подвергли близкому коронированию (посредством лабораторного коронатора BD-20AC производства Electro-Technic Products).
Затем в желобки была загружена металлическая паста на основе воды. Металлическая паста содержала a) частицы серебра (бусины размером 1-3 мкм) и стеклоприпой на основе оксида свинца (частицы размером 1-3 мкм), причем указанные элементы составили примерно 60 об.% от твердых веществ, и причем содержание стеклоприпоя составило приблизительно 3-5 об.% относительно электропроводящих частиц; b) адгезив из поли(2-этил-2-оксазолина) Aquazol® 5, составляющий примерно 40 об.% от твердых веществ; и деионизированную воду, составляющую 40 об.% от всей пасты. При преобразовании в массовые проценты от всей композиции состав указанной металлической пасты представил собой 87,3-88,7 мас.% частиц серебра, 1,3%-2,7 мас.% стеклоприпоя, 6 мас.% адгезива, и 4 мас.% носителя. Водную металлическую пасту загрузили в ходе шести этапов заполнения и высушивания.
Наконец, на всю поверхность загруженной мембраны нанесли водное адгезивное покрытие. Водное адгезивное покрытие состояло из 5 мас.% Aquazol® 5 (поли(2-этил-2-оксазолин)) производства Polymer Chemistry Innovations), 1 мас.% бутанола, 0,25 мас.% BYK®-349, и 0,075 мас.% BYK®-333 (два смачивающих агента производства BYK); все компоненты в деионизированной воде.
Линии светоотражающей решетки
При рассмотрении конкретного использования настоящего способа для изготовления гибкой мембраны, используемой для производства солнечных элементов, также могут быть реализованы необязательные дополнительные этапы. Специалисту в области производства фотогальванических устройств известно, что повторяющаяся проблема заключается в компромиссе между числом и размером линий решетки и снижением объема потенциально вырабатываемого фототока вследствие их затенения.
Затенение светособирающей поверхности подобных устройств решетками проводящих линий (линий пальцев и шин) может составлять до 5-10% поверхности, что может оказывать отрицательное воздействие на итоговую эффективность фотогальванического преобразования. Свет, падающий на проводящие линии, может отражаться обратно в среду с потерей энергии для неперекрытых светособирающих участков, прилегающих к линиям решетки. Надлежащий выбор ножевых штампов, образующих профиль желобков на гибкой мембране (с соответствующим воздействием на итоговый контур проводящих линий, которые могут быть сформированы в указанных желобках) может позволить уменьшить указанное затенение. Например, форма ножевых штампов (и проводящих линий, которые могут быть образованы посредством указанных штампов) может улучшать или содействовать отражению или перенаправлению падающего света на неперекрытую фотогальваническую светособирающую поверхность будущей подложки ("активную зону") с сопутствующим уменьшением фактического оптического затенения решетки. По сходным причинам считают, что линии пальцев и шин, имеющие относительно гладкую поверхность, обеспечивают более высокую отражающую способность и более низкую светорассеиваемость по сравнению со сходными по другим параметрам проводящими линиями, имеющими относительно более шероховатую поверхность. Более низкая рассеиваемость проводящих линий в случае, согласно которому скосы указанных линий в другом случае надлежащим образом перенаправляют падающий свет на активную зону (например, с образованием угла в 45° или выше) светособирающей подложки, может также уменьшать эффект затенения решетки с обеспечением надлежащего перенаправления более значительной части падающего света. Напротив, для проводящих линий, имеющих форму и/или скосы, в другом случае отражающие падающий свет в направлении от доступного участка подложки, может быть полезна более высокая рассеиваемость, которая может увеличивать объем света, перенаправляемого на фотогальваническую поверхность, лишенную линий решетки. Предпочтительно, форма, размеры и/или разнесение в пространстве ножевых штампов, желобков и проводящих линий способствует или улучшает перенаправление света на активные зоны в диапазоне широкого диапазона углов падающего света. Однако способность использования света, падающего в широком диапазоне углов, может не являться ключевым фактором в случае, если солнечные панели, содержащие указанные солнечные элементы, снабжены механизмом отслеживания, отслеживающим перемещение солнца, ограничивающим диапазон углов падающего света, попадающего на проводящие линии, и поддерживающим достаточную активную зону фотогальванической поверхности в течение дня.
Объем, ограниченный любыми двумя отражающими линиями решетки, может считаться выполняющим функцию воронки для света, которая может ослаблять эффект фактического затенения путем увеличения воздействия света на фотогальваническую зону, лишенную линий решетки, с соответствующим увеличением эффективности солнечного элемента или солнечной панели, выполненной из множества подобных связанных друг с другом солнечных элементов. Форма указанной "воронки" обусловлена формой проводящих линий, ограничивающих указанную воронку, и профилем отражающих поверхностей указанных линий. Согласно вышеприведенному описанию, стороны проводящей линии могут иметь ряд светоотражающих или рассеивающих свойств с сохранением их пригодности к надлежащему использованию. Соответственно, термины "отражающая поверхность или поверхности" или "отражающая сторона или стороны" линии решетки не призваны ограничивать подобные поверхности лишь понятием об идеальных зеркалоподобных стенках.
Теоретически (с использованием принципов лучевой оптики) может быть показано, что для множества условий освещения увеличение значения угла между отражающей поверхностью линий решетки и поверхностью солнечного элемента (где угол в 0° обозначает параллельность относительно поверхности пластины, а угол в 90° - перпендикулярность относительно указанной поверхности) влечет за собой увеличение объема света, который может быть отражен обратно на неперекрытую зону солнечного элемента. Например, при рассмотрении идеальной V-образной зеркальной линии решетки, имеющей по существу гладкие и идеально отражающие стороны, по существу лишенные какого-либо рассеяния при отражении и образующие угол менее 45° со светособирающей поверхностью солнечного элемента, луч света, падающий перпендикулярно поверхности солнечного элемента будет отражен обратно (т.е., в воздух) и не играет роли в фотогальваническом преобразовании и выработке тока, что приводит к фактическому оптическому затенению, эквивалентному геометрическому затенению. Напротив, линия сходной формы, имеющая идеально отражающие зеркальные стороны, образующие угол более 45°, в полной мере отразят падающий перпендикулярно луч света на поверхность солнечного элемента с нулевым фактическим оптическим затенением.
В вышеприведенном описании приведена крайне специфическая ситуация, а при расчете световых потерь для стандартных условий работы солнечного элемента необходимо учитывать следующие факторы:
1. Необходимо объединить потери для различных углов падающего света и различных показателей интенсивности согласно условиям освещенности с течением суток и времен года.
2. Солнечные элементы обычно заключены в оболочку (например, из стекла и адгезива) для защиты, причем материал(ы) оболочки могут изменять оптический путь света и интенсивность падающих и отраженных лучей. Лучи света могут быть отражены от поверхности решетки на границу между защитной капсулой и воздухом, могут претерпевать полное внутреннее отражение, и могут быть перенаправлены на поверхность солнечного элемента.
3. Поверхность линий солнечной решетки редко является идеально гладкой, и свет обычно отражается с рассеиванием. Пространственное распределение и интенсивность рассеянного света под различными углами падения может зависеть от шероховатости поверхности.
Теоретические потери света с учетом вышеприведенных факторов могут быть вычислены в сфере лучевой оптики, указывающей на то, что фактическое оптическое затенение может падать по мере увеличения угла между сторонами проводящих линий и светособирающой поверхностью. Для сторон, образующих угол свыше 45°, фактическое оптическое затенение составляет менее 30% от фактического геометрического затенения для полностью рассеивающей поверхности (ламбертовой поверхности), причем указанное затенение падает при увеличении угла. При уменьшении рассеивающей способности поверхностей линий (например, путем уменьшения шероховатости/повышения гладкости) эффективное оптическое затенение может быть дополнительно уменьшено вплоть до 0% для идеальных зеркальных поверхностей согласно вышеприведенному описанию. Любой из вышеописанных подходов для уменьшения затенения проводящих линий, включая выбор способствующего профиля линий и/или, в зависимости от угла, образуемого отражающей поверхностью, усиление способности к отражению падающего света по направлению к активной зоне светособирающей подложки, и/или уменьшение способности к рассеиванию света в направлении от активной зоны пластины, является предпочтительным для повышения эффективности фотогальванического преобразования солнечного элемента, выполненного посредством гибкой мембраны согласно настоящему изобретению.
На основании вышеприведенных принципов ножевой штамп/желобок/проводящая линия может соответствующим образом иметь трапециевидный профиль, предпочтительно с небольшим значением ширины плоской вершины wT для уменьшения потери света (например,wT может составлять 5 мкм или меньше), или может иметь треугольный профиль. Основание подобных профилей может иметь ширину WB от примерно 10 мкм до примерно 25 мкм, что является преимуществом. При использовании решетки в комбинации с подходящим защитным кожухом, который может перенаправлять по меньшей мере часть света обратно на активную светособирающую зону солнечной подложки, угол между стороной линии и подложкой (отмеченный ссылочным обозначением α на ФИГ. 5B) может составлять по меньшей мере 25°, по меньшей мере 30°, по меньшей мере 40°, по меньшей мере 45°, по меньшей мере 50°, по меньшей мере 60° или по меньшей мере 70°. При отсутствии дополнительной оболочки стороны проводящих линий предпочтительно обладают слабой рассеивающей способностью или не обладают рассеивающей способностью, причем наилучшее преимущество может быть достигнуто при обеспечении полного отсутствия рассеивающей способности, обеспечиваемого зеркальными поверхностями. В подобном случае угол между сторонами подобных сильноотражающих/слаборассеивающих линий и подложкой может составлять по меньшей мере 60°, по меньшей мере 65° или по меньшей мере 70°. Вне зависимости от наличия или отсутствия оболочки угол между стороной подобной проводящей линии и подложкой составляет по большей мере 85°, по большей мере 82,5°, по большей мере 80°, по большей мере 77,5° или по большей мере 75°. Преимущество заключается в том, что угол, образованный стороной проводящей линии и подложкой, находится в диапазоне от 60° до 85° или в диапазоне от 65° до 82,5°, или от 70° до 80°. В случае, если проводящие линии предназначены для использования в областях, отличных от формирования солнечных элементов, в частности со светоотражающими сторонами, подходящими могут быть и другие значения углов между подложкой и стороной линии, отходящей от нее. Следовательно, в некоторых примерах реализации указанный угол может находиться в диапазоне от 20° до 90°.
Следует понимать, что несмотря на то, что угол, образованный стороной желобка и поверхностью мембраны, может быть обеспечен постоянным до верхушки профиля поперечного сечения желобка на гибкой мембране перед загрузкой, подобные значения угла могут в небольшой степени варьироваться в ходе выполнения процесса, в частности после переноса проводящего рисунка на подложку и спекания указанного рисунка с образованием итогового продукта в виде солнечного элемента. Например, при рассмотрении желобка с треугольным профилем поперечного сечения, в котором стороны треугольника изначально образуют угол в 45° с поверхностью мембраны, проводящая линия солнечного элемента, получаемая при использовании подобного желобка, может иметь менее идеальный треугольный профиль. При рассмотрении лишь половины указанного профиля от основания подложки солнечного элемента до верхушки проводящей линии угол на первом участке может быть меньше 45°, и при этом профиль линии имеет изначально небольшой уклон, или, напротив, угол может быть больше 45°, и при этом профиль линии изначально имеет "ступенчатый" уклон, причем значения указанного угла дополнительно варьируются по мере приближения к вершине указанной половины профиля линии. Профиль может быть в небольшой степени выпуклым или вогнутым, или может иметь чередующиеся выпуклые, вогнутые, и прямые участки. Для учета профилей полученных проводящих линий, которые могут образовывать угол с переменным значением на различных точках уклона, образованного между основанием и вершиной линии, может быть предпочтительным рассмотрение среднего значения угла в виде среднего значения tan-1 уклона профиля (=производной) на каждом из подучастков вдоль сужающейся стороны. Подобное значение также может быть названо усредненным уклоном. При использовании указанного способа и в случае, если в вышеописанном иллюстративном примере усредненное значение углов приближенной к треугольной формы составляет 45°, даже в случае колебаний ниже и выше указанного значения на различных подучастках, усредненный уклон полупрофиля равен 1.
Следовательно, в некоторых примерах реализации усредненный уклон одной стороны проводящей линии, проходящей от основания подложки солнечного элемента до вершины линии (т.е., сужающейся стороны), может составлять по меньшей мере 0,50 (~26°), по меньшей мере 0,75 (~37°), по меньшей мере 0,85 (~40°), или по меньшей мере 1 (45°), или по меньшей мере 1,15 (~49°), по меньшей мере 1,3 (~53°), по меньшей мере 1,5 (~56°), или по меньшей мере 1,7 (~60°). В некоторых примерах реализации усредненный уклон составляет по большей мере 8 (~83°), по большей мере 6 (~80°), по большей мере 4 (~76°) или по большей мере 2 (~63°)
В другом варианте или дополнительно к выбору более полезной формы для поперечного сечения проводящей линии, на проводящие линии способом, сходным с описанным для необязательного разделительного слоя, может быть нанесено светомодифицирующее покрытие. В настоящем описании термин "светомодифицирующее" относится к покрытию любого вида, которое может уменьшить затенение или повысить фотогальванические сбор и преобразование. Покрытие может выполнять любую из следующих функций: повышение гладкости или уменьшение шероховатости проводящей линии, усиление способности к отражению падающего света по направлению к активной зоне (напрямую или опосредованно в результате использования необязательного защитного кожуха), или снижение способности к рассеиванию света в направлении от активной зоны.
Вкратце отметим, что композицию, повышающую отражающую способность или снижающую рассеивающую способность, и содержащую светоотражающий материал, используют для покрытия стенок желобков, в результате чего, после переноса на подложку, перенесенные линии покрыты тонким слоем отражающего материала для уменьшения или предотвращения затенения.
Пример рисунка со светоотражающими сторонами
Гибкая мембрана, использованная в данном примере, представляет собой вышеописанную каст-полипропиленовую пленку (толщиной 50 мкм, каст-полипропилен RollCast™ 14), причем рисунок был нанесен посредством вращающегося штампа 102, профиль ножевых штампов был трапециевидным с основанием шириной WB=20 мкм, плоской вершиной с шириной wT=12 мкм, и с высотой h=32 мкм. Подобный профиль обеспечивает возможность выполнения желобков с наклонными стенками, в идеальном случае образующими большое значение угла в примерно 83° относительно поверхности пленки, однако вследствие того, что фактические размеры поперечного сечения получаемого желобка и последующей продольной линии в небольшой степени отличаются от вышеуказанных и фактически приближены к значениям ширины основания WB=25 мкм, ширины вершины wT=12 мкм, и высоты h=25 мкм, угол между отражающими поверхностями и их подложкой фактически составляет примерно 75°. Указанное значение угла, вычисленное на основании размеров, полученных при реализации на гибкой мембране, может незначительно уменьшаться после осуществления последующих этапов наложения слоев, спекания, и обжига.
Выполненные таким образом желобки, разнесенные друг от друга на расстояние d, составляющее примерно 1,8 мм, были заполнены разделительной композицией, состоящей из 5 мас.% Ethocel™ Std. 100 в 1-бутаноле, нанесенной на снабженную рисунком мембрану и затем высушенной согласно вышеприведенному описанию.
После формирования тонкой разделительной пленки, покрывающей стенки желобков, на желобки был нанесен слой нано-серебряной краски, содержащий примерно 40 мас.% серебряных бусин с размером частиц менее 100 нм. Неограниченные примеры подходящих нано-серебряных красок включают нано-серебряные краски Metalon® JS-A101 и JS-A102 производства NovaCentrix®, причем известно множество коммерчески доступных источников нано-металлических красок со средним размером частиц (например, размером частиц z-avg, определяемым посредством динамического рассеяния света) от примерно 40 нм до 200 нм, или от примерно 30 нм до 100 нм, которые могут быть пригодными для данной цели. Нано-серебряная краска была нанесена поверх разделительной пленки, покрывающей желобки, посредством ракеля с использованием способа, раскрытого в вышеприведенном описании, и была подвергнута высушиванию в течение приблизительно 10 минут посредством промышленного фена для образования тонкого слоя нано-серебра.
К желобкам, покрытым тонким слоем разделительной пленки, соприкасающейся с гибкой мембраной, и слоем нано-серебра, было добавлено ядро проводящей линии. Внутренняя часть линии была выполнена согласно вышеприведенному описанию в ходе трех этапов нанесения металлической пасты с последующим нанесением слоя адгезивного покрытия. Заполненные желобки были перенесены на кремниевую пластину путем наложения слоев и подвергнуты спеканию и обжигу образом, раскрытым в предыдущем примере.
Сходным образом был выполнен контрольный продукт, лишенный слоя нано-серебра. Подвергнутая обжигу решетка линий, содержащая слой нано-серебра, проявила более низкую рассеивающую способность по сравнению с решеткой, выполненной без слоя нано-серебряной краски. Указанные результаты были установлены независимыми обученными наблюдателями путем наклона по меньшей мере пяти решеток каждого из видов относительно постоянного источника света, причем относительную рассеивающую способность решеток ранжировали вслепую. Таким образом, было решено, что слой нано-серебра обеспечил повышение гладкости/снижение шероховатости внешних сторон проводящих линий, и указанная гипотеза была подтверждена путем микроскопического исследования отражающих поверхностей линий посредством конфокального лазерного сканирующего микроскопа (Olympus® LEXT OLS4000 3D).
Несмотря на то, что в данном примере нано-серебряную краску наносили на желобки после образования разделительного слоя, указанный более ранний этап не является обязательным, и имеющая подходящий состав краска может удовлетворительным образом обеспечивать отделение проводящих линий от гибкой мембраны в ходе последующего наложения слоев. Считают, что помимо вышеописанного серебра, нано-металлические краски, содержащие алюминий, хром, кобальт, медь, золото, оксид индия и олова, молибден, никель, палладий, и платину, могут сходным образом повышать отражающую способность решеток (или снижать их рассеивающую способность). Несмотря на то, что материал, повышающий отражающую способность сторон линий, может представлять собой проводящий металл, сплав, или оксид металла, указанное условие не является обязательным, и повышающий отражающую способность слой (в случае его нанесения) в основном выполняет функцию уменьшения затенения и улучшения эффективности получаемого солнечного элемента, а способность линии проводить электрический ток в основном обеспечена ядром указанной линии.
Светоотражающий материал может быть выполнен из наночастиц серебра. Указанный материал может присутствовать в отражающей композиции в концентрации от 1% до 20 об.%. После высушивания светоотражающее покрытие может иметь толщину в диапазоне от 0,2 до 10 мкм.
Множество наборов желобков
В вышеописанных примерах реализации раскрыта гибкая мембрана, на которой был выполнен один рисунок желобков с последующей загрузкой желобков соответствующими композициями перед наложением слоев на выбранную подложку для переноса рисунка высушенной композиции на указанную подложку. Способ по настоящему изобретению может быть пригоден для выполнения различных рисунков (например, имеющих различную форму, различные размеры, различные профили, различные композиции, и/или обладающих другими различиями), подлежащих формированию на одной подложке. Например, первая мембрана с первым рисунком может быть нанесена на первую поверхность подложки, а вторая мембрана со вторым рисунком может быть нанесена на вторую поверхность подложки. Первая и вторая поверхности подложки могут быть расположены на одной стороне подложки (обычно на неперекрывающих друг друга участках), но также могут быть расположены и на противоположных сторонах. Кроме того, каждый из рисунков на каждой из мембран может быть загружен одинаковой композицией или различными композициями.
Например, в солнечном элементе проводящие линии светособирающей стороны (солнечной стороны) могут быть выполнены путем переноса первого рисунка первой композиции с первой мембраны, а задний электрод может быть выполнен путем переноса второго рисунка второй композиции со второй мембраны. Предпочтительно, отдельные рисунки переносят одновременно в ходе этапа наложения слоев, на котором давление одновременно оказывают на обе мембраны, каждая из которых обращена к соответствующей стороне подложки.
Преимущество заключается в том, что отдельные рисунки, подлежащие переносу на одну сторону подложки, могут быть получены посредством одной мембраны согласно нижеприведенному описанию. На ФИГ. 6 показана мембрана, имеющая множество наборов желобков, каждый из которых заполнен отличным материалом. Подобная мембрана может быть использована для обеспечения различных рисунков материалов на подложке. Например, первый рисунок может обеспечивать формирование шин, а второй рисунок может обеспечивать формирование пальцевых линий решетки. В подобном случае, несмотря на то, что два рисунка могут даже пересекаться на некоторых участках, композиции первого и второго рисунков могут отличаться, например, по количеству стеклоприпоя. В данном иллюстративном примере, несмотря на то, что композиции второго рисунка, предназначенные для формирования линий решетки, содержат стеклоприпой для обеспечения надлежащего электрического контакта с подложкой в готовом солнечном элементе, композиции первого рисунка, предназначенные для формирования шин, не требуют столь же высокого содержания стеклоприпоя. В некоторых примерах реализации композиции, служащие для формирования линий шин, могут даже быть лишены стеклоприпоя, т.к. подобные линии в основном используют для обеспечения связи между линиями решетки, а не для электрического соединения с подложкой.
На ФИГ. 6 рисунок желобка, отображенный в виде желобка 110A, выдавлен в мембрану 100A. Затем первый рисунок желобка заполняют первой композицией 120A с помощью ракеля 130A, работа которого обусловлена действием прижимного ролика 132A или любым другим требуемым способом. Согласно вышеприведенному более подробному описанию, например, в контексте ФИГ. 1A-1D и 3A-3D, может быть выполнено множество этапов заполнения, и может быть использовано множество станций заполнения и/или высушивания, и/или множество ракелей (не показаны). Сходным образом, при необходимости может быть использована станция чистки для содействия удалению композиции в пространствах между желобками.
После заполнения желобков первого рисунка согласно приведенным в качестве примера ссылочным обозначениям 140A, 140B, 140C, и т.д., в мембране выполняют второй набор желобков, отображенный в виде желобка 112. Затем второй набор желобков заполняют второй композицией 120B посредством ракеля 130B, работа которого обусловлена действием прижимного ролика 132B или любым другим требуемым способом. Вследствие того, что желобки первого рисунка 140A, 140B, 140C уже заполнены, вторую композицию 120B наносят на желобки второго рисунка. Вторые наборы желобков могут быть заполнены на одном этапе или множестве этапов заполнения посредством ракелей, вспомогательных средств для обеспечения текучести, и т.д., до достижения требуемого уровня заполнения 142. Следовательно, мембрана может нести множество рисунков желобков, а в каждом из рисунков желобков может быть использована композиция, обеспечивающая требуемый набор характеристик. Несмотря на то, что на указанном чертеже два рисунка желобков соответственно проиллюстрированы в виде желобков 110A и 112, которые могут казаться параллельными друг другу на предоставленном виде, указанная конфигурация не является обязательной, и желобки одного из рисунков могут принимать любое требуемое положение и пространственную ориентацию относительно желобков второго рисунка.
На ФИГ. 6 также показано, что для формирования желобков могут быть использованы различные способы. В то время, как первый набор желобков на чертеже выполнен путем штампования посредством штамповочного ролика 102A (позицией 104A отмечен соответствующий прижимной ролик), второй набор желобков выполнен посредством альтернативного способа, отмеченного ссылочным обозначением 150. Подобное устройство формирования желобков может представлять собой одно из множества устройств, варьирующихся от специализированного пробойника до лазерного источника для избирательной абляции частей мембраны 100A или, в некоторых случаях, для обеспечения усадки мембраны путем нагревания. В другом варианте рисунок желобков может быть образован на гибкой мембране путем приема формирования рисунка, такого как фотолитография.
После заполнения желобков мембраны различными композициями может быть нанесено адгезивное покрытие, проиллюстрированное ссылочным обозначением 250, например, на ФИГ. 3D, и может быть обеспечен контакт мембраны с подложкой для переноса на нее выполненных в виде рисунка композиций согласно вышеприведенному описанию.
Будет очевидно, что настоящий способ может способствовать надлежащему совмещению различных рисунков и подложки. Рисунки могут быть отделены друг от друга на гибкой мембране образом, который может дополнительно способствовать указанному совмещению.
На ФИГ. 1E штриховой линией отмечено несколько элементов, отображающих этапы процесса, направленные на формирование мембраны с несколькими композициями для последующего переноса на подложку. После заполнения 315 желобков первого рисунка на мембране любым требуемым способом формируют 340 дополнительный набор желобков. Затем второй набор желобков загружают 345 второй композицией (загрузку при необходимости осуществляют в виде многократных циклов заполнения и высушивания набора композиций, отличающихся от композиции или набора композиций, использованных для заполнения желобков предыдущего рисунка). Указанные этапы процесса для рисунков, отличных от первого рисунка, могут быть повторены любое необходимое число раз, что проиллюстрировано штрихпунктирной линией 355. По завершении формирования всех требуемых рисунков на мембране и после загрузки требуемыми пастами материалов, осуществление процесса продолжают 350 путем обеспечения контакта с мембраной и последующего переноса материалов на подложку (с использованием этапов, сходных с вышеописанными этапами 320, 325, и 330), причем последний этап 335 выполнен с возможностью спекания материалов всех перенесенных рисунков. В некоторых примерах реализации этапы процесса могут не быть выполнены непрерывным образом, а также могут не быть выполнены одними и теми же лицами. В некоторых примерах реализации материал может быть спечен не полностью, и в некоторых примерах реализации значения температуры и других условий среды изменены для предотвращения повреждения множества композиций.
В настоящем описании и в сопутствующей формуле изобретения каждый из глаголов "содержать", "включать", и "иметь", а также их спряжения, использованы для указания того факта, что объект или объекты, охватываемые глаголом, могут не представлять собой полный список элементов, компонентов, этапов, или деталей охватываемого глаголом субъекта или субъектов.
В настоящем описании любые термины, приведенные в единственном числе, призваны означать "по меньшей мере один" или "один или более", если из контекста не очевидно обратное.
Связанные с положением или движением термины, такие как "верхний", "нижний", "правый", "левый", "ниже", "пониженный", "низкий", "верхний", "выше", "повышенный", "высокий", "вертикальный", "горизонтальный", "сзади", "спереди", "выше по потоку", и "ниже по потоку", а также их грамматические вариации, могут быть использованы в настоящем описании исключительно в качестве примера для иллюстрации относительного местоположения, размещения или перемещения некоторых компонентов, для указания на первый и второй компоненты на сопутствующих чертежах, или с обеими указанными целями. Подобные термины могут не указывать на расположение, например, "нижнего" компонента ниже "верхнего" компонента вследствие того, что указанные направления и/или компоненты могут быть перевернуты, повернуты, перемещены в пространстве, размещены в диагональной ориентации или положении, размещены горизонтально или вертикально, или изменены сходным образом.
Если не указано обратное, использование выражения "и/или" между двумя последними элементами в списке выбираемых элементов указывает на возможность выбора одного или более из приведенных в списке элементов.
Если не указано обратное, в настоящем описании термины, сходные с "по существу" и "примерно", используемые в качестве модификатора условия или характеристики взаимоотношения признака или признаков примера реализации настоящего изобретения, следует рассматривать в том смысле, что условие или характеристика заданы в диапазоне допуска, допустимого для работы примера реализации в соответствующей области надлежащего применения, или в диапазоне вариабельности, ожидаемой при рассмотрении результатов выполняемого измерения и/или при использовании указанного измерительного инструмента. Далее, если не указано обратное, указанные термины в настоящем описании следует считать охватывающими допуски, которые могут выходить за рамки конкретного значения соответствующего термина, но при этом обеспечивают надлежащую работу и выполнение соответствующей функции изобретением или его соответствующей частью согласно описанию и известным специалисту данным.
Некоторые из товарных знаков, на которые сделана ссылка в настоящем описании, могут представлять собой незарегистрированные или зарегистрированные товарные знаки, принадлежащие третьим лицам. Использование указанных товарных знаков выполнено в качестве примера и не имеет описательного характера, а также не ограничивает объем настоящего изобретения материалом, связанным лишь с подобными товарными знаками.
Несмотря на то, что настоящее изобретение раскрыто в контексте конкретных примеров реализации и в целом сопутствующих способов, изменения и модификации примеров реализации и способов будут очевидны специалисту. Настоящее изобретение не следует считать ограниченным конкретными примерами, раскрытыми в настоящем описании.
Изобретение относится к гибкой мембране, подходящей для нанесения рисунка электрических проводников на подложку, и может использоваться для образования проводников на солнечных элементах. Гибкая мембрана имеет первую поверхность, выполненную из формуемого термопластичного полимера, который содержит рисунок желобков, загружаемых по существу вровень с поверхностью мембраны композицией, содержащей частицы из электропроводящего материала и адгезив. Композиция выполнена с возможностью обеспечения электропроводности композиции в результате спекания посредством приложения к ней энергии, а части без желобков первой поверхности по существу лишены композиции. Причем мембрана выполнена таким образом, что при прижатии мембраны и подложки друг к другу композиция в желобках и содержащийся в ней адгезив сильнее прикрепляются к подложке, чем к мембране, благодаря указанному прижатию, так что последующее отделение мембраны от подложки приводит к сохранению композиции на подложке в виде рисунка, зеркально соответствующего рисунку желобков. Техническим результатом является повышение эффективности фотогальванического преобразования солнечного элемента, выполненного посредством гибкой мембраны. 18 з.п. ф-лы, 6 ил.
1. Гибкая мембрана, подходящая для нанесения рисунка электрических проводников на подложку, причем
мембрана имеет первую поверхность, выполненную из формуемого термопластичного полимера, который содержит рисунок желобков, загружаемых по существу вровень с поверхностью мембраны композицией, содержащей частицы из электропроводящего материала и адгезив,
композиция выполнена с возможностью обеспечения электропроводности композиции в результате спекания посредством приложения к ней энергии, а части без желобков первой поверхности по существу лишены композиции;
мембрана выполнена таким образом, что при прижатии мембраны и подложки друг к другу композиция в желобках и содержащийся в ней адгезив сильнее прикрепляются к подложке, чем к мембране, благодаря указанному прижатию, так что последующее отделение мембраны от подложки приводит к сохранению композиции на подложке в виде рисунка, зеркально соответствующего рисунку желобков.
2. Гибкая мембрана по п. 1, в которой электропроводящий материал частиц выбран из группы, включающей металлы, оксиды металлов, сплавы, соли металлов, металлорганические соединения, проводящие полимеры, предшественники проводящих полимеров, их соли и комбинации указанного.
3. Гибкая мембрана по п. 1 или 2, в которой адгезив представляет собой по меньшей мере одно из следующего: a) органическое связующее вещество, b) органический адгезив и c) стеклоприпой.
4. Гибкая мембрана по любому из пп. 1-3, в которой адгезив представляет собой органический адгезив, являющийся чувствительным к давлению и/или нагреванию адгезивом.
5. Гибкая мембрана по любому из пп. 1-4, в которой загруженная в желобки композиция образует различные слои, причем компоненты каждого слоя отличаются друг от друга относительной пропорцией и/или материалами.
6. Гибкая мембрана по любому из пп. 1-5, в которой на первой поверхности мембраны присутствует разделительное покрытие, причем разделительное покрытие при необходимости сформировано только на стенках желобков и расположено между мембраной и композицией.
7. Гибкая мембрана по любому из пп. 1-6, в которой светомодифицирующее покрытие присутствует только на стенках желобков на первой поверхности мембраны, причем светомодифицирующее покрытие расположено между мембраной и композицией или между разделительным покрытием и композицией.
8. Гибкая мембрана по любому из пп. 1-7, также содержащая высушенное адгезивное покрытие на первой поверхности мембраны, причем высушенное адгезивное покрытие покрывает любую композицию, присутствующую в желобках.
9. Гибкая мембрана по п. 8, в которой высушенное адгезивное покрытие имеет толщину, не превышающую 3 мкм или не превышающую 2 мкм.
10. Гибкая мембрана по любому из пп. 1-9, в которой желобки рисунка по существу идентичны друг другу или в которой по меньшей мере два желобка на рисунке или два различных участка одного желобка имеют разные размеры поперечного сечения.
11. Гибкая мембрана по любому из пп. 1-10, в которой соблюден по меньшей мере один из следующих признаков:
A - гибкая мембрана выбрана из заранее сформованной мембраны, выполненной из пластикового полимера и литьевого пластикового полимера;
B - гибкая мембрана выбрана из заранее сформованной мембраны, выполненной из пластикового полимера и литьевого пластикового полимера, причем пластиковый полимер представляет собой термопластичный полимер, выбранный из группы, включающей циклоолефиновый сополимер (COC), полиэтилен (PE), литьевой полипропилен (CPP), любой другой тип полипропилена (PP), термопластичный полиуретан (TPU) и их комбинации; и
C - гибкая мембрана представляет собой заранее сформованную мембрану, выполненную из пластикового полимера, причем заранее сформованная мембрана состоит из по меньшей мере двух слоев, причем термопластичный полимер по меньшей мере слоя, образующего первую поверхность мембраны, выбран из группы, включающей циклоолефиновый сополимер (COC), полиэтилен (PE), литьевой полипропилен (CPP), любой другой тип полипропилена (PP), термопластичный полиуретан (TPU) и их комбинации.
12. Гибкая мембрана по любому из пп. 1-11, в которой первая поверхность гибкой мембраны имеет среднюю шероховатость Rz, составляющую 1 мкм или менее, 500 нм или менее, 250 нм или менее, или 100 нм или менее.
13. Гибкая мембрана по любому из пп. 1-12, в которой рисунок желобков включает продольные желобки, образующие непрерывные или отдельные прямые или изогнутые линии, причем по меньшей мере часть каждой линии имеет сужающийся профиль поперечного сечения, выбранный из треугольного, трапециевидного, многоугольного, полукруглого, или полуэллиптического профиля, причем любой из профилей имеет по меньшей мере ширину WB основания и высоту h, причем безразмерное аспектное отношение ASP между высотой и шириной основания находится в диапазоне от 5:1 до 0,7:1, от 5:1 до 1:5, от 3:1 до 1:2, от 2:1 до 1:1 или от 1,75:1 до 1:1,75.
14. Гибкая мембрана по п. 13, в которой сужающаяся сторона профиля поперечного сечения (a) образует с первой поверхностью мембраны угол, составляющий по меньшей мере 30°, по меньшей мере 40°, по меньшей мере 45°, по меньшей мере 50° или по меньшей мере 60°, и/или (b) имеет усредненный уклон, составляющий по меньшей мере 0,75, по меньшей мере 1, по меньшей мере 1,3 или по меньшей мере 1,4.
15. Гибкая мембрана по п. 13 или 14, в которой сужающаяся сторона профиля поперечного сечения (a) образует с первой поверхностью мембраны угол, составляющий по большей мере 90°, по большей мере 85° или по большей мере 80°, и/или (b) имеет усредненный уклон, составляющий по большей мере 10, по большей мере 8, по большей мере 4 или по большей мере 2.
16. Гибкая мембрана по любому из пп. 1-15, в которой композиция, загруженная в канавки, или ее слой включает стеклоприпой в качестве дополнительного компонента композиции.
17. Гибкая мембрана по любому из пп. 1-16, в которой вторая поверхность мембраны, противоположная первой поверхности, имеет неадгезионные свойства.
18. Гибкая мембрана по любому из пп. 1-17, в которой первая поверхность гибкой мембраны дополнительно покрыта съемным защитным листом.
19. Гибкая мембрана по любому из пп. 1-18, в которой рисунок желобков соответствует по меньшей мере частично требуемому рисунку электрических проводников, наносимых на подложку, причем подложка является стороной полупроводниковой подложки, выбранной из плоской или неплоской жесткой пластины солнечного элемента или нежесткой пленки солнечного элемента.
| US 5609704 A, 1.03.1997 | |||
| US 20160133764 A1, 12.05.2016 | |||
| US 20100175806 A1, 15.07.2010 | |||
| US 20030108664 A1, 12.06.2003 | |||
| RU 2013157047 A, 27.06.2015 | |||
| СЛОИСТЫЕ СТРУКТУРЫ, СПОСОБЫ ИХ ИЗГОТОВЛЕНИЯ | 2003 |
|
RU2303320C2 |
Авторы
Даты
2025-02-14—Публикация
2017-07-28—Подача