Настоящее изобретение относится к модулю опалубки для опалубки для части здания, содержащему по меньшей мере одну несущую конструкцию опалубки и по меньшей мере один щит опалубки, при этом между несущей конструкцией опалубкой и щитом опалубки расположен по меньшей мере один соединитель. Соединитель содержит по меньшей мере один элемент несущей конструкции, закрепленный на несущей конструкции опалубки или в ней, и по меньшей мере один элемент щита опалубки, закрепленный в щите опалубки или на нем. Элемент несущей конструкции и элемент щита опалубки выполнены с возможностью разъемного соединения друг с другом и образуют соединитель, посредством которого обеспечена возможность разъемного соединения щита опалубки с несущей конструкцией опалубки. Настоящее изобретение также относится к применению соединителя для разъемного соединения несущей конструкции опалубки со щитом опалубки и к способу соединения щита опалубки с несущей конструкцией опалубки модуля опалубки. И наконец, настоящее изобретение относится к способу отсоединения щита опалубки от несущей конструкции опалубки модуля опалубки.
При возведении зданий стены, перекрытия, колонны и другие элементы здания изготавливают из бетонных материалов. Для этого сначала изготавливают форму для возводимой части здания, устанавливают опалубку. Затем в опалубку заливается бетонный материал в жидком состоянии. Бетонный материал затвердевает внутри опалубки. Иногда в опалубку также вводят арматуру из материала, отличного от бетонного материала, например, металлические сетки, выполняющие функцию арматуры. После затвердевания бетонного материала опалубку снимают. Во время этой процедуры бетонный материал вступает в контакт с опалубкой, причем опалубка выполнена таким образом, что жидкий бетонный материал не может вытекать из опалубки. Область опалубки, вступающая в герметичный контакт с жидким, а затем затвердевшим бетонным материалом, представляет собой щит опалубки. При отсоединении опалубки от затвердевшего бетонного материала часто происходит повреждение щита опалубки. Поэтому элементы щита опалубки необходимо время от времени замещать или заменять. Кроме того, существуют различные щиты опалубки или элементы щита опалубки для достижения различных требуемых качествах поверхности возводимой части здания. Сам щит опалубки обычно выполнен с возможностью восприятия нагрузки не только от бетонного материала. Поэтому опалубка обычно также содержит несущую конструкцию опалубки, воспринимающую и переводящую нагрузки и усилия, возникающие при заливке жидкого бетонного материала. Таким образом, при монтаже и демонтаже опалубки опору щита опалубки и щит опалубки необходимо соединять друг с другом и снова отсоединять друг от друга.
Известный подход к соединению щита опалубки с несущей конструкцией опалубки заключается в соединении обоих элементов с помощью заклепок. Эти заклепки вводят при соединении и удаляют при последующем отсоединении щита опалубки и несущей конструкции опалубки. Таким образом, этот подход является сложным и приводит к износу как щита опалубки, так и несущей конструкции опалубки. Кроме того, положения, в которых заклепки были вставлены в щит опалубки, позже будут видны на возведенной части здания. При высоких требованиях к качеству поверхности возводимой части здания отпечатки от заклепок неэстетичны и нежелательны.
Из DE 102013107303 А1 известна панель опалубки для опалубки для бетонирования, в которой как несущая конструкция опалубки, так и щит опалубки выполнены из пластмассового материала. Соединение двух элементов осуществляю с помощью зажимных соединений. Недостатком описанного решения является то, что либо для разъединения указанных двух элементов необходимо каждое отдельное зажимное соединение разъединить с помощью инструмента, либо при разъединении зажимные соединения разрушаются. Таким образом, в раскрытой панели опалубки при отсоединении возникают большие усилия, или щит опалубки может быть использован только один раз, соответственно, что приводит к образованию большого количества пластмассовых отходов и появлению затрат на постоянное обеспечение новыми щитами опалубки.
Таким образом, задача настоящего изобретения состоит в том, чтобы предложить решения, обеспечивающие возможность выполнения простого соединения и отсоединения щита опалубки и несущей конструкции опалубки, при этом должна быть обеспечена возможность многократного использования как щита опалубки, и несущей конструкции опалубки.
Эту задачу решают с помощью модуля опалубки для опалубки для части здания, содержащего
- по меньшей мере одну несущую конструкцию опалубки,
- и по меньшей мере один щит опалубки,
при этом по меньшей мере один соединитель расположен между несущей конструкцией опалубки и щитом опалубки, и соединитель содержит по меньшей мере один элемент несущей конструкции, закрепленный на несущей конструкции опалубки или в ней, и по меньшей мере один элемент щита опалубки, закрепленный в щите опалубки или на нем;
и элемент несущей конструкции и элемент щита опалубки выполнены с возможностью разъемного соединения друг с другом и образуют соединитель, посредством которого обеспечена возможность разъемного соединения щита опалубки с несущей конструкцией опалубки. Разъемное соединение между элементом несущей конструкции и элементом щита опалубки выполнено с возможностью разъединения путем приложения в нормальном направлении к щиту опалубки усилия, направленного в сторону от несущей конструкции опалубки и превышающего пороговое усилие отсоединения, и выполнено с возможностью соединения путем приложения в нормальном направлении к щиту опалубки усилия, направленного к несущей конструкции опалубки и превышающего пороговое усилие соединения. Элемент щита опалубки имеет часть для крепления к щиту опалубки, которая соединена со щитом опалубки и соединение между элементом щита опалубки и щитом опалубки выполнено с возможностью разъединения. Кроме того, переходник щита опалубки расположен между элементом щита опалубки и щитом опалубки, при этом переходник щита опалубки является компонентом, облегчающим отсоединение/присоединение элемента щита опалубки от щита опалубки/к щиту опалубки, и переходник щита опалубки остается на или в щите опалубки при замене элемента щита опалубки. При этом переходник щита опалубки соединен с геометрическим замыканием со щитом опалубки, а щит опалубки имеет бетонную сторону, обращенную к возводимой части здания при использовании модуля опалубки, и щит опалубки имеет монтажную сторону, расположенную напротив бетонной стороны и обращенную к несущей конструкции опалубки. Кроме того, элемент щита опалубки и переходник щита опалубки расположены на монтажной стороне или в ней, причем переходник щита опалубки выполнен с возможностью вставки в щит опалубки на монтажной стороне щита опалубки путем выполнения перемещения параллельно монтажной стороне щита опалубки, а в положении вставки в щит опалубки между щитом опалубки и переходником щита опалубки существует соединение с геометрическим замыканием в направлении, перпендикулярном монтажной стороне.
Задача настоящего изобретения решена с помощью модуля опалубки согласно настоящему изобретению, включающего в себя соединитель, выполненный с возможностью разъемного соединения и отсоединения и расположенный между несущей конструкцией опалубки и щитом опалубки. Таким образом, щит опалубки и несущую конструкцию опалубки можно соединять друг с другом, а затем многократно отсоединять друг от друга. В данном случае термин «разъемно» означает, что соединитель не разрушается при соединении и отсоединении. Таким образом, соединитель по существу не подвержен разрушению. Конечно, при выполнении большого количества операций соединения и отсоединения может произойти износ, при этом качество соединения с помощью соединителя со временем ухудшится. Модуль опалубки согласно настоящему изобретению выполнен таким образом, что он выдерживает по меньшей мере 20 операций соединения и отсоединения щита опалубки и несущей конструкции опалубки без существенной потери качества. Таким образом, термин «разъемное» означает, что соединение с одним и тем же соединителем может быть использовано много раз подряд и что при этом соединитель сохраняет свои функциональные возможности по соединению щита опалубки и несущей конструкции опалубки. По меньшей мере один соединитель модуля опалубки согласно настоящему изобретению состоит из двух частей: элемент несущей конструкции является частью соединителя и закреплен на несущей конструкции опалубки или в ней. Сопряженной частью элемента несущей конструкции является элемент щита опалубки, который также является частью соединителя. Элемент щита опалубки закреплен в щите опалубки или на нем. Крепление к несущей конструкции опалубки или к щиту опалубки означает, что соответствующий элемент по меньшей мере частично выступает за несущей конструкции опалубки или щита опалубки. Крепление в несущей конструкции опалубки или в щите опалубки означает, что соответствующий элемент находится внутри щита опалубки или несущей конструкции опалубки и не выступает из них. Благодаря по меньшей мере одному соединителю, две сопряженные части которого, элемент несущей конструкции и щит опалубки, выполнены с возможностью разъемного соединения и отсоединения, соединение щита опалубки с несущей конструкцией опалубки также выполнено таким образом, что оно является разъемным. Как правило, между щитом опалубки и несущей конструкцией опалубки расположено более одного соединителя. Стабильное соединение между щитом опалубки и несущей конструкцией опалубки предпочтительно достигается за счет обеспечения множества соединителей, прикрепленных к различным положениям щита опалубки и несущей конструкции опалубки. Соединитель, а следовательно, соединение между элементом несущей конструкции и элементом щита опалубки, выполнен с возможностью разъединения путем приложения нормального усилия к щиту опалубки, направленного в сторону от несущей конструкции опалубки. Щит опалубки имеет бетонную сторону, которая в положении соединения с несущей конструкцией опалубки обращена в сторону от несущей конструкции опалубки и при возведении части здания приведена в контакт с бетонным материалом. Нормальное усилие или усилие в нормальном направлении по отношению к щиту опалубки означает усилие, которое ориентировано ортогонально поверхности бетонной стороны. Другими словами, соединитель может быть отсоединен путем приложения тянущего усилия к щиту опалубки, направленного в сторону от несущей конструкции опалубки. Однако для отсоединения элемента несущей конструкции и элемента щита опалубки приложенное нормальное усилие должно превышать пороговое усилие отсоединения. Если приложенное нормальное усилие меньше, чем это пороговое усилие отсоединения, элемент несущей конструкции не может быть отсоединен от элемента щита опалубки и соединитель остается присоединенным. Пороговое усилие отсоединения выбирают таким образом, чтобы оно было достаточно малым для того, чтобы обеспечить возможность отсоединения щита опалубки от несущей конструкции опалубки, например, одним или двумя людьми. При этом пороговое усилие отсоединения выбирают таким образом, чтобы не произошло непреднамеренное отсоединение щита опалубки от несущей конструкции опалубки. Кроме того, во время заливки и затвердевания бетонного материала в опалубке будут возникать нормальные усилия относительно щита опалубки. Нежелательно, чтобы нормальные усилия, возникающие при заливке бетона, вызвали отсоединение соединителя. Поэтому пороговое усилие отсоединения выбирают таким образом, чтобы нормальные усилия, возникающие при возведении части здания и действующие на опалубку, воспринимались соединителем без его отсоединения. Элемент несущей конструкции, отсоединенный от элемента щита опалубки, может быть соединен с элементом несущей конструкции путем приложения нормального усилия по направлению к щиту опалубки, в частности, по направлению к бетонной стороне щита опалубки. Однако для создания соединения между элементом щита опалубки и элементом несущей конструкции приложенное нормальное усилие должно превышать пороговое усилие соединения. Если приложенное нормальное усилие меньше, чем это пороговое усилие соединения, элемент щита опалубки не будет соединен с элементом несущей конструкции. Для присоединения соединителя к щиту опалубки прикладывают прижимающее усилие, ортогональное его поверхности, обращенной к бетонному материалу. В данном случае пороговое усилие отсоединения и пороговое усилие соединения могут быть выбраны таким образом, чтобы они имели одинаковую или разную величину. Согласно настоящему изобретению по меньшей мере одна часть соединителя выполнена с возможностью отсоединения от щита опалубки или от несущей конструкции опалубки. Для этой цели элемент щита опалубки может иметь часть для крепления к щиту опалубки, которая непосредственно или опосредованно соединена со щитом опалубки. Это соединение выполнено таким образом, что его можно разъединить. Это означает, что элемент щита опалубки можно отсоединить от щита опалубки без его разрушения. Таким образом, элемент щита опалубки может быть заменен простым способом, если после определенного количества циклов соединения с элементом несущей конструкции произошел износ. В качестве альтернативы или дополнительно элемент несущей конструкции может содержать часть для крепления к несущей конструкции, которая соединена с несущей конструкцией опалубки. Это соединение между частью для крепления к несущей конструкции и несущей конструкцией опалубки выполнено таким образом, что оно является разъемным, так что элемент несущей конструкции может быть снят с несущей конструкции опалубки и заменен на другой элемент несущей конструкции простым способом. Согласно настоящему изобретению либо только элемент щита опалубки может быть выполнен с возможностью отсоединения от щита опалубки, либо только элемент несущей конструкции может быть выполнен с возможностью отсоединения от несущей конструкции опалубки, либо как элемент щита опалубки может быть выполнен с возможностью отсоединения от щита опалубки, так и элемент несущей конструкции может быть выполнен с возможностью отсоединения от несущей конструкции опалубки. Элемент щита опалубки согласно настоящему изобретению имеет преимущество по сравнению с известным уровнем техники, которое заключается в том, что соединение и отсоединение щита опалубки и несущей конструкции опалубки может быть выполнено очень простым способом путем приложения нормального усилия к опалубке или в сторону от нее. В частности, для присоединения или отсоединения щита опалубки и несущей конструкции опалубки не требуется какой-либо инструмент. Соединение или отсоединение щита опалубки и несущей конструкции опалубки простым способом также может быть выполнено необученным персоналом. Соединение и отсоединение щита опалубки и несущей конструкции опалубки можно осуществить намного быстрее, чем при известном подходе, при котором два элемента соединяют друг с другом с помощью заклепок. Еще одним преимуществом элемента опалубки согласно настоящему изобретению является то, что соединение между щитом опалубки и несущей конструкцией опалубки может быть обеспечено и разъединено много раз подряд. Таким образом, например, можно многократно использовать одну и ту же комбинацию несущей конструкции опалубки и щита опалубки для возведения различных частей здания. Кроме того, к разным несущим конструкциям опалубки можно присоединить разные щиты опалубки. Следовательно, щит опалубки и несущую конструкцию опалубки можно использовать многократно, благодаря чему, соответственно, снижаются трудозатраты и материальные затраты на обеспечение материалами на строительной площадке. В частности, предпочтительной является возможность отсоединения согласно настоящему изобретению, в частности, возможность отсоединения без разрушения по меньшей мере одной части соединителя, например, элемента щита опалубки или элемента несущей конструкции, от части модуля опалубки. Если после многократного использования часть соединителя изнашивается настолько, что надежное выполнение функции соединения больше невозможно, часть соединителя можно просто заменить. Таким образом, на работу щита опалубки и несущей конструкции опалубки не влияет износ соединителя и, таким образом, их можно многократно использовать для сборки опалубки в их обычном виде. Элемент щита опалубки и/или элемент несущей конструкции можно заменить либо после определенного количества циклов соединения, либо просто после визуальной проверки и, таким образом, обеспечить быстрое и надежное соединение между щитом опалубки и несущей конструкцией опалубки на длительный период.
В одном варианте осуществления предполагается, что на монтажной стороне щита опалубки расположено множество элементов щита опалубки, а со стороны несущей конструкции опалубки, обращенной к щиту опалубки, расположено множество элементов несущей конструкции, таким образом, обеспечено множество соединителей, причем эти соединители неравномерно распределены по щиту опалубки и несущей конструкции опалубки, при этом, в частности, большее количество соединителей на единицу площади поверхности расположено в периферийной части и/или на краях, чем в центральной части щита опалубки и несущей конструкции опалубки. В этом варианте осуществления обеспечено множество соединителей для соединения щита опалубки с несущей конструкцией опалубки. Щит опалубки имеет бетонную сторону, обращенную к бетонному материалу при возведении части здания. Напротив этой бетонной стороны находится монтажная сторона щита опалубки, которая при соединении с ней обращена к несущей конструкции опалубки. На монтажной стороне щита опалубки расположено множество элементов щита опалубки, в то же время на стороне несущей конструкции опалубки, обращенной к щиту опалубки, расположено множество элементов несущей конструкции. В этом варианте осуществления соединители, образованные, соответственно, элементом щита опалубки и элементом несущей конструкции, неравномерно распределены по щиту опалубки и несущей конструкции опалубки. В данном случае термин «неравномерно» означает, что расстояния между соседними соединителями, по меньшей мере частично, отличаются по размеру. Было установлено, что при возведении части здания в периферийной части модуля опалубки возникают большие нормальные усилия, чем в центральной области, удаленной от периферийной части, при затвердевании бетонного материала или при отсоединении отдельных модулей опалубки от затвердевшего бетонного материала. Эти нормальные усилия не должны приводить к разъединению соединения между элементом щита опалубки и элементом несущей конструкции. В данном случае под периферийной частью следует понимать область щита опалубки и несущей конструкции опалубки, которая, если смотреть с нормального направления по отношению к щиту опалубки, расположена вокруг наружной окружности щита опалубки. Эта периферийная часть может, например, проходить на расстояние от 1 см до 30 см, предпочтительно от 2 см до 20 см в направлении центра щита опалубки, измеренное от ее наружного края.
Для противодействия более высоким нормальным усилиям, действующим на щит опалубки в этой краевой или угловой области, которые должны быть восприняты соединителями без их отсоединения, количество соединителей на единицу площади поверхности выбирают большим в периферийной части, чем в центре щита опалубки и несущей конструкции опалубки. Поэтому в периферийной части плотность соединителей выбирают большей, чем в центре. Это позволяет обеспечить, чтобы в периферийной части щита опалубки и несущей конструкции опалубки, более интенсивно подвергающихся воздействию нормальных усилий, не произойдет непреднамеренное отсоединение соединителя. В центральной области щита опалубки и несущей конструкции опалубки плотность соединителей выбирают меньшей, поскольку здесь будут возникать меньшие нормальные усилия, которые должны компенсироваться присоединяемыми соединителями. Благодаря уменьшенной плотности соединителей в центральной зоне обеспечены низкие суммарные пороговые усилия всех соединителей, так что в случае преднамеренного отсоединения щита опалубки и несущей конструкции опалубки это отсоединение может быть достигнуто с приемлемым суммарным пороговым усилием отсоединения.
В альтернативном варианте осуществления предполагается, что на монтажной стороне щита опалубки расположено множество элементов щита опалубки, а со стороны несущей конструкции опалубки, обращенной к щиту опалубки, расположено множество элементов несущей конструкции и, таким образом, обеспечено множество соединителей, причем эти соединители имеют разные пороговые усилия отсоединения и соединители, имеющие более высокие пороговые усилия отсоединения, расположены в периферийной части и/или на краях, а соединители, имеющие более низкие пороговые усилия отсоединения, расположены в центральной области щита опалубки и несущей конструкции опалубки, при этом, в частности, работа указанных соединителей основана на одинаковых или разных принципах действия. В этом варианте осуществления между щитом опалубки и несущей конструкцией опалубки также расположено множество соединителей. Эти соединители по меньшей мере частично отличаются друг от друга тем, что имеют разные пороговые усилия отсоединения. При этом такие соединители, имеющие разные пороговые усилия отсоединения, могут иметь либо одинаковую конструкцию и разные размеры, либо эти соединители могут иметь различную конструкцию и их работа может основываться на разных принципах действия. Различные варианты осуществления типов и принципов работы будут описаны ниже. Для компенсации более высоких нормальных усилий, возникающих в периферийной части щита опалубки и несущей конструкции опалубки, в периферийной части и/или на краях расположены соединители, имеющие более высокое пороговое усилие отсоединения. С другой стороны, в центральной области щита опалубки и несущей конструкции опалубки расположены соединители с низкими пороговыми усилиями отсоединения. При этом соединители могут быть расположены либо с постоянными интервалами друг относительно друга, либо, альтернативно, также с непостоянными интервалами друг относительно друга. Кроме того, в этом варианте осуществления более высокие нормальные усилия, подлежащие компенсации, которые возникают в периферийной части при возведении части здания, компенсируются более высокой плотностью порогового усилия отсоединения. В центральной части расположены соединители, имеющие меньшее пороговое усилие отсоединения для обеспечения небольшой суммы порогового усилия отсоединения, необходимого для снятия щита опалубки с несущей конструкции опалубки.
Кроме того, в периферийной части и/или на краях щита опалубки и несущей конструкции опалубки можно обеспечить по меньшей мере одно соединение с установлением связи между материалами, в частности клеевое соединение. В этом варианте осуществления в дополнение к обеспечению одного или более соединителей между щитом опалубки и несущей конструкцией опалубки выполняют соединение с установлением связи между материалами. Это соединение с установлением связи между материалами расположено в периферийной части, которая подвержена воздействию более высоких нормальных усилий при возведении части здания или при снятии модуля опалубки с возведенной части здания. Таким образом, соединение с установлением связи между материалами поддерживает соединение щита опалубки с несущей конструкцией опалубки, обеспечиваемое соединителем или соединителями. При отсоединении щита опалубки от несущей конструкции опалубки соединение с установлением связи между материалами нарушается. Однако это нарушение такого соединения не вызывает совсем или вызывает лишь незначительный износ щита опалубки и несущей конструкции опалубки.
В альтернативном варианте осуществления предполагается, что элемент несущей конструкции образован секцией несущей конструкции опалубки, при этом, в частности, элемент несущей конструкции образован выемкой в несущей конструкции опалубки. В этом варианте осуществления в качестве элемента несущей конструкции соединителя обеспечена секция или также элемент несущей конструкции опалубки. В этом варианте осуществления элемент несущей конструкции обеспечивается непосредственно несущей конструкцией опалубки. В частности, в качестве элемента несущей конструкции предусмотрена выемка или отверстие в элементе несущей конструкции опалубки. Эта выемка может быть расположена в раме несущей конструкции опалубки или также в опорной панели, соединенной с рамой, которая будет дополнительно описана ниже. Для обеспечения разъемного соединения элемент щита опалубки просто вставляют в такую выемку в несущей конструкции опалубки. Выемка в несущей конструкции опалубки является, как элемент несущей конструкции, частью соединителя. Этот вариант осуществления является предпочтительным, поскольку не требуется обеспечивать элемент несущей конструкции, образованный отдельным компонентом, и соединять его с элементом несущей конструкции опалубки. Таким образом, этот вариант осуществления очень прост в изготовлении и, следовательно, экономически выгоден.
В предпочтительном варианте осуществления предполагается, что переходник щита опалубки соединен с геометрическим замыканием со щитом опалубки и/или что элемент щита опалубки соединен с геометрическим замыканием с переходником щита опалубки. В этом варианте переходник щита опалубки соединен со щитом опалубки с помощью соединения с геометрическим замыканием. Это означает, что переходник щита опалубки и щит опалубки выполнены таким образом, чтобы части этих двух элементов взаимодействовали, поэтому между этими двумя элементами образуется жесткое соединение. В данном случае это соединение с геометрическим замыканием выполнено по меньшей мере таким образом, чтобы оно было эффективным в нормальном направлении по отношению к поверхности щита опалубки. Таким образом, соединение с геометрическим замыканием предотвращает разъединение переходника щита опалубки и щита опалубки друг от друга в результате приложения к щиту опалубки нормального усилия. Таким образом, соединение с геометрическим замыканием противодействует разъединению щита опалубки и переходника щита опалубки, когда к щиту опалубки в нормальном направлении прикладывают тянущее усилие и усилие давления. В качестве альтернативы или дополнительно соединение элемента щита опалубки с переходником щита опалубки может, соответственно, также быть выполнено с геометрическим замыканием, чтобы, таким образом, предотвратить разъединение переходника щита опалубки и элемента щита опалубки, когда в направлении поверхности щита опалубки воздействуют усилия в нормальном направлении. В качестве альтернативы также возможно, чтобы переходник щита опалубки был соединен со щитом опалубки посредством соединения с натягом, например, путем прессовой посадки, или с применением соединения с установлением связи между материалами, например клеевого соединения. Предпочтительно переходник щита опалубки и щит опалубки выполнены таким образом, чтобы оба они имели приблизительно одинаковый срок службы. Таким образом, переходник щита опалубки остается на щите опалубки или в нем в течение всего срока службы щита опалубки. Для обеспечения такого долгого срока службы, а именно в пределах нескольких лет, идеально подходит стабильное в течение долгого времени, соединение с геометрическим замыканием между переходником щита опалубки и щитом опалубки.
На основе практического опыта предполагается, что щит опалубки имеет бетонную сторону, которая при использовании модуля опалубки обращена к возводимой части здания, и что щит опалубки имеет монтажную сторону, расположенную напротив бетонной стороны, обращенной к несущей конструкции опалубки, при этом элемент щита опалубки и переходник щита опалубки расположены на монтажной стороне или в ней, причем переходник щита опалубки выполнен с возможностью вставки в щит опалубки путем выполнения перемещения, параллельного монтажной стороне щита опалубки, на монтажной стороне щита опалубки, а в положении вставки в щит опалубки между щитом опалубки и переходником щита опалубки существует соединение с геометрическим замыканием в направлении, перпендикулярном монтажной стороне. В этом варианте осуществления переходник щита опалубки и элемент щита опалубки расположены на монтажной стороне щита опалубки, обращенной в сторону от бетонной стороны, или в ней. В данном случае соединение с геометрическим замыканием между переходником щита опалубки и щитом опалубки выполнено таким образом, что оно может быть обеспечено путем выполнения скользящего перемещения переходника щита опалубки относительно щита опалубки. Это скользящее перемещение направлено параллельно поверхности щита опалубки или параллельно монтажной стороне. Таким образом, скользящее перемещение перпендикулярно эффективному направлению соединения с геометрическим замыканием. Преимущество этого варианта осуществления состоит в том, что переходник щита опалубки может быть простым способом соединен со щитом опалубки. Именно в серийном производстве такой простой тип соединения является предпочтительным, поскольку он обеспечивает короткое время цикла на изготовление щита опалубки, содержащего множество встроенных в него переходников щита опалубки. В этом варианте осуществления, например, соединение с геометрическим замыканием может быть выполнено в виде соединения с геометрическим замыканием типа «ласточкин хвост».
Кроме того, предполагается, что на виде сбоку с направления, перпендикулярного монтажной стороне, щит опалубки имеет выемку с поднутрением, и что переходник щита опалубки вставлен в эту выемку, при этом секция переходника щита опалубки расположена в поднутрении выемки, и, таким образом, обеспечивается соединение с геометрическим замыканием между щитом опалубки и переходником щита опалубки в направлении, перпендикулярном монтажной стороне. В этом варианте осуществления в щите опалубки образована выемка, которая на виде сверху края щита опалубки имеет поднутрение. Кроме того, переходник щита опалубки имеет форму, которая частично выполнена с возможностью вставки в это поднутрение. Например, может быть образована выемка в форме ласточкиного хвоста, соответственно имеющая поднутрение в своих краевых частях, в частности, выфрезерованное в щите опалубки от бокового края. Следовательно, краевые части переходника щита опалубки имеют геометрически противоположную форму по отношению к выемке в форме ласточкиного хвоста и, таким образом могут, быть вставлены в эту выемку с минимальным зазором.
В альтернативном варианте осуществления предполагается, что на виде сверху монтажной стороны щит опалубки имеет выемку, имеющую образующие ее стенки, проходящие перпендикулярно монтажной стороне, и что переходник щита опалубки вдавливают в выемку в направлении, перпендикулярном монтажной стороне, при этом по меньшей мере часть переходника щита опалубки расположена в выемке, и, таким образом, обеспечивается соединение с натягом между щитом опалубки и переходником щита опалубки в плоскости, параллельной монтажной стороне. В этом варианте осуществления переходник щита опалубки и щит опалубки соединены с натягом посредством соединения с прессовой посадкой, которое выполняют путем выполнения перемещения с прижатием в направлении, перпендикулярном поверхности или монтажной стороне щита опалубки. В этом варианте осуществления в щите опалубки образована выемка, которая не полностью проходит через щит опалубки в направлении ее толщины. Эта выемка ограничена образующими ее стенками, проходящими перпендикулярно монтажной стороне таким образом, что эта выемка не имеет поднутрения. Переходник щита опалубки имеет соответствующую противоположную форму, которая, однако, выполнена таким образом, что ее наружный диаметр немного превышает внутренний диаметр выемки. За счет этого увеличенного размера при вдавливании переходника щита опалубки в щит опалубки образуется прессовая посадка с натягом, фиксирующая переходник щита опалубки по отношению к щиту опалубки. В области наружной окружности переходника щита опалубки могут быть обеспечены поддерживающие выступающие ребра или утолщения, которые облегчают вставку переходника щита опалубки в выемку. Преимущество этого варианта осуществления состоит в том, что в выемке в щите опалубки не нужно создавать поднутрение. Фиксация переходника щита опалубки относительно щита опалубки, конечно, также может быть реализована с применением комбинации соединения с геометрическим замыканием и соединения с натягом. Например, описанное выше соединение с геометрическим замыканием, в котором переходник щита опалубки вставляют в выемку путем выполнения скользящего перемещения, может быть дополнено небольшим увеличением размера, чтобы скользящее перемещение могло быть осуществлено только путем преодоления сопротивления, и, таким образом, создается дополнительное соединение, не относящееся к соединению с натягом. Применение указанной комбинации приводит к тому, что переходник щита опалубки фиксируется с натягом в направлении скольжения и не может быть непреднамеренно вытянут из щита опалубки при обратном скользящем перемещении. Кроме того, переходник щита опалубки может быть соединен со щитом опалубки дополнительными соединительными элементами, такими как, например, винты или гвозди.
Еще в одном варианте осуществления предполагается, что переходник щита опалубки расположен непосредственно рядом с краем щита опалубки или на расстоянии от края щита опалубки, если смотреть с направления, перпендикулярного монтажной стороне. В этом варианте осуществления переходник щита опалубки может быть расположен в различных положениях относительно края щита опалубки, если смотреть с направления, перпендикулярного поверхности щита опалубки или монтажной стороне. Для описанного выше варианта осуществления, в котором щит опалубки имеет выемку с поднутрением, а переходник щита опалубки соединен с этой выемкой путем выполнения скользящего перемещения, расположение непосредственно рядом с краем щита опалубки является предпочтительным, поскольку это позволяет вставлять переходник щита опалубки простым способом. Однако соединение с геометрическим замыканием этого типа может быть обеспечено и на расстоянии от края щита опалубки. В этом случае на поверхности щита опалубки образуют часть для вставки, посредством которой в выемке может быть образовано поднутрение, например, с помощью соответствующей профильной фрезы, вставленной в часть для вставки и затем использованной для образования поднутрения. Через эту часть для вставки также можно затем вставить переходник щита опалубки и вдвинуть его в выемку с поднутрением. В качестве альтернативы, в случае расположения переходника щита опалубки на расстоянии от края щита опалубки также может быть выбран тип соединения, при котором переходник щита опалубки вдавливают в выемку без поднутрения с монтажной стороны путем выполнения соединения с прессовой посадкой. Конечно, также может быть обеспечено множество переходников щита опалубки на щите опалубки, некоторые из которых, например, расположены непосредственно рядом с краем щита опалубки, а некоторые - на расстоянии от этого края. Это множество переходников щита опалубки также может иметь различные конфигурации и, в частности, также разные размеры для размещения элементов щита опалубки, имеющих различную несущую способность.
Кроме того, предполагается, что переходник щита опалубки имеет выемку с поднутрением, в которое может быть разъемно вставлен элемент щита опалубки, при этом указанное разъемное соединение элемента щита опалубки и переходника щита опалубки по меньшей мере частично образовано соединением с геометрическим замыканием части элемента щита опалубки с поднутрением выемки в переходнике щита опалубки. В этом варианте осуществления соединение элемента щита опалубки с переходником щита опалубки является соединением с геометрическим замыканием. Это соединение с геометрическим замыканием выполнено таким образом, чтобы оно противодействовало разъединению элемента щита опалубки и переходника щита опалубки при приложении усилия, перпендикулярного монтажной стороне. Для этого в переходнике щита опалубки образована выемка с поднутрением. При создании соединения с геометрическим замыканием секция элемента щита опалубки будет взаимодействовать с этой поднутрением. Конечно, в качестве альтернативы поднутрение также может быть расположено на элементе щита опалубки и секция переходника щита опалубки может взаимодействовать с геометрическим замыканием с этим поднутрением. Для создания этого соединения с геометрическим замыканием могут быть обеспечены различные эффективные относительные перемещения между элементом щита опалубки и переходником щита опалубки. Такое соединение с геометрическим замыканием элемента щита опалубки с переходником щита опалубки предпочтительно тем, что элемент щита опалубки может быть отсоединен от переходника щита опалубки и, следовательно, заменен простым способом. Такое соединение с геометрическим замыканием может быть создано и разъединено вручную простым способом без приложения больших усилий и моментов. Таким образом, замена даже большего количества элементов щита опалубки может быть выполнена легко и быстро.
В качестве преимущества предполагается, что соединение с геометрическим замыканием между элементом щита опалубки и переходником щита опалубки может быть создано и разъединено путем линейного перемещения элемента щита опалубки относительно переходника щита опалубки в направлении, параллельном монтажной стороне. В этом варианте осуществления элемент щита опалубки может быть соединен с переходником щита опалубки и отсоединен от него путем выполнения скользящего перемещения. В данном случае, например, секция элемента щита опалубки может быть вставлена в поднутрение в переходнике щита опалубки для создания соединения с геометрическим замыканием. Конкретных ограничений в отношении конструкции поднутрения и связанной с ним секции противоположной формы на элементе опалубки нет. Например, поднутрение и выступающая секция на элементе щита опалубки могут иметь форму ласточкиного хвоста.
В альтернативном варианте осуществления предполагается, что соединение с геометрическим замыканием между элементом щита опалубки и переходником щита опалубки может быть создано и разъединено путем поворотного перемещения элемента щита опалубки относительно переходника щита опалубки вокруг оси поворота, которая ориентирована перпендикулярно монтажной стороне. В этом варианте осуществления соединение с геометрическим замыканием создают и разъединяют путем поворота элемента щита опалубки относительно переходника щита опалубки. Путем выполнения этого поворотного перемещения при установке создают соединение с геометрическим замыканием секции элемента щита опалубки в поднутрении переходника щита опалубки. Этот принцип аналогичен принципу действия байонетного замка. Выполнение такого поворотного перемещения для демонтажа и монтажа элемента щита опалубки в переходнике щита опалубки также является простым и может быть осуществлено вручную, и, следовательно, значительно облегчает замену элемента щита опалубки. Кроме того, на щите опалубки может быть расположено множество переходников щита опалубки и элементов щита опалубки, при этом некоторые из соединений между переходником щита опалубки и элементом щита опалубки могут быть созданы и разъединены путем выполнения линейного перемещения, а другие из этих соединений могут быть созданы и разъединены путем выполнения поворотного перемещения. Для переходников щита опалубки, расположенных на краю щита опалубки, в частности, предпочтительно предусмотреть линейное перемещение, а для переходников щита опалубки, расположенных с внутренней стороны на расстоянии от края щита опалубки, - поворотное перемещение для создания соединения с геометрическим замыканием с элементом щита опалубки.
Кроме того, предполагается, что щит опалубки выполнен в виде панели и имеет бетонную сторону, которая при использовании модуля опалубки обращена к возводимой части здания, и что щит опалубки имеет монтажную сторону, расположенную напротив бетонной стороны, обращенной к несущей конструкции опалубки, при этом элемент щита опалубки расположен на монтажной стороне или в ней. В этом варианте осуществления щит опалубки имеет форму панели и имеет две большие основные поверхности, которые являются большими по сравнению с окружной краевой поверхностью. Например, такой щит опалубки в форме панели может быть образован из фанерной панели. Одна из этих больших основных поверхностей представляет собой бетонную сторону, которая при формовании обращена к бетонному материалу и, как правило, снабжена покрытием. На противоположной стороне относительно этой бетонной стороны находится монтажная сторона, на которой или в которой расположены элементы опалубки. Как правило, бетонная сторона и монтажная сторона ориентированы параллельно друг другу.
На основе практического опыта предполагается, что щит опалубки выполнен многослойным. В этом варианте осуществления щит опалубки содержит множество слоев или пластов. В данном случае эти слои могут быть выполнены из одного и того же материала, например, из древесного материала. Однако в качестве альтернативы также могут быть образованы слои, изготовленные из различных материалов.
Кроме того, предполагается, что несущая конструкция опалубки имеет раму, и что элемент несущей конструкции расположен на раме или в раме на ее стороне, обращенной к щиту опалубки. В этом варианте осуществления несущая конструкция опалубки имеет раму, которая, например, проходит вокруг несущей конструкции опалубки по ее наружному краю. Кроме того, рама может иметь распорки. Рама предпочтительно выполнена в виде легкой конструкции из металлического материала, например, из металлических труб. Элемент несущей конструкции расположен со стороны рамы, обращенной к щиту опалубки.
Предполагается, что разъемное соединение между элементом несущей конструкции и элементом щита опалубки воспринимает усилия в нормальном направлении к бетонной стороне, которые меньше, чем пороговое усилие отсоединения. Соединитель выполнен с возможностью восприятия тянущего усилия и усилия давления, которые действуют между щитом опалубки и несущей конструкцией опалубки и которые меньше, чем пороговое усилие отсоединения. Таким образом гарантируется, что щит опалубки и несущая конструкция опалубки останутся надежно соединенными друг с другом и при возведении части здания не произойдет их непреднамеренное разъединение.
Кроме того, предполагается, что разъемное соединение между элементом несущей конструкции и элементом щита опалубки воспринимает поперечные усилия, которые действуют ортогонально нормальному направлению к бетонной стороне. Соединитель выполнен таким образом, чтобы он также мог воспринимать усилия, которые действуют между щитом опалубки и несущей конструкцией опалубки, и ориентированы в направлении, отличном от нормального направления к щиту опалубки. Это, в частности, поперечные или сдвигающие усилия, действующие ортогонально нормальному направлению.
На основе практического опыта предполагается, что разъемное соединение между элементом несущей конструкции и элементом щита опалубки выполнено с возможностью его создания с натягом и/или с геометрическим замыканием. Элементы для создания соединения с натягом, в частности, являются предпочтительными для разъемного соединения между элементом щита опалубки и элементом несущей конструкции, поскольку соединение с натягом может быть создано и разъединено простым способом в нормальном направлении к щиту опалубки. Однако для передачи больших усилий также подходят элементы для создания соединения с геометрическим замыканием. Кроме того, могут быть обеспечены соединители, которые работают как с натягом, так и с геометрическим замыканием.
В предпочтительном варианте осуществления предполагается, что элемент несущей конструкции и/или элемент щита опалубки имеют части, выполненные с возможностью упругой деформации. В этом варианте осуществления элемент несущей конструкции и/или элемент щита опалубки выполнены таким образом, чтобы они по меньшей мере частично обладали эластичностью и упругостью. Такой вариант реализации позволяет сконструировать соединитель, который работает как с натягом, так и с геометрическим замыканием. Секции, выполненные с возможностью упругой деформации, могут находиться либо на элементе щита опалубки, на элементе несущей конструкции, либо на обоих этих элементах.
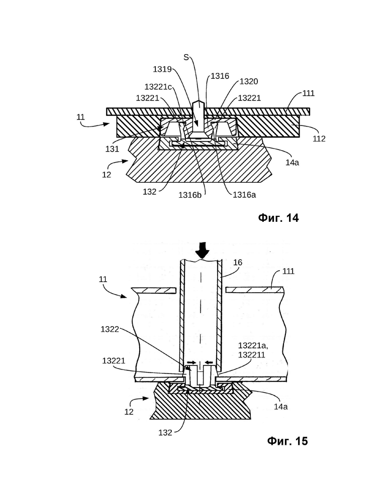
В одном варианте осуществления предполагается, что элемент щита опалубки имеет стержень и соединительную головку, при этом элемент щита опалубки соединен со щитом опалубки на одном конце стержня, а соединительная головка соединена с концом стержня, расположенным напротив щита опалубки. В этом варианте осуществления элемент щита опалубки имеет соединительную головку, выполненную с возможностью обеспечения эффективного соединения с элементом несущей конструкции. Это эффективное соединение может представлять собой соединение с геометрическим замыканием, соединение с натягом или выполнено в виде комбинации этих двух принципов работы. Рядом с соединительной головкой обеспечен стержень. Один конец этого стержня соединен с соединительной головкой, противоположный конец стержня соединен со щитом опалубки.
Предпочтительно, чтобы соединительная головка имела по меньшей мере одну изгибающуюся часть, выполненную с возможностью упругой деформации относительно стержня. В этом варианте осуществления соединительная головка элемента щита опалубки имеет по меньшей мере одну секцию, выполненную с возможностью упругой деформации, - изгибающуюся часть. Эта изгибающаяся часть выполнена с возможностью упругой деформации относительно стержня. Таким образом, изгибающаяся часть также выполнена с возможностью перемещения относительно стержня и щита опалубки.
Кроме того, предполагается, что изгибающаяся часть имеет по меньшей мере одну поверхность для вставки и по меньшей мере одну поверхность для отсоединения, при этом, когда элемент щита опалубки соединен с элементом несущей конструкции, поверхность для вставки по меньшей мере частично упирается в элемент несущей конструкции, а при разъединении соединения элемента щита опалубки с элементом несущей конструкции поверхность для отсоединения по меньшей мере частично упирается в элемент несущей конструкции. В этом варианте осуществления упругая изгибающаяся часть имеет по меньшей мере одну поверхность для вставки и по меньшей мере одну поверхность для отсоединения. Эти две поверхности выполнены с возможностью обеспечения эффективного соединения с элементом несущей конструкции, когда элемент щита опалубки и элемент несущей конструкции соединены или разъединены. Для создания соединения по меньшей мере часть поверхности для вставки элемента щита опалубки упирается в элемент несущей конструкции. При приложении усилия в нормальном направлении к щиту опалубки (к элементу щита опалубки) в этом положении поверхность для вставки прижимается к элементу несущей конструкции. Во время приложения этого прижимающего усилия к поверхности для вставки может происходить упругая деформация изгибающейся части, что, в свою очередь, приводит к сжатию элемента щита опалубки в его радиальном направлении. Таким образом облегчается вставка в элемент несущей конструкции. Когда соединитель необходимо отсоединить путем вытягивания элемента щита опалубки из элемента несущей конструкции, поверхность для отсоединения элемента щита опалубки по меньшей мере частично упирается в элемент несущей конструкции. Таким образом, при приложении тянущего усилия в нормальном направлении к щиту опалубки к поверхности для отсоединения прикладывается прижимающее усилие, что, в свою очередь, приводит к упругой деформации изгибающейся части в радиальном направлении. В этом положении сжатия в радиальном направлении элемент щита опалубки затем будет легче вытянуть из элемента несущей конструкции.
На основе практического опыта предполагается, что поверхность для вставки и поверхность для отсоединения расположены под углом, в частности, под разными углами, к центральной оси вала. Центральная ось стержня элемента щита опалубки ориентирована ортогонально к бетонной стороне щита опалубки. Элемент щита опалубки на монтажной стороне выступает за пределы щита опалубки в направлении центральной оси стержня. Предпочтительно поверхность для вставки и поверхность для отсоединения выровнены под углом к центральной оси стержня. При соединении и разъединении элемента щита опалубки и элемента несущей конструкции оба эти элемента перемещаются друг относительно друга вдоль центральной оси стержня. Таким образом, поверхность для вставки и поверхность для отсоединения ориентированы под углом к направлению перемещения во время присоединения и отсоединения соединителя. При примыкании поверхности для вставки и элемента несущей конструкции или поверхности для отсоединения и элемента несущей конструкции друг к другу, как описано выше, эти поверхности действуют как уклоны или наклонные плоскости, которые преобразуют усилие, приложенное в направлении перемещения, в усилие, действующее на изгибающуюся часть в радиальном направлении. Таким образом, при приложении усилия в нормальном направлении к щиту опалубки (к элементу щита опалубки) поверхность для вставки и поверхность для отсоединения вызывают упругую деформацию изгибающейся части в радиальном направлении, благодаря чему облегчается присоединение или отсоединение соединителя. Передаточное отношение приложенного в осевом направлении усилия к действующему в радиальном направлении усилию деформации можно установить с помощью величины углов, под которыми поверхность для вставки и поверхность для отсоединения ориентированы относительно центральной оси стержня и, таким образом, относительно направления перемещения. Радиальное усилие, приводящее к упругой деформации изгибающейся части, напрямую связано с пороговым усилием отсоединения и пороговым усилием соединения соединителя. В связи с тем, что углы поверхности для вставки и поверхности для отсоединения относительно центральной оси стержня устанавливают по-разному, величину порогового усилия отсоединения можно установить таким образом, чтобы она отличалось от величины порогового усилия соединения соединителя.
В предпочтительном варианте осуществления предполагается, что обеспечены две или более изгибающиеся части, которые расположены нормально друг к другу относительно центральной оси стержня, и что между изгибающимися частями имеется полость. В этом варианте осуществления, например, обеспечено множество изгибающихся частей, которые расположены напротив друг друга относительно центральной оси стержня. Таким образом обеспечивается симметричная конструкция и/или достигается симметричная радиальная деформация элемента щита опалубки. Такое симметричное поведение является предпочтительным при соединении с элементом несущей конструкции, поскольку благодаря симметричной конструкции во время соединения не возникают поперечные усилия и, таким образом, элемент щита опалубки и элемент несущей конструкции могут быть беспрепятственно вставлены друг в друга и соединены друг с другом. В предпочтительном варианте осуществления между изгибающимися частями обеспечена полость, принимающая изгибаемые элементы в упруго деформированном положении. Размер полости может быть таким, чтобы изгибающиеся части не соприкасались друг с другом в любом положении деформации. В качестве альтернативы полость также может иметь такие размеры, чтобы изгибающиеся части упирались друг в друга после определенной упругой деформации, после чего какая-либо дальнейшая упругая деформация была бы невозможной.
В предпочтительном варианте осуществления предполагается, что элемент несущей конструкции выполнен жестким и имеет полость, по существу соответствующую форме и размеру соединительной головки, и что элемент несущей конструкции имеет выемку для вставки, соединяющую наружную поверхность элемента несущей конструкции с полостью, причем внутренний диаметр выемки для вставки меньше, чем наибольший внутренний диаметр полости. В этом варианте элемент несущей конструкции, представляющий собой сопряженную часть для описанных выше вариантов осуществления элемента щита опалубки, имеет жесткую конфигурацию. Кроме того, элемент несущей конструкции содержит полость, выполненную с возможностью размещения в ней соединительной головки элемента щита опалубки, когда соединитель присоединен. В связи с этим форма и размер этой полости по существу соответствуют форме и размеру соединительной головки. Полость может, например, иметь форму, противоположную форме соединительной головки. Полость расположена внутри элемента несущей конструкции и доступна снаружи элемента несущей конструкции через выемку для вставки. В данном случае габаритная ширина или внутренний диаметр выемки для вставки являются меньшими, чем наибольший внутренний диаметр полости. Таким образом, полость имеет поднутрение напротив выемки для вставки, которое может быть использовано для соединения с геометрическим замыканием элемента щита опалубки с элементом несущей конструкции. Для такого соединения с геометрическим замыканием соединительная головка элемента щита опалубки выступает за пределы ее стержня. Эта выступающая часть в сочетании с поднутрением полости, противоположной выемке для вставки, может быть совмещена для получения соединения с геометрическим замыканием. В простом варианте осуществления выемка для вставки имеет круглое поперечное сечение. Выемка для вставки также имеет центральную ось, предпочтительно соосно выровненную с центральной осью полости. Когда соединение между элементом щита опалубки и элементом несущей конструкции создано, центральная ось выемки для вставки и центральная ось стержня проходят конгруэнтно.
Кроме того, предполагается, что выемка для вставки имеет по меньшей мере одну поверхность для вставки втулки со стороны, обращенной к наружной поверхности элемента несущей конструкции, и по меньшей мере одну поверхность для отсоединения втулки с ее стороны, обращенной к полости, при этом поверхность для вставки втулки и поверхность для отсоединения втулки расположены под углом, в частности, под разными углами, к центральной оси выемки для вставки. В этом варианте осуществления элемент несущей конструкции, аналогичный описанному выше элементу щита опалубки, содержащему соединительную головку и стержень, имеет две функциональные поверхности, выполненные с возможностью контактирования с элементом щита опалубки: Поверхность для вставки втулки обеспечена со стороны выемки для вставки, которая пересекает наружную поверхность элемента несущей конструкции. Соответственно, поверхность для отсоединения втулки обеспечена со стороны выемки для вставки, которая открыта в полость. Поверхность для вставки втулки и поверхность для отсоединения втулки ориентированы под углом к центральной оси выемки для вставки. Когда элемент щита опалубки соединен с элементом несущей конструкции, поверхность для вставки втулки сначала вступает в контакт с элементом щита опалубки. За счет того, что поверхность для вставки втулки расположена под углом, элемент щита опалубки, вдвигаемый в направлении центральной оси выемки для вставки, сжимается в его радиальном направлении и может быть легче вставлен в элемент несущей конструкции. В обратном направлении, при разъединении соединения между элементом щита опалубки и элементом несущей конструкции поверхность для отсоединения втулки сжимает элемент щита опалубки в радиальном направлении в случае перемещения или приложения усилия вдоль центральной оси выемки для вставки и, таким образом, облегчает извлечение элемента щита опалубки из элемента несущей конструкции. Пороговое усилие соединения и пороговое усилие отсоединения могут быть установлены с помощью углов, под которыми поверхность для вставки втулки и поверхность для отсоединения втулки ориентированы относительно центральной оси выемки для вставки. В данном случае углы поверхности для вставки втулки и поверхности для отсоединения втулки могут иметь одинаковые или разные величины относительно центральной оси выемки для вставки.
В представленных выше вариантах осуществления был описан элемент щита опалубки, содержащий соединительную головку и вал, в котором соединительная головка имеет изгибающиеся части, выполненные с возможностью упругой деформации. Элемент несущей конструкции был описан как жесткий и имеющий полость для размещения соединительной головки. Конечно, эти формы также могут быть обратными и жесткий элемент, имеющий полость в качестве элемента щита опалубки, может быть расположен сбоку щита опалубки, а элемент несущей конструкции, содержащий частично соединительную головку, выполненную с возможностью упругой деформации, может быть расположен со стороны несущей конструкции опалубки. Все функциональные возможности и преимущества, описанные выше, также относятся к функциональному изменению и/или изменению формы между щитом опалубки и несущей конструкцией опалубки. Кроме того, конечно, также может быть обеспечен элемент с соединительной головкой, имеющей жесткую конфигурацию, и стержень, а также может быть обеспечен противоположный элемент с упругими изгибающимися частями, выполненный с полостью. Таким образом, также возможно, чтобы части, выполненные с возможностью упругой деформации, были расположены со стороны соединения, на которой имеется полость. И наконец, с обеих сторон соединения или соединителя, а именно на элементе щита опалубки и на элементе несущей конструкции, также могут быть расположены изгибающиеся части, выполненные с возможностью упругой деформации.
Кроме того, предпочтительно предполагается, что часть для крепления к щиту опалубки содержит наружную резьбу, которая соединена с внутренней резьбой, расположенной в опалубке. В этом варианте осуществления элемент щита опалубки выполнен таким образом, чтобы его можно было очень легко отсоединить от щита опалубки посредством резьбового соединения. В качестве альтернативы, вместо такого резьбового соединения может быть применено соединение с прессовой посадкой, клеевое соединение, защелкивающееся соединение или другое соединение.
Еще в одном варианте осуществления предполагается, что часть для крепления к несущей конструкции содержит наружную резьбу, которая соединена с внутренней резьбой, расположенной в несущей конструкции опалубки. В этом варианте осуществления аналогично вышеописанному варианту элемент несущей конструкции соединен с несущей конструкцией опалубки резьбовым соединением. Таким образом, элемент несущей конструкции можно очень легко отсоединить от несущей конструкции опалубки. Для этого соединения также могут быть выбраны альтернативные соединения, такие как, например, прессовая посадка.
Может быть обеспечено, чтобы элемент несущей конструкции имел часть для крепления к несущей конструкции, которая соединена с несущей конструкцией опалубки, и чтобы соединение между элементом несущей конструкции и несущей конструкцией опалубки было выполнено разъемным. В этом варианте осуществления на элементе несущей конструкции обеспечена часть для крепления к несущей конструкции, с помощью которой выполняют соединение с несущей конструкцией опалубки. В данном случае эта часть для крепления к несущей конструкции выполнена таким образом, что ее можно соединить с несущей конструкцией опалубки и отсоединить от нее без разрушения. Таким образом, элемент несущей конструкции может быть легко и быстро заменен.
Согласно настоящему изобретению предполагается, что переходник щита опалубки расположен между элементом щита опалубки и щитом опалубки, и/или что переходник несущей конструкции расположен между элементом несущей конструкции и несущей конструкцией опалубки. В этом варианте осуществления между элементом щита опалубки и щитом опалубки и/или между элементом несущей конструкции и несущей конструкцией опалубки обеспечен еще один компонент, который дополнительно облегчает отсоединение/присоединение соединительных элементов от опалубки и несущей конструкции опалубки/к щиту опалубки и несущей конструкции опалубки. Переходник щита опалубки может быть, например, выполнен в виде кольцеобразного компонента, который имеет самонарезающую резьбу по его наружной окружности, с помощью которой переходник щита опалубки может быть жестко соединен со щитом опалубки, как правило, изготовленной из древесного материала. Кроме того, кольцеобразный переходник щита опалубки имеет на его внутренней окружности внутреннюю резьбу, предназначенную для обеспечения возможности разъемного соединения с элементом щита опалубки. При замене элемента щита опалубки переходник щита опалубки остается соединенным со щитом опалубки и только элемент щита опалубки, подлежащий замене, отсоединяют от щита опалубки или переходника щита опалубки. После этого новый элемент щита опалубки может быть легко присоединен к переходнику щита опалубки. Аналогичным образом, переходник несущей конструкции выполняет функцию сопрягающего элемента для соединения несущей конструкции опалубки с элементом несущей конструкции. Например, переходник несущей конструкции также может быть выполнен в форме кольца и приварен к раме несущей конструкции опалубки по ее наружной окружности или поверхности. Сконструированный таким образом переходник несущей конструкции также может иметь по своей внутренней окружности внутреннюю резьбу для соединения с элементом несущей конструкции. Конечно, как переходник щита опалубки, так и переходник несущей конструкции также могут быть соединены со щитом опалубки или несущей конструкцией опалубки альтернативным способом, например, с помощью винтовых соединений, соединений с прессовой посадкой и т.п.
В одном варианте осуществления предполагается, что элемент несущей конструкции выполнен таким образом, чтобы он был жестким и имел часть для захвата, которая по существу соответствует форме и размеру выемки для изгиба в соединительной головке, примыкающей к изгибающейся части, при этом часть для захвата выступает за пределы примыкающих к ней секций элемента несущей конструкции. В этом варианте осуществления обеспечен жесткий элемент несущей конструкции, т.е. элемент несущей конструкции, который не выполнен с возможностью деформации при нормальных условиях эксплуатации. На этом элементе несущей конструкции расположена выступающая часть для захвата, которая может быть выполнена, например, цилиндрической, бочкообразной или закругленной. Эта часть для захвата обеспечена таким образом, что она, по меньшей мере частично, охвачена соединительной головкой элемента щита опалубки, когда соединитель присоединен. Когда это соединение создано, часть для захвата проходит в выемку для изгиба в соединительной головке. Выемка для изгиба расположена рядом по меньшей мере с одной изгибающейся частью соединительной головки. Если на соединителе расположено множество изгибающихся частей, выемка для изгиба расположена между этими изгибающимися частями. Когда соединение создано, часть для захвата проходит в выемку для изгиба и упруго изгибает изгибающуюся часть наружу таким образом, чтобы она охватывала часть для захвата. Форма и размер выемки для изгиба по существу соответствуют форме и размеру части для захвата. Это означает, что выемка для изгиба в положении, в котором она соединена с частью для захвата, т.е. с упруго деформированными изгибающимися частями, соответствует форме части для захвата. В разъединенном положении объем выемки для изгиба меньше объема части для захвата, поскольку не произошла упругая деформация изгибающихся частей наружу. Для создания соединения изгибающиеся части упруго деформируют в радиальном направлении от центральной оси элемента щита опалубки и при этом создают возвратное усилие, направленное вовнутрь в радиальном направлении. Таким образом, между двумя секциями создается как соединение с натягом, так и соединение с геометрическим замыканием. В данном случае соединение выполнено таким образом, чтобы его можно снова обратимо разъединить, приложив нормальное усилие, перпендикулярное поверхности щита опалубки. Для создания соединения между частью для захвата и выемкой для изгиба необходимо приложить пороговое усилие соединения, а для разъединения этого соединения необходимо приложить пороговое усилие отсоединения.
Кроме того, предполагается, что элемент несущей конструкции имеет пространство для изгибающейся части, по меньшей мере частично закрывающее часть для захвата и примыкающее к части для захвата, и что пространство для изгибающейся части по меньшей мере частично вмещает изгибающуюся часть элемента щита опалубки во время присоединения соединителя. В этом варианте осуществления часть для захвата элемента несущей конструкции охватывается пространством для изгибающейся части, которое в положении, в котором оно соединено с элементом щита опалубки, вмещает по меньшей мере секцию изгибающейся части. Таким образом, изгибающаяся часть, упруго деформируемая при соединении, размещается внутри элемента несущей конструкции и, таким образом, защищена от воздействия окружающей среды и загрязнения. В данном случае внутренние размеры пространства для изгибающейся части являются большими, чем наружные размеры изгибающейся части в деформированном состоянии.
Еще в одном варианте осуществления предполагается, что элемент несущей конструкции имеет направляющую часть, по меньшей мере частично охватывающую и образующую пространство для изгибающейся части со стороны пространства для изгибающейся части, обращенной в сторону от части для захвата, при этом направляющая часть образует наружную поверхность элемента несущей конструкции, обращенную в сторону от захватного элемента, который обеспечен как направляющая поверхность элемента несущей конструкции к несущей конструкции опалубки. В этом варианте осуществления пространства для изгибающейся части образовано направляющей частью со стороны, обращенной в сторону от части для захвата. С одной стороны, эта направляющая часть образует границу пространства для изгибающейся части, а с другой стороны - границу элемента несущей конструкции наружу. На наружной окружной поверхности направляющей части, которая также образует наружную окружную поверхность элемента несущей конструкции, обеспечена наружная поверхность, предпочтительно ориентированная по существу параллельно центральной оси части для захвата. При установке элемента несущей конструкции на несущую конструкцию опалубки эта наружная поверхность служит направляющей поверхностью элемента несущей конструкции относительно несущей конструкции опалубки. Элемент несущей конструкции расположен либо непосредственно на раме несущей конструкции опалубки, либо на или в дополнительной опорной панели, которая находится в контакте с рамой. Соответственно, наружная поверхность направляющей части расположена рядом либо с рамой, либо с опорной панелью несущей конструкции опалубки.
Кроме того, предполагается, что элемент несущей конструкции содержит, по меньшей мере частично, плоскую нижнюю часть, ориентированную по существу перпендикулярно центральной оси части для захвата, и что эта нижняя часть упирается в опорную панель или раму несущей конструкции опалубки плоским образом. В этом варианте осуществления элемент несущей конструкции содержит нижнюю часть, выполненную в качестве опорной поверхности элемента несущей конструкции на несущей конструкции опалубки. В то же время нижняя часть соединяет часть для захвата с направляющей частью и образует пространство для изгибающейся части. Нижняя часть имеет нижнюю поверхность, ориентированную в сторону от захватывающего элемента, которая, по меньшей мере частично, выполнена плоской. Эта нижняя поверхность упирается в несущую конструкцию опалубки, когда элемент несущей конструкции соединен с несущей конструкцией опалубки. В данном случае нижняя поверхность предпочтительно выполнена таким образом, чтобы она была плоской на большой площади для обеспечения большой опорной поверхности элемента несущей конструкции и несущей конструкции опалубки.
При необходимости предполагается, что элемент несущей конструкции имеет часть для крепления, по меньшей мере частично расположенную в части для захвата, при этом часть для крепления выполнена с возможностью прикрепления элемента несущей конструкции к раме или к опорной панели, причем, в частности, часть для крепления содержит по меньшей мере одну выемку, полностью проходящую через элемент несущей конструкции в направлении, перпендикулярном монтажной стороне. В этом варианте осуществления элемент несущей конструкции содержит по меньшей мере одну часть для крепления, по меньшей мере частично расположенную в части для захвата. Например, на виде сверху монтажной стороны часть для крепления может быть расположена внутри и концентрично по отношению к части для захвата. Часть для крепления выполнена с возможностью прикрепления элемента несущей конструкции к несущей конструкции опалубки или к опорной панели. Для этой цели часть для крепления может содержать выемку, которая может быть, например, выполнена в виде простого цилиндрического отверстия. Через это выемку соединительный элемент, такой как, например, винт, может быть пропущен через элемент несущей конструкции, и элемент несущей конструкции может быть прикреплен к расположенному ниже несущей конструкции опалубки с помощью указанного соединительного элемента. Кроме того, часть для крепления также может иметь полость, выполненную с возможностью размещения головки соединительного элемента, такого как, например, винт, внутри части для захвата. В дополнение к части для крепления может быть обеспечена, в частности, на наружной окружности направляющей части, дополнительная соединительная часть, которая также может быть использована для соединения элемента несущей конструкции с несущей конструкцией опалубки. Например, такая соединительная часть может иметь контактную поверхность, которую вдавливают в выемку в несущей конструкции опалубки, в результате чего между элементом несущей конструкции и несущей конструкцией опалубки создается соединение с натягом. Конечно, на элементе несущей конструкции также может быть расположено множество крепежных частей и/или множество соединительных частей.
Кроме того, предполагается, что элемент несущей конструкции вставляют в выемку в опорной панели, при этом нижняя часть элемента несущей конструкции плоско упирается в граничную поверхность выемки в опорной панели и происходит прикрепление элемента несущей конструкции вместе с опорной панелью к раме несущей конструкции опалубки с помощью крепежного элемента и при этом крепежный элемент проходит через часть для крепления или является ее частью. В этом варианте осуществления элемент несущей конструкции крепят к раме несущей конструкции опалубки вместе с опорной панелью. В данном случае элемент несущей конструкции служит вспомогательным элементом для прикрепления опорной панели к раме. Для этого элемент несущей конструкции плоско упирается в направляющую панель своей нижней частью. Элемент несущей конструкции соединен с рамой и поджат к ней с помощью крепежного элемента, например, винта. Опорную панель зажимают между элементом несущей конструкции и рамой, и таким образом фиксируют с натягом. Из-за большой опорной поверхности между нижней частью элемента несущей конструкции и опорной панелью возникают лишь незначительные напряжения. Кроме того, усилия, прикладываемые к опорной панели, передаются на раму без напряжения благодаря большой поверхности контакта. В этом варианте осуществления элемент несущей конструкции выполняет двойную функцию. С одной стороны, он является частью соединителя, а с другой стороны обеспечивает эффект шайбы, увеличивающей контактную поверхность между крепежным элементом и опорной панелью. Благодаря такому сочетанию функций модуль опалубки в этом варианте осуществления является очень прочным и в то же время простым по конструкции. Предпочтительно в этом варианте осуществления в опорной панели образована выемка, по существу соответствующая по форме и размеру элементу несущей конструкции. Эта выемка выполнена таким образом, чтобы она не проходила полностью через опорную панель, а только через часть опорной панели. Элемент несущей конструкции предпочтительно расположен внутри этой выемки таким образом, чтобы он не выступал за опорную панель. Таким образом, элемент несущей конструкции надежно закреплен внутри опорной панели.
В предпочтительном варианте осуществления предполагается, что на виде сверху элемента несущей конструкции с направления, перпендикулярного монтажной стороне, часть для захвата и пространство для изгибающейся части имеют круглую форму и расположены концентрично друг относительно друга, при этом, в частности, направляющая часть и/или часть для крепления также расположены концентрично части для захвата и пространству для изгибающейся части. В этом варианте осуществления на виде сверху монтажной стороны элемент несущей конструкции имеет круглую конфигурацию. Кроме того, по меньшей мере часть для захвата и круглое кольцеобразное пространство для изгибающейся части расположены концентрично друг другу, при этом пространство для изгибающейся части проходит вокруг всей части для захвата. Кроме того, направляющая часть также может быть расположена концентрично по отношению к двум другим частям, при этом направляющая часть расположена за пределами пространства для изгибающейся части и полностью окружает его. Кроме того, часть для крепления также может быть расположена концентрично по отношению к другим частям, при этом она предпочтительно расположена в центре части для захвата и, следовательно, образует самую внутреннюю секцию. Такое концентрическое расположение является предпочтительным потому, что элемент несущей конструкции выполнен симметричным в окружном направлении и поэтому его можно одинаково хорошо комбинировать с элементом щита опалубки и соединять с ним параллельно монтажной стороне со всех направлений. Таким образом, расположение элемента несущей конструкции относительно несущей конструкции опалубки в направлении поворота вокруг воображаемой оси, перпендикулярной монтажной стороне, в данном варианте осуществления не имеет значения. Таким образом, это позволяет облегчить сборку несущей конструкции опалубки и элемента несущей конструкции.
Еще в одном варианте осуществления предполагается, что несущая конструкция опалубки содержит по меньшей мере одну опорную панель, соединенную с рамой, при этом опорная панель выполнена с возможностью создания соединения со щитом опалубки, и что по меньшей мере один элемент несущей конструкции по меньшей мере одного соединителя расположен на или в опорной панели. В этом варианте осуществления несущая конструкция опалубки содержит, помимо рамы, опорную панель, которая, как и рама, выполнена с возможностью соединения со щитом опалубки. Опорная панель увеличивает поверхность несущей конструкции опалубки, обращенную к щиту опалубки. Предпочтительно по меньшей мере один соединитель, а именно элемент несущей конструкции по меньшей мере одного соединителя, расположен на опорной панели или в ней. В дополнение к раме опорная панель обеспечивает доступную поверхность, на которой можно разместить соединители для соединения со щитом опалубки. Опорная панель может быть изготовлена из древесного материала, пластмассового материала или также из металла, например, из листового металла.
В предпочтительном варианте осуществления предполагается, что опорная панель выполнена с возможностью отсоединения от рамы и, следовательно, выполнена с возможностью замены. Опорная панель может быть легко присоединена к раме, а также легко отсоединена от нее. Таким образом, рама может быть снабжена опорными панелями различной конструкции. Например, можно хранить различные опорные панели с различным количеством прикрепленных к ним элементов несущей конструкции, при этом опорную панель, требуемую в настоящий момент для возводимой части здания, затем соединяют с рамой несущей конструкции опалубки на строительной площадке. Например, такое разъемное соединение опорной панели и рамы может быть реализовано с помощью винтовых соединений. Поверхность опорной панели, обращенная к щиту опалубки, может проходить параллельно монтажной стороне или бетонной стороне щита опалубки.
При необходимости предполагается, что элемент несущей конструкции соединен с рамой или опорной панелью несущей конструкции опалубки путем выполнения соединения с прессовой посадкой. В этом варианте осуществления элемент несущей конструкции вдавлен в раму или опорную панель несущей конструкции опалубки. Таким образом, между элементом несущей конструкции и несущей конструкцией опалубки обеспечено соединение с натягом. Предпочтительно это соединение с прессовой посадкой создают между наружной окружной поверхностью элемента несущей конструкции, образующей соединительную часть, и внутренней окружной поверхностью выемки в несущей конструкции опалубки. Кроме того, в дополнение к соединению с прессовой посадкой опорный элемент может быть соединен с несущей конструкцией опалубки с помощью одного или более соединительных элементов, таких как, например, винты, заклепки и т.п.
На основе практического опыта предполагается, что поверхность рамы, обращенная к щиту опалубки, находится на одном уровне с поверхностью опорной панели, обращенной к щиту опалубки. В этом варианте осуществления опорная панель вставлена в раму. В данном случае рама проходит вокруг опорной панели. Для получения плоского и определенного примыкания щита опалубки к несущей конструкции опалубки поверхность рамы и поверхность опорной панели со стороны несущей конструкции опалубки, обращенной к щиту опалубки, располагают на одном уровне друг с другом. Как на раме или в ней, так и на опорной панели или в ней расположены один или более элементов несущей конструкции. В этом варианте осуществления щит опалубки соединен с несущей конструкцией опалубки соединителями, имеющимися как в опорной панели, так и в раме.
В одном варианте осуществления предполагается, что элемент щита опалубки содержит стержни соединительную головку, при этом на одном конце стержня элемент щита опалубки соединен со щитом опалубки, а соединительная головка соединена с концом стержня, расположенным напротив щита опалубки, при этом наружный диаметр соединительной головки превышает наружный диаметр стержня, поэтому соединительная головка выступает за пределы стержня. В этом варианте осуществления соединительная головка выступает за пределы стержня. Таким образом, на элементе щита опалубки образован уступ, который может быть использован для соединения с геометрическим замыканием с элементом несущей конструкции. Стержень соответствует части для крепления к щиту опалубки, поскольку соединение элемента щита опалубки со щитом опалубки осуществляют посредством переходника щита опалубки и стержня в качестве сопрягающих элементов. В качестве альтернативы наружный диаметр стержня относительно центральной оси элемента щита опалубки также может превышать наружный диаметр соединительной головки.
Еще в одном варианте осуществления предполагается, что элемент несущей конструкции имеет полость, внутренний диаметр которой превышает наружный диаметр соединительной головки, и элемент несущей конструкции имеет по меньшей мере один фиксирующий элемент, который по меньшей мере частично расположен в элементе несущей конструкции и выполнен с возможностью перемещения относительно полости, при этом фиксирующий элемент в заблокированном положении выступает в полость и уменьшает ее габаритную ширину. В этом варианте осуществления элемент щита опалубки и элемент несущей конструкции в качестве альтернативы или в дополнение к соединению с натягом также могут быть соединены друг с другом с геометрическим замыканием. Для этого на элементе несущей конструкции обеспечен по меньшей мере один фиксирующий элемент, выполненный с возможностью перемещения, который в соединенном состоянии элемента щита опалубки и элемента несущей конструкции может быть перемещен относительно элемента щита опалубки. В заблокированном положении соединителя фиксирующий элемент выполнен с возможностью взаимодействия с поднутрением элемента щита опалубки, благодаря чему создается соединение с геометрическим замыканием. Элемент несущей конструкции имеет полость, размер которой позволяет разместить в ней соединительную головку элемента щита опалубки, когда фиксирующий элемент открыт. Фиксирующий элемент выполнен с возможностью перемещения по направлению к этой полости. При переводе в заблокированное положение фиксирующий элемент по меньшей мере частично перемещается в полость таким образом, что его габаритная ширина уменьшается. Для высвобождения из заблокированного положения фиксирующий элемент снова выводят из полости.
Фиксирующий элемент также может быть расположен на или в выемке для вставки, которая соединяет наружную поверхность элемента несущей конструкции с полостью. Может быть обеспечено множество фиксирующих элементов, выполненных с возможностью перемещения относительно полости. В этом варианте осуществления соединительная головка элемента щита опалубки может быть выполнена жесткой. Однако в качестве альтернативы соединительная головка также может содержать по меньшей мере одну изгибающуюся часть, выполненную с возможностью упругой деформации, которая взаимодействует с элементом несущей конструкции с натягом, когда элемент щита опалубки соединен с элементом несущей конструкции.
В качестве преимущества предусмотрено, что элемент несущей конструкции дополнительно содержит фиксирующий механизм, который перемещает фиксирующий элемент относительно полости, причем фиксирующий механизм выполнен с возможностью его приведения в действие за счет поступательного и/или поворотного перемещения. В этом варианте осуществления обеспечен фиксирующий механизм, обеспечивающий работу по меньшей мере одного фиксирующего элемента. Этот фиксирующий механизм преобразует перемещение, создаваемое и вводимое снаружи элемента несущей конструкции, в движение фиксирующего элемента. Поскольку фиксация и высвобождение фиксирующего элемента должно выполняться быстро и просто, фиксирующий механизм, в частности, сконструирован таким образом, чтобы он приводился в действие за счет простого поступательного или поворотного перемещения. Также возможна комбинация указанных двух типов перемещения. Перемещение для управления фиксирующим механизмом выполняет человек, соединяющий или разъединяющий щит опалубки и несущую конструкцию опалубки друг с другом или друг относительно друга.
Кроме того, предполагается, что фиксирующий механизм доступен со стороны несущей конструкции опалубки, обращенной в сторону от щита опалубки, причем, в частности, фиксирующий механизм доступен с поверхности несущей конструкции опалубки, расположенной напротив щита опалубки, или с поверхности несущей конструкции опалубки, ориентированной ортогонально щиту опалубки. В этом варианте осуществления обеспечен фиксирующий механизм, который доступен со стороны щита опалубки, обращенной в сторону от бетонной стороны, и которым также управляют с этой стороны. После заливки бетонного материала в опалубку бетонная сторона становится недоступной. При установке фиксирующего механизма со стороны щита опалубки, обращенной в сторону от возводимой части здания, можно отсоединить щит опалубки от несущей конструкции опалубки в положении, в котором опалубка установлена. Таким образом, при снятии опалубки сначала можно снять несущую конструкцию опалубки, а затем отсоединить щит опалубки от возводимой части здания. В данном случае элементы фиксирующего механизма, которыми необходимо управлять для перемещения фиксирующего элемента, могут быть расположены со стороны несущей конструкции опалубки, обращенной в сторону от щита опалубки. В качестве альтернативы, в частности, когда элемент несущей конструкции расположен на раме несущей конструкции опалубки, эти элементы, необходимые для управления фиксирующим механизмом, также могут быть расположены на боковой поверхности рамы, расположенной ортогонально или под другим углом к монтажной стороне щита опалубки.
В качестве альтернативы описанным выше вариантам осуществления, в которых по меньшей мере один фиксирующий элемент расположен на элементе несущей конструкции соединителя, на элементе щита опалубки, конечно, также можно установить по меньшей мере один фиксирующий элемент. Для описанных выше вариантов осуществления соединителя, который функционирует, по меньшей мере частично, с геометрическим замыканием, формы и функции, описанные выше для элемента несущей конструкции, конечно, также могут быть использованы или рассмотрены для элемента щита опалубки. То же самое справедливо и в обратном смысле: признаки, формы и функции, описанные в отношении элемента щита опалубки, также могут быть использованы для элемента несущей конструкции.
В одном варианте осуществления предполагается, что элемент несущей конструкции содержит стержень и соединительную головку, и что элемент щита опалубки содержит, по меньшей мере частично, удерживающую полость, и что элемент щита опалубки расположен в щите опалубки таким образом, чтобы он был выполнен с возможностью поворота и фиксации в осевом направлении, при этом полость может быть приведена в соединение с геометрическим замыканием с соединительной головкой, причем это соединение с геометрическим замыканием может быть создано путем выполнения поворотного перемещения элемента щита опалубки и выполнено с возможностью разъединения, при этом элемент щита опалубки доступен с бетонной стороны щита опалубки, и что на элементе щита опалубки обеспечена ключевая секция для приложения крутящего момента к элементу щита опалубки, и при этом, в частности, элемент щита опалубки закрыт крышкой с бетонной стороны. В этом варианте осуществления эффективный соединитель с геометрическим замыканием по меньшей мере частично доступен и выполнен с возможностью использования с бетонной стороны щита опалубки. В некоторых случаях при возведении частей здания сторона несущей конструкции опалубки, обращенная в сторону от щита опалубки, недоступна. В этом случае потенциально недоступны имеющиеся замковые механизмы со стороны несущей конструкции опалубки, обращенной в сторону от щита опалубки. В этом случае необходимо обеспечить работоспособность соединителя, функционирующего с геометрическим замыканием, с противоположной стороны, а именно со стороны щита опалубки. Решением для этой задачи является размещение элемента щита опалубки в щите опалубки таким образом, чтобы он был выполнен с возможностью поворота, но был зафиксирован в осевом направлении. Этот поддерживаемый с возможностью поворота элемент щита опалубки взаимодействует с геометрическим замыканием с элементом несущей конструкции, расположенным на несущей конструкции опалубки. Для этой цели элемент несущей конструкции содержит соединительную головку, выступающую за пределы стержня, который при необходимости может быть частично закрыт удерживающей полостью, в данном случае расположенной на элементе щита опалубки. Элемент несущей конструкции и выполненная с частичным поднутрением, поддерживаемая с возможностью поворота, полость элемента щита опалубки выполнены с возможностью вставки друг в друга в радиальном положении элемента щита опалубки. Когда после вставки элемент щита опалубки поворачивают, частично обеспеченное поднутрение полости взаимодействует с соединительной головкой элемента несущей конструкции. Таким образом, создают соединение с геометрическим замыканием между двумя элементами. В этом варианте осуществления описанное поворотное перемещение элемента щита опалубки осуществляют в элементе щита опалубки с бетонной стороны щита опалубки. Для этого обеспечен фиксирующий механизм, ориентированный в направлении бетонной стороны. Этот фиксирующий механизм может, например, содержать ключевую секцию, выполненную с возможностью доступа и управления с бетонной стороны. Для соединения и разъединения элемента щита опалубки и элемента несущей конструкции ключевой секцией, обращенной к бетонной стороне, может управлять человек либо вручную, либо с помощью простого инструмента. Для обеспечения возможности возведения плоской поверхности части здания место доступа к элементу щита опалубки с бетонной стороны щита опалубки и, в частности, место доступа к ключевой секции закрывают легко снимаемой крышкой. Таким образом, при возведении части здания место доступа к элементу щита опалубки закрывают крышкой таким образом, чтобы образовать гладкую поверхность части здания. Для отсоединения щита опалубки от несущей конструкции опалубки крышку снимают и осуществляют доступ к ключевой секции. Например, эта крышка может быть пластмассовой или резиновой и может иметь плоскую конструкцию с бетонной стороны.
В альтернативном варианте осуществления предполагается, что на монтажной стороне щита опалубки расположено множество элементов щита опалубки, а со стороны несущей конструкции опалубки, обращенной к щиту опалубки, расположено множество элементов несущей конструкции и, таким образом, обеспечено множество соединителей, причем эти соединители равномерно распределены по щиту опалубки и несущей конструкции опалубки. В этом варианте осуществления между щитом опалубки и несущей конструкцией опалубки расположено множество соединителей. Эти соединители расположены на одинаковом расстоянии друг от друга, соответственно, и, таким образом, равномерно распределены. В этом варианте осуществления количество соединителей на единицу площади поверхности является постоянным по всему модулю опалубки.
В предпочтительном варианте реализации предполагается, что рама имеет направляющую, которая выступает за поверхность рамы, обращенную к щиту опалубки, и которая по меньшей мере частично проходит вокруг рамы с ее стороны, обращенной к щиту опалубки. В этом варианте осуществления край рамы, обращенный наружу, образован направляющей. Эта направляющая выступает за пределы остальной поверхности рамы, обращенной к щиту опалубки. Эта направляющая выполнена с возможностью удобного и надежного позиционирования щита опалубки относительно несущей конструкции опалубки или рамы. Эта направляющая может быть расположена на наружном краю рамы либо частично, либо полностью вокруг нее. Благоприятным образом указанная направляющая встроена в элементы, образующие раму. Однако в качестве альтернативы направляющая также может быть образована в виде компонента, прикрепленного к остальной части рамы, при этом направляющая соединена с оставшейся частью рамы с помощью винтовых соединений, сварных соединений и т.п.
Кроме того, предполагается, что к краям щита опалубки прикреплен краевой элемент, проходящий, по меньшей мере частично, вокруг щита опалубки, при этом краевой элемент образован из материала, выполненного с возможностью упругой деформации. В этом варианте осуществления края, расположенные по наружной окружности щита опалубки, снабжены краевым элементом. С одной стороны, этот краевой элемент служит для механической защиты краев от повреждения при транспортировке щита опалубки. Кроме того, краевой элемент обеспечен в качестве уплотнения щита опалубки по отношению к несущей конструкции опалубки или щита опалубки по отношению к соседнему щиту опалубки. С этой целью предпочтительно, чтобы краевой элемент был выполнен из материала, выполненного с возможностью упругой деформации, так что форма краевого элемента выполнена с возможностью упругого изменения простым способом для его герметизации по отношению к другому элементу. Вариант осуществления, в котором краевой элемент проходит по всей окружности щита опалубки, обращенной наружу, является наиболее подходящим для обеспечения защитного уплотнения. В качестве альтернативы краевой элемент также может быть расположен только на части наружной окружности щита опалубки. Краевой элемент может находиться на одном уровне с бетонной стороной и/или монтажной стороной в направлении толщины, т.е. в направлении, проходящем между бетонной стороной и монтажной стороной щита опалубки. В качестве альтернативы краевой элемент может выступать за щит опалубки с его бетонной стороны и/или с его монтажной стороны.
Кроме того, предпочтительно предполагается, что щит опалубки имеет уступ, по меньшей мере частично проходящий вокруг монтажной стороны по ее краю на монтажной стороне, при этом уступ имеет форму, дополняющую форму направляющей рамы. В этом варианте осуществления щит опалубки выполнен асимметричным в его направлении толщины. На монтажной стороне расположен уступ, который по своим размерам и форме соответствует направляющей несущей конструкции опалубки. Таким образом, направляющая рамы элемента несущей конструкции принимается уступом на монтажной стороне щита опалубки, когда щит опалубки соединен с несущей конструкцией опалубки. По отношению друг к другу направляющая и уступ расположены таким образом и имеют такие размеры, чтобы между двумя геометрическими элементами была выполнена посадка с зазором и чтобы, таким образом, щит опалубки мог быть легко соединен с несущей конструкцией опалубки. За счет взаимодействия уступа и направляющей между щитом опалубки и несущей конструкцией опалубки создается соединение с геометрическим замыканием, благодаря чему эти два элемента легче позиционировать друг относительно друга и зафиксировать друг относительно друга после того, как они будут позиционированы. Это, в частности, является предпочтительным для правильного позиционирования соединителей, расположенных между щитом опалубки и несущей конструкцией опалубки, друг относительно друга.
В предпочтительном варианте осуществления предполагается, что краевой элемент выступает за пределы рамы по меньшей мере в одном направлении, параллельном бетонной стороне, когда щит опалубки соединен с несущей конструкцией опалубки. В этом варианте осуществления краевой элемент, выполненный с возможностью упругой деформации, выступает за модуль опалубки в окружном направлении. Благодаря этому выступу соседние модули опалубки, расположенные в опалубке, могут быть герметизированы друг относительно друга от протекания бетонного материала в процессе заливки. Для этого модули опалубки, расположенные рядом друг с другом, располагают таким образом, чтобы расстояние между ними было меньше, чем сумма выступов недеформированных краевых элементов за пределы рамы. Во время прикрепления щитов опалубки к несущей конструкции опалубки два краевых элемента на наружной окружности соседних щитов опалубки упруго деформируются. Благодаря этой упругой деформации поверхности краевых элементов приспособлены друг к другу таким образом, что область, на которой соседние модули опалубки контактируют друг с другом, отлично герметизируется.
Кроме того, раскрыт модуль опалубки для опалубки для части здания, содержащий
- по меньшей мере одну несущую конструкцию опалубки,
- и по меньшей мере один щит опалубки,
в котором между несущей конструкцией опалубки и щитом опалубки расположен по меньшей мере один соединитель, и соединитель содержит по меньшей мере один элемент щита опалубки, который закреплен в щите опалубки или на нем, и элемент щита опалубки соединен с несущей конструкцией опалубки, в частности, с выемкой в несущей конструкции опалубки;
а несущая конструкция опалубки и элемент щита опалубки выполнены с возможностью разъемного соединения друг с другом и образуют соединитель, посредством которого обеспечена возможность разъемного соединения щита опалубки с несущей конструкцией опалубки,
при этом разъемное соединение между несущей конструкцией опалубки и элементом щита опалубки может быть обеспечено путем приложения усилия в нормальном направлении к щиту опалубки, направленного к несущей конструкции опалубки, которое превышает пороговое усилие соединения, и при этом разъемное соединение между несущей конструкцией опалубки и элементом щита опалубки выполнено с возможностью разъединения за счет упругой деформации секции элемента щита опалубки с помощью инструмента для отсоединения, при этом элемент щита опалубки содержит часть для крепления к щиту опалубки, которая соединена со щитом опалубки, и соединение между элементом щита опалубки и щитом опалубки выполнено разъемным, причем переходник щита опалубки расположен между элементом щита опалубки и щитом опалубки, при этом переходник щита опалубки является компонентом, облегчающим отсоединение/присоединение элемента щита опалубки от щита опалубки/к щиту опалубки, и переходник щита опалубки остается на или в щите опалубки при замене элемента щита опалубки.
Этот альтернативный модуль опалубки отличается от модуля опалубки, описанного выше во множестве вариантов осуществления, тем, что разъединение щита опалубки и несущей конструкции опалубки не может быть выполнено путем приложения нормального усилия, направленного в сторону от несущей конструкции опалубки, только к щиту опалубки. Альтернативный модуль опалубки содержит соединитель, который выполнен с возможностью деформации с помощью инструмента для отсоединения таким образом, чтобы при этой деформации происходило разъединение соединения с геометрическим замыканием между элементом щита опалубки и элементом несущей конструкции. При разъединении этого соединения с геометрическим замыканием щит опалубки и несущую конструкцию опалубки можно отсоединить друг от друга. Для элементов, идентичных элементу щита опалубки согласно настоящему изобретению, описанному выше, делается ссылка на соответствующее описание. В альтернативном модуле опалубки разъемное соединение между щитом опалубки, содержащим расположенный на ней элемент щита опалубки, и элементом несущей конструкции может быть создано путем приложения к щиту опалубки нормального усилия, превышающего пороговое усилие соединения. Когда это пороговое усилие соединения превышено, между элементом щита опалубки и несущей конструкцией опалубки создается соединение с геометрическим замыканием, которое удерживает вместе щит опалубки и несущую конструкцию опалубки. Когда щит опалубки необходимо отсоединить от несущей конструкции опалубки, используют инструмент для отсоединения, который приводят в контакт с секцией элемента щита опалубки для ее деформации. Вследствие этой деформации происходит разъединение соединения с геометрическим замыканием между элементом щита опалубки и элементом несущей конструкции, и щит опалубки может быть снят с элемента несущей конструкции без разрушения при этом элемента щита опалубки. Преимущество этого альтернативного модуля опалубки состоит в том, что элемент щита опалубки может быть выполнен очень простым и надежным. Кроме того, в данном случае по существу не требуется элемент несущей конструкции.
В одном варианте осуществления альтернативного модуля опалубки предполагается, что элемент щита опалубки содержит стержень и соединительную головку, при этом элемент щита опалубки соединен со щитом опалубки на одном конце стержня, а соединительная головка соединена с концом стержня, расположенным напротив щита опалубки, причем соединительная головка имеет по меньшей мере одну изгибающуюся часть, выполненную с возможностью упругой деформации относительно стержня, а несущая конструкция опалубки имеет по меньшей мере одну выемку, через которую может быть вставлена по меньшей мере часть соединительной головки, включающая в себя изгибающуюся часть, и, таким образом, создано соединение с геометрическим замыканием между соединительной головкой и выемкой в несущей конструкции опалубки таким образом, что может быть создано разъемное соединение между щитом опалубки и несущей конструкцией опалубки, и при этом изгибающаяся часть выполнена с возможностью упругой деформации с помощью инструмента для отсоединения и эта деформация может быть вызвана линейным перемещением инструмента для отсоединения в направлении, перпендикулярном монтажной стороне от несущей конструкции опалубки к щиту опалубки, причем соединение с геометрическим замыканием между соединительной головкой и выемкой в несущей конструкции опалубки разъединяется за счет этой упругой деформации изгибающейся части, и соединительная головка может быть извлечена из выемки в несущей конструкции опалубки. В этом варианте осуществления, аналогичном варианту осуществления модуля опалубки согласно настоящему изобретению, описанному выше, предложена соединительная головка, имеющая по меньшей мере одну изгибающуюся часть, выполненную с возможностью упругой деформации. При создании соединения эту соединительную головку вставляют в выемку в несущей конструкции опалубки, в результате чего создается соединение с геометрическим замыканием. Для разъединения щита опалубки и несущей конструкции опалубки это соединение с геометрическим замыканием может быть разъединено путем выполнения линейного перемещения инструмента для отсоединения относительно элемента щита опалубки и его соединительной головки. В данном случае инструмент для отсоединения упруго деформирует по меньшей мере одну изгибающуюся часть. Изгибающаяся часть при этом не повреждается и может быть использована для нового соединения щита опалубки с несущей конструкцией опалубки.
Кроме того, предполагается, что в альтернативном модуле опалубки инструмент для отсоединения имеет выемку, имеющую, по меньшей мере частично, поперечное сечение цилиндрической формы, а изгибающаяся часть имеет поверхность взаимодействия с инструментом, наклоненную по направлению к монтажной стороне относительно нормального направления, при этом выемка в инструменте для отсоединения может быть приведена в контакт с поверхностью взаимодействия с инструментом на его периферийной части, а при линейном перемещении инструмента для отсоединения по направлению к элементу опалубки изгибающаяся часть выполнена с возможностью упругой деформации в направлении внутренней части выемки в инструменте для отсоединения. В этом варианте осуществления инструмент для отсоединения имеет в его внутренней части выемку, которая частично проходит над изгибающейся частью для разъединения соединения между щитом опалубки и несущей конструкцией опалубки. При этом периферийная часть этой выемки упирается в поверхность взаимодействия с инструментом изгибающейся части. При другом прямолинейном поступательном перемещении инструмента для отсоединения в направлении, перпендикулярном монтажной стороне, инструмент для отсоединения упруго деформирует изгибающуюся часть таким образом, что соединение с геометрическим замыканием между элементом щита опалубки и элементом несущей конструкции разъединяется. В этом варианте осуществления инструмент для отсоединения имеет очень простую конструкцию и может быть изготовлен, например, из секции обычной трубы. Кроме того, инструмент для отсоединения прост в обращении, так что разъединение щита опалубки и несущей конструкции опалубки может быть выполнено простым способом.
Задача настоящего изобретения также решается путем применения соединителя для разъемного соединения несущей конструкции опалубки со щитом опалубки.
Соединитель состоит из элемента щита опалубки и элемента несущей конструкции согласно одному из вариантов осуществления модуля опалубки согласно описанному выше изобретению. Применение соединителя для соединения щита опалубки с несущей конструкцией опалубки позволяет легко соединить и разъединить эти два элемента между собой или друг с другом. Поскольку эти соединители выполнены таким образом, что их можно разъемно соединять друг с другом и разъединять между собой, в частности, без разрушения и с низким износом, применение этого соединителя позволяет выполнять многократное соединение и разъединение щита опалубки и несущей конструкции опалубки без разрушения. Преимущества, описанные выше в отношении вариантов осуществления модуля опалубки, аналогичным образом относятся и к применению соединителя для разъемного соединения несущей конструкции опалубки со щитом опалубки.
Кроме того, задачу настоящего изобретения решают с применением способа соединения щита опалубки с несущей конструкцией опалубки модуля опалубки согласно одному из описанных выше вариантов осуществления, включающего следующие этапы:
a) позиционирование щита опалубки относительно несущей конструкции опалубки, при этом по меньшей мере один элемент щита опалубки выравнивают в осевом направлении с указанным по меньшей мере одним элементом несущей конструкции,
b) приложение к щиту опалубки нормального усилия в направлении несущей конструкции опалубки, при этом нормальное усилие превышает сумму порогового усилия соединения всех соединителей между щитом опалубки и несущей конструкцией опалубки,
c) перемещение щита опалубки по направлению к несущей конструкции опалубки в нормальном направлении к щиту опалубки до тех пор, пока не будет обеспечено плоское примыкание щита опалубки к несущей конструкции опалубки.
Способ согласно настоящему изобретению служит для разъемного, т.е. высвобождаемого, и многократного соединения щита опалубки с несущей конструкцией опалубки модуля опалубки. Способ согласно настоящему изобретению, в частности, выполняют точно в описанном порядке этапов от а) до с). На первом этапе а) щит опалубки позиционируют относительно несущей конструкции опалубки. Это позиционирование выполняют таким образом, чтобы элемент щита опалубки был выровнен в осевом направлении с элементом несущей конструкции. Когда обеспечено множество соединителей, щит опалубки располагают таким образом, чтобы все элементы щита опалубки были выровнены в осевом направлении с соответствующими элементами несущей конструкции. В данном случае термин «выравнивание в осевом направлении» означает, что элемент щита опалубки и элемент несущей конструкции выровнены друг относительно друга таким образом, что эти два элемента могут быть соединены друг с другом. Благоприятным образом элемент щита опалубки и элемент несущей конструкции выполнены таким образом, чтобы можно было компенсировать смещение их центральных осей в несколько миллиметров. Элемент щита опалубки и элемент несущей конструкции выполнены таким образом, чтобы соединение этих двух элементов было направлено, например, с помощью наклонных вставок, фиксирующих элемент щита опалубки, когда соединение на элементе несущей конструкции обеспечено. Таким образом, точное выравнивание элемента щита опалубки и элемента несущей конструкции в осевом направлении не требуется. Это допустимое отклонение в позиционировании щита опалубки относительно элемента несущей конструкции способствует быстрому и простому выполнению соединения.
На втором этапе b) к ранее позиционированному щиту опалубки прикладывают нормальное усилие, действующее по существу под прямым углом к бетонной стороне щита опалубки. Это нормальное усилие действует от щита опалубки в направлении несущей конструкции опалубки. Таким образом, щит опалубки прижимают к несущей конструкции опалубки. Это нормальное усилие имеет величину, превышающую сумму порогового усилия соединения для всех соединителей модуля опалубки. В случае преодоления этих суммарных пороговых усилий соединения соединители могут быть соединены друг с другом на следующем этапе.
После преодоления порогового усилия соединения на следующем этапе с) щит опалубки перемещают к несущей конструкции опалубки до тех пор, пока не будет обеспечено плоское примыкание щита опалубки к несущей конструкции опалубки. На этом этапе элемент опалубки соединяют с элементом несущей конструкции. В конце этапа с) щит опалубки неподвижно крепят к несущей конструкции опалубки. Затем, когда при возведении части здания в опалубку заливают бетонный материал, усилия давления, прикладываемые бетонным материалом к щиту опалубки, передаются в несущую конструкцию опалубки из-за примыкания щита опалубки к несущей конструкции опалубки. Соединитель или соединители не подвержены или лишь в очень незначительной степени подвержены воздействию усилий давления, создаваемых бетонным материалом. Преимущество способа согласно настоящему изобретению заключается в том, что его можно осуществить быстро и легко. Щит опалубки позиционируют относительно несущей конструкции опалубки и прижимают его. Необходимость в инструменте для создания соединения и в сложных мерах по обеспечению безопасности полностью отсутствует. Кроме того, в способе создания соединения согласно настоящему изобретению щит опалубки или несущая конструкция опалубки не подвержены каким-либо повреждениям, таким как, например, повреждения, возникающие при выполнении обычного заклепочного соединения между двумя элементами.
В одном варианте осуществления этого способа предполагается, что перед позиционированием а) опорную панель соединяют с рамой несущей конструкции опалубки. В этом варианте осуществления опорную панель крепят к раме или несущей конструкции опалубки до того, как к ней будет прикреплен щит опалубки. Как описано выше в отношении модуля опалубки, такая опорная панель служит для повышения жесткости несущей конструкции опалубки и, в частности, также для обеспечения большей опорной поверхности, которая может быть использована для прикрепления большего количества соединителей. Например, опорная панель может быть соединена с рамой с помощью винтовых соединений. Кроме того, к раме можно прикрепить множество опорных панелей и выбирать эти опорные панели в соответствии с требованиями, ожидаемыми при возведении части здания.
Еще в одном варианте осуществления предполагается, что модуль опалубки содержит множество соединителей, по меньшей мере часть из которых содержит фиксирующий механизм и фиксирующий элемент, и что после перемещения с) щита опалубки до того момента, когда он упрется в несущую конструкцию опалубки, выполняется этап
d) приведения в действие фиксирующего механизма и закрывания фиксирующего элемента соединителей, содержащих фиксирующий элемент. В этом варианте осуществления модуль опалубки содержит множество соединителей, по меньшей мере один из которых содержит фиксирующий элемент для создания соединения с геометрическим замыканием. Принцип действия такого фиксирующего элемента описан применительно к модулю опалубки. В этом варианте осуществления способа сначала выполняют этапы от а) до с) до тех пор, пока не будет обеспечено плоское примыкание щита опалубки к несущей конструкции опалубки. На следующем этапе d) теперь в соединителе или соединителях, содержащих фиксирующий элемент, этот фиксирующий элемент закрывают, и таким образом создают соединение с геометрическим замыканием между элементом щита опалубки и элементом несущей конструкции. Для перевода фиксирующего элемента в заблокированное положение приводят в действие фиксирующий механизм. Путем обеспечения одного или более соединителей с фиксирующим элементом можно увеличить сумму пороговых усилий разъединения щита опалубки и несущей конструкции опалубки. Благоприятным образом, соединители, имеющие фиксирующий элемент, расположены в краевой или угловой области модуля опалубки.
При необходимости предполагается, что перед приложением b) нормального усилия к щиту опалубки в периферийной части и/или на края щита опалубки и несущей конструкции опалубки по меньшей мере частично наносят вязкий соединяющий агент, в частности, клей, и что вязкий связующий агент затвердевает после перемещения с) щита опалубки к несущей конструкции опалубки и образует соединение с установлением связи между материалами между щитом опалубки и несущей конструкцией опалубки. В этом варианте осуществления способа соединение щита опалубки и несущей конструкции опалубки усиливают за счет обеспечения эффективного соединения с установлением связи между материалами в дополнение к соединителю. Для этого вязкий соединяющий агент, например клей, наносят по меньшей мере частично перед позиционированием а) или перед приложением b) нормального усилия к щиту опалубки. Этот вязкий соединяющий агент может быть нанесен на щит опалубки и/или на несущую конструкцию опалубки. Это нанесение может быть выполнено, например, как нанесение с помощью кисти, распыление или выдавливание из картриджа. После этого нанесения соединяющего агента щит опалубки и несущую конструкцию опалубки соединяют друг с другом согласно этапу с). При приложении давления соединяющий агент плоско распределяется между щитом опалубки и несущей конструкцией опалубки. После приложения давления соединяющий агент затвердевает, а затем образует соединение с установлением связи между материалами между щитом опалубки и несущей конструкцией опалубки. Эта связь материала является неразъемной при разъединении щита опалубки и несущей конструкции опалубки, т.е. при разъединении, соединение с установлением связи между материалами разрушается.
Еще в одном варианте осуществления предполагается, что перед позиционированием а) щита опалубки относительно несущей конструкции опалубки по меньшей мере один элемент щита опалубки соединяют с переходником щита опалубки и/или по меньшей мере один элемент несущей конструкции соединяют с переходником несущей конструкции. В этом варианте осуществления переходник щита опалубки расположен на щите опалубки и/или переходник несущей конструкции расположен на несущей конструкции опалубки для облегчения замены элемента щита опалубки или элемента несущей конструкции. Перед позиционированием а) проверяют все существующие элементы щита опалубки и элементы несущей конструкции. При обнаружении повышенного износа или повреждения одного или более из этих элементов эти элементы просто заменяют. В данном случае переходник щита опалубки и переходник несущей конструкции облегчают такую замену. Однако при использовании еще неиспользованного элемента несущей конструкции или еще неиспользованного щита опалубки сначала прикрепляют соответствующие соединительные элементы.
Кроме того, раскрыт способ отсоединения щита опалубки от несущей конструкции опалубки модуля опалубки по одному из предшествующих пунктов, включающий следующие этапы:
I) приложение к щиту опалубки нормального усилия в направлении от несущей конструкции опалубки, при этом нормальное усилие превышает сумму значений порогового усилия отсоединения для всех соединителей между щитом опалубки и несущей конструкцией опалубки,
II) снятие щита опалубки с несущей конструкции опалубки. Этот способ согласно настоящему изобретению предназначен для отсоединения щита опалубки от несущей конструкции опалубки согласно одному из вариантов осуществления модуля опалубки, описанных выше. Этот способ можно комбинировать, в частности, выполнять его с чередованием с описанным выше способом соединения щита опалубки с несущей конструкцией опалубки. В частности, способ отсоединения щита опалубки от несущей конструкции опалубки выполняют в описанном порядке этапов I)-II). Разъединение щита опалубки и несущей конструкции опалубки обычно производят после снятия опалубочного модуля с опалубки после возведения части здания.
На первом этапе к щиту опалубки прикладывают нормальное усилие, действующее в сторону от несущей конструкции опалубки. Это нормальное усилие, необходимое для разъединения, превышает сумму значений порогового усилия отсоединения всех соединителей, расположенных между щитом опалубки и несущей конструкцией опалубки. Для приложения этого нормального усилия, например, щит опалубки может быть отведен от несущей конструкции опалубки. В качестве альтернативы к щиту опалубки со стороны несущей конструкции опалубки, обращенной в сторону от щита опалубки, может быть приложено прижимное усилие, направленное в сторону от несущей конструкции опалубки. После того, как сумма пороговых усилий отсоединения будет превышена, высвобожденный щит опалубки снимают с несущей конструкции опалубки на втором этапе II).
В одном варианте осуществления способа предполагается, что модуль опалубки содержит множество соединителей, по меньшей мере часть из которых содержит фиксирующий механизм и фиксирующий элемент, и что перед приложением I) нормального усилия к щиту опалубки выполняют этап 1а) приведения в действие фиксирующего механизма и открывания фиксирующего элемента соединителей, содержащих фиксирующий элемент. В этом варианте осуществления модуль опалубки содержит один или более соединителей, содержащих фиксирующий элемент, для дополнительного соединения с геометрическим замыканием щита опалубки с несущей конструкцией опалубки. В этом варианте осуществления фиксирующий элемент переводят из заблокированного положения в открытое положение перед выполнением этапов I) и II) для открытия или высвобождения соединения с геометрическим замыканием между элементом щита опалубки и элементом несущей конструкции, обеспечиваемого с помощью фиксирующего элемента. Для открывания фиксирующего элемента приводят в действие фиксирующий механизм соответствующего соединителя. После высвобождения из заблокированного положения щит опалубки высвобождают путем приложения нормального усилия и снимают с несущей конструкции опалубки.
В одном варианте осуществления предполагается, что после снятия II) щита опалубки элемент щита опалубки извлекают из переходника щита опалубки или заменяют, и/или элемент несущей конструкции извлекают из переходника несущей конструкции или заменяют. В этом варианте осуществления способа элемент щита опалубки и/или элемент несущей конструкции извлекают или заменяют после снятия II) щита опалубки с несущей конструкции опалубки. Элемент щита опалубки и элемент несущей конструкции разъемно соединены со щитом опалубки или несущей конструкцией опалубки. Такое соединение с помощью переходника опалубки и/или теперь переходника несущей конструкции, которые, как описано выше, дополнительно облегчают разъединение и замену элементов, является очень предпочтительным. В этом варианте осуществления способа элемент щита опалубки и/или элемент несущей конструкции осматривают и, в частности, при наличии признаков износа, отсоединяют и заменяют после отсоединения щита опалубки от несущей конструкции опалубки после возведения части здания.
Кроме того, предпочтительно, чтобы после снятия II) щита опалубки с несущей конструкции опалубки щит опалубки, и/или несущая конструкция опалубки и/или соединитель были очищены. В этом варианте осуществления часть элементов и узлов или все элементы и узлы модуля опалубки очищают после отсоединения щита опалубки от несущей конструкции опалубки. В частности, в этот момент очищают части элемента щита опалубки и/или элемента несущей конструкции, выполненные с возможностью перемещения или упругой деформации чтобы предотвратить блокирование, которое может быть вызвано затвердевшими остатками бетонного материала.
Признаки, эффекты и преимущества, описанные в отношении модуля опалубки, могут быть аналогичным образом применены к применению соединителя и способам соединения и отсоединения щита опалубки от несущей конструкции опалубки, и поэтому также считаются раскрытыми. То же самое справедливо и в обратном смысле: признаки, эффекты и преимущества, описанные в отношении способов или применения, также применимы к модулю опалубки и также считаются раскрытыми.
На фигурах схематично показаны варианты осуществления настоящего изобретения. На фигурах:
на фиг.1 представлен схематический вид в перспективе щита опалубки и несущей конструкции опалубки согласно одному варианту осуществления модуля опалубки согласно настоящему изобретению,
на фиг.2 представлен схематический вид в перспективе альтернативного варианта осуществления несущей конструкции опалубки, включающей в себя опорную панель,
на фиг.3 представлен схематический вид сбоку в разрезе соединителя согласно одному варианту осуществления модуля опалубки согласно настоящему изобретению,
на фиг.4 представлен схематический вид сбоку в разрезе элемента несущей конструкции согласно альтернативному варианту осуществления модуля опалубки согласно настоящему изобретению,
на фиг.5 представлен схематический вид сбоку в разрезе соединителя согласно еще одному варианту осуществления модуля опалубки согласно настоящему изобретению,
на фиг.6 представлен схематический вид сбоку в разрезе соединителя согласно альтернативному варианту осуществления модуля опалубки согласно настоящему изобретению,
на фиг.7 представлен схематический вид сбоку в разрезе части согласно одному варианту осуществления модуля опалубки согласно настоящему изобретению, включающей в себя краевой элемент,
на фиг.8 представлен схематический вид в перспективе одного варианта осуществления щита опалубки, включающего в себя переходник щита опалубки и элемент щита опалубки,
на фиг.9 представлен схематический вид в перспективе одного варианта осуществления элемента щита опалубки,
на фиг.10 представлен сбоку в разрезе одного варианта осуществления щита опалубки, включающего в себя переходник щита опалубки и элемент щита опалубки,
на фиг.11 представлен вид сверху и вид сбоку одного варианта осуществления переходника щита опалубки,
на фиг.12 представлен вид сверху одного варианта осуществления щита опалубки, включающего в себя множество переходников щита опалубки,
на фиг.13 представлен схематический вид в перспективе еще одного варианта осуществления элемента несущей конструкции и элемента щита опалубки,
на фиг.14 представлен схематичный вид сбоку с частичным разрезом одного варианта осуществления соединителя,
на фиг.15 представлен вид сбоку в разрезе альтернативного модуля опалубки, включающего в себя инструмент для отсоединения, который взаимодействует с элементом щита опалубки.
На фигурах одинаковые элементы обозначены одинаковыми номерами позиций. В принципе, признаки элемента, описанные в отношении одной фигуры, также применимы к другим фигурам. Информация о направлении, такая как верхний, нижний, правый или левый, относится к описываемой фигуре и подлежит логическому применению к другим фигурам.
На фиг.1 представлен схематический вид в перспективе щита 12 опалубки и несущей конструкции 11 опалубки согласно одному варианту осуществления модуля 1 опалубки согласно настоящему изобретению. Модуль 1 опалубки состоит из двух основных компонентов, которые отдельно показаны на фиг.1. Этими основными компонентами являются, с одной стороны, щит 12 опалубки, показанный с левой стороны, и, с другой стороны, несущая конструкция 11 опалубки, показанная с правой стороны. В показанном варианте осуществления щит 12 опалубки выполнен в виде панели прямоугольной формы, имеющей постоянную толщину. Поверхность щита 12 опалубки, обращенная вправо на фиг.1 и направленная в сторону несущей конструкции 11 опалубки, представляет собой монтажную сторону 122. Сторона щита 12 опалубки, обращенная влево на фиг.1 и расположенная напротив монтажной стороны 122, представляет собой бетонную сторону 121, обращенную к бетонному материалу при возведении здания или части здания. На фиг.1 видно, что щит 12 опалубки имеет многослойную конструкцию; в данном случае на его бетонную сторону 121 нанесено покрытие, которое предотвращает нежелательное прилипание бетонного материала к поверхности бетонной стороны. На монтажной стороне 122, ориентированной в направлении несущей конструкции 11 опалубки, расположено множество элементов 132 щита опалубки, которые, соответственно, являются частью соединителя 13.
В данном случае несущая конструкция 11 опалубки, показанная справа на фиг.1, содержит раму 111, которая образована из металлических труб, имеющих прямоугольное поперечное сечение в показанном на этом чертеже варианте осуществления. В данном случае рама 111 проходит вокруг несущей конструкции 11 опалубки и содержит распорку, проходящую сверху вниз на фиг.1 для дополнительного усиления конструкции в центре. Несущая конструкция 11 опалубки или рама 111, конечно же, могут быть выполнены иным образом. В показанном варианте осуществления сторона несущей конструкции 11 опалубки, обращенная к щиту 12 опалубки, имеет прямоугольную форму. Однако эта форма также может быть, например, квадратной. Кроме того, несущая конструкция 11 опалубки может иметь неправильную форму, например, она может иметь боковой край, расположенный под острым углом. В показанном варианте осуществления форма и размер монтажной стороны 122 и стороны несущей конструкции 11 опалубки, обращенной к щиту опалубки, идентичны. В качестве альтернативы площадь поверхности несущей конструкции 11 опалубки, обращенной к щиту 12 опалубки, также может быть выбрана таким образом, чтобы она была больше монтажной стороны 122. Например, несущая конструкция 11 опалубки может быть выполнена таким образом, чтобы ее размер был в два раза больше размера монтажной стороны 122. В таком решении два щита 12 опалубки могут быть соединены с одной несущей конструкцией 11 опалубки. В качестве альтернативы монтажная сторона 122, конечно, также может быть выполнена большей, чем сторона несущей конструкции 11 опалубки, обращенная к щиту 12 опалубки. В этом варианте осуществления щит 12 опалубки может быть соединен с множеством несущих конструкций 11 опалубки. На стороне несущей конструкции 11 опалубки, ориентированной в направлении щита 12 опалубки, расположено множество элементов 131 несущей конструкции, которые, соответственно, являются частью соединителя 13.
Соответственно, один элемент 132 щита опалубки, расположенный на щите 12 опалубки, вместе с соответствующим одним элементом 131 несущей конструкции, расположенным на несущей конструкции 11 опалубки, образуют соединитель 13. В варианте осуществления, показанном на фиг.1, соединители 13 равномерно расположены в области щита 12 опалубки и несущей конструкции 11 опалубки, обращенной назад, в то время как в области, обращенной вперед, они расположены неравномерно. В задней области щита 12 опалубки четыре элемента 132 щита опалубки закреплены равномерно с постоянными интервалами. То же самое относится и к сопрягаемым с ними частям, а именно к четырем задним элементам 131 несущей конструкции на несущей конструкции 11 опалубки. Указанные четыре соединителя 13 имеют одинаковую конфигурацию и одинаковые размеры, так что они имеют одинаковые признаки при соединении и разъединении. В этой области щита 12 опалубки и несущей конструкции 11 опалубки, обращенной назад, количество соединителей 13, размещенных на единице площади поверхности, является постоянным. В центре, как в продольном направлении, так и в направлении ширины щита 12 опалубки, напротив распорки рамы 111 несущей конструкции 11 опалубки расположен дополнительный элемент 132 щита опалубки, так что в данном случае между элементами 132 щита опалубки или соединителями 13 расстояния не постоянны. На практике было установлено, что при снятии всего модуля 1 опалубки с затвердевшего бетонного материала, образованного с помощью опалубки, на бетонном материале в периферийной части модуля 1 опалубки действуют большие усилия прилипания, чем в его центре. Таким образом, при равномерном размещении соединителей 13, показанных в задней области на фиг.1, может случиться так, что во время отсоединения всего модуля 1 опалубки щит 12 опалубки непреднамеренно отделится от несущей конструкции 11 опалубки в периферийной части, поскольку усилие прилипания между щитом 12 опалубки и затвердевшим бетонным материалом в данном случае может превысить пороговое усилие отсоединения соединителя 13. Для противодействия этим повышенным усилиям сцепления в краевой и угловой области щита 12 опалубки может быть увеличено пороговое усилие отсоединения на единицу площади поверхности, как показано в передней части щита 12 опалубки и несущей конструкции 11 опалубки на фиг.1. Например, это может быть достигнуто путем размещения соединителей 13 или элементов 132 щита опалубки идентичной конструкции на меньших расстояниях друг от друга, например, в угловой части угла щита 12 опалубки, обращенной вперед влево, чем в центральной области монтажной стороны 122. Таким образом, количество соединителей 13 на единицу площади поверхности больше в углу, обращенном вперед влево, чем в центральной части щита 12 опалубки и несущей конструкции 11 опалубки. Еще одной возможностью достижения более высокого порогового усилия отсоединения на единицу площади поверхности является применение соединителей 13, каждый из которых имеет большие размеры и, следовательно, большее пороговое усилие отсоединения, чем соединители 13, расположенные в центре. На фиг.1 такой соединитель 13, имеющий большие размеры, схематично показан в левом нижнем углу щита 12 опалубки и несущей конструкции 11 опалубки. Таким образом, в варианте осуществления на фиг.1 продемонстрированы различные возможности по изменению порогового усилия отсоединения на единицу площади поверхности между щитом 12 опалубки и несущей конструкцией 11 опалубки. На практике более подходящими оказались модули 1 опалубки с повышенным пороговым усилием отсоединения на единицу площади поверхности на их краю и углах. Однако это повышенное пороговое усилие отсоединения на единицу площади поверхности может быть достигнуто за счет применения идентичных соединителей 13, расположенных на меньшем расстоянии друг от друга, за счет применения локально расположенных соединителей 13, имеющих более высокое пороговое усилие отсоединения, или за счет применения комбинации указанных двух концепций. Например, соединители 13, имеющие более высокое пороговое усилие отсоединения, могут, кроме того, содержать фиксирующий элемент, увеличивающий пороговое усилие отсоединения. Различные варианты соединителей 13 проиллюстрированы на фиг.3-6 и подробно описаны со ссылкой на них. Еще одна возможность повышения порогового усилия отсоединения на единицу площади поверхности в краевой или угловой части модуля 1 опалубки заключается в нанесении дополнительного соединяющего агента, например, клея, на секции между монтажной стороной 122 и стороной несущей конструкции 11 опалубки, обращенной к щиту 12 опалубки. В положениях, в которых применяют такой соединяющий агент, таким образом, дополнительно увеличивается пороговое усилие отсоединения. Однако соединение с установлением связи между материалами, обеспечиваемое с помощью такого соединяющего агента, должно быть разрушено при отделении щита 12 опалубки от несущей конструкции 11 опалубки.
На фиг.2 представлен схематический вид в перспективе альтернативного варианта осуществления несущей конструкции 11 опалубки, включающей в себя опорную панель 112. На фиг.2 показана несущая конструкция 11 опалубки, имеющая форму, аналогичную форме в варианте осуществления по фиг.1. На фиг.2 сторона несущей конструкции 11 опалубки, обращенная к щиту 12 опалубки (не показана), ориентирована вверх. На этой обращенной вверх стороне рамы 111 несущей конструкции 11 опалубки расположены в общей сложности шесть элементов 131 несущей конструкции. В отличие от варианта осуществления несущей конструкции 11 опалубки, показанной на фиг.1, несущая конструкция 11 опалубки на фиг.2 содержит опорную панель 112, вставленную в раму 111. Поверхность опорной панели 112, обращенная вверх, находится на одном уровне с поверхностью рамы 111, обращенной вверх. В данном случае рама 111 имеет выемку, выполненную в виде уступа, примыкающего к ее поверхности, ориентированной вверх и, следовательно, по направлению к щиту 12 опалубки. Опорная панель 112 опирается на этот уступ и крепится к этому уступу, например, с помощью винтовых соединений. В данном случае два элемента 131 несущей конструкции расположены в поверхности опорной панели 112, обращенная вверх. Таким образом, в показанном варианте осуществления соединители 13 установлены между рамой 111 и щитом 12 опалубки и соединители 13 установлены между опорной панелью 112 и щитом 12 опалубки. Таким образом, за счет опорной панели 112 увеличивается поверхность, доступная для размещения соединителей 13 между несущей конструкцией 11 опалубки и щитом 12 опалубки. Кроме того, опорная панель 112, вставленная в раму 111, механически усиливает несущую конструкцию 11 опалубки. Как видно на фиг.2, опорная панель 112 заполняет не всю область внутри рамы 111. Следовательно, в раму 111 можно вставить другие опорные панели 112 или опорную панель 112 большего размера. Таким образом, опорная панель 112 может быть выбрана и присоединена к раме 111 в зависимости от требований, применяемых при возведении части здания.
На фиг.3 представлен схематический вид сбоку в разрезе соединителя 13 согласно одному варианту осуществления модуля 1 опалубки согласно настоящему изобретению. На фиг.3 подробно показан один вариант осуществления соединителя 13. С левой стороны на фиг.3 показан разрез периферийной части щита 12 опалубки. На этой иллюстрации видно, что щит 12 опалубки имеет многослойную конфигурацию и содержит покрытие на своей бетонной стороне 121. Элемент 132 щита опалубки расположен на монтажной стороне 122. Применяемый элемент 132 щита опалубки показан в положении, в котором он все еще отделен от щита 12 опалубки. В показанном варианте осуществления щит 12 опалубки снабжен переходником 14а щита опалубки, имеющим кольцевую конструкцию. Переходник 14а щита опалубки прикреплен к монтажной стороне 122 и находится на одном уровне с монтажной стороной 122. В данном случае переходник 14а щита опалубки имеет наружную резьбу, которую соединяют со щитом 12 опалубки по ее наружной окружности. Щит 12 опалубки в данном случае выполнен из древесного материала. Переходник 14а щита опалубки соединен со щитом 12 опалубки посредством его наружной резьбы, выполненной в виде самонарезающей резьбы. Внутри переходник 14а щита опалубки имеет внутреннюю резьбу, обеспеченную для соединения с элементом 132 щита опалубки. Например, эта внутренняя резьба может быть выполнена как метрическая резьба или как мелкая резьба. Элемент 132 щита опалубки имеет часть 1323 для крепления к щиту опалубки на своем обращенном влево конце. Эта часть 1323 для крепления к щиту опалубки снабжена наружной резьбой, выполненной с соответствием внутренней резьбе в переходнике 14а щита опалубки. Таким образом, элемент 132 щита опалубки может быть соединен с переходником 14а щита опалубки простым способом с помощью части 1323 для крепления к щиту опалубки. Элемент 132 щита опалубки также можно отделить от переходника 14а щита опалубки и, таким образом, щита 12 опалубки простым способом путем отвинчивания. Этот вариант осуществления обеспечивает преимущества, состоящие в возможности быстрой и легкой замены элемента 132 щита опалубки, например, в случае износа элемента 132 щита опалубки. Элемент 132 щита опалубки также содержит стержень 1321. На одном конце этого стержня 1321 расположена часть 1323 для крепления к щиту опалубки. На противоположном конце стержня 1321 расположена соединительная головка 1322. Стержень 1321 имеет центральную ось, которая показана пунктирной линией на фиг.3 и расположена соосно переходнику 14а щита опалубки, элементу 131 несущей конструкции, показанному справа, и переходнику 14b балки. Соединительная головка 1322 выполнена с возможностью обеспечения соединения с натягом и с геометрическим замыканием элемента 132 щита опалубки с элементом 131 несущей конструкции. В проиллюстрированном варианте осуществления соединительная головка 1322 имеет две изгибающиеся части 13221, расположенные симметрично друг другу или симметрично центральной оси стержня 1321. Эти изгибающиеся части 13221 выполнены с возможностью упругой деформации и сжимаются в радиальном направлении, когда элемент 1322 щита опалубки вставляют в направлении центральной оси стержня 1321. При этом сжатии возникает упругое возвратное усилие в изгибающихся частях 13221, которое в итоге обеспечивает соединение элемента 132 щита опалубки и элемента 131 несущей конструкции.
С правой стороны на фиг.3 показан разрез периферийной части несущей конструкции 11 опалубки. Элемент 131 несущей конструкции показан в положении, в котором он, частично, уже соединен с несущей конструкцией 11 опалубки. Переходник 14b несущей конструкции, имеющий кольцеобразную конфигурацию, расположен и закреплен в несущей конструкции 11 опалубки. На наружной окружности этот переходник 14b несущей конструкции имеет наружную резьбу, которую ввинчивают в выемку в несущей конструкции 11 опалубки. На внутренней окружности переходник 14b несущей конструкции имеет внутреннюю резьбу, образованную для обеспечения соединения с элементом 131 несущей конструкции. На своем конце, обращенном вправо, элемент 131 несущей конструкции имеет часть 1313 для крепления к несущей конструкции для обеспечения соединения с переходником 14b несущей конструкции, который в данном случае выполнен в виде наружной резьбы. Приблизительно одна треть элемента 131 несущей конструкции или часть 1313 для крепления к несущей конструкции в данном случае ввинчены в переходник 14b несущей конструкции. Для выполнения соединения элемента 131 несущей конструкции с несущей конструкцией 11 опалубки элемент 131 несущей конструкции полностью ввинчивают в переходник 14b несущей конструкции до тех пор, пока элемент 131 несущей конструкции не упрется в край выемки в несущей конструкции 11 опалубки, обращенный вправо. В этом положении обращенная влево поверхность элемента 131 несущей конструкции также находится на одном уровне с обращенной влево поверхностью остальной частью несущей конструкции 11 опалубки. В показанном варианте осуществления элемент 131 несущей конструкции имеет полость 1311. Форма и размер этой полости 1311 по существу соответствуют форме и размеру соединительной головки 1322, и она выполнена с возможностью размещения этой соединительной головки 1322. Благоприятным образом внутренний диаметр полости 1311 относительно центральной оси стержня 1321 немного меньше, чем наружный диаметр соединительной головки 1322. Таким образом, изгибающиеся части 13221 соединительной головки 1322 упруго сжимаются в положении их вставки в полость 1311 и в ходе этого возникает упругое возвратное усилие, которое обеспечивает удержание соединительной головки 1322 в полости 1311. В данном случае выемка 1312 для вставки цилиндрической формы расположена между полостью 1311 и обращенной влево поверхностью элемента 131 несущей конструкции. В показанном положении центральная ось этой выемки 1312 для вставки проходит соосно с центральной осью стержня 1321. Внутренний диаметр выемки 1312 для вставки выполнен меньшим, чем наибольший внутренний диаметр полости 1311. Таким образом, на переходе между выемкой 1312 для вставки и полостью 1311 имеется поднутрение. Это поднутрение взаимодействует с поверхностью соединительной головки 1322, которая обращена влево, когда элементы 132 щита опалубки соединены с элементом 131 несущей конструкции, и, таким образом, в дополнение к уже описанному соединению с натягом между двумя элементами образуется соединение с геометрическим замыканием. В показанном варианте осуществления элемент 131 несущей конструкции имеет жесткую конфигурацию. Однако в альтернативном варианте осуществления на элементе 131 несущей конструкции также могут быть обеспечены части, выполненные с возможностью упругой деформации. Для настройки определения порогового усилия соединения и порогового усилия отсоединения на элементе 132 щита опалубки и элементе 131 несущей конструкции образовано множество функциональных поверхностей. На своей стороне, обращенной по направлению к элементу 131 несущей конструкции, соединительная головка 1322 имеет поверхность 132211 для вставки, которая расположена под острым углом к центральной оси стержня 1321, в данном случае на каждой изгибающейся части 13221. При вставке элемента 132 щита опалубки в элемент 131 несущей конструкции эта поверхность 132211 для вставки взаимодействует с поверхностью 13121 для вставки втулки, расположенной с левой стороны выемки 1312 для вставки, которая также расположена под углом к центральной оси стержня 1321. За счет таких углов этих двух функциональных поверхностей, в направлении которых происходит перемещение элемента 132 щита опалубки в элемент 131 несущей конструкции, к центральной оси стержня 1321 две изгибающиеся части 13221 сжимаются в радиальном направлении таким образом, что наружный диаметр соединительной головки 1322 уменьшается. Вследствие такого уменьшения наружного диаметра соединительная головка 1322 теперь входит в выемку 1312 для вставки и может быть вдвинута в полость 1311. В полости 1311 изгибающиеся части 13221 упруго возвращаются в исходное положение до тех пор, пока не упрутся в наружный диаметр полости 1311. В этом положении элемент 132 щита опалубки и элемент 131 несущей конструкции соединены друг с другом с натягом и с геометрическим замыканием. Изгибающиеся части 13221 оказывают давление, направленное в радиальном направлении наружу, на стенку полости 1311 и, таким образом, обеспечивают соединение с натягом. В то же время поверхности упруго возвращенных изгибающихся частей 13221, обращенные на иллюстрации влево, упираются в поднутрение вблизи границы между выемкой 1312 для вставки и полостью 1311, и, таким образом, создают дополнительное соединение с геометрическим замыканием. Однако соединение между элементом 132 щита опалубки и элементом 131 несущей конструкции в данном случае выполнено разъемным, т.е. элемент 132 щита опалубки может быть снова вытянут из элемента 131 несущей конструкции без его разрушения. В данном случае тянущее усилие в направлении центральной оси стержня 1321, которое на иллюстрации направлено влево, прикладывается к элементу 132 щита опалубки. В начале отсоединения указанных двух элементов друг от друга поверхность 132212 для отсоединения, расположенная на соединительной головке 1322, упирается в поверхность 13122 для отсоединения втулки, расположенную в переходной части между выемкой 1312 для вставки и полостью 1311. Эти две функциональные поверхности также расположены под углом к центральной оси стержня 1321. Вследствие обеспечения упора поверхности 132212 для отсоединения в поверхность 13122 для отсоединения втулки изгибающиеся части 13221 снова сжимаются в радиальном направлении вовнутрь под действием тянущего усилия, приложенного к элементу 132 щита опалубки, при этом наружный диаметр соединительной головки 1322 снова уменьшается таким образом, что она проходит через выемку 1312 для вставки. Таким образом, элемент 132 щита опалубки может быть вытянут из элемента 131 несущей конструкции. В зависимости от требований согласно текущему варианту применения пороговое усилие отсоединения и пороговое усилие соединения соединителя могут быть подобраны путем изменения размера, формы и, в частности, угла функциональных поверхностей. В проиллюстрированном варианте осуществления замена элемента 132 щита опалубки и элемента 131 несущей конструкции может быть осуществлена очень простым способом благодаря переходнику 14а щита опалубки и переходнику 14b несущей конструкции. Для изменения порогового усилия отсоединения и/или порогового усилия соединения на строительной площадке просто может быть использована другая комбинация элемента 132 щита опалубки и элемента 131 несущей конструкции, если это требуется для соответствующего применения.
Вариант осуществления соединителя 13, изображенный на фиг.3, не зависит от допусков по толщине или расширения и усадки при увлажнении щита 12 опалубки в направлении толщины. Типовые материалы для щита 12 опалубки представляют собой древесные материалы, которые могут расширяться или сжиматься в зависимости от влажности окружающей их среды. При высоких уровнях влажности древесные материалы имеют свойство расширяться, т.е. увеличиваться в размерах в направлении толщины. В сухой среде древесные материалы имеют тенденцию к усадке, т.е. их размеры в направлении толщины уменьшаются. В варианте осуществления, показанном на фиг.3, весь элемент 132 щита опалубки расположен на краю щита 12 опалубки, который обращен вправо. Изменение толщины щита 12 опалубки почти не оказывает никакого влияния, когда соединитель 13 защелкнут, когда элемент 132 щита опалубки вставлен в элемент 131 несущей конструкции. Изменение толщины щита 12 опалубки происходит в направлении стороны щита 12 опалубки, обращенной в направлении от соединителя 13, влево на фиг.3. Следовательно, изменения толщины щита 12 опалубки не влияют на соединение элемента 132 щита опалубки с элементом 131 несущей конструкции.
На фиг.4 показан схематический вид сбоку в разрезе элемента 131 несущей конструкции согласно альтернативному варианту осуществления модуля 1 опалубки согласно настоящему изобретению. На фиг.4 показана только сторона несущей конструкции 11 опалубки, включающая в себя элемент 131 несущей конструкции. Например, показанный элемент 131 несущей конструкции может быть соединен с элементом 132 щита опалубки согласно варианту осуществления, показанному на фиг.3. В отличие от варианта осуществления элемента 131 несущей конструкции, показанного на фиг.3, элемент 131 несущей конструкции на фиг.4 включает в себя два подвижно расположенных фиксирующих элемента 1314, выполненные с возможностью обеспечения дополнительного соединения с натягом между элементом 132 щита опалубки и элементом 131 несущей конструкции. Благодаря этому дополнительному соединению с геометрическим замыканием может быть достигнуто более высокое пороговое усилие отсоединения с элементом 131 несущей конструкции согласно варианту осуществления по фиг.4, чем с вариантом осуществления элемента 131 несущей конструкции по фиг.3. Элемент 131 несущей конструкции по фиг.4 непосредственно соединен с несущей конструкцией 11 опалубки, т.е. без переходника 14b несущей конструкции. Например, это соединение может быть реализовано путем прессовой посадки. Аналогично варианту осуществления элемента 131 несущей конструкции, показанному на фиг.3, элемент 131 несущей конструкции по фиг.4 имеет полость 1311 и выемку 1312 для вставки. На краю выемки 1312 для вставки, ориентированном по направлению к наружной поверхности элемента 131 несущей конструкции, образована поверхность 13121 для вставки втулки. Со стороны выемки 1312 для вставки, обращенной к полости 1311, расположена поверхность 13122 для отсоединения втулки. Эти две функциональные поверхности имеют такие же функции, что и в варианте осуществления, показанном на фиг.3. Рядом с выемкой 1312 для вставки расположены две выемки, обращенные на иллюстрации вверх и вниз, в которых удерживаются с возможностью перемещения два фиксирующих элемента 1314. Возможность перемещения этих фиксирующих элементов 1314 символически показана двунаправленной стрелкой. В заблокированном положении фиксирующие элементы 1314 могут быть перемещены в выемку для вставки, чтобы, таким образом, уменьшить габаритную ширину выемки 1312 для вставки. Аналогичным образом, один или более фиксирующих элементов 1314 могут быть расположены рядом с полостью 1311 и могут быть выполнены с возможностью перемещения относительно нее. Для соединения элемента 132 щита опалубки и элемента 131 несущей конструкции два фиксирующих элемента 1314 перемещают обратно в их выемки таким образом, чтобы они не выступали в выемку 1312 для вставки. В этом открытом положении элемент 132 щита опалубки может быть вставлен в элемент 131 несущей конструкции, как описано применительно к фиг.3. Когда элемент 132 щита опалубки вставлен в элемент 131 несущей конструкции, фиксирующие элементы 1314 перемещают в выемку 1312 для вставки, как показано на фиг.4, а затем образуют поднутрение для соединительной головки 1322 элемента 132 щита опалубки. В этом заблокированном положении благодаря фиксирующим элементам 1314 между элементом 132 щита опалубки и элементом 131 несущей конструкции образуется дополнительное соединение с натягом, в результате чего увеличивается пороговое усилие отсоединения соединителя 13. Для перемещения фиксирующих элементов 1314 предусмотрен по меньшей мере один фиксирующий механизм 1315. Этот фиксирующий механизм 1315 преобразует приводное перемещение в перемещение фиксирующих элементов 1314. На фиг.4 проиллюстрированы различные возможности, относящиеся к расположению и функционированию фиксирующего механизма 1315. В правой части иллюстрации показан фиксирующий механизм 1315, доступный со стороны несущей конструкции 11 опалубки, обращенной в сторону от щита 12 опалубки. В данном случае фиксирующий механизм 1315 содержит стержень, снабженный на конце, обращенном вправо, ключевой секцией. Оператор может повернуть эту ключевую секцию с помощью соответствующего инструмента или вручную. Это поворотное перемещение посредством вала фиксирующего механизма 1315 преобразуется в перемещение фиксирующих элементов 1314. В качестве альтернативы поворотному перемещению фиксирующий механизм 1315, показанный пунктирными линиями, также может быть выполнен таким образом, чтобы при поступательном перемещении перемещались фиксирующие элементы 1314, что обозначено двунаправленной стрелкой в заштрихованной области. Такое поступательное перемещение оператору выполнить легче, чем поворотное. Альтернативное расположение фиксирующего механизма 1315 показано как ориентированное вниз, начиная от элемента 131 несущей конструкции. На этой иллюстрации показана конструкция, аналогичная конструкции на иллюстрации, на которой этот механизм обращен вправо, и показан фиксирующий механизм 1315, приводимый в действие поворотным перемещением, показанный сплошными линиями, и фиксирующий механизм 1315, приводимый в действие поступательным перемещением, показанным пунктирными линиями. Это означает, что может быть обеспечен только один из проиллюстрированных фиксирующих механизмов 1315. Расположение фиксирующего механизма 1315 зависит оттого, с какой стороны должен быть доступен фиксирующий механизм 1315. Конечно, возможны и другие варианты расположения и доступа фиксирующего механизма 1315, например, начиная от элемента 131 несущей конструкции вверх в направлении границы несущей конструкции 11 опалубки. Кроме того, фиксирующий механизм 1315 также может быть выполнен таким образом, чтобы ним можно было управлять с помощью пульта дистанционного управления, например, посредством радиосвязи. В таком варианте осуществления с управлением с помощью пульта дистанционного управления не требуется прямой доступ к фиксирующему механизму 1315, что является преимуществом в труднодоступных областях во время возведения частей здания.
На фиг.5 показан схематический вид сбоку в разрезе соединителя 13 согласно еще одному варианту осуществления модуля 1 опалубки согласно настоящему изобретению. На фиг.5 представлен вариант осуществления соединителя 13, который, по сравнению с описанными выше вариантами осуществления имеет обратную форму или функцию: в варианте осуществления, показанном на фиг.5, элемент 131 несущей конструкции, расположенный с правой стороны несущей конструкции 11 опалубки, выполнен таким образом, что он выступает и содержит цилиндрический вал 134, а также соединительную головку 135, выступающую за этим валом 134. В этом варианте осуществления элемент 131 несущей конструкции не содержит ни полость, ни части, выполненные с возможностью упругой деформации. На одном конце своего вала 134 элемент 131 несущей конструкции соединен с несущей конструкцией 11 опалубки с помощью винтового соединения. Конечно, это соединение также может быть выполнено иным образом, например, как соединение с прессовой посадкой или как клеевое соединение. Вал 134 элемента 131 несущей конструкции имеет центральную ось, которая на фиг.5 соосно выровнена с центральной осью элемента 132 щита опалубки, показанного слева.
В этом варианте осуществления соединительная головка 135 элемента 131 несущей конструкции не выполнена осесимметричной относительно своей центральной оси. Соединительная головка 135 выровнена по стороне, обращенной вверх на фиг.5. Таким образом, соединительная головка 135 выполнена с возможностью вставки в удерживающую полость 136 элемента 132 щита опалубки. В показанном варианте осуществления элемент 132 щита опалубки полностью расположен внутри щита 12 опалубки и нигде не выступает за его пределы. В показанном варианте осуществления щит 12 опалубки имеет непрерывную выемку, в которой размещен элемент 132 щита опалубки. Эта выемка доступна как с бетонной стороны 121, так и с монтажной стороны 122. С бетонной стороны 121 выемка закрыта крышкой 138. Эта крышка 138 может быть извлечена из выемки простым способом. Крышка 138 может быть выполнена, например, в виде пластмассового колпачка, который можно снять с бетонной стороны 121 с помощью плоской отвертки. Крышка 138 выполнена таким образом, что она не выступает или очень незначительно выступает за поверхность бетонной стороны 121. Таким образом, гарантируется, что при изготовлении части здания с помощью щита 12 опалубки на изготовленной части здания не останется нежелательный отпечаток от крышки 138. Элемент 132 щита опалубки имеет обращенную вправо удерживающую полость 136. Эта удерживающая полость 136 имеет по существу цилиндрическую форму и выполнена полой внутри. Со стороны удерживающей полости 136, ориентированной в направлении несущей конструкции 11 опалубки, расположена барьерная стенка 136а, проходящая в окружном направлении. Эта барьерная стенка 136а имеет высоту 136b барьера, изменяющуюся в окружном направлении а. Эта высота 136b барьера проходит от наружной окружности удерживающей полости 136 в направлении центральной оси, показанной, соответственно, пунктирной линией. Высота 136b барьера непрерывно увеличивается в окружном направлении вокруг удерживающей полости 136. Барьерная стенка 136а, имеющая переменную высоту 136b барьера, служит для создания соединения с натягом с выровненной соединительной головкой 135 элемента 131 несущей конструкции. Когда в положении, показанном на фиг.5, щит 12 опалубки и несущая конструкция 11 опалубки соединены, выровненная соединительная головка 135 может быть перемещена в удерживающую полость 136, расположенную за барьерной стенкой 136а. При повороте удерживающей полости 136 и расположенной на ней барьерной стенки 136а соединительная головка 135, выступающая за вал 134, удерживается барьерной стенкой 136а и, таким образом, фиксируется с геометрическим замыканием в удерживающей полости 136. Таким образом, элемент 132 щита опалубки и элемент 131 несущей конструкции, и, таким образом, соединитель 13, образованный из этих элементов, блокируется с геометрическим замыканием. Поворот элемента 132 щита опалубки, расположенного в щите 12 опалубки, осуществляют с помощью ключевой секции 137, обращенной в направлении бетонной стороны 121. Например, эту ключевую секцию можно повернуть со бетонной стороны 121 с помощью такого инструмента, как гаечный ключ. Осуществляемое поворотное перемещение ключевой секции 137 передается в удерживающую полость 136 посредством вала 137а. Таким образом, при поворотном перемещении ключевой секции 137 высота 136b барьера удерживающей полости 136 относительно головки 135 соединителя изменяется и соединитель 13 блокируется или, в обратном направлении, разблокируется.
В варианте осуществления соединителя 13, показанном на фиг.5, элемент 132 щита опалубки проходит почти через весь щит 12 опалубки в направлении толщины щита 12 опалубки. Изменения толщины щита 12 опалубки, которые, например, вызваны расширением или усадкой материала, из которого изготовлен щит 12 опалубки, могут, таким образом, влиять на элемент 132 щита опалубки. Когда толщина щита 12 опалубки увеличивается, может произойти блокирование элемента 132 щита опалубки между ключевой секцией 137 и удерживающей полостью 136. Благоприятным образом на валу 137а или внутри него размещают компенсирующий элемент, обеспечивающий возможность изменения длины вала 137а в определенных пределах. Изменения толщины щита 12 опалубки могут быть компенсированы с помощью этого компенсирующего элемента и, таким образом, может быть обеспечено стабильное функционирование элемента 132 щита опалубки даже в случае расширения или усадки щита 12 под воздействием влаги. Например, такой компенсирующий элемент может включать в себя пружинные элементы.
На фиг.6 показан схематический вид сбоку в разрезе соединителя 13 согласно альтернативному варианту осуществления модуля 1 опалубки согласно настоящему изобретению. На фиг.6 показан соединитель 13, который отличается от описанных выше вариантов осуществления. В этом варианте осуществления элемент 132 щита опалубки и элемент 131 несущей конструкции выполнены идентичными по своей конструкции и по существу соответствуют элементу 131 несущей конструкции, показанному и описанному применительно к фиг.3. В варианте осуществления, показанном на фиг.6, как элемент 132 щита опалубки, так и элемент 131 несущей конструкции имеют, соответственно, полость 1311 и выемку 1312 для вставки. Как элемент 132 щита опалубки, так и элемент 131 несущей конструкции имеют жесткую конфигурацию и не содержат каких-либо частей, выполненных с возможностью упругой деформации. На иллюстрации элемент 132 щита опалубки и элемент 131 несущей конструкции непосредственно соединены со щитом 12 опалубки или несущей конструкцией 11 опалубки. Элемент 131 несущей конструкции имеет большие размеры, чем элемент 132 щита опалубки. В данном случае элемент 132 щита опалубки и элемент 131 несущей конструкции изготовлены из износостойкого материала, например, из металла или твердой пластмассы. В показанном варианте осуществления соединитель 13 также содержит промежуточный элемент 133. Этот промежуточный элемент 133 имеет две соединительные головки 133а и 133b, которые закреплены, соответственно, с одной стороны вала 133 с, расположенного между ними. Соединительная головка 133а, обращенная влево, выполнена меньшей, чем соединительная головка 133b, обращенная вправо. Меньшая соединительная головка 133а, обращенная влево, выполнена с возможностью создания соединения с элементом 132 щита опалубки, имеющим меньшие размеры, а большая соединительная головка 133b, обращенная вправо, выполнена с возможностью создания соединения с элементом 131 несущей конструкции, имеющим большие размеры. Аналогично соединительной головке 1322, показанной и описанной на фиг.3, две соединительные головки 133а и 133b имеют две изгибающихся части, выполненные с возможностью упругой деформации, которые упруго деформируются во время вставки в элемент 132 щита опалубки и элемент 131 несущей конструкции, и создают, таким образом, соединение с натягом и с геометрическим замыканием. В показанном варианте осуществления промежуточный элемент 133 выполнен из пластмассового материала, выполненного с возможностью упругой деформации. Для создания соединения между щитом 12 опалубки и несущей конструкцией 11 опалубки соединительную головку 133а вставляют в элемент 132 щита опалубки, а соединительную головку 133b вставляют в элемент 131 несущей конструкции. Механизмы и этапы, описанные по фиг.3, аналогично применимы к этой вставке, а также к последующему отсоединению. Вариант осуществления, показанный на фиг.6, имеет преимущество в том, что весь износ вследствие многократного присоединения и отсоединения соединителя 13 происходит только на промежуточном элементе 133. Износ можно просто компенсировать, просто заменив этот промежуточный элемент 133. Элемент 132 щита опалубки и элемент 131 несущей конструкции выполнены таким образом, что они по существу не изнашиваются и могут постоянно оставаться в щите 12 опалубки или в несущей конструкции 12 опалубки. Соединение между элементом 131 несущей конструкции и промежуточным элементом 133 имеет больший размер и, таким образом, имеет более высокое пороговое усилие отсоединения, чем соединение между элементом 132 щита опалубки и промежуточным элементом 133. Таким образом, обеспечивается, чтобы при приложении тянущего усилия к щиту 12 опалубки, направленного в сторону от несущей конструкции 11 опалубки, сначала было превышено пороговое усилие отсоединения между элементом 132 щита опалубки и промежуточным элементом 133а, и чтобы, таким образом, отсоединение происходило в этом положении. Таким образом, во время отсоединения промежуточный элемент 133 остается соединенным с элементом 131 несущей конструкции. При необходимости отсоединение несущей конструкции 11 опалубки от промежуточного элемента 133 также может происходить до отсоединения щита 12 опалубки от промежуточного элемента 133, если указанные размеры поменять местами. Аналогично варианту осуществления, показанному на фиг.4, вариант осуществления, показанный на фиг.6, также может быть снабжен одним или более фиксирующими элементами 1314.
На фиг.7 показан схематический вид сбоку в разрезе части согласно одному варианту осуществления модуля 1 опалубки согласно настоящему изобретению, включающей в себя краевой элемент 15. На фиг.6 показан вид в поперечном разрезе секции рамы 111, опорной панели 112 и щита 12 опалубки согласно одному варианту осуществления элемента 1 опалубки согласно настоящему изобретению. С правой стороны, обращенной на иллюстрации вниз, показана часть рамы 111 несущей конструкции 11 опалубки. На обращенной вверх стороне рама 111 содержит выступающую направляющую 1111. Эта направляющая 1111 может проходить вокруг всей рамы 111 или ее части. Рядом с направляющей 1111 расположена плоская часть рамы 111, в которой расположен элемент 131 несущей конструкции. С левой стороны, рядом с этой плоской частью в раме 111 имеется уступ, служащий для обеспечения соединения с опорной панелью 112, показанной слева. Эта опорная панель также видна на фиг.2 и она была описана применительно к этой фигуре. Опорная панель 112 имеет окружной выступ, который по размеру и форме соответствует уступу в раме 111. Этот выступ опорной панели 112 вставлен в раму 111 и соединен с ней с помощью винтовых соединений. Опорная панель 112 выполнена с возможностью механической стабилизации несущей конструкции 11 опалубки, а также для увеличения поверхности несущей конструкции 11 опалубки, обращенной к щиту 12 опалубки. В опорной панели 112 также имеется элемент 131 несущей конструкции. Элемент 131 несущей конструкции в опорной панели 112 имеет меньшие размеры и, следовательно, меньшее пороговое усилие отсоединения, чем элемент 131 несущей конструкции, расположенный в раме 111. Таким образом, в проиллюстрированном варианте осуществления соединитель 13, имеющий более высокое пороговое усилие отсоединения, чем соединитель 13, расположенный в опорной панели 112 в центральной области несущей конструкции опалубки, расположен в периферийной части несущей конструкции 11 опалубки. Такое расположение на практике оказалось особенно предпочтительным, поскольку при отсоединении модуля 1 опалубки после возведения части здания усилие сцепления щита 12 опалубки на возведенной части здания больше в периферийной части модуля 1 опалубки, чем в его центре, что при недостаточном пороговом усилии отсоединения в периферийной части может привести к непреднамеренному отсоединению щита 12 опалубки от несущей конструкции 11 опалубки. Таким образом, в проиллюстрированном варианте осуществления пороговое усилие отсоединения на единицу площади поверхности щита 12 опалубки и несущей конструкции 11 опалубки больше в их краевой и угловой частях, чем в центральной области. В верхней части иллюстрации на фиг.7 показана секция щита 12 опалубки. Щит 12 опалубки имеет многослойную конфигурацию и имеет покрытие на своей бетонной стороне 121. На монтажной стороне 122 щит 12 опалубки имеет уступ 124, проходящий по наружной окружности, причем этот уступ 124 имеет форму, дополняющую форму направляющей 1111 рамы 111. Это означает, что направляющая 1111 точно примыкает к уступу 124. Это соединение с геометрическим замыканием служит для облегчения соединения или позиционирования щита 12 опалубки относительно несущей конструкции 11 опалубки. На обращенной вниз монтажной стороне 122 щита 12 опалубки расположены два элемента 132 щита опалубки, которые соответствуют расположенному напротив элементу 131 несущей конструкции и, соответственно, образуют соединитель 13. Со стороны щита 12 опалубки, обращенной вправо, краевой элемент 15 подогнан к краям, расположенным по окружности щита 12 опалубки. Этот краевой элемент 15 выполнен в виде бортика и изготовлен из материала, выполненного с возможностью упругой деформации, например, из пластмассового материала или каучука. С одной стороны, краевой элемент 15 служит для механической защиты щита 12 опалубки при транспортировке и при сборке модуля 1 опалубки. Кроме того, краевой элемент 15 служит для герметизации щита 12 опалубки модуля 1 опалубки по отношению к щиту 12 опалубки еще одного модуля 1 опалубки, расположенного рядом с ним в опалубке. Такой дополнительный, расположенный рядом модуль 1 опалубки может быть расположен осесимметрично к обращенной вправо границе краевого элемента 15. В этом случае два краевых элемента 15 соседних модулей 1 опалубки упираются друг в друга. Благодаря их упругим свойствам обеспечивается хорошее уплотнение между соседними щитами 12 опалубки. За счет такого хорошего уплотнения на возводимой части здания может быть достигнуто превосходное качество поверхности, которое может быть выражено в высокой категории облицовочного бетона. В проиллюстрированном варианте осуществления краевой элемент 15 установлен на одном уровне с бетонной стороной 121 в направлении толщины щита 12 опалубки. Однако краевой элемент 15 также может быть выполнен таким образом, чтобы он выступал за щит 12 опалубки в направлении бетонной стороны 121 и/или в противоположном направлении.
На фиг.8 показан схематический вид в перспективе одного варианта осуществления щита 12 опалубки, включающего в себя переходник 14а щита опалубки и элемент 132 щита опалубки. На фиг.8 показана периферийная часть щита 12 опалубки. На этой иллюстрации монтажная сторона 122 обращена вверх, а окружной край 123 виден как обращенный вперед. В данном случае щит 12 опалубки образован многослойной фанерной панелью с плоским покрытием, нанесенным на бетонную сторону 121 и на монтажную сторону 122. Переходник 14а щита опалубки в данном случае образован пластмассовой частью и закреплен с геометрическим замыканием на монтажной стороне 122, непосредственно прилегая к краю 123 щита 12 опалубки. С монтажной стороны 122 щит 12 опалубки имеет выемку с поднутрением, с которым взаимодействует периферийная часть переходника 14а щита опалубки. В данном случае эта выемка образована путем фрезерования и имеет периферийную часть в форме ласточкиного хвоста. Взаимодействие форм выемки и переходника 14а щита опалубки подробно показано на виде в поперечном разрезе на фиг.10. В варианте осуществления, показанном на фиг.8, переходник 14а щита опалубки был вдвинут в выемку с поднутрением в щите 12 опалубки путем выполнения линейного скользящего перемещения в направлении стрелки, показанной рядом с переходником щита опалубки. Благодаря взаимодействию поднутрения и части переходника 14а щита опалубки, имеющей соответствующую противоположную форму, было создано соединение с геометрическим замыканием между двумя элементами, которое действует в направлении, перпендикулярном монтажной стороне 122, и, таким образом, предотвращает отсоединение щита 12 опалубки от переходника 14а щита опалубки в этом направлении. На виде сверху монтажной стороны 122 переходник 14а щита опалубки имеет прямоугольную часть, обращенную на иллюстрации вперед, и область со скругленными углами, обращенную на иллюстрации назад. Эта конструкция, в частности, предпочтительна, поскольку она полностью заполняет выемку, образованную с помощью профильной фрезы, вращающейся вокруг оси, перпендикулярной монтажной стороне 122. В проиллюстрированном варианте осуществления поверхность переходника 14а щита опалубки, обращенная вверх, находится на одном уровне с монтажной стороной 122 или смещена назад относительно монтажной стороны 122. Переходник 14а щита опалубки в его внутренней части имеет выемку 14а1, в которую элемент 132 щита опалубки вставляют с геометрическим замыканием. Как показано на иллюстрации, с ее правой и левой стороны эта выемка 14а1 имеет, соответственно, поднутрение, в которое вставляют часть элемента 132 щита опалубки. Таким образом, между переходником 14а щита опалубки и элементом 132 щита опалубки также создается соединение с геометрическим замыканием, действующее в направлении, перпендикулярном монтажной стороне 122.
Установку элемента 132 щита опалубки в переходник 14а щита опалубки выполняют путем линейного перемещения со вставкой элемента 132 щита опалубки в выемку 14а1, которое также выполняют в направлении стрелки, показанной рядом с переходником 14а щита опалубки. Соединение между элементом 132 щита опалубки и переходником 14а щита опалубки выполнено разъемным, т.е. элемент 132 щита опалубки можно легко заменить, например, в случае его износа вследствие многократного использования. Кроме того, элемент 132 щита опалубки может быть снят, например, также перед транспортировкой множества щитов 12 опалубки, уложенных друг на друга, для облегчения укладки щитов 12 опалубки. Перед использованием щита 12 опалубки элемент 132 щита опалубки может быть снова присоединен к переходнику 14а щита опалубки путем выполнения простого скользящего перемещения. В показанном варианте осуществления элемент 132 щита опалубки также изготовлен из пластмассового материала. На периферийной части, примыкающей к выемке 14а1 спереди в переходнике 14а щита опалубки, обеспечены два удерживающих фиксатора 14а2, выполненные с возможностью упругой деформации относительно удерживаемого переходника 14а щита опалубки. При вставке элемента 132 щита опалубки эти удерживающие фиксаторы 14а2 временно отгибаются вверх и пружинят обратно в свое исходное положение, когда элемент 132 щита опалубки полностью вставлен в выемку 14а1. В этом исходном положении в направлении, параллельном монтажной стороне 122, образуется соединение с геометрическим замыканием, предотвращающее случайное выскальзывание элемента 132 щита опалубки из переходника 14а щита опалубки. Это соединение с геометрическим замыканием обеспечивается с помощью крюка, соответственно, который выступает за удерживающий фиксатор 14а2 в направлении бетонной стороны и, соответственно, в изображенном состоянии образует поднутрение для вставленного элемента 132 щита опалубки. Таким образом, два удерживающих фиксатора 14а2 закрепляют элемент 132 щита опалубки в переходнике 14а щита опалубки. Для извлечения элемента 132 щита опалубки из переходника 14а щита опалубки два удерживающих фиксатора 14а2 снова упруго отгибают вверх, при этом элемент 132 щита опалубки может быть вытянут из выемки 14а1. Однако удерживающие фиксаторы 14а2 не являются критически необходимыми. Например, альтернативный способ закрепления элемента S132 щита опалубки в переходнике 14а щита опалубки может быть реализован путем обеспечения легкой прессовой посадки между элементом 132 щита опалубки и выемкой 14аl с поднутрением в дополнение к соединению с геометрическим замыканием. Благодаря такой прессовой посадке элемент 132 щита опалубки может быть позже вытянут из переходника 14а щита опалубки только путем преодоления повышенного толкающего усилия. С помощью такого механизма также может быть предотвращено случайное выпадение элемента 132 щита опалубки из выемки 14а1.
На фиг.9 показан схематический вид в перспективе одного варианта осуществления элемента 132 щита опалубки. На фиг.9 элемент 132 щита опалубки, показанный на фиг.8, показан отдельно. Этот элемент 132 щита опалубки с верхней стороны на иллюстрации содержит соединительную головку 1322, а с нижней стороны на иллюстрации - стержень 1321. Стержень 1321 соответствует части 1323 для крепления к щиту опалубки, поскольку соединение элемента 132 щита опалубки со щитом 12 опалубки осуществляют посредством переходника 14а щита опалубки и стержня 1321 в качестве сопрягающих элементов. Как показано на фиг.8, соединение элемента 132 щита опалубки с переходником 14а щита опалубки обеспечивают с помощью стержня 1321. В данном случае стержень 1321 имеет три ребра 1321а, образующие части, вставленные в поднутрение выемки 14а1 в переходнике 14а щита опалубки и, таким образом, образуют с ним соединение с геометрическим замыканием. На виде сверху монтажной стороны 122 три ребра 1321а равномерно распределены по окружности стержня, в данном случае под углом 120° друг относительно друга, соответственно, относительно центра стержня 1321. Между ребрами 1321а в окружном направлении обеспечены зазоры. Как показано на фиг.11, благодаря наличию этих зазоров показанный элемент 132 щита опалубки может быть соединен с переходником 14а щита опалубки. В данном случае соединительная головка 1322 имеет четыре изгибающиеся части 13221, равномерно расположенные вокруг центральной оси элемента 132 щита опалубки. Эти изгибающиеся части 13221 выполнены с возможностью упругой деформации относительно стержня 1321. Когда элемент 132 щита опалубки соединен с элементом 131 несущей конструкции, изгибающиеся части 13221 упруго изгибаются вовнутрь в направлении центральной оси элемента 132 щита опалубки. Каждая изгибающаяся часть 13221 имеет криволинейную поверхность 132211 для вставки, обращенную вверх по ее наружной окружности. Когда создано соединение с элементом 131 несущей конструкции, эта поверхность 132211 для вставки по меньшей мере частично упирается в элемент 131 несущей конструкции. При приложении к элементу 132 щита опалубки нормального усилия из-за кривизны поверхности 132211 для вставки создается усилие, действующее в радиальном направлении к центральной оси элемента 132 щита опалубки, которое изгибает соответствующую изгибающуюся часть 13221 вовнутрь таким образом, что наружная окружность соединительной головки 1322 уменьшается и, таким образом, она может входить в элемент 131 несущей конструкции. После этого входа, на изгибающуюся часть 13221 больше не будет действовать радиальное усилие, в результате чего она упруго вернется в исходное положение таким образом, что между элементом 132 щита опалубки и элементом 131 несущей конструкции будет создано соединение с геометрическим замыканием. Каждая изгибающаяся часть 13221 на некотором расстоянии от поверхности 132211 вставки имеет поверхность 132212 для отсоединения, которая, соответственно, также является криволинейной. Кривизна поверхности 132212 для отсоединения ориентирована в направлении, противоположном кривизне поверхности 132211 для вставки, или противоположной по знаку. При отсоединении элемента 132 щита опалубки и элемента 131 несущей конструкции поверхность 132212 для отсоединения по меньшей мере частично упирается в элемент 131 несущей конструкции. В этом положении при приложении к элементу 132 щита опалубки тянущего усилия, перпендикулярного монтажной стороне, кривизна поверхности 132212 для отсоединения обуславливает возникновение усилия, направленного в радиальном направлении к центральной оси элемента 132 щита опалубки таким образом, что изгибающаяся часть 13221 будет изгибаться вовнутрь. Из-за такой упругой деформации наружная окружность соединительной головки 1322 снова уменьшается таким образом, что ее можно вытянуть из элемента 131 несущей конструкции. Таким образом, проиллюстрированный вариант осуществления элемента 132 щита опалубки может быть соединен с элементом 131 несущей конструкции или отсоединен от него путем приложения нормального усилия, перпендикулярного только монтажной стороне 122. Инструмент или т.п. для создания соединения или отсоединения в данном случае не требуются. Вместо проиллюстрированного криволинейного варианта реализации поверхности 132211 для вставки и поверхности 132212 для отсоединения они также могут быть выполнены плоскими и наклонными, при этом поверхности расположены под углом к центральной оси или в направлении, перпендикулярном монтажной стороне в таком плоском варианте реализации. Поверхность 132211 для вставки и поверхность 132212 для отсоединения, а также взаимодействие этих поверхностей с элементом 131 несущей конструкции аналогичны варианту по фиг.3. Следовательно, описание варианта осуществления по фиг.3 также применимо к таким же или аналогичным компонентам и контекстам. Альтернативный вариант осуществления соединительной головки 1322 и, таким образом, элемента 132 щита опалубки показан на фиг.10.
На фиг.10 показан вид сбоку в разрезе одного варианта осуществления щита 12 опалубки, включающего в себя переходник 14а щита опалубки и элемент 132 щита опалубки. На фиг.10 представлена часть, аналогичная части, показанной на фиг.8. Хотя элемент 132 щита опалубки, показанный на фиг.9, на фиг.8 установлен в переходнике 14а щита опалубки, элемент 132 щита опалубки с другой конструкцией вставляют в переходник 14а щита опалубки, как показано на виде в поперечном разрезе на фиг.10. Элемент 132 щита опалубки на фиг.10 также содержит соединительную головку 1322, имеющую множество изгибающихся частей 13221. Эти изгибающиеся части 13221 имеют, соответственно, поверхность 132211 для вставки, которая и в данном случае обеспечена для преобразования усилия, действующего в направлении, перпендикулярном монтажной стороне 122, в усилие, действующее в радиальном направлении по отношению к центральной оси элемента 132 щита опалубки, которое затем обеспечивает изгибание изгибающейся части 13221 вовнутрь. Вместо поверхности 132212 для отсоединения по фиг.9 элемент 132 щита опалубки, показанный на фиг.10, имеет удерживающую поверхность 132213, ориентированную параллельно монтажной стороне 122. В положении элемента 132 щита опалубки, в котором он непосредственно соединен с элементом 131 несущей конструкции или несущей конструкции 11 опалубки, удерживающая поверхность 132213 упирается в поверхность несущей конструкции 11 опалубки или элемента 131 несущей конструкции плоским образом или расположена параллельно им на небольшом расстоянии. В этом варианте осуществления при приложении нормального усилия от несущей конструкции 11 опалубки к элементу 132 щита опалубки не создается радиальное усилие, изгибающее изгибающуюся часть 13221 вовнутрь и, таким образом, высвобождающее соединение с геометрическим замыканием с несущей конструкцией 11 опалубки или элементом 131 несущей конструкции создается за счет обеспечения соответствующей ориентации удерживающей поверхности 132213. Таким образом, вариант осуществления элемента 132 щита опалубки, показанный на фиг.10, не может быть отсоединен от несущей конструкции опалубки под действием тянущего усилия, направленного только от него. Для разъединения соединения между элементом 132 щита опалубки и элементом 131 несущей конструкции или несущей конструкцией 11 опалубки необходимо использовать инструмент 16 для отсоединения, чтобы изогнуть изгибающиеся части 13221 в радиальном направлении вовнутрь и, таким образом, высвободить соединение с геометрическим замыканием. Использование такого инструмента 16 для отсоединения проиллюстрировано и описано со ссылкой на фиг.15. Все элементы или компоненты, за исключением другого варианта осуществления элемента 132 щита опалубки, идентичны изображенным на фиг.8. На виде в поперечном разрезе хорошо видно, что выемка в форме ласточкиного хвоста образована в монтажной стороне 122 щита 12 опалубки. На этом виде показано, что в эту выемку также вставлен переходник 14а щита опалубки в форме ласточкиного хвоста. С правой и левой сторон наклонные наружные поверхности переходника 14а щита опалубки упираются в такие же наклонные внутренние поверхности выемки, таким образом, в поднутрения выемки создается соединение с геометрическим замыканием. Таким образом, в показанном положении переходник 14а щита опалубки уже не может быть снят со щита 14 опалубки в направлении, перпендикулярном монтажной стороне 122, на этой иллюстрации вверх, и, следовательно, он зафиксирован. Плоская поверхность переходника 14а щита опалубки, обращенная в сторону от элемента 132 щита опалубки, упирается в плоскую поверхность выемки в щите 12 опалубки, обращенную в направлении монтажной стороны 122. Таким образом, переходник 14а щита опалубки упирается в выемку в щите 12 опалубки тремя плоскими поверхностями, ориентированными в разных направлениях. На виде в поперечном разрезе также хорошо видно, что внутри переходника 14а щита опалубки имеется выемка 14а1, которая содержит поднутрение, соответственно, с правой и с левой стороны. В каждое из этих поднутрений, соответственно, вставляют ребро 1321а стержня 1321 элемента 132 щита опалубки, в результате чего также создается соединение с геометрическим замыканием между переходником 14а щита опалубки и элементом 132 щита опалубки. Ребра 1321а являются частями элемента 132 щита опалубки. Конечно, элемент 132 щита опалубки согласно варианту осуществления, показанному на фиг.9, также может быть обеспечен в переходнике 14а щита опалубки, показанном на фиг.10.
На фиг.11 показан вид сверху и вид сбоку одного варианта осуществления переходника 132 щита опалубки. На фиг.11 изображены два вида переходника 14а щита опалубки: сверху вид сверху, а снизу вид сбоку. В данном случае переходник 14а щита опалубки представляет собой вариант осуществления, альтернативный вариантам осуществления, показанным на фиг.8 и 10. Вариант осуществления переходника 14а щита опалубки, показанный на фиг.11, соединен со щитом 12 опалубки (не показан) путем создания соединения с прессовой посадкой. Для создания этого соединения с прессовой посадкой, прежде всего, в монтажной стороне 122 щита 12 опалубки образована выемка без поднутрения, ограниченная образующими ее стенками, проходящими перпендикулярно монтажной стороне. В показанном варианте осуществления переходника 14а щита опалубки в щите опалубки образована цилиндрическая выемка с плоским внутренним дном, например, путем фрезерования. Затем переходник 14а щита опалубки вдавливают в выемку в направлении, перпендикулярном монтажной стороне 122. В данном случае, наружный диаметр переходника 14а щита опалубки немного превышает внутренний диаметр выемки. При прессовой посадке создается соединение с натягом, фиксирующее переходник 14а щита опалубки в щите 12 опалубки в направлении, перпендикулярном монтажной стороне 122. Это соединение с натягом создают путем прессовой посадки в плоскости, параллельной монтажной стороне 122. Как можно видеть ниже на виде сбоку на фиг.11, переходник 14а щита опалубки имеет множество ребер, имеющих наклоны для вставки, облегчающие его позиционирование и прессовую посадку в щит 12 опалубки по его наружной окружности. На представленном ниже виде сбоку конец переходника 14а щита опалубки, обращенный вверх, открыт, так что элемент щита опалубки, например, согласно варианту осуществления, показанному на фиг.9, может быть введен в этот проем. На виде сверху, показанном выше вида сбоку на фиг.11, переходник 14а щита опалубки представлен в сложенном положении и показан закрытой стороной, расположенной внизу на виде сбоку. Поэтому внутренний контур на виде сверху изображен пунктирными линиями. Переходник 14а щита опалубки внутри также содержит выемку, имеющую в данном случае по существу цилиндрическую форму. Три удерживающих ребра 14а3 выступают в радиальном направлении вовнутрь выемки от внутренней стенки выемки. Между удерживающими ребрами 14а3 и внутренней нижней поверхностью выемки в переходнике 14а щита опалубки образовано поднутрение, соответственно, которое может быть приведено в положение соединения с геометрическим замыканием с секцией элемента 132 щита опалубки. Три удерживающих ребра 14а3 расположены на внутренней окружности переходника 14а щита опалубки через равные промежутки в окружном направлении. На виде сверху три удерживающих ребра 14а3 относительно центра переходника 14а щита опалубки ориентированы под углом 120° по отношению друг к другу соответственно. Три ребра 1321а элемента 132 щита опалубки, показанного на фиг.9, могут быть вдвинуты в выемку в переходнике 14а щита опалубки между тремя удерживающими ребрами 14а3. При последующем повороте элемента 132 щита опалубки относительно переходника 14а щита опалубки между переходником 14а щита опалубки и элементом 132 щита опалубки может быть установлено соединение с геометрическим замыканием, аналогичное байонетному замку. Благодаря повороту ребер 1321а ниже удерживающих ребер 14а3 элемент 132 щита опалубки фиксируется в переходнике 14а щита опалубки в направлении, перпендикулярном монтажной стороне 122. Это поворотное перемещение для монтажа и демонтажа элемента 132 щита опалубки может быть легко выполнено вручную, так что элемент 132 щита опалубки может быть легко заменен. Вместо запрессовки в щите 12 опалубки переходник 14а щита опалубки, показанный на фиг.11, также можно закрепить с помощью соединительных элементов, например, винтов.
На фиг.12 показан вид сверху одного варианта осуществления щита 12 опалубки, содержащего множество переходников 14а щита опалубки. На фиг.12 щит опалубки представлен на виде сверху его монтажной стороны 122. С левой стороны показан весь щит 12 опалубки, с правой стороны представлен подробный вид части, отмеченной кругом с левой стороны. Как показано на общем виде слева, различные переходники 14а щита опалубки встроены в левый верхний край. В оставшейся части щита 12 опалубки видно множество уже подготовленных выемок А. Сначала будут описаны установленные переходники 14а щита опалубки со ссылкой на подробный вид, показанный справа. На краях щита 12 опалубки, непосредственно вблизи краев расположены два переходника 14а щита опалубки согласно варианту осуществления, показанному на фиг.8. Эти переходники 14а щита опалубки вставляют в щит 12 опалубки с края и в показанном положении фиксируют с помощью соединения с геометрическим замыканием со щитом 12 опалубки в направлении, перпендикулярном монтажной стороне 122. В эти переходники 14а щита опалубки, расположенные на краю, элементы 132 щита опалубки могут быть вставлены и снова извлечены просто путем выполнения скользящего перемещения. Например, элементы 132 щита опалубки согласно варианту осуществления, показанному на фиг.9, могут быть вставлены в эти переходники 14а щита опалубки. На расстоянии от края щита 12 опалубки виден еще один переходник 14а щита опалубки, который расположен не непосредственно рядом с краем. Этот переходник 14а щита опалубки, расположенный на расстоянии от края, выполнен, как показано на фиг.11, и соединен со щитом 12 опалубки путем создания соединения с прессовой посадкой. Элемент 132 щита опалубки может быть вставлен в переходник 14а щита опалубки на расстоянии от края в направлении, перпендикулярном монтажной стороне 122, и соединен с геометрическим замыканием с переходником 14а щита опалубки поворотным перемещением вокруг оси, перпендикулярной монтажной стороне 122. Количество и распределение переходников 14а щита опалубки, показанных на фиг.12, указаны для примера. Кроме того, может быть обеспечено различное количество переходников 14а щита опалубки и может быть различным распределение переходников 14а щита опалубки по щиту опалубки. Например, множество переходников 14а щита опалубки согласно фиг.11 могут быть обеспечены в соединении с прессовой посадкой на расстоянии от края. В качестве альтернативы или дополнительно переходники 14а щита опалубки согласно варианту осуществления, показанному на фиг.8, также могут быть соединены с геометрическим замыканием со щитом 12 опалубки на расстоянии от края. Для такого соединения в щите 12 опалубки требуется часть для вставки, которая прежде всего позволяет создать выемку с поднутрением в щите 12 опалубки, а затем выполнить вставку с геометрическим замыканием переходника 14а щита опалубки в щит 12 опалубки. И наконец, также возможно, чтобы переходники 14а щита опалубки согласно как варианту осуществления, показанному на фиг.8, так и варианту осуществления, показанному на фиг.11, располагались на расстоянии от края щита опалубки. И наконец, переходники 14а щита опалубки согласно варианту осуществления, показанному на фиг.11, также могут быть соединены со щитом 12 опалубки путем создания соединения с прессовой посадкой непосредственно рядом с краем щита 12 опалубки. На общем виде слева на фиг.12 показано положение, которое имеет место при установке переходников 14а щита опалубки в щит 12 опалубки. В левом верхнем углу переходники 14а щита опалубки уже соединены со щитом опалубки, а в оставшейся части щита 12 опалубки подготовленные выемки А еще не оснащены. Переходники 14а щита опалубки могут быть вставлены во все подготовленные выемки А. Кроме того, переходники 14а щита опалубки также можно разместить только в части подготовленных выемок А. И наконец, в других положениях могут быть добавлены и снабжены переходниками 14а щита опалубки дополнительные выемки А. Предпочтительно переходники 14а щита опалубки и их соединение со щитом 12 опалубки выполнены таким образом, чтобы они оставались соединенными со щитом 12 опалубки на протяжении всего срока ее эксплуатации. При применении соединителя 13 согласно настоящему изобретению значительному износу во время замены и реконструкции опалубки подвержен только очень легко заменяемый элемент 132 щита опалубки.
На фиг.13 показан схематический вид в перспективе еще одного варианта осуществления элемента 131 несущей конструкции и элемента 132 щита опалубки. На фиг.13 изображен дополнительный вариант реализации соединителя 13. Элемент 131 несущей конструкции и элемент 132 щита опалубки показаны в неустановленном положении. С правой стороны показан элемент 132 щита опалубки, который содержит стержня 1321, расположенный внизу, и соединительную головку 1322, обращенную вверх. Стержень 1321 соответствует части 1323 для крепления к щиту опалубки, поскольку соединение элемента 132 щита опалубки со щитом 12 опалубки осуществляют с помощью переходника 14а щита опалубки и стержня 1321 в качестве сопрягающих элементов. В данном случае соединительная головка 1322 имеет четыре изгибающиеся части 13221, которые равномерно распределены вокруг центральной оси элемента 132 щита опалубки. Четыре изгибающихся части 13221 окружают выемку 13222 для изгиба. Аналогично варианту осуществления, описанному по фиг.3, изгибающиеся части 13221 упруго деформируются, когда элемент 132 щита опалубки соединен с элементом 131 несущей конструкции. В отличие от вариантов осуществления элемента щита опалубки, показанных на фиг.3, фиг.9 и фиг.10, изгибающиеся части 13221 в варианте осуществления, показанном на фиг.13, упруго изогнуты наружу от центральной оси элемента 132 щита опалубки и в сторону от выемки 13222 для изгиба. В показанном варианте осуществления стержень 1321 выполнен в виде закрытого круглого диска. Наружная периферийная часть этого круглого диска может быть вставлена, например, в переходник 14а щита опалубки согласно варианту осуществления, показанному на фиг.8. Благодаря созданному соединению с геометрическим замыканием элемент 132 щита опалубки может быть простым способом соединен со щитом 12 опалубки с помощью такого переходника 14а щита опалубки. Таким образом, в этом варианте осуществления также предусмотрена удобная возможность замены элемента 132 щита опалубки. Элемент 131 несущей конструкции, показанный слева, выполнен с возможностью прямого соединения с несущей конструкцией 11 опалубки, т.е. предпочтительно без промежуточного переходника 14b несущей конструкции. В центре элемента 131 несущей конструкции расположена часть 1316 для захвата, выступающая за пределы соседних частей. Эта часть 1316 для захвата охватывается изгибающимися частями 13221, когда создано соединение с элементом 132 щита опалубки. Во время создания такого соединения часть 1316 для захвата входит в выемку 13222 для изгиба между изгибающимися частями 13221. Если предположить, что базовая формы является цилиндрической, часть 1316 для захвата снабжена выступом 1316а, расположенным в данном случае приблизительно в центре ее высоты. На виде в поперечном разрезе по центральной оси элемента 131 несущей конструкции, как показано на фиг.14, выступ 1316а выступает к центральной оси элемента 131 несущей конструкции в радиальном направлении. Таким образом, поднутрение, которое может быть использовано для создания соединения с геометрическим замыканием с концами изгибающихся частей 13221 элемента 132 щита опалубки, обращенными вовнутрь, выходит ниже части выступа 1316а, наиболее выступающей в радиальном направлении к центральной оси. Для облегчения обеспечения соединения наклон 13221b для вставки, ориентированный по направлению к центральной оси, и выемка 13222 для изгиба образованы со стороны изгибающихся частей 13221, обращенной в сторону от стержня 1321. Когда соединение с элементом 131 несущей конструкции обеспечено, этот наклон 13221b для вставки перемещается над концом части 1316 для захвата, обращенным вверх на иллюстрации, и направляет выемку 13222 для изгиба к части 1316 для захвата в ходе оставшегося перемещения вперед. В ходе продвижения элемента 132 щита опалубки и элемента 131 несущей конструкции в направлении, параллельном центральным осям указанных двух элементов, изгибающиеся части 13221 выталкиваются в радиальном направлении наружу и направляются, таким образом, вокруг части 1316 для захвата и выступа 1316а наклоном 13221b для вставки. В соединенном положении элемента 132 щита опалубки и элемента 131 несущей конструкции концевые части изгибающихся частей 13221, обращенные в сторону от стержня 1321, охватывают выступ 1316а на наружной поверхности части 1316 для захвата и взаимодействуют с поднутрением, расположенным ниже выступа 1316а. Таким образом, элемент 132 щита опалубки и элемент 131 несущей конструкции соединены друг с другом как с помощью соединения с геометрическим замыканием, так и с помощью соединения с натягом между изгибающимися частями 13221 и частью 1316 для захвата.
Вокруг части 1316 для захвата расположено пространство 1317 для изгибающейся части. В данном случае это пространство 1317 для изгибающейся части выполнено в виде кольцевого канала, который проходит вокруг части 1316 для захвата и полностью окружает ее. Пространство 1317 для изгибающейся части вмещает радиальные изгибающиеся части 13221, изогнутые в радиальном направлении наружу, когда соединитель 13 присоединен.
Снаружи пространство 1317 для изгибающейся части ограничено направляющей частью 1318. Эта направляющая часть 1318 имеет кольцеобразную конфигурацию и окружает часть 1316 для захвата в окружном направлении. Высота направляющей части 1318 в данном случае по существу соответствует трем четвертям высоты части 1316 для захвата. Направляющая часть 1318 выполнена с возможностью направления элемента 131 несущей конструкции во время установки в опорную панель 112 или, наоборот, для направления опорной панели 112 относительно закрепленного элемента 131 несущей конструкции. Эта функция лучше видна на фиг.14. И наконец, элемент 131 несущей конструкции имеет нижнюю часть 1320, соединяющую элемент 1316 для захвата с направляющим элементом 1318. Нижняя часть 1320 выполнена в виде круглого диска и имеет плоские поверхности, как показано на иллюстрации, на верхней и нижней сторонах.
В центре элемента 131 несущей конструкции расположена часть 1319 для крепления, концентричная по отношению к части 1316 для захвата. Эта часть для крепления выполнена с возможностью обеспечения закрепления элемента 131 несущей конструкции на раме 111 или на опорной панели 112 несущей конструкции 11 опалубки. В данном случае часть 1319 для крепления содержит цилиндрическую выемку 1319а, проходящую вдоль центральной оси элемента 131 несущей конструкции. Через эту выемку 1319а может проходить, например, соединительный элемент, такой как винт. Коническое гнездо 1319b, выполненное с возможностью приема головки соединительного элемента, например, головки винта, расположено рядом с обращенной вверх стороной выемки 1319а. В этом варианте осуществления винт с потайной головкой, с помощью которого элемент 131 несущей конструкции затем привинчивают к несущей конструкции 11 опалубки, может быть вставлен в часть 1319 для крепления. Благодаря применению гнезда 1319b головка винта полностью заглублена в элемент 131 несущей конструкции и, следовательно, защищена. В качестве альтернативы также можно не образовывать выемку в части 1319 для крепления, а встроить крепежный элемент, выступающий вниз за элемент 131 несущей конструкции, в элемент 131 несущей конструкции. Например, это может быть реализовано путем отливки винта или аналогичного крепежного элемента в элементе 131 несущей конструкции в виде формованной пластмассовой части во время изготовления элемента 131 несущей конструкции. В проиллюстрированном варианте осуществления, если смотреть изнутри наружу на виде сверху, часть 1319 для крепления, часть 1316 для захвата, пространство 1317 для изгибающейся части и направляющая часть 1318 имеют кольцеобразную конфигурацию и расположены концентрично друг другу.
В этом варианте осуществления соединителя 13 элемент 131 несущей конструкции, расположенный на несущей конструкции 11 опалубки, не имеет полости малого объема. Исходя из опыта, следует отметить, что риск загрязнения на строительной площадке выше со стороны несущей конструкции 11 опалубки, чем с монтажной стороны 122 щита опалубки. По этой причине предпочтительно, чтобы сторона несущей конструкции, которая подвержена большему риску загрязнения, не содержала полости, имеющей небольшой объем, которая могла бы заполниться загрязняющими веществами и, таким образом, непреднамеренно закрыться. Таким образом, вариант осуществления элемента 131 несущей конструкции, показанный на фиг.13, менее восприимчив к загрязнению, или потенциально возможные загрязнения могут быть полностью удалены из пространства 1317 изгибающейся части большого объема простым способом благодаря его конструкции. Это повышает надежность соединителя 13.
На фиг.14 показан схематичный вид сбоку с частичным разрезом варианта осуществления соединителя 13. На фиг.14 соединитель 13 согласно варианту осуществления, показанному на фиг.13, показан в установленном и закрытом положении. В нижней части иллюстрации виден щит 12 опалубки, в который вставлен с геометрическим замыканием переходник 14а щита опалубки согласно варианту осуществления, показанному на фиг.8. В переходник 14а щита опалубки вставлен и зафиксирован с геометрическим замыканием в направлении, перпендикулярном поверхности щита 12 опалубки, элемент 132 щита опалубки согласно варианту осуществления, показанному на фиг.13. Щит 12 опалубки упирается в несущую конструкцию 11 опалубки, которая в данном случае показана только частично. Несущая конструкция 11 опалубки содержит раму 111, показанную на иллюстрации сверху, к которой прикреплена опорная панель 112. Возможное взаимодействие рамы 111 и опорной панели 112 показано на фиг.2. В показанном варианте опорная панель 112 воспринимает значительную часть усилий, оказываемых бетоном на щит 12 опалубки, а с него передаваемых на несущую конструкцию 11 опалубки. Таким образом, опорная панель 112 расположена в направлении передачи усилий между щитом 12 опалубки и рамой 111. Наличие такой опорной панели 112 предпочтительно тем, что сам щит 12 опалубки может быть менее стойким к изгибу, по сравнению со случаем, когда опорная панель 112 не применяется. Таким образом, щит 12 опалубки может быть более тонким и, следовательно, более легким и экономически выгодным. Например, опорная панель 112 может быть образована из двух металлических листов, расположенных параллельно друг другу, между которыми расположен гофрированный металлический лист для увеличения сопротивления изгибу. Альтернативно, опорная панель 112 также может представлять собой массивную металлическую пластину, фанерную панель или другую панель. В показанном варианте осуществления элемент 131 несущей конструкции расположен и закреплен внутри опорной панели 112. В показанном закрытом положении соединителя 13 изгибающиеся части 13221 охватывают часть 1316 для захвата. В данном случае концы изгибающихся частей 13221, обращенные вверх на иллюстрации, взаимодействуют с поднутрением, расположенным между выступом 1316а и нижней частью 1320. Таким образом, создано соединение с геометрическим замыканием, фиксирующее элемент 132 щита опалубки относительно элемента 131 несущей конструкции в направлении, перпендикулярном поверхности щита 12 опалубки. Соединитель 13 согласно показанному варианту осуществления можно отсоединить, только приложив нормальное усилие, направленное от несущей конструкции 11 опалубки к щиту 12 опалубки. На внутренней в радиальном направлении стороне изгибающихся частей 13221 расположены поверхности 13221с для отсоединения, соответственно, которые наклонены относительно центральной оси элемента 132 щита опалубки в соединенном положении. В проиллюстрированном соединенном положении эти поверхности 13221с для отсоединения, соответственно, упираются в боковую поверхность 1316b, которая также наклонена и расположена на наружной окружности части 1316 для захвата в области поднутрения. Боковая поверхность 1316b расположена между выступом 1316а и нижней частью 1320. При приложении нормального усилия к элементу 132 щита опалубки усилие, направленное в радиальном направлении наружу, которое вызывает упругую деформацию изгибающегося элемента 13221 наружу, создается упором поверхности 13221с для отсоединения относительно боковой поверхности 1316b таким образом, что соединение с геометрическим замыканием с частью 1316 для захвата высвобождается. Таким образом, элемент 132 щита опалубки может быть вытянут из элемента 131 несущей конструкции. Это соединение является также полностью разъемным и может быть многократно обеспечено и высвобождено. В центре элемента 131 несущей конструкции расположена часть 1319 для крепления, в которую в данном случае вставлен крепежный элемент в виде винта S. Головку винта S в данном случае вставляют в гнездо 1319b, стержень винта S проходит в выемку 1319а. Винт S пропускают через отверстие в опорной панели 112 и ввинчивают во внутреннюю резьбу в раме 111. Таким образом, опорную панель 112 вместе с элементом 131 несущей конструкции соединяют с рамой 111 с помощью винта S. В данном случае элемент 131 несущей конструкции обеспечивает эффект, аналогичный эффекту шайбы, большой плоской поверхности нижней части 1320, обращенной в сторону от элемента 132 щита опалубки, служащей опорной поверхностью на опорной панели 112. За счет такой большой опорной поверхности в результате соединения опорная панель 112 воспринимает лишь небольшие напряжения, в результате чего обеспечивается исключительно стабильное соединение в течение долгого времени. Как хорошо видно, в опорной панели 112 образована выемка с наклонными стенками, вмещающая элемент 131 несущей конструкции. Например, эта выемка может быть образована тиснением, так что выемка одновременно представляет собой гофр. В качестве альтернативы выемка также может быть образована путем фрезерования в опорной панели 112. При установке элемента 131 несущей конструкции в опорную панель 112 направляющая часть 1318, расположенная снаружи элемента 131 несущей конструкции, выполняет функцию опорной поверхности на внутренних стенках выемки в опорной панели 112. Таким образом, элемент 131 несущей конструкции может быть легко вставлен в опорную панель 112 и закреплен на раме 111 с помощью винта S. Таким образом, в показанном варианте осуществления элемент 131 несущей конструкции выполняет двойную функцию: с одной стороны, он представляет собой функциональную сопряженную часть для элемента 132 щита опалубки, в результате чего образуется обратимо разъемный соединитель 13. С другой стороны, элемент 131 несущей конструкции одновременно выполняет функцию опорного крепежного элемента для закрепления опорной панели 112 на раме 111 несущей конструкции 11 опалубки. Благодаря такому сочетанию функций можно значительно сократить количество компонентов, а также время монтажа несущей конструкции 11 опалубки, при этом гарантируется отличное соединение элементов друг с другом. В показанном варианте осуществления элемент 131 несущей конструкции содержит выступающую часть 1316 для захвата, входящую в выемку 13222 для изгиба элемента 132 щита опалубки. В качестве альтернативы эта конструкция также может быть выполнена с точностью до наоборот. Таким образом, элемент 131 несущей конструкции, выполняющий двойную функцию, также служащий опорным крепежным элементом для опорной панели 112, также может иметь жесткую полость, а связанный с ним элемент 132 щита опалубки может содержать соединительную головку 1322, которая упруго деформируется вовнутрь, когда соединение создано. Таким образом, вариант осуществления по фиг.14 также может быть объединен с принципом соединения, показанным, например, на фиг.3. В таком варианте осуществления, включающем разъемную конструкцию или функцию деформации элемента 131 несущей конструкции, а также элемента 132 щита опалубки, может быть обеспечена нижняя часть 1320 с частью 1319 для крепления, расположенной концентрично ей, для реализации функции, аналогичной шайбе, описанной выше в этом варианте осуществления.
На фиг.15 представлен вид сбоку в разрезе альтернативного модуля 1 опалубки, включающего в себя инструмент 16 для отсоединения, который взаимодействует с элементом 132 щита опалубки. Иллюстрация на фиг.15 относится к альтернативному варианту осуществления модуля 1 опалубки, не соответствующего настоящему изобретению. Альтернативный модуль 1 опалубки также содержит щит 12 опалубки, который показан в разрезе в нижней части иллюстрации. Кроме того, модуль 1 опалубки содержит несущую конструкцию 11 опалубки, которая в данном случае показана только частично. На фиг.15 видна только часть рамы 111 несущей конструкции 11 опалубки. В данном случае соединитель 13 представляет собой комбинацию из элемента 132 щита опалубки, соединенного со щитом опалубки посредством переходника 14а щита опалубки, и элемента 131 несущей конструкции, образованного выемкой в несущей конструкции 11 опалубки, в частности, в данном случае в раме 111 несущей конструкции 111 опалубки. В качестве альтернативы соединитель 13 в данном случае также может быть образован исключительно элементом 132 щита опалубки, а выемку в несущей конструкции 11 опалубки можно рассматривать как часть или компонент несущей конструкции 11 опалубки. В отличие от вариантов осуществления, проиллюстрированных и описанных выше, в варианте осуществления, показанном на фиг.15, соединитель 13 или щит 12 опалубки и несущая конструкция 11 опалубки не могут быть отсоединены путем только приложения тянущего усилия в направлении, перпендикулярном поверхности щита 12 опалубки. Для отсоединения соединителя 13 требуется, чтобы инструмент 16 для отсоединения был приведен во взаимодействие с элементом 132 щита опалубки для его частичной упругой деформации. На фиг.15 тот же вариант осуществления элемента 132 щита опалубки, что и на фиг.10, показан в разрезанном виде в нижней части. Что касается щита 12 опалубки, переходника 14а щита опалубки и элемента 132 щита опалубки, таким образом, делается ссылка на описание, относящееся к фиг.10. В положении, показанном на фиг.15, соединительная головка 1322 вставлена в выемку в раме 111 и создано соединение с геометрическим замыканием между изгибающимися частями 13221 и выемкой в раме 111. На противоположной стороне рамы 11 имеется еще одна выемка, через которую в данном случае вставляют инструмент 16 для отсоединения. Этот инструмент 16 для отсоединения содержит во внутренней части выемку, имеющую цилиндрическое поперечное сечение. В проиллюстрированном варианте осуществления инструмент 16 для отсоединения образован секцией цилиндрической трубы. Конец инструмента 16 для отсоединения, направленный вниз на иллюстрации, частично проходит выше соединительной головки 1322. Периферийная часть цилиндрической выемки в инструменте 16 для отсоединения упирается, соответственно, в одну поверхность 13221а взаимодействия с инструментом каждой изгибающейся части 13221. В показанном варианте осуществления поверхность 13221а взаимодействия с инструментом идентична поверхности 132211 для вставки. В данном случае поверхность 13221а взаимодействия с инструментом наклонена к центральной оси элемента 132 щита опалубки и инструмента 16 для отсоединения. Когда, начиная с положения, показанного на фиг.15, к инструменту 16 для отсоединения прикладывают усилие в направлении стрелки, направленной на иллюстрации вниз, на каждой изгибающейся части 13221 за счет взаимодействия нижнего края инструмента 16 для отсоединения с опорными поверхностями 13221а инструмента создается усилие, направленное в радиальном направлении вовнутрь относительно центральной оси элемента 132 щита опалубки. Эти усилия показаны двумя стрелками, направленными к центральной оси. Изгибающиеся части 13221 упруго изгибаются вовнутрь под действием этих усилий, действующих в радиальном направлении, в результате чего высвобождается соединение с геометрическим замыканием между соединительной головкой 1322 и выемкой в раме 111. При последующем перемещении инструмента 16 для отсоединения в направлении вниз, как показано на иллюстрации, элемент 132 щита опалубки выталкивается из держателя 11 опалубки, не повреждаясь при этом. После извлечения инструмента 16 для отсоединения изгибающиеся части 13221 упруго возвращаются к форме, показанной на фиг.15. Таким образом, и в этом варианте осуществления соединитель 13 или элемент 132 щита опалубки можно разъемно отсоединить от несущей конструкции 11 опалубки и, следовательно, использовать многократно. Если элемент 132 щита опалубки изношен после многократного использования, его можно заменить в переходнике 14а щита опалубки простым способом, как описано в отношении других вариантов осуществления. В проиллюстрированном варианте осуществления операции, проводимые с инструментом 16 для отсоединения очень просты в реализации, поскольку его просто вставляют в выемку со стороны несущей конструкции 11 опалубки, обращенной в сторону от щита 12 опалубки, а затем могут приложить усилие в направлении щита 12 опалубки. Например, это усилие может быть приложено ударом молотка по торцу инструмента 16 для отсоединения, выступающему из несущей конструкции 11 опалубки. Таким образом, щит 12 опалубки можно быстро снять с несущей конструкции 11 опалубки и при необходимости заменить.
| название | год | авторы | номер документа |
|---|---|---|---|
| БОКОВОЕ ОГРАЖДЕНИЕ, СИСТЕМА ОПАЛУБКИ ПЕРЕКРЫТИЯ, ИМЕЮЩАЯ ПО МЕНЬШЕЙ МЕРЕ ОДНО ТАКОЕ БОКОВОЕ ОГРАЖДЕНИЕ, И СПОСОБ УСТАНОВКИ ТАКОГО БОКОВОГО ОГРАЖДЕНИЯ | 2017 |
|
RU2734199C2 |
| СБОРНАЯ ОПАЛУБКА | 1990 |
|
RU2032802C1 |
| ОПАЛУБКА ДЛЯ НЕСУЩИХ КОЛОНН | 2024 |
|
RU2841113C1 |
| СИСТЕМА ЩИТОВОЙ ОПАЛУБКИ ПЕРЕКРЫТИЙ БОЛЬШОЙ ПЛОЩАДИ | 2019 |
|
RU2803440C2 |
| УСТРОЙСТВО ДЛЯ СОЕДИНЕНИЯ ПЛОСКОЙ ЩЕТКИ СТЕКЛООЧИСТИТЕЛЯ С РЫЧАГАМИ СТЕКЛООЧИСТИТЕЛЯ | 2009 |
|
RU2416536C1 |
| СИСТЕМА ОПАЛУБКИ ДЛЯ БЕТОННЫХ ПЛИТ | 2003 |
|
RU2329364C2 |
| Туннельная опалубка | 1991 |
|
SU1813155A3 |
| СТЕКЛООЧИСТИТЕЛЬ | 2012 |
|
RU2639833C2 |
| СОЕДИНИТЕЛЬ И УСТРОЙСТВО С ВРЕЗНЫМИ КОНТАКТАМИ ДЛЯ ТЕЛЕКОММУНИКАЦИОННОЙ И ИНФОРМАЦИОННОЙ ТЕХНИКИ | 2006 |
|
RU2391752C2 |
| Преднапряженная опалубка | 1989 |
|
SU1728431A1 |
Настоящее изобретение относится к модулю опалубки для опалубки части здания, содержащему по меньшей мере одну несущую конструкцию опалубки и по меньшей мере один щит опалубки. Соединитель расположен между несущей конструкцией опалубки и щитом опалубки. Элемент несущей конструкции и элемент щита опалубки выполнены с возможностью разъемного соединения друг с другом и образуют соединитель, посредством которого обеспечена возможность разъемного соединения щита опалубки с несущей конструкцией опалубки. Элемент щита опалубки включает в себя часть для крепления к щиту опалубки. Соединение между элементом щита опалубки и щитом опалубки выполнено разъемным. Между элементом щита опалубки и щитом опалубки расположен переходник. Переходник щита опалубки остается на щите опалубки при замене элемента щита опалубки или в нем. Щит опалубки имеет бетонную сторону, обращенную к возводимой части здания при использовании модуля опалубки, и монтажную сторону, расположенную напротив бетонной стороны и обращенную к несущей конструкции опалубки. Элемент щита опалубки и переходник щита опалубки расположены на монтажной стороне или в ней. Переходник щита опалубки выполнен с возможностью вставки в щит опалубки на монтажной стороне щита опалубки путем выполнения перемещения параллельно монтажной стороне щита опалубки, а в положении вставки в щит опалубки между щитом опалубки и переходником щита опалубки существует соединение с геометрическим замыканием в направлении, перпендикулярном монтажной стороне. Технический результат – упрощение соединения щита и несущей конструкции опалубки, возможность их многократного использования. 3 н. и 11 з.п. ф-лы, 15 ил.
1. Модуль (1) опалубки для опалубки для части здания, содержащий
- по меньшей мере одну несущую конструкцию (11) опалубки,
- и по меньшей мере один щит (12) опалубки,
причем между несущей конструкцией (11) опалубки и щитом (12) опалубки расположен по меньшей мере один соединитель (13), и соединитель (13) содержит по меньшей мере один элемент (131) несущей конструкции, закрепленный на несущей конструкции (11) опалубки или в ней, и по меньшей мере один элемент (132) щита опалубки, закрепленный в щите (12) опалубки или на нем;
и элемент (131) несущей конструкции и элемент (132) щита опалубки выполнены с возможностью разъемного соединения друг с другом и образуют соединитель (13), посредством которого обеспечена возможность разъемного соединения щита (12) опалубки с несущей конструкцией (11) опалубки,
при этом разъемное соединение между элементом (131) несущей конструкции и элементом (132) щита опалубки выполнено с возможностью разъединения путем приложения усилия в нормальном направлении к щиту (12) опалубки, направленного в сторону от несущей конструкции (11) опалубки и превышающего пороговое усилие отсоединения, и выполнено с возможностью соединения путем приложения в нормальном направлении к щиту (12) опалубки усилия, направленного к несущей конструкции (11) опалубки и превышающего пороговое усилие соединения,
отличающийся тем, что
элемент (132) щита опалубки включает в себя часть (1323) для крепления к щиту опалубки, которая соединена со щитом (12) опалубки, и соединение между элементом (132) щита опалубки и щитом (12) опалубки выполнено разъемным,
причем переходник (14а) щита опалубки расположен между элементом (132) щита опалубки и щитом (12) опалубки,
при этом переходник (14а) щита опалубки является компонентом, облегчающим отсоединение элемента (132) щита опалубки от щита (12) опалубки или присоединение к щиту (12) опалубки, и
переходник (14а) щита опалубки остается на щите (12) опалубки при замене элемента (132) щита опалубки или в нем,
при этом переходник (14а) щита опалубки соединен с геометрическим замыканием со щитом (12) опалубки, а щит (12) опалубки имеет бетонную сторону, обращенную к возводимой части здания при использовании модуля опалубки, и монтажную сторону (122), расположенную напротив бетонной стороны и обращенную к несущей конструкции опалубки, причем
элемент (132) щита опалубки и переходник (14а) щита опалубки расположены на монтажной стороне (122) или в ней,
при этом переходник (14а) щита опалубки выполнен с возможностью вставки в щит (12) опалубки на монтажной стороне (122) щита опалубки путем выполнения перемещения параллельно монтажной стороне (122) щита (12) опалубки, а в положении вставки в щит (12) опалубки между щитом (12) опалубки и переходником (14а) щита опалубки существует соединение с геометрическим замыканием в направлении, перпендикулярном монтажной стороне (122).
2. Модуль (1) опалубки по п. 1, отличающийся тем, что на монтажной стороне (122) щита опалубки (12) расположено множество элементов (132) щита опалубки, а со стороны несущей конструкции (11) опалубки, обращенной к щиту (12) опалубки, расположено множество элементов (131) несущей конструкции, и таким образом обеспечено множество соединителей (13),
причем соединители (13) неравномерно распределены по щиту (12) опалубки и несущей конструкции (11) опалубки,
при этом большее количество соединителей (13) на единицу площади поверхности расположено в периферийной части и/или на краях, чем в центральной части щита (12) опалубки и несущей конструкции (11) опалубки, и/или при этом
соединители (13) имеют разные пороговые усилия отсоединения, и соединители (13а), имеющие более высокие пороговые усилия отсоединения, расположены в периферийной части и/или на краях, а соединители (13b), имеющие более низкие пороговые усилия отсоединения, расположены в центральной области щита (12) опалубки и несущей конструкции (11) опалубки.
3. Модуль (1) опалубки по одному из предшествующих пунктов, отличающийся тем, что элемент (131) несущей конструкции образован секцией несущей конструкции (11) опалубки, при этом элемент (131) несущей конструкции образован выемкой в несущей конструкции (11) опалубки.
4. Модуль (1) опалубки по одному из предшествующих пунктов, отличающийся тем, что щит (12) опалубки, на виде сбоку с направления, перпендикулярного монтажной стороне (122), имеет выемку с поднутрением, а переходник (14а) щита опалубки вставлен в эту выемку,
при этом секция переходника (14а) щита опалубки расположена в поднутрении выемки и, таким образом, обеспечивается соединение с геометрическим замыканием между щитом (12) опалубки и переходником (14а) щита опалубки в направлении, перпендикулярном монтажной стороне (122).
5. Модуль (1) опалубки по одному из предшествующих пунктов, отличающийся тем, что переходник (14а) щита опалубки имеет выемку с поднутрением, выполненным с возможностью разъемной вставки в него элемента (132) щита опалубки,
при этом указанное разъемное соединение элемента (132) щита опалубки и переходника (14а) щита опалубки по меньшей мере частично образовано соединением с геометрическим замыканием секции элемента (132) щита опалубки с поднутрением выемки в переходнике (14а) щита опалубки, и
соединение с геометрическим замыканием между элементом (132) щита опалубки и переходником (14а) щита опалубки создается и разъединяется путем линейного перемещения элемента (132) щита опалубки относительно переходника (14а) щита опалубки в направлении, параллельном монтажной стороне (122), или
соединение с геометрическим замыканием между элементом (132) щита опалубки и переходником (14а) щита опалубки создается и разъединяется путем поворотного перемещения элемента (132) щита опалубки относительно переходника (14а) щита опалубки вокруг оси поворота, которая ориентирована перпендикулярно монтажной стороне (122).
6. Модуль (1) опалубки по одному из предшествующих пунктов, отличающийся тем, что элемент (132) щита опалубки включает в себя стержень (1321) и соединительную головку (1322),
при этом элемент (132) щита опалубки соединен со щитом (12) опалубки на одном конце стержня (1321), а соединительная головка (1322) соединена с концом стержня (1321), расположенным напротив щита (12) опалубки, и соединительная головка (1322) имеет по меньшей мере одну изгибающуюся часть (13221), выполненную с возможностью упругой деформации относительно стержня (1321).
7. Модуль (1) опалубки по п. 6, отличающийся тем, что изгибающаяся часть (13221) имеет по меньшей мере одну поверхность (132211) для вставки и по меньшей мере одну поверхность (132212) для отсоединения,
при этом, когда элемент (122) щита опалубки соединен с элементом (131) несущей конструкции, поверхность (132211) для вставки по меньшей мере частично упирается в элемент (131) несущей конструкции, а при разъединении соединения элемента (132) щита опалубки с элементом (131) несущей конструкции поверхность (132212) для отсоединения по меньшей мере частично упирается в элемент (131) несущей конструкции,
причем поверхность (132211) для вставки и поверхность (132212) для отсоединения расположены под углом к центральной оси стержня (1321).
8. Модуль (1) опалубки по одному из пп. 6 или 7, отличающийся тем, что элемент (131) несущей конструкции выполнен жестким и имеет полость (1311), соответствующую форме и размеру соединительной головки (1322), и элемент (131) несущей конструкции имеет выемку (1312) для вставки, соединяющую наружную поверхность элемента (131) несущей конструкции с полостью (1311),
причем внутренний диаметр выемки (1312) для вставки меньше, чем наибольший внутренний диаметр полости (1311), и/или выемка (1312) для вставки имеет по меньшей мере одну поверхность (13121) для вставки втулки со стороны, обращенной к наружной поверхности элемента (131) несущей конструкции, и по меньшей мере одну поверхность (13122) для отсоединения втулки с ее стороны, обращенной к полости (1311),
при этом поверхность (13121) для вставки втулки и поверхность (13122) для отсоединения втулки расположены под углом к центральной оси выемки (1312) для вставки.
9. Модуль (1) опалубки по одному из пп. 6 или 7, отличающийся тем, что элемент (131) несущей конструкции выполнен жестким и имеет часть (1316) для захвата, которая соответствует форме и размеру выемки (13222) для изгиба в соединительной головке (1322), примыкающей к изгибающейся части (13221),
при этом часть (1316) для захвата выступает за пределы примыкающих к ней секций элемента (131) несущей конструкции, и элемент (131) несущей конструкции имеет пространство (1317) для изгибающейся части, по меньшей мере частично закрывающее часть (1316) для захвата и примыкающее к части (1316) для захвата, и пространство (1317) для изгибающейся части по меньшей мере частично вмещает изгибающуюся часть (13221) элемента (132) щита опалубки во время присоединения соединителя (13), и элемент (131) несущей конструкции содержит нижнюю часть (1320), выполненную плоской по меньшей мере в секциях, которые ориентированы перпендикулярно центральной оси части (1316) для захвата, и нижняя часть (1320) упирается в опорную панель (112) или раму (111) несущей конструкции (11) опалубки плоским образом, и элемент (131) несущей конструкции имеет часть (1319) для крепления, по меньшей мере частично расположенную в части (1316) для захвата,
при этом часть (1319) для крепления выполнена для прикрепления элемента (131) несущей конструкции к раме (111) или к опорной панели (112),
причем часть (1319) для крепления содержит по меньшей мере одну выемку, полностью проходящую через элемент (131) несущей конструкции в направлении, перпендикулярном монтажной стороне (122).
10. Модуль (1) опалубки по п. 9, отличающийся тем, что элемент (131) несущей конструкции вставлен в выемку в опорной панели, при этом нижняя часть (1320) элемента (131) несущей конструкции плоско упирается в граничную поверхность выемки в опорной панели (112), и элемент (131) несущей конструкции вместе с опорной панелью (112) прикреплен к раме (111) несущей конструкции (11) опалубки с помощью крепежного элемента, и при этом крепежный элемент проходит через часть (1319) для крепления или является ее частью.
11. Модуль (1) опалубки по одному из пп. 9 или 10, отличающийся тем, что на виде сверху элемента (131) несущей конструкции с направления, перпендикулярного монтажной стороне (122), часть (1316) для захвата и пространство (1317) для изгибающейся части имеют круглую форму и расположены концентрично друг относительно друга, при этом часть (1319) для крепления расположена концентрично части (1316) для захвата и пространству (1317) для изгибающейся части.
12. Модуль (1) опалубки по одному из предшествующих пунктов, отличающийся тем, что несущая конструкция (11) опалубки содержит по меньшей мере одну опорную панель (112), соединенную с рамой (111),
при этом опорная панель (112) выполнена для соединения со щитом (12) опалубки, и по меньшей мере один элемент (131) несущей конструкции по меньшей мере одного соединителя (13) расположен на опорной панели (112) или в ней,
при этом опорная панель (112) выполнена с возможностью отсоединения от рамы (111) и, следовательно, выполнена с возможностью замены.
13. Применение соединителя (13) в модуле (1) опалубки по одному из предшествующих пунктов для разъемного соединения несущей конструкции (11) опалубки со щитом (12) опалубки.
14. Способ соединения щита (12) опалубки с несущей конструкцией (11) опалубки модуля (1) опалубки по одному из пп. 1-12, включающий следующие этапы:
а) позиционирование щита (12) опалубки относительно несущей конструкции (11) опалубки, при этом по меньшей мере один элемент (132) щита опалубки выравнивают в осевом направлении с указанным по меньшей мере одним элементом (131) несущей конструкции,
b) приложение к щиту (12) опалубки нормального усилия в направлении несущей конструкции (11) опалубки, при этом нормальное усилие превышает сумму порогового усилия соединения всех соединителей (13) между щитом (12) опалубки и несущей конструкцией (11) опалубки,
c) перемещение щита (12) опалубки по направлению к несущей конструкции (11) опалубки в нормальном направлении к щиту (12) опалубки до тех пор, пока не будет обеспечено плоское примыкание щита (12) опалубки к несущей конструкции (11) опалубки.
| JP 2004353196 A, 16.12.2004 | |||
| Способ концентрации разбавленных цинковых паров | 1932 |
|
SU34756A1 |
| KR 20090003824 A, 23.04.2009 | |||
| DE 102011016120 B4, 29.05.2013 | |||
| US 4150808 A1, 24.04.1979 | |||
| EP 3173546 B1, 13.03.2019 | |||
| DE 102018106221 A1, 19.09.2019 | |||
| Опалубка для возведения конструкций из монолитного железобетона | 1988 |
|
SU1622565A1 |
Авторы
Даты
2025-02-27—Публикация
2021-04-26—Подача