Изобретение относится к области электротехники, в частности к мобильным электрическим нагревательным устройствам, предназначенным для персонального обогрева.
Известна конструкция термоэлектрического коврика, описанная в патенте Российской Федерации №165413 на полезную модель «Термоэлектрический мат» по классу Н05В 3/36, заявленном 14.06.2016 и опубликованном 20.10.2016.
Указанный термоэлектрический коврик содержит послойно последовательно размещенные сверху вниз в наружном влагостойком покрытии теплоизолирующий элемент с отражающим покрытием, нагревательный элемент, соединенный с источником электрического тока, при этом термоэлектрический мат поделен на сегменты, соединенные между собой по линии сгиба, нагревательный элемент с резистивным слоем размещен на площади сегмента, каждый сегмент снабжен независимым источником электропитания, управляемым с помощью термовыключателя, при этом наружное покрытие выполнено из тентовой армированной ткани, нагревательный элемент выполнен в виде полотна из двух слоев плотной прозрачной пленки с герметично запаянным внутри резистивным слоем, выполненным графитовым напылением полосами, соединенными между собой медными пластинами с помощью серебряных контактов.
Недостатками описанного выше термоэлектрического коврика являются сложность и высокая стоимость, обусловленные тем, что для его работы необходимо устройство регулирования температуры и электрическая сеть напряжением 220 В.
Известна конструкция нагревательного устройства, описанная в патенте Российской Федерации №2709481 на изобретение «Электрическое обогревательное устройство» по классу Н05В 3/36, заявленном 11.12.2018 и опубликованном 18.12.2019.
Известное электрическое обогревательное устройство содержит резистивный нагревательный элемент, фиксированно размещенный между двумя слоями тканевой основы, при этом упомянутый резистивный нагревательный элемент расположен равноудаленно от боковых кромок слоев тканевой основы в виде двух симметрично расположенных относительно продольной оси меандров и выполнен в виде двух соединенных отдельно изолированных проводов, причем концы резистивного нагревательного элемента соединены с контроллером питания, который соединен с гибким кабелем USB коннектора электрического питания, который в свою очередь выведен за пределы электрического обогревательного устройства для получения питания. Резистивный нагревательный элемент пришит или приклеен к слоям тканевой основы, а каждый слой тканевой основы с внутренней стороны дополнительно оснащен армированной и покрытой защитной диэлектрической пленкой металлической фольгой, между которыми и располагается резистивный нагревательный элемент. Указанное обогревательное устройство может иметь внешний чехол прямоугольной формы из ПВХ непромокаемой ткани.
Недостатками описанного выше нагревательного устройства являются сложность и дороговизна, обусловленные тем, что для его работы необходимо устройство регулирования температуры.
Задачей заявляемого изобретения является упрощение термоэлектрического коврика и нагревательного устройства для него и снижение их стоимости.
Техническим результатом, позволяющим решить указанную задачу, является создание оптимальной конструкции термоэлектрического коврика и нагревательного устройства для него, обеспечивающих комфортный режим обогрева для человека.
Указанный результат достигается тем, что:
1. В термоэлектрическом коврике, содержащем теплоизолирующий элемент с отражающим покрытием, размещенный в наружном покрытии из непромокаемой ткани, и нагревательное устройство, соединенное с источником напряжения, при этом термоэлектрический коврик поделен линиями сгиба на сегменты, а нагревательное устройство размещено на площади сегмента, согласно изобретению, термоэлектрический коврик снабжен по меньшей мере одним нагревательным устройством, размещенным на отдельном сегменте и имеющим кабель с разъемом USB для питания от переносного аккумулятора, а к сегментам термоэлектрического коврика прикреплены пары эластичных лент для фиксации на них нагревательных устройств.
2. В термоэлектрическом коврике по п. 1, согласно изобретению, теплоизолирующий элемент с отражающим покрытием выполнен в виде двух слоев вспененного полиэтилена толщиной 10 мм с отражающим покрытием.
3. В термоэлектрическом коврике по п. 1, согласно изобретению, к крайнему сегменту коврика прикреплены две петли из эластичных лент для фиксации термоэлектрического коврика в сложенном состоянии.
4. В нагревательном устройстве термоэлектрического коврика, содержащем резистивный нагревательный элемент в виде меандра, фиксированно расположенного между слоями основы во внешнем чехле прямоугольной формы из непромокаемой ткани, согласно изобретению, нагревательное устройство снабжено теплоизолирующими слоями, расположенными между резистивным нагревательным элементом и внешним чехлом, а резистивный нагревательный элемент содержит два слоя гибкой термостойкой электроизоляционной пленки, между которыми фиксированно размещен плоский меандровой формы резистивный элемент из ленты токопроводящего материала или из нихромовой проволоки, снабженный выводами для подключения к источнику напряжения, при этом сопротивление резистивного элемента обеспечивает при подключении его к источнику напряжения 5 В протекание тока 1,1 А.
5. В нагревательном устройстве по п. 3, согласно изобретению, плоский меандровой формы резистивный элемент из ленты токопроводящего материала выполнен в виде четырех секций, состоящих из трех параллельных проводников и последовательно соединенных перемычками в меандр.
6. В нагревательном устройстве по п. 3, согласно изобретению, плоский меандровой формы резистивный элемент из нихромовой проволоки выполнен в виде меандра из трех параллельных проводников.
7. В нагревательном устройстве по п. 3, согласно изобретению, внешний чехол прямоугольной формы имеет размеры 30×35 см.
8. В нагревательном устройстве по п. 3, согласно изобретению, теплоизолирующие слои между резистивным нагревательным элементом и внешним чехлом выполнены в виде верхнего и нижнего слоев вспененного полиэтилена, верхний - толщиной 3 мм, нижний - в виде двух слоев вспененного полиэтилена толщиной 10 мм с отражающим покрытием.
Снабжение термоэлектрического коврика по меньшей мере одним нагревательным устройством, размещенным на отдельном сегменте и имеющим кабель с разъемом USB для питания от переносного аккумулятора, прикрепление к сегментам термоэлектрического коврика пар эластичных лент для фиксации на них нагревательного устройства, позволяет создать оптимальную конструкцию термоэлектрического коврика, обеспечивающую комфортный режим обогрева для человека без использования датчиков температуры и устройств регулирования температуры, и тем самым упростить термоэлектрический коврик и снизить его стоимость.
При этом теплоизолирующий элемент с отражающим покрытием может быть выполнен в виде двух слоев вспененного полиэтилена толщиной 10 мм с отражающим покрытием.
При этом к крайнему сегменту коврика могут быть прикреплены две петли из эластичных лент для фиксации термоэлектрического коврика в сложенном состоянии.
Снабжение нагревательного устройства теплоизолирующими слоями, расположенными между резистивным нагревательным элементом и внешним чехлом и выполнение резистивного нагревательного элемента содержащим два слоя гибкой термостойкой электроизоляционной пленки, между которыми фиксированно размещен плоский меандровой формы резистивный элемент из ленты токопроводящего материала или из нихромовой проволоки, снабженный выводами для подключения к источнику напряжения, при том, что сопротивление резистивного элемента обеспечивает при подключении его к источнику напряжения 5 В протекание тока 1,1 А, позволяет создать оптимальную конструкцию нагревательного устройства для термоэлектрического коврика, обеспечивающую комфортный режим обогрева для человека без использования датчиков температуры и устройств регулирования температуры, и тем самым упростить нагревательное устройство для термоэлектрического коврика и снизить его стоимость.
При этом плоский меандровой формы резистивный элемент из ленты токопроводящего материала может быть выполнен в виде четырех секций, состоящих из трех параллельных проводников и последовательно соединенных перемычками в меандр.
При этом плоский меандровой формы резистивный элемент из нихромовой проволоки может быть выполнен в виде меандра из трех параллельных проводников.
При этом внешний чехол прямоугольной формы может иметь размеры 30×35 см.
При этом теплоизолирующие слои между резистивным нагревательным элементом и внешним чехлом могут быть выполнены в виде верхнего и нижнего слоев вспененного полиэтилена, верхний - толщиной 3 мм, нижний - в виде двух слоев вспененного полиэтилена толщиной 10 мм с отражающим покрытием.
Предлагаемые совокупности существенных признаков сообщают заявляемым термоэлектрическому коврику и нагревательному устройству для него новые свойства, позволяющие решить поставленную задачу.
Заявляемый термоэлектрический коврик обладает новизной по сравнению с ближайшим аналогом, отличаясь от него тем, что:
1. термоэлектрический коврик снабжен по меньшей мере одним нагревательным устройством, размещенным на отдельном сегменте и имеющим кабель с разъемом USB для питания от переносного аккумулятора, к сегментам термоэлектрического коврика прикреплены пары эластичных лент для фиксации на них нагревательных устройств;
2. теплоизолирующий элемент с отражающим покрытием выполнен в виде двух слоев вспененного полиэтилена толщиной 10 мм с отражающим покрытием;
3. к крайнему сегменту прикреплены две петли из эластичных лент для фиксации термоэлектрического коврика в сложенном состоянии.
Заявляемое нагревательное устройство термоэлектрического коврика обладает новизной по сравнению с ближайшим аналогом, отличаясь от него тем, что:
1. нагревательное устройство снабжено теплоизолирующими слоями, расположенными между резистивным нагревательным элементом и внешним чехлом, а резистивный нагревательный элемент содержит два слоя гибкой термостойкой электроизоляционной пленки, между которыми фиксированно размещен плоский меандровой формы резистивный элемент из ленты токопроводящего материала или из нихромовой проволоки, снабженный выводами для подключения к источнику напряжения, при этом сопротивление резистивного элемента обеспечивает при подключении его к источнику напряжения 5 В протекание тока 1,1 А;
2. плоский меандровой формы резистивный элемент из ленты токопроводящего материала выполнен в виде четырех секций, состоящих из трех параллельных проводников и последовательно соединенных перемычками в меандр;
3. плоский меандровой формы резистивный элемент из нихромовой проволоки выполнен в виде меандра из трех параллельных проводников;
4. внешний чехол прямоугольной формы имеет размеры 30×35 см;
5. теплоизолирующие слои между резистивным нагревательным элементом и внешним чехлом выполнены в виде верхнего и нижнего слоев вспененного полиэтилена, верхний - толщиной 3 мм, нижний - в виде двух слоев вспененного полиэтилена толщиной 10 мм с отражающим покрытием.
Заявителю неизвестны термоэлектрический коврик и нагревательное устройство для него, обладающие вышеуказанными отличительными существенными признаками, позволяющими явным образом достичь такого же технического результата, поэтому заявитель считает, что заявляемое изобретение соответствует критерию «изобретательский уровень».
Заявляемые термоэлектрический коврик и нагревательное устройство для него могут найти широкое применение в мобильных электрических нагревательных устройствах, предназначенных для персонального обогрева, поэтому они соответствуют критерию «промышленная применимость».
Заявляемые термоэлектрический коврик и нагревательное устройство для него иллюстрируются чертежами, где представлены:
Фиг. 1. Общий вид термоэлектрического коврика с двумя нагревательными устройствами.
Фиг. 2. Вид термоэлектрического коврика в разрезе.
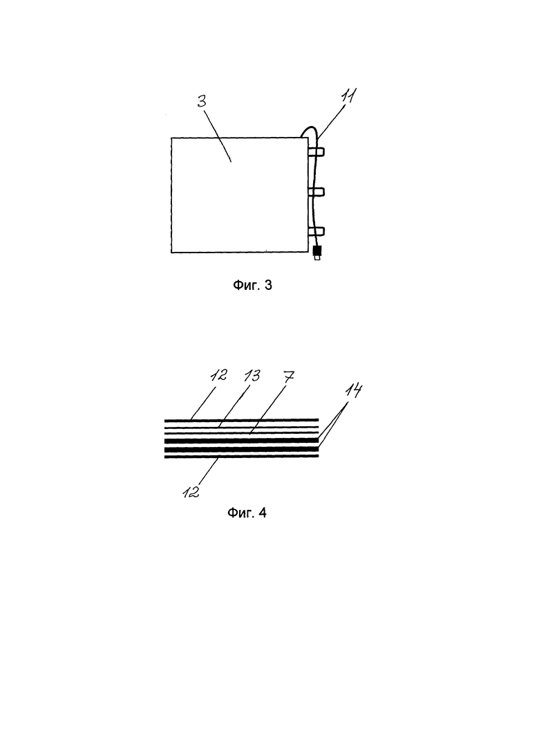
Фиг. 3. Общий вид нагревательного устройства для термоэлектрического коврика.
Фиг. 4. Вид нагревательного устройства в разрезе.
Фиг. 5. Вид резистивного элемента из ленты токопроводящего материала.
Фиг. 6. Вид резистивного элемента из нихромовой проволоки.
Термоэлектрический коврик, представленный на чертежах (см. Фиг. 1 и 2), содержит теплоизолирующий элемент 1 в виде двух слоев вспененного полиэтилена толщиной 10 мм с отражающим покрытием, размещенный в наружном покрытии из непромокаемой ткани 2, например плащевой, и нагревательное устройство 3, снабженное кабелем (выводом) с разъемом USB для питания от переносного аккумулятора. Термоэлектрический коврик поделен линиями сгиба на сегменты 4, а нагревательное устройство 3 может быть размещено на площади одного сегмента 4, или, при необходимости, на площади двух, трех или более сегментов 4.
К сегментам 4 термоэлектрического коврика прикреплены пары эластичных лент 5 для фиксации на них нагревательных устройств 3, а к крайнему сегменту 4 прикреплены две петли из эластичных лент 6 для фиксации термоэлектрического коврика в сложенном состоянии.
Нагревательное устройство 3 термоэлектрического коврика, представленное на чертежах (см. Фиг. 3, 4, 5, 6), содержит резистивный нагревательный элемент 7, выполненный из двух слоев гибкой термостойкой электроизоляционной пленки 8, между которыми фиксированно размещен плоский меандровой формы резистивный элемент из ленты 9 токопроводящего материала или из нихромовой проволоки 10. Резистивный нагревательный элемент 7 снабжен выводами 11 с кабелем USB для питания от переносного аккумулятора. Сопротивление резистивного нагревательного элемента 7 подобрано опытным путем таким, что его величина обеспечивает при подключении нагревательного устройства 3 к источнику напряжения 5 В протекание тока 1,1 А.
Нагревательное устройство 3 термоэлектрического коврика снабжено теплоизолирующими слоями, расположенными между резистивным нагревательным элементом 7 и внешним чехлом 12 и выполненными в виде верхнего слоя 13 и нижнего слоя 14 вспененного полиэтилена. Верхний слой 13, обращенный в сторону нагреваемого объекта, выполнен из вспененного полиэтилена толщиной 3 мм, а нижний слой 14, обращенный в сторону коврика, - из двух слоев вспененного полиэтилена толщиной 10 мм с отражающим покрытием. Внешний чехол 12 прямоугольной формы выполнен из непромокаемой ткани, например плащевой, и имеет размеры 30×35 см.
Плоский меандровой формы резистивный элемент из ленты 9 токопроводящего материала выполнен (см. Фиг. 5) в виде четырех секций, состоящих из трех параллельных проводников и последовательно соединенных перемычками в меандр. Плоский меандровой формы резистивный элемент из нихромовой проволоки 10 выполнен (см. Фиг. 6) в виде меандра из трех параллельных проводников.
Были изготовлены два опытных образца нагревательного устройства. Первый образец с плоским меандровой формы резистивным элементом из ленты 9 холоднокатаной стали толщиной 13 мкм, выполненным в виде четырех секций, состоящих из трех параллельных проводников шириной 6 мм и последовательно соединенных перемычками шириной 10 мм в меандр. Соединение параллельных проводников и перемычек выполнено путем наложения перемычек на концы полос и соединения их с помощью точечной термокомпрессионной сварки.
Второй образец с плоским меандровой формы резистивным элементом из нихромовой проволоки 10 выполнен в виде меандра из трех параллельных проводников диаметром 0,3 мм.
Слои гибкой термостойкой электроизоляционной пленки 8 из поли-этилентерефтолата PET с размещенным между ними плоским меандровой формы резистивным элементом в обоих образцах соединены в единое полотно путем ламинирования и помещены между теплоизолирующими слоями, верхний из которых, обращенный в сторону нагреваемого объекта, выполнен из вспененного полиэтилена толщиной 3 мм, а нижний слой 14, обращенный в сторону коврика, - из двух слоев вспененного полиэтилена толщиной 10 мм с отражающим покрытием. Все это упаковано во внешний чехол 12 прямоугольной формы из непромокаемой ткани с размерами 30×35 см.
Электрическое сопротивление плоского меандровой формы резистивного элемента в обоих образцах одинаково и составляет 4,6 Ом, при подключении их к источнику напряжения 5 В по ним протекает электрический ток 1,1 А, обеспечивая на поверхности нагревательного устройства 3 комфортную для человека температуру 32-35°C.
Нагревательные устройства 3 закрепляют при помощи пар эластичных лент 5 на сегментах 4 термоэлектрического коврика, например, в зоне стоп и поясницы и подключают через кабели (выводы) 11 с разъемом USB к портативному аккумулятору для зарядки смартфонов. Температура нагрева на поверхности нагревательного устройства 3 при этом составляет комфортные для человека 32-35°C. Продолжительность времени нагрева термоэлектрического коврика с двумя нагревательными устройствами 3 от внешнего аккумулятора типа Power Bank емкостью 20 Ампер часов составляет не менее 7 часов, при нагреве с одним нагревательным устройством 3 - не менее 17 часов. При необходимости можно использовать для нагрева несколько нагревательных устройств 3, при этом их можно подключить к нескольким аккумуляторам.
Для транспортировки термоэлектрический коврик складывают по линиям сгиба и фиксируют в сложенном состоянии с помощью двух петель из эластичных лент 6, прикрепленных к крайнему сегменту 4 коврика.
Заявляемые термоэлектрический коврик и нагревательное устройство для него по сравнению с ближайшими аналогами являются более простыми и недорогими за счет создания оптимальной конструкции термоэлектрического коврика и нагревательного устройства для него, обеспечивающих комфортный режим обогрева для человека.
Кроме того, они более надежны и безопасны в эксплуатации и позволяют использовать их в полевых условиях при ночевке в палатке в походе, на охоте или рыбалке.
| название | год | авторы | номер документа |
|---|---|---|---|
| ТЕРМОЭЛЕКТРИЧЕСКИЙ МАТ | 2010 |
|
RU2413395C1 |
| ПЛЕНОЧНЫЙ ЭЛЕКТРОНАГРЕВАТЕЛЬ | 2006 |
|
RU2321188C1 |
| ЭЛЕКТРИЧЕСКОЕ ОБОГРЕВАТЕЛЬНОЕ УСТРОЙСТВО | 2018 |
|
RU2709481C1 |
| ПОТОЛОЧНЫЙ ПЛЕНОЧНЫЙ ЭЛЕКТРОНАГРЕВАТЕЛЬ, СИСТЕМА ОБОГРЕВА ПОМЕЩЕНИЯ, СОДЕРЖАЩАЯ ПОТОЛОЧНЫЙ ПЛЕНОЧНЫЙ ЭЛЕКТРОНАГРЕВАТЕЛЬ, СПОСОБ ПРОИЗВОДСТВА ПОТОЛОЧНОГО ПЛЕНОЧНОГО ЭЛЕКТРОНАГРЕВАТЕЛЯ И УСТРОЙСТВО ДЛЯ ПРОИЗВОДСТВА ПОЛОТНА ПОТОЛОЧНОГО ПЛЕНОЧНОГО ЭЛЕКТРОНАГРЕВАТЕЛЯ | 2008 |
|
RU2389161C1 |
| ТЕРМОЭЛЕКТРИЧЕСКИЙ МАТ | 2006 |
|
RU2320830C2 |
| ТЕРМОЭЛЕКТРИЧЕСКИЙ МАТ | 2005 |
|
RU2289891C1 |
| СПОСОБ ИЗГОТОВЛЕНИЯ ПЛОСКОГО РЕЗИСТИВНОГО ЭЛЕКТРОНАГРЕВАТЕЛЯ И ТЕХНОЛОГИЧЕСКАЯ ЛИНИЯ ДЛЯ ЕГО ОСУЩЕСТВЛЕНИЯ | 2008 |
|
RU2380861C1 |
| ЛЕГИРОВАННАЯ СТАЛЬ | 2010 |
|
RU2451104C1 |
| УСТРОЙСТВО ДЛЯ ИЗМЕРЕНИЯ ТЕПЛОФИЗИЧЕСКИХ СВОЙСТВ, НАХОДЯЩИХСЯ В ПОКОЕ И В ПОТОКЕ | 2023 |
|
RU2805005C2 |
| Лежак армейский полевой (ЛАП) | 2023 |
|
RU2820179C1 |
Изобретение относится к области электротехники, в частности к мобильным электрическим нагревательным устройствам, предназначенным для персонального обогрева. Технический результат заключается в обеспечении постоянного режима обогрева для человека без использования датчиков температуры и устройств регулирования температуры. Такой результат достигается за счет того, что термоэлектрический коврик состоит из теплоизолирующего элемента и нагревательного устройства, снабженного кабелем с разъемом USB для питания от переносного аккумулятора. Коврик поделен линиями сгиба на сегменты, а нагревательное устройство может быть размещено на площади одного сегмента. К сегментам термоэлектрического коврика прикреплены пары эластичных лент для фиксации на них нагревательных устройств, снабженных теплоизолирующими слоями, расположенными между резистивным нагревательным элементом и внешним чехлом. Резистивный нагревательный элемент содержит два слоя гибкой термостойкой электроизоляционной пленки, между которыми фиксированно размещен плоский меандровой формы резистивный элемент из ленты токопроводящего материала, снабженный выводами для подключения к источнику напряжения, при этом сопротивление резистивного элемента обеспечивает при подключении его к источнику напряжения 5 В протекание тока 1,1 А. 2 н. и 4 з.п. ф-лы, 6 ил.
1. Термоэлектрический коврик, содержащий теплоизолирующий элемент с отражающим покрытием, размещенный в наружном покрытии из непромокаемой ткани, и нагревательное устройство, соединенное с источником напряжения, при этом термоэлектрический коврик поделен линиями сгиба на сегменты, а нагревательное устройство размещено на площади сегмента, отличающийся тем, что термоэлектрический коврик снабжен по меньшей мере одним нагревательным устройством, размещенным на отдельном сегменте и имеющим кабель с разъемом USB для питания от переносного аккумулятора, а к сегментам термоэлектрического коврика прикреплены пары эластичных лент для фиксации на них нагревательных устройств, причем нагревательное устройство снабжено теплоизолирующими слоями, расположенными между резистивным нагревательным элементом и внешним чехлом, а резистивный нагревательный элемент содержит два слоя гибкой термостойкой электроизоляционной пленки, между которыми фиксированно размещен плоский меандровой формы резистивный элемент из ленты токопроводящего материала, снабженный выводами для подключения к источнику напряжения, при этом резистивный элемент выполнен в виде четырех секций, состоящих из трех параллельных проводников и последовательно соединенных перемычками в меандр, а сопротивление резистивного элемента обеспечивает при подключении его к источнику напряжения 5 В протекание тока 1,1 А.
2. Термоэлектрический коврик по п. 1, отличающийся тем, что теплоизолирующий элемент с отражающим покрытием выполнен в виде двух слоев вспененного полиэтилена толщиной 10 мм с отражающим покрытием.
3. Термоэлектрический коврик по п. 1, отличающийся тем, что к крайнему сегменту коврика прикреплены две петли из эластичных лент для фиксации термоэлектрического коврика в сложенном состоянии.
4. Нагревательное устройство термоэлектрического коврика, содержащее резистивный нагревательный элемент в виде меандра, фиксированно расположенного между слоями основы во внешнем чехле прямоугольной формы из непромокаемой ткани, отличающееся тем, что нагревательное устройство снабжено теплоизолирующими слоями, расположенными между резистивным нагревательным элементом и внешним чехлом, а резистивный нагревательный элемент содержит два слоя гибкой термостойкой электроизоляционной пленки, между которыми фиксированно размещен плоский меандровой формы резистивный элемент из ленты токопроводящего материала, снабженный выводами для подключения к источнику напряжения, при этом резистивный элемент выполнен в виде четырех секций, состоящих из трех параллельных проводников и последовательно соединенных перемычками в меандр, а сопротивление резистивного элемента обеспечивает при подключении его к источнику напряжения 5 В протекание тока 1,1 А.
5. Нагревательное устройство по п. 4, отличающееся тем, что внешний чехол прямоугольной формы имеет размеры 30×35 см.
6. Нагревательное устройство по п. 4, отличающееся тем, что теплоизолирующие слои между резистивным нагревательным элементом и внешним чехлом выполнены в виде верхнего и нижнего слоев вспененного полиэтилена, верхний - толщиной 3 мм, нижний - в виде двух слоев вспененного полиэтилена толщиной 10 мм с отражающим покрытием.
| КАНТОВАТЕЛЬ ДЛЯ РЕВЕРСИВНЫХ ОБЖИМНЫХ СТАНОВ | 0 |
|
SU165413A1 |
| KR 20170031855 A, 22.03.2017 | |||
| KR 20210082712 A, 06.07.2021 | |||
| WO 2023039523 A1, 16.03.2023 | |||
| Устройство для весового учета удоев молока | 1955 |
|
SU103730A1 |
| "Газовспененный пенополиэтилен Вомлекс (WARMLEX)" найденного в сети Интернет по адресу https://isolon-trade.ru/catalog/gazovspenennyy-penopolietilen-vomleks-warmlex-kupit/ | |||
| "Ковры Isolon описание" | |||
Авторы
Даты
2025-03-04—Публикация
2023-08-29—Подача