Изобретение относится к искусственным ногам и их частям.
Известно КОЛЕНО И ГОЛЕНЬ В СБОРЕ ДЛЯ ПРОТЕЗА НОГИ, содержащее компонент бедра, компонент голени, средство поворота колена, шарнирно соединяющее компонент голени с компонентом бедра для обеспечения движений сгибания и разгибания колена, гидравлический поршень и цилиндр в сборе, каждый из которых имеет поршневую часть и цилиндрическую часть, каждая из которых соединена к соответствующему одному из компонентов бедра и голени для сопротивления сгибательному движению во время фазы опоры, и средству автоматического управления для изменения степени, в которой узел поршня и цилиндра сопротивляется сгибающему движению, при этом компонент голени включает в себя по меньшей мере две части, одну который соединен с бедренным компонентом с помощью средства поворота колена и выполнен с возможностью перемещения относительно другой из двух частей компонента голени в ответ на приложение осевой нагрузки, и при этом средства автоматического управления содержат соединительные средства, выполненные с возможностью преобразования относительного перемещения двух частей компонента голени для перемещения подвижного элемента управления, связанного с той частью узла поршня и цилиндра, которая шарнирно соединена с компонентом бедра. [GB2270473А, опубл. 16.03.1994].
Недостатком аналога является недостаточная прочность конструкции, обусловленная отсутствием несущих рам конструкции, а также элементов, усиливающих прочность каркаса устройства, таких как усилителя рамы и распорки рамы, а также недостаточной устойчивостью пользователя за счет отсутствия возможности имитации тыльного сгибания голеностопного сустава.
Также известен АДАПТЕР ПРОТЕЗА БЕДРА для соединения с телом бедра, имеющий: поворачиваемый между положением опоры и положением маха коленный шарнир с проксимальной верхней частью коленного шарнира и дистальной нижней частью коленного шарнира, которые соединены вентральным рычагом шарнира и дорсальным рычагом шарнира, причем вентральный рычаг шарнира шарнирно соединен через вентральную верхнюю ось коленного шарнира с проксимальной верхней частью коленного шарнира и через вентральную нижнюю ось коленного шарнира шарнирно соединен с дистальной нижней частью коленного шарнира, а дорсальный рычаг шарнира шарнирно соединен через дорсальную верхнюю ось коленного шарнира с проксимальной верхней частью коленного шарнира и шарнирно соединен через дорсальную нижнюю ось коленного шарнира с дистальной нижней частью коленного шарнира, и голеностопный шарнир для поворотного соединения голеностопной части с соединенным с коленным шарниром блоком голени, отличающийся тем, что: блок голени имеет выполненный для передачи усилий сдвига и растяжения вентральный соединительный элемент и дорсальный соединительный элемент, причем вентральный соединительный элемент на одном конце через вентральную ось голеностопного шарнира поворотно-шарнирно соединен с голеностопной частью и на другом конце – с дистальной нижней частью коленного шарнира таким образом, а дорсальный соединительный элемент на одном конце через дорсальную ось голеностопного шарнира соединен с голеностопной частью и на другом конце через дорсальную верхнюю ось коленного шарнира шарнирно соединен с проксимальной верхней частью коленного шарнира и дорсальным рычагом шарнира таким образом, что перестановка коленного шарнира из положения опоры в положение маха вызывает дорсальное разгибание голеностопной части. [RU2775127C1, опубл. 28.06.2022].
Недостатком аналога является недостаточная прочность конструкции, обусловленная отсутствием несущих рам конструкции, а также элементов, усиливающих прочность каркаса устройства, таких как усилителя рамы и распорки рамы, а также отсутствие амортизатора необходимого при ассистирующей фазе разгибания, ввиду его отсутствия пользователь протеза может потерять равновесие и упасть, что особенно влияет на общую устойчивость пользователя.
Наиболее близкое техническое решение описано в ПРОТЕЗЕ НИЖНЕЙ КОНЕЧНОСТИ содержащем: элемент для приема культи бедра, установленный на опорной части, ногу, собранную на указанной опорной части посредством поворотного звена, образующего коленный сустав, обеспечивающий сгибание или разгибание ноги относительно элемента для приема, амортизирующую систему для поглощения усилий сгибания или разгибания, причем указанная амортизирующая система установлена, с одной стороны, на штифте поворотного звена, а с другой стороны, на первом конце коромысла, шарнирно установленного на ножке, и стержень, закрепленный с одной стороны на втором конце коромысла, а с другой стороны - на опорной части. [US2012150318A1, опубл. 14.06.2012].
Недостатком наиболее близкого технического решения является недостаточная устойчивость, обусловленная отсутствием малого рычага между опорной базой и рокером, а соответственно отсутствием возможности имитации тыльного сгибания голеностопного сустава и симуляции работы камбаловидной и икроножной мышцы, что в свою очередь не позволяет пользователю данного протеза совершать глубокие приседания ввиду высокой вероятности потери равновесия.
Технической проблемой, решаемой заявленным изобретением, является устранение недостатков аналогов.
Задача изобретения – повышение устойчивости пользователя и повышение надежности конструкции.
Технический результат заявленного изобретения заключается в повышении устойчивости пользователя при сгибании полицентрического коленного узла, а также повышении надежности конструкции полицентрического коленного узла.
Указанный технический результат достигается тем, что полицентрический коленный узел для искусственных ног, содержащий верхнюю монолитную опору с плоскостью крепления для жесткого крепления к культе бедра, опорную монолитную базу с плоскостью крепления для крепления протеза голени, рамы, усилитель рамы, основной рычаг, малый рычаг, рокер, амортизатор, распорку и втулку, при этом упомянутый рокер смонтирован шарнирным соединением к рамам, причем рамы 9 шарнирно смонтированы к боковым частям упомянутой верхней опоры, упомянутая опорная база шарнирно смонтирована к нижним частям упомянутых рам, усилитель рамы, распорка и втулка жестко смонтированы к рамам неподвижным соединением, основной рычаг смонтирован к рокеру и верхней опоре шарнирным соединением, при этом верхняя опора выполнена с креплением основного рычага для двух положений, где амортизатор смонтирован к втулке и рокеру шарнирным соединением, а малый рычаг смонтирован к рокеру и опорной базе шарнирным соединением, при этом рокер выполнен в виде монолитной детали, а амортизатор выполнен с возможностью регулировки, угол между нижней гранью рам и плоскостью крепления протеза голени к опорной базе обеспечивается в диапазоне от 22° до 26°, верхняя опора имеет возможность во время приседания пользователя изменять свой угол наклона, при этом основной рычаг имеет возможность во время приседания пользователя воздействовать на рокер так что место крепления рокера к основному рычагу опускается, а место крепления рокера и штока амортизатора поднимается, шток амортизатора имеет возможность во время приседания пользователя заходить в корпус амортизатора, малый рычаг имеет возможность во время приседания пользователя толкать опорную базу с увеличением угла между плоскостью крепления верхней опоры и плоскостью крепления опорной базы.
В частности, амортизатор выполнен пневмогидравлическим.
В частности, выполнен из алюминиевого сплава.
В частности, в качестве алюминиевого сплава применен сплав Д16Т.
В частности, угол между нижней гранью рамы 2 и плоскостью крепления протеза голени к опорной базе 6 обеспечивается в диапазоне от 22° до 26°.
Полицентрический коленный узел характеризуется изображениями:
На фиг. 1 изображен вид сбоку на полицентрический коленный узел;
На фиг. 2 изображен общий вид спереди на полицентрический коленный узел;
На фиг. 3 изображен общий вид сзади на полицентрический коленный узел;
На фиг. 4 изображен общий вид сзади на полицентрический коленный узел со снятой рамой;
На фиг. 5 изображен общий вид спереди на рокер, малый рычаг и опорную базу в сборе;
На фиг. 6 изображен общий вид сзади на рокер, малый рычаг и опорную базу в сборе;
На фиг. 7 показана схема пользователя полицентрического коленного узла в положении стоя;
На фиг. 8 показана схема пользователя полицентрического коленного узла в положении сидя при максимальном угле сгибания 90°;
На фиг. 9 показана схема пользователя полицентрического коленного узла в положении сидя при максимальном угле сгибания 120°;
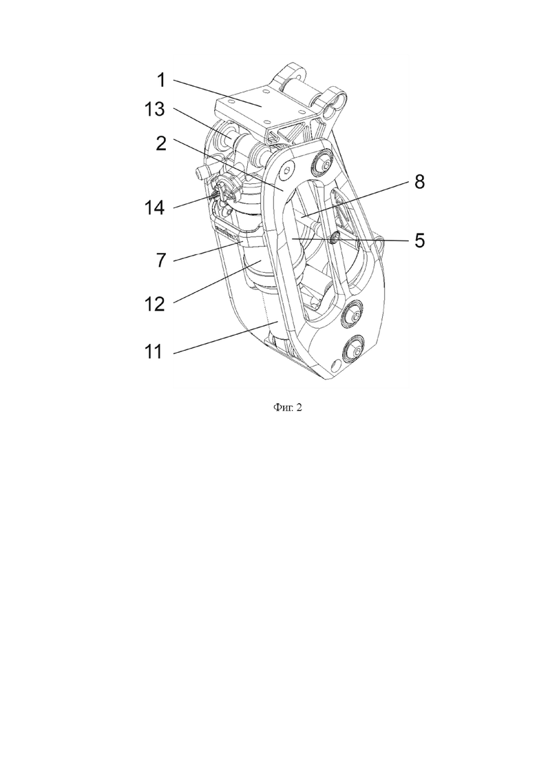
На фигурах обозначено: 1 – верхняя опора, 2 – рама, 3 – основной рычаг, 4 – рокер, 5 – амортизатор, 6 – опорная база, 7 – усилитель, 8 – распорка, 9 – кронштейн, 10 – малый рычаг, 11 – шток, 12 – корпус, 13 – втулка, 14 – регулятор.
Согласно изобретению, полицентрический коленный узел содержит верхнюю опору 1 (фиг. 1), выполненную в виде монолитной детали, необходимую для жесткого крепления полицентрического коленного узла к культе бедра посредством, например, адаптера с пирамидкой. К боковым частям верхней опоры 1 смонтированы рамы 2 (фиг. 2), необходимые для формирования каркаса полицентрического коленного узла, что существенно повышает прочность его конструкции, при этом крепление рам 2 к боковым частям верхней опоры 1 выполнено с помощью шарнирного соединения, что обеспечивает прочность конструкции на всем диапазоне угла сгибания полицентрического коленного узла. К верхней опоре 1 полицентрического коленного узла смонтирован основной рычаг 3 (фиг. 3), необходимый для соединения верхней опоры 1 и рокера 4, при этом соединение верхней опоры 1, основного рычага 3 и рокера 4 выполнено шарнирным, что обеспечивает зависимость положений верхней опоры 1 и рокера 4 друг от друга. При этом верхняя опора 1 содержит крепления основного рычага 3 для двух положений, что обеспечивает возможность регулировки угла сгибания полицентрического коленного узла. Наличие верхней опоры 1, а также особенности ее конструкции существенно влияют на обеспечение устойчивости пользователя за счет обеспечения возможности регулирования угла сгибания полицентрического коленного узла, а также существенно влияет на повышение надежности конструкции за счет обеспечения прочности, обусловленной возможностью крепления рам, а также за счет своей монолитности.
Полицентрический коленный узел для искусственных ног выполнен с возможностью регулирования угла сгибания в двух положениях, где в первом положении максимальный угол сгибания равен 90°, а во втором положении максимальный угол сгибания равен 120°. Данная возможность позволяет пользователю задать максимальный угол сгибания полицентрического коленного узла в зависимости от условий эксплуатации. Так, например, полицентрический коленный узел с заданным максимальным углом сгибания 120° позволяет пользователю выполнять биомеханически обоснованные движения приседа, которые очень важны в экстремальных видах спорта, например, при занятиях сноубордингом, так как сгибание полицентрического коленного узла до 120° напрямую влияет на устойчивость пользователя при спуске с горы, при ограничении максимального сгибания меньше, чем 120° пользователь имеет недостаточную амортизацию во время приземления, которая в свою очередь обеспечивается за счет сгибания полицентрического коленного узла. Однако при больших углах сгибания, таких как 120° возникают большие нагрузки на амортизатор 5, необходимый для ассистирования при фазе разгибания полицентрического коленного узла. Регулярные большие нагрузки на амортизатор 5 со временем могут повлиять на качество ассистирования при фазе разгибания от 120° полицентрического коленного узла и, в свою очередь снизить его прочность. В повседневной жизни, при осуществлении ходьбы достаточным максимальным углом сгибания полицентрического коленного узла принято считать 90°, при этом нагрузка на амортизатор 5 при ассистировании во время фазы разгибания из положения в 90° существенно ниже, по сравнению с ассистированием во время фазы разгибания из положения в 120°. Изготовление полицентрического коленного узла с максимальным углом сгибания менее, чем 90° не допускается ввиду недостаточного значения угла сгибания, что может привести к потере равновесия пользователя даже при неглубоком приседании, что существенно снижает его устойчивость. Изготовление полицентрического коленного узла с максимальным углом сгибания более, чем 120° нецелесообразно ввиду отсутствия необходимости принятия положения полицентрического коленного узла с углом превышающим 120°. При этом при обоих положениях максимального угла сгибания полицентрического коленного узла в согнутом его состоянии угол между нижней гранью рамы 2 и плоскостью крепления протеза и к опорной базе 6 обеспечивается в диапазоне от 22° до 26°, что также существенно повышает устойчивость пользователя за счет правильного положения полицентрического коленного узла относительно корпуса пользователя. Угол между нижней гранью рамы 2 и плоскостью крепления протеза голени к опорной базе 6 меньше, чем 22° не допускается ввиду риска смещения корпуса пользователя назад и возможности потери равновесия, угол больше, чем 26° может привести к смещению корпуса пользователя вперед, потери равновесия и падению. Таким образом возможность регулирования угла сгибания в двух положениях с одной повышает устойчивость пользователя при использовании полицентрического коленного узла в условиях занятий экстремальными видами спорта за счет возможности принимать максимальный угол сгибания 120°, с другой стороны, возможность ограничения максимального угла сгибания полицентрического коленного узла в 90° позволяет увеличить срок службы амортизатора 5, что существенно повышает надежность конструкции.
Полицентрический коленный узел для искусственных ног содержит рамы, 2 выполняющих роль несущих конструкций. К верхней части рам 2 шарнирным соединением смонтирована верхняя опора 1. К нижней части рам 2 шарнирным соединением смонтирована опорная база 6. Выполнение соединений рам 2 с верхней опорой 1 и опорной базой 6 шарнирным обусловлено необходимостью обеспечения степеней свободы полицентрического коленного узла, повышающих устойчивость пользователя при его сгибании. Таким образом рамы 2, верхняя опора 1 и опорная база 6, смонтированные между собой образуют прочный каркас, наличие которого существенно повышает прочность конструкции полицентрического коленного узла, а выполнение их соединений шарнирным существенно повышает устойчивость пользователя за счет обеспечения степеней свободы, необходимых при активном образе жизни, в том числе занятиях спортом, например, сноубордингом.
Полицентрический коленный узел для искусственных ног содержит усилитель 7 рамы 2 (фиг. 4), жестко смонтированный, например болтовым соединением между рамами 2 и необходимый для обеспечения защиты амортизатора 5 от ударов, а также повышения жесткости конструкции, обеспечивая тем самым надежность конструкции за счет повышения ее прочности.
Полицентрический коленный узел для искусственных ног содержит распорку 8, жестко смонтированную, например болтовым соединением между рамами 2 и необходимую для обеспечения жесткости конструкции полицентрического коленного узла, что существенно повышает его надежность за счет обеспечения прочности.
Полицентрический коленный узел для искусственных ног содержит опорную базу 6 (фиг. 5), выполненную в виде монолитной детали и необходимую для жесткого соединения, например посредством адаптера с пирамидкой с несущим регулировочным модулем (на фиг. не показан), который в свою очередь соединяет полицентрический коленный узел с протезом стопы. Опорная база 6 содержит крепления для рамы 2, необходимые для формирования прочного несущего каркаса, образованного верхней опорой 1, рамами 2 и опорной базой 6, что существенно повышает надежность полицентрического коленного узла за счет обеспечения прочности конструкции. Опорная база 6 содержит кронштейн 9 необходимый для крепления малого рычага 10. При этом соединение малого рычага 10 и кронштейна 9 опорной базы 6 выполнено шарнирным, что обеспечивает дополнительную степень свободы полицентрическому коленному узлу, необходимую для обеспечения равновесия пользователя, что в свою очередь существенно повышает его устойчивость.
Полицентрический коленный узел для искусственных ног содержит малый рычаг 10 (фиг. 6), выполненный в виде монолитной детали и содержащий крепление к кронштейну 9 опорной базы 6 с одной стороны и крепление к рокеру 4 с другой стороны, при этом крепления малого рычага 10 к кронштейну 9 опорной базы 6 и к рокеру 4 выполнено шарнирным, что необходимо для обеспечения дополнительной степени свободы полицентрического коленного узла. Наличие малого рычага 10, а также его шарнирное крепление к опорной базе 6 и рокеру 4 обеспечивает во время сгибания полицентрического коленного узла положение опорной базы относительно положения верхней опоры имитирующее тыльное сгибание голеностопного сустава симулируя работу камбаловидной и икроножной мышцы, что достигается работой малого рычага 10, который шарнирно смонтирован между опорной базой 6 и рокером 4, где имитация осуществляется за счет смещения положения оси вращения рокера 4 относительно положения опорной базы 6. При этом независимо от положения сидя или стоя на пользователя действует сила тяжести F (фиг. 7), а во время приседания на тело пользователя действует плечо силы тяжести для коленного сустава KF и плечо силы тяжести для тазобедренного сустава TF (фиг. 8 и фиг. 9), при этом равновесие пользователя во многом зависит от зависимости TF к KF, так если TF будет значительно превышать KF, то пользователь потеряет равновесие и рискует упасть назад, если KF будет значительно превышать TF, то пользователь рискует упасть вперед. Таким образом степень свободы голеностопного сустава напрямую связана со степенью сгибания колена и позволяет выполнять биомеханически обоснованные движения приседа, что очень важно в экстремальных видах спорта так как повышает устойчивость пользователя при сгибании полицентрического коленного узла.
Полицентрический коленный узел для искусственных ног содержит рокер 4, выполненный в виде монолитной детали и смонтированный шарнирными соединениями с малым рычагом 10 в центральной части рокера 4, с основным рычагом 3 и штоком 11 амортизатора 5 в оконечностях рокера 4. При этом рокер 4 содержит шарнирные крепления к рамам 2 полицентрического коленного узла. Наличие рокера 4 обеспечивает взаимосвязь амортизатора 5, верхней опоры 1 и опорной базы 6 и выполняет роль связующего элемента конструкции полицентрического коленного узла, необходимого для согласования положений его элементов во время фазы сгибания и ассистивной фазы разгибания, что в свою очередь обеспечивает необходимые степени свободы полицентрического коленного узла и существенно повышает устойчивость пользователя при занятиях спортом, где есть необходимость активного сгибания и разгибания полицентрического коленного узла.
Полицентрический коленный узел для искусственных ног содержит амортизатор 5, корпус 12 которого смонтирован к втулке 13, а шток 11 амортизатора 5 смонтирован к рокеру 4, причем указанные соединения выполнены шарнирными, что обеспечивает необходимые степени свободы конструкции полицентрического коленного узла. При этом втулка 13 жестко, например болтовым соединением смонтирована между рамами 2. Амортизатор 5 необходим для ассистирования во время фазы разгибания, при этом наличие амортизатора 5 снижает ударные нагрузки при ходьбе, снижает нагрузку на элементы полицентрического коленного узла, что значительно повышает его надежность. Также, наличие амортизатора 5 существенно повышает устойчивость пользователя за счет мягкого хода штока 11 амортизатора 5, что исключает рывки при сгибании и разгибании полицентрического коленного узла. При этом амортизатор 5 выполнен с возможностью регулировки жесткости посредством регулятора 14 жесткости амортизатора 5, что позволяет настроить полицентрический коленный узел под вес конкретного пользователя, что существенно влияет на повышение его устойчивости за счет возможности индивидуальной настройки. В случае отсутствия возможности регулировки жесткости амортизатора пользователь с малым весом может столкнуться с трудностями при сгибании полицентрического коленного узла ввиду излишней жесткости амортизатора и недостатком веса пользователя для сжатия амортизатора. Также в случае пользователя с большим весом, при жесткости амортизатора со средними значениями, выставленными при его производстве, жесткости данного амортизатора может быть недостаточно под данного пользователя и установленный в полицентрический коленный узел амортизатор будет не способен с должной эффективностью обеспечивать ассистивную фазу разгибания, что может снизить устойчивость пользователя, а также снизить надежность полицентрического коленного узла за счет превышения расчетной нагрузки на амортизатор 5. Таким образом наличие возможности регулирования жесткости амортизатора существенно повышает устойчивость пользователя, а также повышает надежность конструкции полицентрического коленного узла за счет индивидуальной настройки под конкретного пользователя.
Амортизатор 5 может быть выполнен пневмогидравлическим, что при необходимости может дополнительно повлиять на плавность работы полицентрического коленного узла во время фаз сгибания и разгибания за счет применения в своей конструкции сжатого воздуха для поглощения ударов и толчков при ходьбе.
Элементы полицентрического коленного узла для искусственных ног, а именно рамы 2, верхняя опора 1, опорная база 6, усилитель 7 рамы 2, основной рычаг 3, распорка 8, втулка 13, рокер 4 и малый рычаг 10 при необходимости могут быть выполнены из алюминиевого сплава, например из сплава Д16Т, что при необходимости может повлиять надежность конструкции полицентрического коленного узла за счет высокой коррозионной стойкости указанного материала.
Полицентрический коленный узел для искусственных ног работает следующим образом. Пользователь в положения стоя, при этом его ноги в разогнутом положении. Во время приседания пользователь отводит таз назад, при этом верхняя опора 1 изменяет свой угол наклона, основной рычаг 3, шарнирно смонтированный к верхней опоре 1 и к рокеру 4 воздействует на рокер 4, который изменяет свое положение так, что место крепления рокера 4 к основному рычагу 3 опускается, а место крепления рокера 4 и штока 11 амортизатора 5 поднимается, таким образом шток 11 амортизатора 5 под весом пользователя заходит в корпус 12 амортизатора 5 и полицентрический коленный узел сгибается. При этом во время изменения положения рокера 4, изменяется положение малого рычага 10, который толкает опорную базу 6, что дополнительно увеличивает угол между плоскостью крепления верхней опоры 1 и плоскости крепления опорной базы 6. После снятия нагрузки с амортизатора 5 шток 11 амортизатора 5 выдвигается из корпуса 12 амортизатора 5, толкает рокер 4 вниз, при этом основной рычаг 3 и малый рычаг 10 возвращают верхнюю опору и опорную базу 6 в их исходное положение. При этом одновременно с увеличением плеча силы тяжести для тазобедренного сустава TF увеличивается плечо силы тяжести для коленного сустава KF, что обеспечивает равновесие пользователя, а соответственно его устойчивость во время приседаний.
Таким образом, исполнение полицентрического коленного узла для искусственных ног с возможностью регулирования угла сгибания в двух положениях, где в первом положении максимальный угол сгибания равен 90°, а во втором положении максимальный угол сгибания равен 120°, содержащий верхнюю опору 1, опорную базу 6, рамы 2, усилитель 7 рамы 2, основной рычаг 3, малый рычаг 10, рокер 4, амортизатор 5, распорку 8 и втулку 13, где верхняя опора 1, опорная база 6 и рокер 4 смонтированы к рамам 2 шарнирным соединением, усилитель 7 рамы 2, распорка 8 и втулка 13 жестко смонтированы к рамам 2 неподвижным соединением, основной рычаг 3 смонтирован к рокеру 4 и верхней опоре 1 шарнирным соединением, при этом верхняя опора 1 выполнена с возможностью крепления к ней основного рычага 3 в двух положениях, где амортизатор 5 смонтирован к втулке 13 и рокеру 4 шарнирным соединением, а малый рычаг 10 смонтирован к рокеру 4 и опорной базе 6 шарнирным соединением, при этом рокер 4 выполнен в виде монолитной детали, а амортизатор 5 выполнен с возможностью регулировки жесткости позволяет обеспечить геометрию полицентрического коленного узла, кинематика которого симулирует работу сразу четырех мышечных групп, где при фазе сгибания и разгибания полицентрический коленный узел симулирует двуглавую мышцу бедра и квадрицепс, а наличие малого рычага 10 обеспечивает динамического тыльное сгибание, которое симулирует камбаловидную и икроножную мышцу, что в совокупности всех элементов, характеристик и их взаимосвязей обеспечивает повышение устойчивости пользователя при сгибании полицентрического коленного узла, а также повышает прочность его конструкции.
Примеры реализации.
Первый пример реализации
Полицентрический коленный узел для искусственных ног, выполненный с возможностью имитации тыльного сгибания голеностопного сустава, регулирования угла сгибания в двух положениях, где в первом положении максимальный угол сгибания равен 90°, а во втором положении максимальный угол сгибания равен 120°, содержит верхнюю опору 1, опорную базу 6, рамы 2, усилитель 7 рамы 2, основной рычаг 3, малый рычаг 10, рокер 4, амортизатор 5, распорку 8 и втулку 13, где верхняя опора 1, опорная база 6 и рокер 4 смонтированы к рамам 2 шарнирным соединением, усилитель 7 рамы 2, распорка 8 и втулка 13 жестко смонтированы к рамам 2 неподвижным соединением, основной рычаг 3 смонтирован к рокеру 4 и верхней опоре 1 шарнирным соединением, причем основной рычаг 3 смонтирован к верхней опоре 1, при этом верхняя опора 1 выполнена с возможностью крепления к ней основного рычага 3 в двух положениях, где амортизатор 5 смонтирован к втулке 13 и рокеру 4 шарнирным соединением, а малый рычаг 10 смонтирован к рокеру 4 и опорной базе 6 шарнирным соединением, при этом рокер 4 выполнен в виде монолитной детали, а амортизатор 5 выполнен с возможностью регулировки жесткости.
Второй пример реализации
Полицентрический коленный узел для искусственных ног, выполненный с возможностью имитации тыльного сгибания голеностопного сустава, регулирования угла сгибания в двух положениях, где в первом положении максимальный угол сгибания равен 90°, а во втором положении максимальный угол сгибания равен 120°, содержит верхнюю опору 1, опорную базу 6, рамы 2, усилитель 7 рамы 2, основной рычаг 3, малый рычаг 10, рокер 4, пневмогидравлический амортизатор 5, распорку 8 и втулку 13, где верхняя опора 1, опорная база 6 и рокер 4 смонтированы к рамам 2 шарнирным соединением, усилитель 7 рамы 2, распорка 8 и втулка 13 жестко смонтированы к рамам 2 неподвижным соединением, основной рычаг 3 смонтирован к рокеру 4 и верхней опоре 1 шарнирным соединением, причем основной рычаг 3 смонтирован к верхней опоре 1, при этом верхняя опора 1 выполнена с возможностью крепления к ней основного рычага 3 в двух положениях, где амортизатор 5 смонтирован к втулке 13 и рокеру 4 шарнирным соединением, а малый рычаг 10 смонтирован к рокеру 4 и опорной базе 6 шарнирным соединением, при этом рокер 4 выполнен в виде монолитной детали, а амортизатор 5 выполнен с возможностью регулировки жесткости.
Третий пример реализации
Полицентрический коленный узел для искусственных ног, выполненный с возможностью имитации тыльного сгибания голеностопного сустава, регулирования угла сгибания в двух положениях, где в первом положении максимальный угол сгибания равен 90°, а во втором положении максимальный угол сгибания равен 120°, содержит верхнюю опору 1, опорную базу 6, рамы 2, усилитель 7 рамы 2, основной рычаг 3, малый рычаг 10, рокер 4, амортизатор 5, распорку 8 и втулку 13, где верхняя опора 1, опорная база 6 и рокер 4 смонтированы к рамам 2 шарнирным соединением, усилитель 7 рамы 2, распорка 8 и втулка 13 жестко смонтированы к рамам 2 неподвижным соединением, основной рычаг 3 смонтирован к рокеру 4 и верхней опоре 1 шарнирным соединением, причем основной рычаг 3 смонтирован к верхней опоре 1, при этом верхняя опора 1 выполнена с возможностью крепления к ней основного рычага 3 в двух положениях, где амортизатор 5 смонтирован к втулке 13 и рокеру 4 шарнирным соединением, а малый рычаг 10 смонтирован к рокеру 4 и опорной базе 6 шарнирным соединением, при этом рокер 4 выполнен в виде монолитной детали, а амортизатор 5 выполнен с возможностью регулировки жесткости, при этом опора, рама, основной рычаг, рокер, опорная база, усилитель, распорка, кронштейн, малый рычаг и втулка выполнены из алюминиевого сплава Д16Т.
Таким образом, заявленное изобретение, за счет примененных в нем устройств и технологий, совокупности их характеристик и взаимосвязей позволяет обеспечить повышение устойчивости пользователя при сгибании полицентрического коленного узла для искусственных ног, а также обеспечить повышение прочности конструкции полицентрического коленного узла для искусственных ног.
| название | год | авторы | номер документа |
|---|---|---|---|
| ГРУЗОВОЙ ПАССИВНЫЙ ЭКЗОСКЕЛЕТ С НАСТРОЙКОЙ ПОД АНТРОПОМЕТРИЧЕСКИЕ ПАРАМЕТРЫ ПОЛЬЗОВАТЕЛЯ | 2018 |
|
RU2725288C2 |
| ГРУЗОВОЙ ЭКЗОСКЕЛЕТ С НАСТРОЙКОЙ ПОД АНТРОПОМЕТРИЧЕСКИЕ ПАРАМЕТРЫ ПОЛЬЗОВАТЕЛЯ | 2017 |
|
RU2665116C1 |
| Способ изготовления ортопедического аппарата нижней конечности для больных с последствиями параличей нижних конечностей | 2021 |
|
RU2807146C2 |
| Аппарат ортопедический на нижнюю конечность с микропроцессорным управлением | 2021 |
|
RU2793532C1 |
| АДАПТЕР ПРОТЕЗА БЕДРА | 2019 |
|
RU2775127C1 |
| Протез после вычленения бедра | 1985 |
|
SU1296148A1 |
| ЭКЗОСКЕЛЕТОН | 1994 |
|
RU2110243C1 |
| СУСТАВ В ОРТОПЕДИЧЕСКИХ ПРОТЕЗАХ И ОРТЕЗАХ | 1993 |
|
RU2103952C1 |
| ГОЛЕННОЕ ЗВЕНО ОРТЕЗА ИЛИ ЭКЗОСКЕЛЕТА | 2016 |
|
RU2635760C1 |
| Протез бедра | 1961 |
|
SU146438A1 |
Изобретение относится к медицине. Полицентрический коленный узел для искусственных ног содержит верхнюю монолитную опору с плоскостью крепления для жесткого крепления к культе бедра, опорную монолитную базу с плоскостью крепления для крепления протеза голени, рамы, усилитель рамы, основной рычаг, малый рычаг, рокер, амортизатор, распорку и втулку. Упомянутый рокер смонтирован шарнирным соединением к рамам. Рамы шарнирно смонтированы к боковым частям упомянутой верхней опоры. Упомянутая опорная база шарнирно смонтирована к нижним частям упомянутых рам. Усилитель рамы, распорка и втулка жестко смонтированы к рамам неподвижным соединением. Основной рычаг смонтирован к рокеру и верхней опоре шарнирным соединением. Верхняя опора выполнена с креплением основного рычага для двух положений, где амортизатор смонтирован к втулке и рокеру шарнирным соединением, а малый рычаг смонтирован к рокеру и опорной базе шарнирным соединением. Рокер выполнен в виде монолитной детали. Амортизатор выполнен с возможностью регулировки. Угол между нижней гранью рам и плоскостью крепления протеза голени к опорной базе обеспечивается в диапазоне от 22° до 26°. Верхняя опора имеет возможность во время приседания пользователя изменять свой угол наклона. Основной рычаг имеет возможность во время приседания пользователя воздействовать на рокер так, что место крепления рокера к основному рычагу опускается, а место крепления рокера и штока амортизатора поднимается. Шток амортизатора имеет возможность во время приседания пользователя заходить в корпус амортизатора. Малый рычаг имеет возможность во время приседания пользователя толкать опорную базу с увеличением угла между плоскостью крепления верхней опоры и плоскостью крепления опорной базы. Изобретение обеспечивает повышение устойчивости пользователя при сгибании полицентрического коленного узла, а также обеспечить повышение прочности конструкции полицентрического коленного узла. 3 з.п. ф-лы, 9 ил., 3 пр.
1. Полицентрический коленный узел для искусственных ног, содержащий верхнюю монолитную опору с плоскостью крепления для жесткого крепления к культе бедра, опорную монолитную базу с плоскостью крепления для крепления протеза голени, рамы, усилитель рамы, основной рычаг, малый рычаг, рокер, амортизатор, распорку и втулку, при этом упомянутый рокер смонтирован шарнирным соединением к рамам, причем рамы шарнирно смонтированы к боковым частям упомянутой верхней опоры, упомянутая опорная база шарнирно смонтирована к нижним частям упомянутых рам, усилитель рамы, распорка и втулка жестко смонтированы к рамам неподвижным соединением, основной рычаг смонтирован к рокеру и верхней опоре шарнирным соединением, при этом верхняя опора выполнена с креплением основного рычага для двух положений, где амортизатор смонтирован к втулке и рокеру шарнирным соединением, а малый рычаг смонтирован к рокеру и опорной базе шарнирным соединением, при этом рокер выполнен в виде монолитной детали, а амортизатор выполнен с возможностью регулировки, угол между нижней гранью рам и плоскостью крепления протеза голени к опорной базе обеспечивается в диапазоне от 22° до 26°, верхняя опора имеет возможность во время приседания пользователя изменять свой угол наклона, при этом основной рычаг имеет возможность во время приседания пользователя воздействовать на рокер так, что место крепления рокера к основному рычагу опускается, а место крепления рокера и штока амортизатора поднимается, шток амортизатора имеет возможность во время приседания пользователя заходить в корпус амортизатора, малый рычаг имеет возможность во время приседания пользователя толкать опорную базу с увеличением угла между плоскостью крепления верхней опоры и плоскостью крепления опорной базы.
2. Полицентрический коленный узел по п. 1, отличающийся тем, что амортизатор выполнен пневмогидравлическим.
3. Полицентрический коленный узел по п. 1, отличающийся тем, что верхняя опора, рама, основной рычаг, рокер, опорная база, усилитель, распорка, кронштейн, малый рычаг и втулка выполнены из алюминиевого сплава.
4. Полицентрический коленный узел по п. 3, отличающийся тем, что в качестве алюминиевого сплава применен сплав Д16Т.
| US 20120150318 A1, 14.06.2012 | |||
| ИСКУССТВЕННЫЙ КОЛЕННЫЙ СУСТАВ | 2023 |
|
RU2823055C1 |
| US 7044983 B1, 16.05.2006 | |||
| US 8444704 B2, 21.05.2013 | |||
| US 7981164 B1, 19.07.2011 | |||
| DE 19845191 C1, 16.03.2000 | |||
| AT 324847 T, 15.06.2006. | |||
Авторы
Даты
2025-03-17—Публикация
2024-08-27—Подача