Предлагаемое изделие относится к копировально-разметочным устройствам и предназначено для одновременной фрезеровки пазов для дверной фурнитуры на дверном полотне и стойке.
Известно устройство для одновременной фрезеровки пазов для дверной фурнитуры на дверном полотне и стойке [Патент RU 2792471, 22.03.2023, МПК Е05В 17/06], состоящее из двух одинаковых баз и верхних регулируемых плит, каждая база включает центральный упор, верхний и нижний подвижные параллельные упоры, боковые подвижные упоры и верхнюю пластину, в центральный упор встроены струбцины с возможностью крепления в них дверного полотна и стойки на одном уровне обрабатываемых плоскостей, на торцах центрального упора размещены флажки, с возможностью настройки по ним верхней регулируемой плиты, сверху центрального упора крепится верхняя пластина, с возможностью центровки верхней регулируемой плиты относительно центра торца дверного полотна, нижний подвижный упор выполнен с ребрами жесткости, пазами фиксации подвижных боковых упоров, пазами для регулировочных флажков, пазами для встроенных струбцин и с пластиковой накладкой, на верхней плоскости нижнего подвижного упора расположены два держателя, выполненные с возможностью позиционирования верхней регулируемой плиты, за нижним упором, со стороны дверного полотна, расположены два боковых раздвижных упора, на боковых упорах со стороны нижнего упора выполнены флажки, по которым производится настройка ширины фрезеруемого паза, со стороны стойки расположен верхний упор, подвижно закрепленный на струбцинах с возможностью определения ширины стойки, в верхней части верхнего упора выполнены держатели, с возможностью выравнивания и позиционирования верхней регулируемой плиты, верхняя регулируемая плита состоит из трех неподвижных пластин, скрепленных между собой заклепками с возможностью обеспечения подвижности внутренней пластины, с отверстием под вставки шаблонов и элементов механизма центровки относительно полотна двери в виде двух треугольных накладок и внутренней подвижной пластины с отверстиями для фиксирования на держателе базы фиксирующими положение винтами, средняя неподвижная пластина имеет размер под вставку шаблона меньше, чем крайние пластины для опоры вставок шаблонов и имеет четыре магнита по углам, для исключения возможности случайного выпадения вставок шаблонов, центрирующий механизм, выполненный с возможностью учета разницы толщин д верного полотна и стойки, включает угловой упор, передвигающийся в пазах пластин верхней регулируемой плиты, угловые грани верхней пластины базы и треугольную накладку на нижнем упоре базы.
Недостатками устройства для врезки петель и замковых элементов является то, что боковые упоры расположены на самих базах, а также на каждой базе выполнены верхние подвижные упоры, что увеличивает количество необходимых настроек, вес, размеры изделия, увеличивает время подготовительных операций для производства работ.
Задачей предлагаемого технического решения является создание приспособления для врезки дверной фурнитуры различных видов и типов на дверное полотно и стойку одновременно, автоматический учет разницы толщин дверного полотна и стойки, уменьшение количества дополнительных механизмов и инструментов при проведении работ.
Техническим результатом предлагаемого технического решения является повышение точности фрезерования и копирования при одновременной врезке пазов на дверном полотне и стойке, упрощение, уменьшение и сохранение настроек при смене врезаемых дверных полотен и стоек, а также сокращение общего времени работы при выполнении фрезерования.
Технический результат достигается тем, что в приспособлении для одновременного фрезерования пазов на дверном полотне и стойке с автоматическим учетом разницы толщин дверного полотна и стойки используются две независимые базы одновременно, не соединенные между собой (позволяет врезать дверную фурнитуру на разной высоте дверей), конструкция базы выполняет роль струбцины для одновременной фиксации дверного полотна и стойки в одной плоскости, что обеспечивает равномерную и одинаковую глубину фрезерования пазов. А также на подвижном упоре и в верхней части каждой базы расположены фиксирующие элементы, служащие для позиционирования верхней регулируемой плиты, таким образом, чтобы достигалось условие описанной математической модели, для обеспечения точного примыкания дверного полотна к стойке.
Боковые упоры расположены на регулируемой плите, за счет чего достигается высокая точность копирования размеров ширины фрезеруемых пазов и исключается необходимость использования дополнительных устройств для переноса размеров с дверного полотна на стойку.
В предлагаемом устройстве верхний подвижный упор отсутствует и держатели верхней регулируемой плиты (пеньки) располагаются на самой базе неподвижно, условие математической модели выполняется за счет фиксации стойки таким образом, чтобы уплотнитель стойки касался базы.
Повышение точности врезки обеспечивается за счет автоматического учета разницы толщин дверного полотна и стойки, одновременной врезке на полотне и стойке, обеспечиваемой заявленной конструкцией устройства.
На Фиг. 1 представлена математическая модель.
На Фиг. 2 указано расположение приспособления при врезке петель.
На Фиг. 3 представлено расположение приспособления при врезке замковых элементов.
На Фиг. 4 представлены основные элементы базы: нижний подвижный упор, перекидная шторка пылеудаления.
На Фиг. 5 представлена разметка базы.
На Фиг. 6 представлена верхняя пластина базы.
На Фиг. 7 представлен нижний подвижный упор.
На Фиг. 8 представлена перекидная шторка пылеудаления.
На Фиг. 9 представлена регулируемая плита.
На Фиг. 10 представлена нижняя часть регулируемой плиты.
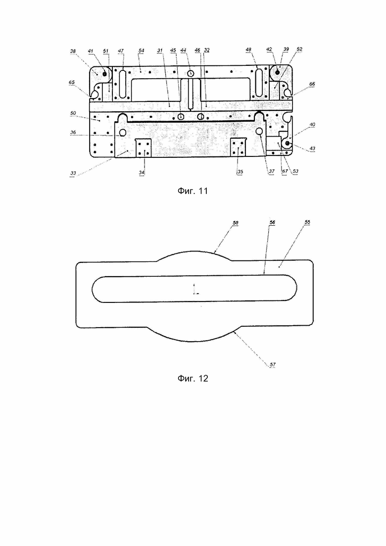
На Фиг. 11 представлено внутреннее устройство регулируемой плиты.
На Фиг. 12 представлен пример вставки шаблона.
На Фиг. 13 представлено положение регулируемой плиты на базе.
Заявленное приспособление для одновременного фрезерования пазов на дверном полотне и стойке с автоматическим учетом разницы толщин дверного полотна и стойки состоит из двух одинаковых баз и регулируемой плиты. Регулируемая плита состоит из трех неподвижных пластин, скрепленных между собой заклепками, так, чтобы обеспечить подвижность пластины вертикального перемещения регулируемой плиты, боковых упоров и запорных механизмов. С отверстием под вставки шаблонов и пластины вертикального перемещения регулируемой плиты с отверстиями для фиксирования на «пеньках» базы. Автоматический учет разницы толщин дверного полотна и стойки осуществляется согласно описанной математической модели.
Каждая база (Фиг. 4) включает: тело базы (7), верхнюю пластину базы (8), нижний подвижный упор (9), механизм зажима полотна (17, 18), механизм зажима стойки (15, 16), неподвижные держатели для фиксации и позиционирования регулируемой плиты (11, 14), держатели нижнего подвижного упора (12, 13), перекидная шторка пылеудаления (10).
На Фиг. 5 представлена разметка базы в виде вырезов: центральный (61) и вырезы ручек (62, 63).
Сверху базы находится верхняя пластина базы (Фиг. 6), на внутреннем сгибе которой находятся отверстия (23) для крепления оси перекидной шторки пылеудаления. Вырезы (19, 20) служат для перемещения держателей нижнего подвижного упора. Отверстия (21, 22) для неподвижных держателей.
Со стороны крепления полотна размещен нижний подвижный упор (Фиг. 7), состоит из тела упора (26); отверстия для держателей (24, 25) для фиксации и позиционирования регулируемой плиты.
Перекидная шторка пылеудаления (Фиг. 8) выполнена из Т-образного профиля, с осью вращения (27) тела шторки (10) и гранями (28, 29) которые служат для поддержки регулируемой плиты в процессе работы.
Регулируемая плита (Фиг. 9) состоит из верхней пластины (30) с окном для вставок шаблонов (49) для позиционирования отдельных шаблонов вставок; пазами для держателей базы (47, 48); боковые упоры (31, 32); зажимы боковых упоров (38, 39), которые крепятся на осях (41, 42), магниты для удержания шаблонов вставок (44, 45, 46); пластина вертикального перемещения плиты (33) с отверстиями для держателей базы (36, 37); накладками (34, 35); шкалами смещения (59, 60); зажимом пластины вертикального смещения плиты (40) закрепленной на оси (43); нижней пластины регулируемой плиты (64) (Фиг. 10).
Внутреннее устройство регулируемой плиты (Фиг. 11) эксцентриковые зажимы боковых упоров (38, 39) на осях (41, 42) зажимают боковые упоры (31, 32) через толкатели (51, 52) которые, находятся в каналах, образованных неподвижными элементами (65-54 и 66-54), чтобы избежать смещения. Пластина вертикального смещения (33) также зажимается эксцентриковым зажимом (40) на оси (43) через толкатель (53) находящийся в канале, образованном неподвижными элементами (50, 67).
Регулируемая плита, при фрезеровании пазов и отверстий на дверной стойки, связана с нижним упором, который прижимает дверное полотно, так, что при изменении размера толщины полотна сдвигается и регулируемая плита, а следовательно и изменяется глубина фрезеруемого паза на стойке, а при фрезеровании пазов и отверстий на полотне, верхняя регулируемая плита неподвижно связана с базой и размеры стойки не влияют на фрезерование пазов на полотне, но так как стойка фиксируется на базе, касаясь уплотнителем самой базы, при монтаже полотна формируется правильный притвор дверного полотна к уплотнителю стойки.
При перевороте регулируемой плиты вниз лицом, не меняя настроек, фрезеруемые пазы на стойке и полотне располагаются строго друг напротив друга, с учетом разницы толщин дверного полотна и стойки, за счет этого достигается плотное прижатие полотна к уплотнителю при монтаже двери, согласно описанной математической модели.
Вариант шаблона вставки (Фиг. 12), где (55) шаблон вставка, (56) отверстие для фрезерования по копировальному кольцу, выступы для фиксации шаблона на магнитах регулируемой плиты (57, 58).
Устройство работает следующим образом.
Повышение точности фрезерования и копирования при одновременной врезке пазов на дверном полотне и стойке обеспечивается за счет того, что длина фрезеруемого паза выставляется на регулируемой пластине, и переносится на все фрезеруемые позиции.
При врезке петель, на полотне необходимо отметить центры врезаемых петель, разместить обе базы на полотне таким образом, чтобы центры петель совместились с центральными рисками на базах (61) (Фиг. 5). Зажать дверь механизмом зажима полотна (17, 18) (Фиг. 5). После закрепить на базах стойку, вставив ее в базы до упирания уплотнителя стойки в базу. Зажав механизм зажима стойки. (15, 16) (Фиг. 4).
Врезка карточных петель происходит без использования шаблонов вставок. Необходимый размер фрезеруемого паза выполняется фрезером с копировальным кольцом в окне для вставок шаблонов (49) (Фиг. 9) по боковым упорам регулируемой плиты (31, 32) (Фиг. 9). Поместить регулируемую плиту на одну из баз. Держатели на базе обеспечивают неподвижность и параллельность регулируемой плиты. Чтобы настроить регулируемую плиту для врезки карточных петель необходимо вычислить глубину фрезеруемого паза на дверном полотне. Если толщина стойки равна или меньше толщины полотна, глубина фрезеруемого паза равна ширине петли. Если толщина стойки больше толщины полотна, необходимо уменьшить глубину фрезеруемого паза на разницу толщины стойки и полотна. После необходимо расслабить эксцентриковый зажим пластины вертикального смещения и сдвинуть пластину так, чтобы торцы накладок пластины вертикального смещения (34, 35) (Фиг. 9) совпали со значением вычисленной глубины фрезеруемого паза по шкалам (59, 60) (Фиг. 9), и зафиксировать положение, зажав эксцентриковый зажим (43) (Фиг. 9). Чтобы выставить длину фрезеруемого паза, необходимо раздвинуть боковые упоры (31, 32) (Фиг. 9), расслабив эксцентриковые зажимы (38, 39) (Фиг. 9) так, чтобы расстояние между выступами на упорах равнялось длине петли и зафиксировать положение, зажав эксцентриковые зажимы. Произвести фрезеровку, перевернуть плиту лицом вниз, посадив отверстиями на держатели базы и выполнить фрезерование второй части петли. Перенести плиту на вторую базу, и выполнить фрезерование не меняя настроек.
При выполнении пазов, требующих центровки в торце полотна, необходимо измерить толщину полотна, и сдвинуть пластину вертикального сдвига верхней плиты на соответствующее расстояние.
Одновременное использование двух вставок шаблонов. При фрезеровании пазов для скрытых петель необходимо производить операцию в два этапа. Первым этапом производится фрезерование верхней части петли с большим по длине пазом, вторым - тело петли с меньшим пазом, но большим по глубине. При первом этапе, с нижней части регулируемой плиты в окно для вставок шаблонов устанавливается вставка, соответствующая размеру верхней части петли, после фрезерования, в окно для вставок шаблона на регулируемой плите сверху устанавливается шаблон соответствующий телу петли, не снимая нижний шаблон для верхней части петли. Это уменьшает количество необходимых операций, увеличивает производительность и уменьшает общее время фрезерования.
Преимуществом данного шаблона является то, что все настройки производятся на регулируемой плите, перенос размеров на ответных пазах врезаемой фурнитуры с учетом притвора дверного полотна к стойке. Возможность использования двух вставок шаблонов при врезке одновременно. Отсутствие дополнительных устройств и приспособлений для закрепления приспособления на полотне, и крепления к нему стойки. Выполнение операции по фрезерованию на четырех позициях, не меняя настроек. Автоматическая подстройка размеров для соблюдения необходимого притвора, так как в большинстве случаев толщина дверного полотна отличается от глубины четверти стойки.
Не требуется использование верстака при выполнении работ по врезке фурнитуры на дверных стойках.
Не требуется использовать дополнительные приспособление для контроля расстояния между фрезеруемыми пазами (съемная ограничительная штанга) при переносе размеров на другие дверные полотна и стойки.
| название | год | авторы | номер документа |
|---|---|---|---|
| ФРЕЗЕРНО-КОПИРОВАЛЬНОЕ УСТРОЙСТВО ДЛЯ ДВЕРНОГО ПОЛОТНА | 2021 |
|
RU2792471C1 |
| ПРИСПОСОБЛЕНИЕ ДЛЯ ВРЕЗКИ ДВЕРНОЙ ФУРНИТУРЫ | 2015 |
|
RU2578576C1 |
| Способ изготовления детали мебели | 2024 |
|
RU2839992C1 |
| СПОСОБ ВРЕЗКИ ПЕТЕЛЬ | 2014 |
|
RU2559547C1 |
| Робототехнический комплекс для текущего и капитального ремонта скважин на единой базе | 2019 |
|
RU2736591C1 |
| Устройство для сборки под сварку | 1978 |
|
SU766806A1 |
| Термотоннель для упаковки продукции в термоусадочную пленку | 2024 |
|
RU2828895C1 |
| Копировальный станок по дереву | 1936 |
|
SU54134A1 |
| Приспособление к фрезерному станку для обработки винторезных плашек | 1934 |
|
SU47532A1 |
| ЭКРАН ДЛЯ ВАНН | 2003 |
|
RU2224453C1 |
Изобретение относится к копировально-разметочным устройствам и предназначено для одновременной фрезеровки пазов для дверной фурнитуры на дверном полотне и стойке. Копировально-разметочное устройство для дверного полотна и стойки состоит из двух одинаковых баз и регулируемой плиты. Каждая база включает тело базы с механизмами зажима полотна и механизмами зажима стойки, сверху которого установлена верхняя пластина базы, и нижний подвижный упор, расположенный со стороны крепления дверного полотна под верхней пластиной базы. На внутреннем сгибе верхней пластины базы находятся отверстия для крепления оси перекидной шторки пылеудаления, а с противоположной стороны тела базы в верхней пластине выполнены отверстия, в которых расположены неподвижные держатели для фиксации и позиционирования регулируемой плиты, а также вырезы, в которых крепится нижний подвижный упор с помощью держателей нижнего подвижного упора с возможностью перемещения. Перекидная шторка пылеудаления выполнена из Т-образного профиля с гранями для поддержки регулируемой плиты, а регулируемая плита состоит из трех пластин: верхней пластины, нижней пластины и пластины вертикального перемещения, скрепленных между собой заклепками с возможностью обеспечения подвижности пластины вертикального перемещения регулируемой плиты, боковых упоров и зажимных механизмов. Верхняя пластина регулируемой плиты выполнена с окном для вставок шаблонов, магнитами для удержания вставок шаблонов, пазами и отверстиями для держателей базы, с перемещающимися боковыми упорами для установки вставок шаблонов, эксцентриковыми зажимами боковых упоров, установленными на осях зажимов боковых упоров, которые зажимают боковые упоры через толкатели, находящиеся в каналах, образованных неподвижными элементами таким образом, чтобы избежать смещения. Пластина вертикального перемещения регулируемой плиты выполнена с отверстиями для держателей базы и накладками для регулировки фрезеруемых пазов и отверстий. Пластина вертикального смещения зажимается эксцентриковым зажимом, закрепленным на оси эксцентрикового зажима, через толкатель, находящийся в канале, образованном неподвижными элементами. Нижняя пластина регулируемой плиты выполнена с окном для вставок шаблонов, пазами и отверстиями для фиксирования на держателях базы. Техническим результатом является повышение точности фрезерования и копирования при одновременной врезке пазов на дверном полотне и стойке, упрощение, уменьшение и сохранение настроек при смене врезаемых дверных полотен и стоек, а также сокращение общего времени работы при выполнении фрезерования. 13 ил.
Копировально-разметочное устройство для дверного полотна и стойки, состоящее из двух одинаковых баз и регулируемой плиты, при этом каждая база включает тело базы с механизмами зажима полотна и механизмами зажима стойки, сверху которого установлена верхняя пластина базы, и нижний подвижный упор, расположенный со стороны крепления дверного полотна под верхней пластиной базы, при этом на внутреннем сгибе верхней пластины базы находятся отверстия для крепления оси перекидной шторки пылеудаления, а с противоположной стороны тела базы в верхней пластине выполнены отверстия, в которых расположены неподвижные держатели для фиксации и позиционирования регулируемой плиты, а также вырезы, в которых крепится нижний подвижный упор с помощью держателей нижнего подвижного упора с возможностью перемещения, перекидная шторка пылеудаления выполнена из Т-образного профиля с гранями для поддержки регулируемой плиты, а регулируемая плита состоит из трех пластин: верхней пластины, нижней пластины и пластины вертикального перемещения, скрепленных между собой заклепками с возможностью обеспечения подвижности пластины вертикального перемещения регулируемой плиты, боковых упоров и зажимных механизмов, при этом верхняя пластина регулируемой плиты выполнена с окном для вставок шаблонов, магнитами для удержания вставок шаблонов, пазами и отверстиями для держателей базы, с перемещающимися боковыми упорами для установки вставок шаблонов, эксцентриковыми зажимами боковых упоров, установленными на осях зажимов боковых упоров, которые зажимают боковые упоры через толкатели, находящиеся в каналах, образованных неподвижными элементами таким образом, чтобы избежать смещения, пластина вертикального перемещения регулируемой плиты выполнена с отверстиями для держателей базы и накладками для регулировки фрезеруемых пазов и отверстий, при этом пластина вертикального смещения зажимается эксцентриковым зажимом, закрепленным на оси эксцентрикового зажима, через толкатель, находящийся в канале, образованном неподвижными элементами, а нижняя пластина регулируемой плиты выполнена с окном для вставок шаблонов, пазами и отверстиями для фиксирования на держателях базы.
| ФРЕЗЕРНО-КОПИРОВАЛЬНОЕ УСТРОЙСТВО ДЛЯ ДВЕРНОГО ПОЛОТНА | 2021 |
|
RU2792471C1 |
| СПОСОБ ВРЕЗКИ ПЕТЕЛЬ | 2014 |
|
RU2559547C1 |
| ПРИСПОСОБЛЕНИЕ ДЛЯ ВРЕЗКИ ДВЕРНОЙ ФУРНИТУРЫ | 2015 |
|
RU2578576C1 |
| US 4058902 A1, 22.11.1977 | |||
| US 20070283528 A1, 13.12.2007 | |||
| US 7421791 B2, 09.09.2008. | |||
Авторы
Даты
2025-04-04—Публикация
2023-08-11—Подача