Область техники, к которой относится изобретение
Настоящее изобретение в целом относится к способу получения рабочего электрода и к сенсору для аналита, содержащему рабочий электрод, а также к применению сенсора для аналита для определения по меньшей мере одного аналита в образце. В частности, изобретение относится к способу получения рабочего электрода, причем способ включает лазерное облучение.
Уровень техники
Мониторинг определенных функций организма, конкретнее, мониторинг одной или более концентраций определенных аналитов, играет важную роль в предотвращении и лечении различных заболеваний.
Наряду с так называемыми точечными измерениями, в которых образец физиологической жидкости берут непосредственно у пользователя и исследуют в отношении концентрации аналита, все более доступными становятся непрерывные измерения. Следовательно, существует нарастающая потребность в точных сенсорах для аналитов, которые обеспечивают надежное и экономичное определение аналитов из физиологической жидкости или других образцов. Сенсор для аналита для определения концентрации аналита в условиях in vivo известен из WO 2010/028708 А1. Другой пример такого сенсора раскрыт в WO 2012/130841 А1. Кроме того, в WO 2007/147475 А1 раскрыт амперометрический сенсор, выполненный с возможностью имплантации в живой организм для измерения концентрации аналита в физиологической жидкости. Альтернативный сенсорный элемент раскрыт в WO 2014/001382 А1.
При производстве коммерчески доступных сенсоров для аналитов необходим шаг структурирования для формирования слоя сенсорного материала на подложке сенсора, такого как сенсоры непрерывного или долгосрочного действия для мониторинга глюкозы. Современные пути проведения этого шага структурирования включают способы трафаретной печати, покрытия погружением и дозирования.
Недостатком этих способов является то, что сенсорный материал невозможно достаточно равномерно наносить на сенсорную подложку, из-за чего возникает неоднородность, в частности на краях сенсорной подложки. Эти так называемые краевые эффекты приводят к изменчивой чувствительности сенсора в отношении разных зарядов. Чтобы уменьшить изменчивость чувствительности сенсорного сигнала в отношении разных зарядов необходим детальный мониторинг и точный подбор производственных параметров. Это может быть времязатратным и дорогостоящим.
В WO 2006/018447 раскрыт способ получения комплектов электродов для применения в электрохимическом сенсоре. В этом способе проводящие слои наносят на диэлектрическую подложку, а проводящие дорожки формируют посредством лазерной абляции. Подробная информация о нанесении слоя сенсорного материала на рабочий электрод не приведена.
В US 9880126 раскрыт биосенсор и способ его получения. Этот сенсор содержит углеродный слой, который можно получать посредством лазерной абляции. Подробная информация о нанесении слоя сенсорного материала на рабочий электрод не приведена.
В WO 2010/099507 А1 раскрыты способы и системы для обеспечения непрерывного мониторинга аналита, включая in vivo сенсоры, для которых не требуется какая-либо калибровка со стороны пользователя во время in vivo применения. Кроме того, в ней раскрыты способы производства бескалибровочных сенсоров и технологии постпроизводственной упаковки и хранения.
В JP 2019078573 раскрыт способ производства биосенсора, который снижает чувствительность биосенсора во время его производства вне зависимости от концентрации компонента объекта измерения. В способе производства биосенсора электродный слой биосенсора, который содержит систему электродов, содержащую по меньшей мере электрод действия и противоэлектрод, формируют на изолирующей подложке, а выявляющий слой, который содержит компонент, вступающий в реакцию с компонентом объекта измерения, формируют на электродном слое. По меньшей мере выявляющий слой соскребают после формирования выявляющего слоя.
В US 2014/0054171 А1 раскрыт сенсор для аналита, выполненный с возможностью использования кислорода в качестве окислителя, и способ его производства и применения. Этот сенсор для аналита содержит катализатор для облегчения использования кислорода в качестве окислителя. Катализатор может находиться на электроде сенсора для аналита.
В статье Feldmann et al., опубликованной в Diabetes Technology & Therapeutics, Vol. 5, No. 5, 2003, 769-780, раскрыто исследование с использованием 48 сенсоров, имплантированных на три дня. Проспективную калибровку проводили, используя капиллярную кровь.
ЕР 2119795 А1 относится к одноразовой электродной полоске для присоединения к схеме считывания сигнала сенсорной системы для определения тока, характерного для аналита, в водной среде.
Задача, которую решает настоящее изобретение, состоит в обеспечении способа получения сенсора для аналита, в котором отсутствуют вышеупомянутые недостатки. В частности, целью настоящего изобретения является обеспечения способа получения, результатом которого является однородная структура сенсорного материала на рабочем электроде, в связи с чем устраняется или по меньшей мере значительно уменьшается необходимость детального мониторинга и точного подбора производственных параметров.
Следовательно, необходимо обеспечить способ получения сенсора для аналита, который решает вышеупомянутые технические задачи. Дополнительно необходимо обеспечить сенсор для аналита, который обладает высокой и воспроизводимой чувствительностью в отношении разных зарядов, но производство которого является низкозатратным, например, за счет применения способа получения, позволяющего избежать детального мониторинга и точного подбора производственных параметров.
Сущность изобретения
Эта задача решена способом получения рабочего электрода и сенсора для аналита, содержащего рабочий электрод, с признаками независимых пунктов формулы изобретения. Преимущественные варианты осуществления, которые можно реализовать отдельно или в любых произвольных комбинациях, перечислены в зависимых пунктах формулы изобретения и в тексте описания.
Способ в соответствии с изобретением является преимущественным, поскольку он обеспечивает возможность производства рабочего электрода, который может содержаться в сенсоре для аналита, с высокой и воспроизводимой чувствительностью в отношении разных зарядов. Кроме того, чувствительность можно выбирать и точно корректировать во время производства. Поскольку детального мониторинга и точного подбора производственных параметров можно избежать, можно уменьшить затраты и возможна заводская калибровка сенсора. Кроме того, можно уменьшить дрейф сенсора.
Используемые далее по тексту термины "иметь", "содержать" или "включать" или любые их произвольные грамматические вариации используют неисключительным образом. Таким образом, эти термины могут относиться как к ситуации, в которой, помимо признака, представленного этими терминами, в объекте, описанном в этом контексте, отсутствуют другие признаки, так и к ситуации, в которой присутствуют один или более дополнительных признаков. Например, выражения "А имеет Б", "А содержит Б" и "А включает Б" могут относиться как к ситуации, в которой, помимо Б, в А отсутствует другой элемент (т.е. ситуации, в которой А состоит только и исключительно из Б), так и к ситуации, в которой, помимо Б, в объекте А присутствуют один или более дополнительных элементов, таких как элемент В, элементы В и Г или даже дополнительные элементы.
Кроме того, следует отметить, что термины "по меньшей мере один", "один или более" или аналогичные выражения, указывающие на то, что признак или элемент может быть представлен один раз или более одного раза, обычно используют только один раз при введении соответствующего признака или элемента. Далее по тексту в большинстве случаев, когда речь идет о соответствующем признаке или элементе, выражения "по меньшей мере один" или "один или более" не будут повторяться несмотря на то, что соответствующий признак или элемент может быть представлен один раз или более одного раза.
Кроме того, используемые далее по тексту термины "предпочтительно", "более предпочтительно", "в частности", "конкретнее", "конкретно", "более конкретно" или аналогичные термины используют в сочетании с необязательными признаками, без ограничения альтернативных возможностей. Таким образом, признаки, представленные этими терминами, являются необязательными признаками и никоим образом не подразумевают ограничения объема формулы изобретения. Данное изобретение, как будет понятно специалисту в данной области техники, можно осуществлять, используя альтернативные признаки. Аналогично, подразумевается, что признаки, представленные выражением "в варианте осуществления изобретения" или аналогичными выражениями, являются необязательными признаками без каких-либо ограничений в отношении альтернативных вариантов осуществления изобретения, без каких-либо ограничений в отношении объема изобретения и без каких-либо ограничений в отношении возможности комбинации представленных таким образом признаков с другими необязательными или не необязательными признаками изобретения.
В соответствии с настоящим изобретением раскрыт способ получения рабочего электрода на сенсорной подложке. Рабочий электрод может быть частью сенсора для аналита.
Этот способ включает следующие шаги, которые можно, в частности, проводить в заданном порядке. Кроме того, два или более шагов способа можно проводить одновременно или частично одновременно. Кроме того, один или более чем один или даже все шаги способа можно проводить один или более чем один раз или даже повторно или непрерывно. Способ может дополнительно включать дополнительные шаги способа, которые не перечислены. Способ включает следующие шаги:
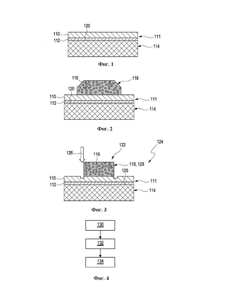
а) предоставление по меньшей мере одной сенсорной подложки, содержащей по меньшей мере первую сторону, причем первая сторона содержит по меньшей мере одну проводящую дорожку;
б) нанесение по меньшей мере одного слоя по меньшей мере одного сенсорного материала на первую сторону сенсорной подложки, причем сенсорный материал покрывает по меньшей мере часть по меньшей мере одной проводящей дорожки; и
в) облучение слоя сенсорного материала по меньшей мере одним лазерным лучом, причем по меньшей мере первую часть слоя сенсорного материала по меньшей мере частично удаляют, а по меньшей мере вторая часть сенсорного материала, покрывающая по меньшей мере одну проводящую дорожку, сохраняется на первой стороне сенсорной подложки с получением по меньшей мере одного рабочего электрода на сенсорной подложке.
Дополнительным предметом настоящего изобретения является способ изготовления рабочего электрода на сенсорной подложке, включающий:
а) предоставление по меньшей мере одной сенсорной подложки, содержащей по меньшей мере первую сторону, причем первая сторона содержит по меньшей мере одну проводящую дорожку;
б) нанесение по меньшей мере одного слоя по меньшей мере одного сенсорного материала на первую сторону сенсорной подложки, причем сенсорный материал покрывает по меньшей мере часть по меньшей мере одной проводящей дорожки; и
в) облучение слоя сенсорного материала по меньшей мере одним лазерным лучом, причем по меньшей мере первую часть слоя сенсорного материала по меньшей мере частично удаляют, а по меньшей мере вторая часть сенсорного материала, покрывающая по меньшей мере одну проводящую дорожку, сохраняется на первой стороне сенсорной подложки с получением по меньшей мере одного рабочего электрода на сенсорной подложке,
д) нанесение по меньшей мере одного мембранного слоя, причем мембранный слой по меньшей мере частично покрывает рабочий электрод, причем мембранный слой содержит по меньшей мере один сшивающий агент для перекрестного сшивания по меньшей мере части сенсорного материала, при этом способ дополнительно включает:
е) по меньшей мере один диффузионный шаг, причем на диффузионном шаге сшивающий агент, содержащийся в мембранном слое, по меньшей мере частично диффундирует в сенсорный материал.
Описанные далее варианты осуществления и предпочтительные параметры относятся к обоим вышеописанным способам.
В контексте данного документа термин "рабочий электрод" является широким термином, и должен быть понятен специалисту в данной области техники в своем обычном и стандартном значении, и не должен ограничиваться специальным или индивидуальным значением. В частности, этот термин может относиться, без ограничения, к электроду сенсора для аналита, являющемуся чувствительным к аналиту. Рабочий электрод может находиться на по меньшей мере одной сенсорной подложке, содержащей по меньшей мере одну первую сторону. В частности, рабочий электрод содержит по меньшей мере одну проводящую дорожку и по меньшей мере один слой по меньшей мере одного сенсорного материала, нанесенный на проводящую дорожку на первой стороне сенсорной подложки. Сенсорный материал может покрывать по меньшей мере часть по меньшей мере одной проводящей дорожки. Первая часть слоя сенсорного материала может быть облучена лазером с помощью по меньшей мере одного лазерного луча так, чтобы вторая часть сенсорного материала, покрывающая проводящую дорожку, сохранялась на первой стороне сенсорной подложки, причем указанная вторая часть сенсорного материала в сочетании с проводящей дорожкой образует по меньшей мере один рабочий электрод. Рабочий электрод может содержаться в сенсоре для аналита. Сенсор для аналита, как правило, дополнительно содержит дополнительный электрод, такой как, например, противоэлектрод и/или электрод сравнения. Слой сенсорного материала может присутствовать только на рабочем электроде и, как правило, может отсутствовать на любых дополнительных электродах, например, противоэлектрод и/или электрод сравнения могут не содержать слой сенсорного материала.
Кроме того, в настоящем изобретении раскрыт способ получения сенсора для аналита. Способ получения сенсора для аналита включает способ получения рабочего электрода на подложке, как описано в данном документе, и шаг обеспечения по меньшей мере одного дополнительного электрода.
Сенсор для аналита может быть выполнен с возможностью по меньшей мере частичной имплантации, в частности чрескожного введения, в ткань организма пользователя, конкретнее, сенсор для аналита может быть выполнен с возможностью непрерывного мониторинга аналита, еще конкретнее, сенсор для аналита может быть выполнен с возможностью непрерывного мониторинга глюкозы.
Термины "пользователь" и "субъект" взаимозаменяемо используют в данном документе. Эти термины могут, в частности, относиться к человеку.
В контексте данного документа термин "сенсор для аналита" является широким термином, и должен быть понятен специалисту в данной области техники в своем обычном и стандартном значении, и не должен ограничиваться специальным или индивидуальным значением. Этот термин, в частности, может относиться, без ограничения, к произвольному элементу или устройству, выполненному с возможностью определения или измерения концентрации по меньшей мере одного аналита. В частности, сенсор для аналита может представлять собой сенсор для аналита, пригодный для по меньшей мере частичной имплантации в ткань организма пользователя, конкретнее, сенсор для аналита для непрерывного мониторинга аналита.
Сенсор для аналита по изобретению представляет собой электрохимический сенсор, содержащий рабочий электрод, получаемый в соответствии со способом по настоящему изобретению, и по меньшей мере один дополнительный электрод и соответствующую схему. Конкретнее, сенсор представляет собой амперометрический электрохимический сенсор, содержащий по меньшей мере один рабочий электрод. Как правило, сенсор для аналита содержит по меньшей мере один дополнительный электрод, в частности противоэлектрод и/или электрод сравнения или комбинированный противоэлектрод/электрод сравнения. Рабочий электрод является чувствительным к аналиту, подлежащему измерению, при напряжении поляризации, которое можно подавать между рабочим электродом и электродом сравнения и которое можно регулировать потенциостатом. Измеряемый сигнал может быть представлен электрическим током между противоэлектродом и рабочим электродом. Отдельный противоэлектрод может отсутствовать, но может присутствовать псевдоэлектрод сравнения, который также может действовать как противоэлектрод. Таким образом, сенсор для аналита, как правило, может содержать набор из по меньшей мере двух, в одном варианте осуществления набор из трех, электродов. В одном варианте осуществления сенсор для аналита содержит точно два электрода, в частности точно один рабочий электрод и один комбинированный противоэлектрод/электрод сравнения. В частности, сенсорный материал присутствует только в рабочем электроде.
В частности, сенсор для аналита в соответствии с настоящим изобретением может быть полностью или частично имплантируемым и может, таким образом, быть адаптирован для проведения определения аналита в физиологической жидкости в подкожной ткани, в частности, в интерстициальной жидкости. Другие части или компоненты могут оставаться за пределами ткани организма. Например, в контексте данного документа термины "имплантируемый" или "подкожный" относятся к полному или по меньшей мере частичному расположению в ткани организма пользователя. С этой целью сенсор для аналита может содержать вставляемую часть, причем термин "вставляемая часть" может в целом относиться к части или компоненте элемента, выполненной с возможностью вставки в произвольную ткань организма, тогда как противоэлектрод и/или электрод сравнения комбинированного противоэлектрода/электрода сравнения могут оставаться за пределами ткани организма. Предпочтительно вставляемая часть может полностью или частично содержать биосовместимую поверхность, которая по возможности может оказывать незначительное вредоносное действие на пользователя или ткань организма, по меньшей мере в течение обычной продолжительности применения. С этой целью вставляемая часть может быть полностью или частично покрыта по меньшей мере одним биосовместимым мембранным слоем, таким как по меньшей мере одна полимерная мембрана, например гель-мембрана, которая с одной стороны может быть проницаемой для физиологической жидкости или по меньшей мере для аналита, содержащегося в ней, а с другой стороны может быть непроницаемой для соединений, содержащихся в сенсоре для аналита, в частности в рабочем электроде, предотвращая, таким образом, их перенос в ткань организма. Дополнительная информация, касающаяся биосовместимого мембранного слоя, раскрыта в другом месте данного документа.
Кроме того, в контексте данного документа термин "аналит" является широким термином, и должен быть понятен специалисту в данной области техники в своем обычном и стандартном значении, и не должен ограничиваться специальным или индивидуальным значением. Этот термин, в частности, может относиться, без ограничения, к произвольному элементу, компоненту или соединению, которые могут присутствовать в физиологической жидкости и концентрация которых может представлять интерес для пользователя. В частности, аналит может представлять собой или содержать произвольное химическое вещество или химическое соединение, которое может участвовать в метаболизме пользователя, например по меньшей мере один метаболит. Как пример, по меньшей мере один метаболит может быть выбран из группы, состоящей из глюкозы, холестерина, триглицеридов, лактата, кетонов, мочевины, креатинина, глутамата, этанола, аскорбиновой кислоты, холина, ацетилхолина, полифенола, монофенолов, дигидроксифенолов, бисфенола А (ВРА) и гидрохлоротиазида (Hct); конкретнее, аналит может представлять собой глюкозу. При этом в дополнительном или альтернативном варианте можно определять другие типы аналитов и/или комбинаций аналитов, такие как концентрация электролита или значение pO2, pCO2, рН или Hb, что означает концентрацию кислорода, диоксида углерода, водорода или гемоглобина, соответственно.
Даже более, в контексте данного документа термин "сенсорная подложка" является широким термином, и должен быть понятен специалисту в данной области техники в своем обычном и стандартном значении, и не должен ограничиваться специальным или индивидуальным значением. Этот термин, в частности, может относиться, без ограничения, к любому типу материала или комбинации материалов, которые подходят для образования слоя носителя для основы для проводящих дорожек и/или слоя сенсорного материала, как описано в данном документе. В частности, "сенсорная подложка" в понимании данного документа может содержать электроизоляционный материал.
В контексте данного документа термин "слой" является широким термином, и должен быть понятен специалисту в данной области техники в своем обычном и стандартном значении, и не должен ограничиваться специальным или индивидуальным значением. Этот термин, в частности, может относиться, без ограничения, к элементу слоевой компоновки сенсора для аналита. В частности, термин "слой" может относиться к произвольному покрытию произвольной подложки, в частности плоской подложки. В частности, слой может иметь боковую длину, превышающую его толщину по меньшей мере в 2 раза, по меньшей мере в 5 раз, по меньшей мере в 10 раз или даже по меньшей мере в 20 раз или более. В частности, сенсор для аналита может иметь слоевую компоновку. Сенсор для аналита может содержать множество слоев, таких как по меньшей мере одна проводящая дорожка, по меньшей мере один слой по меньшей мере одного сенсорного материала, по меньшей мере один мембранный слой. Один или более слоев сенсора для аналита могут содержать подслои. Например, слой, содержащий проводящую дорожку, может содержать по меньшей мере один дополнительный слой.
В контексте данного документа термин "электроизоляционный материал" является широким термином, и должен быть понятен специалисту в данной области техники в своем обычном и стандартном значении, и не должен ограничиваться специальным или индивидуальным значением. "Электроизоляционный материал" также может относиться к диэлектрическому материалу. Этот термин, в частности, может относиться, без ограничения, к материалу или комбинации материалов, которые предотвращают перенос электрических зарядов и которые не поддерживают значительный электрический ток. В частности, без ограничения других возможностей, по меньшей мере один электроизоляционный материал может представлять собой или может содержать по меньшей мере одну изоляционную смолу, такую как изоляционные эпоксидные смолы, используемые при производстве электронных печатных плат; в частности он может содержать или представлять собой термопластический материал, такой как поликарбонат, сложный полиэфир, такой как полиэтилентерефталат (ПЭТ), поливинилхлорид (ПВХ), полиуретан, полиэфир, полиамид, полиимид или их сополимер, такой как гликоль-модифицированный полиэтилентерефталат; полиэтиленнафталат, политетрафторэтилен или оксид алюминия.
В способе и в сенсоре для аналита в соответствии с настоящим изобретением сенсорная подложка может содержать две противоположные стороны, по меньшей мере одну первую сторону и по меньшей мере одну вторую сторону, противоположную первой стороне.
В частности, сенсор для аналита, конкретнее сенсорная подложка, может дополнительно содержать по меньшей мере один дополнительный электрод, причем по меньшей мере один дополнительный электрод может включать по меньшей мере один из электрода сравнения и противоэлектрода. В одном варианте осуществления по меньшей мере один дополнительный электрод включает комбинированный противоэлектрод/электрод сравнения. В частности, электрод сравнения может содержать по меньшей мере одну проводящую дорожку электрода сравнения; и/или противоэлектрод может содержать по меньшей мере одну проводящую дорожку противоэлектрода. Следует понимать, что в случае, когда дополнительный электрод включает комбинированный противоэлектрод/электрод сравнения, варианты осуществления и предпочтительные параметры, описанные в связи с проводящей дорожкой электрода сравнения и проводящей дорожкой противоэлектрода, применимы с соответствующими поправками к проводящей дорожке комбинированного противоэлектрода/электрода сравнения. Конкретнее, по меньшей мере один дополнительный электрод может находиться по меньшей мере на одной из первой стороны и второй стороны, противоположной первой стороне, сенсорной подложки.
В контексте данного документа термин "проводящая дорожка" является широким термином, и должен быть понятен специалисту в данной области техники в своем обычном и стандартном значении, и не должен ограничиваться специальным или индивидуальным значением. Этот термин, в частности, может относиться, без ограничения, к электропроводящей полоске, слою, проводу или другому типу удлиненного электрического проводника. Конкретнее, термин "проводящая дорожка" может относиться, без ограничения, к материалу, который является электропроводящим и, следовательно, способным поддерживать электрический ток, например, проводящая дорожка может содержать по меньшей мере один материал, выбранный из группы, состоящей из углерода; угольной пасты; золота; меди; серебра; никеля; платины; палладия. В частности, проводящая дорожка может представлять собой или содержать по меньшей мере один металл, такой как один или более металл из меди, золота, серебра, никеля, палладия или платины. В дополнительном или альтернативном варианте по меньшей мере одна проводящая дорожка может представлять собой или содержать по меньшей мере одно электропроводящее соединение, такое как по меньшей мере одно электропроводящее органическое или неорганическое соединение. В дополнительном или альтернативном варианте по меньшей мере одна проводящая дорожка может представлять собой или содержать по меньшей мере один неметаллический электропроводящий материал, например, полианилин, поли-3,4-этилендиокситиофен (ПЭДОТ), углерод или угольную пасту. В частности, угольная паста может относиться к материалу, содержащему углерод, растворитель, такой как бутиловый эфир диэтиленгликоля, и по меньшей мере связующее вещество, такое как со- и терполимеры винилхлорида. Предпочтительно проводящая дорожка в соответствии с настоящим изобретением может содержать золото и/или углерод; более предпочтительно проводящая дорожка может состоять из золота и/или углерода. В частности, проводящая дорожка может содержать золото и дополнительный материал, например углерод.
Кроме того, проводящая дорожка может содержать по меньшей мере один дополнительный слой по меньшей мере одного дополнительного материала, в частности дополнительный слой может содержать дополнительный электропроводящий материал. Конкретнее, дополнительный слой проводящей дорожки может содержать углерод или состоять из него. Дополнительный слой может находиться на первой стороне. Использование дополнительного слоя, содержащего углерод или состоящего из него, в проводящей дорожке на сенсорной подложке может быть преимущественным, поскольку это может повысить прикрепление слоя сенсорного материала на проводящей дорожке. Кроме того, в случае углерода, дополнительный материал может способствовать эффективному переносу электронов проводящей дорожкой.
Проводящая дорожка может иметь толщину по меньшей мере 0,1 мкм, предпочтительно по меньшей мере 0,5 мкм, более предпочтительно по меньшей мере 5 мкм, в частности по меньшей мере 7 мкм или по меньшей мере 10 мкм. В случае, когда проводящая дорожка содержит углерод или представляет собой углерод, проводящая дорожка может, в частности, иметь толщину по меньшей мере 7 мкм, конкретнее по меньшей мере 10 мкм. В частности, в случае, когда проводящая дорожка представляет собой золото, проводящая дорожка может иметь толщину по меньшей мере 100 нм, конкретнее по меньшей мере 500 нм.
Указанная выше минимальная толщина может быть преимущественной, поскольку она гарантирует надлежащий перенос электронов. Толщины менее указанных значений обычно недостаточно для надежного переноса электронов. Даже конкретнее, толщина не должна превышать значение 30 мкм в случае углерода и значение 5 мкм в случае золота. Если толщина является слишком большой, общая толщина и, следовательно, размер сенсора для аналита может увеличиваться. Большие размеры сенсоров для аналита в целом нежелательны, поскольку они могут затруднять имплантацию.
В контексте данного документа термины "проводящая дорожка электрода сравнения" и "проводящая дорожка противоэлектрода" являются широкими терминами, и должны быть понятны специалисту в данной области техники в своем обычном и стандартном значении, и не должны ограничиваться специальным или индивидуальным значением. Эти термины, в частности, могут относиться, без ограничения, к электропроводящей полоске, слою, проводу или другому типу удлиненного электрического проводника, присутствующему на электроде сравнения или противоэлектроде, соответственно. Конкретнее, эти термины могут относиться, без ограничения, к материалу, который является электропроводящим и, следовательно, способным поддерживать электрический ток, например, проводящая дорожка электрода сравнения и/или проводящая дорожка противоэлектрода могут содержать по меньшей мере один материал, упомянутый выше в данном документе в отношении проводящей дорожки. В дополнение к материалам, перечисленным выше, проводящая дорожка электрода сравнения и/или проводящая дорожка противоэлектрода могут, в частности, содержать Ag/AgCl.
В контексте данного документа термин "сенсорный материал" является широким термином, и должен быть понятен специалисту в данной области техники в своем обычном и стандартном значении, и не должен ограничиваться специальным или индивидуальным значением. Этот термин, в частности, может относиться, без ограничения, к материалу, который может представлять собой или может содержать по меньшей мере полимерный материал; в частности, но может представлять собой или может содержать по меньшей мере полимерный материал и по меньшей мере металлсодержащий комплекс. Металлсодержащий комплекс может быть выбран из группы комплексов переходных металлов, в частности металлсодержащий комплекс может быть выбран из комплексов осмия, комплексов рутения, комплексов ванадия, комплексов кобальта и комплексов железа, таких как ферроцены, такие как 2-аминоэтилферроцен. Даже конкретнее, сенсорный материал может представлять собой полимерный комплекс переходного металла, описанный, например, в WO 01/36660 А2, содержание которой включено посредством ссылки. В частности, сенсорный материал может содержать модифицированный поли(винилпиридиновый) остов, нагруженный комплексами, поли(биимидизила) и Os, ковалентно сопряженными посредством бидентатной связи. Сенсорный материал дополнительно описан в Feldmann et al, Diabetes Technology & Therapeutics, 5 (5), 2003, 769-779, содержание которой включено посредством ссылки. Подходящие сенсорные материалы дополнительно могут включать ферроцен-содержащий модифицированный виологеном редокс-полимер на основе полиакриламида, пиррол-2,2'-азино-бис(3-этилбензтиазолин-6-сульфоновая кислота)(АБТС)-пирен, нафтохинон-LPEI. Полимерный комплекс переходного металла может представлять собой редокс-медиатор, включенный в перекрестно-сшитую редокс-полимерную сеть. Это является преимущественным, поскольку это может облегчать перенос электронов между по меньшей мере одним ферментом или аналитом и проводящей дорожкой. Чтобы избежать дрейфа сенсора, редокс-медиатор и фермент могут быть ковалентно включены в полимерную структуру.
В одном варианте осуществления сенсорный материал может содержать полимерный материал и частицы MnO2.
Сенсорный материал может дополнительно содержать по меньшей мере один фермент; в частности, фермент способен катализовать химическую реакцию с потреблением по меньшей мере аналита; в частности, фермент может представлять собой генерирующий и/или потребляющий Н2О2 фермент; даже конкретнее, глюкозооксидазу (ЕС 1.1.3.4), гексозооксидазу (ЕС 1.1.3.5), оксидазу (S)-2гидроксикислоты (ЕС 1.1.3.15), холестеролоксидазу (ЕС 1.1.3.6), глюкозодегидрогеназу, галактозооксидазу (ЕС 1.1.3.9), алкогольоксидазу (ЕС 1.1.3.13), L-глутаматоксидазу (ЕС 1.4.3.11) или L-аспартатоксидазу (ЕС 1.4.3.16); даже конкретнее, глюкозооксидазу (GOx) и/или ее модификации.
Кроме того, сенсорный материал может дополнительно содержать по меньшей мере один сшивающий агент; сшивающий агент может, например, быть способным к перекрестному сшиванию по меньшей мере части сенсорного материала. В частности, сенсорный материал может содержать по меньшей мере один сшивающий агент, выбранный из УФ-отверждаемых сшивающих агентов и химических сшивающих агентов; конкретнее, сенсорный материал содержит химический сшивающий агент. В альтернативном варианте сенсорный материал может не содержать сшивающий агент. В контексте данного документа выражение "не содержит сшивающий агент" является широким термином, и должен быть понятен специалисту в данной области техники в своем обычном и стандартном значении, и не должен ограничиваться специальным или индивидуальным значением. Этот термин, в частности, может относиться, без ограничения, к ситуации, когда во время шага б) нанесения на первую сторону сенсорной подложки в сенсорном материале не присутствует сшивающий агент. Конкретнее, "не содержит сшивающий агент" может относиться к концентрации 0-0,5 масс. % в расчете на сухую массу сенсорного материала. В контексте данного документа термин "сухая масса" относится к сухому веществу соответствующего материала, например, материала без добавления воды или другого растворителя. В частности, сенсорный материал может не содержать сшивающий агент во время шага б), но сшивающий агент можно добавлять в сенсорный материал позже в процессе получения, например, посредством диффузии из мембранного слоя, как объяснено ниже в данном документе. Подходящие химические сшивающие агенты в соответствии с настоящим изобретением выбраны из: сшивающих агентов на основе эпоксида, таких как диглицидиловые эфиры, такие как диглицидиловый эфир поли(этиленгликоля) (ПЭГ-ДГЭ) и диглицидиловый эфир поли(пропиленгликоля); трифункциональных короткоцепочечных эпоксидов; ангидридов; диглицидиловых эфиров, таких как диглицидиловый эфир резорцина, диглицидиловый эфир бисфенола А, диглицидил 1,2-циклогександикарбоксилат, диглицидиловый эфир поли(этиленгликоля), диглицидиловый эфир глицерина, диглицидиловый эфир 1,4-бутандиола, диглицидиловый эфир поли(пропиленгликоля), диглицидиловый эфир бисфенола, диглицидиловый эфир поли(диметилсилоксана), диглицидиловый эфир неопентилгликоля, 1,2,7,8-диэпоксиоктан, 1,3-глицидоксипропил-1,1,3,3-тетраметилдисилоксан; триглицидиловых эфиров, таких как N,N-диглицидил-4-глицидилоксианилин, триглицидиловый эфир триметилолпропана; тетраглицидиловых эфиров, таких как тетракисэпоксициклосилоксан, тетраглицидиловый эфир пентаэритрита, тетраглицидил-4,4'-метиленбисбензоламин.
В контексте данного документа термин "химический сшивающий агент" является широким термином, и должен быть понятен специалисту в данной области техники в своем обычном и стандартном значении, и не должен ограничиваться специальным или индивидуальным значением. Этот термин, в частности, может относиться, без ограничения, к сшивающему агенту, который способен инициировать химическую реакцию с генерацией перекрестно-сшитой молекулярной сети и/или перекрестно-сшитого полимера при воздействии температуры. "Воздействие температуры" может относиться к воздействию температуры выше 15°С, в частности температуры выше 20°С; конкретнее температуры в диапазоне от 20°С до 50°С и даже конкретнее температуры в диапазоне от 20°С до 25°С. Конкретнее, химические сшивающие агенты могут инициировать перекрестное сшивание слоя сенсорного материала при воздействии температуры.
В контексте данного документа термин "УФ-отверждаемый" является широким термином, и должен быть понятен специалисту в данной области техники в своем обычном и стандартном значении, и не должен ограничиваться специальным или индивидуальным значением. Этот термин, в частности, может относиться, без ограничения, к способности химического вещества, например сшивающего агента, инициировать фотохимическую реакцию с генерацией перекрестно-сшитой молекулярной сети и/или перекрестно-сшитого полимера при облучении светом в УФ спектральном диапазоне. Конкретнее, УФ-отверждаемые сшивающие агенты могут инициировать перекрестное сшивание слоя сенсорного материала при облучении УФ-светом. Перекрестное сшивание может, в частности, быть инициировано, как указано ниже в данном документе.
Подходящие УФ-отверждаемые сшивающие агенты в соответствии с настоящим изобретением включают: бензофенон, диазирин и азид. В частности, подходящие УФ-отверждаемые сшивающие агенты, например, выбраны из группы, состоящей из содержащего бензофенон сшивающих агентов, поли(ди(2-гидрокси-3-аминобензофенонпропилен)гликоля), дибензофенона 1,2-циклогександикарбоксилата, бис[2-(4-азидосалициламидо)этил]дисульфида, продуктов реакции 4-аминобензофенона с любым из вышеуказанных соединений для химических сшивающих агентов, описывающих диглицидиловые сшивающие агенты, триглицидиловые сшивающие агенты и тетраглицидиловые сшивающие агенты, примером такого продукта реакции является 2,4,6,8-тетраметил-2,4,6,8-тетракис(2-гидрокси-3-аминопропилбензофенон)циклотетрасилоксан, и продуктов реакции сложного N-сукцинимидилового эфира 4-бензоилбензойной кислоты с диамином или джеффамином.
УФ-отверждаемые сшивающие агенты в особенности полезны и преимущественны в соответствии с настоящим изобретением, поскольку они не меняют вязких свойств сенсорного материала во время шага б) нанесения по меньшей мере одного слоя сенсорного материала. Аналогично, вязкие свойства остаются неизменными в случаях, когда в сенсорном материале не присутствует сшивающий агент. Соответствующие вязкие свойства сенсорного материала могут обеспечить более равномерное и однородное нанесение слоя сенсорного материала во время производства и, следовательно, могут снижать неоднородность и краевые эффекты на поверхности сенсора, которые могут возникать в ином случае. Результатом снижения неоднородности и краевых эффектов может стать воспроизводимая чувствительность сенсора в отношении разных зарядов. Следовательно, применение сенсорного материала, не содержащего сшивающий агент или УФ-отверждаемый сшивающий агент, может способствовать снижению необходимости детального мониторинга и точного подбора производственных параметров во время изготовления.
Сенсорный материал может по меньшей мере содержать полимерный комплекс переходного металла, фермент, способный катализовать химическую реакцию с потреблением по меньшей мере аналита, в частности генерирующий и/или потребляющий Н2О2 фермент, и необязательно сшивающий агент. В частности, сенсорный материал может содержать по меньшей мере полимерный комплекс переходного металла и GOx и необязательно химический сшивающий агент. Конкретнее, сенсорный материал может содержать модифицированный поли(винилпиридиновый) остов, нагруженный комплексами поли(биимидизила) и Os, ковалентно сопряженными посредством бидентатной связи, GOx и необязательно химический сшивающий агент, такой как диглицидиловый эфир поли(этиленгликоля) (ПЭГ-ДГЭ). Подходящие дополнительные сенсорные материалы известны специалисту в данной области техники и приведены выше в данном документе.
Сенсорный материал в соответствии с настоящим изобретением может, например, содержать 60 масс. % полимерного комплекса переходного металла; 30-40 масс. % фермента, способного катализовать химическую реакцию с потреблением по меньшей мере аналита, в частности генерирующего и/или потребляющего Н2О2 фермента, и 0-10 масс. % сшивающего агента в расчете на общую массу сенсорного материала. Фермент может, например, присутствовать в концентрации 50 мг/мл в воде.
Способ в соответствии с данным изобретением может, в частности, дополнительно включать по меньшей мере один шаг г) отверждения, причем на шаге отверждения по меньшей мере часть сенсорного материала является перекрестно-сшитой. Термины "перекрестное сшивание" и "отверждение" взаимозаменяемо используются в данном документе. В частности, шаг г) отверждения может происходить до лазерного облучения на шаге в) или, в альтернативном варианте, по меньшей мере частично после проведения шага в).
Подходящие пути для инициации перекрестного сшивания зависят от типа сшивающего агента и известны специалисту в данной области техники. Отверждение с использованием УФ-отверждаемых сшивающих агентов в общем случае индуцируется облучением УФ-светом. В контексте данного документа термин "УФ-свет" в целом относится к электромагнитному излучению в ультрафиолетовом спектральном диапазоне. Термин "ультрафиолетовый спектральный диапазон" в целом относится к электромагнитному излучению в диапазоне от 1 нм до 380 нм, предпочтительно свету в диапазоне от 100 нм до 380 нм. Отверждение обычно может происходить при комнатной температуре.
Нанесение сенсорного материала на шаге б) может включать применение по меньшей мере одного процесса покрытия. В контексте данного документа термин "процесс покрытия" может относиться к произвольному процессу нанесения по меньшей мере одного слоя на по меньшей мере одну поверхность произвольного объекта. Нанесенный слой может покрывать объект, например проводящую дорожку и/или сенсорную подложку, полностью или может покрывать только часть или части объекта. Слой можно наносить посредством процесса покрытия, в котором материал находится, например, в жидкой форме, например в виде суспензии или раствора, и может быть распределен на поверхности. В частности, процесс покрытия может включать процесс влажного покрытия, выбранный из группы, состоящей из покрытия центрифугированием; покрытия распылением; ножевого покрытия; печати; распределения; экструзионного покрытия; покрытия погружением. В частности, шаг б) может включать применение ножевого покрытия или экструзионного покрытия. Сенсорный материал на шаге б) можно дополнительно наносить так, чтобы покрыть по меньшей мере 5%, по меньшей мере 10%, по меньшей мере 30% поверхности проводящей дорожки; в частности, от 5 до 100%, конкретнее от 5% до 40% поверхности проводящей дорожки.
Способ в соответствии с изобретением включает шаг в) облучения сенсорного материала по меньшей мере одним лазерным лучом, причем по меньшей мере первую часть слоя сенсорного материала по меньшей мере частично удаляют, а по меньшей мере вторая часть сенсорного материала, покрывающая по меньшей мере одну проводящую дорожку, сохраняется на первой стороне сенсорной подложки с получением по меньшей мере одного рабочего электрода сенсора для аналита. В контексте данного документа термин "облучение" является широким термином, и должен быть понятен специалисту в данной области техники в своем обычном и стандартном значении, и не должен ограничиваться специальным или индивидуальным значением. Этот термин, в частности, может относиться, без ограничения, к процессу воздействия на слой сенсорного материала лазерным светом. В частности, первую часть облучают по меньшей мере одним лазерным лучом, в вторую часть предпочтительно не облучают по меньшей мере одним лазерным лучом. В частности, шаг в) может включать по меньшей мере один процесс абляции, в частности по меньшей мере один процесс лазерной абляции. В контексте данного документа термин "первая часть" является широким термином, и должен быть понятен специалисту в данной области техники в своем обычном и стандартном значении, и не должен ограничиваться специальным или индивидуальным значением. Этот термин, в частности, может относиться, без ограничения, к части слоя сенсорного материала во внешней области. Конкретнее, первая часть может быть частью слоя сенсорного материала, предрасположенной к краевым эффектам и/или неоднородности. В частности, первая часть представляет собой часть слоя сенсорного материала, которую облучают по меньшей мере одним лазерным лучом. В контексте данного документа термин "вторая часть слоя сенсорного материала" является широким термином, и должен быть понятен специалисту в данной области техники в своем обычном и стандартном значении, и не должен ограничиваться специальным или индивидуальным значением. Этот термин, в частности, может относиться, без ограничения, к центральной части слоя сенсорного материала. В частности, вторую часть не облучают по меньшей мере одним лазерным лучом.
В контексте данного документа термин "удаленный" является широким термином, и должен быть понятен специалисту в данной области техники в своем обычном и стандартном значении, и не должен ограничиваться специальным или индивидуальным значением. Этот термин, в частности, может относиться, без ограничения, к подвергшимся абляции частям слоя сенсорного материала, в частности к первой части. Удаленные части, как правило, можно подвергать аспирации методами, известными специалисту в данной области техники. В контексте данного документа термин "частичное удаление" является широким термином, и должен быть понятен специалисту в данной области техники в своем обычном и стандартном значении, и не должен ограничиваться специальным или индивидуальным значением. Этот термин, в частности, может относиться, без ограничения, к полному удалению первой части, при этом возможны варианты осуществления, в которых удаляют ≥70%, предпочтительно ≥80% и более предпочтительно ≥90% первой части. Частичное удаление первой части может включать удаление частей проводящей дорожки. Частичное удаление первой части может включать удаление частей второй части тоже. Предпочтительно по меньшей мере частично удаляют только первую часть.
В случае удаления первой части слоя сенсорного материала это включает удаление частей проводящей дорожки, возможно удаление проводящей дорожки в области первой части слоя сенсорного материала полностью или частично, предпочтительно полностью. Таким образом, в варианте осуществления, в котором проводящую дорожку удаляют полностью в области первой части слоя сенсорного материала после удаления первой части, вторая часть слоя сенсорного материала и проводящая дорожка могут иметь одинаковый размер. В варианте осуществления, в котором проводящая дорожка содержит по меньшей мере один дополнительный слой, например, проводящая дорожка содержит золото, а дополнительный слой содержит углерод, во время удаления первой части слоя сенсорного материала возможно дополнительное удаление только первой части дополнительного слоя, но не других частей проводящей дорожки.
Следовательно, в варианте осуществления настоящего изобретения способ получения рабочего электрода на сенсорной подложке включает следующие шаги:
a1) предоставление по меньшей мере одной сенсорной подложки, содержащей по меньшей мере первую сторону, причем первая сторона содержит по меньшей мере одну проводящую дорожку, в частности проводящая дорожка содержит золото и/или углерод, в частности проводящая дорожка содержит по меньшей мере один дополнительный слой из по меньшей мере одного дополнительного материала, в частности по меньшей мере один дополнительный слой содержит углерод;
б1) нанесение по меньшей мере одного слоя по меньшей мере одного сенсорного материала на первую сторону сенсорной подложки, причем сенсорный материал покрывает по меньшей мере часть по меньшей мере одной проводящей дорожки, в частности по меньшей мере один дополнительный слой; и
в1) облучение слоя сенсорного материала по меньшей мере одним лазерным лучом, причем по меньшей мере первую часть слоя сенсорного материала и по меньшей мере первую часть проводящей дорожки, в частности дополнительного слоя, по меньшей мере частично удаляют, а по меньшей мере вторая часть сенсорного материала, покрывающая по меньшей мере одну проводящую дорожку, в частности дополнительный слой, и вторая часть проводящей дорожки, в частности дополнительного слоя, сохраняются на первой стороне сенсорной подложки с получением по меньшей мере одного рабочего электрода.
В отношении первой части и второй части проводящей дорожки, в частности дополнительного слоя, применимы варианты осуществления и предпочтительные параметры, описанные выше для первой части и второй части слоя сенсорного материала. Кроме того, варианты осуществления и предпочтительные параметры, описанные ниже и выше для способа по изобретению, также применимы к способу, в котором проводящую дорожку также удаляют.
Удаление также первой части проводящей дорожки, в частности дополнительного слоя, является преимущественным, поскольку это уменьшает фоновый ток сенсора, содержащего рабочий электрод.
В контексте данного документа термин "сохраненный" является широким термином, и должен быть понятен специалисту в данной области техники в своем обычном и стандартном значении, и не должен ограничиваться специальным или индивидуальным значением. Этот термин, в частности, может относиться, без ограничения, к сохранению второй части и/или оставшейся второй части слоя сенсорного материала. Вторая часть может представлять собой или может содержать структурированный слой. В контексте данного документа термин "структурированный слой" является широким термином, и должен быть понятен специалисту в данной области техники в своем обычном и стандартном значении, и не должен ограничиваться специальным или индивидуальным значением. Этот термин, в частности, может относиться, без ограничения, к поверхности одного или более дополнительных слоев, содержащихся в по меньшей мере одной проводящей дорожке, или по меньшей мере одного слоя по меньшей мере одного сенсорного материала, которая была структурирована с помощью лазерного луча. В частности, с помощью лазерного луча в условиях, указанных в данном документе. Термины "структурированный слой" и "структурированный лазером слой" взаимозаменяемо используют в данном документе. В частности, термин "структурированный слой" относится к по меньшей мере части поверхности слоя сенсорного материала и/или дополнительного слоя проводящей дорожки, которая была структурирована с помощью лазерного луча. Конкретнее, "структурированный слой" соответствует второй части. Таким образом, структурированный слой представляет собой часть сенсорного материала, которую не удаляют и предпочтительно не облучают лазерным лучом. Следовательно, структурированный слой можно получать посредством облучения слоя сенсорного материала и/или сенсорной подложки лазерным лучом в условиях, указанных в данном документе. Посредством абляции структурированных слоев можно реализовать любой тип формы и/или структуры. Возможны ровные структурированные слои, содержащие буквы или шахматную структуру.
Например, слой сенсорного материала может иметь до шага в) толщину от 1 до 4 мкм. Путем облучения сенсорного материала лазерным лучом можно осуществить абляцию первой части со слоя сенсорного материала, тем самым создавая или формируя структурированный слой на сенсорной подложке. Структурированный слой может затем соответствовать второй части.
В контексте данного документа термин "получать по меньшей мере один рабочий электрод" является широким термином, и должен быть понятен специалисту в данной области техники в своем обычном и стандартном значении, и не должен ограничиваться специальным или индивидуальным значением. Этот термин, в частности, может относиться, без ограничения, к формированию и/или производству рабочего электрода.
Термин "лазерная абляция" может в целом относиться к произвольным процессам удаления по меньшей мере части материала с поверхности путем аккуратного облучения поверхности лазерным лучом. Таким образом материал может быть удален. Материал может быть частично разрушен, например, путем сублимации вследствие переноса энергии. Перенос энергии, например тепловой, может быть локально ограничен. Как пример, в целях лазерной абляции можно использовать импульсный лазер. Энергия импульса может находиться в диапазоне менее чем 40 мкДж. В частности, лазер может быть выполнен с возможностью облучения слоя сенсорного материала с помощью ультракоротких лазерных импульсов так, чтобы удалять первую часть в течение очень короткого периода времени, чтобы минимизировать диффузию тепла в сохранившуюся вторую часть. Длина импульса может быть ограничена значением менее 12 пс. Например, лазер может быть выполнен с возможностью генерации лазерного луча в УФ спектральном диапазоне. В частности, можно использовать лазер с длиной волны 355 нм. Как пример, в целях лазерной абляции можно использовать твердотельный лазер утроенной частоты, излучающий на длине волны 355 нм, с длительностью импульса менее чем 12 пс и частотой повторения импульсов 400 кГц. На шаге в) можно использовать по меньшей мере один профиль абляции. Профиль абляции может быть предоставлен в виде шаблонного изображения, проектируемого на слой сенсорного материала. Профиль абляции может, в альтернативном варианте, быть получен путем сканирующей обработки лазерным лучом слоя сенсорного материала. Например, слой сенсорного материала можно облучать, используя по меньшей мере один процесс сканирования. В контексте данного документа термин "сканирование" является широким термином, и должен быть понятен специалисту в данной области техники в своем обычном и стандартном значении, и не должен ограничиваться специальным или индивидуальным значением. Этот термин, в частности, может относиться, без ограничения, к непрерывному или импульсному облучению слоя сенсорного материала во время создания структурированного слоя с определенной скоростью сканирования. Уровень абляции может зависеть от энергии импульса, длины волны лазера, длины импульса, скорости повторения импульсов, диаметра луча на облучаемой поверхности, скорости сканирования, перекрытия импульсов, перекрытия соседних линий сканирования, спектрального коэффициента поглощения облучаемого материала и абляционного порога облучаемого материала. В частности, термин "уровень абляции" может относиться к толщине подвергшегося абляции материала. Например, в случае лазерной абляции с использованием шаблона, уровень абляции может относиться ко всему шаблонному изображению. В этом случае уровень абляции может, в частности, зависеть от энергии импульса, облучаемой площади поверхности и/или граничного значения для абляции материала, например, энергии, необходимой для удаления материала. В случае лазерной абляции посредством процесса сканирования уровень абляции для всего изображения может зависеть от свойств лазера, включая длину волны лазера, энергию импульса, частоту повторения импульсов; в комбинации со свойствами оптической системы, такими как диаметр луча на поверхности материала; в комбинации с другими настройками лазера, включая перекрытие лазерных импульсов, например, перекрытие импульсов вдоль линии сканирования и перекрытие линий, например, перекрытие соседних линий сканирования; и свойств облучаемого материала, например, сенсорного материала, включая коэффициент поглощения и порог абляции.
Во время или после процесса абляции подвергшийся абляциим материал удаляют с помощью процесса, известного в данной области техники, например, используя по меньшей мере один пылеотделитель и т.п.
В частности, слой второй части сенсорного материала имеет толщину по меньшей мере 0,5 мкм. Конкретнее, толщина оставляет от 0,5 до 5 мкм, еще конкретнее, толщина составляет от 1 до 4 мкм. Даже еще конкретнее, эти значения относятся к толщине высушенного вещества после частичного удаления посредством облучения лазерным лучом. Указанная толщина может быть преимущественной, поскольку она может гарантировать достаточный перенос электронов в широком диапазоне концентраций аналита. Толщины ниже и/или вышеописанных значений не являются преимущественными, поскольку они могут приводить к субоптимальному переносу электронов и преобразованию глюкозы.
Способ в соответствии с настоящим изобретением может дополнительно включать дополнительный шаг бб) сушки по меньшей мере одного слоя по меньшей мере одного сенсорного материала. В частности, слой сенсорного материала сушат перед шагом в) облучения слоя сенсорного материала лазерным лучом. Шаг сушки перед шагом в) является преимущественным, поскольку он делаем возможным точное удаление по меньшей мере части слоя сенсорного материала на шаге в). Если слой сенсорного материала является недостаточно сухим, частичное удаление сенсорного материала лазерным облучением не будет эффективным и будет менее точным. Шаг сушки бб) может происходить при температуре окружающей среды. В частности, сенсорный материал можно сушить при температуре окружающей среды в течение от 0,5 до 15 минут. В контексте данного документа термин "температура" следует понимать как температуру, в частности, от 15°С до 30°С, конкретнее от 20°С до 25°С.
Способ в соответствии с настоящим изобретением может дополнительно включать дополнительный шаг д) нанесения по меньшей мере одного мембранного слоя, причем мембранный слой по меньшей мере частично покрывает рабочий электрод.
В контексте данного документа термин "мембранный слой" является широким термином, и должен быть понятен специалисту в данной области техники в своем обычном и стандартном значении, и не должен ограничиваться специальным или индивидуальным значением. Этот термин, в частности, может относиться, без ограничения, к слою по меньшей мере одного материала, который обеспечивает избирательный барьер. Таким образом, мембранный слой в целом может избирательно пропускать одну или более молекул и/или одно или более соединений, тогда как другие молекулы и/или соединения задерживаются мембранным слоем. Таким образом, как изложено выше, мембранный слой является проницаемым для по меньшей мере одного подлежащего определению аналита. Таким образом, как пример, мембранный слой может быть проницаемым для одного или более из глюкозы, лактата, холестерина в крови или других типов аналитов. По меньшей мере один мембранный слой, следовательно, может действовать как диффузионный барьер, который контролирует диффузию аналита извне, например, из физиологической жидкости, окружающей сенсор для аналита, в сенсорный материал, т.е. к молекулам фермента в сенсорном материале. Дополнительно по меньшей мере один мембранный слой может действовать как биосовместимый мембранный слой, как было упомянуто в другом месте данного документа.
Как пример, мембранный слой может иметь толщину, достаточную для обеспечения механической стабильности. По меньшей мере один мембранный слой, в частности, может иметь толщину от 1 мкм до 150 мкм. Для по меньшей мере одного мембранного слоя, как изложено в данном документе, можно использовать несколько материалов, по отдельности или в комбинации. Таким образом, например, мембранный слой, в частности, может содержать один или более полимерных материалов, в частности сополимер на основе поливинилпиридина, полиуретан, гидрогель, полиакрилат, сополимер или блок-сополимер метакрилата и акрилата, среди которых в особенности подходящими являются сополимеры на основе поливинилпиридина. Эти типы мембран в целом известны в данной области техники. Как пример, можно использовать мембраны, раскрытые в ЕР 2697388 A1, WO 2007/071562 А1 и/или в WO 2005/078424 А1. В частности, полимерный материал может иметь среднемассовую молекулярную массу (ММ) более чем 10000 кДа. Конкретнее, полимерный материал может иметь среднемассовую молекулярную массу (ММ) более чем 50000 кДа или даже более чем 100000 кДа. В особенности подходящими являются полимерные материалы со среднемассовой молекулярной массой (ММ) от 10000 до 500000 кДа. Полимерный материал мембраны может быть таким же или может отличаться от полимерного материала сенсорного материала.
Кроме того, мембранный слой может содержать сшивающий агент, в частности химический сшивающий агент или УФ-отверждаемый сшивающий агент. Сшивающий агент может подходить для перекрестного сшивания по меньшей мере части сенсорного материала. Сшивающие агенты, определенные в данном документе выше в отношении сенсорного материала, в целом подходят для применения в мембранном слое. В частности, подходят сшивающие агенты на основе двух- и/или многовалентных эпоксидов, например, би- и/или трифункциональных короткоцепочечных эпоксидов. Подходящие сшивающие агенты могут иметь молярную массу в диапазоне от 150 г/моль до 10000 г/моль. Указанная выше молярная масса сшивающего агента может быть преимущественной, поскольку она обеспечивает эффективную диффузию в сенсорный материал. Конкретные примеры подходящих сшивающих агентов, содержащихся в мембранном слое, включают: диглицидиловые эфиры, такие как диглицидиловый эфир резорцина, диглицидиловый эфир бисфенола А, диглицидил 1,2-циклогександикарбоксилат, диглицидиловый эфир поли(этиленгликоля), диглицидиловый эфир глицерина, диглицидиловый эфир 1,4-бутандиола, диглицидиловый эфир поли(пропиленгликоля), диглицидиловый эфир бисфенола, диглицидиловый эфир поли(диметилсилоксана), диглицидиловый эфир неопентилгликоля, 1,2,7,8-диэпоксиоктан, 1,3-глицидоксипропил-1,1,3,3-тетраметилдисилоксан; триглицидиловые эфиры, такие как N,N-диглицидил-4-глицидилоксианилин, триглицидиловый эфир триметилолпропана; тетраглицидиловые эфиры, такие как тетракисэпоксициклосилоксан, тетраглицидиловый эфир пентаэритрита, тетраглицидил-4,4'-метиленбисбензоламин; в частности диглицидиловый эфир поли(этиленгликоля); N,N-диглицидил-4-глицидилоксианилин.
В частности, на шаге д) способа в соответствии с изобретением, помимо по меньшей мере одного мембранного слоя, можно наносить по меньшей мере второй мембранный слой. Указанный второй мембранный слой может представлять собой биосовместимый мембранный слой.
В контексте данного документа термин "биосовместимый мембранный слой", также обозначаемый как биосовместимый слой, в частности, самый внешний слой сенсора для аналита или его части, состоящий из биосовместимого материала. В частности, биосовместимый слой имеет толщину от 1 мкм до 10 мкм, в варианте осуществления - от 3 мкм до 6 мкм. Конкретнее, биосовместимый слой покрывает сенсор для аналита по меньшей мере частично или полностью. Еще конкретнее, биосовместимый слой может представлять собой самый внешний слой сенсора для аналита. Таким образом, даже еще конкретнее, по меньшей мере часть биосовместимого слоя контактирует с физиологической жидкостью субъекта. Например, биосовместимый слой может не быть ограничительным в отношении диффузии аналита, как изложено в другом месте данного документа. Например, биосовместимый слой может не быть ограничительным в отношении малых молекул, имеющих молекулярную массу менее 2000 Да, в варианте осуществления - менее 1000 Да. Например, биосовместимый слой может не содержать добавленный фермент. Например, биосовместимый слой может не содержать добавленный полипептид. Как будет понятно специалисту в данной области техники, это не исключает того, что молекулы фермента или полипептида диффундируют в биосовместимый слой из смежных слоев, тканей или физиологических жидкостей. В контексте данного документа термин "биосовместимый материал" относится к материалу, подходящему для применения с живой тканью или живой системой по причине отсутствия или наличия лишь слабой токсичности, вредоносности или физиологической реакционной способности, и/или способности вызывать в меньшей степени или не вызывать иммунологическое отторжение. В одном варианте осуществления биосовместимый материал представляет собой материал, не вызывающий ответ со стороны организма, например, инертный материал или материал, содержащий химические соединения, предотвращающие возникновение ответов со стороны организм вблизи биосовместимого слоя. В другом варианте осуществления биосовместимый материал представляет собой материал, предотвращающий прикрепление клеток к указанному биосовместимому слою. Биосовместимый мембранный слой может представлять собой или может содержать следующие материалы: полимеры и сополимеры на основе метакрилата, сополимеры на основе акриламида и метакрилата, биоразлагаемые полисахариды, такие как гиалуроновая кислота (ГК), агароза, декстран и хитозан. Дополнительные биосовместимые материалы раскрыты в WO 2019/166394 А1 и включают небиоразлагаемые синтетические гидрогели, такие как гидрогели, полученные путем сополимеризации 2-гидроксиэтилметакрилата (ГЕМА), 2-гидроксипропилметакрилата (ГПМА), акриламида (ААм), акриловой кислоты (АК), N-изопропилакриламида (NИПАм), и моноакрилата метокисл поли(этиленгликоля) (ПЭГ) (мПЭГМА или ПЭГМА) с сшивающими агентами, такими как N,N'-метиленбис(акриламид) (МБА), этиленгликольдиакрилат (ЭГДА) и ПЭГ-диакрилат (ПЭГДА), полимеры плюроники® со структурой поли(этиленоксида) (ПЭО)-поли(пропиленоксида) (ППО)-ПЭО, химического перекрестного сшивания модифицированного поли(винилового спирта) (ПВС), поли(4-винилпиридин), ПЭГ.
По меньшей мере один мембранный слой и/или биосовместимый мембранный слой можно наносить методиками, известными специалистам в данной области техники, используя по меньшей мере один процесс покрытия, в частности, процесс влажного покрытия, выбранный из группы, состоящей из: например, покрытия центрифугированием; покрытия распылением; ножевого покрытия; печати; распределения; экструзионного покрытия; покрытия погружением. Предпочтительным процессом влажного покрытия является покрытие погружением или покрытие распылением.
Способ в соответствии с изобретением может дополнительно содержать по меньшей мере один диффузионный шаг, причем на диффузионном шаге е) сшивающий агент, содержащийся в мембранном слое, может по меньшей мере частично диффундировать в сенсорный материал. Диффузия может возникать во время нанесения мембранного слоя на сенсорный материал. Диффузия сшивающего агента в сенсорный материал может обеспечить по меньшей мере частичное перекрестное сшивание сенсорного материала независимо от присутствия сшивающего агента в сенсорном материале во время шага б) нанесения сенсорного материала на подложку. Это может быть преимущественным, поскольку присутствие сшивающего агента в сенсорном материале во время нанесения сенсорного материала на сенсорную подложку на шаге б) не является необходимым и его можно опустить. Отсутствие сшивающего агента в сенсорном материале во время нанесения сенсорного материала на подложку может иметь преимущества, указанные выше в данном документе, а именно, например, постоянные вязкие свойства сенсорного материала во время нанесения на сенсорную подложку.
В способе в соответствии с изобретением диффузионный шаг может дополнительно включать набухание по меньшей мере части сенсорного материала.
В контексте данного документа термин "набухание" является широким термином, и должен быть понятен специалисту в данной области техники в своем обычном и стандартном значении, и не должен ограничиваться специальным или индивидуальным значением. Этот термин, в частности, может относиться, без ограничения, к связыванию воды и/или связыванию водорастворимого растворителя, такого как этанол, метанол, ацетон, с материалом, в частности к связыванию воды и/или связыванию водорастворимого растворителя с сенсорным материалом. Благодаря поглощению воды и/или поглощению водорастворимого растворителя сенсорным материалом можно преимущественно обеспечить диффузию сшивающего агента в сенсорный материал, что может быть необходимым для эффективного перекрестного сшивания. Набухание, кроме того, может относиться к поглощению воды мембранным слоем.
Для обеспечения достаточного набухания в способе в соответствии с настоящим изобретением полимерный материал в сенсорном материале может быть способен поглощать по меньшей мере 10 масс. % воды или растворителя из мембранного слоя в расчете на сухую массу полимерного материала в течение нескольких минут, например, 1-15 минут, конкретнее по меньшей мере 20 масс. %, еще конкретнее по меньшей мере 30 масс. %, еще конкретнее до 90 масс. %.
Это набухание и/или поглощение воды и/или растворителя является преимущественным, поскольку таким образом можно обеспечить диффузию сшивающего агента из мембранного слоя в сенсорный материал.
Кроме того, настоящее изобретение относится к сенсору для аналита. Сенсор для аналита содержит по меньшей мере одну сенсорную подложку, содержащую по меньшей мере одну первую сторону. Первая сторона содержит по меньшей мере одну проводящую дорожку.
Сенсор для аналита содержит по меньшей мере один слой по меньшей мере одного сенсорного материала, нанесенный на первую сторону сенсорной подложки, причем сенсорный материал покрывает по меньшей мере часть по меньшей мере одной проводящей дорожки. Слой сенсорного материала облучают по меньшей мере одним лазерным лучом, причем первую часть слоя сенсорного материала по меньшей мере частично удаляют так, чтобы вторая часть сенсорного материала, покрывающая проводящую дорожку, сохранялась на первой стороне сенсорной подложки. Указанная вторая часть сенсорного материала в сочетании с проводящей дорожкой образует по меньшей мере один рабочий электрод сенсора для аналита.
Сенсор для аналита также содержит по меньшей мере один мембранный слой, по меньшей мере частично покрывающий рабочий электрод и содержащий по меньшей мере один сшивающий агент для перекрестного сшивания по меньшей мере части сенсорного материала, причем сшивающий агент, содержащийся в мембранном слое, по меньшей мере частично диффундировал в сенсорный материал
В частности, рабочий электрод сенсора для аналита может содержать по меньшей мере один структурированный слой по меньшей мере одного сенсорного материала, нанесенный на первую сторону сенсорной подложки. Структурированный слой можно получать посредством облучения слоя сенсорного материала и/или сенсорной подложки лазерным лучом. В частности, структурированный слой является второй частью сенсорного слоя.
Описанный в данном документе сенсор для аналита можно, в частности, получать способом в соответствии с изобретением для получения рабочего электрода на сенсорной подложке и с помощью шага обеспечения по меньшей мере одного дополнительного электрода, например противоэлектрода, или электрода сравнения или, комбинированного противоэлектрода/электрода сравнения.
Кроме того, настоящее изобретение относится к применению предлагаемого в изобретении сенсора для аналита в качестве сенсора, предназначенного для определения по меньшей мере одного аналита в образце, в частности, в образце физиологической жидкости. Конкретнее, сенсор для аналита представляет собой сенсор для непрерывного измерения уровня глюкозы.
В контексте данного документа термин "физиологическая жидкость" относится ко всем физиологическим жидкостям субъекта, которые содержат или предположительно содержат аналит по настоящему изобретению, включая интерстициальную жидкость, кровь, плазму, слезную жидкость, мочу, лимфу, цереброспинальную жидкость, желчь, кал, пот и слюну. В целом, можно использовать произвольный тип физиологической жидкости. Предпочтительно физиологическая жидкость представляет собой физиологическую жидкость, которая присутствует в ткани организма пользователя, например в интерстициальной ткани. Таким образом, например, физиологическая жидкость может быть выбрана из группы, состоящей из крови и интерстициальной жидкости. При этом, в дополнительном или альтернативном варианте можно использовать один или более других типов физиологических жидкостей. Физиологическая жидкость в общем случае может содержаться в ткани организма. Таким образом, определение по меньшей мере одного аналита в физиологической жидкости предпочтительно можно определять in vivo.
Термин "образец" понятен специалисту и относится к любой подчасти физиологической жидкости. Образцы можно получать хорошо известными методиками, включая, например, венозную или артериальную пункцию, эпидермальную пункцию и т.п.
В контексте данного документа термин "субъект" является широким термином, и должен быть понятен специалисту в данной области техники в своем обычном и стандартном значении, и не должен ограничиваться специальным или индивидуальным значением. Этот термин, в частности, может относиться, без ограничения, к человеку или животному, независимо от того факта, что человек или животное, соответственно, могут находиться в здоровом состоянии или могут страдать одним или более заболеваниями. Как пример, субъект может представлять собой человека или животное, страдающих диабетом. При этом, в дополнительном или альтернативном варианте, изобретение можно применять в отношении других типов субъектов.
Кроме того, настоящее изобретение относится к способу измерения аналита в образце, включающему применение сенсора для аналита, описанного выше в данном документе.
Способы измерения аналита по настоящему изобретению, в частности, могут представлять собой in vivo способы. В альтернативном варианте способ по изобретению также может включать измерение аналита в in vitro условиях, например, в образце физиологической жидкости, полученном от субъекта, в частности, субъекта-человека. В частности, указанный способ может не включать диагностику заболевания на основании указанного измерения.
Обобщая и не исключая дополнительные возможные варианты осуществления, можно представить следующие варианты осуществления:
Вариант осуществления 1: Способ изготовления рабочего электрода на сенсорной подложке, причем способ включает:
а) предоставление по меньшей мере одной сенсорной подложки, содержащей по меньшей мере первую сторону, причем первая сторона содержит по меньшей мере одну проводящую дорожку;
б) нанесение по меньшей мере одного слоя по меньшей мере одного сенсорного материала на первую сторону сенсорной подложки, причем сенсорный материал покрывает по меньшей мере часть по меньшей мере одной проводящей дорожки; и
в) облучение слоя сенсорного материала по меньшей мере одним лазерным лучом, причем по меньшей мере первую часть слоя сенсорного материала по меньшей мере частично удаляют, а по меньшей мере вторая часть сенсорного материала, покрывающая по меньшей мере одну проводящую дорожку, сохраняется на первой стороне сенсорной подложки с получением по меньшей мере одного рабочего электрода на сенсорной подложке.
Вариант осуществления 2: Способ по варианту осуществления 1, причем сенсорный материал содержит по меньшей мере полимерный материал; в частности, по меньшей мере полимерный материал и по меньшей мере металлсодержащий комплекс, выбранный из группы комплексов переходных металлов, конкретнее металлсодержащий комплекс, выбранный из комплексов осмия, комплексов рутения, комплексов ванадия, комплексов кобальта и комплексов железа, таких как ферроцены, в частности 2-аминоэтилферроцен.
Вариант осуществления 3: Способ по варианту осуществления 1 или 2, включающий дополнительный шаг бб) сушки по меньшей мере одного слоя по меньшей мере одного сенсорного материала перед шагом в); в частности, высушивание происходит при температуре окружающей среды.
Вариант осуществления 4: Способ по вариантам осуществления 1-3, причем сенсорный материал содержит по меньшей мере один сшивающий агент.
Вариант осуществления 5: Способ по варианту осуществления 4, причем сшивающий агент представляет собой химический сшивающий агент, в частности выбранный из сшивающих агентов на основе эпоксида, таких как диглицидиловые эфиры, такие как диглицидиловый эфир поли(этиленгликоля) (ПЭГ-ДГЭ) и диглицидиловый эфир поли(пропиленгликоля); трифункциональных короткоцепочечных эпоксидов.
Вариант осуществления 6: Способ по вариантам осуществления 1-5, причем шаг б) включает применение по меньшей мере одного процесса покрытия, в частности процесса влажного покрытия, выбранного из группы, состоящей из покрытия центрифугированием; покрытия распылением; ножевого покрытия; печати; распределения; экструзионного покрытия; покрытия погружением.
Вариант осуществления 7: Способ по вариантам осуществления 1-6, причем способ дополнительно включает:
г) по меньшей мере один шаг отверждения, причем на шаге отверждения происходит перекрестное сшивание по меньшей мере части сенсорного материала.
Вариант осуществления 8: Способ по варианту осуществления 7, причем шаг г) проводят по меньшей мере частично после проведения шага в).
Вариант осуществления 9: Способ по вариантам осуществления 1-8, дополнительно включающий:
д) нанесение по меньшей мере одного мембранного слоя, по меньшей мере частично покрывающего рабочий электрод, в частности, второй части сенсорного материала.
Вариант осуществления 10: Способ по вариантам осуществления 9, причем мембранный слой содержит один или более полимерных материалов, в частности сополимер на основе поливинилпиридина, полиуретан, гидрогель; полиакрилат; сополимер или блок-сополимер метакрилата и акрилата.
Вариант осуществления 11: Способ по вариантам осуществления 9 или 10, причем мембранный слой содержит по меньшей мере один сшивающий агент для перекрестного сшивания по меньшей мере части сенсорного материала.
Вариант осуществления 12: Способ по варианту осуществления 11, причем способ дополнительно включает:
е) по меньшей мере один диффузионный шаг, причем на диффузионном шаге сшивающий агент, содержащийся в мембранном слое, по меньшей мере частично диффундирует в сенсорный материал.
Вариант осуществления 13: Способ по варианту осуществления 12, причем диффузионный шаг включает набухание по меньшей мере части сенсорного материала.
Вариант осуществления 14: Способ по вариантам осуществления 11-13, причем сшивающий агент, содержащийся в мембранном слое, содержит по меньшей мере один низкомолекулярный сшивающий агент на основе двух- и/или многовалентного эпоксида, например трифункциональный короткоцепочечный эпоксид.
Вариант осуществления 15: Способ по вариантам осуществления 10-14, причем полимерный материал в мембранном слое имеет молекулярную массу более чем 10000 кДа.
Вариант осуществления 16: Способ по вариантам осуществления 9-15, причем мембранный слой наносят путем покрытия погружением.
Вариант осуществления 17: Способ по вариантам осуществления 1-16, причем сенсорный материал содержит по меньшей мере один фермент; в частности, фермент представляет собой фермент, способный катализовать химическую реакцию с потреблением по меньшей мере аналита, конкретнее генерирующий и/или потребляющий Н2О2 фермент, даже конкретнее, глюкозооксидазу (ЕС 1.1.3.4), гексозооксидазу (ЕС 1.1.3.5), оксидазу (S)-2 гидроксикислоты (ЕС 1.1.3.15), холестеролоксидазу (ЕС 1.1.3.6), галактозооксидазу (ЕС 1.1.3.9), глюкозодегидрогеназу, алкогольоксидазу (ЕС 1.1.3.13), L-глутаматоксидазу (ЕС 1.4.3.11) или L-аспартатоксидазу (ЕС 1.4.3.16), даже конкретнее, глюкозооксидазу и/или ее модификации.
Вариант осуществления 18: Способ по вариантам осуществления 1-17, причем проводящая дорожка содержит по меньшей мере один проводящий материал, выбранный из группы, состоящей из углерода, золота, платины, палладия.
Вариант осуществления 19: Способ по вариантам осуществления 1-18, причем сенсорная подложка содержит две противоположные стороны, первую сторону и по меньшей мере вторую сторону, противоположную первой стороне.
Вариант осуществления 20: Способ по варианту осуществления 18, причем проводящая дорожка содержит по меньшей мере один дополнительный слой по меньшей мере одного дополнительного материала, в частности, дополнительный слой содержит электропроводящий материал, например углерод.
Вариант осуществления 21: Способ по вариантам осуществления 1-20, причем проводящая дорожка, в частности проводящая дорожка, содержащая углерод, имеет толщину по меньшей мере 7 мкм, в частности по меньшей мере 10 мкм.
Вариант осуществления 22: Способ по вариантам осуществления 1-21, причем слой сенсорного материала имеет толщину от 0,5 до 5 мкм, в частности от 1 до 4 мкм, в частности толщину в сухом виде.
Вариант осуществления 23: Способ по вариантам осуществления 1-22, причем шаг в) включает лазерную абляцию.
Вариант осуществления 24: Способ получения сенсора для аналита, включающий способ получения рабочего электрода на подложке по вариантам осуществления 1-23 и шаг обеспечения по меньшей мере одного дополнительного электрода.
Вариант осуществления 25: Способ по варианту осуществления 24, причем по меньшей мере один дополнительный электрод включает электрод сравнения, противоэлектрод и противоэлектрод/электрод сравнения.
Вариант осуществления 26: Способ по варианту осуществления 25, причем электрод сравнения содержит по меньшей мере одну проводящую дорожку электрода сравнения.
Вариант осуществления 27: Способ по варианту осуществления 25 или 26, причем противоэлектрод содержит по меньшей мере одну проводящую дорожку противоэлектрода.
Вариант осуществления 28: Способ по вариантам осуществления 25-27, причем по меньшей мере один дополнительный электрод расположен на по меньшей мере одной из первой стороны и второй стороны, противоположной первой стороне.
Вариант осуществления 29: Сенсор для аналита, содержащий по меньшей мере один рабочий электрод, получаемый способом по вариантам осуществления 1-24, и по меньшей мере один дополнительный электрод.
Вариант осуществления 30: Сенсор для аналита, содержащий:
А)по меньшей мере одну сенсорную подложку, содержащую по меньшей мере одну первую сторону, причем первая сторона содержит по меньшей мере одну проводящую дорожку;
Б) по меньшей мере один слой по меньшей мере одного сенсорного материала, нанесенный на первую сторону сенсорной подложки, причем сенсорный материал покрывает по меньшей мере часть по меньшей мере одной проводящей дорожки, и при этом слой сенсорного материала облучают по меньшей мере одним лазерным лучом, причем первую часть слоя сенсорного материала по меньшей мере частично удаляют так, чтобы вторая часть сенсорного материала, покрывающего проводящую дорожку, сохранялась на первой стороне сенсорной подложки, причем указанная вторая часть сенсорного материала в сочетании с проводящей дорожкой образует по меньшей мере один рабочий электрод сенсора для аналита.
Вариант осуществления 31: Сенсор для аналита по варианту осуществления 30, причем рабочий электрод можно получать способом по вариантам осуществления 1-23.
Вариант осуществления 32: Сенсор для аналита по варианту осуществления 30 или 31, причем рабочий электрод содержит по меньшей мере один структурированный слой по меньшей мере одного сенсорного материала, нанесенный на первую сторону сенсорной подложки.
Вариант осуществления 33: Применение сенсора для аналита по вариантам осуществления 29-32 для определения по меньшей мере одного аналита в образце, в частности в образце физиологической жидкости.
Вариант осуществления 34: Способ измерения аналита в образце, включающий применение сенсора для аналита по вариантам осуществления 29-32.
Вариант осуществления 35: Сенсор для аналита, получаемый способом по вариантам осуществления 24-28.
Краткое описание графических материалов
Дополнительные необязательные признаки и варианты осуществления будут более подробно изложены в последующем описании вариантов осуществления, предпочтительно в сочетании с зависимыми пунктами формулы изобретения. При этом соответствующие необязательные признаки могут быть реализованы отдельно, а также в любой произвольной возможной комбинации, как понятно специалисту в данной области техники. Объем данного изобретения не ограничен предпочтительными вариантами осуществления. Варианты осуществления схематически проиллюстрированы на фигурах. В данном случае идентичные позиционные обозначения на этих фигурах относятся к идентичным или функционально сопоставимым элементам.
На фигурах:
Фиг. 1 представляет схематический вид в поперечном сечении по меньшей мере одного сенсора для аналита в соответствии с настоящим изобретением, иллюстрирующий слои в сенсорной подложке.
Фиг. 2 представляет схематический вид в поперечном сечении слоев сенсора для аналита, иллюстрирующий сенсорную подложку с сенсорным материалом перед лазерной абляцией.
Фиг. 3 представляет схематический вид в поперечном сечении сенсора для аналита, иллюстрирующий сенсорную подложку с сенсорным материалом после лазерной абляции.
Фиг. 4 представляет блок-схему, иллюстрирующую шаги способа в соответствии с настоящим изобретением.
Фиг. 5 иллюстрирует функциональные характеристики сенсоров, полученных без лазерной абляции.
Фиг. 6 иллюстрирует функциональные характеристики сенсоров, полученных с лазерной абляцией.
Подробное описание вариантов осуществления изобретения
На Фиг. 1-3 показаны промежуточные продукты способа получения сенсора 124 для аналита. На Фиг. 4 приведено схематическое представление шагов способа в соответствии с изобретением. Далее эти фигуры будут разъяснены совместно.
На Фиг. 1 показана по меньшей мере одна сенсорная подложка 114 по меньшей мере одного сенсора 124 для аналита, содержащая по меньшей мере одну первую сторону 120. Первая сторона 120 содержит по меньшей мере одну проводящую дорожку 111. Сенсор 124 для аналита содержит по меньшей мере один слой по меньшей мере одного сенсорного материала 118, нанесенный на первую сторону 120 сенсорной подложки 114, как показано на Фиг. 2 и 3. Сенсорный материал 118 покрывает по меньшей мере часть по меньшей мере одной проводящей дорожки 111. Как показано на Фиг. 3, слой сенсорного материала 118 облучен по меньшей мере одним лазерным пучком 126 так, чтобы часть сенсорного материала 118, покрывающая проводящую дорожку 111, сохранялась на первой стороне сенсорной подложки. Указанная часть сенсорного материала в сочетании с проводящей дорожкой 111 образует по меньшей мере один рабочий электрод 122 сенсора для 124 аналита. В частности, рабочий электрод 122 сенсора для аналита может содержать по меньшей мере один структурированный слой 128 по меньшей мере одного сенсорного материала, нанесенный на первую сторону сенсорной подложки. Структурированный слой 128 можно получать посредством облучения слоя сенсорного материала 118 и/или сенсорной подложки 114 лазерным лучом 126. Структурированный слой 128 затем становится второй частью, которую не облучают.
В частности, сенсор 124 для аналита может представлять собой сенсор 124 для аналита, пригодный для по меньшей мере частичной имплантации в ткань организма пользователя, конкретнее, сенсор для аналита для непрерывного мониторинга аналита. В частности, сенсор 124 для аналита можно получать способом в соответствии с изобретением.
Кроме того, сенсор 124 для аналита представляет собой электрохимический сенсор, содержащий по меньшей мере один электрод и соответствующую схему. Конкретнее, сенсор 124 для аналита представляет собой амперометрический электрохимический сенсор, содержащий по меньшей мере один рабочий электрод. Как правило, сенсор 124 для аналита содержит по меньшей мере один дополнительный электрод, в частности противоэлектрод и/или электрод сравнения. Рабочий электрод 122 может быть чувствительным к аналиту, подлежащему измерению, при напряжении поляризации, которое можно подавать между рабочим электродом и электродом сравнения и которое можно регулировать потенциостатом. Измеряемый сигнал может быть представлен электрическим током между противоэлектродом и рабочим электродом. Отдельный противоэлектрод может отсутствовать, но может присутствовать псевдоэлектрод сравнения, который также может действовать как противоэлектрод. Таким образом, сенсор 124 для аналита, как правило, может содержать набор из по меньшей мере двух или набор из трех электродов. В частности, сенсорный материал 118 присутствует только в рабочем электроде 122.
В частности, рабочий электрод 122 может находиться на по меньшей мере одной сенсорной подложке 114, содержащей по меньшей мере одну первую сторону 120. Первая сторона 120 может содержать по меньшей мере одну проводящую дорожку 111 и по меньшей мере один слой по меньшей мере одного сенсорного материала 118, нанесенного на первую сторону сенсорной подложки 114. Сенсорный материал 118 может покрывать по меньшей мере часть по меньшей мере одной проводящей дорожки 111. Слой сенсорного материала 118 можно облучать по меньшей мере одним лазерным лучом, причем первую часть слоя сенсорного материала 118 по меньшей мере частично удаляют так, чтобы вторая часть сенсорного материала 118, покрывающая проводящую дорожку 111, сохранялась на первой стороне сенсорной подложки. Указанная вторая часть сенсорного материала в сочетании с проводящей дорожкой 111 образует по меньшей мере один рабочий электрод 122 сенсора для 124 аналита. Слой сенсорного материала 118 может присутствовать только на рабочем электроде и, как правило, может отсутствовать на любых дополнительных электродах, например, противоэлектрод и/или электрод сравнения могут не содержать слой сенсорного материала 118.
В частности, сенсор 124 для аналита, конкретнее сенсорная подложка 114, может дополнительно содержать по меньшей мере один дополнительный электрод, причем по меньшей мере один дополнительный электрод может включать по меньшей мере один из электрода сравнения и противоэлектрода. В частности, электрод сравнения может содержать по меньшей мере одну проводящую дорожку электрода сравнения; и/или противоэлектрод может содержать по меньшей мере одну проводящую дорожку противоэлектрода.
По меньшей мере одна проводящая дорожка 111 может содержать по меньшей мере один материал, выбранный из группы, состоящей из углерода; углеродной пасты; золота; меди; серебра; никеля; платины; палладия. В частности, проводящая дорожка 111 может представлять собой или содержать по меньшей мере один металл, такой как один или более металл из меди, золота, серебра, никеля, палладия или платины. В дополнительном или альтернативном варианте по меньшей мере одна проводящая дорожка 111 может представлять собой или содержать по меньшей мере одно электропроводящее соединение, такое как по меньшей мере одно электропроводящее органическое или неорганическое соединение. В дополнительном или альтернативном варианте проводящая дорожка 111 может представлять собой или содержать по меньшей мере один неметаллический электропроводящий материал, например, углерод или угольную пасту. Предпочтительно проводящая дорожка 111 в соответствии с настоящим изобретением может содержать золото и/или углерод; более предпочтительно проводящая дорожка может состоять из золота 112 и/или углерода 110. В частности, проводящая дорожка может содержать золото 112 и дополнительный материал, например углерод 110.
Кроме того, проводящая дорожка 111 может содержать по меньшей мере один дополнительный слой по меньшей мере одного дополнительного материала, в частности дополнительный слой может содержать дополнительный электропроводящий материал. Конкретнее, дополнительный слой проводящей дорожки может содержать углерод 110 или состоять из него. Использование дополнительного слоя, содержащего углерод 110 или состоящего из него, в проводящей дорожке 111 на сенсорной подложке может быть преимущественным, поскольку это может повысить прикрепление слоя сенсорного материала 118 на проводящей дорожке 111.
Сенсорный материал 118 может представлять собой или может содержать по меньшей мере полимерный материал; в частности, но может представлять собой или может содержать по меньшей мере полимерный материал и по меньшей мере металлсодержащий комплекс. Металлсодержащий комплекс может быть выбран из группы комплексов переходных металлов, в частности металлсодержащий комплекс может быть выбран из комплексов осмия, комплексов рутения, комплексов ванадия, комплексов кобальта и комплексов железа, таких как ферроцены, в частности 2-аминоэтилферроцен. В частности, сенсорный материал 118 может содержать модифицированный поли(винилпиридиновый) остов, нагруженный комплексами поли(биимидизила) и Os, ковалентно сопряженными посредством бидентатной связи.
Сенсорный материал 118 может по меньшей мере содержать полимерный комплекс переходного металла, фермент, способный катализовать химическую реакцию с потреблением по меньшей мере аналита, в частности генерирующий и/или потребляющий Н2О2 фермент 116, и необязательно сшивающий агент. В частности, сенсорный материал 118 может содержать по меньшей мере полимерный комплекс переходного металла и GOx и необязательно химический сшивающий агент. Конкретнее, сенсорный материал 118 может содержать модифицированный поли(винилпиридиновый) остов, нагруженный комплексами поли(биимидизила) и Os, ковалентно сопряженными посредством бидентатной связи, GOx и необязательно химический сшивающий агент.
Сенсорный материал 118 может дополнительно содержать по меньшей мере один фермент 116; в частности, фермент способен катализовать химическую реакцию с потреблением по меньшей мере аналита, конкретнее, фермент может представлять собой генерирующий и/или потребляющий Н2О2 фермент, даже конкретнее, глюкозооксидазу (ЕС 1.1.3.4), гексозооксидазу (ЕС 1.1.3.5), оксидазу (S)-2гидроксикислоты (ЕС 1.1.3.15), холестеролоксидазу (ЕС 1.1.3.6), глюкозодегидрогеназу, галактозооксидазу (ЕС 1.1.3.9), алкогольоксидазу (ЕС 1.1.3.13), L-глутаматоксидазу (ЕС 1.4.3.11) или L-аспартатоксидазу (ЕС 1.4.3.16); даже конкретнее, глюкозооксидазу (GOx) и/или ее модификации.
Кроме того, сенсорный материал 118 может дополнительно содержать по меньшей мере один сшивающий агент; сшивающий агент может, например, обеспечивать перекрестное сшивание по меньшей мере части сенсорного материала 118. В частности, сенсорный материал 118 может содержать по меньшей мере один сшивающий агент, выбранный из УФ-отверждаемых сшивающих агентов и химических сшивающих агентов; конкретнее, сенсорный материал 118 содержит химический сшивающий агент. В альтернативном варианте сенсорный материал 118 может не содержать сшивающий агент.
Блок-схема способа в соответствии с настоящим изобретением изображена на Фиг. 4. Способ включает следующие шаги:
а) предоставление по меньшей мере одной сенсорной подложки 114, содержащей по меньшей мере первую сторону 120, причем первая сторона 120 содержит по меньшей мере одну проводящую дорожку 111 (130);
б) нанесение по меньшей мере одного слоя по меньшей мере одного сенсорного материала 118 на первую сторону 120 сенсорной подложки 114, причем сенсорный материал 118 покрывает по меньшей мере часть по меньшей мере одной проводящей дорожки 111 (132); и
в) облучение слоя сенсорного материала 118 по меньшей мере одним лазерным лучом 126, причем по меньшей мере первую часть слоя сенсорного материала по меньшей мере частично удаляют, а по меньшей мере вторая часть сенсорного материала, покрывающая по меньшей мере одну проводящую дорожку, сохраняется на первой стороне сенсорной подложки с получением по меньшей мере одного рабочего электрода 122 на сенсорной подложке 114.
Путем облучения сенсорного материала 118 лазерным лучом 126 (134) можно осуществить абляцию первой части со слоя сенсорного материала 118, тем самым создавая или формируя структурированный слой 128 на сенсорной подложке 114.
Изобретение не ограничено одним из вариантов осуществления, описанных выше, но может быть модифицировано разными путями. Специалисты в данной области техники поймут, что варианты осуществления в соответствии с изобретением можно легко адаптировать, не выходя за пределы объема изобретения. Таким образом, простые адаптации допустимы при получении сенсора для аналита. Изобретение обеспечивает возможность получения сенсора для аналита с воспроизводимой чувствительностью сенсора при снижении затрат на изготовление. Дополнительные характеристики, подробности и преимущества изобретения вытекают из изложения формулы изобретения и из нижеследующего описания практических примеров на основании графических материалов.
Содержание всех литературных ссылок, цитируемых в этой патентной заявке, в полном объеме включено в данный документ посредством ссылки на соответствующее конкретное раскрытое содержание.
Примеры
Следующие примеры служат для иллюстрации изобретения. Их не следует интерпретировать как ограничительные в отношении объема охраны.
Пример 1: Получение слоя сенсорного материала рабочего электрода
Сенсорную подложку, схематически проиллюстрированную на Фиг. 1, на основе полиэтилентерефталата и тонкого слоя золота покрывали угольной пастой посредством ножевого покрытия. Подходящие угольные проводящие чернила доступны от Ercon, Inc. (Вэрхэм, Массачусетс), E.I. du Pont de Nemours and Co. (Уилмингтон, Делавэр), Emca-Remex Products (Монтгомеривилл, Пенсильвания) или TEKRA, A Division of EIS, Inc (Нью-Берлин, Висконсин).
После этого угольную пасту сушили в течение 12 ч при 50°С. Содержащий фермент и медиатор состав, который можно использовать в сенсорном слое, известен в данной области техники, например из "A Continuous Glucose Sensor Based on Wired Enzyme™ Technology - Results from a 3-Day Trial in Patients with Type 1 Diabetes". DIABETES TECHNOLO-GY & THERAPEUTICS Volume 5, Number 5, 2003 Использовали прибл. 35% (по массе) редокс-полимера, 40% GOx и 25% сшивающего агента или 50% (по массе) редокс-полимера, 50% GOx.
Слой сенсорного материала наносили на сенсорную подложку посредством канюльного покрытия (ПТФЭ канюля, 1,6 мм, скорость потока 0,09 мл/мин, скорость 8 мм/с). Сенсорный материал сушили в течение 10 минут при комнатной температуре. Полученная таким образом слоевая компоновка схематически изображена на Фиг. 2.
Пример 2: Структурирование слоя сенсорного материала с помощью лазерной абляции
После сушки сенсорный элемент, полученный в примере 1, дополнительно структурировали и разрезали, используя лазерный луч. Использовали условия, приведенные в таблице 1 для лазерной системы 3D Micromac microCut TMS; UKP-Laser Hyper Rapid 50-SW 355.
Схематическое представление слоев аналита после лазерной абляции изображено на Фиг. 3.
Пример 3: Нанесение мембранных слоев
Мембранный полимер 15% (масс./об.) поли(4-(N-(3-сульфонатопропил)-пиридиний)-ко-пиридин-ко-стирол) растворяли в этаноле/воде (80/20) и смешивали до получения коричневого раствора. Сшивающий агент, 3,75% (масс./об.) раствор диглицидилового эфира глицерина растворяли в этаноле/воде (80/20) и смешивали до получения прозрачного раствора. Мембранный полимер и раствор сшивающего агента смешивали (4:1). Подвергнутый лазерной абляции сенсор покрывали погружением 3 раза в раствор мембранного полимера/сшивающего агента, как описано в "Miniature Amperometric Self-Powered Continuous Glucose Sensor with Linear Response" Anal. Chem. 2012, 84, 7, 3403-3409, дата публикации: 14 марта 2012 г.
Пример 4: Определение функциональных характеристик сенсора Оба типа сенсоров (со структурированием посредством лазерной абляции в соответствии с примером 2 и без структурирования в соответствии с примером 1) анализировали, используя потенциостат в хроноамперометрической установке. Потенциал составлял 50 мВ против Ag/AgCl в качестве референсного электрода. Измерения проводили в течение 14 дней при разных уровнях глюкозы к(глюкозы) (концентрация глюкозы) в мг/дл: 0; 14,4; 36; 54; 72; 90; 108; 126; 144; 180; 216; 270; 306; 360; 414; 468. Каждый шаг длился прибл. 90 минут, а измерения уровня глюкозы повторяли через один день.
Функциональные характеристики сенсоров, полученных без лазерной абляции (5 сенсоров; n=5) приведены на Фиг. 5 и в таблице 2; функциональные характеристики сенсоров, полученных с лазерной абляцией (7 сенсоров; n=7) приведены на Фиг. 6 и в таблице 3.
Сенсоры с лазерной абляцией имеют сниженную чувствительность в противоположность сенсорам без лазерной абляции вследствие абляции сенсорного материала, но подвергнутые абляции сенсоры значительно снижали стандартное отклонение и значительно снижали дрейф благодаря равномерной толщине и площади сенсорного материала.
Перечень позиционных обозначений
110 углерод
111 проводящая дорожка
112 золото
114 сенсорная подложка
116 фермент
118 сенсорный материал
120 первая сторона
122 рабочий электрод
124 сенсор для аналита
126 лазерный луч
128 структурированный слой
130 шаг а) обеспечение по меньшей мере одной сенсорной подложки
132 шаг б) нанесение по меньшей мере одного слоя по меньшей мере одного сенсорного материала
134 шаг в) облучение слоя сенсорного материала по меньшей мере одним лазерным лучом.
Изобретение относится к изготовлению рабочего электрода на сенсорной подложке. Осуществляют нанесение слоя сенсорного материала на первую сторону сенсорной подложки. Сенсорный материал покрывает по меньшей мере одну проводящую дорожку. Осуществляют облучение слоя сенсорного материала лазерным лучом. Затем первую часть слоя сенсорного материала частично удаляют, а по меньшей мере вторая часть сенсорного материала, покрывающая по меньшей мере одну проводящую дорожку, сохраняется на первой стороне сенсорной подложки с получением рабочего электрода на сенсорной подложке. Осуществляют нанесение мембранного слоя. Мембранный слой покрывает рабочий электрод. Мембранный слой содержит сшивающий агент для перекрестного сшивания сенсорного материала. Осуществляют диффузионный шаг, на котором сшивающий агент, содержащийся в мембранном слое, частично диффундирует в сенсорный материал. В результате обеспечивается однородная структура сенсорного материала на рабочем электроде, в связи с чем устраняется или уменьшается необходимость детального мониторинга и точного подбора производственных параметров сенсорного материала. 5 н. и 7 з.п. ф-лы, 6 ил., 3 табл., 4 пр.
1. Способ изготовления рабочего электрода (122) на сенсорной подложке (114), включающий:
а) предоставление по меньшей мере одной сенсорной подложки (114), содержащей по меньшей мере первую сторону (120), причем первая сторона (120) содержит по меньшей мере одну проводящую дорожку (111);
б) нанесение по меньшей мере одного слоя по меньшей мере одного сенсорного материала (118) на первую сторону (120) сенсорной подложки (114), причем сенсорный материал (118) покрывает по меньшей мере часть по меньшей мере одной проводящей дорожки (111); и
в) облучение слоя сенсорного материала по меньшей мере одним лазерным лучом, причем по меньшей мере первую часть слоя сенсорного материала (118) по меньшей мере частично удаляют, а по меньшей мере вторая часть сенсорного материала (118), покрывающая по меньшей мере одну проводящую дорожку (111), сохраняется на первой стороне (120) сенсорной подложки (114) с получением по меньшей мере одного рабочего электрода (122) на сенсорной подложке (114),
д) нанесение по меньшей мере одного мембранного слоя, причем мембранный слой по меньшей мере частично покрывает рабочий электрод (122), причем мембранный слой содержит по меньшей мере один сшивающий агент для перекрестного сшивания по меньшей мере части сенсорного материала (118), при этом способ дополнительно включает:
е) по меньшей мере один диффузионный шаг, причем на диффузионном шаге сшивающий агент, содержащийся в мембранном слое, по меньшей мере частично диффундирует в сенсорный материал (118).
2. Способ по п. 1, включающий дополнительный шаг бб) сушки по меньшей мере одного слоя по меньшей мере одного сенсорного материала перед шагом в).
3. Способ по любому из п. 1 или 2, причем способ дополнительно включает:
г) по меньшей мере один шаг отверждения, причем на шаге отверждения происходит перекрестное сшивание по меньшей мере части сенсорного материала (118).
4. Способ по п. 3, причем шаг г) проводят по меньшей мере частично после проведения шага в).
5. Способ по любому из пп. 1-4, причем сшивающий агент, содержащийся в мембранном слое, содержит по меньшей мере один низкомолекулярный сшивающий агент на основе двух- и/или многовалентного эпоксида.
6. Способ по любому из пп. 1-5, причем проводящая дорожка (111) содержит по меньшей мере один проводящий материал, выбранный из группы, состоящей из углерода, золота, меди, серебра, никеля, платины, палладия.
7. Способ по п. 6, причем проводящая дорожка (111) содержит по меньшей мере один дополнительный слой из по меньшей мере одного дополнительного материала.
8. Способ по любому из пп. 1-7, причем проводящая дорожка (111) имеет толщину по меньшей мере 7 мкм.
9. Сенсор (124) для аналита, содержащий по меньшей мере один рабочий электрод (122), получаемый способом по любому из пп. 1-8, и по меньшей мере один дополнительный электрод.
10. Сенсор (124) для аналита, содержащий:
А) по меньшей мере одну сенсорную подложку (114), содержащую по меньшей мере одну первую сторону (120), причем первая сторона (120) содержит по меньшей мере одну проводящую дорожку (111);
Б) по меньшей мере один слой по меньшей мере одного сенсорного материала (118), нанесенный на первую сторону (120) сенсорной подложки (114), причем сенсорный материал (118) покрывает по меньшей мере часть по меньшей мере одной проводящей дорожки (111), и при этом слой сенсорного материала (118) облучают по меньшей мере одним лазерным лучом, причем первую часть слоя сенсорного материала по меньшей мере частично удаляют так, чтобы вторая часть сенсорного материала (118), покрывающего проводящую дорожку (111), сохранялась на первой стороне (120) сенсорной подложки (114), причем указанная вторая часть сенсорного материала в сочетании с проводящей дорожкой (111) образует по меньшей мере один рабочий электрод (122) сенсора (124) для аналита,
В) по меньшей мере один мембранный слой, по меньшей мере частично покрывающий рабочий электрод (122) и содержащий по меньшей мере один сшивающий агент для перекрестного сшивания по меньшей мере части сенсорного материала (118), причем сшивающий агент, содержащийся в мембранном слое, по меньшей мере частично диффундировал в сенсорный материал (118).
11. Применение сенсора (124) для аналита по п. 9 или 10 в качестве сенсора, предназначенного для определения по меньшей мере одного аналита в образце.
12. Способ измерения аналита в образце, включающий применение сенсора (124) для аналита по п. 9 или 10.
| WO 2010099507 A1, 02.09.2010 | |||
| JP 2019078573 A, 23.05.2019 | |||
| US 2014054171 A1, 27.02.2014 | |||
| СПОСОБ ПОЛУЧЕНИЯ ГАММА-ГЛОБУЛИНА | 1995 |
|
RU2119795C1 |
| RU 2004104334 A, 10.04.2005. | |||
Авторы
Даты
2025-04-11—Публикация
2021-03-13—Подача