СПОСОБ ОБЖАРИВАНИЯ КОФЕЙНЫХ ЗЕРЕН Российский патент 2025 года по МПК A23F5/04 A23N12/08 

Описание патента на изобретение RU2838233C1

Область техники, к которой относится изобретение

Изобретение относится к способу обжаривания кофейных зерен в безопасной среде.

Уровень техники

Обжаривание кофейных зерен является хорошо известным процессом. Основные стадии включают в себя нагревание зерен до требуемой степени обжаривания и впоследствии охлаждение или резкое охлаждение нагретых зерен для прекращения обжаривания. Во время нагревания испускается дым. Этот дым содержит как безопасные и требуемые композиции, в частности обычный аромат обжаренного кофе, так и нежелательные менее безопасные композиции, например диацетил, пиридин, 2-фуранметанол, фурфурол кофеин, формальдегид, ацетальдегид, CO, CO2, NO2, SO2, озон и твердые частицы (PM2.5, PM10).

При проведении обжаривания на производственных площадках с получением значительных количеств обжаренных зерен, по существу, предусмотрены все условия для улавливания небезопасных композиций.

Однако существует не так давно появившаяся тенденция к проведению обжаривания небольшой порции с помощью небольших обжарочных машин в магазинах, ресторанах и кофейнях, где пользователи могут употреблять кофе, сваренный из свежеобжаренных зерен. Обжарочная машина не только обеспечивает свежесть и другие преимущества, но также распространяет приятный аромат обжаренного кофе внутри магазина или кофейни.

Тем не менее, как упоминалось выше, при этом также выделяются вредные композиции. При применении обжарочной машины в закрытой среде, например в магазине, кафе или ресторане, некоторые выбрасываемые композиции могут представлять опасность в зависимости от размера помещения, вентиляции в помещении…. У людей, работающих в помещении в течение нескольких часов, могут возникать проблемы со здоровьем из-за вдыхания дымов обжарочной машины. Через несколько часов сильный запах обжаривания может вызывать болевые ощущения.

По этой причине в таких условиях рекомендовано очищать дым, вырабатываемый обжарочной машиной, чтобы не допустить нанесения вреда здоровью людей, находящихся в магазине. Существующие решения заключаются в фильтрации или использовании каталитического преобразователя для захвата или разрушения вредных композиций дыма или даже удаления дыма наружу посредством выпускного канала, соединенного с обжарочной машиной.

На практике было отмечено, что эти существующие в настоящее время решения не гарантируют нулевой уровень выбросов или по меньшей мере безопасное систематическое сокращение вредных композиций. Фактически обжарочные машины, работающие в магазинах, кафе или ресторанах, можно использовать для обжаривания целого ряда различных зерен, иногда с разными степенями обжаривания, чтобы обеспечить покупатель разнообразными и оригинальными или эксклюзивными обжаренными зернами. Ввиду такого разнообразия в оборот вводят широкий спектр зерен и условий обжаривания. При таких разных зернах и таких разных условиях обжаривания испускаются композиции разного типа и с разными концентрациями, и существующие решения не могут быть реализованы с возможностью очистки дымов при некотором нетипичном обжаривании, что будет приводить к выделению особенно высококонцентрированных вредных композиций.

В каждом магазине оператор может дополнительно обжаривать разные количества кофейных зерен в день. В небольшом магазине с большим выходом обжаренных зерен может быстро достигаться высокий уровень загрязняющих веществ внутри магазина и требоваться весьма эффективная очистка дыма из обжарочной машины, что может не потребоваться в крупном кафе при обжаривании меньшего количества кофейных зерен.

Наконец, размер магазина, кафе или ресторана, а также интенсивность вентиляции внутри помещения могут варьироваться, непосредственно влияя на концентрацию выделяемых загрязняющих веществ в общедоступном помещении.

В общедоступной среде важно гарантировать, чтобы во время операций обжаривания соблюдались нормы в области здравоохранения и безопасности.

Цель настоящего изобретения заключается в предложении способа, в котором предусмотрено прогнозирование и обеспечение безопасной работы системы для обжаривания в помещении.

Раскрытие изобретения

В первом аспекте изобретения предложен способ обжаривания кофейных зерен в помещении с использованием системы обжаривания, причем упомянутая система обжаривания содержит:

- устройство для обжаривания и

- необязательно блок очистки дыма, выполненный с возможностью очистки дыма, вырабатываемого устройством для обжаривания, и высвобождения очищенного дыма в помещение,

при этом при реализации по меньшей мере одной операции обжаривания упомянутый способ включает в себя следующие стадии:

- получение требуемых входных данных обжаривания для упомянутой по меньшей мере одной операции обжаривания, при этом упомянутые требуемые входные данные определяют по меньшей мере:

тип обжариваемых кофейных зерен,

количество обжариваемых кофейных зерен за одну операцию обжаривания или в течение периода времени,

степень обжаривания, применимую для зерен,

и необязательно количество операций обжаривания в течение некоторого периода времени,

и

- получение доступа к:

- информации о помещении, причем упомянутая информация о помещении включает в себя по меньшей мере: местные нормы в области здравоохранения и безопасности, объем помещения и интенсивность вентиляции упомянутого помещения,

- информации об устройстве для обжаривания кофейных зерен, причем упомянутая информация об устройстве для обжаривания включает в себя по меньшей мере количество каждого загрязняющего вещества, вырабатываемого устройством для обжаривания в процессе обжаривания конкретного количества кофейных зерен определенного типа до определенной степени обжаривания,

- необязательно информации о блоке очистки дыма, причем упомянутая информация о блоке очистки дыма включает в себя по меньшей мере характеристики снижения уровня каждого загрязняющего вещества упомянутым блоком очистки дыма,

и

- перед инициированием по меньшей мере одной операции обжаривания:

определение концентрации каждого загрязняющего вещества, образующегося в помещении во время упомянутой по меньшей мере одной операции обжаривания, из полученных требуемых входных данных обжаривания и доступной информации об устройстве для обжаривания кофейных зерен, помещения и необязательно блока очистки дыма,

для каждого загрязняющего вещества сравнение определенной концентрации упомянутого загрязняющего вещества, образующегося в помещении, с концентрацией упомянутого загрязняющего вещества, разрешенной в соответствии с местными нормами в области здравоохранения и безопасности,

выполнение по меньшей мере одной операции обжаривания, если для каждого загрязняющего вещества определенная концентрация ниже разрешенной концентрации в соответствии с местными нормами в области здравоохранения и безопасности,

отображение предупреждения об опасности, если для по меньшей мере одного загрязняющего вещества определенная концентрация превышает разрешенную концентрацию в соответствии с местными нормами в области здравоохранения и безопасности.

В способе используемая система выполнена с возможностью установки и работы в помещении.

Можно использовать любой тип устройства для обжаривания. В устройстве для обжаривания кофейные зерна нагревают и предпочтительно смешивают для однородного нагревания зерен.

Источником нагрева может быть горелка (подразумевающая сжигание), в которую подают природный газ, сжиженный нефтяной газ (СНГ) или даже древесина. Альтернативно источник тепла может представлять собой электрический резистор, керамический нагреватель, галогенный источник, источник инфракрасных волн или микроволн.

Предпочтительно источник нагрева имеет электропитание, чтобы загрязняющими воздух веществами, образуемыми во время обжаривания, являлись только загрязняющие вещества, образуемые при нагревании самих кофейных зерен, а не при сжигании газов, как это происходит, когда источником нагрева является газовая горелка с применением природного газа, пропана, сжиженного нефтяного газа (СНГ) или даже древесины.

Смешивание зерен можно осуществлять с помощью жидкостного слоя горячего воздуха или механически с помощью перемешивающих лопастей или вращающегося барабана.

Предпочтительно устройство для обжаривания представляет собой камеру с псевдоожиженным слоем горячего воздуха. Внутри такой камеры нагретый воздух пропускают через сито или перфорированную пластину, расположенную под кофейными зернами, с усилием, достаточным для подъема зерен. Тепло передается зернам по мере их перемешивания и циркуляции в этом псевдоожиженном слое.

Альтернативно устройство для обжаривания может представлять собой камеру барабана, в которой кофейные зерна перемешиваются в нагретой среде. Камера барабана может состоять из барабана, вращающегося вокруг горизонтальной оси, или камера барабана может содержать перемешивающие лопасти для перемешивания кофейных зерен в нагретой среде, по существу, нагретом воздухе.

Устройство для обжаривания содержит выходной канал, из которого можно отводить дым, образующийся во время операции обжаривания.

По существу, блок очистки дыма очищает дым, вырабатываемый устройством для обжаривания, чтобы уменьшить или устранить вредные загрязняющие вещества, содержащиеся в дыме. Тем не менее некоторые небольшие домашние устройства для обжаривания не содержат какого-либо блока очистки дыма и просто используются под кухонной вытяжкой, которая очищает и/или отводит из помещения дым, непосредственно испускаемый из устройства для обжаривания.

При наличии блока очистки дыма предпочтительно блок очистки дыма системы содержит входной дымовой канал, выполненный с возможностью объединения с этим выходным дымовым каналом устройства для обжаривания и сбора дыма через этот входной дымовой канал.

В зависимости от размера устройства для обжаривания блок очистки дыма может содержать:

- активный блок очистки, который разрушает загрязняющие вещества внутри устройства, например дожигатель, обеспечивающий термическое окисление загрязняющих веществ, или каталитический дожигатель, или каталитическое устройство, обеспечивающее селективное каталитическое восстановление катализатором проскока аммиака для фильтрации NOx

или

- активное устройство, которое удерживает загрязняющие вещества, например, десульфуризацией газов, улавливающих SO2, с помощью сухой или мокрой технологии, мокрого скруббера, удерживающего ЛОС и твердые частицы, или электростатического осадителя для удержания твердых частиц после ионизации с помощью высокого напряжения,

или

- блок пассивной очистки, который удерживает загрязняющие вещества внутри устройства, например механические фильтры (металлические сита или бумажный фильтр), фильтр с активированным углем или циклонный фильтр,

или комбинации вышеупомянутых блоков.

Под эффективностью блока очистки дыма для уменьшения уровня одной конкретной композиции, присутствующей в дыме, следует понимать процент уменьшения количества упомянутой композиций, присутствующей в дыме после очистки этим блоком очистки дыма.

Дожигатель термически окисляет любые типы газа и твердых частиц, в частности загрязняющие вещества, например CO и CO2, при очень высоких температурах, по существу, выше 700°C, и превращает их в оксиды, например COx, NOx, SOx.

Каталитический дожигатель содержит керамическую или металлическую подложку, покрытую каталитическим пропитывающим агентом, содержащим драгоценные металлы, например наночастицы оксида меди, наночастицы оксида железа и, как правило, один или более металлов платиновой группы (платина, палладий, родий). Каталитический дожигатель работает при более низкой температуре, чем дожигатель - по существу, при температуре в диапазоне от 300°C до 500°C. Удобно, хотя и необязательно, предварительно нагревать дым перед подачей в каталитический преобразователь, по существу, с помощью теплообменника, питаемого дымом, выходящим из каталитического преобразователя.

Фильтры обычно способны удерживать летучие органические соединения (ЛОС), углеводороды и твердые частицы (PM). Блок очистки дыма может содержать несколько фильтров в зависимости от их способности удерживать определенные загрязняющие вещества. Фильтры, выполненные с возможностью улавливания ЛОС и углеводородов, предпочтительно представляют собой фильтр с активированным углем или древесно-угольный фильтр. Фильтры, выполненные с возможностью улавливания твердых частиц, предпочтительно представляют собой высокоэффективные фильтры (HEPA) очистки воздуха, металлические фильтры (например, фильтр средней очистки из сверхтонкой стальной ваты). Для улавливания PM можно использовать электростатические осадители.

В зависимости от типа фильтрующих элементов блока очистки дыма блоки очистки дыма могут содержать устройство вытеснения дыма, например вентилятор, для перемещения дыма из выходного канала устройства для обжаривания в блок очистки дыма,

Некоторые блоки очистки дыма могут содержать конденсатор для снижения температуры очищенного дыма перед его выпусканием внутри помещения.

В соответствии с одним предпочтительным вариантом осуществления блок фильтрации дыма содержит последовательно: HEPA-фильтр, электростатический осадитель и впоследствии фильтр с активированным углем в соответствии с порядком перемещения потока дыма внутри блока очистки дыма. Устройство вытеснения дыма всасывает дым в нижнем по потоку конце этого блока.

Такой блок очистки дыма можно устанавливать в общедоступных помещениях, например в кафе, магазинах или ресторанах, в частности из-за его легкой эксплуатации или технического обслуживания неспециализированными операторами.

Блок очистки дыма может представлять собой устройство, независимое от устройства для обжаривания, или блок очистки дыма может быть встроен в устройство для обжаривания, причем оба образуют одно устройство. Это, в частности, относится к небольшим домашним обжарочным машинам с по меньшей мере одним встроенным фильтром.

В конкретном варианте осуществления блок очистки дыма может представлять собой очиститель воздуха, который очищает весь воздух помещения. В этом варианте осуществления блок очистки дыма не прикреплен непосредственно к выходному дымовому каналу на устройстве для обжаривания.

Система содержит систему управления, выполненную с возможностью управления процессом обжаривания системы обжаривания и осуществления стадий способа обжаривания.

В частности, перед выполнением по меньшей мере одной операции обжаривания, например при выборе по меньшей мере одной операции обжаривания, способ включает в себя стадию получения требуемых входных данных обжаривания упомянутой по меньшей мере одной операции обжаривания, причем упомянутые требуемые входные данные определяют:

- тип обжариваемых кофейных зерен,

- количество обжариваемых кофейных зерен за одну операцию обжаривания или в течение периода времени,

- степень обжаривания, применимую для кофейных зерен,

- необязательно количество операций обжаривания в течение некоторого периода времени.

Такие входные данные для варианта обжаривания обозначают предполагаемое применение устройства для обжаривания для одной операции обжаривания или для нескольких операций в течение предварительно определенного периода времени, чтобы определять количество каждого загрязняющего вещества, вырабатываемого устройством для обжаривания в течение упомянутого периода.

При каждой операции обжаривания образуются загрязняющие вещества и распыляются с дымом. Эти загрязняющие вещества включают в себя, в частности, критические газообразные композиции, например: CO, CO2, диацетил, формальдегид, метанол, NO, NO2, пиридин, SO2, 2-фуранметанол и твердые частицы, например PM10, PM2.5. Перечень может зависеть от типа применяемого устройства для обжаривания. Например, устройство для обжаривания с использованием топлива в качестве источника нагрева может испускать CO2, чего не происходит при использовании устройства для обжаривания с электропитанием.

Выработанное количество этих загрязняющих веществ при каждой операции обжаривания зависит от нескольких факторов и по меньшей мере от:

- сорта обжариваемых кофейных зерен. Например, при обжаривании кофейных зерен робуста образуются загрязняющие вещества, отличные от образующихся при обжаривании зерен арабика.

- количества обжариваемых кофейных зерен,

- степени обжаривания, применяемой для кофейных зерен. При выработке зерен светлой обжарки выделяется меньше загрязняющих веществ, чем при выработке зерен темной обжарки.

В зависимости от коммерческих привычек владельца кофейни количество операций обжаривания в день, моменты времени, в которые операции обжаривания происходят в течение дня, могут оказывать влияние на концентрацию загрязняющих веществ в помещении в течение всего дня или в течение пикового периода работы.

В одном режиме входные данные обжаривания, обозначающие предполагаемое применение устройства для обжаривания, могут быть получены только для одной операции обжаривания и могут включать в себя по меньшей мере следующее:

- тип обжариваемых кофейных зерен, и

- количество кофейных зерен, и

- степень обжаривания, применимую для зерен.

Если оператор не обеспечивает все входные данные обжаривания, например предоставляет только тип зерен, другие данные для обжарочной машины (в этом случае, например, тип и степень обжаривания) могут быть установлены на значения по умолчанию, например максимальное количество и самая темная обжарка.

В другом режиме входные данные обжаривания, обозначающие предполагаемое применение устройства для обжаривания, могут быть получены для нескольких операций обжаривания в течение некоторого периода времени, например для всех запрограммированных на день операций обжаривания, включая по меньшей мере следующие входные данные, обеспечивающие эти операции:

- тип обжариваемых кофейных зерен, и

- количество кофейных зерен, и

- степень обжаривания, применимую для зерен,

или по умолчанию тип, количество и/или степень обжаривания можно установить на значения по умолчанию, например максимальное количество и самая темная обжарка.

В другом режиме входные данные обжаривания, обозначающие предполагаемое применение устройства для обжаривания, можно получать для общего количества кофейных зерен за период времени, например за день. Период времени, в течение которого происходит предполагаемое применение, как правило, соответствует часам работы кофейни и/или к спецификации норм, например около 8 часов. В конечном счете он может быть изменен в зависимости от типа общедоступного помещения (ресторана, кофейни, бара...).

Необязательно входные данные обжаривания, обозначающие предполагаемое применение устройства для обжаривания, могут быть получены с интервалом между операциями обжаривания точно или выбраны из ограниченного списка входных данных, например последовательно, распределено в течение 8 часов, каждые 15 минут, каждые полчаса.

Способ включает в себя стадию получения доступа к информации о помещении, причем упомянутая информация о помещении включает в себя по меньшей мере: местные нормы в области здравоохранения и безопасности, объем помещения и интенсивность вентиляции упомянутого помещения.

При применении системы в магазине или ресторане нормы в области здравоохранения и безопасности относятся к нормам, которым система обжаривания должна соответствовать в общественных и рабочих зонах. На этой стадии доступа к информации о помещении может быть также указано максимальное количество людей, которые могут присутствовать в помещении; фактически некоторые нормы в области здравоохранения и безопасности для общественных зон и условий труда на рабочих местах связаны с этим фрагментом информации.

При применении системы в домашних условиях могут применяться другие виды норм в области здравоохранения и безопасности.

По существу, эти нормативы дают разрешенные концентрации для конкретных загрязняющих веществ. Эти нормы могут варьироваться в зависимости от страны или географической области.

Данные нормы могут храниться в запоминающем устройстве системы управления системы для обжаривания с учетом страны установки устройства для обжаривания, например они могут быть предварительно заданы в запоминающем устройстве системы управления оператором во время установки (настройки конфигурации устройства для обжаривания)

Альтернативно эти нормы могут храниться на удаленном сервере, доступном для системы управления системы обжаривания и доступном и выбранном для обеспечения страны установки устройства для обжаривания. Преимущество данного варианта осуществления заключается в возможности простого обновления норм в базе данных и автоматического соответствия системы обжаривания обновленным нормам.

Объем помещения может храниться в запоминающем устройстве системы управления, например он может быть предварительно задан оператором в запоминающем устройстве системы управления во время установки системы (настройки конфигурации устройства для обжаривания).

Интенсивность вентиляции соответствует объему воздуха, обновляемого в помещении за один час, обычно выражается в м3/ч. Ее используют для оценки воздухообмена и, следовательно, естественного удаления со временем загрязняющих веществ из помещения.

Воздухообмен зависит от типа помещения и здания с конкретной теплоизоляцией и от типа установленной в них вентиляции. Вентиляция может быть выполнена с возможностью выталкивания воздуха, всасывания воздуха, а также могут присутствовать разного размера пассивные впускные проемы и/или выпускные проемы, например окна, двери, проемы с решетками.

Обычно значение интенсивности вентиляции сохраняется в запоминающем устройстве системы управления, например, оператором во время установки системы в помещение.

Способ включает в себя стадию получения доступа к информации об устройстве для обжаривания кофейных зерен, причем упомянутая информация об устройстве для обжаривания включает в себя по меньшей мере количество каждого загрязняющего вещества, вырабатываемого устройством для обжаривания в процессе обжаривания конкретного количества кофейных зерен определенного типа до определенной степени обжаривания.

Эти данные о количестве обычно хранятся в памяти системы управления или на удаленном сервере, доступном упомянутой системе управления. Данные о количестве могут образовывать базу данных с возможностью доступа.

Обычно эти количества определяют экспериментально посредством реализации различных сценариев обжаривания в устройстве для обжаривания и измерения количества каждого загрязняющего вещества в образовавшемся дыме.

Предпочтительно доступно количество по меньшей мере одного загрязняющего вещества, включенного в список: CO, CO2, диацетил, формальдегид, PM10, PM2.5, метанол, NO, NO2, пиридин, SO2, 2-фуранметанол, и выработанного устройством для обжаривания за время предполагаемого применения обжаривания.

В некоторых вариантах осуществления можно получать доступ к количеству для семейства композиций, а не к количеству каждого загрязняющего вещества упомянутого семейства, например NO и NO2 можно группировать вместе.

Когда система содержит блок фильтрации дыма, способ включает в себя стадию получения доступа к информации о блоке очистки дыма, причем упомянутая информация о блоке очистки дыма включает в себя по меньшей мере характеристики снижения уровня каждого загрязняющего вещества упомянутым блоком очистки дыма.

Эти характеристики могут храниться в запоминающем устройстве системы управления или на удаленном сервере, доступном упомянутой системе управления. Данные характеристики могут образовывать базу данных с возможностью доступа.

Обычно характеристики определяют предварительным экспериментированием, которое состоит в очистке различных загрязняющих веществ блоком очистки дыма и измерении количества каждого загрязняющего вещества после очистки. Необязательно они могут быть определены в соответствии со спецификацией блока очистки дыма, предоставленного производителем.

Предпочтительно доступны характеристики снижения уровня для по меньшей мере одного загрязняющего вещества, включенного в список: CO, CO2, диацетил, формальдегид, PM10, PM2.5, метанол, NO, NO2, пиридин, SO2, 2-фуранметанол.

Перед инициированием по меньшей одной операции обжаривания, способ включает в себя стадию определения концентрации каждого загрязняющего вещества, образующегося в помещении во время по меньшей мере одной операции обжаривания: из полученных требуемых входных данных обжаривания и доступной информации об устройстве для обжаривания кофейных зерен, о помещении и необязательно блоке очистки дыма.

На первой стадии этой операции для определения концентрации на основании полученных требуемых данных для варианта обжаривания и доступной информации об устройстве для обжаривания кофейных зерен способ может включать в себя стадию получения данных по конкретным количествам загрязняющих веществ, выработанных на протяжении упомянутой по меньшей мере одной операции обжаривания.

Если требуемый вариант обжаривания относится только к одной операции обжаривания, способ включает стадию получения доступа к выработанным количествам во время этой операции, а если требуемый вариант обжаривания относится к нескольким операциям обжаривания в течение некоторого времени, способ включает в себя стадию получения доступа к количествам, выработанным за период применения.

Определяют концентрацию по меньшей мере одного загрязняющего вещества, включенного в список: определены CO, CO2, диацетил, формальдегид, PM10, PM2.5, метанол, NO, NO2, пиридин, SO2, озон и 2-фуранметанол.

В зависимости от норм в области здравоохранения и безопасности соответствующие количества определяют для по меньшей мере загрязняющих веществ, затрагиваемых этими нормами. По умолчанию система управления может быть выполнена с возможностью определения соответствующих количеств выработанных загрязняющих веществ.

Когда система содержит блок очистки дыма, на второй стадии этой операции для определения концентрации на основании информации о блоке очистки дыма для каждого выработанного загрязняющего вещества способ включает в себя стадию применения результата уменьшения загрязняющего вещества к выработанному количеству упомянутого загрязняющего вещества, выработанного устройством для обжаривания в течение по меньшей мере одной операции обжаривания, и получения количества упомянутого загрязняющего вещества, выдаваемого блоком очистки дыма. В результате определяют количество каждого загрязняющего вещества, выдаваемого системой устройства для обжаривания и блоком очистки дыма во время по меньшей мере одной операции обжаривания.

Если устройство для обжаривания образует одно единое устройство с блоком очистки дыма (например, если фильтр встроен внутрь устройства для обжаривания, как в небольшой домашней обжарочной машине, или если устройство для обжаривания всегда работает с одним и тем же блоком фильтрации дыма), первая и вторая стадии могут быть объединены, причем способ включает в себя стадию получения доступа к информации о конкретной комбинации устройства для обжаривания кофейных зерен с блоком очистки дыма, при этом упомянутая информация включает в себя по меньшей мере количество каждого загрязняющего вещества, выработанного упомянутой комбинацией устройства для обжаривания кофейных зерен и блока очистки дыма.

Это количество выдается в помещение и с учетом объема помещения определяет максимальную концентрацию упомянутого загрязняющего вещества в помещении. Тем не менее из-за наличия вентиляции и удаления части воздуха и загрязняющего вещества из помещения реальная концентрация оказывается ниже максимальной концентрации.

На конечной стадии этой операции для определения концентрации на основании доступной информации об интенсивности вентиляции и размера помещения для каждого загрязняющего вещества способ включает в себя стадию вычисления с учетом интенсивности вентиляции и размера помещения и полученного количества каждого загрязняющего вещества, выдаваемого системой, концентрации каждого загрязняющего вещества, присутствующего в помещении во время упомянутой по меньшей мере одной операции обжаривания.

В данном случае интенсивность вентиляции учитывается на основе интенсивности снижения концентрации загрязняющих веществ во времени, которая определяет концентрацию каждого загрязняющего вещества, образующегося в помещении во время упомянутой по меньшей мере одной операции обжаривания.

Стадия определения концентрации каждого загрязняющего вещества, присутствующего в помещении в течение периода времени, можно осуществлять с различными степенями точности. В основном режиме можно считать, что все загрязняющие вещества, выработанные в ходе одной операции обжаривания, вырабатываются и выделяются в помещение одновременно в течение определенного времени операции обжаривания (например, в течение времени между первым крэком и вторым крэком).

В более точном режиме можно учитывать кинетику выбросов различных загрязняющих веществ во время одной операции обжаривания.

На стадии определения концентрации каждого загрязняющего вещества, присутствующего в помещение в течение некоторого периода, можно учитывать дополнительное накопление загрязняющих веществ в ходе последовательных операций обжаривания. К количеству выделяемых загрязняющих веществ от предшествующей(-их) операции (операций) обжаривания можно добавить новые выделяемые загрязняющие вещества, которые еще не были удалены при вентиляции помещения.

Впоследствии для каждого загрязняющего вещества способ включает в себя сравнение определенной концентрации упомянутого загрязняющего вещества, образовавшегося в помещении, с концентрацией упомянутого загрязняющего вещества, разрешенной в соответствии с местными нормами в области здравоохранения и безопасности.

Если для каждого загрязняющего вещества определенная концентрация ниже разрешенной концентрации в соответствии с местными нормами в области здравоохранения и безопасности, будет разрешено провести по меньшей мере одну операцию обжаривания.

Однако если для по меньшей мере одного загрязняющего вещества определенная концентрация превышает разрешенную концентрацию в соответствии с местными нормами в области здравоохранения и безопасности, отобразится предупреждение об опасности.

Предпочтительно отказаться от проведения по меньшей мере одной операции обжаривания, если определенная концентрация для по меньшей мере одного загрязняющего вещества превышает разрешенную концентрацию в соответствии с местными нормами в области здравоохранения и безопасности.

Предпочтительно предложить модификацию по меньшей мере одной операции обжаривания, если для по меньшей мере одного загрязняющего вещества определенная концентрация превышает разрешенную концентрацию в соответствии с местными нормами в области здравоохранения и безопасности.

Различные модификации могут быть предложены отдельно или в комбинации:

- способ может включать в себя следующие стадии:

- вычисление количества обжариваемых зерен, чтобы получить количество конкретных компонентов, присутствующих в помещении на протяжении по меньшей мере одной операции обжаривания, с концентрацией ниже допустимых пределов для упомянутых конкретных компонентов в соответствии с местными нормами в области здравоохранения и безопасности, и

- предложение по уменьшению количества зерен, загружаемых в сосуд, до этого рассчитанного количества или предложение по разделению количества зерен на несколько партий с упомянутым вычисленным количеством, и предложение по обжариванию упомянутых партий по отдельности с определенными интервалами.

- способ может включать в себя следующие стадии:

- вычисление максимальной степени обжаривания, которая применима для упомянутых зерен, чтобы получить количество конкретных компонентов, присутствующих в помещении на протяжении по меньшей мере одной операции обжаривания, с концентрацией ниже допустимых пределов для упомянутых конкретных компонентов в соответствии с местными нормами в области здравоохранения и безопасности, и

- предложение по уменьшению степени обжаривания, которая применима для упомянутых зерен, до этого рассчитанного максимального уровня.

- способ может включать стадию, на которой предполагается улучшение фильтрующих свойств блока очистки дыма, в частности посредством выполнения операции очистки, замены блока очистки дыма более эффективным блоком и/или повышения интенсивности вентиляции.

В одном варианте осуществления способ может включать в себя стадии получения доступа к информации о помещении, причем упомянутая информация о помещении включает в себя количество конкретных компонентов, присутствующих в помещение в момент запуска по меньшей мере одной операции обжаривания, и

при этом если рассчитанное количество конкретных компонентов, присутствующих в помещении на протяжении процесса обжаривания, превышает допустимые пределы для конкретного в соответствии с местными нормами в области здравоохранения и безопасности, способ включает в себя стадию, на которой оценивают необходимость в интервале времени до запуска по меньшей мере одного обжаривания.

Предпочтительно помещение содержит по меньшей мере один датчик для обнаружения количества упомянутого по меньшей мере одного конкретного компонента, присутствующего в помещении. Предпочтительно помещение содержит датчик для обнаружения PM и ЛОС. Упомянутый по меньшей мере один датчик может быть расположен в помещении на расстоянии от системы обжаривания, или на выходе блока фильтрации дыма, или на выходе устройства для обжаривания, если блок фильтрации дыма отсутствует.

Альтернативно способ может включать в себя следующие стадии:

- хранение информации о предыдущих операциях обжаривания, реализованных внутри помещения, включая информацию о:

количестве по меньшей мере некоторых компонентов, выработанных в ходе упомянутых предыдущих процессов обжаривания, и

времени выполнения этих предыдущих операций,

и

- расчете продолжительности времени, необходимого для вентиляции помещения, чтобы уменьшить количество упомянутых компонентов, присутствующих в помещении, для обеспечения дальнейшего обжаривания

В одном варианте осуществления способ может включать в себя следующие стадии: определение концентрации каждого загрязняющего вещества, образующегося в помещении во время операции обжаривания, исходя из по меньшей мере информации о блоке очистки дыма, причем упомянутая информация включает в себя по меньшей мере характеристики снижения уровня каждого загрязняющего вещества упомянутым блоком очистки дыма, и при этом упомянутая информация корректируется с учетом загрязненности или старения блока очистки дыма.

Действительно, в зависимости от типа блока фильтрации дыма, используемого в системе, для этого блока может потребоваться периодическая очистка или техническое обслуживание для обеспечения его полной работоспособности и соответствия характеристикам снижения уровня каждого загрязняющего вещества, как установлено в информации, доступной системе управления. В частности, механические фильтры, фильтры с активированным углем или электростатические осадители требуют очистки для удаления отфильтрованных компонентов. В зависимости от времени, прошедшего с момента последней операции очистки, характеристики снижения уровня загрязняющего вещества могут ухудшаться. Ухудшение характеристик можно предварительно определять на основе экспериментов с блоком фильтрации дыма или машинного обучения с учетом взаимосвязи между временем операций очистки и контролем характеристик снижения уровня загрязняющих веществ с помощью датчиков управления.

В одном варианте осуществления способ может включать в себя стадии получения требуемых входных данных, которые определяют ежедневное количество операций обжаривания кофейных зерен, и, если условия для операции обжаривания обеспечены, предложения графика операций обжаривания в течение дня.

Согласно этому варианту осуществления:

- каждый раз может отображаться предупреждение об опасности при запуске одной запланированной операции обжаривания;

- график операций обжаривания может быть скорректирован, если по меньшей мере одна запланированная операция отменена или если в течение дня происходит по меньшей мере одна незапланированная операция;

- график операций обжаривания в течение предварительно определенных периодов дня, например в обеденное время, может быть ограничен; эта конфигурация позволяет избежать слишком сильного запаха обжаренного кофе в помещении ресторана в обеденное время;

- могут быть предложены смягчающие действия, например повышение интенсивности вентиляции или открытие окон.

В одном варианте осуществления в режиме реального времени может отображаться оценка концентрации загрязняющих веществ в помещении.

В соответствии с данным вариантом осуществления информация о времени, когда можно выполнять одну новую операцию обжаривания, может быть использована на основе выбранного типа зерен, количества зерен и степени обжаривания.

В одном варианте осуществления система обжаривания может включать в себя:

- канал для присоединения выходного дымового канала устройства для обжаривания или выпускного патрубка блока очистки дыма, причем упомянутый канал выполнен с возможностью отведения загрязняющих веществ из помещения, например канал, соединенный с наружной частью помещения, и

- устройство для закрытия или открытия упомянутого канала, например подвижную заслонку,

и если для по меньшей мере одного загрязняющего вещества определенная концентрация превышает разрешенную концентрацию в соответствии с местными нормами в области здравоохранения и безопасности, способ может включать в себя стадию открытия упомянутого канала во время по меньшей мере одной операции обжаривания.

Этот вариант осуществления позволяет оператору выполнять любую требуемую операцию обжаривания безопасным образом с точки зрения норм в области здравоохранения и безопасности в помещении посредством отведения всех загрязняющих веществ, выработанных обжарочными машинами или не поддающихся очистке блоком фильтрации дыма, за пределы помещения.

В одном варианте осуществления способ включает в себя следующие стадии:

- хранение определенной концентрации каждого загрязняющего вещества, образующегося в помещении во время упомянутой по меньшей мере одной операции обжаривания с получением требуемых входных данных обжаривания, и

- получение доступа к упомянутой сохраненной определенной концентрации каждого загрязняющего вещества при получении идентичных входных данных обжаривания для по меньшей мере одной операции обжаривания.

При этом варианте осуществления стадии получения и определения различных выработанных загрязняющих веществ могут быть сокращены посредством ссылки на уже определенные сценарии обжаривания.

В одном варианте осуществления способ может включать в себя стадию задействования безопасного режима работы устройства для обжаривания, причем при задействовании упомянутого режима способ может включать в себя следующие стадии:

- получение доступа к предварительно заданным данным для небезопасного обжаривания, и

- предотвращение ввода упомянутых предварительно заданных данных для небезопасного обжаривания.

Этот безопасный режим устройства для обжаривания может быть выбран посредством дисплея системы и не позволяет оператору выбирать худшие условия обжаривания, которые непосредственно приводят к получению концентрации по меньшей мере одного загрязняющего вещества, превышающей разрешенную концентрацию. Предотвращение выбора может быть обеспечено посредством отображения только доступных для выбора предварительно заданных данных для безопасного обжаривания или на основе первых и вторых входных данных (например, типа и количества зерен), что не дает возможности выбирать какие-либо третьи входные данные (например, любую степень обжаривания) или предложения выбора из ограниченного списка третьих входных данных, гарантирующих безопасное обжаривание.

Предварительно заданные данные для небезопасного обжаривания могут быть сохранены в запоминающем устройстве системы управления, например, при установке системы в помещении и при вводе информации о помещении.

Данный режим гарантирует, что оператору не придется переопределять новые требуемые данные обжаривания для необходимой ему операции обжаривания, если эта операция будет определена как небезопасная.

Во втором аспекте обеспечена система для обжаривания кофейных зерен, причем упомянутая система содержит:

- устройство для обжаривания и

- необязательно блок очистки дыма, выполненный с возможностью очистки дыма, вырабатываемого устройством для обжаривания, и высвобождения очищенного дыма в помещение,

- систему управления, выполненную с возможностью реализации способа обжаривания кофейных зерен, например описанного выше.

В соответствии с третьим аспектом обеспечена компьютерная программа, содержащая инструкции, при выполнении которых компьютером, процессором или блоком управления инициируется выполнение способа обжаривания, например описанного выше, компьютером, процессором или блоком управления.

Предпочтительно инструкции компьютерной программы выполняются блоком обработки устройства для обжаривания.

В одном варианте осуществления инструкции компьютерной программы могут быть исполнены блоком обработки устройства, внешнего по отношению к устройству для обжаривания кофейных зерен, например мобильным устройством.

В соответствии с четвертым аспектом предложен машиночитаемый носитель данных, содержащий инструкции, при выполнении которых компьютером, процессором или блоком управления инициируется выполнение способа, например описанного выше, компьютером, процессором или блоком управления.

Приведенные выше аспекты изобретения можно комбинировать в любой приемлемой комбинации. Более того, различные элементы, описанные в настоящем документе, можно комбинировать с одним или более из приведенных выше аспектов для обеспечения комбинаций, отличных от конкретно проиллюстрированных и описанных комбинаций. Дополнительные цели и преимущественные элементы изобретения будут очевидны из формулы изобретения, подробного описания и прилагаемых графических материалов.

Краткое описание чертежей

Для лучшего понимания характеристик и преимуществ изобретения рекомендуется изучить описание следующих фигур:

на фиг. 1 представлено схематическое изображение, иллюстрирующее систему устройства для обжаривания и блок очистки дыма, работающие в помещении;

на фиг. 2 представлена блок-схема контроллера системы в соответствии с изобретением;

на фиг. 3 показан вариант реализации операции обжаривания в устройстве по фиг. 1 и 2;

на фиг. 4 и 5 представлены проиллюстрированные кривые концентрации одного загрязняющего вещества в помещении во время предполагаемых вариантов применения разных систем обжаривания;

на фиг. 6–8 представлены сообщения, которые могут отображаться на пользовательских интерфейсах перед запуском операции обжаривания.

Осуществление изобретение

Система для обжаривания

На фиг. 1 показано иллюстративное изображение системы 10 устройства 2 для обжаривания и блока 3 очистки дыма. С точки зрения функций устройство для обжаривания выполнено с возможностью обжаривания кофейных зерен, а блок очистки дыма выполнен с возможностью очистки дыма, образуемого в процессе обжаривания зерен устройством для обжаривания.

Устройство для обжаривания

Устройство 2 для обжаривания выполнено с возможностью приема и обжаривания кофейных зерен в обжарочной камере 21.

Предпочтительно устройство 1 для обжаривания содержит обжарочную камеру 12, в которую поступает поток горячего воздуха для перемешивания и нагревания зерен. Поток горячего воздуха обычно получают с помощью нагревателя 20, расположенного ниже обжарочной камеры в показанном варианте осуществления.

При обжаривании зерен образуется дым 24, который направляется в верхнее отверстие обжарочной камеры.

Обычно половоуловитель сообщается по потоку с верхним отверстием камеры для приема половы, которая постепенно отделяется от зерен при обжаривании и из-за низкой плотности сдувается в половоуловитель.

Остальная часть дыма 24 отводится в направлении блока 3 очистки дыма.

Блок очистки дыма

Блок 3 очистки дыма выполнен с возможностью приема и очистки дыма 24, испускаемого в выходной дымовой канал устройства для обжаривания.

Блок 3 очистки дыма содержит входной дымовой канал, выполненный с возможностью сбора дыма 24. Блок 3 очистки дыма может быть выполнен по-разному. В конкретном варианте осуществления, показанном на фиг. 1, блок 3 очистки дыма содержит несколько фильтров, например устройство 31, выполненное с возможностью фильтрации крупных твердых частиц PM10 (например, фильтр HEPA), устройство 32, выполненное с возможностью фильтрации мелких твердых частиц PM2.5 (например, электростатический осадитель) и фильтр 33 с активированным углем, выполненный с возможностью удаления ЛОС из дыма. Наконец, блок очистки дыма содержит устройство 4 вытеснения дыма, по существу, вентилятор, для высасывания загрязненного дыма 24 от впускного отверстия через фильтры, где он очищается, к выходному каналу, где он выпускается в окружающую среду.

Система 10 обжаривания расположена и работает в помещении 100. В помещении 100 имеется вентиляция 101, выполненная с возможностью обновления воздуха в помещении.

Как правило, систему 10 обжаривания используют в помещении 100, открытом для коллективного пользования, например в магазине, кафе или ресторане. Соответственно оператор системы и потребители присутствуют в помещении, в то время как система обжаривает кофейные зерна и выпускает очищенный дым из блока 3 очистки дыма. Очищенный дым может дополнительно удаляться из помещения с помощью вентиляции 101.

Применение этой системы должно соответствовать нормам в области здравоохранения и безопасности, установленным для населения и для работников (обжарщиков, официантов) по месту выполнения работы.

В зависимости от объема помещения, вентиляции, норм в области здравоохранения и безопасности, частоты операций обжаривания, эффективности блока очистки дыма, среда в помещении может по меньшей мере временно оказаться небезопасной.

Система 80 управления системы обжаривания выполнена с возможностью реализации безопасного процесса обжаривания, посредством обеспечения уровня загрязняющих веществ, выработанных в операции обжаривания в помещении, в пределах значений, установленных нормами в области здравоохранения и безопасности.

Система управления устройства для обжаривания

Далее будет рассмотрена система 80 управления устройства для обжаривания со ссылкой на фиг. 1 и 2: система 80 управления выполнена с возможностью управления компонентами устройства для обжаривания кофейных зерен. Система 80 управления, как правило, содержит на втором уровне устройства для обжаривания: пользовательский интерфейс 6, блок 8 обработки, источник 9 питания, блок 63 памяти, необязательно базу 62 данных, по меньшей мере один датчик 21 температуры, необязательно датчики 102, необязательно интерфейс 61 связи для удаленного подключения, необязательно считыватель 7 кода или любую комбинацию этих устройств.

Пользовательский интерфейс 6 содержит аппаратное обеспечение, позволяющее пользователю взаимодействовать с блоком 8 обработки с помощью сигнала пользовательского интерфейса. Более конкретно пользовательский интерфейс принимает команды от оператора или пользователя, сигнал пользовательского интерфейса передает упомянутые команды в блок 8 обработки в виде входных данных. Команды могут, например, представлять собой инструкцию для выполнения процесса обжаривания и/или настройки рабочего параметра устройства 2 для обжаривания, и/или включения или выключения питания устройства 2 для обжаривания и необязательно блока 3 очистки дыма, если им управляет тот же блок управления. Блок 8 обработки может также передавать сигнал обратной связи на пользовательский интерфейс 6 в рамках процесса обжаривания, например для указания начала процесса обжаривания, или сообщения о выборе параметра, связанного процессом, или для указания на изменение параметра в ходе реализации процесса, или для подачи предупредительного сигнала.

Пользовательский интерфейс можно дополнительно использовать для предупреждения о возможном небезопасном применении устройства для обжаривания и для предложения рекомендаций, как описано ниже.

Аппаратное обеспечение пользовательского интерфейса может содержать любое(-ые) приемлемое(-ые) устройство(-а), например аппаратное обеспечение содержит одно или более из следующего: кнопки, такие как кнопка джойстика, ручка или нажимная кнопка, джойстик, светодиоды, графические или символьные ЖК-дисплеи, графический экран с сенсорным датчиком и/или кнопки по краю экрана. Пользовательский интерфейс 6 может быть выполнен в виде единого блока или множества отдельных блоков.

Часть пользовательского интерфейса может также находиться в мобильном приложении, когда в устройстве предусмотрен интерфейс 61 связи, как описано ниже. В этом случае по меньшей мере часть входных и выходных данных могут передаваться на мобильное устройство через интерфейс 61 связи.

Датчик 21 температуры выполнен с возможностью передачи входного сигнала на блок 8 обработки для управления процессом обжаривания и/или состоянием устройства для обжаривания. Входной сигнал может представлять собой аналоговый или цифровой сигнал. Могут быть использованы разные датчики, содержащие, как правило, один или более из следующих датчиков: датчик уровня зерен, связанный с камерой 21, датчик расхода воздуха, датчик положения, связанный с камерой и/или половоуловителем.

Может быть обеспечен считыватель 7 кода, выполненный с возможностью считывания кода, например, с упаковки для кофейных зерен, и автоматического ввода данных, которые идентифицируют тип Cn кофейных зерен, подаваемых в камеру 21.

Блок 8 обработки, по существу, содержит запоминающее устройство, компоненты системы ввода-вывода, выполненные в виде интегральной схемы, по существу, в виде микропроцессора или микроконтроллера. Блок 8 обработки может содержать другие приемлемые интегральные схемы, например: специализированные микросхемы (ASIC), программируемые логические устройства, например PAL, CPLD, FPGA, PSoC, однокристальные системы (SoC), аналоговые интегральные схемы, например контроллеры. Для таких устройств, в случае необходимости, вышеупомянутый программный код может считаться программируемой логикой или дополнительно содержать программируемую логику. Блок 8 обработки может также содержать одну или более из вышеупомянутых интегральных схем. В качестве примера последнего можно привести несколько интегральных схем, взаимодействующих друг с другом в рамках модульной схемы, например ведомая интегральная схема управляет пользовательским интерфейсом 6, связанным с ведущей интегральной схемой для управления устройством 10 для обжаривания.

Источник 9 питания выполнен с возможностью обеспечения электроэнергией упомянутых управляемых компонентов и блока 8 обработки. Источник 9 питания может содержать различные средства, например аккумулятор или блок, для приема и обработки основного источника электропитания. Источник 9 питания может быть функционально связан с частью пользовательского интерфейса 6 для включения или выключения питания устройства 10 для обжаривания.

Блок 8 обработки, по существу, содержит блок 63 памяти для хранения инструкций в виде программного кода и необязательно данных. Для этого блок памяти, как правило, содержит: энергонезависимое запоминающее устройство, например СППЗУ, ЭСППЗУ или флеш-память, для хранения программного кода и рабочих параметров в виде инструкций; энергозависимое запоминающее устройство (ОЗУ) для временного хранения данных. Блок памяти может содержать отдельную и/или интегрированную (например, на полупроводниковом кристалле) память. Для программируемых логических устройств инструкции могут храниться в виде программируемой логики.

Часть инструкций, которые хранятся в блоке 63 памяти, в упрощенном виде представляют собой программу обжаривания кофейных зерен.

Система 80 управления выполнена с возможностью выполнения этой программы обжаривания кофейных зерен посредством управления нагревателем 20 с использованием сигнала датчика 21 температуры.

При выполнении программы обжаривания кофейных зерен можно осуществлять управление упомянутыми компонентами с применением выборочной информации, зашифрованной в коде, и/или другой информации, которая может храниться в виде данных в блоке 63 памяти, или поступать из удаленного источника через интерфейс 61 связи и/или в виде входных данных, введенных через пользовательский интерфейс 6, и/или в виде сигнала датчиков 19.

Дополнительно часть инструкций, хранящихся в блоке 63 памяти, может в упрощенном виде представлять собой программу для контроля безопасного обжаривания, как будет описано ниже.

Система 80 управления может содержать интерфейс 61 связи для обмена данными между устройством 10 для обжаривания и другим устройством и/или системой, например серверной системой, мобильным устройством и/или физически отделенным измерительным устройством, подобным блоку 3 фильтрации дыма. Интерфейс 61 связи можно применять для передачи и/или приема информации, относящейся к:

- процессу обжаривания кофейных зерен, например информации о процессе обжаривания, типе зерен, количестве зерен, и например о количестве каждого загрязняющего вещества, выработанного устройством для обжаривания во время операции обжаривания конкретного количества кофейных зерен до определенной степени обжаривания,

и

- очистке дыма блоком очистки дыма, например характеристик снижения уровня каждого загрязняющего вещества.

Интерфейс 61 связи может содержать первый и второй интерфейсы связи для обмена данными с несколькими устройствами одновременно или для обмена данными через различные среды.

Интерфейс 61 связи может быть выполнен с возможностью применения проводных или беспроводных средств связи или их комбинации, например проводного соединения, например RS-232, USB, I2C, Ethernet по протоколу IEEE 802.3, беспроводного соединения, например беспроводной локальной сети (например, IEEE 802.11), или связи ближнего поля (NFC), или сотовой системы связи, например GPRS или GSM. Интерфейс 61 связи взаимодействует с блоком 8 обработки с помощью сигнала интерфейса связи. По существу, интерфейс связи содержит отдельный блок обработки (примеры которого приведены выше) для управления аппаратным обеспечением связи (например, антенной), предназначенным для взаимодействия с главным блоком 8 обработки. Тем не менее можно применять менее сложные конфигурации, например простое проводное соединение для последовательного обмена данными непосредственно с блоком 8 обработки.

Обычно блок 8 обработки обеспечивает доступ к различным предварительно заданным рецептурам обжаривания (RMA, RMB, …), т.е. рецептурам, адаптированным для обжаривания конкретных типов кофейных зерен или смесей кофе (CA, CB, …) и предпочтительно конкретных количеств (MA, MB, …) упомянутых зерен или смесей.

Эти рецептуры могут храниться в запоминающем устройстве 63 блока 8 обработки. Альтернативно эти данные могут храниться на удаленном сервере, а блок 8 обработки может быть выполнен с возможностью доступа к этому удаленному серверу через интерфейс 61 связи напрямую или опосредованно через мобильное устройство, устанавливающее соединение между удаленным сервером и блоком обработки.

Система 80 управления может содержать базу 62 данных, хранящую информацию о кофейных зернах, в частности о рабочих условиях для обжаривания конкретных кофейных зерен, как описано в настоящем документе ниже. База 62 данных может храниться локально в запоминающем устройстве 63 системы управления устройства для обжаривания или удаленно на сервере, доступном через интерфейс 61 связи.

В одном альтернативном варианте осуществления система управления может быть обеспечена рецептурами RMn обжаривания (и в зависимости от варианта осуществления соответствующими предварительно заданными количествами Mn), во время процедуры считывания кода, при этом эти фрагменты информации зашифрованы внутри кода и декодируются системой управления.

Кроме того, блок 8 обработки обеспечивает доступ к:

- информации о помещении 100, в котором работает устройство 2 для обжаривания. В частности, информация о местных нормах в области здравоохранения и безопасности, которые должны соблюдаться в этом помещении 100, и информация об интенсивности вентиляции упомянутого помещения. По существу, такая информация может храниться в блоке 63 памяти, например, в момент установки устройства для обжаривания в помещении и на стадии установки различных фиксированных параметров устройства для обжаривания (т.е. параметров, которые не изменяются от одной операции обжаривания к другой).

- информации о количестве различных загрязняющих веществ, выработанных устройством 2 для обжаривания в процессе обжаривания конкретного количества кофейных зерен до определенной степени обжаривания. Такая информация может храниться в блоке 63 памяти или в базе 62 данных, находящейся в устройстве для обжаривания или на удаленном сервере, и доступной через интерфейс 61 связи.

Предпочтительно такая информация дает выработанное количество по меньшей мере одного загрязняющего вещества, включенного в следующий список: CO, CO2, диацетил, формальдегид, PM10, PM2.5, метанол, NO, NO2, пиридин, SO2, озон, 2-фуранметанол, за время операции обжаривания конкретного количества кофейных зерен до определенной степени обжаривания.

Такая информация обычно устанавливается посредством экспериментов на устройстве для обжаривания с различными условиями варианта обжаривания, причем эти условия охватывают все обычные варианты обжаривания, в частности следующие условия:

применение различных типов кофейных зерен (арабика, робуста, смесь),

применение разных количеств зерен за одну операцию обжаривания (зависит от емкости обжарочной камеры),

обжаривание зерен до разной степени обжарки (светлая, средняя, темная обжарка),

- информации о блоке 3 очистки дыма, который очищает дым, вырабатываемый устройством для обжаривания, в частности по меньшей мере о характеристиках снижения уровня конкретных загрязняющих веществ упомянутым блоком очистки дыма. Такая информация может храниться в блоке 63 памяти или в базе 62 данных, находящейся в устройстве для обжаривания или на удаленном сервере, и доступной через интерфейс 61 связи.

Такая информация обычно устанавливается посредством экспериментов на блоке очистки дыма с различными загрязнителями, предпочтительно с помощью аккредитованных лабораторий. Измерения можно осуществлять непосредственно с помощью ЛОС или датчиков PM или опосредованно посредством накопления загрязняющих веществ на определенных подложках во время полной операции обжаривания.

На фиг. 3 представлена блок-схема, демонстрирующая различные стадии в процессе реализации операции обжаривания с помощью системы 80 управления устройства в соответствии с фиг. 1 или 2.

На стадии 200 оператор может вводить данные о требуемом обжаривании для реализации операции обжаривания. Такие данные относятся по меньшей мере к:

- типу подлежащих обжариванию кофейных зерен, и

количеству подлежащих обжариванию кофейных зерен, и

степени обжаривания, применимой для зерен,

необязательно количеству операций обжаривания в течение некоторого периода времени. Такие данные могут соответствовать привычкам оператора в отношении обжаривания в рабочее время, обычно в течение 8 последовательных часов. Могут быть обеспечены следующие фрагменты информации:

- количество кофейных зерен, обжариваемых в день, и

- время операций обжаривания или интервалы между операциями обжаривания в течение предварительно заданного периода. Этот фрагмент информации может быть обеспечен посредством предложения списка сценариев, например последовательно, распределено в течение 8 часов, каждые 15 минут, каждые полчаса.

- необязательно количество обжаренных зерен за операцию обжаривания; по умолчанию это количество устанавливают на максимальное количество, которое может содержаться в обжарочной камере устройства для обжаривания,

- необязательно степень обжаривания кофейных зерен в конце операции обжаривания; по умолчанию эту степень устанавливают на темную обжарку, поскольку при обжаривании до темной обжарки создается большее количество загрязняющих веществ, чем при других видах обжаривания.

- необязательно тип кофейных зерен, обжаренных в устройстве для обжаривания.

На стадии 201 система управления получает доступ к информации о количестве загрязняющих веществ, выработанных во время операции обжаривания, определенной на стадии 200.

В зависимости от уровня подробности доступной информации система управления может быть выполнена с возможностью:

- получения данных о количестве загрязняющих примесей, соответствующих точно или ближайшим входным данным для варианта обжаривания (например, данные по загрязняющим веществам могут быть предусмотрены для обжаривания количеств зерен, отличающихся на 250 г, например 250, 500, 750 и 1000 г. Если требуется обжарить 600 г, можно получить доступную информацию о загрязняющем веществе, выработанном из 500 г, что является ближайшим количеством зерен, или

- вычисления количества загрязняющих веществ из доступной информации (на основании приведенного выше примера, например посредством применения коэффициента с учетом разницы по количеству с доступной информацией).

Если требуемый вариант обжаривания относится только к одной операции обжаривания, система управления получает доступ к выработанным количествам за время этой одной операции, а если требуемый вариант обжаривания связан с несколькими операциями обжаривания в течение некоторого времени, система управления получает доступ к количествам, выработанным при каждой операции обжаривания за период использования.

На стадии 211 система управления получает доступ к результату уменьшения каждого загрязняющего вещества блоком 3 очистки дыма как части системы обжаривания.

На стадии 220 на основе:

- количества каждого загрязняющего вещества, выработанного устройством 2 для обжаривания во время требуемой операции обжаривания, и

- результата уменьшения количества каждого из упомянутого загрязняющего вещества блоком 3 очистки дыма,

получают концентрацию каждого загрязняющего вещества, выдаваемого системой 10.

Эту концентрацию получают посредством расчета общего количества каждого загрязняющего вещества, в газообразном виде или в виде твердых частиц, выделяемого за время требуемой (-ых) операции (операций) обжаривания внутри помещения 100, а впоследствии вычисления части загрязняющих веществ, уловленных блоком 3 очистки дыма.

В конкретном случае, когда в состав системы обжаривания не входит блок фильтрации дыма, либо непосредственно соединенный с устройством для обжаривания, либо находящийся в помещении, стадии 220 и 221 не применяют, а количества, полученные на стадии 210, используют непосредственно на стадии 230.

В другом конкретном случае, когда устройство 2 для обжаривания и блок 3 очистки дыма образуют одно устройство 10, может не понадобиться выполнять стадии 211 и 220, если на стадии 201 система управления может получить доступ к загрязняющим веществам, выработанным комбинацией устройства 2 для обжаривания и блока 3 очистки дыма и выведенным в помещение.

Перед стадией 221 можно учитывать входные данные датчика 102, выполненного с возможностью измерения концентрации конкретных компонентов в помещении 100 или на впускном отверстии для воздуха на обжарочной машине. Например, если в помещении содержится другое устройство, которое может испускать некоторые компоненты, идентичные испускаемым системой обжаривания (например, печь или устройства для приготовления пищи). Этот датчик позволяет учитывать выработку этих компонентов всеми испускающими их устройствами.

На стадии 221 система управления получает доступ к интенсивности вентиляции или к кратности воздухообмена в час (ACPH) в помещении и размеру помещения, а на стадии 230 определяют концентрацию каждого загрязняющего вещества, присутствующего в помещении во время операции обжаривания.

Это определение заключается в вычислении части загрязняющего вещества, удаленного из помещения, на основании воздухообмена в час, и, если на стадии 200 несколько операций обжаривания проводят в течение некоторого периода времени, расчет повторяют для всех запланированных операций обжаривания на протяжении предварительно заданного периода времени.

Например, такое вычисление проиллюстрировано кривыми на фиг. 4 и 5, где показана концентрация (мкг/м3) диацетила в помещении в течение 8 часов

- когда в помещении конкретная система 10 устройства 2 для обжаривания и блок 3 очистки дыма на фиг. 1 работают последовательно для обжаривания 5 кг зерен робуста порциями по 100 г зерен до темной обжарки (фиг. 4),

- когда система 10 с тем же устройством 2 для обжаривания и блоком 3 очистки дыма, отличающимся от такого блока, показанного на фиг. 1 и менее эффективным, работают при таком же требуемом режиме обжаривания (фиг. 5).

На стадии 231 система управления получает доступ к нормам в области здравоохранения и безопасности для местности, где эксплуатируют систему обжаривания.

На стадии 240 определенную концентрацию каждого загрязняющего вещества сравнивают с концентрацией, разрешенной в соответствии с местными нормами в области здравоохранения и безопасности.

Например, на фиг. 4 разрешенная концентрация диацетила в Нидерландах проиллюстрирована пределом L, который составляет 75 мкг/м3. Видно, что при применении системы 10 обжаривания, используемой на фиг. 4, концентрация диацетила всегда поддерживается на уровне около 25 мкг/м3, что меньше этого предела L

Напротив, для системы 10 обжаривания, используемой на фиг. 5, концентрация диацетила всегда превышает предел L.

Если во время операции обжаривания для требуемого способа обжаривания, введенного на стадии 200, для каждого загрязняющего вещества определенная концентрация ниже соответствующей разрешенной концентрации, система управления на стадии 250 разрешает операцию обжаривания. На фиг. 6 проиллюстрирован тип информации, которая в этой ситуации может отображаться на пользовательском интерфейсе 6.

Если во время операции обжаривания для требуемого способа обжаривания, введенного на стадии 200, для по меньшей мере одного загрязняющего вещества определенная концентрация превышает соответствующую разрешенную концентрацию, система управления на стадии 251 отображает предупреждение на пользовательском интерфейсе 6.

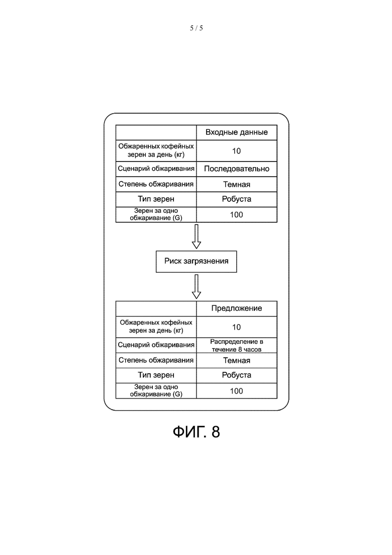
На фиг. 7 проиллюстрирован тип информации, которая в этой ситуации может отображаться на пользовательском интерфейсе 6. В этой ситуации на фиг. 8 проиллюстрирована дополнительная информация, которая может отображаться на пользовательском интерфейсе 6 и заключается в предложении изменения условий обжаривания, т.е. в данном случае в распределении операций обжаривания на протяжении 8 часов, а не в последовательном выполнении.

Перечень обозначений на графических материалах:

система 10

устройство для обжаривания 2

нагреватель 20

камера 21

обжарочный дым 24

блок очистки дыма 3

фильтры 31, 32, 33

пользовательский интерфейс 6

интерфейс связи 61

база данных 62

блок памяти 63

считыватель кода 7

блок обработки 8

источник питания 9

помещение 100

устройство вентиляции 101

датчики 102.

Похожие патенты RU2838233C1

название год авторы номер документа
АППАРАТ И СПОСОБ ОБЖАРИВАНИЯ КОФЕЙНЫХ ЗЕРЕН 2019
  • Дюбьеф, Флавьен
  • Чеккароли, Стефано
  • Биглер, Никола
RU2829625C2
СИСТЕМА ДЛЯ ОБЖАРИВАНИЯ КОФЕЙНЫХ ЗЕРЕН 2020
  • Морен, Жоэль
  • Чеккароли, Стефано
  • Дюбьеф, Флавьен Флоран
  • Дегреф, Томас
  • Ван Дик, Бен
  • Лемменс, Рин, Денисе, М.
  • Селис, Михил, Александер
  • Ван Бавинхове, Христофе
RU2833302C2
СПОСОБ ВЫСУШИВАНИЯ БЛОКА ФИЛЬТРАЦИИ ДЫМА 2020
  • Морен, Жоэль
  • Пиндюров, Рист
  • Дюбьеф, Флавьен Флоран
  • Манзер, Даниэл, Роланд
RU2828414C1
СИСТЕМА ДЛЯ КАЛИБРОВКИ АППАРАТОВ ДЛЯ ОБЖАРИВАНИЯ 2021
  • Дюбьеф, Флавьен, Флоран
  • Биглер, Никола
  • Пиндюров, Рист
  • Мартен, Венсан
RU2838232C1
СПОСОБ ОБЖАРИВАНИЯ КОФЕЙНЫХ ЗЕРЕН 2019
  • Дюбьеф, Флавьен
  • Чеккароли, Стефано
RU2798884C2
СПОСОБ ОБЖАРИВАНИЯ 2021
  • Дюбьеф, Флавьен, Флоран
  • Биглер, Никола
RU2836838C1
СПОСОБ КАЛИБРОВКИ АППАРАТА ДЛЯ ОБЖАРИВАНИЯ 2021
  • Дюбьеф, Флавьен, Флоран
  • Биглер, Никола
  • Пиндюров, Рист
  • Мартен, Венсан
RU2839586C1
СПОСОБ ОБЖАРИВАНИЯ КОФЕЙНЫХ ЗЕРЕН 2019
  • Дюбьеф, Флавьен
  • Чеккароли, Стефано
RU2807521C2
АППАРАТ ДЛЯ ОБЖАРИВАНИЯ КОФЕЙНЫХ ЗЕРЕН 2021
  • Дюбьеф, Флавьен, Флоран
  • Биглер, Никола
RU2839603C1
АППАРАТ ДЛЯ ОБЖАРИВАНИЯ 2021
  • Чеккароли, Стефано
  • Мартен, Венсан
  • Брендле, Манюэль
  • Нидерман, Христоф
  • Риклин, Адриан
RU2839600C1

Иллюстрации к изобретению RU 2 838 233 C1

Реферат патента 2025 года СПОСОБ ОБЖАРИВАНИЯ КОФЕЙНЫХ ЗЕРЕН

Группа изобретений относится к кофейной промышленности. Раскрыт способ обжаривания кофейных зерен в помещении, включающий получение при выполнении по меньшей мере одной операции обжаривания требуемых входных данных обжаривания для упомянутой по меньшей мере одной операции обжаривания с упомянутыми требуемыми входными данными, получение доступа к информации о помещении и устройстве для обжаривания кофейных зерен, а также перед инициированием по меньшей мере одной операции обжаривания: определение концентрации каждого загрязняющего вещества, образующегося в помещении во время упомянутой по меньшей мере одной операции обжаривания, для каждого загрязняющего вещества сравнение определенной концентрации упомянутого загрязняющего вещества, образующегося в помещении, с концентрацией упомянутого загрязняющего вещества, разрешенной в соответствии с местными нормами в области здравоохранения и безопасности и в зависимости от того, ниже или выше концентрация каждого загрязняющего вещества, чем разрешенная концентрация, выполнение по меньшей мере или отображение предупреждения об опасности. Также раскрыта система для обжаривания кофейных зерен в помещении и машиночитаемый носитель данных, содержащий инструкции для управления и выполнения способа обжаривания кофейных зерен. Группа изобретений позволяет прогнозировать и обеспечивать безопасную работу системы для обжаривания в помещении в соответствии с нормами в области здравоохранения и безопасности. 3 н. и 17 з.п. ф-лы, 8 ил.

Формула изобретения RU 2 838 233 C1

1. Способ обжаривания кофейных зерен в помещении (100) с использованием системы (10) обжаривания, причем упомянутая система обжаривания содержит:

- устройство (2) для обжаривания, и

при этом при реализации по меньшей мере одной операции обжаривания упомянутый способ включает в себя следующие стадии:

- получение требуемых входных данных обжаривания для упомянутой по меньшей мере одной операции обжаривания, при этом упомянутые требуемые входные данные определяют по меньшей мере:

тип обжариваемых кофейных зерен,

количество обжариваемых кофейных зерен за одну операцию обжаривания или в течение периода времени,

степень обжаривания, применимую для зерен,

и

- получение доступа к:

- информации о помещении, причем упомянутая информация о помещении включает в себя по меньшей мере: местные нормы в области здравоохранения и безопасности, объем помещения и интенсивность вентиляции упомянутого помещения,

- информации об устройстве для обжаривания кофейных зерен, причем упомянутая информация об устройстве для обжаривания включает в себя по меньшей мере количество каждого загрязняющего вещества, вырабатываемого устройством для обжаривания в процессе обжаривания конкретного количества кофейных зерен определенного типа до определенной степени обжаривания,

и

- перед инициированием по меньшей мере одной операции обжаривания:

определение концентрации каждого загрязняющего вещества, образующегося в помещении во время упомянутой по меньшей мере одной операции обжаривания, из полученных требуемых входных данных обжаривания и доступной информации об устройстве для обжаривания кофейных зерен и помещении,

для каждого загрязняющего вещества сравнение определенной концентрации упомянутого загрязняющего вещества, образующегося в помещении, с концентрацией упомянутого загрязняющего вещества, разрешенной в соответствии с местными нормами в области здравоохранения и безопасности,

выполнение по меньшей мере одной операции обжаривания, если для каждого загрязняющего вещества определенная концентрация ниже разрешенной концентрации в соответствии с местными нормами в области здравоохранения и безопасности,

отображение предупреждения об опасности, если для по меньшей мере одного загрязняющего вещества определенная концентрация превышает разрешенную концентрацию в соответствии с местными нормами в области здравоохранения и безопасности.

2. Способ по п. 1, в котором упомянутая система обжаривания содержит блок (3) очистки дыма, выполненный с возможностью очистки дыма, вырабатываемого устройством для обжаривания, и высвобождения очищенного дыма в помещение, при этом упомянутые требуемые входные данные определяют количество операций обжаривания в течение некоторого периода времени, при этом способ включает в себя стадии получения доступа к информации о блоке очистки дыма, причем упомянутая информация о блоке очистки дыма включает в себя по меньшей мере характеристики снижения уровня каждого загрязняющего вещества упомянутым блоком очистки дыма, и, перед инициированием по меньшей мере одной операции обжаривания, определения концентрации каждого загрязняющего вещества, образующегося в помещении во время упомянутой по меньшей мере одной операции обжаривания, из полученных требуемых входных данных обжаривания и доступной информации о блоке очистки дыма.

3. Способ по п. 1 или 2, включающий в себя стадию получения конкретного количества каждого загрязняющего вещества, выработанного на протяжении упомянутой по меньшей мере одной операции обжаривания, на основании полученных требуемых данных для варианта обжаривания и доступной информации об устройстве для обжаривания кофейных зерен.

4. Способ по п. 3, включающий в себя стадию применения результата уменьшения загрязняющего вещества к полученному количеству упомянутого загрязняющего вещества, выработанного устройством для обжаривания в течение упомянутой по меньшей мере одной операции обжаривания, и получения количества упомянутого загрязняющего вещества, выдаваемого блоком очистки дыма, если система содержит блок (3) очистки дыма, на основании доступной информации о блоке очистки дыма для каждого выработанного загрязняющего вещества.

5. Способ по п. 3 или 4, включающий в себя стадию определения концентрации каждого загрязняющего вещества, присутствующего в помещении во время упомянутой по меньшей мере одной операции обжаривания, с учетом интенсивности вентиляции и полученного количества каждого загрязняющего вещества, выдаваемого системой, на основании доступной информации об интенсивности вентиляции и объеме помещения, для каждого загрязняющего вещества.

6. Способ по любому из предшествующих пунктов, включающий в себя стадию предотвращения по меньшей мере одной операции обжаривания, если для по меньшей мере одного загрязняющего вещества определенная концентрация превышает разрешенную концентрацию в соответствии с местными нормами в области здравоохранения и безопасности.

7. Способ по любому из предшествующих пунктов, включающий в себя стадию предложения модификации по меньшей мере одной операции обжаривания, если для по меньшей мере одного загрязняющего вещества определенная концентрация превышает разрешенную концентрацию в соответствии с местными нормами в области здравоохранения и безопасности.

8. Способ по предшествующему пункту, включающий в себя следующие стадии, если для по меньшей мере одного загрязняющего вещества определенная концентрация превышает разрешенную концентрацию в соответствии с местными нормами в области здравоохранения и безопасности:

- вычисление количества обжариваемых зерен, чтобы получить количество конкретных компонентов, присутствующих в помещении на протяжении по меньшей мере одной операции обжаривания, с концентрацией ниже допустимых пределов для упомянутых конкретных компонентов в соответствии с местными нормами в области здравоохранения и безопасности, и

- предложение по уменьшению количества зерен, загружаемых в сосуд, до этого рассчитанного количества или предложение по разделению количества зерен на несколько партий с упомянутым вычисленным количеством, и предложение по обжариванию упомянутых партий по отдельности с определенными интервалами.

9. Способ по п. 7 или 8, включающий в себя следующие стадии, если для по меньшей мере одного загрязняющего вещества определенная концентрация превышает разрешенную концентрацию в соответствии с местными нормами в области здравоохранения и безопасности:

- вычисление максимальной степени обжаривания, которая применима для упомянутых зерен, чтобы получить количество конкретных компонентов, присутствующих в помещении на протяжении по меньшей мере одной операции обжаривания, с концентрацией ниже допустимых пределов для упомянутых конкретных компонентов в соответствии с местными нормами в области здравоохранения и безопасности, и

- предложение по уменьшению степени обжаривания, которая применима для упомянутых зерен, до этого рассчитанного максимального уровня.

10. Способ по п. 2, включающий в себя стадию предложения улучшения фильтрующих свойств блока очистки дыма, в частности посредством замены блока очистки дыма более эффективным блоком и/или повышения интенсивности вентиляции, если для по меньшей мере одного загрязняющего вещества полученная концентрация превышает разрешенную концентрацию в соответствии с местными нормами в области здравоохранения и безопасности.

11. Способ по любому из предшествующих пунктов, включающий в себя стадии доступа к информации о помещении, причем упомянутая информация о помещении включает в себя количество по меньшей мере одного конкретного компонента, присутствующего в помещении в момент запуска требуемой операции обжаривания, и

при этом способ включает в себя стадию оценивания необходимости в интервале времени до запуска по меньшей мере одного обжаривания, если рассчитанное количество упомянутого по меньшей мере одного конкретного компонента, находящегося в помещении в процессе обжаривания, превышает допустимые пределы для конкретного в соответствии с местными нормами в области здравоохранения и безопасности.

12. Способ по п. 11, включающий в себя следующие стадии:

- хранение информации о предыдущих операциях обжаривания, реализованных внутри помещения, включая информацию о:

количестве по меньшей мере некоторых компонентов, выработанных в ходе упомянутых предыдущих процессов обжаривания, и

времени, когда произошли упомянутые предыдущие операции,

и

- расчет продолжительности времени, необходимого для вентиляции помещения, чтобы уменьшить количество выработанных компонентов, присутствующих в помещении, для обеспечения дальнейшего обжаривания.

13. Способ по любому из предшествующих пунктов, включающий в себя стадии определения концентрации каждого загрязняющего вещества, образующегося в помещении во время операции обжаривания, исходя из по меньшей мере информации о блоке очистки дыма, причем упомянутая информация включает в себя по меньшей мере характеристики снижения уровня каждого загрязняющего вещества упомянутым блоком очистки дыма, и при этом упомянутая информация корректируется с учетом степени загрязненности блока очистки дыма.

14. Способ по любому из предшествующих пунктов, включающий в себя следующие стадии:

- получение требуемого ежедневного количества кофейных зерен для обжаривания, и

- предложение графика операций обжаривания в течение дня, если операция обжаривания разрешена.

15. Способ по любому из предшествующих пунктов, в котором система обжаривания содержит:

- канал для присоединения выходного дымового канала устройства для обжаривания или выпускного патрубка блока очистки дыма, причем упомянутый канал выполнен с возможностью отведения загрязняющих веществ из помещения, и

- устройство для закрытия или открытия упомянутого канала, причем способ включает в себя стадию открытия упомянутого канала во время по меньшей мере одной операции обжаривания, если для по меньшей мере одного загрязняющего вещества определенная концентрация превышает разрешенную концентрацию в соответствии с местными нормами в области здравоохранения и безопасности.

16. Способ по любому из предшествующих пунктов, включающий в себя следующие стадии:

- хранение определенной концентрации каждого загрязняющего вещества, образующегося в помещении во время упомянутой по меньшей мере одной операции обжаривания с получением требуемых входных данных обжаривания, и

- получение доступа к упомянутой сохраненной определенной концентрации каждого загрязняющего вещества при получении идентичных входных данных обжаривания для по меньшей мере одной операции обжаривания.

17. Способ по любому из предшествующих пунктов, включающий в себя стадии задействования безопасного режима работы устройства для обжаривания, причем при задействовании упомянутого режима способ включает в себя следующие стадии:

- получение доступа к предварительно заданным данным для небезопасного обжаривания, и

- предотвращение ввода упомянутых предварительно заданных данных для небезопасного обжаривания.

18. Система (10) для обжаривания кофейных зерен в помещении (100), содержащая:

- устройство (2) для обжаривания, и

- систему (80) управления, выполненную с возможностью реализации способа обжаривания кофейных зерен по любому из пп. 1-16.

19. Система (10) по п.18, содержащая блок (3) очистки дыма, выполненный с возможностью очистки дыма, вырабатываемого устройством для обжаривания, и высвобождения очищенного дыма в помещение.

20. Машиночитаемый носитель данных, содержащий инструкции, при выполнении которых компьютером, процессором или блоком управления инициируется выполнение компьютером, процессором или блоком управления способа обжаривания кофейных зерен по любому одному из пп. 1-17.

Документы, цитированные в отчете о поиске Патент 2025 года RU2838233C1

СПОСОБ УПРАВЛЕНИЯ ПРОЦЕССОМ ОБЖАРКИ КОФЕЙНЫХ ЗЕРЕН И УСТРОЙСТВО ДЛЯ ИСПОЛЬЗОВАНИЯ В ПРОЦЕССЕ ОБЖАРКИ КОФЕЙНЫХ ЗЕРЕН 2015
  • Ши Цзюнь
  • Ван Яньянь
  • Келли Деклан Патрик
  • Тань Цзинвэй
RU2653762C1
WO 2017178393 A1, 19.10.2017
Способ контроля процесса обжаривания в шаровом аппарате, например бобов какао, и устройство для осуществления способа 1958
  • Винокуров С.В.
  • Козлов Ю.А.
  • Осиповский Ю.К.
SU119792A1
US 20170319002 А1, 09.11.2017
ИДЕНТИФИКАЦИЯ ИСХОДНОЙ СТЕПЕНИ ОБЖАРИВАНИЯ КОФЕЙНЫХ ЗЕРЕН 2015
  • Тань Цзинвэй
RU2706189C2

RU 2 838 233 C1

Авторы

Дюбьеф, Флавьен Флоран

Моран, Жоэль

Даты

2025-04-14Публикация

2021-05-07Подача