Область техники
Изобретение относится к области строительства, в частности к технологиям возведения монолитных строительных конструкций с применением аддитивных технологий. Изобретение может быть использовано для архитектурных и конструктивных решений малоэтажных жилых и общественных зданий, которые возводят с применением аддитивных технологий на основе информационного моделирования.
Уровень техники
В статье «Применение 3D-печати в строительстве и перспективы ее развития» [https://cyberleninka.ru/article/n/primenenie-3d-pechati-v-stroitelstve-i-perspektivy-ee-razvitiya] рассмотрены современные подходы к возведению строительных конструкций с применением аддитивных технологий. Для возведения строительных конструкций методом послойного экструдирования используют бетонную смесь, включающую цемент, фибру и добавки (скорители твердения). Фибра для бетонной смеси представлена волокнами, выбранными из следующего ряда: стеклянные, полипропиленовые, базальтовые, стальные. Кроме этого бетонную смесь также армируют металлической (стальной) арматурой. Такое армирование проводят как в горизонтальном, так и в вертикальном направлении. Вертикальную арматуру устанавливают в технологические пустоты стен после печати с последующей заливкой бетоном нужной марки. Горизонтальное армирование проводят между слоями конструкции в процессе печати с использованием стальных прутов или плоских армокаркасов. Указанная арматура может быть представлена металлической меткой или металлическими прутьями.
Известен способ создания модульной объемно-пространственной конструкции, раскрытый в патенте РФ на изобретение № 2545206 (МПК: E04F 13/00, E04B 1/20, дата публикации: 27.03.2015). Известный способ характеризуется двумя этапами, в ходе которых производят типовые модули и создают сложную объемно-пространственную конструкцию. Указанная конструкция может быть изготовлена из пористых материалов, в частности, из пористого бетона на основе гипсового вяжущего. На этапе затворения гипсового теста введена армирующая добавка – фиброволокно. В теле модулей конструкции при их изготовлении формируют технологические каналы и полости.
Недостатки известного решения заключаются в том, что при проектировании объемно-пространственной конструкции используют типовые части (модули), заранее изготовленные на специализированном производстве, которые впоследствии доставляют на место установки, составляют и крепят к несущим элементам конструкции. Указанные типовые части (модули) изготавливают из пористого бетона на основе гипсового вяжущего. Однако при изготовлении цельных типовых частей (модулей) по мере набора прочности бетонной смеси, представляющей собой гель, тяжелые компоненты указанной смеси могут спускаться вниз под действием силы тяжести, в результате чего теряется однородность получаемого бетонного блока. Это может привести к появлению микротрещин и пор, что повлияет на прочность и устойчивость объемно-пространственной конструкции. Помимо этого, известная конструкция обладает недостаточной прочностью, поскольку в толще ее материала отсутствуют армирующие элементы.
Известен способ изготовления панелей, раскрытый в патенте РФ на изобретение № 2015129 (МПК: C04B 11/00, дата публикации: 30.06.1994). Известный способ включает смешение минерального наполнителя, отходов кордных волокон, гипсового вяжущего и воды и последующую сушку панелей, при этом сначала готовят фибропесчаную смесь из песка и отходов кордных волокон в равных объемах, а затем перемешивают ее с гипсовым тестом (гипс + вода). Таким образом, известная панель изготовлена из гипсофибробетонной смеси.
Недостатки известного решения заключаются в том, что получаемые панели образуют цельную конструкцию из бетонной смеси. Однако при изготовлении подобных цельных гипсофибробетонных конструкций по мере набора прочности бетонной смеси тяжелые компоненты указанной смеси оседают вниз, в результате чего теряется однородность получаемого бетонного блока. Это может привести к появлению микротрещин и пор, что повлияет на прочность и устойчивость строительной конструкции, которая будет впоследствии получена из указанных панелей. Помимо прочего, известная конструкция плохо адаптирована для целей малоэтажного строительства, поскольку не предполагает наличие полостей для прокладки инженерных коммуникаций, в частности, кабелей и труб.
Известен способ возведения бетонной стены и стена бетонная, раскрытые в патенте РФ на изобретение № 2704995 (МПК: E04G 21/04, E04B 2/84, B33Y 40/00, дата публикации: 01.11.2019). Известная стена образована послойной укладкой через сопло строительного 3D-принтера с образованием внешнего и внутреннего слоев стены. Указанный внешний и внутренний слои стены соединены гибким непрерывным армирующим тросом, тем самым стена становится армированной. В качестве армирующего материала может использоваться стеклошнур с поперечным сечением 4-8 мм, пропитанный клеящим составом. Полость между внешней и внутренней слоями стены заполняют теплоизолирующим материалом.
Недостаток известного решения заключаются в невысокой устойчивости как к ветровым воздействиям, так и к вертикально направленным нагрузкам (например, от выше лежащих этажей при использовании решения в конструкциях малоэтажных зданий). Это обусловлено тем, что в качестве арматуры применяется стеклошнур, который является гибким и легко деформируемым элементом.
Известен способ возведения монолитного здания, сооружения методом 3D печати, раскрытый в патенте РФ на изобретение № 2683447 (МПК: E04C 5/07, C04B 7/52, дата публикации: 28.03.2019). Известный способ включает приготовление бетонной смеси, выдавливание ее в виде пластичного филамента через раздаточную головку принтера и послойную укладку в проектное положение, в процессе укладки бетонной смеси одновременно с помощью подающего устройства позиционируют в тело филамента гибкие армирующие элементы в виде витых или плетеных арматурных канатов из полимерных или минеральных волокон для непрерывного и/или дискретного армирования бетонной смеси. В результате известного способа путем послойной укладки бетонной смеси в проектное положение получают строительную конструкцию. В теле строительной конструкции установлены гибкие армирующие элементы в виде витых или плетеных арматурных канатов из полимерных или минеральных волокон для непрерывного и/или дискретного армирования бетонной смеси.
Недостатком известной конструкции является использование сложных в производстве материалов, а именно это касается наномодифицированного цемента для его использования в качестве вяжущего в бетонной смеси. При этом процесс возведения стены является непрерывным, что не позволяет одновременно с возведением стены проложить внутри нее инженерные коммуникации. Кроме того, наличие процессов позиционирования в тело филамента гибких армирующих элементов, обуславливает высокую сложность осуществления изобретения.
Известен способ армирования цементной конструкции методой высокоскоростной экструзионной печати и устройство для его осуществления (Method of reinforced cementitious construction by high speed extrusion printing and apparatus for using same), раскрытый в патенте США № 10688683 (МПК: B28B 3/2636 и др., дата публикации: 23.06.2020) – прототип. Известное изобретение раскрывает бетонные строительные конструкции, состоящие из стен и перекрытий сложной конфигурации, включая контрфорсы, арки, пролеты и проемы. В частности, строительные конструкции представлены железобетонными конструкциями с армирующими элементами, колоннами, лестницами, крышами, потолками, фундаментами и т.д.
Недостатки изобретения, взятого за прототип, заключаются в следующем. При использовании гипсового вяжущего в составе бетонной смеси образуется щелочная среда, которая приводит к коррозии металлический (железных) элементов. Помимо этого, соединение стены и перекрытия обеспечивается непрерывным процессом возведения здания. Это может привести к недостаточной устойчивости и прочности установки перекрытия. В описанной технологии соединение перекрытия и стены обеспечивается лишь за счет послойного нанесения материала (армируются только стены, как опция). При этом бетонная смесь набирает прочность не сразу, а в течение определенного времени. Затвердение конструкции сопровождается ее осадкой. При таком способе возведения это может приводить к риску обрушения перекрытий, пролетов и иных горизонтально ориентированных элементов строительной конструкции.
Раскрытие сущности изобретения
Техническая задача, положенная в основу настоящего изобретения, заключается в расширении арсенала конструктивных решений и технологий по возведению малоэтажных жилых и общественных зданий на основе информационного моделирования монолитных конструкций стен и перекрытий из гипсобетона с применением аддитивных технологий по автоматизированной послойной укладке гипсобетонной смеси в проектное положение.
Технический результат, достигаемый при осуществлении настоящего изобретения, заключается в получении прочной и экологичной строительной конструкции, возведенной с применением аддитивных технологий, а также в повышении надёжности строительной конструкции и уровня защиты от динамических, сейсмических, экстремальных ветровых, температурных воздействий на конструкции зданий и сооружений.
Заявленное изобретение раскрывает способ возведения строительной конструкции для малоэтажных зданий, в котором послойно укладывают бетонную смесь в проектное положение с образованием монолитных стен и перекрытий, структура которых сформирована на основе геометрических моделей с их параметрическим описанием, включая параметры горизонтальных и вертикальных проемов. Согласно изобретению в качестве бетонной смеси применяют гипсобетонную смесь. Сначала проводят автоматизированное изготовление монолитных стен с образованием в указанных монолитных стенах вертикально ориентированных каналов, расположенных по меньшей мере в один ряд и проходящих от нижних до верхних частей каждой монолитной стены, при этом после изготовления указанных монолитных стен в полости вертикально ориентированных каналов вручную устанавливают каркасы из щелочностойкой композитной полимерной арматуры на всю высоту указанных каналов с последующим заполнением их полостей в автоматизированном режиме пеногипсобетоном, затем устанавливают каркасы для монолитного гипсобетонного пояса по верху монолитных стен и связывают их с каркасами, установленными в вертикально ориентированных каналах монолитных стен, далее выполняют установку несъемной опалубки под перекрытия и устанавливают на указанную несъемную опалубку сетки и/или каркасы из щелочностойкой композитной полимерной арматуры, скрепляют их с армирующими каркасами монолитного гипсобетонного пояса монолитной стены, затем в автоматизированном режиме проводят одновременное изготовление монолитного гипсобетонного пояса и перекрытия из гипсобетонной смеси.
Дополнительные преимущества и существенные признаки настоящего изобретения могут быть представлены в следующих частных вариантах осуществления.
В частности, автоматизированное изготовление монолитных стен прерывают для ручной установки несъемной опалубки над и/или под горизонтальным и вертикальным проемами.
В частности, при возведении по меньшей мере одной монолитной стены ее выполняют с теплоизоляционными разрывами между вертикально ориентированными каналами, при этом в указанные теплоизоляционные разрывы устанавливают усиливающие горизонтальные сетки из щелочностойкой композитной полимерной арматуры.
Заявленное изобретение также раскрывает строительную конструкцию для малоэтажных зданий, изготовленную указанным выше способом. Строительная конструкция состоит из монолитных стен и перекрытий, причем каждая монолитная стена и перекрытие получены путем послойной укладки бетонной смеси в проектное положение на основе геометрических моделей с параметрическим описанием конструкций стен и перекрытий, горизонтальных и вертикальных проемов. В отличие от прототипа, монолитные стены и перекрытия получены из бетонной смеси, содержащей композиционное гипсовое вяжущее и фибру, причем каждая монолитная стена имеет вертикально ориентированные каналы, проходящие от нижних до верхних частей монолитной стены, при этом указанные каналы армированы каркасами из композитной полимерной арматуры и заполнены пеногипсобетоном, причем на уровне перекрытий каждая указанная монолитная стена имеет монолитный гипсобетонный пояс, армированный каркасами из композитной полимерной арматуры, при этом перекрытия армированы уложенными на несъемную опалубку сетками из композитной полимерной арматуры, а каркасы, армирующие монолитный гипсобетонный пояс, связаны с армированными каркасами монолитных стен и армированными сетками перекрытий.
Дополнительные преимущества и существенные признаки настоящего изобретения могут быть представлены в следующих частных вариантах осуществления.
В частности, фибра для бетонной смеси для получения монолитных стен представлена волокнами, выбранными из следующего ряда: полипропиленовые, базальтовые, хризотил-асбестовые, полиамидовые, текстильные волокна, костра растений.
В частности, фибра для получения перекрытий представлена волокнами, выбранными из следующего ряда: полипропиленовые, базальтовые, хризотил-асбестовые, полиамидовые волокна.
В частности, бетонная смесь для получения монолитных стен дополнительно содержит наполнители в виде гранул, выбранные из следующего ряда: керамзит, полистирол, перлит, вермикулит, вспученное стекло, диатомит.
В частности, бетонная смесь для получения перекрытий дополнительно содержит наполнители в виде гранул, выбранные из следующего ряда: керамзит, вспученное стекло.
В частности, бетонная смесь для получения монолитных стен и перекрытий дополнительно содержит композиционные модификаторы, выбранные из следующего ряда: органоминеральные модификаторы на цементной, известковой, магнезиальной основе, замедлители схватывания, поропенообразователи, пластификаторы.
В частности, композиционные модификаторы содержатся в бетонной смеси в количестве от 10 до 30% от объема композиционного гипсового вяжущего.
В частности, вертикально ориентированные каналы, имеющиеся внутри монолитных стен, используют для прокладки инженерно-технических сетей.
В частности, вертикально ориентированные каналы имеют неразрывный контур.
В частности, вертикально ориентированные каналы сообщены теплоизоляционными разрывами, которые армированы усиливающими горизонтальными сетками из композитной полимерной арматуры.
В частности, верхние оконечные части каркасов для армирования вертикально ориентированных каналов находятся на уровне, превышающем уровень перекрытий.
В частности, композитная полимерная арматура для армирования стен и перекрытий представлена стержневой арматурой, выбранной из следующего ряда: стеклокомпозитной, базальтокомпозитной, углекомпозитной, комбинированной композитной.
В частности, перекрытия дополнительно армированы каркасами из композитной полимерной арматуры.
В частности, перекрытия дополнительно армированы профилями и/или термопрофилями для легких стальных тонкостенных конструкций. Указанные профили и/или термопрофили могут быть представлены двутавровыми балками.
В частности, несъемная опалубка состоит из влагостойких гипсоволокнистых или гипсостружчатых плит.
В частности, геометрические параметры конструкций монолитных стен и перекрытий имеют линейную и/или сегментную и/или криволинейную конфигурацию.
Достижение технического результата обусловлено использованием для изготовления каждой монолитной стены и перекрытия строительной конструкции бетонной смеси, состоящей из композиционного гипсового вяжущего и фибры. Использование гипсового вяжущего в бетонной смеси позволяет повысить скорость схватывания смеси и прочность конструкции. Добавление гипсового вяжущего в бетонную смесь позволяет укладывать друг на друга несколько слоев в короткий промежуток времени, что также позволяет использовать для возведения строительных конструкций аддитивные технологии. Добавление фибры и композиционных модификаторов в бетонную смесь позволяет повысить физико-технические и эксплуатационные характеристики бетонной смеси, в частности, степень структурирования, пластичность, предел прочности при сжатии, предел прочности на растяжение при изгибе, скорость схватывания смеси. В совокупности это обеспечивает создание прочной и долговечной конструкции здания, с оптимальными параметрами несущей способности (прочности, устойчивости, долговечности), жесткости, трещиностойкости.
Гипсовое вяжущее в сравнении с другими вяжущими и особенно с цементом обеспечивает снижение выбросов вредных веществ, в частности, углекислого газа, снижение затрат энергии во всей цепочке производства бетонной смеси. Это позволяет получить экологичную, энергоэффективную, экономичную строительную конструкцию, соответствующую всем эксплуатационным требованиям малоэтажного строительства.
Строительная конструкция получена путем послойного экструдирования быстротвердеющей бетонной смеси в проектное положение, за счет чего образуются соединенные между собой однотонные бетонные слои малой толщины. При твердении (гидратации) указанных бетонных слоев образуется гель, который постепенно набирает прочность. При этом могут образовываться поры и микротрещины. В слоистых структурах малой толщины в гипсобетоне, армированном фиброй, подобные процессы проявляются минимально, что позволяет повысить прочность и надёжность строительных конструкций.
Используемое в бетонной смеси гипсовое вяжущее образует щелочную среду. Как в аддитивной, так и в традиционной технологии возведения строительных конструкций широко распространено использование металлической арматуры, в частности стальных сеток и каркасов. Наличие щелочной среды приводит к коррозии и разрушению металлических армирующих элементов, тогда как использование щелочностойких композиционных полимерных материалов позволяет избежать коррозии армирующих элементов. Композитная полимерная арматура для армирования стен и перекрытий может быть представлена стержневой арматурой, выбранной из следующего ряда: стеклокомпозитная, базальтокомпозитная, углекомпозитная, комбинированная композитная.
Использование щелочностойких материалов для армирующих элементов позволяет повысить прочность и надёжность строительных конструкций, а также уровень защиты от динамических, сейсмических, экстремальных ветровых, температурных воздействий на конструкции зданий и сооружений.
В заявляемой строительной конструкции указанные композитные полимерные каркасы используют для армирования вертикально ориентированных каналов в монолитной стене и для армирования перекрытий. В монолитной стене вертикально ориентированные каналы и каркасы, их армирующие, проходят от нижних до верхний частей монолитной стены, что позволяет обеспечить жесткую конструкцию, связывающую монолитные стены строительной конструкции между собой. Указанные композитные полимерные сетки используют для армирования перекрытий. На уровне перекрытий каждая монолитная стена имеет монолитный гипсобетонный пояс, армированный каркасами из щелочностойкой композитной полимерной арматуры. При этом каркасы, армирующие монолитный гипсобетонный пояс, связаны с армированными каркасами монолитных стен и армированными сетками перекрытий. Это влияет на прочность и целостность строительной конструкции в целом.
Использование пеногипсобетона в качестве материала для заполнения вертикально ориентированных каналов в монолитной стене позволяет обеспечить адгезию композитной полимерной арматуры к бетонной смеси, образующей указанную монолитную стену, что повышает прочность строительной конструкции. Помимо этого, пеногипсобетон выступает в качестве изоляционного материала, в частности, для целей теплоизоляции, и тем самым делает предложенную строительную конструкцию более экологичной, поскольку для ее обогрева требуется меньше энергии.
При этом заявленная строительная конструкция позволяет использовать внутренние вертикально ориентированные каналы не только для закладки в них щелочностойкой арматуры, но и для целей проведения инженерных коммуникаций – труб и кабелей. Это делает заявленную конструкцию полностью адаптированной для малоэтажного строительства.
Дополнительно высокие эксплуатационные характеристики конструкции обеспечиваются за счет использования информационных геометрических моделей, содержащих параметрическое описание строительной конструкции, при проектировании, изготовлении и автоматической послойной укладке монолитного гипсобетона в проектное положение в зданиях и снижения негативного влияния «человеческого» фактора, присутствующего при традиционном, «ручном» производстве конструкций. Конструкции стен и перекрытий полностью обеспечивают соответствие нормативным требованиям первой и второй групп предельных состояний на основные и особые сочетания нагрузок по регионам, в том числе, при динамических, сейсмических, экстремальных ветровых, температурных воздействиях в жизненном цикле здания. Применение аддитивных технологий создает условия высокой производительности при автоматизированном производстве конструкций стен и перекрытий малоэтажных зданий.
Таким образом, вышеуказанные преимущества и существенные признаки изобретения позволяют снизить вред для окружающей среды за счет использования исходных материалов, имеющих лучшие экологические характеристики, но при этом обеспечить возведение строительной конструкции, не уступающей по своим прочностным характеристикам известным аналогам, использующим цементные бетоны и металлическую арматуру. Подбор материалов и технологических операций делает предложенные способ и конструкцию полностью адаптированными для малоэтажного строительства.
В ходе анализа патентной и научно-технической литературы не было выявлено технических решений, характеризующих совокупность тождественных существенных признаков. Это свидетельствует о том, что предложенная группа изобретений соответствует условию патентоспособности «Новизна».
При этом не было выявлено технических решений, отличительные признаки которых совпадают с отличительными признаками предложенной группы изобретений. Это свидетельствует о том, что предложенная группа изобретений соответствует условию патентоспособности «Изобретательский уровень».
В предложенной группе изобретений используются известные для науки и техники материалы, а выполнение действий возможно за счет известных технических средств. Это свидетельствует о соответствии предложенной группы изобретений условию патентоспособности «Промышленная применимость».
В качестве группы изобретений предложены способ возведения строительной конструкции для малоэтажных зданий и строительная конструкция для малоэтажных зданий, изготовленная предложенным способом. Соответственно, изобретения из предложенной группы изобретений объединены единым изобретательским замыслом, что обеспечивает единство изобретения.
Краткое описание чертежей
Изобретение проиллюстрировано четырьмя фигурами:
- ФИГ. 1 иллюстрирует фрагмент строительной конструкции, включающий монолитную стену и перекрытие;
- ФИГ. 2 иллюстрирует горизонтальный разрез монолитной стены строительной конструкции;
- ФИГ. 3 иллюстрирует вертикальный разрез строительной конструкции, состоящей из монолитной стены и монолитного перекрытия;
- ФИГ. 4 иллюстрирует вертикальный разрез строительной конструкции, состоящей из монолитной стены и сборно-монолитного балочного перекрытия.
На фигурах использованы следующие обозначения:
1 – монолитная стена;
2 – перекрытие;
3 – вертикально ориентированные каналы;
4 – оконный проем;
5 – дверной проем;
6 – каркасы вертикально ориентированных каналов;
7 – теплоизоляционный разрыв;
8 – горизонтальная сетка из композитной полимерной арматуры;
9 – монолитное перекрытие;
10 – несъемная опалубка монолитного перекрытия;
11 – сетки и каркасы из композитной полимерной арматуры;
12 – монолитный гипсобетонный пояс;
13 – сборно-монолитное балочное перекрытие;
14 – несъемная опалубка сборно-монолитного балочного перекрытия;
15 – сетки из композитной полимерной арматуры;
16 – монолитный гипсобетонный пояс;
17 – термовкладыш.
Осуществление изобретения
Строительная конструкция для малоэтажных зданий состоит из монолитных стен и перекрытий.
ФИГ. 1 иллюстрирует фрагмент строительной конструкции, включающий монолитную стену 1 и перекрытие 2.
Монолитная стена 1 и перекрытие 2 строительной конструкции получены путем автоматизированной послойной укладки бетонной смеси в проектное положение на основе геометрических моделей с параметрическим описанием конструкций стен и перекрытий, горизонтальных и вертикальных проемов. Геометрия параметров конструкций монолитных стен и перекрытий позволяет формировать любую их конфигурацию, в частности линейную и/или сегментную и/или криволинейную в проектах малоэтажных зданий.
Бетонная смесь, из которой выполнены монолитная стена 1 и перекрытие 2, содержит композиционное гипсовое вяжущее и фибру. Бетонная смесь может дополнительно содержать наполнители и/или композиционные модификаторы. Наполнители для бетонной смеси представлены в виде гранул и могут быть выбраны из следующего ряда: керамзит, полистирол, перлит, вермикулит, вспученное стекло, диатомит. Композиционные модификаторы могут быть выбраны из следующего ряда: органоминеральные модификаторы на цементной, известковой, магнезиальной основе, замедлители схватывания, пенообразователи, пластификаторы. Композиционные модификаторы содержатся в бетонной смеси в количестве от 10 до 30% от объема композиционного гипсового вяжущего.
Фибра для бетонной смеси может быть представлена волокнами, выбранными из следующего ряда: полипропиленовые, базальтовые, хризотил-асбестовые, полиамидовые, текстильные волокна, костра растений.
В частности, бетонная смесь для выполнения монолитной стены может быть представлена гипсофибробетоном класса В10-15, плотностью 800-1000 кгс/м3.
Бетон класса В10 (М150) используется в разных видах строительства. С его помощью удается возводить недорогие конструкции, устойчивые к перепаду температуры, влажности и другим неблагоприятным воздействиям. Он широко используется при заливке фундаментов, возведении межкомнатных перекрытий, стен, а также других конструкций. Недорогой строительный материал сокращает расходы на все связанные с ним работы.
Бетон класса В12,5 (эквивалент марки М150) – недорогой и распространенный материал на строительных объектах. Им заливают фундаменты, возводят стены, межкомнатные перегородки и другие виды монолитных конструкций, которые имеют невысокий коэффициент прочности на сжатие.
Бетон класса В15 обладает достаточной прочностью на сжатие, поэтому нередко используется для монолитного строительства несущих стен. Прочность готовой бетонной смеси В15 достигается следованием техническим регламентам, строгому лабораторному контролю качества сырья, соблюдения пропорций составов, испытаниям по ГОСТ.
Монолитная стена 1 имеет вертикально ориентированные каналы 3, проходящие от нижних до верхних частей монолитной стены 1. При этом монолитная стена 1 может иметь по меньшей мере один оконный проем 4 и/или дверной проем 5. В частности, вертикально ориентированные каналы 3 проходят от верхней части дверного проема 5 до верхней части монолитной стены 1. В частности, вертикально ориентированные каналы 3 проходят от нижней части монолитной стены 1 до нижней части оконного проема 4 и от верхней части оконного проема 4 до верхней части монолитной стены 1.
Указанные вертикально ориентированные каналы 3 могут быть расположены в один или несколько рядов и в поперечном сечении могут быть прямоугольными, и в частности квадратными. Указанные вертикально ориентированные каналы 3 могут быть выполнены с образованием геометрической структуры каналов для установки инженерно-технических сетей, в частности, электропроводки, вентиляции, водоснабжения, водоотводки, слаботочной проводки.
ФИГ. 2 иллюстрирует горизонтальный разрез монолитной стены 1 строительной конструкции.
В соответствии с ФИГ. 2 вертикально ориентированные каналы 3 армированы каркасами 6 из композитной полимерной арматуры. Указанные арматурные каркасы 6 позволяют повысить надёжность конструкций и устойчивость к динамическим, сейсмическим, экстремальным ветровым, температурным воздействиям в жизненном цикле зданий. Композитная полимерная арматура может быть представлена стержневой арматурой, выбранной из следующего ряда: стеклокомпозитная, базальтокомпозитная, углекомпозитная, комбинированная композитная.
В одном из вариантов осуществления вертикально ориентированные каналы 3 имеют неразрывный контур. В поперечном сечении вертикально ориентированные каналы 3 могут быть прямоугольными, и в частности квадратными.
В другом варианте осуществления вертикально ориентированные каналы 3 сообщены теплоизоляционными разрывами 7, ширина которых установлена конструктивно от 5 см. Указанные теплоизоляционные разрывы 7 армированы усиливающими горизонтальными сетками 8 из композитной полимерной арматуры. Композитная полимерная арматура может быть представлена стержневой арматурой, выбранной из следующего ряда: стеклокомпозитная, базальтокомпозитная, углекомпозитная, комбинированная композитная. Указанные сетки 8 установлены на рёбрах между вертикально ориентированными каналами 3 с конструктивным шагом по вертикали на высоту от 50 см. Указанные теплоизоляционные разрывы 7 позволяют снизить теплопотери и устранить «мостики холода» внутри монолитной стены 1. Указанные теплоизоляционные разрывы 7 не устанавливают в дверных и оконных проемах.
Вертикально ориентированные каналы 3 заполнены пеногипсобетоном. В качестве пеногипсобетона может быть использован гипсобетон, например, класса В1, плотностью не более 300 кгс/м3. Указанный пеногипсобетон обеспечивает адгезию с каркасами 6 из композитной полимерной арматуры монолитной стены 1. Указанный пеногипсобетон позволяет повысить теплотехнические характеристики (теплоемкость, теплоустойчивость) строительных конструкций и зданий в целом и обеспечивает монолитную целостность стен.
Верхние оконечные части каркасов 6 для армирования вертикально ориентированных каналов монолитной стены 1 находятся на уровне, превышающем уровень перекрытий для связей с вышележащими стенами по этажам.
В заявленной строительной конструкции для малоэтажных зданий может быть использовано монолитное перекрытие 9 или сборно-монолитное балочное перекрытие 13.
ФИГ. 3 иллюстрирует фрагмент строительной конструкции для малоэтажных зданий, включающий монолитную стену 1 и монолитное перекрытие 9.
Монолитное перекрытие 9 представляет собой бетонную конструкцию. Указанная конструкция армирована сетками и каркасами 11 из композитной полимерной арматуры, которые при изготовлении перекрытия укладывают на несъемную опалубку 10. Указанная опалубка 10 состоит из влагостойких гипсоволокнистых или гипсостружечных плит. Композитная полимерная арматура может быть представлена стержневой арматурой, выбранной из следующего ряда: стеклокомпозитная, базальтокомпозитная, углекомпозитная, комбинированная композитная.
Бетонная смесь класса В15, из которой выполнено монолитное перекрытие 9, содержит композиционное гипсовое вяжущее и фибру. Бетонная смесь может дополнительно содержать наполнители и/или композиционные модификаторы. Наполнители для бетонной смеси представлены в виде гранул и могут быть выбраны из следующего ряда: керамзит, вспученное стекло. Композиционные модификаторы могут быть выбраны из следующего ряда: органоминеральные модификаторы на цементной, известковой, магнезиальной основе, замедлители схватывания, пенообразователи, пластификаторы. Композиционные модификаторы содержатся в бетонной смеси в количестве от 10 до 30% от объема композиционного гипсового вяжущего.
Фибра для бетонной смеси представлена волокнами, выбранными из следующего ряда: полипропиленовые, базальтовые, хризотил-асбестовые, полиамидные волокна.
На уровне монолитного перекрытия 9 монолитная стена 1 имеет монолитный гипсобетонный пояс 12, армированный каркасами из композитной полимерной арматуры. Указанные каркасы связаны с каркасами монолитной стены и каркасами и сетками из композитной полимерной арматуры монолитного перекрытия. Композитная полимерная арматура может быть представлена стержневой арматурой, выбранной из следующего ряда: стеклокомпозитная, базальтокомпозитная, углекомпозитная, комбинированная композитная.
С наружной стороны монолитного гипсобетонного пояса 12 устанавливают водостойкие термовкладыши 17 для устранения «мостиков холода» на уровне монолитного гипсобетонного пояса 12.
Монолитные перекрытия 9 создают жесткий диск и связывают все стены в единый цельный конструктивный остов надземной части здания.
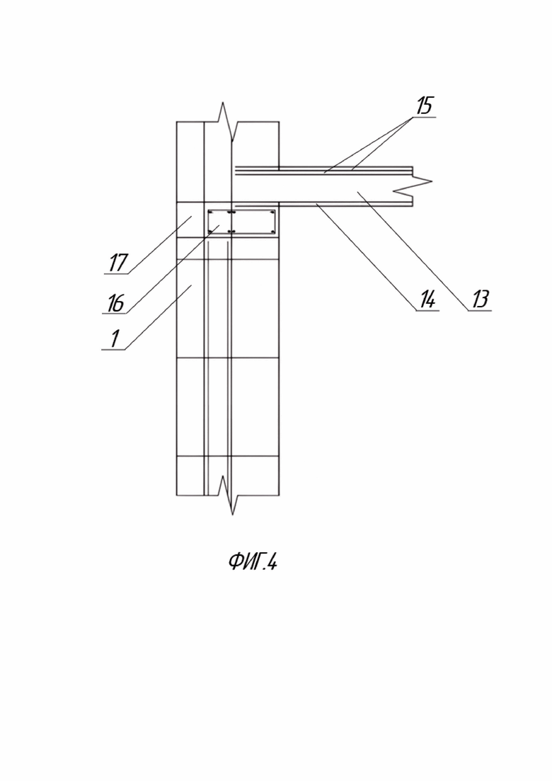
ФИГ. 4 иллюстрирует фрагмент строительной конструкции для малоэтажных зданий, включающий монолитную стену 1 и сборно-монолитное балочное перекрытие 13.
Сборно-монолитное балочное перекрытие 13 представляет собой бетонную конструкцию. Указанная конструкция армирована сетками 15 из композитной полимерной арматуры и профилями и/или термопрофилями для легких стальных тонкостенных конструкций, которые при изготовлении перекрытия укладывают на несъемную опалубку 14. Указанная опалубка состоит из влагостойких гипсоволокнистых или гипсостружечных плит. Указанные профили и/или термопрофили могут быть представлены двутавровыми балками. Композитная полимерная арматура может быть представлена стержневой арматурой, выбранной из следующего ряда: стеклокомпозитная, базальтокомпозитная, углекомпозитная, комбинированная композитная.
Бетонная смесь класса В15, из которой выполнено сборно-монолитное балочное перекрытие 13, содержит композиционное гипсовое вяжущее и фибру. Бетонная смесь может дополнительно содержать наполнители и/или композиционные модификаторы. Наполнители для бетонной смеси представлены в виде гранул и могут быть выбраны из следующего ряда: керамзит, вспученное стекло. Композиционные модификаторы могут быть выбраны из следующего ряда: органоминеральные модификаторы на цементной, известковой, магнезиальной основе, замедлители схватывания, поропенообразователи, пластификаторы.
Фибра для бетонной смеси представлена волокнами, выбранными из следующего ряда: полипропиленовые, базальтовые, хризотил-асбестовые, полиамидные волокна.
На уровне сборно-монолитного балочного перекрытия 13 монолитная стена 1 имеет монолитный гипсобетонный пояс 16, армированный каркасами из композитной полимерной арматуры. Указанные каркасы связаны с армированными каркасами 6 монолитной стены 1 и армированными сетками 15 сборно-монолитного балочного перекрытия 13. Композитная полимерная арматура может быть представлена стержневой арматурой, выбранной из следующего ряда: стеклокомпозитная, базальтокомпозитная, углекомпозитная, комбинированная композитная.
С наружной стороны монолитного гипсобетонного пояса 16 устанавливают водостойкие термовкладыши 17 для устранения «мостиков холода» на уровне монолитного гипсобетонного пояса 16.
Строительную конструкцию для малоэтажных зданий возводят следующим образом.
При проектировании малоэтажных зданий создают поэтажные планы и устанавливают геометрические параметры строительных конструкций в соответствии с конкретными архитектурными и объемно-планировочными решениями. Проектирование малоэтажных зданий проводят путем информационного моделирования на основе использования существующих технологий информационного моделирования, например, на основе использования таких программ, как Renga, Revit, ArchiCAD и др. Геометрия параметров конструкций монолитных стен и перекрытий позволяет формировать любую их конфигурацию, в частности линейную, сегментную, криволинейную, в проектах малоэтажных зданий. В частности, узлы пересечения стен могут быть перекрестными, торцевыми или угловыми, а геометрические формы профилей стен могут быть сегментными или криволинейными.
Информационная модель строительной конструкции содержит параметры геометрии монолитных стен и перекрытий, из которых состоит строительная конструкция. Указанные параметры геометрии переводят в цифровые значения, тем самым конвертируют полученную информационную модель строительной конструкции в формат данных аддитивной технологии. Полученную цифровую информационную модель строительной конструкции передают на оборудование, представляющее собой автоматизированные робототехнические комплексы для автоматизированного изготовления строительной конструкции.
Автоматизированное изготовление строительной конструкции проводят с прерыванием на ручную установку армирующих каркасов и сеток, а также на установку опалубки над дверными и оконными проемами в монолитных стенах.
Сначала проводят автоматизированное изготовление несущих слоев строительной конструкции, а именно монолитной стены 1, путем послойной укладки бетонной смеси в проектное положение с образованием внешнего и внутреннего слоев стены, а также с образованием вертикально ориентированных каналов 3, расположенных в один или несколько рядов и проходящих от нижних до верхних частей монолитной стены 1. Указанные вертикально ориентированные каналы в поперечном сечении имеют форму прямоугольника, и в частности квадрата.
Монолитная стена 1 может иметь по меньшей мере один оконный проем 4 и/или дверной проем 5. При наличии в монолитной стене оконного проема 4 и/или дверного проема 5 автоматизированное изготовление данной монолитной стены 1 прерывают для ручной установки несъемной опалубки над указанным дверным проемом и/или над указанным оконным проемом и под указанным оконным проемом. Указанная несъемная опалубка состоит из влагостойких гипсоволокнистых или гипсостружечных плит.
При этом при наличии в монолитной стене 1 по меньшей мере одного оконного проема 4 указанные вертикально ориентированные каналы 3 проходят от нижней части монолитной стены 1 до нижней части оконного проема 4 и от верхней части оконного проема 4 до верхней части монолитной стены 1. При наличии в монолитной стене 1 по меньшей мере одного дверного проема 5 вертикально ориентированные каналы 3 проходят от верхней части дверного проема 5 до верхней части монолитной стены 1.
При наличии теплоизоляционных разрывов 7 между вертикально ориентированными каналами 3 с конструктивным вертикальным шагом в 50 см также устанавливают усиливающие горизонтальные сетки 8 из композитной полимерной арматуры для армирования указанных теплоизоляционных разрывов 7.
После изготовления монолитных стен 1 с вертикально ориентированными каналами 3 в их полости вручную устанавливают каркасы 6 из композитной полимерной арматуры на всю высоту вертикально ориентированных каналов 3. Далее вертикально ориентированные каналы 3 автоматизировано заполняют пеногипсобетоном. Указанный пеногипсобетон обеспечивает адгезию с каркасами 6 и целостность с бетонной смесью, из которой изготовлена монолитная стена 1.
После заполнения пеногипсобетоном указанных вертикально ориентированных каналов 3 устанавливают монолитный гипсобетонный пояс по верхней части монолитной стены. Горизонтально устанавливают каркасы монолитного гипсобетонного пояса и скрепляют их с каркасами 6 вертикально ориентированных каналов 3.
Монолитное перекрытие 9 изготавливают совместно с монолитным гипсобетонным поясом стен 12. Для этого по установленной несъемной опалубке 10 вручную укладывают армирующие каркасы и сетки 11 указанного монолитного перекрытия 9, которые скрепляют с каркасами монолитного гипсобетонного пояса 12 стен. Далее в автоматизированном режиме укладывают гипсобетон для получения монолитного перекрытия 9 и монолитного гипсобетонного пояса 12.
Сборно-монолитное перекрытие 13 устанавливают непосредственно на готовый монолитный гипсобетонный пояс 16. Сначала устанавливают несъемную опалубку 14, а далее по опалубке 14 и по верху монолитного гипсобетонного пояса 16 укладывают и крепят сетки 15 из композитной полимерной арматуры и профили и/или термопрофили для легких стальных тонкостенных конструкций. Композитная полимерная арматура может быть представлена стержневой арматурой, выбранной из следующего ряда: стеклокомпозитной, базальтокомпозитной, углекомпозитной, комбинированной композитной. Далее в автоматизированном режиме укладывают гипсобетон для получения сборно-монолитного перекрытия 13.
Применение аддитивных технологий автоматизированного изготовления строительных конструкций, состоящих из монолитных стен и перекрытий, на основе предлагаемых параметрических и цифровых моделей геометрии их конструкций создают условия для воспроизводительного гибкого автоматизированного производства малоэтажных зданий из экологичных, энергоэффективных, экономичных гипсобетонов.
| название | год | авторы | номер документа |
|---|---|---|---|
| СПОСОБ ВОЗВЕДЕНИЯ ЗДАНИЯ | 2023 |
|
RU2812973C1 |
| Комплект строительных профилей для сооружения каркасной конструкции здания или сооружения и каркасная конструкция здания или сооружения с использованием комплекта строительных профилей | 2017 |
|
RU2663857C1 |
| МОНОЛИТНОЕ БЕТОННОЕ ЗДАНИЕ | 2008 |
|
RU2380493C1 |
| Устройство для возведения малоэтажных зданий | 1990 |
|
SU1744225A1 |
| КОНСТРУКЦИЯ ЗДАНИЯ И СПОСОБ ЕГО ВОЗВЕДЕНИЯ | 1999 |
|
RU2170309C1 |
| Опалубка для возведения малоэтажных зданий | 1990 |
|
SU1805191A1 |
| СПОСОБ ВОЗВЕДЕНИЯ МОНОЛИТНОЙ СТРОИТЕЛЬНОЙ КОНСТРУКЦИИ ЗДАНИЯ ИЛИ СООРУЖЕНИЯ "БЛИСС ХАУС" | 2010 |
|
RU2440472C1 |
| СПОСОБ ВОЗВЕДЕНИЯ МОНОЛИТНОЙ КОНСТРУКЦИИ ЗДАНИЙ И СООРУЖЕНИЙ | 2008 |
|
RU2379435C1 |
| КОНСТРУКЦИЯ МОНОЛИТНОГО ПЕРЕКРЫТИЯ И СПОСОБ ЕГО ВОЗВЕДЕНИЯ | 2008 |
|
RU2378461C1 |
| КОНСТРУКЦИЯ МОНОЛИТНОГО ЗДАНИЯ | 2006 |
|
RU2344244C2 |
Изобретение относится к области строительства. Строительная конструкция состоит из монолитных стен и перекрытий, причем каждая монолитная стена и перекрытие получены путем послойной укладки бетонной смеси в проектное положение на основе геометрических моделей с параметрическим описанием конструкций стен и перекрытий, горизонтальных и вертикальных проемов. Согласно изобретению монолитные стены и перекрытия получены из бетонной смеси, содержащей композиционное гипсовое вяжущее и фибру, причем каждая монолитная стена имеет вертикально ориентированные каналы, проходящие от нижних до верхних частей монолитной стены, при этом указанные каналы армированы каркасами из композитной полимерной арматуры и заполнены пеногипсобетоном, причем на уровне перекрытий каждая указанная монолитная стена имеет монолитный гипсобетонный пояс, армированный каркасами из композитной полимерной арматуры, при этом перекрытия армированы уложенными на несъемную опалубку сетками из композитной полимерной арматуры, а каркасы, армирующие монолитный гипсобетонный пояс, связаны с армированными каркасами монолитных стен и армированными сетками перекрытий. Технический результат – получение прочной и экологичной строительной конструкции, возведенной с применением аддитивных технологий, а также повышение надежности и уровня защиты от воздействий на конструкции зданий и сооружений. 2 н. и 18 з.п. ф-лы, 4 ил.
1. Способ возведения строительной конструкции для малоэтажных зданий, в котором послойно укладывают бетонную смесь в проектное положение с образованием монолитных стен и перекрытий, структура которых сформирована на основе геометрических моделей с их параметрическим описанием, включая параметры горизонтальных и вертикальных проемов, отличающийся тем, что в качестве бетонной смеси применяют гипсофибробетонную смесь, при этом сначала проводят автоматизированное изготовление монолитных стен с образованием в указанных монолитных стенах вертикально ориентированных каналов, расположенных по меньшей мере в один ряд и проходящих от нижних до верхних частей каждой монолитной стены, при этом после изготовления указанных монолитных стен в полости вертикально ориентированных каналов вручную устанавливают каркасы из щелочностойкой композитной полимерной арматуры на всю высоту указанных каналов с последующим заполнением их полостей в автоматизированном режиме пеногипсобетоном, затем устанавливают каркасы для монолитного гипсобетонного пояса по верху монолитных стен и связывают их с каркасами, установленными в вертикально ориентированных каналах монолитных стен, далее выполняют установку несъемной опалубки под перекрытия и устанавливают на указанную несъемную опалубку сетки и/или каркасы из щелочностойкой композитной полимерной арматуры, скрепляют их с армирующими каркасами монолитного гипсобетонного пояса монолитной стены, затем в автоматизированном режиме проводят одновременное изготовление монолитного гипсобетонного пояса и перекрытия из гипсобетонной смеси.
2. Способ по п. 1, отличающийся тем, что автоматизированное изготовление монолитных стен прерывают для ручной установки несъемной опалубки над и/или под горизонтальным и вертикальным проемами.
3. Способ по п. 1, отличающийся тем, что при возведении по меньшей мере одной монолитной стены, ее выполняют с теплоизоляционными разрывами между вертикально ориентированными каналами, при этом в указанные теплоизоляционные разрывы устанавливают усиливающие горизонтальные сетки из щелочностойкой композитной полимерной арматуры.
4. Строительная конструкция для малоэтажных зданий, изготовленная способом по п. 1, состоящая из монолитных стен и перекрытий, причем каждая монолитная стена и перекрытие получены путем послойной укладки бетонной смеси в проектное положение на основе геометрических моделей с параметрическим описанием конструкций стен и перекрытий, горизонтальных и вертикальных проемов, характеризующаяся тем, что монолитные стены и перекрытия получены из бетонной смеси, содержащей композиционное гипсовое вяжущее и фибру, причем каждая монолитная стена имеет вертикально ориентированные каналы, проходящие от нижних до верхних частей монолитной стены, при этом указанные каналы армированы каркасами из щелочностойкой композитной полимерной арматуры и заполнены пеногипсобетоном, причем на уровне перекрытий каждая указанная монолитная стена имеет монолитный гипсобетонный пояс, армированный каркасами из щелочностойкой композитной полимерной арматуры, при этом перекрытия армированы уложенными на несъемную опалубку сетками из щелочностойкой композитной полимерной арматуры, а каркасы, армирующие монолитный гипсобетонный пояс, связаны с армированными каркасами монолитных стен и армированными сетками перекрытий.
5. Строительная конструкция по п. 4, отличающаяся тем, что фибра для бетонной смеси для получения монолитных стен представлена волокнами, выбранными из следующего ряда: полипропиленовые, базальтовые, хризотил-асбестовые, полиамидные, текстильные волокна, костра растений.
6. Строительная конструкция по п. 4, отличающаяся тем, что фибра для получения перекрытий представлена волокнами, выбранными из следующего ряда: полипропиленовые, базальтовые, хризотил-асбестовые, полиамидные волокна.
7. Строительная конструкция по п. 4, отличающаяся тем, что бетонная смесь для получения монолитных стен дополнительно содержит наполнители в виде гранул, выбранные из следующего ряда: керамзит, полистирол, перлит, вермикулит, вспученное стекло, диатомит.
8. Строительная конструкция по п. 4, отличающаяся тем, что бетонная смесь для получения перекрытий дополнительно содержит наполнители в виде гранул, выбранные из следующего ряда: керамзит, вспученное стекло.
9. Строительная конструкция по п. 4, отличающаяся тем, что бетонная смесь для получения монолитных стен и перекрытий дополнительно содержит композиционные модификаторы, выбранные из следующего ряда: органоминеральные модификаторы на цементной, известковой, магнезиальной основе, замедлители схватывания, пенообразователи, пластификаторы.
10. Строительная конструкция по п. 9, отличающаяся тем, что композиционные модификаторы содержатся в бетонной смеси в количестве от 10 до 30% от объема композиционного гипсового вяжущего.
11. Строительная конструкция по п. 4, отличающаяся тем, что вертикально ориентированные каналы, имеющиеся внутри монолитных стен, используют для прокладки инженерно-технических сетей.
12. Строительная конструкция по п. 4, отличающаяся тем, что вертикально ориентированные каналы имеют неразрывный контур.
13. Строительная конструкция по п. 4, отличающаяся тем, что вертикально ориентированные каналы сообщены теплоизоляционными разрывами, которые армированы усиливающими горизонтальными сетками из композитной полимерной арматуры.
14. Строительная конструкция по п. 4, отличающаяся тем, что верхние оконечные части каркасов для армирования вертикально ориентированных каналов находятся на уровне, превышающем уровень перекрытий.
15. Строительная конструкция по п. 4, отличающаяся тем, что щелочностойкая композитная полимерная арматура для армирования стен и перекрытий представлена стержневой арматурой, выбранной из следующего ряда: стеклокомпозитная, базальтокомпозитная, углекомпозитная, комбинированная композитная.
16. Строительная конструкция по п. 4, отличающаяся тем, что перекрытия дополнительно армированы каркасами из композитной полимерной арматуры.
17. Строительная конструкция по п. 4, отличающаяся тем, что перекрытия дополнительно армированы профилями и/или термопрофилями для легких стальных тонкостенных конструкций.
18. Строительная конструкция по п. 17, отличающаяся тем, что указанные профили и/или термопрофили представлены двутавровыми балками.
19. Строительная конструкция по п. 4, отличающаяся тем, что несъемная опалубка состоит из влагостойких гипсоволокнистых или гипсостружечных плит.
20. Строительная конструкция по п. 4, отличающаяся тем, что геометрические параметры конструкций монолитных стен и перекрытий имеют линейную, и/или сегментную, и/или криволинейную конфигурацию.
| US 10688683 B2, 23.06.2020 | |||
| СПОСОБ ВОЗВЕДЕНИЯ МОНОЛИТНОГО ЗДАНИЯ, СООРУЖЕНИЯ МЕТОДОМ 3D ПЕЧАТИ И УСТРОЙСТВО ДЛЯ ЕГО ОСУЩЕСТВЛЕНИЯ | 2017 |
|
RU2683447C1 |
| Способ защиты отрицательных электродов никель-цинковых или серебряно-цинковых аккумуляторов от образования дендритов на торцах электродов | 1961 |
|
SU145917A1 |
| СПОСОБ ВОЗВЕДЕНИЯ МОНОЛИТНО-КАРКАСНОГО ЗДАНИЯ С ДЕКОРАТИВНОЙ НАРУЖНОЙ ОТДЕЛКОЙ | 2009 |
|
RU2421580C1 |
| ОПАЛУБКА ДЛЯ ВОЗВЕДЕНИЯ МОНОЛИТНЫХ СООРУЖЕНИЙ | 1996 |
|
RU2157878C2 |
| МОНОЛИТНОЕ ЗДАНИЕ | 2018 |
|
RU2681018C1 |
| CN 101892743 A, 24.11.2010. | |||
Авторы
Даты
2025-04-22—Публикация
2024-10-04—Подача