СПОСОБ АНАЛИЗА КЛЕТОК И АНАЛИЗАТОР КЛЕТОК Российский патент 2025 года по МПК G01N15/14 C12M1/34 C12Q1/00 G01N33/48 

Описание патента на изобретение RU2839415C1

ОБЛАСТЬ ТЕХНИКИ

[0001] Настоящее изобретение относится к способу анализа клеток и к анализатору клеток.

ПРЕДПОСЫЛКИ ИЗОБРЕТЕНИЯ

[0002] В патентном документе 1 описан способ, в котором: данные, полученные посредством измерения клеток крови проточным цитометром, анализируют в системе обработки данных с установленным в ней процессором; и клетки классифицируют по типу.

СПИСОК ЛИТЕРАТУРЫ [ПАТЕНТНЫЙ ДОКУМЕНТ]

[0003] Патентный документ 1 выложенная публикация заявки на японский патент 2012-519848 (перевод Международной заявки РСТ)

СУЩНОСТЬ ИЗОБРЕТЕНИЯ ПРОБЛЕМЫ, РЕШАЕМЫЕ ИЗОБРЕТЕНИЕМ

[0004] В устройстве, описанном в патентном документе 1, клетки классифицируют с использованием алгоритма, установленного в системе обработки данных. В существующем алгоритме клетки классифицируют на основании ограниченных параметров, полученных от клеток. Поэтому система не должна иметь высокую способность к обработке информации, но существует предел точности классификации.

[0005] Один аспект настоящего изобретения относится к предоставлению способа анализа клеток и анализатора клеток, которые могут повысить точность классификации клеток без необходимости в высокой способности к обработке информации.

РЕШЕНИЕ ПРОБЛЕМ

[0006] Для решения вышеуказанной проблемы способ анализа клеток в соответствии с одним аспектом настоящего изобретения с использованием анализатора (1) клеток для анализа клеток в соответствии с алгоритмом (50, 60) искусственного интеллекта включает: получение данных о клетках, измеренных устройством (4000, 4000', 4000'', 4000''') измерения клеток; анализ данных для создания информации о типе клетки для каждой из клеток; и передачу этой информации в устройство (4000, 4000', 4000'', 4000''') измерения клеток.

[0007] Для решения вышеуказанной проблемы анализатор (1) клеток в соответствии с одним аспектом настоящего изобретения представляет собой анализатор (1) клеток для анализа клеток в соответствии с алгоритмом (50, 60) искусственного интеллекта, и анализатор (1) клеток включает узел (10) обработки. Узел (10) обработки выполнен с возможностью: получения данных о клетках, измеренных устройством (4000, 4000', 4000'', 4000''') измерения клеток; анализа данных для создания информации о типе клетки для каждой из клеток; и передачи этой информации в устройство (4000, 4000' 4000'', 4000'') измерения клеток.

[0008] Для решения вышеуказанной проблемы способ анализа клеток в соответствии с другим аспектом настоящего изобретения включает: измерение клеток устройством (4000, 4000', 4000'', 4000''') измерения клеток для получения данных о клетках; передачу данных в анализатор (1) клеток, который анализирует клетки в соответствии с алгоритмом (50, 60) искусственного интеллекта; и получение информации о типе клетки для каждой из клеток, причем эта информация была получена анализатором (1) клеток, анализирующим данные в соответствии с алгоритмом (50, 60) искусственного интеллекта.

[0009] Для решения вышеуказанной проблемы способ анализа клеток в соответствии с другим аспектом настоящего изобретения представляет собой способ анализа для анализа входящих в состав образца клеток анализатором (1) клеток. Способ включает: получение из множества устройств (4000, 4000', 4000'', 4000''') измерения клеток данных о клетках в связи с идентификационной информацией; анализ данных при параллельной обработке процессором (12) для параллельной обработки; и на основании результата параллельной обработки создание информации о типе клетки по отношению к каждой из множества клеток, в связи с идентификационной информацией.

ПРЕИМУЩЕСТВЕННЫЕ ЭФФЕКТЫ ИЗОБРЕТЕНИЯ

[0010] В соответствии с настоящим изобретением точность классификации клеток можно повысить без уменьшения способности к обработке устройства измерения клеток.

КРАТКОЕ ОПИСАНИЕ ЧЕРТЕЖЕЙ

[0011] [ФИГ. 1] На ФИГ. 1(a) показан пример классификации лейкоцитов в соответствии с обычным способом. На ФИГ. 1(b) показан пример классификации лейкоцитов в соответствии с предложенным способом.

[ФИГ. 2] На ФИГ. 2(a) показан пример подачи света к клетке, протекающей в проточной ячейке. На ФИГ. 2(b) показан пример проведения дискретизации сигнала рассеянного вперед света, сигнала рассеянного вбок света и сигнала флуоресценции. На ФИГ. 2(c) показан пример полученных при дискретизации данных о форме волны.

[ФИГ. 3] На ФИГ. 3 показан пример способа создания обучающих данных.

[ФИГ. 4] На ФИГ. 4 показан пример значения метки.

[ФИГ. 5] На ФИГ. 5 показан пример способа анализа для анализа данных.

[ФИГ. 6] На ФИГ. 6 показан пример конфигурации системы, включающей анализатор клеток.

[ФИГ. 7] На ФИГ. 7 показан другой пример конфигурации системы, включающей анализатор клеток.

[ФИГ. 8] На ФИГ. 8 показан другой пример конфигурации системы, включающей анализатор клеток.

[ФИГ. 9] На ФИГ. 9 показан другой пример конфигурации системы, включающей анализатор клеток.

[ФИГ. 10] На ФИГ. 10 показан пример блок-схемы измерительного блока.

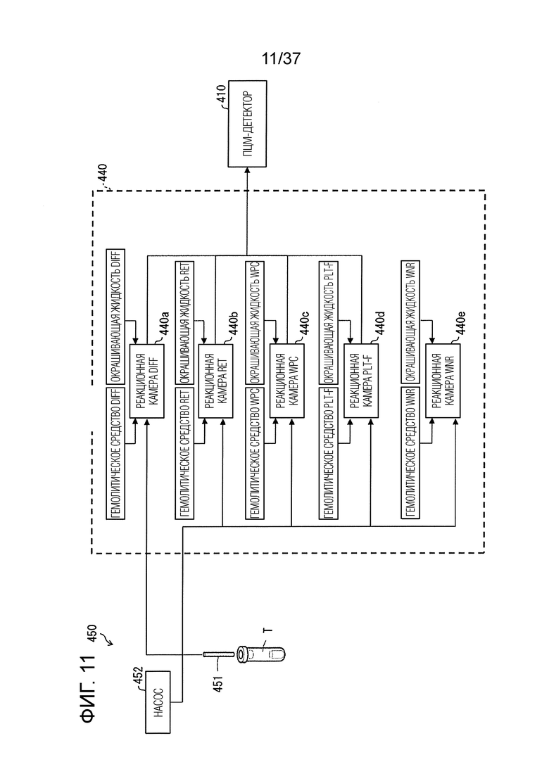
[ФИГ. 11] На ФИГ. 11 показан пример узла всасывания образцов и узла подготовки проб.

[ФИГ. 12] На ФИГ. 12 показан пример конфигурации оптической системы детектора проточной цитометрии (ПЦМ-детектора).

[ФИГ. 13] На ФИГ. 13 показан пример конфигурации обрабатывающего блока.

[ФИГ. 14] ФИГ. 14 представляет собой блок-схему анализатора клеток.

[ФИГ. 15] На ФИГ. 15 показан пример конфигурации процессора для параллельной обработки.

[ФИГ. 16] На ФИГ. 16 показан пример внедрения процессора для параллельной обработки в анализатор клеток.

[ФИГ. 17] На ФИГ. 17 показан другой пример внедрения процессора для параллельной обработки в анализатор клеток.

[ФИГ. 18] На ФИГ. 18 показан другой пример внедрения процессора для параллельной обработки в анализатор клеток.

[ФИГ. 19] На ФИГ. 19 показан другой пример внедрения процессора для параллельной обработки в анализатор клеток.

[ФИГ. 20] На ФИГ. 20 показана общая схема операции, в которой процессор исполняет арифметические процессы для матричных данных с использованием процессора для параллельной обработки.

[ФИГ. 21] На ФИГ. 21(a) показана формула расчета произведения матрицы. На ФИГ. 21(b) показан пример арифметических процессов, исполняемых параллельно в процессоре для параллельной обработки.

[ФИГ. 22] На ФИГ. 22 показано, каким образом арифметические процессы исполняют в процессоре для параллельной обработки.

[ФИГ. 23] На ФИГ. 23(a) показан пример данных о форме волны сигнала рассеянного вперед света в качестве данных о форме волны, введенных в алгоритм глубокого обучения. На ФИГ. 23(b) показана общая схема матричной операции между данными о форме волны и фильтром.

[ФИГ. 24] На ФИГ. 24 показан пример операции анализа образца, выполняемой анализатором клеток.

[ФИГ. 25] На ФИГ. 25 показан пример способа анализа клетки.

[ФИГ. 26] На ФИГ. 26 показан пример параллельной обработки.

[ФИГ. 27] На ФИГ. 27 показан пример блок-схемы измерительного блока.

[ФИГ. 28] На ФИГ. 28 показан схематический пример общей схемы оптической системы проточного цитометра.

[ФИГ. 29] На ФИГ. 29 показан схематический пример общей схемы узла подготовки проб измерительного блока.

[ФИГ. 30] На ФИГ. 30 показан пример функциональной блок-схемы анализатора клеток, выполняющего глубокое обучение.

[ФИГ. 31] На ФИГ. 31 показан пример блок-схемы операции узла обработки для создания обучающих данных.

[ФИГ. 32] На ФИГ. 32 показан схематический рисунок для описания нейронной сети. На ФИГ. 32(a) показан схематический рисунок, показывающий общую схему нейронной сети. На ФИГ. 32(b) показан схематический рисунок, показывающий арифметическую операцию в каждом узле. На ФИГ. 32(c) показан схематический рисунок, показывающий арифметические операции между узлами.

[ФИГ. 33] На ФИГ. 33 показана смешанная матрица результата определения в соответствии с эталонным способом и результата определения с использованием алгоритма глубокого обучения.

[ФИГ. 34] На ФИГ. 34(a) показана кривая ROC нейтрофила. На ФИГ. 34(b) показана кривая ROC лимфоцита. На ФИГ. 34(c) показана кривая ROC моноцита.

[ФИГ. 35] На ФИГ. 35(a) показана кривая ROC эозинофила. На ФИГ. 35(b) показана кривая ROC базофила. На ФИГ. 35(c) показана кривая ROC контрольной крови (КОНТР.).

[ФИГ. 36] На ФИГ. 36 показан пример конфигурации устройства измерения клеток в качестве анализатора изображений.

[ФИГ. 37] На ФИГ. 37 показан пример конфигурации устройства измерения клеток в качестве визуализирующего устройства.

[ФИГ. 38] На ФИГ. 38 показан пример способа создания обучающих данных.

[ФИГ. 39] На ФИГ. 39 показан пример значения метки.

[ФИГ. 40] На ФИГ. 40 показан пример способа анализа изображения.

[ФИГ. 41] На ФИГ. 41 показан вариант осуществления результата анализа.

ОПИСАНИЕ ВАРИАНТОВ ОСУЩЕСТВЛЕНИЯ

[0012] Далее в настоящем описании общие схемы и варианты осуществления настоящего изобретения будут описаны подробно со ссылкой на прилагаемые чертежи. В следующем описании и на чертежах одинаковые ссылочные позиции обозначают одинаковые или сходные компоненты, и поэтому описание одинаковых или сходных компонентов опущено.

[1. Способ анализа клеток]

[0013] Настоящий вариант осуществления относится к способу анализа клеток в анализаторе клеток для анализа клеток в соответствии с алгоритмом искусственного интеллекта, включающему: получение данных о клетках, измеренных устройством измерения клеток; анализ данных для создания информации о типе клетки для каждой из клеток; и передачу этой информации в устройство измерения клеток.

[0014] В соответствии со способом анализа, анализ данных, измеренных устройством измерения клеток, выполняют не устройством измерения клеток, а анализатором клеток. Анализатор клеток анализирует данные о клетках в соответствии с алгоритмом искусственного интеллекта для создания информации о типе клетки для каждой клетки, и созданную информацию возвращают в устройство измерения клеток. Таким образом, в соответствии со способом анализа, устройство измерения клеток не обязательно должно быть снабжено процессором с высокой способностью к обработке информации для высокоточной классификации клеток на основании алгоритма искусственного интеллекта. Таким образом, способ анализа применим к анализаторам в широком диапазоне от дорогого анализатора с высокой способностью к обработке до недорогого анализатора с низкой способностью к обработке. Кроме того, когда анализатор клеток соединен с множеством устройств измерения клеток, трудозатраты и стоимость, требуемые для обновления и работы алгоритма искусственного интеллекта, могут быть уменьшены по сравнению со случаем, где алгоритм искусственного интеллекта обновляется и эксплуатируется в каждом устройстве измерения клеток. Например, поскольку обновление алгоритма искусственного интеллекта может выполняться анализатором клеток, трудозатраты и стоимость обновления могут быть уменьшены.

[0015] Пример общей схемы настоящего варианта осуществления будет описан со ссылкой на ФИГ. 1. ФИГ. 1(a) рисунок, схематически показывающий классификацию лейкоцитов в соответствии с обычным способом, а ФИГ. 1(b) рисунок, схематически показывающий классификацию лейкоцитов в соответствии с предложенным способом. На ФИГ. 1(a) и ФИГ. 1(b) FSC представляет аналоговый сигнал, указывающий интенсивность сигнала рассеянного вперед света, SSC представляет аналоговый сигнал рассеянного вбок света, и SFL представляет аналоговый сигнал, указывающий интенсивность сигнала боковой флуоресценции. Как показано на ФИГ. 1(a), в обычном способе каждую индивидуальную клетку, содержащуюся в образце, измеряют посредством проточного цитометра и получают высоты пиков импульсов аналоговых сигналов соответствующего рассеянного вперед света, рассеянного вбок света и боковой флуоресценции в качестве интенсивности рассеянного вперед света, интенсивности рассеянного вбок света и интенсивность боковой флуоресценции. Затем, на основании интенсивности рассеянного вперед света, интенсивности рассеянного вбок света и интенсивности боковой флуоресценции, каждую клетку классифицируют в специфический тип. Результаты классификации клеток отображаются в виде диаграммы рассеяния, как показано на ФИГ. 1(a). На диаграмме рассеяния на ФИГ. 1(a) по горизонтальной оси отложена интенсивность рассеянного вбок света, а по вертикальной оси - интенсивность боковой флуоресценции.

[0016] Как показано на ФИГ. 1(a), при обычной классификации лейкоцитов тип каждой клетки крови определяют на основании только информации о высоте пика волны аналогового сигнала. В отличие от этого, в способе по настоящему варианту осуществления в качестве данных, относящихся к клеткам в образце, как показано на ФИГ. 1(b), анализируют всю форму волны аналогового сигнала, полученного от одиночной клетки проточным цитометром, в качестве данных о цели анализа, в результате чего клетку классифицируют. На ФИГ. 1(b) показана форма волны, полученная посредством вычерчивания аналогового сигнала, полученного проточным цитометром. Однако, как описано далее, данные о клетке в образце в настоящем варианте осуществления означают цифровые данные (описанные далее данные о форме волны), в которых в качестве элементов используются значения, указывающие интенсивность сигнала во множестве временных точек, полученные при проведении аналого-цифрового (A/D) преобразования этого аналогового сигнала. Эта группа цифровых данных представляет собой матричные данные, а в настоящем варианте осуществления - матричные данные, состоящие, например, из одного ряда × множество колонок (т.е. одномерный массив данных).

[0017] В настоящем варианте осуществления показанный на ФИГ. 1(b) алгоритм 50 глубокого обучения до его обучения вынуждают обучаться данным о форме волны сигнала для каждого типа клеток. Затем данные о форме волны сигнала каждой клетки, у которой тип клетки является неизвестным и которая содержится в образце, вводят в обучаемый алгоритм 60 глубокого обучения, в результате чего из алгоритма 60 глубокого обучения выводится результат определения типа клетки по отношению к каждой клетке. Алгоритм 50, 60 глубокого обучения представляет собой один из алгоритмов искусственного интеллекта и выполнен в виде нейронной сети, которая включает средний слой, состоящий из множественных слоев. В настоящем варианте осуществления, когда обработка применительно к анализу данных о форме волны подлежит исполнению в соответствии с обученным алгоритмом 60 глубокого обучения, большое количество матричных операций, включенных в алгоритм 60 глубокого обучения, исполняют посредством параллельной обработки, используя процессор для параллельной обработки, установленный в анализаторе клеток. Анализатор клеток включает: процессор для параллельной обработки, способный исполнять параллельную обработку; и процессор для исполнения команд (далее просто называемый «процессором»), который вынуждает процессор для параллельной обработки исполнять параллельную обработку.

[0018] Далее, каждая индивидуальная клетка в биологической пробе, подвергаемая анализу с целью определения ее типа, может быть также названа «клеткой-целью анализа». Иными словами, биологическая проба может содержать множество клеток-целей анализа. Множество клеток могут включать клетки множества типов, подлежащих анализу.

[0019] Примером биологической пробы является биологическая проба, собранная от субъекта. Например, биологическая проба может включать периферическую кровь, такую как венозная кровь и артериальная кровь, мочу и иную биологическую жидкость, отличную от крови и мочи. Примеры биологической жидкости, отличной от крови и мочи, могут включать аспират костного мозга, асциты, плевральный выпот, спинномозговую жидкость и т.п. Далее биологическая жидкость, отличная от крови и мочи, может называться просто «биологической жидкостью». Образец крови может быть любым образцом крови, который находится в таком состоянии, при котором можно подсчитать число клеток и можно определить типы клеток. Предпочтительно, кровь представляет собой периферическую кровь. Примеры крови включают периферическую кровь, собранную с использованием антикоагулирующего средства, такого как этилендиаминтетраацетат (натриевая соль или калиевая соль), гепарин натрия или т.п. Периферическая кровь может быть взята из артерии или из вены.

[0020] Типы клеток, определяемые в настоящем варианте осуществления, - это типы в соответствии с типами клеток, основанными на морфологической классификации, и являются различными, в зависимости от вида биологической пробы. Когда биологическая проба представляет собой кровь и кровь взята у здорового индивидуума, типы клеток, определяемые в настоящем варианте осуществления, включают, например, эритроцит, ядросодержащую клетку, такую как лейкоцит, тромбоцит и т.п. Ядросодержащие клетки включают, например, нейтрофилы, лимфоциты, моноциты, эозинофилы и базофилы. Нейтрофилы включают, например, сегментоядерные нейтрофилы и палочкоядерные нейтрофилы. В то же время, когда кровь взята у нездорового индивидуума, ядросодержащие клетки могут включать, например, по меньшей мере один тип, выбранный из группы, состоящей из незрелого гранулоцита и аномальной клетки. Такие клетки также входят в типы клеток, определяемые в настоящем варианте осуществления. Незрелые гранулоциты могут включать, например, такие клетки, как метамиелоциты, миелоциты, промиелоциты и миелобласты.

[0021] Ядросодержащие клетки могут включать, в дополнение к нормальным клеткам, аномальные клетки, которые не содержатся в периферической крови здорового индивидуума. Примерами аномальных клеток являются клетки, которые появляются, когда индивидуум имеет некоторое заболевание, и такими аномальными клетками являются, например, клетки опухолей. В случае гематопоэтической системы некоторое заболевание может представлять собой заболевание, выбранное из группы, состоящей, например из: миелодиспластического синдрома; лейкоза, такого как острый миелобластный лейкоз, острый миелобластный лейкоз, острый промиелоцитарный лейкоз, острый миеломоноцитарный лейкоз, острый моноцитарный лейкоз, эритролейкоз, острый мегакариобластный лейкоз, острый миелоидный лейкоз, острый лимфоцитарный лейкоз, лимфобластный лейкоз, хронический миелогенный лейкоз или хронический лимфоцитарный лейкоз; злокачественной лимфомы, такой как лимфома Ходжкина или неходжскинская лимфома; и множественной миеломы.

[0022] Кроме того, аномальные клетки могут включать, например, клетки, которые обычно не наблюдаются в периферической крови здорового индивидуума, такие как: лимфобласты; плазматические клетки; атипичные лимфоциты; реактивные лимфоциты; эритробласты, представляющие собой ядросодержащие эритроциты, такие как проэритробласты, базофильные эритробласты, полихроматические эритробласты, ортохроматические эритробласты, промегалобласты, базофильные мегалобласты, полихроматические мегалобласты и ортохроматические мегалобласты; мегакариоциты, включая микромегакариоциты; и т.п.

[0023] Когда биологическая проба представляет собой мочу, типы клеток, определяемые в настоящем варианте осуществления, могут включать, например, эритроцит, лейкоцит, эпителиальную клетку, такую как клетка переходного эпителия, плоского эпителия, и т.п. Примеры аномальных клеток включают, например, бактерии, грибы, такие как мицелиальные грибы и дрожжи, клетки опухолей и т.п.

[0024] Когда биологическая проба представляет собой биологическую жидкость, которая обычно не содержит компонентов крови, такую как асциты, плевральный выпот или спинномозговая жидкость, типы клеток могут включать, например, эритроцит, лейкоцит и крупную клетку. Здесь «крупная клетка» означает клетку, которая отделена от внутренней оболочки полости тела или полости внутреннего органа и которая крупнее, чем лейкоциты. Например, мезотелиальные клетки, гистиоциты, клетки опухолей и т.п. соответствуют «крупной клетке».

[0025] Когда биологическая проба представляет собой аспират костного мозга, типы клеток, определяемые в настоящем варианте осуществления, могут включать, в качестве нормальных клеток, зрелые клетки крови и незрелые гематопоэтические клетки. Зрелые клетки крови включают, например, эритроциты, ядросодержащие клетки, такие как лейкоциты, тромбоциты и т.п. Ядросодержащие клетки, такие как лейкоциты, включают, например, нейтрофилы, лимфоциты, плазматические клетки, моноциты, эозинофилы и базофилы. Нейтрофилы включают, например, сегментоядерные нейтрофилы и палочкоядерные нейтрофилы. Незрелые гематопоэтические клетки включают, например, гематопоэтические стволовые клетки, незрелые гранулоцитарные клетки, незрелые лимфоидные клетки, незрелые моноцитарные клетки, незрелые эритроидные клетки, мегакариоцитарные клетки, мезенхимальные клетки и т.п. Незрелые гранулоциты могут включать, например, такие клетки, как метамиелоциты, миелоциты, промиелоциты, миелобласты и т.п. Незрелые лимфоидные клетки включают, например, лимфобласты и т.п. Незрелые моноцитарные клетки включают монобласты и т.п. Незрелые эритроидные клетки включают, например, ядросодержащие эритроциты, такие как проэритробласты, базофильные эритробласты, полихроматические эритробласты, ортохроматические эритробласты, промегалобласты, базофильные мегалобласты, полихроматические мегалобласты и ортохроматические мегалобласты. Мегакариоцитарные клетки включают, например, мегакариобласты и т.п.

[0026] Примеры аномальных клеток, которые могут входить в состав костного мозга, включают, например, клетки гематопоэтических опухолей при заболевании, выбранном из группы, состоящей из: миелодиспластического синдрома; лейкоза, такого как острый миелобластный лейкоз, острый миелобластный лейкоз, острый промиелоцитарный лейкоз, острый миеломоноцитарный лейкоз, острый моноцитарный лейкоз, эритролейкоз, острый мегакариобластный лейкоз, острый миелоидный лейкоз, острый лимфоцитарный лейкоз, лимфобластный лейкоз, хронический миелогенный лейкоз или хронический лимфоцитарный лейкоз; злокачественной лимфомы, такой как лимфома Ходжкина или неходжскинская лимфома; и множественной миеломы, описанные выше, и клетки метастазирующих опухолей из злокачественной опухоли, развившейся в органе, отличном от костного мозга.

[0027] На ФИГ. 1 показан пример использования в качестве сигнала, полученного от каждой клетки, сигнала рассеянного вперед света, сигнала рассеянного вбок света и сигнала боковой флуоресценции, представляющих собой оптические сигналы, полученные при подаче света на клетку, протекающую в проточной ячейке. Однако сигнал конкретно не ограничен при условии, что сигнал указывает на признак каждой клетки и позволяет провести классификацию клеток для каждого типа.

[0028] Сигнал, полученный от каждой клетки, может быть любым из сигнала, указывающего морфологический признак клетки, сигнала, указывающего ее химический признак, сигнала, указывающего ее физический признак, и сигнала, указывающего ее генетический признак, но, предпочтительно, представляет собой сигнал, указывающий морфологический признак клетки. Сигналом, указывающим морфологический признак клетки, является, предпочтительно, оптический сигнал, полученный от клетки.

[0029] Предпочтительно, оптический сигнал представляет собой световой сигнал, полученный в качестве оптического ответа в результате подачи света на клетку. Световой сигнал может включать по меньшей мере один тип, выбранный из сигнала, основанного на рассеянии света, сигнала, основанного на поглощении света, сигнала, основанного на пропускании света, и сигнала, основанного на флуоресценции.

[0030] Сигнал, основанный на рассеянии света, может включать сигнал рассеянного света, вызванный подачей света, и сигнал потери света, вызванный подачей света. Сигнал рассеянного света служит в качестве параметра, который указывает на признак клетки и который является разным в соответствии с углом приема рассеянного света по отношению к направлению прохождения подаваемого света. Сигнал рассеянного вперед света используют в качестве параметра, который указывает на размер клетки. Сигнал рассеянного вбок света используют в качестве параметра, который указывает на сложность ядра клетки.

[0031] Термин «вперед» у рассеянного вперед света означает направление прохождения света, излученного из источника света. Когда угол подачи света принимается за 0 градусов, «вперед» может включать угол прямого малоуглового светорассеяния, при котором угол приема света составляет примерно от 0 до 5 градусов, и/или угол прямого высокоуглового светорассеяния, при котором угол приема света составляет примерно от 5 до 20 градусов. Термин «вбок» («боковой») не ограничен при условии, что «вбок» не перекрывается с «вперед». Когда угол подачи света принимается за 0 градусов, «вбок» может включать угол приема света, составляющий примерно от 25 градусов до 155 градусов, предпочтительно, примерно от 45 градусов до 135 градусов, а более предпочтительно, примерно 90 градусов.

[0032] Сигнал, основанный на рассеянии света, может включать поляризованный свет или деполяризованный свет в качестве компонента сигнала. Например, рассеянный свет, вызванный подачей света на клетку, принимают через поляризующую пластину, в результате чего может быть принят только рассеянный свет, поляризованный под конкретным углом. В то же время, когда свет подают на клетку через поляризующую пластину и получаемый рассеянный свет принимают через поляризующую пластину, позволяющую проходить через нее только поляризованному свету, имеющему угол, отличный от угла поляризующей пластины для подачи света, может быть принят только деполяризованный рассеянный свет.

[0033] Сигнал потери света указывает на потерянное количество принятого света на основании уменьшения количества принятого света на светоприемной части, которое вызвано подачей света на клетку и рассеянием света. Предпочтительно, сигнал потери света получают в виде потери света в направлении оптической оси подаваемого света (осевой потери света). Сигнал потери света может быть выражен как доля от количества принятого света во время протекания клетки в проточной ячейке, когда количество принятого света на светоприемной части в состоянии, при котором клетка не протекает в проточной ячейке, взято за 100%. Подобно сигналу рассеянного вперед света, осевую потерю света используют в качестве параметра, который указывает на размер клетки, однако получаемый сигнал различен в зависимости от того, обладает ли клетка просвечиваемостью или нет.

[0034] Сигнал, основанный на флуоресценции, может представлять собой флуоресценцию, возбужденную в результате подачи света на клетку, меченную флуоресцентным веществом, или может представлять собой собственную флуоресценцию, происходящую из неокрашенной клетки. Флуоресцентным веществом может быть флуоресцентный краситель, который связывается с нуклеиновой кислотой или мембранным белком, или может быть меченое антитело, полученное посредством модификации флуоресцентным красителем антитела, которое связывается со специфическим белком клетки.

[0035] Оптический сигнал можно получать в форме данных изображения, полученных при подаче света на клетку и захвата изображения клетки, на которую был подан свет. Данные изображения можно получать посредством захвата с использованием визуализирующего элемента, такого как камера TDI (time delay and integration) или ПЗС-камера (на приборах с зарядовой связью), изображения каждой индивидуальной клетки, протекающей в протоке, с использованием так называемого визуализирующего проточного цитометра. Альтернативно, образец или пробу для измерения, содержащие клетки, наносят, распыляют или капают на предметное стекло и захватывают изображение предметного стекла визуализирующим элементом, в результате чего можно получать данные изображений клеток.

[0036] Сигнал, полученный от клетки, не ограничен оптическим сигналом и может представлять собой электрический сигнал, полученный от клетки. Что касается электрического сигнала, то, например, подают на проточную ячейку постоянный ток, и в качестве электрического сигнала можно использовать изменение импеданса (полного сопротивления), вызванное клеткой, протекающей в проточной ячейке. Полученный таким образом электрический сигнал служит в качестве параметра, отражающего объем клетки. Альтернативно, что касается электрического сигнала, то в качестве электрического сигнала можно использовать изменение импеданса на время подачи радиочастоты на клетку, протекающую в проточной ячейке. Полученный таким образом электрический сигнал служит в качестве параметра, отражающего электрическую проводимость клетки.

[0037] Сигнал, полученный от клетки, может представлять собой комбинацию множества видов сигналов (по меньшей мере двух видов сигналов) из вышеописанных сигналов, полученных от клетки. Посредством комбинирования множества сигналов признаки клетки можно подвергать плейотропному анализу, и, таким образом, возможна классификация клеток с более высокой точностью. Что касается такой комбинации, то можно комбинировать, например, по меньшей мере два из множества оптических сигналов, например, сигнал рассеянного вперед света, сигнал рассеянного вбок света и сигнал флуоресценции. Альтернативно, можно комбинировать сигналы рассеянного света с различными углами, например, сигнал малоуглового рассеянного света и сигнал высокоуглового рассеянного света. Кроме того, альтернативно, можно комбинировать оптический сигнал и электрический сигнал. Вид и число комбинируемых сигналов конкретно не ограничены.

[0038]<Общая схема способа анализа клеток>

Далее, со ссылкой на примеры, показанные на ФИГ. 2 и ФИГ. 3 - ФИГ. 5, описан способ создания обучающих данных 75 и способ анализа данных о форме волны.<Данные о форме волны>

[0039] ФИГ. 2 представляет собой схематический рисунок для описания данных о форме волны, используемых в предложенном способе анализа. Как показано на ФИГ. 2(a), когда образец, содержащий клетку С, вынуждают протекать в проточной ячейке FC и на протекающую в проточной ячейке FC клетку С подают свет, рассеянный вперед свет FSC образуется в прямом направлении по отношению к направлению прохождения света. Подобным образом, рассеянный вбок свет SSC и боковая флуоресценция SFL образуются в боковом направлении по отношению к направлению прохождения света. Рассеянный вперед свет принимается первой светоприемной частью D1, и выводится сигнал, соответствующий количеству принятого света. Рассеянный вбок свет принимается второй светоприемной частью D2, и выводится сигнал, соответствующий количеству принятого света. Боковая флуоресценция принимается третьей светоприемной частью D3, и выводится сигнал, соответствующий количеству принятого света. Соответственно, из каждой из светоприемных частей D1-D3 выводится аналоговый сигнал, представляющий изменение сигнала, связанное с течением времени. Аналоговый сигнал, соответствующий рассеянному вперед свету, будет называться «сигналом рассеянного вперед света», аналоговый сигнал, соответствующий рассеянному вбок свету, будет называться «сигналом рассеянного вбок света», а аналоговый сигнал, соответствующий боковой флуоресценции, будет называться «сигналом флуоресценции». Один импульс каждого аналогового сигнала соответствует одной клетке.

[0040] Аналоговые сигналы вводятся в A/D преобразователь для преобразования в цифровые сигналы. На ФИГ. 2(b) схематически показано преобразование в цифровой сигнал, выполняемое A/D преобразователем. В данном случае, для упрощения описания, аналоговый сигнал изображен напрямую вводимым в A/D преобразователь. Аналоговый сигнал можно преобразовывать напрямую, без изменения его уровня, в цифровой сигнал. Однако, по необходимости, можно выполнять обработку, такую как устранение шума, поправка на фон и нормализация. Как показано на ФИГ. 2(b), от начальной точки, представляющей собой временную точку, когда уровень сигнала рассеянного вперед света среди аналоговых сигналов, вводимых из светоприемных частей D1-D3, достиг уровня, установленного в качестве заданного порога, A/D преобразователь дискретизирует сигнал рассеянного вперед света, сигнал рассеянного вбок света и сигнал флуоресценции. A/D преобразователь дискретизирует соответствующие аналоговые сигналы с заданной частотой дискретизации (например, дискретизация в 1024 точках с интервалом 10 наносекунд, дискретизация в 128 точках с интервалом 80 наносекунд, дискретизация в 64 точках с интервалом 160 наносекунд, или т.п.).

[0041] На ФИГ. 2(c) схематически показаны данные о форме волны, полученные в ходе дискретизации. В ходе дискретизации в качестве данных о форме волны, соответствующих одной клетке, получают матричные данные, имеющие в качестве элементов значения, в цифровой форме указывающие уровень аналогового сигнала во множестве временных точек. Таким образом, A/D преобразователь создает цифровой сигнал рассеянного вперед света, цифровой сигнал рассеянного вбок света и цифровой сигнал боковой флуоресценции, соответствующие одной клетке. A/D преобразование повторяют до тех пор, пока число клеток в цифровом сигнале не достигает заданного числа, или пока не истечет заданный период времени от начала протекания образца в проточной ячейке. Соответственно, как показано на ФИГ. 2(c), получают цифровой сигнал, полученный посредством комбинирования данных о форме волны для N клеток, содержащихся в одном образце. Данными о форме волны будет называться набор данных дискретизации для каждой клетки (в примере на ФИГ. 1А набор из 1024 цифровых значений, полученных каждые 10 наносекунд от t=0 нс до t=10240 нс), а набор данных о форме волны, полученных из одного образца, будет называться цифровым сигналом.

[0042] Каждому фрагменту данных о форме волны, созданному A/D преобразователем, можно присвоить индекс для идентификации соответствующей клетки. В качестве индексов, например, созданным фрагментам данных о форме волны присваивают целые числа от 1 до N в последовательном порядке, и каждым из данных о форме волны рассеянного вперед света, данных о форме волны рассеянного вбок света и данных о форме волны боковой флуоресценции, полученным от одной и той же клетки, присваивают один и тот же индекс.

[0043] Поскольку один фрагмент данных о форме волны соответствует одной клетке, индекс соответствует той клетке, которая была измерена. Поскольку идентичный индекс присваивают фрагментам данных о форме волны, соответствующим одной и той же клетке, описанный далее алгоритм глубокого обучения может анализировать, в качестве одного набора, данные о форме волны рассеянного вперед света, данные о форме волны рассеянного вбок света и данные о форме волны флуоресценции, соответствующие индивидуальной клетке, и может классифицировать тип клетки.

<Создание обучающих данных>

[0044] ФИГ. 3 представляет собой схематический рисунок, показывающий пример способа создания обучающих данных, используемых для обучения алгоритма глубокого обучения, для определения типа клетки. Обучающие данные 75 представляют собой данные о форме волны, созданные на основании аналогового сигнала 70а рассеянного вперед света (FSC), аналогового сигнала 70b рассеянного вбок света (SSC) и аналогового сигнала 70 с боковой флуоресценции (SFL), которые были получены в отношении содержащейся в образце клетки посредством измерения образца, проведенного проточным цитометром. Способ получения данных о форме волны был описан выше.

[0045] Что касается обучающих данных 75, то, например, образец измеряют посредством проточного цитометра, и могут быть использованы данные о форме волны клетки, определенные в результате анализа содержащихся в образце клеток на основании диаграммы рассеяния в соответствии с обычным способом как имеющие высокую вероятность представлять собой специфический тип клетки. Будет описан пример с использованием счетчика форменных элементов крови. Сначала образец крови измеряют проточным цитометром и собирают данные о форме волны рассеянного вперед света, рассеянного вбок света и флуоресценции каждой индивидуальной клетки, содержащейся в образце. На основании интенсивности рассеянного вбок света (высоты импульса сигнала рассеянного вбок света) и интенсивности флуоресценции (высоты импульса сигнала флуоресценции), каждую клетку классифицируют в группу нейтрофила, лимфоцита, моноцита, эозинофила, базофила, незрелого гранулоцита или аномальной клетки. Данным о форме волны клетки присваивают значение метки, соответствующее классифицированному типу клетки, в результате чего получают обучающие данные. Например, получают моду, среднее значение или медиану интенсивности рассеянного вбок света и интенсивности боковой флуоресценции клеток, включенных в группу нейтрофилов, репрезентативные клетки идентифицируют на основании этого значения и присваивают данным о форме волны этих клеток значение метки «1», соответствующее нейтрофилу, в результате чего можно получать обучающие данные. Способ создания обучающих данных не ограничен этим. Например, выделяют только специфические клетки сортировщиком клеток, каждую клетку измеряют проточным цитометром и присваивают полученным данным о форме волны значение метки для клетки, в результате чего можно получать обучающие данные.

[0046] Аналоговые сигналы 70а, 70b, 70с соответственно представляют собой сигнал рассеянного вперед света, сигнал рассеянного вбок света и сигнал боковой флуоресценции в то время, когда проточным цитометром был измерен нейтрофил. Когда эти аналоговые сигналы подвергают A/D преобразованию, как описано выше, получают данные 72а о форме волны сигнала рассеянного вперед света, данные 72b о форме волны сигнала рассеянного вбок света и данные 72с о форме волны сигнала боковой флуоресценции. Каждая из ячеек, соседних друг с другом в каждых из данных 72а, 72b, 72с о форме волны, хранит уровень сигнала с интервалом, соответствующим частоте дискретизации, например, с интервалом 10 наносекунд. Каждый из фрагментов данных 72а, 72b, 72с о форме волны комбинируют со значением метки 77, указывающим тип клетки, являющейся источником данных, и эти три фрагмента данных о форме волны, соответствующие клетке, иными словами, данные об интенсивности трех сигналов (интенсивности сигнала рассеянного вперед света, интенсивности сигнала рассеянного вбок света и интенсивности сигнала боковой флуоресценции), вводят так, чтобы сформировать набор, в качестве обучающих данных 75 в алгоритм 50 глубокого обучения. Поскольку в примере на ФИГ. 3 клетка, являющаяся источником обучающих данных, является нейтрофилом, данным 72а, 72b, 72с о форме волны присваивают «1» как значение метки 77, указывающее на то, что клетка представляет собой нейтрофил, в результате чего получают обучающие данные 75. На ФИГ. 4 показан пример значения метки 77. Поскольку обучающие данные 75 создают для каждого типа клеток, в качестве значения метки присваивают разное значение метки 77 в соответствии с типом клетки.

<Общая схема глубокого обучения>

[0047] С использованием ФИГ. 3 в качестве примера будет описана общая схема обучения нейронной сети. Предпочтительно, нейронная сеть 50 представляет собой сверточную нейронную сеть, имеющую сверточный слой. Число узлов входного слоя 50а в нейронной сети 50 соответствует числу элементов массива, включенного в данные о форме волны вводимых обучающих данных 75. Число элементов массива равно сумме числа элементов данных 72а, 72b, 72с о форме волны рассеянного вперед света, рассеянного вбок света и боковой флуоресценции, соответствующих одной клетке. В примере на ФИГ. 3 каждые из данных 72а, 72b, 72с о форме волны включают 1024 элемента, а значит, число узлов входного слоя 50а составляет 1024×3=3072. Данные 72а, 72b, 72с о форме волны вводят во входной слой 50а нейронной сети 50. Значение метки 77 каждого фрагмента данных о форме волны обучающих данных 75 вводят в выходной слой 50b нейронной сети, в результате чего обучают нейронную сеть 50. Ссылочная позиция 50с на ФИГ. 3 представляет средний слой.

<Способ анализа данных о форме волны>

[0048] На ФИГ. 5 показан пример способа анализа данных о форме волны клетки, являющейся целью анализа. В способе анализа данных о форме волны, из аналогового сигнала 80а рассеянного вперед света, аналогового сигнала 80b рассеянного вбок света и аналогового сигнала 80 с боковой флуоресценции, полученных от клетки-цели анализа посредством проточного цитометра, создают данные 85 анализа, состоящие из данных о форме волны, полученных вышеописанным способом.

[0049] Предпочтительно, данные 85 анализа и обучающие данные 75 имеют одинаковое условие получения, по меньшей мере. Условие получения включает условия измерения содержащихся в образце клеток проточным цитометром, например, условие подготовки пробы для измерения, скорость течения, с которой пробу для измерения вынуждают протекать в проточной ячейке, интенсивность света, подаваемого на проточную ячейку, коэффициент усиления на светоприемных частях, принимающих рассеянный свет и флуоресценцию, и т.п. Условие получения дополнительно включает частоту дискретизации во время выполнения A/D преобразования аналогового сигнала.

[0050] Когда клетка-цель анализа протекает в проточной ячейке, получают аналоговый сигнал 80а рассеянного вперед света, аналоговый сигнал 80b рассеянного вбок света и аналоговый сигнал 80 с боковой флуоресценции. Когда эти аналоговые сигналы 80а, 80b, 80с подвергают A/D преобразованию, как описано выше, те временные точки, когда были получены интенсивности сигналов, синхронизируют для каждой клетки и получают данные 82а о форме волны сигнала рассеянного вперед света, данные 82b о форме волны сигнала рассеянного вбок света и данные 82с о форме волны сигнала боковой флуоресценции. Фрагменты данных 82а, 82b, 82с о форме волны комбинируют так, что фрагменты данных по интенсивности трех сигналов (интенсивности сигнала рассеянного вперед света, интенсивности сигнала рассеянного вбок света и интенсивности сигнала боковой флуоресценции) каждой клетки формируют набор, и получившийся набор вводят в качестве данных 85 анализа в алгоритм 60 глубокого обучения.

[0051] Когда данные 85 анализа введены во входной слой 60а нейронной сети 60, образующей обученный алгоритм 60 глубокого обучения, результат 83 анализа выводится из выходного слоя 60b в качестве классификационной информации, относящейся к типу клетки и соответствующей данным 85 анализа. Ссылочная позиция 60с на ФИГ. 5 представляет средний слой. Классификационная информация, относящаяся к типу клетки, представляет собой, например, вероятность, с которой клетка принадлежит к каждому из множества типов клеток. Кроме того, можно определять, что клетка-цель анализа, для которой получены данные 85 анализа, принадлежит к той классификации, которая имеет самое высокое значение среди вероятностей, и результат 83 анализа может включать значение метки 82 или т.п., являющееся идентификатором, представляющим ее тип клетки. Результат 83 анализа может быть собственно значением метки, или же может представлять собой данные, полученные посредством замены значения метки на информацию (например, последовательность символов), которая указывает на тип клетки. В примере на ФИГ. 5, на основании данных 85 анализа, алгоритм 60 глубокого обучения выводит значение метки «1», которое имеет самую высокую вероятность того, что клетка-цель анализа, для которой получены данные 85 анализа, принадлежит к этой классификации. Далее, в качестве результата 83 анализа выводятся символьные данные «нейтрофил», соответствующие этому значению метки. Вывод значения метки может быть выполнен алгоритмом 60 глубокого обучения, но другая компьютерная программа может выводить наиболее предпочтительное значение метки на основании вероятности, рассчитанной алгоритмом 60 глубокого обучения.

[2. Конфигурации анализатора клеток и устройства измерения клеток]

(Пример конфигурации 1)

[0052] Со ссылкой на ФИГ. 6 и ФИГ. 7 будут описаны конфигурации анализатора клеток и устройств измерения клеток. На ФИГ. 6 показан пример, в котором устройства 4000 измерения клеток для измерения клеток крови в крови соединены с анализатором 1 клеток. На ФИГ. 7 показан пример, в котором устройства 4000' измерения клеток для измерения частиц мочи соединены с анализатором 1 клеток. В настоящем варианте осуществления данные о форме волны получают в первом устройстве 4000 измерения клеток или втором устройстве 4000' измерения клеток. Каждое устройство 4000 измерения клеток, показанное на ФИГ. 6, включает в себя: измерительный блок 400; и обрабатывающий блок 300 для управления настройкой условий измерения пробы и ее измерения в измерительном блоке 400, а также для анализа результатов измерения. Каждое устройство 4000' измерения клеток, показанное на ФИГ. 7, включает в себя: измерительный блок 500; и обрабатывающий блок 300 для управления настройкой условий измерения пробы и ее измерения в измерительном блоке 500, а также для анализа результатов измерения. Измерительный блок 400, 500 и обрабатывающий блок 300 могут быть соединены с возможностью коммуникации друг с другом проводным или беспроводным способом. Настоящий вариант осуществления не следует рассматривать как ограниченный показанным ниже примером конфигурации измерительного блока 400, 500.

[0053] Анализатор 1 клеток представляет собой устройство для анализа данных о форме волны, полученных в по меньшей мере любом из устройств 4000 и 4000' измерения клеток, в соответствии с алгоритмом искусственного интеллекта (например, алгоритм 60 глубокого обучения). Анализатор 1 клеток находится, например, на локальном сервере.

[0054] Анализатор 1 клеток, устройство 4000 измерения клеток и устройство 4000' измерения клеток установлены в одном и том же отделении, таком как больница или отделение тестирования (далее называемым «связанное с тестированием отделение 2»), например, как показано на ФИГ. 6, ФИГ. 7. Анализатор 1 клеток соединен с устройством 4000 измерения клеток и устройством 4000' измерения клеток через внутреннюю сеть 3 в качестве коммуникационной сети в связанном с тестированием отделении 2, где установлены устройство 4000 измерения клеток и устройство 4000' измерения клеток. Внутренняя сеть 3 представляет собой коммуникационную сеть, например, в соответствии с протоколом TCP/IP. Внутренняя сеть 3 представляет собой коммуникационную сеть со скоростью передачи, например, не менее 10 Гб/с. Анализатор 1 клеток, устройство 4000 измерения клеток и устройство 4000' измерения клеток соединяемы с внутренней сетью 3 по меньшей мере любым из проводных и беспроводных средств. Анализатор 1 клеток может быть соединен с любым из измерительного блока 400 и обрабатывающего блока 300 в устройстве 4000 измерения клеток через внутреннюю сеть 3, или же может быть соединен как с измерительным блоком 400, так и с обрабатывающим блоком 300 в устройстве 4000 измерения клеток через внутреннюю сеть 3. Подобным образом, анализатор 1 клеток может быть соединен с любым из измерительного блока 500 и обрабатывающего блока 300 в устройстве 4000' измерения клеток через внутреннюю сеть 3, или же может быть соединен как с измерительным блоком 500, так и с обрабатывающим блок 300 в устройстве 4000' измерения клеток через внутреннюю сеть 3. Анализатор 1 клеток может быть соединен с множеством устройств 4000 измерения клеток и множеством устройств 4000' измерения клеток, установленных в связанном с тестированием отделении 2, через внутреннюю сеть 3.

[0055] Анализатор 1 клеток и устройства 4000, 4000' измерения клеток могут быть установлены в одном и том же сетевом домене, или же могут быть установлены в различных сетевых доменах.

[0056] Анализатор 1 клеток анализирует в соответствии с алгоритмом 60 глубокого обучения данные о форме волны, включенные в цифровой сигнал, принятый из измерительного блока 400, измерительного блока 500 или обрабатывающего блока 300 через внутреннюю сеть 3, и определяет тип клетки, соответствующий данным о форме волны. Цифровой сигнал, переданный из измерительного блока 400, измерительного блока 500 или обрабатывающего блока 300, может быть связан с приборным идентификатором (ID) измерительного блока 400, измерительного блока 500 или обрабатывающего блока 300.

[0057] Анализатор 1 клеток может обновлять алгоритм глубокого обучения для анализа данных о форме волны посредством обучения на основании обучающих данных. Анализатор 1 клеток создает обучающие данные на основании данных о форме волны, полученных из измерительного блока 400, измерительного блока 500 или обрабатывающего блока 300. Анализатор 1 клеток может получать данные о форме волны через внутреннюю сеть 3 или носитель. Носитель представляет собой, например, машиночитаемый невременный материальный носитель информации, такой как DVD-ROM или память USB (универсальной последовательной шины).

[0058] В связанном с тестированием отделении 2 может быть установлено множество анализаторов 1 клеток. Множество анализаторов 1 клеток можно разделять по их соответствующим ролям на анализаторы 1 клеток для анализа данных о форме волны и анализаторы 1 клеток для выполнения обучения на основании обучающих данных.

(Пример конфигурации 2)

[0059] На ФИГ. 8 показан другой пример конфигурации анализатора 1 клеток и устройств 4000, 4000' измерения клеток. Например, анализатор 1 клеток установлен в месте, отличном от связанного с тестированием отделения 2, где установлены устройства 4000, 4000' измерения клеток. Например, анализатор 1 клеток установлен в центре 5 обработки данных, который осуществляет управление и функционирование анализатора 1 клеток. Анализатор 1 клеток реализован, например, в виде сервера облачного типа. Например, один или множество серверов, установленных в центре 5 обработки данных, реализуют анализатор 1 клеток. Анализатор 1 клеток связывается с устройством 4000, 4000' измерения клеток, установленным в связанном с тестированием отделении 2, например, через Интернет 6. Анализатор 1 клеток анализирует данные о форме волны, переданные из измерительного блока 400, измерительного блока 500 или обрабатывающего блока 300 через Интернет 6, и определяет тип клетки, соответствующий данным о форме волны. Анализатор 1 клеток может обновлять алгоритм для анализа данных о форме волны посредством обучения на основании обучающих данных. Анализатор 1 клеток создает обучающие данные на основании данных о форме волны, полученных из измерительного блока 400, измерительного блока 500 или обрабатывающего блока 300. Анализатор 1 клеток может получать данные о форме волны через Интернет 6 или носитель. Носитель представляет собой, например, машиночитаемый невременный материальный носитель информации, такой как DVD-ROM или память USB.

[0060] В центре 5 обработки данных могут быть установлено множество анализаторов 1 клеток. Множество анализаторов 1 клеток можно разделять по их соответствующим ролям на анализаторы 1 клеток для анализа данных о форме волны и анализаторы 1 клеток для выполнения обучения на основании обучающих данных.

(Пример конфигурации 3)

[0061] На ФИГ. 9 показан другой пример конфигурации анализатора 1 клеток и устройств 4000, 4000' измерения клеток. Связанное с тестированием отделение 2, показанное на ФИГ. 9, является идентичным связанному с тестированием отделению 2, показанному на ФИГ. 6 или ФИГ. 7. В связанном с тестированием отделении 2, показанном на ФИГ. 9, анализатор 1 клеток соединен с устройствами 4000, 4000' измерения клеток через внутреннюю сеть 3 или интерфейс, такой как USB. В примере, показанном на ФИГ. 9, например, анализатор 1 клеток, установленный в связанном с тестированием отделении 2, анализирует данные о форме волны, полученные из устройства 4000, 4000' измерения клеток, и определяет тип клетки для клетки, соответствующей данным о форме волны. В то же время анализатор 1 клеток, установленный в центре 5 обработки данных, обновляет алгоритм для анализа данных о форме волны, например, посредством обучения на основании обучающих данных. То есть, в примере, показанном на ФИГ. 9, анализатору 1 клеток в связанном с тестированием отделении 2 и анализатору 1 клеток в центре 5 обработки данных назначены различные роли.

[0062] В соответствии с примером конфигурации, показанным на ФИГ. 6 - ФИГ. 9, анализатор 1 клеток может получать данные о форме волны из множества устройств 4000, 4000' измерения клеток в одном и том же связанном с тестированием отделении 2. Кроме того, анализатор 1 клеток может получать данные о форме волны из множества устройств 4000, 4000' измерения клеток, установленных в каждом из различных связанных с тестированием отделений 2. Данные о форме волны получают для каждой клетки в биологическом образце, тестируемом в каждом из связанных с тестированием отделений 2. Поэтому, если данными о форме волны не управляют соответствующим образом, может возникать путаница данных, например, между пациентами, между биологическими образцами или между связанными с тестированием отделениями 2. Поэтому измерительный блок 400 или обрабатывающий блок 300 передает в анализатор 1 клеток данные о форме волны и идентификационную информацию в связи друг с другом. Анализатор 1 клеток привязывает результат анализа к идентификационной информации.

[0063] Примеры идентификационной информации включают: (1) идентификационную информацию биологического образца, соответствующего данным о форме волны; (2) идентификационную информацию клетки, соответствующей данным о форме волны; (3) идентификационную информацию пациента, соответствующего данным о форме волны; (4) идентификационную информацию теста, соответствующего данным о форме волны; (5) идентификационную информацию анализатора клеток, которым измерены данные о форме волны; и (6) идентификационную информацию связанного с тестированием отделения 2, где были измерены данные о форме волны. Следует отметить, что (1) идентификационная информация биологического образца, соответствующего данным о форме волны, может включать информацию для определения приоритета параллельной обработки, такую как: информация о моменте времени, в который зарегистрирован заказ на измерение биологического образца; информация о моменте времени, в который анализатор идентифицировал биологический образец; информация о моменте времени, в который анализатор начал измерение биологического образца; информация для идентификации того, является ли биологический образец срочным образцом или плановым образцом; и информация для идентификации того, является ли измерение биологического образца повторным измерением или новым измерением. Когда анализатор 1 клеток принимает заказ на измерение, например, из LIS (информационной системы лаборатории), обрабатывающего блока 300 или измерительного блока 400, анализатор 1 клеток может получать по меньшей мере одну из вышеуказанной идентификационной информации (1) - (6) или их комбинацию из LIS, обрабатывающего блока 300 или измерительного блока 400. Например, по меньшей мере одну из (1) - (6), показанных в качестве примеров, передают в анализатор 1 клеток в связи с данными о форме волны. Множество комбинаций (1) - (6), показанных в качестве примеров, можно передавать в анализатор 1 клеток в связи с данными о форме волны.

[0064] Как описано выше, в соответствии с настоящим вариантом осуществления, анализ в соответствии с алгоритмом 60 глубокого обучения данных, измеренных множеством устройств 4000, 4000' измерения клеток, не выполняют в каждом из устройств 4000, 4000' измерения клеток, а выполняют совместно в анализаторе 1 клеток. Анализатор 1 клеток, как описано позднее, представляет собой устройство (компьютер), которое(ый) обладает высокой способностью к обработке информации и включает в себя процессор 11 (также называемый ведущим процессором), представляющий собой, например, ЦП, и процессор 12 для параллельной обработки, представляющий собой, например, ГП. Анализатор 1 клеток может выполнять высокоточную классификацию клеток в соответствии с алгоритмом 60 глубокого обучения, без необходимости в том, чтобы устройства 4000, 4000' измерения клеток обладали столь высокой способностью к обработке информации. Кроме того, поскольку каждый результат анализа, созданный в анализаторе 1 клеток, связан с идентификационной информацией, предотвращается возникновение путаницы результатов анализа. Таким образом, в соответствии с настоящим вариантом осуществления по сравнению со случаем, где анализ выполняют с использованием компьютера для анализа и программы для анализа, сконструированных в каждом из устройств 4000, 4000' измерения клеток, трудозатраты и стоимость, требуемые для построения и функционирования системы, могут быть уменьшены при обеспечении управляемости данных. Например, поскольку обновление программы для анализа можно выполнять в анализаторе 1 клеток, трудозатраты и стоимость, требуемые для обновления, могут быть уменьшены.

<Первое устройство измерения клеток и подготовка пробы для измерения>

(Конфигурация измерительного блока)

[0065] Будет описан пример конфигурации, в котором измерительный блок 400 представляет собой анализатор крови, включающий в себя ПЦМ-детектор, являющийся проточным цитометром для детектирования каждой клетки в пробе крови, более конкретно, измерительный блок 400 представляет собой счетчик форменных элементов крови.

[0066] На ФИГ. 10 показан пример блок-схемы измерительного блока 400. Как показано на ФИГ. 10, измерительный блок 400 включает: ПЦМ-детектор 410 для детекции клеток крови; узел 420 аналоговой обработки для обработки вывода из ПЦМ-детектора 410; контроллер 480 измерительного блока; узел 440 подготовки проб; и узел 430 аппаратного механизма.

[0067] ФИГ. 11 представляет собой схематический рисунок для описания узла 450 всасывания образцов и узла 440 подготовки проб. Узел 450 всасывания образцов включает в себя: наконечник 451 для всасывания образца крови (цельной крови) из пробирки Т для сбора крови; и насос 452 для обеспечения отрицательного давления/положительного давления в наконечнике. Наконечник 451 передвигается вверх и вниз посредством узла 430 аппаратного механизма, чтобы вставляться в пробирку Т для сбора крови. Когда насос 452 обеспечивает отрицательное давление в состоянии, при котором наконечник 451 вставлен в пробирку Т для сбора крови, образец крови всасывается через наконечник 451. Узел 430 аппаратного механизма может включать в себя манипулятор для переворачивания и встряхивания пробирки Т для сбора крови перед всасыванием крови из пробирки Т для сбора крови.

[0068] Узел 440 подготовки проб включает в себя пять реакционных камер 440а-440е. Реакционные камеры 440а-440е используются в каналах измерения DIFF, RET, WPC, PLT-F и WNR соответственно. Каждая реакционная камера имеет соединенный с ней через протоки контейнер для гемолитического средства, содержащий гемолитическое средство, и контейнер для окрашивающей жидкости, содержащий окрашивающую жидкость, которые служат в качестве реагентов для соответствующего канала измерения. Одна реакционная камера и связанные с ней реагенты (гемолитическое средство и окрашивающая жидкость) образуют канал измерения. Например, канал измерения DIFF состоит из: гемолитического средства DIFF и окрашивающей жидкости DIFF, которые служат в качестве реагентов для измерения DIFF; и реакционной камеры DIFF 440а. Другие каналы измерения выполнены сходным образом. Здесь показан пример конфигурации, в котором один канал измерения включает одно гемолитическое средство и одну окрашивающую жидкость. Однако один канал измерения не обязательно должен включать как гемолитическое средство, так и окрашивающую жидкость, и множество каналов измерения могут совместно использовать один общий реагент.

[0069] Посредством горизонтального передвижения и передвижения вверх-вниз узлом 430 аппаратного механизма наконечник 451 с подвергнутым всасыванию образцом крови получает доступ сверху в ту реакционную камеру среди реакционных камер 440а-440е, которая соответствует каналу измерения, соответствующему заказу, и наконечник 451 выгружает подвергнутый всасыванию образец крови. Узел 440 подготовки проб подает соответствующее гемолитическое средство и соответствующую окрашивающую жидкость в реакционную камеру с выгруженным в нее образцом крови для смешивания образца крови, гемолитического средства и окрашивающей жидкости в реакционной камере, тем самым подготавливая пробу для измерения. Подготовленную пробу для измерения подают из реакционной камеры в ПЦМ-детектор 410 через проток, чтобы подвергнуть измерению клеток посредством проточной цитометрии.

[0070] На ФИГ. 12 показан пример конфигурации оптической системы ПЦМ-детектора 410. Как показано на ФИГ. 12, при измерении проточным цитометром, когда каждая клетка, содержащаяся в пробе для измерения, проходит через проточную ячейку (ячейку с обжимным потоком) 4113, представленную в проточном цитометре, источник 4111 света подает свет на проточную ячейку 4113, и при этом детектируют рассеянный свет и флуоресценцию, излученные от клетки в проточной ячейке 4113 из-за этого света.

[0071] На ФИГ. 12 свет, излученный от лазерного диода, являющегося источником 4111 света, подают через светоподающую систему 4112 линз на каждую клетку, проходящую через проточную ячейку 4113.

[0072] В настоящем варианте осуществления источник 4111 света проточного цитометра конкретно не ограничен, и выбирается источник 4111 света, который имеет длину волны, подходящую для возбуждения флуоресцентного красителя. В качестве такого источника 4111 света используют, например, источник света в виде полупроводникового лазера, включая источник света - полупроводниковый лазер красного свечения и/или источник света - полупроводниковый лазер синего свечения, источник света в виде газового лазера, такой как источник света - аргоновый лазер или гелиево-неоновый лазер, ртутную дуговую лампу или т.п. В частности, источник света - полупроводниковый лазер является подходящим, поскольку он очень недорог по сравнению с источником света - газовым лазером.

[0073] Как показано на ФИГ. 12, рассеянный вперед свет, испущенный от частицы, проходящей через проточную ячейку 4113, принимается принимающим рассеянный вперед свет элементом 4116 через конденсаторную линзу 4114 и деталь 4115 с отверстием малого диаметра. Принимающим рассеянный вперед свет элементом 4116 является фотодиод. Рассеянный вбок свет принимается принимающим рассеянный вбок свет элементом 4121 через конденсаторную линзу 4117, дихроическое зеркало 4118, полосовой фильтр 4119 и деталь 4120 с отверстием малого диаметра. Принимающим рассеянный вбок свет элементом 4121 является фотодиод. Боковая флуоресценция принимается принимающим боковую флуоресценцию элементом 4122 через конденсаторную линзу 4117 и дихроическое зеркало 4118. Принимающим боковую флуоресценцию элементом 4122 является лавинный фотодиод. В качестве принимающего рассеянный вперед свет элемента 4116, принимающего рассеянный вбок свет элемента 4121 и принимающего боковую флуоресценцию элемента 4122 можно использовать фотоумножитель.

[0074] Сигналы принятого света, выводимые из принимающих соответствующий свет элементов 4116, 4121, 4122, вводят в узел 420 аналоговой обработки через усилители 4151, 4152, 4153 соответственно.

[0075] Со ссылкой снова на ФИГ. 10, узел 420 аналоговой обработки выполняет процессы, включающие устранение шума, на электрических сигналах в качестве аналоговых сигналов, вводимых из ПЦМ-детектора 410, и выводит обработанные результаты в виде электрических сигналов в контроллер 480 измерительного блока.

[0076] Как показано на ФИГ. 10, контроллер 480 измерительного блока включает в себя A/D преобразователь 482, узел 483 расчета цифрового значения и узел интерфейса 489, соединенные с обрабатывающим блоком 300. Кроме того, контроллер 480 измерительного блока включает в себя узел интерфейса 488, соединенный с узлом 430 аппаратного механизма.

[0077] Узел 483 расчета цифрового значения соединен с узлом интерфейса 489 через узел интерфейса 484 и шину 485. Узел интерфейса 489 соединен с ПЦМ-детектором 410, узлом 430 аппаратного механизма, узлом 440 подготовки проб и узлом 450 всасывания образцов через шину 485 и узел интерфейса 488. Измерительный блок 400 соединен с обрабатывающим блоком 300 и анализатором 1 клеток через узел интерфейса 489. Узел интерфейса 489 представляет собой, например, интерфейс USB. Измерительный блок 400 может включать узел интерфейса 490. Узел интерфейса 490 представляет собой интерфейс со скоростью передачи, например, не менее 10 Гб/с. Измерительный блок 400 соединяется с внутренней сетью 3 и Интернетом 6 через узел интерфейса 490. Измерительный блок 400 соединяется с анализатором 1 клеток через внутреннюю сеть 3 или Интернет 6.

[0078] A/D преобразователь 482 преобразует электрический сигнал в виде аналогового сигнала, выводимого из узла 420 аналоговой обработки, в цифровой сигнал и выводит этот цифровой сигнал после преобразования в узел 483 расчета цифрового значения. A/D преобразователь 482 дискретизирует электрический сигнал с заданной частотой дискретизации (например, дискретизация в 1024 точках с интервалом 10 наносекунд, дискретизация в 128 точках с интервалом 80 наносекунд, дискретизация в 64 точках с интервалом 160 наносекунд или т.п.), тем самым создавая цифровой сигнал. Узел расчета 483 цифрового значения выполняет заданные арифметические процессы на цифровом сигнале, выводимом из A/D преобразователя 482. Примеры заданных арифметических процессов включают, но не ограничены ими: процесс, в котором на протяжении периода времени от начала, после достижения рассеянным вперед светом заданного порога, получения интенсивности сигнала рассеянного вперед света, интенсивности сигнала рассеянного вбок света и интенсивности сигнала боковой флуоресценции, до окончания получения после заданного периода времени, каждый фрагмент данных о форме волны получают для отдельной клетки-цели обучения во множестве временных точек с определенным интервалом; процесс извлечения пикового значения данных о форме волны; и т.п. Арифметический процесс получения данных о форме волны из цифрового сигнала, полученного в A/D преобразователе 482, может исполняться A/D преобразователем 482.

[0079] На ФИГ. 13 показана конфигурация обрабатывающего блока 300. Обрабатывающий блок 300 включает в себя процессор 3001, шину 3003, хранилище 3004, узлы интерфейса 3006a-3006d, узел 3015 отображения и операционный узел 3016. Обрабатывающий блок 300 в качестве аппаратный средств реализован персональным компьютером общего назначения и функционирует в качестве обрабатывающего блока анализатора 4000 клеток, исполняя специализированную программу, хранящуюся в хранилище 3004.

[0080] Процессор 3001 представляет собой ЦП и может исполнять программу, хранящуюся в хранилище 3004.

[0081] Хранилище 3004 включает в себя устройство с жестким диском. Хранилище 3004 хранит по меньшей мере программу 60 для обработки классификационной информации каждой клетки, переданной из анализатора 1 клеток, и для создания результата теста образца. Результат теста образца означает, как описано позднее, результат подсчета клеток крови, содержащихся в образце, на основании классификационной информации 82 о каждой индивидуальной клетке, полученной измерительным блоком 400.

[0082] Узел 3015 отображения включает в себя экран компьютера. Узел 3015 отображения соединен с процессором 3001 через узел интерфейса 3006а и шину 3003. Узел 3015 отображения может принимать сигнал изображения, вводимый из процессора 3001, и может отображать результат измерения (классификационную информацию о клетке), принятый из анализатора 1 клеток, и результат теста, полученный процессором 3001, анализирующим результат измерения.

[0083] Операционный узел 3016 включает в себя указательное устройство, включая клавиатуру, мышь или сенсорную панель. Операционный узел 3016 соединен с процессором 3001 через узел интерфейса 3006b и шину 3003. Пользователь, такой как врач или лаборант, эксплуатирует операционный узел 3016, вводя заказ на измерение в анализатор 4000 клеток, при этом имея возможность вводить инструкцию на измерение в соответствии с заказом на измерение. Операционный узел 3016 может также принимать инструкцию для отображения результата теста от пользователя. Работая с операционным узлом 3016, пользователь может видеть различные типы информации, относящейся к результату теста образца, такие как график, таблица или сигнальная информация.

[0084] Процессор 3001 соединен с измерительным блоком 400 через шину 3003 и узел интерфейса 3006 с. Процессор 3001 соединен с внутренней сетью 3 или Интернетом 6 через шину 3003 и узел интерфейса 3006d, а также соединен с анализатором 1 клеток через внутреннюю сеть 3 или Интернет 6.

(Конфигурация анализатора клеток)

[0085] На ФИГ. 14 показан пример блок-схемы анализатора 1 клеток. Анализатор 1 клеток включает в себя узел 10 обработки. Узел 10 обработки включает в себя, например, процессор 11, процессор 12 для параллельной обработки, хранилище 13, ОЗУ 14, узел интерфейса 16 и узел интерфейса 17. Процессор 11, процессор 12 для параллельной обработки, хранилище 13, ОЗУ 14, узел интерфейса 16 и узел интерфейса 17 электрически соединены друг с другом через шину 15. Шина 15 представляет собой линию передачи со скоростью передачи данных, например, не менее нескольких сотен Мб/с. Шина 15 может представлять собой линию передачи со скоростью передачи данных не менее 1 Гб/с. Шина 15 выполняет передачу данных, например, на основании стандарта PCI-Express или PCI-X.

[0086] Анализатор 1 клеток соединяется с измерительным блоком 400 и обрабатывающим блоком 300 через узел интерфейса 16. Узел интерфейса 16 может представлять собой узел интерфейса 4, показанный на ФИГ. 7. Анализатор 1 клеток соединяется с внутренней сетью 3 или Интернетом 6 через узел интерфейса 17. Анализатор 1 клеток соединен с измерительным блоком 400 или обрабатывающим блоком 300 через внутреннюю сеть 3 или Интернет 6 и получает данные о форме волны, относящиеся к каждой индивидуальной клетке в биологическом образце, из измерительного блока 400 или обрабатывающего блока 300. Анализатор 1 клеток получает множество фрагментов данных о форме волны (например, FSC, SSC, SFL), например, относящихся к каждой индивидуальной клетке в биологическом образце.

[0087] Анализатор 1 клеток имеет предварительно сохраненный в хранилище 13 и, например, в исполняемой форме алгоритм 50 глубокого обучения, состоящий из программы и нейронной сети до подвергания ее обучению, в соответствии с настоящим вариантом осуществления. Исполняемая форма представляет собой форму, созданную посредством преобразования языка программирования компилятором, например. Анализатор 1 клеток использует хранящуюся в хранилище 13 программу для выполнения процессов обучения нейронной сети 50 до подвергания ее обучению.

[0088] Анализатор 1 клеток имеет предварительно сохраненный в хранилище 13 и, например, в исполняемой форме алгоритм 60 глубокого обучения, состоящий из программы и нейронной сети до подвергания ее обучению, в соответствии с настоящим вариантом осуществления, с целью анализа данных о форме волны. Исполняемая форма представляет собой форму, созданную посредством преобразования языка программирования компилятором, например. Процессор 11 и процессор 12 для параллельной обработки используют сохраненные в хранилище 13 программу и алгоритм 60 глубокого обучения для выполнения процессов. То есть, иными словами, процессор 11 анализатора 1 клеток запрограммирован для анализа данных каждой клетки на основании алгоритма 60 глубокого обучения.

[0089] Процессор 11 исполняет анализ данных о форме волны в соответствии с алгоритмом 60 глубокого обучения с использованием процессора 12 для параллельной обработки. Процессор 11 представляет собой, например, центральный процессор (ЦП). Процессор 12 для параллельной обработки исполняет параллельно множество арифметических процессов, представляющих собой по меньшей мере часть обработки, относящейся к анализу данных о форме волны. Процессор 12 для параллельной обработки представляет собой, например, графический процессор (ГП), программируемую в условиях эксплуатации матрицу логических элементов (FPGA) или специализированную интегральную схему (ASIC). Когда процессор 12 для параллельной обработки представляет собой FPGA, процессор 12 для параллельной обработки может быть запрограммирован так, чтобы соответствовать арифметическому процессу, относящемуся, например, к обученному алгоритму 60 глубокого обучения. Когда процессор 12 для параллельной обработки представляет собой ASIC, процессор 12 для параллельной обработки может иметь встроенную в него заранее схему для исполнения арифметического процесса, относящегося к обученному алгоритму 60 глубокого обучения, или может иметь, например, программируемый модуль, встроенный в него в дополнение к такой встроенной схеме. Процессор 12 для параллельной обработки может быть реализован с использованием, например, Jetson производства компании NVIDIA Corporation.

[0090] Процессор 11 исполняет процесс расчета, относящийся, например, к управлению анализатором 1 клеток. Например, процессор 11 исполняет процессы, относящиеся, например, к считыванию данных программы из хранилища 13, развертыванию программы в ОЗУ 14 и передаче/приему данных в отношении ОЗУ 14. Вышеописанные процессы, исполняемые процессором 11, необходимо исполнять, например, в заданном последовательном порядке. Например, если процессы, необходимые для заданного управления, принять за А, В и С, то в некоторых случаях эти процессы необходимо исполнять в последовательном порядке В, А и С. Поскольку процессор 111 часто исполняет такие непрерывные процессы, которые зависят от последовательного порядка, даже когда число арифметических блоков (каждый может быть назван «ядром процессора», «ядром» или т.п.) увеличивается, скорость обработки не всегда увеличивается.

[0091] В то же время процессор 12 для параллельной обработки исполняет большое количество обычных процессов вычислений, например, таких как арифметические операции на матричных данных, включающих большое число элементов. В настоящем варианте осуществления процессор 12 для параллельной обработки исполняет параллельную обработку, в которой по меньшей мере часть процессов анализа данных о форме волны в соответствии с алгоритмом 60 глубокого обучения запараллелены. Алгоритм 60 глубокого обучения включает в себя, например большое число матричных операций. Например, алгоритм 60 глубокого обучения может включать по меньшей мере 100 матричных операций, или же может включать по меньшей мере 1000 матричных операций. Процессор 12 для параллельной обработки имеет множество арифметических блоков, и соответствующие арифметические блоки могут одновременно исполнять матричные операции. То есть, процессор 12 для параллельной обработки может параллельно исполнять матричные операции посредством множества соответствующих арифметических блоков в качестве параллельной обработки. Например, матричную операцию, включенную в алгоритм 60 глубокого обучения, можно разделять на множество арифметических процессов, которые не зависят от последовательного порядка друг относительно друга. Разделенные таким образом арифметические процессы могут параллельно исполняться множеством арифметических блоков соответственно. Каждый из этих арифметических блоков может быть назван «ядром процессора», «ядром» или т.п.

[0092] В результате исполнения такой параллельной обработки может быть реализовано ускорение арифметической обработки в анализаторе 1 клеток в целом. Процесс, такой как матричная операция, включенная в алгоритм 60 глубокого обучения, может называться, например, «обработкой с одним потоком команд и множественными потоками данных (SIMD)». Процессор 12 для параллельной обработки пригоден, например, для такой операции SIMD. Такой процессор 12 для параллельной обработки может называться векторным процессором.

[0093] Как описано выше, процессор 11 пригоден для исполнения разнообразных и сложных процессов. В то же время, процессор 12 для параллельной обработки пригоден для параллельного исполнения большого числа обычных процессов. Посредством параллельного исполнения большого числа обычных процессов укорачивается оборотное время (ТАТ), необходимое для процесса вычислений.

[0094] Параллельная обработка, исполняемая процессором 12 для параллельной обработки, не ограничена матричными операциями. Например, когда процессор 12 для параллельной обработки исполняет процесс обучения в соответствии с алгоритмом 50 глубокого обучения, целью параллельной обработки могут быть дифференциальные операции или т.п., относящиеся к процессу обучения.

[0095] Что касается числа арифметических блоков процессора 11, то применяются, например, двухъядерный (количество ядер: 2), четырехъядерный (количество ядер: 4) или восьмиядерный (количество ядер: 8). В то же время, число арифметических блоков (число ядер) процессора 12 для параллельной обработки составляет по меньшей мере десять (количество ядер: 10), и может исполняться, например, десять матричных операций параллельно. Существует также процессор 12 для параллельной обработки, который имеет, например, несколько десятков арифметических блоков. Существует также процессор 12 для параллельной обработки, который имеет, например, по меньшей мере 100 арифметических блоков (количество ядер: 100) и который может исполнять 100 матричных операций параллельно. Существует также процессор 12 для параллельной обработки, который имеет, например, несколько сотен арифметических блоков. Существует также процессор 12 для параллельной обработки, который имеет, например, по меньшей мере 1000 арифметических блоков (количество ядер: 1000) и который может исполнять 1000 матричных операций параллельно. Существует также процессор 12 для параллельной обработки, который имеет, например, несколько тысяч арифметических блоков.

[0096] На ФИГ. 15 показан пример конфигурации процессора 12 для параллельной обработки. Процессор 12 для параллельной обработки включает в себя множество арифметических блоков 121 и ОЗУ 122. Соответствующие арифметические блоки 121 исполняют арифметические процессы на матричных данных параллельно. ОЗУ 122 хранит данные, относящиеся к арифметическим процессам, исполняемым арифметическими блоками 121. ОЗУ 122 представляет собой запоминающее устройство с емкостью по меньшей мере 1 гигабайт. ОЗУ 122 может представлять собой запоминающее устройство, имеющее емкость 2 гигабайта, 4 гигабайт, 6 гигабайт, 8 гигабайт, 10 гигабайт или более. Каждый арифметический блок 121 получает данные от ОЗУ 122 и исполняет арифметический процесс. Арифметический блок 121 может быть назван «ядром процессора», «ядром» или т.п.

[0097] На каждой из ФИГ. 16 - ФИГ. 18 показан пример установки процессора 12 для параллельной обработки в анализатор 4000 клеток. На каждой из ФИГ. 16 и ФИГ. 17 показан пример установки, в котором процессор 11 и процессор 12 для параллельной обработки представлены в виде отдельных предметов. Как показано на ФИГ. 16, процессор 12 для параллельной обработки установлен, например, на подложке 190. Процессор 12 для параллельной обработки установлен на графической плате 19, и графическая плата 19 соединена с подложкой 190, например, через соединитель 191. Процессор 11 соединен с процессором 12 для параллельной обработки через шину 15. Как показано на ФИГ. 17, процессор 12 для параллельной обработки может быть установлен прямо на подложке 190 и соединен с процессором 11, например, через шину 15. На ФИГ. 18 показан пример установки, в котором процессор 11 и процессор 12 для параллельной обработки представлены как единое целое. Как показано на ФИГ. 18, процессор 12 для параллельной обработки может быть, например, встроен в процессор 11, установленный на подложке 190.

[0098] ФИГ. 19 - схематический рисунок, показывающий другой пример установки процессора 12 для параллельной обработки в анализатор 1 клеток. На ФИГ. 19 показан пример, в котором процессор 12 для параллельной обработки установлен во внешнее устройство, соединенное с анализатором 1 клеток. Например, процессор 12 для параллельной обработки смонтирован на устройстве USB (универсальной последовательной шины), и это устройство USB соединено с шиной 15 через узел интерфейса 18. Устройство USB может представлять собой малое устройство, например, такое как USB-адаптер. Узел интерфейса 18 представляет собой интерфейс USB со скоростью передачи несколько сотен Мб/с, например, а более предпочтительно, представляет собой интерфейс USB со скоростью передачи от нескольких Гб/с до нескольких десятков Гб/с или выше.

[0099] Множество устройств USB, каждое со смонтированным на нем процессором 12 для параллельной обработки, могут быть соединены с узлом интерфейса 18. Процессор 12 для параллельной обработки, смонтированный на одном устройстве USB, в некоторых случаях имеет меньшее число арифметических блоков 121, чем ГП или т.п. Таким образом, если множество устройств USB соединены с анализатором 1 клеток, может быть реализовано масштабирование числа ядер.

[0100] Как показано на ФИГ. 19, например, когда малое устройство, такое как USB-адаптер, в которое встроен процессор 12 для параллельной обработки, имеющий алгоритм 60 глубокого обучения, соединен с узлом интерфейса 18, алгоритм 60 глубокого обучения можно заменять путем замены малого устройства. Кроме того, при замене малого устройства контроллер 480 измерительного блока может обновлять программу и алгоритм 60 глубокого обучения, хранящиеся в хранилище 13.

[0101] На ФИГ. 20 показана общая схема функционирования, в которой процессор 11 исполняет арифметические процессы для матричных данных с использованием процессора 12 для параллельной обработки. Процессор 11 может направлять заказ процессору 12 для параллельной обработки, вынуждая процессор 12 для параллельной обработки исполнять по меньшей мере часть арифметических процессов, необходимых для анализа данных о форме волны, в соответствии с алгоритмом 60 глубокого обучения. Аналитическое программное обеспечение 111 процессора 11 приказывает процессору 12 для параллельной обработки исполнять арифметические процессы, относящиеся к анализу данных о форме волны, на основании алгоритма 60 глубокого обучения. Все или по меньшей мере часть данных о форме волны, соответствующих сигналам, детектированным ПЦМ-детектор ом 410, сохраняют в ОЗУ 14. Данные, сохраненные в ОЗУ 14, передают в ОЗУ 122 процессора 12 для параллельной обработки. Данные, сохраненные в ОЗУ 14, передают в ОЗУ 122, например, методом ПДП (прямого доступа к памяти). Множество арифметических блоков 121 процессора 12 для параллельной обработки соответственно исполняют параллельно арифметические процессы по отношению к данным, сохраненным в ОЗУ 122. Каждый из множества арифметических блоков 121 получает необходимые данные из ОЗУ 122, исполняя арифметический процесс. Данные, соответствующие арифметическому результату, сохраняют в ОЗУ 122 процессора 12 для параллельной обработки. Данные, соответствующие арифметическому результату, передают из ОЗУ 122 в ОЗУ 14, например, методом ПДП.

[0102] На ФИГ. 21 показана общая схема матричной операции, исполняемой процессором 12 для параллельной обработки. Перед проведением анализа данных о форме волны в соответствии с алгоритмом 60 глубокого обучения исполняют расчет произведения матрицы (матричную операцию). Процессор 12 для параллельной обработки параллельно исполняет, например, матричные операции. В (а) на ФИГ. 21 показана формула расчета произведения матрицы. В формуле расчета, показанной в (а) на ФИГ. 21, матрицу с получают посредством произведения матрицы а из n строк × n столбцов и матрицы b из n строк × n столбцов. Как показано в качестве примера на ФИГ. 21, формула расчета описана в синтаксисе иерархического цикла. В (b) из ФИГ. 21 показан пример арифметических процессов, исполняемых параллельно в процессоре 12 для параллельной обработки. Формулу расчета, показанную в качестве примера в (а) на ФИГ. 21, можно разделить на n × n арифметических процессов, где n × n представляет собой, например, число комбинаций переменной цикла i для первого иерархического уровня и переменной цикла j для второго иерархического уровня. Такие разделенные арифметические процессы представляют собой арифметические процессы, которые не зависят друг от друга, и поэтому могут быть выполнены параллельно.

[0103] ФИГ. 22 представляет собой концептуальную схему, показывающую, что множество арифметических процессов, показанных в качестве примера в (b) из ФИГ. 21, исполняют в процессоре 12 для параллельной обработки. Как показано на ФИГ. 22, каждый из множества арифметических процессов назначают одному из множества арифметических блоков 121 процессора 12 для параллельной обработки. Соответствующие арифметические блоки 121 исполняют параллельно назначенные арифметические процессы. То есть соответствующие арифметические блоки 121 одновременно исполняют разделенные арифметические процессы.

[0104] В качестве результатов операций, показанных в качестве примера на ФИГ. 21 и ФИГ. 22, посредством операций, выполняемых процессором 12 для параллельной обработки, получают, например, информацию, относящуюся к вероятности, с которой клетка, соответствующая данным о форме волны, принадлежит к каждому из множества типов клеток. На основании результатов операций процессор 11, исполняющий аналитическое программное обеспечение 111, выполняет анализ, относящийся к типу клетки для клетки, соответствующей данным о форме волны. Арифметические результаты сохраняют в ОЗУ 122 процессора 12 для параллельной обработки, для их передачи из ОЗУ 122 в ОЗУ 14. Затем процессор 11 передает результат измерения, рассчитанный на основании арифметических результатов, сохраненных в ОЗУ 14, в обрабатывающий блок 300 или измерительный блок 400 через шину 15 и узел интерфейса 16.

[0105] Расчет вероятности, с которой клетка принадлежит к каждому из множества типов клеток, может выполняться процессором, отличным от процессора 12 для параллельной обработки. Например, арифметические результаты можно передавать из ОЗУ 122 в ОЗУ 14, и на основании арифметических результатов, считанных с ОЗУ 14, процессор 11 может рассчитывать информацию, относящуюся к вероятности, с которой клетка, соответствующая каждому фрагменту данных о форме волны, принадлежит к каждому из множества типов клеток. Альтернативно, арифметические результаты можно передавать из ОЗУ 122 в обрабатывающий блок 300, и процессор, установленный в обрабатывающем блоке 300, может рассчитывать информацию, относящуюся к вероятности, с которой клетка, соответствующая каждому фрагменту данных о форме волны, принадлежит к каждому из множества типов клеток.

[0106] В настоящем варианте осуществления процессы, показанные на ФИГ. 21 и ФИГ. 22, применяются, например, к арифметическому процессу (также называемому процессом фильтрации), относящемуся к сверточному слою в алгоритме 60 глубокого обучения.

[0107] На ФПГ. 23 показана общая схема арифметического процесса, относящегося к сверточному слою. Б (а) на ФИГ. 23 показан пример данных о форме волны рассеянного вперед света (FSC) в качестве данных о форме волны, подлежащих введению в алгоритм 60 глубокого обучения. Данные о форме волны представляют собой данные в виде одномерной матрицы (т.е. одномерный массив данных). В настоящему варианте осуществления число элементов данных о форме волны принимается равным n (n - целое число 1 или более). В (а) на ФИГ. 23 показано множество фильтров. Каждый фильтр создан посредством процесса обучения алгоритма 50 глубокого обучения. Каждый из множества фильтров представляет собой одномерные матричные данные, указывающие признаки данных о форме волны. Хотя каждый фильтр, показанный в (а) на ФИГ. 23, представляет собой матричные данные из 1 ряда × 3 столбца, число столбцов не ограничено тремя. Матричную операцию выполняют на каждом фильтре и данных о форме волны, которые вводятся в алгоритм 60 глубокого обучения, в результате чего рассчитывают признаки, соответствующие типу клетки данных о форме волны. В (b) на ФИГ. 23 показана общая схема матричной операции между данными о форме волны и фильтром. Как показано в (b) на ФИГ. 23, матричную операцию исполняют в то время, как каждый фильтр сдвигают относительно элементов данных о форме волны, один за другим. Расчет матричной операции исполняют в соответствии с нижеприведенной формулой 1.

[Математическое выражение 1]

В формуле 1 суффиксы х - это переменные, указывающие номер строки и номер столбца данных о форме волны. Суффиксы h - это переменные, указывающие номер строки и номер столбца фильтра. В примере, показанном на ФИГ. 23, данные о форме волны представляют собой одномерные матричные данные, и фильтр представляет собой матричные данные из 1 строки × 3 столбца, и таким образом, L=l, М=3, р=0, q=0, 1, 2, i=0, и j=0, 1,…, n-1.

[0108] Процессор 12 для параллельной обработки параллельно исполняет матричную операцию, представленную формулой 1, посредством множества соответствующих арифметических блоков 121. На основании арифметических процессов, исполняемых процессором 12 для параллельной обработки, создают относящуюся к типу клетки классификационную информацию о каждой клетке. Созданную классификационную информацию передают в обрабатывающий блок 300 или измерительный блок 400.

[0109] Анализатор 1 клеток может обрабатывать данные о форме волны и идентификационную информацию так, чтобы они были связаны друг с другом. Конкретно, анализатор 1 клеток может создавать результат анализа (т.е. относящуюся к типу клетки классификационную информацию о каждой клетке) данных о форме волны и идентификационную информацию так, чтобы они были связаны друг с другом. Анализатор 1 клеток передает в обрабатывающий блок 300 или измерительный блок 400, например, относящуюся к типу клетки классификационную информацию о каждой клетке и идентификационную информацию, в связи друг с другом. Множество комбинаций описанной выше идентификационной информации (1) - (6) можно передавать в обрабатывающий блок 300 или измерительный блок 400 в связи с классификационной информацией.

[0110] Со ссылкой снова на ФИГ. 10, обрабатывающий блок 300 соединен с узлом 483 расчета цифрового значения через узел интерфейса 489, шину 485 и узел интерфейса 484 и может принимать арифметические результаты, выводимые из узла 483 расчета цифрового значения. Узел интерфейса 489 представляет собой, например, интерфейс USB. Обрабатывающий блок 300 может получать арифметические результаты посредством процессора 11 и процессора 12 для параллельной обработки из анализатора 1 клеток и может отображать результаты измерения, основанные на арифметических результатах. Пользователь, такой как врач или лаборант, может анализировать результаты измерения, работая с обрабатывающим блоком 300. Пользователь может анализировать результаты измерения, работая с обрабатывающим блоком 300 и создавая различные типы информации, относящейся к результатам измерения (например, график, таблица и информация в дополнение к результатам измерения). Пользователь может анализировать результаты измерения для каждой идентификационной информации, описанной выше, например, во время просмотра графика и таблицы для каждого биологического образца, или графика и таблицы для каждого связанного с тестированием отделения 2. Кроме того, обрабатывающий блок 300 может выполнять: управление узлом 430 аппаратного механизма, включающего пробоотборник (не показан), который автоматически поставляет контейнеры с пробами, жидкостную систему для подготовки/измерения пробы и т.п.; и другие виды управления.

<Функционирование анализатора клеток>

[0111] Со ссылкой на ФИГ. 24 - ФИГ. 26 будет описана операция анализа образца, выполняемая анализатором 4000 клеток.

[0112] Когда процессор 3001 обрабатывающего блока 300 принял инструкцию на измерение, включающую заказ на измерение, от пользователя через операционный узел 3016, процессор 3001 передает команду на измерение в измерительный блок 400 (стадия S1). Заказ на измерение, который процессор 3001 принимает от пользователя, включает: ID образца, подлежащего измерению; ID пациента, соответствующего образцу; и информацию об измеряемом параметре (канале измерения), для которого требуется измерение. Процессор 3001 добавляет ID образца, ID пациента и информацию о канале измерения в команду на измерение и передает команду на измерение в измерительный блок 400.

[0113] После приема команды на измерение процессор 4831 измерительного блока 400 начинает измерение образца. Процессор 4831 вынуждает узел 450 всасывания образцов всасывать образец из пробирки Т для сбора крови (стадия S10). Затем процессор 4831 вынуждает узел 450 всасывания образцов распределять подвергнутый всасыванию образец в одну из реакционных камер 440а-440е узла 440 подготовки проб. Как описано выше, команда на измерение, переданная от обрабатывающего блока 300 на стадии S1, включает информацию о канале измерения, для которого запрашивается измерение по заказу на измерение. На основании информации о канале измерения, включенной в команду на измерение, процессор 4831 управляет узлом 450 всасывания образцов таким образом, чтобы выгружать образец в реакционную камеру соответствующего канала измерения.

[0114] Процессор 4831 вынуждает узел 440 подготовки проб подготавливать пробу для измерения (стадия S11). Конкретно, после приема заказа от процессора 4831, узел 440 подготовки проб подает реагенты (гемолитическое средство и окрашивающую жидкость) в реакционную камеру с выгруженным в нее образцом для смешивания образца с реагентами. Соответственно, в реакционной камере подготавливается проба для измерения, в которой эритроциты подвергаются гемолизу гемолитическим средством и в которой клетки, такие как лейкоциты или ретикулоциты, служащие в качестве мишени для канала измерения, окрашиваются окрашивающей жидкостью.

[0115] Процессор 4831 вынуждает ПЦМ-детектор 410 измерять подготовленную пробу для измерения (стадия S12). Конкретно, процессор 4831 управляет узлом 430 аппаратного механизма для отправки пробы для измерения, находящейся в реакционной камере узла 440 подготовки проб, в ПЦМ-детектор 410. Реакционная камера и ПЦМ-детектор 410 соединены друг с другом протоком, и отправленная из реакционной камеры проба для измерения протекает в проточной ячейке 4113 и облучается лазерным светом посредством источника 4111 света (см. ФИГ. 12). Когда содержащаяся в пробе для измерения клетка проходит через проточную ячейку 4113, на клетку воздействуют светом. Рассеянный вперед свет, рассеянный вбок свет и боковая флуоресценция, образованные клеткой, детектируются соответственно принимающими свет элементами 4116, 4121, 4122, и выводятся аналоговые сигналы, соответствующие интенсивности видов принятого света. Аналоговые сигналы выводятся в A/D преобразователь 482 через узел 420 аналоговой обработки.

[0116] A/D преобразователь 482 дискретизирует каждый аналоговый сигнал с заданной частотой, создавая цифровой сигнал, включающий данные о форме волны каждой индивидуальной клетки (стадия S13). Способы создания данных о форме волны и цифрового сигнала описаны выше. Процессор 4831 сохраняет цифровой сигнал, созданный A/D преобразователем 482, в хранилище 460.

[0117] Процессор 4831 передает цифровой сигнал, сохраненный в хранилище 460, и идентификационную информацию в анализатор 1 клеток (стадия S14). Процессор 4831 добавляет к цифровому сигналу, сохраненному в хранилище 460, идентификационную информацию, соответствующую цифровому сигналу, и передает цифровой сигнал с идентификационной информацией в анализатор 1 клеток через узел интерфейса 490, внутреннюю сеть 3 или Интернет 9. Идентификационная информация включает, в дополнение к ID пациента, ID образца и информации о канале измерения, ID устройства, представляющий собой информацию, уникальную для устройства 4000 измерения клеток.

[0118] После приема цифрового сигнала и идентификационной информации от процессора 4831 измерительного блока 400, процессор 11 анализатора 1 клеток выполняет классификацию клеток по принятому цифровому сигналу на основании алгоритма 60 глубокого обучения (стадия S21). Классификация клеток будет подробно описана позднее. Процессор 11 передает результат 83 анализа, включая классификационную информацию 82 о каждой индивидуальной клетке, полученную в качестве результата стадии S21, в обрабатывающий блок 300 вместе с идентификационной информацией (стадия S22). Более конкретно, процессор 11 передает результат 83 анализа в обрабатывающий блок 300 устройства 4000 измерения клеток, указанного посредством ID устройства, включенного в идентификационную информацию. Идентификационная информация, переданная в обрабатывающий блок 300 вместе с результатом 83 анализа, может включать ID пациента, ID образца и информацию о канале измерения, но может необязательно включать ID устройства. Что касается результата 83 анализа, то результат 83 анализа каждой из множества клеток, содержащихся в одном образце, посылают в связи с вышеописанной идентификационной информацией в обрабатывающий блок 300.

[0119] После приема результатов 83 анализа из анализатора 1 клеток, процессор 3001 обрабатывающего блока 300 анализирует результаты 83 анализа с использованием хранящейся в хранилище 3004 программы и создает результат теста образца (стадия S3). В процессе стадии S3, например, на основании значений метки, включенных в результаты 83 анализа индивидуальных клеток, подсчитывается число клеток для каждого типа клеток. Например, применительно к одному образцу, когда присутствует N фрагментов классификационной информации с присвоенным значением метки «1», которое указывает на нейтрофил, в качестве результата теста образца получают результат подсчета, что число нейтрофилов=N.

[0120] Процессор 3001 получает результат подсчета применительно к параметру измерения, соответствующему каналу измерения, на основании результатов 83 анализа и сохраняет результат подсчета, совместно с идентификационной информацией, в хранилище 3004. Параметр измерения, соответствующий каналу измерения, представляет собой параметр, результат подсчета которого запрошен в заказе на измерение. Например, параметр измерения, соответствующий каналу DIFF, представляет собой количества по пяти классификациям лейкоцитов, т.е. моноцитов, нейтрофилов, лимфоцитов, эозинофилов и базофилов. Параметр измерения, соответствующий каналу RET, представляет собой количество ретикулоцитов. Параметр измерения, соответствующий каналу PLT-F, представляет собой количество тромбоцитов. Параметр измерения, соответствующий WPC, представляет собой количество гематопоэтических клеток-предшественников. Параметр измерения, соответствующий WNR, представляет собой количества лейкоцитов и ядросодержащих эритроцитов. Результат подсчета не ограничен результатом по тому параметру (также называемому «регистрируемым параметром»), для которого запрошено измерение, как перечислено выше, и может включать результат подсчета другой клетки, измерение которой можно проводить в том же самом канале измерения. Например, когда канал измерения представляет собой DIFF, как показано на ФИГ. 4, в результат подсчета также включаются незрелые гранулоциты (IG) и аномальные клетки в дополнение к пяти классификациям лейкоцитов. Кроме того, процессор 3001 анализирует полученный результат подсчета для создания результата теста образца и сохраняет этот результат в хранилище 3004. Анализ результата подсчета включает выполнение определения того, например, лежит ли результат подсчета в диапазоне нормальных значений, детектированы ли какие-либо аномальные клетки, лежит ли отличие от результата предшествующего теста в допустимом диапазоне, и т.п.

[0121] Процессор 3001 отображает созданный результат теста на узле 3015 отображения (стадия S4). Результат теста отображают вместе с идентификационной информацией, связанной с результатом 83 анализа, являющимся источником результата теста. Конкретно, результат теста отображают вместе с ID пациента, ID образца, каналом измерения и ID устройства. Идентификационная информация, отображаемая с результатом теста, может представлять собой по меньшей мере один из них.

[0122] Далее, со ссылкой на ФИГ. 25, будет описан процесс классификации клеток на стадии S21. Процесс классификации клеток на стадии S21 представляет собой процесс, выполняемый процессором 11, в соответствии с функционированием аналитического программного обеспечения 111. Процессор 11 вынуждает передавать каждый цифровой сигнал, принятый в ОЗУ 14 на стадии S13, в процессор 12 для параллельной обработки (S101). Как показано на ФИГ. 20, процессор 11 вынуждает передавать цифровой сигнал методом ПДП из ОЗУ 14 в ОЗУ 122. Например, процессор 11 управляет контроллером 181 шины для ПДП-передачи цифрового сигнала из ОЗУ 14 в ОЗУ 122.

[0123] Процессор 11 дает команду процессор 12 для параллельной обработки исполнять параллельную обработку данных о форме волны, включенных в цифровой сигнал (S102). Процессор 11 дает команду на исполнение параллельной обработки, например, посредством вызова функции ядра процессора 12 для параллельной обработки. Процесс, исполняемый процессором 12 для параллельной обработки, будет описан далее со ссылкой на блок-схему, показанную в качестве примера на ФИГ. 26. Процессор 11 дает команду процессору 12 для параллельной обработки на исполнение матричной операции, например, относящейся к алгоритму 60 глубокого обучения. Цифровой сигнал разбивается на множество фрагментов данных о форме волны для их последовательного введения в алгоритм 60 глубокого обучения. Индекс, соответствующий каждой клетке и включенный в цифровой сигнал, не вводится в алгоритм 60 глубокого обучения. Данные о форме волны, введенные в алгоритм 60 глубокого обучения, подвергаются арифметическим операциям, выполняемым процессором 12 для параллельной обработки.

[0124] Процессор 11 принимает результаты арифметических операций, исполняемых процессором 12 для параллельной обработки (S103). Арифметические результаты передаются методом ПДП из ОЗУ 122 в ОЗУ 14, например, как показано на ФИГ. 20.

[0125] На основании арифметических результатов от процессора 12 для параллельной обработки, процессор 11 создает результат анализа типа клетки для каждой измеренной клетки (S104).

[0126] На ФИГ. 26 показан пример функционирования арифметических процессов процессора 12 для параллельной обработки, исполняемых на основании инструкции от аналитического программного обеспечения 111.

[0127] Процессор 11, исполняющий аналитическое программное обеспечение 111, вынуждает процессор 12 для параллельной обработки исполнять назначение арифметических процессов арифметическим блокам 121 (S110). Например, процессор 11 вынуждает процессор 12 для параллельной обработки исполнять назначение арифметических процессов арифметическим блокам 121 посредством вызова функции ядра процессора 12 для параллельной обработки. Как показано на ФИГ. 20, например, матричную операцию, относящуюся к алгоритму 60 глубокого обучения, разделяют на множество арифметических процессов, и соответствующие разделенные арифметические процессы назначают арифметическим блокам 121. Множество фрагментов данных о форме волны последовательно вводят в алгоритм 60 глубокого обучения. Матричную операцию, соответствующую данным о форме волны, разделяют на множество арифметических процессов, назначаемых арифметическим блокам 121.

[0128] Арифметические процессы обрабатываются параллельно множеством арифметических блоков 121 (S111). Арифметические процессы исполняют на множестве фрагментов данных о форме волны.

[0129] Арифметические результаты, созданные посредством параллельной обработки множеством арифметических блоков 121, передаются из ОЗУ 122 в ОЗУ 14 (S112). Например, арифметические результаты передаются методом ПДП из ОЗУ 122 в ОЗУ 14.

<Второе устройство измерения клеток и измерение биологического образца во втором устройстве измерения клеток>

[0130] В качестве примера конфигурации второго устройства 4000' измерения клеток показан пример блок-схемы анализатора частиц мочи или анализатора биологической жидкости, в котором измерительный блок 500 представляет собой проточный цитометр для измерения пробы мочи или пробы биологической жидкости.

[0131] ФИГ. 27 представляет собой пример блок-схемы измерительного блока 500. На ФИГ. 27 измерительный блок 500 включает в себя: узел 501 распределения образцов; узел 502 подготовки проб; оптический детектор 505; усиливающую схему 550, которая усиливает выходной сигнал (выходной сигнал, усиленный предусилителем) оптического детектора 505; фильтрующую схему 506, которая выполняет процесс фильтрации выходного сигнала из усиливающей схемы 550; A/D преобразователь 507, который преобразует выходной сигнал (аналоговый сигнал) фильтрующей схемы 506 в цифровой сигнал; схему 508 обработки цифрового значения, которая выполняет заданный процесс на цифровом сигнале; память 509, соединенную со схемой 508 обработки цифрового значения; микрокомпьютер 511, соединенный с узлом 501 распределения образцов, узлом 502 подготовки проб, усиливающей схемой 550, схемой 508 обработки цифрового значения и устройством-хранилищем 511а; и адаптер 512 LAN (локальной сети), соединенный с микрокомпьютером 511.

[0132] Обрабатывающий блок 300 соединен с измерительным блоком 500, например, посредством кабеля LAN через адаптер 512 LAN. Посредством этого обрабатывающего блока 300 выполняют анализ данных измерения, полученных измерительным блоком 500. Оптический детектор 505, усиливающая схема 550, фильтрующая схема 506, A/D преобразователь 507, схема 508 обработки цифрового значения и память 509 образуют узел 510 оптического измерения, который измеряет пробу для измерения и создает данные измерения.

[0133] Измерительный блок 500 может получать доступ во внутреннюю сеть 3 или Интернет 6 через адаптер 512 LAN для коммуникации с анализатором 1 клеток. Измерительный блок 500 передает полученные данные о форме волны в анализатор 1 клеток. Измерительный блок 500 или обрабатывающий блок 300 передает в анализатор 1 клеток данные о форме волны и идентификационную информацию в связи друг с другом. Примеры идентификационной информации включают: (1) идентификационную информацию биологического образца, соответствующего данным о форме волны; (2) идентификационную информацию клетки, соответствующей данным о форме волны; (3) идентификационную информацию пациента, соответствующего данным о форме волны; (4) идентификационную информацию теста, соответствующего данным о форме волны; (5) идентификационную информацию анализатора клеток, которым были измерены данные о форме волны; и (6) идентификационную информацию связанного с тестированием отделения 2, где были измерены данные о форме волны. Когда измерительный блок 500 принимает заказ на тест, например, от LIS или обрабатывающего блока 300, измерительный блок 500 может получать по меньшей мере одну из вышеуказанной идентификационной информации (1) - (6) или их комбинацию из LIS или обрабатывающего блока 300. Например, по меньшей мере одну из (1) - (6), показанных в качестве примеров, передают в анализатор 1 клеток в связи с данными о форме волны. Множество комбинаций (1) - (6), показанных в качестве примеров, можно передавать в анализатор 1 клеток в комбинации с данными о форме волны.

[0134] На ФИГ. 28 показана конфигурация оптического детектора 505 измерительного блока 500. На ФИГ. 28 конденсаторная линза 552 конденсирует в проточной ячейке 551 лазерный свет, излученный от источника 553 света в виде полупроводникового лазера, служащего в качестве источника света, и конденсаторная линза 554 конденсирует на принимающем рассеянный вперед свет узле 555 рассеянный вперед свет, излученный от частицы в пробе для измерения. Другая конденсаторная линза 556 конденсирует на дихроическом зеркале 557 рассеянный вбок свет и флуоресценцию, излученные от частицы. Дихроическое зеркало 557 отражает рассеянный вбок свет к принимающему рассеянного вбок свет узлу 558 и позволяет флуоресценции проходить сквозь него к принимающему флуоресценцию узлу 559. Эти световые сигналы отражают характеристики частицы в пробе для измерения. Принимающий рассеянный вперед свет узел 555, принимающий рассеянного вбок свет узел 558 и принимающий флуоресценцию узел 559 преобразуют световые сигналы в электрические сигналы и выводят сигнал рассеянного вперед света, сигнал рассеянного вбок света и сигнал флуоресценции соответственно. Эти выходные сигналы усиливаются предусилителем и затем подвергаются последующей обработке. Что касается каждого из принимающего рассеянный вперед свет узла 555, принимающего рассеянный вбок свет узла 558 и принимающего флуоресценцию узла 559, то можно осуществлять переключение вывода с низкой чувствительностью и вывода с высокой чувствительностью посредством переключения управляющего напряжения. Переключение этих чувствительностей выполняется микрокомпьютером 511. В настоящем варианте осуществления в качестве принимающего рассеянный вперед свет узла 555 можно использовать фотодиод, в качестве принимающего рассеянный вбок свет узла 558 и принимающего флуоресценцию узла 559 можно использовать фотоумножители, или же в качестве принимающего рассеянный вбок свет узла 558 и принимающего флуоресценцию узла 559 можно использовать фотодиоды. Сигнал флуоресценции, выводимый из принимающего флуоресценцию узла 559, усиливается предусилителем и затем предоставляется разветвленным двум каналам сигналов. Два канала сигналов соединены с усиливающей схемой 550, описанной выше со ссылкой на ФИГ. 27. Флуоресценцию, вводимую в один из каналов сигналов, усиливается усиливающей схемой 550 так, чтобы иметь высокую чувствительность.

(Подготовка пробы для измерения)

[0135] ФИГ. 29 представляет собой схематический рисунок, показывающий функциональную конфигурацию узла 502 подготовки проб и оптического детектора 505, показанных на ФИГ. 27. Узел 501 распределения образцов, показанный на ФИГ. 27 и ФИГ. 29, включает в себя всасывающую трубку 517 и шприцевой насос. Узел 501 распределения образцов всасывает образец (мочу или биологическую жидкость) 00b через всасывающую трубку 517 и распределяет образец в узел 502 подготовки проб. Узел 502 подготовки проб включает в себя реакционную камеру 512u и реакционную камеру 512b. Узел 501 распределения образцов распределяет количественно оцененную пробу для измерения в каждую из реакционной камеры 512u и реакционной камеры 512b.

[0136] В реакционной камере 512u, распределенный биологический образец смешивают с первым реагентом 519u в качестве разбавителя и третьим реагентом 518u, содержащим краситель. Благодаря красителю, содержащемуся в третьем реагенте 518u, частицы в биологическом пробе окрашиваются. Когда биологический образец представляет собой мочу, подготовленную в реакционной камере 512u пробу используют в качестве первой пробы для измерения для проведения анализа частиц мочи, которые являются относительно крупными, таких как эритроциты, лейкоциты, эпителиальные клетки или клетки опухолей. Когда биологический образец представляет собой биологическую жидкость, подготовленную в реакционной камере 512u пробу используют в качестве третьей пробы для измерения для проведения анализа эритроцитов в биологической жидкости.

[0137] В то же время в реакционной камере 512b распределенный биологический образец смешивают со вторым реагентом 519b в качестве разбавителя и четвертым реагентом 518b, содержащим краситель. Как описано далее, второй реагент 519b оказывает гемолитическое действие. Благодаря красителю, содержащемуся в четвертом реагенте 518b, частицы в биологическом пробе окрашиваются. Когда биологический образец представляет собой мочу, подготовленная в реакционной камере 512b проба служит в качестве второй пробы для измерения для проведения анализа бактерий в моче. Когда биологический образец представляет собой биологическую жидкость, подготовленная в реакционной камере 512b проба служит в качестве четвертой пробы для измерения для проведения анализа ядросодержащих клеток (лейкоцитов и крупных клеток) и бактерий в биологической жидкости.

[0138] От реакционной камеры 512u до проточной ячейки 551 оптического детектора 505 проходит трубка, в результате чего подготовленная в реакционной камере 512u проба для измерения может подаваться в проточную ячейку 551. На выходе из реакционной камеры 512u предусмотрен соленоидный клапан 52lu. От реакционной камеры 512b также проходит трубка, и эта трубка соединена с частью трубки, проходящей от реакционной камеры 512u. Соответственно, подготовленная в реакционной камере 512b проба для измерения может подаваться в проточную ячейку 551. На выходе из реакционной камеры 512и предусмотрен соленоидный клапан 521b.

[0139] Трубка, проходящая от реакционных камер 512u, 512b до проточной ячейки 551, разветвляется перед проточной ячейкой 551, и ответвленная трубка соединена со шприцевым насосом 520а. Между шприцевым насосом 520а и точкой ответвления предусмотрен соленоидный клапан 521с.

[0140] Между точкой соединения трубок, проходящих от соответствующих реакционных камер 512u, 512b, и точкой ответвления трубка дополнительно разветвляется, и ответвленная трубка соединена со шприцевым насосом 520b. Между точкой ответвления трубки, проходящей от шприцевого насоса 520b, и точкой соединения, предусмотрен соленоидный клапан 521d.

[0141] Узел 502 подготовки проб имеет соединенный с ним узел 522 хранения обжимающей жидкости, который хранит обжимающую жидкость, и узел 522 хранения обжимающей жидкости соединен с проточной ячейкой 551 посредством трубки. Узел 522 хранения обжимающей жидкости имеет соединенный с ним компрессор 522а, и когда компрессор 522а приводят в действие, сжатый воздух подается в узел 522 хранения обжимающей жидкости, и обжимающую жидкость подают из узла 522 хранения обжимающей жидкости в проточную ячейку 551.

[0142] Что касается двух видов суспензий (проб для измерений), подготовленных в соответствующих реакционных камерах 512u, 512b, то суспензию (первую пробу для измерения, когда биологический образец представляет собой мочу; третью пробу для измерения, когда биологический образец представляет собой биологическую жидкость) в реакционной камере 512u проводят в оптический детектор 505, формируя окруженный обжимающей жидкостью тонкий поток в проточной ячейке 551, и воздействуют на тонкий поток лазерным светом. Затем, аналогичным образом, суспензию (вторую пробу для измерения, когда биологический образец представляет собой мочу; четвертую пробу для измерения, когда биологический образец представляет собой биологическую жидкость) в реакционной камере 512b проводят в оптический детектор 505, формируя тонкий поток в проточной ячейке 551, и воздействуют на тонкий поток лазерным светом. Такие операции выполняют автоматически, вынуждая соленоидные клапаны 521а, 521b, 521с, 521d, узел 503 привода и т.п. функционировать под управлением микрокомпьютера 511 (контроллера).

[0143] Далее будет подробно описаны реагенты с первого по четвертый. Первый реагент 519u представляет собой реагент с буфером в качестве главного компонента, содержит средство для компенсации осмотического давления с тем, чтобы обеспечить получение стабильного сигнала флуоресценции без гемолиза эритроцитов, и доведен до 100-600 мОсм/кг с тем, чтобы реализовать осмотическое давление, подходящее для классификационного измерения. Предпочтительно, первый реагент 519u не оказывает гемолитического действия на эритроциты в моче.

[0144] В отличие от первого реагента 519u, второй реагент 519b оказывает гемолитическое действие. Это предназначено для облегчения прохождения описанного далее четвертого реагента 518b через клеточные мембраны бактерий с тем, чтобы способствовать окрашиванию. Кроме того, это предназначено также для ограничения контаминантов, таких как слизистые волокна и фрагменты эритроцитов. Второй реагент 519b содержит поверхностно-активное вещество, чтобы приобрести гемолитическое действие. В качестве поверхностно-активного вещества можно использовать множество анионных, неионных и катионных поверхностно-активных веществ, однако катионное поверхностно-активное вещество является особенно подходящим. Поскольку поверхностно-активное вещество может разрушать клеточные мембраны бактерий, нуклеиновые кислоты из бактерий можно эффективно окрашивать красителем, содержащимся в четвертом реагенте 518b. В результате, измерение бактерий можно выполнять посредством кратковременного способа окрашивания.

[0145] В качестве другого варианта осуществления, второй реагент 519b может приобретать гемолитическое действие не с помощью поверхностно-активного вещества, а в результате доведения до кислого или имеющего низкий рН. Имеющий низкий рН означает, что рН является более низким, чем рН первого реагента 519u. Когда первый реагент 519u лежит в диапазоне от нейтрального или слабо кислого до слабо щелочного, второй реагент 19b является кислым или сильно кислым. Когда рН первого реагента 519u составляет 6,0-8,0, рН второго реагента 519b является более низким, чем этот, и предпочтительно составляет 2,0-6,0.

[0146] Второй реагент 519b может содержать поверхностно-активное вещество и может быть доведен до низкого рН.

[0147] В качестве другого варианта осуществления, второй реагент 519b может приобретать гемолитическое действие за счет наличия более низкого осмотического давления, чем первый реагент 19u.

[0148] В то же время первый реагент 519u не содержит какого-либо поверхностно-активного вещества. В другом варианте осуществления первый реагент 519u может содержать поверхностно-активное вещество, но его вид и концентрацию необходимо корректировать так, чтобы не подвергать эритроциты гемолизу. Таким образом, предпочтительно, первый реагент 519u не содержит такого же поверхностно-активного вещества, как и у второго реагента 519b, или даже если первый реагент 519u содержит такое же поверхностно-активное вещество, как и у второго реагента 519b, концентрация поверхностно-активного вещества в первом реагенте 519u является более низкой, чем во втором реагенте 519b.

[0149] Третий реагент 518u представляет собой окрашивающий реагент для применения в измерении частиц мочи (эритроцитов, лейкоцитов, эпителиальных клеток, цилиндры или т.п.). В качестве красителя, содержащегося в третьем реагенте 518u, выбирают краситель, который окрашивает мембраны, чтобы окрашивать также частицы, не имеющие нуклеиновых кислот. Предпочтительно, третий реагент 518u содержит средство для компенсации осмотического давления с целью предотвращения гемолиза эритроцитов и с целью получения стабильной интенсивности флуоресценции и доведен до 100-600 мОсм/кг с тем, чтобы реализовать осмотическое давление, подходящее для классификационного измерения. Клеточную мембрану и ядро (мембрану) частиц мочи окрашивают посредством третьего реагента 518u. В качестве окрашивающего реагента, содержащего краситель, который окрашивает мембраны, используют производное конденсированного бензола, и можно использовать, например, краситель на основе цианина. Третий реагент 518u окрашивает не только клеточные мембраны, но и ядерные мембраны. Когда третий реагент 518u используют в ядросодержащих клетках, таких как лейкоциты и эпителиальные клетки, интенсивность окрашивания в цитоплазме (клеточная мембрана) и интенсивность окрашивания в ядре (ядерная мембрана) объединяются, в результате чего интенсивность окрашивания становится выше, чем в частицах мочи, не имеющих нуклеиновых кислот. Соответственно, ядросодержащие клетки, такие как лейкоциты и эпителиальные клетки, можно отличать от частиц мочи, не имеющих нуклеиновых кислот, таких как эритроциты. В качестве третьего реагента можно использовать реагенты, описанные в публикации патента США №US 5891733. Содержание публикации патента США №US 5891733 включено сюда по ссылке. Третий реагент 518u смешивают с мочой или биологической жидкостью, совместно с первым реагентом 519u.

[0150] Четвертый реагент 518b представляет собой окрашивающий реагент, который позволяет точно измерять бактерии, даже когда образец содержит контаминанты, имеющие размеры, эквивалентные размерам бактерий и грибов. Четвертый реагент 518b подробно описан в публикации заявки на европейский патент №ЕР 1136563. В качестве красителя, содержащегося в четвертом реагенте 518b, подходящим образом используют краситель, окрашивающий нуклеиновые кислоты. В качестве окрашивающего реагента, содержащего краситель, который окрашивает ядра, можно использовать, например, краситель на основе цианина из патента США №US 7309581. Четвертый реагент 518b смешивают с мочой или образцом, совместно со вторым реагентом 519b. Содержания публикации заявки на европейский патент №ЕР 1136563 и патента США №US 7309581 включены сюда по ссылке.

[0151] Таким образом, предпочтительно, третий реагент 518u содержит краситель, который окрашивает клеточные мембраны, в то время как четвертый реагент 518b содержит краситель, который окрашивает нуклеиновые кислоты. Частицы мочи могут включать не имеющие ядра частицы, такие как эритроциты. Таким образом, с помощью третьего реагента 518u, содержащего краситель, который окрашивает клеточные мембраны, можно детектировать частицы мочи, включая частицы, не имеющие ядра. Поскольку второй реагент может разрушать клеточные мембраны бактерий, нуклеиновые кислоты бактерий и грибов можно эффективно окрашивать красителем, содержащимся в четвертом реагенте 18b. В результате измерение бактерий можно выполнять посредством кратковременного способа окрашивания.

[0152] Как показано на ФИГ. 12 и ФИГ. 28, измерительный блок 400 или измерительный блок 500 включает в себя проточную ячейку 4113, 551. В измерительном блоке 400 или измерительном блоке 500 биологический образец посылают в проточную ячейку 4113, 551. Биологический образец, поданный в проточную ячейку 4113, 551, облучают светом от источника 4112, 553 света, и рассеянный вперед свет, рассеянный вбок свет и боковую флуоресценцию, излученные от каждой клетки в биологическом образце, детектируют светодетекторами (4116, 4121, 4122, 555, 558, 559). Сигналы могут передаваться из светодетекторов (4116, 4121, 4122, 555, 558, 559) в анализатор 1 клеток. Анализатор 1 клеток получает данные о форме волны для рассеянного вперед света, рассеянного вбок света и боковой флуоресценции, детектированных светодетекторами (4116, 4121, 4122, 555, 558, 559).

<Функциональный блок и способ обработки>

(Процесс глубокого обучения)

[0153] На ФИГ. 30 показан пример функционального блока анализатора 1 клеток, выполняющего глубокое обучение. Со ссылкой на ФИГ. 30 узел 10 обработки анализатора 1 клеток в соответствии с настоящим вариантом осуществления включает в себя узел 101 создания обучающих данных, узел 102 ввода обучающих данных и узел 103 обновления алгоритма. Эти функциональные блоки реализуются, когда: программа для вынуждения компьютера исполнять процесс глубокого обучения инсталлирована в хранилище 13 узла 10 обработки; и программу исполняют процессором 11 и процессором 12 для параллельной обработки. В хранилище 13 или памяти 12 узла 10 обработки хранятся база данных (БД) 104 обучающих данных и база данных (БД) 105 алгоритмов. База данных (БД) 104 обучающих данных и базу данных (БД) 105 алгоритмов хранятся в хранилище 13 или ОЗУ 14 узла 10 обработки.

[0154] Обучающие данные 76а, 76b, 76с о форме волны получают заранее, например, посредством измерительного блока 400, 500, и сохраняют заранее в хранилище 13 или ОЗУ 14 узла 10 обработки.

[0155] Узел 10 обработки выполняет процессы, показанные на ФИГ. 31. Со ссылкой на функциональные блоки, показанные на ФИГ. 30, процессы стадий S211, S214 и S216, показанные на ФИГ. 31, выполняют узлом 101 создания обучающих данных. Процесс стадии S212 выполняют узлом 102 ввода обучающих данных. Процессы стадий S213 и S215 выполняют узлом 103 обновления алгоритма.

[0156] Со ссылкой на ФИГ. 31 будет описан пример процесса глубокого обучения, выполняемого узлом 10 обработки. Сначала узел 10 обработки получает обучающие данные 70а, 70b, 70с о форме волны. Обучающие данные 70а о форме волны представляют собой данные о форме волны рассеянного вперед света, обучающие данные 70b о форме волны представляют собой данные о форме волны рассеянного вбок света, и обучающие данные 70с о форме волны представляют собой данные о форме волны боковой флуоресценции. Обучающие данные 70а, 70b, 70с о форме волны получают, например, посредством выполнения операции оператором, из измерительного блока 400, 500, из носителя или через узел интерфейса 490 посредством коммуникационной сети. Когда получают обучающие данные 70а, 70b, 70с о форме волны, получают также информацию о том, на какой тип клетки указывают обучающие данные 70а, 70b, 70с о форме волны. Информация о том, какой тип клетки указан, может быть связанной с обучающими данными 70а, 70b, 70с о форме волны, или же может быть введена оператором.

[0157] На стадии S211 узел 10 обработки создает обучающие данные 75 из данных 70а, 70b, 70с о форме волны и значения метки 77.

[0158] На стадии S212 узел 10 обработки обучает нейронную сеть 50 с использованием обучающих данных 75. Результат обучения нейронной сети 50 накапливают каждый раз, когда выполняют обучение с использованием множества фрагментов обучающих данных 75.

[0159] В способе анализа типа клетки в соответствии с настоящим вариантом осуществления используют сверточную нейронную сеть и используют метод стохастического градиентного спуска. Таким образом, на стадии S213 узел 10 обработки определяет, накоплены или нет результаты обучения из предварительно установленного заданного количества раз испытаний. Когда результаты обучения из заданного количества раз испытаний накоплены (ДА), узел 10 обработки переходит к процессу стадии S214. Когда результаты обучения из заданного количества раз испытаний не накоплены (НЕТ), узел 10 обработки переходит к процессу стадии S215.

[0160] Затем, когда результаты обучения из заданного количества раз испытаний были накоплены, узел 10 обработки обновляет на стадии S214 вес w связи нейронной сети 50, используя результаты обучения, накопленные на стадии S212. В способе анализа типа клетки в соответствии с настоящим вариантом осуществления, поскольку используют метод стохастического градиентного спуска, вес w связи нейронной сети 50 обновляют на том этапе, когда были накоплены результаты обучения из заданного количества раз испытаний. Конкретно, процесс обновления веса w связи представляет собой процесс проведения вычислений в соответствии с методом градиентного спуска, представленным описанными далее формулой 12 и формулой 13.

[0161] На стадии S215 узел 10 обработки определяет, была или нет нейронная сеть 50 обучена с использованием заданного количества фрагментов обучающих данных 75. Когда обучение было выполнено с использованием заданного количества фрагментов обучающих данных 75 (ДА), процесс глубокого обучения заканчивается.

[0162] Когда нейронная сеть 50 не была обучена с использованием заданного количества фрагментов обучающих данных 75 (НЕТ), узел 10 обработки переходит от стадии S215 к стадии S216 и выполняет процессы от стадии S211 до стадии S215 по отношению к следующим обучающим данным о форме волны.

[0163] В соответствии с процессами, описанными выше, обучают нейронную сеть 50, в результате чего получают алгоритм 60 глубокого обучения.

(Структура нейронной сети)

[0164] Как описано выше, в настоящем варианте осуществления используют сверточную нейронную сеть. В (а) на ФИГ. 32 показан пример структуры нейронной сети 50. Нейронная сеть 50 включает в себя входной слой 50а, выходной слой 50b и средний слой 50с между входным слоем 50а и выходным слоем 50b. Средний слой 50с состоит из множества слоев. Число слоев, образующих средний слой 50с, может составлять, например, 5 или более, предпочтительно 50 или более, а более предпочтительно 100 или более.

[0165] В нейронной сети 50 между слоями соединено множество узлов 89, ранжированных по слоям. Соответственно, информация распространяется только в одном направлении, указанном стрелкой D на рисунке, от входного слоя 50а к выходному слою 50b.

(Арифметическая операция в каждом узле)

[0166] (b) на ФИГ. 32 представляет собой схематический рисунок, показывающий арифметические операции, выполняемые в каждом узле. Каждый узел 89 принимает множество вводов и рассчитывает один вывод (z). В случае примера, показанного в (b) на ФИГ. 32, узел 89 принимает четыре ввода. Общий ввод (u), принятый узлом 89, представлен формулой 2 ниже в качестве примера. В настоящем варианте осуществления в качестве обучающих данных 75 и данных 85 анализа используют одномерные матричные данные. Таким образом, когда переменные арифметического выражения соответствуют двумерным матричным данным, выполняют процесс преобразования переменных таким образом, чтобы они соответствовали одномерным матричным данным. [Математическое выражение 2]

Каждый ввод умножают на различный вес. В формуле 2b - это значение, называемое смещением. Вывод (z) узла служит в качестве вывода заданной функции f по отношению к общему вводу (u), представленному формулой 2, и представлен формулой 3 ниже. Функция f называется функцией активации.

[Математическое выражение 3]

(с) на ФИГ. 32 представляет собой схематический рисунок, показывающий арифметические операции между узлами. В нейронной сети 50 узлы, каждый из которых выводит результат (z), представленный формулой 3, по отношению к общему вводу (u) в узел 89, представленному формулой 2, ранжированы по слоям. Выводы из узлов предшествующего слоя служат вводами в узлы следующего слоя. В примере, показанном в (с) на ФИГ. 32, выводы узла 89а в левом слое служат вводами в узлы 89b в правом слое. Каждый узел 89b принимает выводы из узлов 89а. Связь между каждым узлом 89а и каждым узлом 89b умножают на различный вес. Когда соответствующие выводы из множества узлов 89а определяются как xl-x4, вводы в соответствующие три узла 89b представлены формулами с 4-1 по 4-3 ниже.

[Математическое выражение 4]

При обобщении формул с 4-1 по 4-3 получается формула4-4. Здесь i=1, …, I, j=1, …, J (I - общее число вводов, и J - общее число выводов). [Математическое выражение 5]

При применении формулы АА к функции активации получается вывод. Вывод представлен формулой 5 ниже.

[Математическое выражение 6]

(Функция активации)

В способе анализа типа клетки в соответствии с вариантом осуществления в качестве функции активации используют функцию блока линейной ректификации. Функция блока линейной ректификации представлена формулой 6 ниже.

[Математическое выражение 7]

Формула 6 представляет собой функцию, полученную при установке u=0 в часть u<0 в линейной функции с z=u. В примере, показанном в (с) на ФИГ. 32, с использованием формулы 6, вывод из узла j=1 представлен нижеприведенной формулой.

[Математическое выражение 8]

(Обучение нейронной сети)

Если функцию, выраженную с использованием нейронной сети, определяют как y(x:w), функция y(x:w) изменяется, когда изменяется параметр w нейронной сети. Коррекция функции y(x:w) таким образом, что нейронная сеть выбирает более подходящий параметр w применительно к вводу х, называется обучением нейронной сети. Принимают, что представлено множество пар ввода и вывода функции, выраженной с использованием нейронной сети. Если желательный вывод для ввода х определяют как d, пары ввода/вывода приведены как {(x1,d1), (x2,d2), …, (xn,dn)}. Набор пар, где каждая выражена как (x,d), называется обучающими данными. Конкретно, набор фрагментов данных о форме волны (данных о форме волны рассеянного вперед света, данных о форме волны рассеянного вбок света, данных о форме волны флуоресценции), показанный на ФИГ. 3, представляет собой обучающие данные, показанные на ФИГ. 3.

[0167] Обучение нейронной сети означает коррекцию веса w таким образом, что, применительно к любой паре ввода/вывода (xn,dn), вывод y(xn:w) нейронной сети при данном вводе хп становится как можно ближе к выводу dn. Функция ошибок является показателем близости

[Математическое выражение 9]

между обучающими данными и функцией, выраженной с использованием нейронной сети. Функцию ошибок также называют функцией потерь. Функция ошибок E(w), используемая в способе анализа типа клетки в соответствии с вариантом осуществления, представлена нижеприведенной формулой 7. Формула 7 называется перекрестной энтропией.

[Математическое выражение 10]

Далее будет описан способ расчета перекрестной энтропии формулы 7. В выходном слое 50b нейронной сети 50, используемой в способе анализа типа клетки в соответствии с вариантом осуществления, т.е. в последнем слое нейронной сети, используют функцию активации для классификации ввода х на конечное количество классов в соответствии с содержимым. Функция активации обозначена как функция softmax и представлена ниже формулой 8. Принимают, что в выходном слое 50b узлы ранжированы по такому же числу, как число классов k. Принимают, что общий ввод и из каждого узла k (k=1, …, K) выходного слоя L дан как uk(L) из выводов из предшествующего слоя L-1. Соответственно, вывод из k-того узла в выходном слое представлен ниже формулой 8.

[Математическое выражение 11]

Формула 8 представляет собой функцию softmax. Сумма выводов y1, …, yK, определенная по формуле 8, всегда составляет 1.

[0168] Когда каждый класс выражается как С1, …, CK, вывод yK из узла k в выходном слое L (т.е. uk(L)) представляет вероятность, с которой данный ввод х принадлежит к классу СК См. формулу 9 ниже. Ввод х классифицируют в тот класс, в котором вероятность, представленная формулой 9, становится наивысшей.

[Математическое выражение 12]

При обучении нейронной сети функцию, выраженную нейронной сетью, рассматривают в качестве модели апостериорной вероятности каждого класса, и правдоподобие веса w применительно к обучающим данным оценивают в такой вероятностной модели, и выбирают вес w, максимизирующий правдоподобие.

[0169] Принимают, что целевой вывод dn посредством функции softmax формулы 8 составляет 1 только тогда, когда вывод представляет собой правильный класс, а в ином случае целевой вывод dn составляет 0. Когда целевой вывод выражен в векторной форме dn=[dn1, …, dnK], если, например, правильный класс ввода хn представляет собой С3, только целевой вывод dn3 становится 1, а другие целевые выводы становятся 0. Когда выполняют кодирование этим способом, апостериорное распределение представлено ниже формулой 10.

[Математическое выражение 13]

Правдоподобие L(w) веса w применительно к обучающим данным {(xn, dn)}(n=1, …, N) представлено ниже формулой 11. При взятии логарифма правдоподобия L(w) и смене знака выводится функция ошибок формулы 7.

[Математическое выражение 14]

Обучение означает минимизацию функции ошибок E(w), рассчитанной на основании обучающих данных, применительно к параметру w нейронной сети. В способе анализа типа клетки в соответствии с вариантом осуществления функция ошибок E(w) представлена формулой 7.

[0170] Минимизация функции ошибок E(w) применительно к параметру w имеет такое же значение, как и нахождение точки локального минимума функции E(w). Параметр w представляет собой вес связи между узлами. Точку локального минимума веса w получают посредством итерационного расчета повторяющегося обновления параметра w от произвольного исходного значения, используемого в качестве начальной точки. Одним примером такого расчета является метод градиентного спуска.

[0171] В методе градиентного спуска используют вектор, представленный ниже формулой 12.

[Математическое выражение 15]

В методе градиентного спуска процесс продвижения значения текущего параметра w в направлении отрицательного градиента (т.е. -VE) повторяют множество раз. Когда текущий вес составляет w(t), а вес после продвижения составляет w(t+1), арифметическая операция в соответствии с методом градиентного спуска представлена нижеприведенной формулой 13. Значение t означает число раз продвижения параметра w. [Математическое выражение 16]

Символ

[Математическое выражение 17]

представляет собой константу, которая определяет размах обновленной величины параметра w и называется коэффициентом обучения. В результате повторения арифметической операции, представленной формулой 13, функция ошибок E(w(t)) уменьшается в связи с увеличением значения t, и параметр w достигает точки локального минимума.

[0172] Следует отметить, что арифметическую операцию в соответствии с формулой 13 можно выполнять для всех обучающих данных (n=1, …, N) или можно выполнять только для части обучающих данных. Метод градиентного спуска, выполняемый только для части обучающих данных, называется методом стохастического градиентного спуска. В способе анализа типа клетки в соответствии с вариантом осуществления используют метод стохастического градиентного спуска.

[3. Конструирование модели глубокого обучения]

[0173] Используя Sysmex XN-1000, кровь, собранную от здорового индивидуума, измеряли в качестве пробы здоровой крови, а в качестве пробы нездоровой крови измеряли XN CHECK Lv2 (контрольную кровь из Streck (подвергнутую обработке, такой как фиксация)). В качестве окрашивающего реагента для флуоресценции использовали Fluorocell WDF, изготовленный компанией Sysmex Corporation. В качестве гемолитического средства использовали Lysercell WDF, изготовленный компанией Sysmex Corporation. Для каждой клетки, содержащейся в каждом биологическом образце, данные о форме волны рассеянного вперед света, рассеянного вбок света и боковой флуоресценции получали в 1024 точках с интервалом 10 наносекунд от начала измерения рассеянного вперед света. Применительно к пробе здоровой крови, данные о форме волны клеток в крови, собранной от 8 здоровых индивидуумов, пулировали в форме цифровых данных. Применительно к данным о форме волны каждой клетки, классификацию нейтрофилов (НЕЙТР.), лимфоцитов (ЛИМФ.), моноцитов (МОНОЦ.), эозинофилов (ЭОЗ.), базофилов (BASO) и незрелых гранулоцитов (IG) выполняли вручную, и каждому фрагменту данных о форме волны присваивали аннотацию (присваивание метки) типа клетки. Временную точку, в которой интенсивность сигнала рассеянного вперед света превышала порог, определяли как временную точку начала измерения, и временные точки получения фрагментов данных о форме волны рассеянного вперед света, рассеянного вбок света и боковой флуоресценции синхронизировали друг с другом, создавая обучающие данные. Кроме того, контрольную кровь снабжали аннотацией «происходящая из контрольной крови клетка (КОНТР.)». Обучающие данные вводили в алгоритм глубокого обучения с тем, чтобы провести его обучение.

[0174] Применительно к клеткам крови другого здорового индивидуума, отличного от того здорового индивидуума, от которого получили обучающие данные клеток, аналитические данные о форме волны получали посредством Sysmex XN-1000 способом, сходным со способом для обучающих данных. Данные о форме волны, происходящие из контрольной крови, смешивали, создав данные анализа. По отношению к этим данным анализа, клетки крови, происходящие от здорового индивидуума, и клетки крови, происходящие из контрольной крови, перекрывались друг с другом на диаграмме рассеяния и совершенно не поддавались различению общепринятым способом. Эти данные анализа вводили в сконструированный алгоритм глубокого обучения и получали данные о типах индивидуальных клеток.

[0175] На ФИГ. 33 показан результат в виде смешанной матрицы. Горизонтальная ось представляет результат определения сконструированным алгоритмом глубокого обучения, а вертикальная ось представляет результат определения, полученный вручную человеком (эталонного способа). Несмотря на то, что применительно к результату определения сконструированным алгоритмом глубокого обучения наблюдали небольшую путаницу между базофилами и лимфоцитами и между базофилами и тенями, результат определения сконструированным алгоритмом глубокого обучения продемонстрировал степень совпадения 98,8% с результатом определения эталонным способом.

[0176] Затем, применительно к каждому типу клеток выполняли анализ ROC и оценивали чувствительность и специфичность. В (а) на ФИГ. 34 показана кривая ROC нейтрофила, в (b) на ФИГ. 34 показана кривая ROC лимфоцита, в (с) на ФИГ. 34 показана кривая ROC моноцита, в (а) на ФИГ. 35 показана кривая ROC нейтрофила, в (b) на ФИГ. 35 показана кривая ROC базофила, и в (с) на ФИГ. 35 показана кривая ROC контрольной крови (КОНТР.). Чувствительность и специфичность составляли, соответственно, 99,5% и 99,6% для нейтрофилов, 99,4% и 99,5% для лимфоцитов, 98,5% и 99,9% доя моноцитов, 97,9% и 99,8% для эозинофилов, 71,0% и 81,4% для базофилов и 99,8% и 99,6% для контрольной крови (КОНТР.). Это было хорошими результатами.

[0177] Из вышеприведенных результатов выяснили, что типы клеток можно определять с высокой точностью классификации, используя алгоритм глубокого обучения, на основании сигналов, полученных от клеток, содержащихся в биологическом образце, и на основании данных о форме волны.

[0178] Кроме того, в некоторых случаях, где клетки нездоровой крови, такой как контрольная кровь, смешивались с клетками здоровой крови, было сложно по обычной диаграмме рассеяния определять типы клеток. Однако было показано, что при использовании алгоритма глубокого обучения из настоящего варианта осуществления даже тогда, когда клетки нездоровой крови смешивались с клетками здоровой крови, можно было определить эти клетки.

[4. Система анализа с использованием анализатора изображений]

[0179] Далее будет описан вариант осуществления, в котором в качестве устройства измерения клеток использован анализатор изображений. Устройство 4000'' измерения клеток, представляющее собой анализатор изображений, анализирует данные захваченных изображений, таким образом оценивая тип клетки для каждой клетки, изображение которой было захвачено.

[0180] Устройство 4000'' измерения клеток соединено с анализатором 1 клеток, как в примере конфигурации системы, показанном на ФИГ. 6 - ФИГ. 9. Устройство 4000'' измерения клеток соединено с анализатором 1 клеток, например, через внутреннюю сеть 3. Устройство 4000'' измерения клеток соединено с анализатором 1 клеток, например, через узел интерфейса 4. Устройство 4000'' измерения клеток, установленное в каждом из связанных с тестированием отделений 2, может быть соединено с анализатором 1 клеток через Интернет 6.

[0181] На ФИГ. 36 показан пример конфигурации устройства 4000'' измерения клеток. Устройство 4000'' измерения клеток, показанное на ФИГ. 36, включает в себя измерительный блок 700 и обрабатывающий блок 800, измеряет пробу 901, подготовленную посредством предварительной обработки устройством 900 предварительной обработки, и выполняет анализ.

[0182] Измерительный блок 700 включает в себя проточную ячейку 710, источники 720-723 света, конденсаторные линзы 730-733, дихроические зеркала 740-741, конденсаторную линзу 750, оптический блок 751, конденсаторную линзу 752 и визуализирующий узел 760. Пробу 701 вынуждают протекать в протоке 711 проточной ячейки 710.

[0183] Каждый из источников 720-723 света подает свет на пробу 701, протекающую в проточной ячейке 710. Каждый из источников 720-723 света реализован, например, источником света в виде полупроводникового лазера. Свет с длинами волн λ11-λ14 излучают соответственно из источников 720-723 света. Конденсаторные линзы 730-733 конденсируют свет с длинами волн λ11-λ14, излученный соответственно из источников 720-723 света. Дихроическое зеркало 740 позволяет проходить сквозь него свету с длиной волны λ11 и отражает свет с длиной волны) λ12. Дихроическое зеркало 741 позволяет проходить сквозь него свету с длиной волны) λ11 и λ12 и отражает свет с длиной волны) λ13. Таким образом, разным светом с длинами волн λ11 и λ14 воздействуют на пробу 701, протекающую в протоке 711 проточной ячейки 710. Количество источников света в виде полупроводниковых лазеров измерительного блока 700 конкретно не ограничено, при условии, что их число составляет 1 или более. Количество источников света в виде полупроводниковых лазеров может быть выбрано, например, из 1, 2, 3, 4, 5 или 6.

[0184] В случае, когда проба 701, протекающая в проточной ячейке 710, была окрашена флуоресцентным красителем, когда разным светом с длинами волн λ11-λ13 воздействуют на пробу 701, образуется флуоресценция от флуоресцентного красителя, окрашивающего каждую клетку. Например, образуется флуоресценция с длинами волн λ21, λ22, λ23, соответствующими длинам волн λ11, λ12, λ13 соответственно. Когда светом с длиной волны λ14 воздействуют на пробу 701, протекающую в проточной ячейке 710, этот свет проходит через каждую клетку. Пропускаемый свет, имеющий длину волны λ14 и прошедший через клетку, используют для создания светлопольного изображения.

[0185] Конденсаторная линза 750 конденсирует флуоресценции, образовавшиеся от пробы 701, протекающей в протоке 711 проточной ячейки 710, и пропускаемый свет, прошедший через пробу 701, протекающую в протоке 711 проточной ячейки 710. Оптический блок 751 имеет конфигурацию, в которой скомбинированы четыре дихроических зеркала. Четыре дихроических зеркала оптического блока 751 отражают флуоресценции и пропускаемый свет под углами, немного отличающимися друг от друга, чтобы разделять их на принимающей свет поверхности визуализирующего узла 760. Конденсаторная линза 752 конденсирует флуоресценции и пропускаемый свет.

[0186] Визуализирующий узел 760 реализован камерой TDI (с временной задержкой и накоплением). Визуализирующий узел 760 может захватывать изображения флуоресценций и пропускаемого света и выводить в обрабатывающий блок 800 изображение флуоресценции, соответствующее флуоресценциям, и светлопольное изображение, соответствующее пропускаемому свету, в качестве сигналов визуализации.

[0187] Обрабатывающий блок 800 включает в себя узел 811 обработки, хранилище 812, узел интерфейса 816, узел интерфейса 817 и шину 815 в качестве конфигурации аппаратных средств. Узел 811 обработки, хранилище 812, узел интерфейса 816 и узел интерфейса 817 соединены с шиной 815. Данные изображения (например, изображения флуоресценции, светлопольного изображения), сформированные сигналами визуализации, захваченными визуализирующим узлом 760 измерительного блока 700, сохраняют в хранилище 812 через узел интерфейса 816. Узел 811 обработки выполняет процесс считывания данных изображения из хранилища 812 и передачи данных изображения в анализатор 1 клеток через узел интерфейса 817. Узел интерфейса 817 представляет собой, например, интерфейс для соединения узла 811 обработки с интерфейсом USB, внутренней сетью 3 или Интернетом 6. Узел 811 обработки исполняет процессы над результатом анализа, переданным из анализатора 1 клеток.

[0188] Анализатор 1 клеток может получать данные изображения от множества устройств 4000'' измерения клеток в одном и том же связанном с тестированием отделении 2. Кроме того, анализатор 1 клеток может получать данные изображения от множества устройств 4000'' измерения клеток, установленных в каждом из различных связанных с тестированием отделений 2. Данные изображения получают для каждой клетки в биологическом образце, тестированном в каждом из связанных с тестированием отделений 2. Таким образом, если данными изображения не управляют соответствующим образом, может возникать путаница данных, например, между пациентами, между биологическими образцами или между связанными с тестированием отделениями 2. Поэтому обрабатывающий блок 200 передает в анализатор 1 клеток данные изображения и идентификационную информацию в связи друг с другом. Примеры идентификационной информации включают: (1) идентификационную информацию биологического образца, соответствующего сигналу визуализации; (2) идентификационную информацию клетки, соответствующей сигналу визуализации; (3) идентификационную информацию пациента, соответствующего сигналу визуализации; (4) идентификационную информацию теста, соответствующего сигналу визуализации; (5) идентификационную информацию устройства, которым был измерен сигнал визуализации; и (6) идентификационную информацию связанного с тестированием отделения 2, где был измерен сигнал визуализации. Когда устройство 4000'' измерения клеток принимает заказ на тест, например, от LIS или обрабатывающего блока 200, устройство 4000'' измерения клеток может получать по меньшей мере одну из вышеуказанной идентификационной информации (1) - (6) или их комбинацию из LIS или обрабатывающего блока 200. Например, по меньшей мере одну из (1) - (6), показанных в качестве примеров, передают в анализатор 1 клеток в связи с данными изображения. Множество комбинаций (1) - (6), показанных в качестве примеров, можно передавать в анализатор 1 клеток в связи с данными изображений.

[5. Система анализа с использованием анализатора изображений]

Далее будет описан вариант осуществления, в котором в качестве устройства измерения клеток использовано визуализирующее устройство. Анализатор 4000''' клеток, представляющий собой визуализирующее устройство, анализирует данные захваченных изображений, таким образом оценивая тип клетки для каждой клетки, изображение которой было захвачено.

[0189] Устройство 4000''' измерения клеток соединено с анализатором 1 клеток по примеру конфигурации системы, показанному на ФИГ. 6 - ФИГ. 9. Устройство 4000''' измерения клеток соединено с анализатором 1 клеток, например, через внутреннюю сеть 3. Устройство 4000''' измерения клеток соединено с анализатором 1 клеток, например, через узел интерфейса 4. Устройство 4000''' измерения клеток, установленное в каждом из связанных с тестированием отделений 2, может быть соединено с анализатором 1 клеток через Интернет 6.

[0190] На ФИГ. 37 показан пример конфигурации устройства 4000''' измерения клеток. Устройство 4000''' измерения клеток, показанное на ФИГ. 37, включает в себя устройство 301 захвата изображений и флуоресцентный микроскоп 302 и захватывает светлопольное изображение обучающего препарата 308, установленного на столик 309. Обучающий препарат 308 подвергали окрашиванию. Анализатор 1 клеток получает обучающее изображение 70, захваченное устройством 4000''' измерения клеток. Анализатор 1 клеток выполняет обучение алгоритма глубокого обучения на основании полученного обучающего изображения 70. Анализатор 1 клеток получает изображение-цель анализа 78, захваченное устройством 4000''' измерения клеток. Анализатор 1 клеток анализирует полученное изображение-цель анализа 78 на основании алгоритма глубокого обучения.

[0191] В качестве устройства 4000''' измерения клеток можно использовать известный световой микроскоп, известный сканер виртуальных слайдов или т.п., который имеет функцию фиксации препарата.

[0192] Анализатор 1 клеток может получать изображение-цель анализа 78 от множества устройств 4000''' измерения клеток в одном и том же связанном с тестированием отделении 2. Кроме того, анализатор 1 клеток может получать изображение-цель анализа 78 из множества устройств 4000''' измерения клеток, установленных в каждом из различных связанных с тестированием отделений 2. Изображение-цель анализа 78 получают для каждой клетки в биологическом образце, тестированном в каждом из связанных с тестированием отделений 2. Таким образом, если изображением-целью анализа 78 не управляют соответствующим образом, может возникать путаница данных, например, между пациентами, между биологическими образцами или между связанными с тестированием отделениями 2. Поэтому устройство 4000''' измерения клеток передает в анализатор 1 клеток изображение-цель анализа 78 и идентификационную информацию в связи друг с другом. Примеры идентификационной информации включают: (1) идентификационную информацию биологического образца, соответствующего сигналу визуализации; (2) идентификационную информацию клетки, соответствующей сигналу визуализации; (3) идентификационную информацию пациента, соответствующего сигналу визуализации; (4) идентификационную информацию теста, соответствующего сигналу визуализации; (5) идентификационную информацию устройства, которым был измерен сигнал визуализации; и (6) идентификационную информацию отделения, где был измерен сигнал визуализации. Когда устройство 4000''' измерения клеток принимает заказ на тест, например, из LSI или ввода пользователем, устройство 4000''' измерения клеток может получать по меньшей мере одну из вышеуказанной идентификационной информации (1) - (6) или их комбинацию из LIS или ввода пользователем. Например, по меньшей мере одну из (1) - (6), показанных в качестве примеров, передают в анализатор 1 клеток в связи с сигналом визуализации. Множество комбинаций (1) - (6), показанных в качестве примеров, можно передавать в анализатор 1 клеток в связи с сигналом визуализации.

<Создание обучающих данных>

[0193] Далее будет описан пример создания обучающих данных в настоящем варианте осуществления.

[0194] Предпочтительно, обучающие изображения, подлежащие использованию для обучения алгоритма глубокого обучения, захватывают в цветах RGB, в цветах CMY или т.п. Предпочтительно, в отношении цветного изображения, темноту/бледность или яркость каждого из первичных цветов, таких как красный, зеленый и синий, или голубой, пурпурный и желтый, выражают 24-битным значением (8 бит × 3 цвета). Достаточно, чтобы каждое обучающее изображение включало по меньшей мере один оттенок и темноту/бледность или яркость такого оттенка, но более предпочтительно, оно включает по меньшей мере два оттенка и темноту/бледность или яркость каждого оттенка. Информацию, включающую оттенок и темноту/бледность или яркость оттенка, также называют тоном.

[0195] Информацию о тоне каждого пикселя в обучающем изображении преобразуют, например, из цветов RGB в формат, который включает информацию о яркости и информацию об оттенке. Примеры формата, включающего информацию о яркости и информацию об оттенке, включают YUV (YCbCr, YPbPr, YIQ и т.д.). Здесь будет описан пример преобразования в формат YCbCr. Обучающее изображение, захваченное в цветах RGB, преобразуют в данные изображений, основанные на яркости, данные изображений, основанные на первом оттенке (например, синеватом цвете), и данные изображений, основанные на втором оттенке (например, красноватом цвете). Преобразование из RGB в YCbCr может выполняться известным способом. Например, преобразование из RGB в YCbCr можно выполнять в соответствии с международным стандартом ITU-R ВТ.601. Данные изображений, основанные на яркости, данные изображений, основанные на первом оттенке, и данные изображений, основанные на втором оттенке, можно выражать в форме матричных данных значений градации, как показано на ФИГ. 38 (далее также называемых матричными данными 72у, 72cb, 72 cr тона). Данные изображений, основанные на яркости, данные изображений, основанные на первом оттенке, и данные изображений, основанные на втором оттенке, можно выражать в 256 градациях, состоящих, например, из градаций от 0 до 255. В данном случае, вместо яркости, первого оттенка и второго оттенка, обучающее изображение можно конвертировать в три первичных цвета из красного R, зеленого G и синего В, или в три первичных цвета пигмента голубого С, пурпурного М и желтого Y.

[0196] Затем, на основании матричных данных 72у, 72cb, 72cr тона, для каждого пикселя создают векторные данные 74 тона посредством комбинирования трех значений градации яркости 72у, первого оттенка 72cb и второго оттенка 72 cr.

[0197] Затем, например, предполагая, что в обучающем изображении захвачено изображение сегментоядерного нейтрофила, каждому фрагменту векторных данных 74 тона, созданных из обучающего изображения, присваивают «1» в качестве значения метки 77, указывающего на сегментоядерный нейтрофил, в результате чего получают обучающие данные 75. На ФИГ. 38, для удобства, обучающие данные 75 выражены в виде 3 пикселя × 3 пикселя. Однако фактически векторные данные тона существуют по числу пикселей, с которым было захвачено обучающее изображение.

[0198] На ФИГ. 39 показан пример значения метки 77. Что касается значения метки, то присваивают значение метки 77, которое является различным в соответствии с типом клетки и присутствием или отсутствием признака каждой клетки.

<Общая схема глубокого обучения>

[0199] Со ссылкой на ФИГ. 38, используемую в качестве примера, будет описана общая схема обучения нейронной сети. Нейронная сеть 50 предпочтительно представляет собой сверточную нейронную сеть. Количество узлов входного слоя 50а в нейронной сети 50 соответствует произведению числа пикселей в обучающих данных 75, подлежащих введению, и числа яркостей и оттенков, включенных в изображение (например, в вышеуказанном примере - трех, т.е. яркости 72у, первого оттенка 72cb и второго оттенка 72 cr). Фрагменты векторных данных 74 тона вводят в форме их набора 72 во входной слой 50а нейронной сети 50. Нейронную сеть 50 обучают с использованием, для выходного слоя 50b нейронной сети, значения метки 77 каждого пикселя обучающих данных 75.

[0200] На основании обучающих данных 75 нейронная сеть 50 извлекает количественные значения признака, относящегося к морфологическим типам клеток и признакам клетки. Выходной слой 50b нейронной сети выводит результат, отражающий эти количественные значения признака.

[0201] Ссылочная позиция 50с на ФИГ. 38 представляет средний слой.

[0202] Алгоритм 60 глубокого обучения с обученной таким образом нейронной сетью 60 используют в качестве дискриминатора для идентификации того, какому из множества типов клеток, которые принадлежат к заданной группе клеток и которые морфологически классифицированы, соответствует клетка-цель анализа.

<Способ анализа изображения>

[0203] На ФИГ. 40 показан пример способа анализа изображения. В способе анализа изображения данные 81 анализа создают из изображения для анализа, полученного при захвате изображения клетки-цели анализа. Изображение для анализа - это изображение, полученное при захвате изображения клетки-цели анализа.

[0204] Например, предпочтительно, в настоящем варианте осуществления изображение, захваченное визуализирующим устройством, выполнено в цветах RGB, цветах CMY и т.п. Предпочтительно, что касается цветного изображения, темноту/бледность или яркость каждого из первичных цветов, таких как красный, зеленый и синий, или голубой, пурпурный и желтый, выражают 24-битным значением (8 бит×3 цвета). Достаточно, чтобы изображение для анализа включало по меньшей мере один оттенок и темноту/бледность или яркость такого оттенка, но более предпочтительно, оно включает по меньшей мере два оттенка и темноту /бледность или яркость каждого оттенка. Информацию, включающую оттенок и темноту/бледность или яркость оттенка, также называют тоном.

[0205] Например, выполняют преобразование из цветов RGB в формат, который включает информацию о яркости и информацию об оттенке. Примеры формата, включающего информацию о яркости и информацию об оттенке, включают YUV (YCbCr, YPbPr, YIQ и т.д.). Здесь будет описан пример преобразования в формат YCbCr. Обучающее изображение в цветах RGB преобразуют в данные изображения, основанные на яркости, данные изображения, основанные на первом оттенке (например, синеватом цвете), и данные изображения, основанные на втором оттенке (например, красноватом цвете). Преобразование из RGB в YCbCr можно выполнять известным способом. Например, преобразование из RGB в YCbCr можно выполнять в соответствии с международным стандартом ITU-R ВТ.601. Фрагменты данных изображения, соответствующие яркости, первому оттенку и второму оттенку соответственно, можно выражать в форме матричных данных значений градации, как показано на ФИГ. 40 (далее называемых матричными данными 79у, 79cb, 79 cr тона). Яркость, первый оттенок и второй оттенок 72Cr можно выражать в 256 градациях, состоящих из градаций от 0 до 255. В данном случае, вместо яркости, первого оттенка и второго оттенка, обучающее изображение можно конвертировать в три первичных цвета из красного R, зеленого G и синего В, или в три первичных цвета пигмента голубого С, пурпурного М и желтого Y.

[0206] Затем, на основании матрицы 79у, 79cb, 79 cr тона, для каждого пикселя создают векторные данные 80 тона комбинированием трех значений градации яркости 79у, первого оттенка 79cb и второго оттенка 79 cr. В качестве данных 81 анализа создают набор векторных данных 80 тона, созданный из одного изображения для анализа.

[0207] Предпочтительно, создание данных 81 анализа и создание обучающих данных 75 выполняют по меньшей мере при таких же условиях захвата изображения и таких же условиях создания векторных данных, которые вводятся из каждого изображения в нейронную сеть.

[0208] Данные 81 анализа вводят во входной слой 60а нейронной сети 60, образующей обученный алгоритм 60 глубокого обучения. Алгоритм глубокого обучения извлекает количественные значения признака из данных 81 анализа и выводит результат из выходного слоя 60b нейронной сети 60. Значение, выводимое из выходного слоя 60b, представляет собой вероятность, с которой клетка-цель анализа, включенная в изображение для анализа, принадлежит к каждой из морфологических классификаций клеток и признаков, введенных в качестве обучающих данных.

[0209] Клетка-цель анализа, включенная в изображение для анализа, определяется как принадлежащая к морфологической классификации, имеющей самое высокое значение среди вероятностей, и выводится значение метки, связанное с морфологическим типом клетки или признаком клетки. Само значение метки или данные, полученные путем замены значения метки на информацию (например, термин), указывающую(ий) морфологический тип клетки или присутствие или отсутствие признака клетки, выводят в качестве результата 83 анализа в отношении морфологии клетки. На ФИГ. 40, на основании данных 81 анализа, значение метки «1» выводится дискриминатором в качестве значения метки 82, имеющего наибольшую вероятность, и в качестве результата 83 анализа в отношении морфологии клетки выводятся символьные данные «сегментоядерный нейтрофил», соответствующие этому значению метки.

[0210] Ссылочная позиция 60с на ФИГ. 40 представляет средний слой.

[5. Другие варианты осуществления]

[0211] Хотя были описаны общие схемы и конкретные варианты осуществления настоящего изобретения, настоящее изобретение не ограничено описанными выше общими схемами и вариантами осуществления.

[0212] В вышеуказанных вариантах осуществления функциональные блоки узла 101 создания обучающих данных, узла 102 ввода обучающих данных, узла 103 обновления алгоритма, узла 201 создания данных анализа, узла 202 ввода данных анализа и узла 203 анализа исполняются в единственном процессоре 11 и единственном процессоре 12 для параллельной обработки. Однако эти функциональные блоки не обязательно должны исполняться в единственном процессоре и единственном процессоре для параллельной обработки, и они могут исполняться распределенным образом множеством процессоров и множеством процессоров для параллельной обработки.

[0213] В вышеуказанных вариантах осуществления программа для выполнения процесса стадий, описанных со ссылкой на ФИГ. 31, заранее сохранена в хранилище 13. Вместо этого, программа может быть инсталлирована в хранилище 13 с машиночитаемого невременного материального носителя 98 информации, например, такого как DVD-ROM или память USB. Альтернативно, анализатор 1 клеток может быть соединен с коммуникационной сетью 99, и программа может быть загружена и инсталлирована через коммуникационную сеть 99, например, с внешнего сервера (не показан).

[0214] На ФИГ. 41 показан вариант результата анализа. На ФИГ. 41 показаны: типы клеток, содержащихся в биологической пробе, измеренной методом проточной цитометрии, которым присвоены значения метки, показанные на ФИГ. 4; и число клеток каждого типа. Вместо отображения числа клеток, или совместно с отображением числа клеток, можно выводить долю (например, %) каждого типа клеток относительно суммарного числа клеток, которые были подсчитаны. Счет числа клеток можно получить путем подсчета числа значений метки (числа одинаковых значений метки), соответствующих каждому типу клетки, который был выведен. В итоговом результате может быть выведено предупреждение, указывающее, что в биологической пробе содержатся аномальные клетки. На ФИГ. 41 показан пример, в котором в качестве предупреждения в столбце аномальной клетки представлен восклицательный знак, однако такое предупреждение не ограничено этим. Кроме того, распределение каждого типа клеток можно наносить на график в форме диаграммы рассеяния, и диаграмму рассеяния можно выводить. При выведении диаграммы рассеяния, например, самые высокие значения во время получения интенсивностей сигнала могут быть нанесены на график, например, где вертикальная ось представляет интенсивность боковой флуоресценции, а горизонтальная ось представляет интенсивность рассеянного вбок света.

ОПИСАНИЕ ССЫЛОЧНЫХ ПОЗИЦИЙ

[0215] 1 анализатор клеток

10 узел обработки

11, 3001, 4831 процессор (ведущий процессор)

12 - процессор для параллельной обработки

50 - алгоритм глубокого обучения до подвергания его обучению (алгоритм искусственного интеллекта)

60 - обученный алгоритм глубокого обучения (алгоритм искусственного интеллекта)

400, 500, 700 - измерительный блок

121 - арифметический блок

4000, 4000', 4000'', 4000''' - устройство измерения клеток.

Похожие патенты RU2839415C1

название год авторы номер документа
СПОСОБ АНАЛИЗА КЛЕТОК И АНАЛИЗАТОР КЛЕТОК 2021
  • Асада, Соитиро
  • Кимура Конобу
  • Танака, Масамити
  • Сузуки Кенитиро
  • Нанго, Кохеи
RU2839419C1
СПОСОБ КЛЕТОЧНОГО АНАЛИЗА, СПОСОБ ОБУЧЕНИЯ ДЛЯ АЛГОРИТМА ГЛУБОКОГО ОБУЧЕНИЯ, УСТРОЙСТВО КЛЕТОЧНОГО АНАЛИЗА, ОБУЧАЮЩЕЕ УСТРОЙСТВО ДЛЯ АЛГОРИТМА ГЛУБОКОГО ОБУЧЕНИЯ, ПРОГРАММА КЛЕТОЧНОГО АНАЛИЗА И ОБУЧАЮЩАЯ ПРОГРАММА ДЛЯ АЛГОРИТМА ГЛУБОКОГО ОБУЧЕНИЯ 2020
  • Кимура, Конобу
  • Танака, Масамити
  • Асада, Соитиро
RU2820983C2
СПОСОБ ПРОВЕДЕНИЯ АНАЛИЗОВ КРОВИ И АНАЛИЗАТОР КРОВИ 2007
  • Мальцев Валерий Павлович
  • Семьянов Константин Анатольевич
  • Тарасов Петр Александрович
RU2347224C2
СПОСОБ ПОДДЕРЖКИ ДИФФЕРЕНЦИАЦИИ ЗАБОЛЕВАНИЙ, УСТРОЙСТВО ДЛЯ ПОДДЕРЖКИ ДИФФЕРЕНЦИАЦИИ ЗАБОЛЕВАНИЙ И КОМПЬЮТЕРНАЯ ПРОГРАММА ДЛЯ ПОДДЕРЖКИ ДИФФЕРЕНЦИАЦИИ ЗАБОЛЕВАНИЙ 2021
  • Охсака, Акимити
  • Табе, Йоко
  • Кимура, Конобу
RU2834692C1
РАСТВОР ДЛЯ КОНСЕРВАЦИИ КЛЕТОК, ЕГО ПРИМЕНЕНИЕ И СПОСОБ ПОЛУЧЕНИЯ РАСТВОРА ДЛЯ КОНСЕРВАЦИИ КЛЕТОК 2016
  • Ямамото Юка
  • Морита Масакацу
  • Ока Норико
  • Йокояма Кодзи
RU2663122C1
СПОСОБ И СИСТЕМЫ ДЛЯ ПРОГНОЗИРОВАНИЯ СПЕЦИФИЧЕСКИХ ДЛЯ HLA КЛАССА II ЭПИТОПОВ И ОХАРАКТЕРИЗАЦИИ CD4+ T-КЛЕТОК 2019
  • Руни, Майкл Стивен
  • Эбелин, Дженнифер Грэйс
  • Бартельми, Доминик
  • Кэмен, Роберт
RU2826261C2
СИСТЕМА И СПОСОБ ОНЛАЙНОВОГО АНАЛИЗА И СОРТИРОВКИ СВОЙСТВ СВЕРТЫВАНИЯ МОЛОКА 2009
  • Катц Гил
  • Шапира Ор
  • Лемберский-Куцин Лиубов
  • Пински Нив
RU2497110C2
Аналитическая система и способ для определения параметров гемоглобина в цельной крови 2016
  • Кэфферти Майкл
  • Сайонек Скотт П.
RU2730366C2
СПОСОБ И ПРИБОР ДЛЯ СОРТИРОВКИ КЛЕТОК 2009
  • Лашер Марк
RU2520848C2
ИЗМЕРИТЕЛЬНАЯ КЮВЕТА ДЛЯ ПОДСЧЕТА И/ИЛИ ХАРАКТЕРИЗАЦИИ КЛЕТОК 2018
  • Мерше, Бенуа
RU2764706C2

Иллюстрации к изобретению RU 2 839 415 C1

Реферат патента 2025 года СПОСОБ АНАЛИЗА КЛЕТОК И АНАЛИЗАТОР КЛЕТОК

Изобретение относится к биотехнологии. Описан способ анализа клеток с использованием анализатора (1) клеток для анализа клеток в соответствии с алгоритмом искусственного интеллекта (ИИ), включающий: получение матричных данных о клетках, измеренных устройством (4000, 4000', 4000'', 4000'''') измерения клеток, оборудованным проточным цитометром, посредством протекания образца в протоке, облучаемом лучом света, и детектирования аналогового сигнала от облучаемых клеток в образце, в качестве элементов матричных данных, значения, в цифровой форме указывающие уровень аналогового сигнала во множестве временных точек, пока клетку облучают в протоке; передачу матричных данных, собранных устройством измерения клеток, через сеть в анализатор клеток; и анализ матричных данных с помощью анализатора клеток, оборудованного процессором, выполненным с возможностью осуществления параллельной обработки, для создания информации о типе клетки для каждой из множества клеток в соответствии с алгоритмом ИИ, содержащим множество матричных операций для создания информации о типе клетки для каждой из множества клеток. Также описана система для классификации клеток по типу, содержащая: устройство измерения клеток, оборудованное проточным цитометром, причем устройство измерения клеток содержит измерительный блок, выполненный с возможностью измерения множества клеток, при этом измерительный блок с использованием проточного цитометра облучает множество протекающих в протоке клеток лучом света и детектирует аналоговые сигналы от облучаемых клеток, сеть и анализатор клеток, оборудованный процессором, выполненным с возможностью осуществления параллельной обработки, причем анализатор клеток получает через сеть данные, соответствующие матричным данным о каждой из множества клеток, измеренных измерительным блоком, при этом матричные данные имеют, в качестве элементов матричных данных, значения, в цифровой форме указывающие уровень аналогового сигнала во множестве временных точек, пока клетка облучается в протоке, и процессор выполняет параллельную обработку для обработки матричных данных в соответствии с алгоритмом искусственного интеллекта (ИИ), содержащим множество матричных операций. Изобретение позволяет улучшить точность классификации клеток без необходимости иметь у устройства измерения клеток высокую способность к обработке информации. 2 н. и 17 з.п. ф-лы, 41 ил.

Формула изобретения RU 2 839 415 C1

1. Способ анализа клеток с использованием анализатора (1) клеток для анализа клеток в соответствии с алгоритмом искусственного интеллекта (ИИ), включающий:

получение матричных данных о клетках, измеренных устройством (4000, 4000', 4000'', 4000'''') измерения клеток, оборудованным проточным цитометром, посредством протекания образца в протоке, облучаемом лучом света, и детектирования аналогового сигнала от облучаемых клеток в образце, в качестве элементов матричных данных,

значения, в цифровой форме указывающие уровень аналогового сигнала во множестве временных точек, пока клетку облучают в протоке;

передачу матричных данных, собранных устройством измерения клеток, через сеть в анализатор клеток; и

анализ матричных данных с помощью анализатора клеток, оборудованного процессором, выполненным с возможностью осуществления параллельной обработки, для создания информации о типе клетки для каждой из множества клеток в соответствии с алгоритмом ИИ, содержащим множество матричных операций для создания информации о типе клетки для каждой из множества клеток.

2. Система для классификации клеток по типу, содержащая:

устройство измерения клеток, оборудованное проточным цитометром, причем устройство измерения клеток содержит измерительный блок, выполненный с возможностью измерения множества клеток, при этом измерительный блок с использованием проточного цитометра облучает множество протекающих в протоке клеток лучом света и детектирует аналоговые сигналы от облучаемых клеток, сеть и анализатор клеток, оборудованный процессором, выполненным с возможностью осуществления параллельной обработки, причем анализатор клеток получает через сеть данные, соответствующие матричным данным о каждой из множества клеток, измеренных измерительным блоком, при этом матричные данные имеют, в качестве элементов матричных данных, значения, в цифровой форме указывающие уровень аналогового сигнала во множестве временных точек, пока клетка облучается в протоке, и процессор выполняет параллельную обработку для обработки матричных данных в соответствии с алгоритмом искусственного интеллекта (ИИ), содержащим множество матричных операций.

3. Система по п. 2, причем устройство измерения клеток содержит источник света для облучения проходящих по протоку клеток светом и детектор, принимающий оптический сигнал, подаваемый из источника света.

4. Система по п. 2 или 3, причем

матричные данные представляют собой данные, относящиеся к оптическому сигналу, который детектируется, когда клетка облучается светом.

5. Система по любому из пп. 2-4, причем матричные данные представляют собой данные о форме волны, которые получаются посредством цифрового преобразования формы волны сигнала, полученного при измерении клетки проточным цитометром.

6. Система по любому из пп. 2-5, причем матричные данные представляют собой данные изображения клетки.

7. Система по любому из пп. 2-6, причем анализатор клеток соединен с устройством (4000, 4000', 4000'', 4000'''') измерения клеток через сеть, принимает матричные данные через сеть и передает информацию через сеть.

8. Система по любому из пп. 2-7, причем анализатор (1) клеток соединен с множеством устройств (4000, 4000', 4000'', 4000'''') измерения клеток через сеть, принимает матричные данные из множества устройств (4000, 4000', 4000'', 4000'''') измерения клеток через сеть и передает информацию в одно из множества устройств (4000, 4000', 4000'', 4000'''') измерения клеток через сеть.

9. Система по любому из пп. 2-8, причем анализатор (1) клеток получает матричные данные из устройства (4000, 4000', 4000'', 4000'''') измерения клеток, установленного в отделении, в котором установлен анализатор клеток.

10. Система по любому из пп. 2-9, причем анализатор (1) клеток получает матричные данные из устройства (4000, 4000', 4000'', 4000'''') измерения клеток, установленного в сетевом домене, в котором установлен анализатор клеток.

11. Система по любому из пп. 2-9, причем анализатор (1) клеток получает матричные данные из устройства (4000, 4000', 4000'', 4000'''') измерения клеток, установленного в сетевом домене, отличном от сетевого домена, в котором установлен анализатор клеток.

12. Система по любому из пп. 2-9, причем анализатор (1) клеток получает матричные данные, в связи с ID устройства измерения клеток, из устройства (4000, 4000', 4000'', 4000'''') измерения клеток, установленного в сетевом домене, отличном от сетевого домена, в котором установлен анализатор клеток.

13. Система по любому из пп. 2-12, причем

анализатор клеток включает в себя ведущий процессор и процессор для параллельной обработки и вынуждает процессор для параллельной обработки исполнять параллельно множество арифметических процессов для анализа матричных данных.

14. Система по п. 13, причем процессор (12) для параллельной обработки включает в себя множество арифметических блоков, каждый из которых способен к исполнению арифметического процесса, относящегося к анализу матричных данных, и

исполняет, параллельно в качестве параллельной обработки, арифметические процессы соответствующими арифметическими блоками.

15. Система по любому из пп. 2-14, причем алгоритм искусственного интеллекта представляет собой алгоритм глубокого обучения.

16. Система по любому из пп. 2-15, причем информация включает идентификатор для идентификации типа клетки.

17. Система по любому из пп. 2-16, причем информация включает вероятность, с которой клетка принадлежит к каждому из множества типов клеток.

18. Система по любому из пп. 2-17, причем матричным данным, полученным из устройства измерения клеток, присваивается идентификационная информация, и

идентификационная информация включает по меньшей мере одну из:

идентификационной информации образца, соответствующего матричным данным;

идентификационной информации пациента, соответствующего матричным данным; и

идентификационной информации устройства измерения клеток, соответствующего матричным данным.

19. Система по любому из пп. 2-18, причем

алгоритм искусственного интеллекта представляет собой алгоритм глубокого обучения, анализатор клеток включает в себя ведущий процессор (11, 3001, 4831) и процессор (12) для параллельной обработки, и ведущий процессор (11, 3001, 4831) вынуждает процессор (12) для параллельной обработки параллельно исполнять множество арифметических процессов в сверточном слое в алгоритме глубокого обучения.

Документы, цитированные в отчете о поиске Патент 2025 года RU2839415C1

US 20200105376 A1, 02.04.2020
ФУНКЦИОНАЛЬНЫЙ ИММУНОАНАЛИЗ in vitro 2006
  • Шмидт Мануэль
  • Виттиг Бургхардт
  • Зандер Астрид
  • Чэнь Ию
RU2416797C2
WO 2019072181 A1, 18.04.2019
Прибор для съемки с натуры поперечных профилей земляного полотна 1929
  • Гомелля Н.П.
SU13659A1
СПОСОБ РАСПОЗНАВАНИЯ И ПОДСЧЕТА КЛЕТОК В БИОЛОГИЧЕСКИХ СРЕДАХ ЧЕЛОВЕКА И ЖИВОТНЫХ И УСТРОЙСТВО ДЛЯ ЕГО ОСУЩЕСТВЛЕНИЯ 2004
  • Козлов Альберт Анатольевич
  • Голиков Эдуард Вячеславович
  • Сидоров Михаил Александрович
  • Ибрагимова Ирина Тагировна
RU2303812C2

RU 2 839 415 C1

Авторы

Асада Соитиро

Кимура Конобу

Танака Масамити

Сузуки Кенитиро

Нанго Кохеи

Даты

2025-05-05Публикация

2021-08-30Подача