[1] ОБЛАСТЬ ТЕХНИКИ
[2] Предложенное изобретение относится к области вычислительной техники и может быть использовано для управления электронными устройствами.
[3] УРОВЕНЬ ТЕХНИКИ
[4] Известны различные кронштейны и держатели самых разных назначений, например, кронштейны для полок (см. https://www.ozon.ru/category/kronshteyn-dlya-polok/) (Д1), кронштейны для телевизоров (https://www.ozon.ru/category/kronshteyny-dlya-televizorov-15529/) (Д2), держатели для кашпо (https://www.ozon.ru/category/tsvety-i-rasteniya-14884) (Д3), и тому подобные средства размещения изделий и устройств на вертикальной поверхности.
[5] Общим недостатком для известных из уровня техники средств является невозможность быстрого разъединения размещаемого на кронштейне устройства с кронштейном, например, для смены, обслуживания, замены элементов питания или восполнения емкости элементов питания.
[6] Известны различные способы определения положения устройства в пространстве, такие, как описанные в патентных документах US20150331084A1 (Д1), US9681267B2 (Д2), US11051105B2 (Д3).
[7] Общим недостатком для известных из уровня техники средств определения местоположения устройства в пространстве является их низкая точность, а также невозможность определения назначения помещения, в котором устройство расположено, что не позволяет использовать указанные способы для управления устройством в зависимости от среды его использования.
[8] Таким образом, существует проблема обеспечения простого и быстрого способа управления электронным устройством в зависимости от среды использования электронного устройства.
[9] Решение по Д3 может быть принято в качестве ближайшего аналога.
[10] РАСКРЫТИЕ ИЗОБРЕТЕНИЯ
[11] Технической проблемой, решаемой заявленным изобретением, является создание кронштейнов, и/или систем, и/или наборов, и/или изделий, и/или устройств, не обладающих недостатками уровня техники, обеспечивающих быстрое разъединение кронштейна и устройства, которые на этом кронштейне размещены. Другой технической проблемой, решаемой заявленным изобретением, является создание кронштейнов, и/или систем, и/или наборов, и/или устройств, не обладающих недостатками уровня техники, обеспечивающих быстрое разъединение кронштейна и устройства для быстрого изменения режима работы устройства и/или его настроек, что может быть пригодно, например, не ограничиваясь, для точного позиционирования устройства в пределах среды использования, и изменения режима работы устройства и/или его настроек в зависимости от среды использования. Другой технической проблемой, решаемой заявленным изобретением, является расширение арсенала технических средств – кронштейнов для размещаемых на вертикальных поверхностях электронных устройств и/или электронных устройств, способных изменять режим своей работы и/или свои настройки в зависимости от среды использования.
[12] Техническим результатом, достигаемым при реализации заявленного изобретения, помимо реализации изобретением своего назначения, является устранение недостатков аналогов и таким образом обеспечение быстрого разъединения кронштейна и размещенного на нем устройства, с обеспечением привычной надежности размещения устройства на вертикальной поверхности. Другим техническим результатом, достигаемым при реализации заявленного изобретения, помимо реализации изобретением своего назначения, является также обеспечение точного позиционирования устройства в пространстве и обеспечение быстрого изменения его режима работы и/или настроек.
[13] Технический результат достигается за счет того, что обеспечивается управляемое при помощи кронштейна размещаемое на вертикальной поверхности акустическое устройство, содержащее, по меньшей мере: считыватель, выполненный с возможностью взаимодействия с пассивным средством идентификации кронштейна, процессор, память, по меньшей мере, содержащую код программы, который при выполнении процессором обеспечивает взаимодействие упомянутого считывателя с упомянутым пассивным средством идентификации для получения сигнала идентификации, и управляемое процессором средство вывода звука; при этом акустическое устройство предназначено для размещения на вертикальной поверхности при помощи кронштейна; при этом с обращенной к вертикальной поверхности стороны акустического устройства выполнена выемка для образуемого кронштейном выступа; при этом кронштейн для размещаемого на вертикальной поверхности акустического устройства, представляет собой закрепляемый на вертикальной поверхности с образованием выступа элемент, выполненный с возможностью размещения выступа в выполненной с обращенной к вертикальной поверхности стороны акустического устройства выемке; при этом выступ содержит, по меньшей мере, один ферромагнитный или магнитный элемент, а в выемке размещен соответствующий встречный магнитный или ферромагнитный элемент таким образом, чтобы при размещении выступа в выемке контактировать с соответствующим ферромагнитным или магнитным элементом кронштейна с образованием магнитного соединения; причем выемка выполнена таким образом, чтобы обеспечивать сдвиг соответствующего встречного ферромагнитного или магнитного элемента относительно соответствующего магнитного или ферромагнитного элемента.
[14] КРАТКОЕ ОПИСАНИЕ ЧЕРТЕЖЕЙ
[15] Иллюстративные варианты осуществления настоящего изобретения описываются далее подробно со ссылкой на прилагаемые чертежи, которые включены в данный документ посредством ссылки, и на которых:
[16] На фиг. 1, в качестве примера, но не ограничения, изображен один примерный вариант реализации заявленного кронштейна 100.
[17] На фиг. 2, в качестве примера, но не ограничения, изображен один примерный вариант устройства 200, соединенного с кронштейном 100.
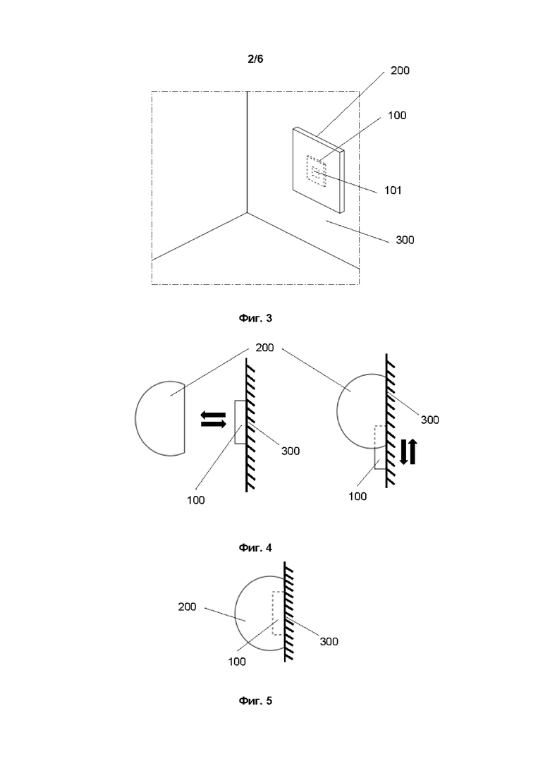
[18] На фиг. 3, в качестве примера, но не ограничения, изображен другой примерный вариант устройства 200, соединенного с кронштейном 100.
[19] На фиг. 4, в качестве примера, но не ограничения, примерно изображены варианты соединения кронштейна 100 и устройства 200.
[20] На фиг. 5, в качестве примера, но не ограничения, примерно изображено, каким образом кронштейн 100 размещается в выемке 202 устройства 200.
[21] На фиг. 6, в качестве примера, но не ограничения, изображен другой примерный вариант реализации заявленного кронштейна 100.
[22] На фиг. 7, в качестве примера, но не ограничения, изображен один примерный вариант устройства 200, соединенного с кронштейном 100 по второму варианту реализации.
[23] На фиг. 8, в качестве примера, но не ограничения, изображен примерный вариант осуществления сдвига ферромагнитного элемента 201 (на этом чертеже не показан) относительно магнитного элемента 101 в одном варианте устройства 200 при использовании кронштейна 100 по второму варианту реализации.
[24] На фиг. 9, в качестве примера, но не ограничения, изображен примерный вариант осуществления сдвига ферромагнитного элемента 201 (на этом чертеже не показан) относительно магнитного элемента 101 в другом варианте устройства 200 при использовании кронштейна 100 по второму варианту реализации.
[25] На фиг. 10, в качестве примера, но не ограничения изображен вид сзади для двух примерных вариантов реализации устройства 200, предназначенных для использования с кронштейном 100 по первому варианту осуществления.
[26] На фиг. 11, в качестве примера, но не ограничения изображен вид сзади для двух примерных вариантов реализации устройства 200, предназначенных для использования с кронштейном 100 по другому варианту осуществления.
[27] На фиг. 12, в качестве примера, но не ограничения изображена примерная схема предложенной системы 500.
[28] ОСУЩЕСТВЛЕНИЕ ИЗОБРЕТЕНИЯ
[29] В предпочтительном варианте осуществления настоящего изобретения обеспечивается кронштейн для размещаемого на вертикальной поверхности электронного устройства, представляющий собой закрепляемый на вертикальной поверхности с образованием выступа элемент, выполненный с возможностью размещения выступа в выполненной с обращенной к вертикальной поверхности стороны электронного устройства выемке; причем выступ содержит, по меньшей мере, один ферромагнитный или магнитный элемент, а в выемке размещен соответствующий встречный магнитный или ферромагнитный элемент таким образом, чтобы при размещении выступа в выемке контактировать с соответствующим ферромагнитным или магнитным элементом с образованием магнитного соединения; причем выемка выполнена таким образом, чтобы обеспечивать сдвиг соответствующего встречного ферромагнитного или магнитного элемента относительно соответствующего магнитного или ферромагнитного элемента кронштейна; при этом кронштейн снабжен пассивным средством идентификации, а электронное устройство снабжено считывателем, выполненным с возможностью взаимодействия с упомянутым средством идентификации; при этом электронное устройство содержит, по меньшей мере: процессор; память, по меньшей мере, содержащую код программы, который при выполнении процессором обеспечивает взаимодействие упомянутого считывателя с упомянутым средством идентификации для получения сигнала идентификации.
[30] В частном варианте осуществления настоящего изобретения обеспечивается упомянутый кронштейн, характеризующийся тем, что электронное устройство представляет собой акустическое устройство, содержащее дополнительно, по меньшей мере, управляемое процессором средство вывода звука.
[31] В частном варианте осуществления настоящего изобретения обеспечивается упомянутый кронштейн, характеризующийся тем, что электронное устройство представляет собой осветительный прибор, содержащий, дополнительно, по меньшей мере, управляемый процессором источник света.
[32] В частном варианте осуществления настоящего изобретения обеспечивается упомянутый кронштейн, характеризующийся тем, что электронное устройство представляет собой IoT-устройство, содержащее дополнительно, по меньшей мере, управляемые процессором приемник, передатчик, выполненный с возможностью передачи управляющего сигнала.
[33] В частном варианте осуществления настоящего изобретения обеспечивается упомянутый кронштейн, характеризующийся тем, что электронное устройство представляет собой устройство вывода изображения, содержащее дополнительно, по меньшей мере, управляемый процессором дисплей.
[34] В частном варианте осуществления настоящего изобретения обеспечивается упомянутый кронштейн, характеризующийся тем, что память дополнительно содержит, по меньшей мере, код программы, который при выполнении процессором обеспечивает в ответ на полученный сигнал идентификации изменение режима работы электронного устройства и/или изменение настроек электронного устройства.
[35] В другом предпочтительном варианте осуществления настоящего изобретения обеспечивается упомянутое электронное устройство, содержащее, по меньшей мере: считыватель, выполненный с возможностью взаимодействия с пассивным средством идентификации кронштейна (на чертежах не показано), процессор, память, по меньшей мере, содержащую код программы, который при выполнении процессором обеспечивает взаимодействие упомянутого считывателя с упомянутым средством идентификации для получения сигнала идентификации; при этом электронное устройство предназначено для размещения на вертикальной поверхности при помощи кронштейна; при этом с обращенной к вертикальной поверхности стороны электронного устройства выполнена выемка для образуемого кронштейном выступа; при этом кронштейн для размещаемого на вертикальной поверхности электронного устройства, представляет собой закрепляемый на вертикальной поверхности с образованием выступа элемент, выполненный с возможностью размещения выступа в выполненной с обращенной к вертикальной поверхности стороны электронного устройства выемке; при этом выступ содержит, по меньшей мере, один ферромагнитный или магнитный элемент, а в выемке размещен соответствующий встречный магнитный или ферромагнитный элемент таким образом, чтобы при размещении выступа в выемке контактировать с соответствующим ферромагнитным или магнитным элементом кронштейна с образованием магнитного соединения; причем выемка выполнена таким образом, чтобы обеспечивать сдвиг соответствующего встречного ферромагнитного или магнитного элемента относительно соответствующего магнитного или ферромагнитного элемента.
[36] В другом предпочтительном варианте осуществления настоящего изобретения обеспечивается способ управления размещаемым на вертикальной поверхности электронным устройством, при котором упомянутое электронное устройство размещают на кронштейне для размещаемого на вертикальной поверхности электронного устройства таким образом, чтобы обеспечивалось взаимодействие с пассивным средством идентификации кронштейна для получения сигнала идентификации, в ответ на получение которого изменяют режим работы электронного устройства и/или изменяют настройки электронного устройства; причем упомянутый кронштейн для размещаемого на вертикальной поверхности электронного устройства представляет собой закрепляемый на вертикальной поверхности с образованием выступа элемент, выполненный с возможностью размещения выступа в выполненной с обращенной к вертикальной поверхности стороны электронного устройства выемке; причем выступ содержит, по меньшей мере, один ферромагнитный или магнитный элемент, а в выемке размещен соответствующий встречный магнитный или ферромагнитный элемент 201 таким образом, чтобы при размещении выступа в выемке контактировать с соответствующим ферромагнитным или магнитным элементом с образованием магнитного соединения; причем выемка выполнена таким образом, чтобы обеспечивать сдвиг соответствующего встречного ферромагнитного или магнитного элемента относительно соответствующего магнитного или ферромагнитного элемента кронштейна; при этом кронштейн снабжен пассивным средством идентификации, а электронное устройство снабжено, по меньшей мере, считывателем, выполненным с возможностью взаимодействия с упомянутым средством идентификации; при этом электронное устройство также содержит, по меньшей мере: процессор; память, по меньшей мере, содержащую код программы, который при выполнении процессором обеспечивает взаимодействие упомянутого считывателя с упомянутым средством идентификации для получения сигнала идентификации.
[37] Далее приводятся варианты осуществления настоящего изобретения, раскрывающие примеры его реализации в частных исполнениях. Тем не менее, само описание не предназначено для ограничения объема прав, предоставляемых данным патентом. Скорее, следует исходить из того, что заявленное изобретение также может быть осуществлено другими способами таким образом, что будет включать в себя отличающиеся элементы и условия или комбинации элементов и условий, аналогичных элементам и условиям, описанным в данном документе, в сочетании с другими существующими и будущими технологиями.
[38] На фиг. 1, в качестве примера, но не ограничения, изображен один примерный вариант реализации заявленного кронштейна 100. Предпочтительно, не ограничиваясь, в одном варианте исполнения заявленный кронштейн 100 представляет собой параллелепипед, одной стороной обращенный к вертикальной поверхности 300, такой как, например, не ограничиваясь, стена помещения или здания, столб и тому подобное, при этом поверхность 300 содержит достаточно пространства для надежного размещения кронштейна 100 на поверхности 300. При этом, например, не ограничиваясь, кронштейн 100 может быть закреплен на поверхности 300 любым известным или ставшим известным в будущем пригодным способом, обеспечивающим достаточно надежное соединение кронштейна 100 с поверхностью 300, таким как, например, не ограничиваясь, резьбовым соединением, таким, как, например, не ограничиваясь, анкерное, и/или резьбовое, и/или винтовое соединение, а также, не ограничиваясь, склейкой, сваркой и тому подобным. Кроме того, например, не ограничиваясь, когда поверхность 300 выполнена из ферромагнетика или содержит ферромагнитную область, кронштейн 100 с обратной стороны может быть снабжен дополнительным магнитным элементом (на чертеже не показан) для надежного соединения с ферромагнитной поверхностью 300 или ее ферромагнитной частью. Например, не ограничиваясь, в качестве ферромагнитной области на поверхности 300 может быть закреплен участок мягкого железа (магнитных обоев) и тому подобное. При этом, не ограничиваясь, для закрепления кронштейна 100 на поверхности 300 посредством анкерного или резьбового соединения, кронштейн 300 может быть снабжен соответствующими отверстиями через которые осуществляется крепление кронштейна 100 к поверхности посредством винта, в том числе, самонарезающего винта. В случае со сварным соединением кронштейн 100, например, не ограничиваясь, выполнен металлическим, или, по меньшей мере, содержит металлическое основание (на чертеже не показано) достаточной толщины, пригодное для образования сварного соединения с металлической поверхностью 300 или металлическим участком поверхности 300. В случае склейки, например, не ограничиваясь, кронштейн 100 имеет с обратной стороны клейкое основание (на чертеже не показано), например, не ограничиваясь, в виде двусторонней клейкой ленты, а поверхность 300 при этом выбрана такой, чтобы обеспечивалась достаточная адгезия клеевой основы клейкой ленты к поверхности 300; кроме того, не ограничиваясь, кронштейн 100 может быть выполнен из материала или иметь основание (на чертеже не показано), адгезия к используемому для склейки клею которого примерно соответствует адгезии этого же клея к поверхности 300. Таким образом, не ограничиваясь, закрепление кронштейна 100 на поверхности 300 может быть осуществлено любым пригодным известным или ставшим известным в будущем способом, которые, соответственно, более подробно далее не описываются. При этом главным образом следует исходить из того, что кронштейн 100 при закреплении на поверхности 300 обязательно образует выступ. При этом, не ограничиваясь, выступ может быть образован, как непосредственно корпусом кронштейна 100, так и какой-либо выступающей из корпуса частью (на чертеже не показано). При этом, предпочтительно, не ограничиваясь, кронштейн 100 содержит, и таким образом, образованный выступ содержит, по меньшей мере, один магнитный элемент 101, являющимся основным магнитным элементом кронштейна 100. Предпочтительно, не ограничиваясь, магнитный элемент 101 не занимает всю поверхность образованного выступа, а размещен таким образом, чтобы обеспечивалось надежное магнитное соединение со встречным ферромагнитным элементом 201 в выемке 202 устройства 200, которые будут описаны далее подробно, но при этом обеспечивалась возможность сдвига ферромагнитного элемента 201 относительно магнитного элемента 101, чтобы обеспечить их быстрое и удобное разъединение; при этом не ограничиваясь, главным образом это обусловлено тем, что сила магнитного соединения на разрыв гораздо выше, чем на сдвиг, что особенно актуально при использовании в качестве магнитного элемента 101 мощного магнита, такого, как, например, не ограничиваясь, неодимовый магнит, что неизбежно потребует для разъединения обеспечение сдвига.
[39] На фиг. 2, в качестве примера, но не ограничения, изображен один примерный вариант устройства 200, соединенного с кронштейном 100. Предпочтительно, не ограничиваясь, такое устройство 200 является преимущественно любой пригодной формы или размера, выбор которых обусловлен главным образом обеспечиваемой силой и надежностью магнитного соединения, а также силой и надежностью соединения кронштейна 100 с поверхностью 300. При этом, не ограничиваясь, в таком варианте исполнения устройство 200 не является преимущественно плоским, то есть, по меньшей мере, толщина выступающей части которого над образуемым кронштейном 100 выступом от поверхности 300, по меньшей мере, в два раза превышает толщину такого образованного выступа. При этом, не ограничиваясь, форма такого устройства 200 главным образом обуславливается его назначением.
[40] На фиг. 3, в качестве примера, но не ограничения, изображен другой примерный вариант устройства 200, соединенного с кронштейном 100. Предпочтительно, не ограничиваясь, в таком другом варианте исполнения устройство 200 является преимущественно плоским, то есть, по меньшей мере, толщина выступающей части которого над образуемым кронштейном 100 выступом от поверхности 300 не превышает толщину такого образованного выступа более, чем в два раза. При этом, не ограничиваясь, форма такого устройства 200 также главным образом обуславливается его назначением.
[41] На фиг. 4, в качестве примера, но не ограничения, примерно изображены варианты соединения кронштейна 100 и устройства 200 . Как будет показано далее, устройство 200может содержать выемку 202, в которой обеспечивается размещение образуемого кронштейном 100 выступа. При этом, не ограничиваясь, главным образом возможно обеспечить два варианта соединения. В первом варианте, не ограничиваясь, как показано в левой части фиг. 4, обеспечивается надевание устройства 200 выемкой 202 в горизонтальном направлении по направлению к поверхности 300 на образованный кронштейном 100 выступ; при этом выемка 202 в устройстве 200, соответственно, выполнена таким образом, что имеет все стенки и не допускает смещение устройства 200 относительно кронштейна 100 в любом направлении. Соответственно, не ограничиваясь, для разъединения устройства 200 и кронштейна 100 следует, по меньшей мере, повернуть устройство 200 по перпендикулярной к поверхности 300 оси, как это будет показано далее, за счет чего будет осуществлен упомянутый сдвиг. Во втором варианте, не ограничиваясь, как показано в правой части фиг. 4, обеспечивается надевание устройства 200 выемкой 202 в горизонтальном или вертикальном направлении параллельно поверхности 300 на образованный кронштейном 100 выступ; при этом выемка 202 в устройстве 200, соответственно, выполнена таким образом, что не имеет одной из стенок и допускает смещение устройства 200 относительно кронштейна 100 в направлении отсутствующей стенки. Соответственно, не ограничиваясь, для разъединения устройства 200 и кронштейна 100 следует, по меньшей мере, сдвинуть устройство 200 в направлении, противоположном отсутствующей стенке, то есть, если стенка выемки 202 отсутствует снизу, то следует сдвинуть устройство 200вверх, и тому подобное, за счет чего будет осуществлен упомянутый сдвиг. На фиг. 5, в качестве примера, но не ограничения, примерно изображено, каким образом кронштейн 100 размещается в выемке 202 устройства 200 . При этом, не ограничиваясь, хотя на чертеже не показано, но специалисту в данной области техники, обладающему обычными знаниями, на которого рассчитано настоящее изобретение, должно быть очевидно, что не обязательно задняя стенка устройства 200, как таковая, должна содержать выемку 202, а в устройстве 200 может быть образовано основание, которое будет содержать пригодную выемку 202.
[42] При этом специалисту в данной области техники, обладающему обычными знаниями, на которого рассчитано настоящее изобретение, должно быть очевидно, что, когда выемка 202 по форме и размеру повторяет кронштейн форму и размер кронштейна 100, и, при этом кронштейн 100 имеет углы, то сдвиг путем вращения будет затруднен или вовсе невозможен. На фиг. 6, в качестве примера, но не ограничения, изображен другой примерный вариант реализации заявленного кронштейна 100. В отличие от рассмотренного ранее со ссылкой на фиг. 1, вариант кронштейна 100 со ссылкой на фиг. 6, по меньшей мере, не выполнен в виде прямоугольника, как это было показано со ссылкой на фиг. 1. Такой кронштейн 100 по фиг. 6 соединяется с устройством 200 таким же образом, как было показано со ссылкой на фиг. 5 (левая часть), и по своему функционалу отличается лишь тем, что по форме и размеру выбран таким, чтобы обеспечивалась возможность вращения выемки 202 вокруг образованного кронштейном 100 выступа. При этом, не ограничиваясь, такой кронштейн 100 может быть дополнительно снабжен средством позиционирования, например, маломерной выемкой в поверхности кронштейна 100, в которую попадает встречный маломерный выступ, выполненный на соприкасающейся с поверхностью кронштейна 100 поверхности выемки 202 (на чертеже не показано); такое средство позиционирования может использоваться для точного размещения устройства 200 относительно поверхности 300. На фиг. 7, в качестве примера, но не ограничения, изображен один примерный вариант преимущественно плоского устройства 200, соединенного с кронштейном 100 по фиг. 6. На фиг. 8, в качестве примера, но не ограничения, изображен примерный вариант осуществления сдвига металлического элемента 201 (на этом чертеже не показан) относительно магнитного элемента 101 в варианте устройства 200 со ссылкой на фиг. 7 при использовании кронштейна 100 по фиг. 6. На фиг. 9, в качестве примера, но не ограничения, изображен примерный вариант осуществления сдвига ферромагнитного элемента 201 (на этом чертеже не показан) относительно магнитного элемента 101 в другом варианте устройства 200 при использовании кронштейна 100 по фиг. 6.
[43] На фиг. 10, в качестве примера, но не ограничения изображен вид сзади для двух примерных вариантов реализации устройства 200, предназначенных для использования с кронштейном 100 по фиг. 1. При этом, не ограничиваясь, как было указано ранее, форма устройства 200 не является существенной, так как ее выбор может быть обусловлен назначением устройства, но при этом задняя часть устройства 200 или задняя часть основания устройства 200 содержит выемку 202 в которой размещен ферромагнитный элемент 201, являющийся встречным для магнитного элемента 101. Такая выемка 202, хотя разрез не показан на чертеже, очевидно, не имеет одной из стенок и таким образом обеспечивает, по меньшей мере, возможность сдвига ферромагнитного элемента 201 относительно магнитного элемента 101 в горизонтальном или вертикальном направлении параллельно поверхности 300; при этом специалисту в данной области техники, обладающему обычными знаниями, на которого рассчитано настоящее изобретение, должно быть очевидно, что в случае, если размер кронштейна 100 это допускает, то может быть обеспечен сдвиг и посредством вращения выемки 202 вокруг образованного кронштейном 100 выступа; при этом специалисту в данной области техники, обладающему обычными знаниями, на которого рассчитано настоящее изобретение, должно быть очевидно, что устройство 200 может быть размещено на двух и более кронштейнах 100, что может быть обусловлено размером устройства 200, и при этом следует исходить из того, что такие кронштейны 100 должны быть размещены на поверхности 300 соосно таким образом, чтобы обеспечивался одновременный сдвиг всех ферромагнитных элементов 201 относительно всех соответствующих магнитных элементов 101. На фиг. 11, в качестве примера, но не ограничения изображен вид сзади для двух примерных вариантов реализации устройства 200, предназначенных для использования с кронштейном 100 по варианту осуществления со ссылкой на фиг. 6. В отличие от сказанного со ссылкой на фиг. 10, выемки 202 в данном случае имеют все стенки и по существу выполнены круглыми или такой формы, чтобы обеспечивался сдвиг ферромагнитного элемента 201 относительно магнитного элемента 101 исключительно путем вращения выемки 202 вокруг образованного кронштейном 100 выступа.
[44] При этом специалисту в данной области техники, обладающему обычными знаниями, на которого рассчитано настоящее изобретение, должно быть очевидно, что магнитный элемент 101 и ферромагнитный элемент 201 могут быть поменяны местами, то есть, что устройство 200 будет содержать магнитный элемент 101, и, соответственно, кронштейн 100 будет содержать ферромагнитный элемент 201. Более того, не ограничиваясь, в устройстве 200 может быть выполнен собственный магнитный элемент, причем в кронштейне 100 остается магнитный элемент 101, причем такие магнитные элементы являются разноименными, что обеспечивает их притягивание друг к другу и может обеспечить более надежное соединение, чем соединение «магнит-ферромагнетик».
[45] При этом, не ограничиваясь, может быть обеспечен кронштейн 100 для размещаемого на вертикальной поверхности электронного устройства 200, представляющий собой закрепляемый на вертикальной поверхности с образованием выступа элемент, выполненный с возможностью размещения выступа в выполненной с обращенной к вертикальной поверхности стороны электронного устройства 200 выемке 202; причем выступ содержит, по меньшей мере, один ферромагнитный или магнитный элемент 101, а в выемке размещен соответствующий встречный магнитный или ферромагнитный элемент 201 таким образом, чтобы при размещении выступа в выемке 202 контактировать с соответствующим ферромагнитным или магнитным элементом 101 с образованием магнитного соединения; причем выемка 202 выполнена таким образом, чтобы обеспечивать сдвиг соответствующего встречного ферромагнитного или магнитного элемента 201 относительно соответствующего магнитного или ферромагнитного элемента 101; при этом кронштейн 100 снабжен пассивным средством идентификации (на чертежах не показано), а электронное устройство 200 снабжено считывателем 203, выполненным с возможностью взаимодействия с упомянутым средством идентификации; при этом электронное устройство 200 содержит, по меньшей мере: процессор 204; память 205, по меньшей мере, содержащую код программы, который при выполнении процессором 204 обеспечивает взаимодействие упомянутого считывателя 203 с упомянутым средством идентификации для получения сигнала идентификации.
[46] В целом, не ограничиваясь, таким образом может быть обеспечено упомянутое электронное устройство 200, примерная схема которого показана на фиг. 12, содержащее, по меньшей мере, считыватель 203, выполненный с возможностью взаимодействия с пассивным средством идентификации кронштейна (на чертежах не показано), процессор 204, память 205, по меньшей мере, содержащую код программы, который при выполнении процессором 204 обеспечивает взаимодействие упомянутого считывателя 203 с упомянутым средством идентификации для получения сигнала идентификации; при этом электронное устройство 200 предназначено для размещения на вертикальной поверхности при помощи кронштейна 100; при этом с обращенной к вертикальной поверхности стороны электронного устройства 200 выполнена выемка 202 для образуемого кронштейном 100 выступа; при этом кронштейн 100 для размещаемого на вертикальной поверхности электронного устройства 200, представляет собой закрепляемый на вертикальной поверхности с образованием выступа элемент, выполненный с возможностью размещения выступа в выполненной с обращенной к вертикальной поверхности стороны электронного устройства 200 выемке 202; при этом выступ содержит, по меньшей мере, один ферромагнитный или магнитный элемент 101, а в выемке 202 размещен соответствующий встречный магнитный или ферромагнитный элемент 201 таким образом, чтобы при размещении выступа в выемке 202 контактировать с соответствующим ферромагнитным или магнитным элементом кронштейна 101 с образованием магнитного соединения; причем выемка 202 выполнена таким образом, чтобы обеспечивать сдвиг соответствующего встречного ферромагнитного или магнитного элемента 201 относительно соответствующего магнитного или ферромагнитного элемента 101.
[47] При этом, не ограничиваясь, электронное устройство 200 может быть выбрано из или может быть образовано из какой-либо комбинации из: акустическое устройство 200, осветительный прибор 200, IoT-устройство 200, устройство вывода изображения 200. При этом, не ограничиваясь, акустическое устройство 200 таким образом дополнительно содержит, по меньшей мере, средство вывода звука, такое, как, например, не ограничиваясь, динамик, использование которых для вывода звука широко известно из уровня техники и, соответственно, дополнительно не подробно не описывается. При этом, не ограничиваясь, осветительный прибор 200 таким образом дополнительно содержит, по меньшей мере, источник света, такой, как например, не ограничиваясь, светодиодный источник света или тому подобное, использование которого для освещения широко известно из уровня техники и, соответственно, подробно далее не описывается. При этом, не ограничиваясь, IoT-устройство 200 таким образом дополнительно содержит, по меньшей мере, приемник, передатчик, выполненный с возможностью передачи управляющего сигнала; при этом главным образом следует исходить из того, что IoT-устройство 200 для кронштейна 100 может являться как репитером, так и хабом, или может быть снабжено функциями хаба, то есть, например, не ограничиваясь, память может включать код программы для формирования управляющего сигнала для других устройств в IoT-системе в ответ на полученный сигнал идентификации; при этом принципы организации IoT-систем широко известны из уровня техники и, соответственно, далее подробно не описываются. При этом, не ограничиваясь, устройство вывода изображения 200 таким образом дополнительно содержит, по меньшей мере, дисплей, использование которых для вывода изображения широко известно из уровня техники и, соответственно, далее подробно не описывается.
[48] При этом, не ограничиваясь, в качестве пассивного средства идентификации кронштейна может быть выбрано, например, не ограничиваясь, одно из или какая-либо комбинация из: двумерный графический код, такой, как, например, код быстрого отклика (QR-код), или штрих-код, или RFID-метка. При этом, в зависимости от того, какое пассивное средство идентификации используется в кронштейне 100, электронное устройство 200 включает соответствующий подходящий считыватель 203. Например, не ограничиваясь, когда в качестве пассивного средства идентификации кронштейна 100 выбран двумерный графический код, считыватель 203 может представлять собой лазерный сканер или видеосканер, которые сами по себе широко известны из уровня техники и, соответственно, подробно далее не описываются. Например, не ограничиваясь, когда в качестве пассивного средства идентификации кронштейна 100 выбрана RFID-метка, то считыватель 203 может представлять собой, например, NFC-модуль, который сам по себе широко известен из уровня техники и, соответственно, подробно далее не описывается. Предпочтительно, не ограничиваясь, считыватель 203 взаимодействует с соответствующим пассивным средством идентификации в момент образования магнитного соединения. При этом, не ограничиваясь, для этого может быть обеспечен, например, не ограничиваясь, электрический ключ, срабатывание которого происходит в момент образования магнитного соединения, и таким образом обеспечивает срабатывание считывателя 203; или может быть обеспечено, например, не ограничиваясь, средство позиционирования электронного устройства 200 в пространстве, такое, как, например, не ограничиваясь, гироскоп, определенное положение которого сигнализирует о необходимости активировать считыватель 203 и соответствует положению электронного устройства 200 в положении, в котором магнитное соединение образовано; или в составе кронштейна 100 дополнительно может быть обеспечен, например, не ограничиваясь, подключаемый к электрической сети источник питания для элемента питания электронного устройства 200, для чего на поверхности кронштейна 100 могут быть обеспечены электрические контакты для создания электрического соединения при формировании магнитного соединения, для чего, например, не ограничиваясь, в выемке 202 также могут быть обеспечены встречные электрические контакты связанные с контроллером питания; при образовании электрического соединения при этом не только может быть обеспечено восполнение емкости элементов питания электронного устройства 200 от электрической сети, но и может быть сформирован сигнал для срабатывания считывателя 203. При этом специалисту в данной области техники, обладающему обычными знаниями, на которого настоящее изобретение рассчитано, должно быть очевидно, что электронное устройство обязательно обладает одним или несколькими элементами питания, такими как батареи (electric battery), включая одноразовые и/или перезаряжаемые батареи и/или аккумуляторы электрической энергии, то есть наличие элемента питания в электронном устройстве 200 имманентно. При этом специалисту в данной области техники, обладающему обычными знаниями, на которого настоящее изобретение рассчитано, также должно быть очевидно, что электронное устройство будет обладать подходящим корпусом, защищающим компоненты устройства от внешних воздействий и/или несанкционированного доступа, то есть наличие корпуса у электронного устройства 200 имманентно.
[49] При этом, не ограничиваясь, электронное устройство 200 может быть снабжено средством беспроводной связи или иным интерфейсом для подключения к нему пользовательского устройства 400 для первичной настройки. Пользовательское устройство 400 при этом может представлять собой, не ограничиваясь, смартфон, планшетный компьютер, ноутбук, персональный компьютер и тому подобное. Такое пользовательское устройство 400 наиболее типично содержит, по меньшей мере, устройства ввода/вывода 401, такие, как, например, клавиатура, манипуляторы, дисплеи, включая сенсорные дисплеи; процессор 402, память 403, содержащую код программы, который обеспечивает, по меньшей мере, передачу пакета настроек в электронное устройство 200. Предпочтительно не ограничиваясь, при этом пакет настроек таким образом включает, по меньшей мере, уникальный идентификатор кронштейна 100 и связанные с этим уникальным идентификатором сценарии и/или настройки для исполнения и/или применения электронным устройством 200; при этом, не ограничиваясь, электронное устройство 200 таким образом может содержать в памяти 205 соответствующие первичные настройки в виде, например, не ограничиваясь, множества уникальных идентификаторов кронштейнов 100, с каждым из которых связан соответствующий сценарий и/или настройки для исполнения и/или применения электронным устройством 200. Упомянутые первичные настройки при этом могут быть изменены соответствующим пакетом настроек, формируемым и передаваемым на электронное устройство 200 при помощи пользовательского устройства 400. Вместе с тем, не ограничиваясь, использование пользовательского устройства 400 не является обязательным, а электронное устройство 200 может быть снабжено устройствами ввода/вывода 206, такими, как, например, не ограничиваясь, клавиши, кнопки, клавиатура, манипулятор, дисплей, включая сенсорный дисплей, голосовой интерфейс и тому подобными. В этом случае сценарии могут быть заданы и настройки могут быть осуществлены для каждого кронштейна 100 без использования пользовательского устройства 400, непосредственно, при взаимодействии пользователя с электронным устройством 200.
[50] Таким образом, предпочтительно, не ограничиваясь, как это показано на фиг. 12, может быть обеспечена система 500 для управления электронным устройством 200, которая дополнительно может включать сервер, например, не ограничиваясь, выполненный на базе пользовательского устройства 400, либо выполненный отдельным устройством 400. При этом под процессором 204, 402 предпочтительно, не ограничиваясь, понимается, как непосредственно чип, так и другие компоненты процессорной и/или микропроцессорной архитектуры, такие, как, например, не ограничиваясь, микроконтроллеры, драйверы, кэш-память и тому подобные электронные устройства; главным образом следует исходить из того, что посредством процессора обеспечивается реализация кода программы, обеспечивающего реализацию электронным устройством 200 какого-либо сценария работы и/или применения каких-либо настроек. При этом, не ограничиваясь, в качестве примера, но не ограничения, память 205, 403 (машиночитаемый носитель данных 205, 403) может включать в себя энергонезависимую память (NVRAM); оперативную память (RAM); постоянное запоминающее устройство (ROM); электрически-стираемое программируемое постоянное запоминающее устройство (EEPROM); флэш-память или другие технологии памяти; CDROM, цифровой универсальный диск (DVD) или другие оптические или голографические носители данных; магнитные кассеты, магнитную пленку, запоминающее устройство на магнитных дисках или другие магнитные запоминающие устройства; а также любой другой носитель данных, который может быть использован для хранения и кодирования требуемой информации. При этом, не ограничиваясь, память 205, 403 включает в себя носитель данных на основе запоминающего устройства компьютера в форме энергозависимой или энергонезависимой памяти, или их комбинации. При этом, не ограничиваясь, примерные аппаратные устройства включают в себя твердотельную память, накопители на жестких дисках, накопители на оптических дисках и так далее. При этом, не ограничиваясь, машиночитаемый носитель данных 205, 403 (память 205, 403) является не временным (постоянным, нетранзитивным), так что он не включает временный (транзитивный) распространяющийся сигнал. При этом, не ограничиваясь, в памяти 205, 403 может храниться примерная среда, в которой при помощи компьютерных команд или кодов, в том числе, хранящихся в памяти 403 сервера 400, может быть осуществлена процедура формирования пакета настроек для его передачи на электронное устройство 200. При этом, не ограничиваясь, система 500 также может включать в себя базу данных (БД) 600. БД 600 может представлять собой, но не ограничиваясь: иерархическую БД, сетевую БД, реляционную БД, объектную БД, объектно-ориентированную БД, объектно-реляционную БД, пространственную БД, комбинацию перечисленных двух и более БД, и тому подобное. При этом, не ограничиваясь, БД 600, по меньшей мере, хранит уникальные идентификаторы кронштейнов 100 и связанные с ними первичные настройки, в том числе, измененные первичные настройки, то есть текущие настройки, соответствующих электронных устройств 200, а также может хранить данные для анализа, предзаписанные сценарии и другую информацию в памяти 205, 403 или в подходящей памяти иного компьютерного устройства, связанного с электронным устройством 200 и/или с сервером 400, которая может представлять собой, но не ограничиваясь, память, аналогичную какой-либо памяти 205, 403, как это было показано ранее, и к которому может быть осуществлен доступ посредством сервера 400 и сети 700. Помимо этого, не ограничиваясь, обеспечивается сервер 400, который, помимо описанных ранее функций, сохраняет и содействует манипуляции компьютерными командами или кодами, ранее описанными в данном документе, которые, соответственно, дополнительно не описываются. При этом, не ограничиваясь, сервер 400, помимо описанных ранее функций, может обеспечивать регулирование обменом данных в системе 500. При этом, не ограничиваясь, обмен данными внутри системы 500 осуществляется благодаря одной или более сетей 700 передачи данных. При этом, не ограничиваясь, сети 700 передачи данных могут включать в себя, но не ограничиваться, одну или более локальных сетей (LAN) и/или глобальных сетей (WAN), или могут представлять собой информационно-телекоммуникационную сеть Интернет, или Интранет, или виртуальную частную сеть (VPN), или их комбинацию, и тому подобное. При этом, не ограничиваясь, сервер 400 также имеет возможность обеспечивать виртуальную вычислительную среду для обеспечения взаимодействия между компонентами системы. При этом, не ограничиваясь, сеть 700 служит для обеспечения взаимодействия между электронным устройством 200, пользовательским устройством 400 и/или сервером 400, и необязательно базой данных 600. При этом, не ограничиваясь, база данных 600 может быть реализована в памяти 205, 403. При этом наиболее типично, не ограничиваясь, компоненты электронного устройства 200, компоненты пользовательского устройства 400, сервера 400 связаны между собой, в том числе, посредством какой-либо шины данных.
[51] Предпочтительно, не ограничиваясь, предложенная система работает следующим образом. Несколько кронштейнов 100 с пассивным средством идентификации размещаются на вертикальной поверхности 300 в одном или нескольких помещениях или вне помещений. Первично осуществляют задание сценариев работы и/или настроек соответствующих электронных устройств 200 при помощи пользовательского устройства 400 и/или системы 500; при этом задание сценариев и/или настроек осуществляется по отношению к соответствующим кронштейнам 100; при этом, не ограничиваясь, первичные настройки могут быть получены из БД 600, либо изначально быть сохранены в памяти 205 электронного устройства 200, например, в случае, когда электронное устройство 200 поставляется в составе набора с несколькими кронштейнами 100. Благодаря размещению кронштейнов 100 обеспечивается точное определение того, в какой среде будет находиться электронное устройство 200, что позволяет обеспечить для него наиболее приемлемый для пользователя режим работы и/или настройки для электронного устройств 200. При этом, не ограничиваясь, режим работы также может включать определенный сценарий работы, то есть разовую или повторяющуюся последовательность процедур и/или операций, совершаемых электронным устройством 200. Соответственно, не ограничиваясь, при размещении электронного устройства 200 на кронштейне 100, предпочтительно, в момент образования магнитного соединения, активируется считыватель 203, который взаимодействует с пассивным средством идентификации кронштейна 100 для получения сигнала идентификации, в ответ на который обеспечивается изменение режима работы электронного устройства и/или изменение настроек электронного устройства 200. Когда электронное устройство 200 отсоединяют от кронштейна 100, например, не ограничиваясь, оно может продолжить работать в режиме и с настройками, соответствующими последнему кронштейну 100, от которого устройство 200 было отсоединено, либо режим работы и/или настройки могут быть изменены в момент отключения, то есть в момент прекращения магнитного соединения. Затем устройство 200 может быть размещено на другом кронштейне 100, с уникальным идентификатором которого связаны другой режим работы и настройки. Таким образом обеспечивается легкое изменение режимов работы одного и того же электронного устройства, в зависимости от пользовательских предпочтений и/или в зависимости от среды использования устройства 200. Например, не ограничиваясь, в случае с акустическим устройством 200 одним кронштейном 100 может быть инициировано воспроизведение подпрограммой медиаплеера акустического устройства одной последовательности музыкального контента и с одним уровнем звука; но при подключении устройства 200 к другому кронштейну 100 будет обеспечена другая последовательность воспроизведения другого музыкального контента и с другим уровнем звука; то есть сначала можно разместить устройство 200 на кронштейне 100, например, в спортзале, и запустить воспроизведение громкой музыки для тренировок, а потом можно разместить устройство 200 на кронштейне 100 в гостиной, и обеспечить воспроизведение тихой и спокойной музыки. Соответствующие сценарии и настройки подобным образом могут быть реализованы и для осветительного прибора 200, и для IoT-устройства 200, и для устройства 200 вывода изображения; при этом, например, не ограничиваясь, когда электронное устройство 200 является IoT-устройством 200, то может быть сформирован или, по меньшей мере, передан управляющий сигнал, который обеспечит изменение режимов работы и/или настроек других устройств в IoT-системы, то есть для IoT-устройства 200 изменение режима работы и/или настроек может заключаться, например, не ограничиваясь, в том, чтобы передать или сформировать и передать управляющий сигнал для других IoT-устройств IoT системы.
[52] Таким образом может быть обеспечен также набор, включающий, по меньшей мере, какой-либо упомянутый описанный ранее кронштейн 100 и, по меньшей мере, какое-либо упомянутое описанное ранее устройство 200.
[53] Таким образом также может быть обеспечен способ управления размещаемым на вертикальной поверхности электронным устройством, при котором упомянутое электронное устройство 200 размещают на кронштейне 100 для размещаемого на вертикальной поверхности электронного устройства таким образом, чтобы обеспечивалось взаимодействие с пассивным средством идентификации кронштейна 100 для получения сигнала идентификации, в ответ на получение которого изменяют режим работы электронного устройства 200 и/или изменяют настройки электронного устройства 200; причем упомянутый кронштейн 100 для размещаемого на вертикальной поверхности электронного устройства 200 представляет собой закрепляемый на вертикальной поверхности с образованием выступа элемент, выполненный с возможностью размещения выступа в выполненной с обращенной к вертикальной поверхности стороны электронного устройства 200 выемке 202; причем выступ содержит, по меньшей мере, один ферромагнитный или магнитный элемент 101, а в выемке 202 размещен соответствующий встречный магнитный или ферромагнитный элемент 201 таким образом, чтобы при размещении выступа в выемке 202 контактировать с соответствующим ферромагнитным или магнитным элементом 101 с образованием магнитного соединения; причем выемка 202 выполнена таким образом, чтобы обеспечивать сдвиг соответствующего встречного ферромагнитного или магнитного элемента 201 относительно соответствующего магнитного или ферромагнитного элемента 101 кронштейна 100; при этом кронштейн 100 снабжен пассивным средством идентификации, а электронное устройство 200 снабжено, по меньшей мере, считывателем 203, выполненным с возможностью взаимодействия с упомянутым средством идентификации; при этом электронное устройство 200 также содержит, по меньшей мере: процессор 204; память 205, по меньшей мере, содержащую код программы, который при выполнении процессором обеспечивает взаимодействие упомянутого считывателя с упомянутым средством идентификации для получения сигнала идентификации.
[54] Настоящее описание осуществления заявленного изобретения демонстрирует лишь частные варианты осуществления и не ограничивает иные варианты реализации заявленного изобретения, поскольку возможные иные альтернативные варианты осуществления заявленного изобретения, не выходящие за пределы объема информации, изложенной в настоящей заявке, должны быть очевидными для специалиста в данной области техники, имеющего обычную квалификацию, на которого рассчитано заявленное изобретение.
Использование: для размещения при помощи кронштейна акустического устройства. Сущность изобретения заключается в том, что размещаемое на вертикальной поверхности акустическое устройство содержит, по меньшей мере, считыватель, выполненный с возможностью взаимодействия с пассивным средством идентификации кронштейна, процессор, память, по меньшей мере, содержащую код программы, который при выполнении процессором обеспечивает взаимодействие упомянутого считывателя с упомянутым пассивным средством идентификации для получения сигнала идентификации, и управляемое процессором средство вывода звука, при этом акустическое устройство предназначено для размещения на вертикальной поверхности при помощи кронштейна, причем с обращенной к вертикальной поверхности стороны акустического устройства выполнена выемка для образуемого кронштейном выступа, содержащего, по меньшей мере, один ферромагнитный или магнитный элемент, а в выемке размещен соответствующий встречный магнитный или ферромагнитный элемент. Технический результат: обеспечение быстрого разъединения кронштейна и размещенного на нем устройства, а также обеспечение точного позиционирования устройства в пространстве. 1 з.п. ф-лы, 12 ил.
1. Управляемое при помощи кронштейна размещаемое на вертикальной поверхности акустическое устройство, содержащее, по меньшей мере: считыватель, выполненный с возможностью взаимодействия с пассивным средством идентификации кронштейна, процессор, память, по меньшей мере, содержащую код программы, который при выполнении процессором обеспечивает взаимодействие упомянутого считывателя с упомянутым пассивным средством идентификации для получения сигнала идентификации, и управляемое процессором средство вывода звука; при этом акустическое устройство предназначено для размещения на вертикальной поверхности при помощи кронштейна; при этом с обращенной к вертикальной поверхности стороны акустического устройства выполнена выемка для образуемого кронштейном выступа; при этом кронштейн для размещаемого на вертикальной поверхности акустического устройства представляет собой закрепляемый на вертикальной поверхности с образованием выступа элемент, выполненный с возможностью размещения выступа в выполненной с обращенной к вертикальной поверхности стороны акустического устройства выемке; при этом выступ содержит, по меньшей мере, один ферромагнитный или магнитный элемент, а в выемке размещен соответствующий встречный магнитный или ферромагнитный элемент таким образом, чтобы при размещении выступа в выемке контактировать с соответствующим ферромагнитным или магнитным элементом кронштейна с образованием магнитного соединения; причем выемка выполнена таким образом, чтобы обеспечивать сдвиг соответствующего встречного ферромагнитного или магнитного элемента относительно соответствующего магнитного или ферромагнитного элемента.
2. Устройство п. 1, характеризующееся тем, что память дополнительно содержит, по меньшей мере, код программы, который при выполнении процессором обеспечивает в ответ на полученный сигнал идентификации изменение режима работы акустического устройства и/или изменение настроек акустического устройства.
| ЭЛЕКТРОХИМИЧЕСКИЙ СПОСОБ ПОЛУЧЕНИЯ МЕДНОЗАКИСНЫХ ПЛЕИОК | 0 |
|
SU167730A1 |
| СПОСОБ ПОЛУЧЕНИЯ 5-СУЛЬФОГИДРАЗИДОВ МЕТИЛОВОГО ЭФИРА САЛИЦИЛОВОЙ КИСЛОТЫ | 0 |
|
SU194800A1 |
| CN 104364121 A, 18.02.2015 | |||
| US 2023110597 A1, 13.04.2023 | |||
| US 2009069925 A1, 12.03.2009 | |||
| Устройство для очистной выемки ископаемых | 1946 |
|
SU79738A1 |
Авторы
Даты
2025-05-05—Публикация
2024-09-30—Подача