УСТРОЙСТВО И СПОСОБ ЗАВЯЗЫВАНИЯ УЗЛОМ КОНЦА НИТИ
Настоящее изобретение относится к устройству для завязывания узлом конца нити так, чтобы была образована петля. В частности оно относится к устройству для завязывания узлом конца нити, представляющей собой нить для извлечения тампона.
Изобретение также относится к способу завязывания узлом конца нити и к устройству для изготовления тампонов, имеющих проксимальную нить для извлечения, имеющую два конца нити, соединенные вместе, при этом данные способ и устройство соответствуют ограничительной части независимых пунктов формулы изобретения.
Уровень техники
Тампоны используются для женской гигиены во время месячных и обычно представляют собой свернутые или сложенные листы из впитывающих материалов, которые спрессованы. Свернутые тампоны обычно содержат один или более слоев из впитывающего материала, а также какие-либо дополнительные слои из нетканых материалов и свернуты в направлении длины от одного конца. Современные способы изготовления дополнительно обеспечивают формирование конусообразного дистального переднего конца. Сложенные тампоны, так называемые «тампоны типа чайных пакетиков» (“teabag tampons”), сложены зигзагообразно аналогично гармошке и при необходимости также выполнены с конусообразным передним концам на этапе формирования подобно свернутым тампонам. Независимо от способа изготовления все тампоны требуют средства извлечения для удаления их из отверстия тела после использования.
Особенно важно то, что средство извлечения не должно отрываться ни при каких обстоятельствах, и то, что приспособление для крепления средства извлечения к тампону, то есть к впитывающему материалу или многослойному материалу, не должно отрываться. По этой причине используются ленты или нити, которые размещаются вокруг таких свернутых или сложенных тампонов поперек к продольному направлению ленты, так что средство извлечения образует петлю, расположенную поперек к направлению продольной протяженности ленты. После свертывания или складывания тампона петля предпочтительно оказывается полностью размещенной внутри тампона, и отрыв средства извлечения от впитывающего материала является практически невозможным, поскольку усилие извлечения не только действует на проксимальный конец тампона, но и дистальный конец также вытягивается посредством петли.
Как правило, процессы изготовления таких тампонов обеспечивают размещение нити для извлечения вокруг лентообразного материала до свертывания или складывания тампона, а также завязывание нити для извлечения узлом заранее. В документе WO 2016/207242 (Ruggli Projects AG, Hagendorn-CH) показан процесс изготовления тампона, в котором, в частности, решена дополнительная проблема свернутых тампонов. При складывании петли вокруг лентообразного материала усилие извлечения действует на дистальном конце, то есть на переднем конце тампона, при воздействии на нить для извлечения, но может случиться так, что свернутый тампон удлинится и будет вытянут телескопически в данном процессе. В данном документе показано, как такое телескопирование по существу предотвращается посредством многослойной ленты.
Однако машины самого последнего поколения, предназначенные для изготовления тампонов, работают при значительно бóльших объемах выпуска, чем предыдущие. В заявке на патент Швейцарии № 00426/18 (Ruggli Projects AG, Hagendorn-CH) показано устройство для формирования тампонов из лентообразного материала, в котором вытяжная нить размещается вокруг полоски лентообразного материала и завязывается узлом до намотки, что описано в данной публикации. Устройство, показанное в данном документе, способно изготавливать более 140 тампонов в минуту. Существующие узловязальные машины больше не могут справляться с данными количествами.
Следовательно, существует потребность в узловязальных машинах, которые способны образовывать большие количества узлов в единицу времени без потери качества.
Описание изобретения
Таким образом, задача настоящего изобретения состоит в том, чтобы усовершенствовать существующие узловязальные устройства и сделать их пригодными для обработки бóльших количеств штук. В частности, задача настоящего изобретения состоит в том, чтобы предложить устройство для завязывания узлом концов нити, которое является эффективным и требует меньше технического обслуживания.
Другая конкретная задача настоящего изобретения состоит в том, чтобы предложить устройство для завязывания узлом концов нити, которое позволяет решить по меньшей мере одну из известных проблем.
Данная задача была решена посредством устройства для завязывания узлом конца нити так, чтобы была сформирована петля, а также посредством соответствующего способа и устройства для изготовления тампонов с проксимальной нитью для извлечения, при этом указанные узловязальное устройство, способ и устройство для изготовления тампонов соответствуют отличительной части независимых пунктов формулы изобретения.
Один аспект настоящего изобретения относится к устройству для завязывания узлом конца нити так, чтобы была сформирована петля. Данный конец предпочтительно представляет собой конец нити, являющейся нитью для извлечения для тампонов.
Устройство включает в себя узловязальный механизм (knotting assembly) для завязывания узлом двух участков нити на конце нити. Кроме того, оно содержит нитеподатчик для подачи участков нити к узловязальному механизму. Устройство согласно изобретению содержит орбитальную направляющую, вдоль которой нитеподатчик направляется вокруг узловязального механизма. Орбитальная направляющая имеет зону ускорения, в которой нитеподатчик может быть ускорен до первой скорости. Кроме того, орбитальная направляющая имеет зону замедления, в которой нитеподатчик может быть замедлен до второй скорости.
Хотя настоящее изобретение описано выше в связи с тампонами, предназначенными для использования для женской гигиены во время месячных, специалисту в данной области техники будет понятно, что для тампонов всех типов, имеющих нить для извлечения, таких как хирургические тампоны для закрытия кровеносных сосудов, ран и анальные тампоны, используемые главным образом в медицинском учреждении, могут быть обеспечены преимущества за счет идей настоящего изобретения.
В конкретном варианте осуществления нитеподатчик выполнен с возможностью направления конца нити вдоль орбитальной направляющей и, в частности, с возможностью разматывания нити со шпули с нитью. Для этого нитеподатчик может быть снабжен, например, захватом или зажимом, который выполнен с возможностью захвата участка конца нити. В качестве альтернативы захвату нитеподатчик может быть предусмотрен со шпулей или роликом, поверх которой/которого направляется конец нити.
В контексте настоящего изобретения нитеподатчик может рассматриваться как выполненный с возможностью замедления или ускорения, если он функционально соединен на траектории его перемещения, например, с приводным средством, которое выполнено с возможностью замедления и/или ускорения.
В конкретном варианте осуществления нитеподатчик может быть сцеплен, например, посредством штифта, с приводной цепью, которая смонтирована на орбитальной направляющей. Данная цепь может быть ускорена до некоторой скорости посредством привода и замедлена при необходимости. Нитеподатчик, сцепленный с цепью, также будет ускоряться или замедляться.
В альтернативном варианте осуществления нитеподатчик может быть жестко прикреплен к подвижной каретке, которая установлена на орбитальной направляющей и которая, в свою очередь, ускоряется или замедляется при движении вдоль орбитальной направляющей, так что ускорение и замедление влияют на нитеподатчик.
В дополнительном альтернативном варианте осуществления нитеподатчик может быть приведен в движение посредством ремня, который может ускоряться или замедляться при движении вдоль орбитальной направляющей. Также возможен магнитный орбитальный привод, в котором возбуждаемые магниты, расположенные вдоль орбитальной направляющей, способны обеспечить ускорение или замедление нитеподатчика, смонтированного на орбитальной направляющей.
В конкретном варианте осуществления орбитальная направляющая включает в себя кольцевой подшипник и сама установлена с возможностью вращения вокруг центрального элемента. В этом случае нитеподатчик, например, жестко соединен с орбитальной направляющей, установленной с возможностью вращения. Орбитальная направляющая может быть приведена в движение, например, посредством выполнения зубьев на орбитальной направляющей, которая может приводиться в движение и ускоряться или замедляться посредством привода, например, посредством зубчатого ремня.
В конкретном варианте осуществления нитеподатчик может непосредственно приводиться в движение. Устройство согласно изобретению предпочтительно имеет непосредственный привод для нитеподатчика. В дополнительном конкретном варианте осуществления этот непосредственный привод может быть выполнен в виде непосредственного электропривода, в частности, в виде привода для передачи крутящего момента. Для этого, например, статор может быть предусмотрен с наружной стороны или внутренней стороны орбитальной направляющей, и нитеподатчик выполнен в виде ротора.
В соответствии с настоящим изобретением может быть предусмотрена система управления приводом, которая выполнена с возможностью задания зоны ускорения и зоны замедления для орбитальной направляющей. Система управления приводом может быть выполнена с возможностью обеспечения того, чтобы нитеподатчик проходил по орбитальной направляющей в одном обороте с по меньшей мере двумя разными скоростями, при этом, например, разные скорости обеспечиваются соответственно посредством зоны замедления и зоны ускорения.
В другом конкретном варианте осуществления система управления приводом выполнена с возможностью обеспечения первой скорости, которая поддерживается в зоне вязания узла.
В особенно предпочтительном варианте осуществления система управления приводом выполнена с возможностью обеспечения второй скорости нитеподатчика, которая поддерживается в зоне огибания.
Применительно к настоящему изобретению зону огибания можно понимать как зону, в которой один или более участков нити, представляющей собой нить, перемещаемую нитеподатчиком, накладывают на зону подачи ленты так, что они охватывают соответствующий участок полотна лентообразной основы, которая должна быть предусмотрена с нитью для извлечения. Аналогичным образом в контексте настоящего изобретения зону вязания узла можно рассматривать как дополнительную зону, в которой по меньшей мере два участка нити на конце нити направляются в узловязальный механизм таким образом, что узловязальный механизм обеспечивает связывание данных двух участков вместе узлом.
Это означает, что при эксплуатации ушко, петля или петля конца нити для извлечения будет образовано (-а) в зоне огибания и образующиеся в результате свободные концы нити будут соединены в зоне вязания узла.
Известны узловязальные механизмы, пригодные для реализации настоящего изобретения. В их самом простом варианте осуществления узловязальные механизмы, пригодные для устройства согласно изобретению, содержат по меньшей мере один сердечник для вязания узла (knotting mandrel). Сердечник для вязания узла установлен с возможностью вращения и приводится в движение внутри кольца для вязания узла. В общем случае сердечник для вязания узла вращается в направлении вращения, которое противоположно направлению вращения нитеподатчика на орбитальной направляющей. Сердечник для вязания узла сцепляется с участками нити, приближенными нитеподатчиком, и выполняет вращение в течение времени перемещения нитеподатчика в зоне вязания узла. При этом в результате вращения сердечника для вязания узла образуется узел.
В конкретном варианте осуществления узловязальный механизм имеет отверстие, которое обеспечивает возможность направления двух участков нити в рабочую зону узловязального механизма, когда они направляются в рабочую зону узловязального механизма посредством нитеподатчика, проходящего в направлении вдоль окружности.
В конкретном варианте осуществления устройство выполнено с возможностью формирования узла, то есть завязывания узлом конца нити, во время одного оборота нитеподатчика на орбитальной направляющей.
В конкретном варианте осуществления нитеподатчик ориентирован с возможностью его направления в направлении вдоль окружности на круговой орбитальной направляющей. В альтернативном или дополняющем варианте осуществления нитеподатчик жестко соединен с орбитальной направляющей, и орбитальная направляющая выполнена с возможностью ее направления в направлении вдоль окружности.
В конкретном варианте осуществления устройство дополнительно содержит устройство подачи нити (thread feed) для непрерывной подачи конца нити к нитеподатчику (driver).
В особенно предпочтительном варианте осуществления устройство подачи нити содержит шпулю с намотанной нитью и, в частности, по меньшей мере один разматыватель, посредством которого нить соединяется с нитеподатчиком. По мере перемещения нитеподатчика нить разматывается со шпули с нитью и подается один раз вокруг всего устройства, по существу образуя петлю из двух участков нити.
Применительно к настоящему изобретению конец нити может всегда рассматриваться как обработанный концевой участок, если рассматривать его относительно полной длины нити на шпуле.
Два участка нити, как их можно понимать в контексте настоящего изобретения, образуют два участка/две стороны петли, образованной по существу за счет огибающего перемещения нитеподатчика, при этом образуется петля, в которой позднее будет размещена лентообразная основа. Данная петля, как правило, расположена вокруг лентообразной основы поперек к продольному направлению лентообразной основы, так что вытягивание конца петли, завязанного узлом, обеспечивает приложение усилия в направлении, поперечном к продольному направлению лентообразной основы.
Применительно к настоящему изобретению сторона петли, противоположная узлу, может также упоминаться как дистальный конец нити для извлечения, в то время как узел может упоминаться как проксимальный конец нити для извлечения. Это соответствует обычной терминологии при рассмотрении тампона с дистальным концом, обычно образованным передней частью тампона, имеющей форму заостренного конуса.
В конкретном варианте осуществления узловязальный механизм выполнен с возможностью формирования узла посредством вращения сердечника для вязания узла вокруг оси вращения в направлении, противоположном направлению вращения нитеподатчика. В частности, сердечник для вязания узла совершает вращение более чем на один полный оборот вокруг его оси вращения при формировании узла. Сердечник для вязания узла предназначен для выполнения предпочтительно от 1 до 1,8 оборота, в частности, от 1,1 до 1,6 оборота, наиболее предпочтительно приблизительно 1,5 оборота при формировании узла.
В конкретном варианте осуществления сердечник для вязания узла приводится в движение для выполнения более одного полного оборота в направлении, противоположном направлению вращения нитеподатчика, в течение промежутка времени перемещения нитеподатчика через зону вязания узла. Это может означать, что при эксплуатации сердечник для вязания узла совершает от 1 до 2 оборотов, когда нитеподатчик перемещается в зоне вязания узла и возвращается в исходное положение, в частности, при завершении начатого оборота, когда нитеподатчик перемещается в зоне огибания.
В конкретном варианте осуществления устройство дополнительно содержит режущий элемент для отрезки соединенной узлом петли конца нити. Особенно предпочтительно, если режущий элемент воздействует на участок нити, который еще соединен со шпулей, на проксимальном конце петли. Особенно предпочтительно, если режущий элемент смонтирован таким образом, что разрезание выполняется посредством перемещения нитеподатчика, то есть нитеподатчик направляет участок нити, подлежащий разрезанию, мимо режущего элемента таким образом, что он разрезается. В самом простом варианте осуществления режущий элемент может представлять собой нож, установленный в направлении перемещения нитеподатчика, через который нитеподатчик направляет нить, преодолевая сопротивление, так что нить разрезается режущим элементом.
В конкретном варианте осуществления режущий элемент является криволинейным. В конкретном варианте осуществления поверхность контакта режущего элемента образует новый концевой элемент, поверх которого нитеподатчик разматывает последующую нить на последующей орбитальной траектории, и образуется новый конец нити для инициирования нового цикла.
В конкретном варианте осуществления орбитальная направляющая является по существу круговой. Особенно предпочтительно, если орбитальная направляющая является круговой. При размотке нити при круговом движении нитеподатчика вся конструкция может быть выполнена более компактной, и может быть улучшена доступность отдельного компонента. Кроме того, уменьшается износ компонентов. В данном варианте осуществления зона вязания узла, зона ускорения, зона огибания, зона замедления могут быть заданы в виде углов дуг круговой орбитальной направляющей. Углы могут соответствовать упомянутой последовательности и могут перекрываться. В другом конкретном варианте осуществления устройство выполнено с такой конфигурацией, что нитеподатчик полностью выполняет цикл при одном обороте орбитальной направляющей вокруг ее оси вращения, в частности, вокруг центра круговой орбитальной направляющей.
В конкретном варианте осуществления цикл включает две скорости, с которым нитеподатчик направляется вдоль круговой орбитальной направляющей. Первая скорость в зоне вязания узла задана меньшей, чем вторая скорость в зоне огибания. Особенно предпочтительно, если первая и вторая скорости соответствуют скорости вращения сердечника для вязания узла. Первая скорость такова, что сердечник для вязания узла может совершать от 1 до 2 полных оборотов вокруг оси вращения. Вторая скорость такова, что сердечник для вязания узла может выполнять оставшуюся часть оборота, то есть разницу между начатым и законченным вторым оборотом. Например, можно обеспечить то, что сердечник для вязания узла снова окажется в его исходном состоянии и будет готов, когда нитеподатчик снова войдет в зону вязания узла. В альтернативном варианте сердечник для вязания узла также может выполнять больше оборотов, чем оставшаяся часть оборота, то есть разница между начатым и законченным вторым оборотом, то есть дополнительно выполнять N полных оборотов. При этом полный оборот представляет собой полное вращение вокруг оси вращения и определяет угол, составляющий 360°.
В конкретном варианте осуществления устройство согласно изобретению содержит направляющий впускной элемент, предназначенный для пропускания лентообразной основы через рабочую зону нитеподатчика.
В конкретном варианте осуществления данный направляющий впускной элемент представляет собой углубление, через которое лентообразная основа может быть перемещена в рабочую зону нитеподатчика. Применительно к настоящему изобретению рабочая зона нитеподатчика ограничена его круговым перемещением вдоль орбитальной направляющей. Другими словами, рабочая зона нитеподатчика будет задана, как только объект окажется в пределах орбитальной направляющей нитеподатчика. На практике это может означать, что нитеподатчик будет разматывать конец нити и перемещать его вдоль орбитальной направляющей таким образом, что он будет наматываться вокруг лентообразной основы, размещенной в направляющем впускном элементе.
Соответственно, в конкретном варианте осуществления направляющий впускной элемент образован сбоку от узловязального механизма. Особенно предпочтительно, если конец нити будет размещен вокруг лентообразной основы во время орбитального движения нитеподатчика по орбитальной направляющей со второй скоростью.
В конкретном варианте осуществления устройство включает в себя удерживающее устройство для удерживания петли, образованной посредством кругового движения нитеподатчика по орбитальной направляющей. Особенно предпочтительно, если удерживающее устройство образовано сбоку от узловязального механизма. Наиболее предпочтительно, если удерживающее устройство образовано сбоку от направляющего впускного элемента, так что петля удерживается таким образом, что лентообразная основа оказывается размещенной внутри по отношению к сторонам петли.
В конкретном варианте осуществления удерживающее устройство выполнено в виде фиксатора. Фиксатор выполнен с возможностью приложения возвращающей силы к концу петли конца нити, на котором должен быть завязан узел. В частности, фиксатор выполнен с возможностью приложения снимаемой возвращающей силы к концу петли конца нити, на котором должен быть завязан узел.
В конкретном варианте осуществления удерживающее устройство выполнено с приводом. Это может быть обеспечено, например, посредством выполнения удерживающего устройства с приводимым в действие, пневматическим цилиндром.
В альтернативном или дополняющем варианте осуществления удерживающее устройство предусмотрено с компонентом для приложения возвращающей силы, так что удерживающее устройство будет поддерживать натяжение удерживаемой петли по отношению к нитеподатчику и узловязальному механизму. В варианте, в котором удерживающее устройство выполнено в виде фиксатора, оно также может быть снабжено механическим концевым упором, который обеспечивает блокировку выдвинутого фиксатора. При расфиксации фиксатора он может отпустить петлю и перейти в состояние расфиксации. При этом фиксатор предпочтительно выполнены таким, что он может автоматически переместиться в его исходное положение.
В конкретном варианте осуществления фиксатор содержит пневматический цилиндр.
В альтернативном или дополняющем варианте осуществления фиксатор содержит пружину.
В конкретном варианте осуществления удерживающее устройство выполнено с возможностью его регулирования по отношению к направляющему впускному элементу, так что могут быть заданы различные длины петель. Например, в зависимости от выбранного расстояния от удерживающего устройства до направляющего впускного элемента или до узловязального механизма соответственно более длинные или более короткие участки нити могут использоваться для формирования петли.
В конкретном варианте осуществления удерживающее устройство содержит по меньшей мере два удерживающих зубца. Удерживающие зубцы могут быть выполнены с такой конфигурацией, что один конец участка нити будет удерживаться удерживающим зубцом в каждом случае, так что удерживающее устройство будет поддерживать соответствующее «очко» петли, в которое, например, может направляться направляющий впускной элемент для направления лентообразной основы через него.
В конкретном варианте осуществления фиксатор выполнен с возможностью приложения удерживающей силы к петле при условии, что петля имеет соответствующее натяжение. При эксплуатации это может означать, что после того, как узел будет завязан и конец нити будет отрезан, больше не будет никакого противонатяжения, поскольку тянущее усилие больше не будет действовать на петлю со стороны нитеподатчика. Фиксатор может быть выполнен с такой конфигурацией, что отсутствие противонатяжения будет приводить к освобождению петли. Это освобождение петли может обеспечить то, что перемещаемая лентообразная основа, вокруг которой петля размещена, будет тянуть петлю за собой.
В конкретном варианте осуществления устройство содержит направляющую пластину для направления лентообразной основы через рабочую зону нитеподатчика. Данная направляющая пластина может быть расположена, например, перпендикулярно к направляющему впускному элементу.
В конкретном варианте осуществления направляющая пластина выполнена так, что после расфиксации удерживающего устройства сформированная петля сначала загибается на направляющую пластину и затем проходит на следующую технологическую операцию вместе с соответствующей частью лентообразной основы посредством перемещения лентообразной основы.
В конкретном варианте осуществления направляющая пластина имеет поверхность с сужающимся концом, проходящую в продольном направлении лентообразной основы.
В конкретном варианте осуществления направление ширины направляющей пластины совпадает с направлением длины нити для извлечения, которая должна быть получена.
В конкретном варианте осуществления устройство согласно изобретению дополнительно содержит средство контроля узла, предназначенное для проверки узла, завязанного посредством узловязального механизма. В частности, средство контроля узла может включать в себя оптическое, механическое и/или электрическое средство контроля узла. Например, визуальный контроль узла может быть обеспечен за счет наличия камеры, направленной в зону вязания узла, и визуальной проверки узлов. Может быть предусмотрено механическое средство контроля узла, которое предотвращает перемещение завязанной узлом, нити для извлечения дальше, если отсутствует какая-либо выпуклость.
В конкретном варианте осуществления орбитальная направляющая выполнена с возможностью приведения ее в движение. Особенно предпочтительно, если орбитальная направляющая имеет зубья, с помощью которых она может быть приведена в движение посредством зубчатого ремня. Особенно предпочтительно, если она может ускоряться равномерно и выполняет вращение вокруг оси вращения. В данном варианте осуществления нитеподатчики могут быть жестко соединены с орбитальной направляющей посредством соединения с ней с помощью заклепок и/или болтов.
В особенно предпочтительном варианте нитеподатчики выполнены сменными и могут быть прикреплены с возможностью отсоединения к орбитальной направляющей, выполненной с возможностью приведения ее в движение. В данном варианте осуществления зубчатый ремень может быть соединен с ременным приводом, который посредством управления приводом может обеспечить ускорение или замедление орбитальной направляющей в зависимости от зоны согласно изобретению. Это может привести к тому, что орбитальная траектория будет описывать окружность, на которой обеспечиваются разные скорости нитеподатчика.
В конкретном варианте осуществления система управления приводом выполнена с возможностью обеспечения привода движения по круговой траектории с непрерывным ускорением.
В конкретном варианте осуществления узловязальный механизм включает в себя по меньшей мере один сердечник для вязания узла, приводимый во вращение в направлении, параллельном направлению вращения орбитальной направляющей. В соответствии с настоящим изобретением предложено устройство для завязывания узлом конца нити так, чтобы была сформирована петля, которое легко обслуживать и которое выполнено с возможностью подачи лентообразных основ с соответствующими петлями с высокой частотой, так что данные петли могут быть преобразованы в нити для извлечения тампонов. Устройство согласно изобретению выполняет это при непрерывной работе и, следовательно, адаптировано к требованиям, обусловленным современными непрерывными технологическими процессами.
Для специалиста в данной области техники очевидно, что все вышеуказанные варианты осуществления могут быть объединены друг с другом в варианте осуществления согласно изобретению при условии, что они не являются взаимоисключающими.
Другим аспектом настоящего изобретения является способ завязывания узлом конца нити, в частности, двух участков нити на конце нити, так, что формируется петля, которая образует нить для извлечения для тампонов.
В конкретном варианте осуществления данный способ выполняется посредством устройства согласно изобретению, описанного выше. Соответственно, функциональные элементы/признаки, описанные выше в связи с устройством, представляют собой одновременно возможные элементы/признаки способа согласно изобретению.
Способ согласно изобретению включает этап направления конца нити посредством нитеподатчика, выполненного с возможностью перемещения по орбитальной направляющей, вдоль орбитальной направляющей вокруг узловязального механизма и охватываемого/огибаемого элемента, так что петля из двух участков нити на конце нити формируется между узловязальным механизмом и охватываемым элементом.
Способ согласно изобретению дополнительно включает этап связывания узлом двух участков нити посредством узловязального механизма и освобождения петли на охватываемом элементе.
В способе согласно изобретению орбитальная направляющая имеет зону вязания узла, через которую нитеподатчик проходит с первой скоростью, и зону огибания, через которую нитеподатчик проходит со второй скоростью. Для этого зона ускорения, в которой нитеподатчик ускоряется до второй скорости, и зона замедления, в которой нитеподатчик замедляется до первой скорости, могут быть предусмотрены между зоной вязания узла и зоной огибания в переходных зонах.
В конкретном варианте осуществления отношение первой скорости ко второй скорости составляет от двух к одному до шести к одному.
При эксплуатации нитеподатчик будет, например, направлять конец нити от шпули с нитью вдоль орбитальной направляющей. Эта орбитальная направляющая обеспечивает направление нити мимо охватываемого элемента, так что создается натяжение между охватываемым элементом и нитеподатчиком. Кроме того, это создает отверстие/«очко» петли. На своем дальнейшем пути нитеподатчик теперь направляет два участка нити к узловязальному механизму, и данный механизм обеспечивает связывание узлом двух концов нити.
В конкретном варианте осуществления способа согласно изобретению подача конца нити от нити на шпуле к нитеподатчику, выполненному с возможностью перемещения на орбитальной направляющей, происходит посредством возвращающей силы. Это может приводить к поддержанию устойчивого натяжения нити независимо от траектории, по которой проходит нитеподатчик на орбитальной направляющей. Следует отметить, что, несмотря на то, что нитеподатчик может следовать вдоль круговой орбитальной направляющей, нить может направляться непосредственно с помощью паковки нити или посредством отклоняющего ролика, который может быть подсоединен между ними.
Возвращающая сила может действовать на нить, например, посредством подпружиненного рычага или приводной промежуточной шпули, расположенной между нитеподатчиком и шпулей с нитью. В конкретном варианте осуществления данные элементы расположены за пределами окружности орбитальной направляющей.
В конкретном варианте осуществления освобождение петли включает отрезку конца нити от нити. Эта отрезка может происходить по существу одновременно со связыванием узлом участков нити. В частности, данная отрезка происходит вскоре после связывания узлом участков нити.
В особенно предпочтительном варианте осуществления отрезка конца нити также означает освобождение петли при предотвращении приложения возвращающей силы к петле с завязанным узлом вследствие отсутствия противонатяжения, в результате чего петля освобождается.
В конкретном варианте осуществления отношение первой скорости ко второй скорости составляет от одного к двум до одного к шести. Другими словами, движение нитеподатчика со скоростью, соответствующей диапазону первой скорости, происходит со скоростью, которая составляет по существу от половины до одной шестой от скорости во втором диапазоне.
В другом конкретном варианте осуществления первая скорость представляет собой скорость, которую имеет нитеподатчик, когда он проходит через зону вязания узла, то есть проходит через зону, в которой участки нити находятся в узловязальном механизме, и происходит связывание участков нити узлом посредством сердечника для вязания узла.
В особенно предпочтительном варианте осуществления зона вязания узла, зона огибания и зона ускорения или замедления заданы в виде углов дуг круговой орбитальной направляющей. В конкретном варианте осуществления зона вязания узла охватывает диапазон от 5 до 45° дуги орбитальной направляющей, предпочтительно от 10 до 30° дуги орбитальной направляющей, более предпочтительно 15° дуги орбитальной направляющей. Соответственно, оставшаяся часть полной орбитальной направляющей, то есть оставшаяся часть, составляющая от 355 до 315°, в частности, от 350 до 330°, кроме того, в частности 345° образует зону огибания.
Особенно предпочтительно, если орбитальная направляющая имеет зону ускорения и зону замедления, в которых регистрируются соответствующие скорости. Особенно предпочтительно, если зона ускорения и зона замедления расположены в зоне огибания.
В данных зонах нитеподатчик ускоряется или замедляется до соответствующей скорости, с которой он проходит в зоне огибания и, соответственно, в зоне вязания узла. Особенно предпочтительно, если ускорение и замедление нитеподатчика выполняются посредством привода и под управлением от системы управления приводом. В данном примере система управления приводом может быть выполнена с возможностью периодического управления движением нитеподатчика, который переходит от первой скорости ко второй скорости и обратно, в цикле, так что одни и те же диапазоны углов дуг орбитальной направляющей, по которой перемещается нитеподатчик, всегда используются для соответствующего ускорения или замедления.
В конкретном варианте осуществления способа согласно изобретению в качестве начального положения P0 может рассматриваться, например, положение, в котором нитеподатчик образует угол относительно центра круговой орбитальной направляющей, который составляет 0° или по существу 0°. В контексте настоящего изобретения по существу 0° или по существу Х° следует понимать как значение с учетом отклонения, составляющего самое большее 1°.
В конкретном варианте осуществления зона вязания узла охватывает угол от 0 до 45°, в частности от 0 до 30°, в частности 15°.
В другом конкретном варианте осуществления зона ускорения примыкает к зоне вязания узла. В другом конкретном варианте осуществления зона вязания узла соответствует углу от 0 до 15°, и зона ускорения начинается непосредственно за ней.
В конкретном варианте осуществления освобождение петли на охватываемом элементе предусматривает расфиксацию фиксатора, самоустанавливающегося в исходное положение. Фиксатор выполнен с возможностью приложения снимаемой возвращающей силы в направлении нитеподатчика и/или узловязального механизма.
Фиксатор предпочтительно выполнен с возможностью его расфиксации и с возможностью автоматического возврата в его исходное состояние. Это может быть выполнено, например, посредством пневматического цилиндра или также посредством пружины, предусмотренной с заданной возвращающей силой. Также можно использовать магнитную систему управления для перевода фиксатора из положения расфиксации в положение, в котором он обеспечивает приложение возвращающей силы.
В конкретном варианте осуществления способ согласно изобретению дополнительно включает этапы выполнения устройства для завязывания узлом конца нити, которое описано выше, и прохождения лентообразной основы через рабочую зону нитеподатчика так, чтобы конец нити был размещен вокруг лентообразной основы. В частности, конец нити размещается вокруг лентообразной основы при перемещении нитеподатчика по орбитальной направляющей, при этом происходит размещение конца нити вокруг лентообразной основы, при этом прохождение лентообразной основы осуществляется в направлении, по существу перпендикулярном к орбитальной направляющей/траектории нитеподатчика.
При эксплуатации устройство согласно изобретению может быть установлено в системе, предназначенной для изготовления тампонов, таким образом, что лентообразная основа переводится в состояние функционального соединения с устройством в направлении, перпендикулярном к оси вращения орбитальной направляющей или нитеподатчика. Для этого может быть предусмотрено соответствующее отверстие для подачи, которое обеспечивает возможность подачи лентообразной основы, например, в средство подачи рулонного материала (web feed), как описано выше. Средство подачи рулонного материала выполнено с такой конфигурацией, что сформированная петля размещается вокруг средства подачи рулонного материала за счет перемещения нитеподатчика, так что лентообразная основа будет расположена внутри данного средства подачи рулонного материала перпендикулярно или по меньшей мере по существу перпендикулярно к продольному направлению ориентации нити. Если петля сформирована и происходит отсоединение, петля опускается на лентообразную основу.
В конкретном варианте осуществления лентообразная основа направляется поверх направляющей пластины, на которую сначала опускается петля, и петля размещается на лентообразной основе посредством поверхности с сужающимся концом по мере ее продвижения, не мешая продвижению лентообразной основы на траектории ее перемещения.
Соответственно, согласно еще одному аспекту настоящего изобретения предложено устройство для изготовления тампонов, имеющих проксимальную нить для извлечения. Нить для извлечения имеет два конца нити, соединенные вместе. Устройство содержит устройство для связывания узлом двух концов нити, подобное описанному вначале.
Оно дополнительно содержит транспортирующее устройство для перемещения лентообразной основы в рабочую зону устройства, предназначенного для связывания узлом двух концов нити. В частности, транспортирующее устройство расположено по существу перпендикулярно к орбитальной направляющей/траектории нитеподатчика, предназначенного для подачи двух участков нити к узловязальному механизму.
Еще один аспект и/или вариант осуществления настоящего изобретения относится к устройству для завязывания узлом конца нити так, чтобы петля была сформирована вокруг лентообразной основы, в частности, для завязывания узлом конца нити, представляющей собой нить для извлечения для тампонов. Устройство может также иметь любые признаки вышеуказанного устройства, не противоречащие нижеприведенным признакам.
Данное устройство включает в себя узловязальный механизм) для связывания узлом двух участков нити на конце нити.
Оно также содержит нитеподатчик для подачи участков нити в узловязальный механизм, при этом нитеподатчик опирается на орбитальную направляющую с возможностью вращательного движения вдоль орбитальной направляющей вокруг направляющего впускного элемента, предназначенного для пропускания лентообразной основы, в частности, опирается на круговую орбитальную направляющую с возможностью вращательного движения вдоль круговой орбитальной направляющей. Устройство дополнительно содержит захватное устройство, которое расположено по существу перпендикулярно к направляющему впускному элементу и которое выполнено с возможностью приема участка нити от нитеподатчика и наложения нити на лентообразную основу. В контексте настоящего изобретения по существу перпендикулярный следует понимать как расположенный относительно плоскости лентообразной основы под углом в диапазоне от 85 до 95°.
Посредством захватного устройства, расположенного таким образом, нить может быть легко наложена на лентообразную основу, например, впитывающую ленту из хлопка. В целом перемещение при наложении стабилизируется, что обеспечивает возможность увеличения производительности и повышения надежности. Устройство работает в целом более безотказно, несмотря на высокую скорость. Повышенная надежность также позволяет сократить интервалы обслуживания и уменьшить отказы, что также обеспечивает возможность лучшего использования устройства в целом.
В конкретном варианте осуществления захватное устройство образовано в основном из металла. Это может обеспечить повышение долговечности и уменьшение износа. Особенно предпочтительно, если захватное устройство изготовлено из нержавеющей стали. Кроме того, захватное устройство предпочтительно изготовлено так, что его конструкция по меньшей мере его подвижных компонентов является легкой, то есть экономия материала обеспечивается везде, где это возможно, например, посредством выполнения углублений в рычаге захватного устройства, которые могут привести к экономии материала и, следовательно, также к снижению массы.
В альтернативном варианте захватное устройство, в частности, по меньшей мере один крюк захватного устройства, предназначенный для приема участка нити, изготовлено/изготовлен из керамического материала.
В конкретном варианте осуществления устройство содержит направляющую пластину для направления лентообразной основы через рабочую зону нитеподатчика. В другом конкретном варианте осуществления устройство содержит стопорную пластину. Данная стопорная пластина может быть расположена между направляющей пластиной и захватным устройством так, что захватное устройство не будет касаться лентообразной основы при наложении участка нити посредством захватного устройства. Это может обеспечить повышение плавности работы устройства.
В конкретном варианте осуществления захватное устройство содержит пружину захватного устройства, которая обеспечивает приложение возвращающей силы к крюку захватного устройства, выполненному с возможностью приема участка нити. Возвращающая сила предпочтительно задана такой, чтобы она преодолевалась посредством связывания узлом двух участков нити на конце нити с помощью узловязального механизма. В этом случае при эксплуатации вязание узла приводит, например, к опусканию рычага захватного устройства при преодолении воздействия возвращающей силы, создаваемой пружиной захватного устройства, что обеспечивает возможность плавного наложения петли, сформированной таким образом, на лентообразную основу. Как только участок нити будет освобожден от крюка захватного устройства, возвращающая сила может действовать на крюк захватного устройства таким образом, что он будет отскакивать обратно в его исходное положение, в котором он готов принимать следующий участок нити на следующем конце нити.
При по существу беспрепятственном соскальзывании петли на лентообразную основу плавность работы устройства может быть повышена, и может быть обеспечена возможность дополнительного повышения производительности.
В конкретном варианте осуществления захватное устройство, выполненное с возможностью наложения участка нити из нитеподатчика на лентообразную основу, включает в себя пружинный элемент, который обеспечивает приложение возвращающей силы к захватному устройству. Пружинный элемент может способствовать возврату захватного устройства в наклонное состояние после наложения участка нити.
В конкретном варианте осуществления узловязальный механизм имеет отверстие, которое выполнено с возможностью направления двух участков нити в рабочую зону узловязального механизма при их направлении в рабочую зону узловязального механизма посредством нитеподатчика, проходящего в направлении вдоль окружности.
В конкретном варианте осуществления узловязальный механизм имеет проушину для вязания узла, которая выполнена с возможностью направления по меньшей мере одного участка нити в зону вязания узла, предусмотренную в узловязальном механизме, при направлении участков нити в зону вязания узла, предусмотренную в узловязальном механизме, посредством нитеподатчика, проходящего в направлении вдоль окружности. Проушина для вязания узла предпочтительно имеет для этого поверхность с геометрической конфигурацией для направления, которая выполнена с возможностью ее выравнивания относительно направления вращения нитеподатчика.
Устройство для изготовления тампонов согласно изобретению имеет транспортирующее устройство для перемещения лентообразной основы, которое обеспечивает перемещение в рабочую зону устройства, предназначенного для связывания узлом двух концов нити, таким образом, чтобы во время орбитального перемещения нитеподатчика вдоль орбитальной направляющей конец нити был наложен вокруг лентообразной основы по существу поперек к ее продольной оси.
В дальнейшем настоящее изобретение будет разъяснено более подробно со ссылкой на фигуры и конкретные примеры, но настоящее изобретение не ограничено ими. Следствием изучения данных примеров и фигур специалистом в данной области техники станут дополнительные предпочтительные варианты осуществления, которые могут быть реализованы на основе решения согласно изобретению.
Фигуры являются схематическими, и для простоты одинаковые компоненты обозначены одинаковыми ссылочными позициями.
Описание фигур
Примеры вариантов осуществления изобретения описаны со ссылкой на нижеуказанные фигуры. Показывают:
фиг. 1 - схематически конструкцию устройства согласно изобретению;
фиг. 2 - схематически разделение орбитальной направляющей на зоны;
фиг. 3 - пример устройства согласно изобретению;
фиг. 4а - схематически фиксатор так, как он может использоваться в устройстве согласно изобретению в положении зажима;
фиг. 4b - соответствующий фиксатор по фиг.4а в положении расфиксации;
фиг. 5а - другой пример устройства согласно изобретению;
фиг. 5b - альтернативный вариант осуществления устройства согласно фиг.5а;
фиг. 6 - схематическое изображение подходящего узловязального механизма;
фиг. 7а - вид сердечника для вязания узла без проушины;
фиг. 7b - вид сердечника для вязания узла с проушиной; и
фиг. 8а - альтернативный пример устройства согласно изобретению;
фиг. 8b - схематическое сечение, показывающее детализированное изображение захватного устройства по варианту осуществления согласно фиг.8а в ненапряженном состоянии;
фиг. 8с - схематическое сечение, показывающее детализированное изображение захватного устройства по варианту осуществления согласно фиг.8а в напряженном состоянии;
фиг. 8d - схематическое сечение, показывающее детализированное изображение узловязального механизма по варианту осуществления согласно фиг.8а; и
фиг. 9 - схематически конструкцию варианта осуществления согласно фиг.8а.
Конструкция по изобретению
Фиг.1 показывает схематическую конструкцию устройства 1 согласно изобретению, предназначенного для завязывания узлом конца нити. Цель завязывания узлом заключается в том, что посредством двух свободных концов нити сначала образовать «ушко» и связать свободные концы узлом таким образом, чтобы они вместе образовали тугую петлю. В описанном способе согласно заявке петля охватывает лентообразный материал так, что каждая из обеих сторон петли будет размещена на одной стороне лентообразного материала поперечно к продольному направлению ленты. При свертывании лентообразного материала, например, для образования тампона для женской гигиены, петля оказывается размещенной внутри тампона. Связанные узлом концы нити выступают из тампона, и узел и петля, образованная с узлом, могут служить, например, в качестве нити для извлечения для извлечения тампона.
Орбитальная направляющая 4 исходно предусмотрена для устройства 1 для охвата рулонного материала и связывания узлом концов нити. В представленном примере орбитальная направляющая является круговой. Предпочтительные эффекты могут быть обеспечены за счет круговой конфигурации орбитальной направляющей. Объекты, перемещающиеся по круговой направляющей, могут перемещаться с постоянной окружной скоростью. Подшипники и/или средства привода подвергаются воздействию по существу равномерной нагрузки и могут быть спроектированы соответствующим образом для избежания или по меньшей мере минимизации воздействий, вызываемых дисбалансом. Кроме того, упрощается управление отдельными элементами (см. позднее синхронизацию сердечника для вязания узла с нитеподатчиком). Ускорение и замедление элементов могут выполняться согласованно с угловыми сегментами, так что также возможна точная регулировка - такая регулировка особенно полезна, когда устройство согласно изобретению адаптируют к новому материалу нити и/или рулонному материалу. Для этого специалист в данной области техники может настроить управление перемещением элементов необходимым образом в зависимости от натяжения, эластичности и фрикционного сопротивления нити.
В представленном примере нитеподатчик 5 перемещается вдоль данной орбитальной направляющей 4 с разными скоростями в направлении R вращения. Для простоты данное направление R вращения соответствует направлению по часовой стрелке и будет рассматриваться как базовое при дальнейшем рассмотрении заявки для разъяснения направления вращения других компонентов. Само собой разумеется, устройство согласно изобретению также может быть выполнено с конструкцией, являющейся зеркальным отображением, и соответствующие направления вращения могут быть точно противоположными.
Нитеподатчик 5 используется для перемещения нити от шпули с нитью (не показанной на фиг.1) вдоль орбитальной направляющей 4, посредством чего нить размещается вокруг определенных элементов устройства 1.
При перемещении нитеподатчик 5 наматывает нить, в частности, вокруг первого стержня 9.2, который в представленном примере служит в качестве охватываемого элемента. Стержень 9.2. обеспечивает поддержание одного ушка открытым во время непрерывного перемещения по орбитальной направляющей. При перемещении вдоль орбитальной направляющей 4 нитеподатчик 5 совершает в целом полный круг и позволяет нити, которая может быть размещена, например, посредством шпули с нитью на противоположном крае первого стержня 9.2, образовать петлю между шпулей с нитью и вторым стержнем 9.1. В самом простом варианте осуществления данный второй стержень 9.1 выполнен в виде сердечника или лопасти, который (-ая) выступает в рабочее пространство нитеподатчика 5 от задней стенки, на которой размещены элементы устройства, и также может быть выполнен с возможностью приведения в движение. В представленном самом простом случае первый стержень 9.1 также представляет собой сердечник, например, сердечник, который сужается по направлению к тому, кто смотрит на фиг.1, и с которого петля нити со связанным узлом может легко соскальзывать в направлении к наблюдателю, при этом, например, петля нити захватывается ленточным конвейером, проходящим перпендикулярно к орбитальной направляющей 4 устройства 1. В конкретных и особенно предпочтительных вариантах осуществления первый стержень 9.2 может быть заменен рычагом, приводимым в действие, или другим удерживающим устройством с приводом, таким как фиксатор, выполненный с возможностью расфиксации.
Для предотвращения ситуации, при которой конец нити, снятый с первого стержня, образованного в виде сердечника, слишком сильно сталкивается - в виде петли - с лентообразной основой, предусмотрена отклоняющая пластина 7, которая также проходит в рабочую зону и во внутреннее пространство петли, захватывает ее при ее снятии с сердечника и плавно отпускает петлю посредством конца, сужающегося в направлении перемещения ленты, на лентообразный материал.
Лентообразный материал входит в рабочую зону нитеподатчика 5 через направляющий впускной элемент 8. В самом простом варианте осуществления направляющий впускной элемент 8 представляет собой углубление в задней стенке устройства. Лентонаправляющая пластина 6 выступает в рабочую зону устройства через направляющий впускной элемент 8 и расположена с возможностью направления лентообразного материала в устройство посредством приводного устройства, например, роликов (непоказанных). На данной лентонаправляющей пластине 6 лентообразный материал перемещается в рабочую зону нитеподатчика 5. Как только нитеподатчик пройдет мимо второго направляющего стержня 9.1, лентонаправляющая пластина 6 и, следовательно, лентообразная основа будут размещены внутри ушка петли, образованной двумя участками нити, перемещаемой нитеподатчиком 5.
В процессе данного перемещения нитеподатчик 5 проходит через зону огибания с определенной скоростью.
Со стороны, противоположной по отношению к первому стержню 9.1, расположен узловязальный механизм 3, который расположен в проушине 2 для вязания узла.
В представленном примере нитеподатчик перемещается теперь через зону вязания узла со скоростью, которая отличается от скорости в зоне огибания. Это позволяет нитеподатчику 5 перемещаться через зону огибания со скоростью, которая в два - пять раз превышает скорость, с которой он перемещается в зоне вязания узла. Данная зона вязания узла начинается там, где узловязальный механизм начинает воздействовать на конец нити, при этом узловязальный механизм соответственно связывает две стороны петли и образует узел. В представленном примере зона вязания узла начинается приблизительно после того, как нитеподатчик 5 пройдет мимо второго стержня 9.1 и образует петлю вокруг первого стержня 9.2, внутри которой имеется лентонаправляющая пластина 6. Соответствующие зона вязания узла и зона огибания могут быть заданы посредством угла дуги орбитальной направляющей 4.
Скорость нитеподатчика 5 является переменной, и управление нитеподатчиком 5 и приведение его в движение могут осуществляться так, чтобы он ускорялся и замедлялся. Если нитеподатчик 5 находится в зоне вязания узла, сердечник для вязания узла (не показанный на фиг.1) вращается в узловязальном механизме 3, совершая вращение, в частности, на полтора оборота, в направлении, противоположном направлению R1 вращения нитеподатчика 5. В завершение нитеподатчик 5 проходит через рабочую зону режущего ножа 14, который отрезает конец нити, в результате чего обеспечивается возможность отвода петли нити с завязанным узлом. Нитеподатчик 5 захватывает другой конец нити и продолжает движение в направлении R вращения.
На фиг.2 снова разъясняется более подробно разделение на зоны орбитальной направляющей 4 с расположением, показанным на фиг.1, при этом рабочие зоны по фиг.1 показаны при использовании углов раствора. Фиг.2 схематически показывает снова орбитальную направляющую 4 по фиг.1. Также показан центр М круговой орбитальной направляющей 4. Нитеподатчик направляется по окружности орбитальной направляющей 4. Технологический цикл начинается, когда нитеподатчик 5 направляет свободный конец нити в зоне U огибания. Данная зона U огибания может включать в себя первую зону В1 ускорения. В зоне В1 ускорения нитеподатчик ускоряется до второй скорости. Данная вторая скорость может составляет более 500 об/мин (относительно орбиты) и в представленном примере составляет приблизительно 510 об/мин. В зоне В1 ускорения может иметь место ускорение, составляющее от 200 до 950 радиан/с2.
Начальная скорость нитеподатчика 5 в начале зоны В1 ускорения соответствует постоянной скорости, которую сохраняет нитеподатчик во время всего прохождения через зону V вязания узла. Постоянная и сравнительно более низкая скорость в зоне V вязания узла позволяет узловязальному механизму 3 связать узлом концы петли, подаваемые посредством нитеподатчика. В представленном примере скорость нитеподатчика во время прохождения через зону V вязания узла в пять - шесть раз меньше, чем максимальная скорость в зоне U огибания. В частности, в данном случае нитеподатчик 5 выходит из зоны V вязания узла со скоростью составляющей от 50 до 15, в частности, приблизительно 90 об/мин.
Для гарантирования того, что при повторном входе в зону V вязания узла скорость нитеподатчика будет уменьшена до данной постоянной скорости, которая в два - шесть раз меньше, чем максимальная скорость, с которой нитеподатчик проходит в зоне U огибания, зона U огибания содержит вторую зону В2 ускорения, фактически зону В2 замедления, в которой скорость нитеподатчика уменьшается, например, с ускорением, составляющим от 200 до 950 об/с2.
В представленном примере зона вязания узла может охватывать угол, составляющий по существу 15°.
Таким образом, в зависимости от задания параметров специалистом в данной области техники имеется интервал времени в зоне вязания узла, составляющий от 0,015 до 0,05 секунды, для образования узла. В целом скорость нитеподатчика в данном конкретном иллюстративном варианте осуществления такова, что он выполняет полный цикл в течение периода, составляющего от 0,08 до 0,18 секунды. В представленном примере промежуток времени, составляющий 0,028 секунды, может быть задан для зоны V вязания узла, и промежуток времени, составляющий 0,053 секунды, может быть задан для зоны U огибания при ускорении в зонах В1, В2 ускорения, составляющем соответственно приблизительно +940 радиан/с2, -940 радиан/с2.
Это позволило создать узловязальное устройство, подобное описанному в начале данной заявки, которое способно обеспечить очень высокую производительность и в то же время может работать при малом износе материалов и малом объеме технического обслуживания.
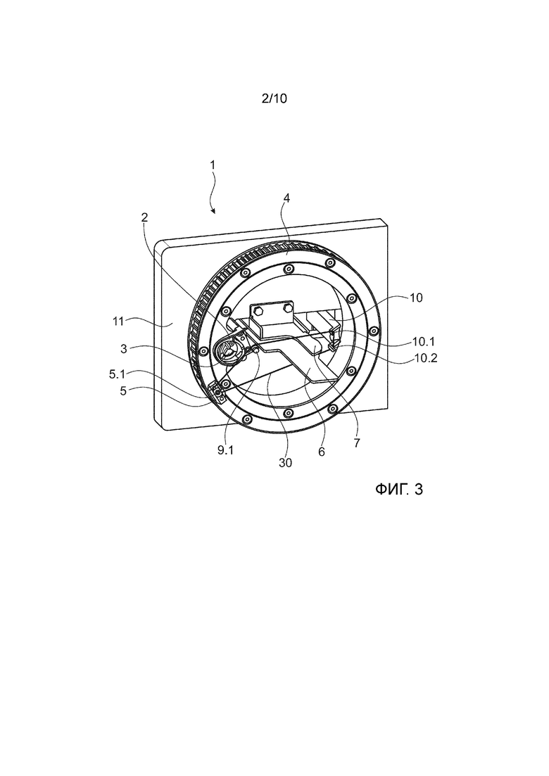
Фиг.3 показывает возможный вариант осуществления устройства 1 согласно изобретению. В данном примере нитеподатчик 5 жестко соединен с орбитальной направляющей 4, которая может быть приведена в движение посредством зубьев с помощью зубчатого ремня (непоказанного). Орбитальная направляющая 4 расположена вокруг кольцевого подшипника. Нитеподатчик 5 имеет нитезажимной элемент 5.1, который захватывает конец 30 нити. При его перемещении на орбитальной направляющей 4 нитеподатчик 5 разматывает нить с (непоказанной) шпули с нитью. В данном примере размотка происходит посредством перемещения нитеподатчика 5 на орбитальной направляющей 4 и, следовательно, является непрерывной. Однако также возможны промежуточные отклоняющие ролики или размоточный ролик, который активно подает нить к нитеподатчику.
В данном примере первый стержень 9.2 заменен удерживающим устройством 10, которое имеет удерживающие зубцы 10.1, 10.2. Данные удерживающие зубцы 10.1, 10.2 удерживают открытым конец петли, образуемой на конце 30 нити, так, что образуется ушко/отверстие. При реальной эксплуатации в процессе изготовления тампонов это обеспечивает образование концевой стороны, то есть дистальной части нити для извлечения, которая по существу оказывается внутри тампона.
При перемещении нитеподатчика 5 вдоль орбитальной направляющей 4 стороны размещаются на удерживающих зубцах 10.1, 10.2 таким образом, что петля будет поддерживаться до тех пор, пока не произойдет связывание узлом проксимальных концов петли, то есть концов нити, обращенных в сторону от данной концевой стороны. Лентонаправляющая пластина 6, на которой лентообразная основа направляется через рабочую зону устройства 1, находится внутри остановленной петли. Отклоняющая пластина 7 предусмотрена для того, чтобы исходно предотвратить какое-либо ослабление нити, и для обеспечения возможности ее размещения на лентообразной основе посредством сужающегося конца данной пластины. Отклоняющая пластина 7 изначально спроектирована такой, что она проходит параллельно направлению перемещения лентообразного материала в рабочую зону устройства, и сужается на концевой стороне для обеспечения возможности плавного соскальзывания петли. В конкретных вариантах осуществления отклоняющая пластина 7 может быть установлена в устройстве 1 с возможностью ее замены и/или регулирования ее положения для того, чтобы облегчить для специалиста в данной области техники точную регулировку рабочих параметров в соответствии с длиной, эластичностью и тому подобными характеристиками нити.
Нитеподатчик 5 при его перемещении вокруг удерживающих зубцов направляет конец петли вокруг лентонаправляющей пластины 6 и вокруг отклоняющей пластины 7 к узловязальному механизму 3. В данном механизме оба конца петли направляются и связываются узлом посредством ушка для вязания узла на сердечнике для вязания узла.
По ходу за узловязальным механизмом может быть предусмотрен нож для отрезки конца нити (непоказанный).
Все устройство 1 прикреплено к раме 11 машины.
Удерживающее устройство 10, которое может использоваться для устройства согласно изобретению, показанного на фиг.3, и которое выполнено в виде фиксатора, показано на фиг.4а и 4b. Удерживающее устройство 10 имеет два удерживающих зубца 10.1, 10.2. Они служат для поддержания открытой петли, которая образована нитеподатчиком 5 во время его кругового перемещения на орбитальной направляющей вокруг удерживающих зубцов 10.1, 10.2. В фиксаторе удерживающие зубцы 10.1, 10.2 образованы на рычаге 1.6 фиксатора и расположены с возможностью поворота вокруг пальца 10.3 фиксатора.
Удерживающее устройство 10 также предусмотрено с фиксирующим винтом и стопорной пластиной 10.4 и, следовательно, может быть смонтировано в устройстве с возможностью смещения. Это также облегчает для специалиста в данной области техники регулировку устройства в соответствии со свойствами материала нити и заданной шириной ленты, участком нити и т.д. Для этого стопорная пластина 10.4 также может быть размещена с возможностью смещения вдоль канавки в аксиальном направлении устройства подачи рулонного материала посредством винта. Данная возможность смещения, в частности, гарантирует возможность адаптации к различным участкам ленты и заданным размерам петель.
Для гарантирования того, что рычаг 10.6 фиксатора вернется в его исходное начальное положение после расфиксации, можно предусмотреть средство или механизм создания возвращающей силы, такое (-й) как пружина или пневматический цилиндр.
В данном примере рычаг 10.10 фиксатора также подпружинен с возвращающей силой посредством демпфера 10.5 с упором 10.9. Благодаря подвеске существует возможность того, что нить не разорвется во время огибания. Пружина воздействует непосредственно на конец нити, подаваемый нитеподатчиком, и обеспечивает определенную «игру» конца нити (см. также пружину рядом с нитеподатчиком на фиг.8). Таким образом, нить направляется одновременно с тугим и слабым натяжением, что обеспечивает возможность достаточной «игры» для направления и вязания узла без разрыва.
В данном конкретном варианте осуществления удерживающее устройство выполнено с возможностью приложения силы к петле нити, составляющей от 5 до 25 Н, предпочтительно от 7,5 до 15 Н, предпочтительно по существу 10 Н.
На фиг.4а показано удерживающее устройство по фиг.4а, в котором фиксатор расфиксирован, то есть рычаг фиксатора не находится под нагрузкой. В этом состоянии петля, ранее удерживаемая удерживающими зубцами 10.1, 1.2, освобождается и перемещается на последующий этап управляемого технологического процесса. Пружина 10.10 освобождается, и упор 10.9 освобождается. Освобождение происходит посредством поворота рычага 10.6 фиксатора вокруг пальца 10.3 фиксатора. При эксплуатации удерживающее устройство 10, выполненное с такой конфигурацией, немедленно возвращается в состояние, показанное на фиг.4а, для того, чтобы оно было готово к приему новой петли нити. В данном примере пневматический цилиндр может быть использован для возврата рычага фиксатора в его исходное положение. В зависимости от заданной силы пружины и заданной силы, которая должна быть приложена к петле нити и составляет от 5 до 25 Н, предпочтительно от 7,5 до 15 Н, предпочтительно по существу 10 Н, упор 10.9 также должен быть поджат с преодолением силы пружины, создаваемой освобожденной пружиной 10.10.
Фиг.5 показывает дополнительный предпочтительный вариант осуществления устройства 1 согласно изобретению.
Устройство 1 содержит орбитальную направляющую 4, которая может быть приведена в движение посредством зубьев 4.1 с помощью зубчатого ремня. Предусмотрено средство управления приводом, которое выполнено с возможностью непрерывного регулирования скорости орбитальной направляющей 4, которая смонтирована на раме 11 машины посредством кольцевого подшипника.
В частности, указанное средство управления приводом выполнено с такой конфигурацией, что орбитальная направляющая может перемещаться с первой скоростью в первой зоне и со второй скоростью во второй зоне. Нитеподатчик 5, жестко соединенный с орбитальной направляющей, перемещается вместе с ней в направлении R ее вращения (по часовой стрелке).
Через устройство проходит лентонаправляющая пластина 6, посредством которой лентообразный материал входит в рабочую зону нитеподатчика 5, и петля образуется вокруг лентообразной основы за счет перемещения нитеподатчика 5 вокруг удерживающего устройства 5 и узловязального механизма 3. Для направления концов петли в узловязальный механизм 3 в надлежащей ориентации предусмотрена проушина 2 для вязания узла, которая имеет скошенную кромку, проходящую в направлении вдоль окружности, и выполнена с возможностью выравнивания в направлении вращения.
Устройство дополнительно содержит крюк 12 для вязания узла, приводимый в действие посредством приводного колеса 13. Стержнеобразный крюк 12 для вязания узла имеет зацепляющий конец 12.1 и приводной конец 12.2, соединенный с приводным шкивом 13 и опирающийся на приводной шкив 13. При эксплуатации зацепляющий конец 12.2 входит в контактное взаимодействие с петлей и вблизи плоскости вращения орбитальной направляющей раскрывает петлю в направлении, перпендикулярном к ней. Для этого приводной шкив 13 расположен перпендикулярно к орбитальной направляющей 4 и приводится в движение соответственно перпендикулярно к ней.
В конкретном варианте осуществления крюк 12 для вязания узла может надлежащим образом подавать концы петли в узловязальный механизм и/или может облегчить после отрезки конца нити удаление петли с завязанным узлом посредством перемещения ее из рабочей зоны в направлении вращения приводного шкива 13 с помощью зацепляющего конца 12.
Приводной шкив 13 для крюка 12 для вязания узла приводится в движение так, что его перемещение и скорость синхронизированы по отношению к нитеподатчику 5. Другими словами, приводной шкив может быть выполнен с возможностью, например, выполнения одного полного оборота за время, которое требуется для перемещения нитеподатчика один раз вокруг всей орбитальной направляющей.
В дополнительном или альтернативном варианте осуществления крюк 12 для вязания узла может предотвратить слишком ранний ввод конца нити в рабочую зону режущего элемента во время вязания узла, вызываемый тянущим усилием со стороны нитеподатчика. В данном примере этому может способствовать то, что крюк 12 для вязания узла будет оттягивать петлю, в результате чего конец петли, для которой вязание узла не завершено, будет удерживаться на удалении от режущего элемента. В данном варианте осуществления крюк 12 для вязания узла предпочтительно синхронизирован с узловязальным механизмом 3 посредством приводного шкива 13, так что приводной шкив совершает один оборот за время, которое требуется узловязальному механизму 3 для формирования узла, то есть время, за которое сердечник для вязания узла совершает от 1 до 2 оборотов.
Фиг. 5b показывает дополнительный предпочтительный вариант осуществления устройства согласно фиг.5. К удивлению оказалось, что для уменьшения общей массы движущихся компонентов посредством приводного шкива 13’ с предпочтительно тремя симметрично расположенными выступами может быть обеспечено уменьшение массы при одновременной высокой управляемости и бесшумности работы. Также возможны приводные шкивы с четырьмя выступающими элементами или множеством выступающих элементов.
На фиг. 6 показан фрагмент устройства, описанного при описании вышеуказанных фигур, при этом фиг.6 показывает соответствующий узловязальный механизм 3 и нитеподатчик 5.
Показанный нитеподатчик 5 жестко соединен с орбитальной направляющей 4 и для иллюстрации показан расположенным непосредственно рядом с узловязальным механизмом 3. Нитеподатчик может находиться в данном положении, например, в начале входа в зону вязания узла. Концы петли на конце нити не показаны для простоты.
Узловязальный механизм 3 расположен в проушине 2 для вязания узла и включает в себя сердечник 3.1 для вязания узла, выполненный с возможностью вращения в направлении против часовой стрелке в проушине 2 для вязания узла. В данном процессе сердечник 3.1 для вязания узла выполняет движение опускания, при этом заостренный конец проходит по направлению к петле нити и сцепляется с концами петли, удерживаемыми нитеподатчиком и удерживающим устройством. Давление концов петли, вращение сердечника для вязания узла и направление в проушине для вязания узла обеспечивают формирование узла при повороте сердечника для вязания узла на 1-2 оборота, предпочтительно на полтора оборота.
Проушина 2 для вязания узла имеет поверхность 2.1 с геометрической конфигурацией для направления, выровненную наружу, то есть в радиальном направлении. При эксплуатации конец петли первоначально направляется к поверхности 2.1 с геометрической конфигурацией для направления и по мере продолжения его перемещения вдоль направляющей для нитеподатчика 5 направляется в рабочую зону сердечника 3.1 для вязания узла, который вращается в направлении, противоположном направлению вращения орбитальной направляющей для нитеподатчика 5.
В данном примере нитеподатчик 5 имеет захват 5.1 нитеподатчика, предусмотренный с воздействием возвращающей силы, посредством чего петля направляется в узел с достаточной «игрой». В завершение, второй конец петли входит в рабочую зону сердечника 3.1 для вязания узла и подвергается связыванию с первым концом петли.
Фиг.7а показывает схематический вид сбоку узловязального механизма по фиг.6 без проушины для вязания узла. Узловязальный механизм по существу содержит сменный сердечник 3.1 для вязания узла, который с возможностью отсоединения и жестко соединен с приводным шкивом 3.5, установленным с возможностью вращения, посредством лапки 3.3 сердечника. Показанный узловязальный механизм 3 имеет в целом многокомпонентную конструкцию. Сердечник 3.1 для вязания узлов имеет первую выступающую часть 3.1 сердечника и выровненную параллельно, вторую выступающую часть 3.2 сердечника, а также паз 3.4 для направления нити, также выровненный параллельно выступающим частям сердечника для вязания узла. При эксплуатации конфигурация сердечника, состоящего из двух частей, и паз 3.4 для направления нити гарантируют то, что петли из нити, образованные со связанным узлом, могут быть выпущены из узловязального механизма после вязания узла.
Как можно видеть на фиг.7b, проушина 2 для вязания узла, скошенная в боковом направлении и выровненная в радиальном направлении, имеет соответствующее углубление.
Для устройства согласно изобретению пригоден нитеподатчик, жестко соединенный с орбитальной направляющей в направлении вращения. Нитеподатчик может быть, например, соединен с орбитальной направляющей с возможностью отсоединения посредством зажимного винта или множества зажимных винтов, проходящих через всю толщину профиля орбитальной направляющей. Для этого углубления, предварительно образованные сверлением, могут быть, например, выполнены в орбитальной направляющей.
Первый пружинный элемент может быть предусмотрен аналогичным образом на нитеподатчике, при этом данный пружинный элемент проходит на всей толщине профиля орбитальной направляющей и соединяет задний элемент нитеподатчика с передним элементом нитеподатчика. В данном примере передний элемент нитеподатчика представляет собой элемент, который направляет конец нити в рабочую зону удерживающего устройства и в узловязальный механизм. Это позволяет первому пружинному элементу создавать эффективное соединение между пружинами, расположенными с задней стороны, и нитезажимным элементом, предусмотренным с передней стороны. При эксплуатации это приводит к тому, что нитезажимной элемент обеспечит возможность некоторой «игры» конца нити вследствие действия пружин. Например, вместе с подпружиненным удерживающим устройством, описанным выше, это может облегчить вязание узла посредством узловязального механизма, предотвратить разрыв конца нити и обеспечить возможность более высоких скоростей осуществления технологического процесса.
Фиг.8а иллюстрирует еще один аспект, соответственно, конкретный вариант осуществления настоящего изобретения. Показанное устройство обеспечивает возможность размещения конца нити вокруг лентообразной основы, например, хлопковой ленты для тампона, и связывания узлом двух участков нити на данном конце нити так, что может быть сформирована петля. При свертывании, намотке и/или складывании данной хлопковой ленты данные участки нити на конце нити могут выступать из тампона, полученного в результате, и служить в качестве нити для извлечения. Таким образом, когда на конце нити завязан узел, образуется петля вокруг лентообразной основы. Конец нити (непоказанный) разматывается посредством нитеподатчика 5. Нитеподатчик 5 жестко соединен с зубчатым вращающимся колесом 20. Данное вращающееся колесо 20 может быть приведено в движение, например, посредством приводного ремня или приводного колеса (непоказанного) и предпочтительно выполнено с возможностью соответственно ускорения или замедления. Вращающееся колесо 20 установлено на орбитальной направляющей 4, так что нитеподатчик 5 может выполнять круговое движение. В данном процессе нитеподатчик направляет конец нити мимо различных обрабатывающих устройств.
Во время полного оборота вокруг орбитальной направляющей 4 нить наматывается один раз вокруг лентообразной основы, например, хлопковой ленты, которая перемещается в центре в рабочую зону нитеподатчика. Конец нити сначала размещается вокруг захватного устройства, которое первоначально удерживает конец нити и получающуюся в результате петлю раскрытой. Дополнительный участок нити на конце нити размещается на отклоняющей пластине.
Раскрытый конец нити затем перемещается к узловязальному механизму 3, в котором два участка нити на конце нити связываются узлом вместе. Поверхность 2.1 с геометрической конфигурацией для направления, образованная на проушине для вязания узла, гарантирует то, что свободный участок нити будет направляться надлежащим образом к участку нити для связывания данных участков узлом.
Петля, созданная таким образом, подается в направлении, перпендикулярном к плоскости изображения, вместе с хлопковой лентой. Захватное устройство 15 обеспечивает возможность соскальзывания созданной петли вниз на лентообразную основу управляемым образом за счет отпускания участка нити, удерживаемого крюком 15.1 захватного устройства, посредством опускания рычага 15.4 захватного устройства. Для этого рычаг 15.4 захватного устройства установлен с возможностью поворота посредством оси 15.2 шарнира. Пружина 15.3 захватного устройства обеспечивает приложение возвращающей силы к крюку 15.1 захватного устройства. Данная сила преодолевается посредством процесса вязания узла в узловязальном механизме 3 и соответствующего тянущего усилия, действующего на конец нити. Когда рычаг 15.4 захватного устройства находится в его положении опускания в максимальной степени, он отпускает участок нити, после чего возвращающая сила возвращает его в его наклонное исходное положение.
После вязания узла конец нити перемещается мимо режущего ножа 14, который отрезает петлю. Нитеподатчик 5 начинает новый оборот на орбитальной направляющей 4 с новым концом нити. Вышеупомянутые элементы прикреплены к раме 11 машины, в центре которой выполнены сквозные выемки, которые обеспечивают возможность ввода впускного элемента для ленты, представляющей собой лентообразную основу.
Лентообразная основа направляется горизонтально посредством лентонаправляющей пластины 6. Помимо лентонаправляющей пластины предусмотрена стопорная пластина 6.1, расположенная параллельно лентонаправляющей пластине и предотвращающая непредусмотренное взаимодействие крюка захватного устройства с лентообразной основой, перемещаемой на ленточном конвейере.
Отклоняющая пластина 7 направляет конец нити с противоположной стороны, близкой к хлопковой ленте, и обеспечивающей возможность плавного соскальзывания образованной петли посредством конца данной пластины, сужающегося в направлении перемещения хлопковой ленты, то есть по направлению к плоскости, в которой находится наблюдатель. Кроме того, отклоняющая пластина создает необходимое сопротивление для связывания узлом концов нити в узловязальном механизме посредством V-образного выреза. После того, как петля будет окончательно завязана узлом и крюк для вязания узла (см. фиг.5а или 5b) направит созданную петлю дальше к лентообразной основе, отклоняющая пластина 7 направит петлю на лентообразную основу посредством сужающейся конфигурации пластины. Выпуклый участок, следующий за V-образным вырезом, также обеспечивает необходимое сопротивление натягиванию для выпускания петли из проушины 2 для вязания узла.
Посредством показанного устройства и обеспечиваемого в результате, плавного наложения петли нити на хлопковую ленту может быть достигнута высокая производительность при высокой надежности. Данное устройство также может обеспечить приведение нитеподатчика 5 в движение с соответствующим ускорением и переменной скоростью, как описано выше для варианта осуществления по фиг.1-7.
Фиг.8b показывает часть с захватным устройством 15 рядом с верхним концом орбитальной направляющей. Захватное устройство 15 расположено так, что оно образует угол, составляющий не более 95 и не менее 85 градусов (°), относительно плоскости лентонаправляющей пластины (не показанной на данной фигуре) и, следовательно, относительно лентообразной основы. В данном случае угол рассматривается от центра концевой поверхности крюка 15.1 захватного устройства. Крюк 15.1 захватного устройства имеет по существу крюкообразную форму на конце рычага 15.4 захватного устройства и выполнен с возможностью приема участка нити на конце нити (непоказанном). Рычаг 15.4 захватного устройства поворачивается относительно оси 15.2 шарнира и показан в наклонном положении на фиг. 8b. Пружина захватного устройства функционально подсоединена между рычагом 15.4 захватного устройства и рамой 11 машины так, что возвращающая сила действует на рычаг 15.4 захватного устройства. Захватное устройство 15 прикреплено к раме 11 машины посредством фланца 22 с помощью винта 21. Орбитальная направляющая проходит в направлении вдоль окружности вокруг захватного устройства 15. На фиг. 8b можно видеть впадины 23 и зубья 24, которые могут быть введены в функциональное соединение с приводным ремнем или, например, таким ремнем, как зубчатый ремень.
На фиг. 8с рычаг 15.4 захватного устройства, показанный на фиг.8b, показан в наклонном положении, в котором крюк 15.1 захватного устройства отпускает ранее удерживаемый участок нити и позволяет ему соскальзывать на лентообразную основу. Пружина 15.3 захватного устройства полностью растянута и обеспечивает приложение полной восстанавливающей силы к рычагу захватного устройства. Когда участок нити полностью переместится с крюка захватного устройства, рычаг захватного устройства перемещается обратно в наклонное положение по фиг.8b, в котором он готов к захвату нового участка нити.
Фиг. 8d подробно показывает другую зону варианта осуществления по фиг.8а. Показаны узловязальный механизм 3, нитеподатчик 5 и режущий нож 14. Нитеподатчик 5 предназначен для того, чтобы при эксплуатации он обеспечивал разматывание конца нити и преобразование конца нити в петлю по мере перемещения нитеподатчика вдоль орбитальной направляющей устройства. Два участка нити направляются друг к другу в узловязальном механизме 3 таким образом, чтобы их можно было связать узлом. Узловязальный механизм 3 представляет собой сложный компонент, который окружен снаружи проушиной 2 для вязания узла. Проушина 2 для вязания узла имеет поверхность 2.1 с геометрической конфигурацией для направления на стороне, обращенной в направлении вращения, которая служит для размещения свободного участка нити. Над узловязальным механизмом 3 предусмотрен режущий нож 14, который прочно присоединен к раме машины посредством держателя 14.2 режущего ножа, который, в свою очередь, удерживает нож 14.1, выполненный с возможностью замены, в рабочей зоне нитеподатчика, так что петля отрезается от конца нити, когда нитеподатчик проходит мимо режущего ножа. Нитеподатчик жестко соединен с вращающимся колесом, которое может быть приведено в движение, например, с помощью ремня, как уже было описано.
Функционирование варианта осуществления по фиг.8а-d также схематически показано на фиг. 9.
Устройство 1 содержит орбитальную направляющую 4, на которой нитеподатчик 5 установлен с возможностью перемещения. Таким образом, нитеподатчик 5 выполняет круговое движение вокруг направляющего впускного элемента 8, предусмотренного по существу в центре устройства 1, который служит для перемещения лентообразной основы по существу перпендикулярно к плоскости изображения в рабочую зону нитеподатчика 5.
Когда нитеподатчик перемещается вдоль его орбитальной направляющей 4, он несет с собой конец нити, при этом участки нити на данном конце нити взаимодействуют с отдельными элементами устройства 1, расположенными вдоль орбитальной направляющей. Сначала петля формируется посредством конца нити вокруг направляющего впускного элемента 8. Два участка нити на конце нити направляются вместе в узловязальный механизм 3 посредством проушины 2, предназначенной для вязания узла, таким образом, чтобы сердечник для вязания узла (непоказанный) мог обеспечить связывание их узлом. В этом случае участок нити удерживается захватным устройством 15, которое расположено по существу перпендикулярно над лентообразной основой. После этого участок нити плавно опускается на лентообразную основу посредством захватного устройства 15 при преодолении воздействия возвращающей силы. Стопорная пластина 6.1 может быть предусмотрена над лентообразной основой, чтобы захватное устройство 15 не касалось ее и, следовательно, не могло помешать перемещению лентообразной основы. Лентообразная основа направляется в направляющем впускном элементе 8 посредством направляющей пластины 6.
Режущий нож 14, закрепленный на орбитальной направляющей 4, отрезает образованную петлю, которая выпускается вместе с лентообразной основой, в частности, например, с помощью крюка 12 для вязания узла, как показано на фиг.5а или 5b. Образованная петля освобождается из проушины для вязания узла, предусмотренной в узловязальном механизме, и соскальзывает по сужающейся отклоняющей пластине 7 на ее концевой стороне на лентообразную основу. Когда лентообразная основа перемещается дальше, петля оттягивается вместе с ней и может выступать в качестве нити для извлечения в тампоне, изготовленном посредством свертывания/намотки, складывания и/или прессования.
В соответствии с настоящим изобретением предложено устройство для связывания узлом свободных концов нити, предназначенное для изготовления тампонов с нитями для извлечения, которое является безопасным в эксплуатации, а также простым в обслуживании и способно обеспечить непрерывное массовое производство тампонов.
Перечень ссылочных позиций
| название | год | авторы | номер документа |
|---|---|---|---|
| СПОСОБ НАМАТЫВАНИЯ МАТЕРИАЛА ТАМПОНА | 2016 |
|
RU2733147C2 |
| УЗЛОВЯЗАЛЬНОЕ УСТРОЙСТВО | 2008 |
|
RU2477252C2 |
| УЗЛОВЯЗАЛЬНОЕ УСТРОЙСТВО И КАРТРИДЖНАЯ СИСТЕМА ДЛЯ ПОДАЧИ К ЭТОМУ УСТРОЙСТВУ ОБВЯЗЫВАЮЩЕЙ НИТИ | 2011 |
|
RU2588544C2 |
| УЗЛОВЯЗАЛЬНАЯ СИСТЕМА ДЛЯ ПРЕСС-ПОДБОРЩИКА | 2013 |
|
RU2605332C2 |
| СЕНСОРНОЕ УСТРОЙСТВО ДЛЯ ОПРЕДЕЛЕНИЯ ПОЛОЖЕНИЯ РЫЧАГА МЕХАНИЗМА НАТЯЖЕНИЯ ШПАГАТА | 2013 |
|
RU2644595C2 |
| УЗЛОВЯЗАТЕЛЬ ДЛЯ ШПАГАТА | 2012 |
|
RU2599644C2 |
| СПОСОБ И УСТРОЙСТВО ДЛЯ ЗАВЯЗЫВАНИЯ УЗЛОМ КОНЦА НИТИ НА ПЛОСКОМ ОБЪЕКТЕ | 2004 |
|
RU2334659C2 |
| ИНСТРУМЕНТ ДЛЯ ЗАВЯЗЫВАНИЯ И ЗАТЯГИВАНИЯ ЛИГАТУРНЫХ УЗЛОВ | 1994 |
|
RU2088162C1 |
| Машина двойного действия для изготовления рыболовных сетей | 1930 |
|
SU21317A1 |
| ТАМПОН ДЛЯ ЖЕНСКОЙ ГИГИЕНЫ ИЛИ ДЛЯ ИСПОЛЬЗОВАНИЯ В МЕДИЦИНЕ И СПОСОБ ЕГО ИЗГОТОВЛЕНИЯ | 1998 |
|
RU2219886C2 |
Изобретение относится к устройству для завязывания узлом конца нити для извлечения тампонов так, чтобы была сформирована петля. Устройство 1 содержит узловязальный механизм 3 для связывания узлом двух участков нити на конце нити, а также нитеподатчик 5 для подачи участков нити к узловязальному механизму 3. Оно дополнительно содержит орбитальную направляющую 4, вдоль которой направляются нитеподатчик и узловязальный механизм 3. Орбитальная направляющая имеет зону вязания узла и зону огибания и предназначена для направления нитеподатчика с разными скоростями в зоне вязания узла и зоне огибания. Настоящее изобретение также относится к способу завязывания узлом конца нити и к устройству для изготовления тампонов, имеющих проксимальную нить для извлечения. 3 н. и 20 з.п. ф-лы, 15 ил.
1. Устройство (1) для завязывания узлом конца нити для извлечения тампонов так, чтобы была сформирована петля, содержащее:
а) узловязальный механизм (3) для связывания узлом двух участков нити конца нити;
b) нитеподатчик (5) для подачи участков нити к узловязальному механизму (3);
с) орбитальную направляющую (4), вдоль которой нитеподатчик направляется вокруг узловязального механизма (3), и
отличающееся тем, что
орбитальная направляющая имеет зону (V) вязания узла, в которой нитеподатчик выполнен с возможностью перемещения с первой скоростью, и зону (U) огибания, в которой нитеподатчик выполнен с возможностью перемещения со второй скоростью, и
дополнительно содержащее удерживающее устройство, выполненное в виде фиксатора, которое выполнено с возможностью приложения возвращающей силы к концу петли конца нити, на котором должен быть завязан узел.
2. Устройство по п. 1, дополнительно содержащее устройство подачи нити для непрерывной подачи конца нити к нитеподатчику.
3. Устройство по п. 1 или 2, дополнительно содержащее режущий элемент для отрезки петли конца нити.
4. Устройство по любому из пп. 1-3, в котором орбитальная направляющая представляет собой круговую орбитальную направляющую.
5. Устройство по любому из пп. 1-4, содержащее направляющий впускной элемент, предназначенный для пропускания лентообразной основы через рабочую зону нитеподатчика так, чтобы конец нити размещался вокруг лентообразной основы, когда нитеподатчик перемещается орбитально по орбитальной направляющей.
6. Устройство по п. 5, дополнительно содержащее направляющую пластину для направления лентообразной основы через рабочую зону нитеподатчика.
7. Устройство по любому из пп. 1-6, дополнительно содержащее средство контроля узла, предназначенное для проверки узла, образованного связыванием двух участков нити посредством узловязального механизма (3).
8. Устройство по любому из пп. 1-7, в котором орбитальная направляющая выполнена с возможностью приведения ее в движение, и содержит зубья, с помощью которых орбитальная направляющая приводится в движение посредством зубчатого ремня для обеспечения возможности выполнения ускоряемого вращения вокруг оси вращения.
9. Устройство по любому из пп. 1-7, содержащее непосредственный привод для приведения в движение нитеподатчика.
10. Устройство по п. 9, содержащее непосредственный электропривод для приведения в движение нитеподатчика.
11. Устройство по любому из пп. 1-10, дополнительно содержащее привод орбитального движения с непрерывным ускорением, предназначенный для приведения нитеподатчика в движение по орбитальной направляющей.
12. Устройство по любому из пп. 1-11, в котором узловязальный механизм содержит сердечник для вязания узла, который приводится во вращательное движение.
13. Устройство по любому из пп. 1-12, при этом устройство выполнено с возможностью направления нитеподатчика с первой скоростью через зону вязания узла, при этом первая скорость меньше второй скорости, с которой нитеподатчик направляется через зону огибания.
14. Устройство по п. 13, в котором первая скорость имеет максимальное значение, которое в два - девять раз меньше максимального значения второй скорости.
15. Устройство по любому из пп. 1-14, в котором первая скорость составляет от 300 до 600 °/с, и вторая скорость составляет от 500 до 400 °/с.
16. Устройство по п. 15, выполненное с возможностью направления нитеподатчика с первой скоростью, составляющей от 50 до 150 об/мин, через зону вязания узла и с возможностью направления нитеподатчика со второй скоростью, составляющей от 200 об/мин до 600 об/мин, через зону огибания.
17. Устройство по любому из пп. 1-16, дополнительно содержащее систему управления приводом для перемещения нитеподатчика с первой скоростью в зоне вязания узла и со второй скоростью в зоне (U) огибания, при этом система управления приводом выполнена с возможностью обеспечения направления нитеподатчика с первой скоростью через зону вязания узла так, чтобы он выходил из зоны вязания узла после выполнения узловязальным механизмом от одного до двух оборотов при вращении в направлении, противоположном направлению движения нитеподатчика.
18. Способ завязывания узлом двух участков нити на конце нити, так, чтобы была сформирована петля, которая образует нить для извлечения для тампонов, включающий этапы:
а) направления конца нити посредством нитеподатчика, выполненного с возможностью перемещения по орбитальной направляющей, вдоль орбитальной направляющей вокруг узловязального механизма и охватываемого элемента, так что петля из двух участков нити на конце нити образуется между узловязальным механизмом и охватываемым элементом;
b) связывания узлом двух участков нити посредством узловязального механизма и освобождения петли на охватываемом элементе, и
при этом орбитальная направляющая имеет зону (V) вязания узла, в которой нитеподатчик направляется с первой скоростью, и имеет зону (U) огибания, в которой нитеподатчик направляется со второй скоростью, и при этом
освобождение петли на охватываемом элементе предусматривает высвобождение фиксатора, выполненного с возможностью приложения снимаемой возвращающей силы в направлении нитеподатчика и/или узловязального механизма.
19. Способ по п. 18, в котором:
а) подача конца нити от нити на шпуле к нитеподатчику, выполненному с возможностью перемещения по орбитальной направляющей, происходит посредством возвращающей силы; и
b) освобождение петли включает отрезку конца нити от нити.
20. Способ по п. 18 или 19, в котором отношение первой скорости ко второй скорости составляет от 1:2 до 1:6.
21. Способ по любому из пп. 18-20, в котором зона (V) вязания узла охватывает угол, составляющий от 5 до 45 градусов, предпочтительно составляющий от 5 до 30 градусов, предпочтительно составляющий 15 градусов орбитальной направляющей.
22. Способ по любому из пп. 18-21, дополнительно включающий этапы:
а) выполнения устройства (1) по п.1, предназначенного для завязывания узлом конца нити так, чтобы была сформирована петля;
b) прохождения лентообразной основы через рабочую зону нитеподатчика так, чтобы конец нити был размещен вокруг лентообразной основы, так, чтобы конец нити был размещен вокруг лентообразной основы при орбитальном перемещении нитеподатчика по орбитальной направляющей, при этом прохождение лентообразной основы осуществляется в направлении, перпендикулярном к орбитальной направляющей нитеподатчика.
23. Устройство для изготовления тампонов, имеющих проксимальную нить для извлечения, имеющую два конца нити, соединенные вместе, при этом устройство содержит:
а) устройство для связывания узлом двух концов нити по любому из пп. 1-17;
b) транспортирующее устройство для перемещения лентообразной основы в рабочую зону устройства, предназначенного для связывания узлом двух концов нити, при этом транспортирующее устройство расположено перпендикулярно к орбитальной направляющей нитеподатчика для подачи двух нитей к узловязальному механизму; и
при этом транспортирующее устройство для перемещения лентообразной основы перемещает лентообразную основу в рабочую зону устройства, предназначенного для связывания узлом двух концов нити, таким образом, что во время орбитального движения нитеподатчика вдоль орбитальной направляющей, нить размещается вокруг лентообразной основы поперечно к продольной оси лентообразной основы.
| WO 2017115337 A1, 06.07.2017 | |||
| WO 2016207242 A1, 29.12.2016 | |||
| CH 714846 A1, 30.09.2019 | |||
| УЗЛОВЯЗАЛЬНОЕ УСТРОЙСТВО И КАРТРИДЖНАЯ СИСТЕМА ДЛЯ ПОДАЧИ К ЭТОМУ УСТРОЙСТВУ ОБВЯЗЫВАЮЩЕЙ НИТИ | 2011 |
|
RU2588544C2 |
Авторы
Даты
2025-05-12—Публикация
2021-03-05—Подача