Устройство пневматического обогащения сырья и способ его применения Российский патент 2025 года по МПК B07B7/86 B01D45/16 

Описание патента на изобретение RU2839839C1

Область техники

[001] Настоящее изобретение относится к сепарационной технике, а именно к устройствам для гравитационного разделения твердых материалов по плотности, предназначенных для предварительного или финишного обогащения руд, продуктов металлургического производства, угля, нерудных минералов, пищевых продуктов и т.п.

Уровень техники

[002] В настоящий момент известны различные устройства для обогащения руд, угля и нерудных материалов, и одним из основных способов обогащения является разделение сыпучих твердых материалов по плотности, или же гравитационный метод. При этом для таких систем характерно использование устройств для создания разреженного воздуха, которые образуют восходящие потоки воздуха над воздухопроницаемой лентой конвейера, переносящей сепарируемые твердые материалы, увлекающие за собой твердые частицы. Данные частицы поднимаются в сепарационную камеру с образованием объемного псевдокипящего слоя частиц из заданной плотности, через который беспрепятственно проходят частицы меньшей плотности. Далее эти частицы переносятся воздушным потоком в камеру гравитационного осаждения, выполненного в виде, к примеру, вихревого сепаратора. При этом транспортный воздух подается в камеру гравитационного осаждения тангенциально, за счет чего образуется вращательное движение потоков воздуха и частиц, а за счет его формы поток движется вниз по спирали, в результате чего более тяжелые и плотные частицы осаждаются, а очищенные потоки воздуха поднимаются вверх и удаляются через выпускное отверстие.

[003] Однако существует проблема попадания твердых частиц малой плотности в восходящий очищенный поток воздуха. Это уменьшает эффективность сепарации частиц, увеличивает загрязнение воздуха, а также увеличивает нагрузку на воздухоочистительные устройства.

[004] Для устранения данного недостатка используется тангенциальное расположение выходного патрубка для завихрения очищенных потоков воздуха, меняющее направление циркуляции потоков воздуха на противоположный. Однако такая конфигурация не обладает достаточной эффективностью, так как частицы на границе неочищенного и очищенного потоков могут успевать изменять свое направление и уноситься вместе с очищенным воздухом. Следовательно, существует необходимость в увеличении эффективности сепарации твердых частиц. Также могут использоваться другие элементы и конструкции, разделяющие потоки очищенного и неочищенного воздуха, к примеру в виде длинных полых цилиндров, однако такие элементы могут усложнять и удорожать конструкцию, а также увеличивать вес конструкции, что усложняет перевозку устройства.

[005] В патенте на полезную модель RU 97945 U1 (опубл.: 27.09.2010 г.; МПК: B04C 9/00) описывается циклон, состоящий из корпуса в форме полого усеченного конуса с крышкой с улиточным завихрителем, тангенциального входного и осевого выходного патрубка, бункера с патрубком выхода шлама, соосно его корпусу и по всей его длине с образованием кольцевого канала, жестко установлена полая конусообразная вставка, а в бункере жестко установлен на ножках отбойник, причем разность диаметров корпуса и полой конусообразной вставки либо одинакова по всей длине корпуса, либо увеличивается по длине корпуса от большего его основания к меньшему, либо уменьшается по длине корпуса от большего его основания к меньшему, полая вставка выполнена цилиндрической формы, перфорированной, причем размер отверстий уменьшается по длине полой вставки от ее меньшего основания к большему, на входе в полую конусообразную вставку жестко установлен конусный завихритель, внутри конусообразной вставки и соосно ей жестко установлен конусный обтекатель с окнами в его основании, разность диаметров полой конусообразной вставки и обтекателя либо одинаково по всей длине обтекателя, либо увеличивается по длине обтекателя от его основания к вершине, либо уменьшается по длине обтекателя от его основания к вершине, конусный обтекатель своей вершиной соединен с вершиной отбойника.

[006] Недостатки данного технического решения состоят в том, что для его работы используется улиточный завихритель, который увеличивает стоимость и сложность конструкции, а также цилиндрическая вставка внутри вихревого сепаратора может снижать эффективность осаждения частиц, при слишком ее глубоком погружении, что следует из статьи «Повышение эффективности обеспыливания воздуха рабочих зон металлообрабатывающих и деревообрабатывающих производств» Ю.И. Булыгин, Вестник ДГТУ, 2013 г., стр. 50. При этом выходной патрубок установлен в гравитационную камеру вертикально, что ведет к отсутствию завихрений восходящего очищенного потока, из-за чего частицы также могут попадать в очищенный поток, так как внутренний цилиндр выполнен перфорированным.

[007] Другим близким к настоящему изобретению является патент на полезную модель RU 78703 U1 (опубл.: 10.12.2008 г.; МПК: B07B 9/00) в котором описывается установка пневматической сепарации, содержащая загрузочный бункер, питатель, воздухопроницаемую ленту конвейера, расположенные над лентой конвейера сопла, настроенные на сепарацию исходного материала на продукты определенной плотности, осадительные камеры, систему пылеулавливания, а также устройство для создания разреженного воздуха в соплах, отличающаяся тем, что питатель выполнен с возможностью обеспечения равномерной подачи исходного материала на ленту конвейера, все сопла расположены на одинаковом расстоянии от ленты конвейера, обеспечивающем беспрепятственное прохождение сепарируемых продуктов, сопла расположены вдоль воздухопроницаемой ленты конвейера на расстоянии, исключающем воздействие воздушных потоков от соседних сопел на процесс сепарации и установлены с возможностью перемещения всех сопел в вертикальном направлении, коллектор каждого сопла с одной стороны имеет глухую стенку, а с другой стороны он соединен с осадительной камерой, которая через систему пылеулавливания соединена с устройством для создания разрежения воздуха в соплах.

[008] Недостатки данного технического решения состоят в том, что выходное отверстие из осадительной камеры выполнено вертикально, из-за чего не образуется вихревой поток очищенного воздуха в осадительной камере. Вследствие этого частицы из неочищенного потока могут попадать в поток очищенного воздуха, что ведет к снижению эффективности сепарации. Также в настоящей полезной модели не описано влияние тангенциального входа канала сопла в коллектор сопла на технический результат.

[009] В патенте на изобретение FI 123720 B (опубл.: 15.10.2013 г.; МПК: B65G 53/60; B65F 5/00) описывается способ повышения эффективности разделения сепарационного устройства системы пневматической сепарации материала, такой как система транспортировки отходов, в которой транспортируемый материал или отходы, отделяются от транспортирующего воздуха и/или для предотвращения блокировки выходного отверстия для транспортирующего воздуха сепарационного устройства, при этом способе транспортирующий воздух и поступающий с ним материал первоначально приводятся во вращательное движение в камерном пространстве сепарационного устройства, транспортирующий воздух отклоняется в камерном пространстве сепарационного устройства и направляется в выходной канал. В способе на поток транспортирующего воздуха воздействуют в пространстве камеры сепарирующего устройства или в выходном канале путем создания направляющего эффекта для транспортирующего воздуха в направлении, противоположном направлению его движения вращения.

[0010] Недостатки данного изобретения также состоят в том, что использование тангенциального расположения выходного отверстия, меняющего направление завихрения потока не обладает достаточной эффективностью, так как частицы на границе неочищенного и очищенного потоков могут успевать изменять свое направление и уноситься вместе с очищенным воздухом.

[0011] Недостатками всех вышеупомянутых изобретений является недостаточная эффективность сепарации в устройстве гравитационного осаждения, или использование дополнительных конструкций или систем, что может негативно сказываться на эффективности, стоимости, весе и сложности конструкции, что может удорожать их обслуживание, негативно влиять на окружающую среду за счет увеличения количества отходов в очищенном воздухе, удорожать используемые фильтры и увеличить частоту их обслуживания, затруднить их перевозку.

Сущность изобретения

[0012] Задачей настоящего изобретения является создание устройства пневматического обогащения сырья, обладающего простой конструкцией, и обеспечивающего высокую степень сепарации частиц заданной плотности, и способа его применения. Данная задача решается за счет достижения заявляемым изобретением технического результата, заключающего в повышении эффективности сепарации внутри осадительной вихревой камеры. Указанные задачи в том числе достигаются благодаря:

- завихрению потока с частицами внутри входного патрубка;

- тангенциальному соединению входного патрубка с осадительной вихревой камерой;

- тангенциальному выходу из патрубка вывода очищенного потока;

- противоположному направлению завихрения, создаваемого выходным патрубком относительно завихрения, создаваемого тангенциальным соединением входного патрубка в осадительную вихревую камеру.

[0013] Более полно технический результат достигается устройством пневматического обогащения сырья, включающем воздухопроницаемый конвейер, сопло, расположенное над лентой конвейера, входной патрубок, осадительную вихревую камеру, патрубок вывода очищенного потока и устройство для создания разреженного воздуха, причем сопло соединено со входным патрубком, входной патрубок выполнен с возможностью завихрения потока, при этом тангенциально соединен с осадительной вихревой камерой для вторичного завихрения потока, патрубок вывода очищенного потока состоит из цилиндрического элемента расположенного вертикально по центру осадительной камеры и погруженного на некоторую глубину, и имеющий глухую стенку сверху, и патрубка выходящего тангенциально из цилиндрического элемента, завихряющий поток в противоположном направлении относительно вторичного завихрения, и соединенный с устройством для создания разреженного воздуха.

[0014] Устройство пневматического обогащения сепарирует частицы плотностью ниже заданной плотности из сырья, двигающегося по ленте конвейера. Наиболее мелкие фракции сразу просыпаются через воздухопроницаемую ленту конвейера и удаляются, а оставшиеся частицы дальше двигаются в зону всасывания, расположенную под соплом. За счет устройства для создания разреженного воздуха, поток воздуха поднимает частицы с заданной плотностью в сопло с образованием псевдокипящего слоя, через который могут пройти только частицы плотностью меньше заданной. Далее частицы восходящим воздушным потоком попадают во входной патрубок, выполненный с возможностью первичного (а1) завихрения потоков воздуха с частицами сепарируемого сырья, и тангенциально входящий в стенку осадительной вихревой камеры. Осадительная вихревая камера выполнена цилиндрически в верхней ее части, и сужающейся конически к нижней ее части. За счет завихрения потока с частицами внутри входного патрубка и его тангенциального соединения с осадительной вихревой камерой создается вторичный поток (а2), в ней образуется двойной вихрь (а1+а2). Поток движется по спирали вдоль стенки осадительной вихревой камеры вниз, и причем сам поток имеет завихрения перпендикулярные этой спирали. Также осадительная вихревая камера имеет выход для осажденных частиц и патрубок вывода очищенного потока. С одной стороны, цилиндрический элемент патрубка вывода очищенного потока вертикально погружен в центре внутрь осадительной вихревой камеры на некоторую глубину, а с другой стороны имеет глухую стенку и выходной патрубок, выходящий из боковой поверхности цилиндрического элемента над осадительной вихревой камерой, расположенный тангенциально для завихрения потока (а3) в противоположном направлении относительно вторичного потока (а2). За счет завихрений, образованных во входном патрубке, внутри осадительной камеры, и в патрубке вывода очищенного потока, образуются двойной нисходящий вихрь (а1+а2) с осаждаемыми частицами, вращающийся в одну сторону относительно вертикальной оси осадительной камеры, и восходящий очищенный вихрь (а3), вращающийся в противоположную сторону. В верхней части осадительной камеры более крупные частицы сырья, под действием центробежных сил, отбрасываются, и за счет столкновений друг с другом и стенками осадительной камеры, а также за счет взаимодействия с восходящим очищенным потоком (а3), имеющем другое направление, частицы теряют свою кинетическую энергию и опускаются вниз к отверстию для обогащенного сырья. В нижней части осадительной камеры по такому же принципу, за счет увеличения скорости осаждаются и более мелкие частицы сырья, а воздушный поток меняет свое направление и поднимается по спирали в патрубок вывода очищенного потока и удаляется. Завихрения во входном патрубке увеличивают градиент скоростей на границе взаимодействия нисходящих (а1+а2) и восходящих потоков (а3), за счет чего увеличивается время для изменения направления скоростей осаждаемых частиц сырья. Благодаря этому частицы, под воздействием силы гравитации, успевают опуститься и сконцентрироваться в нижней части камеры, и не увлекаются восходящим очищенным потоком (а3) в патрубок вывода очищенного потока, что напрямую влияет на достижение указанного технического результата. Сырье из камеры осаждения разгружается периодически или непрерывно через разгрузочное устройство, обеспечивающее высокое сопротивление воздушному потоку и расположенное в нижней части камеры.

[0015] Заданная плотность сепарируемых частиц может регулироваться скоростью потока, создаваемого устройством для создания разреженного воздуха и вертикальным расположением сопла над лентой конвейера.

[0016] В одном из частных воплощений, настоящее изобретение имеет тангенциальный вход сопла в боковую поверхность входного патрубка, за счет чего будет образовываться первоначальное завихрение потока с частицами, или в другом воплощении внутри входного патрубка могут быть выполнены спиральные направляющие, выполняющие ту же функцию.

[0017] Также, в частном воплощении, настоящее изобретение может быть оснащено воздухоочистительным устройством, соединенным с осадительной вихревой камерой и устройством для создания разреженного воздуха.

[0018] В еще одном частном варианте выполнения настоящего изобретения, оно может быть выполнено так, чтобы сопло располагалось под наклоном к плоскости ленты конвейера, с образованием угла между стенками сопла и плоскостью ленты конвейера, направленного по направлению движения сырья.

[0019] В еще одном частном варианте выполнения настоящего изобретения, оно может быть выполнено с возможностью регулирования его высоты сопла над лентой конвейера.

[0020] Также, в частном воплощении настоящего изобретения, устройство для создания разреженного воздуха может быть выполнено с возможность регулирования скорости потока.

[0021] Также в данном изобретении заявляется способ применения устройства пневматического обогащения сырья для достижения технических результатов.

[0022] Сначала запускают устройство для создания разреженного воздуха.

[0023] Затем размещают обогащаемое сырье на ленту конвейера.

[0024] Далее перемещают обогащаемое сырье под сопло, в котором восходящие потоки воздуха образуют псевдокипящий слой из частиц сырья заданной плотности, и через который частицы меньшей плотности беспрепятственно проходят.

[0025] Затем завихряют поток с частицами при помощи входного патрубка.

[0026] Далее направляют завихренный поток с частицами в осадительную вихревую камеру через тангенциально расположенный входной патрубок, что дополнительно завихряет поток внутри осадительной камеры.

[0027] После этого осаждают частицы за счет взаимодействий вихревых потоков внутри осадительной камеры.

[0028] Затем выводят очищенный поток из осадительной вихревой камеры через патрубок вывода очищенного потока, завихряющий очищенный поток в противоположную сторону, относительно входного патрубка.

Описание чертежей

[0029] Для того чтобы изобретение было легко понято, более конкретное описание изобретения, кратко описанное выше, будет дано с ссылками на конкретные варианты осуществления, которые проиллюстрированы на прилагаемых чертежах. Эти чертежи изображают только варианты осуществления изобретения и, следовательно, не должны рассматриваться как ограничивающие сферу его применения, аспекты изобретения будут описаны и разъяснены с дополнительной конкретикой и подробностями, с использованием прилагаемых чертежей.

[0030] Объект притязаний по настоящей заявке описан по пунктам и четко заявлен в формуле изобретения. Упомянутые выше задачи, признаки и преимущества изобретения очевидны из нижеследующего подробного описания, в сочетании с прилагаемыми чертежами, на которых показано:

[0031] На фиг. 1 представлен схематичный устройства пневматического обогащения сырья согласно настоящему изобретению.

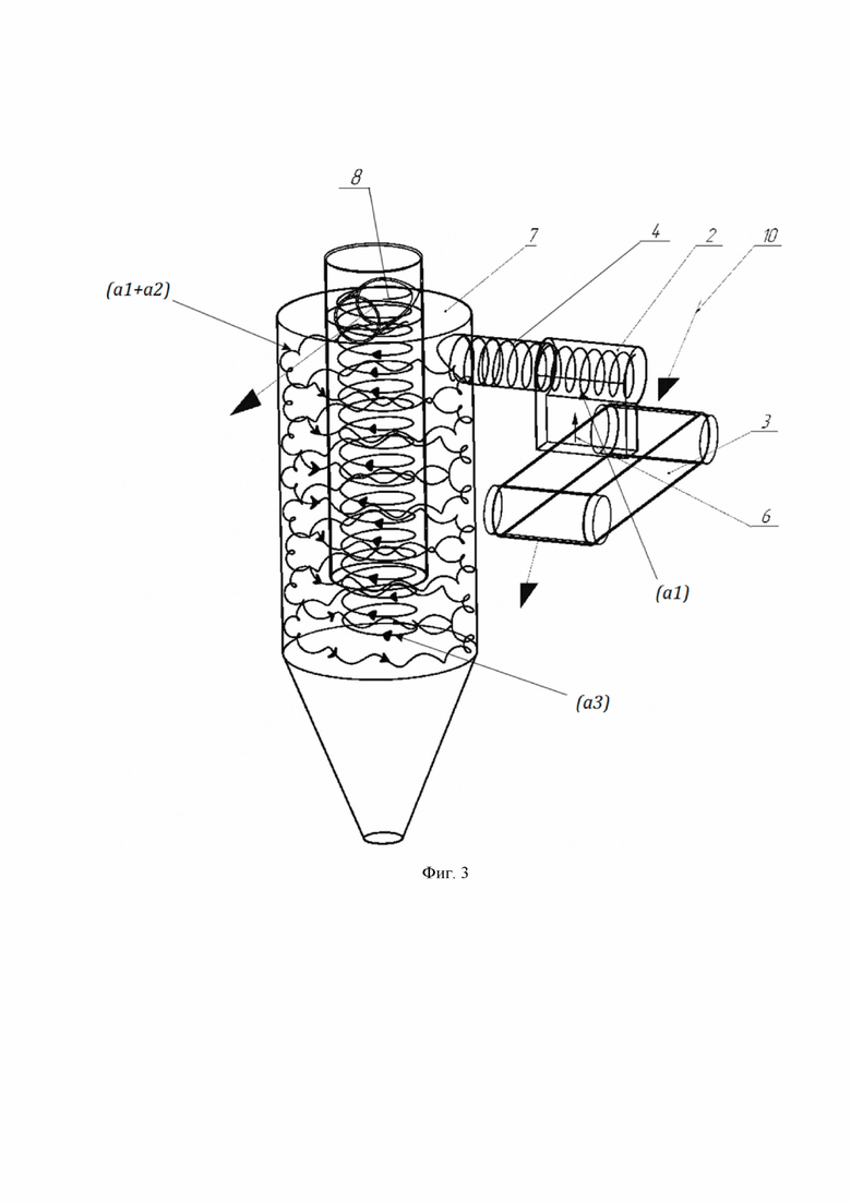
[0032] На фиг. 2 представлен схематичный вид сепарационной вихревой камеры со входным патрубком и патрубком вывода очищенного потока согласно настоящему изобретению.

[0033] На фиг. 3 представлен схематичный вид движения потоков в осадительной вихревой камере согласно настоящему изобретению.

[0034] На фиг. 4 представлен схематичный вид осадительной камеры сверху, с указанием направлений движений потоков, согласно настоящему изобретению.

[0035] На фиг. 5 представлен схематичный вид одной из возможных реализаций относительного расположения сопла и ленты конвейера под наклоном, согласно настоящему изобретению.

[0036] На фиг. 6 представлен схематичный вид одной из возможных реализаций тангенциального соединения сопла и входного патрубка, согласно настоящему изобретению.

[0037] На фиг. 7 представлен схематичный вид одной из возможных реализаций входного патрубка со спиральными направляющими, согласно настоящему изобретению.

[0038] На фиг. 8 представлен схематичный вид устройства пневматического обогащения сырья с использованием воздухоочистительного устройства в виде циклона, согласно настоящему изобретению.

[0039] На фиг. 9 представлен схематичный вид блок схемы предлагаемого способа применения настоящего изобретения.

[0040] Указанные чертежи поясняются следующими позициями: Устройство пневматического обогащения сырья – 1; Сопло – 2; Воздухопроницаемый конвейер – 3; Входной патрубок – 4; Спиральные направляющие – 5; Псевдокипящий слой – 6; Осадительная вихревая камера – 7; Патрубок вывода очищенного потока – 8; Цилиндрический элемент патрубка вывода очищенного потока – 8.1; Выходной патрубок патрубка вывода очищенного потока – 8.2; Устройство для создания разреженного воздуха – 9; Сырье – 10; Воздухоочистительное устройство – 11.

Подробное описание

[0041] В приведенном ниже подробном описании реализации изобретения приведены многочисленные детали реализации, призванные обеспечить отчетливое понимание настоящего изобретения. Однако, квалифицированному в предметной области специалисту очевидно, каким образом можно использовать настоящее изобретение, как с данными деталями реализации, так и без них. В других случаях, хорошо известные методы, процедуры и компоненты не описаны подробно, чтобы не затруднять излишнее понимание особенностей настоящего изобретения.

[0042] Кроме того, из приведенного изложения ясно, что изобретение не ограничивается приведенной реализацией. Многочисленные возможные модификации, изменения, вариации и замены, сохраняющие суть и форму настоящего изобретения, очевидны для квалифицированных в предметной области специалистов.

[0043] На фиг. 1 представлен схематичный вид устройства обогащения сырья 1 согласно настоящему изобретению. Это устройство включает в себя сопло 2, расположенное над лентой воздухопроницаемого конвейера 3, которое соединено со входным патрубком 4. Входной патрубок 4 тангенциально соединен с верхней частью осадительной вихревой камеры 7, которая имеет две секции – цилиндрическую верхнюю и конусно сужающуюся нижнюю. Схематичный вид осадительной камеры изображен на фиг. 2 и 3. В нижней части осадительной вихревой камеры 7 также может находиться разгрузочное устройство, обеспечивающее высокое сопротивление воздушному потоку, с помощью которого сырье 10 разгружается периодически или непрерывно. В верхней части осадительной вихревой камеры 7, коаксиально расположен цилиндрический элемент 8.1 патрубка вывода очищенного потока 8, который погружен в осадительную вихревую камеру 7 на некоторую глубину, выступает над ней и имеет глухую стенку сверху. Снаружи вихревой камеры 7 расположен выходной патрубок 8.2 тангенциально выходящий из боковой поверхности цилиндрического элемента 8.1 патрубка вывода очищенного потока 8 и меняющий завихрение потока на противоположное направление относительно завихрения, обусловленного тангенциальным соединением входного патрубка 4 и осадительной вихревой камеры 7. Далее патрубок вывода очищенного потока 8 соединен с устройством для создания разреженного воздуха 9.

[0044] Устройство для создания разреженного воздуха 9 высасывает воздух из соединенных с ним систем и элементов, создавая тем самым потоки воздуха, направленные к нему. В качестве такого устройства может использоваться, например вентилятор. Для осуществления изменения плотности, на которое. Благодаря нему создается поток воздуха в сопле 2, поднимающий и засасывающий частицы сырья 10 определенной плотности, в зависимости от скорости создаваемого потока. Далее эти частицы и потоки воздуха движутся из сопла 2 в входной патрубок 4, далее они попадают в осадительную вихревую камеру 7, где частицы сырья 10 оседают и концентрируются в нижней части осадительной вихревой камеры 7, а потоки воздуха направляются в патрубок вывода очищенного потока 8, выходят из камеры 7 и попадают в устройство для создания разреженного воздуха 9. В еще одном из возможных вариантов выполнения настоящего изобретения, устройство для создания разреженного воздуха 9 может быть выполнено с возможностью регулирования скорости создаваемого потока, к примеру с помощью регулирования скорости вращения двигателя вентилятора, или с помощью задвижек. Благодаря этому можно изменять плотность, на которую настроено устройство пневматического обогащения сырья 1 для сепарации частиц сырья 10. Также, в одном из частных воплощений настоящего изобретения, с патрубок вывода очищенного потока 8 и устройством для создания разреженного воздуха 9 может быть соединено воздухоочистительное устройство 11, которое будет очищать воздух от особо мелких и не отсепарированных частиц. Воздухоочистительное устройство 11 может быть выполнено в виде циклона, как показано на фиг. 8.

[0045] Воздухопроницаемый конвейер 3 может быть выполнен ленточным. По ленте движется сырье 10, а она, в свою очередь, выполнена в виде сетки, перфорированного полотна или иных материалов, с возможностью переноса по ее поверхности сепарируемого сырья 10. Само сырье 10 может подаваться на ленту конвейера 3 питателем, выполненным, к примеру, в виде наклонного вибрационного лотка, осуществляющего равномерную подачу сырья 10 на конвейер 3, или иным другим подходящим устройством.

[0046] Сырье 10 движется по конвейеру 3 в зону всасывания под соплом 2, при этом наиболее мелкие частицы сырья 10 просыпаются через конвейер 3 и удаляются из зоны сепарации. Под действием подъемных сил восходящих воздушных потоков, оставшиеся частицы сырья 10 поднимаются в сопло 2, с образованием псевдокипящего слоя 6 из частиц сырья 10 заданной плотности. В этот псевдокипящий слой 6 попадают и беспрепятственно проходят через него частицы сырья 10 только плотности меньше заданной. За счет этого происходит пневматическая сепарация частиц сырья 10 по плотности. Также, в частном воплощении устройства пневматического обогащения сырья 1, для увеличения эффективности сепарации, сопло 2 может быть расположено под наклоном по отношению к поверхности ленты воздухопроницаемого конвейера 3, с образованием угла, направленного в сторону движения сырья по конвейеру 3, как изображено на фиг. 5. При больших скоростях движения ленты конвейера 3 частицы сырья 10 приобретают большую горизонтальную скорость и возможно образование паразитных потоков, которые могут увлекать за собой частицы сырья 10, большей плотности, чем заданная. Однако за счет наклонного расположения сопла 2 влияние паразитных потоков уменьшается и распределение частиц в псевдокипящем слое 6 становится более равномерным, за счет изменения траектории движения части сырья 10 наклонной поверхностью дальней стенки (по направлению движения ленты конвейера) сопла 2, направляющей частицы в обратную сторону. В еще одном частном воплощении сопло 2 может быть выполнено с возможностью регулирования его высоты над воздухопроницаемым конвейером 3. За счет этого можно изменять заданную плотность частиц сырья 10 для сепарации, не изменяя при этом скорость восходящего воздушного потока.

[0047] Сопло 2 соединяется со входным патрубком 4 и потоки воздуха с частицами переносятся в него. Входной патрубок 4 выполнен цилиндрическим с возможностью завихрения потока (а1) с частицами сырья 10. В одной из частных реализаций настоящего изобретения, завихрение обусловлено тангенциальным входом сопла 2 в боковую поверхность входного патрубка 4, как изображено на фиг. 6. В другой возможной реализации, входной патрубок 4 может быть выполнен с использованием спиральных направляющих 5, расположенных внутри входного патрубка, как изображено на фиг. 7. За счет этого поток с частицами сырья 10 приобретает вращательную компоненту скорости и образует первичный вихревой поток (а1), который далее направляется в осадительную вихревую камеру 7.

[0048] Осадительная вихревая камера 7 со входным патрубком и патрубком вывода очищенного потока 8 изображена на фиг. 2. Она имеет две секции – верхняя, выполненная цилиндрически, и нижняя, конусно сужающаяся вниз. Входной патрубок 4 соединяется с осадительной вихревой камерой 7 тангенциально в верхней ее части, как изображено на фиг. 1–4, и за счет тангенциального соединения образуется вторичный вихревой поток (а2). Также сырье 10 из осадительной вихревой камеры 7 разгружается периодически или непрерывно через разгрузочное устройство, обеспечивающее высокое сопротивление воздушному потоку и расположенное в нижней части камеры 7. В верхней части осадительной вихревой камеры 7, коаксиально расположен цилиндрический элемент 8.1 патрубка вывода очищенного потока 8, который погружен в осадительную вихревую камеру 7 на некоторую глубину, выступает над ней и имеет глухую стенку сверху. Снаружи вихревой камеры 7 расположен выходной патрубок 8.2 тангенциально выходящий из боковой поверхности цилиндрического элемента 8.1 патрубка вывода очищенного потока 8, что завихряет поток (а3) в противоположном направлении относительно вторичного вихря (а2), как изображено на фиг. 4. За счет завихрения потока с частицами сырья 10 внутри входного патрубка 4 и его тангенциального входа в осадительную вихревую камеру 7, в ней образуется двойной вихревой поток (а1+а2). Этот поток движется по спирали вдоль стенки осадительной вихревой камеры 7 вниз. За счет завихрений, образованных в патрубке вывода очищенного потока 8, образуются восходящий вихревой поток, вращающийся в противоположную сторону (а3). В верхней части осадительной камеры 7 более крупные частицы сырья 10, под действием центробежных сил, отбрасываются, и за счет столкновений друг с другом и стенками осадительной камеры 7, а также за счет взаимодействия с восходящим очищенным вихревым потоком (а3), имеющем другое направление, частицы теряют свою кинетическую энергию и концентрируются в нижней части камеры 7. В нижней части осадительной вихревой камеры 7 по такому же принципу, за счет увеличения скорости в ее нижней сужающейся части осаждаются и более мелкие частицы сырья 10, а воздушный поток меняет свое направление, переходя в третий вихревой поток (а3) и поднимается по спирали в патрубок вывода очищенного потока 8 и удаляется. Для увлечения частиц в восходящий вихревой поток (а3) при переходе из нисходящего (а1+а2), восходящий поток (а3) должен сначала загасить переданные частицам нисходящим вихревым потоком (а1+а2) скорости и придать свою противоположно направленную скорость. Завихрения во входном патрубке 4 увеличивают градиент скоростей на границе взаимодействия нисходящих (а1+а2) и восходящих вихревых потоков (а3), за счет чего увеличивается время для изменения направления скоростей осаждаемых частиц сырья 10. Благодаря этому частицы, под воздействием силы гравитации, успевают сконцентрироваться в нижней части осадительной вихревой камеры 7 и не увлекаются восходящим очищенным вихревым потоком (а3) в патрубок вывода очищенного потока 8, что напрямую влияет на достижение заявленного технического результата. Схематичный вид движения вихревых потоков (а1+а2) и (а3) изображен на фиг. 3. То есть в отсутствие первичного завихрения потока (а1), при взаимодействии только вторичного вихревого потока (а2) и третьего восходящего вихревого потока (а3), больше частиц сырья 10 могло бы не успевать опуститься к отверстию для обогащенного сырья 11, за счет чего они бы увлекались восходящим потоком (а3) из осадительной вихревой камеры 7 в патрубок вывода очищенного потока 8. Сырье 10 из осадительной вихревой камеры разгружается периодически или непрерывно через разгрузочное устройство, обеспечивающее высокое сопротивление воздушному потоку и расположенное в нижней части камеры 7.

[0049] Важно отметить, что любые дополнительные элементы устройства пневматического обогащения сырья 1, описанные выше, могут использоваться в устройстве по отдельности, все вместе одновременно, а также в любой комбинации. Реализация устройства пневматического обогащения сырья 1 с любым дополнительным элементом будет приводить к достижению дополнительных технических результатов, описанных в заявке, наряду с основным техническим результатом. Помимо этого, любой из дополнительных признаков устройства может быть интерпретирован как дополнительный признак способа применения устройства пневматического обогащения сырья 1. Аналогично любой из дополнительных признаков способа применения устройства обогащения сырья может быть интерпретирован как дополнительный признак конструкции устройства пневматического обогащения сырья 1.

[0050] На фиг. 9 представлена блок-схема, изображающая способ применения устройства пневматического обогащения сырья 1. Согласно нему, сначала запускают устройство для создания разреженного воздуха 9.

[0051] Затем размещают обогащаемое сырье 10 на ленту конвейера 3, к примеру с помощью питателя.

[0052] Далее перемещают обогащаемое сырье 10 под сопло 2, в котором восходящие потоки воздуха образуют псевдокипящий слой 6 из частиц сырья 10 заданной плотности, и через который частицы меньшей плотности беспрепятственно проходят.

[0053] Затем завихряют поток с частицами при помощи входного патрубка 4.

[0054] Далее направляют завихренный поток с частицами в осадительную вихревую камеру 7 через тангенциально расположенный входной патрубок 4, что дополнительно завихряет поток внутри осадительной камеры 7.

[0055] После этого осаждают частицы за счет взаимодействий вихревых потоков (а1+а2) и (а3) внутри осадительной вихревой камеры 7, имеющих противоположные направления движений, образованные за счет тангенциального расположения входного патрубка 4 и выходного патрубка 8.2, являющегося частью патрубка вывода очищенного потока 8, завихряющих потоки в противоположные стороны, и за счет завихрения во входном патрубке 4.

[0056] Затем выводят очищенный поток из осадительной вихревой камеры 7 через патрубок вывода очищенного потока 8, завихряющий очищенный поток в противоположную сторону, относительно входного патрубка 4.

[0057] Также дополнительно может регулироваться высота сопла 2 над воздухопроницаемым конвейером 3, для регулирования плотности сырья 10, на сепарацию которого настроено устройство 1.

[0058] Также поток может завихряться во входном патрубке 4 за счет тангенциального соединения сопла 2 и входного патрубка 4.

[0059] Также поток может завихряться во входном патрубке 4 за счет спиральных направляющих 5.

[0060] При этом очищенный поток может дополнительно фильтроваться в воздухоочистительном устройстве 11.

[0061] В еще одном варианте, дополнительно может регулироваться скорость потока с помощью устройства для создания разреженного воздуха 9.

[0062] В представленной одной из наилучших реализаций устройство пневматического обогащения сырья выполнено следующим образом. На воздухопроницаемый ленточный конвейер 3 равномерно подается сепарируемое сырье 10 с помощью вибрационного наклонного лотка. Над участком конвейера 3 располагается наклонное сопло 2, с образованием угла между стенками сопла 2 и плоскостью ленты конвейера 3, направленного по направлению движения сырья 10. Высота над лентой конвейера 3 и скорость в сопле 2 отрегулированы для сепарации частиц сырья 10 плотности ниже определенной. Скорость потока регулируется скоростью вращения двигателя устройства для создания разреженного воздуха 9, выполненного в виде газового насоса. Сопло 2 тангенциально соединено с входным патрубком 4, который, в свою очередь, тангенциально соединен с осадительной вихревой камерой 7 в верхней ее части. Она имеет две секции – верхняя, выполненная цилиндрически, и нижняя, конусно сужающаяся вниз. В нижней части осадительной вихревой камеры 7 располагается разгрузочное устройство обеспечивающее высокое сопротивление воздушному потоку через которое непрерывно разгружается сырье 10. В верхней части осадительной вихревой камеры 7, коаксиально расположен цилиндрический элемент 8.1 патрубка вывода очищенного потока 8, который погружен в осадительную вихревую камеру 7 на некоторую глубину, выступает над ней и имеет глухую стенку сверху. Снаружи вихревой камеры 7 расположен выходной патрубок 8.2 тангенциально выходящий из боковой поверхности цилиндрического элемента 8.1 патрубка вывода очищенного потока 8, что завихряет поток (а3) в противоположном направлении относительно завихрения, обусловленного тангенциальным соединением входного патрубка 4 и осадительной камеры 7. Патрубок вывода очищенного потока 8 соединяется с воздухоочистительным устройством 11, выполненным в виде циклона, который, в свою очередь, соединяется с устройством для создания разреженного воздуха 9.

[0063] Терминология, используемая в настоящем документе, предназначена только для описания конкретных вариантов осуществления и не предназначена для ограничения настоящего изобретения. Далее следует понимать, что термины «содержит» и/или «включает» при использовании в данной спецификации указывают на наличие заявленных признаков, целых чисел, шагов, операций, элементов и/или компонентов, но не исключают наличие или добавление одного или нескольких других признаков, целых чисел, шагов, операций, компонентов элементов и/или их групп.

[0064] Соответствующие конструкции, материалы, акты и эквиваленты всех средств или элементов шага плюс функции в формуле изобретения ниже предназначены для включения любой конструкции, материала или действия для выполнения функции в сочетании с другими заявленными элементами, как конкретно заявлено. Описание настоящего изобретения представлено в целях иллюстрации и описания, но не претендует на то, чтобы быть исчерпывающим или ограничиваться изобретением в описанной форме. Многие модификации и вариации будут очевидны для тех, кто обладает обычными навыками в данной области техники, не отступая от смысла. Вариант осуществления был выбран и описан для того, чтобы наилучшим образом объяснить принципы изобретения, а также дать возможность другим лицам, обладающим обычными навыками в данной области техники, понять изобретение для различных вариантов осуществления с различными модификациями, которые подходят для конкретного предлагаемого использования.

[0065] Таким образом, упомянутые элементы напрямую влияют на технические результаты, заключающиеся в повышении эффективности сепарации внутри осадительной вихревой камеры.

[0066] В настоящих материалах заявки представлено предпочтительное раскрытие осуществления заявленного технического решения, которое не должно использоваться как ограничивающее иные, частные воплощения его реализации, которые не выходят за рамки запрашиваемого объема правовой охраны и являются очевидными для специалистов соответствующей области техники.

Похожие патенты RU2839839C1

название год авторы номер документа
УСТАНОВКА ПНЕВМОВАКУУМНОЙ СЕПАРАЦИИ СЫПУЧИХ МАТЕРИАЛОВ 2010
  • Кузьмин Александр Владимирович
  • Калина Андрей Владимирович
  • Табаков Григорий Николаевич
  • Бойко Дмитрий Юрьевич
  • Поломарчук Владимир Семенович
RU2456099C2
СПОСОБ ОЧИСТКИ ГАЗОВ ОТ ГАЗОВОГО КОНДЕНСАТА И УСТРОЙСТВО ДЛЯ ЕГО ОСУЩЕСТВЛЕНИЯ 2001
  • Малышев А.И.
  • Мокшин В.И.
  • Малышева Е.А.
  • Купавых А.Б.
  • Бабин С.Л.
RU2179880C1
СПОСОБ ОЧИСТКИ ГАЗОВ ОТ ГАЗОВОГО КОНДЕНСАТА И УСТРОЙСТВО ДЛЯ ЕГО ОСУЩЕСТВЛЕНИЯ 1997
  • Малышев А.И.
  • Гординский Е.И.
  • Фусс В.А.
  • Мокшин В.И.
  • Малышева Е.А.
  • Купавых А.Б.
RU2139751C1
ИНЕРЦИОННО-ВИХРЕВОЙ СЕПАРАТОР 2010
  • Ченцов Андрей Владимирович
  • Кузнецов Виктор Иванович
RU2467805C2
ТЕХНОЛОГИЧЕСКИЙ КОМПЛЕКС ДЛЯ РАЗГРУЗКИ И ТРАНСПОРТИРОВАНИЯ ПЕСЧАНО-ГРАВИЙНОЙ СМЕСИ НА СХЕМУ КЛАССИФИКАЦИИ ПЕСЧАНО-ГРАВИЙНОЙ СМЕСИ С ВЫДЕЛЕНИЕМ ФРАКЦИОНИРОВАННОГО ПЕСКА И ГРАВИЯ 2009
  • Любченко Леонид Петрович
  • Черниловский Сергей Константинович
RU2432312C2
ПЫЛЕУЛОВИТЕЛЬ С КЛАПАННЫМ ГИДРОЗАТВОРОМ 2003
  • Шангин Н.Ф.
  • Каширников В.М.
RU2233201C1
ПЫЛЕУЛОВИТЕЛЬ МЕЛКОДИСПЕРСНОЙ ПЫЛИ 2006
  • Богомолов Александр Романович
  • Афанасьев Юрий Олегович
  • Тихов Сергей Дмитриевич
  • Кошелев Евгений Александрович
  • Петрик Павел Трофимович
  • Темникова Елена Юрьевна
RU2316397C1
СПОСОБ СУШКИ СЫПУЧИХ МАТЕРИАЛОВ И ВИХРЕВОЙ АППАРАТ ДЛЯ ЕГО ОСУЩЕСТВЛЕНИЯ 2005
  • Степаненко Андрей Иванович
  • Дворников Николай Алексеевич
RU2290578C1
УСТРОЙСТВО ДЛЯ ОЧИСТКИ И УТИЛИЗАЦИИ ОТХОДЯЩИХ ДЫМОВЫХ ГАЗОВ 2013
  • Кочетов Олег Савельевич
  • Стареева Мария Олеговна
  • Стареева Мария Михайловна
RU2543866C1
Устройство пневматической сепарации, способ и установка сухого обогащения угля 2017
  • Терешенков Александр Николаевич
RU2659296C1

Иллюстрации к изобретению RU 2 839 839 C1

Реферат патента 2025 года Устройство пневматического обогащения сырья и способ его применения

Предложенная группа изобретений относится к сепарационной технике, а именно к устройствам для гравитационного разделения твердых материалов по плотности, предназначенных для предварительного или финишного обогащения руд, продуктов металлургического производства, угля, нерудных минералов, пищевых продуктов и т.п. Устройство пневматического обогащения сырья включает воздухопроницаемый конвейер, входной патрубок, сопло, расположенное над лентой конвейера и соединенное со входным патрубком, осадительную вихревую камеру, патрубок вывода очищенного потока и устройство для создания разреженного воздуха. Входной патрубок выполнен с возможностью завихрения потока, при этом тангенциально соединен с осадительной вихревой камерой для вторичного завихрения потока. Патрубок вывода очищенного потока выполнен с возможностью завихрения потока в противоположном направлении относительно вторичного завихрения и соединен с устройством для создания разреженного воздуха. Патрубок вывода очищенного потока состоит из цилиндрического элемента, расположенного вертикально по центру осадительной камеры, погруженного на некоторую глубину и имеющего глухую стенку сверху, и выходного патрубка, выходящего тангенциально из цилиндрического элемента. Способ пневматического обогащения сырья включает запуск устройства для создания разреженного воздуха, размещение обогащаемого сырья на ленту конвейера, перемещение обогащаемого сырья под сопло для образования псевдокипящего слоя из частиц сырья заданной плотности, через который частицы меньшей плотности беспрепятственно проходят, завихрение потока с частицами при помощи входного патрубка, направление завихренного потока с частицами в осадительную вихревую камеру через тангенциально расположенный входной патрубок, что дополнительно завихряет поток внутри осадительной камеры, осаждение частиц за счет взаимодействий вихревых потоков внутри осадительной камеры, вывод очищенного потока из осадительной вихревой камеры через патрубок вывода очищенного потока, завихряющий очищенный поток в противоположную сторону относительно входного патрубка. Технический результат – повышение эффективности сепарации внутри осадительной вихревой камеры. 2 н. и 11 з.п. ф-лы, 9 ил.

Формула изобретения RU 2 839 839 C1

1. Устройство пневматического обогащения сырья, включающее воздухопроницаемый конвейер, входной патрубок, сопло, расположенное над лентой конвейера и соединенное со входным патрубком, осадительную вихревую камеру, патрубок вывода очищенного потока и устройство для создания разреженного воздуха,

причем входной патрубок выполнен с возможностью завихрения потока, при этом тангенциально соединен с осадительной вихревой камерой для вторичного завихрения потока,

патрубок вывода очищенного потока выполнен с возможностью завихрения потока в противоположном направлении относительно вторичного завихрения и соединен с устройством для создания разреженного воздуха,

при этом патрубок вывода очищенного потока состоит из цилиндрического элемента, расположенного вертикально по центру осадительной камеры, погруженного на некоторую глубину и имеющего глухую стенку сверху, и выходного патрубка, выходящего тангенциально из цилиндрического элемента.

2. Устройство обогащения сырья по п. 1, отличающееся тем, что сопло входит во входной патрубок тангенциально.

3. Устройство обогащения сырья по п. 1, отличающееся тем, что во входном патрубке выполнены спиральные направляющие.

4. Устройство обогащения сырья по п. 1, отличающееся тем, что дополнительно содержит воздухоочистительное устройство, соединенное с осадительной вихревой камерой и устройством для создания разреженного воздуха.

5. Устройство обогащения сырья по п. 1, отличающееся тем, что сопло расположено под наклоном к плоскости ленты конвейера с образованием угла между стенками сопла и плоскостью ленты конвейера, направленного по направлению движения сырья.

6. Устройство обогащения сырья по п. 1, отличающееся тем, что сопло выполнено с возможностью регулирования его высоты над воздухопроницаемым конвейером.

7. Устройство обогащения сырья по п. 1, отличающееся тем, что устройство для создания разреженного воздуха выполнено с возможностью регулирования скорости потока.

8. Способ пневматического обогащения сырья, при котором:

- запускают устройство для создания разреженного воздуха;

- размещают обогащаемое сырье на ленту конвейера;

- перемещают обогащаемое сырье под сопло для образования псевдокипящего слоя из частиц сырья заданной плотности, через который частицы меньшей плотности беспрепятственно проходят,

- завихряют поток с частицами при помощи входного патрубка,

- направляют завихренный поток с частицами в осадительную вихревую камеру через тангенциально расположенный входной патрубок, что дополнительно завихряет поток внутри осадительной камеры,

- осаждают частицы за счет взаимодействий вихревых потоков внутри осадительной камеры,

- выводят очищенный поток из осадительной вихревой камеры через патрубок вывода очищенного потока, завихряющий очищенный поток в противоположную сторону относительно входного патрубка.

9. Способ пневматического обогащения сырья по п. 8, отличающийся тем, что дополнительно регулируют высоту сопла над воздухопроницаемым конвейером.

10. Способ пневматического обогащения сырья по п. 8, отличающийся тем, что поток завихряют во входном патрубке за счет тангенциального соединения сопла и входного патрубка.

11. Способ пневматического обогащения сырья по п. 8, отличающийся тем, что поток завихряют во входном патрубке за счет спиральных направляющих.

12. Способ пневматического обогащения сырья по п. 8, отличающийся тем, что очищенный поток дополнительно фильтруют в воздухоочистительном устройстве.

13. Способ пневматического обогащения сырья по п. 8, отличающийся тем, что дополнительно регулируют скорость потока с помощью устройства для создания разреженного воздуха.

Документы, цитированные в отчете о поиске Патент 2025 года RU2839839C1

Способ и устройство для шлифовки и полировки гребных винтов 1948
  • Кочетов Е.П.
SU78703A1
СЕПАРИРУЮЩЕЕ УСТРОЙСТВО И СПОСОБ ДЛЯ ПНЕВМАТИЧЕСКОЙ СИСТЕМЫ ТРАНСПОРТИРОВКИ МАТЕРИАЛА 2012
  • Сундхольм Геран
RU2609257C2
КАСКАДНЫЙ ПНЕВМАТИЧЕСКИЙ КЛАССИФИКАТОР 2000
  • Викторов Г.В.
  • Кобелев Н.С.
RU2185254C2
СПОСОБ СУХОЙ ПЕРЕРАБОТКИ УГЛЯ 2005
  • Кузьмин Александр Владимирович
  • Люленков Владимир Иванович
  • Качуров Константин Владиславович
  • Кардаков Андрей Леонидович
  • Бойко Дмитрий Юрьевич
  • Поломарчук Владимир Семенович
RU2282503C1
УСТАНОВКА ПНЕВМОВАКУУМНОЙ СЕПАРАЦИИ СЫПУЧИХ МАТЕРИАЛОВ 2010
  • Кузьмин Александр Владимирович
  • Калина Андрей Владимирович
  • Табаков Григорий Николаевич
  • Бойко Дмитрий Юрьевич
  • Поломарчук Владимир Семенович
RU2456099C2
Способ цементации стали, железа и т.п. 1930
  • В. Бек
  • К. Альбрехт
SU37602A1
ПРИСПОСОБЛЕНИЕ ДЛЯ ОСВЕЩЕНИЯ РАЗЛИЧНО ОКРАШЕННЫМ СВЕТОМ ПРЕПАРАТОВ ПРИ МИКРОСКОПИРОВАНИИ 1933
  • Свинарский Н.И.
SU36686A1
ПРИБОР ДЛЯ ОПРЕДЕЛЕНИЯ ТЕПЛОПРОВОДНОСТИ И ТЕПЛОЕМКОСТИ СТРОИТЕЛЬНЫХ МАТЕРИАЛОВ 1929
  • Тимрот Д.Л.
SU22959A1

RU 2 839 839 C1

Авторы

Степаненко Андрей Иванович

Даты

2025-05-13Публикация

2024-06-25Подача