Настоящее изобретение относится к аналитической химии и может быть использовано для контроля чистоты поверхности технологически важных изделий при нахождении этих изделий в атмосфере помещения.
Из существующего уровня техники известны современные автоматические анализаторы органических соединений Thermo Scientific (США), Analytik Jena (Германия), «Elementar Analysensysteme GmbH» (Германия), «Perkin Elmer» (США), «СЕ Instruments» (Италия), Euro Vector (Италия), LECO (США), Antek (США), Exeter Analytical (Великобритания), основанные на использовании классического метода Дюма-Прегля - сжигании пробы в окислительной среде и регистрации диоксида углерода.
Недостатком данного технического решения является определение в целом в образце органических соединений, находящиеся как в объеме образца, так и на его поверхности.
Известен способ анализа следовых количеств органических соединений на поверхности твердых тел, включающий вакуумирование образца, облучение его поверхности импульсами лазерного облучения в режиме свободной генерации и регистрацию положительных ионов, средняя площадь плотности импульса лазерного излучения на поверхности образца составляет от 3-103 Вт/см2 до 103 Вт/см2 [Авт. св-во №966792, кл. H01J 49/26, опубл. 1982].
Недостаток способа заключается:
во-первых, в переводе образца из воздушной среды, в которой находится проба, в другую среду - в вакуум:
во-вторых, транспортировка (перенос) пробы из условий, в которых произведен ее отбор к месту проведения анализа (в другое помещение). При этом, может происходить как улетучивание части сорбированных органических веществ, так и загрязнение пробы новыми соединениями, что влечет за собой возникновение систематической погрешности.
Таким образом, в целом (интегрально) охарактеризовать поверхность на содержание на ней органических соединений данным способом, затруднительно.
Наиболее близким к заявленному техническому решению является способ определения суммарного содержания органических веществ в анализируемой пробе. [Патент РФ №2794417, кл. GOJN 31/12, опубл. 2023 г.].
Известный способ определения органических соединений, преимущественно сорбированных из воздуха помещения, включает подачу анализируемой пробы в реактор, перемещение согласно компьютерной программе пробы в реакторе в потоке воздуха вдоль печи от зоны с комнатной температурой в высокотемпературную зону ректора, где происходит окисление органических соединений, находящихся в пробе, определение на входе в реактор и выходе из него концентрации кислорода в потоке воздуха, улавливание на выходе из реактора не окислившихся молекул углеродных соединений на катализаторе, по полученным данным судят о количестве органических соединений в пробе
Недостатками данного способа являются:
- невозможность точно определять заявляемые характеристики и сорбционные свойства поверхности вещества;
- неполнота исследования;
- систематические погрешности при выполнении анализа;
- отсутствие возможности перемещения установки для исследования воздуха в различных помещениях. Использование напрямую (без предварительной очистки) воздуха помещений, который используется в качестве окислительной среды влияет на точность исследования и приводит к систематическим погрешностям при выполнении исследования.
Задачей, на решение которой направлено заявляемое изобретение является общее (интегральное) определение органических соединений на поверхности твердого тела, пассивно сорбированных за заданное время из воздуха помещения. В частности, на поверхность материалов, применяемых в детекторах и элементах установок, используемых при проведении низкофоновых экспериментов.
Данная задача решается за счет того, что в способе определения органических соединений, преимущественно сорбированных из воздуха помещения, включающем подачу анализируемой пробы в реактор, перемещение согласно компьютерной программе пробы в реакторе в потоке воздуха вдоль печи от зоны с комнатной температурой в высокотемпературную зону ректора, где происходит окисление органических соединений, находящихся в пробе, определение на входе в реактор и выходе из него концентрации кислорода в потоке воздуха, улавливание на выходе из реактора не окислившихся молекул углеродных соединений на катализаторе, по полученным данным судят о количестве органических соединений в пробе, перед подачей воздуха в реактор его очищают от органических соединений и микрочастиц, анализируемую пробу получают на поверхности подложки, пробу вводят в высокотемпературную зону с температурой 680-880°С, одновременно с нагревом регистрируют дополнительно углекислый газ в потоке воздуха, выходящего из реактора, после возврата концентрации кислорода и углекислого газа к фоновым величинам очищенного воздуха, определяют количество органических соединений в пробе по площади пика суммарного выделения углекислого газа относительного его фонового содержания на выходе в реактора, поверхностную концентрацию органических соединений в пробе определяют из отношения площади пика суммарного выделения углекислого газа к площади подложки, предварительно перед определением органических веществ в пробе проводят очистку от органических примесей подложки и нанесение пробы на очищенную подложку.
Преимущественно очистку подложки проводят путем введения в потоке очищенного воздуха в реактор, нагрева ее при постепенном перемещении вдоль печи реактора до высокотемпературной зоны с температурой 680-880°С, одновременно с нагревом непрерывно регистрируют содержания кислорода и углекислого газа в потоке воздуха, выходящего из реактора, после возврата концентрации кислорода и углекислого газа к фоновым величинам очищенного воздуха, положку из реактора помещают в анализируемый воздух помещения и выдерживают ее в помещении для пассивной сорбции органических веществ на ее поверхность из воздуха помещения.
Целесообразно перемещение в высокотемпературную зону реактора анализируемой пробы проводить со скоростью от 1 до 10 мм в секунду.
Органические соединения конвертируют в углекислый газ на катализаторе и регистрируют датчиком углекислого газа.
Целесообразно для определения органических соединений, содержащихся в пробе, использовать градуировочную зависимость для датчика углекислого газа, характеризующую связь между площадью пика в условных единицах и количеством углерода в миллиграммах.
Преимущественно использовать подложки из материалов, которые могут входит в конструкцию установок для низкофоновых измерений и материалов, находящихся в помещении, где проводятся низкофоновые измерения, например, из кварца, платины и палладия.
Время выдержки подложки в анализируемом воздухе помещения определяют временем проведения низкофоновых экспериментов.
На фиг. 1 представлен прибор с подвижной платформой для реализации предлагаемого способа;
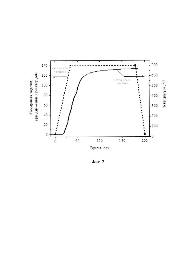
на фиг. 2 - графическое представление профиля движения лодочки при ее введении в реактор и распределение температуры при движении лодочки в реактор;
на фиг. 3 поясняется осуществление предлагаемого способа поэтапно;
на фиг. 4 пример получаемых кинетических кривых образования углекислого газа при введении платиновой пластины в высокотемпературный реактор после времени пассивной сорбции 10 минут (точечная линия), 90 минут (пунктирная линия) и 5 суток (сплошная линия).
Для точного определения количества органических веществ в помещении строиться градуировочная зависимость. Градуировочная зависимость выполнена стандартным методом. В качестве модельного органического вещества для построения градуировочного графика выбирают высокомолекулярное соединение, с достаточно высокими температурами кипения и сгорания - полиэтиленгликоль (ПЭГ) с количеством звеньев равное 125 и молекулярной массой равной 6000 г/моль. Навески (порошкообразное твердое вещество) ПЭГ массой от 4⋅10-4 г до 1⋅10-2 г взвешивают с помощью полумикровесов, например, марки M5-HPB-105i-ION (BEL Engineering). Регистрируют датчиком CO2 площадь пика образования углекислого газа при введении навески в высокотемпературный реактор. На основании полученных значений величины площадей пиков строят зависимость величины площади пика выделения углекислого газа от массы навески. Далее производят пересчет массы взятой навески ПЭГ на содержание в ней углерода и получают градуировочную зависимость площадь пика (отн. единицы) от количества - массы углерода (граммы). Уравнение градуированного графика имеет вид: у=(9702596±3764)⋅х+(5914±110), R2=0.991, где у - величина площади пика образования углекислого газа, х - масса углерода. Подставляя полученные значения величины пика в уравнение градуировочной кривой, находят значения сорбированного углерода.
Для осуществления способа используют устройство, изображенное на фиг. 1 и содержащее систему перемещения образца, позволяющего вводить и выводить образец из высокотемпературного реактора; генератор чистого воздуха (например, типа «ГЧВ-1,2» компании НПФ «МетаХром»), очищающего поток воздуха от органических соединений и микрочастиц, находящихся в воздухе помещения; высокотемпературный реактор с катализатором на выходе из него, в котором происходит нагрев поверхности образца до заданной температуры; чувствительные сенсоры кислорода и диоксида углерода, непрерывно контролирующие изменения содержания газа, прошедшего через образец, на выходе из высокотемпературного реактора.
Очищенный воздух поступает в боковой отросток реактора, находящийся около входного отверстия, через которое вводится анализируемый образец. Поступающий в реактор воздух делится на два потока, один поток выходит из отверстия входного реактора, создавая газодинамический затвор, который не позволяет воздуху помещения попадать в высокотемпературную часть реактора. Второй поток чистого воздуха проходит через высокотемпературную зону ректора, где происходит окисление органического вещества, находящегося в анализируемом образце. Полнота окисления достигается размещением в конце высокотемпературной зоны реактора катализатора.
Способ осуществляют следующим образом.
Первая стадия - перенесение исследуемой подложки, в виде пластинки в прободержатель - кварцевую лодочку.
Вторая стадия - удаление имеющихся на поверхности исследуемой подложки органических соединений. Эта стадия включает в себя введение лодочки с подложкой в высокотемпературную часть реактора и нагрев поверхности подложки ниже температуры термодеструкции материала подложки при помощи специально разработанного алгоритма движения, называемого «Профиль движения лодочки» (фиг. 2). Это алгоритм, по которому лодочка с подложкой вводится в реактор через входное отверстие реактора. Программно задается зависимость положения лодочки (мм) от времени (сек) при движении ее в реакторе (левый столбик на фиг. 2). При движении лодочки в реакторе происходит ее нагрев и нагрев подложки, находящегося на ее поверхности (правый столбик на фиг. 2). Нагрев подложки при введении лодочки в высокотемпературную часть реактора выбирается ниже температуры разрушения поверхности материала исследуемой подложки. В процессе нагрева подложки регистрируется изменения концентрации кислорода и диоксида углерода в потоке газа, выходящего из реактора.
Третья стадия - после того, как концентрации кислорода и диоксида углерода вернутся к фоновым величинам, это указывает на то, что органические соединения, находящиеся на поверхности подложки, полностью окислились и удалены с ее поверхности, осуществляется перемещение подложки из реактора в анализируемый воздух помещения. Остывая, подложка находится в лодочке (или открытой чашке Петри) фиксированное время - от нескольких минут до нескольких суток в воздухе помещения. При этом происходит пассивная сорбция углерод содержащих соединений на поверхность подложки из воздуха помещения.
Четвертая стадия - согласно заданному профилю движения лодочки, происходит введение подложки с полученным образцом в высокотемпературную зону реактора, до температуры, не превышающей температуру термодеструкции материала исследуемого образца. Нагрев подложки с образцом происходит с одновременной регистрацией изменения содержания кислорода и углекислого газа в потоке воздуха, выходящего из реактора. По величине пика выделения углекислого газа и соответствующей ей величины пика потребления кислорода, в результате протекающих реакций окисления, судят о количестве органического вещества. Зная площадь поверхности подложки, определяют поверхностную концентрацию сорбированного органического вещества. На основании полученного значения количества органического вещества можно провести пересчет на углерод, сорбированный на поверхности подложки.
Пример 1
Определение органических соединений, сорбированных из воздуха помещений на поверхность твердых тел, проводят на платиновой подложке, в виде пластины, размерами 10*20*0.23 мм.
Перед введением лодочки в реактор подают в него очищенный воздух и измеряют фоновые значения углекислого газа и кислорода. Помещают подложку на поверхность лодочки и перемещают в реакторе в высокотемпературную зону реактора (700°С). При введении лодочки в реактор, непрерывно регистрируют содержание кислорода и углекислого газа в потоке воздуха, выходящего из реактора. Нагревают подложку до температуры 700°С.
Далее лодочка с подложкой выводится из реактора (см фиг. 2, где представлен алгоритм перемещения лодочки от времени и нагрев образца от времени). При выходе показаний датчиков на фоновые значения углекислого газа и кислорода, полученные перед введением образца в реактор, делают вывод об очистки подложки от органических загрязнений. Если, показания датчиков не возвращаются к измеренным значениям перед введением подложки, режим ее нагрева повторяется. Расход потока воздуха, проходящего через реактор, составляет 0.2 л/мин.
Затем осуществляют перемещение подложки из реактора в анализируемый воздух помещения. Подложку при помощи захватного прецизионного пинцета помещают в открытую чашку Петри (d=30 мм) и оставляют на воздухе в исследуемом помещении в течение 34 суток. В процессе нахождения платиновой подложки в чашке Петри происходит пассивная сорбция органических веществ на ее поверхность из воздуха помещения.
По истечению 34-х суток подложку с пробой при помощи захватного прецизионного пинцета перемещают из чашки Петри в лодочку. Лодочку с образцом вводят в высокотемпературную область реактора со скоростью 5 мм/сек. Температура нагрева поверхности подложки с образцом составляет 700°С.
Перед введением образца в реактор регистрируют фоновые значения содержания углекислого газа и кислорода в потоке очищенного воздуха, выходящего из реактора. При введении образца в реактор регистрируют изменение содержание углекислого газа и кислорода в потоке газа, выходящего из реактора. Подложка находится в высокотемпературной зоне реактора до восстановления фоновых значений кислорода и углекислого газа, полученных при регистрации перед введением образца.
Аналитическим сигналом является площадь положительного пика углекислого газа в потоке газа, выходящего из реактора. На фиг. 4 представлен пример полученных кинетических кривых образования углекислого газа при введении платиновой пластины в высокотемпературный реактор после времени пассивной сорбции. Кривая 1 - пассивная сорбция в течение 5 суток, 2 - пассивная сорбция в течение 90 минут, 3 - пассивная сорбция в течение 10 минут.
Используя градуировочную зависимость для датчика углекислого газа, характеризующую связь между площадью пика в условных единицах и количеством углерода в миллиграммах, определяют количество углерода, содержащегося на поверхности платиновой подложки.
Для платиновой подложки за время пассивной сорбции 34 суток количество сорбированного углерода составило 0.5 мг/см2.
На примере поверхности кварца, платины и палладия показана реализация предлагаемого способа для определения органических соединений, сорбированных из воздуха помещений на поверхности модельных твердых тел в результате пассивной сорбции органических соединений, находящихся в воздухе помещения.
Уровень органических соединений в воздухе помещения, как правило, характеризуют объемной концентрацией. Она может достигать до нескольких миллиграмм на один кубический метр. Как правило, количество органических соединений в воздухе помещения в 2-5 раз выше, чем в атмосферном воздухе.
Количество органических соединений, которое возможно определить предлагаемым способом на 1 см2 поверхности твердых материалов составляет порядка 60-70 слоев, что соответствует толщине органического слоя 6-8 нм.
Предлагаемый способ реализуется на подвижной платформе, которую можно перемещать в различные помещения. Способ не требует химических реактивов и может быть реализован в автоматическом режиме.
Определение органических соединений на поверхности твердых материалов позволяет установить зависимость от времени сорбции органических соединений, а также получить характеристику сорбционных свойств в зависимости от состава материала поверхности.
Таким образом, предлагаемый способ позволяет достаточно просто и в полной степени (интегрально) охарактеризовать поверхность на содержание на ней органических соединений.
| название | год | авторы | номер документа |
|---|---|---|---|
| СПОСОБ ИССЛЕДОВАНИЯ ОРГАНИЧЕСКИХ ВЕЩЕСТВ, ПРЕИМУЩЕСТВЕННО ХАРАКТЕРИСТИК ОКИСЛИТЕЛЬНОЙ ТЕРМОДЕСТРУКЦИИ ОРГАНИЧЕСКИХ ПОЛИМЕРОВ | 2022 |
|
RU2794417C1 |
| СПОСОБ ОКСИТЕРМОГРАФИИ | 2010 |
|
RU2411509C1 |
| Способ и установка для определения углерода в водных растворах | 1975 |
|
SU656552A3 |
| Способ определения суммарного содержания F-, Cl- и Br-органических соединений в волосах на уровне следов | 2018 |
|
RU2683938C1 |
| СИСТЕМА ИЗОТОПНОГО ХРОМАТО-МАСС-СПЕКТРОМЕТРИЧЕСКОГО АНАЛИЗА ОРГАНИЧЕСКИХ ГАЗОВЫХ СМЕСЕЙ | 2008 |
|
RU2383013C1 |
| Способ хроматографического определения летучих соединений в газовых средах | 2019 |
|
RU2737232C1 |
| СПОСОБ ОПРЕДЕЛЕНИЯ МЕТАЛЛОВ В ОРГАНИЧЕСКИХ МАТЕРИАЛАХ | 1990 |
|
RU2027183C1 |
| СИСТЕМА И СПОСОБ ДЛЯ ИЗМЕРЕНИЯ И КОЛИЧЕСТВЕННОГО АНАЛИЗА КИСЛОРОДА И ПРИМЕСЕЙ, СОДЕРЖАЩИХСЯ В КИСЛОРОДЕ МЕДИЦИНСКОМ ГАЗООБРАЗНОМ | 2022 |
|
RU2797786C1 |
| СПОСОБ ОПРЕДЕЛЕНИЯ ИЗОТОПНОГО СОСТАВА МЕТАНА | 2010 |
|
RU2461909C2 |
| СПОСОБ КАЧЕСТВЕННОЙ ОЦЕНКИ СОРБЦИОННЫХ СВОЙСТВ ЗОЛОШЛАКОВЫХ МАТЕРИАЛОВ ПО ОТНОШЕНИЮ К ПАРАМ АЗОТНОЙ КИСЛОТЫ | 2012 |
|
RU2532172C2 |
Изобретение относится к аналитической химии, может быть использовано для контроля чистоты поверхности технологически важных изделий при нахождении этих изделий в атмосфере помещения. Способ определения органических соединений, преимущественно сорбированных из воздуха помещения, включает подачу анализируемой пробы в реактор, перемещение согласно компьютерной программе пробы в реакторе в потоке воздуха вдоль печи от зоны с комнатной температурой в высокотемпературную зону ректора, где происходит окисление органических соединений, находящихся в пробе; определение на входе в реактор и выходе из него концентрации кислорода в потоке воздуха; улавливание на выходе из реактора не окислившихся молекул углеродных соединений на катализаторе. По полученным данным судят о количестве органических соединений в пробе. Перед подачей воздуха в реактор его очищают от органических соединений и микрочастиц. Анализируемую пробу получают на поверхности подложки. Пробу вводят в высокотемпературную зону с температурой 680-880°С, одновременно с нагревом регистрируют дополнительно углекислый газ в потоке воздуха, выходящего из реактора. После возврата концентрации кислорода и углекислого газа к фоновым величинам очищенного воздуха определяют количество органических соединений в пробе по площади пика суммарного выделения углекислого газа относительного его фонового содержания на выходе в реактора. Поверхностную концентрацию органических соединений в пробе определяют из отношения площади пика суммарного выделения углекислого газа к площади подложки. Предварительно перед определением органических веществ в пробе проводят очистку от органических примесей подложки и наносят пробу на очищенную подложку. Техническим результатом является возможность определения общего (интегрального) содержания органических соединений на поверхности твердого тела, пассивно сорбированных за заданное время из воздуха помещения. 7 з.п. ф-лы, 4 ил., 1 табл.
1. Способ определения органических соединений, преимущественно сорбированных из воздуха помещения, включающий подачу анализируемой пробы в реактор, перемещение согласно компьютерной программе пробы в реакторе в потоке воздуха вдоль печи от зоны с комнатной температурой в высокотемпературную зону ректора, где происходит окисление органических соединений, находящихся в пробе, определение на входе в реактор и выходе из него концентрации кислорода в потоке воздуха, улавливание на выходе из реактора не окислившихся молекул углеродных соединений на катализаторе, по полученным данным судят о количестве органических соединений в пробе, отличающийся тем, что перед подачей воздуха в реактор его очищают от органических соединений и микрочастиц, анализируемую пробу получают на поверхности подложки, пробу вводят в высокотемпературную зону с температурой 680-880°С, одновременно с нагревом регистрируют дополнительно углекислый газ в потоке воздуха, выходящего из реактора, после возврата концентрации кислорода и углекислого газа к фоновым величинам очищенного воздуха определяют количество органических соединений в пробе по площади пика суммарного выделения углекислого газа относительного его фонового содержания на выходе в реактора, поверхностную концентрацию органических соединений в пробе определяют из отношения площади пика суммарного выделения углекислого газа к площади подложки, предварительно перед определением органических веществ в пробе проводят очистку от органических примесей подложки и нанесение пробы на очищенную подложку.
2. Способ определения органических соединений по п. 1, отличающийся тем, что очистку подложки проводят путем введения в потоке очищенного воздуха в реактор, нагрева ее при постепенном перемещении вдоль печи реактора до высокотемпературной зоны с температурой 680-880°С, одновременно с нагревом непрерывно регистрируют содержания кислорода и углекислого газа в потоке воздуха, выходящего из реактора, после возврата концентрации кислорода и диоксида углерода к фоновым величинам очищенного воздуха подложку из реактора помещают в анализируемый воздух помещения и выдерживают ее в помещении для пассивной сорбции органических веществ на ее поверхность из воздуха помещения.
3. Способ определения органических соединений по п. 1, отличающийся тем, что перемещение в высокотемпературную зону реактора анализируемой пробы проводят со скоростью от 1 до 10 мм в секунду.
4. Способ определения органических соединений по п. 1, отличающийся тем, что органические соединения конвертируют в диоксид углерода на катализаторе и регистрируют датчиком диоксида углерода.
5. Способ определения органических соединений по п. 1, отличающийся тем, что для определения органических соединений, содержащихся в пробе, используют градуировочную зависимость для датчика диоксида углерода, характеризующую связь между площадью пика в условных единицах и количеством углерода в миллиграммах.
6. Способ определения органических соединений по п. 1, отличающийся тем, что используют подложки из материалов, которые могут входить в конструкцию установок для низкофоновых измерений и материалов, находящихся в помещении, где проводятся низкофоновые измерения.
7. Способ определения органических соединений по п. 6, отличающийся тем, что используют подложки из кварца, платины и палладия.
8. Способ определения органических соединений по п. 1, отличающийся тем, что время выдержки подложки в анализируемом воздухе помещения определяют временем проведения низкофоновых экспериментов.
| СПОСОБ ИССЛЕДОВАНИЯ ОРГАНИЧЕСКИХ ВЕЩЕСТВ, ПРЕИМУЩЕСТВЕННО ХАРАКТЕРИСТИК ОКИСЛИТЕЛЬНОЙ ТЕРМОДЕСТРУКЦИИ ОРГАНИЧЕСКИХ ПОЛИМЕРОВ | 2022 |
|
RU2794417C1 |
| Анализатор формальдегида в воздушной среде | 2022 |
|
RU2797650C1 |
| АППАРАТ ДЛЯ СОЕДИНЕНИЯ КОСТНЫХ ОТЛОМКОВ ЧЕЛЮСТИ П-ОБРАЗНЫМИ МЕТАЛЛИЧЕСКИМИ СКОБКАМИ | 0 |
|
SU200724A1 |
| Способ анализа следовых количеств органических соединений на поверхности твердых тел | 1980 |
|
SU966792A1 |
Авторы
Даты
2025-05-16—Публикация
2024-12-17—Подача