Область техники
Изобретение относится к системам защиты беспилотных летательных аппаратов коптерного типа от сверхширокополосных (СШП) электромагнитных излучений. В частности, к обнаружению, различных видов электромагнитных волн, способных вызвать сбой в работе или нанести необратимые последствия элементам радиоэлектронной системы летательного аппарата.
Уровень техники
Настоящее время знаменуется стремительным развитием беспилотных летательных аппаратов (БПЛА). Это обусловлено разнообразием областей их применения. Возможности современных БПЛА позволили расширить область их применения не только для гражданских целей, но и для военных. В связи с широким применением БПЛА в военной области, начались интенсивные научные исследования в данном направлении. Так, особенное развитие научной деятельности отмечено в задачах обеспечения электромагнитной совместимости (ЭМС) БПЛА (например, при использовании БПЛА в условиях сложной электромагнитной обстановки) и противодействия им [1-6]. Для противодействия БПЛА используют различные методы, включая средства огневого поражения (противовоздушной обороны), радиоэлектронного подавления критических систем БПЛА, а также функциональное поражение (ФП) электромагнитным излучением (ЭМИ). Последний способ является наиболее перспективным, поскольку позволяет миновать недостатки комплексов противодействия БПЛА, основанных на радиоэлектронном подавлении (используемых, например, для вскрытия и подавления каналов навигации, управления и радиосвязи БПЛА), связанные с отсутствием однозначной реакции БПЛА на успешное подавление. Функционируют средства ФП как правило с использованием различных источников мощного электромагнитного излучений.
Так, высокая мощность создаваемого ЭМИ и сложность обеспечения его «избирательности» в отношении поражаемых радиоэлектронных средств (РЭС) способны ухудшить электромагнитную обстановку внутри радиоэлектронного комплекса (РЭК) БПЛА [7].
Поэтому остро стоит вопрос повышения защищенности собственных БПЛА, попадающих в зону воздействия ЭМИ как своих средств противодействия, так и средств поражения противника.
Известна полезная модель обнаружителя-измерителя параметров сверхширокополосных сигналов [8]. Она относится к средствам радиоэлектронной разведки источников СШП сигналов, протекающей в условиях повышенной априорной неопределенности о значениях параметров принимаемых сигналов, и может быть использована в качестве помехозащищенного обнаружителя-измерителя параметров СШП сигналов.
В данной полезной модели спектр короткого СШП сигнала разбивается на участки, преобразовывается и подается на ряд дисперсионных линий задержек, с помощью которых длительность СШП сигнала расширяется, что, в конечном счете, и обеспечивает последующую его обработку обычным цифровым устройствами. При наличии на входе обнаружителя-измерителя других радиосигналов они будут дисперсионными линиями задержки не приниматься «во внимание» или, по крайней мере, значительно ослабляться. Степень просачивания других видов радиосигналов на выходы дисперсионных линий задержек требует отдельного рассмотрения, и соответственно для каждого вида помехового сигнала степень помехозащищенности будет различной. В частности, для непрерывных и некоторых видов импульсных радиосигналов защита может быть полной. Последнее можно обеспечить, воспользовавшись тем обстоятельством, что в предлагаемом устройстве при наличии на его входе СШП сигнала в каждом из каналов формируется импульсный частотно-модулированный сигнал постоянной длительности. Именно этот факт в предлагаемом устройстве используется в качестве основного для повышения его помехозащищенности. Недостатком данной полезной модели является сложность технического исполнения для применения на БПЛА коптерного типа.
Известен детектор излучения, в частности электромагнитного излучения большой мощности [9]. Он содержит секцию преобразования, включающую катод, для преобразования излучения, падающего на секцию преобразования, в электроны с помощью фотоэлектрического эффекта. Детектор дополнительно включает газовый электронный умножитель для создания электронной лавины из электронов, которые создаются в секции преобразования и входят в газовый электронный умножитель, при этом газовый электронный умножитель содержит первый электрод, диэлектрический слой и второй электрод, при этом первый электрод расположен на первой стороне диэлектрического слоя вблизи секции преобразования, и второй электрод расположен на второй стороне диэлектрического слоя, противоположной первой стороне. Газовый электронный умножитель содержит несколько отверстий, заполненных газом, при этом указанные отверстия проходят через первый электрод, диэлектрический слой и второй электрод. Кроме того, детектор включает детекторный анод вблизи второго электрода для обнаружения лавины электронов. Детекторный анод проходит у каждого отверстия газового электронного умножителя от второго электрода над отверстием так, что отверстие на одной стороне полностью закрыто детекторным анодом. Положение детекторного анода смещено вниз относительно плоскости второго электрода, причем одно или более отверстий проходят через детекторный анод. Технический результат - повышение точности измерения.
К недостаткам данного изобретения можно отнести стационарный способ применения. К детектируемому виду излучению относится рентгеновское излучение и гамма-излучение.
Наиболее близким по назначению и технической сущности к заявляемому изобретению относится устройство [10] для обнаружения сверхширокополосного сигналов, содержащее схему приема сигнала, схему разделения для разделения принятого сигнала на несколько частотных диапазонов, схему обнаружения для определения амплитуды и продолжительности принимаемого сигнала в каждом частотном поддиапазоне, схему сравнения для сравнения амплитуды принимаемого сигнала в каждой частотном поддиапазоне с пороговым значением амплитуды. В данном устройстве использован метод сверхширокополосного обнаружения сигнала, предусматривающий: получение сигнала, разделение его на несколько частотных поддиапазонов, определение амплитуды и продолжительности принимаемого сигнала в каждом частотном поддиапазоне, сравнение амплитуды принимаемого сигнала в каждом частотном поддиапазоне с пороговым значением амплитуды, сравнение продолжительности принимаемого сигнала в каждом частотном поддиапазоне с пороговым значением времени и обработкой оператором полученных данных с применением компьютерной программы.
Недостатком известного изобретения [10] является статичная возможность мониторинга электромагнитной обстановки, ограниченность в применении возможных способов защиты объекта, подвергающегося воздействию сверхширокополосного импульсного электромагнитного излучения.
Задачей изобретения является определение способа защиты БПЛА от узконаправленного сверхширокополосного импульсного электромагнитного излучения и устройство для его реализации.
В качестве объекта защиты в рассматриваемом изобретении выбраны БПЛА коптерного типа, обладающие исключительной маневренностью в ограниченных условиях.
Техническим результатом, возникающим за счет решения этой задачи, является повышение защищенности собственных БПЛА, попадающих в зону воздействия ЭМИ.
Раскрытие сущности изобретения
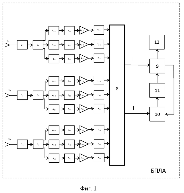
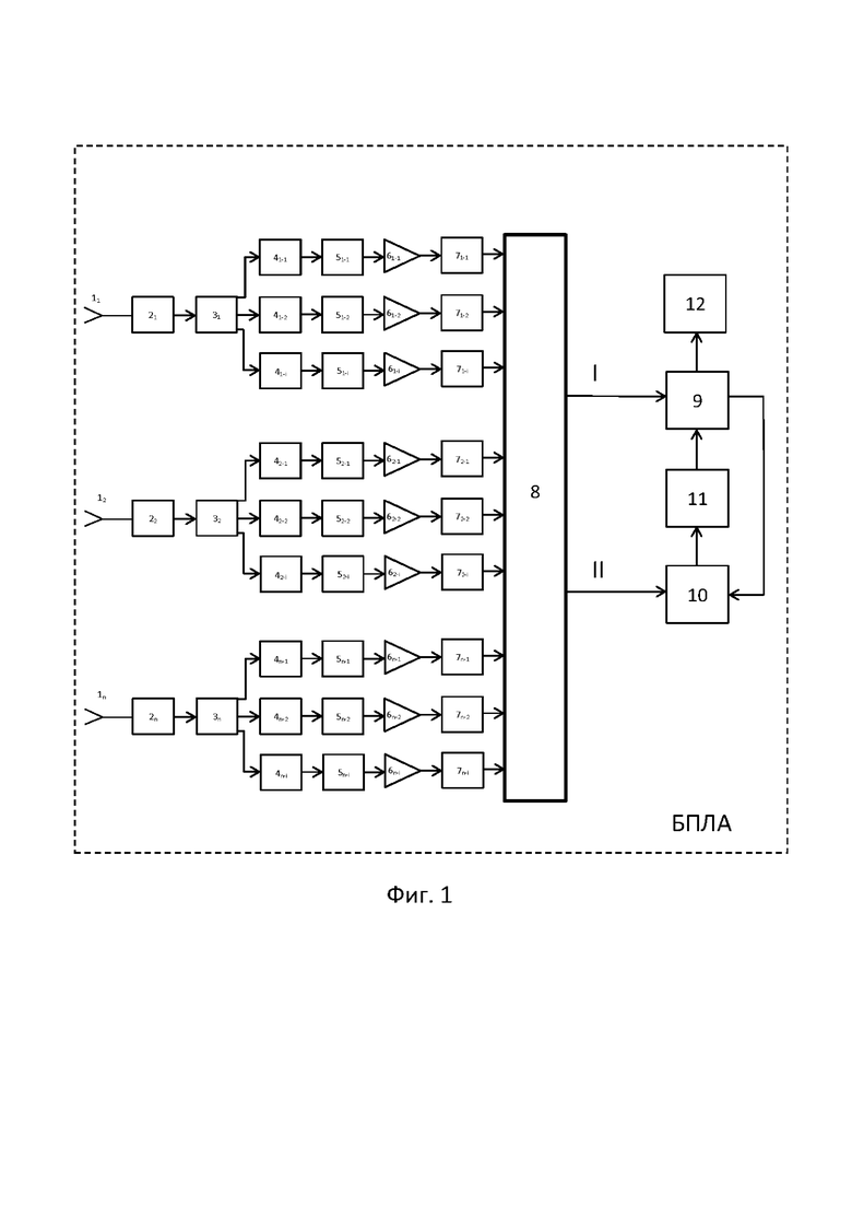
Прием сигнала ведется с нескольких дополнительных направлений антеннами, разнесенными по углу в горизонтальной плоскости. Принятый сигнал в виде сверхширокополосного импульсного напряжения последовательно ограничивают по амплитуде, уменьшают в делителе напряжения, после чего подают на входы нескольких частотно разнесенных каналов усиления и обработки, в каждом из которых производят соответствующее выбранному диапазону частот ослабление сигнала, его частотную селекцию в выбранных смежных частотных диапазонах, усиление и аналого-цифровое преобразование, по результатам которого определяют частоту и амплитуду принятого антенной сверхширокополосного импульсного электромагнитного излучения, после чего указанные величины направляют в вычислитель. Вычислитель определяет наличие критического сочетания «частота-амплитуда» с учетом получаемых по каналам приема и обработки сигналов, сопоставляя с обновляемой базой данных по критическим значениям, запрограммированной в вычислителе. При достижении этого значения вычислитель формирует команду на зависание и разворот на угол 360 градусов в горизонтальной плоскости. В процессе разворота сигналы с выходов вычислителя поступают на блок формирования электромагнитной обстановки, в котором обрабатываются сигналы со всех каналов приема при повороте БПЛА. Возможность такого формирования обеспечивается за счет подачи в этот блок информации о текущем угле поворота БПЛА. Таким образом строится круговая диаграмма электромагнитной обстановки вокруг БПЛА. При этом учитываются и усредняются сигналы со всех антенн, что позволяет сгладить влияние формы их диаграмм направленности. Исходя из вида диаграммы и координат точки назначения блок искусственного интеллекта прокладывает маршрут, избегая движения в направлении опасного излучения. Указанный маршрут вводится в бортовую систему управления, которая управляет работой приводов винтомоторной группы. Если на основе информации об остаточном полетном ресурсе, получаемой с бортовой системы управления, блок искусственного интеллекта делает вывод о невозможности реализации оптимального маршрута к цели, то он определят маршрут движения к точке взлета и вводит соответствующее полетное задание в бортовую систему управления.
Устройство защиты БПЛА коптерного типа от узконаправленного сверхширокополосного импульсного электромагнитного излучения, представляет собой установленные на борту БПЛА разнесенные по углу в горизонтальной плоскости антенны, последовательно соединенные через соответствующие ограничители с соответствующими делителями напряжения, при этом выходы каждого делителя напряжения через соответствующие последовательно соединенные аттенюаторы, полосовые фильтры, логарифмические усилители и аналого-цифровые преобразователи соединены с соответствующими входами вычислителя, первый выход которого соединен с бортовой системой управления, а второй выход - через блок формирования электромагнитной обстановки с блоком искусственного интеллекта, выход которого соединен с бортовой системой управления, при этом выходы бортовой системы управления соединены с блоком формирования электромагнитной обстановки и приводами винтомоторной группы.
Сущность изобретения поясняется чертежами, представленными на фиг. 1.
На фиг. 1 представлена функциональная схема устройства защиты БПЛА коптерного типа от узконаправленного сверхширокополосного импульсного ЭМИ.
На фиг. 1 позициями обозначены:
1 - приемные антенны;
2 - ограничители;
3 - делители напряжения;
4 - аттенюаторы;
5 - полосовые фильтры;
6 - логарифмические усилители;
7 - аналого-цифровые преобразователи;
8 - вычислитель;
9 - бортовая система управления;
10 - блок формирования электромагнитной обстановки;
11 - блок искусственного интеллекта;
12 - привода винтомоторной группы.
При реализации цели изобретения заявляемое устройство защиты БПЛА коптерного типа от узконаправленного сверхширокополосного импульсного электромагнитного излучения содержит установленные на борту БПЛА расположенные по кругу в горизонтальной плоскости приемные антенны 1, каждая из которых через соответствующий ограничитель 2 соединена с делителями напряжения 3. Выходы каждого делителя 3 через соответствующие последовательно соединенные аттенюаторы 4, полосовые фильтры 5, логарифмические усилители 6 и аналого-цифровые преобразователи 7 соединены с соответствующими входами вычислителя 8. Первый выход вычислителя 8 соединен с бортовой системой управления 9, а второй выход вычислителя 8 - через блок формирования электромагнитной обстановки 10 с блоком искусственного интеллекта 11, выход которого соединен с бортовой системой управления 9. При этом соответствующие выходы бортовой системы управления 9 соединены с приводами винтомоторной группы 12 и блоком формирования электромагнитной обстановки 10.
Промышленная применимость
Предполагаемый способ защиты БПЛА коптерного типа от узконаправленного сверхширокополосного импульсного электромагнитного излучения и устройство для его реализации может быть осуществлен специалистами на практике, что позволяет сделать вывод о соответствии критерию «промышленная применимость».
Источники информации
1. Нуриев М.Г. Физическое моделирование помехоустойчивости электронных средств беспилотного летательного аппарата // Труды МАИ. 2018. №102. С. 1-15.
2. Гизатуллин P.M., Дроздиков В.А., Константинов Э.С.Моделирование функционирования элементов электронных систем БПЛА при воздействии излучаемых электромагнитных помех высоковольтной линии электропередачи // Вестник Казанского государственного энергетического университета. 2019. Т. 11, №4(44). С. 13-21.
3. Гизатуллин З.М., Гизатуллин P.M., Нуриев М.Г. Математические модели для физического моделирования задач электромагнитной совместимости // Известия высших учебных заведений. Проблемы энергетики. 2015. №(1-2). С. 115-122.
4. Holland M. A. Counter-Drone Systems // Center for the Study of the Drone at Bard College. Feburary 2018, 23 P.
5. Countering rogue drones // FICCI Committee on Drones, EY, 2018, 31 p. URL: https://www.varindia.com/pdf/Countering-rouge-drones.pdf (дата обращения: 25.04.2023)
6. Sheu B.H., Chiu C.C., Lu W. Т., Huang C.-L, Chen W.-P. Development of UAV Tracing and Coordinate Detection Method Using a Dual-Axis Rotary Platform for an Anti-UAV System // Applied Sciences. 2019. Vol.9. №13. P. 1-17.
7. Белоусов, A.O. Подходы к обеспечению электромагнитной совместимости радиоэлектронных средств в составе комплекса функционального поражения беспилотных летательных аппаратов мощным электромагнитным излучением / А.О. Белоусов // Системы управления, связи и безопасности. - 2023. - №3. - С. 134-196. -DOI 10.24412/2410-9916-2023-3-134-196. - EDNNUAANF.
8. Патент на полезную модель №128806 U1 Российская Федерация, МПК Н04В 1/69. Обнаружитель-измеритель параметров сверхширокополосных сигналов: №2012137483/07: заявл. 31.08.2012: опубл. 27.05.2013 / В.В. Роздобудько, С.В. Иванов; заявитель Федеральное государственное автономное образовательное учреждение высшего профессионального образования "ЮЖНЫЙ ФЕДЕРАЛБНБ1Й УНИВЕРСИТЕТ". - EDN VAIGGJ.
9. Патент №2603129 С2 Российская Федерация, МПК H01J 47/02. Детектор излучения, в частности электромагнитного излучения большой мощности: №2014152033/07: заявл. 08.06.2012: опубл. 20.11.2016 / И.М. Астафьева, О. Хайд, Т. Хьюз. - EDN YOMSNU.
10. ЕР 3157181 B1, EUROPEAN PATENT SPECIFICATION, DETECTION DE SIGNAL ULTRA LARGE BAN DE/ULTRA WIDEBAND SIGNALERKENNUNG: Date de depot: 13.10.2016: 27.12.2017 Bulletin 2017/52: Inventeur: RIBIERE-THARAUD, Nicolas 46110 Cavagnac (FR).
| название | год | авторы | номер документа |
|---|---|---|---|
| СПОСОБ ОБНАРУЖЕНИЯ СКРЫТЫХ НЕЛИНЕЙНЫХ РАДИОЭЛЕКТРОННЫХ ЭЛЕМЕНТОВ | 2012 |
|
RU2516436C2 |
| Способ обнаружения несанкционированно установленных электронных устройств, использующих для передачи информации широкополосные сигналы | 2017 |
|
RU2652456C1 |
| СПОСОБ СТАБИЛИЗАЦИИ ВРЕМЕННОГО ПОЛОЖЕНИЯ СВЕРХШИРОКОПОЛОСНОГО СИГНАЛА И ЛОКАТОР ДЛЯ МОНИТОРИНГА ЖИВЫХ ОБЪЕКТОВ, РЕАЛИЗУЮЩИЙ ЭТОТ СПОСОБ | 2004 |
|
RU2258942C1 |
| СПОСОБ СВЕРХВЫСОКОЧАСТОТНЫХ АНТЕННЫХ ИЗМЕРЕНИЙ | 2005 |
|
RU2284535C2 |
| Способ управления полётом беспилотного летательного аппарата | 2022 |
|
RU2816327C1 |
| СИСТЕМА РАДИОСВЯЗИ С БЕСПИЛОТНЫМИ ЛЕТАТЕЛЬНЫМИ АППАРАТАМИ | 2024 |
|
RU2839424C1 |
| СПОСОБ ИЗМЕРЕНИЯ ЛОКАЛЬНЫХ ЭНЕРГЕТИЧЕСКИХ ЧАСТОТНЫХ СПЕКТРОВ И КОЭФФИЦИЕНТА ОТРАЖЕНИЯ РАДИОПОГЛОЩАЮЩЕГО МАТЕРИАЛА | 2006 |
|
RU2321007C1 |
| СВЕРХШИРОКОПОЛОСНЫЙ РАДИОЛОКАТОР С АКТИВНОЙ МНОГОЧАСТОТНОЙ АНТЕННОЙ РЕШЕТКОЙ | 2016 |
|
RU2615996C1 |
| Ключевой радиопередатчик короткоимпульсных сверхширокополосных сигналов | 2020 |
|
RU2734939C1 |
| СПОСОБ ОБНАРУЖЕНИЯ НАРУШИТЕЛЯ С ИСПОЛЬЗОВАНИЕМ СВЕРХШИРОКОПОЛОСНОГО СИГНАЛА (ВАРИАНТЫ) | 2015 |
|
RU2595979C1 |
Изобретение относится к средствам защиты беспилотных летательных аппаратов. Техническим результатом является повышение защищенности БПЛА, попадающих в зону воздействия электромагнитного излучения. Для этого предложен способ защиты БПЛА от узконаправленного сверхширокополосного импульсного электромагнитного излучения, в котором принятый сигнал последовательно ограничивают по амплитуде, уменьшают в делителе напряжения, после чего подают на входы нескольких частотно разнесенных каналов усиления и обработки, в каждом из которых производят ослабление сигнала, его частотную селекцию, усиление и аналого-цифровое преобразование, по результатам которого определяют частоту и амплитуду принятого электромагнитного излучения, после чего указанные величины направляют в вычислитель. Вычислитель формирует команду на зависание и разворот на угол 360 градусов в горизонтальной плоскости. В процессе разворота сигналы с выходов вычислителя поступают на блок формирования электромагнитной обстановки, в котором обрабатываются сигналы со всех каналов приема при повороте БПЛА. 1 ил.
Способ защиты БПЛА коптерного типа от узконаправленного сверхширокополосного импульсного электромагнитного излучения, состоящий в том, что принятый антенной бортового радиоэлектронного комплекса (РЭК) БПЛА сигнал в виде сверхширокополосного импульсного напряжения последовательно ограничивают по амплитуде, уменьшают в делителе напряжения, после чего подают на входы нескольких частотно разнесенных каналов усиления и обработки, в каждом из которых производят соответствующее выбранному диапазону частот ослабление сигнала, его частотную селекцию в выбранных смежных частотных диапазонах, усиление и аналого-цифровое преобразование, по результатам которого определяют частоту и амплитуду принятого антенной сверхширокополосного импульсного электромагнитного излучения, после чего указанные величины направляют в вычислитель, отличающийся тем, что прием сигнала ведут с нескольких дополнительных направлений антеннами, разнесенными по углу в горизонтальной плоскости, сигналы с выходов указанных антенн последовательно ограничивают по амплитуде, уменьшают в соответствующих делителях напряжения, после чего подают на входы аналогичных указанным выше соответствующих частотно разнесенных каналов усиления и обработки, в каждом из которых производят соответствующее выбранному диапазону частот ослабление сигнала, его частотную селекцию в одном из выбранных смежных частотных диапазонах, усиление и аналого-цифровое преобразование, по результатам которого определяют частоту и амплитуду принятого каждой антенной сверхширокополосного импульсного электромагнитного излучения, после чего указанные величины направляют в вычислитель, причем при обнаружении вычислителем хотя бы одного опасного для РЭК сочетания значения амплитуды и частоты сверхширокополосного импульсного электромагнитного излучения на бортовую систему управления полетом БПЛА последовательно подают команды на прекращение движения и на зависание БПЛА, последующий поиск менее опасного направления движения путем вращения корпуса БПЛА с установленными на нем антеннами вокруг вертикальной оси БПЛА, после чего с учетом направления на источник сверхширокополосного импульсного электромагнитного излучения и определенного наименее опасного направления переформатируют полетное задание для последующего облета района с опасным сочетанием частоты и длительности сверхширокополосного импульсного электромагнитного излучения и достижения назначенной конечной точки полета, рассчитывают поправки траектории движения в конечную точку полета, выполняют анализ возможности достижения конечной точки полета с учетом указанных поправок, причем в случае невозможности по результатам указанного анализа достигнуть конечной точки полета формируют полетное задание для возвращения БПЛА в точку взлета.
| EP 3157181 B1, 27.12.2017 | |||
| Способ регулирования варки утфелей в сахарном производстве | 1959 |
|
SU128806A1 |
| Пространственно-распределенная система радиопомех на беспилотных летательных аппаратах | 2023 |
|
RU2807312C1 |
| Способ, система и устройство криптографической защиты каналов связи беспилотных авиационных комплексов | 2018 |
|
RU2704268C1 |
Авторы
Даты
2025-05-19—Публикация
2024-12-12—Подача