Изобретение относится к средствам механизации погрузочных, транспортных и разгрузочных работ и может быть использовано, например, как в угольной промышленности в подземных условиях для перемещения груза по горным выработкам, так и на поверхности при подъеме и перемещении грузов.
Известен способ строповки крупногабаритного груза (патент РФ №2193005, МПК 7 В66С 1/10, опубл. 20.11.2002), при котором определяют центр массы груза, после чего определяют расстояние от центра масс до каждого из мест застроповки груза, в соответствии с измеренным расстоянием подбирают длину каждой стропы и подсоединяют стропы в зависимости от их длины к местам застроповки груза.
Недостатком известного способа является невозможность его использования в стесненных условиях горной выработки.
Известен, также одноветвевой способ строповки груза в горной выработке (Оберман Я.И. Стропальное дело. Учебное пособие для ПТУ. - М.: Металлургия, 1985, с. 193-194), оборудованной монорельсом и гидроподъемниками с рабочими траверсами, включающий перемещение груза за счет передвижения подъемно-транспортного устройства по монорельсу, используемый в настоящее время на шахтах Кузбасса, при котором осуществляют подъем одной единицы груза с помощью двух гидроподъемников, причем сначала опускают рабочую траверсу одного гидроподъемника, затем рабочую траверсу второго гидроподъемника, фиксируют на них груз и поднимают его, подтягивая груз к гидроподъемникам, при этом сначала поднимают одну сторону груза, потом вторую.
Недостатками известного способа являются: неэффективный способ строповки груза, а именно: использование одноветвевого способа строповки груза, неправильно выбранное место застроповки груза, т.к. не учитывается местоположение центра тяжести груза, следствием чего является неравномерная нагрузка на ветви строп, аварийные ситуации, связанные с перегрузкой ветвей строп, грузоподъемных средств, потерей устойчивости и опрокидыванием поднимаемого груза, низкая эффективность операций по перемещению грузов, малое количество перевозимого груза, значительный износ оборудования из-за частых его поломок, а следовательно, высокие затраты на перемещение грузов, низкая безопасность труда из-за частых поломок оборудования.
Известен способ строповки грузов в горной выработке (Патент 2333880 РФ, МПК В66С 1/12 (2006.01). Способ строповки грузов в горной выработке / Тарасов В.М. - №2007130250/11; заявл. 07.08.2007; опубл. 20.09.2008, Бюл. №26. - 10 с.), при котором способ строповки грузов в горной выработке, оборудованной монорельсом и гидроподъемниками с рабочими траверсами, включающий перемещение груза за счет передвижения подъемно-транспортного устройства по монорельсу, где на каждый гидроподъемник по его консолям фиксируют на цепях две вспомогательные траверсы, которые располагают одну слева, другую справа от рабочей траверсы, определяют центр тяжести груза, затем устанавливают гидроподъемник относительно груза так, чтобы рабочая траверса была расположена над центром тяжести груза по вертикальной оси, на концах рабочей траверсы и на грузе в местах застроповки фиксируют по одному уравнительному блочку, в которые вкладывают стропы, одни концы стропов фиксируют на одной вспомогательной траверсе, опускают рабочую траверсу вниз до тех пор, пока уравнительные блочки на рабочей траверсе и в местах застроповки груза не встанут в одну линию, выбирают вручную слабину стропов, для чего натягивают стропы, и фиксируют два других конца стропов на второй вспомогательной траверсе, на концах каждой вспомогательной траверсы фиксируют отрезок цепи, длина которого зависит от высоты выработки, один конец отрезка цепи фиксируют на вспомогательной траверсе, а другой конец свободно свисает, потом поднимают рабочую траверсу, осуществляют подъем груза и перемещают его дальше по выработкам, опускают груз в обратной последовательности.
Недостатком известного способа является: слабину строп при подъеме груза приходится выбирать вручную и фиксировать на вспомогательных траверсах в зависимости от высоты горной выработки, потеря рабочего времени при перехвате груза для увеличения или сокращения рабочей стропы и фиксации его на цепях.
Задачи изобретения: повышение эффективности операций по подъему и перемещению грузов за счет включения механизмом гидравлических лебедок на вспомогательных траверсах по сокращению или увеличению рабочей стропы с использованием многоветвевого способа строповки, сокращение рабочего времени на операции работ по подъему и опусканию груза, увеличение количества перевозимого груза, снижение износа оборудования, повышение безопасности труда.
Указанные задачи достигаются тем, что в способе строповки грузов в горной выработке, оборудованной монорельсом и гидроподъемниками с рабочими траверсами, включающем перемещение груза за счет передвижения подъемно-транспортного устройства по монорельсу, согласно изобретению на каждый гидроподъемник по его консолям фиксируют на цепях две вспомогательные траверсы с двухсторонним механизмом гидравлических лебедок по с сокращению или увеличению длины рабочих строп, которые располагают одну слева, другую справа от рабочей траверсы, определяют центр тяжести груза, затем устанавливают гидроподъемник относительно груза так, чтобы рабочая траверса была расположена над центром тяжести груза по вертикальной оси, на концах рабочей траверсы и на грузе в местах застроповки фиксируют по одному уравнительному блочку, в которые вкладывают стропы, концы рабочих строп зафиксированы за барабан механизмов сокращения или увеличения длины и навиты с большим запасом на него на вспомогательных траверсах, опускают рабочую траверсу вниз до тех пор, пока уравнительные блочки на рабочей траверсе и в местах застроповки груза не встанут в одну линию, выбирают слабину рабочих строп с помощью двухсторонних механизмов гидравлических лебедок двух вспомогательных траверс в четырех точках, затем поднимают рабочую траверсу, осуществляют одномоментный подъем груза и перемещают его дальше по выработкам, опускают груз в обратной последовательности.
Заявляемое изобретение поясняется чертежами, где на фиг.1 показана вспомогательная траверса с двухсторонними механизмами гидравлических лебедок сокращения или увеличения длины рабочих строп, где 2 - консоль гидроподъемника, 4 - вспомогательная траверса с двухсторонними механизмами гидравлических лебедок, 6 - канаты, 9 - гидравлический двигатель, 10 - барабан, 11 - рама, 12 - механизм гидравлической лебедки, 13 - гидравлические рукава управления подачи рабочей жидкости под давлением;
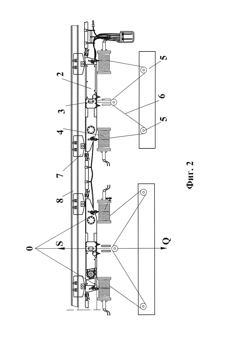
на фиг. 2 - способ осуществления подъема, навивки каната на барабаны двухсторонними механизмами гидравлических лебедок сокращения или увеличения длины рабочих строп каната, где 1 - груз, 2 - гидроподъемники, 3 - рабочие траверсы, 4 - вспомогательные траверсы с двухсторонними механизмами гидравлических лебедок, 5 - уравнительные блочки, 6 - канаты, 7 - монорельсовые каретки, 8 - монорельсовая балка (дорога);
на фиг. 3 - способ осуществления подъема, навивки цепи на барабаны двухсторонними механизмами гидравлических лебедок сокращения или увеличения длины рабочих строп цепи, где 1 - груз, 2 - гидроподъемники, 3 - рабочие траверсы, 4 - вспомогательные траверсы с двухсторонними механизмами гидравлических лебедок, 5 - уравнительные блочки, 6 - цепи, 7 - монорельсовые каретки, 8 - монорельсовая балка (дорога);
фиг. 4 - известный способ строповки грузов в горных выработках, где 1 - груз, 2 - гидроподъемники, 3 - рабочие траверсы, 4 - вспомогательные траверсы, 5 - уравнительные блочки, 6 - канат или цепи, 7 - монорельсовые каретки, 8 - монорельсовая балка (дорога).
Способ осуществляют следующим образом.
Груз 1, поступивший с поверхности в шахту на приемную площадку, поднимают с этой площадки на гидроподъемниках 2 и перемещают по выработкам. Для подъема двух единиц груза 1 используют установленные на монорельсе (монорельсовой балке) два гидроподъемника 2, каждый из которых имеет рабочую траверсу 3. Использование одновременно двух гидроподъемников позволяет увеличить количество перевозимого груза. На консолях каждого гидроподъемника 2, фиксируют на цепях две вспомогательные траверсы с двухсторонними механизмами гидравлических лебедок 4, расположенные слева и справа от рабочей траверсы 3. Определяют центр тяжести груза Q по известной методике (Оберман Я.И. Стропальное дело. Учебное пособие для ПТУ. - М.: Металлургия, 1985, с. 31-35). После определения центра тяжести груза устанавливают каждый гидроподъемник 2 относительно своей одной единицы груза 1 так, чтобы рабочая траверса 3 была расположена над центром тяжести груза 1 на вертикальной оси. На концах рабочей траверсы 3 фиксируют по одному уравнительному блочку 5. На грузе 1 в местах застроповки также фиксируют уравнительные блочки 5. Для строповки на каждую единицу груза Г используют две стропы 6 навитые на барабаны двухсторонних механизмов гидравлических лебедок вспомогательных траверс 4, для чего вкладывают стропы 6 в уравнительные блочки 5, вставляют палец (не показан), палец фиксируют зажимом (не показан). Опускают рабочую траверсу 3 вниз до тех пор, пока уравнительные блочки 5 на рабочей траверсе 3 не встанут в одну линию с уравнительными блочками 5 в местах застроповки груза 1. Затем обе стропы 6 с двух сторон груза 1 натягивают, выбирая слабину с помощью двухстороннего механизма гидравлических лебедок вспомогательной траверсы 4. Гидравлические лебедки имеют свои гидравлические тормоза, которые не дают разматываться канату 6 или цепи.
Теперь осуществляют подъем груза 1, для чего поднимают рабочую траверсу 3, стропы 6 натягиваются и груз 1 отрывается от почвы. Если хода рабочей траверсы 3 не хватает, чтоб поднять груз 1 на определенную высоту, включается механизм намотки 12, и тем самым сокращает длину рабочей стропы 6 в четырех точках вспомогательных траверс с двухстороннем механизмом гидравлических лебедок и осуществляет подъем груза 1 до нужной высоты.
Опускают груз в обратной последовательности, сматывая с барабанов 10 рабочую стропу 6, тем самым увеличивая длину стропы, до тех пор, пока груз 1 не коснется почвы.
Схема строповки груза по известному способу (Патент 2333880 РФ, МПК В66С 1/12 (2006.01). Способ строповки грузов в горной выработке / Тарасов В. М. - №2007130250/11; заявл. 07.08.2007; опубл. 20.09.2008, Бюл. №26. - 10 с.) показана на фиг. 4. В известном способе один гидроподъемник поднимает одну единицу груза. Места застроповки груза располагают симметрично центру тяжести груза таким образом, чтобы отвесная прямая, проходящая через центр тяжести, размещалась между местами застроповки. Чем больше расстояние между местами застроповки, тем устойчивее положение груза (Оберман Я. И. Стропальное дело. Учебное пособие для ПТУ. - М.: Металлургия, 1985, с. 35). Оптимальные углы между ветвями строп находятся в пределах 60-90° (там же, стр. 137). Эта схема позволяет равномерно распределить нагрузку на все ветви строп. Пары сил, произвольно расположенные в пространстве, взаимно уравновешиваются в том случае, если геометрическая сумма их моментов равна нулю, то есть многоугольник, построенный на моментах данных пар сил, замкнут и груз считается поднятым и зафиксированным в пространстве (Хямяляйнен В.А. Теоретическая механика: Учеб. пособие / В.А. Хямяляйнен, Р.Ф. Гордиенко, Н.А. Ведяшкина; Куз. Гос.Техн. Ун-т. Кемерово, 2001, стр. 25).
Подъемная сила прикладывается равномерно относительно центра тяжести груза и обеспечивает равномерное натяжение всех ветвей строп. В момент отрыва груза от почвы начинает работу система сходящихся сил (Хямяляйнен В.А. Теоретическая механика: Учеб. пособие / В.А. Хямяляйнен, Р.Ф. Гордиенко, Н.А. Ведяшкина; Куз. Гос. Техн. Ун-т. Кемерово, 2001, с. 30-32). Системой сходящихся сил называется система сил, линии действия которых пересекаются в одной точке. В заявляемом способе силы сходятся в одной точке О, которая находится в кровле выработки. Эта точка О расположена на оси центра тяжести груза Q и силы S рабочей траверсы 3.
Таким образом, заявляемая вспомогательная траверса с двухсторонним механизмом гидравлических лебедок с сокращением или увеличением длины рабочих строп позволяет:
- устранить ручной труд по сокращению, натяжению, увеличению длины рабочих строп и уйти от перехвата груза при недостаточном подъеме рабочей траверсы, или опускания на почву при изменении высоты выработки, что происходит при известном способе, так как одновременно используют четыре механизма гидравлических лебедок с увеличением длины рабочих строп вспомогательных траверс гидроподъемника;
- увеличить количество перевозимого груза;
- увеличить объем перемещаемого груза за счет устранения ручного труда по сокращению, натяжению или увеличению рабочих строп и уйти от перехвата двух вспомогательных траверс с двухсторонним механизмом гидравлических лебедок с сокращением или увеличением длины рабочих строп.
Использование вспомогательных траверс с двухсторонним механизмом гидравлических лебедок с сокращением или увеличением длины рабочих строп и многоветвевого способа строповки и застроповка груза с учетом местоположения центра тяжести груза позволяет равномерно распределить нагрузку на ветви строп, исключить ручной труд в рабочих операциях по удлинению или сокращению рабочих строп, исключить аварийные ситуации, связанные с перегрузкой ветвей строп, грузоподъемных средств, потерей устойчивости и опрокидыванием поднимаемого груза, повысить эффективность операций по перемещению грузов, перемещать значительно большее количество грузов, значительно снизить износ оборудования, связанный с частыми поломками, а, следовательно, снизить затраты на перемещение грузов, повысить производительность и безопасность труда.
| название | год | авторы | номер документа |
|---|---|---|---|
| СПОСОБ СТРОПОВКИ ГРУЗОВ В ГОРНОЙ ВЫРАБОТКЕ | 2007 |
|
RU2333880C1 |
| МОНТАЖНО-ДЕМОНТАЖНЫЙ СПОСОБ СТРОПОВКИ И ТРАНСПОРТИРОВКИ ЛАВНОГО КОНВЕЙЕРА В ГОРНОЙ ВЫРАБОТКЕ | 2011 |
|
RU2480396C1 |
| ЗАХВАТ ЦЕПИ И КОНЦА ЦЕПИ, ПРОПУЩЕННОЙ ЧЕРЕЗ МЕСТО ЗАСТРОПОВКИ | 2010 |
|
RU2436724C1 |
| ЗАХВАТ ЦЕПИ НА ВСПОМОГАТЕЛЬНОЙ И РАБОЧЕЙ ТРАВЕРСАХ ПРИ СТРОПОВКЕ ГРУЗА | 2010 |
|
RU2435728C1 |
| МОНОРЕЛЬСОВАЯ КРАН-БАЛКА | 1990 |
|
RU2006446C1 |
| ШАХТНЫЙ ТЕЛЬФЕР | 1995 |
|
RU2076211C1 |
| ТРАНСПОРТНО-ЭНЕРГЕТИЧЕСКАЯ СИСТЕМА | 2019 |
|
RU2751126C2 |
| Тяговое устройство для наклонных подвесных монорельсовых дорог | 1981 |
|
SU954287A1 |
| Подвесное устройство для буровойМАшиНы | 1979 |
|
SU817243A1 |
| СПОСОБ МОНТАЖА МЕХАНИЗИРОВАННОЙ КРЕПИ ОЧИСТНЫХ КОМПЛЕКСОВ (ВАРИАНТЫ) И ПОГРУЗОЧНО-РАЗГРУЗОЧНОЕ УСТРОЙСТВО ДЛЯ ЕГО ОСУЩЕСТВЛЕНИЯ | 2001 |
|
RU2186218C1 |
Изобретение относится к средствам механизации погрузочных, транспортных и разгрузочных работ и может быть использовано в угольной промышленности в подземных условиях для операций работ по подъему/опусканию и перемещению груза по горным выработкам. При строповке грузов в горной выработке, оборудованной монорельсом и гидравлическими подъемниками с рабочими траверсами, включают перемещение груза за счет передвижения подъемно-транспортного устройства по монорельсу. На гидроподъемники по консолям фиксируют на цепях две вспомогательные траверсы с двухсторонним механизмом сокращения или увеличения длины рабочих строп, расположенные слева и справа от рабочей траверсы, определяют центр тяжести груза, устанавливают гидроподъемник так, чтобы рабочая траверса была расположена над центром тяжести груза по вертикальной оси, стропы, вложенные в уравнительные блочки, концы рабочих строп зафиксированы за барабан механизмов сокращения или увеличения длины и навиты с большим запасом на него на вспомогательной траверсе. Рабочую траверсу опускают до тех пор, пока блочки на рабочей траверсе и в местах застроповки груза не встанут в одну линию. Стропы натягивают в четырех точках механизмами сокращением длины рабочих строп на двух вспомогательных траверсах с двухсторонним механизмом сокращения или увеличения длины рабочих строп. Затем осуществляют одномоментный подъем и перемещение груза по выработкам. Таким образом достигается повышение эффективности операций по перемещению грузов, производительности труда, исключение ручные операции по натяжению, сокращение или удлинение рабочих строп, снижение износа оборудования, повышение безопасности труда, снижение производственные риски травмирования. 4 ил.
Способ строповки грузов в горной выработке с помощью вспомогательной траверсы, включающий перемещение груза за счет передвижения подъемно-транспортного устройства по монорельсу, отличающийся тем, что на каждый гидроподъемник по его консолям фиксируют на цепях две вспомогательные траверсы с двухсторонними механизмами гидравлических лебедок сокращения или увеличения длины рабочих строп, которые располагают одну слева, другую справа от рабочей траверсы, определяют центр тяжести груза, затем устанавливают гидроподъемник относительно груза так, чтобы рабочая траверса была расположена над центром тяжести груза по вертикальной оси, на концах рабочей траверсы и на грузе в местах застроповки фиксируют по одному уравнительному блочку, в которые вкладывают стропы, концы строп фиксируются на четырех барабанах механизмов гидравлических лебедок вспомогательных траверс, опускают рабочую траверсу вниз до тех пор, пока уравнительные блочки на рабочей траверсе и в местах застроповки груза не встанут в одну линию, выбирают слабину строп с помощью двухсторонних механизмов гидравлических лебедок двух вспомогательных траверс в четырех точках, затем поднимают рабочую траверсу, осуществляют одномоментный подъем груза и перемещают его дальше по выработкам, опускают груз в обратной последовательности.
| KR 101856988 B1, 11.05.2018 | |||
| МОНТАЖНО-ДЕМОНТАЖНЫЙ СПОСОБ СТРОПОВКИ И ТРАНСПОРТИРОВКИ ЛАВНОГО КОНВЕЙЕРА В ГОРНОЙ ВЫРАБОТКЕ | 2011 |
|
RU2480396C1 |
| СПОСОБ СТРОПОВКИ ГРУЗОВ В ГОРНОЙ ВЫРАБОТКЕ | 2007 |
|
RU2333880C1 |
| CN 0201424335 Y, 17.03.2010. | |||
Авторы
Даты
2025-05-26—Публикация
2024-03-06—Подача