СПОСОБ ПОЛУЧЕНИЯ ТОПЛИВА И УСТРОЙСТВО ДЛЯ ЕГО ОСУЩЕСТВЛЕНИЯ Российский патент 2013 года по МПК C10L1/00 C10L1/32 C12P1/00 C12M1/02 

Описание патента на изобретение RU2480513C2

Область техники, к которой относится изобретение

Настоящее изобретение относится к способу получения топлива и устройству для осуществления, которые, например, обеспечивают хорошую эффективность топлива и предотвращают резкое ухудшение состояния окружающей среды.

Уровень техники

Человечество использует различные виды энергии, такие как энергия ископаемого топлива, биоэнергия, солнечная энергия и тому подобное. Из этих видов энергии ископаемое топливо используется в течение многих лет во всем мире и, следовательно, обладает наибольшей ценностью.

В настоящее время, между тем, существует проблема ухудшения состояния (загрязнения) окружающей среды, обусловленного потреблением энергии. Известно, что ископаемое топливо включает серосодержащие компоненты, азотсодержащие компоненты и фенолсодержащие компоненты, которые генерируют опасный газ, приводящий к ухудшению состояния окружающей среды. Неотложная задача также заключается в том, чтобы предпринять меры по предотвращению глобального потепления, связанного с образованием CO2.

Эффективной мерой предотвращения или приостановки ухудшения состояния окружающей среды является уменьшение количества опасного газа, образующегося в результате использования ископаемого топлива, и повышение эффективности топлива.

В качестве технического средства для решения этой задачи было предложено использовать эмульгатор для приготовления топлива в виде эмульсии вода в масле (см. выложенную публикацию патента Японии №4-71118 [D1]). Эмульгатор используют для приготовления указанного топлива в виде эмульсии типа вода в масле, которая содержит тяжелое топливо А, тяжелое топливо В, тяжелое топливо С, метанол, декстрин и воду. Эмульгатор смешивают с нефтяным топливом и водой с образованием нефтяного эмульсионного топлива. В указанном документе отмечено, что в результате эффективность сжигания топлива может быть улучшена и образование вредных отходов, таких как окись азота, сажа или тому подобное, может быть предотвращено.

Кроме того, был предложен другой вид топлива в виде эмульсии типа вода в нефти, которая содержит тяжелое топливо А, тяжелое топливо В, тяжелое топливо С, метанол, этанол, пальмовое масло и воду (см. выложенную публикацию патента Японии №2009-91593 [D2]). Такое топливо в виде эмульсии типа вода в нефти, как отмечено в [D2], также повышает эффективность топлива и уменьшает образование опасных отходов.

Задачи, решаемые настоящим изобретением

Однако описанным выше известным способам присущ недостаток, который состоит в том, что топливо в виде эмульсии типа вода в нефти, полученное посредством указанных способов, теряет свою стабильность. Если пояснять более подробно, то топливо в виде эмульсии типа вода в нефти производят путем взбалтывания и смешивания, в связи с чем возникает проблема, которая заключается в том, что вода и нефть могут отделяться друг от друга, и в процессе транспортирования топлива по трубопроводной линии или тому подобного может происходить случайное возгорание топлива.

Сущность изобретения

Цель настоящего изобретения, созданного в связи с вышеуказанными проблемами, состоит в обеспечении способа получения топлива и устройства для его осуществления, с помощью которых может быть повышена эффективность топлива, которое является стабильным, и может быть легко подавлено образование опасных веществ. Кроме того, цель состоит в более полном удовлетворении пользователей и содействии предотвращению ухудшения состояния окружающей среды.

Средства решения задач

Настоящее изобретение направлено на обеспечение способа получения топлива, предназначенного для получения нефтяного топлива посредством смешения и осуществления химической реакции воды, содержащей фермент, с углеводородным нефтепродуктом, причем воду, содержащую фермент, получают путем перемешивания в воде природного фермента растительного происхождения, содержащего, по меньшей мере, липазу.

Благодаря этому вода после реакции также действует как топливо, и поэтому эффективность топлива может быть повышена.

В одном воплощении настоящего изобретения природный фермент растительного происхождения предпочтительно дополнительно содержит целлюлазу.

Вода, содержащая фермент, дополнительно может содержать перемешанный в ней метанол.

В одном воплощении настоящего изобретения для перемешивания и осуществления реакции воды, содержащей фермент, с углеводородным нефтепродуктом, вода, содержащая фермент, и указанный нефтепродукт могут быть пропущены при вихревом движении через конический смесительный аппарат, в котором установлено множество штырей.

Благодаря этому реакция воды, содержащей фермент, и нефтепродукта может быть стимулирована.

В одном воплощении настоящего изобретения из жидкого нефтяного топлива может быть удален остаток для получения очищенного нефтяного топлива. За счет этого могут быть удалены примеси с получением очищенного нефтяного топлива высокой чистоты.

Настоящее изобретение направлено также на создание устройства для получения жидкого нефтяного топлива, осуществляемого посредством проведения химической реакции воды, содержащей фермент, с углеводородным нефтепродуктом в емкости для проведения реакции разложения, причем вода, содержащая фермент, содержит смешанный с ней природный растительный фермент, содержащий, по меньшей мере, липазу, указанное устройство для получения топлива содержит смесительный аппарат, размещенный в емкости для проведения реакции разложения, причем указанный смесительный аппарат содержит множество штырей, установленных на внутренней поверхности, образующей конический профиль, впускное отверстие для воды, содержащей фермент, и углеводородного нефтепродукта, выполненное в боковой поверхности основания конического профиля, и выпускное отверстие для воды, содержащей фермент, и углеводородного нефтепродукта, выполненное в вершине или в центре основания конического профиля.

За счет такого выполнения может быть получено жидкое нефтяное топливо, характеризующееся высокой эффективностью, поскольку вода после химической реакции действует, как топливо.

В одном воплощении настоящего изобретения впускное отверстие смесительного аппарата может быть расположено эксцентрично, так что направление втекания воды, содержащей фермент, и углеводородного нефтепродукта эксцентрично относительно центра окружности конической формы.

За счет этого жидкости в смесительном аппарате может быть легко придано вращательное движение, и она может быть перемешана при вихревом движении.

В одном воплощении настоящего изобретения устройство для получения топлива может содержать секцию для удаления остатка из нефтяного топлива, полученного в емкости реакции разложения, с получением очищенного нефтяного топлива.

Благодаря такому выполнению могут быть удалены примеси с получением очищенного нефтяного топлива высокой чистоты.

В одном воплощении настоящее изобретение может также обеспечить нефтяное топливо, полученное посредством перемешивания и реагирования воды, содержащей фермент, с углеводородным нефтепродуктом, при этом воду, содержащую фермент, получают путем перемешивания в воде природного растительного фермента, содержащего, по меньшей мере, липазу.

Технический результат, достигаемый изобретением

Настоящее изобретение может обеспечить способ получения нефтяного топлива и устройство для его осуществления, с помощью которых может быть повышена эффективность топлива, и легко может быть подавлено образование опасных веществ, при этом полученное топливо является стабильным; кроме того, можно достигнуть более полного удовлетворения пользователей и способствовать предотвращению резкого ухудшения состояния окружающей среды.

Краткое описание чертежей

Фиг.1 - схематический вид устройства для получения воды, содержащей фермент.

Фиг.2 - схематический вид устройства для получения топлива.

Фиг.3 - схематический вид, иллюстрирующий конструкцию смесительной емкости.

Фиг.4 - иллюстрация конструкции смесительного аппарата.

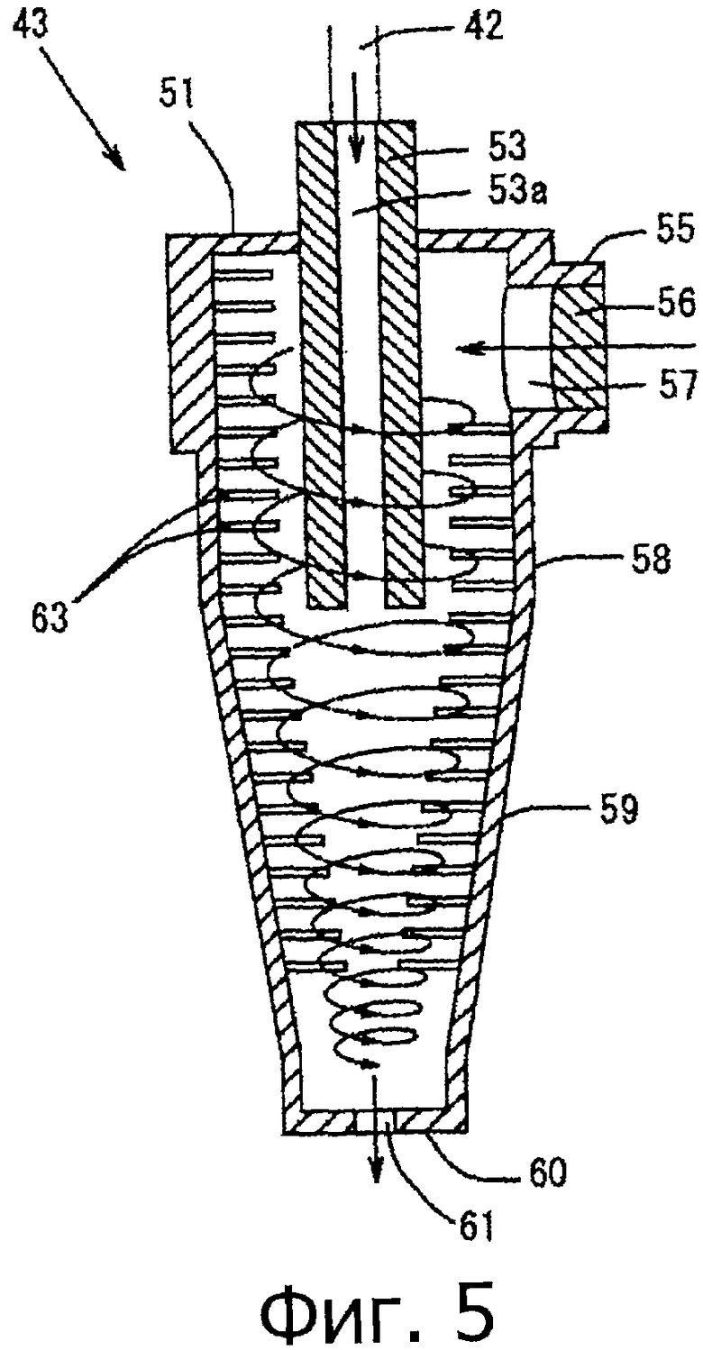
Фиг.5 - вертикальный поперечный разрез, отображающий внутреннее устройство смесительного аппарата.

Фиг.6 - иллюстрация конструкции фильтра для очистки с помощью пульсаций и конструкции прецизионного фильтра.

Фиг.7 - поперечный разрез секции для ньютоновского разделения.

Фиг.8 - характеристики очищенного нефтяного топлива.

Фиг.9 - график, показывающий результаты проведенных с помощью газовой хроматографии испытаний газойля, обработанного ферментом, полученного из газойля с помощью устройства для получения топлива.

Фиг.10 - график, показывающий результаты испытаний с помощью газовой хроматографии газойля, используемого в качестве исходного материала.

Фиг.11 - вид в вертикальном поперечном разрезе, показывающий смесительный аппарат в другом примере.

Осуществление изобретения

Воплощение настоящего изобретения будет раскрыто ниже со ссылками на чертежи.

Пример

Фиг.1 - схематический вид устройства 1 для получения воды, содержащей фермент.

Устройство 1 для получения воды, содержащей фермент, содержит ряд смесительных емкостей 11 (от 11а до 11d), емкости 14 для стабилизации, воздуходувку 15 для подачи воздуха к каждой из емкостей, насосы Р для транспортирования жидкости между емкостями и фильтры F для удаления примесей в процессе транспортирования.

Смесительные емкости от 11а до 11d размещены в два ряда, как это показано в верхней и нижней части фиг.1, при этом смесительные емкости от 11а до 11d в каждом ряду соединены последовательно с помощью насосов Р и фильтров F. В каждую смесительную емкость 11а подается мягкая вода и порошкообразный фермент (например, ЕР-10). Мягкую воду и порошкообразный фермент взбалтывают и перемешивают воздухом, который подают с помощью воздуходувки 15. Предпочтительное соотношение воды и порошкообразного фермента составляет, например, 0.05% (массовое содержание) порошкообразного фермента и 99.95% (массовое содержание) мягкой воды. Предпочтительно порошкообразный фермент может быть получен из фермента, производного овощей (фермент растительного происхождения), и, в особенности предпочтительно, из фермента, производного фруктов. Предпочтительно в качестве основного компонента фермент содержит липазу, и более предпочтительно фермент образован из липазы и целлюлазы. Предпочтительно также, чтобы фермент содержал двухвалентный оксид железа. Более предпочтительно, чтобы фермент содержал 98% (массовое содержание) липазы и 2% (массовое содержание) целлюлазы. Такой фермент может быть экстрагирован из фруктов, таких как манго, авокадо, ананас, цитрусолистная моринда, облепиха и тому подобное. Предпочтительно порошкообразный фермент получают посредством термической сушки такого фермента и используют с улучшенной способностью к хранению.

Полученную водяную смесь по истечении определенного периода времени направляют в следующую смесительную емкость 11b с помощью насоса Р. Во время транспортирования удаляют примеси с помощью фильтра F. В смесительном резервуаре 11b воду и порошкообразный фермент вновь взбалтывают и перемешивают воздухом, который подают с помощью воздуходувки 15. Этот цикл повторяют до его окончания в смесительной емкости 11d и в емкость 14, предназначенную для стабилизации, добавляют спирт. Спиртом может быть, например, метанол или этанол, предпочтительно использовать метанол. Предпочтительное содержание спирта в указанной водной смеси составляет, например, приблизительно от 10% до 20% (массовое отношение).

Воду, содержащую фермент, очищенную спиртом, отводят из емкости 14 для стабилизации посредством насоса Р. При осуществлении этого процесса с помощью трех фильтров F удаляют примеси. Очищенную отведенную воду, содержащую фермент, транспортируют в другую подходящую емкость или хранят в емкости 22 для воды, содержащей фермент, входящей в состав устройства 2 для получения топлива, представленного на фиг.2.

На фиг.2 представлен схематический вид устройства 2 для получения топлива.

Устройство 2 для получения топлива содержит емкость 21 для нефтепродукта в качестве секции для хранения нефтепродукта, емкость 22 для воды, содержащей фермент, в качестве секции для хранения воды, содержащей фермент, две емкости 23 для смешения, пульт 24 управления, секцию 25 создания пульсаций, емкость 26 для ньютоновского (гравитационного) разделения, разделительную емкость 27, секцию 28 с прецизионным фильтром, конечную емкость 29 и емкость 30 для отработанной жидкости.

Емкость 21 для нефтепродукта представляет собой емкость для хранения нефтепродукта, используемого в качестве сырья, и содержащийся в ней сырьевой нефтепродукт подают в необходимом количестве в емкость 23 для смешения по трубопроводу R. Исходным нефтепродуктом может быть, например, тяжелое топливо А, тяжелое топливо В, тяжелое топливо С, легкие фракции нефти, керосин и тому подобное. В иллюстрируемом примере используют тяжелое топливо А.

Емкость 22 для воды, содержащей фермент, представляет собой емкость для хранения воды, содержащей фермент, приготовленной с помощью устройства 1 для получения воды, содержащей фермент, и обеспечивает подачу содержащейся в ней воды, содержащей фермент, с помощью узла подачи в емкость 23 для смешения в необходимом количестве по трубопроводу R. Происходящая здесь реакция представляет собой реакцию гидролиза сырьевого нефтепродукта, осуществляемую с помощью фермента. Соотношение сырьевого нефтепродукта и воды, содержащей фермент, которые подают в резервуары 23 для смешения, могут соответствующим образом регулироваться в зависимости от вида сырьевого нефтепродукта. Например, предпочтительными соотношениями являются: 60% тяжелого топлива А и 40% воды, содержащей фермент, 70% легкой фракции нефти и 30% воды, содержащей фермент, или 70% керосина и 30% воды, содержащей фермент.

Пульт 24 управления представляет собой секцию управления, предназначенную для регулирования функционирования элементов устройства и осуществляющую различные типы регулирования, например переключение источника электропитания в положения «включено» и «выключено».

Секция 25 создания пульсаций создает пульсации нефтяного топлива, полученного в емкостях 23 для смешения, за счет чего образовавшийся остаток легко удаляется. Указанный остаток представляет собой, например, воду, которая осталась непрореагировавшей, примеси, содержащиеся в тяжелых нефтепродуктах, или тому подобное.

Емкость 26 служит для накапливания нефтяного топлива и обеспечивает опускание остатка вниз под действием сил тяжести и тем самым отделяет нефтяное топливо, остающееся в ее верхней части.

Разделительная емкость 27 дополнительно отделяет остаток от нефтяного топлива. Прецизионный фильтр 28 удаляет остаток из нефтяного топлива с помощью фильтрующего элемента.

Конечный резервуар 29 накапливает полученное очищенное нефтяное топливо.

Емкость 30 для отработанной жидкости накапливает отработанную жидкость, полученную в секции 25 для создания пульсаций и емкости 26 для Ньютоновского разделения.

На фиг.3 представлен схематический вид, отображающий конструктивное выполнение емкостей 23 для смешения.

Каждая емкость 23 для смешения имеет обычно цилиндрическое пространство 40 для смешения. В цилиндрическом пространстве 40 размещены смесительные аппараты 43 (43L, 43R) и насосы 44 (44L, 44R).

Смесительные аппараты (43L, 43R) подвешены на предварительно заданной высоте в пространстве 40 для смешения емкости 23 для смешения с помощью тросов 42 (42L, 42R).

Из смесительных аппаратов 43 смесительный аппарат 43L, показанный на фигуре слева, размещен в нижней части пространства 40 для смешения, а смесительный аппарат 43R, показанный на фигуре справа, размещен в верхней части пространства 40 для смешения. Таким образом, смесительные аппараты 43 размещены по отдельности вверху и внизу и также отдельно друг от друга слева и справа. Смесительные аппараты 43 соединены с насосами 44 (44L, 44R) соответственно. Из насосов 44 подают нефтяное топливо, воду, содержащую фермент, или смесь нефтепродукта с водой, содержащей фермент.

Насос 44L подключен к трубопроводу, имеющему всасывающее отверстие 41L в его верхней части. Насос 44L подает нефтяное топливо, воду, содержащую фермент, или смесь нефтепродукта с водой, содержащей фермент, к смесителю 43L и таким образом обеспечивает в целом равномерную циркуляцию нефтяного топлива, воды, содержащей фермент, или смеси нефтепродукта с водой, содержащей фермент, в пространстве 40 для смешения.

Насос 44R подключен к трубопроводу, имеющему в его верхнем конце всасывающее отверстие 41R. Насос 44R подает нефтяное топливо, воду, содержащую фермент, или смесь нефтепродукта с водой, содержащей фермент, к смесительному аппарату 43R и таким образом обеспечивает в целом равномерную циркуляцию нефтяного топлива, воды, содержащей фермент, или смеси нефтепродукта с водой, содержащей фермент, в пространстве 40 для смешения.

Относительно насосов 44L и 44R следует отметить, что предпочтительно использовать насос с давлением воздуха от 30 до 40 атмосфер.

Фиг.4 иллюстрирует конструкцию смесительного аппарата 43.

Смесительный аппарат 43 представляет собой полую внутри металлическую конструкцию, содержащую в качестве основных элементов обычно цилиндрическую верхнюю часть 51, проходящую от верхней части 51 обычно цилиндрическую горловину 58 и корпус 59 в виде перевернутого конуса, а также нижний концевой участок 60.

В центральной части верхней поверхности верхней части 51 размещен цилиндрический центральный ствол 53. Центральный ствол 53 выполнен с впускным каналом 53а (см. фиг.5), проходящим сквозь центральный ствол 53 в направлении вверх и вниз. Нефтяное топливо, вода, содержащая фермент, или смесь нефтепродукта с водой, содержащей фермент, втекает внутрь смесительного аппарата через впускное отверстие 53а.

Указанная верхняя часть 51 имеет впускное отверстие 57, выполненное в определенной части ее боковой поверхности, через которое во внутренний объем втекает нефтяное топливо, вода, содержащая фермент, или смесь нефтепродукта с водой, содержащей фермент. Впускное отверстие 57 представляет собой канал, проходящий от внешней стороны внутрь верхней части 51 и окруженный цилиндрическим соединительным патрубком 55. Соединительный патрубок 55 имеет на внутренней поверхности резьбовую канавку 56 для присоединения к этому патрубку трубопровода, соединенного с насосом 44.

Как показано на фиг.4(В), на которой представлен поперечный разрез смесительного аппарата по линии А-А, показанной на фиг.4(А), расположение впускного отверстия 57 и ориентация соединительного патрубка 55 таковы, что нефтяное топливо, вода, содержащая фермент или смесь нефтепродукта с водой, содержащей фермент, протекают в направлении внутренней поверхности с экцентриситетом относительно центра смесительного аппарата 43. Благодаря этому нефтяное топливо или тому подобная жидкость, втекающая внутрь аппарата через впускное отверстие 57, интенсивно вращается вокруг цилиндрического центрального ствола 53, представляющего собой ось вращения.

Как показано на фиг.5, на которой представлен разрез по линии В-В на фиг.4(В), на внутренней поверхности смесительного аппарата 43 установлено множество штырей 63. Указанное множество штырей 63 размещено на определенном расстоянии друг от друга так, что они не пересекают один другой. Например, может быть установлено от 55 до 80 штырей диаметром 3 мм с интервалом приблизительно 10 мм.

На нижнем концевом участке 60 смесительного аппарата 43 выполнен выпускной канал 61.

Выполненный таким образом смесительный аппарат 43 может эффективно смешивать нефтепродукт с водой, содержащей фермент, и осуществлять при этом реакцию разложения. В целях более подробного описания следует отметить, что нефтяное топливо, вода, содержащая фермент, или смесь нефтепродукта с водой, содержащей фермент, втекающая внутрь через впускное отверстие 57, вращается вокруг центрального ствола 53, перемещаясь в то же время в направлении выпускного канала 61, при этом в процессе вихревого движения радиус вращения жидкости постепенно уменьшается. В ходе этого процесса нефтяное топливо, вода, содержащая фермент, или смесь нефтепродукта с водой, содержащей фермент, перемешиваются с помощью большого количества штырей 63, установленных в смесительном аппарате 43. При вихреобразном вращении жидкости в нижней части центрального ствола 53 создается отрицательное давление (разрежение), что позволяет нефтяному топливу, воде, содержащей фермент, или смеси нефтепродукта с водой, содержащей фермент, втекать внутрь смесительного аппарата через впускное отверстие 53а.

В конкретном случае показанный на фиг.3 смесительный аппарат 43L, в который через впускное отверстие 57 преимущественно поступает нефтепродукт, всасываемый с помощью насоса 44L через всасывающее отверстие 41L, а через впускное отверстие 53а преимущественно поступает вода, содержащая фермент, смешивает указанные нефтепродукт и воду, содержащую фермент.

В свою очередь, смесительный аппарат 43R через впускное отверстие 57 преимущественно принимает воду, содержащую фермент, всасываемую с помощью насоса 44R из всасывающего отверстия 41R, а через впускное отверстие 53а преимущественно принимает нефтепродукт и смешивает указанный нефтепродукт с водой, содержащей фермент.

Благодаря указанному смесительному аппарату 43 вода, содержащая фермент, и нефтепродукт могут, соударяясь, взаимодействовать между собой и перемешиваться в воде, имеющей высокое давление, и таким образом могут вступать друг с другом в реакцию.

При проведении процесса смешивания в емкости 23 для смешения, в которой размещен смесительный аппарат 43, нефтепродукт и вода, содержащая фермент, смешиваются в течение предварительно заданного периода времени (например, приблизительно от 15 до 20 минут), проходя при этом через смесительный аппарат 43 и контактируя друг с другом в вихреобразном движении от 300 до 500 раз. В результате активируется реакция гидролиза, молекулы становятся меньше и удельный вес уменьшается.

На фиг.6(А) представлен вид в изометрии пульсационного фильтра 70, установленного в зоне 25 создания пульсаций. Пульсационный фильтр 70 размещен между двумя установленными на линии смесительными аппаратами и позволяет нефтяному топливу проходить через отверстия в сетчатой перегородке 71. Секция 25 создания пульсаций (в частности, перегородка 71) образована с использованием спеченного керамического материала.

Перегородку 71 медленно поворачивают внутри, подобно винту, и она создает пульсации втекающего внутрь нефтяного топлива, активизируя реакцию. Благодаря этому нефтяное топливо приходит в такое состояние, в котором примеси легко удаляются.

На фиг.6(В) представлен вид в изометрии прецизионного фильтра 80, установленного в секции 28 с прецизионным фильтром.

Указанный прецизионный фильтр 80 содержит элемент 82 наподобие цилиндра, образованного из сетчатого материала, и фильтр 81, расположенный вокруг элемента 82, подобного цилиндру. Фильтр 81 расширяется в радиальном направлении от центра. Нефтяное топливо может проходить через фильтр 81 со стороны внешней поверхности в направлении элемента 82, подобного цилиндру, и в результате примеси могут быть удалены.

Фильтр 81 расположен радиально. Как показано на фиг.6(С), на которой представлено частичное увеличенное изображение этого фильтра, нефтяное топливо может проходить полностью внешнюю поверхность 81b фильтра 81, подобную пластине, от торцовой стороны-основания 81а к торцовой стороне-вершине 81с. Таким образом, даже если примеси накапливаются на торцовой стороне-основании 81а и нефтяному топливу становится затруднительным проходить через фильтр 81, поверхность 81b, подобная пластине, позволяет нефтяному топливу проходить без труда и удаляет примеси.

На фиг.7 представлен вид в вертикальном разрезе емкости 26 для Ньютоновского (гравитационного) разделения.

Емкость 26 для Ньютоновского разделения преимущественно содержит наклонную пластину 96, установленную вблизи нижней секции, множество пластин 92, установленных на более высоком уровне, и множество пластин 93, установленных на более низком уровне, которые размещены в чередующемся порядке выше указанной наклонной пластины 96. Емкость 26 для Ньютоновского разделения имеет отверстие 91 для впуска жидкости, обеспечивающее сообщение с элементом предшествующей стадии обработки, и отверстие 95 для выпуска жидкости, обеспечивающее сообщение с элементом, используемым на последующей стадии.

Между нижними концами пластин 92, расположенных на более высоком уровне, и наклонной пластиной 96 имеется зазор, за счет чего нефтяное топливо может перемещаться вперед и в обратном направлении.

Верхние концы пластины 93, размещенной на более низком уровне, расположены ниже, чем верхние концы пластин 92, установленных на более высоком уровне, так что накопленное нефтяное топливо переливается и перетекает в следующую секцию накапливания. Каждая пластина 93, расположенная на более низком уровне, имеет на нижнем конце подвижную пластину 94, при этом нижний конец подвижной пластины 94 контактирует с наклонной пластиной 96. Пластины 92, находящиеся на более высоком уровне, и пластины 93, установленные на более низком уровне, размещены поочередно и установлены так, что их нижние концы постепенно располагаются все выше по направлению наклона наклонной пластины 96.

Вследствие такого конструктивного выполнения нефтяное топливо втекает внутрь через впускное отверстие 91 для жидкости в первую накопительную секцию 90а. Находящиеся в нефтяном топливе примеси собираются в нижней части секции, а очищенное нефтяное топливо накапливается в ее верхней части и перетекает во вторую накопительную секцию 90b, следующую за первой накопительной секцией 90а. Этот процесс повторяется от первой накопительной секции 90а до четвертой накопительной секции 90d, и полученное чистое нефтяное топливо отводят через выпускное отверстие 95 для жидкости.

Примеси, осажденные в накопительных секциях от 90а до 90d, перемещаются вниз вдоль наклонной пластины 96. Для того чтобы примеси могли перемещаться вниз, открываются подвижные пластины 94. В противоположном направлении подвижные пластины 94 не открываются, и поэтому указанные примеси в противоположном направлении не протекают.

Примеси, переместившись вниз по потоку вдоль наклонной пластины 96, транспортируются от отводящего отверстия 97 в секцию 98 отвода посредством клапана 99а. Клапан 99а периодически открывается и закрывается. Когда остаток накапливается в определенном количестве, клапан 99а открывается, позволяя остатку поступать в секцию 98 отвода, и затем закрывается. После этого через впускной нагнетательный клапан 99с, установленный в верхней части секции 98 отвода, подают воздух. Примеси, отведенные в секцию 98 отвода, могут быть отведены через выходной клапан 99b и утилизированы.

С помощью описанных выше устройства 1 для получения воды, содержащей фермент, и устройства 2 для получения топлива может быть получено очищенное нефтяное топливо, которое получают за счет реакции разложения, проводимой с участием нефтепродукта и воды, содержащей фермент.

В результате, как показано на фиг.8, на которой представлена таблица с характеристиками, может быть получено нефтяное топливо, способствующее повышению эффективности топлива, и предотвращению резкого ухудшения состояния окружающей среды.

В указанной таблице приведены характеристики очищенного нефтяного топлива, полученного с помощью устройства 1 для получения воды, содержащей фермент, и устройства 2 для получения топлива с использованием тяжелого топлива А.

Как показано в этой таблице, в очищенном нефтяном топливе содержание СО2 (остаточный углерод в СО2) уменьшается на 99.5%, содержание оксида серы уменьшается на 63.0%, оксида металла (зола) - на 98.0% и воды - на 96.67%.

На фиг.9 представлен график, отображающий результаты испытаний с помощью газовой хроматографии, проведенных на легкой фракции нефти, содержащей фермент (чистый нефтепродукт), полученной с помощью устройства 2 для получения топлива, описанного выше, с использованием в качестве сырьевого материала легкой фракции нефти. На фиг.10 представлен график, отображающий результаты испытаний с помощью газовой хроматографии, проведенных на легкой фракции нефти, представляющей собой исходное сырье для проведения реакции.

Визуально из сравнения этих графиков понятно, что молекулярную массу содержащегося углеводорода разделяют на фракции посредством реакции гидролиза, инициированной природным растительным ферментом, содержащим липазу.

Химическая реакция, положенная в основу создания настоящего изобретения, является в достаточной степени воспроизводимой. Кроме того, химическая реакция воды, содержащей фермент, и углеводородного нефтепродукта представляет собой реакцию смешения, и сама вода, содержащая фермент, после реакции также сжигаема в качестве топлива.

Как отмечено выше, может быть произведено очищенное нефтяное топливо, которое является весьма чистым, способствует предотвращению резкого ухудшения состояния окружающей среды и имеет высокую эффективность. Располагая таким очищенным нефтяным топливом, можно уменьшить абсолютное количество подлежащего использованию нефтепродукта на величину от 20 до 30%, а эффективность сжигания топлива может быть повышена на величину от 20 до 25%. В целом экономия топлива может составить приблизительно от 40 до 50%.

За счет природной способности фермента очищенное нефтяное топливо может быть использовано без проведения дополнительной обработки даже в холодных регионах (например, в регионах, в которых температура понижается до -20°С).

Благодаря использованию очищенного нефтяного топлива углерод не налипает на двигателе или котле или не ржавеют сопла, и таким образом может быть предотвращена коррозия. Поэтому работы по общему техническому обслуживанию вообще не являются необходимыми, что может уменьшить эксплуатационные расходы.

Полученное очищенное нефтяное топливо после проведения реакции является стабилизированным с помощью фермента, и поэтому компонент, включающий нефтепродукт, и компонент, включающий воду, не отделяются друг от друга даже по истечении продолжительного периода времени.

Полученное очищенное нефтяное топливо является весьма прозрачным, и вода после реакции действует как топливо. Следовательно, эффективность топлива может быть увеличена.

Благодаря разлагающему действию фермента полученное очищенное нефтяное топливо не генерирует сажу или черный дым. Это может предотвратить ухудшение характеристик из-за сажи или черного дыма, остающегося в двигателе внутреннего сгорания, при сжигании очищенного нефтяного топлива.

Устройство 2 для получения топлива за счет действия фермента может отделять и, таким образом, удалять СО2, оксид серы, оксид металла и тому подобные вещества, которые являются опасными веществами.

Устройство 2 для получения топлива может способствовать проведению реакции гидролиза нефтепродукта, проводимой с помощью фермента, благодаря эффективному и равномерному перемешиванию, обеспечиваемому смесительным аппаратом 43.

Смесительный аппарат 43 может быть заменен другим типом смесительного аппарата 43А, иллюстрируемым на фиг.11. Указанный смесительный аппарат 43А не имеет выпускного канала на нижнем концевом участке 60 и вместо центрального ствола 53, имеющегося в описанном выше примере, содержит центральную трубу 54. Центральная труба 54 имеет цилиндрическую форму и полость 67 внутри. Верхний конец 67а полости 67 действует как выпускное отверстие для нефтяного топлива.

В смесительном аппарате 43А, имеющем такую конструкцию, вода, содержащая фермент, и нефтепродукт, втекающие внутрь через впускное отверстие 57, вращаются, одновременно перемещаясь вниз, при этом в вихревом движении радиус вращения постепенно уменьшается, затем вода и нефтепродукт перемещаются от нижнего конца к верхнему концу центральной трубы 54 и отводятся через верхний конец.

Смесительный аппарат 43А обеспечивает выполнение тех же функций и достижение того же результата, что и смесительный аппарат 43, описанный в рассмотренном выше примере.

Элементы согласно настоящему изобретению соответствуют следующим элементы в рассмотренном выше воплощении.

Емкость для проведения реакции разложения согласно настоящему изобретению соответствует в рассмотренном примере емкости 23 для смешения.

Секция для удаления остатка в настоящем изобретении соответствует в указанном примере секции 25 для создания пульсаций, емкости 26 для ньютоновского разделения, разделительной емкости 27 и секции 28 с прецизионным фильтром;

смесительный аппарат согласно настоящему изобретению соответствует смесительным аппаратам 43L, 43R и 43А в рассмотренном примере изобретения;

впускное отверстие согласно настоящему изобретению соответствует впускному отверстию 57 и впускному каналу 53а в рассмотренном примере;

выпускное отверстие в настоящем изобретении соответствует выпускному каналу 61 в рассмотренном примере; и

штыри согласно настоящему изобретению соответствуют штырям 63 в рассмотренном примере.

Настоящее изобретение не ограничивается конструкцией описанного выше примера воплощения и может быть осуществлено посредством других различных воплощений.

Промышленная применимость

Настоящее изобретение является подходящим для использования с целью повышения эффективности топлива, произведенного из различных типов нефтепродукта, например тяжелого топлива А, тяжелого топлива В, тяжелого топлива С, легкой нефтяной фракции, керосина и тому подобного.

Описание ссылочных номеров позиций

2 - устройство для получения топлива, 23 - емкость для смешения, 25 - секция для создания пульсаций; 26 - емкость для Ньютоновского разделения; 27 - емкость для разделения; 28 - секция с прецизионным фильтром; 43L, 43R, 43А - смесительный аппарат; 53а - впускной канал; 57 - впускное отверстие; 61 - выпускной канал; 63 - штырь.

Похожие патенты RU2480513C2

название год авторы номер документа
ПРОЦЕСС И УСТРОЙСТВО ДЛЯ ПРОИЗВОДСТВА ТОПЛИВНОГО УГЛЕВОДОРОДНОГО МАСЛА 2015
  • Като Ацуси
RU2704822C2
СПОСОБ КОМБИНИРОВАННОГО ГИДРОКРЕКИНГА ТЯЖЕЛОГО НЕФТЯНОГО СЫРЬЯ, ВКЛЮЧАЮЩИЙ ВЫДЕЛЕНИЕ ОТРАБОТАННОЙ ДОБАВКИ ИЗ НЕКОНВЕРТИРОВАННЫХ ОСТАТКОВ ГИДРОКРЕКИНГА И ЕЕ ОСУШКУ 2023
  • Шигабутдинов Альберт Кашафович
  • Пресняков Владимир Васильевич
  • Шигабутдинов Руслан Альбертович
  • Ахунов Рустем Назыйфович
  • Идрисов Марат Ринатович
  • Новиков Максим Анатольевич
  • Храмов Алексей Александрович
  • Коновнин Андрей Александрович
  • Уразайкин Артур Семенович
  • Субраманиан Висванатан Ананд
RU2808443C1
СПОСОБ КОМБИНИРОВАННОГО ГИДРОКРЕКИНГА ТЯЖЕЛОГО НЕФТЯНОГО СЫРЬЯ, ВКЛЮЧАЮЩИЙ ВЫДЕЛЕНИЕ ОТРАБОТАННОЙ ДОБАВКИ ИЗ НЕКОНВЕРТИРОВАННЫХ ОСТАТКОВ ГИДРОКРЕКИНГА И ЕЕ ОСУШКУ 2023
  • Шигабутдинов Альберт Кашафович
  • Пресняков Владимир Васильевич
  • Шигабутдинов Руслан Альбертович
  • Ахунов Рустем Назыйфович
  • Идрисов Марат Ринатович
  • Новиков Максим Анатольевич
  • Храмов Алексей Александрович
  • Коновнин Андрей Александрович
  • Уразайкин Артур Семенович
  • Субраманиан Висванатан Ананд
RU2805925C1
УСТАНОВКА ДЛЯ ОЧИСТКИ НЕФТЕСОДЕРЖАЩИХ ВОД 2003
  • Евдокимов А.А.
RU2243168C1
СПОСОБ И УСТРОЙСТВО ДЛЯ УЛАВЛИВАНИЯ УГЛЕРОДА И УДАЛЕНИЯ МУЛЬТИЗАГРЯЗНЕНИЙ В ТОПОЧНОМ ГАЗЕ ИЗ ИСТОЧНИКОВ УГЛЕВОДОРОДНОГО ТОПЛИВА И ИЗВЛЕЧЕНИЯ МНОЖЕСТВЕННЫХ ПОБОЧНЫХ ПРОДУКТОВ 2008
  • Купер Хэл Б. Х.
  • Танг Роберт И.
  • Деглинг Дональд И.
  • Эван Томас К.
  • Эван Сэм М.
RU2461411C2
СПОСОБ ПРОИЗВОДСТВА УГЛЕРОДСОДЕРЖАЩИХ БРИКЕТОВ, УГЛЕРОДСОДЕРЖАЩИЙ БРИКЕТ И СПОСОБ ПЕРЕРАБОТКИ ТЯЖЕЛОГО НЕФТЯНОГО СЫРЬЯ 2024
  • Шигабутдинов Альберт Кашафович
  • Пресняков Владимир Васильевич
  • Шигабутдинов Руслан Альбертович
  • Ахунов Рустем Назыйфович
  • Идрисов Марат Ринатович
  • Новиков Максим Анатольевич
  • Храмов Алексей Александрович
  • Коновнин Андрей Александрович
  • Уразайкин Артур Семенович
  • Субраманиан Висванатан Ананд
RU2834319C1
СПОСОБ И УСТРОЙСТВО ДЛЯ УДАЛЕНИЯ ЗАГРЯЗНЕНИЙ ИЗ НЕФТЕПРОДУКТОВ 1995
  • Крэйг Р.Меллен
  • Альберт Л.Джордан
  • Гирл Д.Брукс
  • Кевин К.Нортон
  • Куртис И.Морган
  • Роберт Дж.Сноу
RU2140433C1
Установка для моделирования технологических процессов бесщелочной каталитической очистки нефти от сероводорода и меркаптанов 2023
  • Бортников Сергей Анатольевич
RU2823859C1
СПОСОБ ДОКОТЛОВОЙ ОБРАБОТКИ ВОД В ТЕПЛОМ ЯЩИКЕ КОТЕЛЬНОЙ УСТАНОВКИ И УСТРОЙСТВО ДЛЯ ЕГО ОСУЩЕСТВЛЕНИЯ 1994
  • Сень Л.И.
  • Тихомиров Г.И.
RU2088841C1
УСТАНОВКА ОЧИСТКИ НЕФТИ ОТ СЕРОВОДОРОДА И НИЗКОМОЛЕКУЛЯРНЫХ МЕРКАПТАНОВ 2010
  • Шаталов Алексей Николаевич
  • Сахабутдинов Рифхат Зиннурович
  • Гарифуллин Рафаэль Махасимович
  • Шипилов Дмитрий Дмитриевич
  • Ахметзянов Марат Асхатович
  • Ахмадуллин Роберт Рафаэлевич
  • Гафиятуллин Сагит Самигулович
RU2442816C1

Иллюстрации к изобретению RU 2 480 513 C2

Реферат патента 2013 года СПОСОБ ПОЛУЧЕНИЯ ТОПЛИВА И УСТРОЙСТВО ДЛЯ ЕГО ОСУЩЕСТВЛЕНИЯ

Изобретение относится к получению нефтяного топлива. Изобретение касается способа получения нефтяного топлива, в котором осуществляют смешение и проведение реакции гидролиза воды, содержащей фермент, с углеводородным нефтепродуктом, причем воду, содержащую фермент, получают путем перемешивания в воде природного растительного фермента, содержащего, по меньшей мере, липазу. Природный растительный фермент дополнительно может содержать целлюлазу. Изобретение также касается устройства для получения нефтяного топлива. Технический результат - повышение эффективности топлива, которое является стабильным, а также подавление образования опасных веществ. 2 н. и 8 з.п. ф-лы, 11 ил., 1 пр.

Формула изобретения RU 2 480 513 C2

1. Способ получения нефтяного топлива, в котором осуществляют смешение и проведение реакции гидролиза воды, содержащей фермент, с углеводородным нефтепродуктом, причем воду, содержащую фермент, получают путем перемешивания в воде природного растительного фермента, содержащего, по меньшей мере, липазу.

2. Способ получения топлива по п.1, в котором природный растительный фермент дополнительно содержит целлюлазу.

3. Способ получения топлива по п.1, в котором вода, содержащая фермент, дополнительно содержит перемешанный с ней метанол.

4. Способ получения топлива по п.2, в котором вода, содержащая фермент, дополнительно содержит перемешанный с ней метанол.

5. Способ получения топлива по любому из пп.1-4, в котором для смешения и проведения химической реакции воды, содержащей фермент, с углеводородным нефтепродуктом, их пропускают при вихревом движении через конический смесительный аппарат, содержащий множество установленных в нем штырей.

6. Способ получения топлива по любому из пп.1-4, в котором из нефтяного топлива удаляют остаток с получением очищенного нефтяного топлива.

7. Способ получения топлива по п.5, в котором из нефтяного топлива удаляют остаток с получением очищенного нефтяного топлива.

8. Устройство для получения нефтяного топлива, осуществляемого путем проведения реакции гидролиза воды, содержащей фермент, с углеводородным нефтепродуктом в емкости для проведения реакции разложения, причем вода, содержащая фермент, содержит смешанный с ней природный растительный фермент, содержащий, по меньшей мере, липазу, указанное устройство для получения топлива содержит смесительный аппарат, размещенный в емкости для проведения реакции разложения, причем указанный смесительный аппарат содержит множество штырей, установленных на внутренней поверхности, образующей конический профиль, впускное отверстие для воды, содержащей фермент, и углеводородного нефтепродукта, выполненное в боковой поверхности основания конического профиля, и выпускное отверстие для воды, содержащей фермент, и углеводородного нефтепродукта, выполненное в вершине или в центре основания конического профиля.

9. Устройство для получения топлива по п.8, в котором впускное отверстие смесительного аппарата расположено эксцентрично так, что направление втекания воды, содержащей фермент, и углеводородного нефтепродукта эксцентрично по отношению к центру окружности, образованной в сечении конического профиля.

10. Устройство для получения топлива по п.8 или 9, дополнительно содержащее секцию удаления остатка из нефтяного топлива, полученного в емкости для проведения реакции разложения, с получением очищенного нефтяного топлива.

Документы, цитированные в отчете о поиске Патент 2013 года RU2480513C2

US 5697986 А, 16.12.1997
JP 2002233393 A, 20.08.2002
WO 2009007689 A1, 15.01.2009
RU 2005129182 A, 10.04.2007.

RU 2 480 513 C2

Авторы

Като Ацуси

Цута Сигедзи

Хорибе Хирохиде

Даты

2013-04-27Публикация

2009-11-19Подача