УЗЕЛ МУФТЫ ГИДРОРАЗРЫВА, УСТРОЙСТВО НА ЕГО ОСНОВЕ И СПОСОБ ЕГО ИСПОЛЬЗОВАНИЯ Российский патент 2016 года по МПК E21B34/12 E21B43/26 

Описание патента на изобретение RU2597301C2

ОБЛАСТЬ ПРИМЕНЕНИЯ

Настоящее изобретение относится к узлу муфты гидроразыва, в частности, к узлу муфты гидроразрыва, который может избирательно устанавливаться в открытое или закрытое состояние. Настоящее изобретение относится также к устройству, содержащему этот узел, а также к способу использования этого устройства.

ПРЕДПОСЫЛКИ ИЗОБРЕТЕНИЯ

Пескоструйная муфта гидравлического разрыва является ключевым инструментом для поэтапного гидроразрыва вертикальных скважин и горизонтальных скважин на нефтяных и газовых месторождениях. Пескоструйная муфта такого вида содержит наружную трубу и центральнуют трубу, расположенную в наружной трубе, где наружная труба и центральная труба образуют свободноскользящее соединение. Стенка наружной трубы муфты снабжена пескоструйным отверстием, вход ее на верхнем конце имеет перекрываемую пригоночную поверхность для приема запускающего шарика, который запускает скольжение наружной трубы и внутренней трубы муфты. Размер запускающего шарика и размер перекрываемой пригоночной поверхности увеличиваются в определенной последовательности. Каждый запускающий шарик имеет диаметр больший, чем внутренний диаметр пригоночной поверхности, занимаемой упомянутым запускающим шариком, так что каждый запускающий шарик будет просто захватываться соответствующей уникальной по размеру перекрываемой пригоночной поверхностью. В течение операции последовательно сбрасывают соответствующие запускающие шарики, и соответствующий срезаемый штифт срезается под действием давления, создаваемого в стволе скважины, так что эта муфта открывается.

В настоящее время имеется два способа управления гидроразрывом для горизонтальных и вертикальных нефтяных и газовых скважин, т.е гидроразрыв ограниченного проникнования и поэтапный гидроразрыв. Поэтапный гидроразрыв является преобладающим способом, включающим химический поэтапный гидроразрыв, пакерный поэтапный гидроразрыв, гидравлический поэтапный гидроразрыв, колтюбинговый поэтапный гидроразрыв и комбинированное вскрытие пласта, среди которых наиболее широко используемым является пакерный поэтапный гидроразрыв, включающий поэтапный гидроразрыв с использованием надувной мостовой пробки, поэтапный гидроразрыв с использованием пакерного сегмента с муфтой и шариком, кольцевого пакера, а также поэтапный гидроразрыв с двойной герметизацией и однократным приложением давления и т.д.

Среди указанных выше способов способы гидроразрыва с использованием кольцевого пакера и способ с использованием надувной мостовой пробки не имеют ограничений по количеству этапов. Однако в них операции гидроразрыва не могут выполняться непрерывно. После завершения каждого этапа вновь требуется проведение операции перфорации. После завершения этих операций необходимо выполнить отключение колонны и сверление заглушки, что ведет к увеличению продолжительности этапов и высокой стоимости. Способ гидроразрыва с двойной герметизацией и однократным приложением давления требует перемещения колонны обсадных труб, а пакер требует многократной герметизации, в результате чего период проведения работ удлиняется. Поэтапный гидроразрыв с использованием пакера на основе шарика и муфты использует комбинацию шариков и седел шариков различного размера, так что многоэтапный гидроразрыв может выполняться без обслуживания обсадной колонны. Однако из-за того, что различные шарики сконструированы в соответствии с определенным диапазоном размеров, число пакерных ступеней ограничено размерами обсадной колонны, и поэтапный гидроразрыв и количество последовательностей подачи кислоты также будут ограничены.

В последнее время были разработаны различные пескоструйные муфты для разных характеристик продуктивного пласта. Например, патент CN 210048U "Pressure guide sandblasting sleeve for fracturing" ("Пескоструйная муфта для гидроразрыва, управляемая давлением"), опубликованный 1 апреля 1992 г, раскрывает устройство, широко используемое для гидроразрыва на нефтяных скважинах. А устройство, используемое в основном на газовых скважинах, раскрыто в патенте CN 200820061922 "Sandblaster of fracturing sleeve" ("Пескоструйный аппарат муфты для гидроразрыва") от 5 ноября 2008 г. Обе раскрытые выше муфты основаны на принципе открывания муфты с помощью запускающих шариков, размер которых последовательно растет, из-за чего число поэтапных гидроразрывов все же остается ограниченным.

Кроме того, чтобы преодолеть эти недостатки устройств для гидроразрыва, было также разработано множество конструкций муфтовых устройств для гидроразрыва. Например, в патенте CN201396131 "Horizontal well mechanical staged fracturing blocking-proof process pipe column" ("Колонна труб для механического процесса поэтапного гидроразрыва горизонтальной скважины с защитой от заклинивания"), опубликованном 3 февраля 2010 г., раскрывается устройство, содержащее колонну насосно-компрессорных труб, пакер перепада давления, предохранительный коннектор и пакер скользящей муфты. Пакер перепада давления и пакер скользящей муфты смонтированы на колонне труб с расположенным между ними предохранительным коннектором. Это устройство может применяться только на нефтяных месторождениях, а его пакеры могут быть легко повреждены при эксплуатации, приводя к потере герметичности и к не отвечающему должным требованиям гидроразрыву. Кроме того, это устройство сложно и трудозатратно при эксплуатации, а также недостаточно надежно.

В патенте CN 101338663 "Staged fracturing horizontal wells mechanical anti-card technology column" ("Технологическая колонна для механического поэтапного гидроразрыва горизонтальных скважин с защитой от образования песчаной корки"), опубликованном 7 января 2009 г., в котором раскрыто устройство, содержащее маслопровод, разъединительный переходник, центратор, гидравлический якорь, пакер, управляемый давлением пескоструйный аппарат и направляющую заглушку, где нижний конец маслопровода последовательно соединен с разъединительным переходником, центратором, гидравлическим якорем, пакером, центратором, управляемым давлением пескоструйным аппаратом, пакером и направляющей заглушкой. Это устройство может быть использовано только для гидроразрыва на горизонтальной скважине, но не позволяет выполнять многослойный гидроразрыв и проведение работ без обслуживания колонны, а также не может выполнять поэтапный гидроразрыв без обслуживания колонны или при ограничении числа этапов.

В патенте CN 101560877 "Horizontal well packer staged fracturing technology tube pillar" ("Технологическая колонна труб для поэтапного гидроразрыва для горизонтальной скважины с использованием пакера"), опубликованном 21 октября 2009 г., раскрыто устройство, содержащее эксплуатационную колонну труб, гидравлический якорь, устройство управления заглушкой места гидроразрыва, сдвоенный пакер А, сдвоенный пакер В, сдвоенный пакер С, муфтовый пескоструйный аппарат, пескоструйный аппарат, направляющее устройство и капиллярная трубка. Эксплуатационная колонна последовательно снабжена гидравлическим якорем, устройством управления заглушкой места гидроразрыва, сдвоенным пакером А, муфтовым пескоструйным аппаратом, сдвоенным пакером В, пескоструйным аппаратом, сдвоенным пакером С и направляющим устройством. Капиллярная трубка подсоединена к устройству управления заглушкой места гидроразрыва, сдвоенному пакеру А, сдвоенному пакеру В и сдвоенному пакеру С на одной стороне эксплуатационной колонны. Однако это устройство не может выполнять неограниченное число поэтапных гидроразрывов.

Кроме того, известны патенты CN 101418681 "Once tubular column process for combination oil production by multiple fracturing for oil and gas wells" ("Однотрубоколонный процесс нефтедобычи при множественном гидроразрыве для нефтяных и газовых скважин") и CN 201144682 "Multiple fracturing pipe column for petroleum and gas wells" ("Колонна труб для многократного гидроразрыва для нефтяных и газовых скважин"), в которых используется способ открытия муфт путем вбрасывания шариков и в которых невозможно выполнение неограниченного числа поэтапных гидроразрывов без выполнения операций с колонной труб, а также невозможно перевести муфту в закрытое состояние.

Таким образом, для обеспечения выполнения поэтапного гидроразрыва с неограниченным количеством этапов для горизонтальных, вертикальных и наклонно направленных скважин актуальной является потребность в устройстве для гидроразрыва, которое могло бы открывать или закрывать любую муфту без необходимости выполнять операции с колонной труб.

КРАТКОЕ СОДЕРЖАНИЕ ИЗОБРЕТЕНИЯ

Чтобы разрешить вышеуказанные проблемы, в настоящем изобретении раскрывается узел муфты гидроразрыва, который может открывать или закрывать муфту в любом требуемом фиксированном положении. Настоящее изобретение раскрывает также устройство, содержащее этот узел, и способ использования этого устройства.

Согласно первому аспекту настоящего изобретения, оно раскрывает узел муфты гидроразрыва, содержащий

композитную муфту, имеющую неподвижную наружную трубу и внутреннюю трубу, соединенную с внутренней стенкой наружной трубы через срезаемый штифт, где наружная труба снабжена пескоструйным отверстием, а внутренняя стенка внутренней трубы снабжена первым зубообразным элементом; и

открывающий инструмент, имеющий основной корпус и второй зубообразный элемент, присоединенный к основному корпусу, где открывающий инструмент может вставляться во внутреннюю трубу с тем, чтобы герметически закрыть ствол скважины, и второй зубообразный элемент может входить в зацепление с первым зубообразным элементом,

где в исходном состоянии узла муфты гидроразрыва пескоструйное отверстие закрывается внутренней трубой; как только в нее опускают открывающий инструмент, внутренняя труба сцепляется с открывающим инструментом с помощью первого и второго зубообразных элементов; и, когда давление внутри обсадной колонны достигает устанавливаемой заранее величины, срезаемый штифт срезается и открывающий инструмент заставляет внутреннюю трубу двигаться вниз с тем, чтобы открыть пескоструйное отверстие, вследствие чего устанавливается канал для гидроразрыва.

В этом контексте под термином "исходное состояние" понимается состояние перед тем, как узел муфты для гидроразрыва будет открыт.

В одном воплощении для закрывания композитной муфты имеется первый закрывающий инструмент, содержащий центральную тягу, и пятый зубообразный элемет, присоединенный к центральной тяге, где первый закрывающий инструмент может быть вставлен во внутреннюю трубу так, что пятый зубообразный элемент может прийти в состояние сцепления с первым зубообразным элементом, в результате чего внутренняя труба может быть сдвинута вверх путем подъема первого закрывающего инструмента, возвращая тем самым пескоструйное отверстие в заблокированное состояние, чтобы закрыть канал для гидроразрыва.

В одном воплощении соответствующие соприкасающиеся поверхности внутренней трубы и наружной трубы композитной муфты снабжены канавкой для выбора положения и элементом выбора положения, и их перемещают в разные положения, когда узел муфты гидроразрыва находится в открытом состоянии и когда канал гидроразрыва закрыт. То, что канавка выбора положения и элемент выбора положения устанавливают в разные положения в разных состояниях узла для гидроразрыва, дает возможность избежать действия текучей среды и предотвратить несанкционированный перевод композитной муфты в закрытое состояние после того как извлекается закрывающий инструмент.

В одном воплощении соприкасающиеся поверхности наружной трубы и внутренней трубы композитной муфты снабжены соответствующими устройствами позиционирования, которые могут приходить в зацепление одно с другим так, чтобы обеспечить сцепление внутренней трубы с наружной трубой, чтобы заблокировать пескоструйное отверстие и, следовательно, закрыть канал для гидроразрыва. Эти устройства позиционирования могут обеспечить отделение с их помощью наружной трубы композитной муфты от внутренней трубы только тогда, когда вброшен открывающий инструмент и приложено давление, и для закрытия канала для гидроразрыва эта наружная труба композитной муфты может вновь войти в сцепление с ее внутренней трубой, когда внутренняя труба поднимается первым закрывающим инструментом.

Согласно первому аспекту настоящего изобретения, оно также дает устройство на основе муфты гидроразрыва, содержащее множество узлов муфт гидроразрыва по первому аспекту настоящего изобретения. Второй зубообразный элемент каждого открывающего элемента выполнен таким образом, что он отличается от второго зубообразного элемента любого другого открывающего инструмента, вследствие чего каждый открывающий инструмент может приходить в сцепление только с внутренней трубой в узле гидроразрыва, относящемся к указанному открывающему инструменту. Пятый зубообразный элемент каждого первого закрывающего инструмента сконфигурирован так, чтобы отличаться от пятого зубообразного элемента любого другого первого закрывающего инструмента, вследствие чего каждый первый закрывающий элемент может прийти в сцепление только с первым зубообразным элементом во внутренней трубе узла гидроразрыва, относящегося к указанному первому закрывающему инструменту.

Эта конфигурация позволяет второму зубообразному элементу открывающего инструмента, относящегося к конкретному узлу гидроразрыва, прийти в зацепление только с первым зубообразным элементом композитной муфты в указанном узле гидроразрыва. Даже в том случае, когда открывающий инструмент опускается, проходя через другие узлы гидроразрыва, второй зубообразный элемент открывающего инструмента не может выдвинуться в наружную сторону в радиальном направлении, чтобы прийти в зацепление с первым зубообразным элементом композитной муфты, из-за различий зубообразньгх элементов. Аналогично, первый зубообразный элемент первого закрывающего инструмента также может прийти в сцепление только с первым зубообразным элементом композитной муфты, относящейся к указанному первому открывающему элементу. Поэтому в устройстве по первому аспекту настоящего изобретения в случае, когда опускают определенный открывающий инструмент, может открыться только соответствующая композитная муфта, и когда опускают определенный первый закрывающий инструмент, может быть закрыта только соответствующая композитная муфта. То есть, устройство на основе муфты гидроразрыва по настоящему изобретению может избирательно открывать и/или закрывать по требованию определенную композитную муфту.

В одном воплощении все композитные муфты имеют один и тот же внутренний диаметр, который позволяет работать с неограниченным количеством композитных муфт для неограниченного числа поэтапных гидроразрывов.

В одном воплощении каждый из зубообразньгх элементов может приходить в сцепление с соответствующим единственным, однозначно определенным зубообразным элементом с помощью задания уникальных параметров их контура и/или находящейся на них направляющей структуры. В предпочтительном воплощении параметры контура являются одним или более из параметров, выбранных из группы, состоящей из числа зубьев, профиля зуба и промежутка между зубьями.

В одном воплощении второй зубообразный элемент открывающего инструмента выполнен на наружной стенке основного корпуса с третьим пружинным механизмом, размещенным между основным корпусом и вторым зубообразным элементом, где второй зубообразный элемент может перемещаться в радиальном направлении наружу под действием третьего пружинного механизма так, чтобы приходить в сцепление с первым зубообразным элементом. В другом воплощении второй зубообразный элемент открывающего инструмента размещен над основным корпусом при помощи упругого элемента, один конец упругого элемента, соединенный с основным корпусом, имеет меньший диаметр, чем другой конец упругого элемента, соединенный со вторым зубообразным элементом.

В одном воплощении пятый зубообразный элемент первого закрывающего инструмента выполнен на наружной стенке соответствующей центральной тяги с четвертым пружинным механизмом, расположенным между центральной тягой первого закрывающего инструмента и пятым зубообразным элементом, где пятый зубообразный элемент может двигаться в радиальном направлении наружу под действием четвертого пружинного механизма так, чтобы войти в сцепление с соответствующим зубообразным элементом. В другом воплощении пятый зубообразный элемент первого закрывающего инструмента представляет собой пластинчато-пружинный элемент, нижний по течению конец которого соединен с центральной тягой, а верхний по течению конец которого отделен от центральной тяги.

В одном воплощении каждый из пружинных механизмов согласно первому аспекту настоящего изобретения включает упругий элемент, который может развивать силу, действующую в радиальном направлении наружу, и упор для ограничения хода соответствующих зубообразных элементов, которые могут двигаться в радиальном направлении наружу.

Зубообразный элемент, обладающий упругостью, и упругий элемент с пружинным механизмом дают возможность упомянутому зубообразному элементу автоматически выдвигаться наружу при ударе об обладающий возможностью входить в зацепление зубообразный элемент и входить в сцепление с таким же элементом, из-за чего в скважине может быть достигнуто автоматическое сцепление между внутренней трубой композитной муфты и открывающим инструментом, а также сцепление между внутренней трубой и первым закрывающим инструментом, значительно улучшая таким образом удобство при эксплуатации композитной муфты. Упор для ограничения хода движения зубообразного элемента в наружном направлении может не только гарантировать сцепление между соответствующими зубообразными элементами, но также предотвращает зубообразный элемент от расцепления с элементом, к которому он был подсоединен, например, с основным корпусом открывающего инструмента и центральной тягой первого закрывающего инструмента.

В контексте настоящего описания под термином "под" и "над" или им подобным подразумевается расположение вблизи или вдали от устья скважины, а термины "вниз по течению" и "вверх по течению" используются по отношению к направлению потока гидроразрывной жидкости, введенной со стороны устья скважины.

В одном воплощении каждый из зубообразных элементов снабжен наклонным направляющим структурным элементом на его верхнем конце и на нижнем конце для направляемого зацепления или расцепления соответствующих зубообразных элементов. Этот наклонный направляющий элемент позволяет соответствующему зубообразному элементу прийти в состояние зацепления или расцепления, чтобы войти в "зажатое" или "разжатое" состояние, облегчая операцию открытия или закрытия композитной муфты.

В одном воплощении основной корпус открывающего инструмента содержит сквозную полую структуру с различными размерами поперечных сечений, где нижняя часть сквозной полой структуры, имеющая большее поперечное сечение, выполнена с механизмом, работающим на давлении, направленном наружу, который не может высвободиться из нижней части сквозной полой структуры, в частности, не может выйти в верхнюю часть сквозной полой структуры, имеющую меньшее поперечное сечение.

В предпочтительном воплощении механизм, работающий на давлении, направленном наружу, содержит обойму и сферическое тело, расположенное внутри обоймы, где обойма содержит открытый нижний конец, закрытый верхний конец с улавливающей рукоятью на наружной ее стороне и канал для жидкости на окружности стенки обоймы, сферическое тело должно иметь возможность двигаться внутри обоймы без блокирования канала для жидкости на окружности стенки обоймы, когда оно находится у верхнего или нижнего ее конца.

Блокирующая функция шарика по отношению к сквозной полой структуре дает возможность открывающему инструменту сквозной полой структуры создавать давление в стволе скважины. Так как обойма может просто двигаться в нижней части сквозной полой структуры с большим поперечным сечением, открывающий инструмент может быть выловлен из композитной муфты с помощью улавливающей рукояти, расположенной с наружной стороны закрытого верхнего конца обоймы.

В предпочтительном воплощении канал для жидкости на окружности стенки обоймы имеет суммарную площадь не меньше, чем площадь отверстия на нижнем конце обоймы, которая облегчает движение потока жидкости.

В одном воплощении узел муфты гидроразрыва содержит также цилиндрический улавливающий инструмент, который может быть вставлен в открывающий инструмент и проходить через полую структуру. Один конец цилиндрического улавливающего инструмента снабжен ловильной головкой с тем, чтобы соединяться с улавливающей рукоятью, расположенной на обойме, так что открывающий инструмент может быть выловлен путем поднятия обоймы, что облегчает работу по вылавливанию.

В одном воплощении нижняя часть основного корпуса открывающего инструмента снабжена также направляющим механизмом, который расширяется книзу, где направляющий механизм содержит полую структуру, сообщающуюся с основным корпусом. После того как открывающий инструмент сцепится с внутренней трубой композитной муфты, направляющий механизм дает возможность открывающему инструменту и внутренней трубе композитной муфты перемещаться под действием давления более стабильно.

Первый аспект настоящего изобретения относится также к способу использования устройства на основе муфты гидроразрыва согласно первому аспекту настоящего изобретения, способ включает:

Шаг I: установка открывающего механизма, работающего на перепаде давления, на самый нижний конец обсадной трубы или колонны труб и затем последовательное монтирование композитных муфт в каждом из узлов для гидроразрыва;

Шаг II: подача давления в ствол скважины для открывания открывающего механизма, работающего на перепаде давления, находящегося на самом нижнем конце, и установка сообщающего канала между обсадной трубой или колонной труб и разрываемым слоем; и

Шаг III: последовательное опускание открывающих инструментов для открытия композитных муфт снизу доверху для проведения поэтапного гидроразрыва.

В одном воплощении добавлен еще один шаг - Шаг IV: извлечение открывающего инструмента через улавливающую структуру на открывающем инструменте для восстановления канала в обсадной трубе или колонне труб. В другом воплощении, когда необходимо закрыть некоторый определенный канал для гидроразрыва, опускают первый закрывающий инструмент соответствующей композитной муфты, соответствующей данному каналу для гидроразрыва, с тем, чтобы перекрыть этот канал для гидроразрыва.

Так как открывающий инструмент, первый закрывающий инструмент и композитная муфта могут просто, сами по себе, обеспечить уникальное сцепление, каждый раз при вбрасывании открывающего инструмента может открываться только соответствующая композитная муфта для создания соответствующего канала для гидроразрыва. В то же время, каждый первый закрывающий инструмент может закрывать только один соответствующий канал для гидроразрыва. Поэтому любая композитная муфта в вертикальной или горизонтальной скважине может быть открыта или закрыта, обеспечивая тем самым поэтапный гидроразрыв.

Согласно второму аспекту настоящего изобретения, предлагается узел муфты гидроразрыва, содержащий

композитную муфту, имеющую неподвижную наружную трубу и внутреннюю трубу, соединенную с внутренней стенкой наружной трубы через срезаемый штифт, где наружная труба снабжена пескоструйным отверстием и внутренняя стенка внутренней трубы снабжена первым зубообразным элементом;

открывающий инструмент, имеющий полый основной корпус в виде трубы, второй зубообразный элемент, расположенный на основном корпусе, третий зубообразный элемент, расположенный на внутренней стенке основного корпуса, и первый пружинный механизм, размещенный между основным корпусом и вторым зубообразным элементом, где открывающий инструмент может вводиться во внутреннюю трубу, а второй зубообразный элемент может перемещаться в радиальном направлении наружу под действием первого пружинного механизма так, чтобы сцепиться с первым зубообразным элементом; и

запускающий инструмент с центральным корпусом, четверым зубообразым элементом, расположенным на наружной стенке центрального корпуса, и вторым пружинным механизмом, расположенным между центральным корпусом и четвертым зубообразным элементом, где запускающий инструмент может быть вставлен в открывающий инструмент так, чтобы перекрыть ствол скважины, и четвертый зубообразный элемент может перемещаться в радиальном направлении наружу под действием второго пружинного механизма так, чтобы сцепиться с третьим зубообразным элементом,

где в начальном состоянии узла муфты гидроразрыва пескоструйное отверстие заблокировано внутренней трубой; при последовательном опускании открывающего инструмента и запускающего инструмента внутренняя труба сцепляется с открывающим инструментом через первый и второй зубообразные элементы, и открывающий инструмент сцепляется с запускающим инструментом через третий и четвертый зубообразные элементы; и когда давление внутри обсадной колонны достигнет заранее определенного значения, срезаемый штифт срезается и запускающий инструмент вместе с открывающим инструментом приводит в движение внутреннюю трубу, перемещая ее вниз и открывая пескоструйное отверстие, в результате что устанавливается канал для гидроразрыва.

В одном воплощении для закрывания композитной муфты дополнительно добавлен второй закрывающий инструмент, содержащий центральную тягу, и шестой зубообразный элемент, соединенный с центральной тягой, где второй закрывающий элемент может быть вставлен во внутреннюю трубу или полый корпус открывающего инструмента так, что шестой зубообразный элемент может сцепляться с первым зубообразным элементом внутренней трубы или третьим зубообразным элементом открывающего инструмента, посредством чего внутренняя труба может быть сдвинута вверх путем подъема второго закрывающего инструмента, возвращая пескоструйное отверстие в заблокированное состояние, чтобы закрыть канал гидроразрыва.

В одном воплощении соответствующие соприкасающиеся поверхности внутренней трубы и наружной трубы композитной муфты снабжены канавкой выбора положения и элементом выбора положения, и их устанавливают в разные положения, когда узел муфты гидроразрыва находится в открытом состоянии и когда канал для гидроразрыва закрыт. То, что канавку для выбора положения и элемент выбора положения устанавливают в разные положения в разных состояниях узла гидроразрыва, может помочь избежать действия текучей среды и предотвратить композиционную муфту от несанкционированного перехода в закрытое состояние после того, как будет удален открывающий инструмент.

В одном воплощении соприкасающиеся поверхности наружной трубы и внутренней трубы композитной муфты снабжены соответствующими механизмами позиционирования, которые могут входить в сцепление друг с другом так, чтобы обеспечить такое сцепление внутренней трубы с наружной трубой, чтобы пескоструйное отверстие было заблокировано и, следовательно, канал гидроразрыва был бы закрыт.Механизмы позиционирования могут обеспечить отделение внешней трубы композитной муфты от ее внутренней трубы только тогда, когда в нее введены открывающий инструмент и запускающий инструмент и подано давление, а также возможность нового сцепления наружной трубы композитной муфты с ее внутренней трубой для закрытия канала гидроразрыва, когда внутреннюю трубу поднимают вверх с помощью второго закрывающего инструмента.

Согласно второму аспекту настоящего изобретения, предлагается также устройство на основе муфты гидроразрыва, содержащее множество узлов муфт гидроразрыва по второму аспекту настоящего изобретения. Второй и третий зубообразные элементы каждого открывающего инструмента соответственно сконфигурированы отличающимися от второго и третьего зубообразного элемента любого другого открывающего инструмента, так что открывающий инструмент может сцепляться только с внутренней трубой и запускающим инструментом в узле для гидроразрыва, относящемся к указанному открывающему инструменту. Шестой зубообразный элемент каждого второго закрывающего инструмента сконфигурирован отличающимся от шестого зубообразного элемента любого другого второго закрывающего инструмента, так что каждый второй закрывающий инструмент может сцепляться только с первым зубообразным элементом внутренней трубы или с третьим зубообразным элементом открывающего инструмента в узле для гидроразрыва, относящемся к указанному второму закрывающему инструменту.

Такая конфигурация дает возможность второму зубообразному элементу открывающего инструмента и четвертому зубообразному элементу запускающего инструмента, относящемуся к определенному узлу для гидроразрыва, сцепляться соответственно только с первым зубообразным элементом композитной муфты и третьим зубообразным элементом открывающего инструмента указанного узла для гидроразрыва. Благодаря отличиям зубообразных элементов, даже в том случае, когда опускают открывающий инструмент или запускающий инструмент, проходя через другие узлы гидроразрыва, второй зубообразный элемент открывающего инструмента или четвертый зубообразный элемент запускающего инструмента не могут двигаться в радиальном направлении наружу, чтобы выполнить сцепление. Поэтому в устройстве согласно второму аспекту настоящего изобретения, когда опускают определенный открывающий инструмент и запускающий инструмент, может быть открыта только соответствующая композитная муфта, и когда опускают определенный второй закрывающий инструмент, то может быть закрыта только соответствующая композитная муфта. То есть, устройство на основе муфты гидроразрыва по настоящему изобретению может избирательно открывать и/или закрывать определенную композитную муфту, как этого требует технология выполнения работ.

В одном воплощении все композитные муфты имеют одинаковый внутренний диаметр, который допускает возможность иметь неограниченное число композитных муфт для неограниченного числа поэтапных гидроразрывов.

В одном воплощении каждый зубообразный элемент может сцепляться с одним единственным, ему соответствующим зубообразным элементом благодаря уникальным параметрам его контура и/или обустроенной на нем направляющей структуры. В предпочтительном воплощении параметрами контура являются один или более из параметров, выбранных из группы, состоящей из числа зубьев, профиля зуба и расстояния между зубьями.

В одном воплощении шестой зубообразный элемент второго закрывающего инструмента выполнен на наружной стенке соответствующей центральной тяги с пятым пружинным механизмом, расположенным между центральной тягой второго закрывающего элемента и шестым зубообразным элементом, где шестой зубообразный элемент может двигаться в радиальном направлении наружу под действием пятого пружинного механизма с тем, чтобы войти в сцепление с первым зубообразным элементом внутренней трубы и третьим зубообразным элементом открывающего инструмента.

В одном воплощении каждый из пружинных механизмов согласно второму аспекту настоящего изобретения содержит упругий элемент, который может развивать силу, радиально направленную наружу, и упор для ограничения хода соответствующего зубообразного элемента, который может двигаться в радиальном направлении наружу.

Упругие элементы такого вида дают возможность зубообразному элементу автоматически выходить наружу при ударе об обладающий возможностью прийти в зацепление зубообразный элемент и сцепиться с таким же элементом, в результате чего в скважине происходит автоматическое сцепление между ними и между внутренней трубой композитной муфты, открывающим инструментом, запускающим инструментом и вторым закрывающим инструментом. Упор для ограничения хода зубообразного элемента при его движении наружу может не только обеспечивать сцепление между соответствующими зубообразными элементами, но также предотвращает расцепление зубообразного элемента от компонент, с которым зубообразный элемент уже соединен, такими как сквозной основной корпус открывающего инструмента, центральный корпус запускающего инструмента и центральная тяга второго закрывающего инструмента.

В одном воплощении шестой зубообразный элемент второго закрывающего инструмента представляет собой пластинчато-пружинный элемент, нижний по течению конец которого соединен с соответствующей центральной тягой, а его верхний по течению конец отделен от соответствующей центральной тяги. Второй закрывающий инструмент шестого зубообразного элемента в виде пластинчато-пружинного элемента облегчает изготовление и использование второго закрывающего инструмента.

В одном воплощении каждый из зубообразньгх элементов снабжен наклонной направляющей структурой на его верхнем конце и на нижнем конце для направляемого зацепления или расцепления соответствующего зубообразного элемента. Эта наклонная направляющая структура позволяет выполнить зацепление или расцепление соответствующего зубообразного элемента, чтобы войти в "зажатое" или "разжатое" состояние, облегчая операцию открытия или закрытия композитной муфты.

В одном воплощении основной корпус запускающего инструмента содержит сквозную полую структуру с различными размерами поперечного сечения, где нижняя часть сквозной полой структуры, имеющая большее поперечное сечение, выполнена с механизмом, работающим на давлении, направленном наружу, который не может высвободиться из нижней части сквозной полой структуры, в частности, не может выйти в верхнюю часть сквозной полой структуры, имеющую меньшее поперечное сечение.

В предпочтительном воплощении механизм, работающий на давлении, направленном наружу, содержит обойму и сферическое тело внутри обоймы, где обойма включает закрытый верхний конец и открытый нижний конец и канал для жидкости на окружности стенки обоймы, сферическое тело должно иметь возможность двигаться внутри обоймы без блокирования канала для жидкости на окружности стенки обоймы, когда оно находится у его верхнего или нижнего конца.

Блокирующая функция шарика по отношению к сквозной полой структуре дает возможность запускающему инструменту подавать давление в ствол скважины. Более важным является то, что когда устройство на основе муфты гидроразрыва используется в газовой скважине, нет необходимости извлекать запускающий инструмент, так как газ в скважине будет обдувать сферическое тело, выбрасывая его наружу через канал для жидкости, что облегчает обслуживание. В предпочтительном воплощении канал для жидкости на окружности стенки обоймы имеет общую площадь не меньше, чем площадь отверстия на нижнем конце обоймы, что облегчает истечение жидкости.

В одном воплощении открывающие инструменты узлов гидроразрыва соединяются друг с другом, формируя колонну открывающих инструментов посредством механизма сцепления, который содержит срезаемый штифт и возвращающийся штифт. Когда запускающий инструмент соединен с соответствующим открывающим инструментом, запускающий инструмент вызовет отвод возвращающегося штифта в сторону и срезает срезаемый штифт, вследствие чего соответствующий открывающий инструмент будет расцеплен.

Второй аспект настоящего изобретения относится также к способу использования муфты гидроразрыва согласно второму аспекту настоящего изобретения, включающего:

Шаг I установка открывающего механизма, работающего на перепаде давления, на самый нижний конец обсадной трубы или колонны труб и затем последовательное монтирование композитных муфт в каждом из узлов для гидроразрыва;

Шаг II сцепление открывающих инструментов каждого узла для гидроразрыва, чтобы сформировать последовательность открывающих инструментов и их опускание в композитную муфту;

Шаг III подача давления в ствол скважины для открывания открывающего механизма, работающего на перепаде давления, на самом нижнем конце обсадной трубы и установка сообщающего канала между обсадной трубой или колонной труб и разрываемым слоем; и

Шаг IV последовательное опускание открывающих инструментов для открывания композитных муфт снизу доверху для проведения поэтапного гидроразрыва.

В одном воплощении добавлен еще один шаг - Шаг V: извлечение открывающего инструмента и запускающего инструмента с помощью улавливающей структуры на открывающем инструменте или попросту извлечение запускающего инструмента с помощью улавливающей структуры на запускающем инструменте для восстановления канала в муфте или в колонне труб. В другом воплощении, когда необходимо закрыть определенный канал для гидроразрыва, опускают второй закрывающий инструмент соответствующей композитной муфты, соответствующей данному каналу для гидроразрыва, чтобы перекрыть этот канал для гидроразрыва.

Так как открывающий инструмент, запускающий инструмент, второй закрывающий инструмент и композитная муфта могут просто, сами по себе, обеспечить уникальное соединение, каждый раз при вбрасывании запускающего инструмента из последовательности открывающих инструментов будет выбран только соответствующий открывающий инструмент, так что указанный открывающий инструмент может быть опущен в соответствующую позицию с тем, чтобы открыть соответствующую муфту и создать канал для гидроразрыва. В то же время, каждый второй закрывающий инструмент может закрывать только одну соответствующую композитную муфту. Поэтому любая композитная муфта в горизонтальной или вертикальной скважине может быть открыта или закрыта, обеспечивая тем самым поэтапный гидроразрыв.

По сравнению с известными решениями, настоящее изобретение имеет преимущества в том, что в устройстве на основе муфты гидроразрыва по первому или второму аспекту настоящего изобретения композитная муфта может быть открыта или закрыта в любой установленной позиции путем уникального, однозначно определенного сцепления между зубообразными элементам. В частности, когда возникает необходимость открыть определенную композитную муфту, необходимо лишь ввести соответствующий открывающий инструмент или комбинацию открывающего инструмента и запускающего инструмента для открытия указанной композитной муфты. С другой стороны, когда определенную муфту или канал гидроразрыва необходимо закрыть, требуется лишь ввести соответствующий первый или второй закрывающий инструмент для закрывания данной муфты или канала гидроразрыва без оказания воздействия на любую другую композитную муфту или канал гидроразрыва. Зубообразные элементы автоматически сцепятся или расцепятся с другими элементами, находящимися в скважине, за счет их упругой работы так, чтобы осуществить сцепление или расцепления между собой и между композитной муфтой, открывающим инструментом, первым или вторым закрывающим инструментом и запускающим инструментом согласно второму аспекту настоящего изобретения, облегчая тем самым работы по обслуживанию. Так как все композитные муфты имеют одинаковый внутренний диаметр, число композитных муфт по настоящему изобретению не ограничено, что позволяет осуществлять неограниченное количество поэтапных гидроразрывов. Когда открывающий инструмент извлекают, канал в обсадной трубе или колонне труб может быть весь свободен, таким образом преодолевается недостаток, имеющийся в принятых в настоящее время способах гидроразрыва, где выход продукции и такие работы, как каротаж, будут зависеть от удержания запускающего шарика в обсадной трубе или в колонне труб. Кроме того, узел муфты гидроразрыва, устройство и способ его использования по первому или второму аспекту настоящего изобретения могут быть применены не только в операциях гидроразрыва в горизонтальной нефтяной скважине, но также и в случае разрыва пластов, где в определенных позициях требуется иметь открывающие и закрывающие муфты.

КРАТКОЕ ОПИСАНИЕ РИСУНКОВ

Далее настоящее изобретение будет описываться подробно со ссылкой на воплощения и прилагаемые рисунки, где

Фиг. 1а представляет собой композитную муфту узла муфты гидроразрыва по первому аспекту настоящего изобретения;

Фиг. 1б представляет собой схематическое изображение, показывающее канавку выбора положения во внутренней трубе композитной муфты, показанной на Фиг. 1а;

Фиг. 2а, 2б и 2в представляют собой схематические изображения открывающего инструмента узла муфты гидроразрыва по первому аспекту настоящего изобретения;

Фиг. 3 представляет собой вид сверху открывающего инструмента узла муфты гидроразрыва, показанного на Фиг. 2в.

Фиг. 4а и 4б представляют собой схематическое изображение первого закрывающего инструмента узла муфты гидроразрыва по первому аспекту настоящего изобретения;

Фиг. 5 представляет собой схематическое изображение направляющей структуры зубообразного элемента по первому аспекту настоящего изобретения;

Фиг. 6а - Фиг. 6в представляют собой схематические изображения, показывающие принцип уникального сцепления между зубообразными элементами по первому аспекту настоящего изобретения;

Фиг. 7 представляет собой схематическое изображение улавливающего инструмента узла муфты гидроразрыва по первому аспекту настоящего изобретения;

Фиг. 8 представляет собой схематическое изображение, показывающее позиционное взаимоотношение между композитной муфтой по первому аспекту настоящего изобретения и открывающим инструментом, показанным на Фиг. 2а;

Фиг. 9 представляет собой схематическое изображение, показывающее позиционное взаимоотношение между композитной муфтой по первому аспекту настоящего изобретения и открывающим инструментом, показанным на Фиг. 2б;

Фиг. 10 представляет собой схематическое изображение, показывающее позиционное взаимоотношение между композитной муфтой по первому аспекту настоящего изобретения, и открывающим инструментом, и вылавливающим инструментом, показанными на Фиг. 2б; и

Фиг. 11 представляет собой схематическое изображение, показывающее позиционное взаимоотношение между композитной муфтой и первым закрывающим инструментом по первому аспекту настоящего изобретения;

Фиг. 12а представляет собой схематическое изображение композитной муфты узла муфты гидроразрыва по второму аспекту настоящего изобретения;

Фиг. 12б представляет собой схематическое изображение канавки выбора позиции на внутренней трубе композитной муфты согласно Фиг. 12а;

Фиг. 13 представляет собой схематическое изображение, показывающее открывающий инструмент узла муфты гидроразрыва по второму аспекту настоящего изобретения;

Фиг. 14 представляет собой схематическое изображение, показывающее запускающий инструмент узла муфты гидроразрыва по второму аспекту настоящего изобретения;

Фиг. 15а и Фиг. 15б представляют собой схематические изображения второго закрывающего инструмента узла муфты гидроразрыва по второму аспекту настоящего изобретения;

Фиг. 16 представляет собой схематическое изображение направляющей структуры зубообразного элемента по второму аспекту настоящего изобретения;

Фиг. 17а - Фиг. 17в представляют собой схематические изображения, показывающие принцип уникального сцепления между зубообразными элементами по второму аспекту настоящего изобретения;

Фиг. 18 представляет собой схематическое изображение открывающего инструмента узла муфты гидроразрыва по второму аспекту настоящего изобретения;

Фиг. 19 представляет собой увеличенное изображение участка I на Фиг. 18; и

Фиг. 20 представляет собой схематическое изображение позиционного взаимоотношения композитной муфты, открывающего инструмента и запускающего инструмента по второму аспекту настоящего изобретения.

В этих чертежах одни и те же компоненты обозначены одними и теми же номерами. Чертежи не соответствуют реальному масштабу.

ПОДРОБНОЕ ОПИСАНИЕ ВОПЛОЩЕНИЙ

Первый аспект настоящего изобретения далее будет описан детально со ссылкой на Фиг. 1а - Фиг. 11.

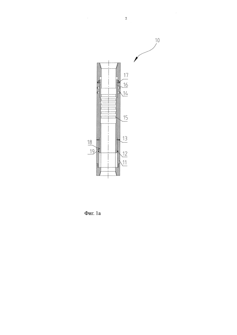
На Фиг. 1а показана композитная муфта 10 узла муфты гидроразрыва по первому аспекту настоящего изобретения, содержащая неподвижную наружную трубу 11 и внутреннюю трубу 12, соединенную с внутренней стенкой наружной трубы 11 с помощью срезаемого штифта 13, где наружная труба 11 снабжена пескоструйным отверстием 14 и внутренняя стенка внутренней трубы 12 снабжена первым зубообразным элементом 15. В этом воплощении, показанном на Фиг. 1а, первый зубообразный элемент 15 и внутренняя труба 12 образуют неразъемную часть. В одном воплощении соприкасающиеся поверхности наружной трубы 11 и внутренней трубы 12 снабжены позиционирующей канавкой 16 и позиционирующим элементом 17. Позиционирующая канавка 16 и позиционирующий элемент 17 сконфигурированы так, что в начальном состоянии, как показано на Фиг. 1а, они не находятся в зацеплении друг с другом, но сцепляются друг с другом только при закрытии канала гидроразрыва, обеспечивая таким образом такое сцепление наружной трубы 11 и внутренней трубы 12 друг с другом, чтобы обеспечить возможность закрытия канала для гидроразрыва. В одном воплощении позиционирующий элемент 17 и позиционирующая канавка 16, например, могут быть выполнены соответственно в виде подпружиненной шпильки и канавки для шпильки. В другом воплощении соприкасающиеся поверхности наружной трубы 11 и внутренней трубы 12 дополнительно снабжены канавкой выбора положения 19 и элементом выбора положения 18. Канавка выбора положения 19 содержит первую часть L1 и третью часть L3, которые радиально разнесены друг от друга и проходят вдоль осевого направления композитной муфты 10, где третья часть L3 длиннее первой части L1 и верхний по течению конец третьей части L3 выровнен с верхним по течению концом первой части L1. Вторая часть L2 соединяет концы первой части L1 и третьей части L3, которые выровнены друг с другом, формируя канавку выбора положения 19, как показано на Фиг. 16. При открывании или закрывании композитной муфты элемент выбора положения 18 может двигаться вдоль канавки выбора положения 19, как показано на Фиг. 16.

На Фиг. 2а показано первое воплощение открывающего инструмента 20 узла муфты гидроразрыва по первому аспекту настоящего изобретения, включающее основной корпус 21 и второй зубообразный элемент 22, присоединенный к наружной стенке главного корпуса 21 с помощью третьего пружинного механизма, который может приводить в движение второй зубообразный элемент 22 в радиальном направлении наружу. В одном воплощении, как показано на Фиг.2, третий пружинный механизм содержит пружину 24 для приведения в движение второго зубообразного элемента 22, вызывая его перемещение в наружную сторону, и ограничивающий винт 25 для ограничения хода второго зубообразного элемента 22, который может двигаться в радиальном направлении наружу. Ограничивающий винт 25 используется не только для ограничения хода второго зубообразного элемента, который может двигаться в направлении наружу, но и для того, чтобы обеспечить нахождение второго зубообразного элемента 22 в состоянии постоянного сцепления с основным корпусом 21. Предпочтительно, чтобы два конца третьего пружинного механизма у второго зубообразного элемента 22 оба были снабжены пружиной 24 и ограничивающим винтом 25. В другом воплощении, по усмотрению, сочленение между вторым зубообразным элементом 22 и основным корпусом 21 выполняют в виде структуры 26 из объединенных друг с другом выступов и прорезей. Предпочтительно, чтобы, когда второй зубообразный элемент 22 движется в направлении наружу, зацепление, обусловленное этой структурой выступов и прорезей между вторым зубообразным элементом 22 и основным корпусом 21, некоторое время еще сохранялось, улучшая таким образом силу сцепления между вторым зубообразным элементом 22 и основным корпусом 21.

В начальном состоянии узла муфты гидроразрыва внутренняя труба 12 и наружная труба 11 композитной муфты 10 соединены друг с другом через срезаемый штифт 13, и канавка выбора положения 19 и элемент выбора положения 18 соединены, находясь в положении D1 канавки выбора положения 19. В это время внутренняя труба 12 полностью закрывает пескоструйное отверстие 14, а канавка позиционирования 16 находится ниже позиционирующего элемента 17, и они не находятся в сцеплении друг с другом, как показано на Фиг. 1а. Когда опускают открывающий инструмент 20, показанный на Фиг. 2а, внутренняя труба 12 композитной муфты 10 и открывающий инструмент 20 сцепляются через первый зубообразный элемент 15 и второй зубообразный элемент 22, как показано на Фиг. 8. Когда давление внутри обсадной трубы или в колонне труб достигнет заранее заданного значения, срезаемый штифт 13 срезается и открывающий инструмент 20 двигает внутреннюю трубу 12 вниз, открывая пескоструйное отверстие 14, в результате чего устанавливается канал для гидроразрыва. В это время канавка выбора положения 19 и элемент выбора положения 18 находятся в состоянии сцепления в положении D2 канавки выбора положения 19.

На Фиг. 2б показано второе воплощение открывающего инструмента 20′ узла муфты гидроразрыва по первому аспекту настоящего изобретения. Открывающий инструмент 20′ содержит все компоненты, показанные на Фиг. 2а, и дополнительно содержит направляющий механизм 30. После того как открывающий инструмент и внутренняя труба композитной муфты придут в зацепление при приложении давления, направляющий механизм 30 дает возможность открывающему инструменту и внутренней трубе композитной муфты двигаться более стабильно. В предпочтительном воплощении поверхности направляющего механизма 30, контактирующие с внутренней трубой 12 и наружной трубой 11 композитной муфты 10, снабжены уплотняющими элементами, они обозначены номерами 31 и 32 на Фиг. 2б и Фиг.9, чтобы предотвратить утечку находящейся под давлением жидкости, улучшая таким образом эффективность эксплуатации.

На Фиг. 2в показано третье воплощение открывающего инструмента 20″ узла муфты гидроразрыва по первому аспекту настоящего изобретения. Это воплощение отличается от воплощения на Фиг. 2а и Фиг. 2б только тем, что к верхнему концу основного корпуса 21″ с помощью упругих элементов 35, таких как пластинчато-пружинные элементы, присоединено множество вторых зубообразных элементов 22″. Один конец этих упругих элементов 35, соединяющийся с основным корпусом 21″, имеет меньший диаметр, чем другой их конец, соединяющийся со вторым зубообразным элементом 22″. Фиг. 3 представляет собой вид сверху открывающего инструмента 20″, показанного на Фиг. 2в. Из Фиг. 3 видно, что открывающий инструмент 20″ содержит множество вторых зубообразных элементов 22″, формирующих цилиндр, что облегчает изготовление открывающего инструмента 20″.

В одном воплощении открывающий инструмент 20 имеет сквозную полую структуру с различными размерами поперечного сечения. Как показано на Фиг. 2 - Фиг. 2с, сквозная полая структура открывающего инструмента 20 содержит, например, две части, то есть нижнюю часть 33 большего размера и верхнюю часть 34 меньшего размера. Размер отверстия нижней части 33 постепенно уменьшается в направлении вниз по течению, то есть оно имеет вид конуса с меньшим концом, обращенным в направлении вниз по течению. Благодаря такой конфигурации, механизм, работающий на давлении, направленном наружу, расположенный в нижней части 33, не может высвободиться из него.

Как видно из Фиг. 2а - Фиг. 2в, механизм, работающий на давлении, направленном наружу, содержит обойму 27 и сферическое тело 29, размещенное внутри обоймы 27. Обойма 27 содержит открытый нижний конец и закрытый верхний конец с улавливающей рукоятью 23 на наружной ее стороне и канал для жидкости 28 на окружности стенки обоймы 27. В одном воплощении обойма 27 имеет наружный диаметр больший, чем верхняя часть 34 сквозной полой структуры, а также больший, чем отверстие нижней части 33. Поэтому обойма 27 не высвобождается из нижней части 33. В одном частном воплощении нижнее отверстие образует коническую структуру, которая сопрягается с коническим отверстием нижней части 33 сквозной полой структуры, так что обойма 27 не высвобождается из нижней части 33. Сферическое тело 29 имеет диаметр больший, чем нижнее отверстие обоймы 27, поэтому сферическое тело 29 не высвобождается из обоймы 27 и будет перекрывать обсадную колонну, создавая давление, направленное наружу, когда к колонне приложено давление. Предпочтительно, чтобы во время нахождения сферического тела 29 на верхнем и нижнем концах обоймы 27 сферическое тело 29 не закрывало канал для жидкости 28 на окружности стенки обоймы 27. В предпочтительном воплощении площадь отверстия на нижнем конце обоймы 27 меньше или равна суммарной площади канала для жидкости 28 на окружности стенки обоймы 27.

На фиг. 4а схематически показано первое воплощение первого закрывающего инструмента 40 узла муфты гидроразрыва по первому аспекту настоящего изобретения. Первый закрывающий инструмент 40 содержит центральную тягу 41, пятый зубообразный элемент 42, расположенный на наружной стенке центральной тяги 41, и четвертый пружинный механизм, расположенный между центральной тягой 41 и пятым зубообразным элементом 42. Четвертый пружинный механизм идентичен третьему пружинному механизму открывающего инструмента 20, показанного на Фиг. 2а, и поэтому не будет повторно здесь описываться для упрощения изложения. Как и в открывающем инструменте 20, он снабжен также находящейся между пятым зубообразным элементом 42 первого закрывающего инструмента 40 и центральной тягой 41 структурой с выступами и прорезями, соединенными друг с другом. Эта структура выполняет ту же функцию, что и выступы и прорези открывающего инструмента 20, и поэтому для упрощения также не будет здесь описываться повторно. Под действием упругой силы пятый зубообразный элемент 42 может автоматически сцепляться с внутренней трубой 12 соответствующей композитной муфты 10, что облегчает последующее закрывание канала гидроразрыва.

На фиг 46 схематически показано второе воплощение первого закрывающего инструмента 40′ узла муфты гидроразрыва по первому аспекту настоящего изобретения. Первый закрывающий инструмент 40′ содержит центральную тягу 41′ и пятый зубообразный элемент 42′ в виде пластинчато-пружинного элемента, где пятый зубообразный элемент 42′ соединяется с центральной тягой 41′ только на нижнем ее конце, а его верхний конец находится на определенном расстоянии от центральной тяги 41′. При работе пятый зубообразный элемент 42′, в результате его упругого действия, может автоматически сцепляться с внутренней трубой 12 композитной муфты, что облегчает последующее закрывание канала гидроразрыва.

Фиг. 7 представляет собой схематическое изображение улавливающего инструмента 70 по первому аспекту настоящего изобретения, который может быть введен в сквозную полую структуру упомянутого выше открывающего инструмента.

Нижний конец улавливающего инструмента 70 снабжен улавливающей головкой 73, такой как пружинное кольцо, чтобы захватить улавливающую рукоять 23 на обойме 27 открывающего инструмента 20, зацепление которой схематически показано на Фиг.10. Верхний конец 72 улавливающего инструмента 70 может быть подсоединен к колонне труб (не показана) для того, чтобы вытащить колонну труб, привести в действие улавливающий инструмент и извлечь открывающий инструмент из композитной муфты.

Далее процесс закрывания канала гидроразрыва будет проиллюстрирован со ссылкой на первый закрывающий инструмент 40′, показанный на Фиг. 4б. Сначала первый улавливающий инструмент 70 опускают для улавливания открывающего инструмента 20 из композитной муфты 10. Затем в муфту опускают соответствующий первый закрывающий элемент 40′, и пятый зубообразный элемент 42′ сцепляется с первым зубообразным элементом 15 внутренней трубы 12 композитной муфты 10, как показано на Фиг. 11. После этого первый закрывающий инструмент 40′ поворачивают, чтобы привести во вращение внутреннюю трубу 12, до тех пор, пока канавка выбора положения 19 не сцепится с элементом выбора положения 18 в положении D3. Центральную тягу 41′ первого закрывающего инструмента 40′ поднимают, вследствие чего позиционирующая канавка 16 и позиционирующий элемент 17 будут сцеплены друг с другом, когда канавка выбора положения 19 сцепляется с элементом выбора положения 18 в положении D3. Центральную тягу 41′ первого закрывающего инструмента 40′ поднимают, вследствие чего позиционирующая канавка 16 и позиционирующий элемент 17 будут сцеплены друг с другом, когда канавка выбора положения 19 сцепляется с элементом выбора положения 18 в положения D4. В это время пескоструйное отверстие 14 закрыто внутренней трубой 12 так, что композитная муфта 10 и канал гидроразрыва могут быть закрыты. В этом случае устраняется возможность несанкционированного закрытия композитной муфты 10 после удаления открывающего инструмента.

В предпочтительном воплощении каждый из зубообразных элементов по первому аспекту настоящего изобретения имеет наклонную направляющую структуру или скользящую направляющую структуру на их концах, как схематически показано на Фиг. 5 позицией с номером 51. Эти направляющие структуры могут способствовать одному зубообразному элементу быть "вжатым в" и/или "выжатым из" другого зубообразного элемента, сцепленного с упомянутым зубообразным элементом, облегчая операции по обслуживанию.

Устройство на основе муфты гидроразрыва по первому аспекту настоящего изобретения содержит множество узлов муфт гидроразрыва по первому аспекту настоящего изобретения. Каждая композитная муфта сконфигурирована так, что ее первый зубообразный элемент отличается от первого зубообразного элемента любой другой композитной муфты, так что каждая композитная муфта может входить в зацепление только с единственным открывающим инструментом, т.е. с открывающим инструментом в узле муфты, относящемся к указанной композитной муфте, и что каждая композитная муфта может входить в сцепление с единственным первым закрывающим инструментом, т.е. с первым закрывающим инструментом в узле муфты, относящемся к указанной композитной муфте.

Перед вводом открывающего инструмента, показанного на Фиг. 2а и Фиг. 2б, второй зубообразный элемент открывающего инструмента выступает из основного корпуса под действием пружины и ограничивающего винта третьего пружинного механизма. При введении открывающего инструмента второй зубообразный элемент не будет выталкиваться наружу из-за сжимающего действия внутренних труб других композитных муфт, прежде чем он не придет в зацепление с первым зубообразным элементом узла муфты, относящегося к указанному второму зубообразному элементу. Второй зубообразный элемент не выдвинется из основного корпуса открывающего инструмента под действием пружины для того, чтобы сцепиться с первым зубообразным элементом узла муфты, до тех пор, пока указанный открывающий элемент не достигнет первого зубообразного элемента узла муфты, относящегося к указанному открывающему инструменту.

До введения открывающего инструмента 20″ в композитную муфту вторые зубообразные элементы 22″ находятся на расстоянии друг от друга, поэтому открывающий инструмент 20″ в целом имеет форму раструба, выходное отверстие которого, образованное вторыми зубообразными элементами 22″, имеет диаметр больший, чем диаметр внутренней трубы композитной муфты. Когда открывающий инструмент 20″ опускают вниз перед тем, как открывающий инструмент 20″ сцепится с первым зубообразным элементом узла муфты, относящегося к указанному открывающему инструменту 20″, вторые зубообразные элементы 22″ будут сжаты другими композитными муфтами. Когда открывающий инструмент 20″ достигнет относящейся к нему композитной муфты, вторые зубообразные элементы 22″ автоматически раздвинутся и сцепятся таким образом с внутренней трубой указанной композитной муфты по действием упругой силы со стороны упругих элементов 35, вследствие чего открывающий инструмент 20″ сцепится с композитной муфтой. Легко видеть, что пятый зубообразный элемент первого закрывающего инструмента сцепляется с первым зубообразным элементом композитной муфты таким же образом, выполняя операцию по принципу "открывания разных замков разными ключами".

Фиг. 6а - Фиг. 6в схематически иллюстрируют, как каждый зубообразный элемент сцепляется с соответствующим уникальным зубообразным элементом. Каждый зубообразный элемент сцепляется с соответствующим уникальным зубообразным элементом благодаря уникальным параметрам его контура, которые, например, могут быть одним или более из параметров, выбранных из группы, состоящей из профиля зуба, как показано на Фиг. 6а, расстояния между зубьями, как показано на Фиг. 6б, и количества зубьев, как показано на Фиг. 6с. Предпочтительно, чтобы направляющая структура 51 на каждом зубообразном элементе была сконфигурирована так, чтобы быть единственно возможной сцепляющейся с соответствующей единственной структурой 52, в результате чего каждый зубообразный элемент может прийти в сцепление с одним единственным, ему соответствующим зубообразным элементом, как схематически показано на Фиг. 5. Легко видеть, что параметры контура зубообразного элемента могут быть использованы в сочетании с направляющей структурой. Предпочтительно, чтобы боковая поверхность и нижняя поверхность по крайней мере одного зуба и/или впадина между зубьями зубообразного элемента образовывали угол в 90 градусов или менее 90 градусов, т.е.формировали прямоугольный зуб или наклонный зуб так, чтобы зубообразные элементы могли сцепляться прочно, не отделяясь друг от друга под действием избыточных нагрузок.

Согласно первому аспекту настоящего изобретения, параметры контура одного зубообразного элемента и/или его направляющей структуры должны быть сконфигурированы так, чтобы обеспечить возможность для зубообразного элемента распознать единственный уникальный зубообразный элемент, соответствующей указанному зубообразному элементу. Когда параметры контура и/или направляющей структуры одного зубообразного элемента полностью соответствуют параметрам другого зубообразного элемента, каждый из зубообразных элементов будет входить в зацепление и входить в другой зубообразный элемент под действием упругой силы так, что два соответствующих инструмента соединяются друг с другом для открывания или закрывания композитной муфты, благодаря чему композитная муфта может быть открыта или закрыта в любой установленной позиции.

Далее, со ссылкой на Фиг. 1а - Фиг. 11, описывается процесс выполнения гидроразрыва по первому аспекту настоящего изобретения. Сначала на самом нижнем конце обсадной трубы или колонны труб устанавливают открывающий механизм, работающий на перепаде давления, его устанавливают перед последовательной установкой композитных муфт в каждом узле гидроразрыва по первому аспекту настоящего изобретения. В одном воплощении открывающий механизм, работающий на перепаде давления, может нести в себе муфту перепада давления или пескоструйное отверстие, что хорошо известно в известном уровне техники. Затем для открывания открывающего механизма, работающего на перепаде давления и находящегося на самом нижнем конце, в скважину подают давление с тем, чтобы установить сообщающийся канал между обсадной трубой или колонной труб и пластом. После этого один за другим опускают каждый из открывающих инструментов для открывания композитных муфт снизу доверху для выполнения поэтапного гидроразрыва.

После того как поэтапный гидроразрыв будет завершен, с помощью улавливающего инструмента 70 извлекают наружу каждый открывающий инструмент, начиная сверху и до низа, и канал для нефти или газа в муфте или колонне труб будет восстановлен. Когда требуется закрыть определенный канал гидроразрыва, опускают первый закрывающий инструмент, относящийся к муфте, соответствующей указанному каналу гидроразрыва, и муфту закрывают согласно процессу, описанному в первом аспекте настоящего изобретения для первого закрывающего инструмента, вследствие чего определенный канал гидроразрыва будет закрыт.

Второй аспект настоящего изобретения будет далее подробно объясняться со ссылкой на Фиг. 12а - Фиг. 20.

На фиг. 12а показана композитная муфта ПО узла муфты гидроразрыва по второму аспекту настоящего изобретения, содержащая неподвижную наружную трубу 111 и внутреннюю трубу 112, соединенную с внутренней стенкой наружной трубы 111 с помощью срезаемого штифта 113, где наружная труба 111 снабжена пескоструйным отверстием 114 и внутренняя стенка внутренней трубы 112 снабжена первым зубообразным элементом 115. В этом воплощении, показанном на Фиг.12а, первый зубообразный элемент 115 и внутренняя труба 112 образуют неразъемную часть. В одном воплощении соприкасающиеся поверхности наружной трубы 111 и внутренней трубы 112 снабжены позиционирующей канавкой 116 и позиционирующим элементом 117. Позиционирующая канавка 116 и позиционирующий элемент 117 сконфигурированы так, что в начальном состоянии, как показано на Фиг. 12а, они не находятся в зацеплении друг с другом, но сцепляются друг с другом только при закрытии канала гидроразрыва, обеспечивая такое сцепление наружной трубы 111 и внутренней трубы 112, которое гарантирует закрытие канала гидроразрыва. В одном воплощении позиционирующий элемент 117 и позиционирующая канавка 116, например, могут быть выполнены соответственно в виде подпружиненной шпильки и канавки для шпильки. В другом воплощении соприкасающиеся поверхности наружной трубы 111 и внутренней трубы 112 дополнительно снабжены канавкой выбора положения 119 и элементом выбора положения 118. Канавка выбора положения 119 содержит первую часть L11 и третью часть L13, которые радиально разнесены друг от друга и проходят вдоль осевого направления композитной муфты 110, где третья часть L13 длиннее первой части L11, и верхний по течению конец третьей части L13 выровнен с верхним по течению концом первой части L11. Вторая часть L12 соединяет концы первой части L11 и третьей части L13, которые выровнены друг с другом, формируя канавку выбора положения 119, как показано на Фиг. 126. При открывании или закрывании композитной муфты элемент выбора положения 118 может двигаться вдоль канавки выбора положения 119, как показано на Фиг. 126.

На Фиг. 13 показан открывающий инструмент 120 узла муфты гидроразрыва по второму аспекту настоящего изобретения, содержащий полый трубчатый основной корпус 121, третий зубообразный элемент 123, образующий единое целое с основным корпусом 121, и второй зубообразный элемент 122, присоединенный к наружной стенке главного корпуса 121 с помощью первого пружинного механизма, который может двигать второй зубообразный элемент 122 в радиальном в направлении наружу. В одном воплощении первый пружинный механизм содержит пружину 124 для приведения в движение второго зубообразного элемента 122, вызывая его перемещение в наружную сторону, и ограничивающий винт 125 для ограничения хода второго зубообразного элемента 122, который может двигаться радиально в наружную сторону. Как показано на Фиг. 13, каждый из двух концов первого пружинного механизма и второго зубообразного элемента 122 имеет пружину 124 и ограничивающий винт 125. Ограничивающий винт 125 используется не только для ограничения хода второго зубообразного элемента 122, который может двигаться в направлении наружу, но и для того, чтобы обеспечить нахождение второго зубообразного элемента 122 в состоянии постоянного сцепления с основным корпусом 121. В другом воплощении, по усмотрению, сочленение между вторым зубообразным элементом 122 и основным корпусом 121 выполняют в виде структуры 126 из объединенных друг с другом выступов и впадин. Предпочтительно, чтобы, когда второй зубообразный элемент 122 двигается в направлении наружу, зацепление, обусловленное этой структурой выступов и прорезей между вторым зубообразным элементом 122 и основным корпусом 121, некоторое время еще сохранялось, улучшая таким образом силу сцепления между вторым зубообразным элементом 122 и основным корпусом 121. На Фиг. 14 показан запускающий инструмент 130 узла муфты гидроразрыва по второму аспекту настоящего изобретения, содержащий центральный корпус 131, четвертый зубообразный элемент 132, расположенный на наружной стенке центрального корпуса 131, и второй пружинный механизм, расположенный между центральным корпусом 131 и четвертым зубообразным элементом 132. Второй пружинный механизм может иметь точно такую же структуру, как и первый пружинный механизм открывающего инструмента 120, и поэтому для упрощения изложения не будет повторно здесь описываться. Так же, как и в открывающем инструменте 120, сочленение между четверым зубообразным элементом 132 и центральным корпусом 131 выполнено в виде структуры из соединенных друг с другом выступов и впадин, функциональное назначение которых то же самое, что и у структуры выступов и впадин открывающего инструмента 120, и поэтому для упрощения изложения повторно здесь также не описывается.

В начальном состоянии узла муфты гидроразрыва внутренняя труба 112 и наружная труба 111 композитной муфты 110 соединены друг с другом через срезаемый штифт 113, и канавка выбора положения 119 и элемент выбора положения 118 соединены, находясь в положении D11 канавки выбора положения 119. В это время внутренняя труба 112 полностью закрывает пескоструйное отверстие 114, а канавка позиционирования 116 находится ниже позиционирующего элемента 117, и они не находятся в сцепленном друг с другом состоянии, как показано на Фиг. 12а. Когда последовательно опускают открывающий инструмент 120 и запускающий инструмент 130, внутренняя труба 112 композитной муфты 110 и открывающий инструмент 120 сцепляются через первый зубообразный элемент 115 и второй зубообразный элемент 122, а открывающий инструмент 120 сцепляется с запускающим инструментом 130 через третий зубообразный элемент 123 и четвертый зубообразный элемент 132. Когда давление внутри обсадной трубы или колонны труб достигнет заранее заданного значения, срезаемый штифт 113 срезается и запускающий инструмент 130 вместе с открывающим инструментом 120 приводят внутреннюю трубу 112 в движение вниз, открывая пескоструйное отверстие 114, в результате чего устанавливается канал для гидроразрыва. В это время канавка выбора положения 119 и элемент выбора положения 118 находятся в сцепленном состоянии в положении D12 канавки выбора положения 119.

На Фиг. 15а схематически показано первое воплощение второго закрывающего инструмента 140 узла муфты гидроразрыва по второму аспекту настоящего изобретения. Второй закрывающий инструмент 140 содержит центральную тягу 141, шестой зубообразный элемент 142, находящийся на наружной стенке центральной тяги 141, и пятый пружинный механизм, находящийся между центральной тягой 141 и шестым зубообразным элементом 142. Пятый пружинный механизм идентичен первому пружинному механизму открывающего инструмента 120, и поэтому для упрощения изложения не будет повторно здесь описываться. Так же, как и в открывающем инструменте 120, сочленение между шестым зубообразным элементом 142 и центральной тягой 141 выполнено в виде структуры из объединенных друг с другом выступов и впадин. Эта структура выполняет ту же функцию, что и выступы и впадины открывающего инструмента 120, и поэтому для упрощения изложения также не будет повторно здесь описываться. Под действием упругой силы шестой зубообразный элемент 142 может автоматически сцепляться с внутренней трубой 112 соответствующей композитной муфты, находящейся в скважине, что облегчает последующее закрывание каналов гидроразрыва.

На Фиг. 15б схематически показано второе воплощение второго закрывающего инструмента 140′ узла муфты гидроразрыва по второму аспекту настоящего изобретения. Второй закрывающий инструмент 140′ содержит центральную тягу 141′ и шестой зубообразный элемент 142′ в виде пластинчато-пружинного элемента, где шестой зубообразный элемент 142′ соединяется с центральной тягой 141′ только на нижнем его конце, а его верхний конец находится на определенном расстоянии от центральной тяги 141′. При работе шестой зубообразный элемент 142′ в результате его упругого действия может автоматически сцепляться с внутренней трубой 112 композитной муфты, что облегчает последующее закрывание канала гидроразрыва.

Перед закрытием канала гидроразрыва сначала из открывающего инструмента 120 извлекают запускающий инструмент 130 или из композитной муфты 110 извлекают открывающий инструмент 120 и запускающий инструмент 130. Далее процесс закрывания канала гидроразрыва будет иллюстрироваться со ссылкой на второй закрывающий инструмент 140′, показанный на Фиг. 15б, в котором во внутреннюю трубу 112 композитной муфты 110 может быть введен второй закрывающий инструмент 140′. Чтобы начать с этого, из композитной муфты 110 извлекают открывающий инструмент 120 и запускающий инструмент 130. Затем в муфту опускают соответствующий второй закрывающий инструмент 140′ так, чтобы привести в сцепление шестой зубообразный элемент 142′ с первым зубообразным элементом 115 во внутренней трубе 112 композитной муфты. После этого второй закрывающий инструмент 140′ вращают, чтобы вызвать поворот внутренней трубы 112 до тех пор, пока канавка выбора положения 119 не соединится с элементом выбора положения 118 в позиции D13. Центральную тягу 141′ второго закрывающего инструмента 140′ поднимают так, что позиционирующая канавка 116 и позиционирующий элемент 117 будут сцеплены друг с другом, когда канавка выбора положения 119 соединится с элементом выбора положения 118 в позиции D14. В это время пескоструйный канал 114 закрыт внутренней трубой 112, вследствие чего композитная муфта 110 и канал гидроразрыва будут закрыты. В этом случае устраняется возможность несанкционированного закрытия композитной муфты 110 после удаления открывающего инструмента или запускающего инструмент, как было упомянуто выше.

В предпочтительном воплощении каждый из зубообразных элементов по второму аспекту настоящего изобретения имеет наклонную направляющую структуру или скользящую направляющую структуру на их концах, как схематически показано на Фиг. 5 позицией с номером 151. Эти направляющие структуры могут способствовать одному зубообразному элементу быть "вжатым в" и/или "выжатым из" другого зубообразного элемента, сцепленного с упомянутым зубообразным элементом, облегчая операции по обслуживанию.

В одном воплощении запускающий инструмент 130 имеет сквозную полую структуру с различными размерами поперечного сечения. Как показано на Фиг. 14, сквозная полая структура запускающего инструмента 130 может, например, содержать две части, то есть нижнюю по течению часть 133 большего размера и верхнюю по течению часть 134 меньшего размера. Размер отверстия нижней по течению части 133 постепенно уменьшается в направлении вниз по течению, то есть имеет вид конуса с меньшим концом, обращенным в направлении вниз по течению. Благодаря такой конфигурации, механизм, работающий на давлении, направленном наружу, расположенный в нижней части 133, не может высвободиться из нее.

В одном воплощении механизм, работающий на давлении, направленном наружу, содержит обойму 135 и сферическое тело 136, размещенное внутри обоймы 135. Обойма 135 содержит закрытый верхний конец, открытый нижний конец и канал для жидкости 137 на окружности ее стенки. Как показано на Фиг. 14, обойма 135 имеет наружный диаметр больший, чем верхняя по течению часть 134 сквозной полой структуры, а также больший, чем отверстие нижней по течению части 133. Поэтому обойма 135 не высвобождается из нижней по течению части 133. В одном воплощении нижнее по течению отверстие обоймы 135 образует коническую структуру, которая сопрягается с коническим отверстием нижней по течению части 133 сквозной полой структуры, вследствие чего обойма 135 не высвобождается из нижней по течению части 133. Сферическое тело 136 имеет диаметр больший, чем нижнее по течению отверстие обоймы 135, поэтому сферическое тело 136 не высвобождается из обоймы 135 и будет перекрывать колонну, создавая давление, направленное наружу, когда к колонне приложено давление. Предпочтительно, чтобы во время нахождения сферического тела 136 на верхнем по течению и нижнем по течению концах обоймы 135 сферическое тело 136 не закрывало канал для жидкости 137 на окружности стенки обоймы 135. В другом воплощении площадь отверстия на нижнем по течению конце обоймы 135 меньше или равна суммарной площади канала для жидкости 137 на окружности стенки обоймы 135.

Устройство на основе муфты гидроразрыва по второму аспекту настоящего изобретения содержит множество узлов муфт гидроразрыва по второму аспекту настоящего изобретения. Согласно второму аспекту настоящего изобретения, каждая композитная муфта может быть размещена в требуемом месте обсадной трубы 173. После этого открывающие инструменты 120, показанные на Фиг. 13, соединяют, чтобы сформировать колонну открывающих инструментов, которую затем опускают в обсадную трубу 173, как показано на Фиг. 18. Затем опускают запускающий инструмент 130, чтобы он сцепился с соответствующим открывающим инструментом 120 колонны открывающих инструментов, который активирует открывающий инструмент 120, вызывая его отцепление от колонны открывающих инструментов. Затем отцепленный открывающий инструмент 120 скользит вниз по обсадной трубе, чтобы сцепиться с внутренней трубой соответствующей композитной муфты, открывая таким образом композитную муфту.

В описанном выше воплощении каждый открывающий инструмент в колонне открывающих инструментов сконфигурирован так, что его второй и третий зубообразные элементы отличаются соответственно от второго и третьего зубообразных элементов любого другого открывающего инструмента, вследствие чего каждый открывающий элемент может сцепиться только с одной внутренней трубой, т.е. с внутренней трубой композитной муфты в узле композитной муфты, относящемся к данному открывающему инструменту, каждый открывающий инструмент может сцепиться только с одним запускающим инструментом, т.е. с запускающим инструментом в узле муфты, относящемся к данному открывающему инструменту, и каждая композитная муфта может сцепиться только с единственным вторым закрывающим инструментом, т.е. со вторым закрывающим инструментом в узле муфты, относящемся к данной композитной муфте.

Перед вводом открывающего инструмента второй зубообразный элемент открывающего инструмента выступает из основного корпуса под действием пружины и ограничивающего винта первого пружинного механизма. При введении открывающего инструмента второй зубообразный элемент не будет выталкиваться наружу из-за сжимающего действия внутренних труб других композитных муфт, прежде чем он не придет в зацепление с первым зубообразным элементом узла муфты, относящегося к указанному второму зубообразному элементу. Второй зубообразный элемент открывающего инструмента не выдвинется из основного корпуса открывающего инструмента под действием пружины для того, чтобы сцепиться с первым зубообразным элементом узла муфты, до тех пор, пока указанный открывающий элемент не достигнет первого зубообразного элемента узла гидроразрыва, относящегося к указанному открывающему инструменту. Легко видеть, что сцепление межу четвертым зубообразным элементом запускающего инструмента и третьим зубообразным элементом открывающего инструмента, сцепление между шестым зубообразным элементом второго закрывающего инструмента и первым зубообразным элементом композитной муфты или сцепление между шестым зубообразным элементом второго закрывающего инструмента и третьим зубообразным элементом открывающего инструмента достигается таким же образом путем выполнения операции по принципу "открывания разных замков разными ключами".

Фиг. 17а - Фиг. 17с схематически иллюстрируют, как каждый зубообразный элемент сцепляется с соответствующим уникальным зубообразным элементом. Каждый зубообразный элемент сцепляется с соответствующим уникальным зубообразным элементом благодаря уникальным параметрам его контура, которые, например, могут быть одним или более из параметров, выбранных из группы, состоящей из профиля зуба, как показано на Фиг. 17а, расстояния между зубьями, как показано на Фиг. 17б, и количества зубьев, как показано на Фиг. 17с. Предпочтительно, чтобы направляющая структура 151 на каждом зубообразном элементе была сконфигурирована так, чтобы быть единственно возможной структурой, сцепляющейся с соответствующей единственной структурой 152, в результате чего каждый зубообразный элемент может прийти в сцепление с одним единственным, соответствующим ему зубообразным элементом, как схематически показано на Фиг. 16. Легко видеть, что параметры контура зубообразного элемента могут быть использованы в сочетании с направляющей структурой. Предпочтительно, чтобы боковая поверхность и нижняя поверхность по крайней мере одного зуба и/или впадина между зубьями зубообразного элемента образовывали угол в 90 градусов или менее 90 градусов, т.е. формировали прямоугольный зуб или наклонный зуб, чтобы зубообразные элементы могли сцепляться прочно, не отделяясь друг от друга под действием избыточных нагрузок.

Согласно второму аспекту настоящего изобретения, параметры контура и/или направляющей структуры одного зубообразного элемента должны быть сконфигурированы так, чтобы обеспечить возможность для зубообразного элемента распознать единственный зубообразный элемент, соответствующий данному зубообразному элементу. Когда параметры контура и/или направляющей структуры одного зубообразного элемента полностью соответствуют параметрам другого зубообразного элемента, то каждый из зубообразных элементов будет входить в зацепление и входить в другой зубообразный элемент под действием упругой силы так, что два соответствующих инструмента соединяются друг с другом для открывания или закрывания композитной муфты, благодаря чему композитная муфта может быть открыта или закрыта в любой зафиксированной позиции.

Предпочтительно, чтобы, кроме второго и третьего зубообразных элементов, размеры других компонент каждого открывающего инструмента были бы совершенно одинаковы с размерами соответствующих компонент любых других открывающих инструментов, чтобы размер верхнего по течению конца каждого открывающего инструмента точно соответствовал размеру нижнего по течению конца верхнего по течению открывающего инструмента. Как показано на Фиг. 18, нижняя по течению часть верхнего по течению открывающего инструмента 171 может точно вставляться в верхнюю по течению часть нижнего по течению открывающего инструмента 172, и соединяющий механизм расположен на вставляемой и охватывающей частях открывающих инструментов 171 и 172. С помощью такого конструкционного решения можно сочленить множество открывающих инструментов с тем, чтобы сформировать колонну открывающих инструментов.

На Фиг. 19 показан увеличенный вид соединяющего механизма, который содержит срезаемый штифт 183 и подпружиненную шпильку 184. В состоянии, когда множество открывающих инструментов находятся в соединенном состоянии, образуя колонну открывающих инструментов, одна часть срезаемого штифта 183 расположена внутри нижнего по течению открывающего инструмента 172, а другая его часть расположена внутри верхнего по течению открывающего инструмента 171, относящегося к нижнему по течению открывающему инструменту 172, вследствие чего эти два открывающих инструмента соединены друг с другом и выдерживают срезающую нагрузку.

Как показано на Фиг. 19, подпружиненная шпилька 184 содержит первую и вторую половины: 184а и 1846. В состоянии соединения, как видно из рисунка, первая половина 184а расположена на нижнем по течению открывающем инструменте 172, тогда как вторая половина 184b расположена в верхнем по течению открывающем инструменте 171. Под действием пружины шток 186 второй половины подпружиненной шпильки 184b проходит наружу поверхности верхнего по течению открывающего инструмента 171, тогда как шток 185 первой половины подпружиненной шпильки 184а проходит наружу поверхности соприкосновения нижнего по течению открывающего инструмента 172 и упирается в шток 186 второй половины подпружиненной шпильки 184b. Поэтому подпружиненная шпилька 184 также принимает на себя часть срезающей нагрузки.

После того как запускающий инструмент 130 и нижний по течению открывающий инструмент 172 будут соединены друг с другом, верхняя часть запускающего инструмента 130 должна будет давить на конец штока 186 второй половины 184b подпружиненной шпильки 184 и заставлять шток 185 первой половины подпружиненной шпильки 184а возвращаться внутрь нижнего по течению открывающего инструмента 172. Таким образом, срезающую нагрузку должен выдерживать только срезаемый штифт 183. Когда давление внутри обсадной трубы 173 превысит срезающую силу срезаемого штифта 183, срезаемый штифт 183 срезается, и нижний по течению открывающий инструмент 172 отцепляется от колонны открывающих инструментов, как показано на Фиг. 20. После этого может выполняться описанный выше процесс открывания или закрывания композитной муфты, который здесь не будет повторно описан.

Далее, со ссылкой на Фиг. 12а - Фиг. 20, описывается процесс выполнения гидроразрыва с помощью устройства на основе муфты гидроразрыва по второму аспекту настоящего изобретения. Сначала, перед последовательной установкой композитных муфт в каждом узле гидроразрыва, на самом нижнем конце обсадной трубы 173 или колонны труб устанавливают открывающий механизм, работающий на перепаде давления (не показан). В одном воплощении открывающий механизм, работающий на перепаде давления, может нести в себе муфту перепада давления или пескоструйное отверстие, что хорошо известно в предшествующем уровне техники. После этого соединяют открывающие инструменты узлов муфт по второму аспекту настоящего изобретения, чтобы сформировать колонну открывающих инструментов, которые затем опускают в муфту до тех пор, пока самый верхний открывающий инструмент не достигнет заранее определенной позиции. Затем, для открывания открывающего механизма, работающего на перепаде давления и находящегося на самом нижнем конце, в скважину подают давление так, чтобы установить сообщающийся канал между обсадной трубой 173 или колонной труб и пластом. И, наконец, один за другим, опускают запускающие инструменты для открывания композитных муфт, постепенно, снизу доверху, для выполнения поэтапного гидроразрыва.

После того как поэтапный гидроразрыв будет завершен, каждую комбинацию из открывающего инструмента и запускающего инструмента или каждый одиночный запускающий инструмент извлекают с помощью вылавливающего инструмента (не показан) наружу, начиная с верха ствола скважины, и до низа, вследствие чего канал для нефти или газа в муфте или колонне труб будет восстановлен. Когда потребуется закрыть определенный канал гидроразрыва, опускают второй закрывающий инструмент, относящийся к муфте, соответствующей указанному каналу гидроразрыва, и муфту закрывают согласно процессу, описанному во втором аспекте настоящего изобретения для второго закрывающего инструмента, так что этот определенный канал гидроразрыва будет закрыт.

Устройства для гидроразрыва по первому или второму аспекту настоящего изобретения не ограничены выполнением операций гидроразрыва в горизонтальных нефтяных скважинах, но могут также использоваться в работах по разрыву пластов, где имеется необходимость в открывании или закрывании муфты, находящейся в фиксированных положениях.

Несмотря на то, что настоящее изобретение было обсуждено со ссылкой на предпочтительные воплощения, оно распространяется за пределы рассмотренных частных воплощений на другие возможные воплощения и/или использоания изобретения, а также на очевидные его модификации и эквивалентные решения. Сфера охвата настоящего изобретения, раскрытого в настоящем документе, не должна ограничиваться частными раскрытыми воплощениями, описанными выше, но охватывает любые и все технические решения, вытекающие из сферы охвата следующей формулы изобретения.

Похожие патенты RU2597301C2

название год авторы номер документа
Способ заканчивания скважины и резиновая пробка для его осуществления 2021
  • Лэй Вэй
  • Хоу Чжиминь
  • Дун Хайфэн
  • Янь Яньчэн
  • Лань Линь
  • Ван Синвэнь
  • Ван Сяоган
  • Цяо Чжиго
  • Фан Чжоу
RU2833269C1
ТЕПЛОПЕРЕДАЮЩАЯ ТРУБА И КРЕКИНГ-ПЕЧЬ С ИСПОЛЬЗОВАНИЕМ ТЕПЛОПЕРЕДАЮЩЕЙ ТРУБЫ 2013
  • Ван Гуоцин
  • Чжан Лицзунь
  • Чжоу Сяньфэн
  • Лю Цзуньцзи
  • Ду Чжигуо
  • Чжан Юнган
  • Чжан Чжаобинь
  • Чжоу Кун
RU2654766C2
СКОЛЬЗЯЩАЯ МУФТА ДЛЯ ЗАКАНЧИВАНИЯ НЕФТЯНЫХ И ГАЗОВЫХ СКВАЖИН 2021
  • Хоу Чжиминь
  • Ху Дань
  • Ван Цян
  • Чжоу Ицзюнь
  • Цянь Цзян
  • Чэнь Чэнь
  • Лю Тао
  • Цы Цзяньфа
  • Пан Вэньфэн
  • Тэн Вэньцзян
RU2833151C1
ТЕПЛОПЕРЕДАЮЩАЯ ТРУБА И КРЕКИНГ-ПЕЧЬ С ИСПОЛЬЗОВАНИЕМ ТЕПЛОПЕРЕДАЮЩЕЙ ТРУБЫ 2013
  • Ван Гуоцин
  • Чжан Лицзунь
  • Чжоу Сяньфэн
  • Лю Цзуньцзи
  • Ду Чжигуо
  • Чжан Юнган
  • Чжан Чжаобинь
  • Чжоу Кун
RU2640876C2
СПОСОБ И СИСТЕМА ПРЯМОГО КРЕКИНГА СЫРОЙ НЕФТИ ДЛЯ ПОЛУЧЕНИЯ ОЛЕФИНА 2020
  • Лю, Тунцзюй
  • Ван, Гоцин
  • Чжан, Лицзюнь
  • Чжан, Чжаобинь
  • Чжоу, Цун
  • Цзян, Бин
  • Ши, Ин
RU2817817C1
СПОСОБ И СИСТЕМА, ПРЕДНАЗНАЧЕННЫЕ ДЛЯ ОТДЕЛЕНИЯ ЛЕГКИХ УГЛЕВОДОРОДОВ 2019
  • Ло Шуцзюань
  • Ли Дунфэн
  • Чжан Минсэнь
  • Ляо Лихуа
  • Ли Янь
  • Лю Чжисинь
  • Ли Чуньфан
  • Тянь Цзюнь
RU2800870C2
СОДЕРЖАЩАЯ ОБЛАДАЮЩИЙ МЕТАЛЛООРГАНИЧЕСКОЙ КАРКАСНОЙ СТРУКТУРОЙ МАТЕРИАЛ РАЗДЕЛИТЕЛЬНАЯ МЕМБРАНА, СПОСОБ ЕЕ ПОЛУЧЕНИЯ И ЕЕ ПРИМЕНЕНИЕ 2020
  • У Чанцзян
  • Вэй Синь
  • Ли Хэшэн
  • Чжан Синьмяо
  • Сюнь Цзе
  • Ван Чэнхун
  • Ван Юйцзе
  • Мэн Фаньнин
RU2830611C1
ИНСТРУМЕНТ ДЛЯ ОТКРЫВАНИЯ СКОЛЬЗЯЩЕЙ МУФТЫ 2017
  • Гань Чжэньвэй
  • Ци Бинь
  • Хоу Чжиминь
  • Ху Шуньцу
  • Чжао Вэй
  • Си Чжи
  • Ван Цян
  • Лю Тао
  • Пань Цзянь
  • Пан Вэньфэн
RU2733580C2
СКОЛЬЗЯЩАЯ МУФТА С ПЕРЕПАДОМ ДАВЛЕНИЯ И СПОСОБ СТРОИТЕЛЬСТВА С ГИДРОРАЗРЫВОМ НЕФТЯНЫХ И ГАЗОВЫХ СКВАЖИН С ЕЕ ПРИМЕНЕНИЕМ 2021
  • Ху, Шуньцу
  • Линь, Янмао
  • Чжао, Вэй
  • Лэй, Вэй
  • Се, Чжи
  • Хоу, Чжиминь
  • Чэнь, Чэнь
  • Ван, Цян
  • Ху, Дань
  • Цуй, Цзинъюй
RU2837860C2
СКОЛЬЗЯЩАЯ МУФТА С ДЕФОРМИРУЕМЫМ ШАРОВЫМ ГНЕЗДОМ 2013
  • Кроули Скотт
  • Уорд Дэвид
  • Гарсия Сезар Г.
  • Гринен Айан М.
RU2613697C2

Иллюстрации к изобретению RU 2 597 301 C2

Реферат патента 2016 года УЗЕЛ МУФТЫ ГИДРОРАЗРЫВА, УСТРОЙСТВО НА ЕГО ОСНОВЕ И СПОСОБ ЕГО ИСПОЛЬЗОВАНИЯ

Группа изобретений относится к горному делу и может быть применена при гидроразрыве пласта. Узел муфты гидроразрыва содержит композитную муфту и открывающий инструмент. Композитная муфта и открывающий инструмент могут автоматически сцепляться друг с другом с помощью размещенных на них зубообразных элементов для того, чтобы открыть композитную муфту. Устройство на основе муфты гидроразрыва содержит множество композитных муфт и открывающих инструментов, где каждая композитная муфта и каждый открывающий инструмент могут осуществлять уникальное сцепление. Кроме того, предложен способ использования устройства на основе муфты гидроразрыва. Технический результат заключается в повышении эффективности гидроразрыва пласта. 5 н. и 26 з.п. ф-лы, 30 ил.

Формула изобретения RU 2 597 301 C2

1. Узел на основе муфты гидроразрыва, содержащий
композитную муфту, имеющую неподвижную наружную трубу и внутреннюю трубу, соединенную с внутренней стенкой наружной трубы с помощью срезаемого штифта, где наружная труба имеет пескоструйное отверстие, а внутренняя труба снабжена первым зубообразным элементом; и
открывающий инструмент, имеющий основной корпус и второй зубообразный элемент, соединенный с основным корпусом, где открывающий инструмент может быть вставлен во внутреннюю трубу, чтобы перекрыть ствол скважины, и второй зубообразный элемент может сцепляться с первым зубообразным элементом,
где в исходном состоянии узла муфты гидроразрыва пескоструйное отверстие заблокировано внутренней трубой;
как только опускают открывающий инструмент, внутренняя труба приходит в сцепление с открывающим инструментом с помощью первого и второго зубообразных элементов; и
когда давление внутри обсадной трубы достигнет заранее заданного значения, срезаемый штифт срезается и открывающий инструмент приводит внутреннюю трубу в движение вниз, чтобы открыть пескоструйное отверстие, вследствие чего устанавливается канал для гидроразрыва.

2. Узел по п.1, который дополнительно снабжен первым закрывающим инструментом, содержащим центральную тягу и пятый зубообразный элемент, соединенный с центральной тягой, и служащим для закрывания композитной муфты, где первый закрывающий инструмент может быть вставлен во внутреннюю трубу так, чтобы пятый зубообразный элемент мог прийти в сцепление с первым зубообразным элементом, благодаря чему внутренняя труба может быть сдвинута вверх при поднимании первого закрывающего инструмента, возвращая тем самым пескоструйное отверстие в закрытое состояние, чтобы закрыть канал гидроразрыва.

3. Узел по п.2, где основной корпус выполнен в виде сквозного полого корпуса со вторым зубообразным элементом, расположенным на его наружной стенке, и содержит третий зубообразный элемент, находящийся на его внутренней стенке, и первый пружинный механизм, находящийся между основным корпусом и вторым зубообразным элементом, где второй зубообразный элемент имеет возможность двигаться в радиальном направлении наружу под действием первого пружинного механизма, чтобы прийти в сцепление с первым зубообразным элементом; и
упомянутый узел содержит запускающий инструмент с центральным корпусом, четвертый зубообразный элемент, находящийся на наружной стенке центрального корпуса, и второй пружинный механизм, расположенный между центральным корпусом и четвертым зубообразным элементом, где запускающий инструмент может быть вставлен в открывающий инструмент таким образом, чтобы закрыть ствол скважины, и четвертый зубообразный элемент может двигаться в радиальном направлении наружу под действием второго пружинного механизма, чтобы прийти в сцепление с третьим зубообразным элементом,
в котором, когда последовательно опускают открывающий инструмент и запускающий инструмент, внутренняя труба сцепляется с открывающим инструментом с помощью первого и второго зубообразньгх элементов, и открывающий инструмент сцепляется с запускающим инструментом с помощью третьего и четвертого зубообразных элементов; и
когда давление в обсадной трубе достигает заранее установленного значения, срезаемый штифт срезается и запускающий инструмент вместе с открывающим инструментом приводят внутреннюю трубу в движение вниз с тем, чтобы открыть пескоструйное отверстие и установить канал для гидроразрыва.

4. Узел по п.3, который для закрывания композитной муфты снабжен также вторым закрывающим инструментом, содержащим центральную тягу и шестой зубообразный элемент, соединенный с центральной тягой, где второй закрывающий инструмент может быть вставлен во внутреннюю трубу или в полый корпус открывающего инструмента с тем, чтобы шестой зубообразный элемент мог прийти в сцепление с первым зубообразным элементом внутренней трубы или с третьим зубообразным элементом открывающего инструмента, благодаря чему внутренняя труба может быть сдвинута вверх путем подъема второго закрывающего инструмента, возвращая тем самым пескоструйное отверстие в закрытое состояние, чтобы закрыть канал гидроразрыва.

5. Узел по п.4, где второй зубообразный элемент открывающего инструмента размещен на наружной стенке основного корпуса и снабжен третьим пружинным механизмом, расположенным между основным корпусом и вторым зубообразным элементом, где второй зубообразный элемент может двигаться в радиальном направлении наружу под действием третьего пружинного механизма, чтобы прийти в сцепление с первым зубообразным элементом.

6. Узел по п.1, где второй зубообразный элемент открывающего инструмента размещен выше основного корпуса с помощью упругого элемента, один конец которого, соединенный с основным корпусом, имеет меньший диаметр, чем другой конец упругого элемента, соединенный со вторым зубообразным элементом.

7. Узел по п.5, где пятый зубообразный элемент первого закрывающего инструмента или шестой зубообразный элемент второго закрывающего инструмента размещены на наружной стенке соответствующей центральной тяги и снабжены четвертым пружинным механизмом, расположенным между центральной тягой первого закрывающего инструмента и пятым зубообразным элементом, и пятым пружинным элементом, расположенным между центральной тягой второго закрывающего инструмента и шестым зубообразным элементом, где пятый или шестой зубообразные элементы могут двигаться в радиальном направлении наружу под действием соответствующего пружинного механизма, чтобы прийти в сцепление с соответствующим зубообразным элементом.

8. Узел по п.4, где пятый зубообразный элемент первого закрывающего инструмента или шестой зубообразный элемент второго закрывающего инструмента представляют собой пластинчато-пружинный элемент, нижний конец которого соединен с соответствующей центральной тягой, а его верхний конец отделен от соответствующей центральной тяги.

9. Узел по п.2, где соответствующие соприкасающиеся поверхности внутренней трубы и наружной трубы композитной муфты снабжены канавкой выбора положения и элементом выбора положения, которые устанавливают в разные положения, когда узел муфты гидроразрыва находится в открытом состоянии и когда канал гидроразрыва закрыт.

10. Узел по п.4, где соответствующие соприкасающиеся поверхности внутренней трубы и наружной трубы композитной муфты снабжены канавкой выбора положения и элементом выбора положения, которые устанавливают в разные положения, когда узел муфты гидроразрыва находится в открытом состоянии и когда канал гидроразрыва закрыт.

11. Узел по п.7, где каждый из зубообразных элементов снабжен наклонной направляющей структурой на их верхнем конце и нижнем конце для направления зацепления или расцепления соответствующих зубообразных элементов.

12. Узел по п.7, где каждый из пружинных механизмов содержит упругий элемент, который может развивать радиальную силу, направленную наружу, и упор для ограничения хода соответствующих зубообразных элементов, которые могут двигаться в радиальном направлении наружу.

13. Узел по п.1, где основной корпус открывающего инструмента содержит сквозную полую структуру с различными размерами поперечных сечений, где нижняя часть сквозной полой структуры, имеющая большее поперечное сечение, выполнена с механизмом, работающим на давлении, направленном наружу, который не может высвободиться из нижней части сквозной полой структуры.

14. Узел по п.3, где основной корпус запускающего инструмента содержит сквозную полую структуру с различными размерами поперечных сечений, где нижняя часть сквозной полой структуры, имеющая большее поперечное сечение, выполнена с механизмом, работающим на давлении, направленном наружу, который не может высвободиться из нижней части сквозной полой структуры.

15. Узел по п.13, где механизм, работающий на давлении, направленном наружу, содержит обойму и сферическое тело внутри обоймы,
где обойма содержит открытый нижний конец, закрытый верхний конец с улавливающей рукоятью на ее наружной стороне и канал для жидкости на окружности стенки обоймы, сферическое тело должно иметь возможность двигаться внутри обоймы без блокирования канала для жидкости на окружности стенки обоймы, когда оно находится у ее верхнего или нижнего конца.

16. Узел по п.15, где канал для жидкости на окружности стенки обоймы имеет суммарную площадь не меньше, чем площадь отверстия на нижнем конце обоймы.

17. Узел по п.13, где нижняя часть основного корпуса открывающего инструмента дополнительно оснащена направляющим механизмом, продолжающимся вниз, где направляющий механизм содержит полую структуру, сообщающуюся с основным корпусом.

18. Узел по п.1, где соприкасающиеся поверхности наружной трубы и внутренней трубы композитной муфты снабжены соответствующими позиционирующими механизмами, которые могут сцепляться друг с другом так, чтобы гарантировать сцепление внутренней трубы с наружной трубой, вследствие чего пескоструйное отверстие блокируется и, следовательно, канал гидроразрыва будет закрыт.

19. Устройство на основе муфты для гидроразрыва, содержащее множество узлов муфт гидроразрыва по п.7,
где второй зубообразный элемент каждого открывающего инструмента сконфигурирован так, чтобы отличаться от второго зубообразного элемента любого другого открывающего инструмента, вследствие чего каждый открывающий инструмент может сцепляться только с внутренней трубой в узле гидроразрыва, относящемся к указанному открывающему инструменту; и
пятый зубообразный элемент каждого первого закрывающего инструмента сконфигурирован так, чтобы отличаться от пятого зубообразного элемента любых других первых закрывающих инструментов, вследствие чего каждый закрывающий инструмент может прийти в сцепление только с первым зубообразным элементом во внутренней трубе узла гидроразрыва, относящегося к указанному первому закрывающему инструменту.

20. Устройство по п.19, где каждый зубообразный элемент может сцепляться с соответствующим уникальным зубообразным элементом благодаря уникальным параметрам их контуров и/или имеющейся на них направляющей структуры.

21. Устройство по п.20, где параметры контура являются одним или более из параметров, выбранных из группы, состоящей из числа зубьев, профиля зубьев и расстояния между зубьями.

22. Устройство на основе муфты гидроразрыва, содержащее множество узлов муфт гидроразрыва по п.7,
где второй и третий зубообразные элементы каждого открывающего инструмента соответственно сконфигурированы так, чтобы отличаться от второго и третьего зубообразных элементов любого другого открывающего инструмента, чтобы открывающий инструмент мог сцепляться только с внутренней трубой в узле гидроразрыва, относящемся к указанному открывающем инструменту; и
шестой зубообразный элемент каждого второго закрывающего инструмента сконфигурирован так, чтобы отличаться от шестого зубообразного элемента любых других закрывающих инструментов, чтобы каждый второй закрывающий инструмент мог сцепляться только с первым зубообразным элементом во внутренней трубе или с третьим зубообразным элементом в открывающем инструменте узла гидроразрыва, соответствующего второму закрывающему инструменту.

23. Устройство по п.22, где каждый зубообразный элемент может прийти в сцепление с соответствующим уникальным зубообразным элементом благодаря уникальным параметрам их контуров и/или имеющейся на них направляющей структуре.

24. Устройство по п.23, где параметры контура являются одним или более из параметров, выбранных из группы, состоящей из числа зубьев, профиля зубьев и расстояния между зубьями.

25. Устройство по п.22, где все композитные муфты имеют одинаковый внутренний диаметр.

26. Способ применения устройства на основе муфты гидроразрыва по п. 19, включающий:
Шаг I: установка открывающего механизма, работающего на перепаде давления, на самый нижний конец обсадной трубы или колонны труб и затем последовательное монтирование композитных муфт в каждом узле гидроразрыва;
Шаг II: подача давления в ствол скважины для открывания открывающего механизма, работающего на перепаде давления, находящегося на самом нижнем конце, и установка сообщающего канала между обсадной трубой или колонной труб и разрываемым слоем; и
Шаг III: последовательное опускание открывающих инструментов для открытия композитных муфт снизу доверху для проведения поэтапного гидроразрыва.

27. Способ по п.26, где добавлен еще один шаг - Шаг IV: извлечение открывающего инструмента через улавливающую структуру открывающего инструмента для восстановления канала в обсадной колонне или в колонне труб.

28. Способ по п.27, где, в случае когда необходимо закрыть некоторый определенный канал гидроразрыва, опускают первый закрывающий инструмент соответствующей композитной муфты, относящейся к данному каналу гидроразрыва так, чтобы перекрыть этот канал гидроразрыва.

29. Способ применения устройства на основе муфты гидроразрыва по п. 22, включающий:
Шаг I: установка открывающего механизма, работающего на перепаде давления, на самый нижний конец обсадной трубы или колонны труб и затем последовательное монтирование композитных муфт в каждом из узлов для гидроразрыва;
Шаг II: сцепление открывающих инструментов каждого узла для гидроразрыва, чтобы сформировать последовательность открывающих инструментов и их опускание в композитную муфту;
Шаг III: подача давления в ствол скважины для открывания открывающего механизма, работающего на перепаде давления, на самом нижнем конце и установка сообщающего канала между обсадной трубой или колонной труб и разрываемым слоем; и
Шаг IV: последовательное опускание запускающих инструментов для открывания композитных муфт снизу доверху для проведения поэтапного гидроразрыва.

30. Способ по п.29, характеризующийся тем, что добавлен еще один шаг - Шаг V: извлечение открывающего инструмента или запускающего инструмента с помощью улавливающей структуры на открывающем инструменте или попросту извлечение запускающего инструмента с помощью улавливающей структуры на запускающем инструменте для восстановления канала в муфте или в колонне труб.

31. Способ по п.30, где, в случае когда необходимо закрыть определенный канал для гидроразрыва, опускают второй закрывающий инструмент соответствующей композитной муфты, относящейся к данному каналу гидроразрыва, с тем, чтобы закрыть этот канал для гидроразрыва.

Документы, цитированные в отчете о поиске Патент 2016 года RU2597301C2

СИСТЕМА И СПОСОБ ЗАКАНЧИВАНИЯ СКВАЖИНЫ, ИМЕЮЩЕЙ МНОЖЕСТВО ЗОН (ВАРИАНТЫ) 2005
  • Лопес Де Карденас Хорхе
  • Ритлевски Гари Л.
  • Хэкворт Мэттью Р.
RU2316643C2
0
SU162079A1
Устройство для одновременной эксплуатации нескольких продуктивных пластов одной скважины 1980
  • Купин Георгий Семенович
  • Киреев Виктор Андреевич
  • Мясковский Евгений Григорьевич
  • Мкртычан Яков Сергеевич
  • Мамаев Роберт Васильевич
  • Пирогов Вячеслав Петрович
SU907225A1
СПОСОБ ОДНОВРЕМЕННО-РАЗДЕЛЬНОЙ ЭКСПЛУАТАЦИИ МНОГОПЛАСТОВОЙ СКВАЖИНЫ И ПРИЕМНЫЙ КЛАПАН ДЛЯ ПЕРИОДИЧЕСКОГО ПЕРЕКРЫВАНИЯ ПОТОКА ИЗ ПЛАСТОВ 1998
  • Кудинов А.А.
  • Лукьянов Л.А.
  • Пшеничный М.В.
RU2161698C2
US 2009044944 A1, 19.02.2009
WO 2009029437 A1, 05.03.2009.

RU 2 597 301 C2

Авторы

Гань Чжэньвэй

Хуан Цюшэн

Рэнь Шань

Ли Гуанцуань

У Цзихао

Даты

2016-09-10Публикация

2012-06-21Подача