Область техники
Изобретение относится к технике связи, в частности к способам и устройствам изменения частоты дискретизации и скорости передачи цифрового звукового сигнала.
Уровень техники
Известен способ (Авторское свидетельство SU 1690206 A1 Способ изменения скорости передачи цифрового звукового сигнала БИ №41 от 07.11.91.) изменения скорости передачи цифрового звукового сигнала. Данный способ включает дискретизацию с исходной частотой звукового сигнала и преобразование отсчетов в цифровые сигналы, накопление N1 цифровых сигналов, преобразование цифровых сигналов в дискретные отсчеты с измененной частотой дискретизации, а также N1 точечное прямое дискретное преобразование Фурье накопленных N1 цифровых сигналов, фильтрацию, и N2 точечное обратное дискретное преобразование Фурье, при этом N1/N2 = f1/f2 , где f1 - исходная частота дискретизации, f2 - измененная частота дискретизации.
Известно устройство (Авторское свидетельство SU 1690206 A1 Способ изменения скорости передачи цифрового звукового сигнала БИ №41 от 07.11.91.) для осуществления способа изменения скорости передачи цифрового звукового сигнала, содержащее: блок прямого дискретного преобразования Фурье, блок прибавления нулевых коэффициентов, блок обратного дискретного преобразования Фурье, блок определения отношения частот, блок присвоения начального значения, первый и второй решающие блоки, первый и второй блоки прибавления «1», третий решающий блок, блок определения коэффициента домножения, блок определения целой части, четвертый решающий блок, третий блок прибавления «1», блок присвоения значений.
Недостатком известного способа и устройства являются заметные искажения и помехи, возникающие при изменении скорости передачи цифрового звукового сигнала. В известном способе и устройстве при дискретном преобразовании Фурье используется прямоугольное окно без перекрытия, что приводит к появлению разрывов анализируемых функций. Возникающие вследствие этого в спектре боковые лепестки преобразования окна, называемые просачиванием, будут искажать амплитуды соседних спектральных составляющих. Просачивание приводит не только к появлению амплитудных ошибок в спектрах сигналов, но также маскирует составляющие с малыми амплитудами в информационных сигналах и, следовательно, препятствует их восприятию слушателями. Таким образом, искажения и помехи, возникающие при изменении скорости передачи цифрового звукового сигнала в известном способе и устройстве, оказываются неприемлемыми для сигналов телерадиовещания.
Известен способ изменения скорости передачи цифрового звукового сигнала телерадиовещания ( патент РФ №2405262, БИ №33 27.11.2010 ), принятый за прототип. Данный способ включает формирование сегментов цифрового сигнала из N1 кодовых комбинаций этого цифрового сигнала в каждом сегменте, соответствующих N1 дискретным отсчетам звукового сигнала, наложение оконной функции Наттолла на каждый сегмент, накопление N1 кодовых комбинаций цифрового сигнала, N1 точечное прямое дискретное преобразование Фурье накопленных N1 кодовых комбинаций цифрового сигнала, N2 точечное обратное дискретное преобразование Фурье, при этом N1/N2 = f1/f2 , где f1 - исходная частота дискретизации, f2 - измененная частота дискретизации,
Недостатком известного способа и устройства является возникновение помех и искажений в процессе изменения частоты дискретизации и скорости передачи, так и при нескольких последовательных изменениях скорости передачи цифрового звукового сигнала Сущность изобретения
Задачей предлагаемого изобретения является повышение качества передачи звукового вещательного сигнала за счет уменьшения искажений и помех в процессе изменения частоты дискретизации и скорости передачи, так и при последовательных изменениях скорости передачи цифрового сигнала
Задача в общем виде решается за счет формирования на входе первого преобразователя скорости передачи вспомогательного цифрового звукового сигнала из основного цифрового звукового сигнала, причем этот вспомогательный цифровой звуковой сигнал в точности соответствует основному цифровому звуковому сигналу. В этих основном и вспомогательном цифровых звуковых сигналах, вследствие одинаковых видах цифровых обработок по изменению скорости передачи возникают одинаковые помехи и искажения. При этом в основном цифровом звуковом сигнале эти помехи и искажения возникают за счет цифровых обработок при последовательных изменениях скорости передачи в канале связи. Во вспомогательном цифровом звуковом сигнале точно такие же помехи и искажения возникают за счет таких же обработок только на входе первого преобразователя скорости передачи. В этом случае все обработки, соответствующие обработкам в основном цифровом сигнале при последовательных изменениях скорости передачи этого сигнала в канале связи, осуществляются во вспомогательном цифровом сигнале только на входе первого преобразователя скорости передачи. В результате получают искаженный вследствие обработок выходной вспомогательный цифровой звуковой сигнал, из которого вычитают не прошедший обработок и неискаженный основной цифровой звуковой сигнал передачи. Выделенные таким образом помехи и искажения образуют предыскажающий цифровой звуковой сигнал, который далее инвертируют по фазе. После этого инвертированный предыскажающий цифровой сигнал вводят путем суммирования в основной неискаженный цифровой звуковой сигнал передачи и получают основной предыскаженный цифровой звуковой сигнал передачи. При помощи этого основного предыскаженного цифрового сигнала передачи осуществляют компенсацию помех и искажений, возникающих вследствие обработок в цифровом сигнале при последовательных изменениях скорости передачи этого сигнала в канале связи, но имеющих противоположную фазу по отношению помех и искажений, содержащихся в предыскаженном цифровом звуковом сигнале. Вследствие такой компенсации помех и искажений происходит существенное повышение качества передачи цифровых звуковых сигналов.
Способ изменения скорости передачи цифрового звукового сигнала телерадиовещания с предыскажением, включающий первое изменение скорости передачи во входном основном цифровом сигнале с формирование сегментов из N1 кодовых комбинаций этого цифрового сигнала в каждом сегменте, соответствующих N1 дискретным отсчетам звукового сигнала, наложение оконной функции Наттолла на каждый сегмент, накопление N1 кодовых комбинаций основного цифрового сигнала, N1 точечное прямое дискретное преобразование Фурье накопленных N1 кодовых комбинаций основного цифрового сигнала и получают N1 пар спектральных коэффициентов, соответствующих представлению цифрового звукового сигнала в спектральной области, а также N2 точечное обратное дискретное преобразование Фурье из N2 пар спектральных коэффициентов в N2 кодовых комбинаций, при этом N1/N2 = f1/f2 , где f1 - исходная частота дискретизации, f2 - измененная частота дискретизации, после чего осуществляют формирование сегментов основного цифрового сигнала из N2 кодовых комбинаций этого сигнала в каждом сегменте, сложение с 50% перекрытием каждого сегмента с предыдущим ему сегментом, компенсацию неравномерности оконной функции Наттолла, отличающийся тем, что после N1 точечного прямого дискретного преобразования Фурье в спектральной области осуществляют изменение количества пар спектральных коэффициентов на каждом сегменте с N1 на N2, что соответствует изменению (уменьшению или увеличению) частоты дискретизации и скорости передачи цифрового звукового сигнала во временной области, и получают таким образом, первое изменение скорости передачи в основном цифровом звуковом сигнале, а также после первого изменения скорости передачи осуществляют второе изменение скорости передачи в основном цифровом сигнале с формированием сегментов основного цифрового сигнала из N2 кодовых комбинаций этого цифрового сигнала в каждом сегменте, соответствующих N2 дискретным отсчетам звукового сигнала, наложение оконной функции Наттолла на каждый сегмент, накопление N2 кодовых комбинаций основного цифрового сигнала, N2 точечное прямое дискретное преобразование Фурье накопленных N2 кодовых комбинаций основного цифрового сигнала, и получают N2 пар спектральных коэффициентов, соответствующих представлению цифрового звукового сигнала в спектральной области, затем осуществляют изменение количества пар спектральных коэффициентов на каждом сегменте с N2 на N1, что соответствует изменению (уменьшению или увеличению) частоты дискретизации и скорости передачи цифрового звукового сигнала во временной области, после чего осуществляют N1 точечное обратное дискретное преобразование Фурье из N1 пар спектральных коэффициентов в N1 кодовых комбинаций, при этом N2/N1 = f2/f1 , где f2 - исходная частота дискретизации при втором изменении скорости передачи, f1 - измененная частота дискретизации, а затем осуществляют формирование сегментов основного цифрового сигнала из N1 кодовых комбинаций этого сигнала в каждом сегменте, сложение с 50% перекрытием каждого сегмента с предыдущим ему сегментом, компенсацию неравномерности оконной функции Наттолла, и получают таким образом, искаженный вследствие обработок по первому и второму изменению скорости передачи выходной основной цифровой звуковой сигнал, скорость передачи которого равна скорости передачи во входном основном цифровом сигнале, а также перед первым изменением скорости передачи во входном основном цифровом сигнале осуществляют формирование из этого входного основного цифрового звукового сигнала вспомогательный цифровой звуковой сигнал, над которым осуществляют первое изменение скорости передачи, включающей все точно такие же операции, которые были проделаны в отношении основного цифрового звукового сигнала при первом изменении его скорости передачи и получают, искаженный вследствие обработок по первому изменению скорости передачи, выходной вспомогательный цифровой звуковой сигнал, а после первого изменения скорости передачи осуществляют второе изменение скорости передачи во вспомогательном цифровом звуковом сигнале, включающей все точно такие же операции, которые были проделаны в отношении основного цифрового звукового сигнала при втором изменении его скорости передачи и получают, таким образом, искаженный вследствие обработок по первому и второму изменению скорости передачи, выходной вспомогательный цифровой звуковой сигнал, скорость передачи которого равна скорости передачи во входном основном цифровом сигнале, а искажения в этом выходном вспомогательном цифровом звуковом сигнале являются одинаковыми с искажениями в выходном основном цифровом звуковом сигнале после двух изменений скорости передачи в нем, после этого из искаженного выходного вспомогательного цифрового звукового сигнала осуществляют вычитание неискаженного входного основного цифрового звукового сигнала и получают цифровой предыскажающий сигнал, состоящий из помех и искажений вследствие двух обработок по изменению скорости передачи, после чего этот цифровой предыскажающий сигнал инвертируют по фазе, а затем вводят путем суммирования в неискаженный входной основной цифровой звуковой сигнал и получают, предыскаженный входной основной цифровой звуковой сигнал, над которыми осуществляют последовательно первое и второе изменение скорости передачи и получают выходной основной цифровой звуковой сигнал, в котором за счет предыскажения оказываются скомпенсированными помехи и искажения, возникавшие вследствие двух обработок по изменению скорости передачи.
Поставленная задача решается также тем, что в устройство изменения скорости передачи цифрового звукового сигнала телерадиовещания с предыскажением, содержащее последовательно соединенные первый блок наложения оконной функции Наттолла и первый блок прямого дискретного преобразования Фурье, а также последовательно соединенные первый блок обратного дискретного преобразования Фурье и первый блок перекрытия сегментов и компенсации неравномерности оконной функции Наттолла, а также содержащее первый и второй блоки удвоения частоты тактовых импульсов, в отличие от прототипа дополнительно включены первый блок изменения количества пар спектральных коэффициентов, первый выделитель тактовых импульсов и первый генератор тактовых импульсов, причем все ранее перечисленные блоки, начиная с первого блока наложения оконной функции Наттолла и кончая первым генератором тактовых импульсов образуют первый преобразователь скорости передачи основного сигнала, а также дополнительно включены последовательно соединенные второй блок наложения оконной функции Наттолла и второй блок прямого дискретного преобразования Фурье, а также последовательно соединенные второй блок обратного дискретного преобразования Фурье и второй блок перекрытия сегментов и компенсации неравномерности оконной функции Наттолла, а также введены третий и четвертый блоки удвоения частоты тактовых импульсов, второй блок изменения количества пар спектральных коэффициентов, второй выделитель тактовых импульсов и второй генератор тактовых импульсов, причем ранее перечисленные блоки, начиная со второго блока наложения оконной функции Наттолла и заканчивая вторым генератором тактовых импульсов образуют второй преобразователь скорости передачи основного сигнала, а также дополнительно включены линия связи и последовательно соединенные первый преобразователь скорости передачи вспомогательного сигнала, аналогичный первому преобразователю скорости передачи основного сигнала, и второй преобразователь скорости передачи вспомогательного сигнала, аналогичный второму преобразователю скорости передачи основного сигнала, а также включены последовательно соединенные блок вычитания и фазоинвертор, также включены последовательно соединенные линия задержки и сумматор, при этом вход линии задержки соединен со входом устройства, а также со входом первого преобразователя скорости передачи вспомогательного сигнала и вторым входом блока вычитания, первый вход которого соединен с выходом второго преобразователя скорости передачи вспомогательного сигнала, при этом выход блока вычитания через фазоинвертор соединен со вторым входом сумматора, первый вход которого соединен с выходом линии задержки, а выход сумматора соединен со входом первого преобразователя скорости передачи основного сигнала, а внутри этого первого преобразователя скорости передачи основного сигнала, его вход соединен с первым входом первого блока наложения оконной функции Наттолла и со входом первого выделителя тактовых импульсов, выход которого соединен со вторым входом первого блока наложения оконной функции Наттолла и со входом первого блока удвоения частоты тактовых импульсов, выход которого соединен с третьим входом первого блока наложения оконной функции Наттолла, со вторым входом первого блока прямого дискретного преобразования Фурье и со вторым входом первого блока изменения количества пар спектральных коэффициентов, первый вход которого соединен с выходом первого блока прямого дискретного преобразования Фурье, а выход первого блока изменения количества пар спектральных коэффициентов соединен с первым входом первого блока обратного дискретного преобразования Фурье, при этом выход первого генератора тактовых импульсов соединен с третьим входом первого блока перекрытия сегментов и компенсации неравномерности оконной функции Наттолла и со входом второго блока удвоения частоты тактовых импульсов, выход которого соединен с третьим входом первого блока изменения количества пар спектральных коэффициентов, со вторым входом первого блока обратного дискретного преобразования Фурье и со вторым входом первого блока перекрытия сегментов и компенсации неравномерности оконной функции Наттолла, выход которого является выходом первого преобразователя скорости передачи основного сигнала, который через линию связи соединен со входом второго преобразователя скорости передачи основного сигнала, а внутри этого второго преобразователя скорости передачи основного сигнала, его вход соединен с первым входом второго блока наложения оконной функции Наттолла и со входом второго выделителя тактовых импульсов, выход которого соединен со вторым входом второго блока наложения оконной функции Наттолла и со входом третьего блока удвоения частоты тактовых импульсов, выход которого соединен с третьим входом второго блока наложения оконной функции Наттолла, со вторым входом второго блока прямого дискретного преобразования Фурье и со вторым входом второго блока изменения количества пар спектральных коэффициентов, первый вход которого соединен с выходом второго блока прямого дискретного преобразования Фурье, а выход второго блока изменения количества пар спектральных коэффициентов соединен с первым входом второго блока обратного дискретного преобразования Фурье, при этом выход второго генератора тактовых импульсов соединен с третьим входом второго блока перекрытия сегментов и компенсации неравномерности оконной функции Наттолла и со входом четвертого блока удвоения частоты тактовых импульсов, выход которого соединен с третьим входом второго блока изменения количества пар спектральных коэффициентов, со вторым входом второго блока обратного дискретного преобразования Фурье и со вторым входом второго блока перекрытия сегментов и компенсации неравномерности оконной функции Наттолла, выход которого является выходом второго преобразователя скорости передачи основного сигнала, выход которого является выходом устройства.
Перечень фигур Предложенный способ и устройство поясняются фигурами, где:
фиг. 1. Структурная схема устройства изменения скорости передачи цифрового звукового сигнала телерадиовещания с предыскажением.
Фиг. 2. Схема блока наложения оконной функции Наттолла.
Фиг. 3. Временные диаграммы, поясняющие работу блока наложения оконной функции Наттолла.
Фиг. 4. Схема блока изменения количества пар спектральных коэффициентов.
Фиг. 5. Схема блока перекрытия сегментов и компенсации неравномерности оконной функции Наттолла
Фиг. 6. Временные диаграммы, поясняющие работу блока перекрытия сегментов и компенсации неравномерности оконной функции Наттолла.
Осуществление изобретения
Способ изменения скорости передачи цифрового звукового сигнала телерадиовещания с предыскажением реализуется следующим образом. Из входного основного цифрового звукового сигнала телерадиовещания, имеющего исходную частоту дискретизации f1, осуществляют формирование сегментов, состоящих из N1 кодовых комбинаций этого цифрового сигнала в каждом сегменте, соответствующих N1 дискретным отсчетам звукового сигнала. На каждый сегмент налагают оконную функцию Наттолла, после чего осуществляют накопление N1 кодовых комбинаций цифрового сигнала и N1 точечное прямое дискретное преобразование Фурье этих накопленных N1 кодовых комбинаций основного цифрового сигнала и получают N1 пар спектральных коэффициентов.
Необходимость наложения оконной функции Наттолла вызвана тем, что при дискретном преобразовании Фурье (ДПФ) используется прямоугольное окно без перекрытия, что приводит к появлению разрывов анализируемых функций. Возникающие вследствие этого в спектре боковые лепестки преобразования окна, называемые просачиванием, будут искажать амплитуды соседних спектральных составляющих. Для снижения уровня искажений и помех необходимо минимизировать такое просачивание энергии боковых лепестков в основные компоненты сигнала. Очевидно, что чем ниже уровень боковых лепестков функции окна в частотной области, тем выше точность прямого дискретного преобразования Фурье. Наименьшим уровнем боковых лепестков, из существующих оконных функций, обладает именно окно Наттолла.
В результате N1 точечного прямого дискретного преобразования Фурье N1 кодовых комбинаций получают N1 пар спектральных коэффициентов, соответствующих представлению цифрового звукового сигнала в спектральной области. Далее в спектральной области осуществляют изменение количества пар спектральных коэффициентов на каждом сегменте с N1 на N2, что соответствует изменению (уменьшению или увеличению) частоты дискретизации и скорости передачи цифрового звукового сигнала во временной области. Затем после изменение количества пар спектральных коэффициентов на каждом сегменте осуществляют N2 точечное обратное дискретное преобразование Фурье из N2 пар спектральных коэффициентов в N2 кодовых комбинаций, при этом N1/ N2 = f1/f2 , где f1 - исходная частота дискретизации, f2 - измененная частота дискретизации. При этом в случае уменьшения частоты дискретизации, преобразование высокой частоты f1 в низкую частоту f2 может принимать следующие значения 48 кГц - 44,1 кГц; 48 кГц - 32 кГц ;48 кГц - 31,25 кГц; 44,1 кГц - 32 кГц; 44,1 кГц - 31,25 кГц; 32 кГц - 31,25 кГц. А в случае увеличения частоты дискретизации, преобразование низкой частоты f1 в высокую частоту f2 может принимать следующие значения 31,25 кГц - 48 кГц; 31,25 кГц - 44,1 кГц; 31,25 кГц - 32 кГц; 32 кГц - 44,1 кГц; 32 кГц - 48 кГц; 44,1 кГц - 48 кГц. Таким образом, осуществляют изменение частоты дискретизации и скорости передачи цифрового звукового сигнала.
Для более качественного восстановления сигнала в случае использования окна Наттола дополнительно осуществляют сложение с 50% перекрытием. Для этого после N2 точечного обратного дискретного преобразования Фурье осуществляют формирование сегментов цифрового сигнала из N2 кодовых комбинаций этого сигнала в каждом сегменте. Затем производят сложение с 50% перекрытием каждого сегмента с предыдущим ему сегментом, задержанным на длительность, равную половине длительности сегмента. Поскольку окно Наттола не относиться к числу окон обеспечивающих единичный коэффициент передачи при использовании 50% перекрытий, то дополнительное увеличение точности восстановленного цифрового звукового сигнала с измененной скоростью передачи осуществляют путем компенсации неравномерности оконной функции Наттолла. Такая компенсация позволяет увеличить защитное отношение, характеризующее уровень помех и искажений в сигнале, до 92 дБ, что существенно для передачи сигналов художественного вещания.
После первого изменения скорости передачи осуществляют второе изменение скорости передачи в основном цифровом звуковом сигнале с формированием сегментов цифрового сигнала из N2 кодовых комбинаций этого основного цифрового сигнала в каждом сегменте, соответствующих N2 дискретным отсчетам звукового сигнала. На каждый сегмент налагают оконную функцию Наттолла, после чего осуществляют накопление N2 кодовых комбинаций основного цифрового сигнала и N2 точечное прямое дискретное преобразование Фурье этих накопленных N2 кодовых комбинаций основного цифрового сигнала. и получают N2 пар спектральных коэффициентов, соответствующих представлению цифрового звукового сигнала в спектральной области. Далее в спектральной области осуществляют изменение количества пар спектральных коэффициентов на каждом сегменте с N2 на N1, что соответствует изменению (уменьшению или увеличению) частоты дискретизации и скорости передачи основного цифрового звукового сигнала во временной области. Затем после изменение количества пар спектральных коэффициентов на каждом сегменте осуществляют N1 точечное обратное дискретное преобразование Фурье из N1 пар спектральных коэффициентов в N1 кодовых комбинаций, при этом N2/N1 = f2/ f1 , где f2 - исходная частота дискретизации при втором изменении скорости передачи, f1 - измененная частота дискретизации. При этом в случае увеличения частоты дискретизации, преобразование низкой частоты f2 в высокую частоту f1 может принимать следующие значения 31,25 кГц - 48 кГц; 31,25 кГц - 44,1 кГц; 31,25 кГц - 32 кГц; 32 кГц - 44,1 кГц; 32 кГц - 48 кГц; 44,1 кГц - 48 кГц. А в случае уменьшения частоты дискретизации, преобразование высокой частоты f2 в низкую частоту f1 может принимать следующие значения 48 кГц - 44,1 кГц; 48 кГц - 32 кГц ; 48 кГц - 31,25 кГц; 44,1 кГц - 32 кГц; 44,1 кГц - 31,25 кГц; 32 кГц - 31,25 кГц. Таким образом, осуществляют изменение частоты дискретизации и скорости передачи основного цифрового звукового сигнала.
Далее осуществляют формирование сегментов основного цифрового сигнала из N1 кодовых комбинаций этого сигнала в каждом сегменте. Затем производят сложение с 50% перекрытием каждого сегмента с предыдущим ему сегментом, задержанным на длительность, равную половине длительности сегмента. Дополнительное увеличение точности восстановленного основного цифрового звукового сигнала с измененной скоростью передачи осуществляют путем компенсации неравномерности оконной функции Наттолла.
В результате после двух последовательных изменений скорости передачи получают, искаженный, вследствие обработок по этому изменению скорости передачи, выходной основной цифровой звуковой сигнал, скорость передачи которого равна скорости передачи во входном основном цифровом сигнале.
Кроме того, перед первым изменением скорости передачи во входном основном цифровом сигнале, осуществляют формирование из этого входного основного цифрового звукового сигнала вспомогательный цифровой звуковой сигнал. В отношении этого вспомогательного цифрового звукового сигнала осуществляют первое изменение скорости передачи, включающей все точно такие же операции, которые были проделаны в отношении основного цифрового звукового сигнала при первом изменении его скорости передачи и получают выходной вспомогательный цифровой звуковой сигнал, искажения в котором являются одинаковыми с искажениями в выходном основном цифровом звуковом сигнале при первом изменении его скорости передачи .
После первого изменения скорости передачи осуществляют второе изменение скорости передачи в этом вспомогательном цифровом звуковом сигнале, включающей все точно такие же операции, которые были проделаны в отношении основного цифрового звукового сигнала при втором изменении его скорости передачи. В результате получают выходной вспомогательный цифровой звуковой сигнал, скорость передачи которого равна скорости передачи во входном основном цифровом сигнале, а искажения в этом выходном вспомогательном цифровом звуковом сигнале являются одинаковыми с искажениями, вследствие двух обработок по изменению скорости передачи, в выходном основном цифровом звуковом сигнале.
После этого из искаженного выходного вспомогательного цифрового звукового сигнала осуществляют вычитание неискаженного входного основного цифрового звукового сигнала и получают цифровой предыскажающий сигнал, состоящий из помех и искажений вследствие двух обработок по изменению скорости передачи. Далее этот цифровой предыскажающий сигнал инвертируют по фазе, а затем вводят путем суммирования в неискаженный задержанный входной основной цифровой звуковой сигнал. В результате получают предыскаженный входной основной цифровой звуковой сигнал, в котором помехи и искажения оказываются в противофазе с помехами и искажениями, возникающими при изменениях скорости передачи. Над этим предыскаженным сигналом осуществляют, как было ранее описано, последовательно первое и второе изменение скорости передачи и получают выходной основной цифровой звуковой сигнал. В данном сигнале за счет введенного предыскажения, оказываются скомпенсированными помехи и искажения, возникавшие вследствие двух обработок по изменению скорости передачи.
Благодаря такому решению задачи предлагаемый способ и устройство изменения скорости передачи цифрового звукового сигнала телерадиовещания с предыскажением, в отличие от прототипа, позволяет за счет предыскажения скомпенсировать помехи и искажения, возникающие из-за обработок цифрового звукового сигнала при изменениях его скорости передачи. Вследствие такой компенсации помех и искажений удается существенно повысить качество передачи звуковых вещательных сигналов, что позволяет реализовать поставленную задачу.
Устройство изменения скорости передачи цифрового звукового сигнала телерадиовещания с предыскажением (фиг. 1) состоит из первого блока наложения оконной функции Наттолла 1, первого блока прямого дискретного преобразования Фурье 2, первого блока обратного дискретного преобразования Фурье 3, первого блока перекрытия сегментов и компенсации неравномерности оконной функции Наттолла 4, первого блока удвоения частоты тактовых импульсов 5, второго блока удвоения частоты тактовых импульсов 6, первого блока изменения количества пар спектральных коэффициентов 7, первого выделителя тактовых импульсов 8, первого генератора тактовых импульсов 9, первого преобразователя скорости передачи основного сигнала 101, второго блока наложения оконной функции Наттолла 11, второго блока прямого дискретного преобразования Фурье 12, второго блока обратного дискретного преобразования Фурье 13, второго блока перекрытия сегментов и компенсации неравномерности оконной функции Наттолла 14, третьего блока удвоения частоты тактовых импульсов 15, четвертого блока удвоения частоты тактовых импульсов 16, второго блока изменения количества пар спектральных коэффициентов 17, второго выделителя тактовых импульсов 18, второго генератора тактовых импульсов 19, второго преобразователя скорости передачи основного сигнала 201, первого преобразователя скорости передачи вспомогательного сигнала 102, второго преобразователя скорости передачи вспомогательного сигнала 202, блока вычитания 21, фазоинвертора 22, линии задержки 23, сумматора 24 и линии связи 25.
Вход линии задержки 23 соединен со входом устройства, а также со входом первого преобразователя скорости передачи вспомогательного сигнала 102 и со вторым входом блока вычитания 21, первый вход которого соединен с выходом второго преобразователя скорости передачи вспомогательного сигнала 202, вход которого соединен с выходом первого преобразователя скорости передачи вспомогательного сигнала 102, а выход блока вычитания 21 через фазоинвертор 22 соединен со вторым входом сумматора 24, первый вход которого соединен с выходом линии задержки 23, а выход сумматора 24 соединен со входом первого преобразователя скорости передачи основного сигнала 101, а внутри этого первого преобразователя скорости передачи основного сигнала 101, его вход соединен с первым входом первого блока наложения оконной функции Наттолла 1 и со входом первого выделителя тактовых импульсов 8, выход которого соединен со вторым входом первого блока наложения оконной функции Наттолла 1, выход которого соединен с первым входом первого блока прямого дискретного преобразования Фурье 2, а также выход первого выделителя тактовых импульсов 8 соединен со входом первого блока удвоения частоты тактовых импульсов 5, выход которого соединен с третьим входом первого блока наложения оконной функции Наттолла 1, со вторым входом первого блока прямого дискретного преобразования Фурье 2 и со вторым входом первого блока изменения количества пар спектральных коэффициентов 7, первый вход которого соединен с выходом первого блока прямого дискретного преобразования Фурье 2, а выход первого блока изменения количества пар спектральных коэффициентов 7 соединен с первым входом первого блока обратного дискретного преобразования Фурье 3, выход которого соединен с первым входом первого блока перекрытия сегментов и компенсации неравномерности оконной функции Наттолла 4, при этом выход первого генератора тактовых импульсов 9 соединен с третьи входом первого блока перекрытия сегментов и компенсации неравномерности оконной функции Наттолла 4 и со входом второго блока удвоения частоты тактовых импульсов 6, выход которого соединен с третьим входом первого блока изменения количества пар спектральных коэффициентов 7, со вторым входом первого блока обратного дискретного преобразования Фурье 3 и со вторым входом первого блока перекрытия сегментов и компенсации неравномерности оконной функции Наттолла 4, выход которого является выходом первого преобразователя скорости передачи основного сигнала 101, который через линию связи 25 соединен со входом второго преобразователя скорости передачи основного сигнала 201, а внутри этого второго преобразователя скорости передачи основного сигнала 201 его вход соединен с первым входом второго блока наложения оконной функции Наттолла 11 и со входом второго выделителя тактовых импульсов 18, выход которого соединен со вторым входом второго блока наложения оконной функции Наттолла 11, выход которого соединен с первым входом второго блока прямого дискретного преобразования Фурье 12 , а также выход второго выделителя тактовых импульсов 18 соединен со входом третьего блока удвоения частоты тактовых импульсов 15, выход которого соединен с третьим входом второго блока наложения оконной функции Наттолла 11, со вторым входом второго блока прямого дискретного преобразования Фурье 12 и со вторым входом второго блока изменения количества пар спектральных коэффициентов 17, первый вход которого соединен с выходом второго блока прямого дискретного преобразования Фурье 12, а выход второго блока изменения количества пар спектральных коэффициентов 17 соединен с первым входом второго блока обратного дискретного преобразования Фурье 13, выход которого соединен с первым входом второго блока перекрытия сегментов и компенсации неравномерности оконной функции Наттолла 14, при этом выход второго генератора тактовых импульсов19 соединен с третьим входом второго блока перекрытия сегментов и компенсации неравномерности оконной функции Наттолла 14 и со входом четвертого блока удвоения частоты тактовых импульсов 16, выход которого соединен с третьим входом второго блока изменения количества пар спектральных коэффициентов 17, со вторым входом второго блока обратного дискретного преобразования Фурье 13 и со вторым входом второго блока перекрытия сегментов и компенсации неравномерности оконной функции Наттолла 14, выход которого является выходом второго преобразователя скорости передачи основного сигнала 201, выход которого является выходом устройства.
Предлагаемый способ осуществляется при помощи предлагаемого устройства следующим образом (фиг. 1). Основной цифровой звуковой сигнал (ОЦЗС) телерадиовещания, имеющий исходную частоту дискретизации f1, поступает на вход линии задержки (ЛЗ) 23, а также на вход первого преобразователя скорости передачи вспомогательного сигнала (ПСПВС) 102 и на второй вход блока вычитания (БВ) 21. Этот ОЦЗС с выхода ЛЗ 23 проходит на первый вход сумматора 24 и с его выхода поступает на вход первого преобразователя скорости передачи основного сигнала (ПСПОС) 101. А внутри этого первого ПСПОС 101 этот ОЦЗС поступает на первый вход первого блока наложения оконной функции Наттолла (БНОФН) 1 и на вход первого выделителя тактовых импульсов (ВТИ) 8. В первом БНОФН 1 осуществляют формирование сегментов, состоящих из N1 кодовых комбинаций этого цифрового сигнала в каждом сегменте, соответствующих N1 дискретным отсчетам звукового сигнала. В этом же блоке 1 на каждый сегмент налагают оконную функцию Наттолла. После этого основной цифровой сигнал с выхода первого БНОФН 1 поступает на первый вход первого блока прямого дискретного преобразования Фурье (БПДПФ) 2. В данном блоке осуществляется накопление N1 кодовых комбинаций цифрового сигнала и N1 точечное прямое дискретное преобразование Фурье этих накопленных N1 кодовых комбинаций цифрового сигнала. В результате на выходе первого БПДПФ 2 получают N1 пар спектральных коэффициентов на каждом сегменте, соответствующих представлению ОЦЗС в спектральной области.
После этого N1 пар спектральных коэффициентов с выхода первого БПДПФ 2 поступают на первый вход первого блока изменения количества пар спектральных коэффициентов (БИКПСК) 7, в котором в спектральной области осуществляют изменение количества пар спектральных коэффициентов на каждом сегменте с N1 на N2, что соответствует изменению (уменьшению или увеличению) частоты дискретизации и скорости передачи цифрового звукового сигнала во временной области. В блоке 7 происходит в случае уменьшения частоты отбрасывание всех пар коэффициентов, начиная с номера N = N2, а в случае увеличения частоты происходит прибавления нулевых пар коэффициентов с номера N = N1.
Затем N2 пар спектральных коэффициентов с выхода БИКПСК 7 поступают на первый вход первого блока обратного дискретного преобразования Фурье (БОДПФ) 3, в котором осуществляют N2 точечное обратное дискретное преобразование Фурье из N2 пар спектральных коэффициентов в N2 кодовых комбинаций. При этом N1/N2 = f1/f2 , где f1 - исходная частота дискретизации, f2 - измененная частота дискретизации. При этом в случае уменьшения частоты дискретизации, преобразование высокой частоты f1 в низкую частоту f2 может принимать следующие значения 48 кГц - 44,1 кГц; 48 кГц - 32 кГц ;48 кГц - 31,25 кГц; 44,1 кГц - 32 кГц; 44,1 кГц - 31,25 кГц; 32 кГц - 31,25 кГц. А в случае увеличения частоты дискретизации, преобразование низкой частоты f1 в высокую частоту f2 может принимать следующие значения 31,25 кГц - 48 кГц; 31,25 кГц - 44,1 кГц; 31,25 кГц - 32 кГц; 32 кГц - 44,1 кГц; 32 кГц - 48 кГц; 44,1 кГц - 48 кГц. Таким образом, осуществляют изменение частоты дискретизации и скорости передачи цифрового звукового сигнала.
После этого ОЦЗС с измененной частотой дискретизации f2 и измененной скоростью передачи с выхода первого БОДПФ 3 поступает на первый вход первого блока перекрытия сегментов и компенсации неравномерности оконной функции Наттолла (БПСКНОФН) 4. В этом блоке для более качественного восстановления сигнала в случае использования окна Наттолла осуществляют сложение с 50% перекрытием. Для этого осуществляют формирование сегментов цифрового сигнала из N2 кодовых комбинаций этого сигнала в каждом сегменте. Затем производят сложение с 50% перекрытием каждого сегмента с предыдущим ему сегментом, задержанным на длительность, равную половине длительности сегмента. Поскольку окно Наттола не относиться к числу окон обеспечивающих единичный коэффициент передачи при использовании 50% перекрытий, то дополнительное увеличение точности восстановленного цифрового звукового сигнала с измененной скоростью передачи осуществляют путем компенсации неравномерности оконной функции Наттолла. Такая компенсация позволяет увеличить защитное отношение, характеризующее уровень помех и искажений в сигнале, до 92 дБ, что существенно для передачи сигналов художественного вещания.
Далее ОЦЗС с измененной скоростью передачи с выхода первого БПСКНОФН 4 поступает на выход первого ПСПОС 101 и далее подается на линию связи 25. С выхода линии связи 25 данный сигнал подается на вход второго ПСПОС 201, в котором осуществляют второе изменение скорости передачи ОЦЗС. А внутри этого второго ПСПОС 201 этот ОЦЗС поступает на первый вход второго БНОФН 11 и на вход второго ВТИ 18. Во втором БНОФН 11 осуществляют формирование сегментов, состоящих из N2 кодовых комбинаций этого цифрового сигнала в каждом сегменте, соответствующих N2 дискретным отсчетам звукового сигнала. В этом же блоке 11 на каждый сегмент налагают оконную функцию Наттолла. После этого основной цифровой сигнал с выхода второго БНОФН 11 поступает на первый вход второго БПДПФ 12. В данном блоке осуществляется накопление N2 кодовых комбинаций цифрового сигнала и N2 точечное прямое дискретное преобразование Фурье этих накопленных N2 кодовых комбинаций цифрового сигнала. В результате на выходе второго БПДПФ 12 получают N2 пар спектральных коэффициентов на каждом сегменте, соответствующих представлению ОЦЗС в спектральной области.
После этого N2 пар спектральных коэффициентов с выхода второго БПДПФ 12 поступают на первый вход второго БИКПСК 17, в котором в спектральной области осуществляют изменение количества пар спектральных коэффициентов на каждом сегменте с N2 на N1, что соответствует изменению (уменьшению или увеличению) частоты дискретизации и скорости передачи цифрового звукового сигнала во временной области. В блоке 17 происходит, в случае уменьшения частоты, отбрасывание всех пар коэффициентов, начиная с номера N = N1, а в случае увеличения частоты происходит прибавления нулевых пар коэффициентов с номера N = N2.
Затем N1 пар спектральных коэффициентов с выхода второго БИКПСК 17 поступают на первый вход второго БОДПФ 13, в котором осуществляют N1 точечное обратное дискретное преобразование Фурье из N1 пар спектральных коэффициентов в N1 кодовых комбинаций. При этом N2/N1 = f2/ f1 , где f2 - исходная частота дискретизации при втором изменении скорости передачи, f1 - измененная частота дискретизации. При этом в случае увеличения частоты дискретизации, преобразование низкой частоты f2 в высокую частоту f1 может принимать следующие значения 31,25 кГц - 48 кГц; 31,25 кГц - 44,1 кГц; 31,25 кГц - 32 кГц; 32 кГц - 44,1 кГц; 32 кГц - 48 кГц; 44,1 кГц - 48 кГц. А в случае уменьшения частоты дискретизации, преобразование высокой частоты f2 в низкую частоту f1 может принимать следующие значения 48 кГц - 44,1 кГц; 48 кГц - 32 кГц ; 48 кГц - 31,25 кГц; 44,1 кГц - 32 кГц; 44,1 кГц - 31,25 кГц; 32 кГц - 31,25 кГц. Таким образом, осуществляют изменение частоты дискретизации и скорости передачи основного цифрового звукового сигнала.
После этого ОЦЗС с измененной частотой дискретизации f1 и измененной скоростью передачи с выхода второго БОДПФ 13 поступает на первый вход второго БПСКНОФН 14. В этом блоке для более качественного восстановления сигнала в случае использования окна Наттолла осуществляют сложение с 50% перекрытием. Для этого осуществляют формирование сегментов цифрового сигнала из N1 кодовых комбинаций этого сигнала в каждом сегменте. Затем производят сложение с 50% перекрытием каждого сегмента с предыдущим ему сегментом, задержанным на длительность, равную половине длительности сегмента. Далее ОЦЗС с измененной скоростью передачи с выхода второго БПСКНОФН 14 поступает на выход второго ПСПОС 201, являющегося выходом устройства.
В результате после двух изменений скорости передачи в первом ПСПОС 101 и втором ПСПОС 201, получают, искаженный, вследствие обработок по этому изменению скорости передачи, выходной основной цифровой звуковой сигнал, частота дискретизации f1 и скорость передачи которого равны частоте дискретизации f1 и скорости передачи во входном основном цифровом сигнале (на входе ЛЗ 23).
Для компенсации искажений в ОЦЗС на основе введения в этот входной сигнал предыскажений с использованием вспомогательного сигнала, служат первый преобразователь скорости передачи вспомогательного сигнала (ПСПВС) 102, второй преобразователь скорости передачи вспомогательного сигнала (ПСПВС) 202, блок вычитания 21, фазоинвертор 22, линия задержки 23 и сумматор 24. Для этого входной ОЦЗС подается через линию задержки 23 на первый вход сумматора 24. Кроме того, этот входной ОЦЗС подается на вход первого ПСПВС 102 и далее называется вспомогательным цифровым звуковым сигналом. При этом первый ПСПВС 102 полностью идентичен первому ПСПОС 101.
В первом ПСПВС 102 в отношении этого вспомогательного цифрового звукового сигнала (ВЦЗС) осуществляют первое изменение скорости передачи, включающей все точно такие же операции, которые были проделаны в отношении основного цифрового звукового сигнала при первом изменении его скорости передачи в ПСПОС 101.
После этого первый раз измененный по скорости ВЦЗС с выхода первого ПСПВС 102 поступает на вход второго ПСПВС 202, который полностью идентичен второму ПСПОС 201. Во втором ПСПВС 202 осуществляют второе изменение скорости передачи, включающей все точно такие же операции, которые были проделаны в отношении основного цифрового звукового сигнала при втором изменении его скорости передачи в ПСПОС 201. В результате на выходе второго ПСПВС 202 получают искаженный вследствие обработок по изменению скорости передачи, выходной вспомогательный цифровой звуковой сигнал. При этом скорость передачи этого выходного ВЦЗС равна скорости передачи во входном ОЦЗС, а искажения в этом вспомогательном сигнале являются одинаковыми с искажениями в основном цифровом звуковом сигнале.
Затем искаженный выходной ВЦЗС с выхода ПСПВС 202 подается на первый вход блока вычитания 21, на второй вход которого поступает неискаженный входной основной цифровой звуковой сигнал. В блоке вычитания 21 из искаженного выходного вспомогательного цифрового звукового сигнала осуществляют вычитание неискаженного входного основного цифрового звукового сигнала и получают цифровой предыскажающий сигнал, состоящий из помех и искажений вследствие обработок по изменению скорости передачи во ВЦЗС. Этот предыскажающий сигнал с выхода блока вычитания 21 поступает на вход фазоинвертора 22, в котором данный сигнал инвертируют по фазе. Затем инвертированный цифровой предыскажающий сигнал с выхода фазоинвертора 22 подается на второй вход сумматора 24. В сумматоре 24 путем суммирования осуществляют ввод инвертированного цифрового предыскажающего сигнала в неискаженный задержанный в линии задержки 23 входной основной цифровой звуковой сигнал. Линия задержки 23 необходима для задержки неискаженного входного основного цифрового звукового сигнала на время равное времени, затрачиваемому на обработках в блоках 102, 202, 21, 22 цифрового предыскажающего сигнала. Вследствие этого происходит согласования фаз неискаженного входного основного цифрового звукового сигнала с цифровым предыскажающим сигналом. В результате на выходе сумматора 24 получают предыскаженный входной основной цифровой звуковой сигнал, в котором помехи и искажения оказываются в противофазе с помехами и искажениями, возникающими при изменениях скорости передачи в последовательно включенных первом ПСПОС 101 и втором ПСПОС 201. Далее над этим предыскаженным основным цифровым звуковым сигналом осуществляют, как было ранее описано, последовательно первое и второе изменение скорости передачи в первом ПСПОС 101 и втором ПСПОС 201 и получают на выходе ПСПОС 201 и выходе устройства выходной основной цифровой звуковой сигнал. В данном сигнале за счет введенного предыскажения, оказываются скомпенсированными помехи и искажения, возникавшие вследствие обработок по изменению скорости передачи.
Для функционирования первого БНОФН 1, первого БПДПФ 2, первого БИКПСК 7, первого БОДПФ 3 и первого БПСКНОФН 4, входящих в первый ПСПОС 101, используются тактовые импульсы с разными частотами. При этом, импульсы, соответствующие первой тактовой частоте выделяется из входного ОЦЗС при помощи первого выделителя тактовых импульсов (ВТИ) 8, а импульсы, соответствующие второй тактовой частоте, генерируются при помощи первого генератора тактовых импульсов (ГТИ) 9. Импульсы, соответствующие первой тактовой частоте, с выхода первого ВТИ 8 поступают на вход первого блока удвоения частоты тактовых импульсов (БУЧТИ) 5, в котором формируются удвоенные по частоте первые тактовые импульсы. А Импульсы, соответствующие второй тактовой частоте, с выхода ГТИ 9 поступают на вход второго блока удвоения частоты тактовых импульсов (БУЧТИ) 6, в котором формируются удвоенные по частоте вторые тактовые импульсы. При этом импульсы первой тактовой частоты с выхода первого ВТИ 8 подаются на второй вход первого БНОФН 1, а удвоенные по частоте первые тактовые импульсы с выхода первого БУЧТИ 5 подаются на третий вход первого БНОФН 1, а также на второй вход первого БПДПФ 2 и на второй вход первого БИКПСК 7. Импульсы второй тактовой частоте, с выхода ГТИ 9 поступают на третий вход первого БПСКНОФН 4, а удвоенные по частоте вторые тактовые импульсы с выхода второго БУЧТИ 6 подаются на третий вход первого БИКПСК 7, а также на второй вход первого БОДПФ 3 и на второй вход первого БПСКНОФН 4.
А для функционирования второго БНОФН 11, второго БПДПФ 12, второго БИКПСК 17, второго БОДПФ 13 и второго БПСКНОФН 14, входящих во второй ПСПОС 201, также используются тактовые импульсы с разными частотами. При этом, импульсы, соответствующие второй тактовой частоте выделяется из входного ОЦЗС при помощи второго ВТИ 18, а импульсы, соответствующие первой тактовой частоте, генерируются при помощи второго ГТИ 19. Импульсы, соответствующие второй тактовой частоте, с выхода второго ВТИ 18 поступают на вход третьего БУЧТИ 15, в котором формируются удвоенные по частоте вторые тактовые импульсы. А Импульсы, соответствующие первой тактовой частоте, с выхода второго ГТИ 19 поступают на вход четвертого БУЧТИ 16, в котором формируются удвоенные по частоте первые тактовые импульсы. При этом импульсы второй тактовой частоты с выхода второго ВТИ 18 подаются на второй вход второго БНОФН 11, а удвоенные по частоте вторые тактовые импульсы с выхода третьего БУЧТИ 15 подаются на третий вход второго БНОФН 11, а также на второй вход второго БПДПФ 12 и на второй вход второго БИКПСК 17. Импульсы первой тактовой частоты, с выхода ГТИ 19 поступают на третий вход второго БПСКНОФН 14, а удвоенные по частоте первые тактовые импульсы с выхода четвертого БУЧТИ 16 подаются на третий вход второго БИКПСК 17, а также на второй вход второго БОДПФ 13 и на второй вход второго БПСКНОФН 14.
Формирование тактовых импульсов в блоках, входящих в первый преобразователь скорости передачи вспомогательного сигнала (ПСПВС) 102 и второй преобразователь скорости передачи вспомогательного сигнала (ПСПВС) 202, будут аналогичными блокам, входящих, соответственно, в первый преобразователь скорости передачи основного сигнала (ПСПОС) 101 и во второй преобразователь скорости передачи основного сигнала (ПСПОС) 201.
Особенностью предлагаемого устройства изменения скорости передачи цифрового звукового сигнала (ЦЗС) телерадиовещания с предыскажением является то, что нестандартными в нем являются: первый, второй, третий и четвертый блоки удвоения частоты тактовых импульсов (БУЧТИ), первый и второй блоки наложения оконной функции Наттолла (БНОФН), первый и второй блоки изменения количества пар спектральных коэффициентов (БИКПСК), первый и второй блоки перекрытия сегментов и компенсации неравномерности оконной функции Наттолла (БПСКНОН).
При этом первый, второй, третий и четвертый блоки удвоения частоты тактовых импульсов (БУЧТИ) могут быть выполнены каждый в виде последовательно включенных: дифференциальной схемы, двухполупериодного выпрямителя и формирователя коротких импульсов. Если тактовые импульсы на входе БУЧТИ отличаются от меандра, то перед дифференциальной схемой ставится еще и формирователь меандра.
Пример реализации блока наложения оконной функции Наттолла (БНОФН) показан на фиг. 2. Эти БНОФН содержаться в первом преобразователе скорости передачи основного сигнала (ПСПОС) 101, во втором преобразователе скорости передачи основного сигнала (ПСПОС) 201, в первом преобразователе скорости передачи вспомогательного сигнала (ПСПВС) 102 и во втором преобразователе скорости передачи вспомогательного сигнала (ПСПВС) 20 (фиг. 1). Строение и функционирование этих БНОФН одинаковое за исключением того, что при их работе с основным цифровым звуковым сигналом (ОЦЗС) и вспомогательным цифровым звуковым сигналом (ВЦЗС), исходные частоты дискретизации f1 и f2 могут быть различными (48, 44,1, 32, 31,25 кГц) и соответственно различным будет количество дискретных отсчетов на полусегментах и сегментах.
БНОФН содержит (фиг. 2): первый регистр сдвига, буферную память, блок умножения, второй регистр сдвига, первый счетчик, блок памяти и второй счетчик. Первый (информационный) вход первого регистра сдвига соединен с первым входом блока наложения оконной функции Наттолла. Второй (тактовый) вход первого регистра сдвига подключен ко второму входу блока наложения оконной функции Наттолла, к которому подключен также вход первого счетчика. Вход второго счетчика соединен с третьим входом блока наложения оконной функции Наттолла и третьим входом второго регистра сдвига. Кодовый выход первого регистра сдвига соединен с кодовым входом буферной памяти, кодовый выход которой подключен к первому кодовому входу блока умножения, второй кодовый вход которого соединен с кодовым выходом блока памяти. Кодовый выход блока умножения подключен к кодовому входу второго регистра сдвига, выход которого соединен с выходом блока наложения оконной функции Наттолла. Выход первого счетчика подключен ко второму входу буферной памяти и первому входу блока памяти. Выход второго счетчика подключен к третьему входу буферной памяти, второму входу блока памяти и второму входу второго регистра сдвига.
Функционирование БНОФН рассмотрим на примере работы первого блока наложения оконной функции Наттолла БНОФН 1 (фиг. 2 ), который работает следующим образом. В исходном состоянии первый и второй регистры сдвига, а также буферная память, первый и второй счетчики обнулены. Блок памяти также находится в исходном состоянии, когда на его кодовом выходе присутствует кодовая комбинация, соответствующая коэффициенту передачи окна Натолла для первой из N1 кодовых комбинаций (дискретных отсчетов) цифрового звукового сигнала в сегменте.
На первый вход первого блока наложения оконной функции Наттолла (БНОФН) 1 (фиг. 1) со входа первого преобразователя скорости передачи основного сигнала (ПСПОС) 101 начинает поступать основной цифровой звуковой сигнал (ОЦЗС), имеющий исходную частоту дискретизации f1, и одновременно на второй вход первого БНОФН 1 с выхода первого выделителя тактовых импульсов (ВТИ) 8 начинают поступать тактовые импульсы (ТИ1), соответствующие первой тактовой частоте. Кроме того на третий вход первого БНОФН 1 с выхода первого блока удвоения частоты тактовых импульсов (БУЧТИ) 5 начинают поступать удвоенные по частоте первые тактовые импульсы (УТИ1). А внутри первого БНОФН 1 (фиг. 2) символы ОЦЗС записываются в первый регистр сдвига (РС1) под действием ТИ1 на его втором входе и продвигаются по ячейкам данного регистра. Одновременно первый и второй счетчики начинают подсчет, соответственно ТИ1 и УТИ1. При этом первый счетчик предназначен для определения длительности половины сегмента (полусегмента) ОЦЗС, на который накладывается оконная функция Натолла.
Например, из ОЦЗС, имеющего частоту дискретизации 48 кГц нужно сформировать последовательность полусегментов, каждый из которых должен содержать N1/2 = 480 дискретных отсчетов. При этом каждый дискретный отсчет представляет из себя, например, 16 разрядную кодовую комбинацию. Тогда длительность каждого полусегмента будет равна 480 шестнадцатиразрядным кодовым комбинациям или 7680 символам или 7680 ТИ1. Именно после данного количества ТИ1 на выходе первого счетчика появляется короткий импульс, свидетельствующий об окончании данного полусегмента ОЦЗС и начале следующего (фиг. 3а,б).
Второй счетчик предназначен для определения длительности кодовой комбинации (в нашем примере 16 разрядной кодовой комбинации), соответствующей дискретному отсчету. Т.е. после прихода каждого 16 УТИ1 на выходе второго счетчика появляется короткий импульс, свидетельствующий об окончании данной кодовой комбинации и начале следующей 16 разрядной кодовой комбинации. Первый регистр сдвига, в нашем примере, вмещает в себя 960 шестнадцатиразрядных кодовых комбинаций (т.е. два полусегмента), а второй регистр сдвига (РС2) вмещает в себя одну 16 разрядную кодовую комбинацию, соответствующую одному дискретному отсчету. Кодовые комбинации с кодовых выходов буферной памяти, блока умножения и блока памяти также являются 16 разрядными.
По мере продвижения под действием ТИ1 по ячейкам РС1 последовательности из 16 разрядных кодовых комбинаций ОЦЗС на его кодовом выходе появляются значения этих кодовых комбинации в параллельном коде. Данный набор параллельных 16 разрядных кодовых комбинаций прикладывается к кодовому входу буферной памяти, но не записывается в нее. В то же время из буферной памяти считываются нулевые 16 разрядные кодовые комбинации под действием импульсов с выхода второго счетчика. Эти нулевые 16 разрядные кодовые комбинации поступают на первый кодовый вход блока умножения. На второй кодовый вход данного блока в это время подаются 16 разрядные кодовые комбинации, соответствующие коэффициентам передачи окна Натолла. После перемножения кодовых комбинаций, поданных на 1 и 2 кодовые входы блока умножения, на его выходе также будут нулевые 16 разрядные кодовые комбинации, которые записываются в РС2 под действием импульсов с выхода второго счетчика. Эти нулевые 16 разрядные кодовые комбинации под действием УТИ1 в последовательном коде появляются на выходе РС2.
Т.о. в период заполнения первой половины РС1 кодовыми комбинациями, соответствующими первому полусегменту (1 п.с. на фиг. 3а) на выходе РС2 осуществляется формирование первого по счету сегмента (01-0 сегм. на фиг. 3в) из нулевых кодовых комбинаций.
После заполнения 480 шестнадцатиразрядными кодовыми комбинациями первой половины РС1 на выходе первого счетчика появляется первый короткий импульс (фиг. 3б) под действием которого данные кодовые комбинации из первой половины РС1 (1 п.с. на фиг. 3а) и нули из второй половины РС1 (0 п.с. на фиг. 3а) в параллельном коде записываются в буферную память. Таким образом, из нулевого и первого полусегментов формируется первый сегмент (1 сегм. на фиг. 3а). Одновременно, под действием того же короткого импульса осуществляется установка блока памяти в исходное состояние, когда на его кодовом выходе появляется кодовая комбинация, соответствующая коэффициенту передачи окна Натолла для первой из N1 = 960 кодовых комбинаций в первом сегменте (1 сегм. на фиг. 3а). Следует заметить, что коэффициенты передачи окна Натолла (и соответствующие им кодовые комбинации) для первой половины сегмента (например 0 п.с. в 1 сегм. на фиг. 3а) являются возрастающими, а для второй половины сегмента (например 1 п.с. в 1 сегм. на фиг. 3а) являются уменьшающимися.
Под действием импульсов на третьем входе буферной памяти и втором входе блока памяти, 16 разрядные кодовые комбинации с их кодовых выходов поступают на, соответственно, первый и второй кодовые входы блока умножения. Первыми умножаются нулевые кодовые комбинации из нулевого полусегмента первого сегмента (1 сегм. на фиг. 3а), поэтому с кодового выхода блока умножения на кодовый вход РС2 поступают только нулевые 16 разрядные кодовые комбинации. Эти кодовые комбинации записываются в РС2 (под действием импульсов со второго счетчика) и в виде последовательных кодовых комбинаций появляются на выходе РС2 (под действием УТИ1). Далее начинают умножаться информационные кодовые комбинации из первого полусегмента первого сегмента (1 сегм. на фиг. 3а), поэтому с кодового выхода блока умножения на кодовый вход РС2 поступают перемноженные 16 разрядные кодовые комбинации, соответствующие исходным кодовым комбинациям, но с наложенными на них коэффициентами передачи окна Натолла. Эти кодовые комбинации записываются в РС2 (под действием импульсов со второго счетчика) и в виде последовательных кодовых комбинаций появляются на выходе РС2 (под действием УТИ1).
Т.о. на выходе РС2 осуществляется формирование второго по счету сегмента (11-02 сегм. на фиг. 3в), состоящего из второй раз используемого нулевого полусегмента и первый раз используемого первого полусегмента (в котором коэффициенты передачи окна Натолла являются уменьшающимися).
Пока из буферной памяти осуществляется ускоренное в 2 раза (по сравнению со скоростью записи в РС1) считывание 16 разрядных кодовых комбинаций, в первую половину РС1 записываются кодовые комбинации, соответствующие второму полусегменту, а во вторую половину РС1 сдвигаются кодовые комбинации, соответствующие первому полусегменту ( 1 п.с. и 2 п.с. на фиг. 3а)
После заполнения кодовыми комбинациями первой и второй половин РС1 на выходе первого счетчика появляется второй короткий импульс (фиг. 3б) под действием которого данные кодовые комбинации в параллельном коде записываются в буферную память. Таким образом, из первого и второго полусегментов формируется второй сегмент (2 сегм. на фиг. 3а). Одновременно, под действием того же короткого импульса осуществляется установка блока памяти в исходное состояние, когда на его кодовом выходе появляется кодовая комбинация, соответствующая коэффициенту передачи окна Натолла для первой из N1 = 960 кодовых комбинаций во втором сегменте (2 сегм. на фиг. 3а).
Под действием импульсов на третьем входе буферной памяти и втором входе блока памяти, 16 разрядные кодовые комбинации с их кодовых выходов поступают на, соответственно, первый и второй кодовые входы блока умножения. Первыми умножаются кодовые комбинации из первого полусегмента второго сегмента (2 сегм. на фиг. 3а). Эти кодовые комбинации записываются в РС2 (под действием импульсов со второго счетчика) и в виде последовательных кодовых комбинаций появляются на выходе РС2 (под действием УТИ1). Далее начинают умножаться кодовые комбинации из второго полусегмента второго сегмента (2 сегм. на фиг. 3а). Эти кодовые комбинации записываются в РС2 (под действием импульсов со второго счетчика) и в виде последовательных кодовых комбинаций появляются на выходе РС2 (под действием УТИ1).
Т.о. на выходе РС2 осуществляется формирование третьего по счету сегмента (21-12 сегм. на фиг. 3в), состоящего из второй раз используемого первого полусегмента (в котором коэффициенты передачи окна Натолла являются увеличивающимися) и первый раз используемого второго полусегмента (в котором коэффициенты передачи окна Натолла являются уменьшающимися).
Пока из буферной памяти осуществляется считывание 16 разрядных кодовых комбинаций, в первую половину РС1 записываются кодовые комбинации, соответствующие третьему полусегменту, а во вторую половину РС1 сдвигаются кодовые комбинации, соответствующие второму полусегменту ( 2 п.с. и 3 п.с. на фиг. 3а).
После заполнения кодовыми комбинациями первой и второй половин РС1 на выходе первого счетчика появляется третий короткий импульс (фиг. 3б) под действием которого данные кодовые комбинации в параллельном коде записываются в буферную память. Таким образом, из второго и третьего полусегментов формируется третий сегмент (3 сегм. на фиг. 3а). Одновременно, под действием того же короткого импульса осуществляется установка блока памяти в исходное состояние, когда на его кодовом выходе появляется кодовая комбинация, соответствующая коэффициенту передачи окна Натолла для первой из N1 = 960 кодовых комбинаций в третьем сегменте (3 сегм. на фиг. 3а).
Под действием импульсов на третьем входе буферной памяти и втором входе блока памяти, 16 разрядные кодовые комбинации с их кодовых выходов поступают на, соответственно, первый и второй кодовые входы блока умножения. Первыми умножаются кодовые комбинации из второго полусегмента третьего сегмента (3 сегм. на фиг. 3а). Эти кодовые комбинации записываются в РС2 (под действием импульсов со второго счетчика) и в виде последовательных кодовых комбинаций появляются на выходе РС2 (под действием УТИ1). Далее начинают умножаться кодовые комбинации из третьего полусегмента третьего сегмента (3 сегм. на фиг. 3а). Эти кодовые комбинации записываются в РС2 (под действием импульсов со второго счетчика) и в виде последовательных кодовых комбинаций появляются на выходе РС2 (под действием УТИ1).
Т.о. на выходе РС2 осуществляется формирование четвертого по счету сегмента (31-22 сегм. на фиг. 3в), состоящего из второй раз используемого второго полусегмента (в котором коэффициенты передачи окна Натолла являются увеличивающимися) и первый раз используемого третьего полусегмента (в котором коэффициенты передачи окна Натолла являются уменьшающимися).
Далее работа первого БНОФН 1 происходит аналогичным образом. Аналогичным образом функционирует второго БНОФН 11, за исключением использования в нем исходной частоты дискретизации f2.
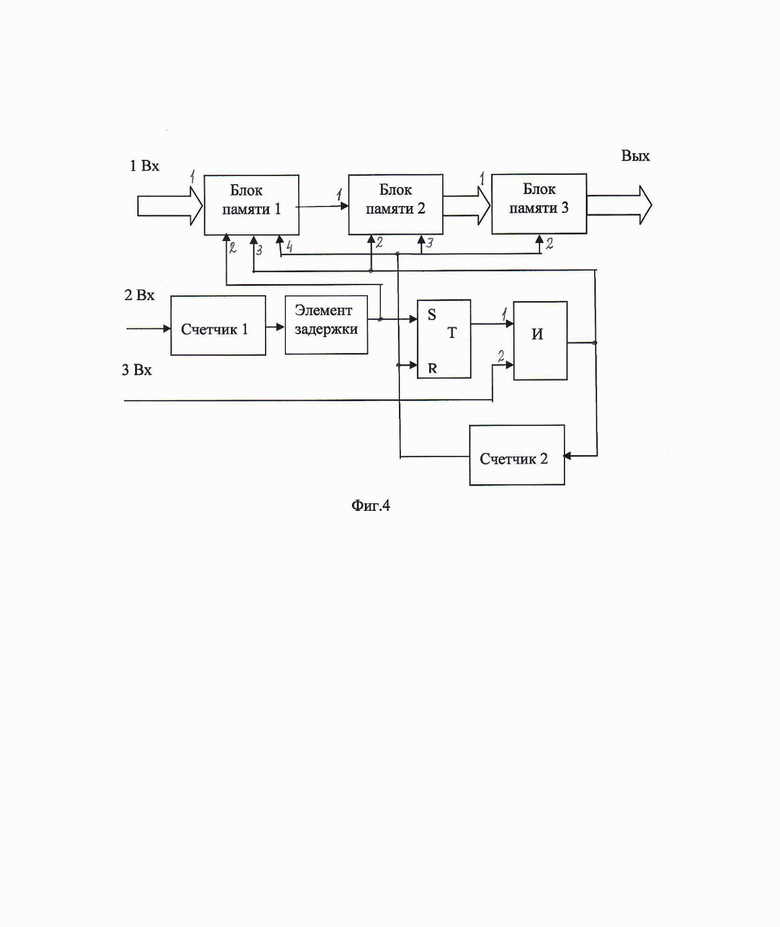
Пример реализации блока изменения количества пар спектральных коэффициентов (БИКПСК) показан на фиг. 4. Эти БИКПСК содержаться в первом преобразователе скорости передачи основного сигнала (ПСПОС) 101, во втором преобразователе скорости передачи основного сигнала (ПСПОС) 201, в первом преобразователе скорости передачи вспомогательного сигнала (ПСПВС) 102 и во втором преобразователе скорости передачи вспомогательного сигнала (ПСПВС) 20 (фиг. 1). Строение и функционирование этих БИКПСК одинаковое за исключением того, что при их работе с основным цифровым звуковым сигналом (ОЦЗС) и вспомогательным цифровым звуковым сигналом (ВЦЗС), частоты дискретизации f1 и f2 могут быть различными (48, 44,1, 32, 31,25 кГц) и соответственно различным будет количество дискретных отсчетов на сегментах.
БИКПСК (фиг. 4) содержит первый, второй и третий блоки памяти, первый и второй счетчики, элемент задержки, RS-триггер и схему И. Первый (кодовый) вход БИКПСК соединен внутри этого блока с первым кодовым входом первого блока памяти (БП1), выход которого соединен с первым входом второго блока памяти (БП2), кодовый выход которого соединен с первым кодовым входом третьего блока памяти (БП3), кодовый выход которого является кодовым выходом БИКПСК. Второй (тактовый) вход БИКПСК соединен внутри этого блока со входом первого счетчика (СЧ1), выход которого соединен со входом элемента задержки (ЭЗ), выход которого соединен со вторым входом первого БП1 и с S-входом RS-триггера (Т), прямой выход которого соединен с первым входом схемы И, выход которой соединен с третьим входом первого БП1, вторым входом второго БП2 и со входом второго счетчика (СЧ2), выход которого соединен с R-входом Т, с четвертым входом первого БП1, с третьим входом второго БП2 и со вторым входом БП3. Третий (тактовый) вход БИКПСК соединен внутри этого блока со вторым входом схемы И.
Функционирование БИКПСК рассмотрим на примере работы первого блока изменения количества пар спектральных коэффициентов БИКПСК 7 (фиг. 4), который работает следующим образом. В исходном состоянии БП1, БП2, БП3, первый СЧ1 и второй СЧ2, а также RS-триггер Т обнулены. На первый кодовый вход первого БИКПСК 7 с выхода первого БПДПФ 2 (фиг. 1) поступают сегменты с N1 парами спектральных коэффициентов в каждом сегменте, соответствующих представлению ОЦЗС в спектральной области и связанных с N1 дискретных отсчетов звукового сигнала в каждом сегменте. В примере с первой частотой дискретизации равной f1 =48 кГц, каждый сегмент содержит N1 = 960 пар 16 разрядных спектральных коэффициентов или 15360 символов. Это при использовании в первом БПДПФ 2 удвоенной частоты первых тактовых импульсов (УТИ1), равной 1536 кГц, длительность каждого сегмента будет равна τ = 15360/ 1536 = 10 мС. На второй (тактовый) вход БИКПСК 7 с выхода первого блока удвоения частоты тактовых импульсов (БУЧТИ) 5 поступают импульсы с удвоенной первой тактовой частотой УТИ1 = 1536, связанной с первой частотой дискретизации f1=48 кГц . А на третий (тактовый) вход БИКПСК 7 с выхода второго блока удвоения частоты тактовых импульсов (БУЧТИ) 6 поступают импульсы с удвоенной второй тактовой частотой УТИ2 =1024 кГц (фиг. 1), связанной со второй частотой дискретизации f2 =32 кГц. Внутри БИКПСК 7 (фиг. 4) УТИ1 поступают на вход СЧ1, а УТИ2 поступают на второй вход схемы И. Первый счетчик СЧ1 рассчитан на подсчет 15360 тактовых импульсов УТИ1, соответствующих длительности сегмента в 10 мС, а второй счетчик СЧ2 рассчитан на подсчет 10240 тактовых импульсов УТИ2, также соответствующих длительности сегмента τ = 10240/1024 = 10 мС.
После подсчета в СЧ1 15360 тактовых импульсов УТИ1 на выходе данного счетчика появляется короткий импульс, который поступает на элемент задержки ЭЗ и далее на второй вход первого БП1. Одновременно на первый кодовый вход БИКПСК 7 поступает первый сегмент с N1 = 960 парами спектральных коэффициентов с выхода первого БПДПФ 2 (фиг. 1). Эти спектральные коэффициенты записываются в первый БП1 под действием короткого импульса с выхода ЭЗ (фиг. 4). Данный ЭЗ необходим для учета времени задержки N1 = 960 пар спектральных коэффициентов, при их формировании в первом БПДПФ 2.
Короткий импульс с выхода ЭЗ подается также на S-вход RS-триггера Т и заставляет его сработать. На прямом выходе триггера Т появляется уровень лог.1, который поступает на первый вход схемы И. На второй вход этой схемы И поступают импульсы с удвоенной второй тактовой частотой УТИ2 =1024 кГц, связанной со второй частотой дискретизации f2 =32 кГц. Эти импульсы подаются с выхода схемы И на третий вход первого БП1, под действием которых символы спектральных коэффициентов начинают считываться и последовательно появляются на выходе первого БП1. Эти символы спектральных коэффициентов с выхода первого БП1 поступают на первый вход второго БП2, в котором они записываются под действием тех же импульсов с удвоенной второй тактовой частотой УТИ2 на втором входе БП2. Эти символы спектральных коэффициентов появляются на кодовом выходе БП2 и на кодовом входе БП3.
Одновременно, импульсы с удвоенной второй тактовой частотой УТИ2 =1024 кГц поступают на вход второго счетчика СЧ2, который начинает их подсчитывать. После подсчета в СЧ2 10240 тактовых импульсов УТИ2 на выходе данного счетчика появляется короткий импульс, который поступает на второй вход третьего БП3 и своим передним фронтом заставляет записаться в БП3 первый сегмент с N2 = 640 парами спектральных коэффициентов, которые присутствовали на кодовом выходе БП2 и кодовом входе БП3. А при помощи спада импульса с выхода СЧ2, который поступает на четвертый вход первого БП1 и третий вход БП2, осуществляют сброс этих первого БП1 и второго БП2 в исходное состояние. Кроме того, короткий импульс с выхода СЧ2 поступает на R-вход RS-триггера Т и заставляет его прийти в исходное состояние. На прямом выходе данного триггера появляется уровень лог.0, который прикладывается к первому входу схемы И, и закрывает ее для прохождения импульсов с удвоенной второй тактовой частотой УТИ2 =1024 кГц.
Таким образом, на кодовом выходе БП3 оказался сформированным первый сегмент, длительностью 10 мС с измененным количеством пар спектральных коэффициентов, когда вместо N1 = 960 пар спектральных коэффициентов и частотой дискретизации f1 =48 кГц, теперь имеет место N2 = 640 пар спектральных коэффициентов с частотой дискретизации f2 =32 кГц. При этом для рассмотренного случая с уменьшением частоты дискретизации с f1 =48 кГц до f2 =32 кГц осуществляется отбрасывание всех пар коэффициентов, начиная с номера N = N2, а N1/N2 = f1/f2. Этот первый сегмент с измененным (уменьшенным) количеством пар спектральных коэффициентов, а значит и с измененной (уменьшенной) скоростью передачи цифрового звукового сигнала во временной области, далее поступает с кодового выхода БИКПСК 7 на первый вход первого БОДПФ 3 (фиг. 1).
Во время формирования в БП1, БП2 и БП3 первого сегмента с измененным количеством пар спектральных коэффициентов, на вход первого СЧ1 продолжают поступать импульсы с удвоенной первой тактовой частотой УТИ1, предназначенные для формирования второго сегмента с измененным количеством пар спектральных коэффициентов. После подсчета в СЧ1 15360 тактовых импульсов УТИ1 на выходе данного счетчика появляется короткий импульс, который поступает на элемент задержки ЭЗ и далее на второй вход первого БП1. Одновременно на первый кодовый вход БИКПСК 7 поступает второй сегмент с N1 = 960 парами спектральных коэффициентов с выхода первого БПДПФ 2 (фиг. 1). Эти спектральные коэффициенты, записываются в первый БП1 под действием короткого импульса с выхода ЭЗ.
Короткий импульс с выхода ЭЗ подается также на S-вход RS-триггера Т и заставляет его сработать. На прямом выходе триггера Т появляется уровень лог.1, который поступает на первый вход схемы И. На второй вход этой схемы И поступают импульсы с удвоенной второй тактовой частотой УТИ2 =1024 кГц, связанной со второй частотой дискретизации f2 =32 кГц. Эти импульсы подаются с выхода схемы И на третий вход первого БП1, под действием которых символы спектральных коэффициентов начинают считываться и последовательно появляются на выходе первого БП1. Эти символы спектральных коэффициентов с выхода первого БП1 поступают на первый вход второго БП2, в котором они записываются под действием тех же импульсов с удвоенной второй тактовой частотой УТИ2 на втором входе БП2. Эти символы спектральных коэффициентов появляются на кодовом выходе БП2 и на кодовом входе БП3.
Одновременно, импульсы с удвоенной второй тактовой частотой УТИ2 =1024 кГц поступают на вход второго счетчика СЧ2, который начинает их подсчитывать. После подсчета в СЧ2 10240 тактовых импульсов УТИ2 на выходе данного счетчика появляется короткий импульс, который поступает на второй вход третьего БП3 и своим передним фронтом заставляет записаться в БП3 второй сегмент с N2 = 640 парами спектральных коэффициентов, которые присутствовали на кодовом выходе БП2 и кодовом входе БП3. При этом происходит стирание ранее записанного в БП3 первого сегмента с N2 = 640 парами спектральных коэффициентов. А при помощи спада импульса с выхода СЧ2, который поступает на четвертый вход первого БП1 и третий вход БП2, осуществляют сброс этих первого БП1 и второго БП2 в исходное состояние. Кроме того, короткий импульс с выхода СЧ2 поступает на R-вход RS-триггера Т и заставляет его прийти в исходное состояние. На прямом выходе данного триггера появляется уровень лог.0, который прикладывается к первому входу схемы И, и закрывает ее для прохождения импульсов с удвоенной второй тактовой частотой УТИ2 =1024 кГц.
Таким образом, на кодовом выходе БП3 оказался сформированным второй сегмент, длительностью 10 мС с измененным количеством пар спектральных коэффициентов, когда вместо N1 = 960 пар спектральных коэффициентов и частотой дискретизации f1 =48 кГц, теперь имеет место N2 = 640 пар спектральных коэффициентов с частотой дискретизации f2 =32 кГц. Этот второй сегмент с измененным (уменьшенным) количеством пар спектральных коэффициентов, а значит и с измененной (уменьшенной) скоростью передачи цифрового звукового сигнала во временной области, далее поступает с кодового выхода первого БИКПСК 7 на первый вход первого БОДПФ 3 (фиг. 1). Далее функционирование первого БИКПСК 7 происходит аналогичным образом.
Аналогичным образом осуществляется изменение (уменьшение) количество пар спектральных коэффициентов, а значит и изменение в сторону уменьшения частоты дискретизации и скорости передачи цифрового звукового сигнала во временной области для других случаев. При этом в случае уменьшения скорости передачи, изменение высокой частоты дискретизации f1 на низкую частоту дискретизации f2, кроме рассмотренного примера 48 кГц - 32 кГц, может принимать следующие значения 48 кГц - 44,1 кГц; 48 кГц - 31,25 кГц; 44,1 кГц - 32 кГц; 44,1 кГц - 31,25 кГц; 32 кГц - 31,25 кГц. А в случае увеличения частоты дискретизации, изменение низкой частоты дискретизации f1 на высокую частоту дискретизации f2 может принимать следующие значения 31,25 кГц - 48 кГц; 31,25 кГц - 44,1 кГц; 31,25 кГц - 32 кГц; 32 кГц - 44,1 кГц; 32 кГц - 48 кГц; 44,1 кГц - 48 кГц. Таким образом, осуществляют изменение частоты дискретизации и скорости передачи цифрового звукового сигнала.
Рассмотрим теперь особенности функционирования второго БИКПСК 17, входящего во второй преобразователь скорости передачи основного сигнала (ПСПОС) 201. Второй БИКПСК 17 содержит те же блоки, что были в первом БИКПСК 7 (фиг. 4).
Как и в ранее рассмотренном случае в исходном состоянии БП1, БП2, БП3, первый СЧ1 и второй СЧ2, а также RS - триггер Т обнулены. На первый кодовый вход первого БИКПСК 17 с выхода второго БПДПФ 12 (фиг. 1) поступают сегменты с N2 парами спектральных коэффициентов в каждом сегменте, соответствующих представлению ОЦЗС в спектральной области и связанных с N2 дискретных отсчетов звукового сигнала в каждом сегменте. В примере со второй частотой дискретизации равной f2 =32 кГц, каждый сегмент содержит N2 = 640 пар 16 разрядных спектральных коэффициентов или 10240 символов. Это при использовании во втором БПДПФ 12 удвоенной частоты вторых тактовых импульсов (УТИ2), равной 1024 кГц, длительность каждого сегмента будет равна τ = 10240/ 1024 = 10 мС.
На второй (тактовый) вход БИКПСК 17 с выхода третьего блока удвоения частоты тактовых импульсов (БУЧТИ) 15 поступают импульсы с удвоенной второй тактовой частотой УТИ2 =1024 кГц, связанной со второй частотой дискретизации f2 =32 кГц. А на третий (тактовый) вход БИКПСК 17 с выхода четвертого блока удвоения частоты тактовых импульсов (БУЧТИ) 16 поступают импульсы с удвоенной первой тактовой частотой УТИ1 =1536 кГц (фиг. 1), связанной с первой частотой дискретизации f1 =48 кГц. Внутри второго БИКПСК 17 (фиг. 4) УТИ2 поступают на вход СЧ1, а УТИ1 поступают на второй вход схемы И. Первый счетчик СЧ1 рассчитан на подсчет 10240 тактовых импульсов УТИ2, соответствующих длительности сегмента в 10 мС, а второй счетчик СЧ2 рассчитан на подсчет 15360 тактовых импульсов УТИ1, также соответствующих длительности сегмента τ = 15360/1536 = 10 мС,
После подсчета в СЧ1 10240 тактовых импульсов УТИ2 на выходе данного счетчика появляется короткий импульс, который поступает на элемент задержки ЭЗ и далее на второй вход первого БП1. Одновременно на первый кодовый вход БИКПСК 17 поступает первый сегмент с N2 = 640 парами спектральных коэффициентов с выхода второго БПДПФ 12 (фиг. 1). Эти спектральные коэффициенты записываются в первый БП1 под действием короткого импульса с выхода ЭЗ (фиг. 4). Следует заметить, что БП1, БП2 и БП3 содержат количество ячеек, предназначенных для хранения 960 пар спектральных коэффициентов.
Короткий импульс с выхода ЭЗ подается также на S-вход RS-триггера Т и заставляет его сработать. На прямом выходе триггера Т появляется уровень лог.1, который поступает на первый вход схемы И. На второй вход этой схемы И поступают импульсы с удвоенной первой тактовой частотой УТИ1 = 1536 кГц, связанной с первой частотой дискретизации f1 =48 кГц. Эти импульсы подаются с выхода схемы И на третий вход первого БП1, под действием которых символы спектральных коэффициентов начинают считываться и последовательно появляются на выходе первого БП1. Эти символы спектральных коэффициентов с выхода первого БП1 поступают на первый вход второго БП2, в котором они записываются под действием тех же импульсов с удвоенной первой тактовой частотой УТИ1 на втором входе БП2. Эти символы спектральных коэффициентов появляются на кодовом выходе БП2 и на кодовом входе БП3.
Особенностью функционирования второго БИКПСК 17, в отличие от первого БИКПСК 7 заключается в том, что он предназначен для увеличения частоты дискретизации с f2 =32 кГц до f1 =48 кГц, а значит и увеличения скорости передачи цифрового звукового сигнала во временной области. Для этого на выходе второго БИКПСК 17 на каждом сегменте в 10 мС вместо N2 = 640 пар спектральных коэффициентов (10240 символов) и частотой дискретизации f2 =32 кГц, должно иметь место N1 = 960 пар спектральных коэффициентов (15360 символов) с частотой дискретизации f1 =48 кГц. Т.е. N1 - N2 = 960 - 640 = 320 пар спектральных коэффициентов должны быть дополнены нулевыми спектральными коэффициентами. Следовательно, после того как под действием тактовых импульсов с удвоенной первой тактовой частотой УТИ1 = 1536 кГц из первого БП1 считаются все 640 пар спектральных коэффициентов, дальше из этого БП1 начинают считываться нулевые спектральные коэффициенты, в количестве 320. Эти 640 + 320 пар спектральных коэффициентов (15360 символов) с выхода первого БП1 поступают на первый вход второго БП2, в котором они записываются под действием тех же импульсов с удвоенной первой тактовой частотой УТИ1 на втором входе БП2. Эти символы спектральных коэффициентов появляются на кодовом выходе БП2 и на кодовом входе БП3.
Одновременно, импульсы с удвоенной первой тактовой частотой УТИ1 =1536 кГц поступают на вход второго счетчика СЧ2, который начинает их подсчитывать. После подсчета в СЧ2 15360 тактовых импульсов УТИ1 на выходе данного счетчика появляется короткий импульс, который поступает на второй вход третьего БП3 и своим передним фронтом заставляет записаться в БП3 первый сегмент с N1 = 960 парами спектральных коэффициентов, которые присутствовали на кодовом выходе БП2 и кодовом входе БП3. А при помощи спада импульса с выхода СЧ2, который поступает на четвертый вход первого БП1 и третий вход БП2, осуществляют сброс этих первого БП1 и второго БП2 в исходное состояние. Кроме того, короткий импульс с выхода СЧ2 поступает на R-вход RS-триггера Т и заставляет его прийти в исходное состояние. На прямом выходе данного триггера появляется уровень лог.0, который прикладывается к первому входу схемы И, и закрывает ее для прохождения импульсов с удвоенной первой тактовой частотой УТИ1 = 1536 кГц.
Таким образом, на кодовом выходе БП3 оказался сформированным первый сегмент, длительностью 10 мС с измененным (увеличенным) количеством пар спектральных коэффициентов, когда вместо N2 = 640 пар спектральных коэффициентов и частотой дискретизации f2 =32 кГц, теперь имеет место N1 = 960 пар спектральных коэффициентов с частотой дискретизации f1 =48 кГц. При этом для рассмотренного случая с увеличением частоты дискретизации с f2 =32 кГц до f1 =48 кГц осуществляется добавление нулевых пар коэффициентов, начиная с номера N2 = 640. Этот первый сегмент с измененным (увеличенным) количеством пар спектральных коэффициентов, а значит и с измененной (увеличенной) скоростью передачи цифрового звукового сигнала во временной области, далее поступает с кодового выхода БИКПСК 17 на первый вход второго БОДПФ 13 (фиг. 1).
Во время формирования в БП1, БП2 и БП3 первого сегмента с измененным (увеличенным) количеством пар спектральных коэффициентов, на вход первого СЧ1 продолжают поступать импульсы с удвоенной второй тактовой частотой УТИ2, предназначенные для формирования второго сегмента с измененным количеством пар спектральных коэффициентов. После подсчета в СЧ1 10240 тактовых импульсов УТИ2 на выходе данного счетчика появляется короткий импульс, который поступает на элемент задержки ЭЗ и далее на второй вход первого БП1. Одновременно на первый кодовый вход БИКПСК 17 поступает второй сегмент с N2 = 640 парами спектральных коэффициентов с выхода второго БПДПФ 12 (фиг. 1). Эти спектральные коэффициенты записываются в первый БП1 под действием короткого импульса с выхода ЭЗ.
Короткий импульс с выхода ЭЗ подается также на S-вход RS-триггера Т и заставляет его сработать. На прямом выходе триггера Т появляется уровень лог.1, который поступает на первый вход схемы И. На второй вход этой схемы И поступают импульсы с удвоенной первой тактовой частотой УТИ1 =1536 кГц , связанной с первой частотой дискретизации f1 =48 кГц. Эти импульсы подаются с выхода схемы И на третий вход первого БП1, под действием которых символы спектральных коэффициентов начинают считываться и последовательно появляются на выходе первого БП1. Эти символы спектральных коэффициентов (10240 + 5120 нулевых) с выхода первого БП1 поступают на первый вход второго БП2, в котором они записываются под действием тех же импульсов с удвоенной первой тактовой частотой УТИ1 на втором входе БП2. Эти символы спектральных коэффициентов (15360) появляются на кодовом выходе БП2 и на кодовом входе БП3.
Одновременно, импульсы с удвоенной первой тактовой частотой УТИ1 =1536 кГц поступают на вход второго счетчика СЧ2, который начинает их подсчитывать. после подсчета в СЧ2 15360 тактовых импульсов УТИ1 на выходе данного счетчика появляется короткий импульс, который поступает на второй вход третьего БП3 и своим передним фронтом заставляет записаться в БП3 второй сегмент с N2 = 960 парами спектральных коэффициентов, которые присутствовали на кодовом выходе БП2 и кодовом входе БП3. При этом происходит стирание ранее записанного в БП3 первого сегмента с N1 = 960 парами спектральных коэффициентов. А при помощи спада импульса с выхода СЧ2, который поступает на четвертый вход первого БП1 и третий вход БП2, осуществляют сброс этих первого БП1 и второго БП2 в исходное состояние. Кроме того, короткий импульс с выхода СЧ2 поступает на R-вход RS-триггера Т и заставляет его прийти в исходное состояние. На прямом выходе данного триггера появляется уровень лог.0, который прикладывается к первому входу схемы И, и закрывает ее для прохождения импульсов с удвоенной первой тактовой частотой УТИ1=1536 кГц.
Таким образом, на кодовом выходе БП3 оказался сформированным второй сегмент, длительностью 10 мС с измененным (увеличенным) количеством пар спектральных коэффициентов, когда вместо N2 = 640 пар спектральных коэффициентов и частотой дискретизации f2 =32 кГц, теперь имеет место N1 = 960 пар спектральных коэффициентов с частотой дискретизации f1 =48 кГц. Этот второй сегмент с измененным (увеличенным) количеством пар спектральных коэффициентов, а значит и с измененной (увеличенной) скоростью передачи цифрового звукового сигнала во временной области, далее поступает с кодового выхода второго БИКПСК 17 на первый вход второго БОДПФ 13 (фиг. 1). Далее функционирование первого БИКПСК 17 происходит аналогичным образом.
Аналогичным образом осуществляется изменение (увеличение) количества пар спектральных коэффициентов, а значит и изменение в сторону увеличения частоты дискретизации и скорости передачи цифрового звукового сигнала во временной области для других случаев. При этом в случае увеличения скорости передачи, изменение низкой частоты дискретизации f2 на высокую частоту дискретизации f1, кроме рассмотренного примера 32 кГц - 48 кГц, может принимать следующие значения 31,25 кГц - 48 кГц; 31,25 кГц - 44,1 кГц; 31,25 кГц - 32 кГц; 32 кГц - 44,1 кГц; 44,1 кГц - 48 кГц.
Таким образом, в первом БИКПСК 7 и во втором БИКПСК 17 осуществляют изменение количества пар спектральных коэффициентов, а значит осуществляют изменение частоты дискретизации и скорости передачи цифрового звукового сигнала. При этом в БИКПСК 7, в отличие от рассмотренного примера с уменьшением количества пар спектральных коэффициентов, могут осуществлять увеличение количества пар спектральных коэффициентов, а значит - увеличение частоты дискретизации и скорости передачи цифрового звукового сигнала, а в БИКПСК 17 могут осуществлять уменьшение количества пар спектральных коэффициентов, а значит - уменьшение частоты дискретизации и скорости передачи цифрового звукового сигнала.
Пример реализации блока перекрытия сегментов и компенсации неравномерности оконной функции Наттолла (БПСКНОН) показан на фиг. 5. Эти БПСКНОН содержаться в первом преобразователе скорости передачи основного сигнала (ПСПОС) 101, во втором преобразователе скорости передачи основного сигнала (ПСПОС) 201, в первом преобразователе скорости передачи вспомогательного сигнала (ПСПВС) 102 и во втором преобразователее скорости передачи вспомогательного сигнала (ПСПВС) 20 (фиг. 1). Строение и функционирование этих БПСКНОН одинаковое за исключением того, что при их работе с основным цифровым звуковым сигналом (ОЦЗС) и вспомогательным цифровым звуковым сигналом (ВЦЗС), частоты дискретизации f1 и f2 могут быть различными (48, 44,1, 32, 31,25 кГц) и соответственно различным будет количество дискретных отсчетов на сегментах.
БПСКНОН (фиг. 5) содержит: первый, второй и третий регистры сдвига, первую и вторую буферные памяти, сумматор, блок памяти, блок умножения, первый и второй счетчики, триггер, формирователь. Первый (информационный) вход первого регистра сдвига соединен с первым входом БПСКНОН, а его последовательный выход - с первым входом второго регистра сдвига. Второй (тактовый) вход первого регистра сдвига (РС1) подключен ко второму входу БПСКНОН, к которому подключены также второй вход второго регистра сдвига (РС2) и вход первого счетчика, выход которого через триггер и формирователь соединен с первым входом блока памяти и с третьими входами первой и второй буферных памятей. Вход второго счетчика соединен с третьим входом третьего регистра сдвига и с третьим входом БПСКНОН. Кодовые выходы РС1 и РС2 подключены к кодовым входам, соответственно, первой буферной памяти (БП1) и второй буферной памяти (БП2), кодовые выходы которых соединены, соответственно, с первым и вторым кодовыми входами сумматора, кодовый выход которого подключен к первому кодовому входу блока умножения (БУ). Второй вход БП1 соединен со вторым входом БП2, вторым входом блока памяти, вторым входом третьего регистра сдвига (РС3) и выходом второго счетчика. Кодовый выход блока памяти соединен со вторым кодовым входом БУ, кодовый выход которого соединен с кодовым входом РС3, выход которого соединен с выходом БПСКНОН.
Функционирование БПСКНОН рассмотрим на примере работы первого блока перекрытия сегментов и компенсации неравномерности оконной функции Наттолла БПСКНОН 4 (фиг. 5) который работает следующим образом. В исходном состоянии РС1, РС2, РС3, БП1, БП2, первый и второй счетчики, а также триггер обнулены. Блок памяти также находится в исходном состоянии, когда на его кодовом выходе присутствует кодовая комбинация, соответствующая коэффициенту передачи для компенсации неравномерности оконной функции Наттолла для первой из N2 кодовых комбинаций цифрового звукового сигнала в первом сегменте.
На первый вход первого БПСКНОН 4 поступает ОЦЗС с измененной частотой дискретизации f2 с выхода первого блока обратного дискретного преобразования Фурье 3 . Одновременно на второй вход первого БПСКНОН 4 начинают поступать удвоенные по частоте вторые тактовые импульсы (УТИ2) с выхода второго блока удвоения частоты тактовых импульсов 6. Кроме того, на третий вход первого БПСКНОН 4 с выхода первого генератора тактовых импульсов 9 поступают тактовые импульсы (ТИ2), соответствующие второй тактовой частоте (фиг. 1). А внутри первого БПСКНОН 4 (фиг. 5) символы ОЦЗС под действием УТИ2 записываются в РС1 и продвигаются по его ячейкам. Одновременно первый счетчик начинает подсчет удвоенных по частоте тактовых импульсов. Данный счетчик предназначен для определения половины длительности сегмента ОЦЗС.
Например, из ОЦЗС имеющего на входе первого БПСКНОН 4 измененную частоту дискретизации f2 =32 кГц нужно сформировать последовательность сегментов, каждый из которых должен содержать N2 = 640 дискретных отсчетов. При этом каждый дискретный отсчет представляет из себя 16 разрядную кодовую комбинацию. Тогда длительность каждого сегмента будет соответствовать 10240 УТИ2, а длительность половины сегмента - 5120 УТИ2. Именно после 5120 УТИ2 на выходе первого счетчика появляется короткий импульс, свидетельствующий об окончании половины данного сегмента ОЦЗС, состоящего из 320 16 разрядных кодовых комбинаций. Под действием этого короткого импульса срабатывает триггер и на его выходе появляется уровень «логической 1», который, в свою очередь, поступает на вход формирователя, на выходе которого появляется короткий импульс.
Первый и второй регистры сдвига, в нашем примере, вмещают в себя каждый по 320 шестнадцатиразрядных кодовых комбинаций (т.е. каждый - по полусегменту), а третий регистр сдвига вмещает в себя одну 16 разрядную кодовую комбинацию, соответствующую одному дискретному отсчету. Кодовые комбинации с кодовых выходов первой и второй буферных памятей, сумматора, блока умножения и блока памяти также являются 16 разрядными.
Второй счетчик предназначен для считывания 16 разрядных кодовых комбинаций, записанных в БП1, БП2, блоке памяти, а также для записи 16 разрядных кодовых комбинаций в РС3. В данном счетчике осуществляется определение длительности кодовой комбинации (16 разрядной кодовой комбинации). Т.е. после прихода каждого 16 тактового импульса со второй тактовой частотой (ТИ2) на выходе второго счетчика появляется короткий импульс, свидетельствующий об окончании данной кодовой комбинации (соответствующей дискретному отсчету) и начале следующей кодовой комбинации (соответствующей следующему дискретному отсчету).
Первый БПСКНОН 4 предназначен для формирования сегментов цифрового сигнала из N2 кодовых комбинаций в каждом сегменте и сложение с 50% перекрытием каждого сегмента с предыдущим ему сегментом. С целью избежания разрывов в последовательности ОЦЗС, формирующегося после перекрытия сегментов, необходимо, чтобы запись в РС1, РС2 последовательности ОЦЗС из 16 разрядных кодовых комбинаций производилась бы с частотой УТИ2, а считывание из РС3 16 разрядных параллельных кодовых комбинаций, подвергшихся задержке, суммированию и перемножению, производилась бы с частотой ТИ2.
По мере продвижения под действием УТИ2 по ячейкам РС1 последовательности из 16 разрядных нулевых кодовых комбинаций ОЦЗС (0 п.с. на фиг. 6а) на его кодовом выходе появляются значения этих кодовых комбинаций в параллельном коде. Данный набор параллельных нулевых 16 разрядных кодовых комбинаций прикладывается к кодовому входу БП1, но не записывается в него. В то же время из БП1 и БП2 считываются нулевые 16 разрядные кодовые комбинации под действием импульсов с выхода второго счетчика. Эти нулевые 16 разрядные кодовые комбинации поступают на первый и второй кодовые входы сумматора, на выходе которого также будут нулевые 16 разрядные кодовые комбинации, которые подаются на первый кодовый вход блока умножения. На второй кодовый вход данного блока с кодового выхода блока памяти в это время подаются 16 разрядные кодовые комбинации, соответствующие коэффициентам передачи для компенсации неравномерности оконной функции Наттолла.
После перемножения кодовых комбинаций, поданных на 1 и 2 кодовые входы блока умножения, на его кодовом выходе также будут нулевые 16 разрядные кодовые комбинации, которые записываются в РС3 под действием импульсов с выхода второго счетчика. Эти нулевые 16 разрядные кодовые комбинации под действием ТИ2 в последовательном коде появляются на выходе РС3.
Т.о. в период заполнения РС1 кодовыми комбинациями, соответствующими первому полусегменту (0 п.с. на фиг. 6а) на выходе РС3 осуществляется формирование полусегмента (0н на фиг. 6 г) из нулевых кодовых комбинаций.
После заполнения 320 шестнадцатиразрядными нулевыми кодовыми комбинациями РС1 на выходе первого счетчика появляется первый короткий импульс (фиг. 6б) от которого срабатывает триггер, а на выходе формирователя появляется короткий импульс (фиг. 6в) . Под действием данного импульса нулевые кодовые комбинации из РС1 (0 п.с. на фиг. 6а) и нули из РС2 (00 п.с. на фиг. 6а) в параллельном коде записываются, соответственно в БП1 и БП2. Таким образом, из 00 и 0 полусегментов (фиг. 6а) формируется первый сегмент (1 сегм. на фиг. 6а - внизу). Одновременно, под действием того же короткого импульса с выхода формирователя осуществляется установка блока памяти в исходное состояние, когда на его кодовом выходе появляется кодовая комбинация, соответствующая коэффициенту передачи для компенсации неравномерности оконной функции Наттолла для первой кодовой комбинации в сегменте (после сумматора).
Под действием импульсов на вторых входах БП1 и БП2, 16 разрядные нулевые кодовые комбинации с их кодовых выходов поступают на, соответственно, первый и второй кодовые входы сумматора. Далее нулевые кодовые комбинации с кодового выхода сумматора (0 п.с. + 00 п.с. на фиг. 6а) подаются на первый кодовый вход БУ, на второй кодовый вход которого поступают кодовые комбинации с выхода блока памяти. С кодового выхода блока умножения на кодовый вход РС3 поступают также нулевые 16 разрядные кодовые комбинации. Эти кодовые комбинации записываются в РС3 (под действием импульсов со второго счетчика) и в виде последовательных кодовых комбинаций появляются на выходе РС3 (под действием ТИ2). Т.о. на выходе РС3 осуществляется формирование первого сегмента (0+00 сегм. на фиг. 6г) из 640 кодовых комбинаций.
Пока из БП1 и БП2 осуществляется замедленное в 2 раза (по сравнению со скоростью записи в РС1 и РС2 ) считывание 16 разрядных кодовых комбинаций, в РС1 записываются кодовые комбинации, соответствующие 01 полусегменту, а в РС2 сдвигаются кодовые комбинации, соответствующие 0 полусегменту (01 п.с. и 0 п.с. на фиг. 6а). Т.е. в РС1 и РС2 записываются кодовые комбинации, соответствующие 01 - 0 сегм. на фиг. 6г и на фиг. 6а - вверху.
После заполнения нулевыми кодовыми комбинациями РС1 и РС2 на выходе первого счетчика появляется второй короткий импульс (фиг. 6б) под действием которого срабатывает триггер и на его выходе появляется «логический 0» («лог.0»), от которого на выходе формирователя не возникает никакого сигнала, а значит и записи в БП1 и БП2 параллельных кодовых комбинаций из РС1 и РС2 не происходит. В связи с этим в РС1 начинают записываться кодовые комбинации, соответствующие 02 полусегменту, а в РС2 сдвигаются кодовые комбинации, соответствующие 01 полусегменту (02 п.с. и 01 п.с. на фиг. 6а).
После заполнения нулевыми кодовыми комбинациями РС1 и РС2 (02 п.с. и 01 п.с. на фиг. 6а) на выходе первого счетчика появляется третий короткий импульс (фиг. 6б) под действием которого срабатывает триггер и на его выходе появляется «логическая 1» («лог. »), от которого на выходе формирователя появляется второй короткий импульс (фиг. 6в). Под действием данного импульса нулевые кодовые комбинации в параллельном коде из РС1 и РС2 записываются в БП1 и БП2. Таким образом, из 02 и 01 полусегментов формируется второй сегмент (2 сегм. на фиг. 6а - внизу ). Одновременно, под действием того же короткого импульса осуществляется установка блока памяти в исходное состояние, когда на его кодовом выходе появляется кодовая комбинация, соответствующая коэффициенту передачи для компенсации неравномерности оконной функции Наттолла для первой кодовой комбинации во втором сегменте (после сумматора).
Под действием импульсов на вторых входах БП1 и БП2, 16 разрядные нулевые кодовые комбинации с их кодовых выходов поступают на, соответственно, первый и второй кодовые входы сумматора. Далее нулевые кодовые комбинации с кодового выхода сумматора (02 п.с. + 01 п.с. на фиг. 6а) подаются на первый кодовый вход БУ, на второй кодовый вход которого поступают кодовые комбинации с выхода блока памяти. С кодового выхода блока умножения на кодовый вход РС3 поступают нулевые 16 разрядные кодовые комбинации. Эти кодовые комбинации записываются в РС3 (под действием импульсов со второго счетчика) и в виде последовательных кодовых комбинаций появляются на выходе РС3 (под действием ТИ2). Т.о. на выходе РС3 осуществляется формирование второго сегмента (02+01 сегм. на фиг. 6г) из 640 кодовых комбинаций.
Пока из БП1 и БП2 осуществляется считывание 16 разрядных кодовых комбинаций (02 п.с. и 01 п.с. на фиг. 6а), в РС1 записываются кодовые комбинации, соответствующие 11 полусегменту, а в РС2 сдвигаются кодовые комбинации, соответствующие 02 полусегменту (11 п.с. и 02 п.с. на фиг. 6а). Т.е. в РС1 и РС2 записываются кодовые комбинации, соответствующие 11 - 02 сегм. на фиг. 6г и на фиг. 6а - вверху.
После заполнения информационными кодовыми комбинациями (11 п.с на фиг. 6а) РС1 и нулевыми кодовыми комбинациями (02 п.с. на фиг. 6а) РС2 на выходе первого счетчика появляется четвертый короткий импульс (фиг. 6б) под действием которого срабатывает триггер и на его выходе появляется «лог.0», от которого на выходе формирователя не возникает никакого сигнала, а значит и записи в БП1 и БП2 параллельных кодовых комбинаций из РС1 и РС2 не происходит. В связи с этим в РС1 начинают записываться кодовые комбинации, соответствующие 12 полусегменту, а в РС2 сдвигаются кодовые комбинации, соответствующие 11 полусегменту (12 п.с. и 11 п.с. на фиг. 6а).
После заполнения информационными кодовыми комбинациями РС1 и РС2 (12 п.с. и 11 п.с. на фиг. 6а) на выходе первого счетчика появляется пятый короткий импульс (фиг. 6б) под действием которого срабатывает триггер и на его выходе появляется «лог.1», от которого на выходе формирователя появляется третий короткий импульс (фиг. 6в). Под действием данного импульса кодовые комбинации в параллельном коде из РС1 и РС2 записываются в БП1 и БП2. Таким образом, из 12 и 11 полусегментов формируется третий сегмент (3 сегм. на фиг. 6а - внизу). Одновременно, под действием того же короткого импульса осуществляется установка блока памяти в исходное состояние, когда на его кодовом выходе появляется кодовая комбинация, соответствующая коэффициенту передачи для компенсации неравномерности оконной функции Наттолла для первой кодовой комбинации в третьем сегменте (после сумматора).
Под действием импульсов на вторых входах БП1 и БП2, 16 разрядные информационные кодовые комбинации с их кодовых выходов поступают на, соответственно, первый и второй кодовые входы сумматора. При суммировании происходит сложение кодовых комбинаций, входящих в 12 полусегмент (в котором коэффициенты передачи окна Натолла являются увеличивающимися) с теми же кодовыми комбинациями, входящими в 11 полусегмент (в котором коэффициенты передачи окна Натолла являются уменьшающимися), поэтому на выходе сумматора коэффициенты передачи окна Натолла выравниваются (становятся близкими к 1) , хотя и остается некоторая неравномерность.
Далее после суммирования кодовые комбинации с кодового выхода сумматора (12 п.с. + 11 п.с. на фиг. 6а) подаются на первый кодовый вход БУ, на второй кодовый вход которого поступают кодовые комбинации с выхода блока памяти. После перемножения кодовых комбинаций оказывается скомпенсированной неравномерность оконной функции Наттолла. Если сравнить (11 - 02) сегмент и (21 -12) сегмент (вверху фиг. 6а) на входе первого БПСКНОН 4 с 3 сегментом (3 сегм. на фиг. 6а или 12+11 сегм. на фиг. 6г) на выходе сумматора, то видно, что имеет место сложение с 50% перекрытием сегмента с предыдущим ему сегментом.
С кодового выхода блока умножения на кодовый вход РС3 поступают 16 разрядные кодовые комбинации с компенсированной неравномерностью оконной функции Наттолла. Эти кодовые комбинации записываются в РС3 (под действием импульсов со второго счетчика) и в виде последовательных кодовых комбинаций появляются на выходе РС3 (под действием ТИ2). Т.о. на выходе РС3 осуществляется формирование третьего сегмента (12+11 сегм. на фиг. 6г) из 640 кодовых комбинаций.
Пока из БП1 и БП2 осуществляется считывание 16 разрядных кодовых комбинаций (12 п.с. и 11 п.с. на фиг. 6а), в РС1 записываются кодовые комбинации, соответствующие 21 полусегменту, а в РС2 сдвигаются кодовые комбинации, соответствующие 12 полусегменту (21 п.с. и 12 п.с. на фиг. 6а). Т.е. в РС1 и РС2 записываются кодовые комбинации, соответствующие 21 - 12 сегм. на фиг. 6г и на фиг. 6а - вверху.
После заполнения кодовыми комбинациями (21 п.с и 12 п.с на фиг. 6а) РС1 и РС2 на выходе первого счетчика появляется шестой короткий импульс (фиг. 6б) под действием которого срабатывает триггер и на его выходе появляется «лог.0», от которого на выходе формирователя не возникает никакого сигнала, а значит и записи в БП1 и БП2 параллельных кодовых комбинаций из РС1 и РС2 не происходит. В связи с этим в РС1 начинают записываться кодовые комбинации, соответствующие 22 полусегменту, а в РС2 сдвигаются кодовые комбинации, соответствующие 21 полусегменту (22 п.с. и 21 п.с. на фиг. 6а).
После заполнения кодовыми комбинациями РС1 и РС2 (22 п.с. и 21 п.с. на фиг. 6а) на выходе первого счетчика появляется седьмой короткий импульс (фиг. 6б) под действием которого срабатывает триггер и на его выходе появляется «лог.1», от которого на выходе формирователя появляется четвертый короткий импульс (фиг. 6в). Под действием данного импульса кодовые комбинации в параллельном коде из РС1 и РС2 записываются в БП1 и БП2. Таким образом, из 22 и 21 полусегментов формируется четвертый сегмент (4 сегм. на фиг. 6а). Одновременно, под действием того же короткого импульса осуществляется установка блока памяти в исходное состояние, когда на его кодовом выходе появляется кодовая комбинация, соответствующая коэффициенту передачи для компенсации неравномерности оконной функции Наттолла для первой кодовой комбинации в четвертом сегменте (после сумматора).
Под действием импульсов на вторых входах БП1 и БП2, 16 разрядные информационные кодовые комбинации с их кодовых выходов поступают на, соответственно, первый и второй кодовые входы сумматора. При суммировании происходит сложение кодовых комбинаций, входящих в 22 полусегмент (в котором коэффициенты передачи окна Натолла являются увеличивающимися) с теми же кодовыми комбинациями, входящими в 21 полусегмент (в котором коэффициенты передачи окна Натолла являются уменьшающимися), поэтому на выходе сумматора коэффициенты передачи окна Натолла выравниваются (становятся близкими к 1), хотя и остается некоторая неравномерность.
Далее после суммирования кодовые комбинации с кодового выхода сумматора (22 п.с. + 21 п.с. на фиг. 6а) подаются на первый кодовый вход БУ, на второй кодовый вход которого поступают кодовые комбинации с выхода блока памяти. После перемножения кодовых комбинаций оказывается скомпенсированной неравномерность оконной функции Наттолла. Если сравнить (21-12) сегмент и (31-22) сегмент (вверху фиг. 6а) на входе первого БПСКНОН 4 с 4 сегментом (4 сегм. на фиг. 6а или 22+21 сегм. на фиг. 6г) на выходе сумматора, то видно, что имеет место сложение с 50% перекрытием сегмента с предыдущим ему сегментом.
С кодового выхода блока умножения на кодовый вход РС3 поступают 16 разрядные кодовые комбинации с компенсированной неравномерностью оконной функции Наттолла. Эти кодовые комбинации записываются в РС3 (под действием импульсов со второго счетчика) и в виде последовательных кодовых комбинаций появляются на выходе РС3 (под действием ТИ2). Т.о. на выходе РС3 осуществляется формирование четвертого сегмента (22+21 сегм. на фиг. 6г) из 640 кодовых комбинаций.
Далее работа первого БПСКНОН 4 происходит аналогичным образом. Аналогичным образом функционирует второй БПСКНОН 14, за исключением использования в нем частоты дискретизации f1.
Благодаря такому решению задачи предлагаемый способ и устройство изменения скорости передачи цифрового звукового сигнала телерадиовещания с предыскажением, в отличие от прототипа, позволяет за счет предыскажения скомпенсировать помехи и искажения, возникающие из-за обработок цифрового звукового сигнала при изменениях его скорости передачи. Вследствие такой компенсации помех и искажений удается существенно повысить качество передачи звуковых вещательных сигналов, что позволяет реализовать поставленную задачу.
Особенностью современных каналов передачи является то, что вследствие изменений скорости передачи цифрового звукового сигнала телерадиовещания, в передаваемые звуковые вещательные сигналы вносятся дополнительные помехи и искажения, вследствие чего форма этих передаваемых сигналов изменяется и поэтому данные сигналы не могут качественно контролироваться имеющимся метрологическим обеспечением, ориентированным на измерение формы. Предлагаемый же способ и устройство с предыскажением осуществляет компенсацию упомянутых дополнительных помех и искажений и тем самым сохраняет форму сигнала, что позволяет использовать существующее метрологическое обеспечение при оценке качества передачи (по форме сигнала).
Предлагаемые способ и устройство с предыскажением могут найти применение в существующих цифровых каналах передачи, а также в системах хранения информации. Их использование позволит повысить качество передачи информационных сообщений.
Экономический эффект от использования предлагаемого изобретения предполагается получить за счет обеспечения высокого качества передачи и приема информационных звуковых сигналов, что позволяет повышать рейтинги популярности информационныхпрограмм и вещательных станций, а также повышать экономическую эффективность данных станций. Компенсация дополнительных помех и искажений вследствие изменений скорости передачи цифрового звукового сигнала телерадиовещания и сохранение формы сигнала позволяет более качественно контролировать и регулировать аппаратуру телерадиовещания и использовать существующее метрологическое обеспечение, а не разрабатывать новые измерительные приборы.
| название | год | авторы | номер документа |
|---|---|---|---|
| СПОСОБ ИЗМЕНЕНИЯ СКОРОСТИ ПЕРЕДАЧИ ЦИФРОВОГО ЗВУКОВОГО СИГНАЛА ТЕЛЕРАДИОВЕЩАНИЯ И УСТРОЙСТВО ДЛЯ ЕГО ОСУЩЕСТВЛЕНИЯ | 2009 |
|
RU2405262C2 |
| СПОСОБ И УСТРОЙСТВО ИЗМЕРЕНИЯ СПЕКТРА ИНФОРМАЦИОННЫХ АКУСТИЧЕСКИХ СИГНАЛОВ С КОМПЕНСАЦИЕЙ ИСКАЖЕНИЙ | 2020 |
|
RU2756934C1 |
| Способ и устройство измерения спектра и кепстральных параметров информационных акустических сигналов телерадиовещания | 2023 |
|
RU2813684C1 |
| СПОСОБ ИЗМЕРЕНИЯ СПЕКТРА ИНФОРМАЦИОННЫХ АКУСТИЧЕСКИХ СИГНАЛОВ ТЕЛЕРАДИОВЕЩАНИЯ И УСТРОЙСТВО ДЛЯ ЕГО ОСУЩЕСТВЛЕНИЯ | 2013 |
|
RU2573248C2 |
| СПОСОБ И УСТРОЙСТВО КОМПАНДИРОВАНИЯ ЗВУКОВЫХ ВЕЩАТЕЛЬНЫХ СИГНАЛОВ | 2018 |
|
RU2691122C1 |
| СПОСОБ И УСТРОЙСТВО КОМПАНДИРОВАНИЯ ЗВУКОВЫХ ВЕЩАТЕЛЬНЫХ СИГНАЛОВ | 2024 |
|
RU2830973C1 |
| СПОСОБ ИЗМЕРЕНИЯ МГНОВЕННЫХ И СРЕДНИХ ЗНАЧЕНИЙ АБСОЛЮТНОЙ И ОТНОСИТЕЛЬНОЙ МОЩНОСТИ АКУСТИЧЕСКИХ СИГНАЛОВ И УСТРОЙСТВО ДЛЯ ЕГО ОСУЩЕСТВЛЕНИЯ | 2010 |
|
RU2458340C2 |
| Способ и устройство измерения ритмических частот, мощности и длительности спадов участков нестационарности акустических сигналов | 2021 |
|
RU2773261C1 |
| СПОСОБ И УСТРОЙСТВО ИЗМЕРЕНИЯ МОЩНОСТИ И КРУТИЗНЫ НАРАСТАНИЯ УЧАСТКОВ НЕСТАЦИОНАРНОСТИ АКУСТИЧЕСКИХ СИГНАЛОВ | 2019 |
|
RU2731339C1 |
| СПОСОБ И УСТРОЙСТВО КОМПАНДИРОВАНИЯ С ПРЕДЫСКАЖЕНИЕМ ЗВУКОВЫХ ВЕЩАТЕЛЬНЫХ СИГНАЛОВ | 2019 |
|
RU2731602C1 |
Изобретение относится к средствам связи. Технический результат заключается в повышении эффективности передачи звукового вещательного сигнала за счет уменьшения искажений и помех в процессе изменения частоты дискретизации и скорости передачи. Формируют на входе первого преобразователя скорости передачи вспомогательный цифровой звуковой сигнал из основного цифрового звукового сигнала, причем этот вспомогательный цифровой звуковой сигнал в точности соответствует основному цифровому звуковому сигналу. В этих основном и вспомогательном цифровых звуковых сигналах вследствие одинаковых видов цифровых обработок по изменению скорости передачи возникают одинаковые помехи и искажения. При этом в основном цифровом звуковом сигнале эти помехи и искажения возникают за счет цифровых обработок при последовательных изменениях скорости передачи в канале связи. Во вспомогательном цифровом звуковом сигнале точно такие же помехи и искажения возникают за счет таких же обработок только на входе первого преобразователя скорости передачи. В этом случае все обработки, соответствующие обработкам в основном цифровом сигнале при последовательных изменениях скорости передачи этого сигнала в канале связи, осуществляются во вспомогательном цифровом сигнале только на входе первого преобразователя скорости передачи. 2 н.п. ф-лы, 6 ил.
1. Способ изменения скорости передачи цифрового звукового сигнала телерадиовещания с предыскажением, включающий первое изменение скорости передачи во входном основном цифровом сигнале с формированием сегментов из N1 кодовых комбинаций этого основного цифрового сигнала в каждом сегменте, соответствующих N1 дискретным отсчетам звукового сигнала, наложение оконной функции Наттолла на каждый сегмент, накопление N1 кодовых комбинаций основного цифрового сигнала, N1 точечное прямое дискретное преобразование Фурье накопленных N1 кодовых комбинаций основного цифрового сигнала и получение N1 пар спектральных коэффициентов, соответствующих представлению цифрового звукового сигнала в спектральной области, а также N2 точечное обратное дискретное преобразование Фурье из N2 пар спектральных коэффициентов в N2 кодовых комбинаций, при этом N1/N2=f1.1/f2.1, где f1.1 - исходная частота дискретизации при первом изменении скорости передачи, f2.1 - измененная частота дискретизации при первом изменении скорости передачи, после чего осуществляют формирование сегментов основного цифрового сигнала из N2 кодовых комбинаций этого сигнала в каждом сегменте, сложение с 50% перекрытием каждого сегмента с предыдущим ему сегментом, компенсацию неравномерности оконной функции Наттолла, отличающийся тем, что после N1 точечного прямого дискретного преобразования Фурье в спектральной области осуществляют изменение количества пар спектральных коэффициентов на каждом сегменте с N1 на N2, что соответствует изменению (уменьшению или увеличению) частоты дискретизации и скорости передачи цифрового звукового сигнала во временной области, и получают таким образом после всех упомянутых операций первое изменение скорости передачи в основном цифровом звуковом сигнале, который оказывается искаженным вследствие обработок по этому первому изменению скорости передачи, а также после первого изменения скорости передачи осуществляют второе изменение скорости передачи в основном цифровом сигнале, включающее формирование сегментов основного цифрового сигнала из N2 кодовых комбинаций этого цифрового сигнала в каждом сегменте, соответствующих N2 дискретным отсчетам звукового сигнала, наложение оконной функции Наттолла на каждый сегмент, накопление N2 кодовых комбинаций основного цифрового сигнала, N2 точечное прямое дискретное преобразование Фурье накопленных N2 кодовых комбинаций основного цифрового сигнала и получают N2 пар спектральных коэффициентов, соответствующих представлению цифрового звукового сигнала в спектральной области, затем осуществляют изменение количества пар спектральных коэффициентов на каждом сегменте с N2 на N1, что соответствует изменению (уменьшению или увеличению) частоты дискретизации и скорости передачи цифрового звукового сигнала во временной области, после чего осуществляют N1 точечное обратное дискретное преобразование Фурье из N1 пар спектральных коэффициентов в N1 кодовых комбинаций, при этом N2/N1=f1.1/f1.2, где f1.1 - исходная частота дискретизации при втором изменении скорости передачи, f1.2 - измененная частота дискретизации при втором изменении скорости передачи, причем исходная частота дискретизации при первом изменении скорости передачи f1.1 равна измененной частоте дискретизации при втором изменении скорости передачи f1.2, а исходная частота дискретизации при втором изменении скорости передачи f2.2 равна измененной частоте дискретизации при первом изменении скорости передачи f2.1, а затем осуществляют формирование сегментов основного цифрового сигнала из N1 кодовых комбинаций этого сигнала в каждом сегменте, сложение с 50% перекрытием каждого сегмента с предыдущим ему сегментом, компенсацию неравномерности оконной функции Наттолла и получают таким образом искаженный вследствие обработок по первому и второму изменению скорости передачи выходной основной цифровой звуковой сигнал, скорость передачи которого равна скорости передачи во входном основном цифровом сигнале, а также перед первым изменением скорости передачи во входном основном цифровом сигнале осуществляют формирование из этого входного основного цифрового звукового сигнала вспомогательного цифрового звукового сигнала, над которым осуществляют первое изменение скорости передачи, включающее все точно такие же операции, которые были проделаны в отношении основного цифрового звукового сигнала при первом изменении его скорости передачи, и получают искаженный вследствие обработок по первому изменению скорости передачи вспомогательный цифровой звуковой сигнал, а после первого изменения скорости передачи осуществляют второе изменение скорости передачи во вспомогательном цифровом звуковом сигнале, включающее все точно такие же операции, которые были проделаны в отношении основного цифрового звукового сигнала при втором изменении его скорости передачи, и получают таким образом искаженный вследствие обработок по первому и второму изменению скорости передачи выходной вспомогательный цифровой звуковой сигнал, скорость передачи которого равна скорости передачи во входном основном цифровом сигнале, а искажения в этом выходном вспомогательном цифровом звуковом сигнале являются одинаковыми с искажениями в выходном основном цифровом звуковом сигнале после двух изменений скорости передачи в нем, после этого из искаженного выходного вспомогательного цифрового звукового сигнала осуществляют вычитание неискаженного входного основного цифрового звукового сигнала и получают цифровой предыскажающий сигнал, состоящий из помех и искажений вследствие двух обработок по изменению скорости передачи, после чего этот цифровой предыскажающий сигнал инвертируют по фазе, а затем вводят путем суммирования в неискаженный входной основной цифровой звуковой сигнал и получают предыскаженный входной основной цифровой звуковой сигнал, над которым осуществляют последовательно первое и второе изменение скорости передачи и получают выходной основной цифровой звуковой сигнал.
2. Устройство для осуществления способа изменения скорости передачи цифрового звукового сигнала телерадиовещания с предыскажением, содержащее последовательно соединенные первый блок наложения оконной функции Наттолла и первый блок прямого дискретного преобразования Фурье, а также последовательно соединенные первый блок обратного дискретного преобразования Фурье и первый блок перекрытия сегментов и компенсации неравномерности оконной функции Наттолла, а также содержащее первый и второй блоки удвоения частоты тактовых импульсов, отличающееся тем, что дополнительно введены первый блок изменения количества пар спектральных коэффициентов, первый выделитель тактовых импульсов и первый генератор тактовых импульсов, причем ранее перечисленные блоки, начиная с первого блока наложения оконной функции Наттолла и кончая первым генератором тактовых импульсов, образуют первый преобразователь скорости передачи основного сигнала, а также дополнительно включены последовательно соединенные второй блок наложения оконной функции Наттолла и второй блок прямого дискретного преобразования Фурье, а также последовательно соединенные второй блок обратного дискретного преобразования Фурье и второй блок перекрытия сегментов и компенсации неравномерности оконной функции Наттолла, а также введены третий и четвертый блоки удвоения частоты тактовых импульсов, второй блок изменения количества пар спектральных коэффициентов, второй выделитель тактовых импульсов и второй генератор тактовых импульсов, причем перечисленные блоки, начиная с второго блока наложения оконной функции Наттолла и заканчивая вторым генератором тактовых импульсов, образуют второй преобразователь скорости передачи основного сигнала, а также дополнительно включены линия связи и последовательно соединенные первый преобразователь скорости передачи вспомогательного сигнала, аналогичный первому преобразователю скорости передачи основного сигнала, и второй преобразователь скорости передачи вспомогательного сигнала, аналогичный второму преобразователю скорости передачи основного сигнала, а также включены последовательно соединенные блок вычитания и фазоинвертор, также включены последовательно соединенные линия задержки и сумматор, при этом вход линии задержки соединен с входом устройства, а также с входом первого преобразователя скорости передачи вспомогательного сигнала и вторым входом блока вычитания, первый вход которого соединен с выходом второго преобразователя скорости передачи вспомогательного сигнала, при этом выход блока вычитания через фазоинвертор соединен с вторым входом сумматора, первый вход которого соединен с выходом линии задержки, а выход сумматора соединен с входом первого преобразователя скорости передачи основного сигнала, а внутри этого первого преобразователя скорости передачи основного сигнала его вход соединен с первым входом первого блока наложения оконной функции Наттолла и с входом первого выделителя тактовых импульсов, выход которого соединен с вторым входом первого блока наложения оконной функции Наттолла и с входом первого блока удвоения частоты тактовых импульсов, выход которого соединен с третьим входом первого блока наложения оконной функции Наттолла, с вторым входом первого блока прямого дискретного преобразования Фурье и с вторым входом первого блока изменения количества пар спектральных коэффициентов, первый вход которого соединен с выходом первого блока прямого дискретного преобразования Фурье, а выход первого блока изменения количества пар спектральных коэффициентов соединен с первым входом первого блока обратного дискретного преобразования Фурье, при этом выход первого генератора тактовых импульсов соединен с третьим входом первого блока перекрытия сегментов и компенсации неравномерности оконной функции Наттолла и с входом второго блока удвоения частоты тактовых импульсов, выход которого соединен с третьим входом первого блока изменения количества пар спектральных коэффициентов, с вторым входом первого блока обратного дискретного преобразования Фурье и с вторым входом первого блока перекрытия сегментов и компенсации неравномерности оконной функции Наттолла, выход которого является выходом первого преобразователя скорости передачи основного сигнала, который через линию связи соединен с входом второго преобразователя скорости передачи основного сигнала, а внутри этого второго преобразователя скорости передачи основного сигнала его вход соединен с первым входом второго блока наложения оконной функции Наттолла и с входом второго выделителя тактовых импульсов, выход которого соединен с вторым входом второго блока наложения оконной функции Наттолла и с входом третьего блока удвоения частоты тактовых импульсов, выход которого соединен с третьим входом второго блока наложения оконной функции Наттолла, с вторым входом второго блока прямого дискретного преобразования Фурье и с вторым входом второго блока изменения количества пар спектральных коэффициентов, первый вход которого соединен с выходом второго блока прямого дискретного преобразования Фурье, а выход второго блока изменения количества пар спектральных коэффициентов соединен с первым входом второго блока обратного дискретного преобразования Фурье, при этом выход второго генератора тактовых импульсов соединен с третьим входом второго блока перекрытия сегментов и компенсации неравномерности оконной функции Наттолла и с входом четвертого блока удвоения частоты тактовых импульсов, выход которого соединен с третьим входом второго блока изменения количества пар спектральных коэффициентов, с вторым входом второго блока обратного дискретного преобразования Фурье и с вторым входом второго блока перекрытия сегментов и компенсации неравномерности оконной функции Наттолла, выход которого является выходом второго преобразователя скорости передачи основного сигнала, выход которого является выходом устройства.
| СПОСОБ ИЗМЕНЕНИЯ СКОРОСТИ ПЕРЕДАЧИ ЦИФРОВОГО ЗВУКОВОГО СИГНАЛА ТЕЛЕРАДИОВЕЩАНИЯ И УСТРОЙСТВО ДЛЯ ЕГО ОСУЩЕСТВЛЕНИЯ | 2009 |
|
RU2405262C2 |
| СПОСОБ ИЗМЕРЕНИЯ СПЕКТРА ИНФОРМАЦИОННЫХ АКУСТИЧЕСКИХ СИГНАЛОВ ТЕЛЕРАДИОВЕЩАНИЯ И УСТРОЙСТВО ДЛЯ ЕГО ОСУЩЕСТВЛЕНИЯ | 2013 |
|
RU2573248C2 |
| US 7917564 B2, 29.03.2011 | |||
| US 8219409 B2, 10.07.2012 | |||
| КАНАЛЬНОЕ КОДИРОВАНИЕ НА ОСНОВЕ КОМПЛЕКСНОГО ПРЕОБРАЗОВАНИЯ С ЧАСТОТНЫМ КОДИРОВАНИЕМ С РАСШИРЕННОЙ ПОЛОСОЙ | 2007 |
|
RU2555221C2 |
| US 8862480 B2, 14.10.2014. | |||
Авторы
Даты
2024-11-19—Публикация
2024-02-22—Подача