Настоящее изобретение относится к системе сочлененного вагона для грузового железнодорожного состава, в частности к системе сочлененного вагона для перевозки контейнеров. Дополнительные аспекты изобретения относятся к сочлененному вагону и блоку энергоснабжения для такой системы сочлененного вагона.
Система сочлененного вагона содержит сочлененный вагон для перевозки контейнеров, включая полуприцепы, в частности, так называемый вагон-платформу для перевозки контейнеров (КТВ), причем контейнеры представляют собой, например, рефрижераторные контейнеры, контейнеры-цистерны, сменные контейнеры-рефрижераторы или полуприцепы-рефрижераторы. Сочлененный вагон содержит первую вагонную часть и вторую вагонную часть, причем первая и вторая вагонные части сочленены друг с другом посредством шарнирной сцепки, подвижной по меньшей мере вокруг вертикальной оси шарнира, и в области шарнирной сцепки их обращенные друг к другу концы предпочтительно опираются на общую тележку, в частности на тележку Якобса. Дополнительные тележки предпочтительно предусмотрены на концах двух вагонных частей, разнесенных друг от друга. Верхняя сторона первой вагонной части имеет первую установочную площадку контейнера для одного или более контейнеров, а вторая вагонная часть на своей верхней стороне имеет вторую установочное площадку контейнера для одного или более контейнеров.
Система сочлененного вагона также включает блок энергоснабжения для предпочтительно автономного энергоснабжения, в частности, электроэнергией, контейнеров, загруженных на сочлененный вагон. В данном контексте автономное энергоснабжение означает энергоснабжение, которое не требует или, по меньшей мере, не имеет непрерывного энергоснабжения от локомотива, другого сочлененного вагона или воздушной линии, и предпочтительно не имеет соответствующей связи с локомотивом, другим сочлененным вагоном или воздушной линией.
Подобные системы сочлененного вагона известны из предшествующего уровня техники. Системы сочлененного вагона этого типа предназначены, в частности, для размещения контейнеров, предназначенных для перевозки товаров с контролируемой температурой, таких как рефрижераторные контейнеры, контейнеры-цистерны, сменные контейнеры-рефрижераторы или полуприцепы-рефрижераторы. Такие контейнеры предъявляют высокие требования к энергоснабжению, так как, с одной стороны, они имеют высокую потребность в энергии для работы системы охлаждения или обогрева, а с другой стороны, должны обеспечивать замкнутую цепь охлаждения или обогрева, т.е. не только во время движения, но также и в состоянии остановки, а также требуют бесперебойного электроснабжения при маневровых и погрузочно-разгрузочных работах. Таким образом, электроснабжение через соседние вагоны, локомотивы или воздушные линии не является идеальным, так как бесперебойное электроснабжение здесь невозможно или, по меньшей мере, невозможно при определенных обстоятельствах.
Известны также системы сочлененного вагона, которые имеют блоки энергоснабжения с батареями. Однако, из-за высоких энергетических потребностей контейнеров такие блоки энергоснабжения с батарейным питанием имеют относительно большие размеры, так что размещение блока энергоснабжения представляет собой проблему. Согласно известному решению, блок энергоснабжения размещается под установочной площадкой контейнера. Однако у этого есть недостаток, заключающийся в том, что пол контейнера должен быть размещен несколько выше, и, следовательно, из-за фиксированного ограничения высоты грузового железнодорожного состава для контейнеров остается меньше места, или некоторые контейнеры нельзя перевозить.
Таким образом, целью настоящего изобретения является создание системы сочлененного вагона, с помощью которой простым образом возможна непрерывная подача энергии к загруженным контейнерам даже в состоянии остановки и при маневрировании, и которая имеет максимальную грузоподъемность для загружаемых контейнеров.
Поставленная задача решается тем, что блок энергоснабжения размещают и закрепляют в зоне шарнирной сцепки первой и второй вагонных частей, в частности, над общей тележкой, предпочтительно по центру между первой и второй установочными площадками контейнера или размещенными на них контейнерами.
Таким образом, и без того свободное щелевидное пространство между контейнерами соседних вагонных частей сочлененного вагона используется для размещения блока энергоснабжения. Этого пространства достаточно для размещения блока энергоснабжения, способного питать систему охлаждения или обогрева контейнера для товаров с регулируемой температурой. В то же время, таким образом, блок энергоснабжения не занимает места под установочными площадками для контейнеров или в других местах сочлененного вагона, которые ограничивают установочные площадки контейнера, так что пространство, доступное для контейнеров, не ограничено блоком энергоснабжения. Кроме того, блок энергоснабжения может быть задекларирован в качестве погрузочной единицы при комбинированных перевозках, так что блок энергоснабжения не рассматривается как составная часть сочлененного вагона. Это означает, что нет необходимости корректировать допуск сочлененного вагона и тем самым изменять или продлевать существующий номер вагона, если блок энергоснабжения сочетается с уже имеющим допуск сочлененным вагоном.
В предпочтительном варианте осуществления блок энергоснабжения содержит опорную конструкцию и множество компонентов энергоснабжения, прикрепленных к опорной конструкции или находящихся в ней. Опорная конструкция предпочтительно имеет закрытую форму корпуса, например, стальную рамную конструкцию с наружным кожухом из листовой стали. Компоненты энергоснабжения могут быть защищены и надежно закреплены на сочлененном вагоне с помощью такой опорной конструкции.
Особенно предпочтительно при этом, если опорная конструкция прикреплена к сочлененному вагону, предпочтительно к первой или ко второй вагонный части, через переходное устройство. Переходное устройство позволяет надежно закрепить блок энергоснабжения на сочлененном вагоне без существенной модификации последнего.
При этом также предпочтительно, если переходное устройство содержит по меньшей мере одну переходную пластину, предпочтительно две переходные пластины, разнесенные в поперечном направлении сочлененного вагона, которая(ые) закреплена(ы), в частности, привинчены, на конце первой вагонной части, обращенном ко второй вагонной части, с ее верхней стороны, и выступает или выступают ко второй вагонной части. Такие переходные пластины обеспечивают надежное основание и крепление блока энергоснабжения в зоне шарнирной сцепки по существу посередине между первой и второй вагонными частями или соответствующими загруженными контейнерами.
Далее предпочтительно, если переходное устройство, в частности переходная пластина или переходные пластины, имеет крепежные стойки, предпочтительно на своей верхней стороне, и, если опорная конструкция имеет соответствующие гнезда для стоек, предпочтительно на своей нижней стороне, для зацепления и предпочтительно также для фиксации с крепежными стойками. Предпочтительно предусмотрены две переходные пластины, расположенные на расстоянии друг от друга в поперечном направлении, каждая из которых имеет две крепежных стойки на своей верхней стороне и может зацепляться и защелкиваться с четырьмя соответствующими гнездами для стоек, предусмотренными на опорной конструкции, предпочтительно на стальной раме опорной конструкции. С помощью таких крепежных стоек и соответствующих гнезд для стоек блок энергоснабжения можно безопасно, легко и быстро прикрепить к переходному устройству и, таким образом, к сочлененному вагону.
Также предпочтительно, чтобы крепежные стойки представляли собой контейнерные стойки в соответствии со стандартом UIC 571-4. Такие крепежные стойки стандартно предусмотрены на контейнерных установочных площадках для крепления контейнеров. Гнезда для стоек предпочтительно также сконструированы в соответствии со стандартом UIC 571-4. Такие гнезда для стоек стандартно предусмотрены на дне контейнера для соединения с крепежными стойками. Преимущество использования таких нормированных стандартных соединительных элементов состоит в том, что их не нужно специально сертифицировать.
В предпочтительном варианте компоненты энергоснабжения включают по меньшей мере один накопитель энергии. От такого накопителя энергии контейнеры могут снабжаться энергией в течение определенного периода времени совершенно независимо от внешних источников энергии. Кроме того, такой накопитель энергии можно использовать в заряжаемом виде в качестве промежуточного накопителя при подключении к внешнему источнику энергии.
Особенно предпочтительно, если накопитель энергии содержит, по меньшей мере, одну аккумуляторную батарею, предпочтительно от трех до семи комплектов высокоэффективных аккумуляторов, изготовленных из LiFePO4, каждый на 9 кВт·ч и модульной емкостью накопителя от 27 кВт·ч до 63 кВт·ч. Такая аккумуляторная батарея может обеспечивать электроэнергией контейнеры, когда нет внешнего блока энергоснабжения, и может заряжаться, когда электроэнергия доступна, как за счет собственной выработки электроэнергии, так и от внешних источников энергии.
Также особенно предпочтительно, если компоненты энергоснабжения включают в себя, по меньшей мере, один электрический генератор, предпочтительно асинхронный генератор переменного тока мощностью 22 кВт, для зарядки батареи. Генератор может приводиться в движение, например, за счет кинетической энергии движения сочлененного вагона. Таким образом, батарею можно заряжать от генератора, специально предусмотренного в блоке энергоснабжения, например, во время движения сочлененного вагона.
Генератор предпочтительно работает с гидравлическим давлением. Гидравлическое давление особенно подходит для работы генератора и может быть легко получено, например, за счет кинетической энергии.
Также предпочтительно, чтобы система сочлененного вагона имела гидравлический насос, в частности, аксиально-поршневой насос постоянной производительности, для обеспечения гидравлического давления, который установлен, в частности, на колесной паре, предпочтительно на колесной паре общей тележки, и приводится от нее. Предпочтительно гидравлический насос крепится к ступице колеса, где он отбирает кинетическую энергию вращения колеса. Для соединения гидравлического насоса с генератором предпочтительно предусмотрены гидравлические шланги, в частности три гидравлических шланга, которые передают гидравлическое давление от гидравлического насоса к генератору. С таким гидравлическим насосом на колесной паре гидравлическое давление, необходимое генератору для выработки электроэнергии, может быть обеспечено простым и надежным способом без необходимости значительных модификаций сочлененного вагона.
В предпочтительном варианте осуществления компоненты энергоснабжения содержат по меньшей мере одно сетевое зарядное устройство, предпочтительно сетевое ВЧ зарядное устройство мощностью 10 кВт, для зарядки батареи от внешней сети. Компоненты энергоснабжения предпочтительно также включают в себя, по меньшей мере, одно соответствующее зарядное подключение, предпочтительно две зарядные розетки СЕЕ, 5-контактные, для подключения сетевого зарядного устройства к внешнему сетевому соединению. С таким сетевым зарядным устройством и дополнительным разъемом для зарядки батарею можно заряжать от внешнего источника энергоснабжения. Батарею можно заряжать с помощью сетевого зарядного устройства в дополнение к зарядке от генератора или независимо от него.
В еще одном предпочтительном варианте осуществления компоненты энергоснабжения содержат по меньшей мере одно подключение нагрузки, предпочтительно четыре розетки нагрузки СЕЕ, 4-контактные и/или 5-контактные, предпочтительно по две с каждой стороны блока энергоснабжения, для подключения к соответствующему разъему на контейнере для снабжения потребителя, например системы охлаждения или обогрева. Таким образом, каждый контейнер можно быстро и легко подключить к блоку энергоснабжения, даже если на каждую вагонную часть загружено по два контейнера.
Еще один аспект настоящего изобретения относится к сочлененному вагону для системы сочлененного вагона в соответствии с одним из ранее описанных вариантов осуществления. Сочлененный вагон содержит первую вагонную часть и вторую вагонную часть. Первая и вторая вагонные части соединены друг с другом посредством шарнирной сцепки, подвижной по меньшей мере вокруг вертикальной оси шарнира, и предпочтительно опираются своими обращенными друг к другу концами на общую тележку в зоне шарнирной сцепки. Первая вагонная часть имеет на своей верхней стороне первую установочную площадку контейнера для одного или более контейнеров. В то же время вторая вагонная часть на своей верхней стороне имеет вторую установочную площадку контейнера для одного или более контейнеров. Кроме того, сочлененный вагон имеет переходное устройство для присоединения блока энергоснабжения для автономного энергоснабжения контейнеров, загруженных на сочлененный вагон. Переходное устройство размещают в зоне шарнирной сцепки, предпочтительно над общей тележкой, предпочтительно по центру между первой и второй установочными площадками контейнера или размещенными на них контейнерами, и предпочтительно закрепляют на первой вагонной части. Признаки и эффекты, описанные выше в связи с системой сочлененного вагона, также применимы к сочлененному вагону.
Другой аспект настоящего изобретения относится к блоку энергоснабжения для сочлененного вагона в соответствии с одним из ранее описанных вариантов осуществления, содержащему предпочтительно закрытую опорную конструкцию и множество компонентов энергоснабжения, прикрепленных к опорной конструкции или в ней, при этом опорная конструкция выполнена с возможностью прикрепления к сочлененному вагону системы сочлененного вагона через переходное устройство. Признаки и эффекты, описанные выше в связи с системой сочлененного вагона, также применимы к блоку энергоснабжения.
Предпочтительные примерные варианты осуществления настоящего изобретения поясняются более подробно ниже со ссылкой на чертежи. На фигурах чертежей показано:
Фиг.1 вид сбоку сочлененного вагона в соответствии с вариантом осуществления изобретения,
Фиг.2 детальный вид сверху области шарнирной сцепки системы сочлененного вагона с фиг.1 с размещенным блоком энергоснабжения,
Фиг.3 вид сбоку системы сочлененного вагона с фиг.1, загруженной двумя полуприцепами-рефрижераторами,
Фиг.4 вид сбоку сочлененного вагона с фиг. 1, загруженного двумя рефрижераторными контейнерами,
Фиг.5 вид сбоку системы сочлененного вагона с фиг.1, загруженной четырьмя сменными кузовами-рефрижераторами,
Фиг.6 детальный вид сверху области шарнирной сцепки системы сочлененного вагона с фиг.5 без блока энергоснабжения,
Фиг.7 вид в перспективе изолированной переходной пластины для крепления блока энергоснабжения к сочлененному вагону согласно изобретению,
Фиг.8 детальный вид сверху области шарнирной сцепки системы сочлененного вагона с фиг.1 с закрепленными там переходными пластинами, но без блока энергоснабжения,
Фиг.9 изолированный вид сверху конца первой вагонной части системы сочлененного вагона с фиг.1 и прикрепленного к ней блока энергоснабжения;
Фиг.10 изолированный вид спереди конца первой вагонной части системы сочлененного вагона с фиг. 1 и прикрепленного к ней блока энергоснабжения,
Фиг.11 детальный вид крепления блока энергоснабжения на конце первой вагонной части с фиг.10 с видом крепежной стойки переходной пластины в зацеплении с гнездом стойки контейнера,
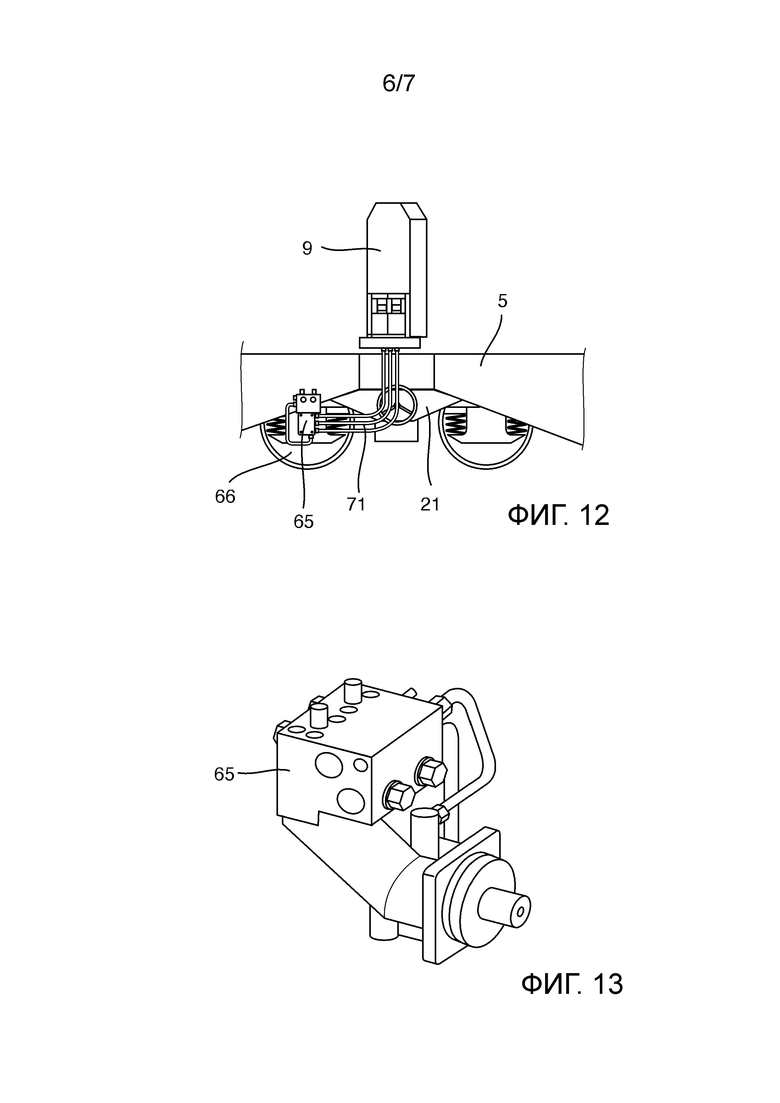
Фиг.12 вид сбоку системы сочлененного вагона при взгляде на гидравлический насос, установленный на колесной паре,
Фиг.13 изолированный вид в перспективе гидравлического насоса, показанного на фиг. 12, и
Фиг.14 вид спереди блока энергоснабжения согласно изобретению с разрезанной опорной конструкцией и вид компонентов энергоснабжения внутри опорной конструкции.
Фиг.1 и 2 показана система 1 сочлененного вагона согласно изобретению для грузового железнодорожного состава. Система 1 сочлененного вагона состоит из сочлененного вагона 5 для перевозки контейнеров 7, также известного как вагон-платформа для перевозки контейнеров (КТВ), и блока 9 энергоснабжения для подачи электроэнергии на контейнеры 7, загруженные на сочлененный вагон 5. Такие контейнеры 7 могут включать, например, полуприцепы-рефрижераторы 7', как показано на фиг. 3, так называемые рефрижераторные контейнеры 7'', как показано на фиг. 4, сменные контейнеры-рефрижераторы 7''', как показано на фиг. 5, или контейнеры-цистерны.
Сочлененный вагон 5 содержит первую вагонную часть 11 и вторую вагонную часть 13, причем первая и вторая вагонные части 11, 13 соединены друг с другом посредством шарнирной сцепки 15, подвижной вокруг вертикальной оси 17 шарнира, и в области шарнирной сцепки 15 на своих обращенных друг к другу концах 19 опираются на общую тележку 21. Дополнительные тележки 23 предусмотрены на концах 25 двух вагонных частей 11, 13, разнесенных друг от друга. Первая вагонная часть 11 имеет на своей верхней стороне первую установочную площадку 29 контейнера для одного или более контейнеров 7, а вторая вагонная часть 13 имеет на своей верхней стороне вторую установочную площадку 33 контейнера для одного или более контейнеров 7.
Блок 9 энергоснабжения предназначен для автономного электроснабжения контейнера 7 без доступа к источнику энергоснабжения локомотива, другого сочлененного вагона или контактной сети. Блок 9 энергоснабжения расположен и закреплен в районе шарнирной сцепки 15 первой и второй вагонных частей 11, 13 над общей тележкой 21, посередине между первой и второй установочными площадками 29, 33 контейнера или размещенными на них контейнерами 7, как показано на фиг.1-5. На фиг. 6 показан беспрепятственный вид шарнирной сцепки 15 сверху.
Как видно, например, на фиг.9 и 10, блок 9 энергоснабжения содержит опорную конструкцию 35 и множество компонентов 37 энергоснабжения, прикрепленных к опорной конструкции 35 или закрепленных в ней. Опорная конструкция 35 имеет закрытую форму корпуса и образована сварной стальной рамной конструкцией 41 с наружным кожухом 43 из листовой стали.
Опорная конструкция 35 прикреплена к сочлененному вагону 5 через переходное устройство 45, как показано на Фиг.7-11. При этом на фиг.7 и 8 показано, что переходное устройство 45 содержит две переходные пластины 47, разнесенные в поперечном направлении сочлененного вагона 5, которые прикреплены на конце 19 первой вагонной части 11, обращенному ко второй вагонной части 13, на ее верхней стороне, и выступают в сторону второй вагонной части 13. Переходная пластина 47 имеет соответственно на своей верхней стороне две крепежных стойки 53, а опорная конструкция 35 имеет четыре соответствующих гнезда 57 для стоек на нижней стороне стальной рамной конструкции 41 для зацепления и фиксации с крепежными стойками 53, как показано на Фиг. 10 и 11. Крепежные стойки 53 выполнены в виде стоек контейнера в соответствии со стандартом UIC 571-4, которые стандартно предусмотрены на установочных площадках 29, 33 контейнера для крепления контейнера 7. Гнезда 57 для стоек также выполнены в соответствии со стандартом UIC 571-4, так что между крепежной стойкой 53 и гнездом 57 для стойки образуется стандартное соединение.
Компоненты 37 энергоснабжения включают в себя накопитель 61 энергии с несколькими аккумуляторными батареями 62, в частности, от трех до семи комплектов высокоэффективных аккумуляторов, изготовленных из LiFePO4, каждый на 9 кВтч и модульной емкостью накопителя от 27 кВтч до 63 кВтч. Компоненты 37 энергоснабжения также включают в себя электрический генератор 63 для зарядки батарей 62, в частности, асинхронный генератор переменного тока мощностью 22 кВт. Генератор 63 приводится в действие гидравлическим давлением от кинетической энергии движения сочлененного вагона 5.
Для обеспечения гидравлического давления для привода генератора 63 система 1 сочлененного вагона имеет гидравлический насос 65, в частности, аксиально-поршневой насос постоянной производительности, который установлен на колесной паре 66 общей тележки 21 и приводится в движение ею, как показано на фиг. 12. На фиг.13 гидравлический насос 65 показан изолированным. Гидравлический насос 65 прикреплен к ступице колеса, где он поглощает кинетическую энергию вращения колесной пары 66 и преобразует ее в гидравлическую энергию или гидравлическое давление, которое затем направляется на генератор 63 и приводит его в действие. Для соединения гидравлического насоса 65 с генератором 63 предусмотрены три гидравлических шланга 71, которые передают гидравлическое давление от гидравлического насоса 65 к генератору 63.
Кроме того, компоненты 37 энергоснабжения включают в себя сетевое зарядное устройство 73, в частности ВЧ-сетевое зарядное устройство мощностью 10 кВт, для зарядки аккумуляторной батареи 62 током от внешней сети. Кроме того, компоненты 37 энергоснабжения включают в себя, по меньшей мере, одно соответствующее зарядное подключение 75, в частности два зарядных разъема СЕЕ, 5-контактных, для подключения сетевого зарядного устройства 73 к внешнему сетевому соединению.
Кроме того, компоненты 37 энергоснабжения включают по меньшей мере одно подключение 79 нагрузки, в частности, четыре розетки нагрузки СЕЕ, 4-полюсные и/или 5-полюсные, по две с каждой стороны блока 9 энергоснабжения, для подключения к соответствующему соединению на контейнер 7 для снабжения потребителя, такого как система охлаждения или обогрева контейнеров.
В дополнение к ранее упомянутым также предусмотрены следующие дополнительные компоненты 37 энергоснабжения: по меньшей мере один преобразователь, в частности два двойных инвертора мобильного привода мощностью 30 кВт, для работы генератора и работы холодильного агрегата; не менее одного блока контроллера, в частности тройного контроллера ПМУ-8 с отдельной бортовой батареей 24В и резервным управлением, для управления системой и контроля; по меньшей мере, один модуль управления и контроля для запуска блока 9 энергоснабжения и контроля рабочего состояния.
Расположение компонентов 37 энергоснабжения внутри блока 9 энергоснабжения показано на фиг.14. Компоненты энергоснабжения размещены в трех отдельных отсеках 83, 85, 87. Электроника и органы управления расположены в первом отсеке 83 с левой стороны, в частности преобразователь, блок управления, модуль управления и контроля и сетевое зарядное устройство 73. Батареи 62 размещены во втором отсеке 85 посередине, в частности комплекты высокоэффективных аккумуляторов, которые расположены в виде сетки рядом и под друг другом в нескольких ящиках и могут быть удалены по отдельности. Генератор 63 и гидравлические шланги 71 расположены в третьем отсеке 87 с правой стороны. На фиг.14 также показан гидравлический насос 65, который соединен с генератором через гидравлические шланги 71. Подключение 79 нагрузки также можно увидеть с правой стороны третьего отсека 87.
С помощью вышеописанной системы 1 сочлененного вагона можно также легко гарантировать бесперебойную подачу энергии к загруженным контейнерам 7 как в состоянии остановки, так и в состоянии маневрирования. Кроме того, свободное щелевое пространство 81 между контейнерами 7 соседних вагонных частей 11, 13 сочлененного вагона 5 используется для размещения блока 9 энергоснабжения. Это пространство 81 достаточно велико для размещения блока 9 энергоснабжения, который может питать систему охлаждения или нагрева контейнера 7 для товаров с контролируемой температурой. В то же время блок 9 энергоснабжения не занимает места под установочными площадками 29, 33 контейнера или в других местах вагонных частей 11, 13, которые ограничивают установочные площадки 29, 33 контейнера, так что имеющееся пространство для контейнеров 7 максимально.
Изобретение относится к грузовому железнодорожному составу, в частности к системе сочлененного вагона для перевозки контейнеров и блоку энергоснабжения для такой системы сочлененного вагона. Система (1) сочлененного вагона для грузового железнодорожного состава состоит из сочлененного вагона (5) для перевозки контейнеров и блока (9) энергоснабжения для энергоснабжения контейнеров, загруженных на сочлененный вагон (5). Сочлененный вагон включает первую вагонную часть (11) и вторую вагонную частью (13), соединенные друг с другом посредством шарнирной сцепки (15), подвижной вокруг вертикальной оси (17) шарнира. Первая вагонная часть (11) на своей верхней стороне имеет первую установочную площадку (29) контейнера для одного или более контейнеров, а вторая вагонная часть (13) на своей верхней стороне имеет вторую установочную площадку (33) контейнера для одного или более контейнеров. Блок (9) энергоснабжения расположен в зоне шарнирной сцепки (15) первой и второй вагонных частей (11, 13) между первой и второй установочными площадками (29, 33) контейнера и содержит опорную конструкцию, к которой прикреплено множество компонентов энергоснабжения и которая предназначена для прикрепления к сочлененному вагону (5) через переходное устройство. Изобретение обеспечивает возможность бесперебойной подачи энергии к загруженным контейнерам даже в состоянии остановки и при маневрировании при максимальной грузоподъемности для загружаемых контейнеров. 3 н. и 12 з.п. ф-лы, 14 ил.
1. Система (1) сочлененного вагона для грузового железнодорожного состава, содержащая
сочлененный вагон (5) для перевозки контейнеров (7) с первой вагонной частью (11) и второй вагонной частью (13), причем первая и вторая вагонные части (11, 13) сочленяются друг с другом посредством шарнирной сцепки (15), подвижной вокруг вертикальной оси (17) шарнира, при этом первая вагонная часть (11) на своей верхней стороне имеет первую установочную площадку (29) контейнера для одного или более контейнеров (7), а вторая вагонная часть (13) на своей верхней стороне имеет вторую установочную площадку (33) контейнера для одного или более контейнеров (7),
блок (9) энергоснабжения для энергоснабжения контейнеров (7), загруженных на сочлененный вагон (5),
отличающаяся тем, что
блок (9) энергоснабжения расположен в зоне шарнирной сцепки (15) первой и второй вагонных частей (11, 13) между первой и второй установочными площадками (29, 33) контейнера.
2. Система (1) сочлененного вагона по п. 1, в которой блок (9) энергоснабжения содержит опорную конструкцию (35) и множество компонентов (37) энергоснабжения, закрепленных на опорной конструкции (35).
3. Система (1) сочлененного вагона по п.2, в которой опорная конструкция (35) крепится к сочлененному вагону (5) через переходное устройство (45).
4. Система (1) сочлененного вагона по п. 3, в которой переходное устройство (45) содержит по меньшей мере одну переходную пластину (47), предпочтительно две переходные пластины (47), которая(ые) крепится(крепятся) на конце (19) первой вагонной части (11) и выступает или выступают ко второй вагонной части (13).
5. Система (1) сочлененного вагона по п. 3 или 4, в которой переходное устройство (45) имеет крепежные стойки (53), а опорная конструкция (35) имеет соответствующие гнезда (57) для стоек для зацепления с крепежными стойками (53).
6. Система (1) сочлененного вагона по п. 5, в которой крепежные стойки (53) представляют собой стойки контейнера в соответствии со стандартом UIC 571-4.
7. Система (1) сочлененного вагона по любому из пп. 2-6, в которой компоненты (37) энергоснабжения содержат по меньшей мере один накопитель (61) энергии.
8. Система (1) сочлененного вагона по п. 7, в которой накопитель (61) энергии содержит по меньшей мере одну аккумуляторную батарею (62).
9. Система (1) сочлененного вагона по п. 8, в которой компоненты (37) энергоснабжения содержат по меньшей мере один электрический генератор (63) для зарядки батареи (62).
10. Система (1) сочлененного вагона по п. 9, в которой генератор (63) приводится в действие гидравлическим давлением.
11. Система (1) сочлененного вагона по п. 10, в которой система (1) сочлененного вагона для обеспечения гидравлического давления имеет гидравлический насос (65), который установлен на колесной паре (66) и приводится в движение ею.
12. Система (1) сочлененного вагона по любому из пп. 8-11, в которой компоненты (37) энергоснабжения содержат по меньшей мере одно сетевое зарядное устройство (73) для зарядки батареи (62) внешним сетевым током и по меньшей мере одно соответствующее зарядное подключение (75) для присоединения к внешнему сетевому соединению.
13. Система (1) сочлененного вагона по любому из пп. 8-12, в которой компоненты (37) энергоснабжения содержат по меньшей мере одно подключение (79) нагрузки для соединения с соответствующим подключением на контейнере (7).
14. Сочлененный вагон (5) для системы (1) сочлененного вагона по любому из пп. 1-13, содержащий
первую вагонную часть (11) и вторую вагонную часть (13),
при этом первая и вторая вагонные части (11, 13) сочленены друг с другом посредством шарнирной сцепки (15), подвижной вокруг вертикальной оси (17) шарнира,
при этом первая вагонная часть (11) имеет на своей верхней стороне первую установочную площадку (29) контейнера для одного или более контейнеров (7),
при этом вторая вагонная часть (13) имеет на своей верхней стороне вторую установочную площадку (33) контейнера для одного или более контейнеров (7),
при этом сочлененный вагон (5) имеет переходное устройство (45) для крепления блока (9) энергоснабжения для автономного энергоснабжения контейнеров (7), загруженных на сочлененный вагон (5), и
при этом переходное устройство (45) расположено в области шарнирной сцепки (15) между первой и второй установочными площадками (29, 33) контейнера.
15. Блок (9) энергоснабжения для системы (1) сочлененного вагона по любому из пп. 1-13, содержащий опорную конструкцию (35) и множество компонентов (37) энергоснабжения, прикрепленных к опорной конструкции (35),
при этом опорная конструкция (35) предназначена для прикрепления к сочлененному вагону (5) системы (1) сочлененного вагона через переходное устройство (45).
| Способ получения цианистых соединений | 1924 |
|
SU2018A1 |
| CN 207225347 U, 13.04.2018 | |||
| CN 201901145 U | |||
| Прибор для промывания газов | 1922 |
|
SU20A1 |
| СПОСОБ ПОЛУЧЕНИЯ КОМПОЗИЦИОННЫХ КЕРАМИЧЕСКИХ ИЗДЕЛИЙ НА ОСНОВЕ НИТРИДА КРЕМНИЯ | 2017 |
|
RU2647540C1 |
| Ацетиленовый генератор | 1961 |
|
SU146904A1 |
| РАБОЧИЙ ОРГАН К ПУТЕПРОКЛАДЧИКУ | 0 |
|
SU176833A1 |
Авторы
Даты
2024-11-26—Публикация
2021-06-14—Подача