Область техники, к которой относится изобретение
Настоящее изобретение относится к устройствам для подачи лекарственных препаратов, а более конкретно к автоинъекторному устройству для подачи лекарственных препаратов.
Уровень техники
С развитием технологий для подачи лекарственных препаратов для медицинского, терапевтического, диагностического, фармацевтического и косметического применения используются различные инъекционные устройства, такие как управляемые вручную инъекционные устройства и автоинъекторные устройства. В настоящее время пользователи и медицинские работники предпочитают использовать автоинъекторные устройства для введения лекарственных препаратов. Одной из основных причин такого предпочтения является существенное сокращение объема обучения, необходимого для использования автоинъекторных устройств.
В общем, автоинъекторное устройство включает в себя предварительно наполненный шприц или картридж, заполненный определенным объемом лекарственного препарата, который нужно ввести пользователю. Объем лекарственного препарата, наполняющего автоинъекторное устройство, зависит от различных параметров, таких как тип лекарственного препарата и состояние здоровья пользователя. В настоящее время автоинъекторное устройство может быть выполненным с возможностью нести только определенный объем лекарственного препарата и не способным обеспечивать условия для изменения объема лекарственного препарата без изменения конструктивных или рабочих характеристик различных субкомпонентов автоинъекторного устройства.
Следовательно, это может приводить к значительному снижению общей возможности повторного использования автоинъекторного устройства для введения различных типов и доз лекарственных препаратов. Кроме того, тип и доза вводимых лекарственных препаратов могут выступать в качестве конструктивных ограничений при изготовлении автоинъекторных устройств. Например, субкомпоненты автоинъекторных устройств должны изготавливаться в зависимости от типа лекарственного препарата и соответствующей дозы такого лекарственного препарата, подлежащего введению посредством автоинъекторного устройства. Это может привести к значительному увеличению общей стоимости изготовления автоинъекторного устройства.
Сущность изобретения
Настоящее изложение сущности изобретения приведено для представления в упрощенном формате набора признаков, которые дополнительно раскрываются в подробном описании изобретения. Настоящее изложение сущности изобретения не предназначено для определения ключевых или существенных изобретательских идей изобретения и не предназначено для определения объема изобретения.
В одном из вариантов осуществления настоящего изобретения раскрыто автоинъекторное устройство для подачи лекарственных препаратов. Автоинъекторное устройство включает в себя шприцевый узел, имеющий иглу, выполненную с возможностью выпускать лекарственные препараты из шприцевого узла. Шприцевый узел включает в себя цилиндр, выполненный с возможностью содержания лекарственных препаратов и соединения с иглой. Поток лекарственных препаратов направляется наружу из цилиндра через иглу. Шприцевый узел включает в себя плунжер, расположенный коаксиально относительно цилиндра и выполненный с возможностью возвратно-поступательного перемещения внутри цилиндра для выпускания лекарственных препаратов из цилиндра. Кроме того, шприцевый узел включает в себя блокировочный элемент, выполненный с возможностью входить в зацепление с плунжером для удержания плунжера в надлежащем положении относительно цилиндра. Положение плунжера относительно цилиндра может регулироваться для изменения объема лекарственных препаратов, подлежащих выпусканию из цилиндра. Положение плунжера регулируется за счет вхождения блокировочного элемента в зацепление с плунжером в одном из множества положений по длине плунжера.
Для дальнейшего пояснения преимуществ и признаков настоящего изобретения будет приведено более конкретное описание изобретения с рассмотрением его конкретных вариантов осуществления, которое проиллюстрировано на прилагаемых чертежах. Следует понимать, что эти чертежи изображают только типовые варианты осуществления изобретения и поэтому не должны считаться ограничивающими его объем. Изобретение будет раскрыто и объяснено с дополнительной конкретикой и детализацией с сопроводительными чертежами.
Краткое описание чертежей
Эти и другие признаки, аспекты и преимущества настоящего изобретения станут более понятными после прочтения нижеследующего подробного описания со ссылкой на сопроводительные чертежи, на которых одинаковые номера позиций обозначают одинаковые детали на всех чертежах, при этом:
на фиг. 1 показано автоинъекторное устройство и шаги использования автоинъекторного устройства для подачи лекарственного препарата, согласно одному из вариантов осуществления настоящего изобретения;
на фиг. 2а показан аксонометрический вид автоинъекторного устройства согласно одному из вариантов настоящего изобретения;
на фиг. 2b показан вид с пространственным разделением деталей автоинъекторного устройства в соответствии с одним из вариантов осуществления настоящего изобретения;
на фиг. 3а и 3b показаны виды в разрезе автоинъекторного устройства в соответствии с одним из вариантов осуществления настоящего изобретения;
на фиг. 4 показан аксонометрический вид плунжера автоинъекторного устройства, согласно одному из вариантов осуществления настоящего изобретения;
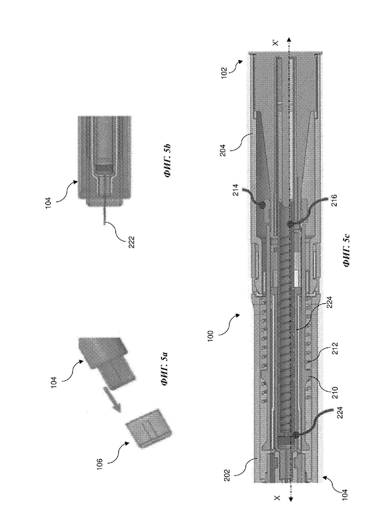
на фиг. 5а-5с показана работа автоинъекторного устройства для подачи лекарственных препаратов согласно одному из вариантов осуществления настоящего изобретения; и
на фиг. 6 показан увеличенный вид в разрезе части А автоинъекторного устройства по фиг. 5 с согласно одному из вариантов осуществления настоящего изобретения.
Кроме того, специалистам будет понятно, что элементы на чертежах представлены упрощенно и, возможно, не обязательно изображены в масштабе. Например, блок-схемы иллюстрируют способ с точки зрения наиболее значимых шагов, представленных, чтобы улучшить понимание аспектов настоящего изобретения. Кроме того, сточки зрения конструкции устройства, один или более компонентов устройства могут быть представлены на чертежах традиционными символами, а на чертежах могут быть показаны только те конкретные детали, которые имеют отношение к пониманию вариантов осуществления настоящего изобретения, чтобы не загромождать чертежи деталями, которые будут легко очевидны для специалистов в данной области техники, извлекающим пользу из приведенного в настоящем документе описания.
Осуществление изобретения
Для облегчения понимания принципов изобретения рассмотрим теперь вариант осуществления, представленный на чертежах, для описания которого используются определенные формулировки. Тем не менее, следует понимать, что это не предполагает какого-либо ограничения объема изобретения, подразумевается, что специалист в данной области техники может прийти к изменениям и дополнительным модификациям представленной системы, а также к дополнительным применениям принципов изобретения, раскрытого в настоящем документе. Если не указано иное, все технические и научные термины, используемые в настоящем, имеют то же значение, которое обычно понимается специалистом в области техники, к которой относится данное изобретение. Система, способы и примеры, представленные в настоящем документе, являются только иллюстративными и не предназначены для ограничения.
Термин «некоторые», используемый в настоящем документе, определяется как «ни одного, или один, или более одного, или все». Соответственно, термины «ни одного», «один», «более одного», «более одного, но не все» или «все» подпадают под определение «некоторые». Термин «некоторые варианты осуществления» может относиться к отсутствию вариантов осуществления или к одному варианту осуществления, или к нескольким вариантам осуществления, или ко всем вариантам осуществления. Соответственно, термин «некоторые варианты осуществления» определяется как означающий «отсутствие варианта осуществления, или один вариант осуществления, или более одного варианта осуществления, или все варианты осуществления».
Терминология и структура, используемые в настоящем документе, предназначены для описания, пояснения и толкования некоторых вариантов осуществления и их конкретных признаков и элементов и не накладывают каких-либо ограничений, не сужают и не ограничивают объем и сущность формулы изобретения или ее эквивалентов.
Более конкретно, любые термины, используемые в настоящем документе, такие как, но не ограничиваясь этим, «включает в себя», «содержит», «имеет», «состоит» и их грамматические варианты НЕ определяют конкретное ограничение или сужение и, конечно, НЕ исключают возможного добавления одного или более признаков или элементов, если не указано иное, и, кроме того, НЕ должны рассматриваться как исключающие возможное удаление одного или более перечисленных признаков и элементов, если иное не указано в ограничивающей формулировке «ДОЛЖЕН содержать» или «ДОЛЖЕН включать в себя».
Независимо от того, был ли определенный признак или элемент ограничен использованием только один раз, в любом случае он все еще может называться «одним или более признаками» или «одним или более элементами» или «по меньшей мере одним признаком» или «по меньшей мере одним элементом». Кроме того, использование терминов «один или более» или «по меньшей мере один» признак или элемент НЕ исключает отсутствия одного из этих признаков или элементов, если иное не указано ограничивающим выражением, таким как «ДОЛЖЕН быть один или более…» или «ТРЕБУЕТСЯ один или более элементов».
Если не указано иное, все термины, и, в частности, какие-либо технические и/или научные термины, используемые в настоящем документе, могут рассматриваться как имеющие значение, обычно понимаемое специалистом в данной области техники.
В настоящем документе обращаются к некоторым «вариантам осуществления». Следует понимать, что вариант осуществления является примером возможной реализации любых признаков и/или элементов, представленных в прилагаемой формуле изобретения. Некоторые варианты осуществления были раскрыты с целью пояснения одного или более потенциальных подходов, в которых конкретные признаки и/или элементы прилагаемой формулы изобретения удовлетворяют требованиям уникальности, полезности и неочевидности.
Использование фраз и/или терминов, таких как, но не ограничиваясь этим, «первый вариант осуществления», «дополнительный вариант осуществления», «альтернативный вариант осуществления», «один из вариантов осуществления», «вариант осуществления», «несколько вариантов осуществления», «некоторые варианты осуществления», «другие варианты осуществления», «дополнительный вариант осуществления», «еще один вариант осуществления», «добавочный вариант осуществления» или их варианты НЕ обязательно относятся к одним и тем же вариантам осуществления. Если не указано иное, один или более конкретных признаков и/или элементов, раскрытых в связи с одним или более вариантами осуществления, можно найти в одном варианте осуществления, или можно найти в более чем одном варианте осуществления, или можно найти во всех вариантах осуществления, или нельзя найти ни в одном варианте осуществления. Хотя один или более признаков и/или элементов могут быть раскрыты в настоящем документе в контексте только одного варианта осуществления, или альтернативно в контексте более чем одного варианта осуществления, или дополнительно альтернативно - в контексте всех вариантов осуществления, признаки и/или элементы могут присутствовать по отдельности, или в любой соответствующей комбинации, или вообще отсутствовать. И наоборот, любые признаки и/или элементы, раскрытые в контексте отдельных вариантов осуществления, могут быть альтернативно реализованы как существующие вместе в контексте одного варианта осуществления.
Какие-либо конкретные и все детали, изложенные в настоящем документе, используются в контексте некоторых вариантов осуществления и поэтому НЕ обязательно должны восприниматься как ограничивающие факторы для прилагаемой формулы изобретения. Прилагаемая формула изобретения и ее юридические эквиваленты могут быть реализованы в контексте вариантов осуществления, отличных от тех, которые используются в качестве иллюстративных примеров в нижеприведенном описании.
Варианты осуществления настоящего изобретения будут подробно раскрыты ниже со ссылкой на сопроводительные чертежи.
На фиг. 1 показано автоинъекторное устройство 100 и шаги использования автоинъекторного устройства 100 для подачи лекарственного препарата согласно одному из вариантов осуществления настоящего изобретения. В варианте осуществления автоинъекторное устройство 100 может применяться для подачи пациенту лекарственных препаратов, взаимозаменяемо называемых «лекарственные средства». Автоинъекторное устройство 100 может иметь проксимальный конец 102 и дистальный конец 104. Кроме того, автоинъекторное устройство 100 может включать в себя колпачок 106, съемно прикрепленный к дистальному концу 104 автоинъекторного устройства 100. Колпачок 106 может быть предусмотрен для защиты автоинъекторного устройства 100 и для препятствия попаданию каких-либо загрязняющих веществ в автоинъекторное устройство 100.
Как показано на фиг. 1, при использовании автоинъекторного устройства 100 для лекарственного препарата, на шаге 108 колпачок 106 автоинъекторного устройства 100 можно снять для подачи лекарственных препаратов пациенту. Далее, на шаге 110, дистальный конец 104 автоинъекторного устройства 100 можно поместить на место инъекции, соответствующее подкожной (суб-Q) области, на пациенте для подачи лекарственных препаратов. После размещения автоинъекторного устройства 100 в надлежащем месте, автоинъекторное устройство 100 можно прижать в надлежащем направлении к месту инъекции и удерживать в течение заданного периода времени для подачи лекарственных препаратов пациенту через указанное место. Далее, на шаге 112, автоинъекторное устройство 100 можно снять с места впрыска и поместить в приемник для шприцев.
Конструктивные и функциональные детали автоинъекторного устройства 100 подробно раскрываются в последующих разделах описания настоящего изобретения.
На фиг. 2а показан аксонометрический вид автоинъекторного устройства согласно одному из вариантов осуществления настоящего изобретения. На фиг. 2b показан вид с пространственным разделением деталей автоинъекторного устройства согласно одному из вариантов осуществления настоящего изобретения. На фиг. 3а и 3b показаны виды в разрезе автоинъекторного устройства 100 согласно варианту осуществления настоящего изобретения. Как показано на фиг. 2а, фиг. 2b и фиг. 3а, в одном из вариантов осуществления автоинъекторное устройство 100 может включать в себя первый элемент 202 корпуса и второй 204 элемент корпуса. Первый элемент 202 корпуса и второй элемент 204 корпуса могут быть выполнены с возможностью соединения друг с другом, образуя корпус 205 для размещения различных субкомпонентов автоинъекторного устройства 100. В одном из вариантов осуществления первый элемент 202 корпуса и второй элемент 204 корпуса можно соединить друг с другом посредством защелок, не выходя за рамки настоящего изобретения.
Кроме того, автоинъекторное устройство 100 может включать в себя шприцевый узел 206, держатель 208 предварительно заполненного шприца (PFS, Pre-filled Syringe), защитный кожух 210 иглы, пружину 212 защитного кожуха иглы, блокировочный элемент 214, плунжер 216, пружину 218 плунжера и рычаги 220 высвобождения пружины. В одном из вариантов осуществления шприцевый узел 206 может включать в себя, не ограничиваясь этим, иглу 222 и цилиндр 224, выполненные с возможностью соединения с иглой 222. Цилиндр 224 может быть выполнен с возможностью хранения лекарственных препаратов. Цилиндр 224 может включать в себя переднюю часть и заднюю часть, дистальную относительно передней части. Передняя часть может быть выполнена с возможностью соединения с иглой 222, а задняя часть может быть выполнена с возможностью приема плунжера 216 с возможностью его перемещения.
Кроме того, игла 222 может быть выполнена с возможностью выпуска лекарственных препаратов из шприцевого узла 206. Игла 222 может быть выполнена с возможностью соединения с передней частью цилиндра 224 так, чтобы поток лекарственных препаратов мог быть направлен из цилиндра 224 через иглу 222 во время эксплуатации автоинъекторного устройства 100. Кроме того, держатель 208 PFS может быть выполнен с возможностью удерживать шприцевый узел 206 в корпусе 205 автоинъекторного устройства 100.
В одном из вариантов осуществления, защитный кожух 210 иглы может быть выполнен с возможностью размещения держателя 208 PFS вместе со шприцевым узлом 206 в автоинъекторном устройстве 100. Защитный кожух 210 иглы может включать в себя проксимальный конец 210-1 и дистальный конец 210-2. Кроме того, пружина 212 защитного кожуха иглы может быть выполнена с возможностью соединения с защитным кожухом 210 иглы. Пружина 212 защитного кожуха иглы может быть предусмотрена для обеспечения упругого перемещения защитного корпуса 210 иглы в направлении вдоль оси Х-Х' автоинъекторного устройства 100 при эксплуатации автоинъекторного устройства 100.
Кроме того, рычаги 220 высвобождения пружины могут быть расположены на проксимальном конце 102 автоинъекторного устройства 100. В одном из вариантов осуществления рычаг 220 высвобождения пружины может быть выполнен с возможностью соединения со вторым элементом 204 корпуса. Рычаги 220 высвобождения пружины могут быть выполнены с возможностью поддерживать плунжер 216 и пружину 218 плунжера в автоинъекторном устройстве 100. Плунжер 216 может быть расположен коаксиально по отношению к цилиндру 224. Плунжер 216 может быть выполнен с возможностью возвратно-поступательного перемещения внутри цилиндра 224 для выпускания лекарственных препаратов и втягивания лекарственных препаратов в цилиндр 224. Плунжер 216 может быть выполнен с возможностью перемещения вдоль оси Х-Х автоинъекторного устройства 100. Плунжер 216 может быть выполнен с возможностью возвратно-поступательного перемещения внутри цилиндра 224 шприцевого узла 206 для выпускания лекарственных препаратов из шприцевого узла 206 и для втягивания лекарственных препаратов внутрь цилиндра 224.
Кроме того, может быть предусмотрена пружина 218 плунжера для обеспечения упругого перемещения плунжера 216 внутри цилиндра 224 в направлении вдоль оси Х-Х'. В частности, при эксплуатации автоинъекторного устройства 100, пружина 218 плунжера может быть выполнена с возможностью упруго толкать плунжер 216 внутри цилиндра 224 с целью выпускания лекарственных препаратов из цилиндра 224 шприцевого узла 206. Пружина 218 плунжера может быть выполнена с возможностью сжатия между головной частью плунжера 216 и блокировочным элементом 214.
На фиг. 4 показан аксонометрический вид плунжера 216 автоинъекторного устройства 100 согласно одному из вариантов осуществления настоящего изобретения. В варианте осуществления блокировочный элемент 214 может быть выполнен с возможностью входить в зацепление с плунжером 216, чтобы удерживать плунжер в надлежащем положении относительно цилиндра 224. Кроме того, блокировочный элемент 214 может быть выполнен с возможностью удерживать рычаг 220 высвобождения пружины в положении блокировки для обеспечения зацепления рычага 220 высвобождения пружины с плунжером 216. В одном из вариантов осуществления блокировочный элемент 214 может быть выполнен с возможностью окружать по меньшей мере часть рычага 220 высвобождения пружины для устранения изгиба рычага 220 высвобождения пружины в радиальном направлении наружу относительно плунжера 216, обеспечивая вхождение рычага 220 высвобождения пружины в зацепление с плунжером 216.
Как показано на фиг. 3а, фиг. 3b и фиг. 4, плунжер 216 может включать в себя зацепляющую часть 402, проходящую по длине L плунжера 216. В одном из вариантов осуществления зацепляющая часть 402 может быть выполнена в виде одного из спиральных канавок и круговых канавок, не отходя от объема настоящего изобретения. Блокировочный элемент 214 может быть выполнен с возможностью входить в зацепление с зацепляющей частью 402 плунжера 216 для удержания плунжера 216 в надлежащем положении внутри автоинъекторного устройства 100. В частности, блокировочный элемент 214 может входить в зацепление в одном из множества положений на зацепляющей части 402 по длине L плунжера 216.
Положение плунжера 216 относительно цилиндра 224 является регулируемым с учетом изменения объема лекарственных препаратов, подлежащих выпусканию из цилиндра 224. Положение плунжера 216 можно регулировать путем вхождения блокировочного элемента 214 в зацепление с плунжером 216 в одном из множества положений по длине L плунжера 216. В одном из вариантов осуществления, блокировочный элемент 214 может включать в себя блокировочные зубцы 302, выполненные с возможностью входить в зацепление с зацепляющей частью 402 плунжера 216. Блокировочный элемент 214 может переходить между положением зацепления и отсоединенным положением.
В одном из вариантов осуществления защитный кожух 210 иглы может быть выполнен с возможностью перемещать блокировочный элемент 214 из положения зацепления в отсоединенное положение. В положении зацепления блокировочные зубцы 302 могут входить в зацепление с зацепляющей частью 402 для удержания плунжера 216 в надлежащем положении на расстоянии от дистального конца 104 автоинъекторного устройства 100. В таком положении пружина 218 плунжера может быть сжата между головной частью плунжера 216 и блокировочным элементом 214. Кроме того, в отсоединенном положении защитный кожух 210 иглы может перемещать блокировочный элемент 214 в направлении проксимального конца 102 автоинъекторного устройства 100. Благодаря такому перемещению блокировочного элемента 214 блокировочные зубцы 302 могут отсоединяться от зацепляющей части 402 плунжера 216. Впоследствии пружина 218 плунжера может толкать плунжер 216 к дистальному концу 104 автоинъекторного устройства 100 внутри цилиндра 224 для выпускания лекарственных препаратов из шприцевого узла 206.
Как упоминалось ранее, положение плунжера 216 относительно цилиндра 224 внутри автоинъекторного устройства 100 может регулироваться для подачи различных объемов лекарственных препаратов из автоинъекторного устройства 100. Как показано на фиг. 3b и Фиг.4, в одном случае блокировочный элемент 214 может быть введен в зацепление с зацепляющей частью 402 на расстоянии Х1 относительно длины L плунжера 216. В этом случае плунжер 216 может удерживаться в положении Р1 относительно передней части 210-1 цилиндра 224 внутри автоинъекторного устройства 100.
Благодаря такому положению плунжера 216 цилиндр 224 может вмещать объем V1, т.е. максимальный объем, лекарственных препаратов для подачи через иглу 222 при эксплуатации автоинъекторного устройства 100. В другом случае блокировочный элемент 214 может входить в зацепление с зацепляющей частью 402 на расстоянии Х2 относительно длины L плунжера 216. В этом случае плунжер 216 может удерживаться в положении Р2 относительно передней части 210-1 цилиндра 224 внутри автоинъекторного устройства 100. Благодаря такому положению плунжера 216 цилиндр 224 может вмещать объем V2 лекарственных препаратов для подачи через иглу 222.
В проиллюстрированном варианте осуществления работа плунжера 216 и блокировочного элемента 214 объясняется в отношении положений Р1 и Р2 плунжера 216 внутри автоинъекторного устройства 100. Однако специалисту в данной области техники понятно, что плунжер 216 можно блокировать во множестве положений блокировочным элементом 214 для изменения объема лекарственных препаратов, подаваемых из автоинъекторного устройства 100 в соответствии с необходимостью, не выходя за рамки настоящего изобретения.
На фиг. 5а-5с показана работа автоинъекторного устройства 100 для подачи лекарственных препаратов, согласно варианту осуществления настоящего изобретения. На фиг. 6 показан в разрезе увеличенный вид части А автоинъекторного устройства 100 по фиг. 5с согласно одному из вариантов осуществления настоящего изобретения. Во-первых, чтобы доставить лекарственные средства в суб-Q область пациента через автоинъекторное устройство 100, колпачок 106 можно снять с дистального конца 104 автоинъекторного устройства 100 для обнажения иглы 222 шприцевого узла 206.
Кроме того, как показано на фиг. 5b, дистальный конец 104 автоинъекторного устройства 100 может быть помещен на место инъекции, такое как кожа, соответствующая суб-Q области пациента. В одном из вариантов осуществления, место инъекции можно выбрать на основании различных параметров, таких как медицинское назначение, тип лекарственного препарата и объем лекарственного препарата, подлежащего введению, не выходя за рамки настоящего изобретения. Затем автоинъекторное устройство 100 может быть прижато к коже так, чтобы защитный кожух 210 иглы был прижат к коже, что приводит к перемещению защитного кожуха 210 иглы в направлении проксимального конца 102 автоинъекторного устройства 100. Благодаря такому перемещению защитного кожуха 210 иглы, игла 222 может быть вставлена в sub-Q область пациента для подачи лекарственных препаратов. Далее, после введения лекарственных препаратов автоинъекторное устройство 100 можно отодвинуть от кожи, что приводит к перемещению защитного кожуха 210 иглы для покрытия иглы 222 автоинъекторного устройства 100. Это в значительной степени исключает вероятные травмы, которые могут быть вызваны обнаженной иглой при извлечении автоинъекторного устройства 100 из места инъекции.
Как показано на фиг. 5с и фиг. 6, перемещение защитного кожуха 210 иглы может толкать блокировочный элемент 214 к проксимальному концу 102 автоинъекторного устройства 100. Такое перемещение блокировочного элемента 214 может привести к разъединению блокировочных зубцов 302 с зацепляющей частью 402 плунжера 216. В частности, блокировочные зубцы 302 могут переместиться в боковом направлении от зацепляющей части 402, деблокируя движение плунжера 216 под действием упругого усилия пружины 218 плунжера. Затем плунжер 216 может переместиться в направлении дистального конца 104 автоинъекторного устройства 100 внутри цилиндра 224 под действием упругого усилия пружины 218 плунжера. Плунжер 216 может толкать лекарственное средство, содержащееся внутри цилиндра 224, для подачи лекарственного препарата в суб-Q область пациента через иглу 222 шприцевого узла 206. В одном из вариантов осуществления к плунжеру 216 может быть прикреплена резиновая пробка (не показана), выполненная с возможностью перемещения вместе с плунжером 216 внутри цилиндра 224 для выпускания лекарственного препарата, находящегося в цилиндре 224 шприцевого узла 206. Резиновая пробка может быть вставляемой в цилиндр 224 так, чтобы она могла действовать как уплотнительный элемент для предотвращения выхода лекарства из одного конца цилиндра 224. Резиновая пробка может перемещаться вместе с плунжером 216 для выпускания лекарственного средства из цилиндра 224 через иглу 222, расположенную на другом конце цилиндра 224.
Таким образом, автоинъекторное устройство 100 согласно настоящему изобретению включает в себя блокировочный элемент 214, выполненный с возможностью блокировки плунжера 216 в разных положениях для введения различных объемов лекарственных препаратов через автоинъекторное устройство 100. Плунжер 216 может включать в себя зацепляющую часть 402, проходящую по длине L плунжера 216. Блокировочный элемент 214 может входить в зацепление с зацепляющей частью 402 для удержания плунжера 216 в предварительно нагруженном положении для выпускания лекарственных препаратов из шприцевого узла 206. Блокировочный элемент 214 может входить в зацепление с зацепляющей частью 402 в различных положениях по длине L плунжера 216 для изменения объема лекарственного препарата, вводимого через автоинъекторное устройство 100.
Следовательно, автоинъекторное устройство 100 можно повторно использовать для различных типов и доз лекарственных препаратов без внесения каких-либо изменений в субкомпоненты автоинъекторного устройства 100. В частности, это может устранить необходимость в изготовлении различных субкомпонентов автоинъекторного устройства 100 для введения различных типов и доз лекарственных препаратов. Кроме того, это значительно снижает общую стоимость изготовления автоинъекторного устройства 100. Поэтому автоинъекторное устройство 100 согласно настоящему изобретению является гибким в реализации, компактным, экономически эффективным, удобным и имеет широкий спектр применения.
Автоинъекторное устройство 100, раскрытое в настоящем документе, может быть использовано для подачи различных медицинских соединений, таких как лекарственные средства и биопрепараты, включая, но не ограничиваясь этим, антитела, десенсибилизирующие вещества, интерферирующую РНК, генную терапию, первичные и эмбриональные стволовые клетки, вакцины и их комбинации. Например, варианты осуществления, раскрытые в настоящем документе, могут быть использованы в комбинации с известными моноклональными антителами, включая, но не ограничиваясь этим, Абциксимаб (Abciximab), Абитузумаб (Abituzumab), Абрилумаб (Abrilumab), Актоксумаб (Actoxumab), Адалимумаб (Adalimumab), Адекатумумаб (Adecatumumab), Адуканумаб (Aducanumab), Афасевикумаб (Afasevikumab), Афелимомаб (Afelimomab), Афутузумаб (Afutuzumab), Алацизумаб пегол (Alacizumab pegol), ALD518, ALD403, Алемтузумаб (Alemtuzumab), Апирокумаб (Alirocumab), Апьтумомаб пентетат (Altumomab pentetate), Аматуксимаб (Amatuximab), AMG 334, Анатумомаб мафенатокс (Anatumomab mafenatox), Анетумаб равтансин (Anetumab ravtansine), Анифролумаб (Anifrolumab), Анрукинзумаб (Anrukinzumab), Аполизумаб (Apolizumab), Арцитумомаб (Arcitumomab), Аскринвакумаб (Ascrinvacumab), Аселизумаб (Aselizumab), Атезолизумаб (Atezolizumab), Атинумаб (Atinumab), Атлизумаб (Atlizumab), Аторолимумаб (Atorolimumab), Авелумаб (Avelumab), Бапинеузумаб (Bapineuzumab), Базиликсимаб (Basiliximab), Бавитуксимаб (Bavituximab), Бектумомаб (Bectumomab), Бегеломаб (Begelomab), Белимумаб (Belimumab), Бенрализумаб (Benralizumab), Бертилимумаб (Bertilimumab), Бесилесомаб (Besilesomab), Бевацизумаб (Bevacizumab), Безлотоксумаб (Bezlotoxumab), Бициромаб (Biciromab), Бимагрумаб (Bimagrumab), Бимекизумаб (Bimekizumab), Биватузумаб мертансин (Bivatuzumab mertansine) Блеселумаб (Bleselumab), Блинатумомаб (Blinatumomab), Блонтувемаб (Blontuvetmab), Блосозумаб (Blosozumab), Бокоцизумаб (Bococizumab), Бразикумаб (Brazikumab), Брентуксимаб ведотин (Brentuximab vedotin), Бриакинумаб (Briakinumab), Бродалумаб (Brodalumab), Бролуцизумаб (Brolucizumab), Бронтиктузумаб (Brontictuzumab), Буросумаб (Burosumab), Кабирализумаб (Cabiralizumab), Канакинумаб (Canakinumab), Кантузумаб мертансин (Cantuzumab mertansine), Кантузумаб равтансин (Cantuzumab ravtansine), Каплацизумаб (Caplacizumab), Капромаб пендетид (Capromab pendetide), Казиривимаб (Casirivimab), Карлумаб (Carlumab), Каротуксимаб (Carotuximab), Катумаксомаб (Catumaxomab), сВКЭб-доксорубицин иммуноконъюгат (cBR96-doxorubicin immunoconjugate), Цеделизумаб (Cedelizumab), Цергутузумаб амуналейкин (Cergutuzumab amunaleukin), Цертолизумаб пегол (Certolizumab pegol), Цетуксимаб (Cetuximab), Цитатузумаб богатокс (Citatuzumab bogatox), Циксутумумаб (Cixutumumab), Клазакизумаб (Clazakizumab), Кленоликсимаб (Clenoliximab), Кливатузумаб тетраксетан (Clivatuzumab tetraxetan), Кодритузумаб (Codrituzumab), Колтуксимаб равтансин (Coltuximab ravtansine), Конатумумаб (Conatumumab), Концизумаб (Concizumab), CR6261, Кренезумаб (Crenezumab), Кротедумаб (Crotedumab), Дацетузумаб (Dacetuzumab), Даклизумаб (Daclizumab), Далотузумаб (Dalotuzumab), Дапиролизумаб пегол (Dapirolizumab pegol), Даратумумаб (Daratumumab), Дектрекумаб (Dectrekumab), Демцизумаб (Demcizumab), Денинтузумаб мафодотин (Denintuzumab mafodotin), Деносумаб (Denosumab), Депатуксизумаб мафодотин (Depatuxizumab mafodotin), Дерлотуксимаб биотин (Derlotuximab biotin), Детумомаб (Detumomab), Динутуксимаб (Dinutuximab), Диридавумаб (Diridavumab), Домагрозумаб (Domagrozumab), Дорлимомаб аритокс (Dorlimomab aritox), Дрозитумаб (Drozitumab), Дулиготумаб (Duligotumab), Дупилумаб (Dupilumab), Дурвалумаб (Durvalumab), Дусигитумаб (Dusigitumab), Экромексимаб (Ecromeximab), Экулизумаб, (Eculizumab), Эдобакомаб (Edobacomab), Эдреколомаб (Edrecolomab), Эфализумаб (Efalizumab), Эфунгумаб (Efungumab), Элделумаб (Eldelumab), Элгемтумаб (Elgemtumab), Элотузумаб (Elotuzumab), Элсилимомаб (Elsilimomab), Эмактузумаб (Emactuzumab), Эмибетузумаб (Emibetuzumab), Эмицизумаб (Emicizumab), Энаватузумаб (Enavatuzumab), Энфортумаб ведотин (Enfortumab vedotin), Энлимомаб пегол (Enlimomab pegol), Эноблитузумаб (Enoblituzumab), Энокизумаб (Enokizumab), Энотикумаб (Enoticumab), Энситуксимаб (Ensituximab), Эпитумомаб цитуксетан (Epitumomab cituxetan), Эпратузумаб (Epratuzumab), Эренумаб (Erenumab), Эрлизумаб (Erlizumab), Эртумаксомаб (Ertumaxomab), Этарацизумаб (Etaracizumab), Этролизумаб (Etrolizumab), Эвинакумаб (Evinacumab), Эволокумаб (Evolocumab), Эксбивирусумаб (Exbivirumab), Фанолесомаб (Fanolesomab), Фаралимомаб (Faralimomab), Фарлетузумаб (Farletuzumab), Фасинумаб (Fasinumab), FBTA05, Фелвизумаб (Felvizumab), Фезакинумаб (Fezakinumab), Фибатузумаб (Fibatuzumab), Фиклатузумаб (Ficlatuzumab), Фигитумумаб (Figitumumab), Фиривумаб (Firivumab), Фланвотумаб (Flanvotumab), Флетикумаб (Fletikumab), Фонтолизумаб (Fontolizumab), Форалумаб (Foralumab), Форавирумаб (Foravirumab), Фрезолимумаб (Fresolimumab), Фулранумаб (Fulranumab), Футуксимаб (Futuximab), Галканезумаб (Galcanezumab), Галиксимаб (Galiximab), Ганитумаб (Ganitumab), Гантенерумаб (Gantenerumab), Гавилимомаб (Gavilimomab), Гемтузумаб озогамицин (Gemtuzumab ozogamicin), Гевокизумаб (Gevokizumab), Гирентуксимаб (Girentuximab), Глембатумаб ведотин (Glembatumumab vedotin), Голимумаб (Golimumab), Гомиликсимаб (Gomiliximab), Гуселькумаб (Guselkumab), Ибализумаб (Ibalizumab), Ибритумомаб тиуксетан (Ibritumomab tiuxetan), Икрукумаб (Icrucumab), Идаруцизумаб (Idarucizumab), Иговомаб (Igovomab), IMA-638, IMAB362, Ималумаб (Imalumab), Имциромаб (Imciromab), Имдевимаб (Imdevimab), Имгатузумаб (Imgatuzumab), Инклакумаб (Inclacumab), Индатуксимаб равтасин (Indatuximab ravtansine), Индусатамаб ведотин (Indusatumab vedotin), инебилизумаб (Inebilizumab), Инфликсимаб (Infliximab), Инолимомаб (Inolimomab), Интозумаб озогамицин (Inotuzumab ozogamicin), Интетумумаб (Intetumumab), Ипилимумаб (Ipilimumab), Иратумумаб (Iratumumab), Исатуксимаб (Isatuximab), Итолизумаб (Itolizumab), Иксекизумаб (Ixekizumab), Келиксимаб (Keliximab), Лабетузумаб (Labetuzumab), Ламбролизумаб (Lambrolizumab), Лампализумаб (Lampalizumab), Ланаделумаб (Lanadelumab), Ландогрозумаб (Landogrozumab), Лапритуксимаб эмтансин (Laprituximab emtansine), LBR-101/PF0442g7429, Лебрикизумаб (Lebrikizumab), Лемалесомаб (Lemalesomab), Лендализумаб (Lendalizumab), Лензилумаб (Lenzilumab), Лерделимумаб (Lerdelimumab), Лексатумумаб (Lexatumumab), Либивирумаб (Libivirumab), Лифастузумаб ведотин (Lifastuzumab vedotin), Лигелизумаб (Ligelizumab), Лилотомаб сатетраксетан (Lilotomab satetraxetan), Линтузумаб (Lintuzumab), Лирилумаб (Lirilumab), Лоделцизумаб (Lodelcizumab), Локиветмаб (Lokivetmab), Лорвотузумаб мертансин (Lorvotuzumab mertansine), Лукатумумаб (Lucatumumab), Лулизумаб пегол (Lulizumab pegol), Лумиликсимаб (Lumiliximab), Лумретузумаб (Lumretuzumab), LY2951742, Мапатумумаб (Mapatumumab), Маргетуксимаб (Margetuximab), Маслимомаб (Maslimomab), Матузумаб (Matuzumab), Маврилимумаб (Mavrilimumab), Меполизумаб (Mepolizumab), Метелимумаб (Metelimumab), Милатузумаб (Milatuzumab), Минретумомаб (Minretumomab), Мирветуксимаб соравтансин (Mirvetuximab soravtansine), Митумомаб (Mitumomab), Могамулизумаб (Mogamulizumab), Монализумаб (Monalizumab), Моролимумаб (Morolimumab), Мотавизумаб (Motavizumab), Моксетумомаб пасудотокс (Moxetumomab pasudotox), Муромонаб-CD3 (Muromonab-CD3), Наколомаб тафенатокс (Nacolomab tafenatox), Нам илумаб (Nam ilumab), Наптумомаб эстафенатокс (Naptumomab estafenatox), Наратуксимаб эмтансин (Naratuximab emtansine), Нарнатумаб (Narnatumab), Натализумаб (Natalizumab), Навициксизумаб (Navicixizumab), Навивумаб (Navivumab), Небакумаб (Nebacumab), Нецитумумаб (Necitumumab), Немолизумаб (Nemolizumab), Нерелимомаб (Nerelimomab), Несвакумаб (Nesvacumab), Нимотузумаб (Nimotuzumab), Ниволумаб (Nivolumab), Нофтумомаб мерпентан (Nofetumomab merpentan), Обилтоксаксимаб (Obiltoxaximab), Обинутузумаб (Obinutuzumab), Окаратузумаб (Ocaratuzumab), Окрелизумаб (Ocrelizumab), Одулимомаб (Odulimomab), Офатумумаб (Ofatumumab), Оларатумаб (Olaratumab), Олокизумаб (Olokizumab), Омализумаб (Omalizumab), Онартузумаб (Onartuzumab), Онтуксизумаб (Ontuxizumab), Опицинумаб (Opicinumab), Опортузумаб монатокс (Oportuzumab monatox), Ореговомаб (Oregovomab), Ортикумаб (Orticumab), Отеликсизумаб (Otelixizumab), Отлертузумаб (Otlertuzumab), Окселумаб (Oxelumab), Озанезумаб (Ozanezumab), Озорализумаб (Ozoralizumab), Пагибаксимаб (Pagibaximab), Паливизумаб (Palivizumab), Памревлумаб (Pamrevlumab), Панитумумаб (Panitumumab), Панкомаб (Pankomab), Панобакумаб (Panobacumab), Парсатузумаб (Parsatuzumab), Пасколизумаб (Pascolizumab), Пасотуксизумаб (Pasotuxizumab), Патеклизумаб (Pateclizumab), Патритумаб (Patritumab), Пембролизумаб (Pembrolizumab), Пемтумомаб (Pemtumomab), Перакизумаб (Perakizumab), Пертузумаб (Pertuzumab), Пекселизумаб (Pexelizumab), Пидилизумаб (Pidilizumab), Пинатузумаб ведотин (Pinatuzumab vedotin), Пинтумомаб (Pintumomab), Плакулумаб (Placulumab), Плозализумаб (Plozalizumab), Погализумаб (Pogalizumab), Полатузумаб ведотин (Polatuzumab vedotin), Понезумаб (Ponezumab), Презализумаб (Prezalizumab), Приликсимаб (Priliximab), Притоксаксимаб (Pritoxaximab), Притумумаб (Pritumumab), PRO 140, Квилизумаб (Quilizumab), Ракотумомаб (Racotumomab), Радретумаб (Radretumab), Рафивирумаб (Rafivirumab), Ралпанцизумаб (Ralpancizumab), Рамуцирумаб (Ramucirumab), Ранибизумаб (Ranibizumab), Раксибакумаб (Raxibacumab), Рефанезумаб (Refanezumab), Регавирумаб (Regavirumab), Реслизумаб (Reslizumab), Рилотумумаб (Rilotumumab), Ринукумаб (Rinucumab), Рисанкизумаб (Risankizumab), Ритуксимаб (Rituximab), Ривабазумаб пегол (Rivabazumab pegol), Робатумумаб (Robatumumab), Роледумаб (Roledumab), Ромосозумаб (Romosozumab), Ронтализумаб (Rontalizumab), Ровалпитузумаб тезирин (Rovalpituzumab tesirine), Ровелизумаб (Rovelizumab), Руплизумаб (Ruplizumab), Сацитузумаб говитекан Sacituzumab govitecan, Самализумаб (Samalizumab), Сапелизумаб (Sapelizumab), Сарилумаб (Sarilumab), Сатумомаб пендетид (Satumomab pendetide), Секукинумаб (Secukinumab), Серибантумаб (Se ri bantu ma b), Сетоксаксимаб (Setoxaximab), Севирумаб (Sevirumab), SGN-CD19A, SGN-CD33A, Сибротузумаб (Sibrotuzumab), Сифалимумаб (Sifalimumab), Силтуксимаб (Siltuximab), Симтузумаб (Simtuzumab), Сиплизумаб (Siplizumab), Сирукумаб (Sirukumab), Софитузумаб ведотин (Sofituzumab vedotin), Соланезумаб (Solanezumab), Солитомаб (Solitomab), Сонепцизумаб (Sonepcizumab), Сонтузумаб (Sontuzumab), Стамулумаб (Stamulumab), Сулесомаб (Sulesomab), Сувизумаб (Suvizumab), Табалумаб (Tabalumab), Такатузумаб тетраксетан (Tacatuzumab tetraxetan), Тадоцизумаб (Tadocizumab), Тализумаб (Talizumab), Тамтуветмаб (Tamtuvetmab), Танезумаб (Tanezumab), Таплитумомаб паптокс (Taplitumomab paptox), Тарекстумаб (Tarextumab), Тефибазумаб (Tefibazumab), Телимомаб аритокс (Telimomab aritox), Тенатумомаб (Tenatumomab), Тенеликсимаб (Teneliximab), Теплизумаб (Teplizumab), Тепротумумаб (Teprotumumab), Тесидолумаб (Tesidolumab), Тетуломаб (Tetulomab), Тезепелумаб (Tezepelumab), TGN1412, Тицилимумаб (Ticilimumab), Тигатузумаб (Tigatuzumab), Тилдракизумаб (Tildrakizumab), Тимолумаб (Timolumab), Тисотумаб ведотин (Tisotumab vedotin), TNX-650, Тоцилизумаб (Tocilizumab), Торализумаб (Toralizumab), Тосатоксумаб (Tosatoxumab), Тоситумомаб (Tositumomab), Товетумаб (Tovetumab), Тралокинумаб (Tralokinumab), Трастузумаб (Trastuzumab), Трастузумаб эмтансин (Trastuzumab emtansine), TRBS07, Трегализумаб (Tregalizumab), Тремелимумаб (Tremelimumab), Тревогрумаб (Trevogrumab), Тукотузумаб целмолейкин (Tucotuzumab celmoleukin), Тувирумаб (Tuvirumab), Ублитуксимаб (Ublituximab), Улокуплумаб (Ulocuplumab), Урелумаб (Urelumab), Уртоксазумаб (Urtoxazumab), Устекинумаб (Ustekinumab), Утомилумаб (Utomilumab), Вадастуксимаб талирин (Vadastuximab talirine), Вандортузумаб ведотин (Vandortuzumab vedotin), Вантиктумаб Vantictumab, Вануцизумаб (Vanucizumab), Вапаликсимаб (Vapaliximab), Варлилумаб (Varlilumab), Вателизумаб (Vatelizumab), Ведолизумаб (Vedolizumab), Вельтузумаб (Veltuzumab), Вепалимомаб (Vepalimomab), Весенкумаб (Vesencumab), Визилизумаб (Visilizumab), Вобарилизумаб (Vobarilizumab), Волоциксимаб (Volociximab), Ворсетузумаб мафодотин (Vorsetuzumab mafodotin), Вотумумаб (Votumumab), Ксентузумаб (Xentuzumab), Залутумумаб (Zalutumumab), Занолимумаб (Zanolimumab), Затуксимаб (Zatuximab), Зиралимумаб (Ziralimumab) и Золимомаб аритокс (Zolimomab aritox) или их комбинации.
Хотя для описания настоящего предмета изобретения использовались определенные формулировки, они не подразумевают каких-либо ограничений, возникающих в связи с этим. Как очевидно специалисту в данной области техники, в способ могут быть внесены различные рабочие модификации с целью реализации изобретательской идеи, изложенной в настоящем документе. Чертежи и вышеприведенное описание дают примеры вариантов осуществления. Специалистам в данной области техники понятно, что один или более из описанных элементов вполне могут быть объединены в единый функциональный элемент. Альтернативно, некоторые элементы могут быть разделены на несколько функциональных элементов. Элементы из одного варианта осуществления могут быть добавлены в другой вариант осуществления.
| название | год | авторы | номер документа |
|---|---|---|---|
| АВТОИНЪЕКТОР В СБОРЕ | 2021 |
|
RU2832825C1 |
| ШПРИЦЕВЫЕ УСТРОЙСТВА | 2016 |
|
RU2710493C2 |
| ЦИЛИНДРИЧЕСКИЙ НАСОС | 2010 |
|
RU2529405C2 |
| УСТРОЙСТВО И СПОСОБ ДОСТАВКИ ШОВНОГО МАТЕРИАЛА ДЛЯ ЗАШИВАНИЯ ОТВЕРСТИЯ В ТКАНИ | 2020 |
|
RU2809230C2 |
| АСПИРАЦИОННО-ИНЪЕКЦИОННОЕ УСТРОЙСТВО | 2017 |
|
RU2709154C1 |
| АСПИРАЦИОННО-ИНЪЕКЦИОННОЕ УСТРОЙСТВО | 2017 |
|
RU2725968C2 |
| СИСТЕМЫ И СПОСОБЫ ДЛЯ ДОСТАВКИ ШОВНОГО МАТЕРИАЛА | 2015 |
|
RU2656164C1 |
| МЕДИЦИНСКОЕ ДОСТАВОЧНОЕ УСТРОЙСТВО | 2012 |
|
RU2571332C1 |
| УЗЕЛ ПРИВОДА ДЛЯ СИСТЕМЫ ДОСТАВКИ ЛЕКАРСТВ | 2017 |
|
RU2740731C2 |
| УЗЕЛ ПРИВОДА ДЛЯ СИСТЕМЫ ДОСТАВКИ ЛЕКАРСТВ | 2017 |
|
RU2827350C2 |
Изобретение относится к устройствам для подачи лекарственных препаратов, а более конкретно к автоинъекторному устройству для подачи лекарственных препаратов. Автоинъекторное устройство (100) содержит шприцевый узел (206), плунжер (216) и блокировочный элемент (214). Шприцевый узел (206) содержит иглу (222), выполненную с возможностью выпускать лекарственные препараты из шприцевого узла (206) и цилиндр (224), выполненный с возможностью содержания лекарственных препаратов и соединения с иглой (222), при этом предусмотрена возможность направления потока лекарственных препаратов наружу из цилиндра (224) через иглу (222). Плунжер (216) расположен коаксиально относительно цилиндра (224) и выполнен с возможностью возвратно-поступательного перемещения внутри цилиндра (224) для выпускания лекарственных препаратов. Блокировочный элемент (214), выполненный с возможностью входить в зацепление с плунжером (216) для удержания плунжера в надлежащем положении относительно цилиндра (224). Причем предусмотрена возможность регулировки положения плунжера (216) относительно цилиндра (224) для изменения объема лекарственных препаратов, подлежащих выпусканию из цилиндра (224), при этом возможность регулировки положения плунжера (216) обеспечена за счет вхождения блокировочного элемента (214) в зацепление с плунжером (216) в одном из положений по длине (L) плунжера (216). Автоинъекторное устройство (100) можно повторно использовать для различных типов и доз лекарственных препаратов без внесения каких-либо изменений в субкомпоненты автоинъекторного устройства (100). В частности это может устранить необходимость в изготовлении различных субкомпонентов автоинъекторного устройства (100) для введения различных типов и доз лекарственных препаратов. Кроме того, это значительно снижает общую стоимость изготовления автоинъекторного устройства (100). Поэтому автоинъекторное устройство (100) согласно настоящему изобретению является гибким в реализации, компактным, экономически эффективным, удобным и имеет широкий спектр применения. 9 з.п. ф-лы, 6 ил.
1. Автоинъекторное устройство (100), содержащее:
шприцевый узел (206), содержащий:
иглу (222), выполненную с возможностью выпускать лекарственные препараты из шприцевого узла (206); и
цилиндр (224), выполненный с возможностью содержания лекарственных препаратов и соединения с иглой (222), при этом предусмотрена возможность направления потока лекарственных препаратов наружу из цилиндра (224) через иглу (222);
плунжер (216), расположенный коаксиально относительно цилиндра (224) и выполненный с возможностью возвратно-поступательного перемещения внутри цилиндра (224) для выпускания лекарственных препаратов; и
блокировочный элемент (214), выполненный с возможностью входить в зацепление с плунжером (216) для удержания плунжера в надлежащем положении относительно цилиндра (224),
причем предусмотрена возможность регулировки положения плунжера (216) относительно цилиндра (224) для изменения объема лекарственных препаратов, подлежащих выпусканию из цилиндра (224), при этом возможность регулировки положения плунжера (216) обеспечена за счет вхождения блокировочного элемента (214) в зацепление с плунжером (216) в одном из положений по длине (L) плунжера (216).
2. Автоинъекторное устройство (100) по п. 1, дополнительно содержащее первый элемент (202) корпуса и второй элемент (204) корпуса, причем первый элемент (202) корпуса и второй элемент (204) корпуса выполнены с возможностью соединения друг с другом с образованием при этом корпуса (205).
3. Автоинъекторное устройство (100) по п. 1 или 2, дополнительно содержащее держатель (208) предварительно заполненного шприца (PFS), выполненный с возможностью удерживать шприцевый узел (206) внутри корпуса (205).
4. Автоинъекторное устройство (100) по п. 1, в котором плунжер (216) включает в себя зацепляющую часть (402), проходящую по длине (L) плунжера (216), причем блокировочный элемент (214) выполнен с возможностью входить в зацепление в одном из положений в зацепляющей части (402) по длине (L).
5. Автоинъекторное устройство (100) по п. 1, дополнительно содержащее рычаг (220) высвобождения пружины, расположенный на проксимальном конце (102) автоинъекторного устройства (100) и выполненный с возможностью поддержки плунжера (216) и пружины (218) плунжера.
6. Автоинъекторное устройство (100) по п. 4 или 5, в котором блокировочный элемент (214) включает в себя блокировочные зубцы (302), выполненные с возможностью входить в зацепление с зацепляющей частью (402) плунжера (216), причем блокировочный элемент (214) выполнен с возможностью удерживать рычаг (220) высвобождения пружины в положении блокировки для обеспечения надежного зацепления рычага (220) высвобождения пружины с плунжером (216).
7. Автоинъекторное устройство (100) по п. 1, дополнительно содержащее защитный кожух (210) иглы, выполненный с возможностью перемещать блокировочный элемент (214) из положения зацепления в отсоединенное положение.
8. Автоинъекторное устройство (100) по п. 7, дополнительно содержащее пружину (212) защитного кожуха иглы, выполненную с возможностью соединения с защитным кожухом (210) иглы, при этом пружина (212) защитного кожуха иглы выполнена с возможностью обеспечивать упругое перемещение защитного кожуха (210) иглы.
9. Автоинъекторное устройство (100) по п. 6 или 7, в котором:
в положении зацепления предусмотрена возможность вхождения в зацепление блокировочных зубцов (302) с зацепляющей частью (402), чтобы удерживать плунжер (216) в надлежащем положении на расстоянии от дистального конца (104) автоинъекторного устройства (100); и
в отсоединенном положении защитный кожух (210) иглы обеспечивает перемещение блокировочного элемента (214) в направлении проксимального конца (102) автоинъекторного устройства (100) для отсоединения блокировочных зубцов (302) от зацепляющей части (402).
10. Автоинъекторное устройство (100) по п. 1, дополнительно содержащее:
пружину (218) плунжера, выполненную с возможностью сжатия между головной частью плунжера (216) и блокировочным элементом (214), при этом пружина (218) плунжера выполнена с возможностью упруго толкать плунжер (216) внутри цилиндра (224) для выпускания лекарственных препаратов из цилиндра (224).
| Токарный резец | 1924 |
|
SU2016A1 |
| Способ защиты переносных электрических установок от опасностей, связанных с заземлением одной из фаз | 1924 |
|
SU2014A1 |
| Станок для изготовления деревянных ниточных катушек из цилиндрических, снабженных осевым отверстием, заготовок | 1923 |
|
SU2008A1 |
Авторы
Даты
2024-12-18—Публикация
2021-05-14—Подача