СИСТЕМА ДЕМОНТАЖА ИЗНАШИВАЕМЫХ ДЕТАЛЕЙ РАБОЧЕГО ОРГАНА ЗЕМЛЕРОЙНОЙ МАШИНЫ ИЛИ МАШИНЫ ДЛЯ ПЕРЕМЕЩЕНИЯ МАТЕРИАЛОВ И КЛИН В СБОРЕ ДЛЯ ЭТОЙ СИСТЕМЫ Российский патент 2024 года по МПК E02F9/28 

Описание патента на изобретение RU2832125C2

Область техники, к которой относится изобретение

Настоящее изобретение в целом относится к демонтажу изнашиваемых деталей и, например, к системе демонтажа изнашиваемых деталей.

Уровень техники

Землеройные машины, например, экскаваторы, фронтальные погрузчики, гусеничные тракторы и загрузочные транспортеры, обычно включают приспособление, предназначенное для копания, резки, разделения, демонтажа, отбойки, перемещения или других манипуляций с такими материалами, как камень, почва, осаждение или отходы, и это лишь несколько примеров. Это приспособление часто подвергается регулярному и повторяющемуся износу краев, вызванному взаимодействием с материалами. Для защиты кромки приспособление может быть оснащено одной или несколькими заменяемыми изнашиваемыми деталями (также называемых инструментами для обработки грунта (конструктивными элементами)), таких как зубья, муфты, адаптеры, манжеты, колпачки и/или другое подобное оборудование. Одна или несколько сменных изнашиваемых деталей принимают на себя большую часть воздействий по истиранию, ударных воздействий или других сил, которые обычно вызывают износ или повреждение во время эксплуатации приспособления.

Со временем, в результате износа или повреждения заменяемой изнашиваемой детали, эта деталь может деградировать, выйти из строя или потребовать замены иным образом. Замена съемной изнашиваемой детали требует отсоединения от адаптера или крепления. Однако это часто бывает затруднительно, поскольку попавшие на заменяемую изнашиваемую деталь мелкие частицы, пыль или грязь могут вызвать ее прилипание (в частности, приклеивание) к адаптеру или креплению. Для демонтажа или ослабления попавших мелких частиц, пыли или грязи требуется большое тяговое усилие или другие средства, чтобы можно было удалить заменяемую изнашиваемую деталь. Например, работник может использовать ручные инструменты для физического отсоединения и/или демонтажа съемной изнашиваемой детали (например, использовать кувалду для отсоединения изнашиваемой детали от адаптера). Кроме того, такие условия окружающей среды, как жара, холод, дождь, снег, изморозь, лед, пересеченная местность, ограниченная рабочая зона и/или другие подобные факторы, делают снятие заменяемой изнашиваемой детали сложным и/или трудоемким процессом.

В публикации заявки на патент США № 2012/0222335 (публикация '335) описываются инструменты для облегчения разборки таких компонентов, как зубья ковша экскаватора в сборе. Согласно публикации '335, инструмент для демонтажа содержит первую и вторую стойки, каждая из которых снабжена прочным корпусом и монолитным фланцем, клин которого имеет вид наклонной поверхности. Поверхности стоек могут входить в зацепление с боковыми частями хомута рыхлительной лапы, а инструмент для демонтажа приспособлен для удара молотком в вертикальном направлении вниз, чтобы обеспечить отделение рыхлительной лапы от адаптера.

Хотя в публикации '335 описан инструмент для демонтажа, обеспечивающий отделения рыхлительной лапы от адаптера, этот инструмент требует от оператора ручного приложения силы для удара молотком или ударной силы к инструменту для демонтажа, чтобы отделить рыхлительную лапу от адаптера. Кроме того, в некоторых случаях, если рыхлительная лапа изношена и/или повреждена, или, например, является мокрой или покрыта льдом, наклонные поверхности ножек инструмента для демонтажа могут не удерживаться в нужном положении на боковых частях хомута рыхлительной лапы. Поэтому в таких случаях инструмент для демонтажа не обеспечивает отделение рыхлительной лапы от адаптера. Система демонтажа изнашиваемых деталей, являющаяся предметом настоящего изобретения, решает одну или несколько из изложенных выше проблем, и/или другие проблемы в данной области техники.

Краткое изложение существа изобретения

Система демонтажа изнашиваемых деталей содержит первый клин, сконфигурированный для зацепления с первым шарниром, ассоциированным с изнашиваемой деталью; второй клин, сконфигурированный для зацепления со вторым шарниром, ассоциированным с изнашиваемой деталью; толкатель, сконфигурированный для приведения первого клина в зацепление с первым шарниром, ассоциированным с изнашиваемой деталью, и для приведения второго клина в зацепление со вторым шарниром, ассоциированным с изнашиваемой деталью; и рама, сконфигурированная для удержания первого клина, второго клина и толкателя.

Система демонтажа изнашиваемых деталей содержит первый клин, сконфигурированный для зацепления с первым шарниром, ассоциированным с изнашиваемой деталью; второй клин, сконфигурированный для зацепления со вторым шарниром, ассоциированным с изнашиваемой деталью; толкатель, сконфигурированный для приведения первого клина в зацепление с первым шарниром, ассоциированным с изнашиваемой деталью, а также для приведения второго клина в зацепление со вторым шарниром, ассоциированным с изнашиваемой деталью.

Клин представляет собой клин, сконфигурированный для зацепления с шарниром, ассоциированным с изнашиваемой деталью; а также суппорт клина, сконфигурированный для удержания клина.

Краткое описание графических материалов

На фиг. 1A-1B представлены ориентировочные схемы изнашиваемой детали в сборе, описанного в настоящем документе.

На фиг. 2A-2C представлены ориентировочные схемы системы демонтажа изнашиваемых деталей, описанной в настоящем документе.

На фиг. 3A-3C представлены схемы ориентировочной системы демонтажа изнашиваемых деталей в позиции взаимодействия с изнашиваемой деталью в сборе, описанного в настоящем документе.

На фиг. 4A-4D представлены ориентировочные схемы системы демонтажа изнашиваемых деталей, описанной в настоящем документе.

Подробное описание изобретения

Настоящее изобретение относится к системе демонтажа изнашиваемых деталей, которая применима к любой машине, на которой требуется демонтаж изнашиваемой детали. Термин «машина» может относиться к любой машине, которая выполняет операцию, связанную с такими отраслями, как, например, горнодобывающая, строительная, сельскохозяйственная, транспортная или другая отрасль. Например, машина может быть землеройной машиной или машиной для перемещения материалов, такой как экскаватор, колесный погрузчик или гусеничный трактор и погрузчик, среди прочих.

На фиг. 1A-1B приведены ориентировочные схемы узла изнашиваемой детали 100. Как показано на фиг. 1A-1B, узел изнашиваемой детали 100 может быть оснащен адаптером 102 для изнашиваемой детали 104 (также называемой наконечником, зубом или конструктивным элементом землеройной машины, среди прочих). Адаптер 102 может быть сконфигурирован для крепления и/или покрытия края приспособления 106 (например, отвала, ковша погрузчика, ковша экскаватора или любого другого приспособления, имеющего кромку, захватывающую землю или материал, которая подвергается износу во время эксплуатации). Износостойкая часть 104 может быть сконфигурирована для крепления к адаптеру 102 и может быть сконфигурирована для защиты края приспособления 106 путем покрытия края приспособления 106 и взаимодействия с землей или материалом, когда приспособление 106 находится в эксплуатации.

Как показано на фиг. 1A-1B, изнашиваемая часть 104, прикрепленная к адаптеру 102, может выступать наружу от края приспособления 106 для взаимодействия с землей или материалом (не показано). Кроме того, на стыке изнашиваемой детали 104 и адаптера 102 (например, если часть изнашиваемой детали 104 соприкасается с частью адаптера 102) может быть сформировано по меньшей мере одно соединение 108. Например, как показано на фиг. 1A-1B, соединение 108-1 может быть сформировано на верхней поверхности изнашиваемой детали в сборе 100, где верхняя часть изнашиваемой детали 104 соприкасается с верхней частью адаптера 102, а соединение 108-2 может быть сформировано на нижней поверхности изнашиваемой детали в сборе 100, где нижняя часть изнашиваемой детали 104 соприкасается с нижней частью адаптера 102.

Изнашиваемая часть 104 может быть оснащена удерживающим механизмом (не показан), который фиксирует изнашиваемую часть 104 на адаптере 102. Удерживающий механизм может использовать части адаптера 102 и изнашиваемой детали 104, например, одно или несколько удерживающих отверстий 110 на стороне изнашиваемой детали 104, как показано на фиг. 1A-1B, для крепления изнашиваемой детали 104 к адаптеру 102 во время работы приспособления 106.

Хотя конкретный узел изнашиваемой детали 100, адаптер 102 и изнашиваемая деталь 104 показаны на фиг. 1A-1B, предполагаемые варианты осуществления настоящего изобретения включают любой тип изнашиваемой детали в сборе, адаптера, изнашиваемой детали и/или подобных частей (например, любые соединитель, крепление, адаптер, зуб, наконечник, манжета, колпачок или любой другой конструктивный элемент), связанный с оборудованием машины.

Как указано выше, фиг. 1A-1B приведены в качестве примера. Другие примеры могут отличаться от описаний в связи с фиг. 1A-1B.

На фиг. 2A-2C представлены ориентировочные схемы системы демонтажа изнашиваемых деталей 200, описанной в настоящем документе. На фиг. 2A-2C показаны различные виды спереди под углом системы демонтажа изнашиваемых деталей 200. Система 200 демонтажа изнашиваемых деталей может использоваться для демонтажа или облегчения демонтажа изнашиваемой детали 104 с адаптера 102 части узла 100. Как показано на фиг. 2A-2C, система демонтажа изнашиваемых деталей 200 содержит один или несколько клиньев 202 (показаны как клин 202-1 и клин 202-2), толкатель 204 и раму 206. Как показано на фиг. 2B, система демонтажа изнашиваемых деталей 200 может содержать направляющий компонент 208. Как показано на фиг. 2C, система демонтажа изнашиваемых деталей может содержать по меньшей мере один крепежный элемент 210.

Рама 206 содержит один или несколько конструктивных элементов 212, которые обеспечивают физическую структуру, предназначенную для удержания одного или нескольких клиньев 202 и толкателя 204. Как показано на фиг. 2A-2C, рама 206 может содержать верхний конструктивный элемент 212-1 (например, верхнюю горизонтальную балку), сконфигурированный для удержания (и/или крепления) клина 202-1, и нижний конструктивный элемент 212-2 (например, нижнюю горизонтальную балку), сконфигурированный для удержания (и/или крепления) клина 202-2. Верхний конструктивный элемент 212 1 может быть сконфигурирован таким образом, чтобы приблизительно быть параллельным и/или выровненным (например, в вертикальной плоскости) с нижним конструктивным элементом 212-2. Соответственно, верхний конструктивный элемент 212 1 может удерживать клин 202-1 над клином 202-2 таким образом, что клин 202-1 располагается приблизительно параллельно и/или на одной линии с клином 202-2. Как показано далее на фиг. 2A-2C, верхний конструктивный элемент 212-1 может быть сконфигурирован для удержания (и/или крепления) толкателя 204.

Как показано далее на фиг. 2A-2C, рама 206 может содержать первый боковой конструктивный элемент 212-3 (например, левую вертикальную балку) и/или второй боковой конструктивный элемент 212-4 (например, правую вертикальную балку), каждый из которых сконфигурирован для крепления к верхнему конструктивному элементу 212-1 и нижнему конструктивному элементу 212-2. Первый боковой конструктивный элемент 212-3 и/или второй боковой конструктивный элемент 212-4 могут быть сконфигурированы таким образом, чтобы быть приблизительно перпендикулярными верхнему конструктивному элементу 212-1 и нижнему конструктивному элементу 212-2.

Первый боковой конструктивный элемент 212-3 и/или второй боковой конструктивный элемент 212-4 могут быть сконфигурированы для отделения верхнего конструктивного элемента 212-1 от нижнего конструктивного элемента 212-2 таким образом, что расстояние между клином 202-1 и клином 202-2 (например, если толкатель 204 не активирован или не находится под давлением, как описано ниже) может соответствовать (может быть больше или равно) первому пороговому расстоянию (например, которое связано с высотой изнашиваемой детали 104 и/или изнашиваемой детали в сборе 100). В некоторых вариантах осуществления настоящего изобретения расстояние между первым боковым конструктивным элементом 212-3 и вторым боковым конструктивным элементом 212-4 может удовлетворять (быть больше или равно) второму пороговому значению расстояния (например, связанному с шириной изнашиваемой детали 104 и/или изнашиваемой детали в сборе 100). Таким образом, рама 206 может быть сконфигурирована так, чтобы облегать изнашиваемую деталь 104 и/или изнашиваемую деталь в сборе 100 (например, чтобы обеспечить системе 200 демонтажа изнашиваемой детали взаимодействовать с изнашиваемой деталью 104 для демонтажа изнашиваемой детали 104).

Первый боковой конструктивный элемент 212-3 и/или второй боковой конструктивный элемент 212-4 могут быть сконфигурированы таким образом, чтобы предотвратить контакт системы демонтажа изнашиваемых деталей с любым другим компонентом приспособления 106 (например, с другим изнашиваемой деталью в сборе, расположенным рядом с изнашиваемой деталью в сборе 100), когда система демонтажа изнашиваемых деталей 200 находится в позиции для взаимодействия с изнашиваемой деталью 104 (например, для демонтажа изнашиваемой детали 104). Например, как показано на фиг. 2A-2C, первый боковой конструктивный элемент 212-3 и второй боковой конструктивный элемент 212-4 могут иметь форму буквы «C» для обеспечения зазора вокруг других компонентов приспособления 106, когда система 200 демонтажа изнашиваемых деталей находится в позиции для взаимодействия с изнашиваемой деталью 104. Более подробно форма первого бокового конструктивного элемента 212-3 и второго бокового конструктивного элемента 212-4 описана в настоящем документе в связи с фиг. 3C.

Толкатель 204 может представлять собой, например, механический, гидравлический, пневматический или электромеханический толкатель. Например, если толкатель 204 представляет собой гидравлический толкатель, то толкатель 204 может быть соединен с гидравлическим насосом (не показан), который сконфигурирован для подачи гидравлической жидкости под давлением в толкатель. Компонент управления (например, входящий в состав ориентировочной системы 200 демонтажа изнашиваемых деталей или являющийся частью другого компонента, например, гидравлического насоса) может управлять электромеханическим толкателем. Например, оператор системы демонтажа изнашиваемых деталей 200 может взаимодействовать с компонентом управления, чтобы обеспечить активацию или деактивацию толкателя 204 и/или повышение или понижение давления, среди прочих примеров.

Толкатель 204 может быть сконфигурирован для перемещения по меньшей мере одного клина 202 из одного или нескольких клиньев 202. Например, как показано на фиг. 2A-2C, толкатель 204 может быть соединен с клином 202-1 и сконфигурирован для перемещения клина 202-1 вниз (например, если толкатель 204 активирован и/или находится под давлением). Соответственно, если толкатель 204 активирован и/или находится под давлением, толкатель 204 может заставить клин 202-1 двигаться вниз, контактировать с первым шарниром 108 (например, шарниром 108-1) изнашиваемой деталью в сборе 100 и/или взаимодействовать с первым шарниром 108 (например, создавать и прикладывать силу зацепления к изнашиваемой детали 104 и/или адаптеру 102 через первый шарнир 108, как описано в настоящем документе). Дополнительно или в качестве альтернативы, это может привести к тому, что клин 202-2 войдет в зацепление со вторым шарниром (например, шарниром 108-2) изнашиваемой детали в сборе 100. Например, перемещение вниз клина 202-1 может уменьшить расстояние между клином 202-1 и клином 202-2, что может привести к контакту клина 202-2 со вторым шарниром 108 и/или сцеплению со вторым шарниром 108 (например, к созданию и приложению силы сцепления к изнашиваемой детали 104 и/или адаптеру 102 через второй шарнир 108, как описано в настоящем документе).

Клин 202 из одного или нескольких клиньев 202 может содержать клин 214 и/или суппорт клина 216. Клин 214 может быть сконфигурирован для зацепления с шарниром 108 изнашиваемой детали в сборе 100. Например, клин 214 может быть сконфигурирован для вставки в (или установки на) шарнир 108 и приложения силы зацепления (например, вертикальной силы), которая, благодаря физическим характеристикам клина 214, создает толкающее усилие (например, горизонтальное) на изнашиваемую деталь 104 и/или адаптер 102 (например, толкающее усилие для выталкивания изнашиваемой детали из адаптера 102). Суппорт 216 клина может быть сконфигурирован для удержания клина 214 (например, для обеспечения структурной поддержки клина 214) и для крепления клина 214 к раме 206. Дальнейшее описание клина 202, клина 214 и суппорта клина 216 приведено в настоящем документе в связи с фиг. 4A-4D.

Как показано на фиг. 2B, направляющий компонент 208 может быть соединен с рамой 206 (например, с верхним конструктивным элементом 212-1). Направляющий компонент 208 может содержать направляющую скольжения и/или другой компонент, сконфигурированный для облегчения линейного перемещения толкателя 204 и/или клина 202-1 (например, при активации толкателя 204 и/или под давлением). Таким образом, направляющий компонент 208 может предотвратить скручивание и/или изгиб толкателя 204 и/или клина 202-1 (например, включающего клин 214 и/или суппорт 216), когда клин входит в зацепление с шарниром 108 изнашиваемой детали в сборе 100. Кроме того, направляющий компонент 208 может способствовать клину 202-1 в создании усилия зацепления на шарнире 108 в заданном направлении (например, вертикальном, направленном вниз) для создания толкающего усилия в заданном направлении (например, горизонтальном) на изнашиваемой детали 104 и/или адаптере 102.

Как показано на фиг. 2C, по меньшей мере один крепежный элемент 210 может быть соединен с рамой 206 (например, с верхним конструктивным элементом 212-1). По меньшей мере один крепежный элемент может содержать одну или несколько точек (например, точки подвеса), которая сконфигурирована для крепления к подъемному устройству (например, стреле крана) с помощью такелажа или другого несущего материала. Соответственно, система 200 для демонтажа изнашиваемых деталей может быть расположена (например, подвешена) над изнашиваемой деталью 104 и/или изнашиваемой деталью в сборе 100 или рядом с ними с помощью подъемного устройства, по меньшей мере, посредством одного крепежного компонента 210 (например, чтобы система 200 для демонтажа изнашиваемых деталей могла взаимодействовать с изнашиваемой деталью 104 для демонтажа изнашиваемой детали 104).

Как указано выше, фиг. 2A-2C приведены в качестве примера. Другие примеры могут отличаться от описаний в связи с фиг. 2A-2C.

На фиг. 3A-3C представлены схемы ориентировочной системы 200 демонтажа изнашиваемых деталей в позиции 300 для взаимодействия с изнашиваемой деталью 104 изнашиваемой детали в сборе 100. Фиг. 3A представляет вид спереди системы 200 для демонтажа изнашиваемых деталей в позиции 300. Как показано на фиг. 3A, рама 206 может облегать (например, окружать) изнашиваемую деталь 104. Например, система 200 демонтажа изнашиваемых деталей может быть размещена (например, с помощью подъемного устройства) таким образом, чтобы верхний конструктивный элемент 212-1 располагался над верхней поверхностью изнашиваемой детали 104, нижний конструктивный элемент 212-2 располагался под нижней поверхностью изнашиваемой детали 104, первый боковой конструктивный элемент 212-3 (например, левый конструктивный элемент) располагался рядом (например, слева) с первой поверхностью (например, левой) изнашиваемой детали 104, а второй боковой конструктивный элемент 212-4 (например, правый конструктивный элемент) располагался рядом (например, справа) со второй поверхностью (например, правой поверхностью) изнашиваемой детали 104. Таким образом, клин 1, позиция 202, может быть совмещен с первым шарниром 108 (например, шарниром 108-1, не показан на фиг. 3A), ассоциированным с изнашиваемой деталью 104, а клин 2, позиция 202, может быть совмещен со вторым шарниром 108 (например, шарниром 108-2, не показан на фиг. 3A), ассоциированным с изнашиваемой деталью 104. Как показано далее на фиг. 3A, толкатель 204 не активирован и/или не находится под давлением, и поэтому клин 1 (202) и 2 (202) не контактируют и не входят в зацепление с первым (108) и вторым шарнирами (108).

Как показано далее на фиг. 3A, изнашиваемая деталь может находиться рядом с одним или несколькими другими изнашиваемыми деталями 302 (например, манжетами), ассоциированными с приспособлением 106. Соответственно, в позиции 300 системы 200 для демонтажа изнашиваемых деталей первый боковой конструктивный элемент 212-3 и/или второй боковой конструктивный элемент 212-4 могут располагаться над и/или под одним или несколькими другими изнашиваемыми деталями 302. Как описано далее, первый боковой конструктивный элемент 212 3 и/или второй боковой конструктивный элемент 212-4 могут быть сконфигурированы (например, иметь форму буквы «С»), чтобы не допустить контакта с одним или несколькими другими изнашиваемыми деталями 302, если система 200 для демонтажа изнашиваемых деталей находится в позиции 300.

На фиг. 3B представлен вид в поперечном сечении системы 200 демонтажа изнашиваемых деталей и изнашиваемой детали 104 вдоль линии A-A, показанной на фиг. 3A. Как показано на фиг. 3B, система демонтажа изнашиваемых деталей находится в позиции 300 для взаимодействия с изнашиваемой деталью 104 изнашиваемой детали в сборе 100. Как показано далее на фиг. 3B, клин 202-1 может быть совмещен (например, расположен над) шарниром 108-1 изнашиваемой детали в сборе 100, а клин 202-2 может быть совмещен (например, расположен под) шарниром 108-2 изнашиваемой детали в сборе 100. Как описано выше, при активации толкателя 204 и/или при подаче давления толкатель 204 может обеспечить перемещения клина 202-1 и зацепление с шарниром 108-1, а также обеспечить зацепление клина 202-1 с шарниром 108-2. Если клин 202-1 входит в зацепление с шарниром 108-1 (например, клин 202-1 входит в шарнир 108-1), клин 202-1 может создавать первое усилие зацепления (например, приблизительно параллельное направлению движения клина 202-1 и/или толкателя 204) на изнашиваемой детали 104 и/или адаптере 102 изнашиваемой детали в сборе 100. Если клин 202-1 входит в зацепление с шарниром 108-2, клин 202-2 может создавать второе усилие зацепления (например, приблизительно параллельное первому усилию зацепления, но противоположное ему по направлению) на изнашиваемой детали 104 и/или адаптере 102. Создание первого усилия зацепления на шарнире 108 1 может привести к возникновению первого толкающего усилия (например, приблизительно перпендикулярного направлению первого усилия зацепления) на изнашиваемой детали 104 и/или адаптере 102. Создание второго усилия зацепления на шарнире 108-1 может привести к возникновению второго толкающего усилия (например, приблизительно перпендикулярного направлению первого усилия зацепления) на изнашиваемой детали 104 и/или адаптере 102. Например, как показано на фиг. 3B, первое толкающее усилие и/или второе толкающее усилие могут вызвать перемещение изнашиваемой детали 104 в левом направлении от адаптера 102. Таким образом, изнашиваемая деталь 104 может быть демонтирована с адаптера 102.

На фиг. 3C представлен вид сбоку под углом системы 200 для демонтажа изнашиваемых деталей в позиции 300. Как показано на фиг. 3C, система 200 для демонтажа изнашиваемых деталей может облегать изнашиваемую деталь 104, если система 200 для демонтажа изнашиваемых деталей находится в позиции 300. Как показано далее на фиг. 3C, изнашиваемая деталь 104 может находиться рядом с одним или несколькими другими изнашиваемыми деталями 302. В некоторых вариантах осуществления первый боковой конструктивный элемент 212-3 и/или второй боковой конструктивный элемент 212-4 могут быть сконфигурированы таким образом, чтобы располагаться над и/или под одним или несколькими другими изнашиваемыми деталями и не допускать контакта с одной или несколькими другими изнашиваемыми деталями 302, если система 200 для демонтажа изнашиваемых деталей находится в позиции 300. Например, как показано на фиг. 3C, каждый из первого бокового конструктивного элемента 212-3 и второго бокового структурного компонента 212-4 может иметь форму «C», чтобы позволить первому боковому конструктивному элементу 212-3 и второму боковому конструктивному элементу 212-4 располагаться вокруг одного или более других изнашиваемых деталей 302, когда система 200 для демонтажа изнашиваемых деталей находится в позиции 300. Соответственно, первый боковой конструктивный элемент 212-3 и/или второй боковой конструктивный элемент 212-4 могут находиться на расстоянии 304 от одной или нескольких других изнашиваемых деталей 302.

Как указано выше, фиг. 3A-3B приведены в качестве примера. Другие примеры могут отличаться от описаний в связи с фиг. 3A-3C.

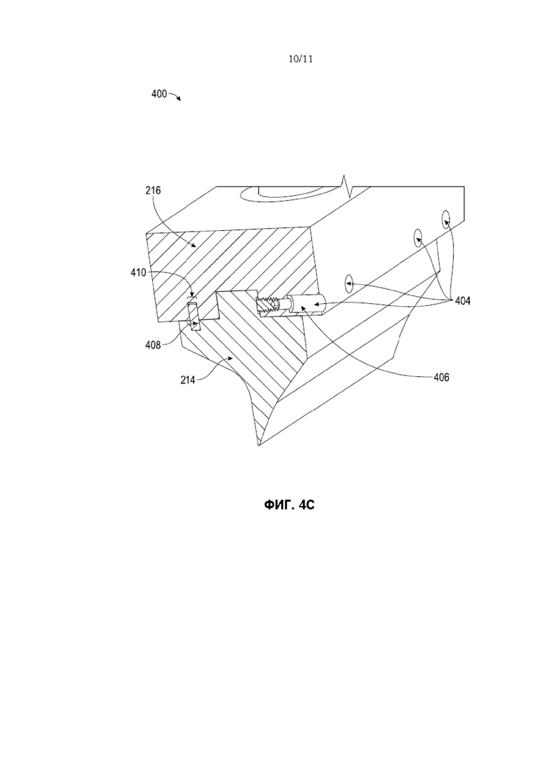
На фиг. 4A-4D представлены ориентировочные схемы осуществления 400 клина 202. На фиг. 4A представлен вид спереди под углом клина 202. На фиг. 4B представлен вид спереди в угловом разрезе клина 202. На фиг. 4C представлен вид в поперечном сечении клина 202 по линии B-B фиг. 4A. На фиг. 4D представлен вид сверху под углом суппорта 216 клина 202.

Как показано на фиг. 4A-4D, клин 202 может содержать клин 214, суппорт клина 216 и/или крепежный элемент 402. Как описано выше, клин 214 может быть сконфигурирован для зацепления с шарниром 108 изнашиваемой детали в сборе 100. Например, клин 214 может быть сконфигурирован для вставки в (или установки на) шарнир 108 и приложения силы зацепления (например, вертикальной силы), которая, благодаря физическим характеристикам клина 214, создает толкающее усилие (например, горизонтальное) на изнашиваемую деталь 104 и/или адаптер 102 узла 100 (например, толкающее усилие для выталкивания изнашиваемой детали 104 из адаптера 102). Суппорт клина 216 может быть сконфигурирован для удержания клина 214 (например, в углублении суппорта клина 216). Суппорт 216 клина может быть сконфигурирован для крепления крепежному элементу 402, который может быть сконфигурирован для крепления к раме 206 системы демонтажа изнашиваемых деталей 200. Например, крепежный элемент 402 может содержать первую резьбовую часть, предназначенную для ввинчивания в резьбовое отверстие клинового суппорта 216, и/или вторую резьбовую часть, предназначенную для ввинчивания в резьбовое отверстие рамы 206. Таким образом, крепежный элемент 402 может облегчить крепление клина 202 к раме 206.

Суппорт клина 216 может содержать одно или несколько крепежных отверстий 404, которые обеспечивают возможность одному или нескольким съемным крепежным компонентам 406 фиксировать клин 214 в суппорте клина 216 (например, если клин 214 размещен в суппорте клина 216). Например, один или несколько съемных крепежных элементов 406 могут содержать один или несколько установочных винтов, которые вставляются и ввинчиваются в одно или несколько крепежных отверстий 404 и которые сконфигурированы для поддержания надежного крепления клина 214 к суппорту клина 216. Один или несколько съемных крепежных элементов 406 могут быть удалены (например, отвинчены), чтобы обеспечить демонтаж клина 214. Таким образом, новый клин может заменить старый клин 214, который изношен или сломан в результате работы системы демонтажа изнашиваемых деталей 200. Это может повысить эффективность работы системы демонтажа изнашиваемых деталей 200 в течение срока службы системы демонтажа изнашиваемых деталей 200.

Как показано на фиг. 4B-4C, клин 214 может содержать первый направляющий компонент 408, который сконфигурирован для зацепления со вторым направляющим компонентом 410 суппорта клина 216. Например, первый направляющий компонент 408 может представлять собой выступ (например, штифт или другой выступ), а второй направляющий компонент — отверстие (например, углубление или щель). Поэтому первый направляющий компонент 408 и второй направляющий компонент 410 могут быть сконфигурированы для взаимодействия друг с другом (например, первый направляющий компонент 408 может устанавливаться во второй направляющий компонент 410). Таким образом, первый направляющий компонент 408 и второй направляющий компонент 410 могут быть сконфигурированы для поддержания положения клина 214 в суппорте 216 и/или для обеспечения правильной ориентации клина 214 в суппорте 216 (например, для обеспечения того, чтобы передняя сторона клина была обращена вперед в суппорте 216).

Дополнительно или в качестве альтернативы, как показано на фиг. 4D, суппорт клина может содержать одно или несколько крепежных отверстий 412, которые облегчают крепление клина 214 к суппорту клина 216. Одно или несколько крепежных отверстий 412 могут обеспечить использование одного или нескольких дополнительных съемных крепежных элементов (не показаны), например, одного или нескольких болтов, для крепления клина 214 к суппорту клина 216, которые сконфигурированы для поддержания надежного крепления клина 214 к суппорту клина 216.

Как указано выше, фиг. 4A-4D приведены в качестве примера. Другие примеры могут отличаться от описаний в связи с фиг. 4A-4D.

Применение в промышленности

В некоторых вариантах осуществления изобретения, описанных в настоящем документе, предусмотрена система демонтажа изнашиваемых деталей, которая позволяет удалить изнашиваемую деталь (например, из адаптера). Система демонтажа изнашиваемых деталей содержит первый клин, сконфигурированный для зацепления с первым шарниром изнашиваемой детали в сборе (например, шарниром на верхней поверхности изнашиваемой детали в сборе), и второй клин, сконфигурированный для зацепления со вторым шарниром изнашиваемой детали в сборе (например, шарниром на нижней поверхности изнашиваемой детали в сборе). Система демонтажа изнашиваемых деталей также содержит толкатель, который сконфигурирован для перемещения первого клина (например, вниз к первому шарниру), чтобы первый клин вошел в зацепление с первым шарниром, а второй клин — со вторым шарниром, что создает соответствующие силы зацепления на первом и втором шарнирах и тем самым оказывает толкающее усилие на изнашиваемую деталь, чтобы обеспечить демонтаж изнашиваемой детали с адаптера изнашиваемой детали в сборе.

Таким образом, система демонтажа изнашиваемых деталей позволяет удалять изнашиваемую деталь независимо от того, застряла ли она на адаптере или креплении (например, из-за попадания мелких частиц, пыли или загрязнений). Кроме того, система демонтажа изнашиваемых деталей обеспечивает демонтаж изнашиваемой детали без ручного приложения усилия оператором системы демонтажа изнашиваемых деталей, например, с помощью ручного инструмента (например, кувалды для нанесения ударов) или других инструментов (например, отбойного молотка для приложения ударной силы) к системе демонтажа изнашиваемых деталей. Кроме того, поскольку система демонтажа изнашиваемых деталей использует множество компонентов для контакта и/или захвата изнашиваемой детали и сконфигурирована для приложения более чем одного типа силы к изнашиваемой детали, система демонтажа изнашиваемых деталей способна быстро и эффективно удалять изнашиваемые детали, которые в противном случае было бы трудно и/или долго демонтировать с помощью обычных методов демонтажа. Кроме того, система демонтажа изнашиваемых деталей может входить в зацепление по меньшей мере с одним соединением изнашиваемой детали в сборе, даже если изнашиваемая деталь приобрела гладкость вследствие износа или иным образом повреждена, и/или изнашиваемая деталь является мокрой, загрязненной или покрыта льдом, и поэтому может облегчить демонтаж изнашиваемой детали в неблагоприятных условиях окружающей среды.

Похожие патенты RU2832125C2

название год авторы номер документа
СПОСОБ И СИСТЕМА ДЛЯ АУТЕНТИФИКАЦИИ ПОЛЬЗОВАТЕЛЕЙ 2020
  • Кумар Шубхам
  • Чопра Раджеш
  • Датта Саугандх
  • Агарвал Дипак
RU2752290C1
УЛУЧШЕННАЯ СТЫКОВОЧНАЯ СИСТЕМА ДЛЯ АДАПТЕРА КОРОНКИ 2016
  • Кемпомейнс Патрик Саймон
RU2731867C2
СПОСОБ И СИСТЕМА ДЛЯ ПОВТОРА ОБРАБОТКИ КОНТРОЛИРУЕМЫХ ПЛАТЕЖНЫХ ТРАНЗАКЦИЙ 2016
  • Блинов Михаил
  • Коберн Грегори
RU2672715C1
АРХИТЕКТУРА УДАЛЕННОЙ РАБОТЫ С ГРАФИКОЙ 2009
  • Киу Кан
  • Абдо Надим И.
RU2493582C2
СПОСОБ И СИСТЕМА ДЛЯ ЗАЩИЩЕННОЙ ПЕРЕДАЧИ СООБЩЕНИЙ СЕРВИСА УДАЛЕННЫХ УВЕДОМЛЕНИЙ В МОБИЛЬНЫЕ УСТРОЙСТВА БЕЗ ЗАЩИЩЕННЫХ ЭЛЕМЕНТОВ 2014
  • Коллинге, Мехди
  • Уорд, Майкл Кристофер
  • Сметс, Патрик
  • Кейтленд, Аксель Эмиль Жан Чарльз
  • Раду, Кристиан
RU2661910C1
СПОСОБ И СИСТЕМА ДЛЯ ЗАЩИЩЕННОЙ ПЕРЕДАЧИ СООБЩЕНИЙ СЕРВИСА УДАЛЕННЫХ УВЕДОМЛЕНИЙ В МОБИЛЬНЫЕ УСТРОЙСТВА БЕЗ ЗАЩИЩЕННЫХ ЭЛЕМЕНТОВ 2014
  • Коллинге Мехди
  • Уорд Майкл Кристофер
  • Сметс Патрик
  • Кейтленд Аксель Эмиль Жан Чарльз
  • Раду Кристиан
RU2642821C2
РАМНЫЙ УЗЕЛ РАБОЧЕЙ МАШИНЫ (ВАРИАНТЫ) И РАБОЧАЯ МАШИНА 2016
  • Грэхэм Бретт С.
  • Мустафа Мохамед
RU2714662C2
СОЕДИНИТЕЛЬНАЯ ДЕТАЛЬ ДЛЯ ОБРАБАТЫВАЮЩЕЙ ГОЛОВКИ ДЛЯ ТЕРМООБРАБОТКИ МАТЕРИАЛОВ, В ЧАСТНОСТИ ДЛЯ ГОЛОВКИ ПЛАЗМЕННОЙ ГОРЕЛКИ, ЛАЗЕРНОЙ ГОЛОВКИ, ПЛАЗМЕННО-ЛАЗЕРНОЙ ГОЛОВКИ, ИЗНАШИВАЮЩАЯСЯ ДЕТАЛЬ И ДЕРЖАТЕЛЬ ИЗНАШИВАЮЩЕЙСЯ ДЕТАЛИ, А ТАКЖЕ СПОСОБ ИХ СБОРКИ 2019
  • Гюнтер, Вадим
  • Грундке, Тимо
  • Лауриш, Франк
  • Кринк, Фолькер
RU2770169C1
НАСАДКА ИЗМЕЛЬЧЕНИЯ ПРОДУКТОВ ПИТАНИЯ ДЛЯ КУХОННОГО КОМБАЙНА 2014
  • Палмер, Пол
  • Филдз, Роберт
RU2670045C1
ИСПОЛНИТЕЛЬНЫЙ МЕХАНИЗМ С УСТРОЙСТВОМ ДЛЯ ИЗМЕНЕНИЯ СКОРОСТИ ПОДАЧИ 2009
  • Арнольд Дэвид Энтони
  • Халм Девид Джордж
  • Маккарти Майкл Уилди
RU2527268C2

Иллюстрации к изобретению RU 2 832 125 C2

Реферат патента 2024 года СИСТЕМА ДЕМОНТАЖА ИЗНАШИВАЕМЫХ ДЕТАЛЕЙ РАБОЧЕГО ОРГАНА ЗЕМЛЕРОЙНОЙ МАШИНЫ ИЛИ МАШИНЫ ДЛЯ ПЕРЕМЕЩЕНИЯ МАТЕРИАЛОВ И КЛИН В СБОРЕ ДЛЯ ЭТОЙ СИСТЕМЫ

Группа изобретений относится к системе демонтажа изнашиваемых деталей рабочего органа землеройной машины или машины для перемещения материалов. Технический результат – отсутствие приложения ручной силы оператора для демонтажа изнашиваемых деталей. Система демонтажа изнашиваемых деталей содержит: первый клин, сконфигурированный для зацепления с первым шарниром, ассоциированным с изнашиваемой деталью, второй клин, сконфигурированный для зацепления со вторым шарниром, ассоциированным с изнашиваемой деталью, толкатель, раму, а также направляющий элемент. При этом толкатель соединен с первым клином и сконфигурирован таким образом, чтобы обеспечить зацепление первого клина с первым шарниром, ассоциированным с изнашиваемой деталью, и обеспечить зацепление второго клина со вторым шарниром, ассоциированным с изнашиваемой деталью. Рама содержит первый боковой конструктивный элемент и второй боковой конструктивный элемент и сконфигурирована для удержания первого клина, второго клина и толкателя. Направляющий компонент расположен между первым боковым конструктивным элементом рамы и вторым боковым конструктивным элементом рамы и сконфигурирован для облегчения линейного перемещения толкателя и/или первого клина. 2 н. и 7 з.п. ф-лы, 12 ил.

Формула изобретения RU 2 832 125 C2

1. Система демонтажа изнашиваемых деталей (200) рабочего органа землеройной машины или машины для перемещения материалов, содержащая:

первый клин (202-1), сконфигурированный для зацепления с первым шарниром (108-1), ассоциированным с изнашиваемой деталью (104);

второй клин (202-1), сконфигурированный для зацепления со вторым шарниром (108-2), ассоциированным с изнашиваемой деталью (104);

толкатель (204), соединенный с первым клином (202-1) и сконфигурированный таким образом, чтобы обеспечить зацепление первого клина (202-1) с первым шарниром (108-1), ассоциированным с изнашиваемой деталью (104), и обеспечить зацепление второго клина (202-1) со вторым шарниром (108-2), ассоциированным с изнашиваемой деталью (104);

раму (206), содержащую первый боковой конструктивный элемент (212-3) и второй боковой конструктивный элемент (212-4) и сконфигурированную для удержания первого клина (202-1), второго клина (202-1) и толкателя (204); а также

направляющий компонент (208), расположенный между первым боковым конструктивным элементом (212-3) рамы (206) и вторым боковым конструктивным элементом (212-4) рамы (206) и сконфигурированный для облегчения линейного перемещения толкателя (204) и/или первого клина (202-1).

2. Система демонтажа изнашиваемых деталей (200) по п. 1, в которой толкатель (204) содержит:

механический толкатель;

гидравлический цилиндр;

пневматический толкатель или

электромеханический толкатель.

3. Система демонтажа изнашиваемых деталей (200) по п. 1 или 2, в которой толкатель (204) сконфигурирован для оказания толкающего усилия на изнашиваемую деталь (104), когда толкатель (204) обеспечивает зацепление первого клина (202-1) с первым шарниром (108-1), ассоциированным с изнашиваемой деталью (104), и обеспечивает зацепление второго клина (202-1) со вторым шарниром (108-2), ассоциированным с изнашиваемой деталью (104).

4. Система демонтажа изнашиваемых деталей (200) по любому из пп. 1-3, в которой направление, связанное с толкающим усилием, перпендикулярно направлению, связанному с усилием зацепления, создаваемым первым клином (202-1), когда первый клин (202-1) зацепляется с первым шарниром (108-1), ассоциированным с изнашиваемой деталью (104).

5. Система демонтажа изнашиваемых деталей (200) по любому из пп. 1-4, в которой первый шарнир (108-1), ассоциированный с изнашиваемой деталью (104), расположен на верхней поверхности узла (100), содержащего изнашиваемую деталь (104), а второй шарнир (108-2), ассоциированный с изнашиваемой деталью (104), расположен на нижней поверхности изнашиваемой детали в сборе (100).

6. Система демонтажа изнашиваемых деталей (200) по любому из пп. 1-5, в которой рама (206) сконфигурирована для удержания первого клина (202-1) над верхней поверхностью изнашиваемой детали (104) и для удержания второго клина (202-1) под нижней поверхностью изнашиваемой детали (104), когда система демонтажа изнашиваемых деталей (200) находится в позиции взаимодействия с изнашиваемой деталью (104).

7. Система демонтажа изнашиваемых деталей (200) по любому из пп. 1-6, в которой изнашиваемая деталь (104) прикреплена к адаптеру (102), ассоциированному с приспособлением (106) машины, при этом:

рама (206) сконфигурирована для удержания первого клина (202-1) над верхней поверхностью изнашиваемой детали (104) и для удержания второго клина (202-1) под нижней поверхностью изнашиваемой детали (104), когда система демонтажа изнашиваемых деталей (200) находится в позиции для взаимодействия с изнашиваемой деталью (104), а также

рама (206) сконфигурирована таким образом, чтобы предотвратить контакт системы демонтажа изнашиваемых деталей (200) с любым другим компонентом, ассоциированным с приспособлением (106), когда система демонтажа изнашиваемых деталей (200) находится в позиции взаимодействия с изнашиваемой деталью (104).

8. Клин в сборе (202) для системы демонтажа изнашиваемых деталей (200) рабочего органа землеройной машины или машины для перемещения материалов, содержащий:

клин (214), сконфигурированный для зацепления с шарниром (108), ассоциированным с изнашиваемой деталью (104);

суппорт клина (216), сконфигурированный для удержания клина (214); а также

крепежный элемент (402), который сконфигурирован для крепления суппорта клина (216) к раме (206) системы демонтажа изнашиваемых деталей (200).

9. Клин в сборе (202) по п. 8, в котором клин (214) содержит первый направляющий компонент (408), а суппорт клина (216) содержит второй направляющий компонент (410),

при этом первый направляющий компонент (408) сконфигурирован для взаимодействия со вторым направляющим компонентом (410) для облегчения позиционирования клина (214) в суппорте клина (216).

Документы, цитированные в отчете о поиске Патент 2024 года RU2832125C2

Приспособление для суммирования отрезков прямых линий 1923
  • Иванцов Г.П.
SU2010A1
0
SU298738A1
СПОСОБ МОНТАЖА ТЕЛЕСКОПА И КУПОЛЬНОЕ ПОКРЫТИЕ ТЕЛЕСКОПОВ ДЛЯ ОСУЩЕСТВЛЕНИЯ СПОСОБА 2003
  • Тружеников В.А.
  • Зайцев Б.И.
  • Сальников Л.С.
  • Бердинских Ю.А.
  • Гнедой В.И.
  • Соболева Г.А.
  • Романов О.В.
  • Шаргородский В.Д.
  • Рой Ю.А.
  • Гришин Е.А.
RU2247417C9
US 4846287 A1, 11.07.1989
Устройство для демонтажа зубьев роторного рабочего органа 1983
  • Горовой Алексей Иванович
SU1145100A1
Устройство для монтажа зубьев исполнительного органа горных машин 1984
  • Горовой Алексей Иванович
SU1236068A1
Устройство для демонтажа зубьев ковша экскаватора 1987
  • Хотимченко Юрий Николаевич
  • Полуянский Валентин Владимирович
SU1511346A1
US 3290769 A1, 13.12.1966
Изложница с суживающимся книзу сечением и с вертикально перемещающимся днищем 1924
  • Волынский С.В.
SU2012A1
Устройство для закрепления лыж на раме мотоциклов и велосипедов взамен переднего колеса 1924
  • Шапошников Н.П.
SU2015A1
Автомобиль-сани, движущиеся на полозьях посредством устанавливающихся по высоте колес с шинами 1924
  • Ф.А. Клейн
SU2017A1

RU 2 832 125 C2

Авторы

Вурмнест, Кайл Р.

Кунц, Филлип Дж.

Даты

2024-12-20Публикация

2022-03-18Подача